Bosch GLM 150 Professional – страница 12
Инструкция к Bosch GLM 150 Professional

OBJ_BUCH-947-004.book Page 221 Friday, July 3, 2009 8:44 AM
Slovensky | 221
Ak chcete ukončiť meranie minima/maxima,
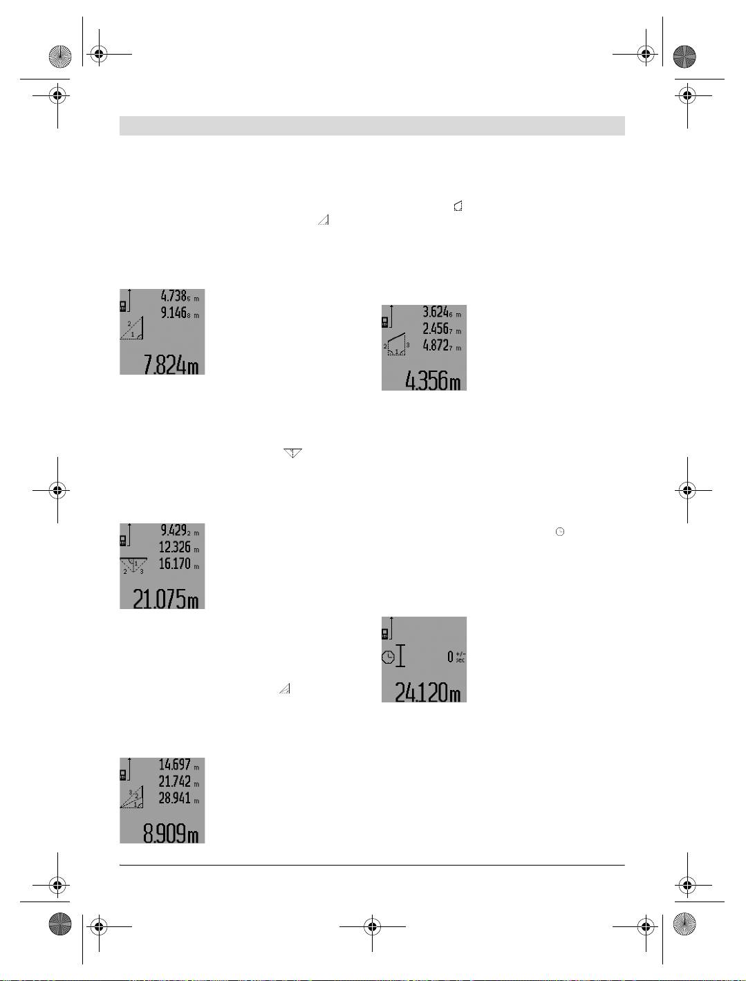
Meranie objemu
stlačte krátko tlačidlo Meranie 7. Nové stlačenie
Na meranie objemu stláčajte tlačidlo 4 dovtedy,
tlačidla Meranie spustí meranie znova.
kým sa na displeji objaví indikácia pre meranie
Meranie minima/maxima sa dá využiť aj pri
objemu .
meraní dĺžky v rámci iných meracích funkcií
Potom postupne premerajte za sebou dĺžku,
(napr. pri meraní plochy). Na tento účel stlačte
šírku a výšku ako pri meraní vzdialenosti. Lase-
pri príslušnom zisťovaní jednotlivých namera-
rový lúč zostáva medzi týmito troma meraniami
ných hodnôt jedenkrát tlačidlo 13 pre meranie
zapnutý.
minima resp. dvakrát pre meranie maxima.
Po skončení tretieho merania
Potom stlačte tlačidlo Meranie 7 na zapnutie
sa objem automaticky pre-
laserového lúča. Pohybujte meracím prístrojom
počíta a zobrazí sa na displeji
tak, aby sa odmerala požadovaná minimálna
v riadku pre výsledok c. Jed-
resp. maximálna hodnota a stlačte tlačidlo
notlivé namerané hodnoty sú
Meranie 7, aby ste prevzali minimálnu resp.
zobrazené v riadkoch pre
maximálnu hodnotu do prebiehajúceho výpočtu.
namerané hodnoty a.
Pri časovo oneskorenom meraní dĺžky a v porov-
Hodnoty vyššie ako 999999 m
3
sa nadajú zobra-
návacej funkcii nie je možné meranie minima/
ziť, v takom prípade sa na displeji zobrazí indiká-
maxima.
cia „ERROR“ a „––––“. Rozdeľte objem, ktorý
Meranie minima/maxima sa po 5 minútach
potrebujete odmerať, na jednotlivé merania,
automaticky vypne.
ktorých hodnoty vypočítate osobitne a potom
ich zhrniete dohromady.
Meranie plochy
Na meranie plochy stláčajte tlačidlo 4 dovtedy,
Nepriame meranie dĺžky (vzdialenosti)
kým sa na displeji objaví indikácia pre meranie
(pozri obrázky H – K)
plochy .
Nepriame meranie dĺžky (vzdialenosti) slúži na
Potom postupne premerajte za sebou dĺžku a
zisťovanie takých vzdialeností, ktoré sa nedajú
šírku ako pri meraní vzdialenosti. Laserový lúč
merať priamo, pretože laserový lúč by bol
zostáva medzi oboma meraniami zapnutý.
prerušený prekážkou, alebo v takom prípade, ak
Po skončení druhého mera-
nie je k dispozícii žiadna cieľová plocha, ktorá by
nia sa plocha automaticky
poslúžila ako reflexná plocha. Korektné výsledky
prepočíta a zobrazí sa na
sa môžu dosiahnuť iba vtedy, keď sa pri prísluš-
displeji v riadku pre výsledok
nom meraní exaktne dodrží požadovaný pravý
c. Jednotlivé namerané hod-
uhol (podľa Pytagorovej vety).
noty sú zobrazené v riadkoch
Dávajte pritom pozor na to, aby sa vzťažný bod
pre namerané hodnoty a.
merania (napríklad zadná hrana meracieho
prístroja) nachádzal pri všetkých jednotlivých
meraniach v rámci jedného meracieho úkonu
presne na tom istom mieste (výnimka: trapézové
meranie).
Laserový lúč zostáva medzi týmito jednotlivými
meraniami zapnutý.
Pre nepriame meranie dĺžky sú k dispozícii štyri
meracie funkcie, pomocou ktorých sa dajú zisťo-
vať príslušné rozdielne trasy. Ak chcete zvoliť
niektorú meraciu funkciu, stláčajte tlačidlo na
zmenu funkcií 3 dovtedy, kým sa na displeji
zobrazí symbol požadovanej meracej funkcie.
Bosch Power Tools 1 609 929 T67 | (3.7.09)

222 | Slovensky
a) Jednoduché meranie podľa Pytagorovej
d) Trapézové meranie (pozri obrázok K)
vety (pozri obrázok H)
Stláčajte tlačidlo na zmenu funkcií 3 dovtedy,
Stláčajte tlačidlo na zmenu funkcií 3 dovtedy,
kým sa na displeji zobrazí indikácia pre trapé-
kým sa na displeji zobrazí indikácia pre jedno-
zové meranie .
1
duché meranie podľa Pytagorovej vety .
2
1
Ako pri meraní dĺžky odmerajte trasy „1“, „2“ a
Ako pri meraní dĺžky odmerajte trasy „1“ a „2“ v
„3“ v uvedenom poradí. Dávajte pritom pozor na
uvedenom poradí. Dávajte pozor na to, aby
to, aby meranie trasy „3“ začínalo presne na
medzi trasou „1“ a hľadanou trasou „E“ existo-
koncovom bode trasy „1“ a aby medzi trasami
val pravý uhol.
„1“ a „2“ ako aj medzi trasami „1“ a „3“
Po skončení posledného
existoval pravý uhol.
merania sa výsledok pre
Po skončení posledného
hľadanú trasu „E“ zobrazí v
merania sa výsledok pre
riadku pre výsledok c. Jed-
hľadanú trasu „E“ zobrazí v
notlivé namerané hodnoty sú
riadku pre výsledok c. Jed-
zobrazené v riadkoch pre
notlivé namerané hodnoty sú
namerané hodnoty a.
zobrazené v riadkoch pre
b) Dvojité meranie podľa Pytagorovej vety
namerané hodnoty a.
(pozri obrázok I)
Časovo oneskorené meranie dĺžky
Stláčajte tlačidlo na zmenu funkcií 3 dovtedy,
Časovo oneskorené meranie dĺžky pomáha napr.
kým sa na displeji zobrazí indikácia pre dvojité
pri meraní na ťažko prístupných miestach alebo
meranie podľa Pytagorovej vety .
1
32
vtedy, keď sa má zabrániť pohybom meracieho
Ako pri meraní dĺžky odmerajte trasy „1“, „2“ a
prístroja počas merania.
„3“ v uvedenom poradí. Dávajte pozor na to, aby
Ak chcete nastaviť časovo oneskorené meranie
medzi trasou „1“ a hľadanou trasou „E“ existo-
dĺžky, stláčajte tlačidlo na zmenu funkcií
3
val pravý uhol.
dovtedy, kým sa na displeji zobrazí indikácia pre
Po skončení posledného
časovo oneskorené meranie dĺžky .
merania sa výsledok pre
V riadku pre nameranú hodnotu a sa zobrazí
hľadanú trasu „E“ zobrazí v
časový úsek od spustenia až do merania. Tento
riadku pre výsledok c. Jed-
časový úsek sa dá stláčaním tlačidla Plus 6 resp.
notlivé namerané hodnoty sú
tlačidla Mínus 12 nastaviť v rozsahu 1 sek. až
zobrazené v riadkoch pre
60 sek..
namerané hodnoty a.
Stlačte potom tlačidlo Mera-
c) Kombinované meranie podľa Pytagorovej
nie 7, aby ste zapli laserový
vety (pozri obrázok J)
lúč a zamerali cieľový bod.
Stláčajte tlačidlo na zmenu funkcií 3 dovtedy, kým
Znova stlačte tlačidlo Mera-
sa na displeji zobrazí indikácia pre kombinované
nie 7 aby ste spustili meranie.
meranie podľa Pytagorovej vety .
3
1
2
Meranie sa uskutoční po
Ako pri meraní dĺžky odmerajte trasy „1“,
„2“ a
uplynutí zvoleného časového
„3“ v uvedenom poradí. Dávajte pozor na to, aby
úseku. Nameraná hodnota sa zobrazí v riadku
medzi trasou „1“ a hľadanou trasou „E“ existoval
pre výsledok c.
pravý uhol.
Sčítavanie a odpočítavanie výsledkov merania
Po skončení posledného
ani meranie minima a maxima nie sú možné pri
merania sa výsledok pre
meraniach dĺžky s časovým oneskorením.
hľadanú trasu „E“ zobrazí v
riadku pre výsledok c. Jed-
notlivé namerané hodnoty sú
zobrazené v riadkoch pre
namerané hodnoty a.
1 609 929 T67 | (3.7.09) Bosch Power Tools
3
OBJ_BUCH-947-004.book Page 222 Friday, July 3, 2009 8:44 AM
2

OBJ_BUCH-947-004.book Page 223 Friday, July 3, 2009 8:44 AM
Slovensky | 223
Meranie plochy steny (pozri obrázok L)
Porovnávacia funkcia (pozri obrázok M)
Meranie plochy stien slúži na to, aby sa zistil
Porovnávacia funkcia slúži na prenášanie pevnej
súčet jednotlivých plôch, ktoré majú rovnakú
vzdialenosti (porovnávacia hodnota), ktorá sa mô-
výšku.
že odmerať alebo zadať. Pomáha pri označovaní
Na zobrazenom príklade treba odmerať celkovú
vzdialenosti pre medzisteny pri suchej stavbe.
plochu viacerých stien, ktoré majú rovnakú
Ak chcete nastaviť porovnávaciu funkciu,
výšku miestnosti A, ale súčasne majú rozdielne
stláčajte tlačidlo na zmenu funkcií 3 dovtedy,
dĺžky B.
kým sa na displeji zobrazí indikácia pre
Ak chcete merať plochu stien, stláčajte tlačidlo
porovnávaciu funkciu .
na zmenu funkcií 3 dovtedy, kým sa na displeji
Porovnávacia funkcia sa dá nastaviť nasledu-
objaví indikácia pre meranie plochy stien .
júcim spôsobom:
Odmerajte výšku miestnosti A ako pri meraní
– Ak chcete zadať známu hodnotu, stláčajte
dĺžky (vzdialenosti). Nameraná hodnota („cst“)
tlačidlo Plus 6 resp. tlačidlo Mínus 12 tak
sa zobrazí v hornom riadku pre nameranú
dlho, až sa zobrazí indikácia požadovanej
hodnotu a. Laser zostáva zapnutý.
hodnoty v hornom riadku a pre nameranú
hodnotu a. Ak podržíte stlačené tlačidlo Plus 6
Potom odmerajte dĺžku B
1
resp. tlačidlo Mínus 12 dlhšie, hodnoty
prvej steny. Plocha sa vypo-
pokračujú kontinuálne ďalej. Laser sa ešte
číta automaticky a zobrazí sa
nezapne.
v riadku pre výsledok c.
– Ak chcete odmerať porovnávaciu hodnotu,
Nameraná hodnota dĺžky sa
stlačte tlačidlo Meranie 7 jedenkrát krátko na
zobrazí v strednom riadku
zameranie a znova krátko na meranie. Potom
pre nameranú hodnotu a.
zostáva laserový lúč zapnutý.
Laser zostáva zapnutý.
– Nameraná alebo zadaná porovnávacia hod-
Potom odmerajte dĺžku B
2
nota sa dá korigovať pomocou tlačidla Plus 6
druhej steny. Hodnota jed-
alebo tlačidla Mínus 12.
notlivého merania zobrazená
Po stanovení porovnávacej hodnoty stlačte dlho
v strednom riadku pre name-
tlačidlo Meranie 7, aby ste začali s meraním.
ranú hodnotu a sa pripočíta k
Pohybujte teraz meracím prístrojom na prenese-
dĺžke B
1
. Súčet oboch dĺžok
nie hodnoty požadovaným smerom. V riadku pre
(„sum“, zobrazený v dolnom
výsledok c sa priebežne zobrazuje aktuálna na-
riadku pre nameranú hodnotu a) sa vynásobí
merané hodnota celej meranej trasy. V hornom
hodnotou výšky A uloženou v pamäti. Hodnota
riadku pre nameranú hodnotu a sa naďalej
celej plochy sa zobrazí v riadku pre výsledok c.
zobrazuje zvolená porovnávacia hodnota.
Môžete odmeriavať ľubovoľné množstvo ďalších
V strednom a v dolnom riadku pre nameranú hod-
dĺžok B
X
, ktoré sa budú automaticky spočítavať
notu a sa zobrazuje faktor („x“), koľkokrát je po-
a násobiť výškou A.
rovnávacia hodnota obsiahnutá v celej meranej
Predpokladom pre korektný výpočet plochy je
trase, a rozdiel („dif“) medzi celočíselným násob-
to, aby bola prvá odmeraná dĺžka (napríklad
kom porovnávacej hodnoty a medzi celou trasou.
výška miestnosti A) rovnaká pre všetky ďalšie
Ak je celá meraná trasa o niečo menšia ako
čiastkové plochy.
celočíselný násobok, vtedy sa zobrazí záporná
Ak chcete vykonať nové meranie plochy stien s
hodnota rozdielu a najbližší vyšší násobok
novou výškou miestnosti A, stlačte trikrát
porovnávanej hodnoty.
tlačidlo 16.
Pohybujte meracím prístrojom tak dlho, kým sa
v strednom riadku pre nameranú hodnotu a
zobrazí požadovaný násobok porovnávacej hod-
noty a hodnota rozdielu bude v dolnom riadku
pre nameranú hodnotu a „0,0 m“. Preneste
potom vzťažný bod merania.
Bosch Power Tools 1 609 929 T67 | (3.7.09)

OBJ_BUCH-947-004.book Page 224 Friday, July 3, 2009 8:44 AM
224 | Slovensky
Príklady:
Ak pri novom stlačení tlačidla 15 nie sú už
a) Kladná hodnota rozdielu:
uložené v pamäti žiadne ďalšie merania, merací
7,4 m = (12 x 0,6 m) + 0,2 m
prístroj sa vráti do pôvodnej meracej funkcie. Ak
Na celej trase dĺžky 7,4 m je
chcete opustiť zoznam nameraných hodnôt,
porovnávacia hodnota 0,6 m
stlačte niektoré z tlačidiel pre meracie funkcie.
obsiahnutá 12-krát. Okrem
Ak chcete aktuálnu na displeji indikovanú hod-
toho celá trasa obsahuje ešte
notu zoznamu nameraných hodnôt vymazať,
zvyšok 0,2 m. Skráťte vzdiale-
stlačte krátko tlačidlo 16. Ak chcete vymazať
nosť medzi meracím prístro-
celý zoznam nameraných hodnôt, podržte
jom a východiskovým bodom
stlačené tlačidlo Zoznam nameraných hodnôt 15
o hodnotu rozdielu 0,2 m a
a súčasne stlačte krátko tlačidlo 16.
potom túto dĺžku preneste.
Vymazanie nameraných hodnôt
b) Záporná hodnota rozdielu:
7,0 m = (12 x 0,6 m) – 0,2 m
Krátkym stlačením tlačidla 16 môžete vo všet-
kých meracích funkciách vymazať naposledy
Na celej trase dĺžky 7,0 m
odmerané jednotlivé hodnoty. Viacnásobným
chýba 0,2 m, kým porovná-
krátkym stlačením tohto tlačidla sa vymazávajú
vacia hodnota 0,6 m je
jednotlivé namerané hodnoty v opačnom poradí.
obsiahnutá 12-krát. Zväčšite
vzdialenosť medzi meracím
Vo funkcii Meranie plochy stien sa pri prvom
prístrojom a východiskovým
krátkom stlačení tlačidla 16 vymaže posledná
bodom o hodnotu 0,2 m a
jednotlivá nameraná hodnota, pri druhom
potom túto dĺžku preneste.
stlačení sa vymažú všetky dĺžky B
X
, a pri treťom
stlačení sa vymaže výška miestnosti A.
Krátkym stlačením tlačidla Meranie 7 Porovná-
vaciu funkciu prerušíte. Dlhé stlačenie tlačidla
Sčítavanie nameraných hodnôt
meranie 7 spustí Porovnávaciu funkciu znova
Keď chcete sčítavať namerané hodnoty, vyko-
(s rovnakou porovnávacou hodnotou).
najte najprv nejaké ľubovoľné meranie alebo
Porovnávacia funkcia sa po 5 minútach automa-
zvoľte niektorý záznam v zozname nameraných
ticky vypne. Ak chcete opustiť túto funkciu skôr,
hodnôt. Potom stlačte tlačidlo Plus 6. Na
stlačte niektoré z tlačidiel pre meracie funkcie.
displeji sa na potvrdenie zobrazí „+“. Potom
vykonajte druhé meranie alebo vyberte nejaký
Zoznam posledných nameraných hodnôt
ďalší záznam zo zoznamu nameraných hodnôt.
Merací prístroj má v pamäti uložených posled-
Ak chcete vyvolať súčet
ných 30 nameraných hodnôt a ich výpočtov a
oboch meraní, stlačte tlačid-
zobrazuje ich v obrátenom poradí (poslednú
lo vyvolania výsledku 5.
nameranú hodnotu na prvom mieste).
Výpočet sa zobrazí v riadkoch
Keď chcete vyvolať merania
pre namerané hodnoty a a
uložené v pamäti, stlačte tla-
súčet sa zobrazí v riadku pre
čidlo 15. Na displeji sa objaví
výsledok c.
výsledok posledného mera-
Po vypočítaní súčtu sa môžu k tomuto výsledku
nia, k tomu indikátor pre
pripočítavať ďalšie namerané hodnoty alebo
zoznam nameraných hodnôt
hodnoty zapísané v zozname nameraných hod-
d a takisto počítadlo pre čís-
nôt, keď sa pred meraním vždy stlačí tlačidlo
lovanie zobrazených meraní.
Plus 6. Spočítanie sa ukončí stlačením tlačidla
pre výsledok 5.
1 609 929 T67 | (3.7.09) Bosch Power Tools

OBJ_BUCH-947-004.book Page 225 Friday, July 3, 2009 8:44 AM
Slovensky | 225
Upozornenie k sčítavaniu:
Čo ovplyvňuje výsledok merania
– Hodnoty dĺžok, plôch a objemov sa nedajú
Na základe fyzikálnych efektov sa nedá vylúčiť,
sčítavať pomiešané dohromady. Ak sa naprí-
aby sa pri meraní na rozličných povrchových
klad spočíta nejaká hodnota dĺžky a nejaká
plochách neobjavili chyby merania. Sem patria
hodnota plochy, pri krátkom stlačení tlačidla
nasledovné:
pre výsledok 5 sa na displeji na chvíľu objaví
– priehľadné povrchové plochy (napr. sklo,
indikácia „ERROR“. Potom prejde merací
voda),
prístroj do tej meracej funkcie, ktorá bola
– zrkadliace povrchové plochy (napr. leštený
aktivovaná naposledy.
kov, sklo),
– Pripočítava sa vždy výsledok jedného mera-
– porózne povrchové plochy (napr. rôzne
nia (napr. hodnota objemu), pri trvalých
izolačné materiály),
meraniach nameraná hodnota indikovaná v
– štrukturované povrchové plochy (napr. hrubá
riadku pre výsledok c. Sčítavanie jednotlivých
omietka, prírodný kameň).
nameraných hodnôt z riadkov pre namerané
hodnoty a nie je možné.
V prípade potreby použite na týchto povrcho-
– Pri časovo oneskorenom meraní dĺžky a v
vých plochách laserovú cieľovú tabuľku 32
porovnávacej funkcii žiadne sčítavanie nie je
(príslušenstvo).
možné, ak bolo sčítavanie začaté, pri
Chybné merania sa okrem toho môžu vyskytovať
prepnutí do týchto funkcií sa preruší.
na šikmých zameraných cieľových plochách.
Odčítavanie nameraných hodnôt
Nameranú hodnotu môžu takisto ovplyvňovať
vzduchové vrstvy s rozlične vysokou teplotou
Ak chcete odpočítavať name-
alebo nepriamo prijímané reflexie (odrazy)
rané hodnoty, stlačte tlačidlo
nameranej hodnoty.
Mínus 12 a na potvrdenie sa
na displeji objaví indikácia
Meranie pomocou dorazového kolíka
„–“. Ďalší postup je analo-
(pozri obrázky B, C, F, G)
gický ako pri „Sčítavanie
Používanie dorazového kolíka 18 je vhodné napr.
nameraných hodnôt“.
na meranie z kútov (uhlopriečka miestnosti)
alebo na meranie ťažko dostupných miest, ako
Pokyny na používanie
sú napr. roletové koľajničky.
Všeobecné upozornenia
Stlačte aretáciu 1 dorazového kolíka, keď
Prijímacia šošovka 26 a výstup laserového lúča
chcete kolík vyklopiť von alebo zaklopiť späť,
27 nesmú byť počas merania zakryté.
alebo keď chcete zmeniť jeho polohu.
Počas merania nesmiete merací prístroj pohybo-
Pre merania od vonkajších rohov môžete
vať (s výnimkou funkcií Trvalé meranie, Meranie
vyklopiť dorazový kolík smerom do strany, pre
minima/maxima a Porovnávacia funkcia). Prikla-
merania od zadnej hrany dorazového kolíka ho
dajte vždy preto merací prístroj podľa možnosti
vyklopte smerom dozadu.
na pevnú dorazovú alebo podkladovú plochu.
Nastavte primerane vzťažnú rovinu pre merania
s dorazovým kolíkom stlačením tlačidla 8 (pre
Čo ovplyvňuje merací rozsah
merania s dorazovým kolíkom umiestneným
Merací rozsah závisí od svetelných pomerov a
bočne na meranie od zadnej hrany meracieho
reflexných vlastností cieľovej plochy. Aby ste
prístroja).
laserový lúč lepšie videli, použite pri meraní
vonku a pri silnom slnečnom žiarení okuliare na
zviditeľnenie laserového lúča 31 (príslušenstvo)
a laserovú cieľovú tabuľku 32 (príslušenstvo),
alebo cieľovú plochu nejakým vhodným spôso-
bom zatieňte.
Bosch Power Tools 1 609 929 T67 | (3.7.09)

OBJ_BUCH-947-004.book Page 226 Friday, July 3, 2009 8:44 AM
226 | Slovensky
Nastavenie pomocou libely (vodováhy)
Poruchy – príčiny a ich odstránenie
Libela 14 umožňuje jednoduché nastavenie
vodorovnej polohy meracieho prístroja. Takýmto
Príčina Odstránenie
spôsobom môžete jednoduchšie zameriavať
Výstraha nevhodnej teploty (i) bliká, meranie
cieľové plochy, predovšetkým na väčšie vzdiale-
nie je možné
nosti.
Libela 14 v kombinácii s laserovým lúčom nie je
Merací prístroj sa
Počkajte, kým
vhodná na nivelovanie.
nachádza mimo rámca
merací prístroj
prevádzkovej teploty od
dosiahne pre-
Zameranie pomocou cieľovej optiky
– 10 °C do +50 °C (vo
vádzkovú teplotu
(GLM 250 VF) (pozri obrázok N)
funkcii trvalé meranie do
Zraková línia cez cieľovú optiku a laserový lúč
+40 °C).
prebiehajú navzájom rovnobežne. Vďaka tomu
Indikovaná výstraha slabej batérie (f)
sa môže dosiahnuť precízne zameranie na dlhé
Napätie batérie klesá
Vymeňte batérie
vzdialenosti v prípadoch, keď už laserový lúč
(meranie je ešte možné)
resp. akumuláto-
prestal byť viditeľný voľným okom.
rové články
Na zameranie pozrite cez hľadáčik 10 cieľovej
Indikácia výstraha slabej batérie (f) bliká,
optiky. Dávajte pozor na to, aby bolo okienko 25
meranie nie je možné
cieľovej optiky voľné a aby bolo čisté.
Napätie batérie je príliš
Vymeňte batérie
Upozornenie: V blízkej vzdialenosti sa skutočný
nízke
resp. akumuláto-
a zobrazený cieľový bod neprekrývajú.
rové články
Zameranie pomocou nastavovacej pomôcky
Indikácie „ERROR“ a „–––––“ na displeji
(pozri obrázok O)
Uhol medzi laserovým
Zväčšite uhol
Pomocou nastavovacej pomôcky 24 sa môže za-
lúčom a cieľom je príliš
medzi laserovým
meranie na veľké vzdialenosti uľahčiť. Pozerajte
ostrý.
lúčom a cieľom
preto pozdĺž nastavovacej pomôcky na hornej
Cieľová plocha reflektuje
Použite cieľovú
strane meracieho prístroja. Laserový lúč prebie-
príliš intenzívne (naprí-
tabuľku 32
ha paralelne k tejto zrakovej línii (rovnobežne).
klad zrkadlo) alebo príliš
(príslušenstvo)
Práca so statívom (Príslušenstvo)
slabo (napríklad čierna
látka), prípadne vtedy, ak
Použitie statívu je nevyhnutné predovšetkým pri
je okolité svetlo príliš
väčších vzdialenostiach. Umiestnite merací
silné.
prístroj závitom 1/4" 21 na rýchlupínaciu plat-
ničku statívu 30 alebo nejakého bežného foto-
Výstup laserového lúča 27
Pomocou mäkkej
grafického statívu. Aretačnou skrutkou ho dobre
resp. prijímacia šošovka
handričky vytrite
priskrutkujte na rýchloupínaciu platničku
26 sú zarosené (napríklad
výstup laserového
statívu.
následkom rýchlej zmeny
lúča 27 resp.
Stláčaním tlačidla 8 nastavte príslušnú vzťažnú
teploty).
prijímaciu šošov-
rovinu pre meranie so statívom (vzťažná rovina
ku 26 dosucha
závit).
Vypočítaná hodnota je
Výpočet rozdeľte
väčšia ako
na jednotlivé
999999 m/m
2
/m
3
.
čiastkové kroky
1 609 929 T67 | (3.7.09) Bosch Power Tools

OBJ_BUCH-947-004.book Page 227 Friday, July 3, 2009 8:44 AM
Slovensky | 227
Príčina Odstránenie
Kontrola presnosti merania meracieho
prístroja
Indikácia „ERROR“ bliká hore na displeji
Presnosť meracieho prístroja môžete prekontro-
Sčítavanie/odčítavanie
Sčítavajte/odčítav
lovať nasledovne:
nameraných hodnôt s
ajte len namerané
– Zvoľte trvalo nemennú meraciu vzdialenosť v
rozdielnymi meracími
hodnoty s rovna-
dĺžke cca 1 až 10 m, ktorej dĺžku presne
jednotkami
kými meracími
poznáte (napríklad šírku miestnosti, otvor
jednotkami
dverí a podobne). Táto meracia vzdialenosť
Výsledok merania je nepravdepodobný
sa musí nachádzať vo vnútri miestnosti,
cieľová ploche merania musí byť hladká a
Cieľová plocha nereflek-
Zakryte cieľovú
musí mať dobrý odraz.
tuje jednoznačne (naprí-
plochu
– Odmerajte túto vzdialenosť 10-krát za sebou.
klad voda, sklo).
Odchýlka jednotlivých meraní od strednej hod-
Výstup laserového lúča 27
Výstup laserového
noty smie byť maximálne ±1,5 mm. Zaprotoko-
resp. prijímacia šošovka
lúča 27 príjímaciu
lujte si tieto merania, aby ste neskôr mohli
26 sú prikryté.
šošovku 26
presnosť meraní porovnávať.
uvoľnite
Nastavená nesprávna
Vyberte takú
vzťažná rovina
vzťažnú rovinu,
ktorá sa hodí pre
Údržba a servis
dané meranie
Údržba a čistenie
Na dráhe laserového lúča
Laserový bod sa
je prekážka
musí celý
Merací prístroj skladujte a transportujte v
nachádzať na
ochrannej taške, ktorá sa dodáva spolu s mera-
cieľovej ploche.
cím prístrojom.
Udržiavajte svoj merací prístroj vždy v čistote.
Merací prístroj kontroluje korekt-
Neponárajte merací prístroj do vody ani do iných
né fungovanie pri každom meraní.
kvapalín.
Keď sa zistí porucha, na displeji
bliká už len symbol, ktorý sa
Znečistenia utrite vlhkou mäkkou handričkou.
nachádza vedľa. V takomto prí-
Nepoužívajte žiadne čistiace prostriedky ani
pade, alebo ak vyššie uvedené opatrenia neve-
rozpúšťadlá.
dia odstrániť poruchu, doručte merací prístroj
Predovšetkým prijímaciu šošovku 26 ošetrujte
prostredníctvom svojho predajcu autorizova-
rovnako starostlivo, ako treba ošetrovať naprí-
nému servisnému stredisku Bosch.
klad okuliare alebo šošovku fotoaparátu.
Ak by merací prístroj napriek starostlivej výrobe
a kontrole predsa len prestal niekedy fungovať,
treba dať opravu vykonať autorizovanej servis-
nej opravovni ručného elektrického náradia
Bosch. Merací prístroj sami nikdy neotvárajte.
Pri všetkých dopytoch a objednávkach náhrad-
ných súčiastok uvádzajte bezpodmienečne
10-miestne vecné číslo uvedené na typovom
štítku výrobku.
V prípade potreby zasielajte merací prístroj do
opravy v ochrannej taške 28.
Bosch Power Tools 1 609 929 T67 | (3.7.09)

OBJ_BUCH-947-004.book Page 228 Friday, July 3, 2009 8:44 AM
228 | Slovensky
Servisné stredisko a poradenská služba
Likvidácia
pre zákazníkov
Výrobok, príslušenstvo a obal treba dať na
Servisné stredisko Vám odpovie na otázky
recykláciu šetriacu životné prostredie.
týkajúce sa opravy a údržby Vášho produktu ako
aj náhradných súčiastok. Rozložené obrázky a
Len pre krajiny EÚ:
informácie k náhradným súčiastkam nájdete aj
Neodhadzujte meracie prístroje
na web-stránke:
do komunálneho odpadu!
www.bosch-pt.com
Podľa Európskej smernice
Tím poradenskej služby pre zákazníkov Bosch
2002/96/ES o starých elek-
Vám rád pomôže aj pri problémoch týkajúcich sa
trických a elektronických výrob-
kúpy a nastavenia produktov a príslušenstva.
koch a podľa jej aplikácií v národ-
nom práve sa musia už nepoužiteľné elektrické
Slovakia
produkty zbierať separovane a dať na recykláciu
Tel.: +421 (02) 48 703 800
zodpovedajúcu ochrane životného prostredia.
Fax: +421 (02) 48 703 801
E-Mail: servis.naradia@sk.bosch.com
Akumulátorové články/batérie:
www.bosch.sk
Opotrebované akumulátorové články/batérie
neodhadzujte do komunálneho odpadu, do ohňa
ani do vody. Opotrebované akumulátorové
články/batérie treba dať do zberu, na recykláciu
alebo na likvidáciu neohrozujúcu životné
prostredie.
Len pre krajiny EÚ:
Podľa smernice 91/157/EHS treba dať pokaze-
né alebo opotrebované akumulátorové články/
batérie na recykláciu.
Zmeny vyhradené.
1 609 929 T67 | (3.7.09) Bosch Power Tools

OBJ_BUCH-947-004.book Page 229 Friday, July 3, 2009 8:44 AM
Magyar | 229
hu
Biztonsági előírások
f Ne használja a lézerpontkereső szemüveget
védőszemüvegként. A lézerpontkereső sze-
A mérőműszerrel végzett munkák
müveg a lézersugár felismerésének meg-
veszélymentes és biztonságos vég-
könnyítésére szolgál, de nem nyújt védelmet
rehajtásához minden előírást gon-
a lézersugárral szemben.
dosan végig kell olvasni és be kell
f Ne használja a lézerpontkereső szemüveget
tartani. Sohase tegye felismerhe-
napszemüvegként vagy a közlekedésben
tetlenné a mérőműszeren elhelyezett figyel-
egyszerű szemüvegként. A lézerpontkereső
meztető táblákat. KÉRJÜK GONDOSAN
szemüveg nem nyújt teljes védelmet az ultra-
ŐRIZZE MEG EZEKET AZ ELŐÍRÁSOKAT.
ibolya sugárzással szemben és csökkenti a
f Vigyázat – ha az itt leírtaktól eltérő kezelő
színfelismerési képességet.
vagy beállító berendezéseket használ, vagy
más eljárásokat alkalmaz, ez veszélyes
f A mérőműszert csak szakképzett személy-
sugárterheléshez vezethet.
zet csak eredeti pótalkatrészek felhasz-
nálásával javíthatja. Ez biztosítja, hogy a
f A mérőműszer egy német nyelvű figyelmez-
mérőműszer biztonságos műszer maradjon.
tető táblával kerül szállításra (a képes olda-
lon a mérőműszer rajzán a 19 számmal van
f Ne hagyja, hogy gyerekek a lézersugárral
jelölve).
felszerelt mérőműszert felügyelet nélkül
használják. Ezzel akaratlanul elvakíthat más
személyeket.
f Ne dolgozzon a mérőműszerrel olyan robba-
násveszélyes környezetben, ahol éghető
folyadékok, gázok vagy porok vannak.
A mérőműszerben szikrák keletkezhetnek,
amelyek a port vagy a gőzöket meggyújthat-
ják.
A működés leírása
f Ragassza át a német nyelvű figyelmeztető
Kérjük hajtsa ki a Kezelési Utasításnak a mérő-
táblát az első üzembe helyezés előtt a
műszer képét tartalmazó kihajtható lapját,
készülékkel szállított megfelelő nyelvű
miközben a Kezelési Utasítást olvassa.
öntapadó címkével.
f Ne irányítsa a lézersugarat más sze-
mélyekre vagy állatokra és saját maga se
Rendeltetésszerű használat
nézzen bele a lézersugárba. Ez a mérő-
A mérőműszer távolságok, hosszúság és magas-
műszer az IEC 60825-1 szabványban
ság mérésére és felületek és térfogatok kiszámí-
megadottaknak megfelelő 2. lézerosztályú
tására szolgál. A mérőműszer mind beltéri, mind
lézersugárzást bocsát ki. Ezzel el lehet
a szabadban végzett mérésekhez használható.
vakítani más személyeket.
Bosch Power Tools 1 609 929 T67 | (3.7.09)

OBJ_BUCH-947-004.book Page 230 Friday, July 3, 2009 8:44 AM
230 | Magyar
Műszaki adatok
Digitális lézeres távolságmérő GLM 150
GLM 250 VF
Professional
Professional
Cikkszám
3 601 K72 000 3 601 K72 100
Céloptika
– z
Mérési tartomány
0,05–150 m
A)
0,05–250 m
A)
Mérési pontosság (tipikus) ± 1,0 mm
B)
± 1,0 mm
B)
Legkisebb kijelezhető egység 0,1 mm 0,1 mm
Üzemi hőmérséklet
–10 °C...+50 °C
C)
–10 °C...+50 °C
C)
Tárolási hőmérséklet –20 °C...+70 °C –20 °C...+70 °C
A levegő megengedett legmagasabb
nedvességtartalma
90 % 90 %
Lézerosztály
22
Lézertípus
635 nm, <1 mW 635 nm, <1 mW
Lézersugár átmérő (25 °C mellett) kb.
– 10 m távolságban
6mm
6mm
– 150 m távolságban
90 mm
90 mm
Elemek
4 x 1,5 V LR03 (AAA)
4 x 1,5 V LR03 (AAA)
Akkumulátorcellák
4 x 1,2 V HR03 (AAA)
4x1,2VHR03(AAA)
Az elem élettartama kb.
– Egyedi mérések
30000
D)
30000
D)
– Tartós mérés
5óra
D)
5óra
D)
Súly az „EPTA-Procedure 01/2003”
(2003/01 EPTA-eljárás) szerint 0,24 kg 0,24 kg
Méretek
66 x 120 x 37 mm 66 x 120 x 37 mm
Védettségi osztály
IP 54 (por és fröccsenő
IP 54 (por és fröccsenő
víz ellen védett kivitel)
víz ellen védett kivitel)
A) A készülék hatótávolsága annál nagyobb, minél jobban visszaveri a felület a lézerfényt (szórva, nem tükrözve) és
minél jobban kiválik a lézerfénypont a környezetből (belső helyiségek, alkonyodás). Hátrányos feltételek mellett
(például a szabadban erős napsugárzás mellett végrehajtott mérések esetén) szükség lehet a céltábla alkalmazására.
B)Hátrányos körülmények, például erős napsugárzás vagy rossz visszaverő tulajdonságú felület esetén a maximális
eltérés 150 m távolságban
±20 mm. Előnyös körülmények esetén ± 0,05 mm/m eltérésre lehet számítani.
C) Tartós mérés üzemmódban a maximális megengedett üzemi hőmérséklet +40 °C.
D) 1,2-V akkumulátorokkal kevesebb mérést lehet végrehajtani, mint 1,5-V elemekkel. Az elem megadott élettartama
kijelző megvilágítás és hangjelzés nélküli mérésekre vonatkozik.
Kérem ügyeljen a mérőműszer helyes cikkszámára, egyes mérőműszereknek több különböző kereskedelmi
megnevezése is lehet.
Az ön mérőműszere a típustáblán található 20 gyártási számmal egyértelműen azonosítható.
1 609 929 T67 | (3.7.09) Bosch Power Tools

Magyar | 231
Kijelző elemek
Az ábrázolásra kerülő komponensek
a Mérési érték sorok
Az ábrázolásra kerülő alkatrészek számozása a
b Hibakijelzés „ERROR”
mérőműszernek az ábrákat tartalmazó oldalon
található ábráira vonatkozik.
c Eredmény sor
d Mérési érték lista kijelző
1 Az ütközőcsap reteszelője
e Mérési funkciók
2 Tartós lézersugár billentyű
Hosszmérés
3 Funkció átkapcsoló gomb
Felületmérés
4 Hosszúság, felület és térfogat mérési gomb
Térfogatmérés
5 Eredmény gomb
Tartós mérés
6 Plusz gomb
min
max Minimum-/Maximum-mérés
7 Mérési és tartós mérési gomb
2
1
Egyszerű Pitagorasz-mérés
8 Vonatkoztatási sík kijelölő gomb
1
32
Dupla Pitagorasz-mérés
9 Kijelző
3
1
2
Kombinált Pitagorasz-mérés
10 A céloptika keresője (GLM 250 VF)
1
Trapéz-mérés
11 Kijelző megvilágítás gomb
Időzítési funkció
Falfelület-mérés
12 Mínusz gomb
Kijelölési funkció
13 Minimum- és maximum-mérési billentyű
f Akkumulátor figyelmeztetés
14 Vízszintező
g Mérési vonatkoztató sík
15 Mérési érték lista gomb
h A lézer be van kapcsolva
16 Be-/Ki-gomb és memória törlőgomb
i Hőmérséklet figyelmeztetés
17 Tartóheveder rögzítő
18 Ütközőcsap
19 Lézer figyelmeztető tábla
Összeszerelés
20 Gyártási szám
21 1/4"-menet
Elemek behelyezése/kicserélése
22 Elemtartó
A mérőműszer üzemeltetéséhez alkáli-mangán-
23 Elemtartó reteszelés
elemek vagy akkumulátorcellák használatát
24 Irányzék
javasoljuk.
25 Céloptika ablak (GLM 250 VF)
1,2 V akkumulátorokkal kevesebb mérést lehet
26 Vevőlencse
végrehajtani, mint 1,5 V elemekkel.
27 Lézersugár kilépési pontja
A 22 elemfiók kinyitásához forgassa el a 23 rete-
szelést a helyzetbe és húzza ki az elemfiókot.
28 Védőtáska
29 Tartópánt
Az elemek, illetve akkumulátorcellák behelyezé-
sekor ügyeljen az elemfiókban található ábrának
30 Tartóállvány*
megfelelő helyes polaritásra.
31 Lézerpont kereső szemüveg*
Amikor a kijelzőn először megjelenik a elem-
32 Lézer-céltábla*
szimbólum, akkor még legalább 100 egyedi
* A képeken látható vagy a szövegben leírt tartozékok
mérésre van lehetőség. A tartós mérési funkció
részben nem tartoznak a standard szállítmányhoz.
ekkor deaktiválva van.
Bosch Power Tools 1 609 929 T67 | (3.7.09)
3
OBJ_BUCH-947-004.book Page 231 Friday, July 3, 2009 8:44 AM
2

OBJ_BUCH-947-004.book Page 232 Friday, July 3, 2009 8:44 AM
232 | Magyar
Ha az elemszimbólum villog, ki kell cserélni az
Be- és kikapcsolás
elemeket, illetve az akkumulátorcellákat. A
A mérőműszer bekapcsolásához a következő
mérőműszerrel ekkor már nem lehet több
lehetőségek állnak rendelkezésre:
mérést végrehajtani.
– Nyomja meg a 16 Be-/Ki-gombot: A mérő-
Mindig valamennyi elemet, illetve akkumulátor-
műszer bekapcsolásra kerül és a hosszmérési
cellát egyszerre cserélje ki. Csak egyazon gyártó
funkcióban van. A lézer nem kerül
cégtől származó és azonos kapacitású elemeket
bekapcsolásra.
vagy akkumulátorcellákat használjon.
– Nyomja meg röviden a 7 mérési gombot: A mé-
f Vegye ki az elemeket, illetve az akkumulá-
rőműszer és a lézer bekapcsolásra kerül. A mé-
torcellákat a mérőműszerből, ha azt hos-
rőműszer a hosszmérési funkcióban van.
szabb ideig nem használja. Az elemek és
– Nyomja meg hosszabb időre a 7 mérési gom-
akkumulátorcellák egy hosszabb tárolás
bot: A mérőműszer és a lézer bekapcsolásra
során korrodálhatnak, vagy maguktól
kerül. A mérőműszer a tartós mérési funkció-
kimerülhetnek.
ban van.
f Sohase irányítsa a lézersugarat személyek-
re vagy állatokra, és sohase nézzen bele
közvetlenül, – még nagyobb távolságból
Üzemeltetés
sem – a lézersugárba.
A mérőműszer kikapcsolásához nyomja meg
Üzembevétel
hosszabb időre a 16 Be-/Kikapcsoló billentyűt.
f Óvja meg a mérőműszert a nedvességtől és
Ha a mérőműszeren kb. 5 percig egyik billentyűt
a közvetlen napsugárzás behatásától.
sem nyomják meg, a mérőműszer az elemek
kímélésére automatikusan kikapcsol.
f Ne tegye ki a mérőműszert extrém hőmér-
sékleteknek vagy hőmérsékletingadozások-
Egy automatikus kikapcsolás esetén minden
nak. Például ne hagyja hosszabb ideig a
tárolt érték megmarad.
mérőműszert egy autóban. Nagyobb hőmér-
sékletingadozások után hagyja a mérő-
Mérési folyamat
műszert temperálódni, mielőtt azt ismét
A mérőműszer a bekapcsolás után mindig a
üzembe venné. Extrém hőmérsékletek vagy
hosszmérési, illetve tartós mérési funkcióban
hőmérséklet ingadozások befolyásolhatják a
van. Más mérési funkciókat a mindenkori
mérőműszer mérési pontosságát.
funkcióbillentyűvel lehet beállítani (lásd „Mérési
f Ügyeljen arra, hogy a mérőműszer ne
funkciók”, az 234. oldalon).
eshessen le és ne legyen kitéve erősebb
A mérőműszer minden egyes bekapcsolása után
lökéseknek vagy ütéseknek. Ha a mérő-
a mérőműszer hátsó éle van vonatkoztató
műszert erős külső hatás érte, a munka
síkként beállítva. A 8 vonatkoztató sík billentyű
folytatása előtt ellenőrizze annak pontos-
megnyomásával a vonatkoztató síot meg lehet
ságát (lásd „A mérőműszer pontosságának
változtatni (lásd „A vonatkoztató sík kijelölése”,
ellenőrzése”, a 241. oldalon).
a 233 oldalon).
A mérési funkció és a vonatkoztató sík kijelölése
után valamennyi további lépést a 7 mérési
billentyű megnyomásával lehet végrehajtani.
Fektesse hozzá a mérőműszert a kijelölt vonat-
koztató síkkal a kívánt mérési vonalra (például a
falra).
A lézersugár bekapcsolásához nyomja meg rövid
időre a 7
mérési billentyűt.
1 609 929 T67 | (3.7.09) Bosch Power Tools

OBJ_BUCH-947-004.book Page 233 Friday, July 3, 2009 8:44 AM
Magyar | 233
f Sohase irányítsa a lézersugarat személyek-
Tartós lézersugár
re vagy állatokra, és sohase nézzen bele
Szükség esetén át lehet állítani a mérőműszert a
közvetlenül, – még nagyobb távolságból
lézersugár tartós kibocsátására. Nyomja meg
sem – a lézersugárba.
ehhez a 2 tartós lézersugár billentyűt. A kijelzőn
Irányítsa a lézersugat a célfelületre. A mérés
most a „LASER” kijelzés folyamatosan világít.
kiváltásához nyomja meg ismét a 7 mérési
f Sohase irányítsa a lézersugarat személyek-
billentyűt.
re vagy állatokra, és sohase nézzen bele
Folyamatosan bekapcsolt lézersugár esetén a
közvetlenül, – még nagyobb távolságból
mérés már a 7 mérési gomb első megnyomása-
sem – a lézersugárba.
kor elkezdődik. A tartós mérés funkció esetén a
A lézersugár ennél a beállításnál az egyes méré-
mérés a funkció bekapcsolásakor azonnal
sek között is bekapcsolt állapotban marad, a
megkezdődik.
méréshez csak a 7 mérési billentyű egyszeri
A mérési eredmény tipikusan 0,5 másodpercen
rövid megnyomására van szükség.
belül és legkésőbb 4 másodperc elteltével jele-
A tartós lézersugár kikapcsolásához nyomja meg
nik meg. A mérés időtartama a távolságtól, a
még egyszer a 2 billentyűt vagy kapcsolja ki a
megvilágítási viszonyoktól és a célfelület vissza-
mérőműszert.
verési tulajdonságaitól függ. A mérés befejezé-
sét egy hangjel jelzi. A mérés befejezése után a
Ha a folyamatos lézersugarat egy mérés közben
lézer automatikusan kikapcsolódik.
lekapcsolja, akkor ezzel a mérés automatikusan
befejeződik.
Ha a lézersugár irányának beállítása után kb.
20 másodpercig nem történik mérés, a lézer-
A kijelző megvilágítása
sugár az elemek kímélésére automatikusan
A kijelző megvilágításának be- és kikapcsolásá-
kikapcsolódik.
hoz nyomja meg a 11 gombot. Ha a kijelző meg-
A vonatkoztató sík kijelölése
világításának bekapcsolása után 10 másod-
(lásd az „A”–„E” ábrát)
percen belül nem nyom meg egyetlen gombot
sem, a kijelző megvilágítása az elemek
A méréshez négy különböző vonatkoztató sík
kímélésére kikapcsolásra kerül.
között lehet választani:
– a mérőműszer hátsó éle, illetve az oldalra
Hangjelzés
kihajtott 18 ütközőcsap első éle (például
A hangjelzés be- és kikapcso-
külső sarkokra való felfektetés esetén),
lására nyomja meg annyiszor
– a hátrafelé kihajtott 18 ütközőcsap csúcsa
egymás után a 3 funkció
(például sarkokból kiinduló mérések esetén),
átkapcsoló gombot, amíg a
– a mérőműszer első éle (például egy asztal
kijelzőn megjelenik a hang-
élétől kiinduló méréshez),
jelzés beállítás jele. A 6 plusz
– a 21 menet (például a háromlábú műszeráll-
gomb, illetve a 12 mínusz
vány alkalmazásával végzett méréshez).
gomb megnyomásával jelölje
A vonatkoztatási sík kijelöléséhez nyomja meg
ki a kívánt beállítást.
annyiszor egymás után a 8 gombot, amíg a
A kijelölt hangbeállítás a mérőműszer ki- és
kijelzőn megjelenik a kívánt vonatkoztatási sík. A
bekapcsolásakor megmarad.
mérőműszer minden egyes bekapcsolása után a
mérőműszer hátsó éle van vonatkoztató síkként
beállítva.
A már végrehajtott méréseknél a vonatkoztatási
síkot (például a mérési eredményeknek a mérési
érték listában való kijelzéséhez) utólag már nem
lehet megváltoztatni.
Bosch Power Tools 1 609 929 T67 | (3.7.09)

OBJ_BUCH-947-004.book Page 234 Friday, July 3, 2009 8:44 AM
234 | Magyar
A mérési egység átváltása
Az aktuális mérési eredmény
A mérési eredmények kijelzéséhez használt
az c eredmény sorban kerül
mértékegységet bármikor meg lehet változtatni.
kijelzésre.
A következő mértékegységek állnak
A 7 mérési gomb rövid meg-
rendelkezésre:
nyomásával be lehet fejezni a
– Hosszmérés: m, cm, mm,
tartós mérést. Az utolsó mé-
– Felületmérés: m
2
rési eredmény az c eredmény
,
3
sorban kerül kijelzésre. A 7 mérési gomb hosszú
– Térfogatmérés: m
.
idejű megnyomása újraindítja a tartós mérést.
Nyomja meg annyiszor egy-
A tartós mérés 5 perc elteltével automatikusan
más után a 3 funkció átkap-
kikapcsolódik. Az utolsó mérési eredmény az c
csoló gombot, amíg a kijelzőn
eredmény sorban továbbra is kijelzésre kerül.
megjelenik a mértékegység
átkapcsolásának jele. A 6
Minimum-/maximum-mérés
plusz gomb, illetve a 12 mí-
(lásd az „F”–„G” ábrát)
nusz gomb megnyomásával
A minimum-mérés egy rögzített vonatkozási
jelölje ki a kívánt mértékegy-
ponttól mért legkisebb távolság meghatározá-
séget.
sára szolgál. Ez a mérés például függőleges vagy
vízszintes vonalak hosszának (legkisebb érték)
Mérési funkciók
meghatározására lehet használni.
Egyszerű hosszmérés
A maximum-mérés egy rögzített vonatkozási
A hosszméréshez nyomja meg annyiszor egymás
ponttól mért legnagyobb távolság meghatározá-
után a 4 gombot, amíg a kijelzőn megjelenik a
sára szolgál. Ez a mérés például átlók hosszának
hosszmérés jele.
(legnagyobb érték) meghatározására lehet hasz-
nálni.
A célzáshoz, – és a méréshez
is, –nyomja meg rövid időre 7
Az egyszerű minimum-/maximum-méréshez
a mérés billentyűt.
először jelölje ki a hosszmérési funkciót, majd
nyomja meg a 13 gombot. Az c eredmény sorban
A mérési eredmény az c ered-
megjelenik a „min” kijelzés, ez a minimum-
mény sorban kerül kijelzésre.
mérést jelzi. A maximum-mérésekhez nyomja
meg még egyszer a 13 gombot, ekkor az ered-
Több, egymás után végrehajtott hosszmérés
mény sorban a „max” kijelzés jelenik meg.
esetén az utolsó mérések eredményei a a mérési
Ezután nyomja meg a 7 mérési gombot. A lézer
érték sorokban kerülnek kijelzésre.
bekapcsolódik és a mérés megkezdődik.
Mozgassa a lézert a kívánt cél felett úgy ide-oda
Tartós mérés
(például a helyiség sarkánál az átló hosszának
A tartós mérés alatt a mérőműszert a célhoz
meghatározásához), hogy a mérési vonatkozási
viszonyítva el szabad mozgatni, a készülék a mért
pont (például az 18 ütközőcsap csúcsa) mindig
értéket kb. félmásodpercenként aktualizálja. A
egy helyben maradjon.
felhasználó például eltávolódhat egy faltól, amíg
Az c eredmény sorban (a kivá-
el nem éri a kívánt távolságot; az aktuális távolság
lasztott funkciótól függően)
a készüléken mindig leolvasható.
megjelenik a minimális,
A tartós mérésekhez először jelölje ki a hossz-
illetve maximális mérési ered-
mérési funkciót, majd nyomja be annyiszor a 7
mény. Ez az érték minden
mérési gombot, amíg megjelenik a tartós mérés
olyan esetben felülírásra
jele. A lézer bekapcsolódik és a mérés
kerül, ha az aktuális hossz-
azonnal megkzedődik.
1 609 929 T67 | (3.7.09) Bosch Power Tools

OBJ_BUCH-947-004.book Page 235 Friday, July 3, 2009 8:44 AM
Magyar | 235
mérési érték kisebb, mint az eddigi minimum,
Térfogatmérés
illetve nagyobb, mind az eddigi maximum. A a
A térfogatméréshez nyomja meg annyiszor egy-
mérési érték sorokban megjelenik a maximális
más után a 4 gombot, amíg a kijelzőn megjelenik
(„max”), a minimális („min”) és az aktuális
a térfogatmérés jele.
mérési eredmény.
Ezután a hosszméréshez hasonlóan egymás után
A minimum-/maximum-mérés befejezéséhez
mérje meg a mérésre kerülő térfogat hosszúsá-
nyomja be rövid időre a 7 mérési gombot. A
gát, szélességét és magasságát. A három mérés
mérés ismételt elindításához nyomja meg ismét
között a lézersugár bekapcsolt állapotban
a mérési gombot.
marad.
A minimum-/maximum-mérést akkor is lehet
A harmadik mérés befejezése
használni, ha az ember más mérési funkciók
után a berendezés automati-
(például felületmérés) keretein belül végez
kusan kiszámítja és az c ered-
hosszmérést. Ehhez a különálló mérési értékek
mény sorban kijelzi a térfoga-
mindenkori meghatározásához nyomja meg a
tot. Az egyedi mérési értékek
minimum-méréshez egyszer, illetve a maximum-
a a mérési érték sorokban
méréshez kétszer a 13 gombot. Ezután a lézer-
találhatók.
sugár bekapcsolásához nyomja meg a 7 mérési
A 999999 m
3
meghaladó értékeket a berende-
gombot. Mozgassa úgy a mérőműszert, hogy az
zés nem tudja kijelezni, a kijelzőn ekkor megjele-
megmérje a kívánt minimális, illetve maximális
nik az „ERROR” (HIBA) kijelzés és „––––”.
értéket, és nyomja meg a 7 mérési gombot, hogy
Ossza fel a mérésre kerülő térfogatot több
a minimális, illetve maximális érték a folyamat-
részre, számítsa ki külön-külön ezek értékét,
ban levő számításhoz átvételre kerüljön.
majd adja össze azokat.
Késleltetett hosszmérés esetén és a kijelölési
funkcióban minimum- és maximum-mérésre
Közvetett hosszmérés (lásd a „H”–„K” ábrát)
nincs lehetőség.
A közvetett hosszmérés olyan szakaszok
A minimum-/maximum-mérés 5 perc elteltével
hosszának meghatározására szolgál, amelyeket
automatikusan kikapcsolásra kerül.
közvetlenül nem lehet megmérni, mert vagy
valami akadály van a szakasz két vége között,
Felületmérés
amely megszakítaná a lézersugarat, vagy nem áll
A felületméréshez nyomja meg annyiszor egy-
rendelkezésre megfelelő fényvisszaverő felület.
más után a 4 gombot, amíg a kijelzőn megjelenik
Helyes eredményeket csak akkor lehet elérni, ha
a felületmérés jele.
pontosan betartja a mindenkori méréshez
szükséges derékszöget (Pitagorasz-tétel).
Ezután a hosszméréshez hasonlóan egymás után
mérje meg a mérésre kerülő felület hosszúságát
Ügyeljen arra, hogy a mérés vonatkozási pontja
és szélességét. A két mérés között a lézersugár
(például a mérőműszer hátsó éle) egy mérési
bekapcsolt állapotban marad.
eljáráson belül minden egyes mérésnél ponto-
san ugyanazon a helyen maradjon (kivétel:
A második mérés befejezése
trapéz mérés).
után a berendezés automati-
kusan kiszámítja és az c ered-
A két külön mérés között a lézersugár bekap-
mény sorban kijelzi a felüle-
csolt állapotban marad.
tet. Az egyedi mérési értékek
A közvetett hosszméréshez négy mérési funkció
a a mérési érték sorokban
áll rendelkezésre, amelyekkel különböző
találhatók.
szakaszok hosszát lehet meghatározni. A mérési
funkció kijelöléséhez nyomja meg annyiszor egy-
más után a funkció átkapcsoló gomb 3 funkció
átkapcsoló gombot, amíg a kijelzőn megjelenik a
kívánt mérési funkció jele.
Bosch Power Tools 1 609 929 T67 | (3.7.09)

236 | Magyar
a) Egyszerű Pitagorasz-mérés (lásd a „H” ábrát)
d)Trapézmérés (lásd a „K” ábrát)
Nyomja meg annyiszor egymás után a 3 funkció
Nyomja meg annyiszor egymás után a 3 funkció
átkapcsoló gombot, amíg a kijelzőn megjelenik
átkapcsoló gombot, amíg a kijelzőn megjelenik a
az egyszerű Pitagorasz-mérés jele.
2
1
trapéz mérés jele.
1
Mérje meg – egy hosszméréshez hasonlóan –
Mérje meg – egy hosszméréshez hasonlóan –
az „1” és „2” szakaszt, pontosan ebben a
az „1”, „2” és „3” szakaszt, pontosan ebben a
sorrendben. Ügyeljen arra, hogy az „1” szakasz
sorrendben. Ügyeljen arra, hogy a „3” szakasz
és a keresett „E” szakasz pontosan derékszöget
mérése pontosan az „1” szakasz végpontjában
zárjon be egymással.
kezdődjön, és hogy az „1” és „2”, valamint az
Az utolsó mérés befejezése
„1” és „3” szakasz pontosan derékszöget zárjon
után a keresett szakasz „E”
be egymással.
hossza az c eredmény sorban
Az utolsó mérés befejezése
kerül kijelzésre. Az egyedi
után a keresett szakasz „E”
mérési értékek a a mérési
hossza az c eredmény sorban
érték sorokban találhatók.
kerül kijelzésre. Az egyedi
mérési értékek a a mérési
b) Dupla Pitagorasz-mérés (lásd az „I” ábrát)
érték sorokban találhatók.
Nyomja meg annyiszor egymás után a 3 funkció
átkapcsoló gombot, amíg a kijelzőn megjelenik a
Késleltetett hosszmérés
dupla Pitagorasz-mérés jele.
1
32
A késleltetett hosszmérés például nehezen
Mérje meg – egy hosszméréshez hasonlóan –
hozzáférhető helyeken végrehajtandó mérések-
az „1”, „2” és „3” szakaszt, pontosan ebben a
nél, vagy olyan esetekben lehet hasznos, amikor
sorrendben. Ügyeljen arra, hogy az „1” szakasz
meg akarja gátolni a mérőműszernek a mérés
és a keresett „E” szakasz pontosan derékszöget
közben való elmozdulását.
zárjon be egymással.
Az utolsó mérés befejezése
A késleltetett hosszméréshez nyomja meg
után a keresett szakasz „E”
annyiszor egymás után a 3 funkció átkapcsoló
hossza az c eredmény sorban
gombot, amíg a kijelzőn megjelenik a
kerül kijelzésre. Az egyedi
késleltetett hosszmérés jele.
mérési értékek a
a mérési
A a mérési érték sorban megjelenik a mérés
érték sorokban találhatók.
kiváltásáig megmaradó idő. Ezt az időtartamot a
6 plusz gomb, illetve a 12 mínusz gomb
c) Kombinált Pitagorasz-mérés
benyomásával 1 másodperc és 60 másodperc
(lásd a „J” ábrát)
között lehet beállítani.
Nyomja meg annyiszor egymás után a 3 funkció
Ezután nyomja meg a 7
átkapcsoló gombot, amíg a kijelzőn megjelenik a
mérési gombot, hogy bekap-
kombinált Pitagorasz-mérés jele.
3
1
2
csolja a lézersugarat és
Mérje meg – egy hosszméréshez hasonlóan –
beirányozza a célpontot. A
az „1”, „2” és „3” szakaszt, pontosan ebben a
mérés elindításához nyomja
sorrendben. Ügyeljen arra, hogy az „1” szakasz
meg egyszer a 7 mérési gom-
és a keresett „E” szakasz pontosan derékszöget
bot. A mérés a kijelölt idő
zárjon be egymással.
leteltével kerül végrehajtásra. A mérési ered-
Az utolsó mérés befejezése
mény az c eredmény sorban kerül kijelzésre.
után a keresett szakasz „E”
Késleltetett hosszmérés esetén a mérési ered-
hossza az c eredmény sorban
mények összeadására és kivonására, valamint
kerül kijelzésre. Az egyedi
minimum-/maximum-mérésre nincs lehetőség.
mérési értékek a a mérési
érték sorokban találhatók.
1 609 929 T67 | (3.7.09) Bosch Power Tools
3
OBJ_BUCH-947-004.book Page 236 Friday, July 3, 2009 8:44 AM
2

OBJ_BUCH-947-004.book Page 237 Friday, July 3, 2009 8:44 AM
Magyar | 237
Falfelület-mérés (lásd az „L” ábrát)
Kijelölési funkció (lásd az „M” ábrát)
A falfelület-mérés segítségével több különálló,
A kijelölési funkció egy rögzített hossz (kijelölési
de azonos magasságú felület együttes felületét
érték) átvitelére szolgál, amelyet vagy méréssel
lehet kiszámítani.
lehet meghatározni, vagy be lehet adni. Ezt a
Az ábrán látható példánál több azonos A
funkciót például a száraz építészetben a közfa-
magasságú, de különböző B hosszúságú fal
lak közötti távolságok kijelölésére lehet
együttes felülete kerül kiszámításra.
használni.
A falfelület-méréshez nyomja meg annyiszor egy-
A kijelölési funkció bekapcsolásához nyomja
más után a 3 funkció átkapcsoló gombot, amíg a
meg annyiszor egymás után a 3 funkció átkap-
kijelzőn megjelenik a falfelület-mérés jele.
csoló gombot, amíg a kijelzőn megjelenik a
kijelölési funkció jele.
Mérje meg a helyiség A magasságát, ehhez egy
egyszerű hosszmérést kell végrehajtania. A
A kijelölési értéket a következőképpen lehet
mérési eredmény („cst”) a felső a mérési érték
beállítani:
sorban kerül kijelzésre. A lézersugár bekap-
– Egy ismert érték beviteléhez nyomja meg
csolva marad.
annyiszor a 6 plusz gombot, illetve a 12
Mérje meg ezután az első fal
mínusz gombot, amíg a kívánt érték a felső a
B
mérési érték sorban kijelzésre kerül. Ha
1
hosszúságát. A berendezés
automatikusan kiszámítja és
hosszabb időre nyomja be a 6 plusz gombot,
az c eredmény sorban kijelzi a
illetve a 12 mínusz gombot, az értékek
felületet. A hosszmérés ered-
folyamatosan tovább változnak. A lézer még
ménye a középső a mérési
nem kerül bekapcsolásra.
érték sorban található. A lé-
– A kijelölési érték megméréséhez nyomja meg
zersugár bekapcsolva marad.
egyszer röviden a 7 mérési gombot (ez a
Mérje meg ezután a második
beirányzásra szolgál), majd nyomja meg még
fal B
2
hosszúságát. A beren-
egyszer röviden ugyanezt a gombot (a mérés
dezés a középső a mérési
ekkor kerül végrehajtásra). A lézersugár
érték sorban kijelzett egyedi
ezután bekapcsolt állapotban marad.
mérési értéket hozzáadja a B
– A kijelölési érték mért vagy kézi úton bevitt
1
hosszúsághoz. A berendezés
értékét a 6 plusz gomb, illetve a 12 mínusz
a két hosszúság összegét
gomb megnyomásával módosítani lehet.
(„sum”, ez az a mérési érték sorban kerül
A kijelölési érték rögzítéséhez nyomja be
kijelzésre) megszorozza az előbbiekben eltárolt
hosszabb időre a 7 mérési gombot, ezzel a
A magassággal. A teljes felület értéke az c ered-
mérés megkezdődik.
mény sorban kerül kijelzésre.
Mozgassa most a mérőműszert a kijelöléshez a
Ezután tetszőleges számú további B
X
hosszúsá-
kívánt irányba. Az c eredmény sorban folytono-
got lehet megmérni, ezeket a berendezés mindig
san kijelzésre kerül a teljes mérési szakasz
automatikusan hozzáadja az addigi össz-hosszú-
aktuális mért értéke. A a felső mérési érték
sághoz és megszorozza az A magassággal.
sorban továbbra is a kiválasztott kijelölési érték
Az előírásszerú felületmérésnek az előfeltétele,
található.
hogy az első mért hosszúság (a példában ez a
A középső és az alsó a mérési érték sorban egy
helyiség A magassága) mindegyik részfelületre
tényező („x”) található, amely azt mutatja,
azonos legyen.
hányszor található meg a kijelölési érték a teljes
Ha most egy új A magassággal akar falfelület-
mérési szakaszban, és mekkora a különbség
mérést végrehajtani, akkor nyomja meg
(„
dif”) a kijelölési érték egy egészszámú több-
háromszor a 16 gombot.
szöröse és a teljes szakasz között.
Bosch Power Tools 1 609 929 T67 | (3.7.09)

OBJ_BUCH-947-004.book Page 238 Friday, July 3, 2009 8:44 AM
238 | Magyar
Ha a teljes mérési szakasz csak kevéssel kisebb,
Az utolsó mérési eredmények listája
mint a kijelölési érték egy egészszámú többszö-
A mérőműszer a 30 utolsó mérési eredményt és
röse, akkor egy negatív különbség és a kijelölési
az ezekkel kapcsolatos számításokat tárolja és
érték következő egészszámú többszöröse kerül
fordított sorrendben (a legelső helyen a
kijelzésre.
legutolsó méréssel) megjeleníti.
Mozgassa addig a mérőműszert, amíg a középső
A tárolt mérések lehívásához
a mérési érték sorban a kijelölési érték kívánt
nyomja meg a 15 gombot. A
egészszámú többszöröse áll és az alsó a mérési
kijelzőn megjelenik az utolsó
érték sorban kijelzett különbség értéke „0,0 m”.
mérés eredménye és a mérési
Ekkor jelölje fel a mérés vonatkoztatási pontját.
érték lista d jele, valamint egy
Peldák:
számláló, amely a kijelzett
a) pozitív különbség érték:
mérések számozására szolgál.
7,4 m = (12 x 0,6 m) + 0,2 m
Ha a 15 gomb ismételt megnyomásakor már
Egy 7,4 m-es teljes mérési
nincsenek további tárolt mérések, a mérő-
szakaszban a 0,6 m kijelölési
műszer visszaáll az utolsó mérési funkcióra. A
érték 12-szer van meg. A tel-
mérési lista funkcióból való kilépéshez nyomja
jes mérési szakasz ezen felül
meg valamelyik mérési funkció gombját.
még egy 0,2 m-es maradékot
A mérési érték lista aktuálisan kijelzésre kerülő
is tartalmaz. Rövidítse le a
elemének törléséhez nyomja meg rövid időre a
mérőműszer és a kiindulási
16 gombot. A teljes mérési érték lista törléséhez
pont közötti távolságot a
tartsa benyomva a 15 mérési érték lista gombot
0,2 m különbséggel, majd
és ezzel egyidejűleg nyomja be rövid időre a 16
jelölje fel a hosszúságot.
gombot.
b) negatív különbség érték:
A mérési eredmények törlése
7,0 m = (12 x 0,6 m) – 0,2 m
A 16 billentyű rövid megnyomásával valamennyi
Egy 7,0 m-es teljes mérési
mérési funkciónál a legutoljára mért egyedi
szakaszból 0,2 m hiányzik
mérési eredményt lehet kitörölni. A törlő billen-
ahhoz, hogy abban a 0,6 m
tyű többszöri egymás utáni rövid megnyomásá-
kijelölési érték 12-szer legyen
val az egyedi mért értékek a méréshez viszonyít-
meg. Növelje meg a mérő-
va fordított sorrendben törlésre kerülnek.
műszer és a kiindulási pont
közötti távolságot a 0,2 m
A falfelület mérési funkciónál a 16 gomb első
különbséggel, majd jelölje fel
rövid megnyomásakor az utolsó egyedi mérési
a hosszúságot.
érték kerül törlésre, a második megnyomáskor
valamennyi B
X
hosszúság, a harmadik meg-
A 7 mérési gomb rövid megnyomásával meg
nyomásnál pedig a helyiség A magassága.
lehet szakítani a kijelölési funkciót. A 7 mérési
gomb hosszabb ideig történő megnyomásakor a
A mérési értékek összeadása
kijelölési funkció újra indul (azonos kijelölési
A mérési eredmények összeadásához először
értékkel).
hajtson végre egy tetszőleges mérést, vagy
A kijelölési funkció 5 perc elteltével automatiku-
jelöljön ki egy értéket a mérési érték listából.
san kikapcsolódik. Ha ennél gyorsabban ki akar
Ezután nyomja meg a 6 plusz gombot. A kijelzőn
lépni ebből a funkcióból, nyomja meg valamelyik
a nyugtázáshoz megjelenik a „+” kijelzés. Ezután
mérési funkció gombját.
hajtson végre egy második mérést, vagy jelöljön
ki egy további értéket a mérési érték listából.
1 609 929 T67 | (3.7.09) Bosch Power Tools

OBJ_BUCH-947-004.book Page 239 Friday, July 3, 2009 8:44 AM
Magyar | 239
A két mérés összegének
lekérdezéséhez nyomja meg
Munkavégzési tanácsok
a 5 eredmény gombot. A szá-
Általános tájékoztató
mítás a a mérési érték sorok-
A 26 vevőlencsét és a lézersugár 27 kimeneti
ban, az összeg az c eredmény
pontját mérés közben nem szabad letakarni.
sorban kerül kijelzésre.
A mérőműszert mérés közben nem szabad
Az összeg kiszámítása után ehhez az eredmény-
mozgatni (a tartós mérési funkciók, a mini-
hez további mérési értékeket vagy a mérési
mum-/maximum-mérés és a kijelölési funkció
érték listából lehívott eredményeket lehet
kivételével). Ezért a mérőműszert lehetőleg egy
hozzáadni, ha a mérés előtt mindig megnyomja
szilárd ütköző vagy felfekvő felületre helyezze.
a 6 plusz gombot. Az összeadás a 5 eredmény
gomb megnyomásával kerül befejezésre.
Befolyások a mérési tartományra
Összeadási tájékoztató:
A mérési tartomány a megvilágítási viszonyoktól
– Hosszúság-, felület- és térfogatértékeket nem
és a célfelület visszaverési tulajdonságaitól függ.
lehet vegyesen összeadni. Ha például egy
A szabadban és erős napsugárzás mellett vég-
hosszúság- és egy felületértéket akar
zett munkákhoz a lézerpont megtalálásának
összeadni, akkor a 5 eredmény gomb meg-
megkönnyítésére használja a 31 lézerpont
nyomásakor a kijelzőn rövid időre megjelenik
kereső szemüveget (külön tartozék) és a 32
az „ERROR” (HIBA) kijelzés. A mérőműszer
lézer-céltáblát (külön tartozék), illetve vessen
ezután átkapcsol a legutoljára aktív mérési
valamivel árnyékot a célfelületre.
funkcióra.
Befolyások a mérési eredményre
– Egyszerre mindig egy mérés eredménye (pél-
dául egy térfogatérték) kerül hozzáadásra,
Fizikai behatások következtében nem lehet
tartós mérés esetén az c eredmény sorban
kizárni, hogy a különböző felületeken végzett
kijelzett mérési eredmény. A a mérési érték
mérések során hibás eredmények is fellépjenek.
sorokból nem lehet egyedi mérési ered-
Ezek:
ményeket kivenni és hozzáadni.
– átlátszó felületek (pl. üveg, víz),
– Késleltetett hosszmérés esetén, valamint a
– tükröző felületek (pl. fényezett fém, üveg),
kijelölési funkcióban összeadásra nincs
– porózus felületek (pl. rezgéscsillapító vagy
lehetőség, a már megkezdett összeadások az
szigetelő anyagok),
ezen funkciókra való átkapcsoláskor
– strukturált felületek (pl. nyersvakolat,
megszakításra kerülnek.
terméskő).
Mért értékek levonása a memória tartalmából
Szükség esetén ezeken a felületeken használja a
32 lézer-céltáblát (külön tartozék).
A mérési eredmények
kivonásához nyomja meg a 12
Ezen kívül a ferdén beirányozott célfelületek is
mínusz gomb, ennek nyug-
hibás eredményekhez vezethetnek.
tázására a kijelzőn megjelenik
A mért értéket különböző hőmérsékletű
a „–” jel. A további eljárás
levegőrétegek, vagy a vevőhöz közvetett úton
hasonló a „A mérési értékek
eljutó visszavert sugarak is meghamisíthatják.
összeadása”-ban leírtakhoz.
Bosch Power Tools 1 609 929 T67 | (3.7.09)

OBJ_BUCH-947-004.book Page 240 Friday, July 3, 2009 8:44 AM
240 | Magyar
Mérés az ütközőcsap alkalmazásával
Célzás az irányzék segítségével
(lásd a „B”, „C”, „F” és „G” ábrát)
(lásd az „O” ábrát)
A 18 ütközőcsapot például sarkokból kiinduló
A 24 irányzék megkönnyíti a nagyobb távolság-
mérésekhez (például egy helyiség átlós hosszá-
ban található felületek beirányozását. Ehhez
nak kimérésekor) vagy nehezen elérhető helye-
nézzen a mérőműszer oldalán található irányzék
ken (például rolósínek) végzett mérésekhez
mentén előre. A lézersugár ezzel a vonallal
célszerű alkalmazni.
párhuzamos helyzetben van.
Nyomja meg az ütközőcsap 1 reteszelését, ha ki
Munkavégzés a háromlábú műszerállvánnyal
vagy be akarja hajtani az ütközőcsapot, vagy
(külön tartozék)
meg akarja változtatni a helyzetét.
Egy háromlábú műszerállványra különösen
A külső sarkokon végrehajtandó mérésekhez
nagyobb távolságok esetén van szükség. Tegye
hajtsa oldalra az ütközőcsapot, az ütközőcsap
fel a mérőműszert az 21 1/4"-menettel a 30 há-
hátsó éléhez viszonyított mérésekhez hajtsa
romlábú műszerállvány gyorsváltólemezére vagy
hátra az ütközőcsapot.
egy a kereskedelemben kapható fényképező
Az ütközőcsappal végzett mérésekhez a vonat-
állványra. A gyorsváltólap csavarjával rögzítse
koztatási síkot a 8 gomb megfelelő meg-
szorosan a berendezést.
nyomásával kell beállítani (oldalra kihajtott
Állítsa be a 8 billentyű megnyomásával a három-
ütközőcsappal végrehajtott mérésekhez a
lábú műszerállvány használatával végzett
mérőműszer hátsó élére).
mérésekhez szükséges vonatkoztató síkot
(vonatkoztató sík = a menet).
Beállítás a vízmértékkel
A 14 libella a mérőműszer egyszerű vízszintes
beállítását teszi lehetővé. Ezzel a célfelületeket
Hiba – Okok és elhárításuk
könnyebben be lehet célozni, különösen
A hiba oka Elhárítás módja
nagyobb távolságok esetén.
A (i) hőmérséklet figyelmeztető villog, mérés
A 14 libella a lézersugárral kombinálva nem
nem lehetséges
alkalmas a szintezésre.
A mérőműszer hőmér-
Várja meg, amíg a
Beirányzás a céloptika alkalmazásával
séklete a megengedett
mérőműszer eléri
(GLM 250 VF) (lásd az „N” ábrát)
– 10 °C és +50 °C (a tar-
az üzemi hőmér-
A kezelő szeméhez a céloptikán keresztül haladó
tós mérés üzemmódban
sékletet
fény és a lézersugár párhuzamosak egymással.
+40 °C) közötti üzemi
Így a berendezést nagyobb távolságokra is
hőmérséklet tartományon
pontosan be lehet irányozni, amikor a lézerpont
kívül van.
szabad szemmel már nem látható.
Megjelenik az akkumulátor figyelmeztetés (f)
A beirányzáshoz nézzen keresztül a céloptika 10
Az elem feszültsége
Elemek, illetve
keresőjén. Ügyeljen arra, hogy a céloptika 25
csökken (még lehet
akkumulátor-
ablaka szabad és tiszta legyen.
méréseket végrehajtani)
cellák kicserélése
Megjegyzés: A közeli tartományban a tényleges
A (f) akkumulátor figyelmeztető villog, mérés
és a megjelenített célpont nem fedi át egymást.
nem lehetséges
Az elem feszültsége túl
Elemek, illetve
alacsony
akkumulátor-
cellák kicserélése
1 609 929 T67 | (3.7.09) Bosch Power Tools

