Bosch PCP612B80E Table Acier émaillé gaz 60 cm: инструкция
Раздел: Кухонная техника
Тип:
Инструкция к Bosch PCP612B80E Table Acier émaillé gaz 60 cm
|*9lliinH5iil* 9000407456 AF
^0 Montageanleitung
Installation instructions
Instrucciones de montaje
^0 Notice de montage
^0 Istruzioni per il montaggio
Installatievoorschrift
Instrukcja montazu
Instrugòes de montagem
Инструкция no монтажу
Monta] kilavuzu
50
min.30
max.50
//—
------ 4\
min.5
45
35
min.10
min.80
min.25
max.
150
ni
pi
pt
ru
tr
co
(Q
Ю
IO
> >
о о
см rf
CM CM
г
>
о
rf
CM
>
о
CM
CM
1- CM CO
iD
7a
8
8a
10
-3-
Sicherheitshinweise
Lesen Sie die Gebrauchsanweisung für das Gerät, bevor Sie es
installieren und benutzen.
Die in dieser Anleitung enthaltenen Abbildungen sind orientativ.
Der Hersteller ist jeglicher Verantwortung enthoben, wenn die
Bestimmungen dieses Handbuchs nicht eingehalten werden.
Dieses Gerät darf nur an einem ausreichend belüfteten Ort genutzt
werden. Das Gerät darf nicht an einen Schornstein oder eine
Abgasanlage angeschlossen werden.
Alle Installations-, Anschluss-, Regelungs- und Umstellungs
arbeiten auf eine andere Gasart müssen von einem autorisier
ten Fachmann und unter Beachtung der jeweils anwendbaren
Regelungen und gesetzlichen Vorgaben sowie der Vorschrif
ten der örtlichen Strom- und Gasversorger vorgenommen
werden. Besondere Aufmerksamkeit ist den für die Belüftung
geltenden Bestimmungen und Richtlinien zuzuwenden.
Für Umstellungsarbeiten auf eine andere Gasart empfehlen
wir, den Kundendienst zu rufen.
Dieses Gerät wurde ausschließlich für die Verwendung in Privat
haushalten entworfen; eine kommerzielle oder gewerbliche Nut
zung ist nicht gestattet. Dieses Gerät darf nicht auf Jachten oder in
Wohnwagen eingebaut werden. Die Garantie gilt nur dann, wenn
das Gerät ausschließlich für seinen vorgesehenen Zweck genutzt
wird.
Überprüfen Sie vor der Installation des Geräts, dass die örtlichen
Voraussetzungen und die auf dem Typenschild angegebenen
Geräteeinstellungen (Gasart und -druck, Nennleistung, Spannung)
miteinander kompatibel sind. Siehe Tabelle I.
Stellen Sie vor der Durchführung jeglicher Arbeiten die
Strom- und Gaszufuhr ab.
Das Netzkabel muss am Einbaumöbel gut befestigt werden, damit
es nicht mit heißen Teilen des Backofens oder des Kochfeldes in
Berührung kommen kann.
Elektrische Geräte müssen immer geerdet werden.
Nehmen Sie keine Arbeiten im Geräteinneren vor. Rufen Sie
gegebenenfalls unseren Kundendienst an.
Vor dem Einbau
Dieses Gerät entspricht Klasse 3 gemäß DIN EN 30-1-1 für
Gasgeräte: Einbaugeräte.
Das Möbel, in welches das Gerät eingebaut wird, muss ausrei
chend fixiert und stabil sein.
Die neben dem Gerät befindlichen Möbel, deren Schichtwerkstoffe
sowie der sie zusammenhaltende Leim dürfen nicht aus brennba
ren Materialien bestehen und müssen hitzebeständig sein.
Dieses Gerät darf nicht über Kühlschränken, Waschmaschinen,
Spülmaschinen oder ähnlichen Geräten eingebaut werden.
Wenn Sie das Kochfeld über einem Backofen jnstallieren, muss
dieser über eine Zwangsbelüftung verfügen. Überprüfen Sie die
Abmessungen des Backofens in Ihrem Installationshandbuch.
Wenn eine Dunstabzugshaube angebracht wird, muss dies gemäß
der Montageanleitung und immer unter Berücksichtigung des verti
kalen Mindestabstands zum Kochfeld (Abb. 1) geschehen.
Vorbereitung des Küchenmöbels (Abb. 1-2)
Nehmen Sie in der Arbeitsfläche einen Ausschnitt mit den
benötigten Abmessungen vor.
Wenn es sich bei dem Kochfeld um ein elektrisches oder gemisch
tes Kochfeld (Gas und elektrisch) handelt und sich kein Ofen dar
unter befindet, bringen Sie einen Zwischenboden aus nicht
brennbarem Material (z.B. Metall oder Sperrholz) 10 mm unter
dem Boden des Kochfeldes an. So wird ein Zugang zum unteren
Teil des Kochfeldes verhindert.Wenn es sich bei dem Kochfeld um
ein Gaskochfeld handelt, wird empfohlen, den Zwischenboden im
selben Abstand zum Kochfeld anzubringen.
Bei Arbeitsflächen aus Holz firnissen Sie die Schnittflächen mit
Spezialleim, um sie vor Feuchtigkeit zu schützen.
Einbau des Geräts
Je nach Modell kann die Klebedichtung bereits im Werk ange
brachtworden sein. Die Klebedichtung dann keinesfalls entfernen,
sie verhindert Durchsickern. Wenn die Dichtung nicht werkseitig
angebracht wurde, kleben Sie sie an den unteren Rand des Koch
felds. Abb. 3.
Zur Befestigung des Geräts am Einbaumöbel:
1
.
Schrauben Sie die Klammern in der angegebenen Position an,
so dass sie sich frei drehen.
2. Fügen Sie das Kochfeld mittig ein.
Drücken Sie die Ränder so lange nach unten, bis der gesamte
Rand aufliegt.
3. Drehen Sie die Klammern und ziehen Sie diese fest an.
Die Position der Klammern hängtvon der Dicke der
Arbeitsoberfläche ab. Abb. 4
Ausbau des Kochfeldes
Trennen Sie das Gerätvon der Strom- und Gasversorgung.
Schrauben Sie die Klammern auf und folgen Sie den Einbauschrit
ten in umgekehrter Reihenfolge.
Gasanschluss (Abb. 5)
Am Ende des Eingangsrohrs zum Gaskochfeld befindet sich ein 1/
2” (20,955 mm) Gewinde. Dieses Gewinde ermöglicht:
■ einen Festanschluss.
■ einen Anschluss mit einem Metallschlauch (L min. 1 m -
max. 3 m).
Die mitgelieferte bzw. über den technischen Kundendienst bezo
gene Dichtung (Artikelnummer 034308) muss zwischen dem Aus
lass der Sammelleitung und dem Gasanschluss angebracht
werden.
Der Schlauch sollte nicht in Kontakt zu den beweglichen Teilen der
Einbaueinheit gelangen (z. B. einer Schublade) oder durch
Öffnungen verlegt werden, die verschlossen werden könnten.
Wenn ein horizontaler Gasanschluss hergestellt werden soll, liefert
Ihnen unser technischer Kundendienst einen Krümmer
(Artikelnummer 173018) sowie eine Dichtung
(Artikelnummer 034308).
Wenn ein zylindrischer Anschluss hergestellt werden soll, ersetzen
Sie den werkseitig installierten Krümmer mit dem Krümmer aus
dem Zubehörbeutel, der mitgeliefert wurde bzw. über den techni
schen Kundendienst bezogen werden kann
(Artikelnummer 529649). Abb. 5a.
Vergessen Sie nicht, dazwischen die Dichtung anzubringen.
: Gasaustrittsgefahr!
Nach Arbeiten an einer Anschlussstelle diese immer auf Dichtheit
prüfen.
Der Hersteller übernimmt für den Gasaustritt an einer Anschluss
stelle, an der zuvor hantiert wurde, keine Verantwortung.
Elektrischer Anschluss (Abb. 6)
Prüfen Sie, ob Spannung und Nennleistung des Geräts mit der
elektrischen Installation übereinstimmen.
Die Kochfelder werden mit Netzkabel mit oder ohne Stecker gelie
fert.
Mit Stecker ausgestattete Geräte dürfen nur in vorschriftsmäßig
angebrachte, geerdete Steckdosen gesteckt werden.
Es muss ein allpoligerTrennschalter mit mindestens 3 mm Kon
taktabstand angebracht werden (außer bei Anschluss an eine frei
zugängliche Steckdose).
Das Gerät gehört zum Typ "Y". Das Zuleitungskabel darf nicht vom
Benutzer, sondern nurvom Kundendienst ausgetauschtwerden.
Sowohl Kabeltyp als auch minimalerQuerschnitt müssen
berücksichtigt werden.
Umstellung auf eine andere Gasart
Wenn die einschlägigen Bestimmungen des jeweiligen Landes
dies erlauben, kann dieses Gerät auf andere Gasarten umgestellt
werden (siehe Typenschild). Die hierfür notwendigen Teile befin
den sich im mitgelieferten Ümbaukit (je nach Modell) oder können
über den Kundendienst bezogen werden.
WICHTIG:Bringen Sie den Aufkleber mit der umgestellten Gasart
in der Nähe des Typenschildes an.
Es müssen folgende Schritte befolgt werden:
A) Austausch der Düsen (Abb. 7-7a):
1.
Nehmen Sie die Roste, Brennerdeckel und Verteiler ab.
2. Tauschen Sie die Düsen mit dem über unseren Kundendienst
erhältlichen Schlüssel mit der Artikelnummer 340847 aus (für
Doppelbrenner und Dreiflammenbrenner Artikelnummer
340808), siehe Tabelle II. Achten Sie dabei besonders darauf,
dass die Düse beim Herausdrehen oder Befestigen am Brenner
nicht abbricht.
Stellen Sie sicher, sie bis zum Anschlag eingedreht zu haben, um
eine gute Abdichtung zu erreichen.
Bei diesen Brennern muss keine Einstellung der Primärluftvor-
genommen werden
3. Bringen Sie die Verteiler und Brennerdeckel auf den entspre
chenden Kochstellen an und setzen Sie die Roste korrekt in den
entsprechenden Halteelementen ein.
de
B) Einstellung der Gashähne (Abb. 8):
1
.
Drehen Sie die Bedienknebel auf die niedrigste Stufe.
2. Ziehen Sie die Bedienknebel der Gashähne ab. Es wird eine
Knebeldichtung aus flexiblem Gummi sichtbar. Drücken Sie
diese mit der Schraubendreherspitze beiseite, um an die Ein
stellschraube des Gashahns zu gelangen.
Bauen Sie die Knebeldichtungen niemals aus.
Die Dichtun
gen sind für den fehlerfreien Betrieb des Geräts unerlässlich, da
sie das Eindringen von Flüssigkeiten und Schmutz ins
Geräteinnere verhindern.
3. Stellen Sie die minimale Gaszufuhr ein, indem Sie die Bypass
Schraube mit einem Schlitzschraubenzieher drehen.
Je nach Gasart, auf die Sie umstellen (siehe Tabelle III), müssen
entsprechende Schritte durchgeführt werden:
A: die Bypass-Schrauben ganz anziehen.
B: die Bypass-Schrauben bis zum korrekten Gasaustritt an den
Brennern lockern.
C: die Bypass-Schrauben müssen von einem autorisierten Fach
mann ausgetauschtwerden.
D: nehmen Sie keine Veränderungen an den Bypass-Schrauben
vor.
Stellen Sie sicher, dass der Brenner bei einer Umstellung des Be
dienknebels von der höchsten auf die niedrigste Stufe nicht aus
geht und nicht zurückschlägt.
Wenn Sie nicht an die Bypass-Schraube gelangen sollten, bauen
Sie die Fettauffangschale, die mit dem restlichen Kochfeld mittels
eines Clip-Befestigungssystems und Schrauben verbunden ist,
aus. Zum Abnehmen gehen Sie wie folgt vor:
1.
Nehmen Sie alle Roste, Brennerdeckel, Verteiler und Bedienkne
bel ab.
2. Lockern Sie die Brenner-Schrauben.
3. Verwenden Sie ggf. den bei unserem Kundendienst erhältlichen
Demontagehebel 483196. Lösen Sie die vordere Clip-Befesti
gung, indem Sie den Hebel in den markierten Bereichen anset
zen. Abb. 9.
4.
Für den Wiedereinbau des Geräts folgen Sie den Ausbauanwei
sungen in umgekehrter Reihenfolge.
Bauen Sie niemals die Achse des Gashahns aus (Abb. 10). Bei
einer Störung den kompletten Gashahn ersetzen.
Safety precautions
Read the appliance's instructions before installing and using.
The images shown in these instructions are for guidance only.
The manufacturer is exempt from all responsibility if the
requirements of this manual are not complied with.
This appliance must only be used in well ventilated places. It must
not be connected to a combustion product removal device.
All operations relating to installation, connection, regulation
and conversion to other gas types must be carried out by an
authorised installation engineer, respecting all applicable
regulations, standards and the specifications of the local gas
and electricity suppliers. Special attention shall be paid to
ventilation regulations.
It is recommended you contact the Technical Assistance
Service to change to another gas type.
This appliance has been designed for home use only, not for
commercial or professional use. This appliance cannot be installed
on yachts or in caravans. The warranty will only be valid if the
appliance is used for the purpose for which it was designed.
Before installing, you need to check that local distribution
conditions are compatible with the appliance's adjustment
indicated on the specifications plate (gas type and pressure,
power, voltage). See table I.
Before you begin, turn off the appliance's electricity and gas
supply.
The supply cable must be attached to the unit to prevent it from
touching hot parts of the oven or hob.
Appliances with electrical supply must be earthed.
Do not tamper with the appliance's interior. If necessary, call our
Technical Assistance Service.
Before installing
This appliance is class 3 type, according to the EN 30-1-1
regulation for gas appliances: built-in appliance.
The kitchen unit in which the appliance is installed must be
properly secured and stable.
The kitchen units next to the appliance, the laminated covering
and glue for adhering it must be made of non-flammable and heat-
resistant materials.
This appliance cannot be installed above fridges, washing
machines, dishwashers or similar.
An oven must have forced ventilation to install a hob above it.
Check the dimensions of the oven in the installation manual.
If an extractor fan is installed, you must follow the instructions in
the installation manual, always respecting the minimum vertical
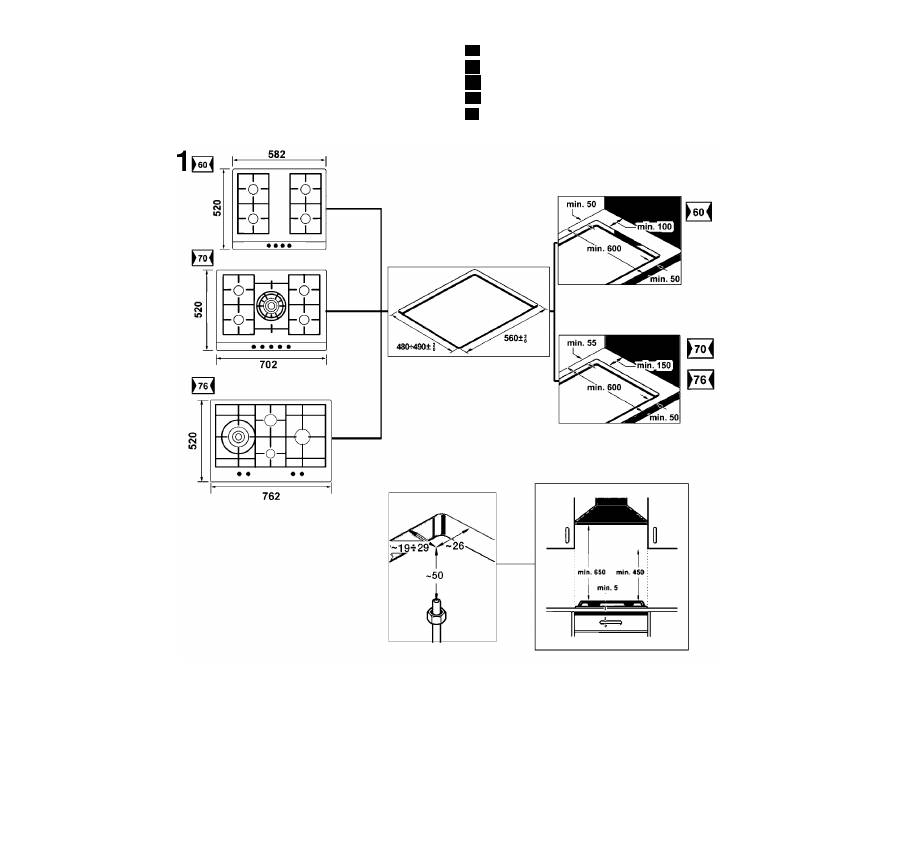
distance from the hob (fig. 1).
Preparation of the kitchen unit (fig. 1-2)
Make an appropriate size cut in the work surface.
If the hob is electric or mixed (gas and electricity) and there is no
oven below, place a non-flammable separator (e.g. metal or
plywood) 10 mm from the bottom of the hob. This will prevent
access to the base of the hob.lf the hob is gas, it is
recommendable to place the separator at the same distance.
On wood work surfaces, varnish the cutting surfaces with a special
glue. This protects them from moisture which could collect under
the work surface.
instaiiation of appiiance
Depending on the model, the adhesive seal may be factory-fitted.
If this is the case, it should not be removed under any
circumstances, since the adhesive seal prevents leaks. If the seal
has not been factory-fitted, apply it to the underside of the hob.
Fig. 3.
Fitting the appliance onto the kitchen unit:
1
.
Screw each one of the clips into the position indicated so that
they are free to rotate.
2. Insert and centre the hob.
Press the sides of the hob until it is supported around its entire
perimeter.
3. Turn the clips and tighten them fully.
The position of the clips depends on how thick the work surface
is. Fig. 4.
Removal of hob
Turn off the appliance's electricity and gas supply.
Unscrew the clips and proceed in the reverse order to installation.
Gas connection (fig. 5)
The end of the inlet connection point of the gas hob has a 1/2”
(20.955 mm) thread that allows for:
■ fixed connection.
■ connection using a flexible metal pipe (L min. 1 m - max. 3 m).
The watertight seal supplied or available from the technical
assistance service (code 034308) must be inserted between the
manifold outlet and the gas supply.
You must prevent the pipe from coming into contact with moving
parts of the kitchen unit (for example, a drawer) and prevent
access to any spaces which might become obstructed.
If you need to connect the gas supply horizontally, our technical
assistance service can supply you with an L-tube (code 173018),
and a seal (code 034308).
If you need to make a cylindrical connection, replace the factory-
fitted L-tube with the one in the accessory bag supplied or
available from the technical assistance service (code 529649).
Fig. 5a.
Please remember to insert the seal.
: Danger of leaks!
If any connection is handled, check the seal.
The manufacturer is not liable for any connection leaking, after
being handled.
Electric connection (fig. 6)
Check that the voltage and power of the appliance are compatible
with the electrical installation.
The hobs are supplied with a power cable with or without a wall
socket plug.
Appliances with plugs must only be connected to sockets that
have earth wires correctly installed.
Provide an omnipolar cut-off switch with a minimum contact
opening of 3 mm (except for plug connections, if the user has
access to it).
This appliance is type “Y”: the supply cable can only be changed
by the Technical Assistance Service and not the user. The cable
type and minimum cross-section must be respected.
en
Changing the gas type
If the country's regulations allow, this appliance can be adapted to
other types of gas (see specifications plate). The components
required for this are in the transformation kit supplied (depending
on the model) or are available from ourTechnical Assistance
Service.
Important:
After finishing, stick the sticker, indicating the new gas
type, close to the specifications plate.
The following steps should be taken:
A) Changing the nozzles (fig. 7-7a):
1.
Remove the pan supports, burner caps and diffusers.
2. Change the nozzles using the spanner code 340847 (code
340808 for double-flame burners or triple-flame burners)
provided by ourTechnical Assistance Service, see table II,
taking special care to ensure that the nozzle does not fall when it
is removed from or fitted to the burner.
Ensure that it is completely tightened in order to guarantee the
seal.
Primary air adjustment is not necessary with these burners.
3. Position the diffusers and burner caps on the corresponding rings
and the pan supports on their fasteners.
B) Adjusting the taps (Fig. 8):
1
.
Set the control knobs to minimum.
2. Remove the control knobs from the taps. It has a flexible rubber
valve reinforcing ring. Press with the tip of the screwdriver to
access the tap's adjusting screw.
Never remove the valve reinforcing ring.
The valve reinforcing
rings guarantee the watertightness of the appliance's interior
from liquids and dirt, which might otherwise prevent its correct
operation.
3. Adjust the minimum ring setting by turning the by-pass screw
using a flat head screwdriver.
Depending on the gas to which your appliance is going to be
adapted, see table III, carry out the corresponding action:
A: firmly tighten the by-pass screws.
B: loosen the by-pass screws until the gas flow from the burners
is correct.
C: the by-pass screws need to be changed by an authorised
engineer.
D: do not touch the by-pass screws.
When adjusting the control knob between maximum and
minimum, the burner does not go out, nor is there a flame
backdraught created.
If the by-pass screw cannot be accessed, disassemble the grease
drip tray, which is fitted to the hob via a series of clips and screws.
Remove it as follows:
1.
Remove all pan supports, burner caps, diffusers and control
knobs.
2. Remove the screws from the burners.
3. If necessary, use the disassembly lever 483196 availablle from
ourTechnical Assistance Service. To release the front clips,
apply the lever to the area shown in figure 9.
4.
To reinstall the appliance, proceed in the reverse order to
disassembly.
Never remove the tap spindle (Fig. 10). In the event of a
malfunction, change the whole tap.
Indicaciones de seguridad
Lea las instrucciones del aparato antes de proceder a su
instalación y uso.
Las imágenes representadas en estas instrucciones tienen
carácter orientativo.
El fabricante queda exento de toda responsabilidad si no se
cumplen las disposiciones de este manual.
Este aparato se debe utilizar únicamente en lugares
suficientemente ventilados. No se debe conectar a un dispositivo
de evacuación de los productos de combustión.
Todos los trabajos de instalación, conexión, regulación y
adaptación a otros tipos de gas deben ser efectuados por un
técnico de instalación autorizado, respetando toda la
normativa y legislación aplicables y las prescripciones de las
compañías locales proveedoras de gas y electricidad. Se
pondrá especial atención a las disposiciones aplicables en
cuanto a la ventilación.
Se recomienda llamar a nuestro Servicio Técnico para la
adaptación a otros tipos de gas.
Este aparato ha sido diseñado solo para uso doméstico, no
estando permitido su uso comercial o profesional. Este aparato no
puede ser instalado en yates o caravanas. La garantía únicamente
tendrá validez en caso de que se respete el uso para el que fue
diseñado.
Antes de la instalación, compruebe que las condiciones de
distribución local son compatibles con el reglaje del aparato que
figura en la placa de características (naturaleza y presión del gas,
potencia, voltaje). Ver tabla I.
Antes de cualquier actuación corte la alimentación eléctrica y
de gas del aparato.
El cable de alimentación debe fijarse al mueble para evitar que
toque partes calientes del horno o placa de cocción.
Los aparatos con alimentación eléctrica deben conectarse a tierra
obligatoriamente.
No manipule el interior del aparato. Si es preciso, llame a nuestro
Servicio Técnico.
Antes de la instalación
Este aparato corresponde a la clase 3, según la norma EN 30-1-1
para aparatos a gas: aparato encastrado en un mueble.
El mueble en el que se instale el aparato debe estar
convenientemente fijado y ser estable.
Los muebles próximos al aparato, los revestimientos estratificados
y la cola que los fija deben ser de materiales no inflamables y
resistentes al calor.
Este aparato no se puede instalar sobre neveras, lavadoras,
lavavajillas o similares.
Para instalar la placa de cocción sobre un horno, este debe tener
ventilación forzada. Compruebe las dimensiones del horno en su
manual de instalación.
Si instala un extractor, tenga en cuenta su manual de instalación,
respetando siempre la distancia vertical mínima a la placa de
cocción (fig. 1).
Preparación del mueble (fig. 1-2)
Haga un corte de las dimensiones necesarias en la superficie de
trabajo.
Si la placa de cocción es eléctrica o mixta (gas y electricidad) y no
hay un horno debajo, coloque un separador de material no
inflamable (p. ej. metal o madera contrachapada) a 10 mm de la
base de la placa de cocción. Así impide el acceso a la parte
inferior de esta. Si la placa de cocción es de gas, se recomienda
colocar el separador a la misma distancia.
En superficies de trabajo de madera, barnice las superficies de
corte con una cola especial para protegerlas de la humedad.
Instalación del aparato
Según modelo, la junta adhesiva puede salir puesta de fábrica. Si
es así, no la quite bajo ningún concepto: lajunta adhesiva evita
filtraciones. Si lajunta no está puesta de fábrica, péguela en el
borde inferior de la placa de cocción. Fig. 3.
Para la fijación del aparato al mueble de encastramiento:
1.
Atornille cada una de las grapas en la posición indicada dejando
que giren libremente.
2. Encastre y centre la placa de cocción.
Presione sobre sus extremos hasta que se apoye en todo su
perímetro.
3. Gire las grapas y apriételas a fondo.
La posición de las grapas depende del espesor de la superficie
de trabajo. Fig. 4.
Desmontaje de la placa de cocción
Desconecte el aparato de las tomas eléctrica y de gas.
Desatornille las grapas y proceda de modo inverso al montaje.
Conexión de gas (fig. 5)
El extremo de la conexión de entrada de la placa de cocción de
gas está provisto de una rosca de 1/2” (20,955 mm) que permite:
■ la conexión rígida.
■ La conexión con un tubo flexible metálico (L min. 1 m -
max. 3 m).
Intercale lajunta de estanquidad suministrada o disponible a
través del Servicio Técnico (código 034308) entre la salida del
colector y la acometida de gas.
Evite el contacto del tubo con partes móviles de la unidad de
encastramiento (por ejemplo un cajón) y el paso a través de
espacios que sean susceptibles de obstruirse.
es
Si necesita realizar la conexión de gas en horizontal, en nuestro
Servicio Técnico dispone de un codo (código 173018), más una
junta (código 034308).
Si necesita realizar una conexión cilindrica, sustituya el codo
instalado de fábrica por el de la bolsa de accesorios suministrada
o disponible a través del Servicio Técnico (código 529649).
Fig. 5a.
No olvide intercalar lajunta.
: ¡Peligro de fuga!
Si manipula cualquier conexión, compruebe la estanquidad.
El fabricante no se responsabiliza si alguna conexión presenta
fugas tras haber sido manipulada.
Conexión eléctrica (fig. 6)
Compruebe que el voltaje y la potencia del aparato son
compatibles con la instalación eléctrica.
Las placas de cocción se suministran con un cable de
alimentación con o sin clavija.
Los aparatos provistos de clavija solo se deben conectar a cajas
de enchufe con toma de tierra debidamente instalada.
Debe preverse un interruptor de corte omnipolar con abertura de
contacto mín. de 3 mm (excepto en conexiones con clavija, si esta
es accesible para el usuario).
Este aparato es del tipo “Y": el cable de entrada no puede ser
cambiado por el usuario, sino por el Servicio Técnico. Se deben
respetar el tipo de cable y la sección mínima.
Cambio del tipo de gas
Si la normativa del país lo permite, este aparato se puede adaptar
a otros gases (ver placa de características). Las piezas necesarias
para ello están en la bolsa de transformación suministrada (según
modelo) o disponible en nuestro Servicio Técnico.
Importante:
Al finalizar, coloque la etiqueta adhesiva, indicando el
nuevo tipo de gas, cerca de la placa de características.
Los pasos a seguir son los siguientes:
A) Cambio de inyectores (fig. 7-7a):
1.
Retire las parrillas, tapas de quemador y difusores.
2. Cambie los inyectores usando la llave disponible a través de
nuestro servicio técnico con código 340847 (para quemadores
de doble o triple llama código 340808), ver tabla II, teniendo
especial cuidado en que no se desprenda el inyector al retirarlo
o fijarlo en el quemador.
Asegúrese de apretarlos a fondo para garantizar la estanquidad.
En estos quemadores no hay que realizar reglaje del aire
primario.
3. Coloque los difusores y las tapas de los quemadores en sus
correspondientes fuegos y las parrillas en sus elementos de
sujeción.
B) Reglaje de los grifos (fig. 8):
1
.
Coloque los mandos en la posición de mínimo.
2. Retire los mandos de los grifos. Se encontrará con un retén de
goma flexible. Presione con la punta del destornillador para
acceder al tornillo de regulación del grifo.
Jamás desmonte el retén.
Los retenes garantizan la
estanquidad del interior del aparato frente a líquidos y suciedad,
que pueden impedir su correcto funcionamiento.
3. Regule el fuego mínimo girando el tornillo bypass mediante un
destornillador de punta plana.
Dependiendo del gas al que vaya a adaptar su aparato (ver
tabla III) realice la acción correspondiente:
A: apretar los tornillos bypass a fondo.
B: aflojar los tornillos bypass hasta la correcta salida de gas de
los quemadores.
C: los tornillos bypass deben ser cambiados por un técnico
autorizado.
D: no manipular los tornillos bypass.
Compruebe que al girar el mando entre el máximo y el mínimo,
el quemador no se apaga ni se crea retroceso de llama.
Si no encuentra acceso al tornillo bypass desmonte la grasera,
que está fijada al resto de la placa de cocción por un sistema de
clipaje y tornillos. Para retirarla proceda del siguiente modo:
1
.
Quite todas las parrillas, tapas de los quemadores, difusores y
mandos.
2. Suelte los tornillos de los quemadores.
3. Si es necesario, utilice la palanca de desmontaje 483196
disponible a través de nuestro servicio técnico. Libere el clipaje
delantero aplicando la palanca en las zonas señaladas. Fig. 9.
4.
Para volver a montar el aparato proceda de modo inverso al
desmontaje.
Nunca desmonte el eje del grifo (Fig. 10). En caso de avería
cambie el grifo completo.
Indications de sécurité
Lisez les instructions de l'appareil avant de procéder à son
installation et à son utilisation.
Les images de cette notice sont proposées à titre indicatif.
Le fabricant est exempt de toute responsabilité si les
instructions de cette notice ne sont pas respectées.
Cet appareil doit être utilisé uniquement dans des endroits
suffisamment ventilés. L'appareil ne doit pas être connecté à un
dispositif d'évacuation des produits de combustion.
Tous les travaux d'installation, de connexion, de réglage et
d'adaptation à un autre type de gaz doivent être réalises par
un technicien agréé qui doit respecter les normes et la
législation applicables, ainsi que les prescriptions des
sociétés locales fournisseuses d'électricité et de gaz. Les
dispositions applicables quant à la ventilation seront
attentivement respectées.
Il est recommandé de faire appel au Service Technique pour
l'adaptation à un autre type de gaz.
Cet appareil n'a été conçu que pour un usage domestique ; son
usage commercial ou professionnel n'est en aucun cas permis.
Cet appareil ne peut pas être installé dans des yachts ou des
caravanes. La garantie ne sera valable que si l'usage pour lequel il
a été conçu a été respecté.
Avant l'installation, vérifiez que les conditions de distribution locale
sont compatibles avec le réglage de l'appareil, qui figure sur la
plaque signalétique (nature et pression du gaz, puissance,
tension). Cf. tableau I.
Avant toute intervention, coupez l'alimentation électrique et
de gaz de l'appareil.
Le câble d'alimentation doit être fixé au meuble pour qu'il ne
touche pas des parties chaudes du four ou de la plaque de
cuisson.
Les appareils alimentés électriquement doivent être
obligatoirement connectés à la terre.
Ne manipulez pas l'intérieur de l'appareil. Le cas échéant, appelez
notre Service Technique.
Avant l'installation
Cet appareil correspond à la classe 3, selon la norme EN 30-1-1
pour les appareils à gaz : appareil encastré dans un meuble.
Le meuble où l'appareil sera installé doit être fixé correctement et
être stable.
Les meubles proches de l'appareil, les revêtements stratifiés et la
colle qui les fixe doivent être non inflammables et résistants à la
chaleur.
Cet appareil ne peut pas être installé sur des réfrigérateurs, des
machines à laver le linge, des lave-vaisselle ou d'autres appareils
semblables.
Pour installer la plaque de cuisson sur un four, celui-ci doit
disposer d'une ventilation forcée. Vérifiez les dimensions du four
dans le manuel d'installation.
Si une hotte aspirante est installée, il faut prendre en compte les
observations de son manuel d'installation et respecter toujours
une distance verticale minimum par rapport à la plaque de cuisson
(fig. 1).
Préparation du meuble (fig.1-2)
Effectuez une découpe sur la surface de travail selon les
dimensions nécessaires.
Si la plaque de cuisson est électrique ou mixte (gaz et électricité)
et s'il n'y a pas de four dessous, placez un séparateur de matériau
non inflammable (p. ex. métal ou bois contreplaqué) à 10 mm de la
base de la plaque de cuisson. Ainsi est empêché l'accès à la partie
inférieure de celle-ci.Si la plaque de cuisson est à gaz, il est
recommandé de placer le séparateur à la même distance.
Pour des surfaces de travail en bois, vernissez les surfaces de
découpe avec une colle spéciale, pour les protéger de l'humidité.
Installation de l'appareil
Selon le modèle, le joint adhésif peut être placé d'usine. Si c'est le
cas, ne le retirez sous aucun prétexte ; le joint adhésif évite les
filtrations. Si le joint n'est pas placé d'usine, collez-le sur le bord
inférieur de la plaque de cuisson. Fig. 3.
Pour la fixation de l'appareil au meuble d'encastrement :
fr
1.
Vissez chacune des agrafes dans la position indiquée en les
laissant tourner librement.
2. Encastrez et centrez la plaque de cuisson.
Appuyez sur ses extrémités jusqu'à ce qu'elle s'appuie sur tout
son périmètre.
3. Tournez les agrafes et serrez-les à fond.
La position des agrafes dépend de l'épaisseur de la surface de
travail (Fig. 4).
Démontage de la plaque de cuisson
Débranchez l'appareil des prises de courant électrique et du gaz.
Dévissez les agrafes et suivez la procédure inverse au montage.
Branchement de gaz (fig. 5)
L'extrémité du branchement d'entrée de la plaque de cuisson à
gaz est munie d'un filet d'un demi-pouce (20,955 mm), qui permet:
■ La connexion rigide.
■ Le branchement avec un tuyau flexible métallique (L min. 1 m -
max. 3 m).
Intercalez le joint d'étanchéité fourni ou disponible via le service
technique (code 034308) entre la sortie du collecteur et le
raccordement de gaz.
Il faut éviter que ce tuyau touche des parties mobiles de l'unité
d'encastrement (par exemple un tiroir) et qu'il passe à travers des
espaces pouvant être obstrués.
Si vous devez créer un branchement de gaz horizontal, notre
service technique dispose d'un coude (code 173018) et d'un joint
(code 034308).
Si vous devez créer un raccord cylindrique, remplacez le coude
installé en usine par celui de la poche des accessoires fourni ou
via le service technique (code 529649). Fig. 5a.
N'oubliez pas d'intercaler le joint.
: Risque de fuites !
Si vous manipulez un branchement, vérifiez son étanchéité.
Le fabricant ne pourra être tenu responsable si un branchement
quelconque présente des fuites après avoir été manipulé.
Branchement électrique (fig. 6)
Vérifiez que la tension et la puissance de l'appareil sont
compatibles avec l'installation électrique.
Les plaques de cuisson sont fournies avec un câble d'alimentation
avec ou sans broche de fiche mâle.
Les appareils munis d'une broche ne peuvent être raccordés qu'à
des boîtiers de fiche mâle avec une prise de terre dûment
installée.
Il faut installer un interrupteur de coupure omnipolaire avec
ouverture de contact d'au moins 3 mm (sauf pour des
branchements à fiche mâle, si cette dernière est accessible par
l'utilisateur).
Cet appareil est du type “Y”: le câble d'entrée ne peut pas être
remplacé par l'utilisateur, mais par le Service Technique. Le type
de câble et la section minimum doivent être respectés.
Changement du type de gaz
Si la réglementation du pays le permet, cet appareil peut être
adapté à d'autres gaz (voir plaque signalétique). Les pièces
nécessaires pour cela se trouvent dans la pochette de
transformation fournie (selon le modèle) ou disponible auprès de
notre Service Technique.
Important
:À la fin, placez l'étiquette autocollante, en indiquant le
nouveau type de gaz, près de la plaque signalétique.
Les pas à suivre sont les suivants:
A) Changement des injecteurs (fig. 7-7a):
1.
Retirez les grilles, les couvercles de brûleur et les diffuseurs.
2. Changez les injecteurs en utilisant la clé disponible (réf. 340847)
auprès de notre Service technique (pour brûleurs double ou
triple flamme, réf. 340808), cf. tableau II, en faisant
particulièrement attention à ne pas déloger l'injecteur en le
retirant ou en le fixant au brûleur.
Prenez soin de les fixer à fond pour garantir l’étanchéité.
Ces brûleurs ne requièrent aucun réglage de l'air primaire.
3. Placez les diffuseurs et les couvercles des brûleurs sur les feux
correspondants et les grilles sur leurs éléments de fixation.
B) Réglage des robinets (fig. 8):
1.
Placez les boutons de commande sur la position minimum.
2. Retirez les commandes des robinets. Vous trouverez alors une
bague en caoutchouc flexible. Appuyez avec la pointe du
tournevis afin d'accéder à la vis de réglage du robinet.
Ne démontez jamais la bague.
Los bagues garantissent
l'étanchéité à l'intérieur de l'appareil et le protègent des liquides
et des saletés qui pourraient l'empêcher de fonctionner
correctement.
3. Réglez le feu minimum en tournant la vis by-pass à l'aide d'un
tournevis à pointe plate.
En fonction du type de gaz auquel vous adapterez votre appareil,
cf. tableau III, réalisez l'action correspondante:
A : serrez les vis by-pass à fond.
B : desserrez les vis by-pass jusqu'à obtenir la sortie correcte de
gaz des brûleurs.
C : les vis by-pass doivent être changées par un technicien
agréé.
D : ne manipulez pas les vis by-pass.
Vérifiez, en réglant le bouton de commande entre le maximum et
le minimum, que le brûleur ne s'éteint pas et qu'aucun retour de
flamme n'est généré.
Si vous ne trouvez pas l'accès à la vis by-pass, démontez la
lèchefrite, qui est fixée au reste de la plaque de cuisson par un
système d'ensemble de clips et de vis. Pour la retirer, procédez de
la manière suivante :
1
.
Ôtez tous les grilles, couvercles des brûleurs, diffuseurs et
boutons de commande.
2. Desserrez les vis des brûleurs.
3. Si nécessaire, utilisez le levier de démontage 483196 disponible
chez notre service technique. Libérez l'ensemble de clips avant
en appliquant le levier sur les zones indiquées. Fig. 9.
4.
Pour remonter l'appareil, suivez la procédure inverse au
démontage.
Ne démontezjamais l'axe du robinet (Fig. 10). En cas d'incident,
changez complètement le robinet.
Indicazioni di sicurezza
Leggere attentamente le istruzioni dell'apparecchio prima di
procedere all'installazione e all'uso.
Le immagini rappresentate in queste istruzioni hanno carattere
orientativo.
Il costruttore declina ogni responsabilità in caso di mancata
osservanza delle disposizioni del presente manuale.
L'apparecchio deve essere utilizzato solo in luoghi
sufficientemente ventilati.Non deve essere collegato a un
dispositivo di espulsione dei prodotti di combustione.
Tutte le operazioni di installazione, connessione, regolazione
e adattamento ad altri tipi di gas devono essere effettuate da
un tecnico di installazione autorizzato, nel rispetto della
normativa e della legislazione applicabili, nonché delle
prescrizioni delle società locali di fornitura di gas ed
elettricità. Fare particolare attenzione alle disposizioni
applicabili in materia di ventilazione.
Per l'adattamento ad altri tipi di gas, si consiglia di rivolgersi
al nostro servizio tecnico.
Questo apparecchio è stato concepito esclusivamente per uso
domestico, non è consentito l'uso a scopi commerciali o
professionali. Questo apparecchio non può essere installato in
yacht o camper. La garanzia ha validità solo in caso venga
rispettato l'utilizzo per cui è stato concepito.
Prima dell'installazione,verificare che le condizioni di distribuzione
locale siano compatibili con la regolazione dell'apparecchio
indicata targa identificativa (tipo e pressione del gas, potenza,
tensione). V. tabella I.
Prima di effettuare qualsiasi operazione, scollegare
l'alimentazione elettrica e l'alimentazione del gas
dell'apparecchio.
Il cavo di alimentazione deve essere fissato al mobile per evitare
che tocchi parti calde del forno o del piano di cottura.
Gli apparecchi con alimentazione elettrica devono essere collegati
obbligatoriamente a terra.
Non manipolare l'interno dell'apparecchio. Qve necessario,
contattare il nostro Servizio Tecnico.
Prima dell'installazione
Questo apparecchio rientra nella classe 3 della norma EN 30-1-1
per gli apparecchi a gas: apparecchio incassato in un mobile.
Il mobile in cui si installa l'apparecchio deve essere
opportunamente fissato e deve essere stabile.
I mobili vicini all'apparecchio, i rivestimenti stratificati e la colla con
cui sono fissati devono essere costituiti da materiale non
infiammabile e resistente al calore.
It
Questo apparecchio non può essere installato su frigoriferi,
lavatrici, lavastoviglie o elettrodomestici simili.
Per installare il piano di cottura su un forno, verificare che
quest'ultimo sia dotato di ventilazione forzata. Verificare le
dimensioni del forno nel relativo manuale di installazione.
Se si installa un estrattore, fare riferimento al relativo manuale di
installazione, mantenendo sempre una distanza verticale minima
dal piano di cottura (fig. 1).
Preparazione del mobile (fig. 1-2)
Effettuare un taglio, delle dimensioni necessarie, sul piano di
lavoro.
Se il piano di cottura è elettrico o misto (gas ed elettricità) e non c'è
un forno nella zona sottostante, collocare un separatore di
materiale non infiammabile (ad es. metallo o legno compensato) a
10 mm dalla base del piano di cottura. In tal modo, se ne
impedisce l'accesso alla parte inferiore. Se il piano di cottura è a
gas, si raccomanda di collocare il separatore alla stessa distanza.
Sui piani di lavoro in legno, rifinire le superfici di taglio con una
colla speciale, per proteggerle dall'umidità.
Installazione dell'apparecchio
A seconda del modello, la guarnizione adesiva può essere
applicata in fabbrica. In tal caso, non rimuoverla per nessun
motivo; la guarnizione adesiva evita le infiltrazioni. Se la
guarnizione non è applicata in fabbrica, incollarla sul bordo
inferiore del piano di cottura. Fig. 3.
Per il fissaggio dell'apparecchio al mobile di incasso:
1.
Avvitare ognuna delle graffe nella posizione indicata, lasciandole
girare liberamente.
2.
Incassare e centrare il piano di cottura.
Premere sui bordi fino ad appoggiare perfettamente tutto il
perimetro.
3.
Girare le graffe e stringerle a fondo.
La posizione delle graffe dipende dallo spessore del piano di
lavoro. Fig. 4.
Smontaggio del piano di cottura
Scollegare l'apparecchio dalle prese elettriche e dall'attacco del
gas.
Svitare le graffe e seguire, in modo inverso, la procedura di
montaggio.
Attacco del gas (fig. 5)
L'estremità della connessione di ingresso del piano di cottura a
gas è dotata di filettatura da 1/2” (20,955 mm), che consente:
■ il collegamento rigido.
■ l'attacco a un tubo flessibile metallico (L min. 1 m - max. 3 m).
Inserire la guarnizione di tenuta in dotazione o disponibile tramite il
servizio tecnico (codice 034308) tra l'uscita del collettore e il
raccordo delgas.
Evitare il contatto del tubo con parti mobili dell'unità d'incasso (ad
esempio, un cassetto) e non effettuare il passaggio dello stesso in
spazi soggetti a possibili ostruzioni.
Nel caso in cui occorra realizzare l'attacco del gas in orizzontale,
presso il nostro servizio tecnico sono disponibili un gomito
(codice 173018) e un giunto (codice 034308).
Nel caso in cui occorra realizzare una connessione cilindrica,
sostituire il gomito montato in fabbrica con quello fornito nel
sacchetto degli accessori o disponibile tramite il servizio tecnico
(codice 529649). Fig. 5a.
Non scordarsi di intercalare la guarnizione.
: Pericolo di fughe!
Se si manipola qualunque tipo di raccordo, verificarne la tenuta.
11
fabbricante declina ogni responsabilità in caso di connessioni
che presentino fughe dopo la manipolazione delle stesse.
Connessione elettrica (fig. 6)
Verificare che la tensione e la potenza dell'apparecchio siano
compatibili con l'impianto elettrico.
I piani di cottura vengono forniti dotati di cavo di alimentazione con
o senza spina elettrica.
Gli apparecchi muniti di spina devono essere collegati soltanto a
prese elettriche con presa di terra debitamente installate.
Prevedere un sezionatore onnipolare con apertura di contatto di
almeno 3 mm (tranne che per i collegamenti a spina, se l'utente
può accedervi).
Questo apparecchio è del tipo “Y”: Il cavo di ingresso non può
essere cambiato dall'utente ma solo dal Servizio Tecnico. Occorre
infatti rispettare il tipo di cavo e la sezione minima.
Cambio del tipo di gas
Se la normativa del paese lo consente, questo apparecchio può
essere adattato ad altri tipi di gas (v. targa identificativa).
I
componenti necessari a questa operazione si trovano nella borsa
kit di conversione in dotazione (a seconda del modello) o
disponibile presso il nostro Servizio Tecnico.
lmportante:AI
termine, applicare l'etichetta adesiva, indicando il
nuovo tipo di gas, accanto alla targa identificativa.
Procedere come indicato di seguito:
A) Sostituzione degli iniettori (fig. 7-7a):
1.
Rimuovere le griglie, i coperchi del bruciatore e i diffusori.
2.
Sostituire gli iniettori usando la chiave disponibile presso il
nostro Servizio Tecnico, codice 340847 (340808 per i bruciatori
a doppia o tripla fiamma); far riferimento alla tabella II, facendo
particolare attenzione che l'iniettore non si distacchi quando tolto
o fissato al bruciatore.
Assicurarsi di serrarli a fondo per garantirne la tenuta.
In questi bruciatori, non è necessario effettuare la regolazione
dell'aria primaria.
3.
Collocare i diffusori e i coperchi dei bruciatori sui fuochi
corrispondenti e le griglie sugli appositi elementi di sostegno.
B) Regolazione dei rubinetti (fig. 8):
1
.
Collocare le manopole nella posizione di minimo.
2.
Estrarre le manopole dei rubinetti. Si troverà una tenuta in
gomma flessibile. Esercitare pressione con la punta del
cacciavite per accedere alla vite di regolazione del rubinetto.
Non rimuovere mai la tenuta.
Le tenute garantiscono la
resistenza dell'interno dell'apparecchio a liquidi e sporcizia che
possono impedirne il corretto funzionamento.
3.
Regolare il fuoco minimo girando la vite di by-pass con un
cacciavite a punta piatta.
A seconda del gas utilizzato dall'apparecchio, v. tabella III, agire
di conseguenza:
A: stringere a fondo le viti di bypass.
B: allentare le viti di bypass fino alla corretta regolazione del gas
in uscita dai bruciatori.
C: le viti di bypass devono essere sostituite da un tecnico
autorizzato.
D: non manipolare le viti di bypass.
Verificare che regolando la manopola tra il massimo e il minimo,
il bruciatore non si spenga, né si verifichino ritorni di fiamma.
Se non si trova l'accesso alla vite di bypass, smontare la parte
superiore del piano di cottura, che è fissata al resto del piano di
cottura mediante un sistema di fissaggio a clip e viti. Per
rimuoverla, procedere come segue:
1.
Togliere tutte le griglie, i coperchi dei bruciatori, i diffusori e le
manopole.
2.
Rimuovere le viti dei bruciatori.
3.
Se necessario, utilizzare la leva di smontaggio 483196
disponibile presso il nostro servizio tecnico. Rilasciare il fissaggio
a clip anteriore facendo leva nelle zone indicate. Fig. 9
4. Per rimontare l'apparecchio, invertire la procedura di
smontaggio.
Non smontare mai l'asse del rubinetto (Fig. 10). in caso di guasto,
sostituire il rubinetto completo.
Veiligheidsaanwijzingen
Leos de instructies van hot apparaat alvorens over te gaan tot de
installatie en hot gebruik ervan.
De afbeeldingen die bij deze aanwijzingen staan afgedrukt zijn
slechts ter oriëntatie.
De fabrikant is vrij van elke verantwoordelijkheid, indien de
beschikkingen van deze handleiding niet nageleefd worden.
Dit apparaat mag alleen gebruikt worden in voldoende
geventileerde ruimtes.Het mag niet worden aangesloten op een
inrichting voor de afvoer van verbrandingsproducten.
Alle werkzaamheden betreffende installatie, afstelling en
aanpassing aan een ander gastype moeten worden
uitgevoerd door een bekwaam Installateur, waarbij alle
toepasbare normen en wetgeving en de voorschriften van de
lokale gas- en elektriciteitsmaatschappijen moeten worden
nageleefd. Er wordt met name gelet op de voorschriften met
betrekking tot ventilatie.
nl
Voor de aanpassing aan een ander gastype raden wij aan om
onze Technische Dienst te bellen.
Dit apparaat is uitsluitend bestemd voor huishoudelijk gebruik. Het
is niet toegestaan het te gebruiken voor professionele of
commerciele doeleinden. Het apparaat mag niet in jachten of
Caravans worden geinstalleerd. De garantie geldt alleen wanneer
het apparaat op de juiste wijze wordt gebruikt.
Controleer voor de installatie of de voorwaarden van lokale
distributie compatibel zijn met de afstelling van het apparaat die is
aangegeven op het gegevensplaatje (aard en druk van het gas,
vermögen, voltage). Yie tabel I.
Sluit voor elke handeling de stroom- en gastoevoer van het
apparaat af.
De voedingskabel moet worden vastgemaakt in het meubelstuk,
om te voorkomen dat deze contact maakt met de gedeeltes van de
oven of van de kookplaat die warm worden.
Apparaten met stroomtoevoer moeten verplicht geaard worden.
Manipuleer de binnenzijde van het apparaat niet. Telefoneer
indien nodig onze Technische Dienst.
Voor de installatie
Dit apparaat behoort tot klasse 3, volgens de norm EN 30-1-1 voor
gasapparaten: apparaat ingebouwd in een meubel.
Het meubelstukwaarin het apparaat geinstalleerd wordt moet op
de juiste wijze bevestigd zijn en stabiel staan.
Meubels die in de buurt van het apparaat staan, de gelaagde
bekledingen en de lijm waarmee deze geplakt zijn, moeten niet-
ontvlambaar en hittebestendig zijn.
Dit apparaat kan niet geinstalleerd worden op koelkasten,
wasmachines, vaatwassers of dergelijke.
Om een kookplaat op een oven te installeren, moet deze over
geforceerde ventilatie beschikken. Controleer de afmetingen van
de oven in uw installatiehandleiding.
Als u een afzuigkap installeert, doe dat dan volgens de
installatiehandleiding en houd altijd de minimale verticale afstand
totde kookplaat aan (fig. 1).
Voorbereiding van het meubel (afb. 1-2)
Breng een insnijding aan van de nodige afmetingen op het
werkviak.
Indien de kookplaat elektrisch of gemengd (gas en elektriciteit) is
en er zieh geen oven onder bevindt, plaats dan een scheidingsstuk
van niet-ontviambaar materiaal (bv. metaal of gelaagd hout) op
10 mm van de basis van de kookplaat. Zo wordt toegang
vermeden tot de onderzijde hiervon. Indien het een gaskookplaat
is, wordt aanbevolen het scheidingsstuk op dezelfde afstand te
plaatsen.
Vernis voor houten werkviakken de snijvlakken met een speciale
lijm, om deze te beschermen tegen vocht.
Installatie van het apparaat
Afhankelijkvan het model kan de zelfklevende pakking al in de
fabriek zijn geplaatst. Als dat zo is, verwijder deze dan in geen
geval; de zelfklevende pakking voorkomt filtraties. Als de pakking
niet in fabriek is geplaatst, plakdeze dan aan de onderrand van de
kookplaat. Afb. 3.
Voor de bevestiging van het apparaat aan het inbouwmeubel:
1.
Draai elkvan de klemmen in de aangeduide stand en zorg dat
deze vrij draaien.
2. Bouw de kookplaat in en centreer deze.
Druk op de uiteinden totdat de plaat op de hele omtrek steunt.
3. Draai de klemmen helemaal aan.
De stand van de klemmen is afhankelijkvan de dikte van het
werkviak. Afb. 4.
Ultbouw van de kookplaat
Sluit het apparaat af van de elektriciteits- en gasaansluiting.
Draai de klemmen los en ga op omgekeerde werkwijze te werk als
bij de montage.
Gasaansluiting (afb. 5)
Het uiteinde van de inlaatcollector van de gaskookplaat is voorzien
van een schroefdraad van 1/2” (20,955 mm). Met deze
schroefdraad is mogelijk:
■ Een starre verbinding.
■ Een verbinding met een metalen slang (L min. 1 m - max. 3 m).
Voeg de bijgeleverde of via de technische dienst beschikbare
afdichtpakking (code 034308) in tussen de uitlaat van het
spruitstuk en de gasaansluiting.
Vermijd dat deze slang contact maakt met de beweegbare
onderdelen van de eenheid waarin de kookplaat is ingebouwd
(een lade, bijvoorbeeld) of dat hij door ruimtes loopt die verstopt
kunnen raken.
Indien u de gasaansluiting horizontaal moet uitvoeren, zijn er bij
onze technische dienst een kniestuk (code 173018), en een
afdichting (code 034308) beschikbaar.
Indien u een cilindrische aansluiting moet maken, vervang dan het
door de fabriek geïnstalleerde kniestuk door dat uit de bijgeleverde
of bij de technische dienst beschikbare zak met accessoires
(code 529649). Afb. 5a.
Vergeet niet om de pakking in te voegen.
: Lekgevaar!
Indien een aansluiting gemanipuleerd wordt, controleer de
lekdichtheid.
De fabrikant is niet aansprakelijk als een aansluiting lekken
vertoont nadat deze gemanipuleerd is.
Elektrische aansluiting (Afb. 6)
Controleer of hetvoltage en hetvermogen van het apparaat
compatibel zijn met de elektrische installatie.
De kookplaten worden geleverd met een voedingskabel met of
zonder stekker.
Apparaten die voorzien zijn van een stekker mögen alleen op een
goed geaard stopcontact worden aangesloten.
Er moet een omnipolaire onderbrekingsschakelaar voorzien
worden met een minimale contactopening van 3 mm (behalve bij
een stekkeraansluiting, indien deze gemakkelijk bereikbaar is voor
de gebruiker).
Dit apparaat is van het type “Y”: de invoerkabel mag niet
vervangen worden door de gebruiker, maar door de Technische
Dienst. Het type kabel en de minimumdoorsnede dienen te worden
gerespecteerd.
Verandering van gastype
Indien de norm van het land het toelaat, mag dit apparaat
aangepastworden aan andere gassen (zie gegevensplaatje). De
hiervoor benodigde onderdelen bevinden zieh in het geleverde
omvormingspakket (afhankelijkvan het model). Het pakket is
beschikbaar bij onze technische dienst.
Belangrijk:Plaats tenslotte de sticker die het nieuwe gastype
aanduidt dichtbij het gegevensplaatje.
Volg onderstaande stappen op:
A) Vervangen van de inspuiters (afb. 7-7a):
1.
Verwijder de roosters, hoedjes en verspreiders.
2. Vervang de inspuiters met de sleutel die beschikbaar is via onze
technische dienst, met code 340847 (voor branders met dubbele
of driedubbele vlam code 340808), zie tabel II. Zorg dat de
inspuiter niet losraakt bij hetverwijderen of bevestigen hiervon
op de brander.
Draai deze goed aan, om de lekdichtheid te garanderen.
Voor deze branders dient de afstelling van de primaire lucht niet
te worden uitgevoerd
3. Plaats de diffusors en de deksels van de branders op de
bijbehorende pitten en de roosters op de bevestigingselementen.
B) Afstelling van de kranen (afb. 8):
1.
Zet de knoppen in de laagste stand.
2. Haal de bedieningsknoppen van de kranen af. U treft een
flexibele rubberen keerring aan. Voer met de punt van de
schroevendraaier druk uit om bij de stelschroef van de kraan te
körnen.
Bouw de keerring nooit uit.De
keerringen garanderen dat het
apparaat afgedicht is tegen vloeistoffen en vuil die de correcte
werking kunnen belemmeren.
3. Stel de minimumstand af door de bypass bout te draaien met
een schroevendraaier met een vlakke punt.
Voer, afhankelijk van het gas waaraan uw apparaat aangepast
zai worden, zie tabel III, onderstaande handeling uit:
A: draai de bypass beuten helemaal aan.
B: maak de bypass bouten los tot de correcte gasuitlaat van de
branders.
C: de bypass bouten moeten worden vervangen door een
bevoegde Technische Dienst.
D: manipuleer de bypass bouten niet.
Controleer of bij het afstellen van de knop tussen de maximum-
en minimumstand, de brander niet uitgaat noch gasinslag
gevormd wordt.
Indien u geen toegang vindt tot de bypass bouten, bouw dan
vetpot uit, die bevestigd is aan de rest van de kookplaat met een
-10 ■
systeem van clips en schroeven. Ga, om deze te verwijderen, op
onderstaande wijze te werk:
1.
Verwijderalle roosters, hoedjes, verspreiders en knoppen.
2. Maak de bouten van de branders les.
3. Gebruik indien vereist de uitbouwhendel 483196, beschikbaar bij
onze technische dienst. Maak de voorste clips les door deze in
de aangeduide zones omhoog te wippen. Afb. 9.
4.
Ga, om het apparaat terug in te bouwen, op omgekeerde wijze te
werk dan bij de démontage.
Bouw de as van de kraan nooit uit (Afb. 10). Bij storingen dient de
kraan in zijn geheel te worden vervangen.
Wskazówki dotyczqce bezpieczehstwa
Przed przyst^pieniem do instalacji i uzytkowania urz^dzenia,
naiezy zapoznac sip z instrukcj^.
Ilustracje przedstawione w niniejszej instrukcji maj^charakter
orientacyjny.
Producent nie penosi jakiejkoiwiek odpowiedzialnosci w
przypadku, gdy zaiecenia zawarte w niniejszej instrukcji nie
b^dq przestrzegane.
To urz^dzenie powinno byc uzytkowane wyt^cznie w miejscach
posiadaj^cych odpowiedni^wentylacjp. Nie naiezy podt^czac
urz^dzenia do sprzptu stuz^cego do usuwania produktów
spalania.
Wszystkie czynnosci zwiqzane z instalacjq, podtqczeniem,
regulacjq i dostosowaniem urzqdzenia do innych rodzajów
gazu powinny byé wykonywane przez uprawnionego
instalatora serwisu technicznego, zgodnie z obowiqzujqcymi
normami i przepisami oraz zarzqdzeniami lokalnych
dostawców energii elektrycznej i gazu. Naiezy zwrócié
szczególnq uwag^ na obowiqzujqce przepisy w zakresie
wentylacji.
W celu dostosowania urzqdzenia do zasilania innymi
rodzajami gazu, zaieca si^ kontakt z naszym Serwisem
Technicznym.
Urz^dzenie zostato zaprojektowane wyt^cznie do uzytku
domowego; niedozwolone jest jego uzytkowanie w
zastosowaniach handlowych lub profesjonalnych. Nie naiezy
instalowac urz^dzenia najachtach ani w przyczepach
kempingowych. Gwarancja bpdzie wazna wyt^cznie w przypadku
przestrzegania przewidzianego sposobu uzytkowania urz^dzenia.
Przed instalacj^urz^dzenia, naiezy upewnic sip, ze parametry
gazu i pr^du, które s^dostarczane przez lokalnych dostawców, s^
zgodne z parametrami regulacji urz^dzenia, znajduj^cymi sip na
tabliczce znamionowej (rodzaj i cisnienie gazu, moc, napiecie).
Patrz tabela I.
Przed wykonaniem jakiejkoiwiek czynnosci naiezy odciqé
zasilanie elektryczne i doptyw gazu do urzqdzenia.
Przewód zasilaj^cy powinien zostac przymocowany do urz^dzenia
w ten sposób, aby zapobiec jego zetknipciu z gor^cymi czpsciami
piekarnika lub ptyty kuchenki.
Urz^dzenia korzystaj^ce z zasilania elektrycznego powinny
obowi^zkowo posiadac uziemienie.
Nie naiezy wykonywac zadnych czynnosci we wnptrzu urz^dzenia.
W razie potrzeby naiezy skontaktowac sip z naszym Serwisem
Technicznym.
Przed zainstalowaniem
Urz^dzenie spetnia wymogi klasy 3, zgodnie z norm^ EN 30-1-1
dotycz^c^ urz^dzen gazowych: urz^dzenie do zabudowy.
Mebel, w którym zostanie zainstalowane urz^dzenie, powinien byc
odpowiednio zamocowany i stabilny.
Meble znajduj^ce sip w poblizu urz^dzenia, pokrycia z laminate
oraz klej uzywany do ich zamocowania powinny byc wykonane z
materiatów niepalnych i odpornych nawysok^temperaturp.
Urz^dzenie nie moze byc instalowane na lodówkach, pralkach,
zmywarkach lub podobnym sprzpcie.
Aby móc zainstalowac ptytp kuchenki na piekarniku, piekarnik
powinien byc wyposazony w System wymuszonej wentylacji.
Sprawdzic wymiary piekarnika w instrukcji montazu.
W przypadku instalacji wyci^gu kuchennego, naiezy przestrzegac
zalecen zawartych w jego instrukcji montazu i zachowac zawsze
minimaln^odlegtoscw pionie od plyty kuchenki (rys. 1).
Przygotowanie mebla (rys. 1-2)
Wykonac w blacie wycipcie o podanych wymiarach.
Jezeli pod elektryczn^ lub mieszan^ (gazowo-elektryczn^) ptyt^
kuchenki nie jest zainstalowany piekarnik, naiezy zastosowac
element oddzielaj^cy z materiatu niepalnego, na przyktad ze
skiejki lub z metalu, w odiegtosci 10 mm od podstawy zabudowy
ptyty kuchenki. W ten sposób uniemoziiwia sip dostpp do dolnej
czpsci ptyty.W przypadku ptyty kuchenki gazowej, zaiecane jest
umieszczenie elementu oddzielaj^cego w tej samej odiegtosci.
W blatach wykonanych z drewna, naiezy powlec powierzchnie
ciccia specjalnym klejem, w celu ochrony przed wilgoci^.
Instalacja urzqdzenia
W zaieznosci od modelu urz^dzenia, uszczelka samoprzylepna
moze zostaó przymocowana fabrycznie. Nie naiezy jej wówczas w
zadnym wypadku zdejmowaó, poniewaz uszczelka
samoprzylepna zapobiega s^czeniu. Jezeli uszczelka nie zostata
zatozona fabrycznie, naiezyja nakleió na dolnym brzegu ptyty
kuchenki. Rys. 3.
W celu zamocowania urz^dzenia w meblu:
1.
Przykrpció kazdy z uchwytów we wskazanej pozycji, tak by
obracaty sip swobodnie.
2. Wsun^ó ptytp kuchenki i ustawió centralnie w wycipciu mebla.
Przycisn^ó brzegi ptyty kuchenki w ten sposób, aby catym swoim
obwodem spoczywata na podstawie.
3. Obróció uchwyty i docisn^óje do konca.
Potozenie uchwytów zaiezy od grubosci blatu. Rys. 4.
Demontaz ptyty kuchenki
Odt^czyó urz^dzenie od pr^du i odci^ó doptyw gazu.
Odkrpció uchwyty i wykonaó czynnosci montazu w odwrotnej
kolejnosci.
Podtqczanie gazu (rys. 5)
Zakonczenie kolektora wejsciowego ptyty kuchenki gazowej jest
wyposazone w zt^cze kolankowe z gwintem o wymiarze 1/2”
(20,955 mm), które umoziiwia:
■ sztywne pot^czenie
■ pot^czenie za pomoc^ elastycznego przewodu z metalu
(L min. 1 m - max. 3 m).
Zatozyó dostarczon^ lub kupion^w Serwisie Technicznym
uszczelkp (kod 034308) mipdzy wyjscie kolektora a przewód
doprowadzaj^cy gaz.
Naiezy zapobiec stykaniu sip przewodu z ruchomymi czpsciami
zabudowy (na przyktad szuflad^) i przechodzeniu przez miejsca,
które mog^ zostaó zajpte przez blokuj^ce przestrzen przedmioty.
Jesii wymagane jest wykonanie poziomego podt^czenia gazu,
nasz Serwis Techniczny oferuje odpowiednio zt^cze kolankowe
(kod produktu 173018) i uszczelkp (kod produktu 034308).
Jesii wymagane jest wykonanie zt^cza cylindrycznego, naiezy
wymienió zt^cze kolankowe zamontowane fabrycznie na zt^cze
znajduj^ce sip w torebce z akcesoriami lub dostppne w Serwisie
Technicznym (kod produktu 529649). Rys. 5a.
Proszp pamiptaó o zatozeniu uszczelki.
: Niebezpieczenstwo ulatniania siç gazu!
Po przeprowadzeniu jakichkoiwiek czynnosci przy elementach
podt^czenia gazu, naiezy sprawdzió szczeinosó pot^czen.
Producent nie penosi odpowiedzialnosci w przypadku, gdy
pot^czenie utraci szczeinosó na skutekwykonanych operacji.
Podtqczanie prqdu (rys. 6)
Upewnió sip, ze parametry urz^dzenia s^zgodne z napipciem i
moc^ instalacji elektrycznej.
Ptyty kuchenki s^ dostarczane wraz z przewodem zasilania
zaopatrzonym we wtyczkp lub bez niej.
Urz^dzenia wyposazone we wtyczkp mozna podt^czaó wyt^cznie
do puszekz gniazdkiem posiadajacych prawidtowo zainstalowane
uziemienie.
Naiezy pamiptaó o wielobiegunowym wyt^czniku odcinaj^cym
zasilanie z przynajmniej 3-milimetrowym odstppem stykowym (nie
dotyczy podtaczenia za pomoca wtyczki, gdy jest ona dostepna
dia uzytkownika).
Jest to urz^dzenie typu “Y”: przewód wejsciowy nie moze byó
wymieniany przez uzytkownika, lecz wyt^cznie przez Serwis
Techniczny. Naiezy zachowaó odpowiedni rodzaj przewodu oraz
minimalny przekrój.
Zmiana rodzaju gazu
Jesii zezwalaj^ na to przepisy obowi^zuj^ce w danym kraju,
urz^dzenie mozna dostosowaó do zasilania innymi rodzajami gazu
(patrz: tabliczka znamionowa urz^dzenia). Niezbpdne czpsci
znajduj^ sip w torebce z zestawem umozliwiaj^cym zmianp
zasilania gazowego, która zostata zat^czona (w zaieznosci od
modelu) lub któr^ mozna nabyó w naszym Serwisie Technicznym.
-11
Pl
Wazne:
Po zakoñczeniu pracy, w poblizu tabliczki znamionowej
nalezy przykieic nakiejkp informuj^c^, jakim rodzajem gazu
urz^dzenie jest zasilane.
Nalezy wykonac nastppuj^ce czynnosci:
A) Wymiana dyszy (Rys. 7-7a):
1
.
Zdj^c ruszty, naktadki palnika i dyfuzory.
2. Wymienic dysze za pernee^ klucza dostppnego w naszym
Serwisie Technicznym (kod produktu 340847, natomiastw
przypadku palników o podwójnym lub potrójnym wieñcu
ptomieni - kod produktu 340808), patrz tabela II, zwracaj^c
szczególn^ uwagp na to, aby nie oderwac dyszy przy
wyei^ganiu lub mocowaniu je] w palniku.
Nalezy moeno dokrpcic dysze w celu zapewnienia szczeinosci
uktadu.
W tych palnikach nie jest konieczne wyregulowanie doptywu
powietrza podstawowego.
3. Zatozyc dyfuzory i naktadki palników na odpowiednich palnikach
i rusztach, nawtasciwych elementach mocuj^cych.
B) Regulacja kurków gazu (rys. 8):
1.
Ustawic wszystkie pokrptta w potozeniu minimainym.
2. Wyj^c pokrptta z kurków. Pod spodem znajduje sip element
zabezpieczaj^cy z elastycznej gumy. Nacisn^ó element koñcem
srubokrptu, aby dostaó sip do sruby regulacyjnej kurka.
W zadnym wypadku nie wyjmowaé elementu
zabezpieczajqcego.
Elementy zabezpieczaj^ce gwarantuj^
szezeinosó urz^dzenia, chroni^c przed przedostaniem sip do
wnptrza cieczy i zanieczyszczeñ, które mog^ uniemoziiwió
prawidtowe dziatanie.
3. Wyregulowaó ptomieñ minimalny, obracaj^c srubp zt^czki
przejsciowej za pomoc^ srubokrptu z ptask^ koñcówk^.
W zaleznosci od rodzaju gazu, do którego dostosowywane
bpdzie urz^dzenie, patrz tabela III, nalezy wykonaó nastppuj^ce
czynnosci:
A: nacisn^ó do koñea sruby zt^czek przejsciowych.
B: poluzowaó sruby zt^czek przejsciowych do momento, gdy gaz
zaeznie prawidtowe wydobywaó sip z palników.
C: sruby zt^czek przejsciowych powinny byó wymieniane przez
uprawnionego pracownika Serwisu Technicznego.
D: nie manipulowaó srubami zt^czek przejsciowych.
Upewnió sip, ze przy obracaniu pokrpttem mipdzy potozeniem
maksymainym a minimainym palnik nie gasnie ani nie wystppuje
cofanie sip ptomienia.
Jezeli nie mozna dostaó sip do sruby zt^czki przejsciowej, nalezy
wymontowaó formp na ttuszcz, która jest przymocowana do ptyty
kuchenki za pomoc^ systemu zacisków i srub. W celu jej wyjpcia,
nalezy postppowaó w sposób nastppuj^cy:
1
.
Zdj^ó wszystkie ruszty, naktadki z palników, dyfuzory oraz wyj^ó
pokrptta.
2. Wykrpció sruby z palników.
3. Nalezy skorzystaó z dzwigni demontuj^cej (kod produktu
483196) dostppnej w naszym Serwisie Technicznym. Zwolnió
przednie zaciski, uzywaj^c dzwigni w zaznaezonyeh miejscach.
Rys. 9.
4. W celu ponownego zamontowania formy na ttuszcz, nalezy
wykonaó czynnosci demontazu w odwrotnej kolejnosci:
Nigdy nie nalezy demontowaó trzpienia kurka (rys. 10). W
przypadku awarii, nalezywymienió kompletny kurek.
Indicagoes de seguranga
Leia as instrugóes do aparelho antes de proceder à instalagao e
utilizagao.
As imagens apresentadas ao longo das instrugóes servem apenas
para orientagao.
O fabricante fica isento de qualquer tipo de responsabilidade
caso nao se cumpram as disposigoes deste manual.
Este aparelho deve ser apenas utilizado em locáis com urna
ventilagao adequada. Nao deve ser ligado a um dispositivo de
evacuagao dos produtos de combustao.
Todos os trabalhos de instalagáo, ligagáo, regulagáo e
adaptagáo a outros tipos de gás devem ser efectuados por
um técnico de instalagáo autorizado, respeitando todas as
regulamentagoes e legislagáo aplicáveis, bem como o
estipulado pelas empresas locáis fornecedoras de gás e
electricidade. Deve prestar particular atengáo ás disposigoes
aplicáveis relativamente á ventilagáo.
Recomenda-se chamar o nosso Servigo de Assistencia
Técnica para a adaptagáo a outros tipos de gás.
Este aparelho foi unicamente concebido para utilizagáo
doméstica, nao podendo, por isso, ser utilizado para fins
comerciáis cu profissionais. Este aparelho nao pode ser instalado
em iates cu caravanas. A garantía apenas será válida caso o
aparelho seja utilizado correctamente e para os fins a que se
destina.
Antes da instalagáo, verifique se as condigóes de distribuigao local
sao compatíveis com a regulagáo do aparelho que é apresentada
na placa de características (natureza e pressao do gás, poténcia,
voltagem). Ver tabela I.
Antes de qualquer procedimento, corte a alimentagáo
eléctrica e de gás do aparelho.
O cabo de alimentagáo deve ser fixe ao móvel para evitar que
entre em contacto com as partes quentes do forno cu da placa de
cozedura.
Os aparelhos com alimentagáo eléctrica devem ser
obrigatoriamente ligados à terra.
Nao manipule o interior do aparelho. Se necessàrio, contacte o
nesso Servigo de AssisténciaTécnica.
Antes da instalaçâo
Este aparelho corresponde à classe 3, segundo a norma EN 30-1
1 para aparelhos a gás: aparelho encastrado num móvel.
O móvel onde se instala o aparelho deve estar convenientemente
fixado e deve ser estável.
Os móveis próximos do aparelho, os revestimentos estratificados
e a cola que os fixa, devem tratar-se de materiais nao inflamáveis
e resistentes ao calor.
Este aparelho nao pode ser instalado sobre frigoríficos, máquinas
de lavar roupa, máquinas de lavar loiga cu aparelhos similares.
Para instalar a placa de cozedura sobre um forno, este deve
incluir um mecanismo de ventilagáo forgada. Verifique as
dimensóes do forno no seu manual de instalagáo.
Se instalar um extractor, deve ter em conta o respectivo manual
de instalagáo, respeitando sempre a distáncia vertical mínima em
relagáo à placa de cozedura (fig. 1).
Preparaçâo do móvel (fig. 1-2)
Realize um corte das dimensóes necessárias na superficie de
trabalho.
Se a placa de cozedura for eléctrica cu mista (gás e electricidade)
e se nao houver um forno por baixo da mesma, coloque um
separador de material nao inflamável (por ex. de metal cu madeira
contraplacada) a 10 mm da base da placa de cozedura. Assim
impede o acesso à parte inferior desta. Se a placa de cozedura for
a gás, recomenda-se que coloque o separador à mesma
distáncia.
Em superficies de trabalho de madeira, envernize as superficies
de corte com urna cola especial para as proteger da humidade.
Instalaçâo do aparelho
Segundo o modelo, a junta adesiva pode vir colocada de fábrica.
Se for esse o caso, nao a remova de forma alguma; a junta
adesiva impede as infiltragôes. Se a junta nao vier colocada de
fábrica, cole-a na margem inferior da placa de cozedura. Fig. 3.
Para a fixagáo do aparelho no móvel de encastramento:
1.
Aparafuse cada um dos grampos na posigao indicada, deixando
que estes rodem livremente.
2. Encastre e centre a placa de cozedura.
Faga pressao sobre os extremos até que se apoie em todo o seu
perímetro.
3. Gire os grampos e aperte-os bem.
A posigao dos grampos depende da espessura da superficie de
trabalho. Fig. 4.
Desmontagem da placa de cozedura
Desligue o aparelho das tomadas eléctrica e de gás.
Desaparafuse os grampos e proceda de modo inverso ao da
montagem.
Ligaçâo a gás (fig. 5)
A extremidade do colector de entrada da placa de cozedura a gás
está equipada com urna rosca de 1/2” (20,955 mm), que permite:
Realizar urna ligagáo rígida.
Realizar a ligagáo com um tubo flexível metálico (L min. 1 m -
max. 3 m)
Intercale a junta de estanqueidade fornecida cu disponível através
do Servigo de Assisténcia Técnica (código 034308), entre a saída
do colector e a entrada de gás.
-12 ■
Pt
Evite o contacto do tubo com qualquer parte móvel da unidade de
encastramento (por exemplo, urna gaveta), bem como a sua
passagem por espagos que possam ficar obstruidos.
Para realizar a ligagao a gás na horizontal, o nosso Servigo de
AssisténciaTécnica disponibiliza um cotovelo (código 173018) e
urna junta (código 034308).
Para realizar urna ligagao com tubagem cilindrica, substitua o
cotovelo instalado de fábrica pelo cotovelo incluido no conjunto de
acessórios fornecido ou disponivel através do Servigo de
AssisténciaTécnica (código 529649). Fig. 5a.
Nao se esquega de intercalar a junta.
: Perigo de fuga!
Se manipular qualquer ligagáo, verifique a estanqueidade.
O fabricante nao se responsabiliza se alguma ligagáo apresentar
fugas depois de ter sido manipulada.
Ligagáo eléctrica (fig. 6)
Verifique se a voltagem e a potencia do aparelho sao compativeis
com a instalagáo eléctrica.
As placas de cozedura sao fornecidas com um cabo de
alimentagáo com ou sem ficha.
Os aparelhos fornecidos com ficha só devem ser ligados a
tomadas de terra devidamente instaladas.
Deve prever-se um interruptor omnipolar com urna abertura de
contacto mínima de 3 mm (excepto em ligagóes com ficha, se esta
estiver acessível ao utilizador).
Este aparelho é do tipo “Y”: o cabo de entrada nao pode ser
mudado pelo utilizador, só o Servigo de Assisténcia Técnica deve
fazé-lo. Deve sempre respeitar-se a secgáo mínima e o tipo de
cabo.
Mudanga do tipo de gás
Se as regulamentagóes do país o permitirem, este aparelho pode
ser adaptado a cutres tipos de gás (ver placa de características).
As pegas necessárias para tal estáo incluidas no saco de
transformagáo fornecido (consoante o modelo) ou disponíveis no
nesso Servigo de Assisténcia Técnica.
lmportante:Ao
terminar, coloque a etiqueta adesiva indicando o
novo tipo de gás, próximo da placa de características.
Os passes a seguir sao os seguintes:
A) Substituigáo dos injectores (fig. 7-7a):
1.
Retire as grelhas, as tampas de queimador e os difusores.
2. Substitua os injectores usando a chave disponibilizada pelo
nesso servigo de assisténcia técnica, com o código 340847
(para queimadores de chama dupla ou tripla, código 340808)
(ver tabela II), tendo especial atengáo para que o injector nao se
solté ao retirá-lo ou fixá-lo ao queimador.
Aporte bem os injectores para garantir a estanqueidade.
Nestes queimadores nao é necessàrio realizar a regulagáo do ar
primàrio
3. Coloque os difusores e as tampas dos queimadores nos
respectivos lugares e as grelhas nos respectivos elementos de
fixagáo.
B) Regulagáo das torneiras (fig. 8):
1
.
Coloque os comandos na sua posigáo mínima.
2. Retire os comandos das torneiras. Picará visível um retentor de
borracha flexível. Pressione com a penta de urna chave de
fondas, para aceder ao parafuso de regulagáo da torneira.
Nunca desmonte o retentor.
Os retentores garantem a
estanqueidade do interior do aparelho, relativamente a líquidos e
sujidade quo possam impedir um funcionamento correcto.
3. Regule a chama mínima rodando o parafuso bypass através de
urna chave de fondas de penta plana.
Consoante o gás ao qual vai adaptar o aparelho (ver tabela III),
efectúe a acgao correspondente:
A: aportar bem os parafusos bypass.
B: afrouxar os parafusos bypass até conseguir a saida de gás
correcta dos queimadores.
C: OS parafusos bypass devem sor substituidos por um técnico
autorizado.
D: nao manipular os parafusos bypass.
Verifique se, ao ajustar o comando entre o máximo e o mínimo,
o queimador nao se apaga nem ocorre um retrocesso da chama.
Se nao conseguir aceder ao parafuso bypass, desmonte a
pingadeira que está fixada á placa de cozedura por um sistema de
clipes e parafusos. Para retirá-la proceda da seguinte forma:
1.
Remova todas as grelhas, tampas dos queimadores, difusores e
comandos.
2. Desaperte os parafusos dos queimadores.
3. Se necessàrio, utilizo a alavanca de desmontagem 483196
disponivel através do nesso Servigo de AssisténciaTécnica.
Retire o dipo dianteiro, colocando a alavanca ñas zonas
assinaladas. Fig. 9.
4.
Para voltar a montar o aparelho, proceda de modo inverso ao da
desmontagem
Nunca desmonte o eixo da torneira (Fig. 10). Em caso de avaria,
deve substituir-so todo o conjunto da torneira.
Правила техники безопасности
Перед началом монтажа и эксплуатации внимательно изучите
руководство к электроприбору.
Приведенные в данном руководстве рисунки являются
ориентировочными.
При невыполнении инструкций, содержащихся в данном
руководстве, производитель освобождается от всякой
ответственности.
Данный прибор можно устанавливать только в хорошо
проветриваемых помещениях. Варочную панель нельзя
подсоединять к дымоходу для отвода дымовых газов.
Все операции по установке, подключению к электросети,
наладке и адаптации к другому виду газа должны
проводиться сертифицированным специалистом в
соответствии со всеми действующими нормами и
законодательством, а также с предписаниями местных газо-
и электроснабжающих компаний. Особое внимание следует
уделить требованиям к вентиляции.
Для адаптации прибора к другому виду газа рекомендуем
связаться с нащим сервисным центром.
Данный прибор предназначен исключительно для бытового
использования и не может применяться в промышленных или
коммерческих целях. Данный прибор нельзя устанавливать на
яхтах или в автокемперах. Гарантия производителя действительна
только в случае использования прибора по назначению.
Перед установкой необходимо проверить, соответствуют ли
характеристики местных распределительныхсетей (вид и
давление газа, мощность и напряжение электросети) настройкам
прибора. С О м. таблицу I.
Перед проведением любых действий необходимо перекрыть
подачу газа и электроэнергии к данному электроприбору.
Кабель питания необходимо закрепить на тумбе, чтобы не
допускать его соприкосновения с нагревающимися деталями
духового шкафа или варочной панели.
Приборы, работающие от электросети, обязательно должны быть
заземлены.
Нельзя вносить изменения во внутренние элементы прибора.
Если необходимо произвести ремонт, обратитесь в наш
сервисный центр.
Перед началом установки
Данный прибор относится к третьему классу защиты по стандарту
ЕН 30-1-1 для газовых приборов: встроенное оборудование.
Кухонная тумба, в которую встраивается варочная панель,
должна быть закреплена и устойчива.
Соприкасающаяся
с
варочной панелью мебель, слоистые
облицовочные покрытия и закрепляющий их клей должны быть
невоспламеняющимися и термостойкими.
Данный прибор нельзя устанавливать над холодильниками,
стиральными машинами, посудомоечными машинами и другой
подобной техникой.
Если требуется установить варочную панель над духовым
шкафом, следует выбрать модель духового шкафа с системой
принудительной вентиляции. Проверьте размеры духового шкафа
в соответствующем руководстве по монтажу.
При установке вытяжного устройства необходимо следовать
инструкциям соответствующего руководства по монтажу,
соблюдая минимальное расстояние по вертикали между
варочной панелью и вытяжкой (рис. 1).
Подготовкатумбы(рис. 1-2)
Проделайте в столешнице отверстие нужных размеров.
При установке электрической или комбинированной (газовые и
электрические конфорки) варочной панели без духового шкафа,
необходимо поставить под ней перегородку из
невоспламеняющегося материала (например, из металла или
фанерного листа) на расстоянии 10 мм от основания варочной
панели. Таким образом доступ к нижней части панели будет
перекрыт.В случае газовой варочной панели также
рекомендуется установить перегородку на том же расстоянии.
Если столешница выполнена из дерева, покройте поверхность
среза специальным герметиком, чтобы защитить ее от действия
влаги.
- 13 ■
ru
Монтаж прибора
Некоторые модели поставляются с установленной на фабрике
клеящейся прокладкой. Если прокладкаустановлена, ни в коем
случае не снимайте ее; клеящаяся прокладка предотвращает
подтекание. Если прокладка не установлена на фабрике,
приклейте ее к нижнему краю варочной панели (рис. 3).
Закрепление варочной панели в тумбе:
1.
Привинтите все зажимы в нужном положении так, чтобы они
могли свободно вращаться.
2.
Вставьте варочную панель в подготовленное отверстие и
выровняйте ее.
Нажмите на края панели так, чтобы варочная панель оперлась
на край столещницы по всему периметру.
3.
Разверните зажимы и туго затяните их.
Положение зажимов зависит от толщины столещницы (рис. 4).
Демонтаж варочной панели
Отсоедините прибор от электросети и от газопровода.
Открутите винты зажимов и повторите действия, выполненные во
время монтажа, в обратном порядке.
Подключение газа (рис. 5)
На конце впускного патрубка варочной панели имеется резьба
диаметром
М2”
(20,955 мм), позволяющая обеспечить:
■ жесткое соединение;
■ соединение с гибким металлическим щлангом (L min. 1 m -
max. 3 m).
Между отверстием входного патрубка и газовой трубой
необходимо установить уплотнительную прокладку,
поставляемую вместе с варочной панелью или приобретенную в
сервисном центре (артикул 034308).
Необходимо исключить соприкосновение щлангас подвижными
частями мебели, в которую встраивается варочная панель
(например, с выдвижными ящиками), а также прохождение
щланга в местах, которые могут оказаться загроможденными.
При необходимости горизонтального соединения с газовой трубой
можно приобрести в сервисном центре специальное колено
(артикул 173018) и уплотнительную прокладку (артикул 034308).
При необходимости в соединении с цилиндрической резьбой
замените колено, установленное на заводе, на колено из пакета с
принадлежностями, входящее в комплект поставки варочной
панели, или на колено, приобретенное в сервисном центре
(артикул 529649) (рис. 5а).
Не забудьте установить уплотнительную прокладку.
: Существует опасность утечки газа!
После внесения изменений в соединительную конструкцию
проверьте ее герметичность.
Производитель не несет ответственности за утечку газа в
соединениях, выполненных пользователем или исполнителем
монтажных работ.
Подключение к электросети (рис. 6)
Проверьте, чтобы напряжение и мощность прибора
соответствовали параметрам тока в электросети.
Варочные панели поставляются с кабелем питания, который
может не иметь щтепсельной вилки.
Приборы, снабженные щтепсельной вилкой, можно подключать
только к розеткам с правильно установленным заземлением.
Необходимо предусмотреть размыкающее устройство для всех
полюсов прибора с воздущным зазором между контактами не
менее 3 мм (за исключением случаев подсоединения с
использованием розетки, если пользователь имеет к ней доступ).
Данный прибор относится к классу “Y”: не допускается замена
кабеля питания пользователем, это может делать только
сервисный центр. Необходимо учитывать тип кабеля и его
минимальное сечение.
Адаптация к другому виду газа
Если это разрещено нормами страны, данный прибор можно
настроить для использования с другими видами газа (см.
табличку с характеристиками). Необходимые для этого детали
находятся в поставляемом с некоторыми моделями наборе для
адаптации, который также можно приобрести в нащем сервисном
центре.
Внимание!
После окончания работы наклейте рядом с табличкой
с характеристиками варочной панели этикетку с указанием
нового вида газа.
Необходимо выполнить следующие действия:
А) Замена жиклеров (рис. 7-7а):
1.
Снимите рещетки, крыщки горелок и рассекатели.
2.
Замените жиклеры с помощью ключа, имеющегося в продаже
в нащем сервисном центре, артикул 340847 (Конфорка
двойного или тройного пламени артикул 340808), см. таблицу II,
тщательно следя за тем, чтобы в процессе снятия жиклера или
его закрепления на горелке он не соскочил.
Убедитесь в том, что жиклеры тщательно прижаты, чтобы
обеспечить герметичность горелок.
В данных горелках не нужно производить регулировку подачи
первичного воздуха.
3.Установите рассекатели и крыщки горелок на соответствующие
конфорки, а рещетки — на соответствующие опорные
элементы.
В) Регулировка кранов (рис. 8)
1. Установите ручки управления в положение минимального
пламени.
2.
Снимите ручки кранов. Под ними находится уплотнительная
прокладка из эластичной резины. Надавите на прокладку
кончиком отвертки, чтобы открыть доступ к байпасному винту.
Никогда не снимайте прокладку.
Прокладки обеспечивают
герметичность варочной панели, не допуская попадания внутрь
приборажидкостей и грязи, которые могут нарущить его
правильную работу.
3. Отрегулируйте минимальную величину пламени, повернув
байпасный винт с помощью плоской отвертки.
В зависимости от вида газа, к которому вы адаптируете свой
прибор (см. таблицу III), выполните следующие действия:
А: закрутите байпасные винты до отказа.
В: ослабьте байпасные винты, пока газ не будет правильно
выходить из горелок.
С: замену байпасных винтов может производить только
специалист, имеющий соответствующую квалификацию.
D: никаких действий с байпасными винтами производить не
нужно.
Убедитесь, что при повороте ручки управления от максимальной
до минимальной отметки горелки не гаснут и не происходит
возврат пламени.
Если вы не можете найти доступ к байпасному винту,
демонтируйте рабочую панель электроприбора, которая крепится
костальным элементам с помощью системы зажимов и винтов.
Чтобы снять эту панель, выполните следующие действия:
1.
Снимите все рещетки, крыщки горелок, рассекатели и ручки
управления.
2.
Ослабьте винты крепления горелок.
3. При необходимости используйте рычаг для демонтажа (483196),
который можно приобрести в нащем сервисном центре.
Нажатием рычага в указанных точках высвободите зажимы на
передней части варочной панели (рис. 9).
4.
Чтобы установить рабочую панель на место, повторите эти
действия в обратном порядке.
Никогда не демонтируйте вал газового крана (рис. 10). В случае
его повреждения замените весь кран.
Güvenlik önerileri
Cihazi kurmadan veya kullanmadan önce talimatlari okuyunuz.
Bu talimatlarda yer alan resimler bilgilendirme amaplidir.
Bu kilavuzdaki kurallara uyulmadigi takdirde, üretici herhangi
bir sorumluluktan muaf olacaktir.
Bu cihaz yalnizca yeterince havalandirilan yerlerde kullanilmalidir.
Herhangi bir yanma ürünleri tahliye cihazma baglanmamalidir.
Bütün kurulum, baglanti, ayarlama ve gaz tipine göre
uyarlama i^lemleri yetkili bir teknisyen tarafindan, ülkedeki
Standartlara ve yürürlükteki kanuni yönergeler ile yerel gaz ve
elektrik tedarikgisi ^irketin talimatlarina uygun olarak
gergekle^tirilmelidir. Havalandirma ile ilgili gegerli
düzenlemelere özel bir dikkat gösterilecektir.
Diger gaz tiplerine uyarlama gerektiginde Teknik Servisimizi
gagirmaniz önerilir.
Bu cihaz evde kullanim igln tasarlanmigtir, ticari veya profesyonel
amaglarla kullanilamaz. Bu cihaz yat veya karavanlara kurulamaz.
Garant! sadece tasarim amacina uygun kullanilmasi durumunda
gegerlidir.
Kurulumdan önce, yerel gaz tedarik §artlarmm özellik plakasmda
yer alan cihaz düzenlemesiyle (gazm özelligi ve basinci, güg,
voltaj) uyumlu olup olmadigmi kontrol ediniz. Bkz tablo I.
Herhangi bir leiernden önce, cihazin gaz ve elektrik
beslemesini kesiniz.
Elektrik kablosu, firm veya pigirme tezgahinin sicak kisimlarina
temas etmemesi igln mutfak mobilyasina sabitlenmelidir.
Elektrik beslemesi ile galigan cihaziarin tüm baglantilari mutlaka
topraklanmalidir.
Cihazin lg kismini kurcalamayiniz. Gerekirse Teknik Servisimizi
gagiriniz.
- 1 4 -
tr
Kurulumdan once
Bu EN 30-1-1 gazli cihazlar normuna göre 3. sinif bir cihazdir:
mobilyaya gömme cihaz.
Cihazin monte edildigi mobilya düzgün §ekilde sabitlenmi§ ve
hareketsiz olmalidir.
Cihaz yakinindaki mobilyalar, yüzey kaplamalari ve bunlari
birbirine yapi§tiran tutkal, yanici olmamali ve isiya dayanikli
olmalidir.
Bu cihaz, buzdolabi, gama§ir makinesi, bula§ik makinesi ve
benzeri e§yalarin üzerine kurulamaz.
Pi§irme tezgahini bir firinin üzerine kurmak igin bu firm yapay bir
havalandirmaya sahip olmalidir. Finnin boyutlarini, kurulum
kilavuzundan kontrol ediniz.
Havalandirma kurarken kurulum kilavuzunu dikkate aliniz, pi§irme
tezgahina minimum dikey uzakliga uyunuz (§ek. 1).
Mobilyanin hazirlanmasi (§ekil 1-2)
Qali§ma yüzeyinin üzerine, belirtilen ölgülerde bir kesik aginiz.
Pigirme tezgahi elektrikli veya goklu (gaz ve elektrik) ise ve altinda
firm bulunmuyorsa, pigirme tezgahmm tabanma 10 mm gelecek
gekilde yanmaz malzemeden yapilmig bir ayrag yerlegtiriniz
(örnegin metal ya da ahgap kontrplak). Böylece alt kisma girig
engellenmig olur.Pigirme tezgahi gazli ise, yine ayni mesafede bir
ayrag yerlegtirilmesi tavsiye edilir.
Ahgap galigma tezgahlarmda, kesim yüzeyini nemden korumak
amaciyla özel bir kola ile vernikleyiniz.
Cihazin kurulumu
Modele bagli olarak yapigkan conta fabrikadan monte edilmig
olarak gelebilir. Eger bu gekilde gelirse, higbir suretle
gikartmaymiz; yapigkan conta sizmtilara engel olur. Eger conta
fabrikadan monte edilmig olarakgelmezse pigirme tezgahmm alt
kismma yapigtirmiz. §ekil 3.
Cihazi ankastre mobilyaya baglamak igin:
1
.
Kiskaglari rahatga dönebilmelerini saglayarak belirtilen
pozisyonda vidalaymiz.
2. Yerlegtiriniz ve pigirme tezgahini ortalaymiz.
Yüzeyin tüm gevresini destekleyene kadar kenarlarmdan
bastirmiz.
3. Kiskaglari döndürünüz ve sikica vidalaymiz.
Kiskaglarm pozisyonu galigma yüzeyinin kalmligma baglidir.
§ekil 4.
Pi§irme tezgahinin sökülmesi
Cihazin elektrikve gaz alicilarmi kapatmiz.
Kiskaglari gikarmiz ve montajm torsi bir sirayla devam ediniz.
Gazli baglanti (§ekil 5)
Gazli pigirme tezgahi girig baglantismm ucu 1/2" (20,955 mm)'lik
bir yiv ile donatilmigtir, bu agagidakileri saglar:
■ sabitbaglanti.
■ baglantmm metal elastik bir boru ile gergeklegtirilmesi
(L min. 1 m - max. 3 m).
Kolektör gikigi ile gaz girigi arasma verilen ya daTeknik Servis
araciligiyla edinebileceginiz (kod 034308) sizdirmazlikcontasmi
takmiz.
Borunun, ankastre ünitesinin hareketli kisimlari ile (örnegin bir
gekmece) temas etmesini ve engellenebilecekyerlerden gegigini
önieyiniz.
Gaz baglantismi yatay olarak yapmaniz gerekiyorsa, Teknik
Servisimiz size bir dirsek (kod 173018), ve bir conta (kod 034308)
saglayabilir.
Silindirik baglanti yapilmasi gerekirse, fabrikada monte edilen
dirsegi aksesuar gantasidakiyie ya daTeknik Servis araciligiyla
edinebileceginiz dirsekle degigtiriniz (kod 529649). §ekil 5a.
Contayi takmayi unutmaymiz.
: Sizinti tehlikesi!
Herhangi bir baglanti degigikligi gerekli oldugunda sizdirma yapip
yapmadigmi kontrol ediniz.
Herhangi bir gaz baglantisi kurcalanma sonucu sizmti yaptigi
takdirde üretici firma sorumiuluk kabul etmez.
Elektrikli baglanti (§ekil 6)
Cihazin kuvvet ve voltajmm elektrikli kurulum igin uygun olup
olmadigmi kontrol ediniz.
Pigirme tezgahlari, figli veya figsiz bir besleme kablosu ile birlikte
tedarik edilir.
Figleri elan cihazlar, sadece uygun gekilde yerlegtirilmig
topraklama girigli priz kutularma baglanmalidir.
Minimum kontak agikligi 3 mm elan bir omnipolar akim kesici
temin edilmelidir (prizii baglantilar harig, eger kullanici tarafmdan
erigilebiliyorsa).
Bu cihaz “Y” tipindendir: Girig kablosu, kullanici tarafmdan, Teknik
Servis olmadan degigtirilemez. Kable tipine ve minimum kalmliga
dikkat etmek gerekmektedir.
Gaz tipinin degl§tlrllmesl
Ülke standartlari izin verdigi takdirde, cihaz farkli gaz tiplerine
uyarlanabilir (özellikler tablosuna bakmiz). Bunun igin gerekli elan
pargalar, (modele göre) temin edilen veyaTeknik Servisimizde
mevcut bulunan transformasyon donanim gantasmda
bulunmaktadir.
0nemli:Son olarak yeni gaz tipini gösteren etiketi özellikler
tablosunun yanma yapigtirmiz.
izienecek adimlar gu gekildedir:
A) Brülör ucunun degigtirilmesi (gek. 7-7a):
1.
Izgaralari, brülör kapaklarmi ve alev dagiticilari gikarmiz.
2. Teknik Servisimizden 340847 kod numerasi ile temin
edilebilecekolan anahtari kullanarak brülöruglarmi degigtiriniz
(gift alevli brülörler igin kod numerasi 340808), bkz table II,
brülöre takarken veya gikarirken brülör ucunun dügmemesine
dikkat ediniz.
Sizdirmazligi garanti etmek igin iyice sikildigmdan emin olunuz.
Bu brülörlerde, primer have düzenlemesini gergeklegtirmeye
gerek yoktur.
3. Alev dagiticilari ve brülör kapaklarmi ilgili kisimlarma ve
izgaralari tespit elemanlarma takmiz.
B) Vanalarin ayarlanmasi (gek. 8):
1
.
Kumanda dügmelerini minimum konumuna getiriniz.
2. Vanalarin kumanda dügmelerini gikartmiz. Esnek bir kauguk
conta ile birlikte bulunur. Vena ayar vidasma ulagmak igin
tornavidamn ucuyla bastirmiz.
Contayi kesinlikle sökmeyiniz.
Contalarcihazm dogru
galigmasmi bozabilecek elan siviya ve kire kargi cihazin iginin
kuru kalmasmi seglar.
3. DÜZ uglu tornavida ile by-pass vidasmi gevirerek on dügük alevi
ayarlaymiz.
Cihazmizm baglanacagi gaz tipine göre, bkz. table III, ilgili
ayarlari gergeklegtiriniz:
A: by-pass vidalarmi iyice sikigtirmiz.
B: by-pass vidalarmi brülörlerin dogru gaz gikiglarma kadar
sikigtirmiz.
C: by-pass vidalari yetkili bir servis tarafmdan degigtirilmelidir.
D: by-pass vidalarma müdahale etmeyiniz.
Maksimum ve minimum arasmdaki kumanda dügmesini
ayarlarken brülörün sönmediginden ve alevin geri tepmediginden
emin olunuz.
By-pass vidaya erigim bulunmuyorsa pigirme tezgahmm geri
kalanma baglanti ve vida sistemi ile sabitlenmig elan yagdanligi
sökünüz. Yagdanligi gikarmak igin agagidaki iglemleri takip ediniz:
1. Tüm brülör kapaklarmi, izgaralari ve kumanda dügmelerini
sökünüz.
2. Brülörlerin vidalarmi gikarmiz.
3. Gerekliyse, teknikservisimizden 483196 kodu ile tedarik
edebileceginiz bir dementa) aleti kullanmiz. Aleti belirtilen
alanlarda uygulayarakön kisimdaki baglantiyi agmiz. Çek. 9.
4.
Yag sigratma aparatmi tekrartakmak igin sökme iglemlerinin tersi
bir sirayla devam ediniz.
Vana milini asía sökmeyiniz (gekil 10). Ariza halinde vanayi
komple degigtiriniz.
- 1 5 ■
COUNTRIES/GASES
GAS ADJUSTED
MODEL
TYPE
ZQn G30,
G31(kW)
ZQm
G20, G25,
G25.1(kW)
G20
(m3/h)
G25
(m3/h)
G25.1
(m3/h)
G30
(g/h)
G31
(g/h)
W
V-
Hz
3ETX394BP
HSE-S6F4030
7,50
7,50
0,715
-
-
544
535
0,8 W
220-240 V~ 50/60 Hz
3ETX395BP
HSE-S6F2V30
8,00
8,00
0,762
-
-
581
571
0,8 W
220-240 V~ 50/60 Hz
3ETX397BP
HSE-S7F4V30
11,50
11,50
1,096
-
-
835
821
0,8 W
220-240 V~ 50/60 Hz
3ETX398BP
HSE-S7F4V30
11,50
11,50
1,096
-
-
835
821
0,8 W
220-240 V~ 50/60 Hz
CA122650NL
HSE-S6F4030
7,50
7,50
-
0,831
-
544
535
0,8 W
220-240 V~ 50/60 Hz
CA174251NL
HSE-S7F4V30
11,50
11,50
-
1,275
-
835
821
0,8 W
220-240 V~ 50/60 Hz
CAI 74651NL
HSE-S7F4V30
11,50
11,50
-
1,275
-
835
821
0,8 W
220-240 V~ 50/60 Hz
EC645HC90N
HSE-S6F3W30
9,05
9,05
-
1,003
-
657
646
0,8 W
220-240 V~ 50/60 Hz
EC645HV90N HSE-S6F3W3M
9,05
9,05
-
1,003
-
657
646
3,00 W 220-240 V~ 50/60 Hz
EC645PC90N
HSE-S6F4030
7,50
7,50
-
0,831
-
544
535
0,8 W
220-240 V~ 50/60 Hz
EC6E5PC90N
HSE-S6F4030
7,50
7,50
-
0,831
-
544
535
0,8 W
220-240 V~ 50/60 Hz
EC745RC90N
HSE-S7F4W30
12,10
12,50
-
1,386
-
878
864
0,8 W
220-240 V~ 50/60 Hz
GK64VBE20
HSE-S6F4030
7,50
7,50
-
0,831
-
544
535
0,8 W
220-240 V~ 50/60 Hz
JG16BB50NL
HSE-S6F4030
7,50
7,50
-
0,831
-
544
535
0,8 W
220-240 V~ 50/60 Hz
JG17BB50NL
HSE-S7F4V30
11,50
11,50
-
1,275
-
835
821
0,8 W
220-240 V~ 50/60 Hz
PCH615C90N
HSE-S6F3W30
9,05
9,05
-
1,003
-
657
646
0,8 W
220-240 V~ 50/60 Hz
PCP615C90N
HSE-S6F4030
7,50
7,50
-
0,831
-
544
535
0,8 W
220-240 V~ 50/60 Hz
PCP6E5C90N
HSE-S6F4030
7,50
7,50
-
0,831
-
544
535
0,8 W
220-240 V~ 50/60 Hz
PCR715C90N
HSE-S7F4W30
12,10
12,50
-
1,386
-
878
864
0,8 W
220-240 V~ 50/60 Hz
PCS815C90N
HSE-S7F4L30
12,10
12,50
-
1,386
-
878
864
0,8 W
220-240 V~ 50/60 Hz
PCS815U90N
HSE-S7F4L3M
12,10
12,50
-
1,386
-
878
864
3,00 W 220-240 V~ 50/60 Hz
PCS8E5C90N
HSE-S7F4L30
12,10
12,50
-
1,386
-
878
864
0,8 W
220-240 V~ 50/60 Hz
T23S36N0NL
HSE-S6F4030
7,50
7,50
-
0,831
-
544
535
0,8 W
220-240 V~ 50/60 Hz
T25S86N0NL
HSE-S7F4L30
12,10
12,50
-
1,386
-
878
864
0,8 W
220-240 V~ 50/60 Hz
T26R86N0NL
HSE-S7F4L3H
12,10
12,50
-
1,386
-
878
864
3,00 W 220-240 V~ 50/60 Hz
VVK27G335N
HSE-S7F4V30
11,50
11,50
-
1,275
-
835
821
0,8 W
220-240 V~ 50/60 Hz
EC645YB80E
HSE-S6F3E30
5,75
5,75
0,548
0,637
-
417
410 1500 W 220-240 V~ 50/60 Hz
3ETX394NP
HSE-S6F4030
7,50
7,50
0,715
-
-
544
535
0,8 W
220-240 V~ 50/60 Hz
3ETX395NP
HSE-S6F2V30
8,00
8,00
0,762
-
-
581
571
0,8 W
220-240 V~ 50/60 Hz
3ETX397NP
HSE-S7F4V30
11,50
11,50
1,096
-
-
835
821
0,8 W
220-240 V~ 50/60 Hz
CA174251
HSE-S7F4V30
11,50
11,50
1,096
1,275
1,272
835
821
0,8 W
220-240 V~ 50/60 Hz
CA174651
HSE-S7F4V30
11,50
11,50
1,096
1,275
1,272
835
821
0,8 W
220-240 V~ 50/60 Hz
CGE645G02
HSE-S6F4030
7,50
7,50
0,715
0,831
0,830
544
535
0,8 W
220-240 V~ 50/60 Hz
EC612PB90R
HSE-S6F4030
7,50
7,50
0,715
0,831
0,830
544
535
0,8 W
220-240 V~ 50/60 Hz
EC615HB80E
HSE-S6F3W30
9,05
9,05
0,862
1,003
1,001
657
646
0,8 W
220-240 V~ 50/60 Hz
EC615PB80E
HSE-S6F4030
7,50
7,50
0,715
0,831
0,830
544
535
0,8 W
220-240 V~ 50/60 Hz
EC615PB90E
HSE-S6F4030
7,50
7,50
0,715
0,831
0,830
544
535
0,8 W
220-240 V~ 50/60 Hz
EC616PB90R
HSE-S6F4030
7,50
7,50
0,715
0,831
0,830
544
535
0,8 W
220-240 V~ 50/60 Hz
EC645HB80E
HSE-S6F3W30
9,05
9,05
0,862
1,003
1,001
657
646
0,8 W
220-240 V~ 50/60 Hz
EC645HB90E
HSE-S6F3W30
9,05
9,05
0,862
1,003
1,001
657
646
0,8 W
220-240 V~ 50/60 Hz
EC645HB90R
HSE-S6F3W30
9,05
9,05
0,862
1,003
1,001
657
646
0,8 W
220-240 V~ 50/60 Hz
ES
PT
MT
CY
Cat.
II2H3+
II2H3+
l3BP
11 2H3BrP
DtmOar)20-20/37 20-30/37
30
20-30
G-30 )031-28-30 )37 m bar B U TAN 0-P R OP AN 0
NL
Cat.
II 2L3B/P
p[mbar)
25-30
MRDGAS
Q25/25
mbar
__________________ L0>PL
ll2K3Bff II2E+3H
pi)ntao| 20-S0 |;D
i
;5-;8-3D^7| 20 I2D-3DS7
■leECZeKCEilTSLISO/SGiNOCY DE ESiOBifSWä
G-20/20 mbar ERDGAS/ERDGAS E /
NATURGAS / GAS NATURAL/
MAAKAASU NATURGAS
/ ®uoiK_aeoio .
NATURAL GAS / GAS METANO / GAS
NATUREL/GAZ ZIEMNY
G-20/G-25-20/25 mba r AARDGAS / GAZ
NATUREL LAGO
ES
PT
CY
Cal.
II
2H3+
ll2HЗ-^
II2H3B/P
20-23/37 20-30/37
20-30
10-20/20 mbar OAS NATURAL
Cät II2H3B/P II2E+3-1- l2E H2H3t 2H H
2
BP
1
PÌ’:)
pijmap 2D.SD 2Dl2S-28-3DÌ3T'2D~^3DJ37 ~2tr 2D-37~
DMieEICZeKiEEATemO^BGiMOCV DE ES/GBiGFVlE
G-20/20 mbar ERDGAS/ERDGAS E/
NATURGAS/GAS NATURAL/
MAAKAASU NATURGAS / 0)uoiK_O£Ciio /
NATURAL GAS / GAS METAN 0 / GAS
NATUREL/GAZ ZIEMNY
G-20/G-25-20/26 mbarAARDGAS/GAZ
NATUREL LACQ
a» 20-iP
l2D^i-28-3Pg7l 2DbO-3
iKjfLSEJMK^E'LTeiJiOJSiMOiCYT
G-20/20 mbar ERDGAS / ERDGAS E /
NATURGAS/GAS NATURAL/
MAAKAASU NATURGAS/®uaiK_aeaio /
NATU RAL GAS / GAS METANO / GAS
NATUREL/GAZ ZIEMNY
EC645HC90E
HSE-S6F3W30
9,05
9,05
0,862
1,003
1,001
657
646
0,8 W
220-240 V~ 50/60 Hz
EC645PB80E
HSE-S6F4030
7,50
7,50
0,715
0,831
0,830
544
535
0,8 W
220-240 V~ 50/60 Hz
EC645PB90E
HSE-S6F4030
7,50
7,50
0,715
0,831
0,830
544
535
0,8 W
220-240 V~ 50/60 Hz
EC645PB90R
HSE-S6F4030
7,50
7,50
0,715
0,831
0,830
544
535
0,8 W
220-240 V~ 50/60 Hz
EC645PT90E
HSE-S6F403M
7,50
7,50
0,715
0,831
0,830
544
535
3,00 W 220-240 V~ 50/60 Hz
EC715QB80E
HSE-S7F4V30
11,50
11,50
1,096
1,275
1,272
835
821
0,8 W
220-240 V~ 50/60 Hz
EC745QB80E
HSE-S7F4V30
11,50
11,50
1,096
1,275
1,272
835
821
0,8 W
220-240 V~ 50/60 Hz
EC745QB90R
HSE-S7F4V30
11,50
11,50
1,096
1,275
1,272
835
821
0,8 W
220-240 V~ 50/60 Hz
ER17362EU
HSE-S7F4V30
11,50
11,50
1,096
1,275
1,272
835
821
0,8 W
220-240 V~ 50/60 Hz
JG16BB50
HSE-S6F4030
7,50
7,50
0,715
0,831
0,830
544
535
0,8 W
220-240 V~ 50/60 Hz
JG17BB50
HSE-S7F4V30
11,50
11,50
1,096
1,275
1,272
835
821
0,8 W
220-240 V~ 50/60 Hz
OA36P5180D
HSE-S6F4030
7,50
7,50
0,715
0,831
0,830
544
535
0,8 W
220-240 V~ 50/60 Hz
OCA753
HSE-S7F4V30
11,50
11,50
1,096
1,275
1,272
835
821
0,8 W
220-240 V~ 50/60 Hz
PCC615B80E
HSE-S6F2V30
8,00
8,00
0,762
0,887
0,885
581
571
0,8 W
220-240 V~ 50/60 Hz
PCC615B90E
HSE-S6F2V30
8,00
8,00
0,762
0,887
0,885
581
571
0,8 W
220-240 V~ 50/60 Hz
PCD666DEU
HSE-S6F4030
7,50
7,50
0,715
0,831
0,830
544
535
0,8 W
220-240 V~ 50/60 Hz
PCH612M90R HSE-S6F3W30
9,05
9,05
0,862
1,003
1,001
657
646
0,8 W
220-240 V~ 50/60 Hz
PCH615B80E
HSE-S6F3W30
9,05
9,05
0,862
1,003
1,001
657
646
0,8 W
220-240 V~ 50/60 Hz
PCH615B90E
HSE-S6F3W30
9,05
9,05
0,862
1,003
1,001
657
646
0,8 W
220-240 V~ 50/60 Hz
PCH615M90E
HSE-S6F3W30
9,05
9,05
0,862
1,003
1,001
657
646
0,8 W
220-240 V~ 50/60 Hz
PCH615M90R HSE-S6F3W30
9,05
9,05
0,862
1,003
1,001
657
646
0,8 W
220-240 V~ 50/60 Hz
PCH616M90R HSE-S6F3W30
9,05
9,05
0,862
1,003
1,001
657
646
0,8 W
220-240 V~ 50/60 Hz
PCL766DEU
HSE-S7F4V30
11,50
11,50
1,096
1,275
1,272
835
821
0,8 W
220-240 V~ 50/60 Hz
PCP611B90E
HSE-S6F4030
7,50
7,50
0,715
0,831
0,830
544
535
0,8 W
220-240 V~ 50/60 Hz
PCP612B80E
HSE-S6F4030
7,50
7,50
0,715
0,831
0,830
544
535
0,8 W
220-240 V~ 50/60 Hz
PCP612B90E
HSE-S6F4030
7,50
7,50
0,715
0,831
0,830
544
535
0,8 W
220-240 V~ 50/60 Hz
PCP612M90E
HSE-S6F4030
7,50
7,50
0,715
0,831
0,830
544
535
0,8 W
220-240 V~ 50/60 Hz
PCP615B80E
HSE-S6F4030
7,50
7,50
0,715
0,831
0,830
544
535
0,8 W
220-240 V~ 50/60 Hz
PCP615B80R
HSE-S6F4030
7,50
7,50
0,715
0,831
0,830
544
535
0,8 W
220-240 V~ 50/60 Hz
PCP615B90B
HSE-S6F4030
7,50
7,50
0,715
0,831
0,830
544
535
0,8 W
220-240 V~ 50/60 Hz
PCP615B90E
HSE-S6F4030
7,50
7,50
0,715
0,831
0,830
544
535
0,8 W
220-240 V~ 50/60 Hz
PCP615M90E
HSE-S6F4030
7,50
7,50
0,715
0,831
0,830
544
535
0,8 W
220-240 V~ 50/60 Hz
PCP616B80E
HSE-S6F4030
7,50
7,50
0,715
0,831
0,830
544
535
0,8 W
220-240 V~ 50/60 Hz
PCP616B90E
HSE-S6F4030
7,50
7,50
0,715
0,831
0,830
544
535
0,8 W
220-240 V~ 50/60 Hz
PCP616M90E
HSE-S6F4030
7,50
7,50
0,715
0,831
0,830
544
535
0,8 W
220-240 V~ 50/60 Hz
PCQ715B80E
HSE-S7F4V30
11,50
11,50
1,096
1,275
1,272
835
821
0,8 W
220-240 V~ 50/60 Hz
PCQ715B90E
HSE-S7F4V30
11,50
11,50
1,096
1,275
1,272
835
821
0,8 W
220-240 V~ 50/60 Hz
PCQ715M90E
HSE-S7F4V30
11,50
11,50
1,096
1,275
1,272
835
821
0,8 W
220-240 V~ 50/60 Hz
PCY615B80E
HSE-S6F3E30
5,75
5,75
0,548
0,637
0,636
417
410 1500 W 220-240 V~ 50/60 Hz
T22S16N0
HSE-S6F2V30
8,00
8,00
0,762
0,887
0,885
581
571
0,8 W
220-240 V~ 50/60 Hz
T22S36C0
HSE-S6F4030
7,50
7,50
0,715
0,831
0,830
544
535
0,8 W
220-240 V~ 50/60 Hz
T22S36J0
HSE-S6F4030
7,50
7,50
0,715
0,831
0,830
544
535
0,8 W
220-240 V~ 50/60 Hz
T22S36N0
HSE-S6F4030
7,50
7,50
0,715
0,831
0,830
544
535
0,8 W
220-240 V~ 50/60 Hz
T22S36N0GB
HSE-S6F4030
7,50
7,50
0,715
0,831
0,830
544
535
0,8 W
220-240 V~ 50/60 Hz
T22S36S0
HSE-S6F4030
7,50
7,50
0,715
0,831
0,830
544
535
0,8 W
220-240 V~ 50/60 Hz
T22S36W0
HSE-S6F4030
7,50
7,50
0,715
0,831
0,830
544
535
0,8 W
220-240 V~ 50/60 Hz
T22S46N0
HSE-S6F3W30
9,05
9,05
0,862
1,003
1,001
657
646
0,8 W
220-240 V~ 50/60 Hz
AT
BE/FR
LU IT)PT
LV
PL
Zai.
ll
2
H
3
B)P
ll
2
E-i
3
-t-
l
2
E
II
2
E
3
P|liI^
5
(bba
0 20-50
20
/
25
-
20
-
30/37
20
)-
30/372
L
20-37
) M le EC S
j
S
ioee
ATe iflo fl CM
0
c DE
S
j
CB/GR/IE
Zat
II
2
H
3
B
2
P
bELL
3
B(P II
2
H
3
Í-
5
(inBaD
20-30
20-50
20-2807
G-20/2D mbar ERDGAS / ERDGAS E /
NATURGAS / GAS NATURAL /
MAAKAASU NATURGAS/(DuoiK_a£Qio /
NATURAL GAS / GAS METANO / GAS
NATUREL/GAZ ZIEMNY
G-20/G-25-20/25 mbar AARDGAS / GAZ
NATURELLACQ
T23R46N0
HSE-S6F3W3H
9,05
9,05
0,862
1,003
1,001
657
646
3,00 W
220-240 V~
50/60 Hz
T23S36N0
HSE-S6F4030
7,50
7,50
0,715
0,831
0,830
544
535
0,8 W
220-240 V~
50/60 Hz
T23S36N0GB
HSE-S6F4030
7,50
7,50
0,715
0,831
0,830
544
535
0,8 W
220-240 V~
50/60 Hz
T25S56N0
HSE-S7F4V30
11,50
11,50
1,096
1,275
1,272
835
821
0,8 W
220-240 V~
50/60 Hz
T25S56N0GB
HSE-S7F4V30
11,50
11,50
1,096
1,275
1,272
835
821
0,8 W
220-240 V~
50/60 Hz
T25S56S0
HSE-S7F4V30
11,50
11,50
1,096
1,275
1,272
835
821
0,8 W
220-240 V~
50/60 Hz
T25S76N0
HSE-S7F4N30
11,50
11,50
1,096
1,275
1,272
835
821
0,8 W
220-240 V~
50/60 Hz
T26S56N0
HSE-S7F4V30
11,50
11,50
1,096
1,275
1,272
835
821
0,8 W
220-240 V~
50/60 Hz
VVK26G3251
HSE-S6F4030
7,50
7,50
0,715
0,831
0,830
544
535
0,8 W
220-240 V~
50/60 Hz
VVK27G3350
HSE-S7F4V30
11,50
11,50
1,096
1,275
1,272
835
821
0,8 W
220-240 V~
50/60 Hz
EC715RB90E
HSE-S7F4W30
12,10
12,50
1,191
1,386
1,383
878
864
0,8 W
220-240 V~
50/60 Hz
EC745RB90E
HSE-S7F4W30
12,10
12,50
1,191
1,386
1,383
878
864
0,8 W
220-240 V~
50/60 Hz
EC745RC90E
HSE-S7F4W30
12,10
12,50
1,191
1,386
1,383
878
864
0,8 W
220-240 V~
50/60 Hz
EC745RF90E
HSE-S7F4W3F
12,10
12,50
1,191
1,386
1,383
878
864
3,00 W
220-240 V~
50/60 Hz
EC745RT90E
HSE-S7F4W3M
12,10
12,50
1,191
1,386
1,383
878
864
3,00 W
220-240 V~
50/60 Hz
EC745RU90E
HSE-S7F4W3M
12,10
12,50
1,191
1,386
1,383
878
864
3,00 W
220-240 V~
50/60 Hz
PCR715F90E
HSE-S7F4W3F
12,10
12,50
1,191
1,386
1,383
878
864
3,00 W
220-240 V~
50/60 Hz
PCR715M90E
HSE-S7F4W30
12,10
12,50
1,191
1,386
1,383
878
864
0,8 W
220-240 V~
50/60 Hz
PCS815B90E
HSE-S7F4L30
12,10
12,50
1,191
1,386
1,383
878
864
0,8 W
220-240 V~
50/60 Hz
PCS815M90E
HSE-S7F4L30
12,10
12,50
1,191
1,386
1,383
878
864
0,8 W
220-240 V~
50/60 Hz
T26R66N0
HSE-S7F4W3H
12,10
12,50
1,191
1,386
1,383
878
864
3,00 W
220-240 V~
50/60 Hz
T26R86N0
HSE-S7F4L3H
12,10
12,50
1,191
1,386
1,383
878
864
3,00 W
220-240 V~
50/60 Hz
EC645PB90D
HSE-S6F4030
7,50
7,50
0,715
0,831
0,830
544
535
0,8 W
220-240 V~
50/60 Hz
EC745RB90D
HSE-S7F4W30
12,10
12,50
1,191
1,386
1,383
878
864
0,8 W
220-240 V~
50/60 Hz
EC745RF90D
HSE-S7F4W3F
12,10
12,50
1,191
1,386
1,383
878
864
3,00 W
220-240 V~
50/60 Hz
PCS815C90D
HSE-S7F4L30
12,10
12,50
1,191
1,386
1,383
878
864
0,8 W
220-240 V~
50/60 Hz
ll2H3Eyp| IUE+3-
i
- I UE I II2H3+
20;25-2S-30ß7
20
20-30Í37
20
IbEOBiF
20-37
ll
2
ELL
3
BiP
20-50
ESí^erORílE
G-2D/20 mbar ERDGAS/ERD GAS E/
NATURGAS /GAS NATURAL/
MAAKAASU NATURGAS/ibuciiK_a£Oio/
NATURAL GAS/GAS METANO /GAS
NATUREL/GAZ ZIEMNY
G-20/G-25-20/25 mbar AARDGAS / GAZ
NATUREL LACQ
AT
BE/FR
ES)GR
IT)PT
LU
PL
Zat
II
2
H
3
b
;
p
II
2
E+
3
+
II
2
H
3
+ ll
2
H
3
-f l
2
E I
2
E
3
B/P
DitnCari
20
-SQ JDflä-
28
-
30/3720-2873720-30737
VII
20-37
20
)
25
-
28
-
30
f
37
20
20
-
30
Q
7
20
_ D№l'SE/CZ'SK^E/LTy?IJ;
0
)EC)l-IO/CV _
. G
ellsbi
P II
2
H
3
-I-
20-50
20
-
2
SJ
37
G-20/20 mbar ERDGAS/ERDGAS E /
NATURGAS/GAS NATURAL/
MAAKAASU NATURGAS/®uoiK_os:ciio /
NATURAL GAS / GAS METANO / GAS
NATUREL/GAZ ZIEMNY
G-20/G-25-20/25 mbar AARDGAS / GAZ
NATUREL LACQ
G-20C0 mbar ERDGAS iERDGAS E /
NATURG3ÌS
>
GAS NATURAL
>
MAAKAASU NATURGAS
>
3iuoiK_aiCilci
>
MATURALGAS/GAS
metano
; GAS
NATUREL/GAZ ZIEMNY
0-20/3-25-20/25 mbar AARDGAS /GAZ
NATURELLACQ
GAS
mbar
®1
Qn (kW)
тЗ/h
g/h
«i
О
G20
20
72
1
0,095
-
27
G20
25
68
1
0,095
-
27
G25
20
73
1
0,111
-
27
G25
25
72
1
0,111
-
27
G25.1
25
72
1
0,111
-
27
G30
29
50
1
-
73
27
G30
37
48
1
-
73
27
G30
50
43
1
-
73
24
G31
37
50
1
-
71
27
0
G20
20
100
1,75
0,167
-
30
G20
25
91
1,75
0,167
-
30
G25
20
100
1,75
0,194
-
30
G25
25
98
1,75
0,194
-
30
G25.1
25
98
1,75
0,194
-
30
G30
29
67
1,75
-
127
30
G30
37
63
1,75
-
127
30
G30
50
58
1,75
-
127
26
G31
37
67
1,75
-
125
30
0
G20
20
115
3
0,286
-
39
G20
25
110
3
0,286
-
39
G25
20
132
3
0,333
-
39
G25
25
128
3
0,333
-
39
G25.1
25
128
3
0,333
-
39
G30
29
85
3
-
218
39
G30
37
82
3
-
218
39
G30
50
74
3
-
218
33
G31
37
85
3
-
214
39
G20
20
134
3,3
0,314
-
55
G20
25
125
3,3
0,314
-
55
G25
20
142
3,3
0,366
-
5
G25
25
136
3,3
0,366
-
55
G25.1
25
136
3,3
0,366
-
55
G30
29
91
3,3
-
240
55
G30
37
85
3,3
-
240
55
G30
50
83
3,3
-
240
53
G31
37
91
3,3
-
236
55
G20
20
145
4
0,381
-
55
G20
25
137
4
0,381
-
55
G25
20
153
4
0,443
-
55
G25
25
148
4
0,443
-
55
7
G25.1
25
148
4
0,443
-
55
G30
29
100
4
-
290
55
G30
37
95
4
-
290
55
G30
50
91
4
-
290
53
G31
37
100
4
-
285
55
*
G20
20
115
5
0,476
-
-
G20
20
70
-
-
-
27
G20
25
106
5
0,476
-
-
G20
25
65
-
-
-
27
G25
20
128
5
0,554
-
-
G25
20
74
-
-
-
27
G25
25
117
5
0,554
-
-
G25
25
71
-
-
-
27
G25.1
25
117
5
0,554
-
-
G25
25
71
-
-
-
27
G30
29
71
4,6
-
334
-
G30
29
46
-
-
27
G30
37
67
4,6
-
334
-
G30
37
46
-
-
27
G30
50
63
4,6
-
334
-
G30
50
41
-
-
-
25
G31
37
71
4,6
-
328
-
G31
37
46
-
-
27
1
G20
20
118
2,7
0,257
-
53
G20
25
112
2,7
0,257
-
53
G25
20
129
2,7
0,299
-
53
G25
25
121
2,7
0,299
-
53
G25.1
25
121
2,7
0,299
-
53
G30
29
81
2,7
-
196
53
G30
37
76
2,7
-
196
53
G30
50
76
2,7
-
196
49
G31
37
81
2,7
-
193
53
G20/20 G20/25 G25/20 G25/25 G25.1/25 G30/29 G30/37 G30/50 G31/37
G20/20
D
D
D
D
A
A
C
A
G20/25
D
D
D
D
A
A
C
A
G25/20
D
D
D
D
A
A
c
A
G25/25
D
D
D
D
A
A
c
A
G25.1/25
D
D
D
D
A
A
c
A
G30/29
В
B
B
B
B
D
c
D
G30/37
В
B
B
B
B
D
c
D
G30/50
С
C
C
C
C
C
C
C
G31/37
В
B
B
B
B
D
D
c
- 1 9 -

