Sony Walkman MZ-E310 – страница 16
Инструкция к Плееру Sony Walkman MZ-E310

2
Подсоедините все необходимые
устройства и принадлежности
и разблокируйте управление.
1
Подсоедините наушники к
i
.
2
Передвиньте HOLD в направлении,
противоположном указываемому
изображенной на корпусе
проигрывателя стрелке (HOLD
.
),
чтобы разблокировать управление.
HOLD
к
i
Подсоедините надежно.
7
-RU

Прослушайте минидиск прямо сейчас
1
Вставьте минидиск.
1
Нажмите OPEN, чтобы открыть
2
Вставьте минидиск этикеткой вперед,
крышку.
прижмите крышку и закройте ее.
2
Начните воспроизведение
минидиска.
1
Нажмите
N>
.
.
,
N>
,
x
,
X
2
Отрегулируйте громкость, нажимая
VOL + или –.
На дисплее появится индикатор
громкости, с помощью которого
вы можете контролировать
устанавливаемый уровень
громкости.
Для прекращения
воспроизведения нажмите x.
VOL +, –
Воспроизведение будет начато с того
места, где оно ранее было остановлено.
Чтобы начать воспроизведение с начала
первой дорожки, нажмите кнопку
N>
и удерживайте ее 2 секунды или более.
8
-RU

Чтобы... Операция
Найти начало текущей
Нажмите ..
1)
дорожки
Перейдите к началу нужной дорожки,
нажимая ..
Поиск начала следующей
Нажмите
N>
один раз.
2)
дрожки
Переместиться назад во время
Нажмите и удерживайте ..
воспроизведения
Переместиться вперед во время
Нажмите и удерживайте
N
>.
воспроизведения
Приостановка воспроизведения Нажмите X.
Чтобы продолжить воспроизведение, еще
раз нажмите X.
3)
Извлеките минидиск Нажмите x, а затем нажмите OPEN.
1)
Если во время проигрывания первой дорожки диска дважды нажать ., устройство
записи минидисков перейдет к началу последней дорожки.
2)
Если во время воспроизведения последней дорожки диска нажать
N>
, проигрыватель
перейдет к началу первой дорожки.
3)
Как только вы откроете крышку, воспроизведение запустится с начала первой дорожки
(если не включен групповой режим).
Устранение обрывов в звучании (G-PROTECTION)
Функция G-PROTECTION обеспечивает более высокую степень сопротивления
ударам и вибрации по сравнению с другими плеерами, позволяя эксплуатировать
проигрыватель во время бега.
Примечание
Воспроизведение может прерываться, если:
• сила удара превысила допустимое значение.
• воспроизводится загрязненный, имеющий царапины диск.
z
• Плейер MZ-E310 поддерживает ЦСП (цифровой сигнальный процессор) новейшей
разработки TYPE-R для ATRAC.
Таким образом, он позволяет Вам получать удовольствие от высококачественного звука
TYPE-R на MД, записанных в режиме SP стерео на оборудованных TYPE-R
магнитофонах МД и т.п.
• Проигрыватель может воспроизводить дорожки, записанные в режиме увеличенной
продолжительности записи 2
×
или 4
×
(LP2 или LP4). Воспроизведение в обычном
стереофоническом режиме, воспроизведение в стереорежиме LP2, воспроизведение
в стереорежиме LP4 или воспроизведение в монофоническом режиме выбирается
автоматически в соответствии с режимом, в котором был записан источник звука.
• Дисплей отключится вскоре после нажатия кнопки
x
.
9
-RU

Различные способы воспроизведения
6
Нажмите X.
Быстрый поиск дорожки
Воспроизведение начнется
или определенного места
с выбранной дорожки.
в записи (Быстрый поиск)
Для отмены
Существуют два способа быстрого
Нажмите x.
поиска.
z
• Поиск по указателю — Быстрый
• Если вы выполняете данную процедуру
поиск путем просмотра номеров
в то время, когда проигрыватель
и названий дорожек (используется
находится в режиме воспроизведения
по умолчанию).
записей в случайном порядке, то
• Поиск по времени — Быстрый
воспроизведение вразброс начнется
поиск путем отслеживания
с выбранной вами дорожки.
• Когда нажата кнопка . или N >
прошедшего времени.
в шаге 5, по достижении первой или
MENU/ENTER
последней дорожки диска
проигрыватель переходит к последней
или первой дорожке, соответственно.
(Когда в групповом режиме нажата
кнопка . или N > в шаге 5,
по достижении первой или последней
дорожки группы проигрыватель
.
,
N>
,
переходит к последней или первой
X
,
x
дорожке этой группы, соответственно.)
(См. “Использование функции
группировки записей”, стр. 12.)
1
Во время воспроизведения
нажмите MENU/ENTER.
2
Нажимайте . или
N>
,
Выбор режима
пока “SEARCH” не начнет
воспроизведения
мигать на дисплее, а затем
нажмите MENU/ENTER.
Вы можете выбирать различные
режимы воспроизведения (обычный
3
Нажимайте
.
или
N>
,
режим, многократное
пока “Index” (поиск по
воспроизведение (1Rep.),
указателю) или “Time” не начнет
воспроизведение в случайном
мигать на дисплее, а затем
порядке (Shuff) или воспроизведение
нажмите MENU/ENTER.
по программе (PGM)).
4
Нажмите X.
MENU/ENTER
5
Нажмите кнопку . или
N>
и удерживайте ее, пока номер/
название требуемой дорожки
(поиск по указателю) или
требуемое время, прошедшее
с начала воспроизведения
.
,
N>
дорожки, (поиск по времени) не
отобразятся на дисплее.
10
-RU

1
Во время воспроизведения
Информация в полях A/B
нажмите MENU/ENTER.
(режим воспроизведения)
Normal/—(обычный режим
2
Нажимайте . или
N>
,
воспроизведения)
пока “P-MODE” не начнет
Все дорожки воспроизводятся
мигать на дисплее, а затем
однократно.
нажмите MENU/ENTER.
r
AllRep/
3
Выберите режим
воспроизведения, нажимая
Все дорожки воспроизводятся
. или
N>
, а затем нажмите
многократно.
r
MENU/ENTER.
При каждом нажатии
N>
1 Track/
1
информация в поле дисплея,
Одна дорожка воспроизводится
которое обозначено A,
однократно.
r
изменяется следующим образом:
При нажатии MENU/ENTER
1Rep./
1
в то время, когда мигает A,
Одна дорожка воспроизводится
режим воспроизведения
многократно.
r
изменяется.
Наименование нового режима
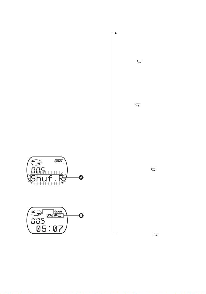
Shuff/
SHUF
затем отображается в поле
После того, как завершится
дисплея, обозначенном B.
воспроизведение выбранной
в настоящий момент дорожки,
Информация в поле A изменяется
остальные дорожки будут
многократным нажатием
N>
.
воспроизводиться в случайном
порядке.
r
Shuf.R/
SHUF
После того, как завершится
воспроизведение выбранной
в настоящий момент дорожки,
остальные дорожки будут
B начинает светиться при нажатии
воспроизводиться многократно
MENU/ENTER
.
в случайном порядке.
r
PGM/
PGM
Дорожки воспроизводятся
в заданном вами порядке.
r
PGMRep/
PGM
Дорожки воспроизводятся
многократно в заданном вами
порядке.
Для отмены
Нажмите x.
11
-RU

Настройки будут введены,
Прослушивание дорожек
и воспроизведение начнется
втребуемой
с первой введенной в программу
последовательности
дорожки.
(Воспроизведение по
z
программе)
• Настройки режима воспроизведения по
программе сохраняются в памяти даже
после прекращения воспроизведения.
1
Выполните шаги 1 и 2,
• Вы можете ввести в программу до
описанные в разделе “Выбор
20 дорожек.
режима воспроизведения”
• Когда включен групповой режим, вы
(стр. 10), выберите “PGM”
можете задать режим воспроизведения
в шаге 3, а затем нажмите
для выбранной группы. О том, как
MENU/ENTER.
включить групповой режим, см.
в разделе “Выбор и воспроизведение
определенных групп (Функция
выборочного воспроизведения групп)”
(стр. 14).
•
Режим воспроизведения можно также
выбрать, когда проигрыватель
находится в режиме паузы или останова.
2
Выберите номер дорожки,
Примечания
• Все настройки режима воспроизведения
нажимая . или
N>
.
по программе теряются при открытии
крышки.
•
Если вы прекратите программирование
Номер дорожки
на 5 минут, когда проигрыватель
остановлен, то будет введена программа,
которая была создана на этот момент.
Номер
• Во время ввода программы включить
программы
или выключить групповой режим
невозможно.
3
Нажмите MENU/ENTER.
• Если включить групповой режим во
Выбранная дорожка будет
время воспроизведения по программе,
введена в программу.
режим воспроизведения по программе
выключится.
Использование функции
группировки записей
Проигрыватель может работать
4
Выберите другие дорожки
с дисками, содержащими установки
в нужном порядке, повторяя
групп.
шаги 2 и 3.
Функцию группировки записей
5
Нажмите кнопку MENU/ENTER
удобно использовать при
и удерживайте ее 2 секунды или
воспроизведении большого числа
дорожек, а также при воспроизве-
более.
дении дорожек, записанных
врежиме MDLP (LP2/LP4).
12
-RU

Диск
Что такое диск
Номер дорожки
с установками групп?
Это диск, на который записана
123
4
7
85 6
информация о том, к каким группам
принадлежат различные дорожки.
Эти группы могут выбираться
пользователем.
Воспроизведение при включенном
групповом режиме:
Рассматриваемый проигрыватель не
Проигрыватель начнет воспроизведение
поддерживает запись установок
с первой дорожки в группе и закончит
групп. Запись информации на
последней дорожкой в группе.
минидиски осуществляется
Диск
с помощью записывающего
проигрывателя минидисков.
Группа 2Группа 1 Группа 3
Описываемый проигрыватель
Номер
Номер
Номер
используется только для
дорожки
доро-
доро-
жки
жки
воспроизведения.
Диск
123
1
21 2
Группа 2Группа 1 Группа 3
Номер
Номер
Номер
дорожки
доро-
доро-
жки
жки
1
Вставьте диск с установками
123
4
7
85 6
групп в проигрыватель и начните
воспроизведение диска.
2
Нажмите кнопку GROUP
z
и удерживайте ее 2 секунды или
Если записывающий проигрыватель
имеет функцию редактирования названий
более.
дисков, он может использоваться для
“ ” и “GP ON” загорятся на
регистрации групп. Подробнее см.
дисплее, и включится групповой
в разделе “Регистрация групп с помощью
режим.
записывающего проигрывателя
Воспроизведение прекратится
минидисков” (стр. 15).
после того, как будет проиграна
последняя запись в выбранной
Прослушивание дорожек
группе.
определенной группы
Подробнее о том, как выбрать
другую группу, см. в разделе
(Bоспроизведение
“Выбор и воспроизведение
в групповом режиме)
определенных групп (Функция
Воспроизведение при выключенном
выборочного воспроизведения
групповом режиме:
групп)” (стр. 14).
Проигрыватель начнет воспроизведение
с первой дорожки на диске и закончит
Чтобы выключить групповой
последней дорожкой.
режим
Нажмите кнопку GROUP
и удерживайте ее 2 секунды или
более.
13
-RU

z
Если групповой режим выключен:
• Если групповой режим включен,
возможно многократное
Диск
воспроизведение дорожек,
Номер дорожки
воспроизведение в случайном порядке
и воспроизведение по программе.
Подробнее о соответствующих
123
7
85 6
4
операциях см. в разделе “Выбор
режима воспроизведения” (стр. 10).
• Если в групповом режиме дважды
Пропуск Пропуск Пропуск
нажать N> во время
воспроизведения последней дорожки
группы, начнется воспроизведение
Если групповой режим включен:
первой дорожки группы. Если
в групповом режиме дважды нажать
Диск
. во время воспроизведения
Группа 2Группа 1 Группа 3
последней дорожки группы, начнется
воспроизведение первой дорожки
Номер
Номер
Номер
дорожки
доро-
доро-
группы.
жки
жки
Примечание
123
1
21 2
В групповом режиме все дорожки без
групповых настроек проигрыватель
относит к последней группе на диске.
Пропуск Пропуск Пропуск
Последняя группа индицируется на
дисплее строкой “GP --”. Внутри группы
дорожки всегда появляются в порядке
расположения на диске, а не в порядке
1
Вставьте диск с установками
расположения в группе.
групп в проигрыватель и начните
воспроизведение диска.
Выбор и воспроизведение
2
Нажмите GROUP.
определенных групп
“ ” и “- - -” начнут мигать на
(Функция выборочного
дисплее, и включится режим
выборочного воспроизведения
воспроизведения групп)
групп.
При воспроизведении диска
с установками групп функция
3
Не позднее чем через 5 секунд
выборочного воспроизведения
несколько раз нажмите . или
групп позволяет переходить от
N>,
пока название или номер
воспроизводимой в настоящий
требуемой группы не появится
момент группы к любой другой
на дисплее.
группе минидиска. Функция
Проигрыватель начнет
выборочного воспроизведения
воспроизведение с первой
групп может использоваться
дорожки выбранной группы.
в любое время, независимо от того,
включен или выключен групповой
режим.
14
-RU

Если группа имеет название
Чтобы указать группы
(Пример: AAA)
1
С помощью записывающего
проигрывателя минидисков
измените название минидиска на
следующее:
Название
г
Если группа не имеет названия
Для отмены
Нажмите x.
Примечание
A Название диска
Если в течение 5 секунд в шаге
B Номер дорожки
3 пользователь не выполняет никаких
C Название группы
операций, режим выборочного
// Разделитель между группами
воспроизведения групп выключается.
– Дефис, расположенный между
Чтобы снова включить этот режим,
первой и последней дорожками
выполните шаг 2 еще раз.
; Разделитель номера и названия
группы
Регистрация групп
(Пример) Установите следующие
с помощью записывающего
группы для диска, который имеет
название “Collections”:
проигрывателя минидисков
Название группы для дорожек 1-7:
Если ваш записывающий
My Favorites“2002winter”
проигрыватель минидисков
Название группы для дорожек 8-17:
(минидисковая дека или
Jun&Tac“sunshine head”
Название группы для дорожек 18-24:
записывающий проигрыватель
THE NIGHT BUTTERFLYS
минидисков Walkman) имеет
Название группы для дорожек 25-32:
функцию редактирования названий
Dream World/Kiss Me!
дисков, вы можете с помощью
такого проигрывателя
Текстовая строка, которую
регистрировать группы, даже если
необходимо ввести:
он не имеет функции работы
0;Collections//
с группами.
1-7;My Favorites“2002winter”//
Текстовая строка должна вводиться
8-17;Jun&Tac“sunshine head”//
в точности так, как показано ниже.
18-24;THE NIGHT BUTTERFLYS//
При неправильном вводе текстовой
25-32;Dream World/Kiss Me!//
строки функция группового
воспроизведения записей работать
не будет.
15
-RU
ру
ппы
0;[Нaзвaниe диcкa] // [Пepвaя дopoжкa гpуппы 1 ]-
A
B
[Пocлeдняя дopoжкa гpуппы 1] ; [Нaзвaниe гpуппы 1 ] //
B
C
[Пepвaя дopoжкa гpуппы 2] - [Пocлeдняя дopoжкa гpуппы 2 ] ;
Номер группы
BB
[Нaзвaниe гpуппы 2] // ......
C
продолжение

z
• На одном минидиске можно
Выбор качества звука
зарегистрировать до 99* групп.
• В названиях групп можно использовать
Настройки по умолчанию
символы “;”, “/” и “–”.
Цифровой звук настроен по
• Одно название группы может быть
зарегистрировано более одного раза на
умолчанию следующим образом:
одном и том же минидиске.
• “SOUND 1”: низшие частоты +1,
• Вы можете определить группу без
высшие частоты ±0
названия (C).
• “SOUND 2”: низшие частоты +3,
∗
Реальное число будет меньше 99, если
высшие частоты ±0
количество введенных символов
превышает допустимое значение на
1
Во время воспроизведения
один диск.
нажмите MENU/ENTER.
Примечание
2
Нажмите
.
или
N>
Некоторые записывающие
несколько раз, пока на дисплее
проигрыватели минидисков не
не начнет мигать “S–SEL”,
поддерживают функцию группировки
а затем нажмите MENU/ENTER.
записей.
3
Нажимая . или
N>
,
выберите “SOUND 1”,
“SOUND 2” или “OFF”, а затем
Регулировка верхних
нажмите MENU/ENTER.
и нижних частот
Если выбран пункт “OFF”,
(Предварительная
функция предварительной
настройка цифрового
настройки звука отключена.
звука)
Вы можете отрегулировать уровень
Регулировка качества звука
верхних и нижних частот по своему
Вы можете изменить предварительно
вкусу. В памяти проигрывателя
установленное качество звука.
можно сохранить два варианта
Чтобы изменить предварительно
настройки высших и низших частот.
установленное качество звука,
Эти варианты можно выбрать
заранее выберите из параметров
впоследствии во время
“SOUND 1” и “SOUND 2” тот,
воспроизведения.
который вы хотите изменить.
MENU/ENTER
1
Во время воспроизведения, если
выбран вариант настройки
“SOUND 1” или “SOUND 2”,
нажмите MENU/ENTER.
2
Нажимайте . или
N>
,
пока “S–SET” не начнет мигать
.
,
N>
,
x
на дисплее, а затем нажмите
MENU/ENTER.
На дисплее отображается
выбранный в настоящий момент
вариант настройки звука “BASS”.
16
-RU

3
Нажимая . или N>,
отрегулируйте уровень звука.
Показывает, какой вариант
настройки звука выбран: “SOUND 1”
или “SOUND 2”
Регулировка параметров звука
выполняется пошагово (8 положений).
(–4, –3, ...±0, ...+2, +3)
4
Нажмите MENU/ENTER.
Параметр “BASS” установлен.
Дисплей перейдет в режим
настройки параметра “TRE”
(высшие частоты).
5
Несколько раз нажмите
. или N>, чтобы
изменить уровень звука, а затем
нажмите MENU/ENTER.
Параметр “TRE” установлен.
Настройки будут сохранены,
и на дисплее снова появится
информация режима
воспроизведения.
Для отмены
Нажмите x.
z
Вы также можете выполнить
предварительную настройку звука, когда
проигрыватель находится в режиме
паузы.
Примечание
При использовании предварительной
настройки цифрового звука, звук может
прерываться и искажаться в зависимости
от установленного уровня громкости
и характеристик дорожки. В этом случае
измените настройки качества звука.
17
-RU

Другие операции
3
Нажимайте
.
или
N>
,
Просмотр названия
пока на дисплее не начнет мигать
дорожки и времени
требуемая информация, а затем
нажмите MENU/ENTER.
воспроизведения
Каждый раз при нажатии
N>
Во время воспроизведения вы
отображаемая на дисплее
можете просмотреть название
информация изменяется
дорожки, название диска и т.д.
следующим образом:
Информация, относящаяся
к группам, появляется только в том
LapTim (Прошедшее время
случае, если воспроизводится
воспроизведения текущей
дорожка, принадлежащая какой-
дорожки)
либо группе.
r
T. N a me (Название дорожки)
r
G.Name (Название группы)
r
D.Name (Название диска)
r
T–MODE
(указывает на режим,
ABC
в котором дорожка записывалась
на записывающем проигрывателе
Номер
—
Прошедшее
минидисков, т.е. “SP”, “LP2”, “LP4”,
дорожки
время
или “MONO”. )
Номер
Название
дорожки
дорожки
Примечания
•
Элементы могут быть расположены по-
Общее число
GP Название
разному или недоступны для выделения,
дорожек
группы
в зависимости от активности группового
в группах
режима группы, режима работы
проигрывателя или установок диска.
Общее число
Название
•
Информация о режиме отображается
дорожек
диска
только во время воспроизведения. Эта
Номер
—Режим
информация отображается в течение
дорожки
дорожки
2 секунд и затем заменяется
информацией о прошедшем времени
воспроизведения текущей дорожки.
1
Нажмите MENU/ENTER.
2
Нажимайте . или
N>
,
пока “DISP” не начнет мигать на
дисплее, а затем нажмите
MENU/ENTER.
18
-RU

Защита органов слуха
Блокировка управления
(AVLS)
(HOLD)
Функция AVLS (система
Используйте эту функцию для
автоматического ограничения
предотвращения случайного
громкости) предназначена для
нажатия кнопок при переноске
защиты ваших органов слуха, не
проигрывателя.
допуская достижения максимальной
громкости.
HOLD
MENU/ENTER
.
,
N>
,
x
1
Передвиньте HOLD
в направлении ., чтобы
заблокировать управление.
1
Нажмите MENU/ENTER.
Чтобы разблокировать
2
Нажимайте
.
или
N>
,
управление
пока “OPTION” не начнет
Передвиньте HOLD в направлении,
мигать на дисплее, а затем
противоположном стрелке.
нажмите MENU/ENTER.
“AVLS” начнет мигать на
дисплее.
3
Нажмите MENU/ENTER.
4
Нажимайте . или
N>
,
пока “ON” не начнет мигать на
дисплее, а затем нажмите
MENU/ENTER.
“ON” появится на дисплее,
и через 2 секунды снова
отобразится информация
режима воспроизведения.
Для отмены функции AVLS
Выберите “OFF” в шаге 4, а затем
нажмите MENU/ENTER.
Для отмены
Нажмите
x
.
19
-RU

Дополнительная информация
Перегрев устройства
Меры предосторожности
Корпус проигрывателя способен сильно
нагреваться, если устройство используется
Техника безопасности
в течение продолжительного времени.
Это не является неисправностью.
• Запрещается транспортировать или
хранить батарею вместе
с металлическими предметами, такими
как монеты, ключи и браслеты.
Механический шум
В противном случае возможное
Во время работы проигрыватель
короткое замыкание может привести
производит шум, источником которого
к нагреванию батареи.
является его система экономного
• При неправильном использовании
потребления энергии. Это не является
батареи возможна ее протечка. Во
признаком неисправности.
избежание протечки батареи при
установке ее в корпус проигрывателя
следует соблюдать полярность
Установка
(правильно размещать полюса “+”, “и”,
Не подвергайте проигрыватель
“–”).
длительному воздействию солнечных
• При протечке батареи осторожно
лучей и вибрации. Избегайте использовать
и очень тщательно вытрите отделение
его при очень высоких или очень низких
для батареи, прежде чем вставить
температурах, а также в условиях
новую батарею.
повышенной влажности.
• Если проигрыватель не будет
использоваться продолжительное
время, обязательно извлеките из него
Картридж для минидисков
батарею.
• Запрещается касаться рабочей
поверхности диска. Во избежание
Правила обращения
повреждения рабочей поверхности
с проигрывателем
диска не открывайте самостоятельно
заслонку диска.
• Запрещается бросать и подвергать
• Переносите минидиски в футлярах.
проигрыватель ударам. В противном
• Не держите картридж там, где он будет
случае проигрыватель может выйти из
подвергаться воздействию солнечного
строя.
света, высоких или низких температур
•
Запрещается тянуть за шнур наушников.
и влаги, а также в местах скопления
• Запрещается эксплуатировать
пыли.
проигрыватель в следующих условиях:
• Этикетку следует наклеивать только
—При высокой температуре
в предназначенном для этого месте на
(более 60°C)
корпусе минидиска. Этикетка должна
—В местах, открытых для прямого
располагаться в пределах углубленной
солнечного света, или рядом
области в корпусе диска.
с нагревательными приборами
—В автомобиле при закрытых окнах
(особенно летом)
—В местах с высокой влажностью
воздуха, например, в ванной
—Возле источника электромагнитных
полей, например, магнитов,
динамиков или телевизора
—В пыльном месте
20
-RU

Наушники
• Пыль, скопившаяся на линзе лазера,
может привести к сбоям в работе
Техника безопасности в дороге
устройства. Не забывайте закрывать
• Не надевайте наушники, когда ведете
крышку отделения для диска после
автомобиль, едете на велосипеде либо
того, как вставите или извлечете
управляете каким-либо иным
минидиск.
транспортным средством. Это может
• Для достижения наилучшего качества
привести к аварийной ситуации. Кроме
звучания вытирайте штекеры
того, во многих странах это запрещено
наушников мягкой тканью. Загрязнение
законом. Также опасно слушать
штекеров может привести к появлению
проигрыватель на большой громкости
шумов, а также к периодическим
во время ходьбы, особенно в зоне
перерывам в звучании.
пешеходных переходов. Необходимо
• Необходимо периодически очищать
соблюдать предельную осторожность
клеммы ватой или мягкой тканью, как
и прекратить использование устройства
показано на рисунке.
в случае возникновения опасной
ситуации.
Отделение для сухой батареи
• При возникновении аллергической
реакции на входящие в комплект
поставки наушники сразу же
прекратите их использовать
и обратитесь к врачу или в сервисный
центр Sony.
Защита органов слуха
Не прослушивайте записи в наушниках
Контакты
на большой громкости. Специалисты не
рекомендуют частое и длительное
прослушивание записей на большой
громкости. Если вы слышите звон
Если у вас возникли какие-либо вопросы
в ушах, уменьшите громкость или
или проблемы в отношении вашего
прекратите прослушивание.
проигрывателя, обратитесь
к ближайшему торговому представителю
Sony. (Если неисправность возникла,
Не забывайте об окружающих
когда диск находился в проигрывателе,
Слушайте проигрыватель на умеренной
мы рекомендуем оставить диск
громкости. При этом вы будете слышать
в проигрывателе, чтобы при
окружающие вас звуки и находящихся
консультации у торгового представителя
рядом людей.
Sony было легче обнаружить причину
неисправности.)
Очистка
Во время консультации с торговым
• Протирайте корпус проигрывателя
представителем Sony необходимо иметь
мягкой тканью, слегка смоченной
проигрыватель и наушники при себе.
в воде, а затем вытрите корпус сухой
тканью. Не используйте абразивные
смеси, чистящие порошки или такие
растворители, как спирт или бензин,
поскольку они могут повредить отделку
корпуса.
•
Удаляйте пыль с поверхности картриджа
диска с помощью сухой ткани.
21
-RU

Устранение неполадок
Если не удалось устранить неполадку даже после выполнения всех приведенных
инструкций, обратитесь к ближайшему торговому представителю Sony.
Признак Причина/решение
Проигрыватель
• В отделении для диска отсутствует минидиск. (“NoDISC”
не работает или
мигает на дисплее.)
работает
,Вставьте минидиск.
неправильно.
• Функция HOLD включена (при нажатии кнопки на
проигрывателе на дисплее появляется “HOLD”).
,Отключите HOLD, передвинув переключатель
HOLD в направлении, противоположном
указываемому стрелкой (стр. 7, 19).
• В корпусе проигрывателя скопилась капельная влага.
,Выньте минидиск и оставьте проигрыватель в теплом
месте в течение нескольких часов до тех пор, пока
влага не испарится.
• Сухая батарея разряжена (мигает “LoBATT” или экран
пуст).
,Замените сухую батарею (стр. 6).
• Возможно, сухая батарея неправильно установлена.
,Вставьте батарею правильно (стр. 6).
• Вставлен минидиск без записи. (“BLANK” мигает на
дисплее.)
,Вставьте минидиск с записью.
• Проигрыватель не может считать данные с диска. (Диск
имеет царапины или загрязнен.) (“ERROR” мигает на
дисплее.)
,Извлеките и вставьте диск снова, или замените диск.
• Во время работы проигрыватель подвергся сильному
механическому удару, был слишком высокий уровень
помех и т. д.
,Начните операцию с самого начала, как указано
ниже.
1 Извлеките сухую батарею.
2 В течение примерно 30 секунд не выполняйте
с проигрывателем никаких операций.
3 Вставьте сухую батарею на место.
Минидиск не
• Включен режим многократного воспроизведения.
воспроизводится
(На дисплее отображается “ ”.)
должным
,
Выберите режим воспроизведения “Normal”
образом.
и начните воспроизведение. Подробнее см. в разделе
“Выбор режима воспроизведения” (стр. 10).
• Проигрыватель находится в групповом режиме.
,Выключите групповой режим.
22
-RU

Признак Причина/решение
Воспроизведение
• Воспроизведение диска было остановлено прежде, чем
минидиска
была достигнута последняя дорожка.
начинается не
,Чтобы начать воспроизведение с первой дорожки,
с первой дорожки.
нажмите кнопку
N>
и удерживайте ее 2 секунды
или более.
• Проигрыватель находится в групповом режиме.
,Выключите групповой режим и прекратите
воспроизведение. Затем нажмите кнопку
N>
и удерживайте ее 2 секунды или более, чтобы начать
воспроизведение с первой дорожки.
Предварительная
• Функция предварительной настройки цифрового звука
настройка
выключена.
цифрового звука
,Выберите “SOUND 1” или “SOUND 2”. Подробнее
не функционирует.
см. в разделе “Регулировка верхних и нижних частот
(Предварительная настройка цифрового звука)”
(стр. 16).
Перерывы
• Проигрыватель подвергался вибрации в течение
в звучании во
длительного времени.
время
,Установите проигрыватель на ровной поверхности.
воспроизведения.
• Перерыв в звучании может возникнуть при
воспроизведении очень короткой дорожки.
,Продолжительность записываемой дорожки должна
быть не меньше 1 секунды.
Большой уровень
• Шумы вызваны сильным магнитным полем
шумов.
находящегося рядом телевизора или схожего устройства.
,Отодвиньте проигрыватель подальше от источника
сильного магнитного поля.
Слышны
• Звук был записан в режиме “LP4 стерео”.
кратковременные
,Во время воспроизведения дорожек, записанных
шумы.
в режиме “LP4”, изредка могут быть слышны
кратковременные шумы. Это обусловлено
характером технологии сжатия, используемой при
записи в этом режиме.
Проигрыватель
• Была предпринята попытка включить групповой режим
работает
при воспроизведении по программе.
неправильно.
,Включите групповой режим, прежде чем включать
режим воспроизведения по программе.
23
-RU

Признак Причина/решение
В наушниках нет
• Штекер наушников неправильно подсоединен.
звука.
, Подключите должным образом разъем наушников
кгнезду i.
• Уровень громкости очень низкий.
, Отрегулируйте уровень громкости, нажимая VOL +
или –.
• Разъем загрязнен.
, Очистите разъем.
Невозможно
• AVLS включен.
увеличить
, Установите параметр AVLS в “OFF” (стр. 19).
громкость.
Функция
• При использовании диска, не несущего информации
группировки
о группах, имела место попытка включить групповой
записей не
режим.
работает.
, Используйте диск с информацией о группах.
• Во время воспроизведения дорожки, не принадлежащей
к группе, была предпринята попытка включить
групповой режим.
, Функцию группировки записей нельзя использовать
во время воспроизведения дорожек, не
принадлежащих к группам.
• Была предпринята попытка включить групповой режим,
когда проигрыватель находился в режиме
воспроизведения по программе.
, Включите групповой режим, прежде чем включить
режим воспроизведения по программе.
При перемотке
• Режим выборочного воспроизведения групп включен.
вперед или назад
, Выключите групповой режим. Режим выборочного
невозможно
воспроизведения групп автоматически выключается
перейти
при отсутствии действий в течение 5 секунд.
к предыдущей или
Подробнее см. в разделе “Выбор и воспроизведение
следующей
определенных групп (Функция выборочного
дорожке.
воспроизведения групп)” (стр. 14).
24
-RU

Общая информация
Технические
Требования к питанию
Одна щелочная батарея LR6 (размер AA)
характеристики
(не входит в комплект поставки)
Время работы батареи
Проигрыватель минидисков
См. “Время работы батареи” (стр. 6)
Система воспроизведения звука
Габариты
Цифровая минидисковая аудиосистема
Приблизит. 81 мм
×
28,9 мм
×
74,4 мм (ш/в/г)
Характеристики лазерного диода
без выступающих частей.
Материал: GaAlAs
Масса
Длина волны: λ = 790 нм
Приблизит. 93 г (только проигрыватель)
Характер излучения: непрерывный
Мощность лазера: менее 44,6 µВт
Патенты США и дpугиx cтpaн
(Приведенное значение мощности было
приoбpeтeны пo лицензии фиpмы Dolby
измерено на расстоянии 200 мм от
Laboratories.
поверхности линзы объектива
оптическим датчиком с апертурой 7 мм.)
Конструкция и технические
Скорость вращения
характеристики могут быть изменены
Приблизит. 300 дo 2700 об/мин
без уведомления.
Коррекция ошибок
ACIRC (Advanced Cross Interleave Reed
Принадлежности, не входящие
Solomon Code)
в комплект поставки
Частота дискретизации
Стереонаушники* MDR
44,1 кГц
Активные колонки серии SRS
Кодирование
Система ATRAC (Adaptive TRansform
∗ При использовании наушников:
Acoustic Coding)
используйте только те наушники,
ATRAC3 — LP2/LP4
которые имеют стереофонические
Система модуляции
мини-штекеры. Нельзя использовать
наушники с микро-штекерами.
EFM (Eight to Fourteen Modulation)
Число каналов
Ваш торговый представитель может не
2 стереофонических канала
иметь в наличии некоторые из
1 монофонический канал
принадлежностей, перечисленных выше.
Частотная характеристика
Обратитесь к торговому представителю
20 дo 20 000 Гц ± 3 дБ
за более детальной информацией
Коэффициент детонации
о наличии принадлежностей в вашей
Ниже измеримого уровня
стране.
Выходы
i: стереофоническое мини-гнездо,
максимальная выходная мощность
3,5 мВт + 3,5 мВт, сопротивление 16 Ом
25
-RU

警告
為防止發生火災或電擊的危險,請勿
將本機暴露於雨中或受潮。
請勿將本系統安放在書櫥或壁櫥等
狹窄封閉處。
為防止發生火災,請勿用報紙、桌布、
窗簾等蓋住通風孔。另請勿將點燃的
蠟燭置於本設備上。
為防止發生火災或電擊的危險,請勿
將裝滿液體的物件 (例如花瓶)置於
本設備上。
某些國家或地區對於本產品供電電池
的處理方式可能會有所限制。
請向您當地的有關單位洽詢。
注意
若將光學儀器與本產品同時使用,將
增加對眼睛的傷害。
注意 — 在開啟時有無形的雷射輻射
別凝視射線或直接觀看光學元件
資訊
銷售商對於因使用有缺陷的產品或
使用其他產品而產生的任何直接的、
偶發的、重大的損壞或開支概不負
責。
CE 標記僅在下列國家具有法
律效力;這些國家主要位於
歐洲經濟共同區 (European
Economic Area, EEA)。
2
-CT

