Sony CPD-E530: Felsökning
Felsökning: Sony CPD-E530

x Bokstäver och linjer är omgivna av röda och blå skuggor
• Justera konvergensen.
Felsökning
x Ett brum hörs just efter det att du slagit på strömmen
x Ingen bild
• Det är ljudet från den automatiska avmagnetiseringen. När du slår på
Om ! (ström)-indikatorn inte lyser
strömmen avmagnetiseras bildskärmen automatiskt under några
• Kontrollera att nätkabeln är ordentligt ansluten.
sekunder. (Funktionen kallas på engelska “degauss”.)
• Kontrollera att ! (ström)-omkopplaren är i påslaget läge (“on”).
* Om du behöver avmagnetisera skärmen ytterligare en gång bör du, för att få
bästa resultat, vänta minst 20 minuter. Ett surrande ljud kan höras, men det är
! (ström) indikatorn lyser orange
normalt och innebär inte att något är fel.
• Kontrollera att videokabeln är ordentligt ansluten och att alla kontakter
är ordentligt anslutna och sitter stadigt förankrade på sina platser.
• Kontrollera att INPUT-omkopplaren är rätt inställd.
Skärmmeddelanden
• Kontrollera att stiften på HD15-kontakten inte är böjda eller har tryckts
in i kontakten.
• Kontrollera att strömmen till datorn är påslagen (“on”).
IIONNFORMAT
• Datorn är i energisparläge. Pröva att trycka på någon tangent på
SKÄRMEN FUNGERAR
I NS I GNAL
2 : I NGEN S I GNAL
tangentbordet eller att röra på musen.
AKT I VERA V I A DATORN
W
KONTROLLERA S I GNALKABEL
R
• Kontrollera att grafikkortet i datorn sitter som det ska i sin kortplats.
KONTROLLERA
G
I NGÅNGSVÄLJARE
Om indikatorn ! (ström) lyser grön eller blinkar orange
B
• Använda självdiagnosfunktionen.
x Bilden fladdrar, hoppar, oscillerar eller är förvrängd
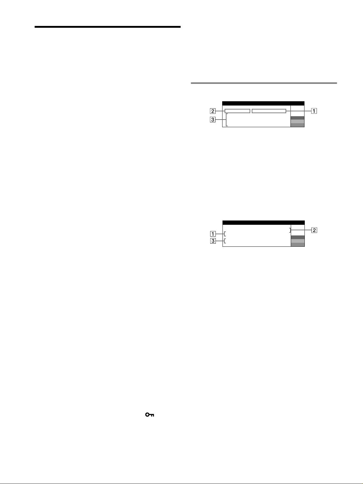
1 Om “INGEN SIGNAL” visas:
• Isolera och avlägsna möjliga källor till elektromagnestiska fält, t.ex.
Meddelandet innebär att ingen signal matas in via den aktuella
andra bildskärmar, laserskrivare, elektriska fläktar eller TV-apparater.
anslutningen.
• Flytta bildskärmen bort från strömkablar eller placera en magnetisk
2 Visar den aktuella anslutningen.
avskärmning nära den.
3 Visar åtgärderna.
• Försök ansluta bildskärmen till ett annat vägguttag, helst ett som ligger
• Om AKTIVERA VIA DATORN visas på skärmen kan du pröva att
på en annan gruppsäkring.
trycka på någon av tangenterna på tangentbordet eller röra på musen,
• Pröva att vrida bildskärmen 90° åt vänster eller höger.
och sedan kontrollera att datorns grafikkort sitter ordentligt i rätt
• Information om rätt inställning för bildskärmen finns i bruksanvisningen
kortplats.
till grafikkortet.
• Om KONTROLLERA SIGNALKABEL visas på skärmen
• Kontrollera att bildskärmen kan hantera grafikläget och insignalens
kontrollerar du att bildskärmen är korrekt ansluten till datorn.
frekvens (se “Grafiklägen och frekvenser (Preset mode timing table)” på
• Om KONTROLLERA INGÅNGSVÄLJARE visas på skärmen kan
sidan i). Även om frekvensen ligger inom korrekt intervall, kan vissa
grafikkort ha en synkpuls som är för kort för att bildskärmen ska synka
du pröva att växla insignal.
korrekt.
• Justera datorns uppdateringsfrekvens (vertikal frekvens) för att få bästa
IIONNFORMAT
möjliga bild.
SKÄRMEN FUNGERAR
I NS I GNAL
1: .200 0 /kHz 85Hz
UTANFÖR FREKVENSOMFÅNG
W
x Bilden är otydlig
R
• Ställ in kontrast, ljusstyrka och PICTURE EFFECT.
ÄNDRA B I LDFREKVENSEN
G
B
• Avmagnetisera bildskärmen.*
• Ställ in moareupphävningen så att den blir så liten som möjligt eller ställ
ELIMINERA MOARE på AV.
1 Om “UTANFÖR FREKVENSOMFÅNG” visas:
x Bilden har skuggor
Detta meddelande visar att insignalen inte kan hanteras av bildskärmen.
• Undvik att använda förlängningskablar och/eller omkopplingsdon till
2 Visar insignalens frekvens.
videokabeln.
3 Visar åtgärderna.
• Kontrollera att alla kontakter är ordentligt anslutna och sitter stadigt.
ÄNDRA BILDFREKVENSEN visas på skärmen. Om du har bytt ut en
x Bilden har fel storlek eller är inte centrerad
gammal bildskärm mot den här skärmen, ansluter du den gamla
skärmen igen och ställer sedan in grafikkortet så att den horisontella
• Aktivera funktionen för automatisk storlek och centrering.
• Justera storleken eller centreringen. Vissa insignaler och/eller grafikkort
frekvensen ligger mellan 30 och 117 kHz och den vertikala mellan 48
använder inte bildskärmens yta fullt ut.
och 170 Hz.
• Direkt efter det att du har slagit på strömbrytaren kan det hända att det tar
ett tag innan storleken/centreringen har rättat till sig.
x Bildens kanter är inte raka
• Justera geometrin.
x Vågformiga eller elliptiska mönster (moaré) syns
• Ställ in moareupphävningen så att moareeffekten blir så liten som
möjligt.
•Ändra mönster på skrivbordet.
x Färgen är ojämn
• Avmagnetisera bildskärmen.* Om du placerar utrustning som skapar
magnetfält, t.ex. högtalare i närheten av bildskärmen eller om du ändrar
riktning på bildskärmen (vrider på den), kan det hända att färgerna blir
ojämna.
• Justera hörnfärgen.
x Vitt ser inte ut som vitt
• Justera färgtemperaturen.
x Knapparna på bildskärmen fungerar inte ( visas på
skärmen)
• Om kontrollåset står i läge PÅ ställer du det i läge AV.
6
Оглавление
- CPD-E530
- Setup
- Adjustments
- Troubleshooting
- Specifications
- Precautions
- Configuration
- Réglages
- Dépannage
- Spécifications
- Précautions
- Anschließen des Monitors
- Einstellen des Monitors
- Störungsbehebung
- Technische Daten
- Sicherheitsmaßnahmen
- Configuración
- Ajustes
- Solución de problemas
- Especificaciones
- Precauciones
- Installazione
- Regolazioni
- Guida alla soluzione dei
- Caratteristiche tecniche
- Precauzioni
- Подготовка к работе
- Регулировка
- Устранение неисправностей
- Технические
- Меры предосторожности
- Installation
- Inställningar
- Felsökning
- Specifikationer
- Försiktighetsåtgärder
- Opstelling
- Regelingen
- Verhelpen van storingen
- Technische gegevens
- Voorzorgsmaatregelen
- Appendix

