Sony KV-36FS70K: Установка
Установка: Sony KV-36FS70K
2
Выполните операции 1-7 для установки телевизора и просмотра телевизионных программ.
Установка
1. Проверка комплектующих принадлежностей
2. Установка батареек в пульт дистанционного управления
Пульт дистанционного управление
Батарейки
Выбрасывая отработанные батарейки, всегда помните о необходимости защиты окружающей среды.
динамики объемного звучания
провода для
подключения динамиков
объемного звучания
3
Установка
Система Долби * Pro Logic объемного звучания как правило требует установки 5 динамиков.
Центральный динамик (встроенный в корпус телевизора) для фиксации устойчивой фонограммы типа диалогов к экрану
телевизора.
Левый и правый передние динамики (встроенные в корпус телевизора) для обычных двух каналов или стерео передач.
Динамики объемного звучания (в комплекте) для специальных эффектов, создаваемых соответствующим каналом.
Подключение комплектующих динамиков
Подключение ваших собственных динамиков
(Проверьте, чтобы полное сопротивление динамиков было 8 ом, и чтобы они были экранированы. В противном случае
изображение может искажаться).
*Изготовлено по лицензии Dolby Laboratories Licensing Corporation. Dolby, ProLogic и double-D symbol являются торговыми
знаками компании Dolby Laboratories Licensing Corporation.
3. Подключение телевизора
Подключение динамиков
S
C
S
R/D/D/D
L/G/S/I
правый динамик
левый динамик
динамики объемного звучания
S
C
S
динамики объемного звучания
черный
провод
черно-
белый
провод
4
R/D/D/D
L/G/S/I
R/D
D/D
L/G
S/I
R/D/D/D
L/G/S/I
R/D
D/D
L/G
S/I
OUT
IN
AC IN
Установка
3. Подключение телевизора
Разъем scart является
дополнительным. При
его использовании,
однако, такое
дополнительное
соединение улучшает
качество изображения и
звука в режиме
воспроизведения.
Если вы не подключаете
телевизор к КВМ,
соедините его с антенным
выводом (как показано
слева) и переходите к
разделу "4. Включение
телевизора".
Если же вы подключаете
телевизор к КВМ,
смотрите раздел,
приведенный ниже.
(существующий антенный вывод)
1. Соедините существующий антенный вывод с КВМ, как показано на рисунке.
2. Подключите антенный вывод КВМ от высокачастотного гнезда OUT на задней стороне
магнитофона к антенному гнезду на задней панели телевизора, как показано на рисунке.
3. Подключите КВМ к электрической сети и включите его.
4. Вставьте записанную кассету в КВМ и нажмите клавишу "PLAY".
1. Подключите имеющийся антенный вывод к обозначенному гнезду
на задней панели телевизора.
(разъем scart - не входит в комплект)
Подключение антенны к телевизору
Подключение антенны и КВМ к телевизору
5
Установка
1. Вставьте вилку телевизора в электрическую розетку (220-240 В перем. тока, 50 Гц) и включите
прибор.
2. Нажмите на клавишу on/off
на передней панели телевизора.
Если на передней панели телевизора горит индикатор режима ожидания, нажмите клавишу телевизора
на
панели дистанционного управления, чтобы включить телевизор. Проявите терпение, поскольку изображение может
появиться на экране телевизора через несколько секунд.
4. Включение телевизора
5. Пользование джойстиком
/
Чтобы выделить элемент в меню,
нажмите в центре джойстика.
Для перемещения по меню
нажмите соответствующую
клавишу-стрелку.
Движение джойстика
Нажатие джойстика
6
Language country
Select language:
Confirm:
Language
Country
Русский
Ъьларски
Ελληνικα
Türkçe
Suomi
Svenska
Portuguкs
Great Britain
Пкоксембург
Италия
Ирландия
Венгрия
Греция
Англия
Германия
1. Меню Язык/Страна появляется на экране телевизора с
выделенным словом "English".
2. Нажмите клавишу
v
или
V
на пульте дистанционного управления,
чтобы выделить выбранный вами язык, затем нажмите клавишу
ОК для подтверждения. Меню страны появляется на экране с
выделенным словом "OFF". Выделите "OFF", если не хотите
внести в ЗУ каналы в данной последовательности, начиная с
программного положения 1.
3. Нажмите клавишу
v
или
V
, чтобы выделить страну, в которой вы
пользуетесь телевизором, и нажмите клавишу ОК для
подтверждения сделанного вами выбора.
4. На экране телевизора появляется меню "самоподнастройки" на
выбранном вами языке. Нажмите клавишу ОК для подтверждения.
5. Проверьте подключение антенны, как указано выше, и нажмите
клавишу ОК для подтверждения. Телевизор начинает
автоматический поиск и внесение в память всех имеющихся
каналов. Это может занять несколько минут, наберитесь терпения и
не нажимайте никакие кнопки.
6. После подстройки телевизором всех имеющихся каналов на экране
появляется меню "Упорядочение программ", давая возможность
изменить порядок каналов в телевизоре. Чтобы изменить порядок
каналов нажмите клавишу
v
или
V
для выделения канала, который
вы хотите передвинуть, затем нажмите
B
. Нажмите клавишу
v
или
V
, чтобы выделить новый номер положения программы для
выделенного канала, и для подтверждения нажмите клавишу ОК.
Выделенный канал перемещается в свое новое программное
положение, и соответствующим образом передвигаются другие
каналы. Повторите эти операции, если хотите упорядочить другие
каналы телевизора.
7.
Нажмите клавишу MENU, чтобы убрать меню с экрана
телевизора.
8. Нажмите клавиши PROGR+/- или цифровые клавиши, чтобы
просмотреть телевизионные каналы.
Примечание :при желании остановить процесс самоподнастройки на
любом этапе нажмите клавишу ОК.
Если вы подключили КВМ к телевизору, вам нужно найти видеоканал.
1. Нажимайте клавиши PROGR+/- на пульте дистанционного управления, пока видеоизображение не появится на экране
телевизора.
Примечание :при желании переместить видеоканал в другое программное положение, смотри раздел "Упорядочение
телевизионных каналов" данного руководства.
7. Поиск видеоканала
Программ
Установка
Перед настройкой телевизора вас попросят ввести нужный вам язык и страну нахождения.
6. Настройка телевизора
Да :
OK
Нет :
Вы хотите начать
автонастройку ?
Удостовсрьтесь, что
антенна подсоединена
Да :
OK
Нет :
7
+
–
+
–
PROGR
CONTROL
Работа телевизора
Просмотр клавишей настройки телевизора
Регулировочные клавиши
уровня громкости.
Для усиления громкости нажмите
(+) / для понижения громкости (-).
Клавиша входного
видеосигнала.
Нажмите для выделения входных
сигналов от КВМ и проч.
Регулировочная клавиша
CONTROL
Нажмите, чтобы привести
в действие и осветить
панель управления.
Выключатель On/Off.
Нажмите, чтобы включить и
выключить телевизор.
Клавиши программ
вверх (+) или вниз (-).
Нажмите для выбора
телевизонных каналов.
8
Работа
Просмотр клавишей дистанционного управления
Для временного выключения телевизора
Нажмите, чтобы временно выключить телевизор.
Нажмите еще раз, чтобы вывести телевизор из режима
ожидания. Для экономии электроэнергии рекомендуем
полностью выключать телевизор, когда вы им не
пользуетесь. ПРИМЕЧАНИЕ: через 15-30 минут без
телевизионного сигнала и без нажатия какой-либо клавиши
телевизор автоматически переключается в режим
ожидания.
Для открытия экранной информации
Нажмите для открытия всех экранных указаний. Нажмите
еще раз, чтобы убрать их. В режиме Телетекста нажмите
клавишу, чтобы увидеть страницу с указателем (обычно
страница 100) и затем нажмите еще раз, чтобы убрать ее.
Для выделения входного сигнала или
фиксации телетекста
Нажмите для выделения входных сигналов от
телевизионных гнезд (смотри раздел об использовании
дополнительного оборудования). В режиме Телетекста
нажмите, чтобы зафиксировать отображенную на экране
страницу. Нажмите еще раз, чтобы убрать ее.
Смотри раздел "Работа системы PAP" данного руководства
для получения более подробной информации.
Для возврата на предыдущий канал
Нажмите, чтобы вернуться на предыдущий канал, который
вы раньше смотрели. Примечание: это можно сделать
только после просмотра имеющегося канала в течение 5
секунд.
Нажмите, чтобы включить и выключить режим
мультиизображений PIP.
Для изменения экранного формата
Нажмите, чтобы изменить размер экрана.
Ключи быстрого текста Fastext
Для более подробной информации смотри раздел
Телетекст руководства.
Для выделения элементов меню
Используйте клавишу ОК и клавиши-стрелки для
выделения дополнительных функций, имеющихся в
системе меню телевизора.
Для выведения меню на экран
Нажмите, если хотите использовать систему меню
телевизора. Нажмите еще раз, чтобы убрать меню с экрана
телевизора.
Для выделения каналов
Нажмите для выделения каналов.
Для отключения звука
Нажмите, чтобы отключить звук телевизора.
Нажмите еще раз, чтобы восстановить
воспроизведение звука.
Для возвращения в режим телевидения
Нажмите, чтобы вернуться к нормальной работе
из режима телетекста или ожидания.
Для выделения Телетекста
Нажмите, чтобы включить и выключить
Телетекст.
Для выделения Электронного
руководства программ (EPG)
Нажмите, чтобы включить и выключить EPG.
Для выполнения стоп-кадра
Нажмите, если хотите записать какую-либо
информацию на экране телевизора, к примеру,
номер телефона. Нажмите еще раз, чтобы
вернуться в нормальный режим телевидения.
Для выделения каналов
Нажмите цифровые клавиши, чтобы выделить
каналы.
Для программ с двухзначными номерами,
например 23, сначала нажмите -/-- и затем клавиши
2 и 3.
Для воспроизведения меню изображения
Нажмите, чтобы изменить настройку
изображения. Нажмите клавишу OK, чтобы
убрать воспроизведение.
Для воспроизведения звукового меню
Нажмите, чтобы изменить звуковые настройки.
Нажмите клавишу OK, чтобы убрать
воспроизведение.
Для воспроизведения Таблицы программ
Нажмите клавишу OK. Нажмите
v
или
V
, чтобы
выделить нужный канал, затем нажмите
B
для
подтверждения.
Для настройки уровня звука телевизора
Нажмите, чтобы отрегулировать уровень звука
телевизора.
Для восстановления заводской настройки.
Откройте крышку пульта дистанционного
управления и нажмите для восстановления
заводской настройки изображения и звука.
После "Установки"; на экране телевизора
появляется меню; по разделу данного
руководства "Выбор языка и страны" измените
сделанный вами выбор языка и страны по
желанию.
Для выведения на экран времени
Откройте крышку пульта дистанционного
управления и нажмите, чтобы вывести время на
экран.
Для работы видеоаппаратуры
Откройте крышку пульта дистанционного
управления и нажмите эти кнопки, чтобы привести в
действие видеоаппаратуру (смотри руководство
КВМ).
9
Работа
*зависит от наличия услуги.
NexTView представляет собой электронное программное руководство с информацией по программам на 1 неделю* для всех
каналов, поддерживаемых EPG.
*Если данные превышают объем памяти NexTView, вы будете получать информацию меньше, чем на 7 дней.
NexTView*
Выведение на экран NexTView
Сначала нужно выделить канал, обеспечивающий услугу NexTView. В таком случае индикация "NexTView" выводится на экран,
как только все данные готовы.
1. Несколько раз нажмите клавишу
на пульте дистанционного управления, чтобы включить и выключить NexTView.
2. Нажмите клавиши
v
,
V
,
b
или
B
, чтобы переместить курсор по экрану.
3. Нажмите клавишу ОК для подтверждения выбора.
a. Если нажать на клавишу ОК в колонках даты, времени или пиктограммы (темы), можно изменить перечень программ
согласно выбору.
b. При нажатии клавиши ОК в перечне программ, на экран сразу выводится канал, если в настоящее время есть телевещание,
или на экран выводится меню "Полная информация", если телевещание будет иметь место в ближайшее время.
Указатель
полный список выбора
индивидуальный выбор
новости телевизионного вещания
кинофильмы
спорт
развлеrательные программы
дети
возврат в последнее меню
7
Tue
07 Tue
12:38
8
Wed
10
Fri
11
Sat
12
Sun
13
Mon
9
Thu
12
SWISS
Star Wars
Super RTL
Fantasy film, USA, 1996
Werner - Beinhart
Pro 7
Flui grüsst den Rest der Welt
Kabel 1
Once upon a time in the West
Euronews
International News
RTL Plus
10:35 - 12:45
10:20 - 12:00
10:45 - 10:50
11:00 - 11:20
11:45 - 12:50
TXT
TPS / RINGIER
Tue 07. 04 .98
10
Пользование меню "Индивидуальная настройка"
При выделении пиктограммы
можно выделить только нужные вам элементы, ограничив их поиск выделенными элементами.
1. Нажмите
v
или
V
, чтобы выделить пиктограмму
, и нажмите
B
, чтобы вывести на экран меню "Индивидуальная
настройка".
2. Нажмите
v
или
V
, чтобы выделить на экране выбранный вами элемент и нажмите клавишу ОК для подтверждения выбора.
3. Повторите операцию 2 для всех элементов, которые вы хотите иметь в вашем списке.
4. По завершении списка нажмите
B
, чтобы выделить
на экране меню.
5. Нажмите клавишу ОК.
Пользование меню "Полная информация"
1. Нажмите
v
или
V
, чтобы выделить будущую программу в колонке со списком программ.
2. Нажмите клавишу ОК, чтобы вывести на экран меню "Полная информация".
3. При наличии КВМ с каналом smart и при желании записать выделенную программу на видеомагнитофон нажмите
b
, чтобы
выделить
, и нажмите клавишу ОК для передачи информации на КВМ.
4. Для настройки КВМ:
VPS/PDC
Несколько раз нажмите
b
, чтобы выделить VPS/PDC, затем нажмите клавишу ОК, чтобы выделить "On" или "Off". При
такой настройке вам обеспечивается гарантированная запись всей телепередачи, даже если в телевизионной программе
произойдет изменение. Эта функция действует, только если выделенный канал передает сигнал VPS/PDC.
Скорость
Нажмите
V
, чтобы выделить элемент "Скорость", затем нажмите клавишу ОК, чтобы выделить "SP" для стандартного
воспроизведения или "LP2" для долгоиграющего. В функции долгоиграющего воспроизведения можно записать в два раза
больше на видеопленку. При этом, однако, может ухудшиться качество изображения.
Настройка КВМ
Нажмите
V
, чтобы выделить элемент "Настройка КВМ", затем нажмите клавишу ОК для выделения того КВМ, который вы
хотите запрограммировать, а именно "VCR1" или " VCR2".
5. Затем нажмите
B
, чтобы выделить пиктограмму
, затем нажмите клавишу ОК, чтобы убрать меню с экрана телевизора.
Работа
NexTView
07 Tue
12:38
Address Mapping
The position of the addresses in the
OSDA is shown in the following diagram.
The position values of the DPW are set
to '0'.
If other values are set, the complete
combination will be scrolled.
Example:
if the DPWC is set to '63', the char-
Speed
Timer Prog
VPS/PDC
SP
VCR1
On
This channel has been set for a timer
First nextTView/EPG-Providers in Europe
SWISS
TXT
TPS / RINGIER
nexTView
Tue 07. 04 .98
11
Работа
Наибольшее число телевизионных каналов передают информацию по Телетексту. Страница с указателем услуг Телетекста
(обычно страница 100) предоставляет информацию о том, как ими пользоваться. Пользуйтесь телевизионным каналом с сильным
сигналом передачи, в противном случае в Телетексте могут быть ошибки.
Телетекст
Включение и выключение Телетекста
1. Выделите телевизионный канал передачи Телетекста, который вам нужно посмотреть.
2. Один раз нажмите
для получения Изображения и Телетекста (P&T). Экран разделен
на две части с указанием телевизионного канала в правом углу и дисплеем телетекста в
левом.
Режим P&T: нажмите клавишу PROGR+/-
, чтобы переключить канал на
телевизионном экране. Нажмите
b
или
B
, чтобы изменить размер экранного
меню. Нажмите *** еще раз, чтобы восстановить нормальный прием телетекста.
3. Нажмите
два раза, чтобы видеть только Телетекст.
4. Нажмите
три раза для смешанного режима.
5. Нажмите
в четвертый раз, чтобы выключить Телетекст.
Выделите страницу Телетекста
Введите три цифры номера страницы цифровыми клавишами на пульте управления. В случае
ошибки наберите любые три цифры и повторно введите номер нужной страницы.
Использование других функций Телетекста
Выделение следующей или предыдущей страницы
Нажмите клавишу
или
на пульте дистанционного управления для выделения
предыдущей или следующей страницы.
Выделение подстраницы
Страница телетекста может содержать несколько подстраниц. В этом случае отображается
информационная строка, показывая количество подстраниц.
Выделите режим нажатием на
v
. Выделите подстраницу нажатием на
v
или на
V
.
Стоп-кадр страницы Телетекста
Нажмите клавишу
, чтобы зафиксировать страницу. Нажмите еще раз, чтобы снять стоп-
кадр.
Открытие страницы с указателем
Нажмите
клавишу, чтобы открыть страницу (обычно страница 100). Нажмите еще
раз, чтобы убрать ее.
Использование цветных клавиш для доступа к страницам (Fastext)
(данная функция имеется только, если телевизионная станция передает сигналы Fastext)
При появлении меню цветной кодировки внизу страницы нажмите цветную клавишу на пульте
дистанционного управления (зеленую, красную, желтую или синюю), чтобы выйти на
соответствующую страницу.
Использование функции "Ловушка страницы"
1. Нажмите цифровые клавиши на пульте дистанционного управления для выделения
страницы телетекста, на которой указаны несколько страничных номеров (напр., страница
указателя).
2. Нажмите клавишу OK.
3. Нажмите
v
или
V
, чтобы выделить номер нужной страницы, затем нажмите клавишу ОК.
Заказанная страница выводится на экран через несколько секунд.
Index
TELETEXT
TELETEXT
Programme
News
Sport
Weather
25
153
101
98
Index
TELETEXT
Programme
News
Sport
Weather
25
153
101
98
Index
TELETEXT
Programme
News
Sport
Weather
25
153
101
98
m
m
216-02
01
03
04
05
06
07
08
02
12
Работа
Телетекст это информационная служба, предоставляемая большинством телестанций.
Телетекст
Использование меню Телетекста
1. Нажмите клавишу MENU на панели дистанционного управления для выведения меню на
экран телевизора.
2. Нажмите клавишу
v
или
V
, чтобы выделить выбранный вами на экране элемент, затем
нажмите клавишу
B
для отображения соответствующего подменю.
3. Чтобы снять с экрана меню Телетекста, нажмите клавишу MENU.
Вверх/Внизy/Полн.
Подменю Вверх/Внизy/Полн. позволяет расширять различные разделы страницы Телетекста.
Нажмите
v
, чтобы увеличить верхнюю половину экрана. Нажмите
V
, чтобы увеличить
нижнюю половину экрана. Нажмите клавишу ОК, чтобы восстановить нормальный размер
страницы. Нажмите
b
, чтобы вернуться на экран меню Телетекста.
Yдaпить текста*
*Возможно только в режиме Телетекста и Смешанном режиме (см. 'Включение и
Выключение Телетекста')
Выбрав эту функцию, вы можете смотреть телевизионный канал, пока ждете появление
запрошенной страницы Телетекста.
1. Нажмите дважды клавишу
на пульте дистанционного управления, для появления
текста на зкране.
2. Нажмите клавишу MENU для вывода меню Телетекста на зкран.
3. Нажмите клавишу
v
или
V
для выделения выбранного. Вами на зкране злемента, затем
нажмите
B
для отображения соответствующего подменю.
4. Вы смотрите выбранный телевизионный канал. Как только страница текста будет
найдена, в левом верхнем углу зкрана появится голубой символ
.
5. Нажмите клавишу
на пульте дистанционного управления для просмотра страницы.
Покaзывать
Некоторые страницы телетекста содержат скрытую информацию (напр., для викторин),
которую можно открыть. После выделения этой функции на экране появляется скрытая
информация. Выделив функцию, нажмите
B
. На экране появляется скрытая информация.
Время страницы
Вы можете вызвать страницу с кодировкой времени в качестве аварийной страницы,
появляющейся в указанное вами время. После выведения на экран подменю Страницы времени:
Нажмите
v
или
V
, чтобы выделить "On", затем нажмите клавишу ОК для подтверждения.
Нажмите цифровые клавиши на пульте дистанционного управления, чтобы ввести три цифры
нужной страницы. Нажмите цифровые клавиши еще раз, чтобы ввести четыре цифры нужного
времени. Нажмите клавишу ОК, чтобы ввести в ЗУ нужное время. Время отображается в левом
верхнем углу экрана. В указанное время на экран выводится нужная страница.
Обзор станиц*
*
Возможно в случае, когда TOP-Text транслируется телевизионной станцией.
В этом меню страницы TOP-Text разделены на две колонки, где в первой колонке показаны ‘
блоки’ страниц, а во второй - ‘группы’ страниц.
1. Нажмите
b
или
B
для выбобра первой или делить колонку блока страниц или второй
колонки.
2. Нажмите
v
или
V
для выбобра нужной ‘группу’ или ‘блока’.
3. Нажмите ОК для вывода выбранных страниц на экран.
Обэор станиц
.
.
13
Работа
Телевизор располагает системой меню, основанной на серии удобных для пользователя экранных изображений и меню. Эти
воспроизведения дают вам возможность получить наибольшую отдачу от эксплуатации телевизора, помогая менять настройку
изображения и звука, менять размеры телевизионного изображения, перераспределять телевизионные каналы и т. д.
Настройка изображения и звука
На заводе изготовителе выполнена предварительная настройка изображения и звука. Тем не менее их можно отрегулировать по
собственному усмотрению.
Использование системы меню телевизора
1. Нажмите клавишу MENU на пульте дистанционного управления для выведения меню
на телевизионный экран.
2. Нажмите клавиши
v
или
V
, чтобы выделить
для настройки изображения или
для звуковой настройки, затем нажмите
B
для введения меню "Настройка
изображения"или меню "Настройка звука".
3. Нажмите клавиши
v
или
V
для выделения на экране элементов, которые вы хотите
настроить, затем нажмите
B
для подтверждения. Описание элементов меню и их
эффектов смотри в приведенной ниже таблице.
4. Нажмите клавиши
v
,
V
,
B
или
b
для настройки выделенных элементов.
5. После регулировки нужных элементов нажмите клавишу ОК для введения в ЗУ новой
настройки.
6. Повторите операции 3-5 при желании настроить любые другие элементы.
7.
Нажмите клавишу MENU, чтобы убрать меню с экрана телевизора.
Регулировка изображения
Элемент
Эффект/Действие
Режим изображения
V
Live (для прямой трансляции)
Персональный (для индивидуальной настройки)
Фильм (для трансляции кинофильмов)
v
Игра (для компьютерных игр)
Контраст
меньше
b
B
больше
Яркость*
темнее
b
B
светлее
Hасыщенность*
бледнее
b
B
ярче
Цветовой тон**
красноватый
b
B
зеленоватый
Четкость*
более размытая
b
B
более отчетливая
Стандарт
Приводит изображение на уровень заводской настройки
AI (Искусст
V
Off :
Нормальный
интеллект)
v
On :
Автоматическая оптимизация уровня
контрастности применительно к телевизионному
сигналу.
Снижение шуа
V
Off :
Нормальное
v
On :
Уменьшает помехи изображения в случае
неустойчивого сигнала трансляции
Цифровой режим
V
DRC50:
улучшает
разрешение
и
является
оптимальным
для
просмотра
прокручиваемых
символов
.
v
DRC
1
00:
улучшает
разрешение
и
позволяет
получить
недрожащее
изображение
.
*
Только
если
в
позиции
“
Режим
изображения
”
выбрано
“
Персональный
”
**
Только для цветовoй системы NTSC
Снижение
Снижение
Репортаж
Индивид.
Кино
Игра
14
Использование системы меню телевизора:
Регулировка звука
Элемент
Эффект/Действие
Режим эквалайзера
V
Персональный
Голос
Джаз
Рок
Поп
v
Фоновый экран (фиксированная настройка, не может
быть отрегулирована)
Настройка эквалайзера
Можно отрегулировать способ, выбранный в режиме
эквалайзера путем прямого перехода и подъема 5 выбранных
частотных диапазонов. Нажмите
b
или
B
для выбора полосы
частот и затем
V
или
v
для регулировки частоты. Наконец
нажмите клавишу OK для введения в ЗУ новой настройки.
При желании сохранить в памяти новую настройку
необходимо настроить режим эквалайзера на
"Персональный". Персональный режим неизменно
хранит настройку в памяти, все прочие режимы (Голос,
Джаз, Рок, Поп) сохраняют информацию в памяти
только до изменения следующего режима.
Oбъемноe
V
Off
звучания
Долби Sur
SRS
Зал
Церковь
Диско
v
Стадион
SRS Режим*
V
SRS 1
(*только если режим
SRS 2
объемного звучания
v
SRS 3
настроен на ‘SRS’)
Авторег. громкости
V
On : уровень громкости каналов остается неизменным
независимо от сигнала телевещения (напр., в случае
рекламы)
v
Off : уровень громкости меняется по сигналу
трансляции.
Двойной звук
Для двухязычного вещания:
V
A для канала 1
v
B для канала 2
Для стерео телевещания:
V
Моно
v
Стерео
Когда передается стерео NICAM, на экране ненадолго
появляется указание NiCAM.
Наушники
i
Громк. телeфниже
b
B
выше
i
Двойной звук
Для двухязычного телевещания:
V
A для канала 1
v
B для канала 2
Режим эквалаиэера
Стерео
Стерео
15
Использование системы меню телевизора:
Настройка симтемы Долби объемного звучания
После настройки телевизора можно использовать эту характеристику для изменения порядка телевизионных каналов.
1. Нажмите клавишу MENU на пульте дистанционного управления, чтобы вывести на экран
телевизора меню.
2. Нажмите клавишу
V
, чтобы выделить
символ на экранном меню, затем нажмите
B
,
чтобы ввести меню "Настройка".
3. Нажмите клавишу
V
, чтобы выделить элемент "Настройка Surround", затем нажмите
B
для
введения соответствующего меню.
4. Нажмите клавишу
v
или
V
, чтобы выделить "Режим Surround", потом нажмите
B
, чтобы
ввести подменю "Режим Surround". Нажмите клавиши
v
или
V
, чтобы выделить "Pro Logic"
при использовании динамиков объемного звучания или чтобы выделить "TruSurround" при
их отсутствии, или если "ProLogic" и "TruSurround" установлены на фиксированные
значения. Нажмите клавишу ОК для подтверждения.
5. Нажмите клавишу
v
или
V
, чтобы выделить "Уровень настройки", затем нажмите
B
, чтобы
услышать проверочный тональный сигнал, который будет слышен последовательно через
все динамики. Из положения, в котором вы сидите, все уровни громкости будут
одинаковыми. Если такое условие подтверждается, нажмите клавишу ОК, чтобы ввести в
память произведенную настройку. Если это не так:
(a)Нажмите клавишу
v
или
V
, чтобы выделить "Передний левый", "Центральный",
"Передний правый" или динамики “Объемного звучания".
(b) Нажмите
b
или
B
для регулировки уровня громкости.
(c) Нажмите
V
, чтобы выделить другой динамик.
(d) Повторите операции (a) и (b) для всех динамиков, которые вы хотите настроить.
(e) Нажмите клавишу ОК для внесения в память новой настройки.
6. Для выделения "Режима динамика" проверьте, чтобы "Режим Surround" был настроен на
"Pro Logic", затем нажмите клавиши
v
или
V
, чтобы выделить "Режим динамика". Нажмите
B
, чтобы ввести подменю "Режим динамика". Нажмите клавишу
v
или
V
, чтобы выделить
один из следующих режимов динамиков, затем нажмите клавишу ОК для внесения в память:
"Нормальный"
включены все динамики
"Фантом"
центральный динамик выключен
"Широкий"
более широкая полоса пропускания от центрального динамика
"3CH Нормальный" динамики объемного звучания выключены
"3CH Широкий"
динамики объемного звучания выключены, центральный динамик
обладает полной частотной характеристикой.
7. Нажмите клавишу
v
или
V
, чтобы выделить “Время задержки”, затем нажмите
B
, чтобы
ввести подменю “Время задержки”. Нажмите клавишу
v
или
V
, чтобы выделить нужное
время задержки для динамиков объемного звучания. Вы можете выбрать 15 мсек для
больших помещений, 20 или 25 мсек для стандартных помещений и 30 мсек для маленьких
помещений. Настроив время, нажмите клавишу ok, чтобы сохранить такую настройку.
8. Нажмите клавишу
v
или
V
, чтобы выделить “Авто Surround”, затем нажмите
B
, чтобы
ввести подменю “Объемное звучание”. Нажмите клавишу
v
или
V
, чтобы выделить “ON”
или “OFF”, затем нажмите клавишу ОК для введения настройки в память.
9. Нажмите клавишу MENU, чтобы снять меню с экрана телевизора.
*
Перед
прослушиванием
программ
в
режиме
Dolby Surround
Вам
необходимо
настроить
установки
режима
Dolby.
Обычно
это
необходимо
делать
только
при
установке
телевизора
или
при
изменении
расположения
акустической
системы
.
AM
*
Нажмите
*
или
*
для
регулировки
громкости
и
затем
OK
для
запоминания
.
16
Использование системы меню телевизора:
Использование меню параметров
1. Нажмите клавишу MENU на пульте дистанционного управления, чтобы вывести меню на экран
телевизора.
2. Нажмите клавиши
v
или
V
, чтобы выделить
для меню "Параметры", затем нажмите
B
для
введения меню "Параметры".
3. Нажмите клавиши
v
или
V
, чтобы выделить нужный элемент меню, затем нажмите
B
для
подтверждения. Описание элементов меню и их эффектов смотри в приведенной ниже таблице.
4. Нажмите клавиши
v
,
V
,
B
или
b
, чтобы выделить нужную настройку.
5. Нажмите клавишу ОК, чтобы подтвердить ваш выбор настройки.
6. Повторите операции 3-5 при желании выделить любой другой элемент.
7.
Нажмите клавишу MENU, чтобы убрать меню с экрана телевизора.
Элемент
Эффект/Действие
Автоформат*
V
Off:размер изображения не настраивается автоматически.
*только для сигналов
Нормальный:размер изображения автоматически настраивается в
антенны
соответствии с информацией от телевизионной вещательной компании.
Коррекция формата*
v
Полный:телевизор может автоматически настроить размер изображения,
(*только если функция
чтобы убрать с него все темные участки (как показано ниже):
Автоформат
V
Off : 4:3/14:9 выделена
настроен на
v
On : режим Smart автоматически выделяется для
"Нормальный"
телевизионной трансляции 4:3/14:9
или "Полный")
Таймер режима ожидания Вы можете выделить время, по истечении которого телевизор сам
переключается в режим ожидания.
V
Off
.
v
90 мин
Oикcация
V
Off : нормальная
v
On : нажмите клавиши на пульте дистанционного управления, чтобы
вывести телевизор из режима ожидания. Клавиши на телевизоре не
действуют.
AV2 Выод
V
аудио/видео телевизионный сигнал от антенны
AV1 аудио/видео сигнал от разъема scart 1
AV2 аудио/видео сигнал от разъема scart 2
AV3 аудио/видео сигнал от разъема scart 3
v
AV4 аудио/видео сигнал от разъемов на передней панели телевизора
Изменение размеров экрана
Эта функция дает возможность изменить размер телевизионного изображения.
Нажмите клавишу
на пульте дистанционного управления несколько раз или нажмите
v
или
V
, чтобы
выделить один из следующих форматов, затем нажмите клавишу ОК для подтверждения выделенного
участка:
Smart
имитация эффекта широкомасштабного экрана для 4:3 телевизионных передач.
4:3стандартный 4:3
размер изображения, полная информация изображения.
14:9
компромис между размером изображения 4:3 и 16:9.
Масштабированиеэлектронное увеличение изображения: широкоэкранный формат для просмотра
телефильмов.
Ширина
для телевизионного вещания 16:9.
В режимах Smart и 14:9 верхняя и нижняя части экрана обрезаны. Нажмите
v
или
V
для настройки
положения изображения на экране (напр., чтобы читать титры), затем нажмите клавишу ОК для
подтверждения.
Нормал.
Вык
AV2 Выод
AV2 Выод
Smart
14:9
4:3
Широкий
Масштабирование
17
Использование системы меню телевизора:
Использование системы мультиизображений PIP
Режим мультиизображения PIP (изображение в изображении) выводит на экран непрерывный ряд из 12 неподвижных
изображений, а 13-е изображение соответствует трансляции. Можно вручную выделить канал, который вы хотите смотреть,
как в режиме полного экрана, так и в режиме PIP.
Работа системы PAP (изображение и изображение)
Данная функция PAP делит экран на две части для одновременного просмотра двух каналов (один из которых, при
желании, от видеоисточника). Звук с левой стороны экрана идет через телевизионные динамики, а звук с правой стороны
экрана может быть получен через наушники.
1. Нажмите клавишу
на пульте дистанционного управления, чтобы выделить режим
мультиизображения PIP. На экране появляются 13 программных положений с каналом,
который вы смотрите, в центре.
2. Несколько раз нажмите клавиши PROGR+/- , чтобы выделить 12 следующих или
предыдущих программных положений.
3. Нажмите клавиши
v
,
V
,
b
или
B
, чтобы перемещаться по 13 выведенным на экран каналам.
4. Нажмите клавишу ОК, чтобы выделить взятую в рамку канал. Этот канал перемещается
теперь в центр.
5. Еще раз нажмите клавишу ОК, чтобы вывести на экран выделенный канал, или нажмите
, чтобы убрать режим мультиизображения PIP с телевизионного экрана.
Включение и выключение режима PAP
Нажмите
один раз, чтобы отобразить экраны, и два раза, чтобы выключить PAP.
Выбор
звука
для
наушников
Включите
PAP
и
согласно
пункту
“
Настройка
изображения
и
звука
”
установите
“Dual
Sound”
в
режим
“PAP”.
Выбор источника PAP
Нажмите
M
. Символ
M
появляется на правой стороне экрана. Выделите нужный источник при
помощи цифровых клавиш (для телевизионного канала) или
(для видеоисточника).
Смена экранов
Нажмите
, чтобы заменить два экрана.
Масштабирование экранов
Нажмите клавиши
b
или
B
, чтобы изменить размер двух экранов.
03
05
01
06
11
09
08
02
10
07
13
12
04
18
Использование системы меню телевизора:
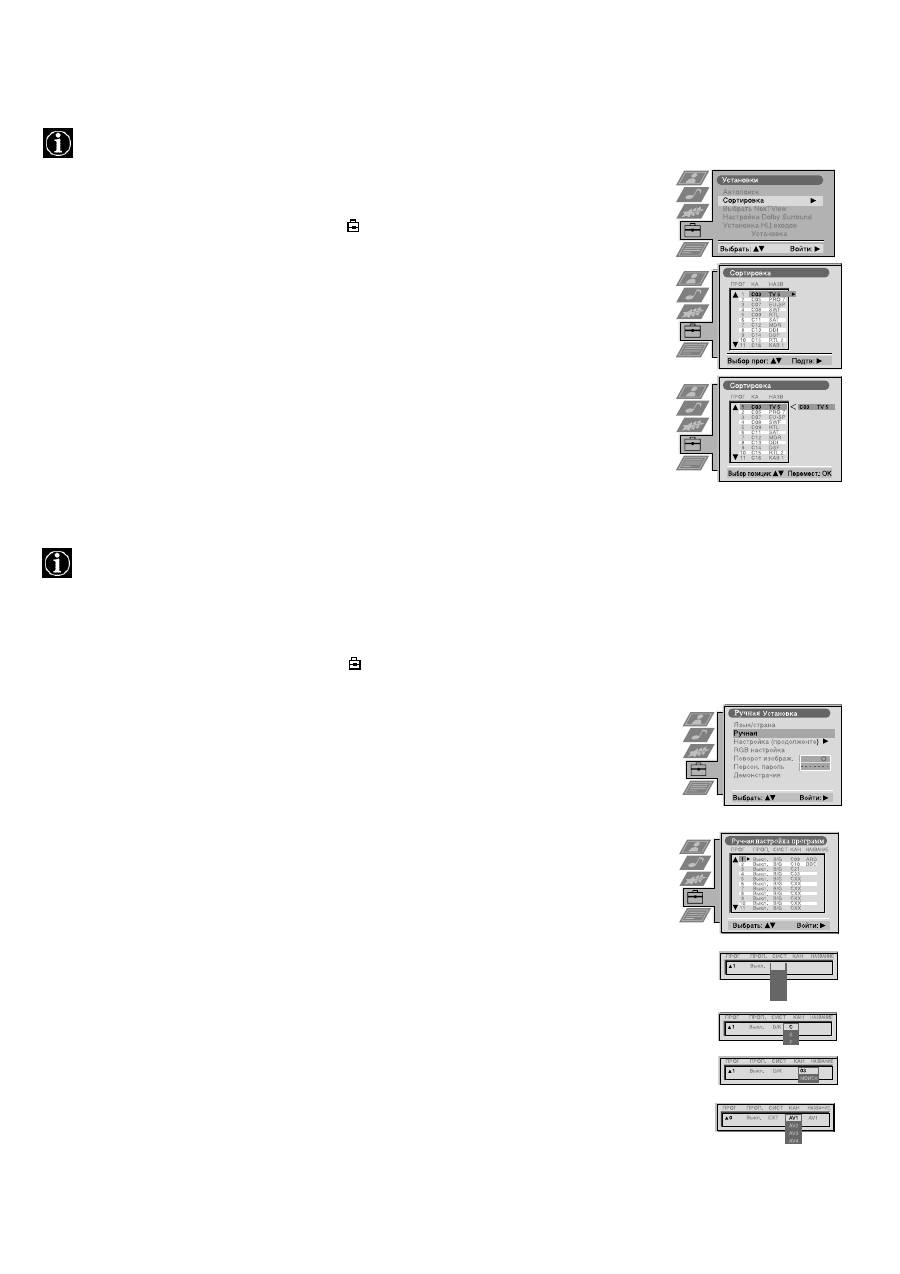
Перераспределение телевизионных каналов
Настроив телевизор, можно использовать эту функцию для изменения порядка каналов в телевизоре.
1. Нажмите клавишу MENU на пульте дистанционного управления, чтобы вывести меню на экран
телевизора.
2. Нажмите клавишу
V
, чтобы выделить символ
на экранном меню, затем нажмите
B
, чтобы
ввести меню "Установки".
3. Нажмите клавишу
V
, чтобы выделить функцию "Сортировка программ", затем нажмите
B
, чтобы
ввести меню "Сортировка программ".
4. Нажмите клавиши
v
или
V
, чтобы выделить канал, который нужно передвинуть, затем нажмите
B
для подтверждения.
5. Нажмите клавиши
v
или
V
, чтобы выделить новое положение программы (напр. ПРОГ 4)
выделенного канала, затем для подтверждения нажмите клавишу ОК. Выделенный канал
перемещается в новое программное положение, и соответственно перемещаются и другие каналы.
6. Повторите операции 4 и 5, если нужно переместить другие каналы.
7. Нажмите клавишу MENU, чтобы убрать меню с экрана телевизора.
Программ
Программ
Ручная
Ручная настройка телевизора
Вы уже выполнили автоматическую настройку телевизора по инструкциям в начале руководства. Можно также выполнить
эту операцию вручную, добавляя по одному телевизионные каналы.
1. Нажмите клавишу MENU на пульте дистанционного управления, чтобы вывести меню на экран
телевизора.
2. Нажмите клавишу
V
, чтобы выделить символ
на экранном меню, затем нажмите
B
, чтобы ввести
меню "Yстановки".
3. Нажмите клавишу
V
, чтобы выделить функцию "Ручная Yстановкa" на экранном меню , затем
нажмите
B
, чтобы ввести меню "Ручная Yстановкa".
4. Нажмите клавишу
V
, чтобы выделить функцию "Ручная настройка программ" на экранном меню ,
затем нажмите
B
, чтобы ввести меню "Ручная настройка программ".
5. Нажмите клавишу
v
или
V
, чтобы выделить номер программы для вашего канала (напр. ПРОГР 1
для BBC1), затем нажмите
B
, чтобы выделить колонку "Пропуск".
6. Нажмите
v
, чтобы выделить "OFF", затем нажмите
B
, чтобы выделить колонку "СИСТ".
7. Нажмите клавишу
v
или
V
, чтобы выделить систему телевещения (B/G для западноевропейских
стран, I для Великобритании, D/K для восточноевропейских стран, L для Франции) или "EXT" для
входного видеосигнала (AV1, AV2, ...) , затем нажмите
B
для подтверждения.
8. Нажмите клавишу
v
или
V
, чтобы выбрать "С" для наземных каналов, "S" для кабельных каналов
или "F" для прямых частотных вводов, затем нажмите
B
для подтверждения.
9. Выделите первый номер "KAH" (канал) затем второй номер "KAH" цифровыми клавишами на
пульте дистанционного управления или
Нажмите
V
для поиска следующего имеющегося канала.
10. Если вы не хотите сохранить этот канал на выбранном вами номере программы, нажмите клавишу
v
или
V
для продолжения поиска нужного канала.
11. При желании сохранить этот канал нажмите клавишу ОК.
12. Повторите операции 5-11, если нужно сохранить несколько каналов, затем нажмите клавишу MENU,
чтобы убрать меню с экрана телевизора.
B/G
L
I
D/K
EXT
настройка программ
19
Использование системы меню телевизора:
Обозначение каналов
Названия каналов как правило берутся автоматически из Телетекста, если он имеется. Вы, однако, можете сами
обозначить канал или входной видеосигнал, используя до пяти знаков (букв или цифр).
Пропуск программных положений
Эта функция дает возможность пропустить неиспользуемые программные положения при переключении программ
клавишами PROGR+/-. Тем не менее при помощи цифровых клавиш можно также выделить пропущенные положения
программ.
1. Нажмите клавишу MENU на пульте дистанционного управления, чтобы вывести меню на
экран телевизора.
2. Нажмите клавишу
V
, чтобы выделить символ
на экранном меню, затем нажмите
B
,
чтобы ввести меню "Yстановки".
3. Нажмите клавишу
V
, чтобы выделить функцию "Ручная yстановкa", затем нажмите
B
,
чтобы ввести меню "Ручная yстановкa".
4. Нажмите клавишу
V
, чтобы выделить функцию "Pучная настройка программ", затем
нажмите
B
, чтобы ввести меню "Pучная настройка программ".
5. Нажмите клавишу
v
или
V
, чтобы выделить канал, который вы хотите обозначить.
6. Нажмите клавишу
B
несколько раз, пока не выделится первый элемент колонки
"НАЗВАНИЕЕ".
7. Нажмите клавишу
v
или
V
, чтобы выделить букву или цифру (выделите "-" для
пропуска), затем нажмите
B
для подтверждения. Таким же образом выделите еще четыре
знака.
8. Выделив все знаки, нажмите клавишу ОК.
9. Повторите операции с 5 по 8 при желании обозначить другие каналы.
10. Нажмите клавишу MENU, чтобы убрать меню с экрана телевизора.
1. Нажмите клавишу MENU на панели дистанционного управления, чтобы вывести меню на
экран телевизора.
2. Нажмите клавишу
V
, чтобы выделить символ
на экранном меню, затем нажмите
B
,
чтобы ввести меню "Yстановки".
3. Нажмите клавишу
V
, чтобы выделить функцию "Ручная настройка", затем нажмите
B
,
чтобы ввести меню "Ручная настройка".
4. Нажмите клавишу
V
, чтобы выделить функцию "Pучная настройка программ" затем
нажмите
B
, чтобы ввести меню "Pучная настройка программ".
5. Нажмите клавиши
v
или
V
, чтобы выделить положение программы, затем нажмите
B
,
чтобывыделить колонку "ПРОП".
6. Нажмите клавишу
v
или
V
, чтобы выделить "Off" или "On" (если хотите пропустить данное
положение программы), затем нажмите клавишу ОК для введения информации в память.
7. Повторите операции 5 и 6 при желании пропустить или сохранить следующее программное
положение.
8. Нажмите клавишу MENU, чтобы убрать меню с экрана телевизора.
Ручная настройка программ
настройка программ
настройка программ
Ручная настройка программ
20
Использование системы меню телевизора:
Использование функции дополнительной настройки
Посредством этой функции можно a) отрегулировать затухание каждого канала , b) произвести индивидуальную
настройку уровня громкости каждого канала, c) выполнить ручную поднастройку телевизора для улучшения приема
изображения, если оно искажено или d) заранее настроить аудиовизуальный выходной сигнал для программных
положений каналов с зашифрованными сигналами ( например, с декодера платного телевидения). В таком случае
подключенный КВМ записывает расшифрованный сигнал.
настройка программ
1. Нажмите клавишу MENU на пульте дистанционного управления, чтобы вывести меню на экран
телевизора.
2. Нажмите клавишу
V
, чтобы выделить символ
на экранном меню, затем нажмите
B
, чтобы
ввести меню "Yстановки".
3. Нажмите клавишу
V
, чтобы выделить функцию "Ручная yстановкa", затем нажмите
B
, чтобы
ввести меню "Ручная yстановкa".
4. Нажмите клавишу
V
, чтобы выделить функцию "Hастройка (продолженте)" , затем нажмите
B
, чтобы ввести меню "Hастройка (продолженте)".
5. Нажмите клавишу
v
или
V
, чтобы выбрать соответствующий номер программы , затем
нажмите клавишу
B
несколько раз, чтобы выделить а) ATT b) VOL c) AFT или d) DECODER.
Меняется цвет выделенного элемента.
6. a)Высокочастотный аттенюатор
Нажмите клавишу
v
или
V
, чтобы включить или выключить аттенюатор. Нажмите клавишу ОК
для подтверждения выбора. Повторите операции 5 и 6а при желании отрегулировать затухание
других каналов.
b)VOL - Volume Offset/Коррекция громкости
Нажмите клавишу
v
или
V
для регулировки уровня звука (диапазон от -7 до +7) канала.
Сохраните в памяти нажатием клавиши ОК. Повторите операции 5 и 6b при желании
отрегулировать уровень звука других каналов.
c) AFT - Automatic Fine Tuning/Автоматическая точная настройка
Нажмите клавишу
v
или
V
для точной настройки частоты канала в диапазоне от -15 до +15.
Нажмите клавишу ОК для подтвержджения. Повторите операции 5 и 6с при желании точно
настроить и другие каналы.
d)DECODER/ДЕКОДЕР
Нажмите клавишу
v
или
V
, чтобы выделить AV1 или AV2 для положения программы, затем
нажмите клавишу ОК для подтверждения. Теперь можно подключить декодер к гнезду AV1 или
гнезду AV2 на задней панели телевизора, и изображение от декодера появится на программе под
этим номерем. Повторите операции 5 и 6d, чтобы произвести предварительную настройку
аудиовизуального выходного сигнала для других программных положений.
7. Нажмите клавишу MENU, чтобы убрать меню с экрана телевизора.
Выделение функции "Демо"
Эта функция дает возможность произвести просмотр некоторых имеющихся в телевизоре функций.
1. Нажмите клавишу MENU на пульте дистанционного управления, чтобы вывести меню на
экран телевизора.
2. Нажмите клавишу
V
, чтобы выделить символ
на экранном меню, затем нажмите
B
,
чтобы ввести меню "Yстановки".
3. Нажмите клавишу
V
, чтобы выделить функцию "Ручная yстановка", затем нажмите
B
,
чтобы ввести меню "Ручная yстановка".
4. Нажмите клавишу
V
, чтобы выделить "Демонстрачия", затем нажмите
B
, чтобы начать
показ (который длится примерно 5 минут).
5. Нажмите клавишу
, чтобы убрать показ с экрана телевизора.
настройка программ
21
Использование системы меню телевизора:
Настройка геометрии изображения от источника RGB-сигнала
При подключении источника RGB-сигнала типа Sony playstation может оказаться необходимым перенастроить геометрию
изображения.
1. Нажмите клавишу
на пульте дистанционного управления, чтобы выделить подключенный
источник RGB
.
2. Нажмите клавишу MENU, чтобы вывести меню на экран телевизора.
3. Нажмите клавишу
V
, чтобы выделить символ
на экранном меню, затем нажмите
B
, чтобы
ввести меню "Yстановки".
4. Нажмите клавишу
V
, чтобы выделить функцию "Ручная yстановка" на экранном меню ,
затем нажмите
B
, чтобы ввести меню "Ручная yстановка".
5. Нажмите клавишу
V
, чтобы выделить функцию "Настройка "RGB-сигнала" на экранном
меню , затем нажмите
B
, чтобы ввести подменю "Настройка "RGB-сигнала".
6. Нажмите
B
, чтобы выделить H Centre, затем нажмите
v
или
V
, чтобы отрегулировать
центрирование изображения в диапазоне от -10 до +10. Сохраните информацию новой
настройки нажатием клавиши ОК.
7. Нажмите
B
, чтобы выделить H Size, затем нажмите
v
или
V
, чтобы отрегулировать
горизонтальные координаты в диапазоне от -10 до +10. Сохраните информацию новой
настройки нажатием клавиши ОК.
8. Нажмите клавишу MENU, чтобы убрать меню с экрана телевизора.
1
Настройка поворота изображения
В силу земного магнетизма изображение может наклоняться. В таком случае изображение можно поднастроить.
1. Нажмите клавишу MENU на панели дистанционного управления, чтобы вывести меню на
экран телевизора.
2. Нажмите клавишу
V
, чтобы выделить символ
на экранном меню , затем нажмите
B
,
чтобы ввести меню "Yстановки".
3. Нажмите клавишу
V
, чтобы выделить функцию "Ручная yстановка", затем нажмите
B
,
чтобы ввести меню "Ручная yстановка".
4. Нажмите клавишу
V
, чтобы выделить функцию "Поворот изображения", затем нажмите
B
,
чтобы ввести подменю "Поворот изображения"nu.
5. Нажмите клавишу
v
или
V
, чтобы повернуть изображение в пределах от -5 до +5, затем
нажмите клавишу ОК, чтобы ввести информацию в память.
6. Нажмите клавишу MENU, чтобы убрать меню с экрана телевизора.
- - - - -
- - - - -
настройка программ
Программ
Ручная
22
Использование системы меню телевизора:
Введение персональной идентификации
При использовании этой функции можно придать вашему телевизору защитный код, который даст возможность найти вас в
случае кражи и затем нахождения телевизора. Защитный код может быть введен только один раз: запишите его для себя!
1. Нажмите клавишу MENU на пульте дистанционного управления, чтобы вывести меню на
экран телевизора.
2. Нажмите клавишу
V
, чтобы выделить символ
на экранном меню , затем нажмите
B
,
чтобы ввести меню "Yстановки".
3. Нажмите клавишу
V
, чтобы выделить функцию "Ручная yстановкa" на экранном меню ,
затем нажмите
B
, чтобы ввести меню "Ручная yстановкa".
4. Нажмите клавишу
V
, чтобы выделить функцию "Персон. пароль" на экранном меню ,
затем нажмите
B
, чтобы ввести подменю "Персон. пароль".
5. Нажмите клавишу
v
или
V
, чтобы выделить первый из 11 знаков (буква, цифра + или
пропуск), затем нажмите
B
, чтобы перейти к следующему знаку.
6. Повторите операцию 5, чтобы ввести все знаки кода.
7. Нажмите клавишу ОК для введения информации в память. На экране появляется блок
состояния, требуя еще раз ввести ваш код.
8. Нажмите клавишу ОК еще раз для окончательного запоминания кода или нажмите
b
,
чтобы стереть его.
9. Нажмите клавишу MENU, чтобы убрать меню с экрана телевизора.
Предварительная настройка и маркировка входных сигналов
При помощи этой функции можно автоматически задать формат и маркировать источник входного сигнала.
1. Нажмите клавишу на пульте дистанционного управления, чтобы вывести меню на экран
телевизора.
2. Нажмите клавишу
V
, чтобы выделить символ
на экранном меню , затем нажмите
B
,
чтобы ввести меню "Yстановки".
3. Нажмите клавишу
V
, чтобы выделить функцию "Yстановкa нч входов" на экранном меню ,
затем нажмите
B
, чтобы ввести меню "Yстановкa нч входов".
4. Нажмите клавишу
v
или
V
, чтобы выделить нужный АВ входной сигнал (AV1, 2, 3 или 4)..
5. Нажмите клавишу
B
, чтобы выделить функцию "АВТОФОРМАТ", затем нажмите клавишу
v
или
V
, чтобы выделить "Off", "Normal" или "Full".
6. Нажмите клавишу
B
, чтобы выделить "LABEL".
7. Нажмите клавишу
v
или
V
, чтобы выделить первый знак названия, затем нажмите клавишу
B
, чтобы перейти к следующему знаку.
8. Повторите операцию 7, чтобы выделить остальные 4 знака, затем сохраните информацию
нажатием клавиши ОК.
9. Повторите операции 4-8 для других источников АВ входного сигнала и нажмите клавишу
MENU, чтобы убрать меню с экрана телевизора.
Сохранить
AV 1
AV 2
AV 3
AV 4
AV 1
AV 2
AV 3
AV 4
ВХОД
АВТО ФОРМАТ НАЭВ.
Полный
Полный
Норнал.
Норнал.
AV 1
AV 2
AV 3
AV 4
AV 1
AV 2
AV 3
AV 4
ВХОД
АВТО ФОРМАТ НАЭВ.
Полный
Полный
Норнал.
Норнал.
Выбор :
Слся:
Модтвернд. : OK
Выкл.
Нормал.
Полный
23
Дополнительное оборудование
Опираясь на приведенные ниже иллюстрации, вы можете подключить к телевизору обширную гамму аудио и видеоаппаратуры.
Подключение к телевизору дополнительного оборудования
Для выведения входного сигнала подключенной аппаратуры на экран телевизора вам нужно выделить символ разъема, с которым
соединена аппаратура.
1. Глядя на приведенные выше иллюстрации, подключите аппаратуру к соответствующему гнезду телевизора.
2. Нажмите клавишу
несколько раз на пульте дистанционного управления, пока правильный входной сигнал для вашей
аппаратуры не появится на экране телевизора (смотри таблицу внизу):
* автоматическое обнаружение сигнала согласно подключенной аппаратуре
3. Включите подключенную аппаратуру.
4. Нажмите
, чтобы вернуться к нормальному экрану телевизора.
Примечание: для предупреждения искажения изображения не подключайте аппаратуру
A
и
B
к гнездам одновременно.
Символ на экране
телевизора
Входные сигналы от разъема
•
Входной аудио/видео сигнал через разъем scart
D
или * RGB-сигнал через разъем scart
D
•
Входной аудио/видео сигнал через разъем scart
E
или* S-видео сигнал через разъем scart
E
•
Входной аудио/видео сигнал через разъем scart
F
или* S-видео сигнал через разъем scart
F
•
Входной S-видеосигнал через 4-штырьковый разъем DIN
A
или* входной видеосигнал через гнездо
подключения проигрывателя
B
и входной аудиосигнал через гнездо подключения проигрывателя
C
1
2
3
4
A
B
C
L/G/S/I R/D/D/D
MONO
s
4
4
4
L/G/S/I
R/D/D/D
S
4
4
4
D E F
G
R/D/D/D
L/G/S/I
R/D
D/D
L/G
S/I
1
2
DVD
VHS
R/D/D/D
L/G/S/I
R/D
D/D
L/G
S/I
C
-
-
-
s
s
1
1
2
S
2
3
S 3
C
-
-
-
s
s
24
Дополнительное оборудование
*
Если изображение или звук искажены, уберите КВМ от телевизора.
*
При подключении КВМ monaural соедините только белое гнездо с телевизором и КВМ.
*
Информацию о том, как выделить выходной сигнал разъема scart 2
/
, смотри на странице 16.
*
При
подключении
внешнего
Hi-Fi
оборудования
,
Вы
можете
отрегулировать
уровень
громкости
путем
регулировки
наушников
в
звуковом
меню
-
обратитесь
к
пункту
“
Настройка
изображения
и
звука
”.
'e
Дополнительная информация для подключения оборудования
2
s
2
Канал Smart является прямой связью между телевизором и КВМ.
Для такой связи необходимо:
*
иметь КВМ, который поддерживает связь с развитой логикой Smartlink, NexTView Link, Easy Link или Megalogic.
*
полностью протянутый кабель с 21-штарьковым разъемом scart для подключения КВМ к разъему
/
scart 2.
Характеристики связи Smartlink:
*
Информация о подстройке, типа просмотра канала, передается с телевизора на КВМ.
*
При помощи NexTView вы можете легко программировать КВМ.
*
Прямая запись с телевизора : когда вы смотрите телевизор, достаточно нажать одну кнопку на КВМ, чтобы записать данную
программу.
Для получения больше информации относительно Smartlink смотрите руководство по эксплуатации вашего КВМ.
Канал Smart
2
s
2
При помощи кнопок под крышкой пульта дистанционного управления можно управлять другой аппаратурой марки Sony.
1. Откройте крышку пульта дистанционного управления.
2. Настройте переключатель ВМФ 1234 DVD на аппаратуру, которой вы хотите управлять:
VTR1 Beta КВМ
ВМФ2 8 мм КВМ
ВКФ3 бытовой КВМ
Цифровой видеомагнитофон ВМФ4 (DCR-VX 1000/9000E,VHR-1000)
DVD цифровой видеодиск
3. Пользуйтесь кнопками пульта дистанционного управления для управления аппаратурой.
*
Если ваша аппаратура оснащена переключателем COMMAND MODE, поставьте его в такое же положение, что
переключатель видеомагнитофона VTR 1234 DVD на пульте дистанционного управления.
*
Если аппаратура не обладает постоянной функцией, соответствующая кнопка на пульте дистанционного управления не
действует.
Пульт дистанционного управления другой аппаратуры Sony
25
Дополнительная информация
Технические характеристики
Телевизионная система
B/G/H, D/K, I, L
Система цвета
ПАЛ, СЕКАМ
НТСЦ 3.58, 4.43 (только входной видеосигнал)
Канальный охват
Смотри "Руководство по каналам" на следующей странице.
Кинескоп
FD Trinitron WIDE
Примерно 91 см (36 дюйма), 102° развертка
Задние клеммы
/
21-штырьковый евроразъем (стандарт CENELEC) включая
аудио/видео ввод, ввод RGB-сигнала, вывод аудио/видео
телевизионных сигналов.
/
21-штырьковый евроразъем (стандарт CENELEC) включая
аудио/видео ввод, S-видео ввод, аудио/видео вывод монитора.
/
21-штырьковый евроразъем (стандарт CENELEC) включая
аудио/видео ввод, S-видео ввод, аудио/видео вывод монитора.
Клеммы внешних динамиков : 2-штырька DIN (2)
RF In
Передние клеммы
Входной видеосигнал - гнезда для подключения проигрывателя
Входной аудиосигнал - гнезда для подключения проигрывателя
S входной видеосигнал - 4 штырька DIN
Гнездо наушников - минигнездо стереосигнала
1
s
1
2
s
2
3
s
3
4
4
s
4
Звуковой вывод
Левый и правый
динамик:
2x25 Вт (мощность музыки)
2x15 Вт (RMS)
Центральный
динамик:
1х20 Вт (мощность музыки)
1х10 Вт (RMS)
Динамики объемного
звучания:
2х10 Вт (мощность музыки)
2х5 Вт (RMS)
Энергопотребление
170 Вт
Размеры (ш х выс х г)
Прим. 972 x 613.5 x 591 мм
Вес
Прим. 90.0 кг
Поставляемые принадлежности
RM-892 пульт дистанционного управления (1)
Установленные МЭК размеры АА батареек (2)
Динамики объемного звучания (2)
Другие характеристики
Плоский кинескоп Trinitron, цифровое
шумоподавление, изображение 100 Гц,
графический эквалайзер, персональная
идентификация, таймер режима ожидания,
NexTView, система Долби объемного звучания,
цифровой гребенчатый фильтр, второй
переключатель каналов.
Дизайн и технические характеристики могут
быть изменены без предупреждения.
Таблица отображения каналов
Приемные каналы
Отображение на дисплее каналов
B/G/H
E2..12, 21..69
C02..C12, C21..69
ТВ КАБЕЛЬ (1)
S1..S41
S01..S41
ТВ КАБЕЛЬ (2)
S01..S05
S42..S46
M1..M10
S01..S10
U1..U10
S11.S20
ИТАЛИЯ
A, B..H, H1, H2
C13, C14..C20, C11, C12
ТВ КАБЕЛЬ
S1..S41
S01..S41
S01..S05
S42..S46
26
Дополнительная информация
Ниже приводятся несколько простых решений проблем, которые могут возникать с изображением и звуком.
•
Если эти проблемы сохраняются, обратитесь за квалифицированной помощью телевизионной мастерской.
•
НИКОГДА сами не открывайте корпус прибора.
Поиск неполадок
Проблема
Рекомендуемая мера
Нет изображения (экран остается
темным), нет звука
•
Подключите телевизор к сети.
•
Нажмите клавишу
на передней панели телевизора.
•
Если индикатор
горит, нажмите клавишу
или
цифровую клавишу на панели дистанционного управления.
•
Проверьте подключение антенны.
•
Выключите телевизор на 3-4 секунды и затем включите его
опять при помощи клавиши
на передней панели
телевизора.
Нет изображения или оно
некачественное (экран остается
темным), но хороший звук.
•
При помощи системы MENU выделите дисплей настройки
изображения. Отрегулируйте яркость, уровни баланса
изображения и цветобаланс.
•
На дисплее настройки изображения выделите функцию
RESET, чтобы вернуться к заводской настройке.
Хорошее изображение, нет звука
•
Нажмите клавишу
на панели дистанционного управления.
•
Если
появляется на экране, нажмите клавишу
на
пульте дистанционного управления.
Нет цвета в цветных программах
•
При помощи системы MENU выделите дисплей настройки
изображения и отрегулируйте цветовую настройку.
•
На дисплее настройки изображения выделите RESET, чтобы
вернуться к заводской настройке.
Искажение изображения при
переключении программ или при
выделении Телетекста
•
Отключите всю аппаратуру, соединенную с разъемом scart на
задней панели телевизора.
Пульт дистанционного управления не
работает
•
Замените батарейки.
Мигает индикатор режима ожидания
на телевизоре
•
Обратитесь в ближайшую мастерскую сервисного
обслуживания Sony.
/
27
28
Sony Manufacturing Company UK
Pencoed Technology Park
Pencoed
Mid Glamorgan
UK CF35 5HZ
Printed in UK
Сони Мзнъюфзкчоринг Компани ЮК
Технологический Парк Пенкоед,
Пенкоед,
Мид Глзморган,
СФ35 5Х3, ВеликоБритания
Отпечатано в ВеликоБритании
Оглавление
- Follow steps 1-7 to install the TV and view TV programmes. Installation
- Operation
- Wykonaj czynności 1-7, aby dokonaćinstalacji telewizora i zacząć oglądać programy. Instalowanie
- Obsługa
- Instalace
- Obsluha
- Kövesse az 1-7. lépéseket a TV-készüléküzembe helyezéséhez és a TV-programokmegtekintéséhez. Üzembe helyezés
- Használat
- Използване
- Установка

