Sony KV-36FS70K: Használat
Használat: Sony KV-36FS70K
7
+
–
+
–
PROGR
CONTROL
Használat
A TV beállítógombjainak áttekintése
Hangerő-szabályozó gombok.
Nyomja meg, ha növelni(+)/
csökkenteni(-) kívánja a hangerőt.
Videobemenet gomb.
Megnyomásával kiválaszthatja a
videomagnóról stb. érkező bemenő jeleket.
CONTROL gomb
Megnyomásával
aktivizálhatja és
megvilágíthatja a
kezelőlapot.
Hálózati kapcsoló.
Megnyomásával be- és kikapcsolhatja a TV-készüléket.
Program fel (+) vagy le
(-) gombok.
Megnyomásával
kiválaszthatja a TV-
programokat.
8
Használat
A távvezérlő gombjainak áttekintése
A TV-készülék ideiglenes kikapcsolása
Megnyomásával ideiglenesen kikapcsolhatja a TV-
készüléket. Nyomja meg ismét ezt a gombot a készenléti
üzemmódból történő bekapcsoláshoz.
Energiatakarékossági okokból javasoljuk, hogy teljesen
kapcsolja ki a TV-készüléket, amikor nincs használatban.
MEGJEGYZÉS: 15-30 perc elteltével, amely alatt sem TV-
jel nem érkezik, sem pedig semmilyen gombot nem
nyomnak meg, a készülék automatikusan készenléti
üzemmódba kapcsol.
A képernyő információk mutatása
Megnyomásával az összes képernyőjelzés láthatóvá válik. A
funkció elvetéséhez nyomja meg ismét a gombot. A teletext
üzemmódban megnyomására megjelenik az indexoldal
(rendszerint a 100. oldal), ismételt megnyomására pedig
eltűnik.
A bemenő jel kiválasztása vagy a teletext rögzítése
Megnyomásával kiválaszthatja a TV csatlakozóira érkező
bemenő jeleket (lásd az Opcionális berendezések használata
c. szakaszt). Teletext üzemmódban nyomja meg ezt a
gombot a kijelzett oldal rögzítéséhez. A funkció elvetéséhez
nyomja meg ismét a gombot.
Részletes ismertetésért lapozza fel a jelen kezelési útmutató
"A PAP funkció használata" c. szakaszát.
Visszatérés az előző csatornához
Megnyomásával visszatérhet az előzőleg nézett csatornához.
Megjegyzés: Csak akkor működik, miután a jelenlegi
csatornát 5 másodpercig nézte.
Megnyomásával be- és kikapcsolhatja a Multi PIP
üzemmódot.
A képernyőformátum megváltoztatása
Megnyomásával módosíthatja a képernyő méretbeállításait.
Gyorsteletext gombok
A részleteket lásd a kézikönyv Teletext c. szakaszában.
Menüpontok kiválasztása
Az OK gombot és a nyílbillentyűket használva
kiválaszthatja a TV menürendszerében rendelkezésre álló
opciókat.
A menü megjelenítése
Nyomja meg ezt a gombot, ha használni kívánja a TV
menürendszerét. Nyomja meg ismét, hogy eltávolítsa a
menüt a TV képernyőjéről.
Csatornák kiválasztása
Megnyomásával kiválaszthatja a csatornákat.
A hang némítása
Megnyomásával elnémíthatja a TV hangját.
Ismételt megnyomásával visszaállíthatja a hangot.
TV üzemmódba való visszatérés
Megnyomásával visszatér normál üzemelésre
teletext vagy készenléti üzemmódból.
A teletext kiválasztása
Megnyomásával be- és kikapcsolhatja a teletextet.
Az
Elektronikus
musorfüzet
(EPG)
kiválasztása
Megnyomásával be- és kikapcsolhatja az EPG-t.
A kép kimerevítése
Nyomja meg, ha fel kíván jegyezni valamilyen, a
TV
képernyőjén
látható
információt
(pl.
telefonszámot).
Ismételt
megnyomásával
visszatérhet a normál TV üzemmódba.
A programhelyek kiválasztása
A számgombokat megnyomva válassza ki a
programhelyeket.
Kétjegyű programhelyek, pl. 23, esetén, először
nyomja meg a -/-- gombot, majd pedig a 2 és a 3
gombot.
A képbeállítás menü megjelenítése
Megnyomásával módosíthatja a képbeállításokat.
Az OK gomb megnyomásával távolíthatja el a
menükijelzést.
Az Audio beállítás menü megjelenítése
Megnyomásával módosíthatja a hangbeállításokat.
Az OK gomb megnyomásával távolíthatja el a
menükijelzést.
A Programtáblázat megjelenítése
Nyomja meg az OK gombot. A
v
vagy
V
gombbal
válassza ki a kívánt programot, majd a
B
gombot
megnyomva erősítse meg a választást.
A TV hangerejének beállítása
Megnyomásával beállíthatja a TV hangerejét.
A gyári beállítások visszaállítása
Nyissa fel a távvezérlő fedelét, és nyomja meg
ezt a gombot, ha a kép- és hangbeállításokat
vissza kívánja állítani a gyárilag beállított
értékekre. Miután az "Üzembe helyezés"
menü megjelent a TV képernyőjén, lapozza fel
a kezelési útmutató "A nyelv és az ország
kiválasztása" c. szakaszát, ha módosítani
kívánja a nyelv- és az országválasztást.
A pontos idő megjelenítése
Nyissa fel a távvezérlő fedelét, és nyomja meg ezt
a gombot, ha meg kívánja jeleníteni a pontos időt
a képen.
Videokészülék használata
Nyissa fel a távvezérlő fedelét, és nyomja meg ezeket
a gombokat, ha a videokészüléket kívánja használni
(lapozza fel a videomagnó kézikönyvét).
9
Használat
*a szolgáltatás rendelkezésre állásától függően.
A NexTView egy elektronikus műsorfüzet, amely az EPG-t támogató összes csatorna tekintetében legfeljebb 1 hét*
műsorinformációit tartalmazza.
*Ha az adatok meghaladják a NexTView memóriáját, 7 napnál kevesebbre vonatkozóan juthat információhoz.
NexTView*
A NexTView megjelenítése
Először ki kell választania egy olyan csatornát, amely NexTView szolgáltatást nyújt. Ilyen esetben megjelenik a
"NexTView" jelzés, amint az összes adat rendelkezésre áll.
1. A távvezérlőn lévő
gombot ismételten megnyomva kapcsolhatja be és ki a NexTView-t.
2. A
v
,
V
,
b
vagy
B
gombokkal mozgassa a kurzort a képen.
3. Az OK gombot megnyomva erősítse meg a választást.
a. Ha az OK gombot a dátum, időpont vagy ikon (témakörök) oszlopokon nyomja meg, megváltoztatja a programlistát a
választással összhangban.
b Ha az OK gombot a programlistán nyomja meg, közvetlenül megjelenik a csatorna, ha a műsor aktuálisan fut,
vagy megjelenik a "Long Info" menü, ha a műsor sugárzására valamely későbbi időpontban kerül sor.
Tárgymutató
teljes lista
egyéni választás
hírműsorok
filmek
sportközvetítések
szórakoztató műsorok
gyermekműsorok
visszatérés a legutóbbi menübe
7
Tue
07 Tue
12:38
8
Wed
10
Fri
11
Sat
12
Sun
13
Mon
9
Thu
12
SWISS
Star Wars
Super RTL
Fantasy film, USA, 1996
Werner - Beinhart
Pro 7
Flui grüsst den Rest der Welt
Kabel 1
Once upon a time in the West
Euronews
International News
RTL Plus
10:35 - 12:45
10:20 - 12:00
10:45 - 10:50
11:00 - 11:20
11:45 - 12:50
TXT
TPS / RINGIER
Tue 07. 04 .98
10
Az "Individual Setting" menü használata
1. A
v
vagy
V
gombbal válassza ki a
ikont, majd a
B
gombot megnyomva hívja be az "Individual Setting" menüt.
2. A
v
vagy
V
gombbal jelölje ki a képen a választani kívánt témát, majd az OK gombot megnyomva erősítse meg a
választást.
3. Ismételje meg a 2. lépést minden olyan tételnél, amelyet fel kíván venni a listára.
4. Amikor befejezte a lista összeállítását, a
B
gombot megnyomva válassza a
ikont a menü képen.
5. Nyomja meg az OK gombot.
A "Long Info" menü használata
1. A
v
vagy
V
gombbal válasszon ki egy későbbi műsort a programlista oszlopában.
2. Az OK gomb megnyomásával hívja be a "Long Info" menüt.
3. Ha Smartlink videomagnóval rendelkezik, és fel szeretné venni a kiválasztott műsort a videomagnóval, a
b
gombot
lenyomva válassza ki az
ikont, majd az OK gombot lenyomva töltse le az információt a videomagnóra.
4. A videomagnó beállítása:
VPS/PDC
A
b
gombot ismételten megnyomva válassza ki a VPS/PDC opciót, majd az OK gombot megnyomva válassza ki a "Be"
vagy "Ki" beállítást. Ezzel a beállítással garantálható, hogy az egész műsor felvételre kerül akkor is, ha változás van a TV-
programban. Ez a funkció csak akkor működik, ha a kiválasztott csatorna sugároz VPS/PDC jelet.
Sebesség
A
V
gombbal válassza ki a "Speed" opciót, majd az OK gombot megnyomva válassza ki a "SP" (normál) vagy a
"LP"(hosszanjátszó) beállítást. Hosszanjátszó üzemmódban kétszer olyan hosszú felvételt tud készíteni a
videokazettára. Azonban a kép minősége romolhat.
A videomagnó beállítása
A
V
gombbal válassza ki a "VCR Setup" opciót, majd az OK gombot megnyomva válassza ki, melyik videomagnót szeretné
beprogramozni, ami lehet a "VCR1" vagy a "VCR2".
5. Végül a
B
gombot megnyomva válassza a
ikont, majd nyomja meg az OK gombot, hogy eltávolítsa a menüt a TV
képernyőjéről.
Használat
NexTView
07 Tue
12:38
Address Mapping
The position of the addresses in the
OSDA is shown in the following diagram.
The position values of the DPW are set
to '0'.
If other values are set, the complete
combination will be scrolled.
Example:
if the DPWC is set to '63', the char-
Speed
Timer Prog
VPS/PDC
SP
VCR1
On
This channel has been set for a timer
First nextTView/EPG-Providers in Europe
SWISS
TXT
TPS / RINGIER
nexTView
Tue 07. 04 .98
11
Használat
A legtöbb TV-állomás a teletexten keresztül sugároz információs szolgáltatást. A teletext indexoldala (rendszerint a
100. oldal) tájékoztatást nyújt a szolgáltatás használatának módjáról. Olyan TV-csatornát vegyen igénybe, amely
megfelelő térerővel fogható, mivel ellenkező esetben a teletext vételében hibák léphetnek fel.
Teletext
A teletext be- és kikapcsolása
1. Válassza ki azt a TV-csatornát, amelyen a nézni kívánt teletext adást sugározzák.
2. A P&T (kép és teletext) üzemmód bekapcsolásához nyomja meg egyszer a
gombot. A
képernyő két részre oszlik, a jobb oldaliban a TV-csatorna, a bal oldaliban pedig a
teletext látható.
P&T üzemmód: A PROGR+/-
gomb megnyomásával válthatja a TV
képernyőjén megjelenő csatornát. A
b
vagy
B
gomb megnyomásával
módosíthatja a TV képernyőjének méretét. A normál teletext vétel
visszaállításához nyomja meg a
gombot ismét.
3. Nyomja meg a
gombot kétszer, hogy csak a teletext jelenjen meg.
4. A Mix üzemmódhoz nyomja meg a
gombot háromszor.
5. A teletext kikapcsolásához nyomja meg a
gombot, vagy nyomja meg a gombot
negyedszer is.
Egy teletext oldal kiválasztása
A távvezérlőn lévő számgombok használatával adja meg az oldalszám három számjegyét. Ha
eltéveszti, gépeljen be három tetszőleges számjegyet, majd adja meg ismét a helyes
oldalszámot.
További teletext funkciók használata
A következő vagy az előző oldal kiválasztása
A távvezérlőn lévő
vagy
gombot megnyomva választhatja ki az előző vagy a következő
oldalt.
Aloldal kiválasztása
Egy teletext oldal több aloldalt is tartalmazhat. Ilyen esetben megjelenik egy információs sor,
amely az aloldalak számát jelzi. A
v
vagy
V
gomb megnyomásával válassza ki az aloldalt.
Egy teletext oldal rögzítése
Nyomja meg a
gombot az oldal rögzítéséhez. A rögzítés elvetéséhez nyomja meg
ismét a gombot.
Az indexoldal felfedése.
Nyomja meg a
gombot az gomb megnyomásával fedje fel az oldalt (rendszerint a 100.
oldal).
Színgombok használata az oldalak eléréséhez (gyorsteletext)
(csak akkor működik, ha a TV-állomás sugároz gyorsteletext jeleket).
Amikor egy oldal alján egy színkódos menü jelenik meg, a megfelelő oldal eléréséhez nyomja
meg a távvezérlőn lévő egyik színgombot (zöld, piros, sárga vagy kék).
Az "Oldalkapcsolás" szolgáltatás használata
1. A távvezérlőn lévő számgombokat megnyomva válasszon ki egy olyan teletext oldalt, amelyen több oldalszám szerepel (pl.
az indexoldal).
2. Nyomja meg az OK gombot.
3. A
v
vagy
V
gombbal válassza ki a kívánt oldalszámot, majd nyomja meg az OK gombot. A kért oldal néhány másodperc
múlva megjelenik.
Index
TELETEXT
TELETEXT
Programme
News
Sport
Weather
25
153
101
98
Index
TELETEXT
Programme
News
Sport
Weather
25
153
101
98
Index
TELETEXT
Programme
News
Sport
Weather
25
153
101
98
m
m
216-02
01
03
04
05
06
07
08
02
12
Használat
A teletext a legtöbb TV-állomás által sugárzott információs szolgáltatás.
Teletext
A Teletext menü használata
1. A távvezérlőn lévő MENU gombot megnyomva jelenítse meg a menüt a TV
képernyőjén.
2. A
v
vagy
V
gombbal jelölje ki a választani kívánt menüpontot, majd a
B
gombot
megnyomva hívja be a hozzá tartozó almenüt.
3. Nyomja meg a MENU gombot, hogy eltávolítsa a Teletext menüt a képernyőről.
Fel./Alul/Teljes
A Fel./Alul/Teljes almenü lehetővé teszi a Teletext oldal különböző részeinek felnagyítását. A
v
gombot megnyomva a képernyő felső felét, a
V
gombot megnyomva pedig az alsó felét
nagyíthatja fel. Az OK gomb megnyomásával állíthatja vissza az oldalt a normál méretre. A
Teletext menühöz való visszatéréshez nyomja meg a
b
gombot.
Szövegtörlés*
*csak teletext és rávetítéses üzemmódban használható (lásd A teletext be- és
kikapcsolása)
A szövegtörléssel a teletext oldal megtalálásáig nézhetó a tv állomás műsora.
1. A távvezérlő
gombjának kétszeri megnyomásával kapcsoljon egész képernyős
szöveg üzemmódba.
2. A MENU gombbal hívja be a Teletext menüt.
3. A
v
vagy a
V
gombbal jelölje ki a Szövegtörlés sort, majd a
B
gombbal válassza ki azt.
4. Az aktuális tv csatorna megjelenik. A teletext oldal megtalálásakor a kék
szimbólum megjelenik a képernyő bal felső sarkában.
5. A teletext oldal behívásához nyomja meg a távvezérlő
gombját.
Felfedés
Egyes teletext oldalakon rejtett információk találhatók (pl. rejtvényeknél), amelyek
felfedhetők. Miután kiválasztotta ezt a funkciót, a rejtett információ megjelenik a képen.
Miután kiválasztotta ezt a funkciót, nyomja meg a
B
gombot. A rejtett információ
megjelenik a képen.
Időkód oldal
Figyelmeztető oldalként beállíthat egy időkódolt oldalt, amely az Ön által megadott
időpontban fog megjelenni. Miután megjelenítette az Időkód oldal almenüt:
A
v
vagy
V
gombbal válassza ki a "Be" opciót, majd az OK gombot megnyomva erősítse
meg a választást. A távvezérlőn lévő számgombokkal adja meg a kívánt oldal három
számjegyét. Ismét a távvezérlőn lévő számgombokkal adja meg a kívánt időpont négy
számjegyét. Az OK gomb megnyomásával tárolja a kívánt időpontot. Az időpont
megjelenik a képernyő bal felső sarkában. A kért időpontban az oldal megjelenik.
Oldaláttekintés*
* csak ha a tv állomás TOP-Text adást sugároz
Ennél a menünél a TOP-Text oldalak két hasábban jelennek meg, az első tartalmazza az
oldal blokkokat, a második az oldal csoportokat.
1. A
b
vagy a
B
gombbal válassza ki az első vagy a második hasábot.
2. A
v
vagy a
V
gombbal válassza ki a megfelelő csoportot vagy blokkot.
3. Az OK gombbal hívja be a kiválasztott oldalt.
Oldaláttekintés
13
Használat
A TV tartalmaz egy menürendszert, amely egy sor felhasználóbarát képernyőkijelzésen és menün alapul. Ezek a
kijelzések segítenek abban, hogy a legtöbbet hozza ki a TV-készülékből, segítséget nyújtanak a kép- és hangbeállítások
módosításában, a TV-kép méretének megváltoztatásában, a TV-programok átrendezésében stb.
A kép és a hang beállítása
A kép és a hang gyári előbeállítása megtörtént. Azonban módosíthatja ezeket a beállításokat, hogy megfeleljenek saját
ízlésének.
A TV menürendszerének használata
1. A távvezérlőn lévő MENU gombot megnyomva jelenítse meg a menüt a TV
képernyőjén.
2. A
v
vagy
V
gombbal válassza ki a
menüpontot, ha a képbeállításokat,
vagy a
menüpontot ha a hangbeállításokat kívánja módosítani, majd a
B
gombot lenyomva lépjen be a "Képbeállítás", illetve az "Audio beállítás"
menübe.
3. A
v
vagy
V
gombbal válassza ki azt a tételt a képen, amelyet beállítani kíván,
majd a
B
gombot megnyomva erősítse meg a választást. A menüpontok és
hatásaik ismertetését az alábbi táblázat tartalmazza.
4. A
v
,
V
,
B
vagy
b
gombokkal állítsa be a kiválasztott tételt.
5. Amikor befejezte egy tétel beállítását, az OK gomb megnyomásával tárolja az
új beállítást.
6. Ismételje meg a 3-5. lépéseket, ha bármely más tételeket is be kíván állítani.
7. Nyomja meg a MENU gombot, hogy eltávolítsa a menüt a TV képernyőjéről.
A kép szabályozása
Tétel
Hatás/Használat
Kép üzemmód
V
Live
(élő adásokhoz)
Personal(egyéni beállításokhoz)
Mozi(fi
lmekhez)
v
Game (sportműsorokhoz)
Kontraszt
Kevesebb
b B
Több
Fényerő
Sötétebb
b B
Világosabb
Színtelítettség
Kevesebb
b B
Több
Színárnyalat
Reddish
b B
Greenish
Képélesség
Lágyabb
b B
Élesebb
Törlés
Visszaállítja a képjellemzőket a gyárilag beállított
értékekre.
AI (Mesterséges
V
Ki :
Normál
intelligencia)
v
Be : A kontraszt szintjének automatikus
optimalizálása a TV-jelnek megfelelően.
Auto képzajszűrő
V
Ki :
Normál
v
Be : Csökkenti a képzajt gyenge
adásjel esetén
Digitális mód
V
DRC 50
v
DRC 100
Játék
14
A TV menürendszerének használata:
A hang szabályozása
Tétel
Hatás/Használat
Ekvalizer üzemmód
V
Personal
Vocal
Jazz
Rock
Pop
v
Flat (rögzített beállítás, nem módosítható)
Ekvalizer beállítás
Módosíthatja az Ekvalizer üzemmód pontban kiválasztott
üzemmódot az 5 kiválasztott frekvenciasáv elnyomásával
és kiemelésével. A
b
vagy
B
gombot megnyomva válassza
ki a frekvenciasávot, majd a
V
vagy
v
gombot megnyomva
állítsa be a frekvenciát. Végül az OK gomb megnyomásával
tárolja az új beállítást.
Ha tárolni kívánja az új beállítást, az Ekvalizer
üzemmódot "Personal"-ra kell állítania. A Personal
üzemmód állandó jelleggel tárolja a beállítást, míg az
összes többi üzemmód (Vocal, Jazz, Rock, Pop) csak a
következő üzemmódváltásig tárolja azt.
Surround üzemmód
V
Ki
Dolby Sur
SRS
Hall
Church
Disco
v
Stadium
SRS üzemmód*
V
SRS 1
(*csak ha a "Surround
SRS 2
üzemmód" beállítása
v
SRS 3
"SRS")
Auto. hangerőszab.
V
Be : a csatornák hangereje ugyanaz marad
függetlenül a sugárzott jeltől (pl.
reklámok esetében)
v
Ki : a hangerő a sugárzott jelnek megfelelően
változik.
Kettős hang
Kétnyelvű adás esetén:
V
A az 1. hangcsatornára
v
B a 2. hangcsatornára
Sztereo adás esetén:
V
Mono
v
Sztereo
NICAM sztereo adás esetén a NiCAM jelzés rövid
időre megjelenik a képen.
Fejhallgatók
i
Hangerő
Kevesebb
b B
Több
i
Kettős hang
Kétnyelvű adás esetén:
V
A az 1. hangcsatornára
v
B a 2. hangcsatornára
15
A TV menürendszerének használata:
A Dolby Surround beállítása
A TV behangolása után ezt a jellemzőt használhatja a csatornák sorrendjének megváltoztatására a TV-készüléken.
1. A távvezérlőn lévő MENU gombot megnyomva jelenítse meg a menüt a TV képernyőjén.
2. A
V
gombbal válassza ki a
szimbólumot a menü képen, majd a
B
gombot megnyomva
nyissa meg a "Beállítás" menüt.
3. A
V
gombbal válassza ki a "Dolby Surround beállítás" menüpontot, majd a
B
gombot
megnyomva nyissa meg a "Dolby Surround beállítás" menüt.
4. A
v
vagy
V
gombbal válassza ki a "Surround" menüpontot, majd a
B
gombot megnyomva
nyissa meg a "Surround" almenüt. A
v
vagy
V
gombokkal válassza ki a "Pro Logic"
beállítást, ha surround hangszórókat használ, vagy a "TruSurround" beállítást, ha nem
használ surround hangszórókat, vagy pedig a "Dolby üzemmód" és az "Időkésleltetés"
rögzített értékre vannak állítva. Nyomja meg az OK gombot a beállítások
megerősítéséhez.
5. A
v
vagy
V
gombbal válassza ki a "Szintbeállítás" menüpontot, majd a
B
gombot
megnyomva hallgassa meg a teszthangot, amely sorban egymás után valamennyi
hangszóróból hallható. A zenehallgatás helyéről valamennyi hangerőszintnek
egyformának kell lennie. Ha ez az eset áll fenn, az OK gombot megnyomva tárolja a
beállításokat. Ha nem ez a helyzet:
(a)A
v
vagy
V
gombot megnyomva válassza ki a "Bal első", "Center", "J. első" vagy
"Háttér" hangszórókat.
(b) A
b
vagy
B
gombbal állítsa be a hangerőszintet.
(c) A
V
gombbal választhat egy másik hangszórót.
(d) Ismételje meg az (a) és (b) lépéseket minden beállítani kívánt hangszórónál.
(e) Az OK gombot megnyomva tárolja az új beállításokat.
6. A "Dolby üzemmód" kiválasztásához győződjön meg arról, hogy a "Surround" beállítása
"Pro Logic", majd a
v
vagy
V
gombbal válassza ki a "Dolby üzemmód" menüpontot. A
B
gombot megnyomva nyissa meg a "Dolby üzemmód" almenüt. A
v
vagy
V
gombbal
válassza ki a következő hangszóró-üzemmódok egyikét, majd az OK gombbal tárolja a
beállítást:
"Normál"
az összes hangszóró aktív
"Phantom"
a középső hangszóró ki van kapcsolva
"Wide"
nagyobb sávszélesség a középső hangszóróból
"3CH Normál"
a surround hangszórók ki vannak kapcsolva
"3CH Wide"
a surround hangszórók ki vannak kapcsolva, a középső hangszóró
sugározza a teljes frekvenciatartományt.
7. A
v
vagy
V
gombbal válassza ki az "Időkésleltetés" menüpontot, majd a
B
gombot
megnyomva nyissa meg az "Időkésleltetés" almenüt. A
v
vagy
V
gombbal válassza ki a
kívánt időkésleltetést
et
a surround hangszórók számára. A következo választási
lehetoségekkel rendelkezik: 15 ms nagy szobákhoz, 20 ms vagy 25 ms normál méretű
szobákhoz és 30 ms kis szobákhoz. Amikor befejezte az idő beállítását, az OK gombot
megnyomva tárolja azt.
8. A
v
vagy
V
gombbal válassza ki az "Auto Surround" menüpontot, majd a
B
gombot
megnyomva nyissa meg az "Auto Surround" almenüt. A
v
vagy
V
gombbal válassza ki a
"Be" vagy "Ki" opciót, majd az OK gombot megnyomva tárolja a beállítást.
9. Nyomja meg a MENU gombot, hogy eltávolítsa a menüt a TV képernyőjéről.
16
A TV menürendszerének használata:
A Szolgáltatások menü használata
1. A távvezérlőn lévő MENU gombot megnyomva jelenítse meg a menüt a TV képernyőjén.
2. A
v
vagy
V
gombbal válassza ki a
opciót a "Szolgáltatások" menühöz, majd a
B
gombot
megnyomva nyissa meg a "Szolgáltatások" menüt.
3. A
v
vagy
V
gombbal válassza ki a kívánt menüpontot, majd a
B
gombot megnyomva erősítse meg
a választást. A menüpontok és hatásaik ismertetését az alábbi táblázat tartalmazza.
4. A
v
,
V
,
B
vagy
b
gombokkal válassza ki a kívánt beállítást.
5. Az OK gomb megnyomásával erősítse meg a beállítás kiválasztását.
6. Ismételje meg a 3-5. lépéseket, ha bármely más tételt is ki kíván választani.
7. Nyomja meg a MENU gombot, hogy eltávolítsa a menüt a TV képernyőjéről.
Tétel
Hatás/Használat
Auto. formátum*
V
Ki: A képméret nem kerül automatikusan beállításra.
*csak antennáról
Normál:A kép mérete automatikusan beállításra kerül a
érkező jel esetén
műsorszórótól érkező jelnek megfelelően.
v
Full: A TV automatikusan úgy képes módosítani a kép méretét, hogy
megszüntesse az esetleges sötét területeket a TV által kivetített
képen (az alábbiak szerint):
Formátumkorrekció*
V
Ki : 4:3/14:9 van kiválasztva
(*csak ha az Auto.
v
Be :A Smart üzemmód automatikusan kiválasztásra kerül a 4:3/14:9
beállítása "Normál"
formátum műsorokhoz
vagy "Full")
Kikapcsolásidőzítő
Kiválaszthat egy időtartamot, melynek elteltével a TV
készenléti üzemmódba kapcsol.
V
Ki
.
v
90 perc
Gyermekzár
V
Ki : Normál
v
Be : A távvezérlőn lévő gombokat megnyomva kapcsolja ki a TV-
készüléket készenléti üzemmódból. A készüléken lévő
kezelőgombok nem működnek.
AV2 kimenet
V
TV audio/videojel az antennáról
AV1 audio/videojel a scart 1 aljzatról
AV2 audio/videojel a scart 2 aljzatról
AV3 audio/videojel a scart 3 aljzatról
v
AV4 audio/videojel a TV előlapján lévő csatlakozókról
A képernyő méretének módosítása
Ez a szolgáltatás lehetővé teszi a TV-kép méretének megváltoztatását.
A távvezérlőn a
gombot ismételten megnyomva vagy a
v
vagy
V
gomb segítségével válassza ki a
következő formátumok egyikét, majd az OK gombot megnyomva erősítse meg a választást:
Smart szélesvásznú hatás imitálása 4:3 műsorok esetén.
4:3
hagyományos 4:3 képméret, teljes képmegjelenítés.
14:9
köztes megoldás a 4:3 és 16:9 képméret között.
Zoom szélesvásznú formátum letterbox filmeknél.
Wide 16:9 képarányú műsorokhoz.
Smart és 14:9 üzemmódban a képernyő tetejének és aljának egy része levágásra kerül. A
v
vagy
V
gombbal állítsa be a kép elhelyezkedését a képen (pl. a feliratok olvasásához), majd az OK gombot
megnyomva erősítse meg a beállítást.
Auto. Formátum
Formátum Korrekció
Normál
Ki
Kimenet
AV 2 Kimenet
Auto. Formátum
Normál
Ki
Teljes
Formátum Korrekció
Ki
Be
17
A TV menürendszerének használata:
A Multi PIP (kép a képben) funkció használata
A Multi PIP (kép a képben) üzemmód 12 kimerevített képből álló sorozatot jelenít meg, valamint egy 13. képet,
amely élő. Manuálisan választhatja ki, melyik csatornát szeretné nézni akár a teljes képen, akár PIP
üzemmódban.
A PAP (kép és kép) funkció használata
A PAP szolgáltatás két részre osztja a képek két csatorna egyidőben történő nézéséhez (az egyiken - kívánság
szerint - a videojelforrással). A bal oldali kép hangja a TV hangszóróiból hallható, a jobb oldali kép hangja
fejhallgatón keresztül választható.
1. A távvezérlőn lévő
gombbal válassza ki a Multi PIP üzemmódot. 13
programhely jelenik fel a képen, középen az aktuálisan nézett csatornával.
2. A PROGR+/- gomb ismételt megnyomásával válassza ki a következő vagy az előző
12 programhelyet.
3. A
v
,
V
,
b
vagy
B
gombbal mozoghat a 13 megjelenített csatorna között.
4. Az OK gomb megnyomásával válassza ki a bekeretezett csatornát. Ez a csatorna
kerül most középre.
5. Nyomja fel az OK gombot ismét a kiválasztott csatorna megjelenítéséhez, vagy a
gomb megnyomásával távolítsa el a Multi PIP üzemmódot a TV kép jéről.
A PAP funkció be- és kikapcsolása
Nyomja fel a
gombot egyszer a képek megjelenítéséhez, és kétszer pedig a PAP
kikapcsolásához.
A PAP forrás kiválasztása
Nyomja fel a
M
gombot. A
M
szimbólum megjelenik a jobb oldali képen. Válassza ki a
kívánt jelforrást a számgombok (TV-csatornák esetén) vagy a
gomb (videojelforrás
esetén) segítségével.
A képek megcserélése
A
gomb megnyomásával cserélheti fel a két képek.
A képek nagyítása
A
b
vagy
B
gombbal módosíthatja a két kép méretét.
03
05
01
06
11
09
08
02
10
07
13
12
04
18
Beállítási útmutató
A TV menürendszerének használata:
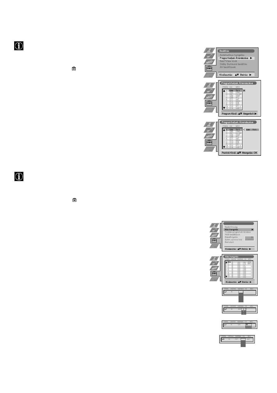
A programhelyek átrendezése
A TV behangolása után ezt a jellemzőt használhatja a csatornák sorrendjének megváltoztatására a TV-készüléken.
1. A távvezérlőn lévő MENU gombot megnyomva jelenítse meg a menüt a TV képernyőjén.
2. A
V
gombbal válassza ki a
szimbólumot a menüképernyőn, majd a
B
gombot megnyomva
nyissa meg a "Beállítás" menüt.
3. A
V
gombbal válassza ki a "Programok átrendezése" menüpontot, majd a
B
gombot
megnyomva nyissa meg a "Programok átrendezése" menüt.
4. A
v
vagy
V
gombbal válassza ki az áthelyezni kívánt csatornát, majd a
B
gombot megnyomva
erősítse meg a választást.
5. A
v
vagy
V
gombbal válassza ki az új programhelyet (pl. PROG 4) a kiválasztott csatorna
számára, majd az OK gombot megnyomva erősítse meg az áthelyezést. Ezzel a kiválasztott
csatorna az új programhelyre kerülnek, és a többi csatorna ennek megfelelően kap új helyet.
6. Ismételje meg a 4. és 5. lépést, ha más csatornákat is át kíván helyezni.
7. Nyomja meg a MENU gombot, hogy eltávolítsa a menüt a TV képernyőjéről.
A TV manuális hangolása
Már elvégezte a TV automatikus hangolását a jelen útmutató elején lévő utasítások segítségével. Azonban elvégezheti
ezt a műveletet manuálisan is úgy, hogy egyszerre egy csatornát vesz fel a TV-készüléken beprogramozottak közé.
1. A távvezérlőn lévő MENU gombot megnyomva jelenítse meg a menüt a TV képernyőjén.
2. A
V
gombbal válassza ki a
szimbólumot a menüképernyőn, majd a
B
gombot megnyomva
nyissa meg a "Beállítás" menüt.
3. A
V
gombbal válassza ki a "Kézi beállítás" menüpontot, majd a
B
gombot megnyomva nyissa meg
a "Kezi beallitas" menüt.
4. A
V
gombbal válassza ki a "Kézi hangolás" menüpontot a menüképernyőn, majd a
B
gombot
megnyomva nyissa meg a "Kézi hangolás" menüt.
5. A
v
vagy
V
gombbal válasszon ki egy programhelyet a csatorna számára (pl. PROGR 1 a BBC1
számára), majd a
B
gombot megnyomva jelölje ki az "UGRÁS" oszlopot.
6. A
b
gombot megnyomva válassza ki a "Ki" beállítást, majd a
B
gombot megnyomva jelölje ki a
"NORMA" oszlopot.
7. A
v
vagy
V
gombbal válassza ki a sugárzási rendszert (B/G a nyugat-európai országokban vagy D/
K a kelet-európai országokban vagy az "EXT" beállítást a video műsorforrás számára (AV1, AV2,
...), majd nyomja meg a
B
gombot a beállítások megerősítéséhez.
8. A
v
vagy
V
gombbal válassza ki a "C" beállítást a földi sugárzású csatornák számára, az "S"
beállítást a kábelcsatornák számára vagy az "F" beállítást a közvetlen jelbemenetek számára, majd
a
B
gombot megnyomva erősítse meg a beállítást.
9. Válassza ki a "CS" (csatorna) első számjegyét, majd a "CS" második számjegyét a távvezérlőn lévő
számgombokkal vagy a
v
vagy
V
gombbal keresse meg a következő fogható csatornát.
10. Ha nem szeretné tárolni ezt a csatornát a kiválasztott programhelyen, a
v
vagy
V
gombbal folytassa
a keresést, amíg a kívánt csatorna meg nem jelenik.
11. Ha ez az a csatorna, amelyet tárolni kíván, nyomja meg az OK gombot.
12. Ismételje meg az 5-11. lépést, ha további csatornákat kíván tárolni, majd a MENU gomb
megnyomásával távolítsa el a menüt a TV képernyőjéről.
B/G
L
I
D/K
EXT
AV1
AV2
AV3
AV4
Beállítási útmutató
19
A TV menürendszerének használata:
Az állomások elnevezése
A csatornák nevét a készülék rendszerint automatikusan átveszi a teletext adásból, ha az rendelkezésre áll. A
csatornához vagy videobemenethez Ön is rendelhet egy, legfeljebb öt karakterből (betű vagy szám) álló nevet.
Programhelyek átugrása
Ezzel a funkcióval kijelölheti a nem használt programhelyeket, hogy azokat a készülék a PROGR+/- gombokkal történő
csatornaválasztás közben átugorja. Az átugrott programhelyeket azonban a számgombokkal továbbra is ki lehet
választani.
1. A távvezérlőn lévő MENU gombot megnyomva jelenítse meg a menüt a TV képernyőjén.
2. A
V
gombbal válassza ki a
szimbólumot a menüképernyőn, majd a
B
gombot
megnyomva nyissa meg a "Beállítás" menüt.
3. A
V
gombbal válassza ki a "Kézi beállítás" menüpontot, majd a
B
gombot megnyomva
nyissa meg a "Kézi beállítás" menüt.
4. A
V
gombbal válassza ki a "Kézi hangolás" menüpontot, majd a
B
gombot megnyomva
nyissa meg a "Kézi hangolás" menüt.
5. A
v
vagy
V
gombbal válassza ki azt a csatornát, amelyhez nevet kíván rendelni.
6. Nyomja meg ismételten a
B
gombot mindaddig, amíg a "NÉV" oszlopban az első
karakterhely kiemelésre nem kerül.
7. A
v
vagy
V
gombbal válasszon ki egy betű vagy számot (a szóközhöz nyomja meg a "-"
gombot), majd a
B
gombot megnyomva erősítse meg a választást. Ugyanígy válassza ki a
további négy karaktert.
8. Az összes karakter kiválasztása után nyomja meg az OK gombot.
9. Ismételje meg a 5-8. lépést, ha más csatornákat is el kíván nevezni.
10. Nyomja meg a MENU gombot, hogy eltávolítsa a menüt a TV képernyőjéről.
1. A távvezérlőn lévő MENU gombot megnyomva jelenítse meg a menüt a TV
képernyőjén.
2. A
V
gombbal válassza ki a
szimbólumot a menüképernyőn, majd a
B
gombot
megnyomva nyissa meg a "Beállítás" menüt.
3. A
V
gombbal válassza ki a "Kézi beállítás" menüpontot, majd a
B
gombot
megnyomva nyissa meg a "Kézi beállítás" menüt.
4. A
V
gombbal válassza ki a "Kézi hangolás" menüpontot, majd a
B
gombot
megnyomva nyissa meg a "Kézi hangolás" menüt.
5. A
v
vagy
V
gombbal válasszon ki egy programhelyet, majd a
B
gombot megnyomva
jelölje ki az "UGRÁS" oszlopot.
6. A
v
vagy
V
gombbal válassza a "Ki" vagy "Be" (ha át kívánja ugrani ezt a
programhelyet) beállítást, majd az OK gombot megnyomva tárolja a beállítást.
7. Ismételje meg az 5. és 6. lépést, ha bármely más programhelyeknél módosítani
kívánja az ugrás beállítását.
8. Nyomja meg a MENU gombot, hogy eltávolítsa a menüt a TV képernyőjéről.
Manual Set Up
Select:
Enter:
Language/Country
Manual Programme Preset
Further Programme Preset
RGB Set Up
Picture Rotation
Personal ID
Demo
O
- - - - - - -
Beállítási útmutató
Beállítási útmutató
20
A TV menürendszerének használata:
A "További programok tárolása" jellemző használata
E jellemző révén lehetősége van a) beállítani minden egyes csatorna csillapítását, b) egyedileg beállítani minden egyes
csatorna hangerejét, c) elvégezni a TV finomhangolását jobb képvétel érdekében, ha a kép torz vagy d) beállítani az AV
kimenetet kódolt (pl. fizető TV-dekóderről érkező) jelekkel rendelkező csatornák programhelyei számára. Ezzel a
módszerrel a videomagnó már a dekódolt jelet veszi fel.
Beállítási útmutató
1. A távvezérlőn lévő MENU gombot megnyomva jelenítse meg a menüt a TV képernyőjén.
2. A
V
gombbal válassza ki a
szimbólumot a menüképernyőn, majd a
B
gombot megnyomva
nyissa meg a "Beállítás" menüt.
3. A
V
gombbal válassza ki a "Kézi beállítás" menüpontot, majd a
B
gombot megnyomva
nyissa meg a "Kézi beállítás" menüt.
4. A
V
gombbal válassza ki a "További programok tárolása" menüpontot, majd a
B
gombot
megnyomva nyissa meg a "További programok tárolása" menüt.
5. A
v
vagy
V
gombbal válassza ki az érintett programhelyet, majd a
B
gombot ismételten
megnyomva válassza ki az a) HANG b) AFT vagy c) DEKÓDER menüpontot. A
kiválasztott menüpont színe megváltozik.
6. a)ATT - RF csillapítás
A
v
vagy
V
gombbal kapcsolja a csillapítást "be" vagy "ki". Az OK gomb megnyomásával
erősítse meg a választást. Ismételje meg az 5. és 6a. lépéseket, ha be kívánja állítani más
csatornák csillapítását is.
b)HANG - Hangerő-kiegyenlítés
A
v
vagy
V
gombokkal állítsa be a csatorna hangerejét (-7 és +7 közötti tartományban). Az
OK gombot megnyomva tárolja a beállítást. Ismételje meg az 5. és 6b. lépéseket, ha be kívánja
állítani más csatornák hangerejét is.
c) AFT - Automatikus finomhangolás
A
v
vagy
V
gombbal végezze el a csatorna frekvenciájának finomhangolását a -15 és +15
közötti tartományban. Az OK gombot megnyomva erősítse meg a beállítást. Ismételje meg
az 5. és 6c. lépéseket, ha más csatornák finomhangolását is el kívánja végezni.
d)DEKÓDER
A
v
vagy
V
gombbal válassza ki az AV1 vagy AV2 beállítást a programhely számára, majd az
OK gombot megnyomva erősítse meg a beállítást. Most már csatlakoztathat dekódert a TV
hátlapján lévő AV1 vagy AV2 aljzathoz, és a dekóderről érkező kép az adott programhelyen
fog megjelenni. Ismételje meg az 5. és 6d. lépést, ha más programhelyekhez is be kíván
állítani AV kimenetet.
7. Nyomja meg a MENU gombot, hogy eltávolítsa a menüt a TV képernyőjéről.
A "Bemutató" jellemző kiválasztása
Ez a funkció áttekintést ad a TV-készüléken rendelkezésre álló egyes jellemzőkről.
1. A távvezérlőn lévő MENU gombot megnyomva jelenítse meg a menüt a TV képernyőjén.
2. A
V
gombbal válassza ki a
szimbólumot a menüképernyőn, majd a
B
gombot
megnyomva nyissa meg a "Beállítás" menüt.
3. A
V
gombbal válassza ki a "Kézi beállítás" menüpontot, majd a
B
gombot megnyomva
nyissa meg a "Kézi beállítás" menüt.
4. A
V
gombbal válassza ki a "Bemutató" menüpontot, majd a
B
gombot megnyomva indítsa
el a bemutatót (ami kb. 5 percig tart).
5. Nyomja meg a
gombot, hogy eltávolítsa a bemutatót a TV képernyőjéről.
21
A TV menürendszerének használata:
A kép alakjának beállítása RGB forrás esetén
Amikor valamilyen RGB jelforrást, például Sony playstation-t csatlakoztat a készülékhez, lehetséges, hogy újra
be kell állítania a kép alakját.
1. A távvezérlőn lévő
gombot megnyomva válassza ki a csatlakoztatott RGB
jelforrást
.
2. A MENU gombot megnyomva jelenítse meg a menüt a TV képernyőjén.
3. A
V
gombbal válassza ki a
szimbólumot a menüképernyőn, majd a
B
gombot
megnyomva nyissa meg a "Beállítás" menüt.
4. A
V
gombbal válassza ki a "Kézi beállítás" menüpontot a menüképernyőn, majd a
B
gombot megnyomva nyissa meg a "Kézi beállítás" menüt.
5. A
V
gombbal válassza ki az "RGB beállítások" menüpontot a menüképernyőn, majd
a
B
gombot megnyomva nyissa meg az "RGB beállítások" almenüt.
6. A
B
gombot megnyomva válassza a H Centre menüpontot, majd a
v
vagy
V
gombbal
állítsa be a kép középpontját a -10 és +10 közötti tartományban. Az OK gombot
megnyomva tárolja az új tartományt.
7. A
B
gombot megnyomva válassza a H Size menüpontot, majd a
v
vagy
V
gombbal
állítsa be a vízszintes koordinátákat a -10 és +10 közötti tartományban. Az OK
gombot megnyomva tárolja az új tartományt.
8. Nyomja meg a MENU gombot, hogy eltávolítsa a menüt a TV képernyőjéről.
1
A kép elforgatásának beállítása
A Föld mágnesessége miatt lehetséges, hogy a kép ferde. Ebben az esetben újra be kell állítania a képet.
1. A távvezérlőn lévő MENU gombot megnyomva jelenítse meg a menüt a TV
képernyőjén.
2. A
V
gombbal válassza ki a
szimbólumot a menüképernyőn, majd a
B
gombot
megnyomva nyissa meg a "Beállítás" menüt.
3. A
V
gombbal válassza ki a "Kézi beállítás" menüpontot, majd a
B
gombot
megnyomva nyissa meg a "Kézi beállítás" menüt.
4. A
V
gombbal válassza ki a "Képelforgatás" menüpontot, majd a
B
gombot
megnyomva nyissa meg a "Képelforgatás" menüt.
5. A
v
vagy
V
gombbal forgassa el a képet -5 és +5 közé eső tartományban, majd az
OK gombot megnyomva tárolja a beállítást.
6. Nyomja meg a MENU gombot, hogy eltávolítsa a menüt a TV képernyőjéről.
- - - - -
- - - - -
Beállítási útmutató
22
A TV menürendszerének használata:
A személyi azonosító kód bevitele
Ennek a jellemzőnek a segítségével egy biztonsági kódot jelölhet ki a TV számára, amely lehetővé teszi a tulajdonos
felkutatását, ha a készülék az ellopását követően megkerül. A biztonsági kód azonban csak egyszer adható meg - kérjük,
jegyezze fel!
1. A távvezérlőn lévő MENU gombot megnyomva jelenítse meg a menüt a TV
képernyőjén.
2. A
V
gombbal válassza ki a
szimbólumot a menüképernyőn, majd a
B
gombot
megnyomva nyissa meg a "Beállítás" menüt.
3. A
V
gombbal válassza ki a "Kézi beállítás" menüpontot a menüképernyőn, majd a
B
gombot megnyomva nyissa meg a "Kézi beállítás" menüt.
4. A
V
gombbal válassza ki a "Szem. azonos. kód" menüpontot a menüképernyőn, majd a
B
gombot megnyomva nyissa meg a "Szem. azonos. kód" almenüt.
5. A
v
vagy
V
gombbal válassza ki az összesen 11 karakter (betű, szám + vagy szóköz) közül
az elsőt, majd a
B
gombot megnyomva lépjen a következő karakterpozícióra.
6. Ismételje meg a 5. lépést a kód összes többi karakterének beviteléhez.
7. Az OK gombot megnyomva tárolja a kódot. Egy üzenetpanel jelenik meg a képernyőn,
amely a kód újbóli bevitelét kéri.
8. Még egyszer nyomja meg az OK gombot a kód végleges tárolásához, vagy a
b
gombot
megnyomva vesse el.
9. Nyomja meg a MENU gombot, hogy eltávolítsa a menüt a TV képernyőjéről.
Bemenő jelek tárolása és elnevezése
Ennek a jellemzőnek a segítségével automatikusan formázhatja és feliratozhatja a külső jelforrásokat.
1. A távvezérlőn lévő MENU gombot megnyomva jelenítse meg a menüt a TV
képernyőjén.
2. A
V
gombbal válassza ki a
szimbólumot a menüképernyőn, majd a
B
gombot
megnyomva nyissa meg a "Beállítás" menüt.
3. A
V
gombbal válassza ki az "AV beállítások" menüpontot a menüképernyőn, majd a
B
gombot megnyomva nyissa meg az "AV beállítások" menüt.
4. A
v
vagy
V
gombbal válassza ki a kívánt AV bemenetet (AV1, 2, 3 vagy 4).
5. A
B
gombbal válassza ki az "AUTO FORMAT" oszlopot, majd a
v
vagy
V
gombbal
válassza a "Ki", "Normál" vagy "Full" beállítást.
6. A
B
gombbal válassza ki a "NÉV" oszlopot.
7. A
v
vagy
V
gombbal válassza ki a név első karakterét, majd a
B
gombot megnyomva
lépjen a következő karakterpozícióra.
8. Ismételje meg a 7. lépést a további 4 karakter kiválasztásához, majd az OK gombot
megnyomva tárolja a nevet.
9. Ismételje meg a 4-8. lépést a többi AV bemenetnél, majd a MENU gomb
megnyomásával távolítsa el a menüt a TV képernyőjéről.
Beállítási útmutató
NÉV
AV 1
AV 2
AV 3
AV 4
Normál
Teljes
Normál
Normál
AV 1
AV 2
AV 3
AV 4
BEMENET
AUTO FORMAT
NÉV
AV 1
AV 2
AV 3
AV 4
Normál
Teljes
Normál
Normál
AV 1
AV 2
AV 3
AV 4
BEMENET
AUTO FORMAT
Ki
Normál
Teljes
Köv.:
Megerösít : OK
23
Külső berendezések
Az alábbi ábra segítségével audio- és videokészülékek széles választékát csatlakoztathatja a TV-készülékhez.
Külső berendezések csatlakoztatása a TV-hez
Annak érdekében, hogy egy csatlakoztatott berendezés bemenő jele megjelenjen a TV képernyőjén, ki kell választania
annak a csatlakozónak a szimbólumát, amelyhez a készüléket csatlakoztatta.
1. A fenti ábra segítségével csatlakoztassa a berendezést a TV-készülék megfelelő aljzatához.
2. Nyomja meg ismételten a távvezérlőn lévő
gombot mindaddig, amíg a berendezésnek megfelelő
bemenetszimbólum meg nem jelenik a TV képernyőjén (lásd az alábbi táblázatot).
* a jel automatikus érzékelése a csatlakoztatott berendezésnek megfelelően
3. Kapcsolja be a csatlakoztatott berendezést.
4. A normál TV-képernyőhöz való visszatéréshez nyomja meg a
gombot.
Megjegyzés: A képtorzulás megelőzése érdekében ne csatlakoztasson berendezéseket egyszerre az
A
és
B
aljzatokhoz.
A TV
képernyőjén
lévő
szimbólum
Bemenő jelek a csatlakozóról
•
Audio/video bemenő jel a
D
scart csatlakozón keresztül vagy* RGB a
D
scart csatlakozón
keresztül
•
Audio/video bemenő jel az
E
scart csatlakozón keresztül vagy* S-video az
E
scart
csatlakozón keresztül
•
Audio/video bemenő jel az
F
scart csatlakozón keresztül vagy* S-video az
F
scart
csatlakozón keresztül
•
S-video bemenő jel az
A
4 érintkezős DIN csatlakozón keresztül vagy* video bemenő jel a
B
phono jacken keresztül és audio bemenő jel a
C
phono jacken keresztül
1
2
3
4
A
B
C
L/G/S/I R/D/D/D
MONO
s
4
4
4
L/G/S/I
R/D/D/D
S
4
4
4
D E F
G
R/D/D/D
L/G/S/I
R/D
D/D
L/G
S/I
1
2
DVD
VHS
R/D/D/D
L/G/S/I
R/D
D/D
L/G
S/I
C
-
-
-
s
s
1
1
2
S
2
3
S 3
C
-
-
-
s
s
24
Opcionális berendezések
* Ha a kép vagy a hang torz, vigye távolabb a videomagnót a TV-készüléktől.
* Mono videomagnó csatlakoztatása esetén mind a TV-készülékhez, mind pedig a videomagnóhoz csak a fehér
dugaszt kell csatlakoztatni.
* Ha információra van szüksége arra vonatkozóan, hogyan válassza ki a scart 2
/
kimenő jelét, lapozza fel a 14. oldalt.
Berendezések csatlakoztatására vonatkozó további
információk
2
s
2
A Smartlink egy közvetlen összeköttetés a TV-készülék és a videomagnó között.
A Smartlink használatához szükségesek a következők:
*
Olyan videomagnó, amely támogatja a Smartlink, NexTView Link, Easy Link vagy Megalogic jellemzőket.
* Teljes huzalozású 21 pólusú scart kábel a videomagnónak a scart 2
/
aljzathoz való csatlakoztatásához.
A Smartlink által biztosított jellemzők:
*
A hangolási információk (pl. a csatornák áttekintése) letöltésre kerülnek a TV-készülékről a videomagnóra.
* A NexTView segítségével könnyedén programozhatja a videomagnót.
*
Közvetlen felvétel a TV-ről: TV-nézés közben csak egyetlen gombot kell megnyomnia, hogy a videomagnó felvegye
az adott műsort.
A Smartlink-re vonatkozó bővebb információért lapozza fel a videomagnó kezelési útmutatóját.
Smartlink
2
s
2
A távvezérlő fedele alatt lévő gombok segítségével más Sony berendezéseket is vezérelhet.
1. Nyissa fel a távvezérlő fedelét.
2. Állítsa be a VTR 1234 DVD választókapcsolót a vezérelni kívánt készüléknek megfelelően:
VTR1 Beta videomagnó
VTR2 8mm videomagnó
VTR3 VHS videomagnó
VTR4 Digitális videomagnó (DCR-VX 1000/9000E,VHR-1000)
DVD Digitális videolemez
3. A távvezérlőn lévő gombokkal működtesse a készüléket.
* Ha a készülék rendelkezik COMMAND MODE (parancsmód) választókapcsolóval, állítsa azt ugyanolyan
pozícióba, mint amilyenbe a VTR 1234 DVD választókapcsolót állította a TV távvezérlőjén.
* Ha a készülék nem rendelkezik bizonyos funkciókkal, a távvezérlőn lévő megfelelő gomb nem működik.
Más Sony berendezések távvezérlése
25
További információk
Specifikációk
Sugárzási rendszer
B/G/H, D/K, I, L
Színrendszer
PAL, SECAM
NTSC 3.58, 4.43 (csak videobemenet)
Fogható csatornák
Lásd a "Útmutató a csatornákhoz" c. szakaszt a következő oldalon.
Képcső
FD Trinitron WIDE
Kb. 91 cm (36 hüvelyk), 102˚-os eltérítés
Csatlakozók a hátlapon
/
21 pólusú Euro csatlakozó (CENELEC szabvány), amely
tartalmaz audio/video bemenetet, RGB bemenetet, TV audio/
video kimenetet.
/
21 pólusú Euro csatlakozó (CENELEC szabvány), amely
tartalmaz audio/video bemenetet, S-video bemenetet, Monitor
audio/video kimenetet.
/
21 pólusú Euro csatlakozó (CENELEC szabvány), amely
tartalmaz audio/video bemenetet, S-video bemenetet, Monitor
audio/video kimenetet.
Külső hangszórók csatlakozói: 2 pólusú DIN (5)
RF bemenet
Csatlakozók az előlapon
Videobemenet - phono jackek
Audiobemenetek - phono jackek
S-video bemenet - 4 pólusú DIN
Fejhallgató csatlakozó - sztereo minijack
1
s
1
2
s
2
3
s
3
4
4
s
4
Hangfrekvenciás kimenőteljesítmény
Bal és jobb hangszóró: 2x30 W (zenei)
2x15 W (RMS)
Áramfogyasztás
170 W
Méretek (sz x ma x mé)
Kb. 972 x 613,5 x 591 mm
Súly
Kb. 90,0 kg
Mellékelt tartozékok
RM-892 távvezérlő (1 db)
IEC AA méretű elem (2 db)
Surround hangszórók (2)
Surround hangszóró vezeték (2)
Egyéb jellemzők
Lapos Trinitron képcső, zajcsökkentés, 100 Hz kép,
grafikus ekvalizer, személyi azonosító, elalváskapcsoló,
NexTView, Dolby Surround, Digital Comb Filter,
Második tuner.
A kialakítás és a specifikációk külön értesítés nélkül
változhatnak.
Csatornakijelzések táblázata
Fogható csatornák
Csatornakijelzések
B/G/H
E2..12, 21..69
C02..C12, C21..69
CABLE TV (1)
S1..S41
S01..S41
CABLE TV (2)
S01..S05
S42..S46
M1..M10
S01..S10
U1..U10
S11.S20
ITALIA
A, B..H, H1, H2
C13..C20
D/K
R01..R12, R21..R69
C01..C12, C21..C69
S01..S05
S42..S46
L
F2..F10, F21..F69
C01..C12, C21..C69
I
B21..B69
C21..C69
26
További információk
Az alábbi táblázat tartalmaz néhány egyszerű megoldást arra az esetre, ha valamilyen kép- vagy hangprobléma fordulna elő.
•
Ha a probléma továbbra is fennáll, a készülék javítása érdekében forduljon szakemberhez.
•
SOHA ne bontsa meg a külső burkolatot.
Hibakeresés
Probléma
Javasolt megoldás
Nincs kép (a képernyő sötét), nincs
hang
•
Csatlakoztassa a készüléket a hálózathoz.
•
Nyomja meg a
gombot a TV előlapján.
•
Ha a
jelzőfény világít, nyomja meg a
gombot
vagy egy számgombot a távvezérlőn.
•
Ellenőrizze az antennacsatlakozást.
•
Kapcsolja ki a TV-készüléket 3-4 másodpercre, majd
kapcsolja vissza a TV előlapján lévő
gomb
használatával.
Gyenge a kép vagy nincs kép (a
képernyő sötét), de a hang jó.
•
A menürendszer segítségével válassza ki a
Képbeállítás menüt. Állítsa be a fényerőt, a kép
üzemmódot és a színtelítettséget.
•
A Képbeállítás menüből válassza a Törlés menüpontot,
hogy visszaállítsa a gyári beállításokat.
Jó a kép, nincs hang
•
Nyomja meg a
gombot a távvezérlőn.
•
Ha a
szimbólum látható a képernyőn, nyomja meg a
gombot a távvezérlőn.
Nem látható színesben a színes
program
•
A menürendszer segítségével válassza ki a Képbeállítás
menüt, és módosítsa a színbeállítást.
•
A Képbeállítás menüből válassza a Törlés menüpontot,
hogy visszaállítsa a gyári beállításokat.
Torz a kép programváltáskor
vagy a teletext kiválasztásakor
•
Kapcsoljon ki minden, a TV-készülék hátlapján lévő
scart csatlakozókhoz csatlakoztatott berendezést.
A távvezérlő nem működik
•
Cserélje ki az elemeket.
A
jelzőfény villog a TV-
készüléken
•
Hívja fel a legközelebbi Sony szervizközpontot.
/
27
Инструкции за безопасност
ЗА ВАШАТА БЕЗОПАСНОСТ
Този телевизор може да работи само на
захранващо напрежение 220-240V. Внимавайте
да не включвате твърде много уреди в един
контакт, тъй като това може да причини токов
удар.
По причини за безопастност от въздействие на
природни явления е препоръчително да не
оставяте телевизора в режим “stand by”, а да го
изключвате централно.
Никога не пъхайте каквито и да било предмети
в телевизора, тъй като това може да причини
пожар или токов удар. Никога не разливайте
течности по телевизора. В случай, че течност
или твърд предмет попаднат в телевизора го
изключете.
Свържете
се
незабавно
с
квалифицирани служители на Сони.
Не отваряйте кутията и задния капак на
телевизора.
Обръщайте
се
само
към
квалифициран сервизен персонал.
За да предотвратите риска от токов удар, не
излагайте телевизора на дъжд или влага.
За Ваша собствена безопасност не пипайте
телевизора, кабела или антената му по време
на гръмотевични бури.
Не покривайте вентилационните отвори на
телевизора.
Оставете
най-малко
10
см.
разтояние около телевизора за вентилация.
Никога не поставяйте телевизора на горещи,
влажни или изключително прашни места. Не
инсталирайте телевизора на места където
може да бъде изложен на механични вибрации.
За да избегнете пожар, дръжте настрана от
телевизора възпламеними предмети и открити
източници на светлина /например свещи/.
Почиствайте телевизора с мека, леко влажна
кърпа. Не използвайте бензин, разредител или
други химикали, за да почистите телевизора. Не
драскайте по екрана на телевизора. За по-голяма
безопастност
изключвайте
телевизора
от
контакта, когато го почиствате.
Когато изключвате телевизора, дърпайте
щепсела, а не кабелa.
Не поставяйте тежки предмети върху кабела,
тъй като това може да го повреди.
Препоръчваме
ви
да
навиете
излишния
захранващ кабел около предназначените за
целта приспособления на задната страна на
телевизора.
Поставяйте телевизора на сигурна, стабилна
поставка. Не позволявайте на деца да се катерят
по него. Не го обръщайте на страни или по “гръб”.
Изключвайте кабела на телевизора преди да го
местите.
При
преместването
избягвайте
неравни повърхности и не правете бързи
крачки.
Ако
изпуснете
или
нараните
телевизора, незабавно се консултирайте с
квалифицирани сервизни служители на Сони.
Не покривайте вентилационните отвори на
телевизора с предмети като пердета, вестници и
др.
1
Съдържание
Съдържание
Инсталиране
1.
Проверка
на
доставените
принадлежности
2.
Поставяне
на
батериите
в
дистанционното
управление
3.
Свързване
на
телевизора
4.
Включване
на
телевизора
5.
Използване
на
джойстика
6.
Настройване
на
вашия
телевизор
7.
Намиране
на
вашия
видеоканал
2
2
3
5
5
6
6
Използване
Преглед
на
бутоните
на
телевизора
Преглед
на
бутоните
на
дистанционното
управление
NexTView
Телетекст
Използване
на
системата
от
менюта
на
телевизора
Регулиране
на
настройките
на
картината
Регулиране
на
настройките
на
звука
Настройка
на
Dolby Surround
Използване
на
менюто
Възможности
/
Характеристики
Промяна
на
размера
на
екрана
Използване
на
мулти
-PIP
Работа
с
PAP (
картина
и
картина
)
Пренареждане
на
телевизионните
канали
Ръчна
настройка
на
телевизора
Наименуване
на
канал
Прескачане
на
програмни
позиции
Използване
на
функцията
"
Допълнителна
настройка
на
програма
"
Избор
на
функцията
"
Демо
"
Настройка
на
въртенето
на
картината
Настройка
на
геометрията
на
картината
за
RGB
източник
Въвеждане
на
вашата
лична
идентификация
Предварителна
настройка
и
наименуване
на
входните
източници
7
8
9
11
13
13
14
15
16
16
17
17
18
18
19
19
20
20
21
21
22
22
Допълнителна
апаратура
Свързване
на
допълнителна
апаратура
към
телевизора
Допълнителна
информация
при
свързване
на
апаратура
Smartlink
Дистанционно
управление
на
друга
апаратура
на
Sony
23
24
24
24
Допълнителна
информация
Спецификации
Таблица
за
показване
на
каналите
Отстраняване
на
неизправности
25
25
26
2
За инсталиране на телевизора и гледане на телевизионни програми , следвайте стъпки 1 -7. Инсталиране
1. Проверка на доставените принадлежности
2. Поставяне на батериите в дистанционното управление
Дистанционно
управление
Никога
не
забравяйте
,
че
трябва
да
изхвърлите
батериите
по
начин
,
опазващ
околната
среда
.
Батерии
съраунд
високоговорители
съраунд
свързващи
кабели
3
Инсталиране
Свързване на високоговорителите
За
Dolby* Pro Logic Surround
обикновено
са
необходими
5
високоговорителя
.
Централен
високоговорител
(
вграден
в
телевизора
),
за
центриране
на
стабилно
представяне
на
звука
,
например
диалози
на
екрана
на
телевизора
.
Ляв
и
десен
високоговорители
(
вградени
в
телевизора
)
за
нормалните
два
канала
при
стереопредавания
.
Съраунд
високоговорители
(
предоставени
)
за
специалните
ефекти
,
създавани
от
съраунд
канала
.
Свързване
на
предоставените
високоговорители
Свързване
на
ваши
собствени
високоговорители
(
Високоговорителите
трябва
да
са
с
импеданс
минимум
8
ома
и
да
са
магнитно
екранирани
.
В
противен
случай
може
да
се
получат
изкривявания
на
картината
).
*
Произведено
по
лиценз
от
Dolby Laboratories Licensing Corporation. Dolby, ProLogic
и
символът
"
двойно
D"
са
търговски
марки
на
Dolby
Laboratories Licensing Corporation.
3. Свързване на телевизора
S
C
S
R/D/D/D
L/G/S/I
десен
високоговорител
ляв
високоговорител
съраунд
високоговорители
S
C
S
съраунд
високоговорители
черен
кабел
черен/
б
я
л
кабел
4
R/D/D/D
L/G/S/I
R/D
D/D
L/G
S/I
R/D/D/D
L/G/S/I
R/D
D/D
L/G
S/I
OUT
IN
AC IN
Инсталиране
3. Свързване на телевизора
Изводът
тип
SCART
се
поставя
допълнително
.
Ако
обаче
той
може
да
се
използва
,
тази
допълнителна
връзка
може
да
подобри
качеството
на
картината
и
звука
в
режим
на
възпроизвеждане
.
Ако
не
свързвате
вашия
телевизор
към
видеокасетофон
,
свържете
извода
за
антена
(
показан
вляво
)
и
преминете
към
раздел
"4.
Включване
на
телевизора
".
Ако
свързвате
вашия
телевизор
към
видеокасетофон
,
вж
.
раздела
по
-
долу
.
(
съществуващ
извод
за
антена
)
1.
Свържете
кабела
на
съществуващата
антена
към
вашия
видеокасетофон
,
както
е
показано
.
2.
Свържете
кабела
за
антена
на
видеокасетофона
от
гнездото
RF OUT
на
задната
страна
на
видеокасетофона
към
гнездото
за
антена
на
задната
страна
на
телевизора
,
както
е
показано
.
3.
Свържете
видеокасетофона
към
мрежата
и
го
включете
.
4.
Поставете
касета
със
запис
във
видеокасетофона
и
натиснете
бутона
"PLAY".
1.
Свържете
извода
на
вашата
съществуваща
антена
към
гнездото
,
отбелязано
с
на
задната
страна
на
телевизора
.
(
извод
SCART -
не
е
предоставен
)
Свързване на антена към телевизора
Свързване на антена и видеокасетофон към телевизора
5
Инсталиране
1.
Поставете
щепсела
на
телевизора
в
контакта
на
мрежата
за
променлив
ток
(220-240V,
50Hz)
и
го
включете
.
2.
Натиснете
бутона
за
включване
/
изключване
отпред
на
телевизора
.
Ако
индикаторът
за
режим
на
готовност
отпред
на
телевизора
свети
,
натиснете
бутона
TV
на
дистанционното
управление
,
за
да
включите
телевизора
.
Моля
,
запазете
търпение
,
защото
до
появяване
на
картината
на
телевизионния
екран
могат
да
изминат
няколко
секунди
.
4. Включване на телевизора
5. Използване на джойстика
/
За
да
изберете
елемент
в
меню
,
натиснете
джойстика
в
средата
.
За
придвижване
по
менютата
,
натиснете
съответния
бутон
със
стрелка
.
Движение
с
джойстика
Натискане
на
джойстика
6
Инсталиране
Преди
да
настроите
телевизора
,
ще
получите
въпрос
за
задаване
на
вашия
език
и
страна
.
6. Настройване на вашия телевизор
Language country
Select language:
Confirm:
Language
Country
Русский
Ъьларски
Ελληνικα
Türkçe
Suomi
Svenska
Portuguкs
Great Britain
Турчия
Швжйчария
Ислания
Словакия
Русия
Португалия
1.
При
появяване
на
менюто
‘Language/country’
на
екрана
е
осветена
думата
"English".
2.
Натиснете
бутоните
v
или
V
на
дистанционното
управление
,
за
да
изберете
език
,
а
след
това
натиснете
бутона
OK
за
потвърждаване
.
При
появяване
на
менюто
за
държава
на
екрана
е
осветена
думата
"
ИЗК
".
Изберете
"
ИЗК
",
ако
не
искате
каналите
ви
да
се
запомнят
в
дадена
поредица
от
канали
,
започваща
от
програмна
позиция
1.
3.
Натиснете
v
или
V
,
за
да
изберете
държавата
,
в
която
искате
да
използвате
телевизора
,
и
натиснете
OK,
за
да
потвърдите
избора
си
.
4.
На
екрана
на
телевизора
се
появява
"
авто
настройки
"
на
избрания
от
вас
език
.
Натиснете
бутона
OK
за
потвърждаване
.
5.
Уверете
се
,
че
антената
е
свързана
в
съответствие
с
указанията
,
и
натиснете
бутона
OK
за
потвърждаване
.
Телевизорът
автоматично
започва
да
търси
и
да
запомня
всички
налични
канали
вместо
вас
.
Това
може
да
трае
няколко
минути
-
моля
,
бъдете
търпеливи
и
не
натискайте
бутоните
.
6.
След
като
телевизорът
е
настроил
всички
налични
канали
,
на
екрана
на
телевизора
се
появява
менюто
"
Сортиране
на
програмите
",
което
ви
дава
възможност
да
променяте
реда
на
каналите
на
вашия
телевизор
.
Ако
желаете
да
смените
реда
на
каналите
,
натиснете
бутоните
v
или
V
за
избор
на
канала
,
който
желаете
да
преместите
,
и
после
натиснете
B
.
Натиснете
бутоните
v
или
V
,
за
да
изберете
новото
положение
на
номер
на
програма
за
избрания
канал
,
а
след
това
натиснете
бутона
OK
за
потвърждаване
.
Сега
избраният
канал
се
премества
на
новата
си
програмна
позиция
,
а
останалите
канали
се
преместват
по
съответен
начин
.
Ако
желаете
да
сортирате
реда
на
други
канали
на
телевизора
,
повторете
тази
процедура
.
7.
Натиснете
бутона
MENU,
за
да
изтриете
менюто
от
екрана
на
телевизора
.
8.
Натиснете
бутона
PROGR+/-
или
цифровите
бутони
,
за
да
гледате
телевизионните
канали
.
Забележка
:
Ако
желаете
да
спрете
процеса
на
автоматична
настройка
във
всеки
момент
,
натиснете
бутона
OK.
Ако
сте
свързали
видеокасетофон
към
телевизора
,
трябва
да
намерите
вашия
видеоканал
.
1.
Натискайте
бутоните
PROGR+/-
на
дистанционното
управление
,
докато
на
екрана
на
телевизора
се
появи
картина
от
вашето
видео
.
Забележка
:
Ако
желаете
да
преместите
вашия
видеоканал
на
друга
програмна
позиция
,
вж
.
раздела
"
Подреждане
на
каналите
на
телевизора
"
в
това
ръководство
за
експлоатация
.
7. Намиране на вашия видеоканал
Оглавление
- Follow steps 1-7 to install the TV and view TV programmes. Installation
- Operation
- Wykonaj czynności 1-7, aby dokonaćinstalacji telewizora i zacząć oglądać programy. Instalowanie
- Obsługa
- Instalace
- Obsluha
- Kövesse az 1-7. lépéseket a TV-készüléküzembe helyezéséhez és a TV-programokmegtekintéséhez. Üzembe helyezés
- Használat
- Използване
- Установка

