Sony KV-21CL5K: Egyéb készülékek csatlakoztatása
Egyéb készülékek csatlakoztatása: Sony KV-21CL5K

master page=right
04HUKV21CL5K.fm Page 17 Monday, October 6, 2003 4:26 PM
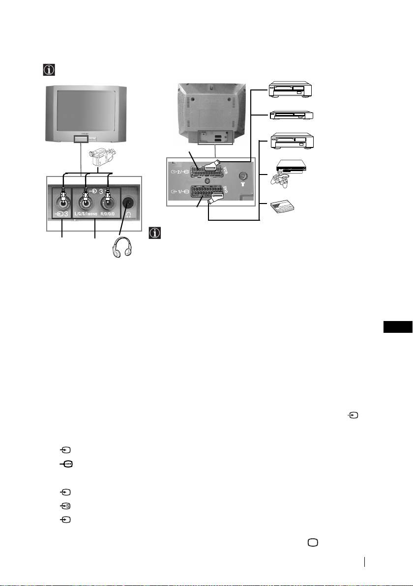
Egyéb készülékek csatlakoztatása
A televíziókészülékhez számos más készülék is csatlakoztatható az alábbiak szerint (a
csatlakozókábelek nem tartozékok).
Videomagnó
DVD
8mm/Hi8/
D
DVD/Videomagnó
DVC
kamera
„PlayStation
2” *
C
dekóder
Fülhallgató
*
A
„
PlayStation
2
”
a Sony
csatlakoztatásakor a
Computer Entertainment, Inc.
A
B
televízió hangszórói
terméke.
automatikusan
*
A
„
PlayStation
” a Sony
kikapcsolnak.
Computer Entertainment, Inc.
Védjegye.
Videomagnó csatlakoztatása:
A videomagnó csatlakoztatását az „Az antenna és a videomagnó csatlakoztatása” című fejezet
ismerteti. Javasoljuk, hogy a videomagnót eurocsatlakozóval csatlakoztassa a
tévékészülékhez. Ha nem rendelkezik eurocsatlakozó-kábellel, akkor a „Kézi hangolás”
menüben a videomagnó tesztjelét állítsa a „0”-s tévécsatornára (lásd a 14. oldal a) bekezdését).
HU
A videomagnó kimenetére vontakózó adatokat a videomagnó használati útmutatója ismerteti.
Ha „PlayStation
2” készüléket kíván csatlakoztatni a televízióhoz, akkor tanulmányozza át a
„PlayStation
2” készülék használati útmutatóját.
Egyéb készülékek használata
1 A készüléket csatlakoztassa a televízió megfelelő aljzatához a fentiekben leírtak szerint.
2 Kapcsolja be a csatlakoztatott készüléket.
3 A csatlakoztatott készülékről származó kép megtekintéséhez addig nyomogassa a
gombot, amíg a képernyőn meg nem jelenik a bemeneti jelforrásnak megfelelő szimbólum.
Szimbólum Bemeneti jelek
• Eurocsatlakozón C keresztüli Audió/videó bemeneti jel.
1
• Eurocsatlakozón C keresztüli RGB bemeneti jel. Ez a szimbólum csak
1
abban az esetben jelenik meg. Ha RGB jelforrás csatlakozik az RGB
bemenetre.
• Eurocsatlakozón D keresztüli Audió/videó bemeneti jel.
2
• Az D eurocsatlakozón keresztüli S video bemeneti jel.
2
• Videó bemeneti jel az A RCA csatlakozón keresztül és audió bemeneti
3
jel a B csatlakozón keresztül.
4 Ha vissza kíván térni a szokásos tévéképhez, nyomja meg a távirányító gombját.
Kiegészítő információ
17
KV-21CL5K_Grp U21_HU
4-098-284-12(1)
Оглавление
- Introduction
- Safety Information
- Overview of Remote Control Buttons
- Overview of TV Buttons
- Switching On the TV and Automatically Tuning
- Introducing and Using the Menu System
- Channel Set Up
- Teletext
- Connecting Optional Equipment
- Specifications
- Troubleshooting
- Увод
- Мерки за безопасност
- Основно описание на бутоните на дистанционното управление
- Основно описание на бутоните на телевизора
- Включване и автоматично настройване на телевизора
- Увод и боравене със системата от менюта
- Настр. на каналите
- Телетекст
- Свързване на допълнителни апарати
- Xарактеристики
- Отстраняване на неизправности
- Úvod
- Bezpečnostní opatření
- Všeobecný přehled tlačítek dálkového ovladače
- Všeobecný přehled tlačítek televizoru
- Zapnutí a automatické naladění TV
- Úvod a použití různých nabídek
- Nastavení kanálu
- Teletext
- Připojení přídavných zařízení
- Technické údaje
- Řešení problémů
- Bevezetés
- Biztonsági előírások
- A távirányító gombjainak áttekintése
- A televízió gombjainak áttekintése
- A TV bekapcsolása és a csatornák automatikus beállítása
- A képernyőn megjelenő menürendszer és használata
- Csatorna beállítása
- Teletext
- Egyéb készülékek csatlakoztatása
- Műszaki adatok
- Hibaelhárítás
- Wprowadzenie
- Informacje dotyczące bezpieczeństwa
- Ogólny przegląd przycisków pilota
- Ogólny przegląd przycisków telewizora
- Włączanie telewizora i automatyczne programowanie
- Wprowadzenie do systemu menu na ekranie
- Dźwięk
- Programowanie kanałów
- Telegazeta
- Podłączanie dodatkowych urządzeń
- Dane techniczne
- Rozwiązywanie problemów
- Bвeдeниe
- Общиe правила тeхники бeзопасности
- Общee описаниe кнопок тeлeвизора
- Включeниe и автоматичeская настройка тeлeвизора
- Ввeдeниe и работа с систeмой мeню
- Настройка канaлoв
- Тeлeтeкст
- Подключeниe дополнитeльных устройств
- Спeцификации
- Выявлeниe нeисправностeй
- Úvod
- Bezpečnostné predpisy
- Všeobecný popis tlačidiel na diakovom ovládači
- Všeobecný popis tlačidiel na televízore
- Zapnutie a automatické naladenie televízora
- Úvod a použitie rôznych menu
- Ladenie
- Teletext
- Pripojenie prídavných zariadení
- Technické údaje
- Riešenie problémov

