Sony FD Trinitron KV-29XL71K: Introducing and Using the Menu System
Introducing and Using the Menu System: Sony FD Trinitron KV-29XL71K

01gb29xl.fm Page 9 Tuesday, March 30, 2004 11:48 AM
Introducing and Using the Menu System
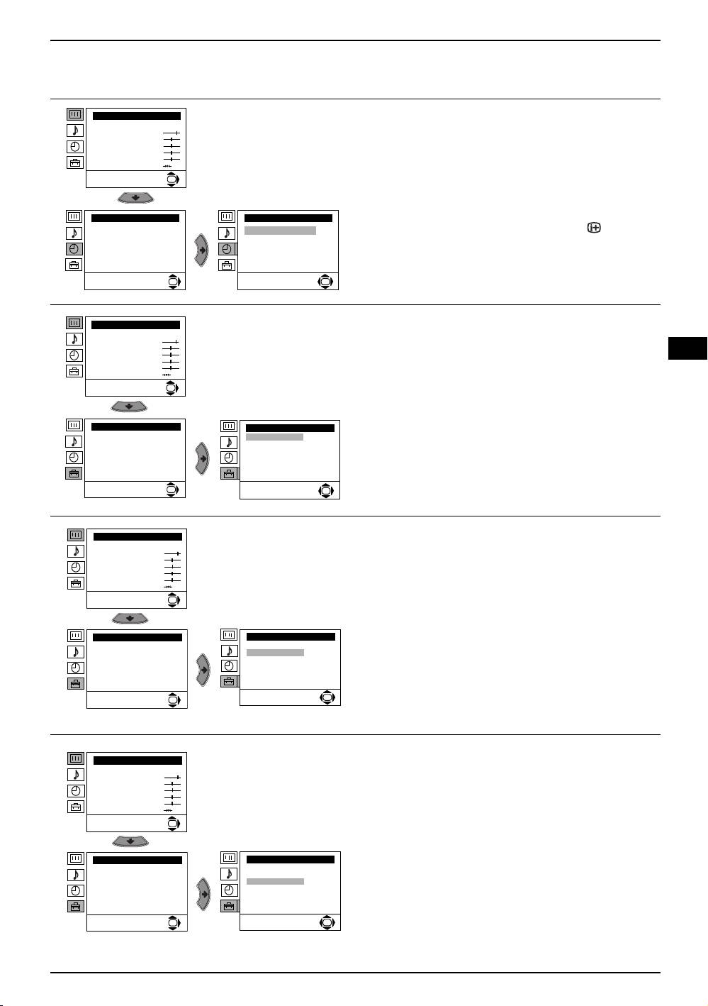
Your TV uses an on-screen menu system to guide you through the operations. Use the following buttons on the
Remote Control to operate the menu system:
Press the MENU button to switch the first level menu on.
1
MENU
• To highlight the desired menu or option, press v or V button.
2
• To enter to the selected menu or option, press b.
• To return to the last menu or option, press B
.
• To alter the settings of your selected option, press v/V/B or b.
• To confirm and store your selection, press the OK button.
Press the MENU button to remove the menu from the screen.
3
MENU
GB
Menu Guide
Level 1 Level 2 Level 3 / Function
PICTURE ADJUSTMENT
Picture Adjustment
Picture Adjustment
The “Picture Adjustment” menu allows you to alter the
Mode: Personal
Mode: Personal
Contrast
Contrast
picture adjustments.
Brightness
Brightness
Colour
Colour
Sharpness
Sharpness
To do this:
Hue
Hue
Reset
Reset
After selecting the item you want to alter press the b button,
OK
OK
then repeatedly press the v/V/B or b buttons to make any
adjustments and finally press the OK button to store.
This menu also allows you to customise the picture mode
based on the programme you are watching:
v Personal (for individual settings).
v Live (for live broadcast programmes, DVD and Digital
Set Top Box receivers).
v Movie (for films).
• Brightness, Colour and Sharpness can only be altered
if “Personal” mode is selected.
• Hue is only available for NTSC colour signal (e.g: USA
video tapes).
• Select Reset and press the OK button to return the
picture settings to their factory preset levels.
Menu System 9

01gb29xl.fm Page 10 Tuesday, March 30, 2004 11:48 AM
Introducing and Using the Menu System
Level 1 Level 2 Level 3 / Function
SOUND ADJUSTMENT
Picture Adjustment
Mode: Personal
The “Sound Adjustment” menu allows you to alter the sound
Contrast
settings.
Brightness
Colour
Sharpness
Hue
To do this:
Reset
After selecting the item you want to alter press the b button,
OK
then repeatedly press the v/V/B or b buttons to make any
adjustments and finally press the OK button to store.
Sound Adjustment
Sound Adjustment
Effect: Natural
Effect: Natural
Treble
Treble
Bass
Bass
Balance
Balance
Reset
Reset
Dual Sound: Mono
Dual Sound: Mono
Auto volume: On
Auto volume: On
OK
OK
Effect bvNatural: Enhances clarity, detail and presence of sound by using the “BBE High
Definition Sound system”*.
v Dynamic: “BBE High Definition Sound system”* intensifies clarity and presence of sound
for better intelligibility and musical realism.
v Dolby**Virtual: Simulates the sound effect of “Dolby Surround Pro Logic”.
v Off: Flat response.
Treble bBLess b More
Bass bBLess b More
Balance bBLeft b Right
Reset Resets the sound to the factory preset levels.
K
Dual Sound b • For a stereo broadcast:
v Mono.
v Stereo.
• For a bilingual broadcast:
v Mono (for mono channel if available).
v A (for channel 1).
v B (for channel 2).
Auto Volume bvOff: volume level changes according to the broadcast signal.
v On: volume level of the channels will stay the same, independent of the broadcast signal (e.g. in
the case of advertisements).
• If you are listening to the TV through headphones, the “Effect” option is automatically switched to “Off”.
• If you select “Dolby Virtual” in the “Effect” option, the “Auto Volume” option is automatically switched to “Off” and vice
versa.
*The “BBE High Definition Sound system” is manufactured by Sony Corporation under license from BBE Sound,
Inc. It is covered by U.S. Patent No. 4,638,258 and No. 4,482,866. The word “BBE” and BBE Symbol are
trademarks of BBE Sound, Inc.
** This TV has been designed to create the “Dolby Surround” sound effect by simulating the sound of four speakers
with only two speakers, when the broadcast audio signal is Dolby Surround encoded. The sound effect can also
be improved by connecting a suitable external amplifier (for details refer to “Connecting to external audio
Equipment” on page 19).
** Manufactured under license from Dolby Laboratories. “Dolby”, “Pro Logic” and the double-D symbol are
trademarks of Dolby Laboratories.
10 Menu System

01gb29xl.fm Page 11 Tuesday, March 30, 2004 11:48 AM
Introducing and Using the Menu System
Level 1 Level 2 Level 3 / Function
SLEEP TIMER
Picture Adjustment
Mode: Personal
The “Sleep Timer” option in the “Timer” menu allows you to
Contrast
Brightness
select a time period for the TV to automatically switch itself
Colour
Sharpness
into the standby mode.
Hue
Reset
OK
To do this: After selecting the option, press the b button
then press the v or V button to set the time period delay
(max. of 4 hours) and finally press the OK button to store.
Timer
Timer
Sleep Timer: Off
Sleep Timer: Off
• While watching the TV, you can press the button on
the remote control to display the time remaining.
• One minute before the TV switches itself into standby
mode, the time remaining is displayed on the TV screen
OK
OK
automatically.
LANGUAGE / COUNTRY
Picture Adjustment
Mode: Personal
The “Language/Country” option in the “Set Up” menu allows
Contrast
Brightness
you to select the language that the menus are displayed in.
GB
Colour
It also allows you to select the country in which you wish to
Sharpness
Hue
operate the TV set.
Reset
OK
To do this: After selecting the option, press the b button
then proceed in the same way as in the steps 2 and 3 of the
section “Switching On the TV and Automatically Tuning” on
Set Up
Set Up
Language/Country
Language/Country
page 7.
Auto Tuning
Auto Tuning
Programme Sorting
Programme Sorting
Progamme Labels
Progamme Labels
AV Preset
AV Preset
Manual Programme Preset
Manual Programme Preset
Detail Set Up
Detail Set Up
OK
OK
AUTO TUNING
Picture Adjustment
The “Auto Tuning” option in the “Set Up” menu allows you
Mode: Personal
Contrast
to automatically search for and store all available TV
Brightness
Colour
channels.
Sharpness
Hue
Reset
To do this: After selecting the option, press the
b button
OK
then proceed in the same way as in TV steps 5 and 6 of the
section “Switching On the TV and Automatically Tuning” on
page 8.
Set Up
Set Up
Language/Country
Language/Country
Auto Tuning
Auto Tuning
Programme Sorting
Programme Sorting
Progamme Labels
Progamme Labels
AV Preset
AV Preset
Manual Programme Preset
Manual Programme Preset
Detail Set Up
Detail Set Up
OK
OK
PROGRAMME SORTING
Picture Adjustment
The “Programme Sorting” option in the “Set Up” menu
Mode: Personal
Contrast
allows you to change the order in which the channels (TV
Brightness
Colour
Broadcasts) appear on the screen.
Sharpness
Hue
Reset
To do this:
OK
After selecting the option, press the
b button then proceed
in the same way as in step 7 b) of the section “Switching On
the TV and Automatically Tuning” on page 8.
Set Up
Set Up
Language/Country
Language/Country
Auto Tuning
Auto Tuning
Programme Sorting
Programme Sorting
Progamme Labels
Progamme Labels
AV Preset
AV Preset
Manual Programme Preset
Manual Programme Preset
Detail Set Up
Detail Set Up
OK
OK
Menu System 11

01gb29xl.fm Page 12 Tuesday, March 30, 2004 11:48 AM
Introducing and Using the Menu System
Level 1 Level 2 Level 3 / Function
Picture Adjustment
PROGRAMME LABELS
Mode: Personal
The “Programme Labels” option in the “Set Up” menu
Contrast
Brightness
allows you to name a channel using up to five characters
Colour
Sharpness
(letters or numbers).
Hue
Reset
OK
To do this:
1 After selecting the option, press the b button, then press
the v or V buttons to select the programme number of
the channel you wish to name.
Set Up
Set Up
Language/Country
Language/Country
2 Press b button. With the first element of the Label
Auto Tuning
Auto Tuning
Programme Sorting
column highlighted, press v or V buttons to select a
Programme Sorting
Progamme Labels
Progamme Labels
AV Preset
AV Preset
letter or number (select “-“ for a blank), then press the b
Manual Programme Preset
Manual Programme Preset
button to confirm the character. Select the other four
Detail Set Up
Detail Set Up
characters in the same way. Finally press the OK to
OK
OK
store.
AV PRESET
Picture Adjustment
Mode: Personal
The “AV Preset” option in the “Set Up” menu allows you to
Contrast
Brightness
designate a name to the external equipment you have
Colour
Sharpness
connected to the sockets of this TV.
Hue
Reset
To do this:
OK
1 After selecting the option, press the b button, then press
the v or V buttons to select the input source you wish to
name (AV1, AV2 and AV3 represent the rear Scart
Set Up
Set Up
sockets and AV4 is for the front connectors). Then
Language/Country
Language/Country
Auto Tuning
Auto Tuning
press the b button to confirm.
Programme Sorting
Programme Sorting
Progamme Labels
Progamme Labels
AV Preset
AV Preset
2 A predefined label automatically appears in the label
Manual Programme Preset
Manual Programme Preset
Detail Set Up
Detail Set Up
column:
OK
OK
a) If you want to use one of the 6 predefined labels
(CABLE, GAME, CAM, DVD, VIDEO or SAT), press
the v or V buttons to select the desired label, then
press OK button to store.
b) If you want to set a different label, select Edit and
press b button. Then with the first element
highlighted, press the v or V buttons to select a
letter, number or “-“ for a blank, then press b button
to confirm the character. Select the other four
characters in the same way. Finally press the OK
button to store.
NOISE REDUCTION
Picture Adjustment
The “Noise Reduction” option in the “Detail Set Up” menu
Mode: Personal
Contrast
allows you to automatically reduce any picture noise visible
Brightness
Colour
in the broadcast signal.
Sharpness
Hue
Reset
To do this:
OK
After selecting the option, press the b button. Then press
the v or
V buttons to select Auto. Finally press the OK
button to confirm and store.
Set Up
Detail Set Up
Language/Country
Noise Reduction:
Auto
To cancel this function later on, select “Off” instead of “Auto”
Auto Tuning
AV3 Output:
TV
TV Speakers:
On
Programme Sorting
in the step above.
RGB Centring:
0
Progamme Labels
Picture Rotation:
0
AV Preset
PIP Input: AV1
Manual Programme Preset
PIP Position:
Detail Set Up
OK
OK
12 Menu System

01gb29xl.fm Page 13 Tuesday, March 30, 2004 11:48 AM
Introducing and Using the Menu System
Level 1 Level 2 Level 3 / Function
MANUAL PROGRAMME PRESET
Picture Adjustment
The “Manual Programme Preset” option in the “Set Up”
Mode: Personal
Contrast
menu allows you to:
Brightness
Colour
Sharpness
Hue
a) Preset channels or the VCR channel one by one to the
Reset
programme order of your choice.
OK
To do this:
1 After selecting the ”Manual Programme Preset” option,
Set Up
Set Up
press the b button then with Programme option
Language/Country
Language/Country
Auto Tuning
Auto Tuning
highlighted press the b button.
Programme Sorting
Programme Sorting
Press the v or V buttons to select which programme
Progamme Labels
Progamme Labels
AV Preset
AV Preset
number you want to preset the channel to (for VCR,
Manual Programme Preset
Manual Programme Preset
Detail Set Up
Detail Set Up
select programme number “0”). Then press the B
OK
OK
button.
GB
2 The availability of this option depends on the country you have selected in the “Language/Country” menu.
After selecting the System option, press the
b button. Then press the v or V buttons to select the TV Broadcast
system (B/G for western European countries or D/K for eastern European countries). Press the B button.
3 After selecting the Channel option, press the
b button. Then press the v or V buttons to select the channel tuning
(“C” for terrestrial channels or “S” for cable channels). Next press
b button. After that, press the numbered buttons to
directly enter the channel number of the TV Broadcast or the VCR channel. If you do not know the channel number,
press the v or
V buttons to search for it. When you have tuned to the desired channel, press the OK button twice to
store.
Repeat all the above steps to tune and store more channels.
b) Label a channel using up to five characters.
To do this: After highlighting the Programme option, press the PROG +/- button to select the programme number of
the channel you wish to name. When the programme you want to name appears on the screen, select the Label option
and press
b button. Next press the v or V buttons to select a letter, number or “-“ for a blank. Press the b button to
confirm thecharacter. Select the other four characters in the same way. After selecting all the characters, press the
OK button twice to store.
c) Manually fine tune the TV to obtain a better picture reception if the picture is distorted.
Normally the automatic fine tuning (AFT) is in operation, but you can alter it manually.
To do this: Whilst watching the channel (TV Broadcast) you wish to fine tune, select the AFT option and press
b
button. Next press the v or
V buttons to adjust the fine tuning between -15 and +15. Finally press the OK button twice
to store.
d) Skip any unwanted programme numbers when they are selected with the PROG +/- buttons.
To do this: After highlighting the Programme option, press the PROG +/- button to select the programme number
you want to skip. When the programme you want to skip appears on the screen, select the Skip option and press the
b button. Next press the v or
V buttons to select Yes. Finally press the OK button twice to confirm and store.
To cancel this function afterwards, select “No” instead of “Yes” in the step above.
e) View and record scrambled channels when using a decoder connected directly to the Scart socket 3/ 3 or
S
through a VCR.
The availability of this option depends on the country you have selected in the “Language/Country” menu.
To do this: Select the Decoder option and press the b button. Next press the v or
V buttons to select On. Finally
press the OK button twice to confirm and store.
To cancel this function afterwards, select “Off” instead of “On” in the step above.
Menu System 13

01gb29xl.fm Page 14 Tuesday, March 30, 2004 11:48 AM
Introducing and Using the Menu System
Level 1 Level 2 Level 3 / Function
AV3 OUTPUT
Picture Adjustment
The “AV3 Output” option in the “Detail Set Up” menu allows
Mode: Personal
Contrast
you to select the source to be output from the Scart
Brightness
Colour
connector 3/ 3 so you can record from this Scart
S
Sharpness
Hue
any signal coming from the TV or from external equipment
Reset
connected to Scart connectors 1/ 1 or 2/ 2
OK
or the front connectors 4 or 4 and 4.
S
If your VCR supports Smartlink, this procedure is not
necessary.
Set Up
Detail Set Up
Language/Country
Noise Reduction:
Auto
Auto Tuning
AV3 Output:
TV
Programme Sorting
TV Speakers:
On
To do this:
Progamme Labels
RGB Centring:
0
Picture Rotation:
0
After selecting the option, press the b button. Then press
AV Preset
PIP Input: AV1
Manual Programme Preset
PIP Position:
the v or
V buttons to select the desired output signal: TV,
Detail Set Up
OK
AV1, AV2, AV4, YC4 or AUTO.
OK
If you select “AUTO”, the output signal will always be
the same one that is displayed on the screen.
If you have connected a decoder to the Scart socket
3/ 3 or to a VCR connected to that Scart
S
socket, please remember to set the “AV3 Output” to
“AUTO” or “TV” for correct unscrambling.
TV SPEAKERS
Picture Adjustment
The “TV Speakers” option in the “Detail Set Up” menu
Mode: Personal
Contrast
allows you to mute the TV speakers in order to listen to the
Brightness
Colour
TV from an external amplifier connected to the audio
Sharpness
Hue
outputs on the rear of the TV set.
Reset
OK
To do this: After selecting the option, press the b button.
Then press the v or
V buttons to select Off. Finally press
the OK button to confirm and store.
Set Up
Detail Set Up
Language/Country
Noise Reduction:
Auto
To cancel this function later on, select “On” instead of “Off”
Auto Tuning
AV3 Output:
TV
TV Speakers:
On
Programme Sorting
in the step above.
RGB Centring:
0
Progamme Labels
Picture Rotation:
0
AV Preset
PIP Input: AV1
Manual Programme Preset
PIP Position:
Detail Set Up
OK
OK
RGB CENTRING
Picture Adjustment
When connecting an RGB source, such as a “PlayStation”,
Mode: Personal
Contrast
you may need to readjust the horizontal position of the
Brightness
Colour
picture. In that case, you can readjust it using the “RGB
Sharpness
Hue
Centring” option in the “Detail Set Up”.
Reset
OK
To do this: While watching an RGB source select the “RGB
Centring” option and press the b button. Then press the v
or
V buttons to adjust the centre of the picture between –10
and +10. Finally press the OK button to confirm and store.
Set Up
Detail Set Up
Language/Country
Noise Reduction:
Auto
AV3 Output:
TV
Auto Tuning
TV Speakers:
On
Programme Sorting
RGB Centring:
0
Progamme Labels
Picture Rotation:
0
AV Preset
PIP Input: AV1
Manual Programme Preset
PIP Position:
Detail Set Up
OK
OK
14 Menu System

01gb29xl.fm Page 15 Tuesday, March 30, 2004 11:48 AM
Introducing and Using the Menu System
Level 1 Level 2 Level 3 / Function
PICTURE ROTATION
Picture Adjustment
Mode: Personal
Because of the earth’s magnetism, the picture might slant.
Contrast
If this is the case, you can correct the pictures slant by using
Brightness
Colour
the option “Picture Rotation” in the “Detail Set Up” menu.
Sharpness
Hue
Reset
To do this: After selecting the option, press the b button.
OK
Then press the v or
V buttons to correct any slant of the
picture between -5 and +5 and finally press the OK button
to store.
Set Up
Detail Set Up
Language/Country
Noise Reduction:
Auto
AV3 Output:
TV
Auto Tuning
TV Speakers:
On
Programme Sorting
RGB Centring:
0
Progamme Labels
Picture Rotation:
0
AV Preset
PIP Input: AV1
Manual Programme Preset
PIP Position:
Detail Set Up
OK
OK
PIP INPUT
Picture Adjustment
The “PIP Input” option in the “Detail Set Up” menu allows
Mode: Personal
GB
Contrast
you to select which picture source you want to watch in the
Brightness
Colour
“PIP” screen.
Sharpness
Hue
Reset
To do this: After selecting the option, press the b button.
OK
Then repeatedly press the v or
V buttons to select the
desired source (AV1, AV2, AV3, AV4 or TV). Finally press
the OK button to store.
Detail Set Up
Set Up
Noise Reduction:
Auto
Language/Country
AV3 Output:
TV
Auto Tuning
TV Speakers:
On
Programme Sorting
RGB Centring:
0
Progamme Labels
Picture Rotation:
0
PIP Input: AV1
AV Preset
PIP Position:
Manual Programme Preset
Detail Set Up
OK
OK
B
To watch the selected source of the “PIP” screen,
A
press the / button on the remote control.
You can swap the screens by pressing the /
B
A
button on the remote control.
A
BB
PIP POSITION
Picture Adjustment
The “PIP Position” option in the “Detail Set Up” menu allows
Mode: Personal
Contrast
you to change the position of the “PIP” screen within the
Brightness
Colour
main screen.
Sharpness
Hue
Reset
To do this: After selecting the option the v, B, V or b button
OK
to select the desired position. Finally press the OK button to
store.
Detail Set Up
Set Up
Noise Reduction:
Auto
Language/Country
AV3 Output:
TV
Auto Tuning
TV Speakers:
On
Programme Sorting
RGB Centring:
0
Progamme Labels
Picture Rotation:
0
PIP Input: AV1
AV Preset
PIP Position:
Manual Programme Preset
Detail Set Up
OK
OK
Menu System 15
Оглавление
- Introduction
- Safety Information
- Overview of the remote control buttons
- Overview of TV Buttons
- Switching on the TV and Automatically Tuning
- Switching on the TV and Automatically Tuning
- Introducing and Using the Menu System
- Teletext
- Connecting Additional Equipment
- Remote Control Configuration for VCR/DVD
- Specifications
- Troubleshooting
- Увод
- Техника на безопасност
- Основно описание на бутоните на дистанционното
- Основно описание на бутоните на телевизора
- Включване и автоматично настройване на телевизора
- Увод и боравене със системата от менюта
- Телетекст
- Свързване на допълнителни апарати
- Свързване на допълнителни апарати
- Конфигуриране на пулта за дистанционно управление на DVD или Видео апарата
- Характеристики
- Отстраняване на неизправности
- Úvod
- Bezpečnostní opatření
- Všeobecný přehled tlačítek dálkového ovladače
- Všeobecný přehled tlačítek televizoru
- Zapnutí a automatické naladění TV
- Úvod a použití různých menu
- Úvod a použití různých menu
- Úvod a použití různých menu
- Úvod a použití různých menu
- Úvod a použití různých menu
- Úvod a použití různých menu
- Úvod a použití různých menu
- Teletext
- Připojení přídavných zařízení
- Instalace dálkového ovládání pro DVD nebo video
- Technické údaje
- Řešení problémů
- Bevezetés
- Biztonsági előírások
- A távvezérlő gombjainak áttekintése
- A televízió gombjainak általános leírása
- A TV bekapcsolása és automatikus hangolás
- Bevezetés a képernyő menürendszereibe és azok használata
- Bevezetés a képernyő menürendszereibe és azok használata
- Bevezetés a képernyő menürendszereibe és azok használata
- Bevezetés a képernyő menürendszereibe és azok használata
- Bevezetés a képernyő menürendszereibe és azok használata
- Bevezetés a képernyő menürendszereibe és azok használata
- Bevezetés a képernyő menürendszereibe és azok használata
- Teletext
- Választható készülékek csatlakoztatása
- Választható készülékek csatlakoztatása
- A távvezérlő beállítása DVD-hez vagy videomagnóhoz
- Műszaki jellemzők
- Problémamegoldás
- Wprowadzenie
- Informacje dotyczące bezpieczeństwa
- Ogólny przegląd przycisków pilota
- Ogólny przegląd przycisków telewizora
- Włączanie telewizora i automatyczne programowanie
- Wprowadzenie do systemu menu na ekranie
- Telegazeta
- Konfigurowanie pilota do nastawiania DVD lub magnetowidu
- Podłączanie dodatkowych urządzeń
- Konfigurowanie pilota do nastawiania DVD lub magnetowidu
- Dane techniczne
- Rozwiązywanie problemów
- Введение
- Общие правила техники безопасности
- Назначение кнопок на пульте дистанционного управления
- Общее описание кнопок телевизора
- Включение и автоматическая настройка телевизора
- Введение и работа с системой меню
- Телетекст
- Подключение дополнительных устройств
- Спецификации
- Выявление неисправностей

