Sony MDX-C6500RV – страница 4
Инструкция к CD Плееру Sony MDX-C6500RV

Indicaciones de error (cuando se ha conectado una unidad de CD/MD opcional)
Las siguientes indicaciones parpadearán durante cinco segundos aproximadamente y se oirá una
alarma.
Indicación
Causa
Solución
No ha insertado el cargador de discos
Inserte el cargador en la unidad de
NO MAG
en la unidad de CD/MD.
CD/MD.
No ha insertado ningún disco en la
Inserte discos en la unidad de CD/
NO DISC
unidad de CD/MD.
MD.
No es posible reproducir un CD/MD
Inserte otro CD/MD.
NG DISCS
debido a algún problema.
Un CD está sucio o insertado al
Limpie el CD o insértelo
2
revés.*
correctamente.
1
*
ERROR
Un MD no se reproduce debido a
Inserte otro MD.
2
algún problema.*
1
No ha grabado ningún tema en el
*
Reproduzca un MD con temas
BLANK
2
MD.*
grabados.
No es posible emplear la unidad de
Pulse el botón de restauración de la
RESET
CD/MD debido a algún problema.
unidad.
La tapa de la unidad de MD está
Cierre la tapa o inserte los MD
abierta o los minidiscos no están
correctamente.
NO READY
insertados correctamente.
La temperatura ambiente es superior a
Espera hasta que la temperatura
HI TEMP
50°C.
descienda por debajo de 50°C.
1
*
Si se produce un error durante la reproducción de un MD o de un CD, el número del MD o del CD no
aparecerá en el visor.
2
*
El visor mostrará el número del disco que causa el error.
Si el problema no se soluciona con las sugerencias anteriormente enumeradas, póngase en contacto
con el proveedor Sony más próximo.
31

Välkommen !
Säkerhetsföreskrifter
Tack för att du visade oss förtroendet att välja
•Om du har parkerat bilen i direkt solljus så
Sonys MD-spelare. Med den här enheten får
att temperaturen i bilen har stigit markant,
du tillgång till ett flertal funktioner med
bör du låta MD-spelaren svalna innan du
följande tillbehör:
använder den.
•Kontrollera anslutningarna först om ingen
Tillval
ström tillförs enheten. Kontrollera säkringen
Vridkontroll RM-X4S
om allt i övrigt är i sin ordning.
Kortfjärrkontroll RM-X91
•Om bilen har en motorantenn, fälls den
automatiskt ut när enheten är påslagen.
Förutom att spela upp MD-skivor och lyssna
på radio kan du bygga ut systemet genom att
1
Om du har några frågor eller problem som rör
ansluta tillbehör som olika CD/MD-enheter*
.
MD-spelaren och som inte tas upp i
När du använder den här enheten, eller en
bruksanvisningen, tar du kontakt med din
anslutet tillbehör som t.ex. en CD-enhet som
närmaste Sony-återförsäljare.
har funktioner för CD TEXT, visas CD TEXT-
informationen i teckenfönstret när du spelar
2
Fuktbildning
upp en CD TEXT-skiva*
.
Regniga dagar, eller i fuktiga miljöer, kan det
1
*
Du kan ansluta MD-växlare, CD-växlare, MD-
hända att det bildas kondens på linserna inne i
spelare eller CD-spelare.
spelaren. Då fungerar inte enheten på rätt sätt.
2
*
CD TEXT-skivor är ljud-CD-skivor som innehåller
Ta i så fall ut skivan och vänta någon timme så
information om t.ex. skivans och/eller artistens
att fukten hinner avdunsta.
namn och namn på spåren.
Den här informationen finns inspelad på skivan.
Upprätthålla hög kvalitet på ljudet
Om du har en drickahållare i närheten av din
ljudutrustning bör du tänka på risken att spilla
t.ex. juice på enheten eller MD-skivorna. Söta
drycker och sötat kaffe är extra farligt och kan
lämna beläggningar, inte minst på linserna i
enheten, vilket kan försämra ljudkvaliteten,
eller helt stoppa uppspelning av ljud.
2

Fästa etiketter
Om MD-skivor
Var noga med att fästa etiketterna på höljet på
ett korrekt sätt. En felaktigt fästad etikett kan
Eftersom MD-skivan är innesluten i en kassett
göra så att MD-skivan fastnar i enheten.
är den skyddad från fingeravtryck, damm och
liknande. Därför tål den också en ganska
•Sätt fast etiketten i ett lämpligt läge.
hårdhänt hantering, men om smuts eller
•Ta bort gamla etiketter innan du sätter dit
damm finns på höljet till kassetten eller om
nya.
kassetten är böjd kan det orsaka fel. För bästa
•Ta bort etiketter som börjat lossna från MD-
ljudkvalitet bör du tänka på följande:
skivan.
Öppna aldrig kassettens skjutlucka och rör
aldrig på MD-skivans yta.
När du matar ut MD-skivan han det hända
att skjutluckan är öppen. I så fall bör du
genast stänga den.
Lägg inte MD-skivan på en plats där den
utsätts för direkt solsken eller nära
värmekällor som varmluftsventiler. Lämna
den inte i en bil parkerad i direkt solsken
eftersom temperaturen där kan stiga avsevärt.
Lämna den inte på instrumentbrädan eller på
hatthyllan där temperaturen också kan bli för
Rengöring
hög.
Torka bort smuts från MD-skivans hölje med
en mjuk och torr duk.
3

Innehållsförteckning
Reglagens placering ............................................. 5
Övriga funktioner
Fästa etiketten på vridkontrollen..................... 21
Komma igång
Använda vridkontrollen ................................... 22
Återställa enheten ................................................ 7
Ljudjustering....................................................... 23
Ta bort frontpanelen ............................................ 7
Snabbdämpa ljudet ............................................ 24
Slå på/stänga av enheten ................................... 8
Ändra ljud- och teckeninställningarna ........... 24
Använda menyn................................................... 8
Höja basljudet
Ställa klockan ........................................................ 8
— D-bass ........................................................ 25
MD-spelare
Ytterligare information
CD/MD-enhet (tillval)
Underhåll ............................................................ 25
Lyssna på en MD-skiva ....................................... 9
Demontera enheten............................................ 27
Spela upp spår flera gånger
Tekniska data ...................................................... 28
— Upprepad uppspelning........................... 11
Felsökning ........................................................... 29
Spela upp spår i slumpmässig ordning
— Slumpmässig uppspelning ..................... 11
Namnge en CD-skiva
— Skivminne* ............................................... 12
Hitta en CD-skiva efter namn
— Lista namn* .............................................. 13
Välja spår för uppspelning
— Bank* ......................................................... 14
* Funktioner med anslutna CD/MD-enheter
(medföljer ej).
Radio
Lagra kanaler automatiskt
— BTM-funktionen....................................... 15
Lagra endast de önskade kanalerna ................ 15
Motta de lagrade kanalerna.............................. 16
RDS
Översikt av RDS-funktionen ............................ 17
Visa kanalnamnet ............................................... 17
Ställa in samma program automatiskt
— Alternativa frekvenser (AF) ................... 17
Lyssna på trafikmeddelanden .......................... 18
Förinställa RDS-kanalerna med AF och
TA data ........................................................... 19
Söka en kanal efter programtyp....................... 20
Ställa klockan automatiskt................................ 21
4

Reglagens placering
OPEN
D
I
S
C
+
PTY
-
P
DSPL
R
S
T
+
MENU
LIST
D-BASS
TA
SOURCE
-
SEEK/AMS
AF
SOUND
ENTER
P
R
S
REP SHUF
T
-
-
D
I
S
C
–
MODE
OFF
1 2 3 4 56
MDX-C6500RX/C6500RV
/C6500R/C6400R
Mer information finns på sidorna.
1 Volymkontroll 19
qg ENTER-knapp 8, 10, 12, 13, 14, 15, 16,
18, 19, 20, 21, 24
2 MENU-knapp 8, 10, 12, 13, 14, 15, 16,
18, 19, 21, 24
qh MODE-knapp 19
Under uppspelning av CD eller MD:
3 DISC/PRST +/– (markör upp/ned)
Val av CD-/MD-enhet 9, 13
knappar
8, 10, 12, 13, 14, 15, 16, 18, 19, 20, 21, 24
Under radiomottagning:
BAND-val 15, 16
Under uppspelning av CD/MD:
Skivbyte 10, 13
qj Sensor för kortfjärrkontrollen
Under radiomottagning :
qk Sifferknappar
Val av förinställda kanaler 16
Under radiomottagning:
4
Z (utmatning) knapp (på enhetens
Välja förinställningsnummer 15, 16,
framsida bakom frontpanelen)
18, 19
9
Under CD/MD-uppspelning:
5 DSPL/PTY-knapp (ändring av
(1) REP 11
visningsläge/programtyp) 9, 10, 12, 17,
(2) SHUF 11
20
ql AF-knapp 17, 18
6 LIST-knapp 12
Lista namn 13
w; TA-knapp 18, 19
7 SOURCE-knapp (TUNER/CD/MD) (knapp
* Var försiktig när du gör installationen
för val av ljudkälla)
i en bil där tändningslåset saknar
8, 9, 10, 13, 15, 16, 19
tillbehörsläge (ACC)
8 Teckenfönster
Glöm inte att stänga av klockvisningen
när du har stängt av motorn. Du stänger
9 OPEN-knapp 7, 9, 26
av den genom att trycka på (OFF) på
q; D-BASS-knapp 25
enheten under två sekunder.
Om du bara trycker på (OFF) ett kort
qa SOUND-knapp 23
ögonblick slocknar inte klockans
qs Återställningsknapp (på enhetens
teckenfönster, vilket leder till att batteriet
framsidan bakom frontpanelen) 7
laddas ur.
qd OFF-knapp* 7, 8, 9
qf SEEK/AMS –/+ (markör vänster/höger)
knappar
8, 10, 12, 14, 16, 18, 19, 21, 23, 24
Automatisk musiksökning (AMS) 10, 14
5
Manuell sökning 10

Reglagens placering
Trådlös fjärrkontroll RM-X91 (medföljer ej)
Knapparna på fjärrkontrollen har
OPEN/CLOSE
samma funktion som motsvarande
OFF
knappar på enheten.
1 OFF-knappen
MENU LIST
DISC
2 MENU-knapp
SEEK SEEK
SOURCE
3 SOURCE-knappen
4 SEEK/AMS-knappar
SOUND
DISC
ENTER
5 SOUND-knappen
6 DSPL (DSPL/PTY)-knappen
DSPL MODE
7 ATT-knappen
VOLATT
8 LIST-knapp
9 DISC/PRST-knappar
q; ENTER-knapp
qa MODE-knappen
qs VOL-knappar
Obs!
• Om du har stängt av enheten genom att trycka på (OFF) under 2 sekunder, kan du inte längre
kontrollera den med kortfjärrkontrollen, såvida du inte först trycker på (SOURCE) på enheten eller sätter
in en skiva så att enheten aktiveras.
• Lämna inte fjärrkontrollen på en plats där den kan utsättas för direkt solljus, t.ex. på instrumentbrädan
eller på rattstången. Fjärrkontrollen kan deformeras av värme.
• Det kan hända att MiniDisc-spelaren inte fungerar ordentligt med kortfjärrkontrollen i direkt solljus.
Minska i så fall avståndet mellan fjärrkontrollen och spelarens mottagare.
6

Sätta fast frontpanelen
Sätt i hålet A på frontpanelen i spindel B på
spelaren, enligt bilden och skjut sedan in den
Komma igång
vänstra sidan.
Återställa enheten
A
Innan du använder enheten för första gången
B
eller när du har bytt bilbatteri, måste du
återställa enheten.
Ta bort frontpanelen och tryck på reset-
knappen med ett spetsigt föremål, t.ex. en
kulspetspenna.
Återställningsknapp
x
Observera
Genom att trycka på återställningsknappen
raderar du inställningarna för klockan samt vissa
funktioner som lagras i minnet.
Ta bort frontpanelen
Som stöldskydd kan enhetens frontpanel tas
bort.
Observera
• Kontrollera att frontpanelen vänds åt rätt håll så
1 Tryck på (OFF).
att du inte fäster den upp och ned.
• Tryck inte frontpanelen hårt mot enheten när du
sätter fast den.
2 Tryck på (OPEN), skjut frontpanelen till
• Tryck inte hårt eller bruka våld mot
höger och dra sedan ut frontpanelens
frontpanelens teckenfönster.
vänstra sida.
• Utsätt inte frontpanelen för direkt solsken eller
värmekällor som t.ex. varmluftsventilation.
Lämna den heller aldrig på fuktiga platser.
Lämna den aldrig på instrumentbrädan i en bil
som står parkerad i direkt solljus där
temperaturen kan stiga drastiskt.
Varningslarm
1
Om du vrider tändlåset till läget OFF utan att
2
först ta bort frontpanelen kommer
varningslarmet att höras under några
sekunder.
Observera
Om du ansluter en valfri effektförstärkare
• Lägg inte något på frontpanelens insida.
istället för att använda den inbyggda
• Var försiktig så att du inte tappar panelen när du
förstärkaren, avaktiveras ljudsignalen.
tar bort den från enheten.
• Om du tar bort panelen medan enheten är på
slås strömmen automatiskt av för att skydda
högtalarna från att ta skada.
• Om du tar med dig frontpanelen kan du förvara
den i det medföljande fodralet.
7

Slå på/stänga av enheten
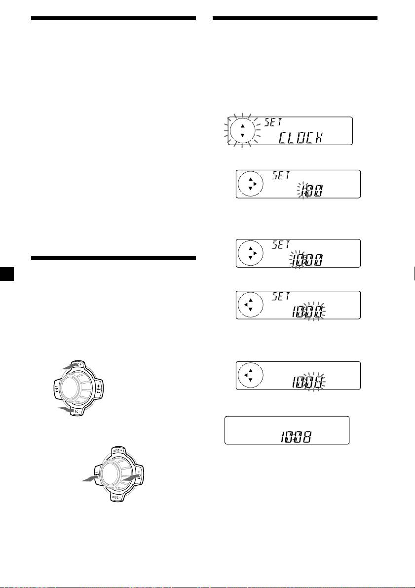
Ställa klockan
Slå på enheten
Klockan visar en 24-timmars digital
tidsangivelse.
Tryck på (SOURCE) eller sätt in en MD-skiva i
enheten.
Exempel: Ställ klockan på 10:08
Mer information om hur du använder enheten
1 Tryck på (MENU) och sedan flera gånger
finns på sidan 9 (MD/CD) och sidan 15
på någon sida av (DISC/PRST) tills
(radio).
“CLOCK” visas.
Stänga av enheten
Tryck på (OFF) när du vill stoppa MD- eller
CD-uppspelningen eller radiomottagningen
(tangentbelysningen och teckenfönstret stängs
inte av).
Tryck på (OFF) under två sekunder för att helt
1 Tryck på (ENTER).
stänga av enheten.
Obs!
Om din bils tändningslås saknar tillbehörsläge
(ACC) bör du se till att du stänger av enheten
Siffrorna för timmar blinkar.
genom att tryck på (OFF) och hålla den intryckt
under två sekunder, så undviker du att bilbatteriet
2 Ställ in timmarna genom att trycka på
laddas ur.
någon sida av (DISC/PRST).
Använda menyn
3 Tryck på (+) sidan av (SEEK/AMS).
Du kontrollerar den här enheten med hjälp av
alternativ som du väljer från en meny.
Du börjar med att växla till menyläget och gör
sedan dina val genom att flytta markören
uppåt/nedåt ((+)/(–) med (DISC/PRST)) eller
Siffrorna för minuter blinkar.
vänster/höger ((–)/(+) med (SEEK/AMS)).
4 Ställ in minuterna genom att trycka
(DISC/PRST)
på någon sida av (DISC/PRST).
(+): flytta uppåt
SOURCE
2 Tryck på (ENTER).
(–): flytta nedåt
(SEEK/AMS)
Klockan aktiveras.
(–): flytta åt
(+): flytta åt
När inställningarna för klockan är klara
SOURCE
vänster
höger
visas det normala uppspelningsläget i
teckenfönstret.
Tips!
Du kan ställa klockan automatiskt med RDS-
Obs!
funktionen (se sidan 17).
I menyläget betyder “v” till vänster i
teckenfönstret de valbara knapparna (DISC/PRST)
och (SEEK/AMS).
Obs!
När D.INFO-läget är ställt på ON visas alltid tiden
under förutsättning att M.DSPL är ställt på OFF
(sidan 24).
8

Efter det att det sista spåret på
MD-spelare
MD-skivan spelats upp
CD/MD-enhet (tillval)
Spårnumret i teckenfönstret återgår till ”1“,
varefter skivspelningen fortsätter från MD-
skivans första spår.
Förutom att spela upp MD-skivor kan du
också styra externa CD-/MD-enheter.
Funktion Tryck på
Om du ansluter en CD-enhet med CD TEXT-
Avbryta uppspelningen (OFF)
funktioner visas CD TEXT-informationen i
teckenfönstret när du spelar upp CD TEXT-
Ta ur MD-skivan (OPEN) sedan Z
skivor.
Spela en CD eller MD (med valfri
CD-/MD-enhet)
1 Tryck på (SOURCE) flera gånger för att
Lyssna på en MD-skiva
välja “CD” eller “MD”.
(endast med den här enheten)
2 Tryck på (MODE) tills önskad spelare
1 Tryck på (OPEN) och sätt i en MD-skiva.
visas.
Sidan med etiketten vänd uppåt
CD-/MD-uppspelningen börjar.
Alla skivor i den aktuella CD-/MD-enheten
Z
spelas upp från den översta.
Ändra de visade alternativen
Varje gång du trycker på (DSPL/PTY) under
uppspelning av MD-, CD- eller CD TEXT-
skivor, ändras alternativet enligt:
V
2 Stäng sedan frontpanelen.
1
Skivnummer*
/Spårnummer/
Uppspelningen startas automatiskt.
Förfluten uppspelningstid
V
Om du redan satt i en MD-skiva startar du
2
3
Skivnamn*
/Artistnamn*
uppspelningen genom att trycka på (SOURCE)
flera gånger tills “MD” visas.
V
4
Spårnamn*
MD-skivans titel* och spårets namn visas i
V
teckenfönstret, sedan visas uppspelningstiden.
FM1 Frekvens eller
MD-indikatorn
5
FM1-stationsnamn*
*
1
När en valfri CD-/MD-enhet är ansluten.
*
2
Om du inte har gett CD- eller CD TEXT-skivan ett
namn (se “Namnge en CD-skiva”, på sidan 12),
eller om det inte finns något förinspelat namn
Spårnummer Förfluten speltid
på MD-skivan, visas “DISC” och “NO NAME” i
teckenfönstret.
* Endast när titlarna finns inspelade på MD-skivan.
*
3
När du spelar upp en CD TEXT-skiva visas
artistens namn i textfönstret efter namnet på
skivan. (Gäller bara CD TEXT-skivor där
artistnamnet finns inspelat.)
*
4
Om spårnamnet på en CD TEXT-skiva eller MD-
skiva inte är förinspelat visas “TRACK” och “NO
NAME” i teckenfönstret.
*
5
När funktionen AF/TA är aktiverad.
9

Efter att du valt det önskade alternativet
Hitta ett visst spår
kommer teckenfönstret att automatiskt ändras
— AMS-funktionen
till Motion Display-läget efter några sekunder.
I det rörliga visningsläget (Motion Display)
Under uppspelning trycker du en kort
rullas alla ovan nämnda val ett efter ett fram i
stund på någon sida av (SEEK/AMS) för
teckenfönstret.
varje spår du vill hoppa över.
Obs!
Om du har angett egna etiketter har de högre
prioritet än den ursprungliga CD TEXT-
Hitta
Hitta
föregående
SOURCE
efterföljande
informationen, när sådan information visas.
spår
spår
Tips
Du kan avaktivera Motion Display-funktionen. (Se
“Ändra ljud- och teckeninställningarna” på sidan
24.)
Söka en viss del av ett spår
— Manuell sökning
Visa hela skivnamnet automatiskt
— Automatisk bläddring
Under uppspelning trycker du och håller
ned någon sida av (SEEK/AMS). Släpp
Om skiv-, artist- eller spårnamnet på en MD-
upp den när du hittat önskad punkt.
eller CD TEXT-skiva är längre än 8 tecken och
den automatiska rullningen är påslagen, rullas
informationen automatiskt i teckenfönstret
enligt följande:
• Skivnamnet visas när du har bytt skiva (om du
Söka bakåt Söka framåt
SOURCE
valt det är skivnamnet som ska visas).
• Spårnamnet visas när du har bytt spår (om du
valt att det är spårnamnet som ska visas).
• När du trycker på (SOURCE) för att välja en MD-
eller CD TEXT-skiva visas skiv- eller spårnamnet
Obs!
beroende på inställningen.
Om “
” eller “ ” visas i
teckenfönstret har du nått början eller slutet på
skivan och kan inte komma längre.
Om du trycker på (DSPL/PTY) för att ändra
visningen, rullas CD TEXT- eller MD-skivans
skiv-eller spårnamn automatiskt oavsett om
Hitta en skiva
funktionen är aktiv eller inte.
— Val av skiva
När en valfri CD-/MD-enhet är ansluten
1 Tryck på (MENU) under uppspelning.
trycker du på någon sida av
(DISC/PRST) för att välja önskad skiva.
2 Tryck flera gånger på någon sida av
Uppspelningen börjar med önskad skiva i
(DISC/PRST) tills “A.SCRL-OFF” visas.
den extra CD-/MD-enheten.
3 Tryck på (+) sidan av (SEEK/AMS) för att
välja “A.SCRL-ON”.
4 Tryck på (ENTER).
Om du vill avbryta den automatiska
rullningen väljer du “A.SCRL-OFF” i steg 3.
Observera
FFör vissa CD TEXT-skivor med extremt många
tecken kan följande inträffa:
— Alla tecken visas inte.
— Den automatiska bläddringsfunktionen
fungerar inte.
10

Spela upp spår flera
Spela upp spår i
gånger — Upprepad uppspelning
slumpmässig ordning
— Slumpmässig uppspelning
MD-skivan i huvudenheten upprepas
automatiskt igen när den nått slutet. Som
Du kan välja:
upprepad uppspelning kan du välja:
•SHUF-1 — to när du vill spela upp spåren på
•REP-1 — när du vill upprepa spåret.
aktuell skiva i slumpmässig ordning.
•REP-2 — för att upprepa en skiva i den extra
•SHUF-2 — spelar upp alla spår i den aktuella
CD-/MD-enheten.
CD-/MD-enheten i slumpvis ordning.
•SHUF-ALL — spelar upp alla spår i den extra
CD-/MD-enheten i slumpvis ordning.
Under uppspelning trycker du på (1)
(REP) flera gånger tills önskad inställning
visas i teckenfönstret.
Under uppspelning trycker du på(2)
(SHUF) flera gånger tills önskad
B REP-1 B REP-2*
inställning visas i teckenfönstret.
REP-OFF b
B SHUF-1 B SHUF-2* B SHUF-ALL*
* “REP-2” är bara tillgänglig när du ansluter en
eller fler MD-enheter, eller när du ansluter en
SHUF-OFF b
eller fler extra CD-enheter.
* “SHUF-2” och “SHUF-ALL” är bara tillgängligt
när du ansluter en eller fler extra MD-
PTY
DSPL
enheter, eller när du ansluter två eller fler
LIST
extra CD-enheter.
-
SEEK/AMS
PTY
DSPL
ENTER
LIST
REP SHUF
MODE
1 2 3 4 56
-
SEEK/AMS
ENTER
REP SHUF
Upprepad spelning startar.
MODE
1 2 3 4 56
För att växla tillbaka till normalt
uppspelningsläge väljer du “REP-OFF”.
Slumpmässig uppspelning startar.
För att växla tillbaka till normalt
uppspelningsläge väljer du “SHUF-OFF”.
11

5 Om du vill återgå till normal CD-
Namnge en CD-skiva
uppspelning trycker du på (ENTER).
— Skivminne
Tips!
(CD-spelare med funktion för eget
• Du kan radera eller ändra ett namn genom att
skivminne (CUSTOM FILE))
mata in ett “_” (understreck) för varje tecken.
• Det finns ytterligare ett sätt att starta
Du kan namnge en CD-skiva med ett
namngivningen av en CD-skiva. Tryck på (LIST)
under två sekunder i stället för att utföra steg 2
personligt namn. Du kan använda upp till 8
och 3. Du kan också slutföra operationen genom
tecken per skiva. Om du namnger en CD-
att trycka på (LIST) under två sekunder i stället
skiva, kan du söka en skiva efter namn (sidan
för att utföra steg 5.
13) och välja spår för uppspelning (sidan 14).
• Du kan namnge CD-skivor på en enhet som
saknar funktion för eget skivminne (CUSTOM
FILE), men det förutsätter att den är hopkopplad
1 Starta uppspelningen av den skiva som
med en enhet som har en sådan funktion. Med
du vill namnge.
funktionen för eget skivminne (CUSTOM FILE)
kan du lagra namnet på en skiva i CD-spelarens
minne.
2 Tryck först på (MENU) och sedan flera
gånger på någon sida av (DISC/PRST)
tills “NAME EDIT” visas.
Visa skivminne
Tryck på (DSPL/PTY) under CD eller CD
3 Tryck på (ENTER).
TEXT uppspelningen.
Namnredigeringsläge
Varje gång du trycker på (DSPL/PTY) under
Enheten spelar upp skivan medan du
CD eller CD TEXT uppspelning ändras
namnger den.
informationen i teckenfönstret på följande
sätt:
4 Mata in tecknen.
1 Tryck flera gånger på (+) sidan av
V
1
(DISC/PRST) för att välja önskat
Skivnummer*
/Spårnummer/
Förfluten uppspelningstid
tecken.
(A t B t C t ··· Z t 0 t 1 t 2 t
V
··· 9 t + t – t * t / t \ t > t <
Skivminne
t . t _ )
V
2
Spårnamn*
V
FM1 Frekvens eller
3
Om du trycker flera gånger på (–) sidan
FM1-stationsnamn*
av (DISC/PRST) visas tecknen i omvänd
ordning.
1
Om du vill göra mellanslag efter ett
*
När en extra CD-enhet är ansluten.
2
*
Om du ansluter en valfri CD- spelare med CD
tecken, väljer du “_” (understreck).
TEXT-funktionen visas CD TEXT-
informationen i teckenfönstret när du spelar
2 Tryck på (+) sidan av (SEEK/AMS) när
upp en CD TEXT-skiva.
du har hittat önskat tecken.
3
*
När funktionen AF/TA är aktiverad.
Nästa tecken blinkar.
Om du trycker på (–) sidan av
(SEEK/AMS) blinkar det föregående
tecknet.
3 Upprepa steg 1 och 2 när du anger
12
namnet.

Radera skivminne
Hitta en CD-skiva efter
1 Tryck på (SOURCE) flera gånger för att
välja “CD”.
namn — Lista namn (För en CD-enhet
med CD TEXT-funktion/funktion för eget
2 Välj CD-enhet som har funktionen för
skivminne (CUSTOM FILE) eller en MD-
eget skivminne (CUSTOM FILE) genom
enhet)
att trycka flera gånger på (MODE).
Du kan använda den här funktionen för skivor
som du har gett egna skivnamn, liksom för CD
3 Tryck först på (MENU), och sedan flera
TEXT-skivor.
gånger på någon sida av (DISC/PRST)
Du kan hitta en skiva genom
tills “NAME DEL” visas.
— ett namn du gett den: när du gett en CD-
eller MD-skiva ett namn med hjälp av
4 Tryck på (ENTER).
funktionen eget skivminne (CUSTOM
FILE) eller en MD-enhet. (Mer information
om skivnamn finns under “Namnge en CD-
5 Tryck flera gånger på valfri sida av
skiva” på sidan 12).
(DISC/PRST) för att välja det skivnamn
— CD TEXT-informationen: när du spelar upp
du vill radera.
en CD TEXT-skiva med CD TEXT-funktion.
6 Tryck på (ENTER) i två sekunder.
1 Tryck på (LIST).
Namnet raderas.
Namnet på den skivan som spelas upp
Upprepa steg 5 och 6 om så behövs.
visas i teckenfönstret.
7 Tryck på (MENU) två gånger.
Enheten återgår till normalt CD-
uppspelningsläge.
Obs!
• Om du vill radera ett skivminne spelar du en CD-
När du själv har namngett en CD TEXT-
skiva på den CD-enhet som skivminnet som du
skiva får namnet som du har angett högre
vill ta bort finns lagrad på.
prioritet än den ursprungliga CD TEXT-
• Om du tar bort information som du själv angett
informationen.
för en CD TEXT-skiva, visas i stället den
ursprungliga CD TEXT-informationen i
2 Tryck flera gånger på valfri sida av
teckenfönstret.
(DISC/PRST) tills du hittat önskad skiva.
3 Tryck på (ENTER) för att spela skivan.
Observera
• Om du använder fjärrkontrollen kommer du
tillbaka till normalt uppspelningsläge genom att
trycka på (LIST). Om du bara använder
knapparna på enheten återgår teckenfönstret till
normalläge efter ungefär fem sekunder.
• Spårnamnen kan inte visas under MD-eller CD
TEXT-skiva.
• Om det inte finns några skivor i CD/MD-enheten
visas “NO DISC” i teckenfönstret.
• För en skiva som du inte har gett ett eget
skivnamn visas “********” i teckenfönstret.
• Vissa bokstäver kan inte visas under uppspelning
av MD- eller CD TEXT-skivor.
• Om skivinformationen ännu inte har lästs in av
enheten visas “NOT READ” i teckenfönstret.
13

Spela endast vissa spår
Välja spår för uppspelning
Du kan välja:
•“BANK-ON” — för att spela upp de spår
— Bank
som är märkta med “PLAY”.
(CD-spelare med funktion för eget
•“BANK-INV” (inverterat) — för att spela upp
skivminne (CUSTOM FILE))
de spår som är märkta med “SKIP”.
Om du gett skivan ett namn kan du ställa in
enheten så att den hoppar över eller spelar upp
1 Under uppspelning trycker du först på
de spår du vill.
(MENU), och sedan flera gånger på
någon sida av (DISC/PRST) tills “BANK-
1 Börja spela upp den skiva du vill
ON” “BANK-INV” eller “BANK-OFF” visas.
namnge.
2 Tryck flera gånger på (+) sidan av
(SEEK/AMS) tills önskad inställning visas.
2 Tryck först på (MENU), och sedan flera
B BANK-ON B BANK-INV
gånger på valfri sida av(DISC/PRST) tills
“BANK SEL” visas.
BANK-OFF b
3 Tryck på (ENTER).
Bankredigeringsläge
3 Tryck på (ENTER).
Uppspelningen startar från nästföljande
spår.
4 Namnge spår
1 Tryck flera gånger på någon sida av
Om du vill återgå till normalt
(SEEK/AMS) för att välja det spår du vill
uppspelningsläge väljer du “BANK-OFF” i
namnge.
steg 2.
2 Tryck på (ENTER) flera gånger för att
välja “PLAY”eller “SKIP”.
5 Upprepa steg 4 för att ställa “PLAY” eller
“SKIP” för alla spår.
6 Tryck på (MENU) två gånger.
Enheten återgår till normalt CD-
uppspelningsläge.
Observera
• Du kan välja läget “PLAY” eller “SKIP” för upp
till 24 spår.
• Du kan inte välja “SKIP” för alla spår på en CD-
skiva.
14

Lagra endast de önskade
Radio
kanalerna
Du kan förinställa upp till 18 FM-stationer (6
för vardera FM1, FM2 och FM3), upp till 6
MW-stationer och 6 LW-stationer i den
Lagra kanaler automatiskt
ordning som du själv vill ha dem.
— BTM-funktionen
Enheten väljer ut kanalerna med de starkaste
1 Tryck på (SOURCE) flera gånger för att
signalerna och lagrar dem efter frekvens. Du
välja kanalväljaren.
kan lagra upp till 6 stationer på vardera bandet
(FM1, FM2, FM3, MW och LW).
2 Tryck på (MODE) flera gånger för att
välja band.
Varning
För att undvika olyckor bör du använda BTM-
3 Tryck på någon sida(SEEK/AMS) för att
funktionen om du tar in en kanal under
ställa in den kanal som du vill lagra på
körning.
sifferknappen.
1 Tryck på (SOURCE) flera gånger för att
4 Tryck på önskad sifferknapp ((1) till (6))
välja kanalväljaren.
under två sekunder tills “MEM” visas.
Varje gång du trycker på (SOURCE) växlas
Snabbvalsknappens nummer visas i
källorna på följande sätt:
teckenfönstret.
B Tuner B CD* B MD
Observera
* Om den motsvarande extrautrustningen inte
Om du försöker lagra en annan kanal på samma
är ansluten visas inte alternativet.
förinställda nummerknapp raderas den tidigare
lagrade kanalen.
2 Tryck på (MODE) flera gånger för att
välja band.
Varje gång du trycker på (MODE) växlas
banden på följande sätt:
B FM1 B FM2 B FM3
LW b MW b
3 Tryck på (MENU), tryck sedan flera
gånger på någon sida av (DISC/PRST)
tills “BTM” visas.
4 Tryck på (ENTER).
Kanalerna lagras i enheten efter frekvens på
sifferknapparna.
En ljudsignal hörs när inställningen lagras.
Observera
• Enheten lagrar inte kanaler med svaga signaler.
Om endast ett fåtal kanaler kan tas emot
behåller vissa nummerknappar sina forna
inställningen.
• När ett nummer visas i teckenfönstret lagras
kanalerna från och med detta nummer.
• Om en MD-skiva inte finns i enheten visas endast
radiobandet även om du trycker på (SOURCE).
15

Om FM stereo-mottagningen är
Motta de lagrade
dålig
— Enkanaligt läge
kanalerna
1 Under radiomottagning trycker du på
(MENU), och sedan flera gånger på
1 Tryck på (SOURCE) flera gånger för att
någon sida av (DISC/PRST) tills “MONO-
välja kanalväljaren.
OFF” visas.
2 Tryck på (MODE) flera gånger för att
2 Tryck på (+) sidan av (SEEK/AMS) tills
välja band.
“MONO-ON” visas.
Ljudet förbättras i och med att det blir
3 Tryck på sifferknappen ((1) till (6)) där
enkanaligt (“ST”-indikeringen försvinner).
den önskade kanalen lagrats.
Tips!
3 Tryck på (ENTER).
Tryck på någon sida av (DISC/PRST) för att välja
kanal i den ordning som de är lagrade i minnet
Om du vill återgå till normalläget väljer du
(Preset Search Function).
“MONO-OFF” i steg 2.
Om du inte kan ställa in en
förinställd kanal
Tryck på någon sida av (SEEK/AMS) för
att söka efter kanalen (automatisk
inställning).
Sökningen stannar när enheten tar emot en
kanal. Tryck på någon sida av
(SEEK/AMS) flera gånger tills du får in
önskad kanal.
Obs!
Om du tycker att den automatiska sökningen
stannar upp alltför ofta, trycker du på först
på(MENU) och sedan flera gånger på någon sida
av (DISC/PRST) tills “LOCAL” (lokalt sökläge) visas.
Tryck sedan på (+) sidan av (SEEK/AMS) för att
välja “LOCAL-ON” och därefter på (ENTER).
Sökningen stannar nu upp bara för stationer med
relativt stark signal.
Tips!
• När du väljer inställningen “LOCAL-ON” visas
“L.SEEK” medan enheten söker efter en kanal.
• Om du vet frekvensen för den kanal du vill lyssna
på trycker du ned någon sida av (SEEK/AMS) och
håller den nedtryckt tills önskad frekvens visas
(manuell inställning).
16

Tips!
Du kan avaktivera Motion Display-funktionen. (Se
“Ändra ljud- och teckeninställningarna” på sidan
RDS
24.)
Observera
“NO NAME” visas om den mottagna kanalen inte
sänder RDS-data.
Översikt av RDS-
funktionen
RDS (Radio Data System) är en radiotjänst som
Ställa in samma program
gör att FM-kanalerna kan sända ytterligare
automatiskt
digital information tillsammans med den
vanliga radioprogramsignalen. Bilstereon
— Alternativa frekvenser (AF)
erbjuder dig en mängd olika tjänster. Här är
AF-funktionen väljer automatiskt och ställer in
några: söka efter samma program automatiskt,
den station som har den starkaste signalen i
lyssna på trafikmeddelanden och hitta kanal
nätverket. Om du använder den här
efter programtyp.
funktionen kan du lyssna på samma program
Observera
under en långkörning utan att behöva ställa in
• Landet eller regionen avgör vilka RDS-funktioner
kanalen manuellt igen.
som finns tillgängliga.
• RDS fungerar inte ordentligt om signalen är för
Frekvenserna ändras automatiskt.
svag eller om den inställda kanalen inte överför
RDS-data.
98,5MHz
96,0MHz
Visa kanalnamnet
Kanal
Den aktuella kanalens namn tänds i
teckenfönstret.
102,5MHz
Välj en FM-kanal (sidan 16).
När du ställer in en FM-kanal som överför
1 Välj en FM-kanal (sidan 16).
RDS-data tänds kanalnamnet i
teckenfönstret.
2 Tryck på (AF) upprepade gånger tills
“AF-ON” tänds i teckenfönstret.
Enheten börjar söka efter en alternativ
kanal med en starkare signal i samma
nätverk.
Observera
Beteckningen “*” innebär att en RDS-kanal
mottas.
Ändra de visade alternativen
Varje gång du trycker på (DSPL/PTY) ändras
visningen på följande sätt:
Kanalnamn (Frekvens) y PTY-information
När du har valt önskat alternativ visar
spelaren efter några sekunder automatiskt det
rörliga teckenfönstret (Motion Display).
I det rörliga teckenfönstret rullas de olika
alternativen förbi, ett efter ett i tur och
ordning.
17

Observera
Funktionen lokal länk
• När det inte finns någon alternativ kanal i
området och du inte vill söka efter en alternativ
(endast Storbritannien)
kanal, stänger du av AF-funktionen genom att
Med funktionen lokal länk kan du välja andra
trycka på (AF) upprepade gånger tills “AF-OFF”
lokala stationer i området, även om de inte
tänds.
finns lagrade på nummerknapparna.
• När “NO AF” och namnet på kanalen blinkar
omväxlande betyder det att enheten inte kan
hitta en alternativ kanal i nätverket.
1 Tryck på en förinställd nummerknapp
• Om kanalnamnet börjar blinka när du har valt en
där en lokal kanal har lagrats.
kanal med AF-funktionen aktiverad, betyder det
att inga alternativa frekvenser finns tillgängliga.
Tryck på någon sida av (SEEK/AMS) medan
2 Inom fem sekunder trycker du på den
kanalens namn blinkar (inom åtta sekunder).
förinställda nummerknappen för den
Enheten börjar söka efter en annan frekvens
lokala kanalen igen.
med samma PI-information (Programme
Identification) (“PI SEEK” visas och inget ljud
hörs). Om enheten inte kan hitta en annan
3 Upprepa detta tills den önskade lokala
frekvens visas “NO PI” och den återgår till den
kanalen mottas.
tidigare valda frekvensen.
Lyssna på ett regionalt program
Funktionen “REG-ON” (regional on) på
enheten gör att du kan bibehålla inställningen
Lyssna på
till ett regionalt program utan att kopplas om
till en annan regional kanal. (Observera att du
trafikmeddelanden
måste sätta på AF-funktionen.) Enheten är
Funktionerna TA (Traffic Announcement,
fabriksinställd på “REG-ON” men om du vill
trafikmeddelanden) och TP (Traffic
stänga av funktionen gör du något av följande.
Programme, trafikprogram) gör att du
automatiskt kan ställa in en FM-kanal som
1 Under radiomottagning trycker du på
sänder trafikmeddelanden, även om du för
(MENU) och sedan flera gånger på någon
tillfället lyssnar på en helt annan
sida av (DISC/PRST) tills “REG” visas.
programkälla.
2 Tryck på (+) sidan av (SEEK/AMS) tills
Tryck på (TA) flera gånger tills “TA-ON”
“REG-OFF” visas.
visas.
Enheten börjar söka efter
trafikinformationskanaler. “TP” tänds i
3 Tryck på (ENTER).
teckenfönstret när enheten hittar en kanal
Observera att om du trycker på “REG-OFF”
som sänder trafikmeddelanden.
kanske enheten kopplas om till en annan
När trafikmeddelandet startas, börjar “TA”
regional kanal inom samma nätverk.
blinka. När trafikmeddelandet är klart
upphör blinkningen.
Du återgår till regionalläget genom att välja
“REG-ON” i steg 2.
Tips!
Om trafikmeddelandet startar när du lyssnar på en
Observera
annan programkälla, kopplas enheten automatiskt
Den här funktionen fungerar inte i Storbritannien
till meddelandet och återgår till originalkällan när
och i några andra områden.
meddelandet är klart.
18

Observera
• “NO TP” blinkar i fem sekunder om den
Förinställa RDS-kanalerna
mottagna kanalen inte sänder
trafikmeddelanden. Sedan börjar enheten på
med AF och TA data
nytt att söka efter en kanal som sänder
trafikmeddelanden.
• När indikeringen “EON” visas med “TP” i
När du förinställer RDS-kanalerna, lagrar
teckenfönstret, sänder den aktuella kanalen
enheten alla uppgifter om kanalen samt
trafikmeddelanden från andra kanaler i samma
frekvensen så att du inte behöver sätta på AF
nätverk.
och TA-funktionerna varje gång du ställer in
en förinställd kanal. Du kan välja olika
inställningar (AF, TA eller båda två) för olika
Avbryta pågående
förinställda kanaler, eller samma inställning
trafikmeddelanden
för alla förinställda kanaler.
Tryck på (TA), (SOURCE) eller (MODE).
Om du vill avbryta alla trafikmeddelanden
Förinställa samma inställning för
stänger du av funktionen genom att trycka
alla förinställda kanaler.
på (TA) tills “TA-OFF” tänds.
1 Välja ett FM-band (sidan 15).
Förinställa volymen på
2 Tryck på (AF) och/eller (TA) för att välja
trafikmeddelandena
“AF-ON” och/eller “TA-ON”.
Du kan förinställa volymnivån på
Tänk på att när du väljer “AF-OFF” eller
trafikmeddelandena i förväg så att du inte
“TA-OFF” lagras inte bara RDS-kanaler
missar meddelandet. När trafikmeddelandet
utan också kanaler som inte är av typen
startar, justeras volymen automatiskt till den
RDS.
förinställda nivån.
3 Tryck först på (MENU) och sedan flera
1 Ställ in önskad ljudvolym genom att
gånger på någon sida av (DISC/PRST)
vrida på volymkontrollen.
tills “BTM” visas.
2 Tryck på (TA) under två sekunder.
4 Tryck på (+) sidan av (SEEK/AMS) tills
“TA” visas när inställningen lagras.
“BTM” blinkar.
Motta viktigt meddelande
5 Tryck på (ENTER).
Om du lyssnar på radio och ett angeläget
meddelande sänds, växlar mottagningen
Förinställa olika inställningar för
automatiskt över till meddelandet. Om du
varje förinställda kanaler
lyssnar på en annan programkälla kommer du
att få höra meddelandet om du har ställt AF
1 Välj ett FM-band och ställ in önskad
eller TA på ON. Enheten kommer då att
kanal (sidan 16).
automatiskt växla över till sådana
meddelanden oavsett vilken programkälla du
för tillfället lyssnar på.
2 Tryck på (AF) och/eller (TA) för att välja
“AF-ON” och/eller “TA-ON”.
3 Tryck på önskad snabbvalsknapp tills
“MEM” visas.
Upprepa från steg 1 när du vill förinställa
andra kanaler.
19

1 Tryck på (DSPL/PTY) under FM-
Söka en kanal efter
mottagningen tills “PTY” visas i
teckenfönstret.
programtyp
Du kan söka efter valfri kanal genom att välja
en av de programtyper som visas nedan.
Det aktuella namnet på programtypen visas
Programtyper Teckenfönster
om kanalen överför PTY-data. “- - - - -”
Nyheter NEWS
visas om den mottagna kanalen inte är en
Aktuella händelser AFFAIRS
RDS-kanal eller om RDS-data inte har tagits
emot.
Information INFO
Sport SPORT
2 Tryck på (DISC/PRST) flera gånger tills
Utbildning EDUCATE
den önskade programtypen visas.
Drama DRAMA
Programtyperna visas i den ordning som
Kultur CULTURE
anges i tabellen. Observera att du inte kan
välja “NONE” (Inte angiven) vid sökning.
Vetenskap SCIENCE
Diverse VARIED
Popmusik POP M
Rockmusik ROCK M
Lättlyssnat EASY M
3 Tryck på (ENTER).
Lättare klassiskt LIGHT M
Enheten börjar söka efter en kanal för den
Klassiskt CLASSICS
valda programtypen.
Andra musiktyper OTHER M
Väder WEATHER
Finansinformation FINANCE
Barnprogram CHILDREN
Samhällsinformation SOCIAL A
Religion RELIGION
Ring in PHONE IN
Resor TRAVEL
Nöjen LEISURE
Jazzmusik JAZZ
Country-musik COUNTRY
Nationell musik NATION M
Gamla godingar OLDIES
Folkmusik FOLK M
Dokumentärer DOCUMENT
Inte angiven NONE
Observera
Du kan inte använda den här funktionen i vissa
länder där PTY-data inte är tillgängliga.
20

