Sony FD Trinitron KV-29CL10K: Introducing and Using the Menu System
Introducing and Using the Menu System: Sony FD Trinitron KV-29CL10K

01GBKV29CL10K.fm Page 10 Tuesday, March 11, 2003 5:50 PM
Introducing and Using the Menu System
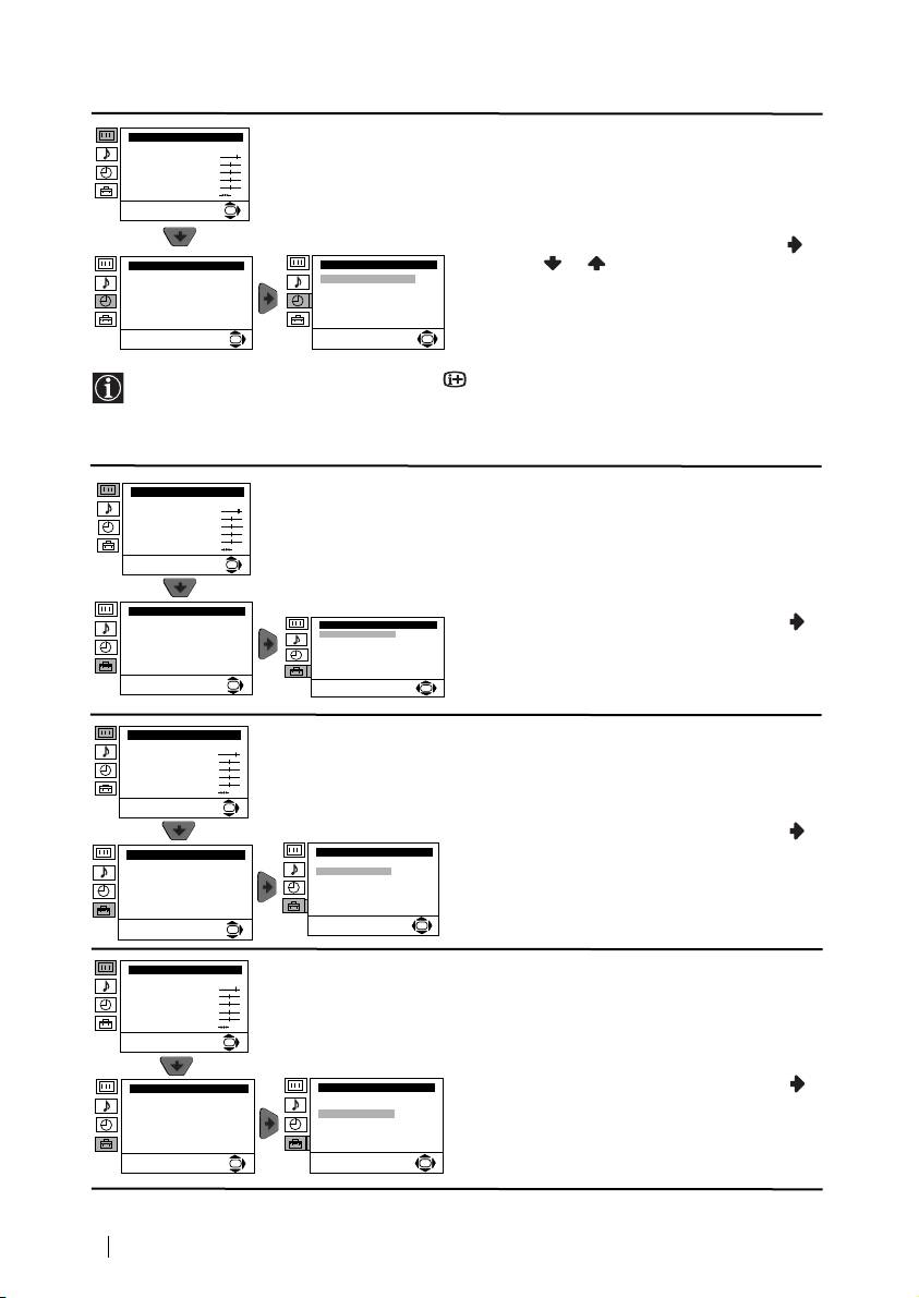
Your TV uses an on-screen menu system to guide you through the operations. Use the
following buttons on the Remote Control to operate the menu system:
1 Press the MENU button to switch the first level menu on.
MENU
2 • To highlight the desired menu or option, press or .
• To enter to the selected menu or option, press .
• To return to the last menu or option, press .
• To alter settings of your selected option, press // or .
• To confirm and store your selection, press OK.
3 Press the MENU button to remove the menu from the screen.
MENU
Menu Guide
Level 1 Level 2 Level 3 / Function
Picture Adjustment
Picture Adjustment
PICTURE ADJUSTMENT
Mode: Personal
Mode: Personal
The “Picture Adjustment” menu allows you to
Contrast
Contrast
Brightness
Brightness
Colour
Colour
alter the picture adjustments.
Sharpness
Sharpness
Hue
Hue
Reset
Reset
OK
OK
To do this: after selecting the item you want to
alter press , then press / / or
repeatedly to adjust it and finally press OK to
store the new adjustment.
• This menu also allows you to customise the picture mode based on the programme you are watching:
Mode Personal (for individual settings).
Live (for live broadcast programmes, DVD and Digital Set Top Box receivers).
Movie (for films).
• Brightness, Colour and Sharpness can only be altered if “Personal” mode is selected.
• Hue is only available for NTSC colour signal (e.g: USA video tapes).
• Select Reset and press OK to reset the picture to the factory preset levels.
continued...
10
Menu System

01GBKV29CL10K.fm Page 11 Tuesday, March 11, 2003 5:50 PM
Level 1 Level 2 Level 3 / Function
Picture Adjustment
SOUND ADJUSTMENT
Mode: Personal
Contrast
The “Sound Adjustment” menu allows you to
Brightness
Colour
Sharpness
alter the sound adjustments.
Hue
Reset
OK
To do this: after selecting the item you want to
alter, press , then press / / or
repeatedly to adjust it and finally press OK to
Sound Adjustment
Sound Adjustment
Mode: Personal
Mode: Personal
store the new adjustment.
Treble
Treble
Bass
Bass
Balance
Balance
Reset
Reset
Dual Sound: Mono
Dual Sound: Mono
Detail Adjustment
Detail Adjustment
OK
OK
This menu also contains two submenus as following:
Mode Personal (for individual settings)
Rock
Pop
Jazz
Detail Adjustment
Sound Effect: Off: Normal.
Spatial: Acoustic sound effect.
GB
Auto volume: Off: Volume level changes according
to the broadcast signal.
On: Volume level of the channels will
stay the same, independent of the
broadcast signal (e.g. in the case
of advertisements).
TV Speakers: Off: Sound from external amplifier
connected to the audio outputs
on the rear of the TV set.
On: Sound from the TV set.
• Treble and Bass can only be altered if “Personal” mode is selected.
• Select Reset and press OK to reset the sound to the factory preset levels.
• In case of a bilingual broadcast select Dual Sound and set A for sound channel 1, B for sound
channel 2 or Mono for mono channel if available. For a stereo broadcast you can choose Stereo or
Mono.
continued...
Menu System
11

01GBKV29CL10K.fm Page 12 Tuesday, March 11, 2003 5:50 PM
Level 1 Level 2 Level 3 / Function
Picture Adjustment
SLEEP TIMER
Mode: Personal
Contrast
The “Sleep Timer” option in the “Timer” menu
Brightness
Colour
Sharpness
allows you to select a time period for the TV to
Hue
Reset
switch itself automatically into the standby
OK
mode.
To do this: after selecting the option press ,
Timer
Timer
then press or to set the time period delay
Sleep Timer: Off
Sleep Timer: Off
(max. of 4 hours) and finally press OK to store.
OK
OK
•While watching the TV, you can press the button on the remote control to display the time
remaining.
•One minute before the TV switches itself into standby mode, the time remaining is displayed on
the TV screen automatically.
Picture Adjustment
LANGUAGE / COUNTRY
Mode: Personal
Contrast
The “Language/Country” option in the “Set
Brightness
Colour
Sharpness
Up” menu allows you to select the language
Hue
Reset
that the menus are displayed in. It also allows
OK
you to select the country in which you wish to
operate the TV set.
Set Up
Language/Country
Set Up
To do this: after selecting the option, press
Auto Tuning
Language/Country
Programme Sorting
Auto Tuning
Progamme Labels
and then proceed in the same way as in the
Programme Sorting
AV Preset
Progamme Labels
Manual Programme Preset
AV Preset
steps 2 and 3 of the section “Switching On the
Detail Set Up
Manual Programme Preset
Detail Set Up
OK
TV and Automatically Tuning”.
OK
Picture Adjustment
AUTO TUNING
Mode: Personal
Contrast
Brightness
The “Auto Tuning” option in the “Set Up”
Colour
Sharpness
Hue
menu allows you to automatically search for
Reset
and store all available TV channels.
OK
To do this: after selecting the option, press
Set Up
Set Up
and then proceed in the same way as in TV
Language/Country
Language/Country
Auto Tuning
Auto Tuning
steps 5 and 6 of the section “Switching On the
Programme Sorting
Programme Sorting
Progamme Labels
Progamme Labels
AV Preset
TV and Automatically Tuning” on page 8.
AV Preset
Manual Programme Preset
Manual Programme Preset
Detail Set Up
Detail Set Up
OK
OK
Picture Adjustment
PROGRAMME SORTING
Mode: Personal
Contrast
Brightness
The “Programme Sorting” option in the “Set
Colour
Sharpness
Hue
Up” menu allows you to change the order in
Reset
which the channels (TV Broadcast) appear on
OK
the screen.
Set Up
Set Up
To do this: after selecting the option, press
Language/Country
Language/Country
Auto Tuning
Auto Tuning
and then proceed in the same way as in step 7
Programme Sorting
Programme Sorting
Progamme Labels
Progamme Labels
b) of the section “Switching On the TV and
AV Preset
AV Preset
Manual Programme Preset
Manual Programme Preset
Automatically Tuning” on page 8.
Detail Set Up
Detail Set Up
OK
OK
continued...
12
Menu System

01GBKV29CL10K.fm Page 13 Tuesday, March 11, 2003 5:50 PM
Level 1 Level 2 Level 3 / Function
Picture Adjustment
PROGRAMME LABELS
Mode: Personal
Contrast
The “Programme Labels” option in the “Set
Brightness
Colour
Sharpness
Up” menu allows you to name a channel using
Hue
Reset
up to five characters (letters or numbers).
OK
To do this:
1 After selecting the option, press , then press
Set Up
Set Up
Language/Country
or to select the programme number
Language/Country
Auto Tuning
Auto Tuning
Programme Sorting
Programme Sorting
with the channel you wish to name.
Progamme Labels
Progamme Labels
AV Preset
AV Preset
Manual Programme Preset
Manual Programme Preset
2 Press . With the first element of the Label
Detail Set Up
Detail Set Up
OK
column highlighted, press or to select
OK
a letter or number (select “-“ for a blank), then
press to confirm this character. Select the
other four characters in the same way. Finally
press OK to store.
Picture Adjustment
AV PRESET
Mode: Personal
Contrast
The “AV Preset” option in the “Set Up” menu
Brightness
Colour
Sharpness
allows you to designate a name to the external
Hue
Reset
equipment you have connected to the sockets of
OK
this TV.
GB
To do this:
Set Up
Set Up
Language/Country
Language/Country
1 After selecting the option, press , then
Auto Tuning
Auto Tuning
Programme Sorting
Programme Sorting
press or to select the input source you
Progamme Labels
Progamme Labels
AV Preset
AV Preset
Manual Programme Preset
Manual Programme Preset
wish to name (AV1 and AV2 are for the rear
Detail Set Up
Detail Set Up
Scarts and AV3 for front connectors). Then
OK
OK
press .
2 In the label column automatically appears a
label:
a) If you want to use one of the 6 predefined
label (CABLE, GAME, CAM, DVD,
VIDEO or SAT), press or to select
the desired label and finally press OK to
store.
b) If you want to set a different label, select
Edit and press . Then with the first
element highlighted, press
or to
select a letter, number or “-“ for a blank,
then press to confirm this character.
Select the other four characters in the same
way and finally press OK to store.
continued...
Menu System
13

01GBKV29CL10K.fm Page 14 Tuesday, March 11, 2003 5:50 PM
Level 1 Level 2 Level 3 / Function
MANUAL PROGRAMME PRESET
Picture Adjustment
Mode: Personal
Contrast
The “Manual Programme Preset” option in the
Brightness
Colour
“Set Up” menu allows you to:
Sharpness
Hue
Reset
OK
Set Up
Set Up
Language/Country
Language/Country
Auto Tuning
Auto Tuning
Programme Sorting
Programme Sorting
Progamme Labels
Progamme Labels
AV Preset
AV Preset
Manual Programme Preset
Manual Programme Preset
Detail Set Up
Detail Set Up
OK
OK
a) Preset channels or a video input source one by one to the programme order of your choice.
To do this:
1 After selecting the ”Manual Programme Preset” option, press then with Programme
option highlighted press . Press or to select on which programme number you
want to preset the channel (for VCR, select programme number “0”). Then press .
2 The following option is only available depending on the country you have selected
in the “Language/Country” menu.
After selecting the System option, press . Then press or to select the TV
Broadcast system (B/G for western European countries or D/K for eastern European
countries). Then press .
3 After selecting the Channel option, press . Then press or to select the channel
tuning (“C” for terrestrial channels or “S” for cable channels). Next press . After that,
press the number buttons to enter directly the channel number of the TV Broadcast or the
channel of the VCR signal. If you do not know the channel number, press or to
search for it. When you have tuned the desired channel, press OK twice to store.
Repeat all the above steps to tune and store more channels.
b) Label a channel using up to five characters.
To do this: Highlighting the Programme option, press the PROGR +/- button to select the
programme number with the channel you wish to name. When the programme you want to
name appears on the screen, select the Label option and press . Next press or to
select a letter, number or “-“ for a blank. Press to confirm this character. Select the other
four characters in the same way. After selecting all the characters, press OK twice to store.
c) Normally the automatic fine tuning (AFT) is operating, however you can manually fine tune
the TV to obtain a better picture reception in the case that the picture is distorted.
To do this: while watching the channel (TV Broadcast) you wish to fine tune, select the AFT
option and press . Next press or to adjust the fine tuning between -15 and +15.
Finally press OK twice to store.
d) Skip any unwanted programme numbers when they are selected with the PROGR +/-
buttons.
To do this: Highlighting the Programme option, press the PROGR +/- button to select the
programme number you want to skip. When the programme you want to skip appears on
the screen, select the Skip option and press . Next press or to select Yes. Finally
press OK twice to confirm and store.
To cancel this function afterwards, select “No” instead of “Yes” in the step above.
e) View and record correctly scrambled channels when using a decoder connected directly to
the Scart :2/ or through a VCR.
S
This option is only available depending on the country you have selected in the “Language/
Country” menu.
To do this: select the Decoder option and press . Next press or to select On. Finally
press OK twice to confirm and store.
To cancel this function afterwards, select “Off” instead of “On” in the step above.
14
continued...
Menu System

01GBKV29CL10K.fm Page 15 Tuesday, March 11, 2003 5:50 PM
Level 1 Level 2 Level 3 / Function
Picture Adjustment
NOISE REDUCTION
Mode: Personal
Contrast
The “Noise Reduction” option in the “Detail Set
Brightness
Colour
Up” menu allows you to automatically reduce
Sharpness
Hue
Reset
the picture noise visible in the broasdcast
OK
signal.
Set Up
Detail Set Up
To do this: after selecting the option, press .
Language/Country
Noise Reduction:
Auto
Auto Tuning
AV2 Output:
TV
Then press or to select Auto. Finally
Programme Sorting
RGB Centring:
0
Picture Rotation:
0
Progamme Labels
press OK to confirm and store.
AV Preset
Manual Programme Preset
Detail Set Up
OK
To cancel this function afterwards, select “Off”
OK
instead of “Auto” in the step above.
AV2 OUTPUT
Picture Adjustment
Mode: Personal
The “AV2 Output” option in the “Detail Set
Contrast
Brightness
Colour
Up” menu allows you to select the source to be
Sharpness
Hue
Reset
output from the Scart connector :2/q in
OK
order you can record from this Scart any signal
coming from the TV or from external
Set Up
Detail Set Up
equipment connected to the Scart connector
Language/Country
Noise Reduction:
Auto
Auto Tuning
AV2 Output:
TV
:1/ or front connectors 3 and 3.
RGB Centring:
0
GB
Programme Sorting
Progamme Labels
Picture Rotation:
0
AV Preset
Manual Programme Preset
Detail Set Up
If your VCR supports SmartLink, this
OK
OK
procedure is not necessary.
To do this: after selecting the option, press .
Then press or to select the desired
output signal: TV, AV1, AV3 or AUTO.
If you select “AUTO”, the output signal
will always be the same one that is
displayed on the screen.
If you have connected a decoder to the
Scart
:2/q or to a VCR connected to
this Scart, please remember to change back
the “AV2 Output” to “AUTO” or “TV” for
correct unscrambling.
continued...
Menu System
15

01GBKV29CL10K.fm Page 16 Tuesday, March 11, 2003 5:50 PM
Level 1 Level 2 Level 3 / Function
RGB CENTRING
Picture Adjustment
Mode: Personal
When connecting an RGB source, such as a
Contrast
Brightness
Colour
“PlayStation”, you may need to readjust the
Sharpness
Hue
Reset
horizontal position of the picture. In that case,
OK
you can readjust it through the “RGB Centring”
option in the “Detail Set Up”.
Set Up
Detail Set Up
Language/Country
Noise Reduction:
Auto
To do this: while watching an RGB source select
Auto Tuning
AV2 Output:
TV
Programme Sorting
RGB Centring:
0
Progamme Labels
Picture Rotation:
0
the “RGB Centring” option and press . Then
AV Preset
Manual Programme Preset
press or to adjust the centre of the
Detail Set Up
OK
OK
picture between –10 and +10. Finally press OK
to confirm and store.
PICTURE ROTATION
Picture Adjustment
Mode: Personal
Because of the earth’s magnetism, the picture
Contrast
Brightness
Colour
may slant. In this case, you can correct the
Sharpness
Hue
Reset
picture slant by using the option “Picture
OK
Rotation” in the “Detail Set Up” menu.
To do this: after selecting the option, press .
Set Up
Detail Set Up
Language/Country
Noise Reduction:
Auto
Auto Tuning
AV2 Output:
TV
Then press or to correct any slant of the
Programme Sorting
RGB Centring:
0
Progamme Labels
Picture Rotation:
0
picture between -5 and +5 and finally press OK
AV Preset
Manual Programme Preset
Detail Set Up
to store.
OK
OK
16
Menu System
Оглавление
- Introduction
- Safety Information
- Overview of Remote Control Buttons
- Overview of TV Buttons
- Connecting the Aerial and VCR
- Switching On the TV and Automatically Tuning
- Introducing and Using the Menu System
- Teletext
- Connecting Optional Equipment
- Using Optional Equipment
- Specifications
- Troubleshooting
- Увод
- Техника на безопасност
- Основно описание на бутоните на дистанционното управление
- Основно описание на бутоните на телевизора
- Свързване на антената и видеото
- Увод и боравене със системата от менюта
- Телетекст
- Свързване на допълнителни апарати
- Боравене с допълнителни апарати
- Характеристики
- Отстраняване на неизправности
- Úvod
- Bezpečnostní opatření
- Všeobecný přehled tlačítek dálkového ovladače
- Všeobecný přehled tlačítek televizoru
- Připojení antény a videa
- Zapnutí a automatické naladění TV
- Úvod a použití různých menu
- Teletext
- Připojení přídavných zařízení
- Použití přídavných zařízení
- Technické údaje
- Řešení problémů
- Bevezetés
- Biztonsági előírások
- A távvezérlő gombjainak általános leírása
- A televízió gombjainak általános leírása
- Az antenna és a videomagnó csatlakoztatása
- A TV bekapcsolása és automatikus hangolás
- Bevezetés a képernyő menürendszereibe és azok használata
- Teletext
- Választható készülékek csatlakoztatása
- Választható készülékek használata
- Műszaki jellemzők
- Problémamegoldás
- Wprowadzenie
- Informacje dotyczące bezpieczeństwa
- Ogólny przegląd przycisków pilota
- Ogólny przegląd przycisków telewizora
- Podłączanie anteny i magnetowidu
- Wprowadzenie do systemu menu na ekranie
- Telegazeta
- Podłączanie dodatkowych urządzeń
- Zastosowanie dodatkowych urządzeń
- Dane techniczne
- Rozwiązywanie problemów
- Введение
- Общие правила техники безопасности
- Назначение кнопок на пульте дистанционного управления
- Общее описание кнопок телевизора
- Подключение антенны и видеомагнитофона
- Введение и работа с системой меню
- Телетекст
- Подключение дополнительных устройств
- Использование дополнительных устройств
- Спецификации
- Уcтpaнeниe нeпoлaдoк

