Sony Bravia KDL-26U25xx – страница 4
Инструкция к Sony Bravia KDL-26U25xx
Оглавление

010COV.book Page 7 Tuesday, June 26, 2007 12:38 PM
Instalacja na podstawie
30 cm
Informacje dotyczące
10 cm10 cm
6 cm
bezpieczeństwa
Montaż i instalacja
Aby uniknąć ryzyka wybuchu pożaru, porażenia prądem
elektrycznym, uszkodzenia sprzętu i/lub ewentualnych
Pozostawić co najmniej tyle miejsca
obrażeń ciała, odbiornik TV należy zainstalować
wokół odbiornika TV.
zgodnie z instrukcjami podanymi poniżej.
• Aby zapewnić właściwą wentylację i zapobiec osiadaniu
Instalacja
brudu lub kurzu:
• Telewizor powinien być zainstalowany w pobliżu łatwo
–Nie należy ustawiać odbiornika TV ekranem do góry,
dostępnego gniazdka.
montować go do góry nogami, odwróconego tyłem lub
• Odbiornik należy ustawić na stabilnej, poziomej
bokiem.
powierzchni.
–Nie należy ustawiać odbiornika TV na półce, dywanie,
• Montaż odbiornika na ścianie należy zlecić
łóżku lub w szafce.
wykwalifikowanemu instalatorowi.
–Nie należy przykrywać odbiornika TV materiałami, np.
•Ze względów bezpieczeństwa zaleca się stosowanie
zasłonami lub innymi przedmiotami, takimi jak gazety itp.
akcesoriów Sony:
–Nie należy instalować odbiornika jak pokazano na
– KDL-40U25xx:
rysunkach poniżej.
Ścienny uchwyt mocujący SU-WL51.
– KDL-32U25xx/KDL-26U25xx:
Obieg powietrza
Obieg powietrza
Ścienny uchwyt mocujący SU-WL31.
jest zablokowany.
jest zablokowany.
Transport
• Przed rozpoczęciem przenoszenia
odbiornika należy odłączyć od niego
wszystkie kable.
• Do przenoszenia dużego odbiornika
Ściana Ściana
TV potrzeba dwóch lub trzech osób.
• Odbiornik należy przenosić
w sposób pokazany na ilustracji po
prawej stronie.
• Podnosząc lub przesuwając odbiornik,
należy mocno chwycić go od dołu. Nie
wolno naciskać ekranu
ciekłokrystalicznego ani ramy dookoła
ekranu.
Przewód zasilający
• Podczas transportu odbiornik nie powinien być narażony na
Aby uniknąć ryzyka wybuchu pożaru, porażenia prądem
wstrząsy mechaniczne i nadmierne wibracje.
elektrycznym, uszkodzenia sprzętu i/lub ewentualnych
• Na czas transportu odbiornika do naprawy lub podczas
obrażeń ciała, z przewodem zasilającym i gniazdem
przeprowadzki, należy zapakować go w oryginalny karton i
sieciowym należy postępować w następujący sposób:
elementy opakowania.
–Należy używać wyłącznie oryginalnych przewodów
Wentylacja
firmy Sony, a nie przewodów innych producentów.
– Wtyczka powinna być całkowicie włożona do gniazda
• Nie wolno zasłaniać otworów wentylacyjnych ani wkładać
żadnych rzeczy do obudowy.
sieciowego.
• Wokół odbiornika TV należy pozostawić trochę wolnej
– Odbiornik TV jest przystosowany do zasilania wyłącznie
przestrzeni, tak jak to pokazano na rysunku poniżej.
napięciem 220-240 V AC.
• Zaleca się stosowanie oryginalnego ściennego uchwytu
– W celu zachowania bezpieczeństwa, podczas
mocującego Sony, aby zapewnić odpowiednią wentylację.
dokonywania połączeń, należy wyjąć wtyczkę przewodu
zasilającego
Instalacja na ścianie
z gniazdka oraz uważać, aby nie nadepnąć na przewód.
– Przed przystąpieniem do serwisowania lub przesuwania
30 cm
odbiornika TV, należy wyjąć wtyczkę przewodu
zasilającego z gniazdka.
10 cm
10 cm
– Przewód zasilający powinien znajdować się z dala od
źródeł ciepła.
–Należy regularnie wyjmować wtyczkę z gniazdka i
czyścić ją. Jeśli wtyczka jest pokryta kurzem i gromadzi
wilgoć, jej własności izolujące mog
ą ulec pogorszeniu, co
może być przyczyną pożaru.
10 cm
Pozostawić co najmniej tyle miejsca
wokół odbiornika TV.
(cd)
PL
7

010COV.book Page 8 Tuesday, June 26, 2007 12:38 PM
Uwagi
Zalecenia dot. bezpieczeństwa dzieci
• Dostarczonego w zestawie przewodu zasilającego nie
• Nie należy pozwalać, aby na odbiornik TV wspinały się dzieci.
należy używać do jakichkolwiek innych urządzeń.
•Małe akcesoria należy przechowywać z dala od dzieci tak,
•Należy uważać, aby nie przycisnąć, nie zgiąć ani nie
aby uniknąć ryzyka ich przypadkowego połknięcia.
skręcić nadmiernie przewodu zasilającego. Może to
spowodować uszkodzenie izolacji lub urwanie żył
Co robić w przypadku wystąpienia
przewodu.
problemów...
•Nie należy przerabiać przewodu zasilającego.
• Na przewodzie zasilającym nie należy kłaść ciężkich
W przypadku wystąpienia jednego z poniższych
przedmiotów.
problemów należy bezzwłocznie wyłączyć odbiornik TV
• Podczas odłączania nie wolno ciągnąć za sam przewód.
oraz wyjąć wtyczkę zasilającą z gniazdka sieciowego.
• Nie należy podłączać zbyt wielu urządzeń do tego samego
Należy zwrócić się do punktu sprzedaży lub punktu
gniazda sieciowego.
serwisowego firmy Sony z prośbą o sprawdzenie
•Nie należy używać gniazd sieciowych słabo trzymających
odbiornika przez wykwalifikowanego serwisanta.
wtyczkę.
W przypadku:
Niedozwolone użycie
– Uszkodzenia przewodu zasilającego.
– Gniazd sieciowych słabo trzymających wtyczkę.
Odbiornika TV nie należy instalować oraz eksploatować
– Uszkodzenia odbiornika w wyniku jego upuszczenia
w miejscach, warunkach lub okolicznościach, jakie opisano
lub uderzenia przez obiekt obcy.
poniżej. Niezastosowanie się do poniższych zaleceń może
– Dostania się do wnętrza odbiornika cieczy lub
prowadzić do wadliwej pracy odbiornika, a nawet pożaru,
przedmiotów obcych.
porażenia prądem elektrycznym, uszkodzenia sprzętu i/lub
obrażeń ciała.
Miejsce:
Odbiornika TV nie należy montować na zewnątrz
pomieszczeń (w miejscu narażonym na bezpośrednie
działanie promieni słonecznych), nad morzem, na statku lub
innej jednostce pływającej, w pojeździe, w instytucjach
ochrony zdrowia i w pobliżu przedmiotów palnych
(świeczki, itp.).
Warunki:
Nie należy umieszczać telewizora w miejscach gorących,
wilgotnych lub nadmiernie zapylonych; w miejscach,
w których do wnętrza mogą dostawać się owady; w miejscach,
w których może być narażony na działanie wibracji
mechanicznych; w miejscach niestabilnych; w miejscach
narażonych na działanie wody, deszczu, wilgoci lub dymu.
Okoliczności:
Odbiornika TV nie należy dotykać mokrymi rękoma, przy
zdjętej obudowie lub z akcesoriami, które nie są zalecane
przez producenta. W czasie burz z wyładowaniami
atmosferycznymi należy wyjąć wtyczkę przewodu
zasilającego telewizora z gniazdka i odłączyć przewód
antenowy.
Kawałki szkła lub uszkodzenia:
• W odbiornik nie należy rzucać żadnymi przedmiotami.
Może to spowodować uszkodzenie szkła ekranu i,
w efekcie, prowadzić do poważnych obrażeń ciała.
• W przypadku pęknięcia powierzchni ekranu lub obudowy
telewizora, przed dotknięciem odbiornika należy wyjąć
wtyczkę przewodu zasilającego z gniazdka.
Niezastosowanie się do powyższego zalecenia może
spowodować porażenie prądem elektrycznym.
Gdy odbiornik TV nie jest używany
•Mając na uwadze kwestie ochrony środowiska
i bezpieczeństwa, zaleca się odłączenie odbiornika od
źródła zasilania, jeśli nie będzie on używany przez kilka
dni.
•Ponieważ wyłączenie odbiornika telewizyjnego nie
powoduje odcięcia zasilania, w celu całkowitego
wyłączenia urządzenia należy wyciągnąć wtyczkę
przewodu zasilającego z gniazda sieciowego.
• Niektóre odbiorniki mogą być jednak wyposażone
w funkcje wymagające pozostawienia ich w trybie
gotowości.
PL
8

010COV.book Page 9 Tuesday, June 26, 2007 12:38 PM
Środki ostrożności
Oglądanie telewizji
• Program telewizyjny powinien być oglądany
w pomieszczeniu o umiarkowanym oświetleniu,
ponieważ oglądanie go w słabym świetle lub przez
dłuższy czas jest męczące dla oczu.
• Podczas korzystania ze słuchawek należy unikać
nadmiernego poziomu głośności ze względu na ryzyko
uszkodzenia słuchu.
Ekran LCD
• Chociaż ekran LCD został wykonany z wykorzystaniem
technologii wysokiej precyzji, dzięki której aktywnych
jest ponad 99,99% pikseli, na ekranie mogą pojawiać się
czarne plamki lub jasne kropki (w kolorze czerwonym,
niebieskim lub zielonym). Jest to jednak właściwość
wynikająca z konstrukcji ekranu LCD i nie jest objawem
usterki.
• Nie wolno naciskać ani drapać przedniego filtru, a także
kłaść na odbiorniku TV żadnych przedmiotów. Może to
spowodować zakłócenia obrazu lub uszkodzenie ekranu
LCD.
•Jeśli odbiornik TV jest używany w zimnym miejscu, na
obrazie mogą wystąpić plamy lub obraz może stać się
ciemny. Nie jest to oznaką uszkodzenia telewizora.
Zjawiska te zanikają w miarę wzrostu temperatury.
•Długotrwałe wyświetlanie obrazów nieruchomych może
spowodować wystąpienie obrazów wtórnych (tzw.
zjawy). Mogą one zniknąć po krótkiej chwili.
• Ekran i obudowa nagrzewają się
podczas pracy
telewizora. Nie jest to oznaką uszkodzenia urządzenia.
• Ekran LCD zawiera niewielką ilość ciekłych kryształów i
rtęci. Lampy fluorescencyjne umieszczone
w odbiorniku TV także zawierają rtęć. Podczas utylizacji
należy przestrzegać lokalnych zaleceń i przepisów.
Obchodzenie się z powierzchnią ekranu/
obudową odbiornika TV i ich czyszczenie
Przed przystąpieniem do czyszczenia należy wyjąć wtyczkę
przewodu zasilającego z gniazdka.
Aby uniknąć pogorszenia stanu materiału lub powłoki
ekranu odbiornika, należy postępować zgodnie z poniższymi
środkami ostrożności.
• Aby usunąć kurz z powierzchni ekranu/obudowy, należy
wytrzeć go delikatnie za pomocą miękkiej ściereczki. Jeśli
nie można usunąć kurzu, należy wytrzeć ekran za pomocą
miękkiej ściereczki lekko zwilżonej rozcieńczonym
roztworem delikatnego detergentu.
•Nie należy używać szorstkich gąbek, środków
czyszczących na bazie zasad lub kwasów, proszków do
czyszczenia ani lotnych rozpuszczalników, takich jak
alkohol, benzyna, rozcieńczalnik czy środek
owadobójczy. Używanie takich środków lub długotrwały
kontakt z gum
ą lub winylem może spowodować
uszkodzenie powierzchni ekranu lub obudowy.
• Regulację kąta nachylenia odbiornika należy wykonywać
powolnym ruchem tak, aby odbiornik nie spadł lub nie
zsunął się z podstawy na telewizor.
Urządzenia dodatkowe
W pobliżu odbiornika TV nie należy umieszczać urządzeń
dodatkowych lub urządzeń emitujących promieniowanie
elektromagnetyczne. Może to spowodować zakłócenia
obrazu i/lub dźwięku.
PL
9

010COV.book Page 10 Tuesday, June 26, 2007 12:38 PM
Przegląd przycisków pilota
1 "/1 – Tryb czuwania odbiornika TV
Włączenie i wyłączenie odbiornika TV z trybu czuwania.
Uwaga
W celu zupełnego odłączenia odbiornika TV, należy wyjąć wtyczkę z gniazda
zasilającego.
2 – Tryb ekranowy (strona 12)
3 Kolorowe przyciski
• W trybie cyfrowym (strona 13, 14): Wybranie opcji u dołu ekranu w
cyfrowych menu "Ulubione" i "EPG".
• W trybie telegazety (strona 12): Do obsługi Fastext.
4 / – Info / Wywołanie telegazety
• W trybie cyfrowym: Wyświetlanie danych aktualnie oglądanego programu.
• W trybie analogowym: Wyświetlanie informacji takich jak: aktualny numer
kanału i tryb ekranowy.
• W trybie telegazety (strona 12): Wywołanie ukrytych informacji (np.
odpowiedzi do pytań).
5 F/f/G/g/ (strona 15)
6 Zatrzymanie obrazu (strona 12)/
PIP w trybie PC (strona 12)
• W trybie TV: Zatrzymanie obrazu na ekranie TV.
• W trybie PC: Wyświetlanie małego obrazu (PIP).
7 MENU (strona 15)
8 DIGITAL – Tryb cyfrowy (strona 11)
9 Przyciski numeryczne
• W trybie TV: Wybór kanałów. Aby wybrać kanały numer 10 i powyżej za
pomocą przycisków numerycznych, należy wprowadzić drugą i trzecią cyfrę
w ciągu dwóch sekund.
• W trybie telegazety: Aby wybrać daną stronę należy za pomocą przycisków
numerycznych wprowadzić jej trzycyfrowy numer.
0 – Poprzedni kanał
Powrót do poprzednio oglądanego kanału (dłużej niż pięć sekund).
qa PROG +/- (strona 11)
• W trybie TV: Wybór następnego (+) lub poprzedniego (-) kanału.
• W trybie telegazety: Wybór następnej (+) lub poprzedniej (-) strony.
qs 2 +/- – Głośność
qd % – Wyciszenie dźwięku
qf
/ – Telegazeta (strona 12)
qg ANALOG – Tryb analogowy (strona 11)
qh / RETURN
Powrót do poprzedniego ekranu w wyświetlanym menu.
qj – EPG (Cyfrowy elektroniczny przewodnik po programach)
(strona 13)
qk – Tryb obrazu (strona 16)
ql 9 – Efekt dźwiękowy (strona 17)
w; – Wybór wejścia / Zatrzymanie telegazety
• W trybie TV (strona 23): Wybór sygnału wejściowego z urządzenia
podłączonego do gniazd TV.
• W trybie telegazety (strona 12): Zatrzymuje aktualnie wyświetlaną stronę.
Wskazówka
Przyciski PROG + oraz przycisk nr 5 mają delikatnie wyczuwalne pod palcami wypustki. Ułatwiają one orientację przy obsłudze
odbiornika TV.
PL
10

010COV.book Page 11 Tuesday, June 26, 2007 12:38 PM
Odbiór audycji telewizyjnych
Przegląd przycisków
i wskaźników
Odbiór audycji
telewizora
telewizyjnych
1
1
2
2
1 MENU (strona 15)
2 / – Wybór wejścia/OK
3
• W trybie TV (strona 23): Wybór sygnału
wejściowego z urządzenia podłączonego do
gniazd TV.
• W menu TV: Wybór opcji lub menu oraz
potwierdzenie wybranych ustawień.
3 2 +/-/G/g
•Zwiększenie (+) lub zmniejszenie (-) głośności.
• W menu TV: Przewinięcie opcji w lewo (
G) lub w
3
prawo (
g).
4 PROG +/-/F/f
• W trybie TV: Wybór następnego (+) lub
poprzedniego (-) kanału.
• W menu TV: Przewinięcie opcji w górę (
F) lub w
dół (
f).
5 1 – Włącznik on/off
Włączenie lub wyłączenie odbiornika TV.
Uwaga:
W celu zupełnego odłączenia odbiornika TV należy
wyjąć wtyczkę z gniazda sieciowego.
1 Aby włączyć telewizor, nacisnąć przycisk 1
6 – Wskaźnik Bez obrazu/Timer
znajdujący się u góry odbiornika.
• Pali się na zielono, gdy telewizor jest wyłączony
(strona 18).
Gdy odbiornik TV jest w trybie czuwania
• Zapala się na pomarańczowo, gdy ustawiony jest
(wskaźnik 1 (czuwanie) z przodu telewizora jest
timer (strona 19).
czerwony), aby włączyć odbiornik TV należy
• Zapala się na czerwono w momencie rozpoczęcia
wcisnąć przycisk "/1 na pilocie.
nagrywania cyfrowego.
7 1 – Wskaźnik trybu czuwania
2 Nacisnąć przycisk DIGITAL, aby uruchomić
Pali się na czerwono, gdy telewizor jest w trybie
tryb cyfrowy lub przycisk ANALOG, aby
czuwania.
uruchomić tryb analogowy.
Dostępność kanałów zależy od trybu, w jakim
8 " – Wskaźnik zasilania
pracuje telewizor.
Pali się na zielono, gdy telewizor jest włączony.
9 Czujnik zdalnego sterowania
3 Nacisnąć przyciski numeryczne lub PROG +/-,
aby wybrać kanał telewizyjny.
PL
11

010COV.book Page 12 Tuesday, June 26, 2007 12:38 PM
W trybie cyfrowym
Wskazówka
Dźwięk pochodzi z małego obrazka.
Na chwilę pojawia się baner informacyjny. Mogą
się na nim znajdować następujące ikonki:
Aby ręcznie zmienić tryb ekranowy
: Program radiowy
stosownie do transmitowanego
: Program zakodowany/dostępny po
programu
wykupieniu abonamentu
Naciskać przycisk , aby wybrać format Smart, 4:3,
:Dostępne różne wersje językowe audio
Wide, Zoom, lub 14:9.
:Dostępne napisy u dołu ekranu
Smart*
:Dostępne napisy u dołu ekranu dla osób
niesłyszących
: Zalecany minimalny wiek dla oglądania
aktualnego programu (od 4 do 18 lat)
: Blokada zabezpiecz.
Wyświetla konwencjonalny obraz telewizyjny 4:3 z
: Aktualny program jest nagrywany
imitacją efektu szerokoekranowego. Obraz w
formacie 4:3 wypełnia cały ekran.
Czynności dodatkowe
4:3
Aby Należy
Uzyskać dostęp do
Nacisnąć . Aby wybrać kanał
tabeli indeksu
analogowy, nacisnąć przycisk
programów (tylko w
F/f, a następnie nacisnąć .
trybie analogowym)
Wyświetla audycje TV w konwencjonalnym formacie
Aby wejść na strony Teletekstu
4:3 (np. telewizja nie szerokoekranowa) w
prawidłowych proporcjach.
Nacisnąć /. Po każdorazowym naciśnięciu przycisku
/, ekran zmienia się w następujący sposób:
Wide
Telegazeta t Telegazeta na obrazie telewizyjnym
(tryb mieszany) t Bez telegazety (wyjście z trybu
Telegazeta)
Aby wybrać stronę, naciskać przyciski numeryczne
lub PROG +/-.
Wyświetla panoramiczny obraz telewizyjny (16:9) w
Aby zatrzymać stronę, nacisnąć przycisk / .
prawidłowych proporcjach.
Aby pokazać na ekranie ukryte informacje, nacisnąć
przycisk / .
Zoom*
Zatrzymanie obrazu:
Opcja umożliwiająca zatrzymanie obrazu na ekranie
telewizora (np. aby zanotować numer telefonu lub
przepis kulinarny).
Wyświetla obrazy kinowe w prawidłowych
1 Nacisnąć na pilocie.
proporcjach.
2 Naciskać przyciski F/f/G/g, aby ustawić
14:9*
położenie okna obrazu.
3 Aby zamknąć okno nacisnąć .
4 Aby powrócić do normalnego obrazu
telewizora, ponownie nacisnąć .
Wskazówka
Funkcja nie jest dostępna dla AV3, AV5,
Wyświetla audycje TV formatu 14:9 w prawidłowych
AV6 i AV7.
proporcjach. Wskutek tego, na ekranie widoczne są
czarne obszary na brzegach.
PIP w trybie PC (Obraz w Obrazie)
*Obraz może być częściowo obcięty od góry i od dołu.
W trybie PC powoduje wyświetlenie małego obrazka
Wskazówki
ostatnio oglądanego kanału.
• Alternatywnie, opcję “ Autoformatowanie” można
ustawić na “Wł.”. Odbiornik TV automatycznie wybierze
1 Nacisnąć na pilocie.
tryb najlepiej dostosowany do rodzaju audycji
telewizyjnej (strona 18).
2 Naciskać przyciski F/f/G/g, aby ustawić
• Wybierając opcje Smart, 14:9 lub Zoom, można zmieniać
położenie okna obrazu.
ustawienie części obrazu. Aby przesuwać w górę lub w
3 Nacisnąć , aby anulować.
dół, należy naciskać przyciski
F/f (np. by pokazać
napisy dialogowe).
PL
12

010COV.book Page 13 Tuesday, June 26, 2007 12:38 PM
Sprawdzanie elektronicznego przewodnika
po programach (EPG)
1 W trybie cyfrowym, w celu wyświetlenia
cyfrowego elektronicznego przewodnika po
programach (EPG), należy nacisnąć .
2 Wykonać wybrane operacje zgodnie z
Odbiór audycji telewizyjnych
opisem w tabeli poniżej.
Uwaga
Informacje na temat programu będą pokazywane tylko jeśli
są one nadawane przez daną stację telewizyjną.
Cyfrowy elektroniczny przewodnik po programach (EPG).
Aby Należy
Obejrzeć bieżący program Nacisnąć w czasie, gdy wybrany jest bieżący program.
Wyświetlić informacje o programach wg
1 Nacisnąć niebieski przycisk.
kategorii – Lista kategorii
2 Za pomocą przycisków
F/f/G/g wybrać żądaną kategorię.
Nazwa kategorii jest pokazywana z boku.
3 Nacisnąć .
Cyfrowy elektroniczny przewodnik po programach (EPG) wyświetla
teraz tylko aktualne programy z wybranej kategorii.
Ustawić program, który ma być nagrywany
1 Za pomocą przycisków F/f/G/g wybrać program, który ma
– Programator nagrywania
zostać nagrany.
2 Nacisnąć .
3 Nacisnąć
F/f, aby wybrać “Programator nagrywania”.
4 Nacisnąć , aby ustawić timer TV i magnetowidu.
Obok informacji dot. danego programu pojawi się symbol . Zapala
się kontrolka z przodu telewizora.
Ustawić, aby program był wyświetlany na
1 Za pomocą przycisków F/f/G/g wybrać program, który ma
ekranie automatycznie po jego rozpoczęciu
zostać wyświetlony na ekranie.
– Przypomnienie
2 Nacisnąć .
3 Nacisnąć
F/f, aby wybrać “Przypomnienie”.
4 Nacisnąć , aby wybrany program został automatycznie
wyświetlony w momencie jego rozpoczęcia.
Obok informacji dot. danego programu pojawi się symbol c.
Uwaga
Jeśli odbiornik został przełączony w stan czuwania, automatycznie włączy
się on w momencie rozpoczęcia danego programu.
Ustawić czas i datę programu, który ma
1 Nacisnąć .
zostać nagrany – Ręczny programator
2 Za pomocą przycisków
F/f wybrać “Ręczny programator
nagrywania
nagrywania”, a następnie nacisnąć .
3 Za pomocą przycisków
F/f wybrać datę, a następnie
nacisnąć
g.
4 Ustawić godzinę rozpoczęcia i zakończenia nagrywania
podobnie jak to opisano w kroku 3.
5 Za pomocą przycisków
F/f wybrać program, a następnie
nacisnąć , aby ustawić timer TV i magnetowidu.
Obok informacji dot. danego programu pojawi się symbol . Zapala
się kontrolka z przodu telewizora.
PL
13

010COV.book Page 14 Tuesday, June 26, 2007 12:38 PM
Aby Należy
Skasować nagrywanie/przypomnienie –
1 Nacisnąć .
Lista programatora
2 Za pomocą przycisków
F/f wybrać “Lista programatora”.
3 Za pomocą przycisków
F/f wybrać program, który ma zostać
skasowany, a następnie nacisnąć .
Pojawi się okienko informujące o planowanym skasowaniu programu.
4 Nacisnąć g, aby wybrać “Tak”, a następnie nacisnąć , aby
potwierdzić.
Wskazówka
Cyfrowy elektroniczny przewodnik po programach (EPG) można również wyświetlić wybierając “Cyfrowy EPG” w “MENU”.
Uwagi
• Nagrywanie przy użyciu timera magnetowidu można ustawić w telewizorze tylko jeśli magnetowid obsługuje złącz Smartlink.
Jeśli magnetowid nie obsługuje Smartlink, pojawi się komunikat przypominający o konieczności ustawieniu timera
magnetowidu.
• Po rozpoczęciu nagrywania, telewizor można przełączyć w tryb czuwania, ale nie należy go wyłączać, gdyż może to
spowodować anulowanie nagrywania.
•Jeśli wybrano funkcję ograniczenia wiekowego dla programów, na ekranie pojawi się komunikat z prośbą o podanie kodu pin.
Szczegółowe informacje przedstawiono w rozdziale “Blokada zabezpiecz.” na strona 22.
Korzystanie z Listy ulubionych kanałów
Funkcja Ulubione umożliwia wybranie programów z listy składającej się z maksymalnie 8 ustawionych przez
użytkownika kanałów.
Aby Należy
Po raz pierwszy stworzyć swoją listę
Po naciśnięciu przycisku “Ulubione kanały cyfrowe” w “MENU” po raz
ulubionych kanałów
pierwszy pojawi się komunikat z pytaniem, czy mają zostać dodane kanały
do listy ulubionych kanałów.
1 Nacisnąć , aby wybrać “Tak”.
2 Za pomocą przycisków
F/f wybrać kanał, który ma zostać
dodany.
3 Nacisnąć .
Kanały zapisane w liście ulubionych kanałów są oznaczone symbolem
.
Dodać lub usunąć kanały z Listy
1 Nacisnąć niebieski przycisk.
ulubionych kanałów
Kanały zapisane w liście ulubionych kanałów są oznaczone symbolem
.
2 Za pomocą przycisków F/f wybrać kanał, który ma być
dodany lub usunięty.
3 Nacisnąć .
4 Nacisnąć niebieski przycisk, aby powrócić do listy ulubionych
kanałów.
Usunąć wszystkie kanały z Listy
1 Nacisnąć niebieski przycisk.
ulubionych kanałów
2 Nacisnąć żółty przycisk.
Pojawi się okienko informujące o planowanym skasowaniu kanałów z
listy.
3 Nacisnąć G, aby wybrać “Tak”, a następnie nacisnąć , aby
potwierdzić.
PL
14

010COV.book Page 15 Tuesday, June 26, 2007 12:38 PM
Korzystanie z MENU funkcji
Poruszanie się po menu
“MENU” umożliwia ustawienie w telewizorze wielu przydatnych funkcji. Kanały lub źródła sygnałów z wejść zewnętrznych
można łatwo wybrać przy użyciu pilota. Ustawienia telewizora można również zmienić przy pomocy “MENU”.
1 Aby wyświetlić menu, należy nacisnąć
przycisk MENU.
MENU
Ulubione
Analogowe
Cyfrowe
2,3
Cyfrowy EPG
Korzystanie z MENU funkcji
Wejścia zewn.
Ustawienia
1
Wybierz:
Wprow.:
Koniec:
MENU
2 Za pomocą przycisków F/f wybrać żądaną
opcję.
3 Nacisnąć , aby potwierdzić wybraną opcję.
Aby wyjść z menu należy nacisnąć MENU.
Menu Opis
Ulubione
Uruchamia Listę ulubionych. Szczegółowe informacje na temat ustawień, patrz
strona 14.
(tylko w trybie
cyfrowym)
Lista programów
Pozwala wybrać programy telewizyjne z listy kanałów.
(tylko w trybie
• Aby obejrzeć żądany kanał, wybrać kanał, a następnie nacisnąć .
analogowym)
• Aby przypisać nazwę danemu programowi, patrz strona 21.
Analogowe
Powraca do ostatnio oglądanego kanału analogowego.
(tylko w trybie
cyfrowym)
Cyfrowe
Powraca do ostatnio oglądanego kanału cyfrowego.
(tylko w trybie
cyfrowym)
Cyfrowy EPG
Uruchamia elektroniczny przewodnik po programach (EPG).
Szczegółowe informacje na temat ustawień, patrz strona 13.
(tylko w trybie
cyfrowym)
Wejścia zewn.
Służy do wyboru urządzeń podłączonych do telewizora.
• Aby obejrzeć program/nagranie z urządzenia zewnętrznego,
wybrać źródło sygnału wejściowego, a następnie nacisnąć .
• Aby przypisać nazwę zewnętrznemu sygnałowi wejściowemu,
patrz strona 20.
Ustawienia
Otwiera ekran menu Ustawienia, w którym dokonuje się większości zaawansowanych
ustawień i regulacji. Wybrać ikonę menu, wybrać opcję i wprowadzić żądane zmiany
lub dokonać regulacji za pomocą przycisków F/f/G/g.
Szczegółowe informacje na temat ustawień, patrz strony 16 do 22.
PL
15

010COV.book Page 16 Tuesday, June 26, 2007 12:38 PM
Menu Regulacja obrazu
Podane niżej opcje można wybrać w menu
Regulacja obrazu
Regulacja obrazu. Wybór opcji w
Tr y b obrazu
Własny
“Ustawienia”, patrz “Poruszanie się po menu”
Światło
5
Kontrast
Max.
(strona 15).
Jasność
50
Kolor
50
Odcień
0
Ostrość
15
Odcienie koloru
Ciepłe
Zerowanie
Red. zakłóceń
Auto
Powrót:
Wybierz:
Wprow.:
Koniec:
MENU
Tryb obrazu
Wybiera tryb obrazu.
•“Żywy”: Dla lepszego kontrastu i ostrości obrazu.
• “Standardowy”: Dla standardowego obrazu. Ustawienie zalecane dla celów kina
domowego.
•“Własny”: Umożliwia zapisanie własnych ustawień.
Światło Regulacja jasności podświetlenia ekranu.
Kontrast Zwiększenie lub zmniejszenie kontrastu obrazu.
Jasność Zwiększenie lub zmniejszenie jasności obrazu.
Kolor Zwiększenie lub zmniejszenie intensywności kolorów.
Odcień
Zwiększenie lub zmniejszenie odcieni zielonych.
Wskazówka
“Odcień” można zmieniać tylko w przypadku kolorowego sygnału NTSC (np. amerykańskie
taśmy wideo).
Ostrość Zwiększenie lub zmniejszenie ostrości obrazu.
Odcienie koloru Regulacja białości obrazu.
• “Zimne”: Nadaje jasnym kolorom niebieski odcień.
• “Neutralne”: Nadaje jasnym kolorom neutralny odcień.
•“Ciepłe”: Nadaje jasnym kolorom czerwony odcień.
Wskazówka
“Ciepłe” można wybrać, gdy “Tryb obrazu ” ustawiono na “Własny”.
Zerowanie Przywraca wszystkie fabryczne ustawienia obrazu za wyjątkiem “Tryb obrazu ”.
Red. zakłóceń Zmniejsza zakłócenia obrazu (obraz zaśnieżony) w przypadku słabego sygnału
nadajnika TV.
• “Auto”: Automatycznie zmniejsza zakłócenia obrazu.
•“Duża/Średnia/Mała”: Zmienia efekt redukcji zakłóceń.
PL
16

010COV.book Page 17 Tuesday, June 26, 2007 12:38 PM
Menu Regulacja dźwięku
Wymienione niżej opcje można wybrać w
Regulacja dźwięku
menu Regulacja dźwięku. Wybór opcji w
Efekt
Standardowy
Tony wys.
50
“Ustawienia”, patrz “Poruszanie się po menu”
Tony niskie
50
(strona 15).
Balans
0
Zerowanie
Podwójny dźwięk
Mono
Aut. głośność
Wł.
Głośniki TV
Wł.
Powrót:
Wybierz:
Wprow.:
Koniec:
MENU
Efekt Służy do wyboru trybu dźwięku.
• “Standardowy”: Wzmacnia czystość, wyrazistość szczegółów i wrażenie obecności
dźwięku dzięki zastosowaniu systemu “BBE High definition Sound System.”
• “Dynamiczny”: Wzmacnia czystość i wrażenie obecności dźwięku, zapewniając lepszą
Korzystanie z MENU funkcji
czystość i naturalność dźwięku dzięki zastosowaniu systemu “BBE High definition Sound
System.”
• “BBE ViVA”: BBE ViVA Sound dodaje precyzyjnemu muzycznie dźwiękowi
przestrzennemu 3D efektu Hi-Fi. BBE podnosi czystość dźwięku, a głębia i wysokość
dźwięku są poprawiane dzięki opracowanej przez BBE technologii 3D. Efekt BBE ViVA
działa we wszystkich programach, łącznie z wiadomościami, muzyką, sztukami teatralnymi,
filmami, sportem i grami elektronicznymi.
”
• “Dolby Virtual
: Wykorzystuje głośniki telewizora do symulacji efektu przestrzennego
uzyskiwanego w systemie wielokanałowym.
• “Wył.”: Płaski dźwięk.
Wskazówki
• Efekt dźwiękowy można zmienić naciskając kilkakrotnie przycisk 9.
• Po ustawieniu opcji “Aut. głośność” na “Wł.”, “Dolby Virtual” zmienia się na
“Standardowy”.
Tony wys. Służy do regulacji tonów wysokich.
Tony niskie Służy do regulacji tonów niskich.
Balans Zwiększa natężenie dźwięku z lewego lub prawego głośnika.
Zerowanie Przywraca fabryczne ustawienia dźwięku.
Podwójny dźwięk
Wybiera dźwięk z głośnika dla programu stereofonicznego lub dwujęzycznego.
• “Stereo”, “Mono”: Dla programu stereofonicznego.
• “A”/“B”/“Mono”: W przypadku programu dwujęzycznego należy wybrać
ustawienie “A” dla kanału dźwiękowego 1, “B” dla kanału dźwiękowego 2 lub
“Mono” dla kanału monofonicznego, o ile jest dostępny.
Wskazówka
Wybierając inne urządzenie podłączone do odbiornika TV, należy ustawić “Podwójny dźwięk”
na “Stereo”, “A” lub “B”.
Aut. głośność
Utrzymuje stały poziom głośności, nawet gdy występują zmiany głośności poziomu
nadawanego sygnału (np. reklamy są zazwyczaj głośniejsze od programów).
Głośniki TV
Włącza/wyłącza głośniki telewizyjne np. aby słuchać dźwięku przez zewnętrzny
sprzęt audio podłączony do telewizora.
•“Wł.”: dźwięk z odbiornika jest odtwarzany przez wbudowane głośniki
telewizora.
•“Wył. jeden raz”: głośniki TV są chwilowo wyłączane, a dźwięk z odbiornika jest
odtwarzany przez zewnętrzne urządzenie audio.
•“Wył. na stałe”: głośniki TV są na stałe wyłączane, a dźwięk z odbiornika jest
odtwarzany przez zewnętrzne urządzenie audio.
Wskazówki
• Aby ponownie włączyć głośniki TV, wybrać opcję "Wł.".
•Opcja “Wył. jeden raz” automatycznie ustawiana jest w stanie “Wł.” w momencie
wyłączenia telewizora.
• Opcje "Regulacjia dźwięku" nie są dostępne, jeśli wybrano "Wył. jeden raz" lub
"Wył. na stałe".
PL
17

070MEN.fm Page 18 Tuesday, July 3, 2007 5:23 PM
Menu Funkcje
Wymienione niżej opcje można wybrać w menu
Funkcje
Funkcje. Wybór opcji w “Ustawienia”, patrz
Ustawienia ekranu
Oszcz. energii
“Poruszanie się po menu” (strona 15).
Standardowy
Zaaw.zwiêksz.kontrastu
Wł.
Wyjście AV2
TV
Centr. RGB
0
Regulacja PC
Timer
P owrót:
Wybierz:
Wprow.:
Koniec:
MENU
Ustawienia
Zmienia format ekranu.
• “Autoformatowanie”: Automatycznie zmienia format ekranu zgodnie z sygnałem
Ekranu
programu.
• “Format obrazu”: Szczegółowe informacje na temat formatu obrazu
przedstawiono na stronie 12
• “Rozmiar V”: Ustawia położenie obrazu w pionie, gdy format ekranu ustawiono
na Smart.
Wskazówki
• Nawet jeśli w opcji "Autoformatowanie" wybrano "Wł." lub "Wył.", zawsze można zmienić
format ekranu naciskając przycisk .
• Opcja "Autoformatowanie" jest dostępna tylko w przypadku systemów PAL i SECAM.
Oszcz. energii
Pozwala wybrać tryb oszczędzania energii tak, aby zmniejszyć zużycie energii przez
telewizor.
• “Standardowy”: Ustawienie domyślne.
• “Oszczędzanie”: Zmniejszenie zużycia energii przez telewizor.
• “Bez obrazu”: Wyłączenie obrazu. Mimo wyłączonego obrazu można słuchać
dźwięków.
Zaaw.zwiększ.kon
Automatycznie nastawia "Światło" na najbardziej odpowiednie wartości, zgodnie z
trastu
oceną jasności obrazu. Zwiększa kontrast obrazu.
Wyjście AV2
Ustawia wysyłanie sygnału przez gniazdo oznaczone / 2 znajdujące się z
tyłu odbiornika TV. Po podłączeniu magnetowidu do gniazda / 2, można
nagrywać z urządzenia podłączonego do innych gniazd odbiornika TV.
•“TV”: Udostępnia sygnał.
• “Auto”: Wyprowadza to, co jest oglądane na ekranie (z wyjątkiem sygnałów z
gniazd / 3, HDMI IN 6, HDMI IN 7 i PC ).
Centr. RGB
Ustawia położenie obrazu w poziomie tak, aby obraz znajdował się w środku ekranu.
Wskazówka
Opcja ta jest dostępna tylko jeśli do znajdujących się z tyłu odbiornika gniazd SCART
1/ 1 lub 2/ 2 przyłączono źródło sygnałów RGB.
Regulacja PC
Pozwala indywidualnie ustawić nastawy odbiornika TV i PC.
Wskazówka
• Opcja ta jest dostępna tylko podczas pracy w trybie PC.
• “Faza”: Regulacja obrazu, gdy część wyświetlanego tekstu lub obrazu jest
niewyraźna.
•“Wielkość piksela”: Powiększa lub zmniejsza obraz w płaszczyźnie poziomej.
• “Centrowanie H”: Przesunięcie obrazu w lewo lub w prawo.
• “Linie pionowe”: Koryguje linie obrazu podczas oglądania sygnału wejściowego
RGB ze złącza PC .
• “Oszcz. energii”: Przełączenie telewizora w tryb czuwania jeśli nie dochodzi
sygnał PC.
• “Zerowanie”: Przywrócenie ustawień fabrycznych.
PL
18

010COV.book Page 19 Tuesday, June 26, 2007 12:38 PM
Timer
Służy do ustawienia czasu włączenia i wyłączenia telewizora za pomocą timera.
• Timer wyłączania
Ustawia okres czasu, po upływie którego odbiornik TV automatycznie przełącza
się w tryb czuwania.
Po uruchomieniu Timer wyłączania, wskaźnik (Timer) z przodu telewizora pali
się na pomarańczowo.
Wskazówki
•Jeśli telewizor zostanie wyłączony i ponownie włączony, ustawienia “Timer wyłączania”
zostaną skasowane “Wył.”.
•Na jedną minutę przed wyłączeniem telewizora i przejściem w stan czuwania, wyświetlony
zostanie komunikat “Timer wkrótce wyłączy zasilanie”.
• Nast. zegara
Umożliwia ręczne ustawienie zegara. Gdy telewizor odbiera sygnały kanałów
cyfrowych, zegara nie można ustawić ręcznie ponieważ dostosowuje się on do
czasu nadawanego sygnału.
•Timer
Służy do ustawienia czasu włączenia i wyłączenia telewizora za pomocą timera.
“Tryb timera”: Wybiera żądany czas.
“Czas wł”: Czas włączenia telewizora.
“Czas wył”: Czas wyłączenia telewizora
Korzystanie z MENU funkcji
PL
19

010COV.book Page 20 Tuesday, June 26, 2007 12:38 PM
Menu Ustawienia
Podane niżej opcje można wybrać w menu
Ustawienia
Ustawienia. Wybór opcji w “Ustawienia”, patrz
Informacje o systemie
“Poruszanie się po menu” (strona 15).
Automatyczna inicjalizacja
Język
English
Kraj
-
Autoprogramowanie
Sortowanie programów
Ustawienia A/V
Korekta dźwięku
Programowanie ręczne
Ustawienia cyfrowe
Powrót:
Wybierz:
Wprow.:
Koniec:
MENU
Informacje o
Wyświetla aktualną wersje oprogramowania oraz poziom sygnału.
systemie
Automatyczna
Uruchamia “menu pierwszego uruchomienia” w celu wyboru języka oraz kraju/regionu,
a także dostrojenia wszystkich dostępnych kanałów cyfrowych i analogowych
.
inicjalizacja
Język
Wybiera język, w którym wyświetlane są menu.
Kraj
Wybiera kraj/region, w którym użytkowany jest odbiornik TV.
Wskazówka
Jeśli kraju/regionu, w którym odbiornik będzie używany nie ma na liście, zamiast
nazwy kraju/regionu należy wybrać “-”.
Autoprogramo-wanie
Wykonuje strojenie wszystkich dostępnych kanałów.
Sortowanie
Zmienia kolejność, w jakiej kanały są zapisane w odbiorniku TV.
programów
1 Za pomocą przycisków
F/f wybrać kanał, który ma być przeniesiony w
nowe miejsce, a następnie nacisnąć
g.
2 Za pomocą przycisków
F/fwybrać nowe miejsce dla wybranego
kanału, a następnie nacisnąć .
Ustawienia A/V
Przypisuje nazwę każdemu urządzeniu podłączonemu do bocznych i tylnych gniazd.
1 Za pomocą przycisków
F/f wybrać żądane źródło sygnału
wejściowego, a następnie nacisnąć .
2 Za pomocą przycisków
F/f wybrać żądaną opcję spośród podanych
poniżej, a następnie nacisnąć .
• AV1 (lub AV2/ AV3/ AV4/ PC/ HDMI 1/HDMI 2), VIDEO, DVD, CABLE,
GAME, CAM, SAT: Przypisuje jedną z fabrycznie zaprogramowanych nazw do
każdego z podłączanych urządzeń.
• “Edycja”: Tworzy własną nazwę. (Funkcja nie jest dost
ępna dla PC, HDMI 1,
HDMI 2)
•“Pomiń”: Pomija źródło sygnału wejściowego, które nie jest podłączone do
żadnego z urządzeń w momencie naciskania F/f, aby wybrać źródło sygnału
wejściowego.
Korekta dźwięku
Pozwala wybrać indywidualny poziom głośności dla każdego urządzenia
podłączonego do odbiornika TV.
Programowanie
Przed wybraniem “Nazwa”/“ ARC”/“Filtracja dźwięku”/“Pomiń”/“Dekoder”,
nacisnąć
F/f, aby wybrać numer programu, który ma zostać zmieniony. Następnie
ręczne
nacisnąć .
System
Programuje ręcznie kanały programów.
1 Za pomocą przycisków
F/f wybrać “System”, a następnie nacisnąć .
2 Aby wybrać jeden z następujących systemów telewizji, naciskać
przyciski
F/f, a następnie G.
B/G: dla krajów/regionów zachodnioeuropejskich
D/K: dla krajów/regionów wschodniej Europy
L: dla Francji
I: dla Wielkiej Brytanii
PL
20

010COV.book Page 21 Tuesday, June 26, 2007 12:38 PM
Uwaga
Zależnie od wybranego kraju/regionu, zaznaczonego w opcji “Kraj ” (strona 5), opcja ta
może nie być dostępna.
Kanał
1 Za pomocą przycisków
F/f wybrać “Kanał”, a następnie nacisnąć .
2 Za pomocą przycisków
F/f wybrać “S” (dla kanałów telewizji kablowej)
lub “C” (dla kanałów telewizji naziemnej), a następnie nacisnąć
g.
3
Aby wykonać strojenie kanałów należy postępować w następujący sposób:
Jeśli numer kanału (częstotliwość) jest nieznany
Naciskać przyciski F/f, aby znaleźć następny dostępny kanał. Z chwilą znalezienia
kanału, przeszukiwanie zatrzyma się. Aby kontynuować przeszukiwanie, nacisnąć
F/f.
Jeśli numer kanału (częstotliwość) jest znany
Przyciskami numerycznymi wpisać numer żądanego kanału stacji telewizyjnej lub
numer kanału magnetowidu.
4 Nacisnąć , aby przejść do “Potwierdź”, a następnie nacisnąć .
5 Nacisnąć
f, aby wybrać “OK”, a następnie nacisnąć .
Korzystanie z MENU funkcji
Powtórzyć powyższą procedurę, aby ręcznie zaprogramować inne kanały.
Nazwa
Nadaje wybranemu kanałowi nazwę wybraną przez użytkownika i zawierającą do 5
liter lub cyfr.
ARC
Pozwala wykonać ręczne strojenie precyzyjnie wybranego programu, jeśli
użytkownik uzna, że nieznaczna korekta dostrojenia poprawi jakość obrazu.
Filtracja dźwięku
Polepsza jakość dźwięku na poszczególnych kanałach w przypadku zniekształceń
transmisji monofonicznej. W pewnych przypadkach, niestandardowy sygnał
telewizyjny może powodować zniekształcenie dźwięku lub przejściowy zanik
dźwięku podczas oglądania programów emitowanych w mono.
Jeśli nie występują żadne zniekształcenia dźwięku, zalecamy pozostawienie
ustawienia fabrycznego “Wył.”.
Uwagi
• Po wybraniu opcji “Mała” lub “Duża” nie można odbierać dźwięku stereo lub podwójnego dźwięku.
• Funkcja “Filtracja dźwięku” nie jest dostępna, gdy “System” ustawiono na “L”.
Pomiń
Pomija nieużywane kanały analogowe, gdy podczas wyboru kanałów naciśnie się
PROG +/-. (Można wciąż wybrać pominięty kanał przyciskami numerycznymi).
Dekoder
Wyświetla i nagrywa kodowane kanały telewizyjne przy użyciu dekodera
podłączonego do złącza SCART / 1, albo do złącza SCART / 2 za
pośrednictwem magnetowidu.
Uwaga
Zależnie od wybranego kraju/regionu, wybranego w opcji “Kraj ” (strona 5), opcja ta może nie
być dostępna.
Potwierdź
Zachowuje zmiany dokonane w ustawieniach “Programowanie ręczne”.
PL
21

010COV.book Page 22 Tuesday, June 26, 2007 12:38 PM
Menu Ustawienia cyfrowe
Menu Ustawienia cyfrowe pozwala na zmianę/
Ustawienia
konfigurację nastaw kanałów cyfrowych.
Informacje o systemie
Wybór opcji w “Ustawienia”, patrz “Poruszanie
Automatyczna inicjalizacja
Język
English
się po menu” (strona 15).
Kraj
-
Autoprogramowanie
Sortowanie programów
Ustawienia A/V
Korekta dźwięku
Programowanie ręczne
Ustawienia cyfrowe
Powrót:
Wybierz:
Wprow.:
Koniec:
MENU
Strojenie cyfrowe
Wyświetla menu “Strojenie cyfrowe”.
Autoprogramowanie
Dostraja wszystkie kanały cyfrowe.
Edycja listy programóv
Usuwa wszystkie niechciane kanały cyfrowe zapisane w pamięci telewizora oraz
zmienia kolejność, w jakiej zapisane są kanały.
Programowanie ręczne
Umożliwia manualne strojenie kanałów cyfrowych.
Ustawienia
Wyświetla menu “Ustawienia cyfrowe”.
Ustawienia napisów
cyfrowe
Wyświetla na ekranie cyfrowe napisy u dołu ekranu.
Język napisów
Wybiera język, w którym wyświetlane są napisy u dołu ekranu.
Język audio
Wybiera język stosowany dla programu.
Typ audio
Po wybraniu “Słaby słuch” zwiększa poziom głośności.
Blokada zabezpiecz.
Pozwala ograniczyć wiekowo dostęp do programów.
Kod PIN
Do ustawienia kodu PIN po raz pierwszy lub do zmiany istniejącego kodu.
Wskazówka
Kod PIN 9999 jest zawsze akceptowany.
Ustawienia techniczne
Wyświetla menu "Konfiguracja techniczna".
“Auto. info. dot. usług”: Opcja ta pozwala na wyszukanie i zapisanie
nowoudostępnionych usług cyfrowych.
“Pobier. oprogramowania”: Opcja ta pozwala na automatyczne i bezpłatne pobranie
aktualizacji oprogramowania przez antenę (po opublikowaniu takich aktualizacji).
Sony zaleca, aby funkcja ta była stale włączona (ustawiona na “Wł.”). Jeśli
oprogramowanie nie ma być aktualizowane, opcję tę należy ustawić na “Wył.”.
“Informacje o systemie”: Wyświetla aktualną wersje oprogramowania oraz poziom
sygnału.
“Strefa czasu”: Pozwala ustawić strefę czasową w kraju użytkownika.
Ustawienia modułu CA
Po uzyskaniu Modułu Dostępu Warunkowego (CAM) i specjalnej karty, opcja ta
umożliwia uzyskanie dostępu do usługi płatnej telewizji Pay Per View. Patrz strona
23 w celu uzyskania informacji na temat położenia gniazda (PCMCIA).
PL
22

010COV.book Page 23 Tuesday, June 26, 2007 12:38 PM
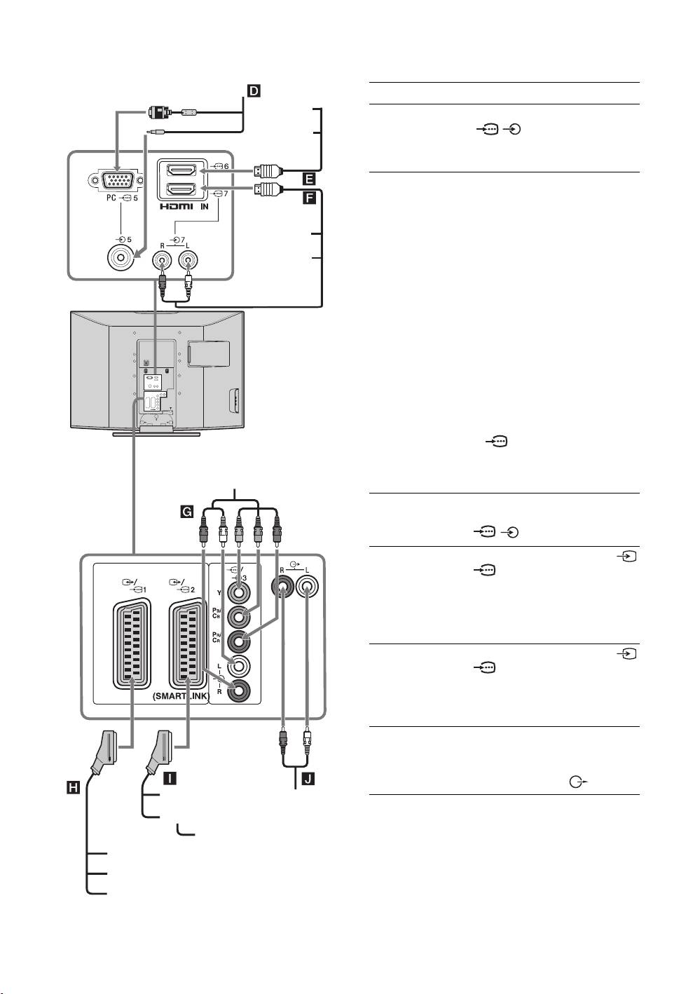
Korzystanie z dodatkowego sprzętu
Podłączanie dodatkowego sprzętu
Do odbiornika TV można podłączyć cały szereg dodatkowych urządzeń. Przewody łączące nie zostały dostarczone
w komplecie.
Podłączenie do gniazd z boku odbiornika TV
Aby podłączyć Należy
Moduł Dostępu
Opcja umożliwiająca korzystanie z
Warunkowego
usług Pay Per View.
(CAM) A
Więcej informacji można znaleźć
w instrukcji obsługi modułu CAM.
Aby użyć Modułu Dostępu
Warunkowego (CAM) należy
usunąć gumową zaślepkę z
gniazda CAM. Przed włożeniem
modułu CAM do gniazda CAM
należy wyłączyć odbiornik TV.
Jeśli moduł CAM nie jest
używany, zaleca się nałożenie
zaślepki na gniazdo CAM.
Korzystanie z dodatkowego sprzętu
Kamerę S VHS/
Podłączyć do gniazda S-video
Hi8/DVC B
4 lub gniazda video 4
oraz gniazd audio 4. Aby
uniknąć zakłóceń obrazu, nie
podłączać równocześnie kamery
do gniazda video 4 i gniazda
S-video 4. Sprzęt
monofoniczny należy podłączyć
do gniazda L 4, a “Podwójny
dźwięk” ustawić na “A”
(strona 17).
Słuchawki C Aby w słuchawkach odbierać
dźwięk z odbiornika TV należy je
podłączyć do gniazda i.
Czynności dodatkowe
Aby Należy
Kamera S VHS/
Wejść do Tabeli
Nacisnąć , aby wejść do Tabeli
Hi8/DVC
indeksu sygnałów
indeksu sygnałów wejściowych.
wejściowych.
(Następnie, tylko w trybie
analogowym, nacisnąć
g.) W celu
wybrania źródła sygnału
wejściowego nacisnąć
F/f, a
następnie .
Słuchawki
PL
23

010COV.book Page 24 Tuesday, June 26, 2007 12:38 PM
Podłączanie do gniazd znajdujących się z tyłu telewizora
PC
Aby podłączyć Należy
Odtwarzacz
DVD
PC D Podłączyć do gniazd PC
/. Zaleca się stosowanie
Odbiornik cyfrowej
przewodów komputerowych z
telewizji
satelitarnej
rdzeniem ferrytowym.
Odbiornik cyfrowej
Podłączyć do gniazda HDMI IN 6
telewizji
lub 7, jeżeli urządzenie posiada
satelitarnej lub
gniazdo HDMI. Cyfrowe sygnały
Odtwarzacz
odtwarzacz DVD
wideo i audio są wprowadzane z
DVD
E, F
urządzenia. Jeżeli urządzenie
Odbiornik
posiada gniazdo DVI, podłączyć
cyfrowej
gniazdo DVI do gniazda HDMI IN
telewizji
7 przez interfejs adaptera DVI -
satelitarnej
HDMI (brak w zestawie), a
gniazda wyjścia audio urządzenia
podłączyć do gniazd wejść audio
HDMI IN 7.
Uwagi
• Gniazda HDMI współpracują
tylko z następującymi wejściami
wideo: 480i, 480p, 576i, 576p,
720p i 1080i. Podłączając
komputer, należy użyć gniazda PC
.
•Należy pamiętać, aby używać
Odtwarzacz DVD
tylko kabla HDMI, na którym jest
z wyjściem kompozytowym
logo HDMI.
Odtwarzacz DVD z
Podłączyć do gniazd
wyjściem
kompozytowych oraz gniazd audio
kompozytowym G
/3.
Przystawkę do gier
Przyłączyć do złącza SCART /
video, odtwarzacz
1. Przy podłączeniu dekodera,
DVD lub dekoder
kodowany sygnał z tunera TV jest
H
wysyłany do dekodera, a następnie
dekoder wysyła sygnał
dekodowany.
Nagrywarkę DVD
Przyłączyć do złącza SCART /
lub magnetowid z
2. SMARTLINK stanowi
obsługą SmartLink
bezpośrednie łącze między
I
odbiornikiem TV, a
magnetowidem/nagrywarką DVD.
Sprzęt audio Hi-Fi
Aby odsłuchiwać dźwięk z
J
odbiornika TV na sprzęcie audio
Hi-Fi, połączyć z gniazdami
wyjściowymi audio .
Nagrywarka DVD
Hi-Fi
Magnetowid
Dekoder
Przystawka do gier video
Odtwarzacz DVD
Dekoder
PL
24

010COV.book Page 25 Tuesday, June 26, 2007 12:38 PM
Czynności dodatkowe
Oglądanie obrazów
Aby Należy
z podłączonych
Powrócić do
Nacisnąć DIGITAL lub
normalnego odbioru
ANALOG.
telewizyjnego
urządzeń
Wejść do Tabeli
Nacisnąć , aby wejść do Tabeli
Włączyć podłączone urządzenie i wykonać
indeksu sygnałów
indeksu sygnałów wejściowych.
jedną z następujących czynności.
wejściowych.
(Następnie, tylko w trybie
analogowym, nacisnąć
g.) W celu
W przypadku urządzenia podłączonego do
wybrania źródła sygnału
złączy 21-stykowym przewodem SCART
wejściowego nacisnąć
F/f, a
Rozpocząć odtwarzanie w podłączonym urządzeniu.
następnie .
Na ekranie pojawi się obraz z podłączonego
urządzenia.
W przypadku samoprogramującego się
magnetowidu (strona 4)
W trybie analogowym, kanał video można wybrać
naciskając przycisk PROG +/- lub przyciski
numeryczne.
W przypadku innego podłączenia urządzenia
Można również naciskać przycisk / , aż na
ekranie pojawi się odpowiedni symbol wejścia (patrz
niżej).
Korzystanie z dodatkowego sprzętu
AV1/ AV1, AV2/ AV2:
Sygnał audio/video lub RGB ze złącza SCART /
1 lub 2. pojawia się tylko jeśli podłączono
źródło RGB.
AV 3
Składowe sygnały wejściowe dostarczane są z gniazd Y,
P
B/CB, PR/CR / 3, a sygnały wejściowe audio z
gniazd L, R / 3.
AV 4 / AV 4 :
Sygnał cyfrowy audio/video jest odbierany z gniazda
4, natomiast sygnał wejściowy audio z gniazd audio
L (MONO), R 4. pojawi się tylko wtedy, gdy
urządzenie jest podłączone do gniazda S video 4
zamiast do gniazda video 4, a sygnał wejściowy S
video jest odbierany z gniazda S video 4.
5:
Sygnał wejściowy RGB dostarczany jest z gniazd PC
5, a sygnał wejściowy audio z gniazda .
AV 6 / AV 7 :
Cyfrowy sygnał audio/video jest odbierany z gniazda
HDMI IN 6, 7. Sygnał wejściowy audio jest sygnałem
analogowym tylko wtedy, gdy urządzenie podłączono do
gniazda DVI i audio.
PL
25

010COV.book Page 26 Tuesday, June 26, 2007 12:38 PM
Informacje dodatkowe
D/K:R1–R12, R21–R69
Dane techniczne
L: F2–F10, B–Q, F21–F69
I: UHF B21–B69
Panel LCD
Cyfrowych:VHF/UHF
Wymagania dotyczące zasilania:
Złącza
220–240 V AC, 50 Hz
Wielkość ekranu:
/1
KDL-40U25xx: 40 cali
21-wtykowe złącze SCART (standard CENELEC), w
KDL-32U25xx: 32 cale
tym wejście audio/video, wejście RGB, wyjście audio/
KDL-26U25xx: 26 cali
video TV.
Rozdzielczość ekranu:
/ 2 (SMARTLINK)
1,366 punktów (w poziomie) × 768 linii (w pionie)
21-wtykowe złącze SCART (standard CENELEC), w
Pobór mocy:
tym wejście audio-video, wejście RGB, wybieralne
KDL-40U25xx: 190 W lub mniej
wyjście audio/video oraz interfejs SMARTLINK
KDL-32U25xx: 115 W lub mniej
KDL-26U25xx: 100 W lub mniej
3
Pobór mocy w stanie czuwania*:
Obsługiwane formaty: 1080i, 720p, 576p, 576i, 480p,
KDL-40U25xx: 0.8W lub mniej
480i
KDL-32U25xx: 1 W lub mniej
Y: 1 Vp-p, 75 omów, 0.3V synchronizacja ujemna
KDL-26U25xx: 1 W lub mniej
P
B/CB: 0.7 Vp-p, 75 omów
* Podana moc pobierana w trybie czuwania jest
P
R/CR: 0.7 Vp-p, 75 omów
osiągana, gdy odbiornik TV zakończy wymagane
3
procesy wewnętrzne.
Wejście audio (gniazda foniczne typu "jack")
Wymiary (szer. × wys. × gł.):
500 mVrms
KDL-40U25xx:
Ok. 988 × 687 × 270 mm (z podstawą)
Impedancja: 47 kiloomów
Ok. 988 × 653 × 128 mm (bez podstawy)
4Wejście S video (4-wtykowe mini DIN)
KDL-32U25xx:
4Wejście video (gniazda foniczne typu "jack")
Ok. 797 × 580 × 220 mm (z podstawą)
4Wejście audio (gniazda foniczne typu "jack")
Ok. 797 × 548 × 125 mm (bez podstawy)
Wyjście audio (lewy/prawy) (gniazda foniczne typu
KDL-26U25xx:
"jack")
Ok. 663 × 503 × 220 mm (z podstawą)
PC Wejście PC Input (15 Dsub) (patrz strona 24)
Ok. 663 × 472 × 128 mm (bez podstawy)
G: 0.7 Vp-p, 75 omów, bez Sync on Green
Waga:
B: 0.7 Vp-p, 75 omów, bez Sync on Green
KDL-40U25xx:
Ok. 24,0 kg (z podstawą)
R: 0.7 Vp-p, 75 omów, bez Sync on Green
Ok. 21,0 kg (bez podstawy)
HD: 1-5 Vp-p
KDL-32U25xx:
VD: 1-5 Vp-p
Ok. 15,0 kg (z podstawą)
Wejście PC (minijack)
Ok. 13,0 kg (bez podstawy)
HDMI IN 6, 7
KDL-26U25xx:
Wideo: 1080i, 720p, 576p, 576i, 480p, 480i
Ok. 12,0 kg (z podstawą)
Audio: Dwukanałowy liniowy PCM
Ok. 10,0 kg (bez podstawy)
32, 44,1 oraz 48 kHz, 16, 20 i 24 bitów
System panelu:
Dźwięk analogowy (złącza uniwersalne – phono): 500
Panel z wyświetlaczem ciekłokrystalicznym
mVrms, Impedancja 47 kiloomów
(tylko HDMI IN 7)
System TV
i Gniazdo słuchawkowe
Analogowy:Zależnie od wybranego kraju/regionu:
Gniazdo CAM (Moduł Warunkowego Dostępu)
B/G/H, D/K, L, I
Cyfrowy:DVB-T
Moc dźwięku
KDL-40U25xx: 10 W + 10 W (RMS)
System kodowania kolorów
KDL-32U25xx: 10 W + 10 W (RMS)
Analogowy:PAL, SECAM
KDL-26U25xx: 10 W + 10 W (RMS)
NTSC 3.58, 4.43 (tylko wejście Video In)
Cyfrowy:MPEG-2 MP@ML
Dostarczone wyposażenie
Patrz “1: Sprawdzenie wyposażenia” na stronie 4.
Antena
75-omowa antena zewnętrzna VHF/UHF
Wyposażenie dodatkowe
• Ścienny uchwyt mocujący
Zakres kanałów
SU-WL51 (dla KDL-40U25xx)
Analogowych:VHF:E2–E12
SU-WL31 (dla KDL-32U25xx / KDL-26U25xx)
UHF:E21–E69
Dane techniczne oraz konstrukcja monitora mogą ulec
CATV:S1–S20
HYPER:S21–S41
zmianie bez uprzedzenia.
PL
26

