Sony MDX-C6500R – страница 5
Инструкция к CD Плееру Sony MDX-C6500R

Ställa klockan
Övriga funktioner
automatiskt
Med CT-data (Clock Time) från RDS-
Du kan också kontrollera enheten med hjälp av
överföringen ställs klockan automatiskt.
en vridkontroll (extra tillbehör).
1 Under radiomottagning trycker du på
(MENU) och sedan flera gånger på någon
sida av (DISC/PRST) tills “CT” visas.
Fästa etiketten på
vridkontrollen
Fäst den etikett som stämmer med hur du har
monterat vridkontrollen (se bilden).
2 Tryck flera gånger på (+) sidan av
(SEEK/AMS) tills “CT-ON” visas.
Klockan är ställd.
SOUND
MODE
DSPL
3 Tryck på (ENTER) för att återgå till det
normala teckenfönstret.
Avbryta CT-funktionen
DSPL
Välj “CT-OFF” i steg 2.
MODE
SOUND
Observera
• CT-funktionen kanske inte fungerar trots att en
RDS-kanal mottas.
• Det kan vara skillnad på tiden som ställts in av
CT-funktionen och den verkliga tiden.
21

Genom att vrida kontrollen
Använda vridkontrollen
(SEEK/AMS-kontrollen)
Vridkontrollen fungerar genom att du trycker
på knapparna och/eller vrider kontrollerna.
Du kan också kontrollera en valfri CD-/MD-
enhet med vridkontrollen.
Genom att trycka på knapparna
(SOURCE och MODE-knapparna)
Vrid kontrollen helt kort och släpp upp
(SOURCE)
den för att:
•Hitta ett visst spår på en skiva. Vrid och
håll kontrollen nere tills du hittar den
önskade punkten i spåret, och släpp sedan
upp kontrollen för att starta
(MODE)
uppspelningen.
•Ta in kanaler automatiskt. Vrid och håll
fast kontrollen för att hitta en specifik
kanal.
Varje gång du trycker på (SOURCE)
ändras funktionen på följande sätt:
Genom att trycka in och vrida
Tuner t CD* t MD
kontrollen (PRESET/DISC-
kontrollen)
* Om den motsvarande extrautrustningen inte
är ansluten kommer inte alternativet att
visas.
När du trycker på (MODE) ändras
funktionen på följande sätt;
• Tuner: FM1 t FM2 t FM3 t MW t LW
• CD-spelare*: CD1 t CD2 t …
• MD-spelare*: MD1 t MD2 t …
* Om motsvarande valfri utrustning inte är
ansluten, visas inte dessa alternativ.
Tryck in och vrid kontrollen för att:
•Ta in kanalerna som är lagrade på
snabbvalsknapparna.
•Byta skiva.
22

Övriga funktioner
Vrid kontrollen VOL för att
Ljudjustering
justera volymen.
Tryck på (ATT)
Du kan justera basen, diskanten, balansen och
för att dämpa
uttoningen.
ljudet.
Du kan lagra bas- och diskantnivåerna för
varje källa för sig.
OFF
1 Välj vilka egenskaper du vill justera
Tryck på (OFF)
genom att flera gånger trycka på
för att stänga av
(SOUND).
enheten.
Varje gång du trycker på (SOUND) ändras
alternativen enligt följande:
Tryck på (SOUND) när
BAS (bas) t TRE (diskant) t BAL (vänster-
du vill justera volymen
höger) t FAD (främre-bakre)
och ljudmenyn.
2 Ställ in det valda alternativet genom att
trycka på någon sida av (SEEK/AMS).
När du gör inställningen med hjälp av
Tryck på (DSPL) för att visa de
vridkontrollen trycker du först på (SOUND)
lagrade namnen.
och vrider sedan VOL-kontrollen.
Tips!
Om bilens tändlås saknar tillbehörsläge (ACC-läge)
Obs!
bör du komma ihåg att stänga av klockindikatorn
Gör justeringen inom tre sekunder efter det att du
genom att trycka på (OFF) under två sekunder
har valt alternativet.
sedan du har stängt av motorn.
Byta styrriktning
Kontrollens styrriktning är fabriksinställd
enligt bilden nedan.
öka
minska
Om du behöver montera vridkontrollen på
höger sida av ratten kan du växla styrriktning
för kontrollerna.
Tryck på (SOUND) under två sekunder
medan du trycker på VOL-reglaget.
Tips!
Du kan också ändra riktningen på de här
funktionerna med enheten (se “Ändra ljud och
teckenfönsterinställningar” på sidan 24).
23

1 Tryck på (MENU).
Snabbdämpa ljudet
(med vridkontrollen eller
2 Tryck flera gånger på någon sida av
(DISC/PRST) tills önskat alternativ visas.
kortfjärrkontrollen)
Varje gång du trycker på (–) sidan av
(DISC/PRST) ändras alternativen enligt:
Tryck på (ATT) på vridkontrollen eller
kortfjärrkontrollen.
CLOCK t CT t BEEP t RM t D.INFO t
1
2
“ATT-ON” blinkar till ett kort ögonblick.
DIMMER*
t M.DSPL t A.SCRL*
1
Återgå till tidigare ljudnivå genom att trycka
*
Endast MDX-C6500RV
2
på (ATT) en gång till.
*
Om ingen CD-skiva spelas på en enhet med
CD TEXT-funktion, eller ingen MD-skiva
spelas, visas inte det här alternativet.
Tips!
När en kabel till en biltelefon är ansluten till ATT
minskar enheten volymen automatiskt när ett
Observera
telefonsamtal kommer in (Telephone ATT) (endast
Visningen i teckenfönstret beror på källan.
MDX-C6500RX/C6500RV/C6500R).
Tips!
Du kan enkelt växla mellan kategorierna
(“SET”, “DIS”, “P/M” (uppspelningsläge) och
“EDT” (redigeringsläge)) genom att hålla
någon sida av (DISC/PRST) intryckt under två
Ändra ljud- och
sekunder.
teckeninställningarna
3 Tryck på (+) sidan av (SEEK/AMS) för att
Följande inställningar kan göras:
välja önskad inställning (Exempel: ON
SET (inställning)
eller OFF).
•CLOCK (Klockan) (sidan 8)
•CT (Clock Time) (sidan 21)
4 Tryck på (ENTER).
•BEEP — när du vill sätta på eller stänga av
När lägesinställningarna är klara återgår
ljudsignalen.
teckenfönstret till normalt
•RM (Vridkontroll) — när du vill byta
uppspelningsläge.
styrriktning på vridkontrollens reglage.
— Välj “NORM” om du vill använda
vridkontrollens fabriksinställningar.
— Välj “REV” om du vill montera
vridkontrollen på rattens högra sida.
DIS (teckenfönster)
•D.INFO (Dubbel information) — visar tid och
uppspelningsläge samtidigt (ON).
•DIMMER — tona ned teckenfönstret (ON)
eller inte (OFF) (endast MDX-C6500RV).
•M.DSPL (Rörligt teckenfönster) — för att slå
på/av den rörliga visningen (Motion
Display).
•A.SCRL (Automatisk bläddring) (sidan 10)
Observera
Om du ansluter en annan förstärkare istället för
att använda den inbyggda kopplas ljudsignalen
bort.
24

Ytterligare
Höja basljudet
information
— D-bass
Ger dig ett tydligare och starkare basljud.
Funktionen D-bass ger en mer påtaglig
förstärkning av de låga och höga frekvenserna
Underhåll
i signalen än den konventionella
basförstärkningen.
Byta säkring
Du kan lättare höra basgången även om
volymen på sången är densamma. Du kan
När du byter säkring måste du se till att du
enkelt förstärka och justera basljudet med
använder en med rätt ampéretal. Om
knappen D-BASS.
säkringen går, kontrollera anslutningen och
byt säkring. Om säkringen går igen kan det
D-BASS 3
bero på internt fel. I så fall ska du kontakta din
Nivå
D-BASS 2
Sony-återförsäljare.
D-BASS 1
D-BASS 3
D-BASS 2
D-BASS 1
0dB
Frekvens(Hz)
Justera baskurvan
Säkring (10 A)
Tryck på (D-BASS) flera gånger tills
önskad nivå på basen visas i
teckenfönstret.
VARNING
Använd aldrig en säkring med högre
B D.BASS 1 B D.BASS 2 B D.BASS 3
strömstyrka än den som medföljer enheten
eftersom denna kan skadas.
D.BASS-OFF b
För att avbryta väljer du “D.BASS-OFF”.
Observera
Om distorsion uppstår i basen ställer du in en läge
nivå av “D.BASS”‚ eller justerar volymen.
25

Rengöra anslutningarna
Byta litiumbatteriet
Enheten fungerar inte ordentligt om
När du måste hålla fjärrkontrollen på allt
anslutningarna mellan enheten och
kortare avstånd för att den ska fungera är det
frontpanelen är smutsiga. För att förhindra
tecken på att batteriet i den behöver bytas ut.
detta öppnar du frontpanelen genom att trycka
Byt ut batteriet med ett nytt CR2025
på (OPEN) och tar sedan bort den. Rengör
litiumbatteri.
kontaktblecken med en bomullstopp doppad i
alkohol. Ta inte i för hårt, då kan
anslutningarna skadas.
Huvudenheten
x
+ sidan uppåt
Baksidan på frontpanelen
Observera
• Slå av motorn och ta ur nycklarna ur tändlåset
innan du rengör anslutningarna. Detta är en
säkerhetsåtgärd.
• Rör aldrig anslutningarna med dina fingrar eller
något metallföremål.
Litiumbatterier
•Se till att inga barn kan få tag på
litiumbatteriet. Skulle ett batteri sväljas ska
du genast kontakta läkare.
•Torka batteriet med en torr duk så att
försäkrar du dig om bästa möjliga kontakt.
•Se till att du vänder polerna rätt när du
installerar batteriet.
•Förvara inte batteriet tillsammans med
metallföremål eftersom det ökar risken för
kortslutning.
VARNING
Batteriet kan explodera om du hanterar det
på fel sätt.
Ladda inte upp, ta isär eller elda upp
batteriet.
VARNING
Explosionsfara vid felaktigt batteribyte.
Använd samma batterityp eller en likvärdig typ
som rekommenderas av apparattillverkaren.
Kassera använt batteri enligt gällande föreskrifter.
26

5 Dra ut enheten ur sin infästning.
Demontera enheten
1 När du har tagit loss frontpanelen
trycker du in låshaken innanför höljet
med en tunn skruvmejsel och bänder
sedan försiktigt så att fronten kommer
fram.
2 Upprepa steg 1 på höger sida.
Fronten kommer är nu lös och kan tas bort.
3 Använd en smal skruvmejsel och skjut in
haken på vänster sida av enheten och
dra sedan ut vänster sida av
frontpanelen tills haken är frigjord.
4 mm
4 Upprepa steg 3 på höger sida.
27

Tekniska data
MD-spelare
Allmänt
1
Signal/brusförhållande 90 dB
Utgångar Ljudutgångar*
Frekvensgång 10 – 20.000 Hz
Styrkabel för motorantenn
Svaj och fladder Under mätbar gräns
Styrkabel för
effektförstärkare
2
Styrkabel för telefon-ATT*
Tuner
Tonklangreglering Bas ±9 dB vid 100 Hz
FM
Diskant ±9 dB vid 10 kHz
Tuningintervall 87,5 – 108,0 MHz
Strömförsörjning 12 V DC bilbatteri
Antennterminal Extern antennanslutning
(negativt jordat)
Mellanfrekvens 10,7 MHz/450 kHz
Mått Ca 178 × 50 × 183 mm
Känslighet 8 dBf
(b/h/d)
Selektivitet 75 dB vid 400 kHz
Monteringsmått Ca 182 × 53 × 162 mm
Signal/brusförhållande 66 dB (stereo),
(b/h/d)
72 dB (mono)
Vikt Ca 1,2 kg
Harmonisk distortion vid 1 kHz
Medföljande tillbehör Delar för installation och
0,6 % (stereo),
anslutningar (1 set)
0,3 % (mono)
Fodral för löstagar
Separation 35 dB vid 1 kHz
frontpanel (1)
Frekvensgång 30 – 15.000 Hz
Valfria tillbehör Vridkontroll RM-X4S
Trådlös fjärrkontroll
MW/LW
RM-X91
Tuningintervall MW: 531 – 1.602 kHz
Styrkablar BUS (levereras
LW: 153 – 279 kHz
med anslutningskabel med
Antennterminal Extern antennanslutning
RCA-kontakt)
Mellanfrekvens 10,7 MHz/450 kHz
RC-61 (1 m), RC-62 (2 m)
Känslighet MW: 30 µV
Valfri utrustning CD-växlare (10 skivor)
LW: 40 µV
CDX-828, CDX-737
MD-växlare (6 skivor)
MDX-65
Effektförstärkare
Väljare för ljudkälla
Utgångar Högtalarutgångar
XA-C30
(Sure-seal-anslutningar)
1
Högtalarimpdans 4 – 8 ohm
*
Utrustad med främre och bakre utgångar:
Maximal uteffekt 50 W × 4 (vid 4 ohm)
endast MDX-C6500RX/C6500RV/C6500R
Utrustad med bakre utgångar: MDX-C6400R
2
*
endast MDX-C6500RX/C6500RV/C6500R
Amerikanska och utländska patenter utfärdade av
Dolby Laboratories Licensing Corporation.
Rätt till ändringar förbehålles.
28

Felsökning
Följande checklista hjälper dig att lösa de flesta problem som du kan råka ut för med enheten.
Innan du går igenom checklistan nedan, ska du läsa anslutnings- och driftsinformationen.
Allmänt
Fel
Orsak/Åtgärd
Ljudbortfall.
•Avbryt ATT-funktionen.
•Ställ uttoningsreglaget i mittenläget om du använder två
högtalarsystem.
•Justera volymen genom att vrida ratten medurs.
Innehållet i minnet har raderats.
•Stömkabeln eller batteriet har kopplats ifrån.
•Reset-knappen har trycks in.
t Lagra i minnet igen.
Information visas inte i
Ta bort frontpanelen och rengör anslutningarna. Se “Rengöra
teckenfönstret.
anslutningarna” (sidan 26).
Ingen ljudsignal.
•Ljudsignalen har avaktiverats (sidan 24).
•Om du ansluter en valfri förstärkare, som ersättning för den
inbyggda, avaktiveras ljudsignalen.
CD/MD-uppspelning
Fel
Orsak/Åtgärd
En skiva kan inte laddas.
•En annan MD-skiva finns redan i skivfacket.
•MD-skivan skjuts in upp och ned eller felvänd.
Uppspelning påbörjas inte.
Skivan defekt (MD-skiva) eller dammig (CD-skiva).
En skiva matas ut automatiskt.
Temperaturen överstiger 50°C.
Reglagen fungerar inte.
Tryck på återställningsknappen.
Ljudbortfall på grund av
•Enheten har installerats i en vinkel över 20°.
vibrationer.
•Enheten har inte installerats på en stabil plats i bilen.
Ljudet är hoppigt.
Skivan är smutsig eller skadad.
Kan inte avaktivera indikatorn
Du kan inte namnge CD-skivor om du inte först ansluter en
“--------”.
CD-enhet med funktionen för egna minnen.
t Tryck på (LIST) under två sekunder.
29

Radiomottagning
Fel
Orsak/Åtgärd
Det går inte att förinställa en
•Lagra den rätta frekvensen i minnet.
radiokanal.
•Utsändningen är för svag.
Kanalerna kan inte tas emot.
Anslut en strömförande antennstyrkabel (blå) eller en
Ljudet är fullt av störningar.
strömkabel för tillbehör (röd) till bilens antennförstärkares
strömförsörjningskabel. (Detta gäller bara om du har en FM/
MW/LW-antenn inbyggd i bak- eller sidorutan).
Den automatiska sökningen
Utsändningen är för svag.
fungerar inte.
t Använd manuell sökning.
“ST”-indikatorn blinkar.
•Ställ in rätt frekvens.
•Utsändningssignalen är för svag.
t Ställ in i enkanaligt läge (MONO) (sidan 16).
RDS-funktioner
Fel
Orsak/Åtgärd
SEEK startar efter några
Det är inte en TP-kanal eller så sänder den en svag signal.
sekunders lyssning.
t Tryck flera gånger på (AF) eller (TA) tills “AF-OFF” eller
“TA-OFF” visas.
Inga trafikmeddelanden tas
•Aktivera “TA”.
emot.
•Kanalen sänder inte några trafikmeddelanden trots att den är
TP. t Ställ in en annan kanal.
”NONE” visas i PTY-läge
Kanalen anger inte programtyp.
30

Fel visas (med valfri CD/MD-spelare ansluten)
Följande indikeringar blinkar ungefär fem sekunder och larm hörs.
Teckenfönster
Orsak
Åtgärd
Skivmagasinet har inte satts in i CD/
Sätt i skivmagasinet med skivorna i
NO MAG
MD-spelaren.
CD/MD-spelaren.
Någon skiva har inte satts in i CD/
Sätt i skivorna i CD/MD-spelaren.
NO DISC
MD-spelaren.
En CD/MD-skiva går inte att spela
Sätt i en annan CD/MD-skiva.
NG DISCS
upp.
En CD-skiva är smutsig eller har satts i
Rengör eller sätt i CD-skivan
2
upp och ned.*
korrekt.
1
*
ERROR
En MD-skiva spelas inte upp på grund
Sätt i en annan MD-skiva.
2
av något problem.*
1
Inga spår har spelats in på en MD-
*
Spela upp en MD-skiva med
BLANK
2
skiva.*
inspelade spår.
CD/MD-spelaren kan inte användas
Tryck på återställningsknappen på
RESET
pga något fel.
spelaren.
Locket på MD-spelaren är öppet eller
Stäng locket eller sätt i MD-
MD-skivorna har inte satts i på rätt
skivorna på rätt sätt.
NO READY
sätt.
Temperaturen i omgivningen är mer
Vänta tills temperaturen sjunkit
HI TEMP
än 50°C.
under 50°C.
1
*
När ett fel uppstår under uppspelning, visas inte numret på MD-skivan eller CD-skivan i teckenfönstret.
2
*
Numret på skivan i magasinet som orsakat felet visas i teckenfönstret.
Om ovannämnda lösningar inte hjälper dig tar du kontakt med din närmaste Sony-återförsäljare.
31

Bem vindo!
Precauções
Gratos pela aquisição do Leitor de Minidiscos
• Se o seu automóvel estiver estacionado ao
Sony. Este aparelho está equipado com várias
sol, fazendo com que a temperatura no seu
funções que se podem activar através dos
interior aumente consideravelmente, deixe o
seguintes acessórios de controlo:
aparelho arrefecer antes de utilizá-lo.
• Se o aparelho não estiver a receber corrente,
Acessórios opcionais
verifique primeiro as ligações. Se estiver tudo
Comando rotativo RM-X4S
em ordem, verifique o fusível.
Comando sem fio RM-X91
• Se o automóvel estiver equipado com uma
antena eléctrica, esta estica-se
Para além da reprodução de MDs e das
automaticamente enquanto o aparelho está a
operações do rádio, pode expandir o sistema
funcionar.
ligando várias unidades de CD/MD
1
opcionais*
.
Se tiver alguma dúvida ou problema
Se estiver a utilizar este aparelho ou um
relacionado com o aparelho que não esteja
dispositivo de CD opcional equipado com a
abrangido neste manual, contacte o agente
função CD TEXT, quando reproduzir um
2
Sony mais próximo.
disco CD TEXT*
, as informações respectivas
aparecem no visor.
Condensação de humidade
1
*
Pode ligar carregadores de MD, de CD, leitores
Num dia chuvoso ou numa zona muito
de MD ou leitores de CD.
húmida, a humidade pode condensar-se nas
2
*
Um disco CD TEXT é um CD de áudio que inclui
lentes existentes no interior do aparelho. Se tal
informações, tais como os nomes do disco, do
acontecer, o aparelho não funciona
artista e das faixas.
correctamente. Neste caso, retire o disco e
Estas informações são gravadas no disco.
aguarde cerca de uma hora até a humidade se
evaporar.
Para manter um som de alta
qualidade
Se tiver suportes para copos junto do
equipamento de áudio, tenha cuidado em não
entornar sumo ou outros refrigerantes para
cima do aparelho e do MD. Os resíduos de
açúcar acumulados no aparelho ou no MD
podem danificar as lentes do aparelho, reduzir
a qualidade do som e ainda impedir a
reprodução do som.
2

Notas sobre a colagem das
Notas sobre os MD
etiquetas
Verifique se colou bem as etiquetas nas
O disco vem dentro de uma cartridge que o
cartridges, porque se estiverem mal coladas o
protege das dedadas e do pó. É, no entanto,
MD pode ficar encravado dentro do aparelho.
bastante resistente. Apesar disso, se o pó ou
sujidade se acumular na superfície da cartridge
•Cole a etiqueta numa posição adequada.
ou se esta estiver deformada, o aparelho
•Retire as etiquetas antigas antes de colocar as
poderá não funcionar correctamente. Para
novas.
obter melhores resultados, siga os conselhos
•Substitua as etiquetas que estão a descolar-se
fornecidos abaixo.
do MD.
Nunca toque na superfície propriamente
dita do disco, abrindo deliberadamente o
obturador da cartridge.
Ao ejectar o MD, o obturador pode estar
aberto. Neste caso, feche imediatamente o
obturador.
Não exponha o MD à luz solar directa ou a
fontes de calor, como saídas de ar quente. Não
deixe os MD dentro de um automóvel
estacionado ao sol, pois a temperatura no seu
interior pode subir consideravelmente.
Verifique se não deixou nenhum MD no tablier
Limpeza
ou na prateleira de trás do automóvel, pois a
Limpe, de vez em quando, a superfície da
temperatura pode ser muito elevada.
cartridge com um pano macio.
3

Índice
Localização das teclas .......................................... 5
Outras funções
Colocar as etiquetas no comando rotativo ..... 21
Como começar
Utilização do comando rotativo....................... 22
Reinicializar o aparelho....................................... 7
Regulação das características de som ............. 23
Retirar o painel frontal ........................................ 7
Redução do som ao mínimo ............................. 24
Ligar/desligar o aparelho................................... 8
Alteração das programações do visor e do
Como utilizar o menu.......................................... 8
som.................................................................. 24
Acertar o relógio................................................... 8
Intensificar o som dos graves
— D-bass ........................................................ 25
Leitor de MDs
Unidade CD/MD (opcional)
Informação adicional
Audição de um MD ............................................. 9
Manutenção ........................................................ 25
Reprodução repetitiva das faixas
Desmontagem do aparelho............................... 27
— Reprodução Repetitiva............................ 11
Especificações ..................................................... 28
Reprodução das faixas por ordem aleatória
Guia de resolução de problemas...................... 29
— Reprodução Aleatória ............................. 11
Identificação de CD
— Lista de títulos* ........................................ 12
Localização de um disco pelo nome
— Listagem* .................................................. 13
Selecção de faixas específicas para reprodução
— Banco* ....................................................... 14
* Funções disponíveis com a unidade de CD/MD
opcional.
Rádio
Memorização automática de estações
— Memória da Melhor Sintonia (BTM)..... 15
Memorização das estações pretendidas.......... 15
Recepção das estações memorizadas .............. 16
RDS
Panorâmica da função RDS .............................. 17
Visualização do nome da estação .................... 17
Resintonização automática do mesmo
programa
— Frequências Alternativas (AF) ............... 17
Ouvir informações sobre a situação do
trânsito............................................................ 18
Pré-programação dos dados AF e TA nas
estações RDS .................................................. 19
Localização de uma estação através do tipo de
programa........................................................ 20
Acerto automático do relógio........................... 21
4

Localização das teclas
I
PTY
OPEN
D
S
C
+
-
P
DSPL
R
S
T
+
MENU
LIST
D-BASS
TA
SOURCE
-
SEEK/AMS
AF
SOUND
ENTER
P
R
S
REP SHUF
T
-
-
D
I
S
C
–
MODE
OFF
1 2 3 4 56
MDX-C6500RX/C6500RV
/C6500R/C6400R
Para mais informações, consulte as respectivas páginas.
1 Botão de controlo do volume 19
qf Teclas SEEK/AMS –/+ (cursor para a
direita/esquerda)
2 Tecla MENU 8, 10, 12, 13, 14, 15, 16, 18,
8, 10, 12, 14, 16, 18, 19, 21, 23, 24
19, 21, 24
Sensor automático de música 10, 14
3 Teclas DISC/PRST +/– (mover cursor para
Pesquisa manual 10
cima/baixo)
Procura 15, 16, 18
8, 10, 12, 13, 14, 15, 16, 18, 19, 20, 21, 24
Durante a reprodução de CD/MD:
qg Tecla ENTER 8, 10, 12, 13, 14, 15, 16, 18,
mudar de disco 10, 13
19, 20, 21, 24
Durante a recepção de rádio:
qh Tecla MODE 19
seleccionar estações programadas 16
Durante a reprodução de CD ou MD:
4
Z Tecla (ejectar) (localizada na parte da
seleccionar unidade CD/MD 9, 13
frente do aparelho, por trás do painel
Durante a recepção de rádio:
frontal) 9
seleccionar BANDA 15, 16
5 Tecla DSPL/PTY (alteração do modo do
qj Receptor para o telecomando sem fio
visor/tipo de programa) 9, 10, 12, 17, 20
qk Teclas numéricas
6 Tecla LIST 12
Durante a recepção de rádio:
Listagem 13
Selecção do número programado 15,
16, 18, 19
7 Tecla SOURCE (TUNER/CD/MD)
Durante a reprodução de um CD/MD:
8, 9, 10, 13, 15, 16, 19
(1) REP 11
8 Janela do visor
(2) SHUF 11
9 Botão OPEN 7, 9, 26
ql Tecla AF 17, 18, 19
q; Botão D-BASS 25
w; Tecla TA 18, 19
qa Tecla SOUND 23
* Aviso sobre a instalação num
qs Tecla de reinicialização (localizada na
automóvel sem posição ACC
parte da frente do aparelho, por trás do
(acessórios) na chave de ignição
painel frontal) 7
Carregue em (OFF) no aparelho durante
qd Tecla OFF* 7, 8, 9
dois segundos para desligar o relógio,
depois de desligar o motor.
Se carregar em (OFF) menos de dois
segundos, o visor do relógio não se apaga o
que provoca o desgaste da bateria.
5

Localização das teclas
Telecomando sem fio RM-X91 (opcional)
Teclas do telecomando sem fio com
OPEN/CLOSE
funções idênticas às do aparelho.
OFF
1 Tecla OFF
MENU LIST
DISC
2 Tecla MENU
SEEK SEEK
3 Tecla SOURCE
SOURCE
4 Teclas SEEK/AMS
5 Tecla SOUND
SOUND
DISC
ENTER
6 Tecla DSPL (DSPL/PTY)
7 Tecla ATT
DSPL MODE
VOLATT
8 Tecla LIST
9 Teclas DISC/PRST
q; Tecla ENTER
qa Tecla MODE
qs Teclas VOL
Notas
• Se desligar o aparelho carregando em (OFF) durante 2 segundos, não poderá utilizá-lo com o
telecomando sem fio, a não ser que carregue em (SOURCE) no aparelho ou que introduza um disco para
activar o equipamento.
• Não deixe o telecomando sem fio de crédito em locais expostos à luz solar directa, por exemplo, em cima
do tablier, do volante, etc. O comando pode ficar deformado devido ao calor.
• O gravador de MiniDisc pode não funcionar correctamente se o telecomando sem fio, estiver exposto à
incidência directa da luz solar. Se isso acontecer, aproxime o comando do receptor do aparelho.
6

Colocar o painel frontal
Introduza o eixo B do aparelho no orifício A
do painel frontal como se mostra na ilustração
Como começar
e empurre o lado esquerdo para dentro.
Reinicializar o aparelho
A
O aparelho tem que ser reinicializado antes de
B
ser utilizado pela primeira vez ou após a
substituição da bateria do automóvel.
Retire o painel frontal e carregue no botão de
reinicialização com um objecto pontiagudo,
por exemplo, a ponta de uma esferográfica.
Tecla de reinicialização
x
Nota
Se carregar na tecla de reinicialização desactiva o
relógio e algumas das funções memorizadas.
Retirar o painel frontal
Pode retirar o painel frontal para impedir que
o aparelho seja roubado.
Notas
1 Carregue em (OFF).
• Não coloque o painel frontal ao contrário.
• Não faça muita pressão sobre o painel frontal
quando o colocar no aparelho.
2 Carregue em (OPEN) e, em seguida, faça
• Não carregue nem faça demasiada pressão sobre
deslizar o painel frontal para a direita e
o visor do painel frontal.
puxe o lado esquerdo para fora.
• Não exponha o painel frontal à incidência directa
dos raios solares, a fontes de calor, como saídas
de ar quente do sistema de aquecimento nem o
deixe num local muito húmido. Nunca o deixe
sobre o tablier de um automóvel estacionado ao
sol, porque pode ocorrer um aumento
considerável da temperatura no interior do
automóvel.
1
2
Alarme de advertência
Se rodar o selector da chave de ignição para a
posição OFF, sem retirar o painel frontal, o
Notas
alarme de advertência é activado e ouve-se um
• Não coloque nada na superfície interna do painel
sinal sonoro durante alguns segundos.
frontal.
Se ligar um amplificador de potência opcional
• Não deixe cair o painel ao retirá-lo do aparelho.
e não utilizar o amplificador incorporado, o
• Se retirar o painel com o aparelho ligado, este
sinal sonoro é desactivado.
desliga-se automaticamente para não avariar os
altifalantes.
• Se levar o painel frontal consigo coloque-o na
caixa de transporte fornecida.
7

Ligar/desligar o aparelho
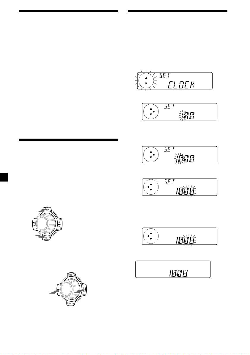
Acertar o relógio
Ligar o aparelho
O relógio tem uma indicação digital de 24
horas.
Carregue em (SOURCE) ou introduza o MD.
Para obter mais informações, consulte a página
Exemplo: Para acertar o relógio para as 10:08
9 (MD/CD) e a página 15 (rádio).
1 Carregue em (MENU) e, depois, várias
Desligar o aparelho
vezes num dos lados de (DISC/PRST) até
aparecer a indicação “CLOCK” no visor.
Carregue em (OFF) para interromper a
reprodução do MD/CD ou a recepção de rádio
(a luz da tecla e o visor mantêm-se acesos).
Carregue em (OFF) durante dois segundos
para desligar completamente o aparelho.
Nota
1 Carregue em (ENTER).
Se a chave de ignição não tiver a posição ACC,
certifique-se de que o aparelho fica bem
desligado, carregando em (OFF) durante dois
segundos, para não descarregar a bateria do
automóvel.
A indicação das horas começa a piscar.
2 Carregue num dos lados de
(DISC/PRST) para acertar a hora.
Como utilizar o menu
O funcionamento do aparelho é comandado
através da selecção dos elementos de um
menu.
3 Carregue no lado (+) de (SEEK/AMS).
Para fazer a selecção, entre no modo de menu e
escolha para cima/baixo ((+)/(–) de
(DISC/PRST)), ou esquerda/direita ((–)/(+) de
(SEEK/AMS)).
(DISC/PRST)
A indicação dos minutos começa a
piscar.
(+): para seleccionar para
cima
4 Carregue num dos lados de
SOURCE
(DISC/PRST) para acertar os minutos.
(–): para seleccionar para
baixo
2 Carregue em (ENTER).
(SEEK/AMS)
(–): para
(+): para
O relógio começa a funcionar.
seleccionar
SOURCE
seleccionar
para a
para a
Quando acabar de acertar o relógio, o visor
esquerda
direita
volta ao modo de reprodução normal.
Sugestão
Pode acertar automaticamente o relógio com a
Nota
função RDS (consulte a página 17).
No modo menu a marca “v” à esquerda do visor,
indica as teclas seleccionáveis de (DISC/PRST) e
Nota
(SEEK/AMS).
Desde que M.DSPL esteja regulado para OFF e o
modo D.INFO para ON, a hora aparece sempre
(página 24).
8

Quando terminar a última faixa do MD
Leitor de MDs
A indicação do número da faixa volta a “1” e a
leitura é reiniciada a partir da primeira faixa
Unidade CD/MD
do MD.
(opcional)
Para Carregue em
Parar a reprodução (OFF)
Além de reproduzir um MD apenas com este
Ejectar o MD (OPEN) e depois Z
aparelho, também pode controlar unidades
CD/MD externas.
Se ligar uma unidade de CD com a função CD
Reprodução de um CD ou MD
TEXT, quando reproduzir um disco CD TEXT.
(com uma unidade opcional de CD/MD)
as informações CD TEXT aparecem no visor.
1 Carregue em (SOURCE) várias vezes para
seleccionar “CD” ou “MD”.
Audição de um MD
2 Carregue em (MODE) até que o
dispositivo pretendido apareça no visor.
(só com este aparelho)
O aparelho inicia a reprodução do CD/MD.
1 Carregue em (OPEN) e coloque o MD.
Na unidade de CD/MD actual, todos os discos
Etiqueta virada para cima
são reproduzidos desde o início.
Alterar os elementos do visor
Z
Sempre que carregar em (DSPL/PTY) durante a
reprodução de MD, CD ou de um disco CD
TEXT, o elemento altera-se da seguinte forma:
V
1
Número do disco*
/Número da faixa/
Tempo de reprodução decorrido
V
2 Feche o painel frontal.
2
3
Nome do disco*
/Nome do artista*
A reprodução inicia-se automaticamente.
V
4
Se já tiver introduzido um MD, carregue várias
Nome da faixa*
vezes em (SOURCE) até aparecer a indicação
V
“MD” e inicie a reprodução.
5
FM1 Frequência ou nome da estação*
Os títulos do MD* e da faixa aparecem na
janela do visor seguidos pelo tempo de
*
1
Se tiver ligado uma unidade opcional de CD/MD
duração da reprodução.
(“Identificação de CD” página 12).
*
2
Se não tiver identificado o CD ou o disco CD
Indicação de MD
TEXT (“Identificar um CD” na página 12), ou
pré-gravado nenhum nome no MD, as
indicações “DISC” e “NO NAME” aparecem no
visor.
*
3
Se reproduzir um disco CD TEXT, o nome do
artista aparece no visor a seguir ao nome do
disco. (Só para discos CD TEXT que tenham o
Número de faixa
Tempo de reprodução
nome do artista.)
decorrido
*
4
Se não tiver pré-gravado o nome da faixa de um
disco CD TEXT ou de um MD, as indicações
* Somente se estes títulos estiverem pregravados
“TRACK” e “NO NAME” aparecem no visor.
no MD.
*
5
Se a função AF/TA estiver activada.
9

Depois de seleccionar o item pretendido, o
Nota
visor muda automaticamente para o modo de
Se os discos CD TEXT tiverem nomes com muitos
caracteres, pode acontecer o seguinte:
Visualização dinâmica passados alguns
— Alguns dos caracteres não aparecem.
segundos.
— A função Auto Scroll não funciona.
No modo de visualização dinâmica todos os
elementos apresentados acima passam no visor
um por um e por ordem.
Localização de uma faixa específica
— Sensor de Música Automático (AMS)
Nota
Se utilizar nomes personalizados, estes têm sempre
Durante a reprodução, carregue num dos
prioridade sobre as informações CD TEXT originais,
lados de (SEEK/AMS) e solte-o o número
no caso de aparecerem.
de vezes correspondente ao número de
faixas que pretende saltar.
Sugestão
Pode desactivar o modo de Visualização dinâmica.
(Consulte “Alteração das programações do visor e
do som” na página 24.)
Para localizar
Para localizar
as faixas
SOURCE
as faixas
anteriores
seguintes
Percorrer automaticamente um
nome de disco
— Auto Scroll
Se o nome do disco, do artista ou da faixa num
Localização de um ponto específico
MD ou CD TEXT tiver mais do que 8
numa faixa — Pesquisa Manual
caracteres e a função Auto Scroll estiver
activada, as informações passam
Durante a reprodução, carregue sem
automaticamente ao longo do visor da
soltar num dos lados de (SEEK/AMS).
seguinte maneira:
Solte o botão quando localizar o ponto
• O nome do disco aparece quando o disco mudar
pretendido.
(se o nome do disco estiver seleccionado como
elemento do visor).
• O nome da faixa aparece quando a faixa mudar
(se o nome da faixa estiver seleccionado como
Pesquisar
Pesquisar no
elemento do visor).
SOURCE
no sentido
sentido
• O nome do disco ou da faixa aparece
regressivo
progressivo
dependendo da regulação quando carregar em
(SOURCE) para seleccionar um MD ou um disco
CD TEXT.
Nota
Se carregar em (DSPL/PTY) para alterar o
Se aparecer a indicação “
” ou
elemento do visor, o nome do disco ou da faixa
“
” no visor, significa que chegou ao
início ou ao fim do disco e que não pode ir para
do MD ou do disco CD TEXT desfila
além desse ponto.
automaticamente quer a função Auto Scroll
esteja activada ou não.
Localização de um disco
1 Durante a reprodução, carregue em
— Selecção dos discos
(MENU).
Quando tiver ligado uma unidade
opcional de CD/MD, carregue num dos
2 Carregue várias vezes num dos lados de
lados de (DISC/PRST) para seleccionar o
(DISC/PRST) até que a indicação “A.SCRL-
disco pretendido.
OFF” apareça no visor.
O aparelho inicia a reprodução do disco
pretendido na actual unidade opcional de
CD/MD.
3 Carregue no lado (+) de (SEEK/AMS) para
seleccionar “A.SCRL-ON”.
4 Carregue em (ENTER).
Para cancelar a função Auto Scroll (desfile
automático), seleccione “A.SCRL-OFF” no
passo 3.
10

