Sony MPK-TR3: 1 Rimuovere la guarnizione toroidale.
1 Rimuovere la guarnizione toroidale.: Sony MPK-TR3

Maneggio della guarnizione toroidale
Collocare la guarnizione toroidale in posizione
Evitare di collocare la guarnizione toroidale in luoghi con polvere o sabbia.
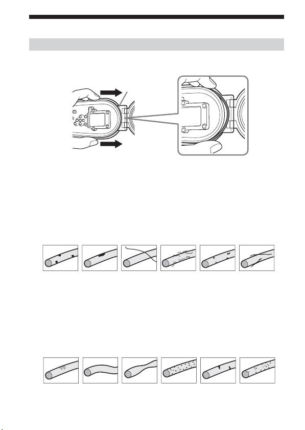
1 Rimuovere la guarnizione toroidale.
Guarnizione
toroidale
Per rimuovere la guarnizione toroidale, premerla leggermente e farla
scorrere in direzione della freccia come illustrato. La guarnizione toroidale
è abbastanza lenta da poter rimossa facilmente. Fare attenzione a non
graffiare la guarnizione toroidale con le unghie.
2 Ispezionare la guarnizione toroidale.
• Controllare bene quanto segue e pulire con un panno morbido o un
fazzoletto di carta.
– Sono presenti sporco, sabbia, capelli, polvere, sale, pelucchi, ecc.
–È rimasto lubrificante vecchio sulla guarnizione toroidale?
v Sporco v Sabbia v Capelli v Polvere v Sale
v Pelucchi
•Far passare leggermente un dito lungo la guarnizione toroidale per
controllare che non sia presente sporco non visibile.
• Dopo aver pulito la guarnizione toroidale, fare attenzione ad evitare che
fibre del panno o del fazzoletto di carta rimangano sulla superficie della
guarnizione toroidale.
• Controllare che la guarnizione toroidale non presenti incrinature,
storture, distorsioni, crepe sottili, graffi, penetrazioni di sabbia, ecc.
Sostituire la guarnizione toroidale se è incrinata o graffiata.
v Incrinature
v Storture
v Distorsioni
v Crepe
v Graffi
v Penetrazioni
sottili
di sabbia
2-IT
Оглавление
- 1 Remove the O-ring.
- 3 Inspect the O-ring groove.
- 1 Enlevez le joint torique.
- 3 Contrôlez bien la rainure du joint torique.
- 1 Den O-Ring herausnehmen.
- 3 Die O-Ring-Nut überprüfen.
- 1 Rimuovere la guarnizione toroidale.
- 3 Ispezionare la scanalatura per la guarnizione toroidale.
- 1 Verwijder de O-ring.
- 3 Inspecteer de groef voor de O-ring.
- 1 Retire la junta tórica.
- 3 Inspeccione la ranura de la junta tórica.
- 1 Remova o anel de vedação.
- 3 Inspeccione a ranhura do anel de vedação.
- 1 Ta bort O-ringen.
- 3 Undersök O-ringens spår.
- 1 Удалите уплотнительное кольцо.
- 3 Проверьте канавку под уплотнительное кольцо.
- 6 Посадите уплотнительное кольцо в канавку морского футляра.
- 1 取下 O 形環。
- 3 檢查 O 形環的凹溝。
- 1 取下 O 形环。
- 3 检查 O 形环的凹槽。
- 1 O링을 뺍니다.
- 3 O링의 홈을 점검합니다.
- 3@
- : ;/
- ?
-

