Sony MPK-NA: 1 Remova o anel de vedação.
1 Remova o anel de vedação.: Sony MPK-NA

Manuseamento do anel de vedação
Instale o anel de vedação no devido lugar
Evite ajustar o anel de vedação em locais com sujidade ou arenosos.
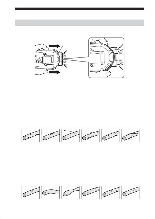
1 Remova o anel de vedação.
Anel de
vedação
Para remover o anel de vedação, pressione-o levemente e deslize-o na
direcção da seta, conforme a ilustração. O anel de vedação é
suficientemente flexível para ser removido facilmente. Tome cuidado para
não arranhar o anel com a unha.
2 Inspeccione o anel de vedação.
• Verifique cuidadosamente os pontos a seguir, e limpe o anel de vedação
com um pano macio ou lenço de papel.
– Verifique se há alguma sujidade, grão de areia, cabelo, poeira, sal,
fiapos de linha, etc.
– Verifique se há vestígios de lubrificante antigo.
v Sujidade v Areia v Cabelo v Poeira v Sal
v
Fiapos
de linha
• Corra levemente a ponta do seu dedo em torno do anel de vedação para
verificar se há alguma sujidade inaparente.
• Após limpar o anel de vedação, preste atenção para que nenhuma fibra
de tecido ou de lenço de papel reste no anel de vedação.
• Verifique se há rachaduras, assimetrias, distorções, fendas finas,
arranhões, impregnações de areia, etc. no anel de vedação. Substitua
anéis de vedação rachados ou arranhados.
v
Rachaduras
v
Assimetrias
v
Distorções
v Fendas
v
Arranhões
v
Impregnações
finas
de areia
2-PT
Оглавление
- 1 Remove the O-ring.
- 3 Inspect the O-ring groove.
- 1 Enlevez le joint torique.
- 3 Contrôlez bien la rainure du joint torique.
- 1 Den O-Ring herausnehmen.
- 3 Die O-Ring-Nut überprüfen.
- 1 Rimuovere la guarnizione toroidale.
- 3 Ispezionare la scanalatura per la guarnizione toroidale.
- 1 Verwijder de O-ring.
- 3 Inspecteer de groef voor de O-ring.
- 1 Retire la junta tórica.
- 3 Inspeccione la ranura de la junta tórica.
- 1 Remova o anel de vedação.
- 3 Inspeccione a ranhura do anel de vedação.
- 1 Ta bort O-ringen.
- 3 Undersök O-ringens spår.
- 1 Удалите уплотнительное кольцо.
- 3 Проверьте канавку под уплотнительное кольцо.
- 6 Посадите уплотнительное кольцо в канавку морского футляра.
- 1 取下 O 形環。
- 3 檢查 O 形環的凹溝。
- 1 取下 O 形环。
- 3 检查 O 形环的凹槽。
- 1 O링을 뺍니다.
- 3 O링의 홈을 점검합니다.
- 3@
- : ;/
- ?
-

