Panasonic TYWK5P1SW – страница 4
Инструкция к Panasonic TYWK5P1SW

Вырез сверху
5. Прикрепление и фиксация дисплея на
кронштейне для крепления на стену
Изоляционная прокладка
1. Используя наклеенные на стену установочные наклейки
сверху
в качестве направляющих, выровняйте верхнюю часть
дисплея слева и справа.
2.
2. Вставьте изоляционные прокладки на верхней части
Отверстие
дисплея в вырезы на верхней части кронштейна и медленно
сверху
опустите их на место.
3. Немного приподнимая дисплей, вставьте нижние
изоляционные прокладки в отверстия на нижней части
кронштейна для
крепления на стену, а затем опустите
дисплей прямо на место.
Поверхность стены
Поверхность стены
ПРЕДОСТЕРЕЖЕНИЕ
3.
• Если плазменный телевизор поднять слишком сильно, его верхняя
часть станет выступать из кронштейна для крепления на стену.
Изоляционная
прокладка снизу
4. Завинтите длинный винт для крепления аппарата ,
который был свободно зафиксирован при выполнении
действий пункта 5 раздела 3, пока он не будет завинчен до
упора.
Примечание
• Слишком сильное завинчивание длинного болта для крепления
аппарата или винта для крепления аппарата может привести
к деформации кронштейна.
5. Слегка приподнимите дисплей и проверьте, надежно ли он
4. Длинный болт для закрепления
зафиксирован на месте.
аппарата
6. Подсоедините кабель HDMI к тюнеру.
Как снять плазменный телевизор с
4.
кронштейна для крепления на стену
1. Поместите мягкое одеяло или кусок ткани под плазменный
телевизор.
Удалите длинный болт для крепления аппарата или винт для
крепления аппарата , который прикреплен к боковой стороне
кронштейна для крепления на стену.
Примечание
• В противном случае длинный болт для закрепления аппарата
или винт для закрепления аппарата могут по ошибке упасть,
Длинный
Поверхность стены
Поверхность стены
оставив следы на поверхности пола.
болт для
закрепления
Русский
2. Отсоедините провода, соединяющие плазменный телевизор с
аппарата
3.
другими устройствами.
Одеяло или
Изоляционная
3. Поднимая нижнюю часть плазменного телевизора, потяните
кусок ткани
прокладка снизу
плазменный телевизор на себя.
4. После того как снизу будут сняты изоляционные
прокладки,
Поверхность пола
поднимите плазменный телевизор прямо вверх.
5. Убедитесь в том, что плазменный телевизор, который теперь
снят с кронштейна для крепления на стену, располагается
вертикально, чтобы при обращении с ним к его передней или
задней панели не прилагалось никакого давления.
61

Запобіжні заходи
ПОПЕРЕДЖЕННЯ
Переконайтеся, що місце, де монтуватиметься виріб, достатньо міцне для забезпечення тривалого використання
кріплення.
•
Якщо з часом міцність стане недостатньою, дисплей може впасти і завдати травми.
Усі роботи з монтажу і підключення з’єднувального обладнання повинен виконувати кваліфікований спеціаліст.
• Неналежно виконаний монтаж може спричинити падіння виробу і призвести до травмування.
Під час розрахунку міцності вибраного місця для монтажу враховуйте коефіцієнт безпеки.
•
Якщо міцність монтажу буде недостатньою, виріб може впасти і завдати травми.
Не встановлюйте виріб у місцях, непридатних для витримування навантажень.
• Якщо місце для монтажу недостатньо міцне, виріб може впасти.
Не розбирайте і не модифікуйте настінний кронштейн.
• Це може призвести до пошкодження або падіння дисплея і отримання внаслідок цього травми.
ЗАСТЕРЕЖЕННЯ
Використовуйте лише ті телевізори та дисплеї, які наведені у каталозі.
• Інакше виріб може впасти і пошкодитися, водночас спричиняючи ризик отримання травм.
Не встановлюйте виріб у місцях із підвищеною вологістю, скупченням пилу, димом, водяною парою або
високою температурою.
• Ці чинники можуть негативно впливати на роботу плазмового телевізора, а також стати причиною пожежі чи
ураження електричним струмом.
Усі роботи зі встановлення та демонтажу плазмового телевізора мають виконуватися щонайменше двома людьми.
• Інакше виріб може впасти і завдати травми.
Не встановлюйте плазмовий дисплей лицьовою стороною вгору, на боці або нижньою стороною
догори.
• Це може спричинити скупчення тепла всередині телевізора, внаслідок чого може виникнути пожежа.
Залиште місце навколо плазмового телевізора - щонайменше 10 см зверху, 10 см ліворуч, 15 см
праворуч та 10 см унизу. Переконайтесь, що простір між задньою панеллю плазмового телевізора та
стіною не заблоковано.
•
Плазмовий телевізор має отвори для продуву повітря зверху та отвори для всмоктування повітря знизу та позаду.
Для установки плазмового телевізора використовуйте лише ті дії, які наведені в цих інструкціях: не
встановлюйте пристрій у жодний інший спосіб.
•
Недотримання цієї вимоги може призвести до падіння та пошкодження пристрою, а також травмування людини.
Закріпіть монтажні гвинти і кабель живлення таким чином, щоб вони не торкалися внутрішніх деталей стіни.
• Недотримання цієї вимоги може призвести до ураження електричним струмом від контакту з будь-якими
металевими предметами всередині стіни.
Використовуйте для установки спеціальні складові частини.
• Недотримання цієї вимоги може призвести до падіння плазмового телевізора зі стіни з можливим
травмуванням людини.
Демонтуйте виріб, котрий надалі не використовуватиметься.
• Інакше виріб може впасти та завдати травми.
Рекомендації стосовно поводження
1) Уважно вибирайте місце для встановлення телевізора, оскільки внаслідок дії світла або тепла (у разі
розміщення поблизу нагрівальних приладів або під прямим сонячним промінням) він може втратити
колір чи деформуватись.
2)
Чистьте настінний кронштейн м’якою сухою тканиною (наприклад бавовняною або фланелевою). Якщо
кронштейн сильно забруднено, змийте бруд водним розчином нейтрального миючого засобу, а потім
витріть кронштейн сухою тканиною. Не використовуйте бензол, розчинник або віск для меблів, тому що їх
застосування може призвести до відлущення фарби покриття.
(Щоб дізнатися, як чистити
дисплей, див. інструкцію до дисплея. При використанні хімічно обробленої тканини
спочатку уважно прочитайте інструкції до неї.)
3) Не прикріпляйте липку стрічку чи наліпки до виробу. Це може призвести до забруднення поверхні настінного
кронштейна. Запобігайте тривалому контакту пристрою з гумовими, вініловими та подібними виробами. (Це
призведе до погіршення властивостей пристрою.)
Українська
4) Будьте обережними під час встановлення виробу, оскільки струси можуть спричинити появу тріщин на
плазмовому дисплеї.
ЗАСТЕРЕЖЕННЯ
Цей настінний кронштейн призначений лише для плазмових дисплеїв Panasonic (Див. задній бік
обкладинки)
Використання з іншими пристроями може призвести до ненадійної фіксації, що може спричинити ризик
отримання травм.
МОНТАЖ ПОВИНЕН ВИКОНУВАТИСЬ СПЕЦІАЛІСТАМИ.
КОМПАНІЯ PANASONIC НЕ НЕСЕ ВІДПОВІДАЛЬНОСТІ ЗА БУДЬ-ЯКІ ПОШКОДЖЕННЯ ВЛАСНОСТІ
ТА/АБО СЕРЙОЗНІ ТРАВМИ, ВКЛЮЧАЮЧИ СМЕРТЬ, ЩО Є НАСЛІДКОМ НЕВІДПОВІДНОГО МОНТАЖУ
АБО НЕПРАВИЛЬНОГО ОБСЛУГОВУВАННЯ.
62

[ Зображення у цьому посібнику подаються лише з
Деталі
ілюстративною метою.]
Настінний кронштейн TY-WK5P1SW (Для вертикального монтажу)
Деталі для збирання настінного кронштейна
Верхні та нижні
Ліве кріплення основи
Праве кріплення основи
Гвинти М5х10
кріплення основи (2)
кронштейна (1)
кронштейна (1)
для збирання
конструкції
(4)
Деталі для монтажу
Вигляд повністю зібраної конструкції
Гвинти з утопленими
Розташувальні наклейки (2)
головками із внутрішнім
шестигранником M8×24 (4)
Увігнуті зубчасті шайби (4) Довгий болт для
закріплення пристрою (1)
Гвинт M6 x 50 для
закріплення пристрою (1)
Ізоляційні прокладки (4)
Торцевий ключ
(входить до комплекту) (1)
Зверніть увагу на наступну інформацію, перш ніж розпочинати встановлення:
♦ Плазмовий телевізор у комплекті, що буде приєднано до настінного кронштейна, складається з
дисплея, тюнера та динаміків.
Застережні заходи під час монтажу настінного кронштейна
♦ Настінний кронштейн використовується для закріплення плазмового телевізора на вертикальній стіні
для перегляду. Кронштейн дозволяється монтувати лише на вертикальній стіні.
♦ Щоб забезпечити належне функціонування плазмової панелі і запобігти виникненню несправностей, не
слід встановлювати телевізор у таких місцях:
• Поблизу розприскувачів або пожежних/димових детекторів
• В місцях, де є ризик вибуху
через вібрацію або поштовхи
• Поблизу високовольтних дротів або динамічних блоків живлення
• Поблизу джерел магнітного поля, тепла, пари або сажі
• В місцях, що піддаються впливу повітря, що видувається з опалювального обладнання
•
В місцях, де можуть утворюватись краплі конденсату від кондиціонерів повітря або іншого обладнання.
♦ Під час монтажу використовуйте метод кріплення, який найбільше відповідає структурі та матеріалу
поверхні, на якій встановлюватиметься кронштейн.
♦ Використовуйте наявні у продажу гвинти із номінальним діаметром 6 мм, які відповідають матеріалу
Українська
стіни, до якої кріпиться кронштейн (дерево, сталева конструкція, бетон тощо).
♦ Штепсель шнура живлення плазмового телевізора повинен легко діставати до
електричної розетки.
♦ Слід забезпечити нормальну вентиляцію, щоб температура у приміщенні, де знаходиться плазмовий
телевізор, не перевищувала 40 °C.
♦ Розстеліть м’яку ковдру або тканину на підлозі для того, щоб під час складання та монтажу дисплей та
підлога не подряпалися.
♦ При скріпленні деталей не затягуйте гвинти занадто сильно, але й
не допускайте недостатнього
затягування.
♦ Під час виконання робіт зі складання та монтажу або при пересуванні приділіть особливу увагу безпеці
робочого місця.
♦ Не можна монтувати плазмовий телевізор безпосередньо під освітленням на стелі (таким як точкові
світильники, прожектори або галогенні лампи), що зазвичай випромінює велику кількість тепла.
63

[ Використовуйте лише зазначені методи монтажу.]
Монтаж
1. Збирання настінного
Внутрішній бік: модель 46
кронштейна
дюймів
1. Вийміть гвинти, що фіксують ліве та
Зовнішній бік: модель 50 або
праве кріплення основи кронштейна.
Гвинт для фіксації кріплення
54 дюйма
основи кронштейна
2. Покладіть верхні та нижні кріплення
основи та ліве та праве кріплення
Верхні та нижні кріплення
основи кронштейна та , як показано
основи
на малюнку.
Ліве кріплення основи
кронштейна
3. Вставте упори лівого та правого
кріплення основи кронштейна у вирізи
верхніх і нижніх кріплень основи,
закріпіть
їх за допомогою двох гвинтів
для збирання кронштейна.
(Момент затягування: 1,2-1,5 Н•м)
4. Частково відкрийте нижню частину
лівого та правого кріплення основи
Виступ
кронштейна, вставте упори у вирізи
верхніх і нижніх кріплень основи,
Виріз
закріпіть їх за допомогою двох гвинтів
для збирання кронштейна.
Праве кріплення
Гвинти М5х10 для
(Момент затягування: 1,2-1,5 Н•м)
основи кронштейна
збирання конструкції
Верхні та нижні кріплення
5. Затягніть гвинти, щоб
закріпити ліве та
основи
праве кріплення основи кронштейна,
які було послаблено під час кроку 1.
Примітка
• Утримуйте ліве та праве кріплення основи
кронштейна під час роботи із зібраним
настінним кронштейном. Утримання
верхнього та нижнього кріплень основи може
призвести до деформації виробу.
Одиниці виміру: мм
2. Перевірка міцності стіни в місцях
600
44080 80
монтажу
1. Настінний кронштейн важить приблизно 2,3 кг.
Дивіться інструкцію до плазмового телевізора, щоб
перевірити вагу телевізора, який буде закріплено на
настінному кронштейні.
2. Дивіться схематичне креслення настінного кронштейна
праворуч, щоб перевірити міцність стіни в шести
місцях монтажу конструкції. Якщо будь-яке з цих місць
недостатньо надійне, додатково укріпіть його.
Примітки
• П’ять попередньо просвердлених отворів розміщені у верхній
59.5 17.5325
частині, а інші п’ять — у нижній частині настінного кронштейна.
Використовуйте додаткові отвори, якщо стіну зроблено
з дерева або іншого матеріалу, що не дозволяє досягти
Отвори для кріплення до стіни у 6 місцях
Українська
потрібного рівня міцності кріпленням конструкції в шести
Обов’язково використовуйте гвинти для
місцях, як показано на кресленні праворуч.
Однак майте на увазі,
що залежно від матеріалу, з якого
закріплення конструкції.
зроблено стіну, на поверхні можуть з’явитися тріщини, якщо
гвинти будуть розташовані дуже близько один до одного.
• Прикріплюйте до конструкції лише плазмовий телевізор: Не
намагайтеся прикріпити до неї жоден інший пристрій.
• Щоб отримати інформацію про точні розміри змонтованого
плазмового телевізора, дивіться схематичне креслення
(
Див. задній бік обкладинки).
64

3. Прикріплення настінного
кронштейна до стіни
Примітки
Для моделі 46 дюймів не
•
Якщо необхідно вмонтувати гвинти або гайки перед монтажем
допускайте виступання гвинтів
настінного кронштейна, оскільки стіна зроблена з бетону, розмітьте
і болтів більш ніж на 5 мм.
стіну, приклавши до неї кронштейн або вирахувавши відстань між
отворами за допомогою креслення, а після цього вмонтуйте гвинти
та гайки з номінальним діаметром 6 мм або еквівалентні.
Вмонтовуючи гвинти, переконайтеся, що вони залишаються
висунутими на відстані від 10 до 15 мм від поверхні.
Для моделі 46 дюймів не допускайте виступання зі стіни
гвинтів і болтів, що використовуються у центральних отворах
верхніх і нижніх кріплень основи (3 отвори у кожному
кріпленні), більш ніж на 5 мм.
• Для монтажу настінного кронштейна використовуйте гвинти з
номінальним діаметром 6 мм або еквівалентні, що придбані
в господарчому магазині і придатні для матеріалу
стіни в
області монтажу.
• Закріпіть гвинти щонайменше в шести місцях.
1. Установіть настінний кронштейн таким чином, щоб
стрілки на ньому були спрямовані вгору.
2. Спершу закрутіть гвинт у верхньому центральному
отворі .
3. За допомогою рівня відрегулюйте горизонтальне
положення конструкції, після чого закрутіть гвинти у
Стрілки
п’ятьох отворах, що залишились.
4. Щоб намітити контрольні лінії кріплення телевізора,
Одиниці виміру: мм
приклейте дві розташувальні наклейки до стіни
у місцях, показаних на схемі праворуч. Позиції для
(Для прикладу відображено, де
наклеювання (одна ліворуч, одна праворуч) дивіться на
приклеюються
наклейки для моделі 54 дюймів)
схематичному кресленні (Див. задній бік обкладинки)
Розташувальні
Розташувальні
• Розташувальні стрічки наклеюються на 80 мм вище
наклейки
наклейки
плазмового телевізора.
a: 414a: 414
(80)
b: 345
5. Несильно закрутіть довгий болт для кріплення пристрою
Українська
(два-три оберти) в отвір із різьбленням під правою
частиною правого кріплення основи кронштейна.
Примітка
Довгий болт для
• Лише для моделі 46 дюймів довгий болт для закріплення
закріплення пристрою
пристрою буде видно з правої сторони. Якщо через
умови встановлення або інші фактори цей болт виглядає
непривабливо, використайте замість нього гвинт для
закріплення пристрою , щоб несильно закріпити пристрій.
У цьому випадку використовуйте хрестоподібну викрутку
(довжиною щонайменше 40 см).
65

Монтаж
4. Прикріплення ізоляційних прокладок до
дисплея
1. Зніміть верхню частину зовнішньої картонної коробки від
плазмового телевізора та приберіть захисний пакет.
Щоб переконатися, що плазмовий телевізор не перекинеться,
потурбуйтесь про підставку спереду.
2. Відкрийте додаткову панель.
Додаткова панель
Вийміть монтажну підставку, коробку з приладдям і коробку з
динаміком із зовнішньої картонної коробки.
3. За допомогою хрестоподібної викрутки зніміть із дисплея чотири
Ковпачок
ковпачки.
Хрестоподібна викрутка
Примітка
• Тримайте монтажну підставку і також зняті кришки в надійному місці.
Ковпачок
4. За допомогою торцевого ключа (входить до комплекту)
установіть 4 гвинти з утопленими головками із внутрішнім
шестигранником , 4 увігнуті зубчасті шайби та 4 ізоляційні
прокладки у місцях, де було прикріплено ковпачки, як показано
на схемі праворуч.
(Момент затягування: 3-4 Н•м)
• Якщо під час монтажу не прикріпити ізоляційні прокладки , в
результаті може бути пошкоджено дисплей.
5. Під’єднайте кабель HDMI (з комплекту або придбаний окремо) до
дисплея.
Використовуйте кабель HDMI достатньої довжини для з’єднання
дисплея і тюнера.
Примітки
• Докладну інформацію щодо під’єднання динаміків та інших деталей
плазмового телевізора, а також під’єднання кабелю HDMI, див. в інструкції
з експлуатації плазмового телевізора.
• При використанні бездротового пристрою Hi-Vision дотримуйтесь інструкції
з експлуатації пристрою.
Українська
66

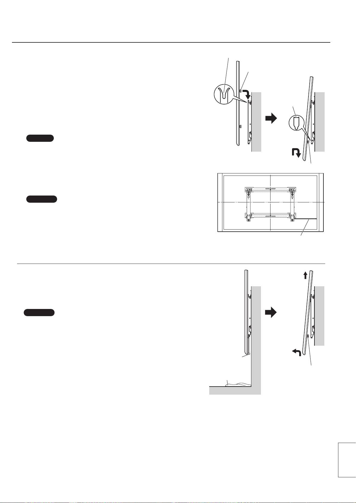
Виріз у верхній частині
5. Прикріплення та фіксація дисплея до
настінного кронштейна
Ізоляційна прокладка у
1. Використовуйте приклеєні до стіни розташувальні наклейки
верхній частині
як контрольні лінії, вирівняйте верхній край дисплея ліворуч
та праворуч.
2.
2. Розташуйте ізоляційні прокладки верхнього краю дисплея
Отвір у нижній
навпроти отворів у верхній частині кронштейна та повільно
частині
опустіть їх на місця.
3. Злегка підіймаючи дисплей, вставте нижні ізоляційні
прокладки до отворів у нижній частині настінного
кронштейна та
потягніть дисплей донизу.
Поверхня стіни
Поверхня стіни
ЗАСТЕРЕЖЕННЯ
• Якщо занадто сильно підняти телевізор, його верхня частина
3.
від’єднається від настінного кронштейна.
Ізоляційна прокладка
в нижній частині
4. Затягніть до кінця довгий болт для закріплення пристрою ,
який було несильно затягнуто під час кроку 5 розділу 3.
Примітка
• Занадто сильне затягнення довгого болта для закріплення
пристрою або гвинта для закріплення пристрою може
спричинити деформацію кронштейна.
5. Злегка підійміть дисплей і впевніться, що його надійно
закріплено на місці.
4. Довгий болт для закріплення
6. Під’єднайте кабель HDMI до тюнера.
пристрою
Від’єднання плазмового телевізора від
4.
настінного кронштейна
1. Підкладіть під плазмовий телевізор м'яку ковдру або тканину.
Видаліть довгий болт для закріплення пристрою або гвинт
для закріплення пристрою , який було прикріплено збоку до
настінного кронштейна.
Примітка
• Якщо цього не зробити, довгий болт для закріплення пристрою
або гвинт для закріплення пристрою можуть випадково випасти
Поверхня стіни
Поверхня стіни
та залишити подряпини на підлозі.
Довгий
болт для
2. Від’єднайте кабелі, що з’єднують плазмовий телевізор із іншими
закріплення
пристроями.
пристрою
3.
3. Піднімаючи нижню частину телевізора, потягніть його на себе.
Ковдра або
Ізоляційна прокладка
тканина
в нижній частині
4. Після від’єднання ізоляційних прокладок у
нижній частині,
просто підніміть телевізор.
Підлога
Українська
5. Переконайтеся, що знятий із настінного кронштейна плазмовий
телевізор розташовано у вертикальному положенні таким
чином, щоб уникнути навантаження на передню чи задню
панелі.
67

中文
68

♦
♦
♦
♦
♦
♦
中文
♦
♦
♦
♦
♦
69

600
44080 80
59.5 17.5325
中文
70

a: 414a: 414
(80)
b: 345
中文
71

中文
72

2.
墙壁表面
墙壁表面
3.
4.
墙壁表面
墙壁表面
3.
中文
73

Những chú ý an toàn
CẢNH BÁO
Đảm bảo vị trí lắp đặt đủ chắc chắn để có thể đặt TV lâu dài.
• Nếu vị trí lắp đặt không đảm bảo được độ bền chắc trong thời gian sử dụng lâu dài, TV plasma có thể rơi và sẽ
gây ra thương tích.
Công việc lắp ráp và kết nối thiết bị nên được thực hiện bởi một chuyên gia lắp đặt có trình độ.
• Lắp ráp không đúng cách sẽ làm rơi thiết bị
và gây ra thương tích.
Hãy tính toán hệ số an toàn khi xem xét độ vững chắc của vị trí dự định lắp đặt.
• Nếu vị trí lắp đặt không chắc chắn, thiết bị có thể bị rơi, gây thương tích.
Không lắp đặt ở vị trí không chịu được tải trọng.
• Nếu vị trí lắp đặt thiếu chắc chắn thiết bị có thể bị rơi.
Không tháo dỡ hoặc chỉnh sửa giá đỡ treo tường.
• Nếu không, thiết bị có thể rơi, bị hư hỏng, và có thể gây thương tích cho người.
CHÚ Ý
Không dùng cho bất kỳ loại TV hoặc màn hình nào khác ngoài loại đã nêu trong catalogue.
• Nếu không, thiết bị có thể rơi, bị hư hỏng, và có thể gây thương tích cho người.
Không lắp đặt tại những nơi ẩm ướt, có bụi, khói, hơi nước hoặc nóng.
• Điều này có thể tác động xấu đến TV plasma và gây cháy hoặc chập điện.
Công việc lắp đặt hoặc tháo dỡ TV plasma phải do ít nhất hai người thực hiện.
• TV plasma có thể rơi và gây ra thương tích.
Không được đặt TV ngửa lên, đặt nghiêng hoặc đặt ngược TV.
• Làm vậy có thể sinh ra nhiệt bên trong TV plasma và dẫn đến cháy TV.
Để khoảng trống xung quanh TV plasma, ít nhất 10 cm phía trên đỉnh, ít nhất 10 cm ở phía trái, ít nhất 15 cm
ở phía phải và ít nhất 10 cm ở phía dưới. Đảm bảo sao cho khoảng trống giữa mặt sau của TV plasma và
tường phía sau không bị chèn.
• TV plasma có các lỗ thoát không khí ở phía trên đỉnh và các lỗ hút không khí ở dưới đáy và phía sau. Che kín
những lỗ này có thể gây cháy TV.
Lắp đặt TV plasma theo các bước cụ thể trong hướng dẫn dưới đây: Không được lắp đặt TV theo bất kỳ
cách nào khác.
• Nếu không, thiết bị có thể rơi, bị hư hỏng, và có thể gây thương tích cho người.
Gắn đinh vít và lắp cáp điện sao cho không tiếp xúc với phần phía trong của tường.
• Hiện tượng chập điện có thể xảy ra nếu tiếp xúc với bất cứ vật thể kim loại nào phía trong tường.
Khi lắp đặt, hãy sử dụng các bộ phận có chức năng riêng.
• Nếu không, TV plasma có thể rơi khỏi tường và sẽ gây thương tích.
Tháo bỏ sản phẩm không còn dùng tới nữa.
• Nếu không sản phẩm này có thể rơi xuống và gây thương tích cho người.
Các yêu cầu liên quan đến vận hành
1) Cẩn thận khi chọn vị trí đặt TV vì nếu đặt ở nơi có ánh nắng mặt trời chiếu trực tiếp hoặc gần lò sưởi TV có
thể bị bạc màu hoặc biến dạng.
2) Lau giá đỡ treo tường bằng vải mềm và khô (chẳng hạn như vải sợi bông hoặc vải flannen). Nếu giá đỡ quá
bẩn, hãy dùng chất tẩy trung tính được pha loãng trong nước để loại bỏ vết bẩn, sau
đó dùng vải khô để lau.
Không được sử dụng chất benzene, chất tẩy rửa, hay dụng cụ đánh bóng vì nó có thể làm cho lớp phủ bên
ngoài bị bong.
(Để biết thêm thông tin khi lau màn hình TV, hãy tham khảo tài liệu hướng dẫn sử dụng của màn hình. Nếu
sử dụng loại vải có xử lý hóa chất, hãy làm theo những hướng dẫn riêng cho loại vải đó.)
3) Không được dán băng dính hoặc keo lên giá đỡ. Làm như vậy có thể làm bẩn bề m
ặt của giá đỡ treo tường.
Không được để các chất làm từ cao su, hay nhựa vinyl hoặc các chất tương tự bám lâu trên giá đỡ. (Làm
như vậy sẽ gây hỏng bề mặt giá đỡ.)
4) Phải cẩn thận trong suốt quá trình lắp đặt vì chỉ một cú va chạm cũng có thể làm cho tấm chắn của TV
plasma bị rạn nứt.
Chú ý:
Loại giá đỡ này chỉ được áp dụng cho duy nhất loại TV plasma của Panasonic (Xem bìa sau).
Sử dụng thiết bị khác có thể làm cho giá đỡ không vững và sẽ gây ra thương tích.
YÊU CẦU LẮP ĐẶT MỘT CÁCH CHUYÊN NGHIỆP.
PANASONIC TỪ CHỐI MỌI TRÁCH NHIỆM VỀ TỔN HẠI VẬT CHẤT VÀ/HOẶC THƯƠNG TÍCH NGHIÊM
TRỌNG BAO GỒM CẢ TRƯỜNG HỢP TỬ VONG DO LẮP ĐẶT KHÔNG ĐÚNG CÁCH HOẶC ĐIỀU KHIỂN SAI.
Tiếng Việt
74
74

[Hình ảnh trong sách hướng dẫn này chỉ mang tính
Các thành phần
minh họa.]
Giá đỡ treo tườngTY-WK5P1SW (loại treo thẳng đứng)
Các bộ phận dùng để lắp ráp giá đỡ treo tường
Chân đế nối trên
Đế giá đỡ nối bên trái
Đế giá đỡ nối bên phải
Đinh vít M5x10
và dưới (2)
(1)
(1)
dùng để gắn cố
định (4)
Các bộ phận dùng để lắp đặt
Xem phần lắp ráp đã hoàn thành
Đinh vít đầu chìm Allen
Các miếng dính định vị (2)
M8x24 (4)
Vòng đệm (gioăng) hình
Bulông dài để siết chặt thiết bị (1)
đĩa răng cưa (4)
Đinh vít M6x50 để siết chặt
thiết bị (1)
Miếng đệm cách điện (4)
Chìa vặn Allen lục giác
(có cả dụng cụ) (1)
Chú ý các điểm sau trước khi tiến hành lắp đặt:
♦ Bộ TV plasma sẽ được gắn lên giá đỡ treo tường gồm có màn hình, bộ điều hướng và các loa.
Chú ý khi lắp ráp giá đỡ treo tường
♦ Giá đỡ treo tường được sử dụng để gắn cố định TV plasma theo chiều thẳng đứng trên tường. Không được
gắn giá treo lên bất kỳ bề mặt nào ngoài tường thẳng đứng.
♦
Nhằm đảm bảo cho TV plasma hoạt động tốt và ngăn chặn hỏng hóc, chú ý không lắp đặt TV ở các vị trí sau.
• Gần đầu phun nước hoặc hệ thống báo cháy/báo khói
• Ở nơi có nguy cơ bị chấn động hoặc bị va chạm mạnh
• Gần dây điện có điện áp cao hoặc nguồn điện năng cao
• Gần nguồn từ trường, hơi nóng, hơi nước hoặc muội bẩn
• Các nơi tiếp xúc trực tiếp với luồng không khí từ các thiết bị tỏa nhiệt
• Ở những nơi nước có thể tạo ra do ngưng tụ từ điều hoà nhiệt độ hoặc các thiết bị khác.
♦ Sử dụng các kỹ thuật phù phợp với cấu trúc và vật liệu của địa điểm dùng để lắp ráp.
♦ Sử dụng các đinh vít sẵn có trên thị trường với đường kính 6 mm phù hợp với chất liệu tường (như gỗ,
khung thép, bê tông vv) mà giá đỡ được gắn vào.
♦ Đối với phích cắm nguồn điện cho TV, hãy sử dụng ổ cắm điện có thể dễ dàng với tới.
♦ Đảm bảo luồng không khí tốt cho thiết bị sao cho nhiệt độ xung quanh không vượt quá 40 °C. Nếu không
đáp ứng được điều kiện này có thể sinh ra nhiệt phía trong TV plasma, và dẫn đến sự cố.
♦ Trải một tấm chăn hoặc vải mềm trên sàn nhà sao cho TV plasma và sàn nhà không bị Xây x
ước trong suốt
quá trình lắp đặt.
♦ Khi vặn đinh vít xuống các bộ phận, hãy đảm bảo rằng các đinh vít không được vặn quá lỏng hoặc quá chặt.
♦ Chú ý đảm bảo an toàn xung quanh khi tiến hành lắp ráp hoặc trong khi di chuyển quanh khu vực đang thực
hiện.
♦ Không được lắp đặt TV plasma ngay phía dưới đèn trần (đèn chiếu, đèn halogen vv) Nếu không vỏ máy sẽ
bị uốn cong hoặc bị hư hỏng do sức nóng tỏa ra.
Tiếng Việt
75
75

[Không được sử dụng bất cứ phương pháp nào
Quy trình lắp ráp
khác để lắp đặt.]
1. Lắp ráp giá đỡ treo tường
Phía trong: màn hình kiểu
1. Tháo bỏ các đinh vít cố định đế giá đỡ nối
46 inch
bên trái và đế giá đỡ nối bên phải .
Phía ngoài: màn hình kiểu
Đinh vít cố định đế giá
50 hoặc 54 inch
2. Đặt chân đế nối trên và dưới , đế giá đỡ
đỡ
nối bên trái và bên phải như trong
hình vẽ minh họa.
Chân đế nối trên và dưới
3. Lắp các vấu đỡ của đế giá đỡ nối trái và
Đế giá đỡ nối
phải vào các khe rãnh của chân đế ở phía
bên trái
trên, và siết chặt chúng lại bằng hai đinh vít
dùng để g
ắn giá đỡ.
(Siết chặt mômen quay: từ 1,2 đến 1,5 N•m)
4. Hé mở đáy của đế giá đỡ nối bên trái và
phải, và lắp các vấu đỡ của chúng vào các
khe rãnh của chân đế, và siết chặt chúng
bằng hai đinh vít dùng để gắn giá đỡ.
(Siết chặt mômen quay: từ 1,2 đến 1,5 N•m)
Vấu đỡ
5. Siết chặt các đinh vít để cố định đế giá đỡ
nối bên trái và đế giá đỡ nối bên phải
Khe rãnh
đã bị nới lỏng ở bước 1.
Đế giá đỡ nối
Đinh vít M5x10 dùng để gắn
bên phải
cố định
Ghi chú
Chân đế nối trên và dưới
• Giữ vững đế giá đỡ nối bên trái và đế giá đỡ nối
bên phải khi lắp ráp giá đỡ treo tường. Giữ chặt
chân đế nối trên và chân đế nối dưới có thể làm
biến dạng giá đỡ treo tường.
Đơn vị: mm
2. Kiểm tra độ bền chắc của vị trí lắp đặt
1. Giá đỡ treo tường có trọng lượng xấp xỉ 2,3 kg.
600
44080 80
Tham khảo sách hướng dẫn sử dụng TV plasma, và kiểm
tra trọng lượng của TV plasma sẽ được lắp trên giá đỡ treo
tường.
2. Tham khảo bản vẽ phác thảo của giá đỡ treo tường trong
hình vẽ bên phải, và kiểm tra độ chắc của tường tại sáu vị
trí lắp đặt được chỉ ra. Nếu bất cứ vị trí lắp đặt nào không
đủ
độ bền thì phải tiến hành gia cố cho vững chắc.
Ghi chú
• Có năm lỗ được khoan trước ở trên đỉnh và năm lỗ khác ở dưới
đáy của giá đỡ treo tường.
Sử dụng các lỗ dự phòng nếu tường làm bằng gỗ hay vật liệu
59.5 17.5325
không đủ độ vững khi gắn đinh vít vào sáu vị trí được chỉ ra trong
hình vẽ bên phải.
Tuy nhiên, hãy ghi nhớ rằng, phụ thuộc vào từng loại vật liệu dùng
Các lỗ gắn trên tường (tại 6 điểm)
làm bề mặt, bề mặt vật li
ệu có thể bị nứt nếu các đinh vít tại các vị
Dùng đinh vít tốt để siết chặt điểm cố định.
trí được đặt quá gần nhau.
• Chỉ được lắp TV plasma trên giá đỡ cố định: Không được đặt bất
cứ một loại đồ vật nào khác lên trên giá.
• Hãy tham khảo bản vẽ phác thảo để biết thêm chi tiết về kích cỡ
khi gắn TV plasma (Xem bìa sau).
Tiếng Việt
76

3. Gắn giá đỡ lên tường
Ghi chú
Trong trường hợp màn hình kiểu 46 inch,
• Nếu muốn gắn bulông hoặc đai ốc lên tường trước khi lắp giá đỡ
hãy giới hạn độ xê dịch theo đó các đinh
do tường làm bằng bê tông, hãy xác định vị trí của các lỗ rồi đặt
vít và bulông nhô ra không quá 5 mm.
giá đỡ đúng chỗ trên tường hoặc tính toán vị trí đặt lỗ từ bản vẽ
phác thảo, và sau đó gắn bulông và đai ốc với đường kính 6mm
hoặc tương đương 6mm. Khi gắn bulông, đảm bảo sao cho đầu
bulông nhô ra 10 đến 15 mm so với bề mặt c
ủa tường.
Trong trường hợp màn hình kiểu 46 inch, hãy giới hạn độ xê
dịch theo đó các đinh vít và bulông gắn ở các lỗ giữa của chân
đế nối trên và dưới (3 lỗ trên mỗi phần lắp ráp) nhô ra không
quá 5 mm so với bề mặt của tường.
• Để gắn giá đỡ lên tường, hãy sử dụng các đinh vít với đường
kính 6 mm hoặc có giá trị tương đương sẵn có từ một kho lưu trữ
và phải phù hợp với v
ật liệu trên tường tại vị trí lắp đặt.
• Gắn đinh vít vào ít nhất 6 vị trí.
1. Gắn giá đỡ treo tường sao cho các mũi tên hiển thị trên nó
được đặt theo chiều hướng lên.
2. Trước tiên, hãy siết chặt đinh vít ở lỗ chính giữa phía trên .
3. Sử dụng một mặt phẳng để cố định tránh vặn nghiêng sang
một bên, và sau đó siết chặt đinh vít ở năm lỗ còn lại.
Các mũi tên
4. Để tạo đường dẫn gắn TV plasma, hãy dính chặt hai miếng
Đơn vị: mm
dính định vị lên tường tại các vị trí được chỉ ra trong hình
(Ví dụ chỉ dẫn vị trí các miếng dính được
minh họa phía phải. Đối với các vị trí dính (một ở bên trái và
dính trên màn hình kiểu 54 inch)
một ở bên phải), tham khảo hình vẽ phác thảo (Xem bìa sau).
Các miếng dính định vị
Các miếng dính định vị
• Các vòng đệm định vị được dính chặt vào các vị trí phía trên TV
a: 414a: 414
plasma 80 mm.
(80)
b: 345
5. Siết nhẹ bulông dài để cố định bộ phận
(bằng cách quay
bulông qua 2 hoặc 3 vòng) vào trong lỗ đinh vít được đặt ở
phía dưới mặt bên phải của đế giá đỡ nối bên phải
.
Ghi chú
• Khi chỉ có màn hình kiểu 46 inch được sử dụng, bulông dài dùng
Bulông dài để siết chặt thiết bị
để cố định bộ phận sẽ lộ ra ở phía bên phải. Nếu các điều kiện
lắp đặt hoặc các yếu tố khác khiến cho bulông này trở nên mất
thẩm mỹ, thì hãy sử dụng đinh vít cố định bộ phận thay thế để
siết nhẹ lại. Trong trường hợp này, hãy sử dụng đầu tuốc-n
ơ-vít
Phillips dài (ít nhất dài 40 cm).
Tiếng Việt
77
77

Quy trình lắp ráp
4. Gắn các miếng đệm cách điện vào màn hình
1. Tháo phần trên đỉnh của hộp các-tông bên ngoài dùng cho bộ TV
plasma và kéo túi bảo vệ xuống. Đỡ ở mặt trước để đảm bảo cho TV
plasma sẽ không rơi ra ngoài.
2. Mơ đêm lot phu ra.
Đêm lot phu
Dơ bo gia đơ lăp đăt, hôp phu kiên va hôp loa tư hôp bia cưng bên
ngoai.
3. Sử dụng đầu tuốc-nơ-vít Phillips để tháo bốn nắp vít từ màn hình
Nắp vít
Đầu tuốc-nơ-vít Phillips
Ghi chú
• Đăt gia đơ lăp đăt va cac năp vit đa đươc thao ra ơ môt nơi an toan.
Nắp vít
4. Sử dụng chìa vặn Allen lục giác được cung cấp , gắn 4 vít đầu chìm
Allen , 4 vòng đệm hình răng cưa và 4 vòng đệm cách điện được
cung cấp tại các vị trí mà các nắp vít được gắn như mô tả trong hình
minh họa bên phải.
(Siết chặt mômen quay: từ 3 đến 4 N•m)
• Nêu cac miêng đêm cach điên không đươc găn trong suôt qua trinh lăp
đăt, thi hâu qua la man hinh co thê bi hư hong.
5. Nối cáp HDMI (dùng cáp được cung cấp sẵn hoặc cáp có sẵn từ nguồn
khác) tới màn hình.
Sử dụng cáp HDMI có chiều dài phù hợp với khoảng cách lắp đặt của
bộ điều hướng.
Ghi chú
• Để biết thêm chi tiết về cách gắn loa và các bộ phận khác đi kèm TV plasma
và cách nối cáp HDMI, hãy tham khảo hướng dẫn vận hành của TV plasma.
• Khi sử dụng màn hình không dây Hi-Vision (độ phân giải cao), hãy làm theo
những hướng dẫn nêu trong quyển hướng dẫn vận hành của bộ sản phẩm.
Tiếng Việt
78

Khe rãnh phía trên đỉnh
5. Gắn và siết chặt màn hình vào giá treo
Miếng đệm cách điện
tường
phía trên đỉnh
1. Sử dụng các miếng dính định vị dán lên tường như trong chỉ
dẫn, dóng thẳng đỉnh của màn hình ở phía bên trái và bên phải.
2.
2. Gắn cho khớp các vòng đệm cách điện phía trên đỉnh của màn
hình với các khe rãnh phía trên đỉnh của giá đỡ, và từ từ hạ
chúng xuống đúng vị trí.
Lỗ ở đáy
3. Trong khi nâng nhẹ màn hình lên, hãy gắn các vòng đệm cách
điện cuối cùng vào trong các lỗ ở đầu dưới của giá đỡ treo
tường, và sau đó kéo màn hình thẳ
ng xuống đúng vị trí.
CHÚ Ý
Bề mặt của tường
Bề mặt của tường
• Nếu TV plasma bị nâng lên quá nhiều, phần trên đỉnh của nó sẽ trở
nên không khớp so với giá đỡ treo tường.
3.
Miếng đệm cách điện ở đáy
4. Siết chặt bulông dài để cố định bộ phận , bộ phận này đã
được siết nhẹ trong bước 5 của phần 3, cho tới khi không siết
thêm được nữa.
Ghi chú
• Siết quá chặt bulông dài để cố định bộ phận hoặc đinh vít để cố
định bộ phận có thể làm cho giá đỡ bị uốn cong biến dạng.
5. Nâng nhẹ màn hình lên và kiểm tra để đảm bảo là nó được siết
chặt đúng vị trí.
4. Bulông dài để siết chặt thiết bị
6. Nối cáp HDMI vào bộ điều hướng.
Cách thức tháo dỡ TV plasma khỏi giá đỡ
4.
treo tường.
1. Đặt một chiếc chăn mềm hay một miếng vải dưới TV plasma.
Tháo bulông dài cố định bộ phận hoặc đinh vít cố định bộ phận
được gắn ở mặt bên của giá đỡ treo tường.
Ghi chú
• Nếu không, bulông dài để siết chặt thiết bị hoặc đinh vít để siết chặt
thiết bị có thể lỡ rơi xuống, để lại vết trên mặt sàn.
Bề mặt của tường
Bề mặt của tường
2. Tháo rời các dây nối TV plasma với các bộ phận khác.
Bulông dài để
3. Trong khi nâng phần đáy của TV plasma, hãy kéo TV plasma về phía
siết chặt thiết
bạn.
bị
3.
4. Ngay khi miếng đệm cách điện ở dưới đáy của TV được tháo ra, hãy
Chăn hoặc
Miếng đệm cách điện
nâng TV plasma theo chiều thẳng đứng.
miếng vải
ở đáy
5.
Đảm bảo cho TV plasma, hiện đã được tháo ra khỏi giá đỡ treo
Mặt sàn
tường, được giữ thẳng đứng trong khi nó đang được chuyển sao
cho không có vật nặng nào đè lên tấm phía trước và phía sau của
TV.
Tiếng Việt
79

Wall-hanging bracket (Vertical mounting type) External dimensions drawing
Wandhalterung (Typ für vertikale Anbringung)
Abbildung mit externen Abmessungen
Muurbevestigingssteun (voor verticale montage)
Tekening met buitenafmetingen
Staffa di montaggio alla parete (tipo per montaggio verticale)
Schema delle dimensioni esterne
Applique de fixation au mur (type pour montage vertical) Plan des dimensions extérieures
Soporte para colgar en pared (Tipo de montaje vertical) Dibujo de dimensiones externas
Suporte de instalação na parede (Montagem vertical) Desenho das dimensões externas
Väggupphängningshållare (vertikal monteringstyp) Detaljskiss över yttermått
Vægophæng (Type til lodret montering) Tegning af udvendige mål
Кронштейн для крепления на стену (Для вертикального монтажа)
Схема с внешними размерами
Настінний кронштейн (Для вертикального монтажу) Креслення зовнішніх розмірів
Giá đỡ treo tường (loại treo thẳng đứng)
Bản vẽ kích thước ngoài
※
A
a a
25 (1.0)
(Unit : mm (inches))
30 (1.2)
(Einheit: mm)
(Eenheid: mm)
b
600 (23.6)
(Unità: mm)
440 (15.7)
(Unité : mm)
(Unidad: mm)
(Unidade : mm)
(10.1)
B
(Enhet: mm)
402 (15.8)
325 (12.8)
256
D
300
(Enhed: mm)
(11.8)
(Единицы: мм)
(Одиниці виміру: мм)
60
34.5
(1.4)
C
E
(2.4)
(Đơn vị: mm)
※
• Positions where the positioning
stickers are adhered
• Applicable models
• Modelos aplicables
• Πодходящие
• Positionen für Befestigung der
• Zutreffende Modelle
• Modelos a que se
модели
Positionieraufkleber
• Modellen waarop van
aplicam
• Моделі
toepassing
• Modell
•
• Plaatsen waar de
• Modelli applicabili
• Anvendelige
•
Các mô hình áp dụng
plaatsingsetiketten moeten
• Modèles concernès
modeller
worden geplakt.
•
Posizioni dove attaccare gli
TX-P54Z1E
TH-P54Z1Z
autoadesivi di posizionamento
• Dimensions
TX-P54Z1B
TH-P54Z1M
• Abmessungen
TX-P46Z1E
•
Emplacements d’adhésion des
TX-P54Z1J
TH-P54Z1R
• Afmetingen
TX-P46Z1B
autocollants de positionnement
TX-PR54Z1
TH-P54Z1P
• Dimensioni
• Posiciones donde se van
• Dimensions
TX-P54Z11E
TH-P54Z1T
TX-P46Z1J
a colocar las pegatinas de
• Dimensiones
TX-P54Z11B
TH-P54Z1D
TX-PR46Z1
posicionamiento
• Dimensões
TX-P54Z11J
TH-P54Z1S
TX-P46Z11E
• Posições em que as
• Mått
TX-PR54Z11
TH-P54Z1W
etiquetas autocolantes de
• Mål
TC-P54Z1
TH-P54Z1N
TX-P46Z11B
posicionamento foram
• Размеры
TC-P54Z1X
TH-P54Z10H
colados
• Розміри
TX-P46Z11J
TH-P54Z1H
TH-P54Z10C
•
TX-PR46Z11
• Platser där
TH-P54Z1C
TH-P54Z10A
• Kích thước
positioneringsmärkena sätts
TH-P54Z1A
TH-P54Z10Z
fast
• Positioner, hvor
A
1428 (56.2) 1249 (49.2)
positionsstickerne er sat på.
B
820 (32.3) 719 (28.3)
• Места, на которые наклеены
C
516 (20.3) 472 (18.6)
установочные наклейки
• Позиції, на яких
D
474 (18.7) 430 (16.9)
приклеюються розташувальні
E
152 (6.0) 152 (6.0)
наклейки
a
•
414 (16.3) 325 (12.8)
※
• Các vị trí dán miếng dính định
b
345 (13.6) 245 (9.6)
vị
Web Site : http://panasonic.net
○ Panasonic Corporation 2009
c
M0309K1099 (PBS)

