Panasonic TYCE42PS20 – страница 5
Инструкция к Panasonic TYCE42PS20

9. Кабельдерді жинап қойыңыз
• Жалғау туралы мəліметтерді плазмалық дисплейдің пайдаланушы нұсқаулығынан қараңыз.
• Плазмалық дисплейдің артқы жағының төменгі бөлігіндегі терминалдарға қосылған сымдар мен
кабельдерді жинап, екі қысқышпен
қыстырып қойыңыз.
• Қорек шнурын басқа сымдармен жəне кабельдермен бірге байламаңыз.
Бекіткіш
Кабель
Бекіткіш
Кабель
Плазмалық дисплейді шешу
• Төбеге ілетін құрылғыны 0º-қа келтіріңіз, содан кейін
төбеге ілетін құрылғының сол жəне оң жақтарына
құрылғыны
бекіткен екі бұранданы шешіп алыңыз.
Плазмалық дисплейдің төменгі бөлігін көтеріңіз,
сосын сыртқа қарай тартып,
③
жоғары көтеріңіз.
①
Оқшаулағыш төсем
②
Бекітетін құрылғының
бұрандасы
(M5-35)
Казахский
81

Запобіжні заходи
ПОПЕРЕДЖЕННЯ
Усі роботи з монтажу, підключення з’єднувального обладнання та видалення повинен виконувати
кваліфікований спеціаліст.
• Неналежно виконаний монтаж може спричинити падіння виробу і призвести до травмування.
Під час розрахунку міцності вибраного місця для монтажу враховуйте коефіцієнт безпеки.
• Якщо міцність монтажу буде недостатньою, виріб може впасти і завдати травми.
Не встановлюйте виріб у місцях, непридатних для витримування навантажень.
• Якщо місце для монтажу недостатньо міцне, виріб може впасти.
Переконайтеся, що місце, де монтуватиметься виріб, достатньо міцне для забезпечення тривалого
використання кріплення.
• Якщо з часом міцність стане недостатньою, плазмовий дисплей може впасти і завдати травми.
Не розбирайте і не модифікуйте кронштейн для кріплення на стелю.
• Це може призвести до пошкодження або падіння пристрою і отримання внаслідок цього травми.
Виконайте дії із запобігання падінню кронштейна для кріплення на стелю.
• Якщо виконати встановлення неповністю, це може призвести до травмування або навіть смерті.
ЗАСТЕРЕЖЕННЯ
Використовуйте лише ті плазмові дисплеї, які наведені у каталозі.
• Інакше виріб може впасти і пошкодитися, водночас спричиняючи ризик отримання травм.
Не встановлюйте виріб у місцях із підвищеною вологістю, скупченням пилу, димом, водяною парою
або високою температурою.
• Ці чинники можуть негативно впливати на роботу плазмового дисплея, а також стати причиною пожежі чи
ураження електричним струмом.
Не встановлюйте плазмовий дисплей лицьовою стороною вгору, на боці або нижньою стороною догори.
• Це може спричинити скупчення тепла всередині плазмового дисплея, внаслідок чого може виникнути пожежа.
Не висніть на плазмовому дисплеї або кронштейні для кріплення на стелю та не вішайте на нього які-небудь предмети.
• Інакше плазмовий дисплей може впасти і завдати травми.
Не блокуйте вентиляційні отвори. Використовуючи кронштейн для кріплення на стелю, не закривайте
простір навколо плазмового дисплея.
• Інакше тепло може накопичитися усередині й спричинити пожежу.
Під час виконання робіт зі збирання та монтажу кронштейна для кріплення на стелю переконайтеся,
що всі гвинти щільно затягнуто.
• Результатом збирання, проведеного неналежним чином, може бути недостатня міцність; дисплей упаде, і це
призведе до його поломки й стане причиною виникнення травми.
Залишіть хоча б 10 см вільного простору вище, нижче, праворуч і ліворуч від плазмового дисплея.
Залишіть також як мінімум 7 см вільного місця позаду дисплея.
• Недотримання цих рекомендацій може спричинити пожежу.
Усі роботи зі встановлення та демонтажу плазмового дисплея мають виконуватися щонайменше двома людьми.
• Інакше плазмовий дисплей може впасти і завдати травми.
Використовуйте для установки спеціальні складові частини.
• Недотримання цієї вимоги може призвести до падіння плазмового дисплея зі стелі та/або його ушкодження з
завданням травми людині.
Закріпіть монтажні гвинти і кабель живлення таким чином, щоб вони не торкалися внутрішніх деталей стелі.
• Недотримання цієї вимоги може призвести до ураження електричним струмом від контакту з будь-якими
металевими предметами всередині стелі.
Знімаючи плазмовий дисплей, знімайте також і кронштейни для кріплення на стелю.
• Інакше виріб може впасти і пошкодитися, водночас спричиняючи ризик отримання травм.
Рекомендації стосовно поводження
1) Уважно вибирайте місце для встановлення плазмового дисплея, оскільки внаслідок дії світла або
тепла (у разі розміщення поблизу нагрівальних приладів або під прямим сонячним промінням) він
може втратити колір чи деформуватись.
2) Чистьте дисплей за допомогою м’якої сухої ганчірки (бавовняної або фланелевої). Якщо пристрій
занадто забруднений, спочатку змийте бруд розчином нейтрального
миючого засобу, а потім протріть
сухою ганчіркою. Не використовуйте миючі засоби, такі як бензол, розчинник або віск для меблів, тому
що їх застосування може призвести до відлущення фарби.
(Щоб дізнатися, як чистити плазмовий дисплей, див. інструкцію до дисплея. При використанні хімічно
обробленої тканини спочатку уважно прочитайте інструкції до неї.)
3)
Не прикріпляйте липку стрічку чи наліпки до виробу. Це може призвести до забруднення поверхні
кронштейна для кріплення на стелю. Запобігайте тривалому контакту пристрою з гумовими,
вініловими та подібними виробами. (Це призведе до погіршення властивостей пристрою.)
4)
Панель плазмового дисплея зроблена зі скла. Не докладайте до неї надмірну силу й не піддавайте її ударам.
ЗАСТЕРЕЖЕННЯ:
Українська
Цей настінний кронштейн призначений лише для плазмових дисплеїв Panasonic (Див. стор. 96-97).
Використання з іншими пристроями може призвести до ненадійної фіксації, що може спричинити ризик отримання травм.
МОНТАЖ ПОВИНЕН ВИКОНУВАТИСЬ СПЕЦІАЛІСТАМИ.
КОМПАНІЯ PANASONIC НЕ НЕСЕ ВІДПОВІДАЛЬНОСТІ ЗА БУДЬ-ЯКІ ПОШКОДЖЕННЯ ВЛАСНОСТІ
ТА/АБО СЕРЙОЗНІ ТРАВМИ, ВКЛЮЧАЮЧИ СМЕРТЬ, ЩО Є НАСЛІДКОМ НЕВІДПОВІДНОГО МОНТАЖУ
АБО НЕПРАВИЛЬНОГО ОБСЛУГОВУВАННЯ.
82

Деталі
Перевірте наявність усіх деталей та що їх кількість відповідає зазначеній.
Стельовий пристрій (1)
Болт для закріплення верхньої та нижньої
Гвинт для закріплення
секцій (2) M8 × 12
пристрою (2) M5 × 35
Стяжний болт для
Пружинна шайба (1)
Гайка із шайбою (1)
закріплення верхньої та
M8
M8
нижньої секцій
(1)
M8 × 100
Гвинт із утопленою
Увігнута зубчаста
Ізоляційна прокладка
Стельова кришка (1)
головкою із внутрішнім
шайба (4)
(4)
шестигранником (4) M8 × 32
Самонарізний гвинт (3)
Гвинт обмеження
Торцевий ключ
Фіксуючий пристрій (2)
обертання (1) M6 × 8
(входить до комплекту)
Пружинна шайба (1)
(1)
M6
[Зображення у цьому посібнику подаються лише з ілюстративною метою.]
Застережні заходи під час монтажу кронштейна для кріплення на стелю
♦ Дане обладнання є кронштейном, призначеним для кріплення на стелі плазмового дисплея з метою
перегляду. Конструкція кронштейна не дозволяє його встановлення на інших поверхнях з такою ж
надійністю, як на стелі.
♦ Щоб забезпечити належне функціонування плазмового дисплея і запобігти виникненню несправностей, не
слід його встановлювати у таких місцях.
• Поблизу розприскувачів або пожежних/димових детекторів
• В місцях, де є ризик вибуху через вібрацію або поштовхи
• Поблизу високовольтних дротів або динамічних блоків живлення
• Поблизу джерел магнітного поля, тепла, пари або сажі
• В місцях, що піддаються впливу повітря, що видувається з опалювального обладнання
• В місцях, де можуть утворюватись краплі конденсату від кондиціонерів повітря або іншого обладнання
♦ Під час монтажу використовуйте метод кріплення, який найбільше відповідає структурі та матеріалу
поверхні, на якій встановлюватиметься кронштейн.
♦ Під час монтажу кронштейна до стелі певної структури використовуйте такий метод кріплення та елементи
конструкції, які найбільше підходять до матеріалу конкретної поверхні.
♦ Слід забезпечити нормальну вентиляцію, щоб температура у приміщенні не перевищувала 40 °C.
Недотримання цього може призвести до накопичення тепла всередині плазмового дисплея і спричинити
його несправність.
♦ Розстеліть м’яку ковдру або тканину на підлозі для того, щоб під час складання та монтажу плазмовий
дисплей та підлога не подряпалися.
Українська
♦ При скріпленні деталей не затягуйте гвинти занадто сильно, але й не допускайте недостатнього затягування.
♦ Під час виконання робіт з монтажу приділіть особливу увагу безпеці робочого місця.
♦ Не можна монтувати плазмовий дисплей безпосередньо під освітленням на стелі (таким, як точкові
світильники, прожектори або галогенні лампи).
Це може призвести до деформації або ушкодження пластмасових деталей корпуса.
83

Монтаж
Одиниці виміру: мм
1. Перевірка міцності в місцях
350
монтажу
300
200
Кронштейн для кріплення на стелю важить
Отвори для установки
на стелю (8)
приблизно 16 кг.
Дивіться інструкцію до плазмового дисплея, щоб
14
Передня
перевірити вагу плазмового дисплея, який буде
частина
закріплено на кронштейні для кріплення на стелю.
24
200
300
Дивіться схематичне креслення кронштейна для
кріплення на стелю праворуч та перевірте міцність
стелі в восьми місцях монтажу конструкції. Якщо
R7
будь-яке
з цих місць недостатньо надійне, додатково
укріпіть його.
2. Підготовка стельового пристрою
(Задня сполучна
Стельовий
деталь)
У чотирьох місцях зніміть зі стельового пристрою
пристрій
захисне покриття для кронштейна (8 листів
(верхня секція)
покриття).
Встановіть пружинну шайбу
на гвинт обмеження
обертання
й закріпіть в положенні, показаному
праворуч.
(Момент затягування: 1,5-1,8 Н•м)
Видаліть два монтажних болти M8 зі стельового
Монтажний болт M8
пристрою й відокремте верхню й нижню секції
Стельовий пристрій
пристрою.
(нижня секція)
Гвинт обмеження
• При кріпленні стельового пристрою (нижньої секції)
обертання
Пружинна шайба
скористайтеся вилученими раніше монтажними
болтами M8.
Примітка
• Якщо Ви використовуєте плазмовий дисплей з
діагоналлю 58 дюймів, відрегулюйте кріпильні
Регулювальний кронштейн
кронштейни, як показано на малюнку.
Видаліть регулювальні гвинти (верхній та нижній) і
Видаліть
регулювальні
перемістіть регулювальні й кріпильні кронштейни,
гвинти.
як показано стрілками.
Вирівняйте отвори під гвинти й закріпіть за
Закріпіть
допомогою вилучених раніше гвинтів.
раніше вилучені
(З протилежного боку проведіть регулювання
регулювальні
гвинти тут.
аналогічним
чином.)
(Момент затягування: 1,5-2,0 Н•м)
Регулювальний кронштейн
Вигляд ззаду
3. Установка стельового пристрою
(верхньої секції)
Перш ніж встановлювати верхню секцію на стелю,
просмикніть дроти крізь трубку, як показано на
малюнку праворуч. Використовуйте заземлений
подовжувач шнура живлення (не входить до
Пласка шайба
комплекту постачання).
Пружинна шайба
Аналогічним чином просмикніть й інші сполучні
кабелі пристрою.
Болт M12
Методом, що відповідає структурі стелі, зробіть
у стелі отвори під болти M12. Встановіть верхню
Сполучні кабелі пристрою
секцію
за допомогою болта із шестигранною
Українська
Заземлений подовжувач
головкою під торцевий ключ (M12) (не входить до
комплекту постачання), пласкої шайби й пружинної
Стельова кришка
шайби.
* Прикріпіть стельову кришку
до стельової
Самонарізний гвинт
плити, за необхідності скористайтеся трьома
самонарізними гвинтами
.
84

Примітки
• Якщо стеля недостатньо міцна, її необхідно зміцнити.
• Використовуйте болти, які відповідають матеріалу стелі (не входять до комплекту постачання).
• Див. приклади установки на дерев'яних і бетонних конструкціях.
• Установка на дерев'яній конструкції (приклад)• Установка на бетонній конструкції (приклад)
Гайка
Монтажна плита
Пласка шайба
(мін. товщина 40 мм)
Бетон
Цвях
Анкерна гайка або
дюбель (M12)
Пласка шайба
Брус
Пружинна шайба
Пласка шайба
Болт M12
Пружинна шайба
Стельова плита
Болт M12
Стельова кришка
4. Кріплення стельового пристрою
(нижньої секції)
Просмикніть шнури й кабелі, що йдуть від
стельового пристрою (верхньої секції), крізь трубку
стельового пристрою (нижньої секції).
Вирівняйте отвори для регулювання висоти в
нижній секції стельового пристрою з отворами у
Стельовий
верхній секції. Надягніть пружинну шайбу
на
пристрій
Пружинна шайба
стяжний болт для закріплення верхньої й нижньої
(верхня секція)
Стяжний болт для
секцій
і просмикніть
болт через регулювальні
закріплення верхньої та
Гайка із шайбою
нижньої секцій
(M8-100)
отвори стельового пристрою. Потім тимчасово
Монтажний болт M8
затягніть його за допомогою гайки із шайбою
.
Відстань від центра
Біла лінія
дисплея до стелі
(Див. пункт B на
Монтажний болт M8
кресленні зовнішніх
розмірів на стор. 97.)
Схована
сторона
Біла лінія
+300mm
Стельовий
Болт для
пристрій
+200mm
закріплення
(нижня секція)
верхньої та
+100mm
нижньої секцій
Центр
(M8-12)
дисплея
+0mm
Отвори для регулювання висоти
Примітка
• Має бути видно не більше чотирьох отворів для
регулювання висоти. (Білу лінію не повинно бути
видно.)
Тимчасово затягніть два монтажних болти M8,
вилучені під час підготовки пристрою.
Максимально затягніть два болти для закріплення
Українська
верхньої й нижньої секцій
.
Після цього затягніть болти, попередньо затягнуті
під час виконання кроків 2
і 3.
(Момент затягування: 8-10 Н•м)
85

Монтаж
Хрестоподібна викрутка
5. Підготовка плазмового дисплея
Прикріплення ізоляційних прокладок
Розташуйте лицьову поверхню плазмового дисплея
на чистій тканині без бруду або сторонніх предметів і
дотримуйтесь процедури, описаної нижче.
Якщо на плазмовому дисплеї є виступаючі деталі,
подбайте про те, щоб не подряпати й не ушкодити їх.
За допомогою хрестоподібної викрутки зніміть із
Ковпачок
Ковдра
плазмового дисплея чотири ковпачки
.
Примітка
•
Тримайте монтажну підставку і також зняті ковпачки в надійному
місці.
(Вони знадобляться, якщо ви будете використовувати
⑬
підставку.)
⑦
За допомогою торцевого ключа
(входить до комплекту)
установіть 4 гвинти з утопленими головками із
⑧
внутрішнім шестигранником
, 4 увігнуті зубчасті шайби
Ковдра
⑨
та 4 ізоляційні прокладки
у місцях, де було знято
ковпачки, як показано на схемі праворуч.
(Момент затягування: 3-4 Н•м)
6. Установка плазмового дисплея на стельовий пристрій
Розташуйте верхні ізоляційні прокладки
плазмового дисплея в отворах кронштейна
Ізоляційна прокладка
для кріплення на стелю та повільно опустіть
дисплей на місце.
Злегка підіймаючи плазмовий дисплей, вставте
нижні ізоляційні прокладки в отвори у нижній
①
частині кронштейна для кріплення на стелю.
①
ЗАСТЕРЕЖЕННЯ
②
Виріз
• Якщо занадто сильно підняти плазмовий дисплей,
його верхня частина від’єднається від кронштейна
Виріз
для кріплення на стелю.
②
Українська
86

Виріз у верхній частині
Опустіть плазмовий дисплей на стельовий
пристрій.
Верхня ізоляційна прокладка
Встановіть два гвинти для закріплення пристрою
у призначені для них отвори з лівого та правого
Отвір у нижній
боку стельового пристрою.
частині
(Момент затягування: 1,5-2,0 Н•м)
Нижня ізоляційна
Примітки
прокладка
• Щоб уникнути падіння дисплея обов'язково прикрутіть
гвинти для закріплення пристрою
до основи.
• Злегка підніміть плазмовий дисплей і впевніться, що
його надійно закріплено на місці.
Гвинт для закріплення пристрою
(M5-35)……По одному з правого та
лівого боку
7. Регулювання кронштейна для
кріплення на стелю
Регулювання напрямку
Послабте два болти для горизонтального
кріплення. Відрегулювавши напрямок дисплея,
знову затягніть два послаблені болти для
закріплення дисплея на місці.
(Момент затягування: 6-7 Н•м)
Болти для
горизонтального
кріплення
Гвинти для регулювання кута
Регулювання кута
Цей стельовий пристрій можна закріпити в 7
Сполучна трубка
Положення
отворів для
положеннях під кутом від 0° до 30° із кроком в 5°.
регулювання кута
Якщо Ви хочете відрегулювати кут розташування
пристрою,
видаліть зі сполучної трубки гвинти
0° (вертикально)
для регулювання кута й виберіть потрібне
5°
розташування отворів для регулювання кута. Після
10°
цього знову встановіть гвинти.
15°
20°
(Момент затягування: 3-4 Н•м)
25°
30°
8. Заходи щодо запобігання падінню
Стеля
Щоб запобігти падінню кронштейна для кріплення на
стелю, переконайтеся, що стеля витримає його вагу.
Щоб уникнути травмування людей, що знаходяться
безпосередньо біля кронштейна для кріплення
на стелю, у випадку його зісковзування зі свого
положення, використовуйте для запобігання падінню
Трос
принаймні один трос, забезпечивши невелике
Українська
провисання.
• Щоб запобігти падінню кронштейна, використовуйте
наявний
у продажу трос.
87

Монтаж
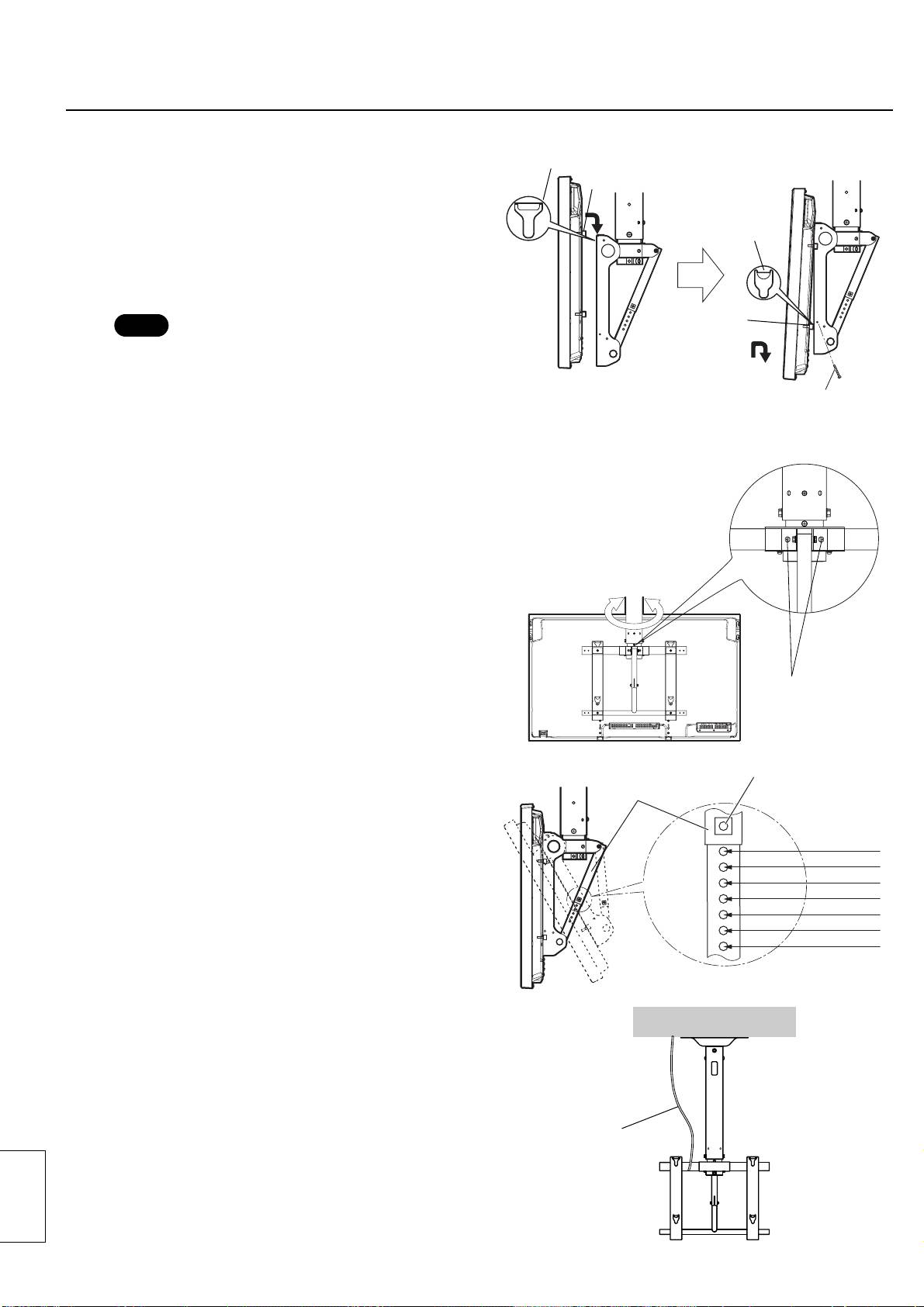
9. Зберіть кабелі
• Щодо схеми електропроводки, див. інструкцію для експлуатації плазмового дисплея.
• Зберіть у пучок шнури й кабелі, підключені до рознімань унизу задньої частини плазмового дисплея, і
закріпіть їх за допомогою двох фіксуючих пристроїв
.
• Не збирайте в пучок разом з іншими кабелями й шнурами шнур живлення.
Фіксуючий
Кабель
пристрій
Фіксуючий пристрій
Кабель
Знімання плазмового дисплея
• Встановіть стельовий пристрій під кутом
0º, потім
видаліть два гвинти для закріплення пристрою
з
лівого й правого боку стельового пристрою.
Підніміть нижню частину плазмового дисплея,
потягніть назовні
③
й підніміть вгору.
①
Ізоляційна
②
Гвинт для закріплення
прокладка
пристрою
(M5-35)
Українська
88

安全警告
警告
安裝工作以及連接設備的擴展和拆卸必須由合格的專業安裝人員完成。
• 如未正確安裝恐導致設備掉落,造成人員傷害。
考慮相關安裝位置的強度時,應同時考慮安全因素。
• 如果強度不夠,設備可能掉落,導致人員傷害。
請勿將設備安裝在無法承受其重量的位置。
• 如果安裝位置的強度不夠,可能造成設備掉落。
確保安裝位置具有足夠的強度,以支持長期使用。
• 如果在長期使用過程中出現強度不夠的情況, 則電漿顯示器可能掉落,並導致人員傷害。
請勿對吊架進行拆解或改裝。
• 否則可能導致裝置掉落和損壞,以及人員傷害。
請依照步驟操作,避免吊架從天花板掉落。
• 安裝不完全可能造成受傷甚至死亡。
注意
請勿使用目錄中所列的電漿顯示器以外的任何電漿顯示器。
• 否則可能導致裝置掉落和損壞,以及人員傷害。
請勿安裝在潮濕、多塵、充滿煙霧、蒸汽或熱的位置。
• 否則可能對電漿顯示器造成不良影響,導致火災或電擊。
請勿向上、側向或倒置安裝。
• 否則可能造成熱量堆積在電漿顯示器內部,導致火災。
請勿在電漿顯示器或吊架上懸吊物品。
• 電漿顯示器可能掉落並導致人員傷害。
請勿阻塞通風孔。使用吊架時,請勿堵塞電漿顯示器周圍的空間。
• 否則可能造成熱量在內部堆積,導致火災。
組裝並安裝吊架時,請確實鎖緊各個位置的螺絲。
• 錯誤組裝可能導致支撐力不夠,造成顯示器掉落引發損壞及受傷。
確保電漿顯示器的上、下、左、右均留有至少 10 釐米空間。 並且確保背部留有 7 釐米空間。
• 否則,可能導致火災。
電漿顯示器的安裝和拆卸必須由至少兩個人完成。
• 電漿顯示器可能掉落並導致人員傷害。
安裝時,請使用專用構件。
• 否則,電漿顯示器可能從天花板掉落並且 / 或損壞,並可能導致人員傷害。
安裝螺絲和電源線時,應確保螺絲和電源線未接觸天花板的內部部分。
• 接觸天花板內的任何金屬物體均可能導致電擊危險。
拆卸電漿顯示器時,請同時拆下吊架。
• 否則可能導致裝置掉落和損壞,以及人員傷害。
操作要求
1) 選擇電漿顯示器的安裝位置時請特別小心,如果將其置於陽光直射或靠近熱源的位置,可能導致顯示器變形和
褪色。
2) 清潔時請用柔軟乾布(棉製或棉絨)擦拭顯示器。如果本機太髒,請先將中性洗滌劑用水稀釋後將汙垢擦掉,
然後再用乾布擦乾。請勿將汽油、稀釋劑或家具蠟當作清潔劑使用,否則可能導致烤漆掉落。
(有關清潔電漿顯示器的更多資訊,請參閱電漿顯示器的用戶手冊。如果使用經化學 - 處理的布類,請遵循布
類的使用說明。)
3) 請勿在本產品上黏貼膠帶或貼紙,否則可能弄髒吊架表面。請勿讓本產品與橡膠、乙烯樹脂等產品長期接觸。
(否則會導致品質下降。)
4) 電漿顯示器的面板為玻璃質地。請勿讓其受到強力或衝擊。
注意:
本托架僅用於 Panasonic 電漿顯示器型號(請參閱第 96-97 頁)。
用於其他設備可能導致設備不穩定,進而造成人員傷害。
安裝需由專業人員進行。
PANASONIC 對因安裝不當或操作不正確導致的產品損失和 / 或嚴重傷害,包括死亡,恕不承擔任何責任。
中文
89

配件說明
請核對所有部件是否齊全,與所標明的數目是否相符。
吊架 (1)
固定上半部及下半部的螺栓 (2)
裝置固定螺絲 (2)
M8 × 12
M5 × 35
固定上半部及下半部的
彈簧墊圈 (1)
墊圈平頭螺帽 (1)
貫穿螺栓
(1)
M8
M8
M8 × 100
六角埋孔螺絲 (4)
蝶形帶齒墊圈 (4)
絕緣墊片 (4)
天花板蓋板 (1)
M8 × 32
懸臂自攻螺絲 (3)
旋轉止動螺絲 (1)
六角扳手
鉗子 (2)
M6 × 8
(隨附於工具中)(1)
彈簧墊圈 (1)
M6
[ 本手冊中所示圖像僅作為演示使用。]
吊架的安裝注意事項
♦
本設備用於將電漿顯示器懸掉在天花板,方便觀賞。吊架不能安裝在天花板以外的位置,以免支撐力不夠。
♦
為確保電漿顯示器的性能並避免任何麻煩,請勿將其安裝到任何以下位置。
•
噴水器或火災 / 煙霧探測器周圍
•
可能受到於震動或衝擊的位置
•
高壓電線或動態電源周圍
•
磁源、熱源、水蒸汽或煙灰周圍
•
暴露於加熱設備排氣孔的位置
•
空調或其他裝置可能形成凝露的位置
♦
使用適合安裝位置的結構和材料進行安裝。
♦
將吊架安裝至天花板時,請使用適合天花板結構的配件及安裝方法。
♦
確保空氣流通良好,保證環境溫度不超過 40℃。
否則,可能造成熱量在電漿顯示器內部堆積,導致顯示器功能失常。
♦
安裝時,請在地板上鋪一塊軟毯或布,以免裝配或安裝時刮傷電漿顯示器和地面,或在上面留下痕跡。
♦
栓緊零件時,確保螺絲未出現栓緊力度不夠或過度固定的情況。
♦
安裝過程中應特別小心,確保周圍安全。
♦
請勿將電漿顯示器安裝在吊燈下方(聚光燈、鹵素燈等)。
否則,機架可能因高熱導致彎曲或損壞。
中文
90

安裝步驟
單位:毫米
1. 檢查安裝位置的強度
350
吊架約重 16 公斤。
300
請參閱電漿顯示器的使用手冊,查看欲安裝到吊架上
200
的電漿顯示器裝置的重量。
天花板安裝孔 (8)
請參閱右側的吊架輪廓圖,查看所示的 8 個安裝位
14
置上天花板的強度。如果這些位置上任意一點的強度
前方
不夠,則應採取充分的加強措施。
24
200
300
R7
2. 準備好吊架
吊架
( 後方連接部分 )
拆下吊架支架四個位置上的保護膜 (8 張 )。
( 上半部 )
將彈簧墊圈
放在旋轉止動螺絲
上,然後依右
圖所示鎖住定位。
(鎖緊扭力:1.5 至 1.8 N ∙m)
從吊架上拆下 2 個 M8 組裝縲栓,拆開裝置的上半
部與下半部。
• 安裝吊架 ( 下半部 ) 時使用拆下的 M8 組裝螺栓。
M8 組裝螺栓
吊架
( 下半部 )
備註
旋轉止動螺絲
彈簧墊圈
• 如果使用 58 吋電漿顯示器,請如圖調整安裝框架。
拆下定位螺絲 ( 上半部與下半部 ),依箭頭所示滑動
定位框架及連接吊架。
對齊螺絲孔,鎖緊拆下的螺絲。
(依相同方法調整另一邊。)
(鎖緊扭力:1.5 至 2.0 N ∙m)
定位框架
拆下定位螺絲。
鎖緊拆下的定位
螺絲。
定位框架
後視圖
3. 安裝吊架 ( 上半部 )
在天花板上安裝上半部前,請依右圖所示將配線穿過
導管。請使用接地延長線以連接電源線 ( 不提供 )。
依相同方法穿過裝置其他纜線。
請使用適合天花板結構的方法鑽孔,插入 M12 螺絲。
使用六角螺栓 (M12) ( 未提供 )、平墊圈及彈簧墊圈。
平墊圈
* 視需要在天花板上安裝天花板蓋板 ⑩,使用 3 個懸
臂自攻螺絲
。
彈簧墊圈
M12 螺栓
裝置連接纜線
接地電源延長線
天花板蓋板
懸臂自攻螺絲
中文
91

安裝步驟
備註
• 若天花板強度不夠,請強化天花板。
• 請使用適合天花板結構的螺栓 ( 未提供 )。
• 請參閱木製結構及水泥結構的安裝範例。
•在木製結構上安裝 ( 範例 ) •在水泥結構上安裝 ( 範例 )
螺帽
安裝板子
平墊圈
( 厚度最小 40 毫米 )
水泥
釘子
地腳螺母或
捲曲插頭 (M12)
平墊圈
吊杆
彈簧墊圈
平墊圈
M12 螺栓
彈簧墊圈
天花板
M12 螺栓
天花板蓋板
4. 安裝吊架 ( 下半部 )
將吊架 ( 上半部 ) 的延長纜線穿過吊架 ( 下半部 )
導管。
將吊架下半部的高度調整孔對齊上半部的孔。將彈簧
墊圈
穿過固定上半部及下半部的貫穿螺栓
,
然後將螺栓穿過吊架調整孔。接著暫時鎖上墊圈平頭
螺帽
。
吊架
彈簧墊圈
( 上半部 )
白線
固定上半部及下半部的
顯示器中央到
貫穿螺栓
(M8-100)
天花板的距離
墊圈平頭螺帽
( 請參閱第 97 頁
M8 組裝螺栓
外觀尺寸圖 B。)
+300mm
+200mm
M8 組裝螺栓
+100mm
顯示器中央
+0mm
隱藏面
白線
吊架
固定上半部及下半部
( 下半部 )
的螺栓
(M8-12)
高度調整孔
備註
• 看得見的高度調整孔不要超過 4 個。( 白線應隱藏。)
暫時鎖上從吊架上拆下的 2 個 M8 組裝螺栓。
鎖緊 2 個螺栓,以固定上半部及下半部
。
再進一步鎖緊步驟 2 及 3 中暫時鎖上的螺栓。
(鎖緊扭力:8 至 10 N ∙m)
中文
92

十字型螺絲起子
5. 準備電漿顯示器
安裝絕緣墊
將電漿顯示器的正面放在一塊乾淨無塵或異物的布上,然後
按以下步驟進行。
如電漿顯示器有任何突出部分,請注意不要將其劃傷或損壞。
使用十字型螺絲起子自電漿顯示器上將四個螺帽拆下。
備註
帽
毯
• 將拆下的螺帽保存在一個安全的位置。
(使用基座時將需要使用。)
使用提供的六角扳手
,將提供的 4 個六角埋孔螺絲
、
4 個蝶形帶齒墊圈
和 4 個絕緣墊片
安裝至取下螺
⑬
帽的位置,如右圖所示。
(鎖緊扭力:3 至 4 N ∙m)
⑦
⑧
⑨
毯
6. 將電漿顯示器安裝至吊架
絕緣墊片
使電漿顯示器的上絕緣墊與吊架的開孔嚙合,並
緩慢將其降到位。
輕微提起電漿顯示器的同時,將底部絕緣墊片插
入吊架下半部的孔中。
①
注意
①
• 若將電漿顯示器提起過高,其頂部將脫離吊架。
②
開孔
開孔
②
中文
93

安裝步驟
頂部開孔
將電漿顯示器放低至吊架。
鎖緊 2 個螺絲,以將裝置 ③ 固定至吊架左右兩
上絕緣墊片
側的螺絲孔。
(鎖緊扭力:1.5 至 2.0 N ∙m)
底部孔
下絕緣墊片
備註
• 務必鎖緊螺絲,以將裝置
固定至底座,避免顯
示器掉落。
•略微提起電漿顯示器,檢查是否固定。
裝置固定螺絲
(M5-35)……左右各一個
7. 調整吊架
調整方向
鬆開兩個水平固定螺栓。調整電漿顯示器方向後,
將鬆開的螺栓鎖緊定位。
(鎖緊扭力:6 至 7 N ∙m)
水平固定螺栓
角度調整螺絲
調整角度
連接導管
吊架可依 7 種角度放置,從 0∘至 30∘,以 5∘
為一個增減單位。
角度調整孔位置
如果要調整角度,請從連接導管上拆下角度調整螺
絲,然後選擇角度調整孔的對應位置。最後重新鎖
0∘(垂直)
上螺絲。
5∘
(鎖緊扭力:3 至 4 N ∙m)
10∘
15∘
20∘
25∘
30∘
8. 請確實測量,以防掉落
天花板
測量時,請確認吊架重量可受支撐,以防吊架掉落。
為確保吊架滑離位置時站在下方的人員不會被擊中,
請使用至少一條鋼索並保持一定的鬆弛度,以防框架
掉落。
• 請使用市售鋼索,以防吊架掉落。
鋼索
中文
94

9. 聚集纜線
•接線的詳細信息,請參閱電漿顯示器的用戶手冊。
•請將連接至電漿顯示器後方底部端子的纜線綑綁起來,並以 2 個鉗子
固定。
•請勿將電源線與其它電線和纜線綑紮在一起。
鉗子
纜線
鉗子
纜線
拆下電漿顯示器
• 請將吊架轉回 0∘,然後拆下吊架左右兩側固定裝置③
的 2 個螺絲。
抬起電漿顯示器下半部,
往外拉出,
然後向上抬起。
③
①
②
絕緣墊片
裝置固定螺絲
(M5-35)
中文
95

プラズマディスプレイ天吊り金具
外形寸法図
Plasma Display ceiling-hanging bracket
External dimensions drawing
Halterung für Deckenbefestigung des Plasmadisplay
Abbildung mit externen Abmessungen
Plafond-ophangbeugel voor plasmadisplay
Tekening met buitenafmetingen
Staffa per il montaggio al soffitto dello schermo al plasma
Schema delle dimensioni esterne
Support de suspension au plafond pour écran à plasma
Plan des dimensions extèrieures
Soporte para colgar en el techo la pantalla de plasma
Dibujo de dimensiones externas
Plasmaskärmens takhängningshållare
Detaljskiss över yttermått
Loftsophæng til plasmaskærm
Tegning af udvendige mål
Потолочный кронштейн
Схема с внешними размерами
Плазмалық дисплейді төбеге ілетін кронштейн
Сыртқы өлшемдер сызбасы
Кронштейн для кріплення на стелю
Креслення із зовнішніми розмірами
電漿顯示器吊架
外觀尺寸圖
単位 :
mm
Unité: mm
Бірлік: мм
Unit: mm (inches)
Unidad: mm
Одиниці виміру: мм
Einheit: mm
Enhet: mm
單位: 毫米
Eenheid: mm
Enhed: mm
Unità: mm
Единицы: мм
350
350
Ø89.1 (※1)
A
B(※2)
C
433
H
300
I
F
E
571
D
G
G'※3
※
1
内側
Ø76.3
※
2
画面中央まで
※
3
スピーカーあり
Inner diameter: 76.3 mm
to center of display
With speakers
Innendurchmesser: 76,3 mm
bis zur Mitte des Displays
Mit Lautsprechern
Binnendiameter: 76,3 mm
tot midden van het scherm
Met luidsprekers
Diametro interno: 76,3 mm
al centro dello schermo
Con altoparlanti
Diamètre interne 76,3 mm
au centre de l'écran
Avec les enceintes
Diámetro interior: 76,3 mm
al centro de la pantalla
Con altavoces
Innerdiameter: 76,3 mm
till skärmens centerlinje
Med högtalare
Indre diamater: 76,3 mm
til midten af skærmen
Med højttalere
Внутренний диаметр: 76,3 мм
до центра дисплея
С динамиками
Ішкі диаметр: 76,3 мм
дисплейдің ортасына
Динамиктерімен бірге
Внутрішній діаметр: 76,3 мм
до центра дисплея
З колонками
內側直徑
: 76.3
毫米
至顯示器中央
附揚聲器
96

角度調整
Angle adjustment
Winkeleinstellung
Hoekafstelling
Regolazione dell'angolazione
Réglage de l'inclinaison
Ajuste del ángulo
0° 15° 30°
Vinkeljustering
Vinkeljustering
Регулировка угла
Бұрышын дұрыстау
Регулювання кута
調整角度
高さ調整
Height adjustment
Höheneinstellung
Hoogteafstelling
Regolazione in altezza
Réglage de la hauteur
Ajuste de la altura
+0 +100 +200 +300 +0 +100 +200 +300 +0 +100 +200 +300
Höjdjustering
Højdejustering
Регулировка высоты
Биіктігін дұрыстау
Регулювання висоти
調整高度
457
557
657
757
497
597
697
797
549
649
749
849
A
(18.0)
(22.0)
(25.9)
(29.9)
(19.6)
(23.6)
(27.5)
(31.4)
(21.7)
(25.6)
(29.5)
(33.5)
816
916
1016
1116
844
944
1044
1144
861
961
1061
1161
B
(32.2)
(36.1)
(40.0)
(44.0)
(33.3)
(37.2)
(41.2)
(45.1)
(33.9)
(37.9)
(41.8)
(45.8)
1176
1276
1376
1476
1192
1292
1392
1492
1173
1273
1373
1473
C
(46.3)
(50.3)
(54.2)
(58.2)
(47.0)
(50.9)
(54.9)
(58.8)
(46.2)
(50.2)
(54.1)
(58.0)
TH-50PF20
D 197 (7.8) 249 (9.9) 289 (11.4)
TH-50PH20
E 0 (0) 186 (7.4) 360 (14.2)
F 400 (15.8)
G 1210 (47.7)
G'
※
3 1427 (56.2)
H 724 (28.6)
I 89 (3.6)
514
614
714
814
552
652
752
852
599
699
799
899
A
(20.3)
(24.2)
(28.2)
(32.1)
(21.8)
(25.7)
(29.7)
(33.6)
(23.6)
(27.6)
(31.5)
(35.4)
816
916
1016
1116
844
944
1044
1144
861
961
1061
1161
B
(32.2)
(36.1)
(40.0)
(44.0)
(33.3)
(37.2)
(41.2)
(45.1)
(33.9)
(37.9)
(41.8)
(45.8)
1119
1219
1319
1419
1137
1237
1337
1437
1123
1223
1323
1423
C
(44.1)
(48.0)
(52.0)
(55.9)
(44.8)
(48.8)
(52.7)
(56.6)
(44.3)
(48.2)
(52.1)
(56.1)
TH-42PF20
D 197 (7.8) 235 (9.3) 261 (10.3)
TH-42PH20
E 0 (0) 157 (6.2) 303 (12.0)
F 400 (15.8)
G 1020 (40.2)
G'
※
3 1230 (48.5)
H 610 (24.1)
I 89 (3.6)
97

Web Site : http://panasonic.net
© Panasonic Corporation 2010
M0310-2050

