Panasonic EY3741 – страница 2
Инструкция к Panasonic EY3741

■ Funzione di prevenzione
Ottenere il massimo dal tuo
Over-discharge
lume
• Quando si usa il lume con il selettore
Uso del manico e del moschettone
LAMP/LED in posizione “LAMP” (per
• In luoghi dove non ci sono punti
esempio usandolo come lampada
dove posare il lume…
a fluorescenza), il lume spegne
automaticamente la lampada a
fluorescenza e commuta a luce a
LED se il voltaggio della batteria
scende al di sotto di un certo livello.
(Il selettore LAMP/LED rimarrà
nella posizione “LAMP”.) Questo
comportamento segnala che il
Durante il lavoro su un pannello di
battery pack deve essere ricaricato.
distribuzione energetica
(I battery pack di tipo LN e R
forniscono sufficiente alimentazione
• Fare attenzione ad assicurare il lume
per circa 60 minuti di funzionamento
in modo tale che non cada.
del LED prima che il lume si spegna
automaticamente.)
• Il periodo di funzionamento del LED
varia sia in base all’ammontare della
carica residua nel battery pack sia in
base ad altre condizioni.
Uso della luce a LED
2) Impostare il selettore LAMP/LED su
Uso del lume in posizione sospesa
“LED”.
LAMP LED
Regolazione dell’angolatura
del manico
•
L’angolatura del manico può essere
regolato su una delle 8 posizioni
all’interno di un intervallo di circa 45°.
─ 21 ─
01-33EY3741EU.indd2101-33EY3741EU.indd21 2010/01/2020:06:152010/01/2020:06:15

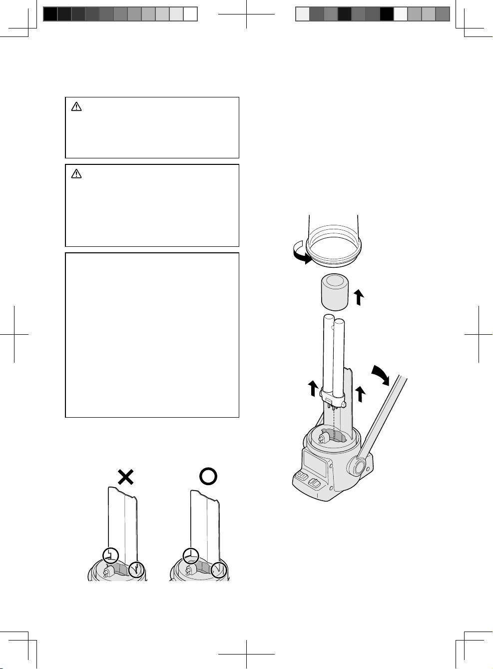
IV.MANUTENZIONE
Come smontare il lume
Sostituzione della lampada
1) Rimuovere il battery pack. Vedere
pagina 20.
a fluorescenza
2) Piegare in basso il manico verso la
AVVERTENZA
parte posteriore del lume.
3) Ruotare il coprilampada in senso
• Non toccare la lampada a
antiorario e rimuoverlo.
fluorescenza né il LED durante o
4) Rimuovere il protettore.
immediatamente dopo l’uso.
5) Tirare la lampada a fl uorescenza ed
Farlo potrebbe causare scottature.
estrarla dal suo portalampada.
6) Tirare il rifl ettore ed estrarlo dal suo
ATTENZIONE
incastro.
•
Smaltire le lampade a fluorescenza
conservandole intatte, senza romperle.
La rottura delle lampade a fl uorescenza
potrebbe determinare infortuni causati
da schegge di vetro volanti.
3
•
Assicurarsi di rimuovere il battery
pack prima di sostituire la lampada.
•
Usare solo il tipo specifi cato di lampada
4
a fl uorescenza. Vedere pagina 23.
•
Quando si fissano la lampada a
fluorescenza, il riflettore, il protettore e
il coprilampada, inserire completamente
2
ogni parte finché non è assicurata
nell’alloggio. Il mancato completo
inserimento di ogni parte potrebbe causare
5
la rottura della lampada a fl uorescenza nel
6
momento in cui si fi ssa il coprilampada.
Come fi ssare il rifl ettore
Inserire completamente il riflettore
fi nché non è assicurato nell’alloggio.
• Per riassemblare il lume, ripetere al
contrario la procedura sopra descritta.
Il rifl ettore non è inserito
Il rifl ettore è inserito
completamente.
completamente.
─ 22 ─
01-33EY3741EU.indd2201-33EY3741EU.indd22 2010/01/2110:58:482010/01/2110:58:48

V.ACCESSORI
Battery pack
• Fare riferimento alle specifi che tecniche
Caricabatterie
• Per informazioni, contattare un distributore autorizzato.
VI.SPECIFICHE TECNICHE
Modello EY3741
Lampada a
Circa 330 lux (con rifl ettore); misurazione frontale a
fl uorescenza
circa 40 cm dalla sorgente luminosa
luminosità
Circa 25 lux (con rifl ettore); misurazione frontale a
LED
circa 40 cm dalla sorgente luminosa
Circa 99 (L) X 124 (P) X 298 (A) mm
Dimensione
(escluso battery pack; con il manico in posizione verticale)
Peso Circa 450 g (escluso battery pack)
Battery Pack EY9L40 EY9L41 EY9L42
Voltaggio batteria 14,4 V DC
─ 23 ─
01-33EY3741EU.indd2301-33EY3741EU.indd23 2010/01/2020:06:172010/01/2020:06:17

I.LEES ALLE INSTRUCTIES
WAARSCHUWING
WAARSCHUWING
(Li-ion batterijen)
Een gloeilamp creëert warmte
• Gebruik alleen Panasonic batterijen.
wanneer deze in gebruik is.
Deze zijn special ontworpen voor
Warmte kan ingesloten raken en een
gebruik met dit oplaadbare apparaat.
ongeluk veroorzaken.
•
Panasonic is niet verantwoordelijk voor
• Bedek tijdens gebruik de lantaarn
schade of een ongeluk veroorzaakt
niet met een doek of papier.
door gebruik van gerecyclede
• Plaats het bovenste gedeelte van de
batterijen en namaakbatterijen.
lamp niet op de vloer.
•
Verbrand de batterijen niet of stel de
• Raak de lens, refl ector en gloeilamp
batterijen niet bloot aan buitensporige
tijdens of direct na gebruik als deze
warmte.
heet is, niet aan.
• Sla geen spijkers in de batterijen,
• Gebruik geen andere batterijen
stel de batterijen niet bloot aan
naast de getoonde batterijen in de
schokken, demonteer de batterijen
specifi caties.
niet of probeer de batterijen niet te
modifi ceren.
•
Laat metalen objecten niet in aanraking
VOORZICHTIG
komen met de batterijaansluitingen.
1. De lantaarn is niet waterdicht.
• Draag of bewaar de batterijen niet in
• Gebruik de lantaarn niet in een
dezelfde verpakking als spijkers of
vochtige of natte omgeving.
gelijkende metalen objecten.
• Stel de lantaarn niet bloot aan regen
• Laad de batterijen niet op in een
of sneeuw.
omgeving met hoge temperaturen,
• Was de lantaarn niet met water.
zoals dicht bij een warmtebron of in
• Bewaar de lantaarn in een veilige,
direct zonlicht. Anders kan de batterij
droge en schone omgeving wanneer
oververhit raken, vlam vatten of
deze niet wordt gebruikt.
exploderen.
2. De lantaarn schakelt automatisch uit
• Gebruik voor het opladen van de
als het batterijvermogen zich onder
batterijen geen andere oplader dan
een bepaald niveau bevindt.
de meegeleverde oplader. Anders
3.
Demonteer de lantaarn niet. Onderhoud
kan de batterij lekken, oververhit
moet door een geautoriseerd
raken of exploderen.
servicecenter worden uitgevoerd.
•
Plaats, na het verwijderen van de
4. Steek de batterijen niet in brand. Dit
batterijen uit het apparaat of de oplader,
kan een explosie veroorzaken.
het batterijendeksel altijd terug. Anders
kunnen de batterijcontacten kortsluiting
Om het gevaar voor letsel
veroorzaken, wat kan leiden tot
zo klein mogelijk te houden,
brandgevaar.
moet de gebruiker moet de
instructiehandleiding lezen
en begrijpen.
─ 24 ─
01-33EY3741EU.indd2401-33EY3741EU.indd24 2010/01/2110:58:512010/01/2110:58:51

II.MONTAGE
Het gebruik van de tl-lamp
• Laad de batterijen op.
• Vermijd het kort achter elkaar
Zie de bedieningsinstructies van uw
herhaaldelijk in- en uitschakelen
Panasonic oplaadbare apparaat of
van de tl-lamp. Dit kan de lamp
batterijoplader voor meer informatie
beschadigen of de levensduur
over het opladen van de batterijen.
verkorten.
•
Controleer of de ON/OFF schakelaar
•
Als de tl-lamp voor de eerste keer
in de “OFF” positie staat.
wordt gebruikt, kan het gebied
•
Controleer of de elektrische contacten
rondom de elektroden zwart worden
op de lantaarn en de batterijen vrij
en kunnen zich geringe vlekken
van vuil zijn.
bovenop de verlichte lamp vormen.
Dit is normaal en duidt niet op een
1) Bevestig de batterijen aan de
defect.
lantaarn.
•
Bij het gebruik van de lamp in koude
weersomstandigheden kan het
• Schuif de batterijen in hun positie
langer duren voordat de lamp zijn
totdat u de batterijen op hun plaats
volledige helderheid heeft bereikt.
hoort klikken.
Er kunnen tevens flikkeringen
•
Houd, om de batterijen te verwijderen,
optreden. Dit is normaal en duidt
de vergrendeling ingedrukt en schuif
niet op een defect.
het van de lantaarn.
• Vermijd gebruik bij temperaturen
van 0°C of lager. De tl-lamp dimt
of brandt helemaal niet.
2) Stel de LAMP/LED keuzeknop in op
“LAMP”.
Knop
III.BEDIENING
1) Stel de ON/OFF schakelaar in op
“ON”.
─ 25 ─
01-33EY3741EU.indd2501-33EY3741EU.indd25 2010/01/2116:03:252010/01/2116:03:25

■
Over-ontlading preventiefunctie
Optimaal gebruik van uw
• Wanneer de lantaarn wordt gebruikt
lantaarn
met de LAMP/LED keuzeknop
Gebruik van het handvat en de haak
in de “LAMP” positie (bijv. bij het
• Op locaties waar u de lantaarn niet
gebruik van een tl-lamp), schakelt
neer kunt zetten…
de lantaarn automatisch de tl-lamp
uit en schakelt deze over naar de
LED lamp als het batterijvermogen
zich onder een bepaald niveau
bevindt. (De LAMP/LED keuzeknop
blijft in de “LAMP” positie.) Dit
gedrag is een teken dat de batterijen
moeten worden opgeladen. (LN- en
Bij het werken met een
R-type batterijen hebben genoeg
stroomverdelerpaneel
vermogen voor ongeveer 60 minuten
LED werking voordat de lantaarn
• Maak de lantaarn goed vast zodat
automatisch uitschakelt.)
deze niet kan vallen.
• De LED werkingstijd varieert
met de hoeveelheid resterend
vermogen in de batterijen en andere
omstandigheden.
Het gebruik van de LED lamp
2) Stel de LAMP/LED keuzeknop in op
“LED”.
LAMP LED
Gebruik van de lantaarn in een
hangende positie
De handvathoek instellen
• De hoek van het handvat kan tot 8
posities worden ingesteld bij een
interval van ongeveer 45°.
─ 26 ─
01-33EY3741EU.indd2601-33EY3741EU.indd26 2010/01/2118:25:222010/01/2118:25:22

IV.ONDERHOUD
De lantaarn demonteren
De tl-lamp vervangen
1) Verwijder de batterijen. Zie pagina
25.
WAARSCHUWING
2) Klap het handvat neer richting de
• Raak tijdens of direct na gebruik
achterkant van de lantaarn.
de tl-lamp of LED niet aan.
3) Draai de lampbescherming linksom
Dit kan brandwonden veroorzaken.
en verwijder.
4) Verwijder de protector.
5) Til de tl-buis op en haal deze uit de
VOORZICHTIG
fi tting.
•
Voer gebruikte tl-lampen in zijn geheel
6) Til de reflector op en haal deze uit
af, zonder deze in stukken te breken.
de sleuf.
Gebroken tl-lampen kunnen letsel
door rondvliegende glasscherven
veroorzaken.
• Verwijder de batterijen voordat de
3
lamp wordt vervangen.
• Gebruik alleen het bepaalde type
tl-lamp. Zie pagina 28.
4
•
Bij het aanbrengen van de tl-
lamp, reflector, bescherming en
lampbescherming moet ieder
onderdeel helemaal zijn geïnstalleerd
totdat deze stevig vast zit. Door
2
nalatigheid bij het helemaal
installeren van alle onderdelen
kan de lamp breken tijdens het
5
bevestigen van de lampbescherming.
6
Het bevestigen van de refl ector
Installeer de reflector in zijn geheel
totdat deze stevig vast zit.
• Herhaal de bovenstaande procedure in
omgekeerde volgorde om de lantaarn
opnieuw te monteren.
Reflector is niet
Refl ector is helemaal
helemaal geïnstalleerd.
geïnstalleerd.
─ 27 ─
01-33EY3741EU.indd2701-33EY3741EU.indd27 2010/01/2111:00:322010/01/2111:00:32

V.ACCESSOIRES
Batterijen
• Zie de specifi catie.
Batterijoplader
• Neem voor meer informatie contact op met een geautoriseerde dealer.
VI.SPECIFICATIES
Model EY3741
Ongeveer 330 lux (met refl ector); gemeten aan de
Tl-lamp
voorkant op ca. 40 cm van de lichtbron
helderheid
Ongeveer 25 lux (met refl ector); gemeten aan de
LED
voorkant op ca. 40 cm van de lichtbron
Ca. 99(W) X 124(D) X 298(H) mm
Grootte
(Exclusief batterijen; met het handvat rechtop)
Gewicht Ca. 450 g (exclusief batterijen)
Batterijen EY9L40 EY9L41 EY9L42
Batterijvermogen 14,4V DC
─ 28 ─
01-33EY3741EU.indd2801-33EY3741EU.indd28 2010/01/2110:59:042010/01/2110:59:04

I.
LEA TODAS LAS INSTRUCCIONES
ADVERTENCIA
ADVERTENCIA
(Batería de iones de litio)
La bombilla produce calor cuando se
• Use solamente baterías Panasonic
encuentra en uso.
que están diseñadas para el uso con
El calor podría quedar atrapado y
esta herramienta recargable.
ocasionar un accidente.
• Panasonic no se hace responsable
• No cubra la linterna con algún paño
por cualquier daño o accidente
o papel durante el uso.
ocasionado por el uso de una batería
• No coloque la parte principal de la
reciclada o falsa.
luz sobre el suelo.
• No deseche la batería al fuego ni la
• No toque la lente, el reflector
exponga al calor excesivo.
ni la bombilla durante el uso o
• No ponga en contacto clavos o
inmediatamente después del uso ya
similares con la batería, no la someta
que podrían estar calientes.
a impactos, no la desarme ni intente
• No use otro tipo de batería que
modifi carla.
sea diferente al mostrado en las
• No permita que objetos metálicos
especifi caciones.
entren en contacto con los terminales
de la batería.
• No transporte o almacene la batería
PRECAUCIÓN
en el mismo contenedor con clavos
1. Esta linterna no es a prueba de agua.
u objetos metálicos similares.
• No la use en lugares mojados o
• No cargue la batería en lugares
húmedos.
donde existan temperaturas altas,
• No la exponga a la lluvia o nieve.
como por ejemplo junto al fuego o a
• No la lave con agua.
la luz solar directa. De lo contrario,
• Manténgala en un lugar seguro, seco
la batería podría sobrecalentarse,
y limpio cuando no esté en uso.
incendiarse o explotar.
2. La linterna se apaga automáticamente
• Nunca use otro cargador que no sea
cuando disminuye el voltaje de
el ofrecido para cargar la batería.
la batería por debajo del nivel
De lo contrario, la batería podría
especifi cado.
presentar fugas, sobrecalentarse o
3. No desensamble la linterna. El servicio
explotar.
lo debe realizar en un centro de
• Después de extraer la batería de la
servicio autorizado.
herramienta o del cargador, siempre
4. No arroje la batería al fuego. Esto
vuelva a colocar la cubierta. De lo
puede ocasionar una explosión.
contrario, los contactos de la batería
podrían tener un corto circuito,
Para reducir el riesgo de
ocasionando incendios.
lesiones, el usuario debe
leer y entender el manual
de instrucciones.
─ 29 ─
01-33EY3741EU.indd2901-33EY3741EU.indd29 2010/01/2110:59:042010/01/2110:59:04

II.ENSAMBLE
Al usar la lámpara fluorescente
• Asegúrese de cargar la batería.
•
Evite encender y apagar la lámpara
Para más información sobre cómo
fl uorescente repetidamente durante
recargar la batería, consulte las
un periodo corto de tiempo. De
instrucciones de operación para su
lo contrario podría averiarse la
herramienta recargable o para el
lámpara o acortar su vida útil.
cargador de la batería.
• Al usar la lámpara fluorescente
• Verifi que que el interruptor de ON/
por primera vez, el área cerca de
OFF de alimentación se encuentre
los electrodos podría cambiar a
en la posición de “OFF”.
color negro y se podrían formar
• Verifique que los contactos
ligeros puntos en la parte superior
eléctricos de la linterna y de la
de la lámpara encendida. Esto es
batería no estén sucios.
normal y no constituye un mal
funcionamiento.
1) Coloque la batería en la linterna.
• Al usar la lámpara fluorescente
en climas fríos, la lámpara podría
• Deslice la batería en posición hasta
tardar más en alcanzar su brillo
que escuche un clic fi rmemente en
total y podría presentar un poco
su lugar.
de parpadeo. Esto es normal y no
•
Para quitar la batería, pulse el pestillo
constituye un mal funcionamiento.
y deslícela fuera de la linterna.
• Evite el uso en temperaturas
de 0 °C o inferiores, lo cual
podría ocasionar que la lámpara
fluorescente se atenúe o que no
encienda en su totalidad.
2) Coloque el selector de LAMP/LED
Botón
en “LAMP”.
III.FUNCIONAMIENTO
1)
Coloque el interruptor de alimentación
ON/OFF en “ON”.
─ 30 ─
01-33EY3741EU.indd3001-33EY3741EU.indd30 2010/01/2118:25:262010/01/2118:25:26

■ Función de prevención de
Cómo aprovechar al máximo
descarga en exceso
su linterna
• Al usar la linterna con el selector
Uso del asa y del gancho
de LAMP/LED en la posición de
• En lugares donde no exista un sitio
“LAMP” (es decir al usar como
donde pueda colocar la linterna…
lámpara fluorescente), la linterna
apagará automáticamente la lámpara
fl uorescente y cambiará a la luz LED
si el voltaje de la batería disminuye
por debajo de cierto nivel. (El
selector de LAMP/LED permanecerá
en la posición de “LAMP”). Este
comportamiento indica que la batería
Al trabajar sobre un panel de
requiere cargarse nuevamente. (Las
distribución de alimentación
baterías tipo LN y R proporcionan
sufi ciente energía durante 60 minutos
•
Tenga cuidado de asegurar la linterna
de funcionamiento del LED antes de
de tal modo que no se caiga.
que se apague automáticamente la
linterna).
• El tiempo de funcionamiento del LED
varía dependiendo de la cantidad
de carga restante en la batería y de
otras condiciones.
Al usar la luz del LED
2) Coloque el selector de LAMP/LED
Usando la linterna en una posición
en “LED”.
para colgar
LAMP LED
Ajuste del ángulo del asa
• El ángulo del asa se puede ajustar
en cualquiera de las 8 posiciones en
un intervalo de alrededor de 45°.
─ 31 ─
01-33EY3741EU.indd3101-33EY3741EU.indd31 2010/01/2110:59:112010/01/2110:59:11

IV.MANTENIMIENTO
Desensamble de la linterna
Cómo cambiar la lámpara
1)
Quite la batería. Consulte la página
30.
fluorescente
2)
Doble el asa hacia atrás de la linterna.
ADVERTENCIA
3)
Gire la cubierta de la lámpara en
sentido contrario al de las manecillas
• No toque la lámpara fl uorescente o
del reloj y quítela.
el LED durante o inmediatamente
4) Quite el protector.
después del uso.
5) Tire de la lámpara fluorescente
De lo contrario podría sufrir quemaduras.
hacia arriba y fuera de su casquillo.
6) Tire del refl ector hacia arriba y fuera
PRECAUCIÓN
de su ranura.
• Desecho de lámparas fl uorescentes
usadas intactas, sin romperlas.
Romper las lámparas fluorescentes
podría resultar en lesiones ocasionadas
por los fragmentos de vidrio producidos.
3
• Asegúrese de quitar la batería
antes de cambiar la lámpara.
4
•
Use solamente el tipo especificado de
lámpara fl uorescente. Consulte la página 33.
•
Al colocar la lámpara fluorescente, el
reflector, el protector y la cubierta de la
2
lámpara, inserte completamente cada
pieza hasta que esté asentada fi rmemente.
De no insertar completamente todas las
5
piezas podría ocasionar que se rompa
la lámpara fluorescente al colocar la
6
cubierta de la lámpara.
Al colocar el refl ector
Inserte completamente el reflector
hasta que se asiente fi rmemente.
• Para volver a ensamblar la linterna,
repita el procedimiento anterior en el
sentido inverso.
El reflector no está
El refl ector está insertado
insertado completamente.
completamente.
─ 32 ─
01-33EY3741EU.indd3201-33EY3741EU.indd32 2010/01/2111:02:072010/01/2111:02:07

V.ACCESORIOS
Batería
• Consulte las especifi caciones.
Cargador de batería
• Para consultas póngase en contacto con un distribuidor autorizado.
VI.ESPECIFICACIONES
Modelo EY3741
Lámpara
Aprox. 330 lux (con refl ector); medido desde el frente
fl uorescente
a aprox. 40 cm de la fuente de luz
brillo
Aprox. 25 lux (con refl ector); medido desde el frente a
LED
aprox. 40 cm de la fuente de luz
Aprox. 99 (An) X 124 (P) X 298 (Al) mm
Tamaño
(Excluyendo la batería, con el asa en posición vertical)
Peso Aprox. 450 g (excluyendo la batería)
Baterías EY9L40 EY9L41 EY9L42
Voltaje de batería 14,4 V CC
─ 33 ─
01-33EY3741EU.indd3301-33EY3741EU.indd33 2010/01/2110:59:142010/01/2110:59:14

I.
LÆS ALLE INSTRUKTIONER
ADVARSEL
ADVARSEL
(Li-ion batteripakke)
Pæren skaber varme, når den er i
•
Brug ikke andre end Panasonics
brug.
batteripakker, som er designet til brug
Varme kan ophobes og føre til en
med dette genopladningsværktøj.
ulykke.
• Panasonic er ikke ansvarlig for
• Dæk ikke lanternen til med stof eller
skader eller ulykker som følge
papir under brug.
af genbrugte batteripakker og
• Placér ikke hoveddelen af lampen på
forfalskede batteripakker.
gulvet.
• Anbring ikke batteripakken i et bål
• Rør ikke ved linsen, reflektoren og
eller udsæt den for høj varme.
pæren under brug eller lige efter
• Bor ikke genstande som f.eks. søm
brug, da de bliver varme.
ind i batteripakken, udsæt den ikke
• Benyt ikke andre batteripakker end
for stød, demontér den ikke eller
vist i specifi kationerne.
forsøg at modifi cere den.
• Tillad ikke at metalgenstande
kommer i kontakt med batteripakkens
FORSIGTIG
poler.
1. Denne lanterne er ikke vandtæt.
• Bær eller opbevar ikke batteripakken
• Brug den ikke i fugtige eller våde
i samme beholder som søm eller
omgivelser.
lignende metalgenstande.
• Udsæt den ikke for regn eller sne.
• Oplad ikke batteripakken på et
• Vask den ikke i vand.
sted med høj temperatur, som
• Opbevar den på et sikkert, tørt og
f.eks. tæt ved et bål eller i direkte
rent sted, når den ikke er i brug.
sollys. Ellers risikerer batteriet at
2. Lanternen slukker automatisk, når
blive overophedet, gå i brand eller
batteriets spænding falder til under et
eksplodere.
specifi ceret niveau.
• Anvend aldrig andet end den dertil
3. Skil ikke lanternen ad. Servicering bør
beregnede oplader til at oplade
udføres af et autoriseret servicecenter.
batteripakken. Ellers kan batteriet
4. Smid ikke batteripakken ind i ild. Dette
lække, blive overophedet eller
kan medføre en eksplosion.
eksplodere.
• Sæt altid batteriets hætte på efter
For at reducere
fjernelse af batteripakken fra
risikoen for skader skal
værktøjet eller opladeren. Ellers kan
brugeren læse og forstå
batteriets kontakter blive kortsluttet
instruktionsmanualen.
med følgende risiko for brand.
─ 34 ─
34-60EY3741EU.indd134-60EY3741EU.indd1 2010/01/2210:23:282010/01/2210:23:28

II.SAMLING
Når den fluorescerende lampe
benyttes
•
Vær sikker på at oplade batteripakken.
Se anvendelsesinstruktionerne
• Undgå at tænde og slukke for den
for dit genopladelige værktøj eller
fluorescerende lampe gentagne
batterioplader fra Panasonic for
gange i en kort periode. Dette kan
mere information om, hvordan
beskadige lampen eller afkorte
batteripakken skal oplades.
dens levetid.
• Vær sikker på at ON/OFF-knappen
•
Når den fluorescerende lampe
er i “OFF”-position.
bruges for første gang, kan området
•
Vær sikker på at de elektriske kontakter
omkring elektroderne blive sorte,
på lanternen og batteripakken er fri for
og små mærker kan dannes på
snavs.
toppen af den tændte lampe.
Dette er normalt og udgør ikke en
1) Sæt batteripakken på lanternen.
fejlfunktion.
•
Når den fluorescerende lampe
• Før batteripakken i position, indtil
anvendes i koldt vejr, kan det vare
du hører den klikke sikkert på
længere, før lampen lyser maksimalt
plads.
op, og der kan forekomme flimren.
• For at fjerne batteripakken skal du
Dette er normalt og udgør ikke en
trykke ned på låsen og lade den
fejlfunktion.
glide ud af lanternen.
• Undgå brug i temperaturer på 0 °C
eller derunder, hvilket kan få den
fluorescerende lampe til at blive
svag eller slet ikke at tænde.
2) Sæt LAMP/LED-vælgeren til
“LAMP”.
Knap
III.ANVENDELSE
1) Set strøm ON/OFF-knappen til “ON”.
─ 35 ─
34-60EY3741EU.indd234-60EY3741EU.indd2 2010/01/2118:54:202010/01/2118:54:20

■ Funktion til undgåelse af
Få mest ud af din lanterne
over-afl adning
At bruge håndtaget og krogen
•
Når lanternen anvendes med
• På steder hvor der ikke er plads til at
LAMP/LED-vælgeren i “LAMP”-
sætte lanternen...
position (dvs. når den bruges som
fluorescerende lampe), vil lanternen
automatisk slukke den fl uorescerende
lampe og skifte til LED-lys, hvis
batterispændingen falder til under et
vist niveau. (LAMP/LED-vælgeren
vil forblive i “LAMP”-position.) Denne
adfærd er et tegn på, at batteripakken
Når der arbejdes på et strømpanel
trænger til at blive opladet. (LN- og
• Sørg for at fastgøre lanternen, så
R-type batteripakker giver strøm
den ikke falder ned.
nok til omkring 60 minutters LED-
anvendelse, inden lanternen slukker
automatisk.)
• LED-anvendelsestiden varierer med
mængden af tilbageværende ladning
i batteripakken og andre betingelser.
Ved anvendelse af LED-lys
2) Sæt LAMP/LED-vælgeren til
“
LED”.
LAMP LED
Brug af lanternen i hængende
position
Tilpasning af håndtagets
vinkel
• Vinklen på håndtaget kan tilpasses
til én af 8 positioner i et interval på
omkring 45°.
─ 36 ─
34-60EY3741EU.indd334-60EY3741EU.indd3 2010/01/2118:28:312010/01/2118:28:31

IV.VEDLIGEHOLDELSE
Demontering af lanternen
Udskiftning af den fluorescerende
1) Fjern batteripakken. Se side 35.
2) Fold håndtaget ned mod lanternens
lampe
bagside.
ADVARSEL
3) Drej lampeskærmen rundt imod
urets retning og fjern det.
• Rør ikke ved den fluorescerende
4) Fjern protektoren.
lampe eller LED under eller
5) Træk den fluorescerende lampe op
umiddelbart efter brug.
og ud af dens sokkel.
Dette kan føre til forbrændinger.
6) Træk reflektoren op og ud af dens
sokkel.
FORSIGTIG
•
Bortskaf brugte fl uorescerende lamper
i intakt tilstand uden at ødelægge dem.
Ødelæggelse af fluorescerende
lamper kan medføre skader som
3
følge af fl yvende glasskår.
• Sørg for at fjerne batteripakken,
4
inden lampen skiftes ud.
•
Benyt udelukkende den specificerede
type fl uorescerende lampe. Se side 38.
•
Når den fl uorescerende lampe, refl ektor,
2
beskyttelsesskærm og lampeskærm
samles, så sæt hver enkelt del helt på
plads, så den sidder sikkert. Hvis ikke
5
alle dele indsættes ordentligt, kan den
fl uorescerende lampe blive ødelagt, når
6
lampeskærmen fastgøres.
Ved fastgørelse af refl ektoren
Indsæt reflektoren helt, indtil den er
placeret sikkert.
• For at samle lanternen igen skal
ovenstående procedure følges i
omvendt rækkefølge.
Refl ektoren er ikke
Reflektoren er
indsat ordentligt.
indsat korrekt.
─ 37 ─
34-60EY3741EU.indd434-60EY3741EU.indd4 2010/01/2113:21:522010/01/2113:21:52

V.TILBEHØR
Batteripakke
• Se specifi kationen.
Batterioplader
• Kontakt en autoriseret forhandler ved forespørgsler.
VI.SPECIFIKATIONER
Model EY3741
Fluorescerende
Ca. 330 lux (med refl ektor); målt fra forsiden ca. 40
lampe
cm. fra lyskilden
Lysstyrke
Ca. 25 lux (med refl ektor); målt fra forsiden ca. 40 cm.
LED
fra lyskilden
Ca. 99(B) X 124(D) X 298(H) mm
Størrelse
(Eksklusiv batteripakke; med håndtag i opretstående position)
Vægt Ca. 450 g. (eksklusiv batteripakke)
Batteripakker EY9L40 EY9L41 EY9L42
Batterispænding 14,4 V DC
─ 38 ─
34-60EY3741EU.indd534-60EY3741EU.indd5 2010/01/2113:21:552010/01/2113:21:55

I.
LÄS ALLA INSTRUKTIONER
VARNING
VARNING
(Litiumjon-batteripaket)
Lampan blir het när den används.
• Använd inget annat än Panasonics
Värme kan byggas upp och orsaka en
batteripaket som är avsedda
olycka.
för att användas med detta
• Täck inte över lyktan med tyg eller
uppladdningsbara verktyg.
papper under användning.
• Panasonic är inte ansvariga för
• Placera inte övre delen av lampan på
skador eller olyckor som orsakas
golvet.
av återanvända eller piratkopierade
• Rör inte vid linsen, reflektorn eller
batteripaket.
lampan under eller precis efter
• Kasta inte batteripaketet i en eld, och
användning då de blir varma.
utsätt det inte för stark värme.
• Använd inte andra batteripaket än
• Slå inte in spikar eller liknande i
det som visas i specifi kationerna.
batteripaketet, utsätt det inte för
stötar, plocka inte isär och försök inte
modifi era det.
FÖRSIKTIGT
• Låt inte metallföremål komma i
1. Denna lykta är inte vattentät.
kontakt med batteripaketets poler.
• Använd inte på fuktiga eller våta
• Bär eller förvara inte batteripaketet
platser.
i en behållare som innehåller spikar
• Utsätt den inte för regn eller snö.
eller liknande metallföremål.
• Tvätta den inte i vatten.
• Ladda inte batteripaketet på en plats
• Förvara den på en säker, torr och ren
med höga temperaturer, så som vid
plats när den inte används.
en eld eller i direkt solljus. Annars
2. Lyktan stängs av automatiskt när
kan batteriet överhettas, börja brinna
batterispänningen sjunker under en
eller explodera.
specifi cerad nivå.
• Använd aldrig annat än den avsedda
3. Plocka inte isär lyktan. Service
laddaren för att ladda batteripaketet.
bör utföras på ett auktoriserat
Annars kan batteriet läcka,
servicecenter.
överhettas eller explodera.
4. Kasta inte batteripaketet i en eld. Detta
• Sätt alltid tillbaka paketets lock efter
kan orsaka en explosion.
att ha tagit bort batteripaketet från
verktyget eller laddaren. Annars kan
Användaren måste
batteriets kontakter kortslutas och
läsa och förstå
orsaka brandrisk.
bruksanvisningen för att
minska risken för skador.
─ 39 ─
34-60EY3741EU.indd634-60EY3741EU.indd6 2010/01/2113:21:552010/01/2113:21:55

II.MONTERING
När lysrörslampan används
• Se till att ladda batteripaketet.
• Undvik att slå på och stänga av
För mer information om att
lysrörslampan upprepade gånger
ladda batteripaketet, se
på kort tid. Det kan skada lampan
användarinstruktionerna till ditt
eller förkorta dess livslängd.
uppladdningsbara verktyg eller
• När lysrörslampan används för
batteriladdare från Panasonic.
första gången kan området vid
• Kontrollera att ström ON/OFF-
elektroderna bli svart, och små
knappen är i läge “OFF”.
fläckar kan bildas längst upp
• Kontrollera att de elektriska
på den tända lampan. Detta är
kontakterna på lyktan och
normalt och tyder inte på något
batteripaketet inte är smutsiga.
fel.
• När lysrörslampan används i kallt
1) Anslut batteripaketet till lyktan.
väder kan det ta längre tid innan
den når full ljusstyrka, och visst
• Tryck in batteripaketet i läge tills du
flimmer kan förekomma. Detta är
hör att det klickar på plats.
normalt och tyder inte på något
• Ta bort batteripaketet genom att
fel.
trycka ner spärren och dra ut det
•
Undvik användning i temperaturer
från lyktan.
under 0°C, då kanske lysrörslampan
bara lyser svagt eller inte tänds alls.
2)
Ställ LAMP/LED-väljaren på “LAMP”.
Knapp
III.ANVÄNDNING
1) Ställ ström ON/OFF-knappen på
“ON”.
─ 40 ─
34-60EY3741EU.indd734-60EY3741EU.indd7 2010/01/2119:39:072010/01/2119:39:07

