Pioneer S-81-QL – страница 3
Инструкция к Домашнему кинотеатру Pioneer S-81-QL

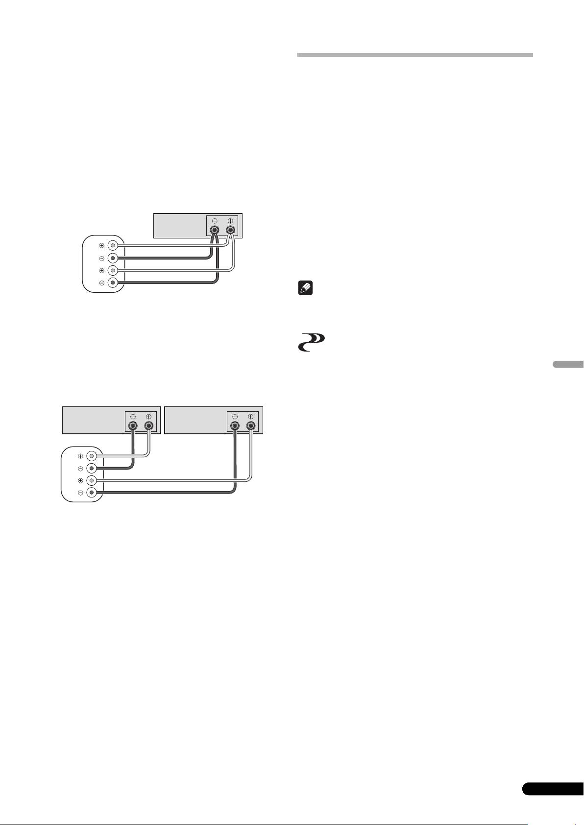
Tilkoblinger med Bi-Wiring
For bi-wiringstilkoblinger må du bruke to kabler for hver høyttaler;
Spesifikasjoner
en for høytonefrekvensene og en for lavtonefrekvenser. Bruk av
Kammer. . . . . . . . . . . . . . . . . . . . . . . . . . .Bassrefleks gulvstående type
separate kabler for de høye og lave frekvensområdene forbedrer
Konfigurasjon . . . . . . . . . . . . . . . . . . . . . . . . . . . . . . . . . . . . . . . . . .4-veis
lyden.
Woofer . . . . . . . . . . . . . . . . . . . . . . . . . . . . . . . . . . . . . . . .13 cm cone x 2
1 Skru av forsterkerens strøm.
Mellomtone/Tweeter . . . . . . . . . Koaksial enhet: 13 cm cone/2,5 cm dome
Supertweeter. . . . . . . . . . . . . . . . . . . . . . . . . . . . . . 8 mm x 46 mm riffle
2 Fjern begge sammenslutningsbøyler.
Impedanse . . . . . . . . . . . . . . . . . . . . . . . . . . . . . . . . . . . . . . . . . . . . . 6
Ω
• I denne tilstanden vil høyttalerelementene for høyere og lavere
Frekvensrespons. . . . . . . . . . . . . . . . . . . . . . . . . . . . . . 30 Hz til 100 kHz
frekvenser være fullstendig atskilt. Ta vare på
Sensitivitet. . . . . . . . . . . . . . . . . . . . . . . . . . . . . . . . . . . . 85,5 dB (2,83 V)
sammenslutningsbøylene for fremtid bruk.
Maksimal inngangeffekt. . . . . . . . . . . . . . . . . . . . . . . . . . . . . . . . . 130 W
• De nedre terminalene er for bassregisteret og de øvre
Crossover-frekvens . . . . . . . . . . . . . . . . . . . . . . . . . . . . . . . 370 Hz/3 kHz
terminalene er for mellomtone- og diskantregisteret.
Utvendige dimensjoner . . .267 (B) mm x 1190 (H) mm x 280,5 (D) mm
Vekt . . . . . . . . . . . . . . . . . . . . . . . . . . . . . . . . . . . . . . . . . . . . . . . . 25,8 kg
• Tilkobling av kablene med reversert polaritet kan forringe
lydkvaliteten betraktelig. Sjekk at kablene har blitt tilkoblet på
riktig måte.
Medfølgende utstyr
Spiketabletter . . . . . . . . . . . . . . . . . . . . . . . . . . . . . . . . . . . . . . . . . . . . . 3
(Kun én kanal blir vist)
Forsterker
Metallspenne. . . . . . . . . . . . . . . . . . . . . . . . . . . . . . . . . . . . . . . . . . . . . . 1
(bakpanel)
Skrue (for metallspenne) . . . . . . . . . . . . . . . . . . . . . . . . . . . . . . . . . . . . 1
Høyttaler
SPEAKERS OUTPUT
Grill. . . . . . . . . . . . . . . . . . . . . . . . . . . . . . . . . . . . . . . . . . . . . . . . . . . . . . 1
HF
Pussefille (kun modell S-81-K). . . . . . . . . . . . . . . . . . . . . . . . . . . . . . . . 1
Bruksanvisning
HF
LF
Norsk
LF
Høyttaler (bakside): Inngangspanel
Spesifikasjoner og utforming kan bli endret uten forutgående
varsel grunnet produktutbedringer.
Bi-forsterkningstilkoblinger (Bi-amping)
Med bi-amping oppnår du enda bedre ytelse fra dine høyttalere.
er et varemerke som finnes på produkter som inneholder
På samme måte som med bi-wiring skal
Pioneers fasekontrollteknologi (Phase Control). Denne
sammenslutningsbøylene fjernes, men i dette tilfelle kobles
teknologien muliggjør lydgjengivelse gjennom hver komponent
lavfrekvensterminalene til en separat, dedikert forsterker for
ved å forbedre helhetlig fasetilpasning.
lavtonefrekvenser og høyfrekvensterminalene til en dedikert
forsterker for høytonefrekvenser.
Utgitt av Pioneer Corporation.
Opphavsrett © 2008 Pioneer Corporation.
Alle rettigheter reservert.
5
No
(Kun én kanal blir vist)(Kun én kanal blir vist)
Forsterker (bakpanel)
Forsterker (bakpanel)
(Høyfrekvenser)
(Lavfrekvenser)
SPEAKERS OUTPUT
SPEAKERS OUTPUT
Høyttaler
HF
HF
LF
LF
Høyttaler (bakside): Inngangspanel
10_S-81_No.fm 5 ページ 2008年7月23日 水曜日 午前9時55分
Merk

11_S-81_Fi.fm 2 ページ 2008年7月23日 水曜日 午前9時56分
Kiitämme tämän Pioneer-laitteen hankinnasta.
Pyydämme lukemaan nämä käyttöohjeet huolellisesti, jotta mallin käyttötoimet tulevat tutuiksi. Kun ohjeet on luettu, pane ne säilöön
johonkin varmaan paikkaan, josta ne tarvittaessa löytyvät.
Kaiuttimen pintojen puhdistaminen
Tavallisessa käytössä pintojen pyyhkimen kuivalla kankaalla riittää
Ennen kuin aloitat
kaiuttimien puhtaana pitämiseen. Jos tarpeen, pyyhi liinalla, joka
• Tämän kaiutinjärjestelmän nimellisimpedanssi on 6 Ω. Liitä
on kastettu viisi- tai kuusikertaiseksi vedellä laimennettuun
kaiutinjärjestelmä vahvistimeen, jonka kuormitusimpedanssi
neutraaliin pesuaineliuokseen ja väännetty kuivaksi. Älä käytä
on 6 Ω–16 Ω (malli, jossa “6 Ω to 16 Ω” näkyy kaiuttimen
huonekaluvahoja tai puhdistimia.
lähtöliittimissä).
Älä koskaan käytä tinneriä, bensiiniä, hyönteismyrkkyjä tai muita
Jotta kaiutin ei pääse vahingoittumaan tulon ylikuormasta
kemikaaleja laitteelle tai sen läheisyydessä, sillä tällaiset aineet
johtuen, pyydämme noudattamaan seuraavia ohjeita:
syövyttävät sen pintaa.
• Älä syötä virtaa kaiutinjärjestelmään yli suurimman sallitun
tulon.
Kaiutinjärjestelmän kiiltävän pinnan
• Kun graafista taajuuskorjainta käytetään korkeataajuisen
puhdistaminen
alan äänekkäiden äänien korostamiseen, älä käytä liian
Vain S-81-K
suurta äänenvoimakkuutta vahvistimessa.
• Jos käytetään pölyistä tai kovaa kangasta tai jos pintaa
• Älä pakota matalatehoista vahvistinta antamaan kovaa
hangataan voimakkaasti, pintaan tulee naarmuja.
ääntä (vahvistimen harmoninen särö suurenee ja kaiuttimet
• Jos kaiutinjärjestelmän pinnat puhdistetaan märällä
saattavat vahingoittua).
kankaalla, vesipisaroita saattaa päästä pinnalta laitteen
Huomautus: asennus
sisään, jolloin se menee epäkuntoon.
• Kun laite sijoitetaan, varmista, että se on kiinnitetty hyvin ja
• Kun puhdistat kaiutinjärjestelmän pintoja, pyyhi ne varovasti
vältä paikkoja, joista se saattaa pudota ja aiheuttaa vahinkoja
kuivalla, pehmeällä , varusteisiin kuuluvalla
luonnonmullistuksen (esimerkiksi maanjäristyksen)
puhdistuskankaalla.
sattuessa.
• Älä kiinnitä näitä kaiuttimia seinälle tai kattoon. Kaiuttimet
saattavat pudota ja aiheuttaa vammoja.
Mitä pakkaukseen kuuluu
• Älä asenna kaiuttimia istuma-asennon päälle kattoon tai
seinälle. Väärin kiinnitetty kaiuttimen verkko saattaa pudota ja
aiheuttaa vahinkoja tai henkilövammoja.
• Kun liität laitteita, katkaise AV-laitteesta virta, irrota
Nastapohjat x 3
verkkojohto ja katso ohjeita. Varmista, että käytät oikeita
liitäntäjohtoja.
• Verkko on kiinnitetty magneetein. Verkko saattaa pudota, jos
siihen kohdistetaan voima vaakasuunnassa. Kun puhdistat
kaiuttimen, ota ensin verkko pois.
Huomautus: käytössä
• Älä aseta kaiutinta epävakaalle pinnalle. Pudotessaan kaiutin
Metallikiinnike x 1
saattaa aiheuttaa vahinkoja ja mennä rikki.
• Älä käytä kaiutinta säröisen äänen toistoon pitkän aikaa. Tämä
saattaa aiheuttaa tulipalovaaran.
• Älä istu äläkä seiso kaiuttimen päällä äläkä anna lasten leikkiä
sen kanssa.
Ruuvi (metallikiinnikkeelle) x 1
• Älä aseta suuria tai painavia esineitä kaiuttimen päälle.
• Älä aseta magneettisia esineitä kuten ruuviavaimia tai
Verkko x 1
rautaosia diskantti- tai keskikaiuttimen läheisyyteen. Koska
Puhdistuskangas (vain mallille S-81-K ) x 1
kaiuttimissa on voimakkaat magneetit, ne saattavat vetää
esineitä puoleensa ja aiheuttaa vahinkoja tai vahingoittaa
Käyttöohjeet
kalvoa.
K058_Fi
2
Fi

Nastojen käyttö
Tämä kaiutinjärjestelmä on tuettu kolmesta kohdasta (kaksi jalkaa
Asennus
edessä ja takanasta kahden takajalan välissä).
Kaiuttimien paikan valinta
• Kuuntelupaikan äänet vaikuttavat helposti kaiutinjärjestelmän
kautta toistuvaan ääneen.
• Jotta ääni toistuisi parhaalla mahdollisella tavalla, aseta
kaiuttimet vakaalle lattiapinnalle ja sijoita ne alla kuvatulla
tavalla. Matalien äänten tasoa voidaan säätää siirtämällä
kaiuttimet lähemmäs tai kauemmas seinästä. Säädä
kaiuttimet niin, että ne ovat samalla etäisyydellä
seinäpinnoista, jotta ääni olisi tasapainossa.
1 Aseta nastapohjat niin, että kolmen nastan kärjet osuvat
kohdalleen asetettaessa kaiutin alas.
2 Aseta kaiutin nastapohjille ja varmista, että kaiutin ei
50 − 60
heilu.
• Käytä aina nastapohjia näytetyllä tavalla oikea puoli ylöspäin
• Aseta vasen ja oikea kaiutin samalle etäisyydelle
nastan kärjen vastaanottamista varten.
kuuntelupaikasta, jotta stereoääni kuuluu hyvin. Käytä
Suomi
kullekin kaiuttimelle samanpituista kaiutinjohtoa.
• Jos vain mahdollista, aseta vasen ja oikea etukaiutin samalle
tasolle TV-ruudun kanssa.
• Jotta saadaan paras mahdollinen ympäristötilaääni, TV tulee
sijoittaa vasemman ja oikean kaiuttimen väliin ja kaiuttimien
tulee osoittaa 50-60 asteessa kuuntelupaikkaan.
• Jos huoneessa on paljon jälkikaiuntaa, suosittelemme
raskaan kankaan ripustamista seinille ja/tai maton
asettamista lattialle, jotta ääni vaimenee. Peitä seinät
kokonaan, jotta tulos olisi paras mahdollinen.
• Pioneer ei ota minkäänlaista vastuuta vahingoista, jotka ovat
Putoamisen estävän kiinnikkeen asentaminen
seurausta sijoittamisesta, virheellisestä asennuksesta,
• Kiinnitä varusteisiin kuuluvalla ruuvilla metallikiinnike lujasti
riittämättömästä vahvuuden voimistamisesta, laitteen
kaiuttimien takaosaan.
virheellisestä käytöstä, luonnonmullistuksista jne.
Vain S-81-QL
• Kotelon pinnassa on luonnonpusta valmistettu kiiltopinta. Älä
sijoita kaiutinta sellaiseen paikkaan, johon aurinko paistaa
suoraan ja vältä lämmittimen ja ilmastointilaitteen
läheisyydessä olevia paikkoja. Tällaisissa paikoissa
• Kuljeta liikkeistä saatava vahva naru metallikiinnikkeen läpi,
kaiuttimien pinta saattaa vääristyä, väri lähteä ja kaiuttimet
jotta kaiutin saadaan tuettua seinään. Varmista, että seinä,
saattavat vahingoittua.
johon kaiutin kiinnitetään, on tarpeeksi vahva ja kestää
kaiuttimen painon. Kun kaiutin on kiinnitetty, varmista, että se
ei pääse kaatumaan.
• Jos kaiutin putoaa, se saattaa aiheuttaa vahinkoja.
3
Fi
50 cm
20 cm
Tärkeää
11_S-81_Fi.fm 3 ページ 2008年7月23日 水曜日 午前9時56分
Kaatumisen estävät jalat
Takana
Nastat
Kotelon pohja
Edessä
Huomautus
Jos nastapohjia ei käytetä kaiuttimien asennuksessa,
nastat saattavat vahingoittaa lattiaa. Jos nastoja
aiotaan käyttää, suosittelemme nastapohjien
käyttämistä.

11_S-81_Fi.fm 4 ページ 2008年7月23日 水曜日 午前9時56分
• Älä kiinnitä metallikiinnikettä suoraan seinään. Sitä tulee
käyttää vain yhdessä vahvan narun kanssa estämään
Liitännät
kaiuttimen putoaminen.
Tämän kaiuttimen varusteisiin ei kuulu kaiutinjohtoja
vahvistimeen tapahtuvaa liittämistä varten.
Johtojen liittäminen
1 Katkaise virta vahvistimesta.
Metallikiinnike
2 Liitä kaiutinjohdot kaiuttimen takana olevin tuloliittimiin
(alemmat). Tuloliittimen napaisuus: punainen on positiivinen
Vahvistetut narut
(+) ja musta negatiivinen (–).
Kaiuttimen takapuoli
• Kuljeta kaksi vahvaa narua metallikiinnikkeen läpi ja kiinnitä
Punainen liitin (+)
kaiutin seinään edellä kuvatulla tavalla.
Musta liitin (–)
Oikosulkutangon liittimet
Verkon kiinnittämien/irrottaminen
Tässä kaiutinjärjestelmässä on verkko, joka voidaan kiinnittää ja
irrottaa seuraavalla tavalla:
1 Verkko kiinnitetään asettamalla se kaiuttimen runkoon ja
painamalla kevyesti.
3 Liitä johtojen toinen pää vahvistimen
kaiuttimen
lähtöliittimiin (katso tarkemmat tiedot vahvistimen
2 Ota verkko pois tarttumalla siitä kiinni molemmin käsin
käyttöohjeista).
keskeltä ja vetämällä varovasti itseesi päin niin, että verkko
• Ota kiinni alempien tuloliittimien suojusnupeista ja käännä
irtoaa kaiuttimesta.
niitä vasemmalle (vastapäivään), aseta kaiutinjohdot liittimien
aukkoihin ja kiristä sitten nupit oikosulkutangon ja johdon
Huomautus
kiinnittämiseksi.
• Kaiutinliittimet voidaan liittää myös banaanipistokkeella. Kun
• Magneetit pitävät verkkoa paikallaan. Älä aseta verkkoja
käytät banaanipistokkeita, ota pois tuloliittimen päässä oleva
sellaisten esineiden lähelle, jotka ovat alttiita magneettiselle
suojus.
vaikutukselle (CRT-televisiot jne.).
• Kun pistokkeet on liitetty, varmista johdoista kevyesti
vetämällä, että johtojen päät on kiinnitetty lujasti liittimiin.
Huonot liitännät aiheuttavat kohinaa ja katkoja ääneen.
• Jos johtojen säikeet työntyvät ulos liittimistä ja säikeet
pääsevät koskettamaan toisiaan, vahvistimeen kohdistuu
ylimääräinen kuorma. Tämä saattaa aiheuttaa sen, että
vahvistin lakkaa toimimasta ja vahingoittuu.
• Kun käytetään vahvistimeen liitettyjä kaiutinpareja, normaalia
stereotehostetta ei saada, jos yhden kaiuttimen (vasemman
tai oikean) napaisuus (+, –) on päinvastainen.
VAROTOIMET
Kaiutinpäätteet ovat HENGENVAARALLISIA, kun virta
on päällä. Estä sähköiskun vaara irrottamalla
sähköjohto, ennen kuin kosketat eristämättömiä osia
kaiutinkaapeleita kytkettäessä tai irrotettaessa.
D3-4-2-2-3_A_Fi
4
Fi

Kaksijohtoiset liitännät
Kaksijohtoisissa liitännöissä tarvitaan kaksi johtoa kullekin
Tekniset tiedot
kaiuttimelle, yksi korkeille ja yksi matalille taajuuksille. Eri johdon
Kotelo. . . . . . . . . . . . . . . . . . . . Bassorefleksi, lattialle asetettava tyyppi
käyttäminen korkeille ja matalille taajuuksille parantaa ääntä.
Rakenne. . . . . . . . . . . . . . . . . . . . . . . . . . . . . . . . . . . . . . . . . . . . .4-teinen
1 Katkaise virta vahvistimesta.
Bassokaiutin . . . . . . . . . . . . . . . . . . . . . . . . . . . . . . . . . . 13 cm kartio x 2
Keskiala/Diskantti. . . . .Koaksiaalinen yksikkö: 13 cm kartio/2,5 cm kalotti
2P
oista kaksi oikosulkutankoa.
Superdiskantti. . . . . . . . . . . . . . . . . . . . . . . 8 mm x 46 mm Riffel-tyyppi
• Tässä tilassa matalataajuiset kaiuttimet ja korkeataajuiset
Impedanssi . . . . . . . . . . . . . . . . . . . . . . . . . . . . . . . . . . . . . . . . . . . . . 6
Ω
kaiuttimet ovat täysin itsenäiset. Pane oikosulkutangot talteen
Taajuusvaste . . . . . . . . . . . . . . . . . . . . . . . . . . . . . . . . . . 30 Hz – 100 kHz
tulevaa tarvetta varten.
Herkkyys . . . . . . . . . . . . . . . . . . . . . . . . . . . . . . . . . . . . . 85,5 dB (2,83 V)
• Alemmat liittimet ovat bassolle ja ylemmät liittimet keskialalle
Suurin tuloteho . . . . . . . . . . . . . . . . . . . . . . . . . . . . . . . . . . . . . . . . 130 W
ja diskantille.
Jakosuodatintaajuus . . . . . . . . . . . . . . . . . . . . . . . . . . . . . 370 Hz/3 kHz
Ulkoiset mitat . . . . . . . . . . . 267 (L) mm x 1190 (K) mm x 280,5 (S) mm
• Johtojen liittäminen niin, että napaisuus tulee väärinpäin,
Paino . . . . . . . . . . . . . . . . . . . . . . . . . . . . . . . . . . . . . . . . . . . . . . . 25,8 kg
saattaa heikentää ääntä huomattavasti. Varmista, että johdot
on liitetty oikein.
Vakiovarusteet
(Vain yksi kanava näkyy)
Nastapohjat. . . . . . . . . . . . . . . . . . . . . . . . . . . . . . . . . . . . . . . . . . . . . . . 3
Vahvistin (taka)
Metallikiinnike . . . . . . . . . . . . . . . . . . . . . . . . . . . . . . . . . . . . . . . . . . . . 1
Kaiutin
SPEAKERS OUTPUT
Ruuvi (metallikiinnikkeelle) . . . . . . . . . . . . . . . . . . . . . . . . . . . . . . . . . . 1
HF
Verkko . . . . . . . . . . . . . . . . . . . . . . . . . . . . . . . . . . . . . . . . . . . . . . . . . . . 1
Puhdistuskangas (vain mallille S-81-K) . . . . . . . . . . . . . . . . . . . . . . . . 1
HF
Käyttöohjeet
LF
LF
Kaiutin (taka): Tulopaneeli
Parannusten vuoksi pidätämme oikeuden muuttaa teknisiä
ominaisuuksia ja ulkoasua ilman erillistä ilmoitusta.
Kahden vahvistimen liitäntä (Bi-amping -liitäntä)
Kahden vahvistimen liitäntä on vieläkin tehokkaampi tapa liittää
kaiuttimet. Samoin kuin kaksijohtoisessa liitännässä, tuloliittimen
on Pioneerin vaihesäätötekniikalla varustettuihin
oikosulkutangot irrotetaan, mutta tässä matalien taajuuksien
tuotteisiin merkitty tavaramerkki. Tämä teknologia mahdollistaa
liittimet liitetään erilliseen, omaan matalien taajuuksien
korkealaatuisen äänentoiston kustakin osasta parantamalla
vahvistimeen ja korkeiden taajuuksien liittimet liitetään omaan
Suomi
kokonaisvaiheen sopivuutta.
korkeiden taajuuksien vahvistimeen.
Julkaisija : Pioneer Corporation.
Copyright-oikeudet © 2008 : Pioneer Corporation.
Kaikki oikeudet pidätetään.
5
Fi
(Vain yksi kanava näkyy)(Vain yksi kanava näkyy)
Vahvistin (taka)
Vahvistin (taka)
(Korkea taajuus)
(Matala taajuus)
SPEAKERS OUTPUT
SPEAKERS OUTPUT
Kaiutin
HF
HF
LF
LF
Kaiutin (taka): Tulopaneeli
11_S-81_Fi.fm 5 ページ 2008年7月23日 水曜日 午前9時56分
Huom

12_S-81_Ru.fm 2 ページ 2008年7月23日 水曜日 午前10時12分
Благодарим вас за покупку изделия компании Pioneer.
Пожалуйста, ознакомьтесь с настоящей инструкцией по эксплуатации, чтобы узнать, как правильно обращаться с приобретенной вами
моделью. После того, как вы закончите ознакомление с инструкцией, сохраните ее в надежном месте для обращения к ней в будущем.
Чистка корпуса динамика
В обычных условиях эксплуатации достаточно периодически
Перед началом эксплуатации
протирать корпус сухой тканью, чтобы поддерживать корпус в
• Номинальное полное сопротивление данной акустической
чистоте. При необходимости, протирайте тканью, смоченной
системы составляет 6 Ω. Подсоединяйте акустическую
нейтральным моющим средством, разбавленным в пяти или шести
систему только к усилителям с полным сопротивлением
частях воды, и хорошо выжатой. Не пользуйтесь воском или
нагрузки в пределах от 6 Ω до 16 Ω (модели, на выходных
моющими средствами для мебели.
контактах на динамик которых указано “6 Ω to 16 Ω”).
Никогда не пользуйтесь растворителями, бензином,
В целях предотвращения повреждения акустической системы
инсектицидными распылителями или другими химическими
в результате входной перегрузки, пожалуйста, соблюдайте
в
еществами на или ряд
ом с данным устройством, поскольку это
следующие меры предосторожности:
вызовет коррозию поверхности.
• Не допускайте подачу на акусти
ческую систему сиг
налов,
мощность которых превышает значение максимально
Чистка глянцевой поверхности акустической
допустимой мощности на входе.
системы
• При использовании графического эквалайзера для
Только для S-81-K
выделения звучания громких звуков в высокочастотном
• Использование пыльной или жесткой ткани, либо приложение
диапазоне, не устанавливайте на усилителе чрезмерно
слишком большой силы при протирании поверхности может
высокий уровень громкости.
привести к появлению на лакокрасочном покрытии изделия
• Не перегружайте маломощный усилитель, пытаясь
царапин.
повысить уровень громкости звучания (гармоническое
• Чистка поверхности акустической системы влажной ткани ью
искажение усилителя увеличится и это мо
жет повредить
может привести к проникновению капель воды на поверхности
динамик).
внутрь изделия, что может привести к неполадкам в работе.
Внима
ние: установка
• При выполнении чистки л
акокрасочн
ого покрытия
• Устанавливая устройство, убедитесь в том, что оно надежно
акустической системы осторожно протирайте его сухой
зафиксировано на своем месте. Избегайте таких мест
мягкой тканью, прилагаемой в комплекте поставки
размещения, в которых оно может упасть и причинить травмы
протирочной материей.
в случае стихийного бедствия (например, при землетрясении).
• Не закрепляйте эти динамики на стене или потолке. Они могут
упасть и причинить травму.
Комплект поставки
• Не устан
авливайте динами
ки над головой на потолке или на
стене. При неправильном или ненадежном креплении решетка
динамика может упасть, что может стать причиной
повреждения оборудования или травм.
Основания шипов x 3
• При подсоединении компонентов, выключайте и отсоединяйте
ваше аудио-/видеооборудование из розетки, читайте и
соблюдайте все инструкции. Убедитесь в том, что вы
используете правильные со
единительные кабели.
• Решетка прикрепле
на с помощью магнитов. Решетка может
упасть в случае приложения к ней силы в горизонтальном
направлении. Перед выполнением чистки динамика, сначала
Металлический захват x 1
снимите решетку.
Внимание: во время эксплуатации
• Не размещайте динамик на неустойчивой поверхности.
Падение динамика может создавать опасности для людей, а
также стать причиной повреждения оборудования.
Болт (для металлического захвата) х 1
• Не допус
кайте вывод чере
з динамик искаженного звука в
течение длительного периода времени. Это может создавать
опасность возгорания и пожара.
Решетка х 1
• Не садитесь и не вставайте на динамик, а также не позволяйте
Протирочная материя (только для S-81-K) x 1
детям играть на динамике.
Инструкции по эксплуатации
• Не помещайте на динамик большие или тяжелые предметы.
• Не помещайте рядом с высокочастотным или
среднечастотным ди
намиком магнитные ил
и металлические
предметы, например, отвертку. Поскольку в динамиках
используются сильные магниты, они могут притягивать такие
объекты, что может причинить травмы или повредить
мембрану.
2
Ru

Только для S-81-QL
Правила установки
• В корпусе используется фанера из натуральной древесины. Не
размещай
те динамик в местах
, подверженных воздействию
прямых лучей солнечного света, а также избегайте мест вблизи
Выбор места для размещения акустических систем
нагревателей и кондиционеров воздуха. Несоблюдение этого
• Условия в помещении прослушивания оказывают тонкое
правила может привести к деформации и обесцвечиванию
воздействие на качество звуков, воспроизводимых через
корпуса динамика или повреждению динамика.
акустические системы.
• Для достижения лучшего качества звучания выберите место на
Использование шипов
твердом и прочном полу и расположите динамики, как это
Данная акустическая система имеет три точки опоры (две
показано на рисунке внизу. Уровень низкочастотных звуков
передние ноги и задний шип, расположенный между двумя
можно отрегулировать, передвигая динамики ближе или
задними ногами).
дальше от стены. Настройте динамики таким образом, что
бы
они были расположе
ны на одинаковом расстоянии от стены с
соответствующей стороны, чтобы обеспечить
сбалансированное звучание.
1 Расположите основания шипов в позициях, в
Pyccкий
которые попадут концы трех шипов при установке
динамика.
• Располагайте левый и правый динамики на одинаковом
удалении от позиции слушателя для обеспечения хорошего
2 Поставьте динамик на основания шипов и убедитесь
стереофонического звучания. Используйте одинаковые кабели
в том, что динамик не качается.
динамиков для каждого динамика.
• Располагайте передний левый и передний правый динамики на
одинаковой плоскости с экра
ном телевизора, на н
аибольшем
возможном удалении.
• Всегда используйте основания шипов, как это по
казано на
• Для достижения оптимального объемного звучания следует
рисунке, с выемкой под шип
, обращенной вверх.
помещать телевизор между левым и правым динамиками
таким образом, чтобы динамики были направлены на позицию
слушателя под углом в 50 до 60 градусов.
• Если в комнате наблюдается значительный эффект
реверберации, рекомендуется повесить плотную материю на
стены и/или по
стелить на пол ковер для приглу
шения звука.
Для достижения лучших результатов полностью закройте
стены материей.
• Компания Pioneer не несет ответственность по возмещению
каких-либо убытков, понесенных в результате сборки,
неправильного монтажа, недостаточного крепления,
неправильной эксплуатации изделия, явлений природы и т. д.
3
Ru
Если вы желаете утилизировать данное изделие, не выбрасывайте его вместе с обычным бытовым мусором. Существует
отдельная система сбора использованных электронных изделий в соответствии с законодательством, которая
предполагает соответствующее обращение, возврат и переработку.
Чacтные клиенты-в странах-членах ЕС, в Швейцарии и Норвегии могут бесплатно возвращать использованные электронные
изделия в соответствующие пункты сбора или дилеру (при покупке сходного нового изделия).
В странах, не перечисленных выше, для получения информации о правильных способах утилизации обращайтесь в
cooтветcтвующие учреждения.
Поступая таким образом, вы можете быть уверены в том, что утилизируемый продукт будет соответствующим образом обработан,
передан в соответствующий пункт и переработан без возможных негативных последствий для окружающей среды и здоровья
людей.
K058_A_Ru
От 50 до 60
50 см
20 см
Важно
12_S-81_Ru.fm 3 ページ 2008年7月23日 水曜日 午前10時12分
Предохранительные ножки
Задняя часть
Шипы
Основа корпуса
Передняя часть
Внимание
Если при установке динамиков основания шипов не
используются, то шипы могут повредить пол. При
использовании шипов рекомендуется использовать
основания шипов.

12_S-81_Ru.fm 4 ページ 2008年7月23日 水曜日 午前10時12分
Установка крепежа защиты от падения
• С помощью прилагаемого болта прочно закрепите
Соединения
металлический захват на задней панели динамика.
К данному динамику не прилагаются кабели динамика,
используемые для подсоединения к усилителю.
Подключение кабелей
1 Выключите питание усилителя.
• Пропустите имеющийся в продаже прочный шнур через
металлический захват, чтобы надежно прикрепить динамик к
2 Подсоедините кабели динамика к входным
стене. Убедитесь в том, что стена, к которой фиксируется
контактным разъемам (нижние) на задней панели
динамик, имеет достаточную прочность, чтобы удержать вес
динамика. Полярность входных контактных разъемов
динамика. После закрепления динамика, убедитесь в том, что
обозначается следующим образом: красный —
он не у
падет.
положительный (+), черный — отрицательный (–).
• Пад
ение динамика может причинить ущерб.
Красный контактный
• Не прикрепляйте металлический захват непосредственно к
разъем (+)
стене. Его следует использовать только в сочетании со шнуром
Черный контактный
повышенной жесткости для предотвращения падения
разъем (–)
Замыкающие
соединители
динамика.
3 Подсоедините другие концы кабелей к выходным
контактным разъемам усилителя (за подробным
описанием обращайтесь к инструкциям по эксплуатации
Металлический
захват
вашего усилителя).
• Взявшись за головки на ни
жних контактных разъемах,
Шнуры повышенной
прочности
по
верните их влево (против часовой стрелки); вставьте
Задняя часть динамика
провода кабеля динамика в отверстия в контактных клеммах,
затем затяните головки, чтобы зафиксировать как провода, так
• Пропустите два шнура повышенной прочности через
и замыкающий соединитель.
металлический захват и прикрепите динамик к стене, как это
показано вверху.
• Для подсоединения к контактным разъемам динамика вы
также можете использовать вилку штекерного («бананового»)
типа. При использовании вилки штекерного типа необходимо
Установка/снятие решетки
удалить головки с вх
одных контактны
х разъемов.
Данная акустическая система поставляется с решеткой динамика,
• После подсоединения штепселей, слегка потяните за кабели,
которую можно снять, выполнив следующую операцию:
чтобы убедиться в том, что концы кабелей надежно
1 Чтобы установить решетку, выровняйте решетку на
закреплены в контактных разъемах. Плохой контакт может
корпусе динамика и осторожно нажмите на нее.
стать причиной возникновения шумов и пропадания звука.
2 Для того чтобы снять решетку, возьмитесь за
• Если провода кабелей будут случайно выдернуты из
решетку обеими руками в центре решетки и отсоедините
контактных разъемов и войдут в контакт между собой, это
решетку от динамика, осторожно потянув ее на себя.
вызов
ет чрезмерную допо
лнительную нагрузку на усилитель.
Это может стать причиной сбоев в работе и даже поломки
усилителя.
Внимание
• Когда вы пользуетесь комплектом динамиков,
подсоединенных к усилителю, вы не сможете получить
• Для удержани
я решетки на месте
используются магниты. Не
нормальный эффект стереофонического звучания, если
размещайте решетки возле устройств, которые могут быть
полярность (+, –) подключения одного из динамиков (левого
чувствительными к магнитному воздействию (ЭЛТ-
или правого) изменена на обратную.
телевизоры и т. п.).
ВНИМАНИЕ
Если система ВКЛЮЧЕНА, прикосновение к
контактам громкоговорителей ОПАСНО. Во
избежание опасности поражения электрическим
током при подключении или отключении кабелей
громкоговорителей отсоединяйте кабель питания,
прежде чем прикасаться к любым
неизолированным деталям.
D3-4-2-2-3_A_Ru
4
Ru

Двухпроводные соединения
Для выполнение двухпроводного соединения требуется по два
Технические характеристики
кабеля для каждого динамика: один для высоких частот и один для
Корпус . . . . . . . . . . . . . . . . . . . . Напольного типа с отражателем басов
низких частот. Использование отдельных кабелей для высокого и
Конфигурация . . . . . . . . . . . . . . . . . . . . . . . . . . . . . . . . . . . . . . . 4 полосы
низкого диапазонов повышается качество звучания.
Низкочастотный динамик . . . . . . . . . . . . . . . . . . . . . . . . 13-см конус x 2
1 Выключите питание усилителя.
Средне/высокочастотный динамик
. . . . . . . . . . . . . . . . . . . . . . . Коаксиальная головка: 13-см конус/2,5-см купол
2 С
нимите два замыкающих соединителя.
Сверхвысокочастотный динамик . . . . . . . . . . .8 мм x 46 мм типа Riffel
• В этом состоянии низкочастотные динамики и
Сопротивление . . . . . . . . . . . . . . . . . . . . . . . . . . . . . . . . . . . . . . . . . . . 6
Ω
высокочастотные динамики полностью независимы друг от
Частотная характеристика . . . . . . . . . . . . . . . . . . . . от 30 Гц до 100 кГц
друга. Храните замыкающие соединители в надежном месте
Чувствительность . . . . . . . . . . . . . . . . . . . . . . . . . . . . . . .85,5 дБ (2,83 В)
для использования в будущем.
Максимальная входная мощность. . . . . . . . . . . . . . . . . . . . . . . . . 130 Вт
• Нижние контактные гнезда предназначены для
Частота разделения . . . . . . . . . . . . . . . . . . . . . . . . . . . . . . . . 370 Гц/3 кГц
низкочастотных звуков, а верхние — для среднечастотных и
Габаритные размеры . . . . . . . .267 (Ш) мм x 1190 (В) мм x 280,5 (Г) мм
высокочастотных звуков.
Вес. . . . . . . . . . . . . . . . . . . . . . . . . . . . . . . . . . . . . . . . . . . . . . . . . . . 25,8 кг
• Подсоединение кабелей в обратной полярности может
Поставляемые в комплекте принадлежности
значительно ухудшить качество звучания. Убедитесь в том,
Основания шипов . . . . . . . . . . . . . . . . . . . . . . . . . . . . . . . . . . . . . . . . . . . 3
что кабели подсо
единены правильно.
Металлический захват . . . . . . . . . . . . . . . . . . . . . . . . . . . . . . . . . . . . . . . 1
Болт (для металлического захвата) . . . . . . . . . . . . . . . . . . . . . . . . . . . . . 1
Усилитель
(сзади)
Решетка . . . . . . . . . . . . . . . . . . . . . . . . . . . . . . . . . . . . . . . . . . . . . . . . . . . 1
SPEAKERS OUTPUT
Протирочная материя (только для S-81-K). . . . . . . . . . . . . . . . . . . . . . . 1
HF
Инструкции по эксплуатации
HF
LF
LF
Технические характеристики и конструкция могут меняться без
предварительного уведомления, в связи с вносимыми
усовершенствованиями.
Соединения в схеме с двухканальным усилением
Схема двухканального усиления — это еще более эффективный
является товарным знаком, наносимым на продукты, в
способ соединения динамиков. Так же как и при двухпроводном
которых применяется технология регулировки фазы Pioneer Phase
соединении, замыкающие соединители контактных разъемов
Control. Данная технология позволяет получать
снимаются, но при этом низкочастотные контактные разъемы
высококачественное звучание воспроизводимых каждым
подсоединяются к отдельному выделенному усилителю низких
компонентом звуков посредством повышения точности настройки
частот, а высокочастотные контактные разъемы — к выделенному
уровня фазировки.
усилителю высоких частот.
Издано Pioneer Corporation.
Pyccкий
© Pioneer Corporation, 2008.
Все права защищены.
5
Ru
Д
(Показан только один канал)
Динамик
инамик (сзади): Панель входных контактов
(Показан только один канал)(Показан только один канал)
Усилитель (задняя панель)
Усилитель (задняя панель)
(Высокие частоты)
(Низкие частоты)
SPEAKERS OUTPUT
SPEAKERS OUTPUT
Динамик
HF
HF
LF
LF
Динамик (сзади): Панель входных контактов
12_S-81_Ru.fm 5 ページ 2008年7月23日 水曜日 午前10時12分
Замечание

S-81_ChH.fm Page 2 Tuesday, July 22, 2008 2:59 PM
感謝您購買本台先鋒產品。
徹底閱讀本操作手冊,以便正確地操作您的產品。 在您閱讀完後,請將手冊置於安全的地方以備未來參考。
揚聲器機箱的維護
平常使用時,只用乾布擦拭就能充分保持機箱的乾淨。 必要時請
開始之前
用五倍或六倍的水加入中性洗衣劑液,然後用充分擰乾水的擦布
• 本揚聲器系統標稱阻抗 6 Ω。 請將揚聲器系統連接到負載阻抗
擦拭。 請勿用家具用的打蠟或清潔劑。
為 6 Ω 至 16 Ω (揚聲器輸出端子標有 “6 Ω to 16 Ω"的型
由於表面會受到侵蝕,在本裝置上或附近請絕對勿使用稀釋劑、
號)範圍內的擴大機。
揮發油、殺虫劑或其他化學藥品。
為防止輸入超載致使揚聲器系統受損壞,請遵守下列所示使
用前的注意事項:
清潔揚聲器系統的光亮表面
• 請勿對揚聲器提供超出輸入最大容許量的電源。
僅適用於
S-81-K
• 為強調高頻率的大音響而使用圖形等化器時,請勿過度使
• 如果使用有灰塵或硬質的布,或用力按顯示幕,產品的表面
用擴大機的音量。
會遭到刮傷。
• 請試一下勿使低音頻的擴大機輸出大音量的噪音 (由于擴
• 如果使用溼布清潔揚聲器表面,沾在表面上的水滴可能會進
大機諧波失真而加大音量有可能破壞揚聲器)。
入本產品內,導致本產品故障。
注意:安裝
• 清潔揚聲器系統的表面時,請用乾軟布 (隨附的清潔布)輕
• 放置本機時,請確認已經確實緊固,並避免容易掉落以及發
輕擦拭它。
生天然災害 (例如地震)時會導致傷害的地方。
• 請勿將揚聲器安置在牆壁或天花板上。 落下時有可能帶來傷
包裝箱中的內容
害。
• 請勿將揚聲器安置在頭上的天花板或牆壁上。 安裝不正確
時,揚聲器護網有可能落下而損壞或帶來人體的傷害。
• 連接組件時,請關掉 AV 設備並把插銷拔下來。 請參考操作手
長螺絲底座 x 3
冊,務必確認清楚正確的連接電纜。
• 護網上裝有磁鐵。 如果朝水平方向對護網用力,護網可能會
掉落。 清潔揚聲器時,請先取下護網。
注意:在使用時
• 請勿將揚聲器放置在不穩定的平面台。 這樣掉下來時,會受
害或使裝置設備損壞。
金屬掛鉤 x 1
• 使用本揚聲器請勿長時間輸出失真的音響,這會帶來火災的
危險。
• 請勿坐在或站在揚聲器上面或讓小孩子在揚聲器的上面遊
玩。
• 請勿在揚聲器上放置大型物或重量大的物件。
螺絲 (金屬掛鉤用) x 1
• 請勿在高頻或中頻揚聲器附近放置螺絲刀或鐵製部件等帶磁
性的物件。由於揚聲器採用強力磁鐵,以致於吸引物件、損
護網 x 1
壞護網或可能帶來傷害。
清潔布 (僅適用於 S-81-K) x 1
操作手冊
2
ChH

S-81_ChH.fm Page 3 Tuesday, July 22, 2008 2:59 PM
使用長螺絲
此揚聲器系統是由三點 (前兩腳和後兩腳之間的後桿)來支撐
如何安裝
的。
٪ྥԝ
選擇安置揚聲器系統的地方
• 透過揚聲器播放的聲音會受到聆聽空間情況的微妙影響。
ࡤ
• 為了得到最好的音效,請選擇將揚聲器放置在實心地板上,
並依照如下所示的位置擺放揚聲器。 將揚聲器朝向離牆壁更
近或更遠的位置移動可以調整低音位準調整揚聲器。使揚聲
ߞᖴବ
器與周遭的牆壁保持等距以確保聲音的平衡。
ᐡጒ৵
Ҕ
1 將長螺絲底座放在放置於揚聲器時要插入三支長螺絲的位
置。
50 cm
20 cm
50 Վ 60
2 將揚聲器放在長螺絲底座上,並確認揚聲器不搖擺。
ݨཏ
• 請務必使用如圖所示的長螺絲底座,使凹陷表面朝上以承受
• 將左置和右置揚聲器放置在離您聆聲位置等距的位置上,確
長螺絲尖端。
保得到良好的立體聲音效。 在每個揚聲器上使用相同長度的
揚聲器接線。
• 儘可能將左前和右前揚聲器放置在和電視螢幕相同的平面
上。
• 為了得到最佳的環繞聲,您應該將電視機放在左置和右置揚
聲器之間,並將揚聲器以 50° 至 60° 朝向收聽位置。
• 如果房間有很嚴重的迴響情況,建議您在牆壁上懸掛厚的織
品,並且/或在地板上放置地毯以減輕迴響。 若要得到最好
若放下揚聲器時不使用長螺釘底座,長螺釘可能會傷害到
的效果,請將牆壁完全覆蓋。
地板。如果您想使用長螺釘,我們大力推薦您使用長螺釘
底座。
安裝防落緊固件
• 日本先鋒公司對於部件的組裝,錯誤設置、加強不夠充分、
• 使用附送的螺絲,將金屬掛鉤緊固於揚聲器後面。
誤用以及由自然行為所引起的故障,不負責一切損害的賠償
責任。
僅適用於
S-81-QL
• 揚聲器機箱使用天然木做成的飾板片。 請勿把揚聲器放在陽
光直接照射得到的地方,同時避免放置於電熱器和空調機的
中國語
• 將市售的增強繩穿過金屬掛鉤使牆壁緊緊支撐住揚聲器。 請
附近。 這樣說不定會引起揚聲器機箱變形和變色以及損壞到
務必確認支撐揚聲器的牆壁有足夠的強度承受揚聲器的重
揚聲器。
量。 揚聲器緊固後,請確認它不會掉落。
• 掉落時,揚聲器會導致損壞。
• 請勿將金屬掛鉤直接掛於牆壁上。 它只能用於連接增強繩以
防止揚聲器落下。
ߝ឵௯ႚ
ቩᛲ
ඵᖑᏣࡤ
• 將兩根增強繩穿過金屬掛鉤,並如上圖將揚聲器固定於牆壁
上。
3
ChH

S-81_ChH.fm Page 4 Tuesday, July 22, 2008 2:59 PM
護網的裝卸
• 如果電纜的接線時有脫落,使接線互相接觸導致擴大機的過
此揚聲器系統裝備有護網,可以依照下述方法進行裝卸:
度負荷。這樣可能造成擴大機停止工作或損壞。
• 使用連接於擴大機的揚聲器套接時,揚聲器 (左置或右置)
1 若要裝上護網,請將護網對齊揚聲器本體,然後輕輕按下護
網。
的正負極 (+,–)連接錯誤的話,將無法得到正確的立體聲
效果。
2 若要取下護網,請用雙手握住靠近中央的位置,然後輕輕朝
您自己的方向拉,將護網從揚聲器上取下。
ݨཏ
ඵᖑᏣᆓφழԥԥড়ޠႬᔇȄഀ௦ܗϹᘟႬྜጤȂ࣐ᗘ
ݨཏ
ռដႬϟᓏȂ፝Ӷ௦ដӉեґ๙ጣഌϸࠊӒႬྜϹ
ᘟȄ
D3-4-2-2-3_A_ChH
• 磁鐵是用於將護網保持在定位。 請勿將護網放在靠近易受磁
性影響 (CRT 電視機等)的裝置的位置。
雙線連接
雙線需要在每一個揚聲器上使用兩條連接線,一條用於高頻率,
一條用於低頻率。 在高端和低端使用個別的連接線可以改善聲
音。
1 關閉擴大機的電源。
2 取
下兩支短棒。
• 在此狀態中,低頻率揚聲器與較高頻率揚聲器是完全獨立
的。 將短棒放在安全位置供稍後使用。
• 下側端子用於低音,上側端子用於中音和高音。
• 連接相反極性的連接線會導致音調嚴重變差。 請確認已正確
地接上連接線。
Ȟ༊ዀұяΚঐၿȟ
ᘘτᐡȞഌȟ
ඵᖑᏣ
ඵᖑᏣᒰяᆓ
HF
連接
HF
此揚聲器並不含有用於連接擴大機的揚聲器電纜。
LF
LF
電纜的連接
ඵᖑᏣȞഌȟȈᒰ Τ ݗ
1 關閉擴大機的電源。
2 連接揚聲器接線於揚聲器背面的輸入端 (下方)。 輸入端子
雙擴大機接線
的極性是紅色為正極 (+),而黑色為負極 (-)。
雙放大甚至是連接揚聲器的更強大方式。 跟雙線一樣,取下輸出
端子短棒,但在這裏低頻端子連接至個別的專用低頻擴大機,而
Քᆓφ
(+)
且高頻端子連接至專用高頻擴大機。
༄Քᆓφ
Ȟ༊ዀұяΚঐၿȟ Ȟ༊ዀұяΚঐၿȟ
ූ௦ᓟ
ᘘτᐡȞഌȟ
ᘘτᐡȞഌȟ
Ȟାᓝ౦ȟ
Ȟմ ᓝ ౦ȟ
ඵᖑᏣᒰяᆓ ඵᖑᏣᒰяᆓ
ඵᖑᏣ
HF
3 將電纜的另一端連接於擴大機的
揚聲器輸出端子上 (詳細請
HF
參照擴大機的操作手冊)。
• 在下面位置上的輸入端子旋鈕向左旋轉 (反時鐘方向),並
LF
將揚聲器電纜插入到輸入端子的孔內,然後旋緊輸入端子的
LF
旋鈕並固定好短棒及接線。
ඵᖑᏣȞഌȟȈᒰ Τ ݗ
• 您也可用一個香蕉插頭來連接揚聲器的端子。 使用香蕉插頭
時,請務必取下輸入端子的端蓋。
• 當連接插座後,請輕拉一下電纜的短部與端子確認是否確實
的連接好。 不良的連接,將導致噪音與聲音的中斷。
4
ChH

S-81_ChH.fm Page 5 Tuesday, July 22, 2008 2:59 PM
ݨ
規格
規格及設計有因產品改善而有所變更,恕不另行通知。
機殼 . . . . . . . . . . . . . . . . . . . . . . . . . . . . . . . . . . . . . . 低音反射落地型
配置 . . . . . . . . . . . . . . . . . . . . . . . . . . . . . . . . . . . . . . . . . . . . . . .4 路
低音揚聲器 . . . . . . . . . . . . . . . . . . . . . . . . . . . . . . . . . 13 cm 錐形 x 2
中音/高音揚聲器 . . . . . . . . . . . 同軸裝置: 13 cm 錐形 /2.5 cm 球頂型
是根據日本先鋒公司開發的相控制的技術概念。 這是通
超高音揚聲器 . . . . . . . . . . . . . . . . . . . . . . . . . 8 mm x 46 mm riffel 型
過從錄音到播放改善階段匹配特性的產品所授予的商標。
電阻 . . . . . . . . . . . . . . . . . . . . . . . . . . . . . . . . . . . . . . . . . . . . . . . 6
Ω
頻率響應. . . . . . . . . . . . . . . . . . . . . . . . . . . . . . . . . 30 Hz 至 100 kHz
日本先鋒公司出版。
靈敏度 . . . . . . . . . . . . . . . . . . . . . . . . . . . . . . . . . . . 85.5 dB (2.83 V)
版權 © 2008 日本先鋒公司。
最大輸入功率 . . . . . . . . . . . . . . . . . . . . . . . . . . . . . . . . . . . . . .130 W
版權所有。
交越頻率. . . . . . . . . . . . . . . . . . . . . . . . . . . . . . . . . . . . 370 Hz/3 kHz
外形尺寸. . . . . 267 mm (寬) x 1190 mm (高) x 280.5 mm (深)
重量 . . . . . . . . . . . . . . . . . . . . . . . . . . . . . . . . . . . . . . . . . . . . 25.8 kg
附件
長螺絲底座 . . . . . . . . . . . . . . . . . . . . . . . . . . . . . . . . . . . . . . . . . . . . 3
金屬掛鉤 . . . . . . . . . . . . . . . . . . . . . . . . . . . . . . . . . . . . . . . . . . . . . 1
螺絲 (金屬掛鉤用). . . . . . . . . . . . . . . . . . . . . . . . . . . . . . . . . . . . . 1
護網 . . . . . . . . . . . . . . . . . . . . . . . . . . . . . . . . . . . . . . . . . . . . . . . . . 1
清潔布 (僅適用於 S-81-K) . . . . . . . . . . . . . . . . . . . . . . . . . . . . . . . 1
操作手冊
中國語
5
ChH

FRRD-232-A_S-81_En.book 6 ページ 2008年7月22日 火曜日 午後2時26分

