Pioneer S-81-QL: instruction
Class: Household, kitchen appliances, electronics and equipment
Type: Home Theater System
Manual for Pioneer S-81-QL

FRRD-232-A_S-81_En.book 1 ページ 2008年7月22日 火曜日 午後2時26分
1
En

FRRD-232-A_S-81_En.book 2 ページ 2008年7月22日 火曜日 午後2時26分
Thank you for buying this Pioneer product.
Please read through these operating instructions so you will know how to operate your model properly. After you have finished reading the
instructions, put them away in a safe place for future reference.
• Do not place magnetic objects such as screwdrivers or iron
parts near the tweeter or midrange. Since the speakers use
Before you start
strong magnets, the objects may be attracted, causing injury
• The nominal impedance of this speaker system is 6 Ω.
or damaging the diaphragm.
Connect the speaker system to an amplifier with a load
impedance ranging from 6 Ω to 16 Ω (a model with “6 Ω to
Cleaning the speaker cabinet
16 Ω” displayed on the speaker output terminals).
With normal use, wiping with a dry cloth should be sufficient to
In order to prevent damage to the speaker system resulting
keep the cabinet clean. If necessary, clean with a cloth dipped in
from input overload, please observe the following precautions:
a neutral cleanser diluted five or six times with water, and wrung
• Do not supply power to the speaker system in excess of the
out well. Do not use furniture wax or cleansers.
maximum permissible input.
Never use thinners, benzine, insecticide sprays or other chemicals
• When using a graphic equalizer to emphasize loud sounds
on or near this unit since these will corrode the surfaces.
in the high-frequency range, do not use excessive amplifier
volume.
Cleaning the glossy finish of the speaker system
• Do not try to force a low-powered amplifier to produce loud
S-81-K only
volumes of sound (the amplifier’s harmonic distortion will
be increased, and you may damage the speaker).
• If you use a dusty or hard cloth or if you rub the screen hard,
the finish of the product will be scratched.
Caution: installation
• If you clean the surface of the speaker system with a wet cloth,
• When placing this unit, ensure that it is firmly secured and
water droplets on the surface may enter into the product,
avoid areas where it may be likely to fall and cause injury in the
resulting in malfunction.
event of a natural disaster (such as an earthquake).
• When cleaning the finish of the speaker system, gently wipe it
• Do not attach these speakers to the wall or ceiling. They may
with a dry soft cloth; the supplied cleaning cloth.
fall off and cause injury.
• Do not install your speakers overhead on the ceiling or wall. If
improperly attached, the speaker grille can fall and cause
damage or personal injury.
What’s in the box
• Switch off and unplug your AV equipment and consult the
instructions when connecting up components. Make sure you
use the correct connecting cables.
Spike bases x 3
• The grille is affixed with magnets. The grille may fall if force is
applied to the grille in a horizontal direction. When cleaning
the speaker, remove the grille first.
Caution: in use
• Do not place the speaker on an unstable surface. It could
Metal catch x 1
present a hazard if it falls, as well as damaging the equipment.
• Do not use the speaker to output distorted sound for long
periods of times. This can result in a fire hazard.
Screw (for metal catch) x 1
• Do not sit or stand on the speaker, or let children play on the
Grille x 1
speaker.
Cleaning cloth (for S-81-K only) x 1
• Do not put large or heavy objects on top of the speaker.
Operating instructions
For U.S. model
WARNING:
Handling the cord on this product or
cords associated with accessories sold with the
product will expose you to chemicals listed on
proposition 65 known to the State of California and
other governmental entities to cause cancer and
birth defect or other reproductive harm.
Wash hands after handling
D36-P4_A_En
For European model
If you want to dispose this product, do not mix it with general household waste. There is a separate collection system for used
electronic products in accordance with legislation that requires proper treatment, recovery and recycling.
Private households in the member states of the EU, in Switzerland and Norway may return their used electronic products free of charge to
designated collection facilities or to a retailer (if you purchase a similar new one).
For countries not mentioned above, please contact your local authorities for the correct method of disposal.
By doing so you will ensure that your disposed product undergoes the necessary treatment, recovery and recycling and thus prevent potential
negative effects on the environment and human health.
K058_A_En
2
En

FRRD-232-A_S-81_En.book 3 ページ 2008年7月22日 火曜日 午後2時26分
Using the spikes
This speaker system is supported by three points (the front two
How to install
legs, and the back spike located between the back two legs).
Tip-prevention legs
Choosing where to place the speaker systems
• Sounds played through speaker systems are easily affected in
Back
subtle ways by the conditions in the listening space.
English
• For best sound, choose a solid floor upon which to place the
speakers, and position the speakers as shown below. The level
Spikes
of low sounds can be adjusted by moving the speakers closer
Cabinet base
to or further from the wall. Adjust the speakers so that they are
equidistant from their respective side walls to assure balanced
sound.
Front
1 Set the spike bases in the positions where the points of
the three spikes will strike when the speaker is set down.
50 cm
20 cm
(19
11
/
(7
7
16
in.)
/
8
in.)
2 Set the speaker on the spike bases and check to confirm
the speaker does not rock.
50 to 60
• Always use the spike bases as shown, with the indented
surface facing up to receive the spike point.
• Place the left and right speakers equal distances from your
listening position for good stereo sound. Use speaker cords of
the same length for each speaker.
• So far as possible, place the front left and front right speakers
on the same plane as the TV screen.
• To achieve optimum surround sound, you should place the TV
between the left and right speakers, with the speakers
If you do not use the spike bases when placing the
pointing at a 50 to 60 degree angle toward the listening
speakers, the spikes may cause damage to the floor. If
position.
you plan on using the spikes we highly recommend to
• If the room has a lot of reverberation, we recommend hanging
use the spike bases.
heavy fabric on the walls, and/or putting a carpet on the floor
to damp the sound. For best results, cover walls completely.
Mounting the Fall-Prevention Fastener
• Using the included screw, tightly secure the metal catch to the
backside of the speaker.
• Pioneer assumes no liability whatsoever for damages
resulting from assembly, improper mounting, insufficient
reinforcement, misuse of the product, acts of nature, etc.
S-81-QL only
• Pass a commercially-available reinforced string through the
• The cabinet uses sliced veneer made of natural wood. Do not
metal catch to securely support the speaker to the wall. Be
place the speaker where it will be in direct sunlight, and avoid
sure that the wall to which you fasten the speaker is strong
positioning it near heaters and air conditioners. Doing so may
enough to support the weight of the speaker. After fastening
cause warping and discoloration of the speaker cabinet and
the speaker, make sure that it does not fall over.
damage to the speaker.
• The speaker can incur damage in the event of a fall.
• Do not attach the metal catch directly to the wall. It should
only be used in conjunction with reinforced string to prevent
the speaker from falling.
Metal catch
Reinforced strings
Backside of speaker
• Pass two reinforced strings through the metal catch, and
fasten the speaker to the wall as shown above.
3
En

Attaching/removing the grille
• If the cables’ wires happen to be pushed out of the terminals,
This speaker system comes with grille which may be attached and
allowing the wires to come into contact with each other, it
removed by:
places an excessive additional load on the amp. This may
cause the amp to stop functioning, and may even damage the
1 To attach the grille, align the grille with the speaker body
amp.
and press gently.
• When using a set of speakers connected to an amplifier, you
2 To remove the grille, hold the grille with both hands near
won’t be able to obtain the normal stereo effect if the polarity
the middle and pull gently toward you to separate the grille
(+, –) of one of the speakers (left or right) is reversed.
from the speaker.
CAUTION
• Magnets are used for holding the grille in place. Do not place
the grilles near devices that may be susceptible to magnetic
influence (CRT televisions, etc.).
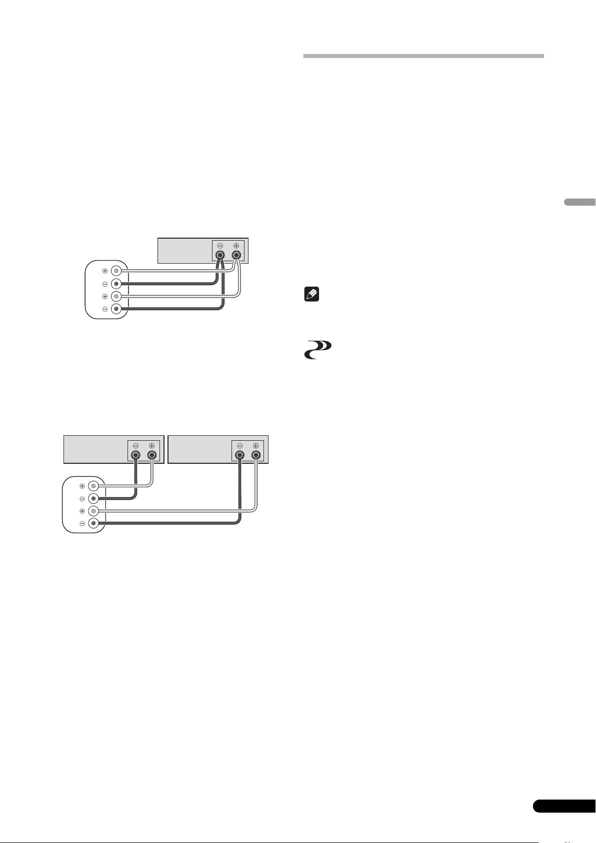
Bi-Wire connections
Bi-wiring requires two cables for each speaker, one for high
frequencies and one for low frequencies. Using separate cables
for the high end and low end improves the sound.
1 Switch off the power to your amplifier.
2R
emove the two short bars.
• In this state, the low-frequency speakers and the higher-
frequency speakers are completely independent. Store the
short bars in a safe place for later use.
• The lower terminals are for the bass, and the upper terminals
are for midrange and treble sounds.
• Connecting the cables with reversed polarity may degrade the
tone seriously. Confirm that the cables are connected
properly.
Connections
This speaker does not include speaker cables used for connecting
to an amplifier.
Connecting the cables
1 Switch off the power to your amplifier.
2 Connect the speaker cables to the input terminals (lower)
Bi-Amplification connections
on the back of the speaker. For input terminal polarity, red is
Bi-amping is an even more powerful way of connecting your
positive (+) and black is negative (–).
speakers. Just as with bi-wiring, the input terminal short bars are
removed, but here the low-frequency terminals are connected to a
Red terminal
(+)
separate, dedicated low-frequency amp, and the high-frequency
terminals are connected to a dedicated high-frequency amp.
Black terminal
(−)
Short bar connectors
3 Connect the other ends of the cables to the amp's
speaker output terminals (for more details, refer to your amp
instruction manual).
• Grasp the cap knobs on the lower input terminals and rotate
them to the left (counter-clockwise), insert the speaker cable
wires into the holes in the terminal posts, then tighten the
knobs to secure the short bar as well as the wires.
• You can also connect the speaker’s terminals with a banana
plug. When using a banana plug, be sure to remove the cap at
the tip of the input terminal.
• After connecting the plugs, pull lightly on the cables to make
sure that the ends of the cables are securely connected to the
terminals. Poor connections can create noise and
interruptions in the sound.
4
En
T
hese speaker terminals carry HAZARDOUS LIVE
voltage. To prevent the risk of electric shock when
connecting or disconnecting the speaker cables,
disconnect the power cord before touching any
uninsulated parts.
D3-4-2-2-3_A_En
(Only one channel shown)
Amplifier (rear)
Speaker
SPEAKERS OUTPUT
HF
HF
LF
LF
Speaker (rear): Input panel
FRRD-232-A_S-81_En.book 4 ページ 2008年7月22日 火曜日 午後2時26分
(Only one channel shown) (Only one channel shown)
Amplifier (rear)
Amplifier (rear)
(High frequency)
(Low frequency)
SPEAKERS OUTPUT
SPEAKERS OUTPUT
Speaker
HF
HF
LF
LF
Speaker (rear): Input panel

Specifications
Specifications and design subject to possible modification
Enclosure. . . . . . . . . . . . . . . . . . . . . . . . . Bass-reflex floorstanding type
without notice, due to improvements.
Configuration . . . . . . . . . . . . . . . . . . . . . . . . . . . . . . . . . . . . . . . . . .4-way
1
Woofer . . . . . . . . . . . . . . . . . . . . . . . . . . . . . . . .13 cm (5
/
8
in.) cone x 2
1
Mid/Tweeter . . . . . . Coaxial unit: 13 cm (5
/
8
in.) cone/2.5 cm (1 in.) dome
is a trademark placed on a product with Pioneer’s Phase
3
13
English
Super tweeter . . . . . . . . . . . . . 8 mm x 46 mm (
/
8
in. x 1
/
16
in.) riffel
Control technology. This technology enables high-grade sound
Impedance. . . . . . . . . . . . . . . . . . . . . . . . . . . . . . . . . . . . . . . . . . . . . . 6
Ω
reproduction through each component by improving overall
Frequency response . . . . . . . . . . . . . . . . . . . . . . . . . . . 30 Hz to 100 kHz
phase matching.
Sensitivity. . . . . . . . . . . . . . . . . . . . . . . . . . . . . . . . . . . . . 85.5 dB (2.83 V)
Maximum input power . . . . . . . . . . . . . . . . . . . . . . . . . . . . . . . . . . 130 W
Crossover frequency. . . . . . . . . . . . . . . . . . . . . . . . . . . . . . 370 Hz/3 kHz
Published by Pioneer Corporation.
Exterior dimensions . . . . .267 (W) mm x 1190 (H) mm x 280.5 (D) mm
9
7
1
Copyright © 2008 Pioneer Corporation.
10
/
16
(W) in. x 46
/
8
(H) in. x 11
/
16
(D) in.
All rights reserved.
Weight . . . . . . . . . . . . . . . . . . . . . . . . . . . . . . . . . . 25.8 kg (56 lbs 15 oz.)
Supplied accessories
Spike bases . . . . . . . . . . . . . . . . . . . . . . . . . . . . . . . . . . . . . . . . . . . . . . . 3
Metal catch . . . . . . . . . . . . . . . . . . . . . . . . . . . . . . . . . . . . . . . . . . . . . . . 1
Screw (for metal catch) . . . . . . . . . . . . . . . . . . . . . . . . . . . . . . . . . . . . . 1
Grille. . . . . . . . . . . . . . . . . . . . . . . . . . . . . . . . . . . . . . . . . . . . . . . . . . . . . 1
Cleaning cloth (S-81-K only). . . . . . . . . . . . . . . . . . . . . . . . . . . . . . . . . . 1
Operating instructions
We Want You Listening For A Lifetime
Used wisely, your new sound equipment will
provide a lifetime of fun and enjoyment. Since
hearing damage from loud noise is often
undetectable until it is too late, this manufacturer
and the Electronic Industries Association’s
Selecting fine audio equipment such as the unit
Consumer Electronics Group recommend you avoid
you’ve just purchased is only the start of your
prolonged exposure to excessive noise. This list of
musical enjoyment. Now it’s time to consider how
sound levels is included for your protection.
you can maximize the fun and excitement your
equipment offers. This manufacturer and the
Decibel
Electronic Industries Association’s Consumer
Level Example
Electronics Group want you to get the most out of
your equipment by playing it at a safe level. One that
30 Quiet library, soft whispers
lets the sound come through loud and clear without
40
Living room, refrigerator, bedroom away from traffic
annoying blaring or distortion-and, most importantly,
50 Light traffic, normal conversation, quiet office
without affecting your sensitive hearing.
60 Air conditioner at 20 feet, sewing machine
70 Vacuum cleaner, hair dryer, noisy restaurant
Sound can be deceiving. Over time your hearing
80
Average city traffic, garbage disposals, alarm clock
“comfort level” adapts to higher volumes of sound.
at two feet.
So what sounds “normal” can actually be loud and
harmful to your hearing. Guard against this by
THE FOLLOWING NOISES CAN BE DANGEROUS
setting your equipment at a safe level BEFORE your
UNDER CONSTANT EXPOSURE
hearing adapts.
90
Subway, motorcycle, truck traffic, lawn mower
To establish a safe level:
100 Garbage truck, chain saw, pneumatic drill
• Start your volume control at a low setting.
120 Rock band concert in front of speakers,
• Slowly increase the sound until you can hear it
thunderclap
comfortably and clearly, and without distortion.
140 Gunshot blast, jet plane
180 Rocket launching pad
Once you have established a comfortable sound
level:
Information courtesy of the Deafness Research Foundation.
• Set the dial and leave it there.
Taking a minute to do this now will help to prevent
hearing damage or loss in the future. After all, we
want you listening for a lifetime.
S001_En
5
En
For U.S. model
FRRD-232-A_S-81_En.book 5 ページ 2008年7月22日 火曜日 午後2時26分

02_S-81_Fr.fm 2 ページ 2008年7月23日 水曜日 午前9時45分
Nous vous remercions d’avoir acheté ces enceintes acoustiques Pioneer.
Veuillez lire attentivement ce mode d’emploi de manière à pouvoir utiliser votre modèle correctement. Après avoir lu ces explications,
conservez-les en lieu sûr pour éventuellement les consulter plus tard.
• Ne placez pas d’objets magnétiques tels que des tournevis ou
des pièces en fer près du tweeter ou du médium. Comme ces
Avant de commencer
haut-parleurs utilisent des aimants puissants, ces objets
• L’impédance nominale de ces enceintes acoustiques est de
pourraient être attirés, provoquant des dégâts aux haut-
6 Ω. Raccordez les enceintes à un amplificateur dont
parleurs ou endommageant leur diaphragme.
l’impédance de charge va de 6 Ω à 16 Ω (un modèle pour
lequel “6 Ω to 16 Ω” est indiqué sur les bornes de sortie des
Nettoyage du coffret de l’enceinte
haut-parleurs).
Normalement, il suffira de frottez le coffret de ces enceintes avec
Pour éviter d’endommager les enceintes par une surcharge à
un linge sec pour maintenir leur propreté. Au besoin, trempez un
l’entrée, observez les précautions suivantes :
linge dans un détergent neutre allongé de 5 à 6 fois son volume
• Ne fournissez pas aux enceintes acoustiques une
d’eau et essorez bien le linge avant de l’utiliser pour frotter le
puissance électrique dépassant l’entrée maximale
coffret. N’utilisez pas de cire ou de détergent pour mobilier.
autorisée.
N’employez jamais de diluant, benzine, insecticide en atomiseur
• Si vous utilisez un égaliseur graphique pour accentuer les
ou autre produit chimique sur les coffrets ou à proximité, car cela
sons dans la plage des hautes fréquences, n’élevez pas trop
endommagerait leurs surfaces.
le volume de l’amplificateur.
• N’essayez pas de pousser un amplificateur de faible
Nettoyage de la finition brillante de l’enceinte
puissance à produire un volume sonore élevé, car la
S-81-K seulement
distorsion harmonique de l’amplificateur en serait
• Vous risquez de griffer la finition du produit si vous utilisez un
accentuée et vous pourriez endommager les haut-parleurs.
chiffon poussiéreux ou rugueux ou si vous frottez fortement.
Précautions à l’installation
• Si vous nettoyez la surface de l’enceinte avec un chiffon
• Lors de l’installation de l’appareil, veillez à ce qu’il soit
humide, des goutelettes d’eau risquent d’y pénétrer et de
fermement immobilisé et évitez les endroits d’où il pourrait
provoquer un mauvais fonctionnement.
tomber et provoquer des blessures lors d’une catastrophe
• Lors du nettoyage de la finition de l’enceinte, frottez
naturelle, telle qu’un séisme.
délicatement au moyen d’un linge doux et sec ou du chiffon
• Ne fixez pas les enceintes sur une paroi ou au plafond, car
de nettoyage fourni.
elles pourraient tomber et provoquer des blessures.
• N’installez pas les enceintes en hauteur, au plafond ou sur
une paroi. Si elle est mal installée, la grille des haut-parleurs
pourrait tomber et provoquer des dégâts, voire des blessures
Contenu de l’emballage
à des personnes.
• Mettez votre système audiovisuel hors tension et débranchez-
le, puis consultez le mode d’emploi avant de brancher des
composants. Prenez soin d’utiliser correctement les cordons
Bases pour pointes de découplage x 3
de raccordement.
• La grille est immobilisée au moyen d’aimants. La grille
pourrait tomber si vous y appliquez une force dans le sens
horizontal. Pour nettoyer l’enceinte, déposez d’abord sa grille.
Précautions à l’emploi
• Ne placez pas l’enceinte sur une surface instable, car en
Attache antichute x 1
tombant, elle pourrait entraîner des blessures et être
endommagée.
• N’utilisez pas les enceintes pour produire des sons distordus
pendant une longue période, car ceci pourrait provoquer un
incendie.
Vis (pour attache antichute) x 1
• Ne montez pas et ne vous asseyez pas sur les enceintes et ne
laissez pas des enfants jouer sur celles-ci.
• Ne posez pas d’objets lourds ou volumineux sur le dessus des
Grille x 1
enceintes.
Chiffon de nettoyage (pour S-81-K seulement) x 1
Mode d’emploi
Si vous souhaitez vous débarrasser de cet appareil, ne le mettez pas à la poubelle avec vos ordures ménagères. Il existe un système de
collecte séparé pour les appareils électroniques usagés, qui doivent être récupérés, traités et recyclés conformément à la législation.
Les habitants des états membres de l’UE, de Suisse et de Norvège peuvent retourner gratuitement leurs appareils électroniques usagés aux
centres de collecte agréés ou à un détaillant (si vous rachetez un appareil similaire neuf).
Dans les pays qui ne sont pas mentionnés ci-dessus, veuillez contacter les autorités locales pour savoir comment vous pouvez vous débarrasser
de vos appareils.
Vous garantirez ainsi que les appareils dont vous vous débarrassez sont correctement récupérés, traités et recyclés et préviendrez de cette façon
les impacts néfastes possibles sur l’environnement et la santé humaine.
K058_A_Fr
2
Fr

Utilisation des pointes de découplage
Cette enceinte est soutenue par trois points (les deux pattes avant
Méthode d’installation
et la pointe de découplage arrière située entre les deux pattes
arrière).
Choix d’un emplacement pour les enceintes
acoustiques
• Les sons reproduits par les enceintes acoustiques sont
facilement affectés de manière subtile par les conditions du
local d’écoute.
• Pour obtenir un son optimal, choisissez un plancher solide
pour disposer les enceintes et positionnez-les comme indiqué
ci-après. Le niveau des sons graves peut être ajusté en
rapprochant ou éloignant les enceintes par rapport aux parois.
Afin d’obtenir un son équilibré, ajustez les enceintes de sorte
qu’elles soient équidistantes de leur mur respectif.
Français
1 Fixez les bases des trois pointes aux positions ou elles
feront contact lorsque l’enceinte sera posée à plat.
2 Posez l’enceinte sur les bases des pointes de découplage
et assurez-vous que l’enceinte est stable.
50 à 60
• Utilisez toujours les bases de pointe de découplage comme
illustré, de sorte que le creux puisse recevoir la pointe.
• Pour obtenir de bons sons stéréo, placez les enceintes gauche
et droite à distance égale de la position d’écoute. Utilisez des
cordons d’enceinte de la même longueur pour chaque
enceinte.
• Dans la mesure du possible, placez les enceintes avant
gauche et droit dans le même plan que l’écran du téléviseur.
• Pour bénéficier d’un son d’ambiance optimal, il convient de
placer le téléviseur entre les enceintes gauche et droite et
d’orienter celles-ci à un angle de 50 à 60 degrés vers la
position d’écoute.
• Si la pièce à tendance à réverbérer les sons, nous conseillons
de suspendre des tentures aux murs et/ou de placer un tapis
sur le plancher afin d’amortir les sons. Pour obtenir les
meilleurs résultats possibles, couvrez complètement les
murs.
Fixation de l’attache antichute
• Au moyen de la vis fournie, fixez fermement l’attache
• Pioneer n’assume aucune responsabilité en cas de dégâts
antichute sur la face arrière de l’enceinte.
causés par un assemblage et un montage inadéquats, un
renforcement insuffisant, une erreur d’utilisation, des
catastrophes naturelles, etc.
S-81-QL seulement
• Le coffret utilise un placage de bois naturel. N’installez pas les
enceintes en plein soleil et évitez de les placer près d’appareils
• Faites passer un cordon renforcé, disponible dans le
de chauffage ou de climatiseurs, car ceci pourrait gondoler et
commerce, dans l’attache antichute pour immobiliser
décolorer le coffret des enceintes et endommager leurs haut-
l’enceinte à une paroi. Assurez-vous que celle-ci est
parleurs.
suffisamment résistante pour supporter le poids de l’enceinte.
Après la fixation de l’enceinte, assurez-vous qu’elle ne se
renverse pas.
• Si elle devait tomber, l’enceinte subirait des dégâts.
3
Fr
50 cm
20 cm
02_S-81_Fr.fm 3 ページ 2008年7月23日 水曜日 午前9時45分
Pattes antichute
Arrière
Pointes de
Base du coffret
découplage
Avant
Attention
Si vous n’utilisez pas de bases pour pointes de
découplage à l’installation des enceintes, les pointes
risquent d’âbimer le plancher. Si vous prévoyez
d’employer les pointes de découplage, nous
conseillons vivement d’utiliser leurs bases.

02_S-81_Fr.fm 4 ページ 2008年7月23日 水曜日 午前9時45分
• Ne fixez pas l’attache antichute directement sur une paroi,
Elle doit être utilisée uniquement avec un cordon renforcé
Connexions
pour prévenir la chute de l’enceinte.
Les câbles d’enceintes, nécessaires pour le branchement à un
ampli, ne sont pas fournis avec cette enceinte acoustique.
Câblage
1 Mettez l’amplificateur hors tension.
Attache
antichute
2 Branchez les câbles d’enceinte sur les bornes d’entrée
(inférieures) à l’arrière de l’enceinte. En ce qui concerne les
Cordons solides
polarités des bornes, la rouge est positive (+) et la noire est
Face arrière de l’enceinte
négative (–).
• Faites passer deux cordons renforcés par l’attache antichute
et fixez l’enceinte sur une paroi comme illustré ci-dessus.
Borne rouge (+)
Borne noire (–)
Fixation et dépose de la grille
Connexion de fiche
coupe-circuit
Cette enceinte est fournie avec une grille qui peut être fixée et
déposée en procédant comme suit :
1 Pour fixer la grille, alignez celle-ci avec le corps de
l’enceinte et appuyez-y doucement.
3 Raccordez l’autre bout des câbles sur les bornes de sortie
2 Pour retirer la grille, tenez-la des deux mains près du
d’enceinte de l’amplificateur (pour plus d’informations,
milieu et tirez doucement vers vous pour séparer la grille et
consultez le mode d’emploi de votre amplificateur).
l’enceinte.
• Saisissez le bouton-capuchon sur les bornes d’entrée
inférieure et tournez-le vers la gauche (sens antihoraire),
Attention
insérez les fils du câble d’enceinte dans l’orifice du montant
de borne, puis tournez le bouton pour immobiliser les fiches
• Des aimants servent à maintenir la grille en place. Ne placez
coupe-circuit et les fils.
pas les grilles près de dispositifs pouvant être influencés par
• Vous pouvez également utiliser une fiche banane pour cette
le magnétisme (écran de téléviseur, etc.).
connexion. Dans ce cas, vous devrez d’abord déposer le
capuchon présent sur le bouton de la borne d’entrée.
• Après avoir branché les câbles sur les bornes, tirez
légèrement sur ceux-ci pour vous assurer que leur extrémité
est parfaitement immobilisée sur les bornes. De mauvaises
connexions sont la source de parasites, voire d’interruption
des sons.
• Si les fils des câbles ressortent des bornes et s’ils entrent en
contact mutuellement, l’amplificateur subira une charge
additionnelle, ce qui peut l’obliger à s’arrêter, voire
l’endommager.
• A l’emploi d’un jeu d’enceintes raccordé à un amplificateur, si
la polarité d’une des enceintes acoustiques (+, –) est inversée,
vous n’obtiendrez pas un effet stéréophonique normal.
ATTENTION
Les bornes des haut-parleurs sont sous une tension
ACTIVE DANGEREUSE. Pour éviter tout risque de
décharge électrique lors du branchement et du
débranchement des câbles de haut-parleur, débranchez
le cordon d’alimentation avant de toucher des parties
non isolées.
D3-4-2-2-3_A_Fr
4
Fr

Bi-câblage
Le bi-câblage suppose deux câbles pour chaque haut-parleur, l’un
Fiche technique
pour les hautes fréquences et l’autre pour les basses. Le son sera
Coffret . . . . . . . . . . . . . . . . . . . . . . . . . . . . . Type plancher, basse reflex
amélioré si vous utilisez des câbles séparés pour les aigus et les
Configuration . . . . . . . . . . . . . . . . . . . . . . . . . . . . . . . . . . . . . . . . .4 voies
graves.
Woofer . . . . . . . . . . . . . . . . . . . . . . . . . . . . . . . . . . . . . Cône de 13 cm x 2
1 Mettez l’amplificateur hors tension.
Medium/Tweeter . . . . . . . Unité coaxiale : Cône de 13 cm/Dome de 2,5 cm
Super tweeter . . . . . . . . . . . . . . . . . . . . . . . . . . . . . Riffel 8 mm x 46 mm
2 Retirez les deux straps coupe-circuit.
Impédance . . . . . . . . . . . . . . . . . . . . . . . . . . . . . . . . . . . . . . . . . . . . 6
Ω
• Dans cet état, les haut-parleurs dse basses fréquences et ceux
Réponse de fréquence . . . . . . . . . . . . . . . . . . . . . . . De 30 Hz à 100 kHz
des hautes fréquences sont complètement indépendants.
Sensibilité . . . . . . . . . . . . . . . . . . . . . . . . . . . . . . . . . . . . 85,5 dB (2,83 V)
Rangez les straps coupe-circuits en lieu sûr en vue d’une
Puissance d’entrée maximum. . . . . . . . . . . . . . . . . . . . . . . . . . . . 130 W
éventuelle utilisation ultérieure.
Fréquence de recouvrement . . . . . . . . . . . . . . . . . . . . . . . 370 Hz/3 kHz
• Les bornes du bas sont destinées aux graves et celles du haut
Dimensions extérieures . . .267 (L) mm x 1190 (H) mm x 280,5 (P) mm
au médium et aux aigus.
Poids . . . . . . . . . . . . . . . . . . . . . . . . . . . . . . . . . . . . . . . . . . . . . . . 25,8 kg
• La tonalité sera sérieusement dégradée si vous inversez les
Français
polarités lors de la connexion des câbles. Assurez-vous que
Accessoires fournis
les câbles sont correctement raccordés.
Bases pour pointes de découplage. . . . . . . . . . . . . . . . . . . . . . . . . . . . 3
Attache antichute . . . . . . . . . . . . . . . . . . . . . . . . . . . . . . . . . . . . . . . . . 1
(Seule une voie est indiquée)
Amplificateur
Vis (pour attache antichute) . . . . . . . . . . . . . . . . . . . . . . . . . . . . . . . . . 1
(arrière)
Grille . . . . . . . . . . . . . . . . . . . . . . . . . . . . . . . . . . . . . . . . . . . . . . . . . . . . 1
Enceinte
SPEAKERS OUTPUT
Chiffon de nettoyage (pour S-81-K seulement) . . . . . . . . . . . . . . . . . . 1
HF
Mode d’emploi
HF
LF
LF
Spécifications et design sous réserve de modifications sans
Enceinte (arrière) : Panneau d’entrée
préavis en raison d’améliorations éventuelles.
Câblage pour bi-amplification
est une marque de commerce, appliquée sur un appareil
La bi-amplification est une méthode encore meilleure de
doté de la technologie “Phase Control” de Pioneer. Cette
connecter vos enceintes. Comme pour le bi-câblage, les straps
technologie autorise une reproduction sonore de haut niveau par
coupe-circuit des bornes d’entrée sont déposés, mais ici, les
chaque composant grâce à une amélioration de la
bornes des basses fréquences sont connectées à un ampli basses
synchronisation d’ensemble des phases.
fréquences séparé et réservé, tandis que les bornes des hautes
fréquences le son à un ampli hautes fréquences réservé.
Publication de Pioneer Corporation.
© 2008 Pioneer Corporation.
Tous droits de reproduction et de traduction réservés.
5
Fr
(Seule une voie est indiquée)(Seule une voie est indiquée)
Amplificateur (arrière)
Amplificateur (arrière)
(Hautes fréquences)
(Basses fréquences)
SPEAKERS OUTPUT
SPEAKERS OUTPUT
Enceinte
HF
HF
LF
LF
Enceinte (arrière) : Panneau d’entrée
02_S-81_Fr.fm 5 ページ 2008年7月23日 水曜日 午前9時45分
Remarque

03_S-81_Ge.fm 2 ページ 2008年7月23日 水曜日 午前9時47分
Wir danken Ihnen dafür, dass Sie sich für dieses Produkt von Pioneer entschieden haben.
Bitte lesen Sie diese Bedienungsanleitung vor der Inbetriebnahme aufmerksam durch, damit Sie die optimale Leistung von diesem Produkt
erzielen können. Bitte bewahren Sie diese Anleitung anschließend für spätere Bezugnahme griffbereit auf.
• Stellen Sie keine großen oder schweren Gegenstände auf den
Lautsprecher.
Vor der Inbetriebnahme
• Bringen Sie keine magnetischen Gegenstände, z.B.
• Die Nennimpedanz dieses Lautsprechersystems beträgt 6 Ω.
aufmagnetisierte Schraubendreher oder Eisenteile, in die
Schließen Sie dieses Lautsprechersystem ausschließlich an
Nähe des Hochtöners oder Mitteltöners. Da diese
einen Verstärker mit einer Lastimpedanz von 6 Ω bis 16 Ω an
Lautsprecher starke Magneten enthalten, könnten derartige
(die Lautsprecherklemmen des Verstärkers müssen mit „6 Ω
Gegenstände angezogen werden und Verletzungen
to 16 Ω“ gekennzeichnet sein).
verursachen oder die Lautsprechermembran beschädigen.
Um eine Beschädigung des Lautsprechersystems durch ein
zu starkes Eingangssignal zu vermeiden, sind die folgenden
Reinigen des Lautsprechergehäuses
Vorsichtshinweise sorgfältig zu beachten:
Unter normalen Bedingungen lassen sich Staub, Fingerabdrücke
• Die zulässige Belastbarkeit (Eingangspegel) dieses
und leichte Verschmutzungen durch Abreiben des
Lautsprechersystems darf auf keinen Fall überschritten
Lautsprechergehäuses mit einem trockenen Tuch entfernen. Falls
werden.
hartnäckige Schmutzflecken an den Außenflächen vorhanden
• Wenn ein Grafik-Equalizer verwendet wird, um den hohen
sind, tauchen Sie einen sauberen Lappen in eine Lösung aus 5–6
Frequenzbereich anzuheben, darf die Lautstärke am
Teilen eines neutralen Haushaltsreinigers und 1 Teil Wasser,
Verstärker nicht auf einen übermäßig hohen Pegel
wringen Sie ihn gründlich aus, und wischen Sie die
eingestellt werden.
Schmutzflecken dann ab. Benutzen Sie dazu keine
Möbelpolituren oder -reinigungsmittel.
• Versuchen Sie auf keinen Fall, einen sehr hohen
Lautstärkepegel von einem Verstärker mit niedriger
Verwenden Sie auf keinen Fall Farbverdünner, Leichtbenzin,
Ausgangsleistung zu erzielen (dies führt zu einer Erhöhung
Insektizide oder andere Chemikalien zur Reinigung des Gehäuses
des Klirrfaktors des Verstärkers und kann eine
oder in der Nähe dieses Lautsprechers, da derartige Mittel das
Beschädigung des Lautsprechers verursachen).
Oberflächenfinish anlösen.
Vorsichtshinweise zur Aufstellung
Reinigen des Hochglanzfinish des
• Bei der Aufstellung ist sorgfältig für einen festen Stand des
Lautsprechersystems
Lautsprechers zu sorgen; Orte, an denen der Lautsprecher bei
Nur Modell S-81-K
Auftreten eines Erdbebens oder einer anderen
• Durch den Gebrauch eines staubigen oder harten Tuchs oder
Naturkatastrophe umkippen und Verletzungen verursachen
starke Druckausübung beim Abreiben kann das
könnte, sind unbedingt zu vermeiden.
Oberflächenfinish zerkratzt werden.
• Montieren Sie diesen Lautsprecher nicht an einer Wand oder
• Wenn ein nasses Tuch zur Reinigung der Außenflächen
der Decke. Anderenfalls besteht die Gefahr, dass er
verwendet wird, können Wassertröpfchen in das Innere des
herunterfällt und Verletzungen verursacht.
Lautsprechers eindringen und eine Funktionsstörung
• Dieser Lautsprecher darf nicht oberhalb des Kopfniveaus an
verursachen.
der Decke oder an einer Wand befestigt werden. Bei
• Reiben Sie nach dem Reinigen des Oberflächenfinish mit
unsachgemäßer Befestigung besteht die Gefahr, dass die
einem trockenen, weichen Tuch nach; verwenden Sie dazu
Frontverkleidung herunterfällt und Verletzungen oder eine
das mitgelieferte Reinigungstuch.
Beschädigung verursacht.
• Schalten Sie die AV-Anlage aus, und ziehen Sie alle
Netzstecker ab, bevor Sie die Anschlüsse unter Bezugnahme
auf die Bedienungsanleitungen der einzelnen Komponenten
Mitgeliefertes Zubehör
herstellen. Achten Sie unbedingt darauf, die richtigen
Anschlusskabel zu verwenden.
• Die Frontverkleidung ist mit Magneten am
Lautsprechergehäuse gesichert. Wenn in horizontaler
Untersetzer für Stabilisatoren x 3
Richtung Kraft auf die Frontverkleidung ausgeübt wird, kann
sie herunterfallen. Entfernen Sie die Frontverkleidung, bevor
Sie den Lautsprecher reinigen.
Vorsichtshinweise zum Betrieb
• Stellen Sie den Lautsprecher auf einer stabilen Unterlage auf.
Anderenfalls besteht die Gefahr, dass der Lautsprecher
Metallarretierung x 1
umkippt und Verletzungen oder eine Beschädigung
verursacht.
• Verwenden Sie den Lautsprecher auf keinen Fall zur
Wiedergabe von verzerrtem Klang über längere Zeiträume
hinweg. Anderenfalls besteht die Gefahr eines
Brandausbruchs.
Schraube (für Metallarretierung) x 1
• Bitte sorgen Sie dafür, dass sich Personen nicht auf den
Lautsprecher setzen oder sich darauf stellen, und dass Kinder
Frontverkleidung x 1
nicht auf dem Lautsprecher spielen.
Reinigungstuch (nur Modell S-81-K) x 1
Bedienungsanleitung
2
Ge

Installationsverfahren
• Pioneer lehnt jegliche Haftung für Schäden ab, die durch
Fehler bei Zusammenbau oder Aufstellung, eine
Wahl des Aufstellungsortes
unzureichende Verstärkung, zweckentfremdeten Gebrauch
• Die akustischen Verhältnisse im Hörraum üben einen starken
oder höhere Gewalt entstehen.
Einfluss auf die Art der Schallabstrahlung von Lautsprechern
Nur Modell S-81-QL
aus.
• Beim Gehäuse wird ein Messerfurnier aus Naturholz
• Um die optimale Klangqualität zu erhalten, sollten die
Deutsch
verwendet. Stellen Sie den Lautsprecher weder an einem Ort,
Lautsprecher möglichst auf einem soliden Fußboden
an dem er direkter Sonneneinstrahlung ausgesetzt ist, noch in
aufgestellt und wie in der nachstehenden Abbildung gezeigt
der Nähe von Heizkörpern oder einer Klimaanlage auf.
platziert werden. Der Basspegel kann justiert werden, indem
Anderenfalls besteht die Gefahr, dass sich das
der Abstand zwischen Lautsprecher und Wand verringert oder
Lautsprechergehäuse verzieht oder verfärbt und der
erhöht wird. Stellen Sie die Lautsprecher jeweils im gleichen
Lautsprecher beschädigt wird.
Abstand von der seitlichen Wand auf, um einen gut
ausgewogenen Klang zu erzielen.
Montage der Stabilisatoren
Dieses Lautsprechersystem ist auf drei Punkten gelagert (auf den
beiden vorderen Füßen und dem rückwärtigen Stabilisator, der
zwischen den beiden hinteren Füßen angeordnet ist).
1 Platzieren Sie die Untersetzer für die Stabilisatoren an
• Um einen einwandfreien Stereoeffekt zu erhalten, stellen Sie
den Positionen, an denen sich die Spitzen der drei
Stabilisatoren befinden werden, wenn der Lautsprecher
den linken und rechten Lautsprecher im gleichen Abstand von
aufgestellt wird.
der Hörposition auf. Verwenden Sie Lautsprecherkabel der
gleichen Länge für jeden Lautsprecher.
• Platzieren Sie den linken und rechten Frontlautsprecher
möglichst auf der Ebene des Fernsehgerätes.
• Um den optimalen Surround Sound zu erhalten, sollte sich
das Fernsehgerät zwischen dem linken und dem rechten
Lautsprecher befinden, wobei diese in einem Winkel von 50
Grad bis 60 Grad auf die Hörposition weisen.
2 Stellen Sie den Lautsprecher auf die Untersetzer der
• Wenn der Hörraum einen starken Nachhall aufweist,
Stabilisatoren, und vergewissern Sie sich, dass er nicht
empfiehlt es sich, die Wände mit schwerem Stoff zu behängen
wackelt.
und/oder einen Teppich auf den Boden zu legen, um den
Schall zu dämpfen. Die besten Ergebnisse werden erzielt,
wenn die Wände vollständig abgedeckt werden.
3
Ge
Mischen Sie dieses Produkt, wenn Sie es entsorgen wollen, nicht mit gewöhnlichen Haushaltsabfällen. Es gibt ein getrenntes
Sammelsystem für gebrauchte elektronische Produkte, über das die richtige Behandlung, Rückgewinnung und Wiederverwertung
gemäß der bestehenden Gesetzgebung gewährleistet wird.
Privathaushalte in den Mitgliedsstaaten der EU, in der Schweiz und in Norwegen können ihre gebrauchten elektronischen Produkte an
vorgesehenen Sammeleinrichtungen kostenfrei zurückgeben oder aber an einen Händler zurückgeben (wenn sie ein ähnliches neues Produkt
kaufen).
Bitte wenden Sie sich in den Ländern, die oben nicht aufgeführt sind, hinsichtlich der korrekten Verfahrensweise der Entsorgung an die örtliche
Kommunalverwaltung.
Auf diese Weise stellen Sie sicher, dass das zu entsorgende Produkt der notwendigen Behandlung, Rückgewinnung und Wiederverwertung
unterzogen wird, und so mögliche negative Einflüsse auf die Umwelt und die menschliche Gesundheit vermieden werden.
K058_A_Ge
50 bis 60
50 cm
20 cm
03_S-81_Ge.fm 3 ページ 2008年7月23日 水曜日 午前9時47分
Kippschutzfüße
hinten
Stabilisator
Gehäusebodenplatte
vorn

03_S-81_Ge.fm 4 ページ 2008年7月23日 水曜日 午前9時47分
Vorsichtshinweise
Vorsichtshinweise
• Platzieren Sie die Untersetzer wie in unten gezeigt so, dass die
• Die Frontverkleidung wird durch Magneten in Arbeitsstellung
Seite mit der Vertiefung nach oben weist und den Spitze des
gesichert. Halten Sie die Frontverkleidungen von Geräten fern,
Stabilisators aufnimmt.
die für magnetische Einstreuungen empfindlich sind
(Kathodenstrahlröhren-Fernsehgeräte usw.).
Wenn die Untersetzer nicht verwendet werden, können
die Spitzen der Stabilisatoren den Fußboden bzw. die
Unterlage am Aufstellungsort des Lautsprechers
zerkratzen. Der Gebrauch der Untersetzer in Verbindung
mit den Stabilisatoren wird daher empfohlen.
Anbringen der Kippschutz-Befestigung
• Befestigen Sie die Metallarretierung mit der mitgelieferten
Schraube an der Rückwand des Lautsprechers.
Anschlüsse
Lautsprecherkabel für den Anschluss an einen Verstärker
gehören nicht zum Lieferumfang dieses Lautsprechers.
• Führen Sie eine im Fachhandel erhältliche verstärkte Schnur
Anschließen der Kabel
durch die Metallarretierung, um den Lautsprecher an der
1 Schalten Sie den Verstärker aus.
Wand zu sichern. Vergewissern Sie sich, dass das
Tragvermögen der Wand für das Gewicht des Lautsprechers
2 Schließen Sie die Lautsprecherkabel an die (unteren)
ausreicht. Überzeugen Sie sich nach der Befestigung der
Eingangsklemmen an der Rückwand jedes Lautsprechers an.
Schnur, dass der Lautsprecher nicht umkippen kann.
Die roten Klemmen sind positiv (+), die schwarzen Klemmen
• Durch ein Umkippen kann der Lautsprecher beschädigt
negativ (–) gepolt.
werden.
• Befestigen Sie die Metallarretierung nicht direkt an der Wand.
rote Klemme (+)
Sie ist ausschließlich zum gemeinsamen Gebrauch mit einer
verstärkten Schnur vorgesehen, um ein Umkippen des
schwarze Klemme (–)
Kurzschlussbrücken
Lautsprechers zu verhindern.
3 Schließen Sie das andere Ende jedes Lautsprecherkabels
an die Lautsprecherausgangsklemmen des Verstärkers an
Metallarretierung
(Einzelheiten hierzu finden Sie in der Bedienungsanleitung
Ihres Verstärkers).
verstärkte Schnur
• Drehen Sie die Kappenknöpfe der unteren Eingangsklemmen
Rückseite des Lautsprechers
nach links (im Gegenuhrzeigersinn), führen Sie die blanken
Drähte jedes Lautsprecherkabels in die Löcher in den
• Führen Sie eine verstärkte Schnur wie im obigen Diagramm
Polbolzen ein, und ziehen Sie die Knöpfe dann wieder an, um
gezeigt durch die Metallarretierung, um den Lautsprecher an
sowohl die Kurzschlussbrücken als auch die Drähte in den
der Wand zu sichern.
Klemmen zu sichern.
• Bananenstecker können ebenfalls für den Anschluss an den
Anbringen/Entfernen der Frontverkleidung
Lautsprecherklemmen verwendet werden. In einem solchen
Die Frontverkleidung dieses Lautsprechersystems kann wie folgt
Fall müssen die Kappenknöpfe vorher von den Polbolzen
angebracht und abgenommen werden:
entfernt werden.
• Ziehen Sie nach dem Herstellen der Anschlüsse sacht an
1 Zum Anbringen richten Sie die Frontverkleidung auf das
jedem Lautsprecherkabel, um sicherzustellen, dass die
Lautsprechergehäuse aus, und drücken Sie dann sacht
Drähte fest in den Klemmen sitzen. Lose Anschlüsse können
darauf.
Rauschen und Tonaussetzer verursachen.
2 Zum Abnehmen der Frontverkleidung ergreifen Sie etwa
• Falls die blanken Leiter von zwei Lautsprecherkabeln so weit
in der Mitte jeder Seite mit beiden Händen, und ziehen Sie
aus den Klemmen hervorstehen, dass sie sich gegenseitig
sie sacht nach vorn, um die Frontverkleidung vom
berühren, kann dies eine Überlastung des Verstärkers
Lautsprechergehäuse zu trennen.
verursachen. In einem solchen Fall stellt der Verstärker
möglicherweise den Betrieb ein, und es kann sogar zu einer
Beschädigung des Verstärkers kommen.
4
Ge

• Falls einer der beiden Lautsprecher eines Lautsprecherpaars
versehentlich mit vertauschter Polarität (+, –)an einen
Technische Daten
Verstärker angeschlossen wird, kann der normale Stereoeffekt
nicht erzielt werden.
Gehäuse. . . . . . . . . . . . . . . . . . . . . . . . . . . . Freistehender Bassreflextyp
Aufbau . . . . . . . . . . . . . . . . . . . . . . . . . . . . . . . . . . . . . . . 4-Wege-System
ACHTUNG
Tieftöner. . . . . . . . . . . . . . . . . . . . . . . . . . . . . . . . . . . . . 13-cm-Konus x 2
Mitteltöner/Hochtöner. . . . . .Koaxialeinheit: 13-cm-Konus/2,5-cm-Kalotte
An den Lautsprecherklemmen dieses Gerätes liegt eine
Superhochtöner . . . . . . . . . . . . . . . . . . . . . . . . . . . 8 mm x 46 mm Riffel
potentiell GEFÄHRLICHE Spannung an. Zur
Impedanz . . . . . . . . . . . . . . . . . . . . . . . . . . . . . . . . . . . . . . . . . . . . . 6
Ω
Vermeidung von Stromschlaggefahr ist unbedingt
Frequenzgang . . . . . . . . . . . . . . . . . . . . . . . . . . . . . . . .30 Hz bis 100 kHz
darauf zu achten, den Netzstecker beim Anschließen
Empfindlichkeit. . . . . . . . . . . . . . . . . . . . . . . . . . . . . . . . 85,5 dB (2,83 V)
und Abtrennen der Lautsprecherkabel von der
Maximale Belastbarkeit . . . . . . . . . . . . . . . . . . . . . . . . . . . . . . . . . 130 W
Netzsteckdose zu trennen, bevor irgendwelche nicht
Übernahmefrequenz. . . . . . . . . . . . . . . . . . . . . . . . . . . . . . 370 Hz/3 kHz
isolierten Teile berührt werden.
D3-4-2-2-3_A_Ge
Außenabmessungen . . . . .267 (B) mm x 1190 (H) mm x 280,5 (T) mm
Masse. . . . . . . . . . . . . . . . . . . . . . . . . . . . . . . . . . . . . . . . . . . . . . . 25,8 kg
Doppelverdrahtungs-Anschluss
Mitgeliefertes Zubehör
Zur Herstellung eines Doppelverdrahtungs-Anschlusses werden
Untersetzer für Stabilisatoren . . . . . . . . . . . . . . . . . . . . . . . . . . . . . . . . 3
zwei Lautsprecherkabel benötigt, eins für den hohen
Metallarretierung . . . . . . . . . . . . . . . . . . . . . . . . . . . . . . . . . . . . . . . . . . 1
Frequenzbereich, das andere für den tiefen Frequenzbereich.
Schraube (für Metallarretierung) . . . . . . . . . . . . . . . . . . . . . . . . . . . . . 1
Durch den Einsatz von separaten Kabeln für die Höhen und die
Frontverkleidung . . . . . . . . . . . . . . . . . . . . . . . . . . . . . . . . . . . . . . . . . . 1
Tiefen wird die Klangqualität verbessert.
Reinigungstuch (nur Modell S-81-K) . . . . . . . . . . . . . . . . . . . . . . . . . . 1
Bedienungsanleitung
1 Schalten Sie den Verstärker aus.
2E
ntfernen Sie die zwei Kurzschlussbrücken.
Deutsch
• In diesem Zustand sind Tieftöner und Mitteltöner/Hochtöner
vollständig voneinander getrennt. Bewahren Sie die
Änderungen der technischen Daten und äußeren Aufmachung
Kurzschlussbrücken für zukünftige Verwendung an einem
bleiben im Sinne der ständigen Produktverbesserung jederzeit
sicheren Ort auf.
vorbehalten.
• Das untere Klemmenpaar ist für die Tiefen, das obere
Klemmenpaar für die Mitten und Höhen vorgesehen.
• Ein polaritätsvertauschter Anschluss der Kabel kann eine
ist eine Marke, mit der Geräte gekennzeichnet sind, die
starke Beeinträchtigung der Klangqualität verursacht.
mit Pioneers Phase Control-Technologie ausgestattet sind. Diese
Vergewissern Sie sich daher, dass die Kabel richtig
Technologie gewährleistet eine hochwertige Klangreproduktion
angeschlossen sind.
des betreffenden Gerätes durch eine Verbesserung der
Gesamtphasenanpassung.
(nur ein Kanal gezeigt)
Verstärker
(Rückseite)
Lautsprecher
SPEAKERS OUTPUT
Veröffentlicht von Pioneer Corporation.
HF
Urheberrechtlich geschützt © 2008 Pioneer Corporation.
HF
Alle Rechte vorbehalten.
LF
LF
Lautsprecher (Rückwand): Klemmenfeld
Zweiverstärkeranschluss
Ein Zweiverstärkeranschluss der Lautsprecher liefert einen noch
dynamischeren Klang. Die Kurzschlussbrücken werden genau
wie beim Doppelverdrahtungs-Anschluss entfernt, doch wird das
Klemmenpaar für die Tiefen mit einem ausschließlich zum Treiber
der Tiefen vorgesehenen Verstärker verbunden, während das
Klemmenpaar für die Höhen mit einem zweiten Verstärker
verbunden wird, der ausschließlich die Mitten und Höhen treibt.
5
Ge
(nur ein Kanal gezeigt) (nur ein Kanal gezeigt)
Verstärker (Rückwand)
Verstärker (Rückwand)
(hohe Frequenzen)
(tiefe Frequenzen)
SPEAKERS OUTPUT
SPEAKERS OUTPUT
Lautsprecher
HF
HF
LF
LF
Lautsprecher (Rückwand): Klemmenfeld
03_S-81_Ge.fm 5 ページ 2008年7月23日 水曜日 午前9時47分
Hinweis

04_S-81_It.fm 2 ページ 2008年7月23日 水曜日 午前9時48分
Vi ringraziamo per avere acquistato questo prodotto Pioneer.
Prima di usare il prodotto, leggere questo manuale d’istruzioni in modo da saperlo utilizzare correttamente. Finito di leggerle, conservarle
in un luogo sicuro per poterle riutilizzare in futuro.
Pulizia del cabinet dei diffusori
Normalmente per mantenere pulito il diffusore dovrebbe bastare
Prima di cominciare
un panno morbido ed asciutto. Se necessario, passarlo con un
• L’impedenza nominale di questo diffusore è 6 Ω. Collegare il
panno inumidito con un detergente neutro diluito cinque o sei
diffusore ad un amplificatore con un’impedenza di carico che
volte con acqua, quindi strizzarlo bene. Non usare cere o pulenti
vada da 6 Ω a 16 Ω (un modello con da “6 Ω to 16 Ω” stampati
per mobilia.
sui terminali di uscita dei diffusori).
Non usare mai diluenti, benzina, spray insetticidi o altre sostanze
Per evitare danni al diffusore dovuti al sovraccarico di segnale
chimiche su o vicino a quest’unità, dato che essi ne corrodono la
in ingresso, osservare le seguenti norme:
superficie.
• Non alimentare il diffusore con potenza oltre il massimo
concesso.
Pulizia delle finiture lucide del diffusore
• Se si usa un equalizzatore grafico per enfatizzare forti suoni
Solo S-81-K
di alta frequenza, non usare volumi eccessivi
• Se si usa un panno polveroso o duro per pulire lo schermo, le
dell’amplificatore.
finiture del prodotto possono riportare graffi.
• Non tentare di forzare un amplificatore di bassa potenza a
• Se si pulisce la superficie del diffusore con un panno
produrre alti volumi. La distorsione armonica
inumidito in esso può entrare dell’umidità, danneggiandolo.
dell’amplificatore aumenterebbe e potreste danneggiare il
diffusore.
• Per pulire le finiture del diffusore, passarlo con cautela con un
panno asciutto; usare possibilmente quello in dotazione.
Attenzione: installazione
• Nell’installare quest’unità, controllare che sia ben ferma ed
evitare le aree dove potrebbe cadere e causare ferimenti nel
caso di disastri naturali, ad esempio un terremoto.
Contenuto della confezione
• Non installare questi diffusori su di un muro o parete. Essi
possono cadere e causare ferite.
• Non installare i diffusori in alto su di un soffitto o su di una
parete. Se male installati, la griglia potrebbe cadere e causare
Basi delle punte x 3
danni o ferite.
• Prima di fare collegamenti, spegnere i propri componenti AV,
scollegarli e consultarne i manuali. Controllare di avere usato
i cavi di collegamento corretti.
• La griglia è tenuta ferma da magneti. La griglia potrebbe
cadere se viene fatta forza su di essa in senso orizzontale. Per
Gancio in metallo x 1
pulire il diffusore, togliere prima la griglia.
Attenzione: in uso
• Non installare il diffusore su superfici poco stabili. Esso in
caso di caduta può causare incidenti e danneggiarsi.
• Non fare emettere al diffusore suono distorto per lunghi
Vite (per il gancio in metallo) x 1
periodi. Questo può provocare incendi.
• Non sedere o appoggiarsi al diffusore, e non lasciare che i
bambini ci giochino.
Griglia x 1
• Non posare oggetti grandi o pesanti sul diffusore.
Panno per la pulizia (solo S-81-K) x 1
• Non posare oggetti che producono campi magnetici, ad
Istruzioni per l’uso
esempio cacciaviti o pezzi di metallo, vicino al tweeter o al
midrange. Dato che i diffusori incorporano forti magneti,
questi oggetti possono venirne attratti, causando ferite o
danneggiando il diaframma.
Se si vuole eliminare questo prodotto, non gettarlo insieme ai rifiuti domestici. Esiste un sistema di raccolta differenziata in conformità
alle leggi che richiedono appositi trattamenti, recupero e riciclo.
I privati cittadini dei paesi membri dell’UE, di Svizzera e Norvegia, possono restituire senza alcun costo i loro prodotti elettronici usati ad appositi
servizi di raccolta o a un rivenditore (se si desidera acquistarne uno simile).
Per i paesi non citati qui sopra, si prega di prendere contatto con le autorità locali per il corretto metodo di smaltimento.
In questo modo, si è sicuri che il proprio prodotto eliminato subirà il trattamento, il recupero e il riciclo necessari per prevenire gli effetti
K058_A_It
potenzialmente negativi sull’ambiente e sulla vita dell’uomo.
2
It

Uso delle punte
Questo diffusore è sostenuto in tre punti (le due zampe anteriori e
Norme di installazione
la punta posteriore che si trova fra le due zampe posteriori).
Scelta della posizione di installazione dei diffusori
• I suoni riprodotti dal diffusore vengono facilmente influenzati
dalle condizioni dell’ambiente di ascolto.
• Per ottenere il suono migliore possibile, scegliere un
pavimento solido sul quale appoggiare i diffusori e posizionarli
nel modo visto di seguito. Il livello dei bassi può venire regolato
avvicinando o allontanando i diffusori dalle pareti. Regolare i
diffusori in modo che siano equidistanti dalle rispettive pareti
in modo che il suono sia bilanciato.
1 Mettere le basi delle punte nelle posizioni dove le tre
punte toccano quando il diffusore viene messo in posizione.
2 Mettere il diffusore sulle basi delle punte e controllare
Da 50 a 60
che non oscilli.
• Usare le basi dei diffusori sempre nel modo mostrato, con la
• I diffusori sinistro e destro per garantire una buona
superficie indentata rivolta in alto in modo da ricevere la cima
stereofonia devono essere equidistanti dalla posizione di
della punta.
Italiano
ascolto. Usare per ciascun diffusore cavi della stessa
lunghezza.
• Se possibile, porre i diffusori anteriori sinistro e destro sullo
stesso piano del televisore.
• Per ottenere un suono surround ottimale, il televisore si deve
trovare fra i diffusori sinistro e destro e questi devono avere un
angolo di 50 o 60 gradi rispetto alla posizione di ascolto.
• Se la stanza ha molto riverbero, si raccomandano tendaggi
pesanti sulle pareti e/o tappeti sul pavimento per smorzarlo.
Per ottenere risultati ottimali, coprire del tutto le pareti.
• Pioneer non si assume alcuna responsabilità per danni
risultanti da una scorretta messa in posa, un insufficiente
Installazione dell’aggancio di sicurezza
rinforzo, un uso scorretto del prodotto, catastrofi naturali, ecc.
• Usando la vite fornita, stringere bene l’aggancio di sicurezza
Solo S-81-QL
sul retro del diffusore.
• Il cabinet è composto di impiallacciato di vero legno. Non
mettere il diffusore dove sarà esposto a luce solare diretta ed
evitare di installarlo vicino a caloriferi e climatizzatori. Esso
potrebbe altrimenti deformarsi e scolorirsi, danneggiandosi
anche gravemente.
• Far passare una cordicella robusta da acquistarsi
separatamente attraverso il gancio in metallo e fermare
solidamente il diffusore al muro. Controllare che il muro cui il
diffusore è fissato sia sufficientemente robusto per sostenere
il peso del diffusore. Dopo aver fissato il diffusore, controllare
che non possa cadere.
• Il caso di caduta, il diffusore può danneggiarsi.
3
It
50 cm
20 cm
Importante
04_S-81_It.fm 3 ページ 2008年7月23日 水曜日 午前9時48分
Zampe anti ribaltamento
Retro
Punte
Base del cabinet
Davanti
Attenzione
Se non si usano le basi delle punte nell’installare i
diffusori, queste possono causare danni al pavimento.
Raccomandiamo caldamente l’uso delle basi delle
punte a chi intende usare le punte.

04_S-81_It.fm 4 ページ 2008年7月23日 水曜日 午前9時48分
• Non collegare il pezzo di metallo direttamente al muro. Deve
venire usato solo con una corda robusta in modo che il
Collegamenti
diffusore non abbia a cadere.
Questo diffusore non include cavi per diffusori usati per il
collegamento con un amplificatore.
Collegamento dei cavi
1 Spegnere l’amplificatore.
Gancio in metallo
2 Collegare i cavi dei diffusori ai terminali di ingresso
(inferiori) sul retro del diffusore. Il terminale dei diffusori
Cordicella robusta
positivo (+) è rosso, quello negativo (–) nero.
Retro del diffusore
• Far passare le corde attraverso il pezzo in metallo e fissare il
Terminale rosso (+)
diffusore al muro nel modo indicato qui sopra.
Terminale nero (−)
Connettori con barra
di messa in corto
Applicazione e rimozione della griglia
Questo diffusore possiede una griglia di installabile e rimovibile
nel modo seguente:
1 Per applicare la griglia, allinearla al diffusore e premere
piano.
3 Collegare le estremità dei cavi ai terminali di uscita
dei
diffusori
dell’amplificatore. Per maggiori dettagli, consultare
2 Per rimuovere la griglia, tenerla con ambedue le mani al
il manuale del proprio amplificatore.
centro e tirare piano verso di sé separandola dal diffusore.
• Prendere le manopole dei terminali di ingresso inferiori,
girarle verso sinistra (in senso antiorario) ed inserire i cavi dei
Attenzione
diffusori nei fori dei terminali, quindi stringere le manopole
per fermare sia la barra breve che i cavi.
• La griglia è tenuta in posizione da magneti. Non posare la
• Potete anche collegare i terminali dei diffusori con uno
griglia vicino a dispositivi sensibili ai campi magnetici
spinotto a banana. Se si usa uno spinotto a banana, togliere
(televisori a raggi catodici, ecc.).
sempre il cappuccio in cima al terminale di ingresso.
• Dopo aver rimesso a posto i tappi, tirare leggermente i cavi per
controllare che siano ben collegati ai rispettivi terminali.
Collegamenti scadenti possono causare rumore ed
interruzioni del suono.
• Se i conduttori dei cavi fuoriescono dai terminali ed entrano in
contatto l’uno con l’altro, il carico posto sull’amplificatore è
eccessivo. Questo può impedirne il funzionamento o
addirittura danneggiarlo.
• Se si usano dei diffusori collegati ad un amplificatore, non si
otterrà un normale effetto stereo se la polarità (+, –) di uno dei
diffusori (destro o sinistro) viene invertita.
AVVERTENZA
I terminali degli altoparlanti sono sotto tensione, alla
stessa PERICOLOSA tensione della corrente di rete.
Per prevenire rischi di folgorazioni nel corso delle
operazioni di collegamento o di distacco dei cavi degli
altoparlanti, staccare il cavo di alimentazione principale
prima di toccare qualsiasi parte non isolata.
D3-4-2-2-3_A_It
4
It

Collegamenti a doppio filo
I collegamenti a doppio filo richiedono due cavi per diffusore, uno
Dati tecnici
per le alte ed uno per le basse frequenze. L’uso di cavi separati per
Cassa . . . . . . . . . . . . . . . . . . . . . . . . . . . . Tipo bass-reflex da pavimento
le alte e basse frequenze migliora l’audio.
Configurazione . . . . . . . . . . . . . . . . . . . . . . . . . . . . . . . . . . . . . . . . a 4 vie
1 Spegnere l’amplificatore.
Woofer . . . . . . . . . . . . . . . . . . . . . . . . . . . . . . . . . . . . . .coni da 13 cm x 2
Medi/tweeter. . . . . . . . . . Unità coassiale: cono da 13 cm/cupola da 2,5 cm
2
Rimuovere le due barre brevi.
Super tweeter . . . . . . . . . . . . . . . . . . . . . . . . . . Riffel da 8 mm x 46 mm
• In questo modo, gli altoparlanti per le basse frequenze e quelli
Impedenza nominale . . . . . . . . . . . . . . . . . . . . . . . . . . . . . . . . . . . . 6
Ω
per le alte sono del tutto indipendenti. Conservare le barre
Risposta in frequenza. . . . . . . . . . . . . . . . . . . . . . . . Da 30 Hz a 100 kHz
brevi per poterle riutilizzare.
Sensibilità . . . . . . . . . . . . . . . . . . . . . . . . . . . . . . . . . . . . 85,5 dB (2,83 V)
• I terminali più in basso sono per i bassi, quelli più in alto per i
Potenza in ingresso massima . . . . . . . . . . . . . . . . . . . . . . . . . . . . 130 W
medi e gli acuti.
Frequenza di incrocio. . . . . . . . . . . . . . . . . . . . . . . . . . . . . 370 Hz/3 kHz
Dimensioni esterne . . . . . . 267 (L) mm x 1190 (A) mm x 280,5 (P) mm
• Il collegamento dei cavi con la polarità invertita può far
Peso . . . . . . . . . . . . . . . . . . . . . . . . . . . . . . . . . . . . . . . . . . . . . . . . 25,8 kg
degradare fortemente l’audio. Controllare che i cavi siano
collegati correttamente.
Accessori in dotazione
Basi delle punte . . . . . . . . . . . . . . . . . . . . . . . . . . . . . . . . . . . . . . . . . . . 3
Gancio in metallo . . . . . . . . . . . . . . . . . . . . . . . . . . . . . . . . . . . . . . . . . . 1
Vite (per il gancio in metallo). . . . . . . . . . . . . . . . . . . . . . . . . . . . . . . . . 1
Griglia . . . . . . . . . . . . . . . . . . . . . . . . . . . . . . . . . . . . . . . . . . . . . . . . . . . 1
Panno per la pulizia (solo S-81-K) . . . . . . . . . . . . . . . . . . . . . . . . . . . . 1
Istruzioni per l’uso
I dati tecnici ed il design sono soggetti a modifiche senza
preavviso a causa di migliorie.
Collegamenti a doppio amplificatore
I collegamenti a doppio amplificatore sono un modo ancora
migliore per collegare i diffusori. Come nel caso dei collegamenti
è un marchio di fabbrica messo sul prodotto che utilizza
a doppio filo, le barre brevi dei terminali di ingresso vengono tolte,
la tecnologia Phase Control di Pioneer. Questa tecnologia
ma i terminali delle basse frequenze vengono collegati ad un
permette una riproduzione audio di alta qualità attraverso i vari
amplificatore separato esclusivamente per le basse frequenze,
Italiano
componenti regolandone la fase.
mentre i terminali delle alte frequenze vengono collegati ad un
amplificatore esclusivamente per le alte frequenze.
Pubblicato da Pioneer Corporation.
Copyright © 2008 Pioneer Corporation.
Tutti i diritti riservati.
5
It
(Viene mostrato un solo canale)
Amplificatore
(retro)
Diffusore
SPEAKERS OUTPUT
HF
HF
LF
LF
Diffusore (retro): Pannello d’ingresso
(Viene mostrato un solo canale)(Viene mostrato un solo canale)
Amplificatore (retro)
Amplificatore (retro)
(alte frequenze)
(basse frequenze)
SPEAKERS OUTPUT
SPEAKERS OUTPUT
Diffusore
HF
HF
LF
LF
Diffusore (retro): Pannello d’ingresso
04_S-81_It.fm 5 ページ 2008年7月23日 水曜日 午前9時48分
Nota

05_S-81_Du.fm 2 ページ 2008年7月23日 水曜日 午前9時49分
Hartelijk dank voor de aanschaf van dit Pioneer product.
Lees de handleiding aandachtig door zodat u volledig op de hoogte bent van de bediening en werking. Bewaar de handleiding op een veilige
plaats voor eventuele naslag in de toekomst.
Schoonmaken van de luidsprekerbehuizing
Bij normaal gebruik is het voldoende als u de luidspreker af en toe
Voordat u begint
met een droge doek afveegt. Voor het verwijderen van hardnekkig
• De nominale impedantie van deze luidsprekers is 6 Ω. Sluit de
vuil kunt u de doek bevochtigen met een neutraal
luidsprekers op een versterker aan met een
reinigingsmiddel dat vijf- of zesmaal verdund is met water. Wring
belastingsimpedantie van 6 Ω tot 16 Ω (een model met “6 Ω to
de doek goed uit voordat u begint. Gebruik geen meubelwas of
16 Ω” aangegeven op de luidspreker-uitgangsaansluitingen).
sterke reinigingsmiddelen.
Om beschadiging van de luidsprekers als gevolg van
Gebruik nooit witte spiritus, benzine, insecticidenspray of andere
overbelasting te voorkomen, dient u de volgende punten in
chemische middelen op of in de buurt van de luidsprekers, want
acht te nemen:
deze kunnen de afwerking aantasten.
• De stroomtoevoer naar de luidsprekers mag het maximaal
toelaatbare ingangsvermogen niet overschrijden.
Schoonmaken van de glanzende afwerking van de
• Bij gebruik van een grafische equalizer voor het versterken
luidspreker
van de hoge tonen, mag het volume van de versterker niet te
Alleen voor de S-81-K
hoog worden ingesteld.
• Als u een vuile of harde doek gebruikt of als u erg hard over de
• Probeer niet om een versterker met laag vermogen geluid
afwerking wrijft, kunnen er krassen op de afwerking komen.
met overmatig hoog volume te laten weergeven (de
• Als u de buitenkant van de luidspreker met een natte doek
harmonische vervorming van de versterker zal toenemen,
schoonmaakt, kunnen er waterdruppeltjes in het inwendige
wat kan resulteren in beschadiging van de luidspreker).
terechtkomen, wat kan resulteren in een defect.
Let op: opstelling
• Wanneer u de afwerking van de luidspreker wilt
• Zet de luidspreker op een stabiele ondergrond en let erop dat
schoonmaken, kunt u deze met een droge, zachte doek
de luidspreker niet kan vallen en letsel veroorzaken bij een
afvegen, zoals de bijgeleverde reinigingsdoek.
onvoorziene situatie of natuurramp (zoals een aardbeving).
• Bevestig de luidsprekers niet aan een muur of het plafond. De
luidsprekers kunnen vallen en letsel veroorzaken.
Inhoud van de doos
• Monteer de luidsprekers niet boven u aan het plafond of aan
een muur. Als de luidspreker verkeerd is bevestigd, kan het
luidsprekerfront vallen met beschadiging of letsel tot gevolg.
• Schakel de AV-apparatuur uit, haal de stekker uit het
Penvoetjes x 3
stopcontact en raadpleeg de handleidingen voordat u begint
met het aansluiten van apparatuur. Zorg dat u de juiste
aansluitkabels gebruikt.
• Het front is met magneten aan de luidspreker bevestigd. Het
front kan vallen als in horizontale richting tegen het front
wordt gedrukt. Verwijder het front voordat u de luidspreker
schoonmaakt.
Metalen beugel x 1
Let op: gebruik
• Zet de luidspreker niet op een onstabiele ondergrond. De
luidspreker kan gevaar opleveren wanneer deze omvalt of de
apparatuur kan beschadigd worden.
• Laat de luidspreker niet gedurende langere tijd vervormd
Schroef (voor metalen beugel) x 1
geluid weergeven. Dit kan resulteren in brand.
• Ga niet op de luidspreker zitten of staan en laat ook niet
kinderen op de luidspreker spelen.
Front x 1
• Zet geen grote of zware voorwerpen op de luidspreker.
Reinigingsdoek (alleen voor de S-81-K) x 1
• Leg geen voorwerpen die door magneten worden
Handleiding
aangetrokken, zoals schroevendraaiers of ijzeren voorwerpen,
in de buurt van de tweeter of midrange. Aangezien er sterke
magneten in de luidsprekers zijn, kunnen de voorwerpen
worden aangetrokken met persoonlijk letsel of beschadiging
van het membraan tot gevolg.
Deponeer dit product niet bij het gewone huishoudelijk afval wanneer u het wilt verwijderen. Er bestaat een speciaal wettelijk
voorgeschreven verzamelsysteem voor de juiste behandeling, het opnieuw bruikbaar maken en de recycling van gebruikte
elektronische producten.
In de lidstaten van de EU, Zwitserland en Noorwegen kunnen particulieren hun gebruikte elektronische producten gratis bij de daarvoor
bestemde verzamelplaatsen of een verkooppunt (indien u aldaar een gelijkwaardig nieuw product koopt) inleveren.
Indien u zich in een ander dan bovengenoemd land bevindt kunt u contact opnemen met de plaatselijke overheid voor informatie over de juiste
verwijdering van het product.
Zodoende zorgt u ervoor dat het verwijderde product op de juiste wijze wordt behandeld, opnieuw bruikbaar wordt gemaakt, t gerecycleerd en het
niet schadelijk is voor de gezondheid en het milieu.
K058_A_Du
2
Du

Gebruik van de pennen
Deze luidspreker rust op drie punten (de twee voorpoten en de
Installatie
achterpen die zich tussen de twee achterpoten bevindt).
Kiezen van een plaats voor de luidsprekers
• De geluiden die via de luidsprekers worden weergegeven,
worden op verscheidene manieren beïnvloed door de
omstandigheden in de luisterruimte.
• Voor een optimale geluidsweergave dient u de luidsprekers op
een stevige ondergrond te zetten en in de hieronder
afgebeelde positie. Het niveau van de lage geluiden kan
aangepast worden door de luidsprekers dichter of verder van
de muur te zetten. Plaats de luidsprekers zo dat deze op gelijke
afstand van de zijmuren staan om een gebalanceerde
weergave te verkrijgen.
1 Leg de penvoetjes op de plaatsen waar de uiteinden van
de drie pennen terechtkomen wanneer de luidspreker wordt
neergezet.
2 Plaats de luidspreker op de penvoetjes en controleer of
de luidspreker niet schommelt.
50 tot 60
• Gebruik de penvoetjes altijd op de afgebeelde wijze, met de
holle kant naar de penpunt gekeerd.
• Plaats de linker en de rechter luidspreker op gelijke afstand
van uw luisterplaats voor een goed stereogeluid. Gebruik
luidsprekerkabels van dezelfde lengte voor de luidsprekers.
• Zet de linker en de rechter voorluidspreker zo veel mogelijk op
dezelfde lijn als de televisie.
• Om een optimale surroundweergave te verkrijgen, moet de
televisie tussen de linker en de rechter luidspreker staan,
terwijl de luidsprekers een hoek van 50 tot 60 graden maken
Nederlands
met de luisterpositie.
• Als er veel nagalm in de kamer is, raden wij u aan dikke kleden
aan de wanden te hangen en/of een vloerkleed op de grond te
leggen om het geluid te absorberen. Voor een optimaal
resultaat moet u de wanden volledig bedekken.
Montage van het omvalpreventie materiaal
• Maak de metalen beugel stevig met de bijgeleverde schroef
• Pioneer kan niet aansprakelijk worden gesteld voor
aan de achterkant van de luidspreker vast.
beschadigingen als gevolg van een foutieve montage of
bevestiging, onvoldoende versteviging, verkeerd gebruik van
het product, natuurrampen enz.
Alleen voor de S-81-QL
• De behuizing is gemaakt van gesneden fineer dat vervaardigd
is van natuurlijk hout. Zet de luidsprekers niet in de zon en
• Laat een stevige draad door de metalen beugel lopen en
houd deze ook uit de buurt van verwarmingselementen en
bevestig de draad aan de muur. Zorg dat de muur waaraan u
airco’s. Dit om kromtrekken en verkleuring van de behuizing
de luidspreker vastmaakt stevig genoeg is om het gewicht van
en andere beschadigingen van de luidsprekers te voorkomen.
de luidspreker te dragen. Controleer na het vastmaken van de
luidspreker of deze niet meer kan omvallen.
• De luidspreker kan beschadiging veroorzaken wanneer deze
omvalt.
3
Du
50 cm
20 cm
Belangrijk
05_S-81_Du.fm 3 ページ 2008年7月23日 水曜日 午前9時49分
Kantelpreventiepoten
Achter
Pennen
Onderkant van luidspreker
Voor
Let op
Als u de penvoetjes niet gebruikt bij de opstelling van
de luidsprekers, kunnen de pennen de vloer
beschadigen. Wij raden u aan de penvoetjes altijd te
gebruiken als u de pennen aanbrengt.

05_S-81_Du.fm 4 ページ 2008年7月23日 水曜日 午前9時49分
• Bevestig de metalen beugel niet rechtstreeks aan de muur. De
beugel mag alleen samen met een stevige draad worden
Aansluitingen
gebruikt. Dit om te voorkomen dat de luidspreker toch nog
omvalt.
Bij deze luidsprekers worden geen luidsprekerkabels geleverd
voor aansluiting op een versterker.
Aansluiten van de kabels
1 Schakel de versterker uit.
2 Sluit de kabels op de ingangsaansluitingen (onder) aan
Metalen beugel
de achterkant van de luidspreker aan. De polariteit van de
ingangsaansluitingen is rood voor positief (+) en zwart voor
Stevige draden
negatief (–).
Achterkant van luidspreker
• Laat twee stevige draden door de metalen beugel lopen en
Rode aansluiting (+)
maak de luidspreker op de aangegeven manier aan de muur
vast.
Zwarte aansluiting (–)
Kortsluitstaafjes
Bevestigen/verwijderen van het front
Bij deze luidspreker wordt een front geleverd dat u als volgt kunt
bevestigen en verwijderen:
1 Om het front te bevestigen, lijnt u het front uit met de
3 Sluit het andere uiteinde van de kabels aan op de
luidspreker en drukt het dan voorzichtig vast.
luidspreker-uitgangsaansluitingen van de versterker
(raadpleeg de handleiding van de versterker voor verdere
2 Om het front te verwijderen, pakt u dit met beide handen
informatie).
in het midden vast en trekt het dan voorzichtig naar u toe om
• Pak de kapknopjes op de onderste ingangsaansluitingen vast,
het los te maken van de luidspreker.
draai ze naar links (tegen de klok in) en steek de
luidsprekerdraden in de gaten van de aansluitingen. Draai
Let op
daarna de knopjes vast om de kortsluitstaafjes en de draden
vast te zetten.
• Het front wordt met magneten op de plaats gehouden. Houd
• U kunt ook een luidsprekerkabel met banaanstekker
het front uit de buurt van apparatuur die gevoelig is voor
gebruiken. Vergeet bij gebruik van een banaanstekker niet om
magnetische velden (CRT-televisies enz.).
het kapje op het puntje van de ingangsaansluiting te
verwijderen.
• Nadat u de stekkers in de aansluitbussen hebt gestoken, trekt
u lichtjes aan de kabels om te controleren of de stekkers stevig
vastzitten. Een slecht contact kan resulteren in storingen of
onderbrekingen in het geluid.
• Als de draden uit de aansluitingen steken en met elkaar in
contact komen, zal dit een extra belasting voor de versterker
betekenen. Het is mogelijk dat de versterker dan niet meer
werkt en deze kan zelfs worden beschadigd.
• Als een luidsprekerpaar met de versterker is verbonden, maar
een van de luidsprekers (links of rechts) met omgekeerde
polariteit (+, –) is aangesloten, zal er geen normaal stereo-
effect worden verkregen.
LET OP
Op deze luidsprekeraansluitingen staat een
GEVAARLIJKE spanning. Om een elektrische schok te
voorkomen bij het aansluiten en losmaken van de
luidsprekerkabels, moet u de stekker uit het
stopcontact halen voordat u niet geïsoleerde
onderdelen aanraakt.
D3-4-2-2-3_A_Du
4
Du

