Pioneer HTP-SLH600 – страница 2
Инструкция к Домашнему кинотеатру Pioneer HTP-SLH600

• Halten Sie den Subwoofer bei der Ausführung dieser
Arbeitsschritte nicht in einem Winkel geneigt. Legen Sie den
Lautsprecher auf eine Seite auf eine weiche Decke oder eine
andere Unterlage in einem Material, das keine Kratzer
verursachen kann.
Aufstellung
S-SLW500
Aufstellungsort
Aufstellung des Subwoofers
Der Subwoofer kann wahlweise in vertikaler oder horizontaler
Aufstellungsbeispiel: Für sowohl S-HV600B als auch
Lage aufgestellt werden. Bei der Auslieferung aus dem
S-SLW500
Herstellerwerk ist der Lautsprecher für die Aufstellung in
horizontaler Lage vorbereitet.
Deutsch
Für Aufstellung in vertikaler Lage
1 Die Füße sind mit Kreuzschlitzschrauben befestigt;
verwenden Sie einen Kreuzschlitzschraubendreher, um die
Füße zu entfernen.
2 Befestigen Sie die mitgelieferten Aufkleber an den
Stellen, von denen die Füße entfernt wurden, um die
Schraubenlöcher zu verdecken.
3 Befestigen Sie die rutschfesten Kissen an den vier Ecken
der Oberfläche, auf der der Subwoofer aufgestellt werden
soll. Bitte beachten Sie, dass die rutschfesten Kissen nicht bei
allen Arten von Unterlagen wirksam sind, so dass eine
Aufstellungsbeispiel: Für sowohl S-HV500-LR als
Aufstellung auf einer glatten Oberfläche zu vermeiden ist.
auch S-SLW500
5
De
Schraube für vertikale
Befestigung
Schritt 1
Füße
Schritt 2
Aufkleber
Schritt 3
Rutschfeste Kissen
S-HV600B_S-HV500-LR_En.fm 5 ページ 2011年4月12日 火曜日 午後4時9分
VORSICHTSHINWEISE

S-HV600B
S-SLW500
• Die akustischen Verhältnisse im Hörraum üben einen starken
• Der Subwoofer gibt sehr tiefe Frequenzen monaural wieder,
Einfluss auf die Art der Schallabstrahlung von Lautsprechern
da das menschliche Gehör im tiefen Frequenzbereich kein
aus.
genaues Ortungsvermögen besitzt und die Richtung, aus der
der Schall eintrifft, nicht unterscheiden kann. Daher kann der
• Dieses Lautsprechersystem besitzt keine magnetisch
Subwoofer an einem beliebigen Ort im Hörraum aufgestellt
abgeschirmte Konstruktion. Daher können Farbverzerrungen
werden, sofern kein so großer Abstand besteht, dass eine
auftreten, wenn der Lautsprecher in der Nähe eines
unnatürlich wirkende Klangbalance zwischen dem Subwoofer
herkömmlichen Fernsehgerätes mit Kathodenstrahlröhre
und den übrigen Lautsprechern erhalten wird. Die Intensität
aufgestellt wird. In einem solchen Fall müssen Sie für einen
des vom Subwoofer abgegebenen Klangs kann justiert
größeren Abstand zwischen Lautsprecher und Fernsehgerät
werden, indem der Abstand des Subwoofers zur nächsten
sorgen. Bitte achten Sie außerdem darauf, keine Gegenstände
Wand geändert wird.
in die Nähe dieses Lautsprechers zu bringen, die gegenüber
magnetischen Einstreuungen empfindlich sind (z. B.
• Zwischen dem rechten und dem linken Frontlautsprecher
aufmagnetisierte Bank- und Fahrkarten, Armbanduhren,
sollte ein Abstand von ca. 1,8 m bis 2,7 m vorhanden sein. Die
Videocassetten usw.).
beiden Frontlautsprecher sollten jeweils im gleichen Abstand
vom Fernsehgerät und auf gleicher Höhe über dem Boden
• Wenn der Hörraum einen starken Nachhall aufweist,
aufgestellt werden.
empfiehlt es sich, die Wände mit schwerem Stoff zu behängen
und/oder einen Teppich auf den Boden zu legen, um den
• Lautsprecherständer sind als Sonderzubehör erhältlich, die
Schall zu dämpfen. Die besten Ergebnisse werden erzielt,
eine optimale Aufstellung der Surround-Lautsprecher auf
wenn die Wände vollständig abgedeckt werden.
oder geringfügig über dem Ohrenniveau an der Hörposition
ermöglichen.
• Wenn die Surround-Lautsprecher in einem zu großen Abstand
von der Hörposition aufgestellt werden, kann der optimale
• Die Aufstellung der Lautsprecher auf einer unstabilen
Surround-Effekt nicht erzielt werden.
Unterlage ist äußerst gefährlich und muss daher unbedingt
• Da der Subwoofer nicht magnetisch abgeschirmt ist, sollte er
vermieden werden!
nicht in der Nähe eines Fernsehgerätes oder Monitors
• Stellen Sie die Lautsprecher auf keinen Fall auf einem
aufgestellt werden; anderenfalls kann es aufgrund von
Fernsehgerät oder einer anderen unstabilen Unterlage auf.
magnetischen Einstreuungen zu Verzerrungen und
Anderenfalls besteht die Gefahr, dass die Lautsprecher
Farbstörungen im Fernsehbild kommen. Gegenstände, die für
herunterfallen und Verletzungen oder eine Beschädigung
magnetische Einstreuungen empfindlich sind
verursachen.
(aufmagnetisierte Bank- oder Monatskarten, Armbanduhren,
Videokassetten usw.) sollten nicht in die Nähe des
S-HV500-LR
Subwoofers gebracht werden.
• Die akustischen Verhältnisse im Hörraum üben einen starken
Einfluss auf die Art der Schallabstrahlung von Lautsprechern
aus.
• Diese Lautsprecher können wahlweise in vertikaler oder
• Wenn das Lautsprechersystem auf einem Fenseh- oder Hi-Fi-
horizontaler Lage aufgestellt werden.
Schrank aufgestellt wird, kann es durch die vom Lautsprecher
• Bei Verwendung eines Flachfernsehgerätes stellen Sie die
erzeugten mechanischen Schwingungen zu Vibrationen des
Lautsprecher auf beiden Seiten in einem Mindestabstand von
Schrankes oder der anderen Komponenten kommen. Stellen
5 cm vom Fernsehgerät auf.
Sie sicher, dass sich die Regale des Schrankes oder die
• Bei Verwendung eines herkömmlichen Fernsehgerätes mit
anderen Komponenten wegen der mechanischen
Kathodenstrahlröhre muss ein Mindestabstand von 10 cm
Schwingungen nicht verschieben.
zwischen den Lautsprechern und dem Fernsehgerät
• Stellen Sie keine Disc-Player (DVD, CD) auf dem Subwoofer
eingehalten werden. Da diese Lautsprecher im Hinblick auf
auf, da die mechanischen Schwingungen anderenfalls
einen geringen magnetischen Streufluss konstruiert wurden,
Tonaussetzer verursachen können.
kann es je nach den Aufstellungsbedingungen zu einem
• Halten Sie bei der Aufstellung einen Mindestabstand von 10
gewissen Ausmaß an Farbschmieren im Fernsehbild
cm zwischen der Rückseite des Lautsprechers und einer
kommen. In einem solchen Fall schalten Sie das Fernsehgerät
Wand ein; bei Aufstellung in vertikaler Lage ist zusätzlich ein
15 Minuten bis 30 Minuten lang aus. Falls auch danach
Mindestabstand von 10 cm zwischen der linken Seite des
weiterhin Farbschmieren auftritt, sorgen Sie für einen
Lautsprechers und einer Wand einzuhalten. Falls kein
größeren Abstand zwischen den Lautsprechern und dem
ausreichender Abstand besteht, entwickelt der Lautsprecher
Fernsehgerät.
u. U. nicht seine volle Leistung, oder eine Funktionsstörung
• Wenn der Hörraum einen starken Nachhall aufweist,
tritt auf.
empfiehlt es sich, die Wände mit schwerem Stoff zu behängen
• Wegen des hohen Gewichts des Lautsprechers ist eine
und/oder einen Teppich auf den Boden zu legen, um den
Aufstellung auf einer unstabilen Unterlage äußerst gefährlich
Schall zu dämpfen. Die besten Ergebnisse werden erzielt,
und ist unbedingt zu vermeiden! Falls der Lautsprecher
wenn die Wände vollständig abgedeckt werden.
herunterfällt, besteht die Gefahr von Verletzungen und einer
Beschädigung.
• Die Aufstellung der Lautsprecher auf einer unstabilen
Unterlage ist äußerst gefährlich und muss daher unbedingt
vermieden werden!
• Stellen Sie die Lautsprecher auf keinen Fall auf einem
Fernsehgerät oder einer anderen unstabilen Unterlage auf.
Anderenfalls besteht die Gefahr, dass die Lautsprecher
herunterfallen und Verletzungen oder eine Beschädigung
verursachen.
6
De
VORSICHTSHINWEISE
VORSICHTSHINWEISE
S-HV600B_S-HV500-LR_En.fm 6 ページ 2011年4月12日 火曜日 午後4時9分
VORSICHTSHINWEISE

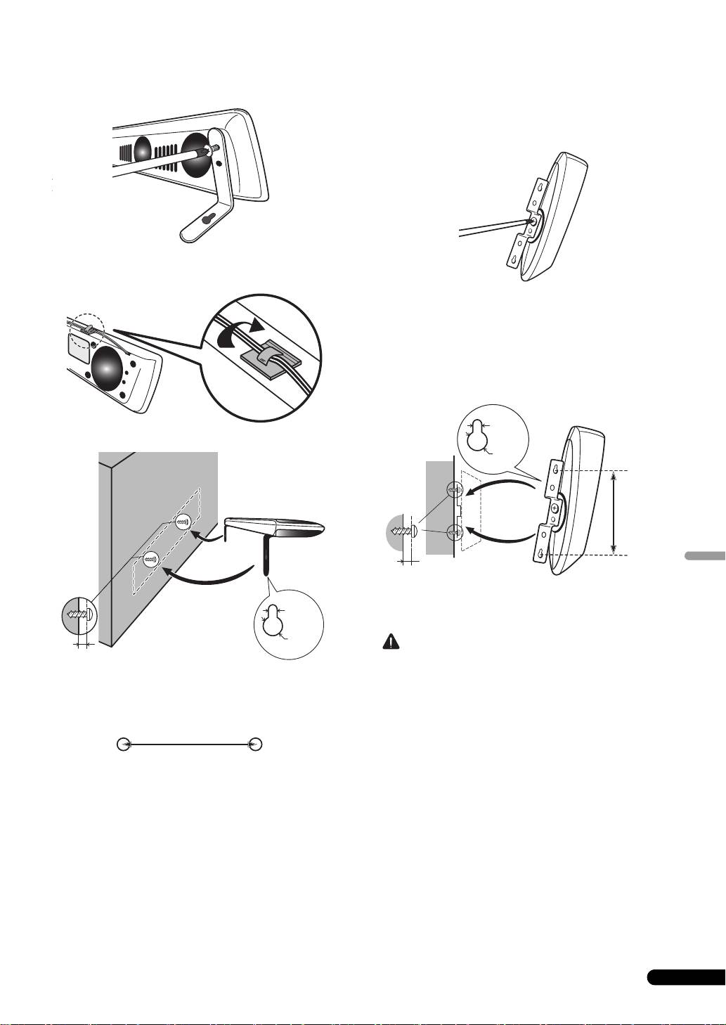
4 Befestigen Sie den Lautsprecher an der Wand.
Wandmontage der Lautsprecher
(S-HV600B/S-HV500-LR)
Vor der Montage
• Bitte bedenken Sie, dass dieses Lautsprechersystem schwer
ist und sein Gewicht dazu führen könnte, dass sich die
Montageschrauben lockern oder der Werkstoff der Wand
keinen ausreichenden Halt bietet, so dass der Lautsprecher
herunterfällt. Vergewissern Sie sich, dass das Tragvermögen
der zur Montage vorgesehenen Wand für das Gewicht der
Lautsprecher ausreicht. Montieren Sie die Lautsprecher auf
keinen Fall an einer Wand aus Sperrholz oder mit einer
weichen Oberfläche.
• Montageschrauben gehören nicht zum Lieferumfang.
Verwenden Sie ausschließlich Schrauben, die für den
Werkstoff der Wand geeignet sind und das Gewicht der
Lautsprecher tragen können.
VORSICHTSHINWEISE
• Falls Sie die Beschaffenheit und das Tragvermögen der Wand
Bohren Sie in einem Abstand von 818 mm zwei Löcher in die
Wand.
Deutsch
nicht selbst ermitteln können, ziehen Sie bitte einen
Fachmann zu Rate.
• Pioneer übernimmt keinerlei Haftung für Unfälle oder
Schäden, die auf eine unsachgemäße Montage
zurückzuführen sind.
S-HV500-LR
S-HV600B
Wandmontage
1 Verwenden Sie einen Kreuzschlitzschraubendreher, um
Um den Lautsprecher an der Wand zu montieren, befestigen Sie
die zwei Schrauben zu entfernen, mit denen die Ständer am
zunächst die Wandmontagehalterung mit der Schraube für
Lautsprecher befestigt sind.
vertikale Befestigung am Lautsprecher, und befestigen Sie die
Halterung dann an der Wand.
2 Befestigen Sie die Wandmontagehalterungen mit den
beiden in Schritt 1 entfernten Schrauben am Lautsprecher.
Überprüfen Sie vor der Wandmontage des Lautsprechers, dass
die Beschaffenheit der Wand ein vollständiges Anziehen der
Montageschrauben (im Fachhandel erhältlich) erlaubt, so dass
der Lautsprecher sicher befestigt werden kann.
Eine Wand, die aus einem schwachen Werkstoff besteht oder kein
ausreichendes Tragvermögen besitzt, kann das Gewicht des
Lautsprechers nicht tragen, so dass der Lautsprecher
möglicherweise herunterfällt.
Bohren Sie in einem Abstand von 95 mm zwei Löcher in die Wand.
3 Befestigen Sie die mitgelieferten Kabelschellen wie in der
Abbildung gezeigt an der Oberseite des Lautsprechers, und
sichern Sie das Lautsprecherkabel damit.
7
De
Drücken, bis ein Klickgeräusch
hörbar ist.
Wand-
montage-
schrauben
(im Fach-
handel
erhältlich)*
5
mm
10
mm
6
mm
bis 8
mm
*
Wandmontageschrauben gehören nicht zum
Lieferumfang. Bitte besorgen Sie sich im Fachhandel
Schrauben, die für den Typ der Wand und des Gewicht
des Lautsprechersystems geeignet sind.
S-HV600B_S-HV500-LR_En.fm 7 ページ 2011年4月12日 火曜日 午後4時9分
818 mm

Anschlüsse
Anschließen der Kabel
S-HV600B/S-HV500-LR
1 Schalten Sie den Verstärker aus.
• Schließen Sie das Kabel mit der farbigen Markierung an die
rote (+) Lautsprecherklemme an, das andere Kabel an die
schwarze (–) Lautsprecherklemme.
• Bei einer Wandmontage ist zu beachten, dass wegen des
Gewichts des Lautsprechers die Gefahr eines Herunterfallens
besteht, wenn die Montage unsachgemäß ausgeführt wird.
2 Schließen Sie das andere Ende jedes Lautsprecherkabels
Gehen Sie daher sorgsam vor, um Unfälle zu verhüten.
an die Lautsprecherausgangsklemmen des Verstärkers an
• Vergewissern Sie sich vor der Wandmontage des
(Einzelheiten hierzu finden Sie in der Bedienungsanleitung
Lautsprechers, dass die zur Befestigung vorgesehene Stelle
Ihres Verstärkers).
das Gewicht des Lautsprechers tragen kann. Falls Sie das
S-SLW500
Tragvermögen der Wand nicht selbst ermitteln können, ziehen
1 Schließen Sie ein Ende des mitgelieferten
Sie bitte einen Fachmann zu Rate.
Lautsprecherkabels an die Eingangsklemmen an der
• Pioneer übernimmt keinerlei Haftung für Unfälle oder
Rückseite jedes Lautsprechers an.
Schäden, die durch eine fehlerhafte oder unsachgemäße
• Schließen Sie das Kabel mit der farbigen Markierung an die
Montage, eine Nachgestaltung des Produkts oder höhere
rote (+) Lautsprecherklemme an, das andere Kabel an die
Gewalt entstehen.
schwarze (–) Lautsprecherklemme. Drücken Sie die unter
Federspannung stehenden Hebel der Klemmen herunter, und
Befestigen des Lautsprechers am
führen Sie die blanken Drähte der Kabel wie in der Abbildung
Lautsprecherständer
gezeigt in die Löcher in den Klemmen ein. Lassen Sie den
Verwenden Sie die mitgelieferte Halterung, wenn der
Hebel wieder los, um den Draht in der Klemme zu sichern.
Lautsprecher an einem Lautsprecherständer oder einer
Grundplatte befestigt werden soll, der bzw. die nicht zum
Lieferumfang gehört.
Verwenden Sie M5-Schrauben zur Befestigung.
Montageschrauben gehören nicht zum Lieferumfang. Folgen Sie
den Anweisungen, die dem jeweils verwendeten
Lautsprecherständer bzw. der Grundplatte beiliegen.
2 Schließen Sie das andere Ende jedes Lautsprecherkabels
an die Lautsprecherausgangsklemmen des Verstärkers an
(Einzelheiten hierzu finden Sie in der Bedienungsanleitung
Ihres Verstärkers).
• An den Lautsprecherklemmen dieses Gerätes liegt eine
potentiell GEFÄHRLICHE Spannung an. Zur Vermeidung von
Stromschlaggefahr ist unbedingt darauf zu achten, den
Netzstecker beim Anschließen oder Abtrennen der
Lautsprecher von der Netzsteckdose zu trennen, bevor
irgendwelche nicht isolierten Teile berührt werden.
• Ziehen Sie nach dem Herstellen der Anschlüsse sacht an
jedem Lautsprecherkabel, um sicherzustellen, dass die
Drähte fest in den Klemmen sitzen. Lose Anschlüsse können
Rauschen und Tonaussetzer verursachen.
• Falls die blanken Leiter von zwei Lautsprecherkabeln so weit
aus den Klemmen hervorstehen, dass sie sich gegenseitig
berühren, kann dies eine Überlastung des Verstärkers
verursachen. In einem solchen Fall stellt der Verstärker
möglicherweise den Betrieb ein, und es kann sogar zu einer
Beschädigung des Verstärkers kommen.
8
De
5
mm
10
mm
Wand-
montage-
schrauben
(im Fach-
handel
erhältlich)*
95
mm
6
mm
bis 8
mm
*
Wandmontageschrauben gehören nicht zum
Lieferumfang. Bitte besorgen Sie sich im Fachhandel
Schrauben, die für den Typ der Wand und des Gewicht
des Lautsprechersystems geeignet sind.
VORSICHTSHINWEISE
60 mm
an positive
(+)
Klemme (rot)
rote Isolierung
an negative
(–)
Klemme (schwarz)
Rot (+)
rote Markierung
Schwarz (–)
S-HV600B_S-HV500-LR_En.fm 8 ページ 2011年4月12日 火曜日 午後4時9分
VORSICHTSHINWEISE

• Falls ein Paar Lautsprecher versehentlich mit vertauschter
Mitgeliefertes Zubehör
Polarität (+, –) an einen Verstärker angeschlossen wird, kann
Grundplatte . . . . . . . . . . . . . . . . . . . . . . . . . . . . . . . . . . . . . . . . . . . . . . . 2
der normale Stereoeffekt nicht erzielt werden.
Ständerarm . . . . . . . . . . . . . . . . . . . . . . . . . . . . . . . . . . . . . . . . . . . . . . . 2
Halterung. . . . . . . . . . . . . . . . . . . . . . . . . . . . . . . . . . . . . . . . . . . . . . . . . 2
Schraube (Linsenkopf) . . . . . . . . . . . . . . . . . . . . . . . . . . . . . . . . . . . . . . 2
Schraube (Flachkopf) . . . . . . . . . . . . . . . . . . . . . . . . . . . . . . . . . . . . . . . 4
Sechskantmutter . . . . . . . . . . . . . . . . . . . . . . . . . . . . . . . . . . . . . . . . . . 2
Betrieb (S-HV600B/S-HV500-LR)
Aufkleber . . . . . . . . . . . . . . . . . . . . . . . . . . . . . . . . . . . . . . . . . . . . . . . . . 2
Garantiekarte (nur Modell für Europa) . . . . . . . . . . . . . . . . . . . . . . . . . 1
Da es sich bei den Modellen S-HV600B und S-HV500-LR jeweils
Bedienungsanleitung (dieses Dokument)
um kompakte Satellitenlautsprecher handelt, wird empfohlen,
S-SLW500
diese gemeinsam mit einem Subwoofer zu verwenden, um
Gehäuse. . . . . . . . . . . . . . . . . . . . . . . . . . . Bassreflex-Regalausführung
dynamische Bässe zu erhalten. In einem solchen Fall wählen Sie
Aufbau . . . . . . . . . . . . . . . . . . . . . . . . . . . . . . . . . . . . . . . . . 16-cm-Konus
am Verstärker (bzw. Receiver) die Lautsprechereinstellung
Impedanz . . . . . . . . . . . . . . . . . . . . . . . . . . . . . . . . . . . . . . . . . . . . . . 4 Ω
„Klein“, und stellen Sie die Übernahmefrequenz auf 200 Hz ein.
Frequenzgang . . . . . . . . . . . . . . . . . . . . . . . . . . . . . . . . 35 Hz bis 2,0 kHz
Empfindlichkeit. . . . . . . . . . . . . . . . . . . . . . . . . . . . . . . . . . . . . . . . .78 dB
Maximale Belastbarkeit . . . . . . . . . . . . . . . . . . . . . . . . . . . . . . . . . 100 W
Außenabmessungen
Technische Daten
Horizontale Ausrichtung
. . . . . . . . . . . . . . . . . . . . . 435 (B) mm x 121 (H) mm x 360 (T) mm
Vertikale Ausrichtung. . . .108,5 (B) mm x 435 (H) mm x 360 (T) mm
S-HV600B
Masse. . . . . . . . . . . . . . . . . . . . . . . . . . . . . . . . . . . . . . . . . . . . . . . . 4,5 kg
Gehäuse. . . . . . . . . . . . . . . . . . . . . . . . . . . . . Geschlossene Ausführung
Mitgeliefertes Zubehör
Aufbau . . . . . . . . . . . . . . . . . . . . . . . . . . . . . . . . . . . . . . . 2-Wege-System
Lautsprecherkabel (3 m) . . . . . . . . . . . . . . . . . . . . . . . . . . . . . . . . . . . . 1
Tieftöner/Hochtöner
Rutschfestes Kissen. . . . . . . . . . . . . . . . . . . . . . . . . . . . . . . . . . . . . . . . 4
Deutsch
. . . . . . . .5,7 cm x 3 cm (doppelseitig) x 4 Stck./ 2-cm-Kalottentyp x 4Stck.
Aufkleber . . . . . . . . . . . . . . . . . . . . . . . . . . . . . . . . . . . . . . . . . . . . . . . . . 4
Impedanz . . . . . . . . . . . . . . . . . . . . . . . . . . . . . . . . . . . . . . . . . . . . . . 8 Ω
Garantiekarte (nur Modell für Europa) . . . . . . . . . . . . . . . . . . . . . . . . . 1
Frequenzgang . . . . . . . . . . . . . . . . . . . . . . . . . . . . . . . 130 Hz bis 32 kHz
Empfindlichkeit. . . . . . . . . . . . . . . . . . . . . . . 76 dB (insgesamt 82 dB*)
Maximale Belastbarkeit . . . . . . . . . . . . . . . . . . . . . . . . . . . . . . . . . 100 W
Hinweis
Übernahmefrequenz. . . . . . . . . . . . . . . . . . . . . . . . . . . . . . . . . . . 1,5 kHz
Außenabmessungen . . . . . . . . . 900 (B) mm x 66 (H) mm x 93 (T) mm
• Zwei Lautsprechersysteme sind im Verpackungskarton des
Masse. . . . . . . . . . . . . . . . . . . . . . . . . . . . . . . . . . . . . . . . . . . . . . . . 1,7 kg
Modells S-HV500-LR enthalten.
Mitgeliefertes Zubehör
• Änderungen der technischen Daten und äußeren
Halterung. . . . . . . . . . . . . . . . . . . . . . . . . . . . . . . . . . . . . . . . . . . . . . . . . 2
Aufmachung bleiben im Sinne der ständigen
Rutschfestes Kissen. . . . . . . . . . . . . . . . . . . . . . . . . . . . . . . . . . . . . . . . 2
Produktverbesserung jederzeit vorbehalten.
Kabelschelle . . . . . . . . . . . . . . . . . . . . . . . . . . . . . . . . . . . . . . . . . . . . . . 4
Garantiekarte (nur Modell für Europa) . . . . . . . . . . . . . . . . . . . . . . . . . 1
* Da diese Lautsprecher Ton von beiden Seiten abgeben, wird die
Bedienungsanleitung (dieses Dokument)
Ausgabe verdoppelt. Der Lautstärkepegel entspricht einem Wert
von 82 dB bei herkömmlichen Lautsprechern.
S-HV500-LR
Gehäuse. . . . . . . . . . . . . . . . . . . . . . . . . . . . . Geschlossene Ausführung
Aufbau . . . . . . . . . . . . . . . . . . . . . . . . . . . . . . . . . . . . . . . 2-Wege-System
© 2011 PIONEER CORPORATION.
Tieftöner/Hochtöner
Alle Rechte vorbehalten.
. . . . . . 5,7 cm x 3 cm (doppelseitig) x 2 Stck. / 2-cm-Kalottentyp x 2Stck.
Impedanz . . . . . . . . . . . . . . . . . . . . . . . . . . . . . . . . . . . . . . . . . . . . . . 8 Ω
Frequenzgang . . . . . . . . . . . . . . . . . . . . . . . . . . . . . . . 170 Hz bis 32 kHz
Empfindlichkeit. . . . . . . . . . . . . . . . . . . . . . . 76 dB (insgesamt 82 dB*)
Maximale Belastbarkeit . . . . . . . . . . . . . . . . . . . . . . . . . . . . . . . . . 100 W
Übernahmefrequenz. . . . . . . . . . . . . . . . . . . . . . . . . . . . . . . . . . . 1,5 kHz
Außenabmessungen
Horizontale Ausrichtung
. . . . . . . . . . . . . . . . . . . . . 207 (B) mm x 100 (H) mm x 100 (T) mm
Vertikale Ausrichtung. . . . . 100 (B) mm x 225 (H) mm x 100 (T) mm
Masse. . . . . . . . . . . . . . . . . . . . . . . . . . . . . . . . . . . . . . . . . . . . . . . . 0,4 kg
Für Modell für Europa
9
De
Mischen Sie dieses Produkt, wenn Sie es entsorgen wollen, nicht mit gewöhnlichen Haushaltsabfällen. Es gibt ein getrenntes
Sammelsystem für gebrauchte elektronische Produkte, über das die richtige Behandlung, Rückgewinnung und Wiederverwertung
gemäß der bestehenden Gesetzgebung gewährleistet wird.
Privathaushalte in den Mitgliedsstaaten der EU, in der Schweiz und in Norwegen können ihre gebrauchten elektronischen Produkte an
vorgesehenen Sammeleinrichtungen kostenfrei zurückgeben oder aber an einen Händler zurückgeben (wenn sie ein ähnliches neues Produkt
kaufen).
Bitte wenden Sie sich in den Ländern, die oben nicht aufgeführt sind, hinsichtlich der korrekten Verfahrensweise der Entsorgung an die örtliche
Kommunalverwaltung.
Auf diese Weise stellen Sie sicher, dass das zu entsorgende Produkt der notwendigen Behandlung, Rückgewinnung und Wiederverwertung
unterzogen wird, und so mögliche negative Einflüsse auf die Umwelt und die menschliche Gesundheit vermieden werden.
K058b_A1_De
S-HV600B_S-HV500-LR_En.fm 9 ページ 2011年4月15日 金曜日 午後7時40分

S-HV600B_S-HV500-LR_En.fm 2 ページ 2011年4月12日 火曜日 午後4時25分
Vi ringraziamo per avere acquistato questo prodotto Pioneer.
Prima di usare il prodotto, leggere questo istruzioni per l’uso in modo da saperlo utilizzare correttamente. Finito di leggerle, conservarle in
un luogo sicuro per poterle riutilizzare in futuro.
S-SLW500
• Questo diffusore è un subwoofer passivo e deve venire
Prima di cominciare
combinato con un VSX-S300 o altro dispositivo audio dotato di
un amplificatore per subwoofer.
S-HV600B/S-HV500-LR
• Questo diffusore ha una impedenza di 4 Ω e deve venire
• Questo diffusore ha una impedenza di 8 Ω e deve venire
collegato solo ad amplificatori progettati per una impedenza
collegato solo ad amplificatori progettati per una impedenza
di carico di 4 Ω (il connettore di uscita dell'amplificatore del
di carico di 8 Ω (il connettore di uscita dell'amplificatore del
diffusore deve essere chiaramente etichettato “4 Ω”).
diffusore deve essere chiaramente etichettato “8 Ω”).
Per evitare danni al diffusore dovuti al sovraccarico di segnale
Per evitare danni al diffusore dovuti al sovraccarico di segnale
in ingresso, osservare le seguenti norme:
in ingresso, osservare le seguenti norme:
•Non alimentare il diffusore con potenza oltre il massimo
•Non alimentare il diffusore con potenza oltre il massimo
concesso.
concesso.
•Se si usa un equalizzatore grafico per enfatizzare forti suoni
•Se si usa un equalizzatore grafico per enfatizzare forti suoni
di alta frequenza, non usare volumi eccessivi
di alta frequenza, non usare volumi eccessivi
dell’amplificatore.
dell’amplificatore.
•Non tentare di forzare un amplificatore di bassa potenza a
•Non tentare di forzare un amplificatore di bassa potenza a
produrre alti volumi. La distorsione armonica
produrre alti volumi. La distorsione armonica
dell’amplificatore aumenterebbe e potreste danneggiare il
dell’amplificatore aumenterebbe e potreste danneggiare il
diffusore.
diffusore.
Attenzione: installazione
Attenzione: installazione
• Non posare il diffusore su superfici poco stabilì, dato che
• Non posare il diffusore su superfici poco stabilì, dato che
altrimenti esso potrebbe cadere e causare danni o ferite.
altrimenti esso potrebbe cadere e causare danni o ferite.
• Prima di fare collegamenti, spegnere i propri componenti AV,
• Prima di fare collegamenti, spegnere i propri componenti AV,
scollegarli e consultarne i manuali. Controllare di avere usato
scollegarli e consultarne i manuali. Controllare di avere usato
i cavi di collegamento corretti.
i cavi di collegamento corretti.
• Non applicare questi diffusori ad un muro o al soffitto, dato
• Se si desidera installare i diffusori su di un muro, verificare
che possono causare ferimenti in caso di caduta.
che questo sia sufficientemente robusto da sostenerne il peso
• Non installare i diffusori in alto su di un soffitto o su di una
(S-HV600B: 1,7 kg, S-HV500-LR: 0,4 kg). Se non si conosce la
parete.
capacità di carico del muro, consultare un esperto di
murature. L’installazione dei diffusori su muri poco solidi è
Attenzione: in uso
estremamente pericolosa, dato che essi possono cadere e
causare infortuni.
• Non fare emettere al diffusore suono distorto per lunghi
periodi. Questo potrebbe causare danni ai diffusori ed è causa
• Dopo l’installazione, verificarne la sicurezza. Controllare poi
potenziale di incendi.
periodicamente i diffusori per verificare che siano sempre
solidamente ancorati.
• Non posare oggetti grandi o pesanti sul diffusore. Facendolo il
diffusore potrebbe cadere, causando danni o ferimenti.
Attenzione: in uso
• Non sedere o appoggiarsi al diffusore, e non lasciare che i
• Non fare emettere al diffusore suono distorto per lunghi
bambini ci giochino. Facendolo il diffusore potrebbe cadere,
periodi. Questo potrebbe causare danni ai diffusori ed è causa
causando danni o ferimenti.
potenziale di incendi.
• La griglia di questo diffusore non può essere rimossa. Non
• Non posare oggetti grandi o pesanti sul diffusore. Facendolo il
tentare di toglierla a forza, dato che così facendo la si
diffusore potrebbe cadere, causando danni o ferimenti.
danneggerebbe.
• Non collegare questi diffusori a dispositivi che non siano un
amplificatore AV o un altro componente audio, dato che
Pioneer non è responsabile per incidenti o danni dovuti ad
altrimenti si possono avere guasti.
una installazione scadente, un uso scorretto, modifiche
• Questo prodotto include una tecnologia di autoregressione
portate al prodotto o disastri naturali.
che protegge i diffusori. Se i diffusori smettono di produrre
suono quando ricevono un segnale eccessivo, abbassare il
volume ed attendere qualche secondo. La caratteristica di
protezione dei diffusori si disattiva automaticamente.
Pulizia del cabinet dei diffusori
Normalmente per mantenere pulito il diffusore dovrebbe bastare
un panno morbido ed asciutto. Se necessario, passarlo con un
panno inumidito con un detergente neutro diluito cinque o sei
volte con acqua, quindi strizzarlo bene. Non usare cere o pulenti
per mobilia.
Non usare mai diluenti, benzina, spray insetticidi o altre sostanze
chimiche su o vicino a quest’unità, dato che essi ne corrodono la
superficie.
2
It

Contenuto della confezione
Caratteristiche
S-HV600B
• Il suono viene prodotto da ambedue i lati (griglie) del diffusore.
•Staffa x 2
• Questo diffusore produce uno spettro audio completo in tutte
• Cuscinetti antiscivolamento x 2
le direzioni. Al contrario di quanto avviene in diffusori ordinari,
il lato mostrato di seguito è quello “anteriore”. Per ottenere un
• Supporti per fili x 4
audio ottimale, orientare il diffusore in modo che il lato
• Scheda di garanzia x 1 (solo modello europeo)
“anteriore” punti sulla posizione di ascolto.
• Istruzioni per l’uso (questo documento)
S-HV500-LR: orientamento orizzontale
S-HV500-LR
•Base x 2
‹Visione anteriore›
• Braccio di supporto x 2
S-HV500-LR: Orientamento verticale
•Staffa x 2
Italiano
• Vite (testa autobloccante) x 2
• Vite (testa piana) x 4
• Dado esagonale x 2
•Tenuta x 2
• Scheda di garanzia x 1 (solo modello europeo)
• Istruzioni per l’uso (questo documento)
S-SLW500
• Cavo dei diffusori (3 m) x 1
• Cuscinetti antiscivolamento x 4
•Tenuta x 4
• Scheda di garanzia x 1 (solo modello europeo)
3
It
‹Visione anteriore›
S-HV600B_S-HV500-LR_En.fm 3 ページ 2011年4月12日 火曜日 午後4時25分

Assemblaggio
S-HV600B
1 Applicare il cuscinetto antiscivolamento alla superficie
inferiore della zampa.
Orientamento verticale
1 Allineare il supporto di fissaggio verticale col foro della
base.
2 Fissare i supporto di fissaggio verticale alla base usando
il bullone di fissaggio verticale ed il dado esagonale.
Verificare che il dado esagonale entri nella scanalatura
esagonale sul fondo della base.
S-HV500-LR
Orientamento orizzontale
1 Far passare il cavo del diffusore per il foro della base.
3 Far passare il cavo del diffusore per il foro del supporto di
fissaggio verticale.
2 Allineare la linguetta di arresto della rotazione col foro
della base.
4 Allineare la linguetta di arresto della rotazione del
diffusore col foro nel supporto verticale.
3 Fissare il diffusore alla base con la vite di fissaggio
orizzontale dal retro della base stessa.
5 Fissare il diffusore al supporto verticale con la vite di
fissaggio verticale.
4 Posizionare il diffusore in modo che il suo cavo passi per
la scanalatura nella base.
4
It
Linguetta di
arresto della
rotazione
Vite di fissaggio
orizzontale
Intaglio per il filo
Vite di fissaggio vertical
Dado esagonale di
fissaggio verticale
Tenuta
Linguetta di
arresto della
rotazione
S-HV600B_S-HV500-LR_En.fm 4 ページ 2011年4月12日 火曜日 午後4時25分

Installazione
Posizione di installazione
Esempio di installazione: Per gli S-HV600B e per gli
S-SLW500
S-SLW500
Installazione del subwoofer
Il subwoofer è installabile con orientamento sia verticale sia
orizzontale. L’installazione di fabbrica è orizzontale.
Per l’installazione con orientamento verticale
1 I piedini sono fissati con viti Phillips; toglierle facendo uso
Esempio di installazione: Per gli S-HV500-LR e per gli
di un cacciavite Phillips.
Italiano
S-SLW500
2 Applicare gli adesivi accessori nella posizione dove si
trovavano i piedini per nascondere i fori delle viti.
3 Applicare i cuscinetti antiscivolamento ai quattro angoli
della superficie dove installare il subwoofer. Notare che i
cuscinetti antiscivolamento possono non funzionare
pienamente su tutte le superfici, quindi non installare su
superfici sdrucciolevoli.
S-HV600B
• I suoni riprodotti dal diffusore vengono facilmente influenzati
dalle condizioni dell’ambiente di ascolto.
• Questo diffusore non è schermato magneticamente. Per
questo motivo, esso può causare aberrazioni cromatiche se
installato vicino ad un televisore a raggi catodici. In tal caso,
allontanare il diffusore dal televisore. Inoltre, i dispositivi
facilmente influenzati dai campi magnetici (schede
magnetiche, orologi da polso, videocassette, ecc.) ne vanno
tenute lontane.
• Se la stanza ha molto riverbero, si raccomandano tendaggi
pesanti sulle pareti e/o tappeti sul pavimento per smorzarlo.
• Non tentare di eseguire queste procedure mentre si inclina
Per ottenere risultati ottimali, coprire del tutto le pareti.
l’unità. Posare l’unità su di un lato su un panno morbido o
altro materiale che non la graffi.
5
It
Vite di fissaggio verticale
Fase 1
Piedini
Fase 2
Tenute
Fase 3
Cuscinetti anti scivolamento
S-HV600B_S-HV500-LR_En.fm 5 ページ 2011年4月12日 火曜日 午後4時25分
ATTENZIONE

• Dato che i diffusori sono pesanti, l’installazione in posizioni
poco stabili è molto pericolosa e deve essere evitata. Cadendo,
un diffusore può causare danni o ferite.
• L’installazione dei diffusori in una posizione poco stabile può
essere molto pericolosa e va evitata.
• Non installare i diffusori su di un televisore o altra posizione
instabile. I diffusori possono cadere, causando danni o
Installazione dei diffusori su di un
ferimenti.
muro (S-HV600B/S-HV500-LR)
S-HV500-LR
• I suoni riprodotti dal diffusore vengono facilmente influenzati
dalle condizioni dell’ambiente di ascolto.
Prima dell'installazione
• L'installazione può essere verticale o orizzontale.
• Tenere presente che i diffusori sono pesanti ed il loro peso
potrebbe allentare la presa delle viti o del materiale del muro,
• Se si usa un televisore sottile, installare i diffusori sui suoi lati
facendoli cadere. Verificare che il muro su cui si installano i
ad una distanza di 5 cm o più.
diffusori sia sufficientemente forte da sostenerli. Non
• Se si usa un televisore con tubo a raggi catodici, installare i
installare su muri di compensato o di materiale soffice.
diffusori ad almeno 10 cm di distanza. Questi diffusori sono
• Le viti di fissaggio non sono fornite. Usare viti adatte al
progettati per emettere campi magnetici di bassa intensità,
materiale che compone il muro e capaci di sostenere il peso
ma qualche aberrazione cromatica potrebbe verificarsi in certi
dei diffusori.
casi. In tal caso, spegnere il televisore ed attendere da 15 a 30
minuti. Se le aberrazioni cromatiche continuano, allontanare
i diffusori dal televisore.
• Se la stanza ha molto riverbero, si raccomandano tendaggi
• Se non si conoscono le caratteristiche e la robustezza del
pesanti sulle pareti e/o tappeti sul pavimento per smorzarlo.
muro, rivolgersi ad uno specialista.
Per ottenere risultati ottimali, coprire del tutto le pareti.
• Pioneer non è responsabile di incidenti o danni dovuti ad una
installazione scorretta.
S-HV600B
• L’installazione dei diffusori in una posizione poco stabile può
1 Togliere le due viti che fermano le basi ai diffusori con un
essere molto pericolosa e va evitata.
cacciavite Phillips.
• Non installare i diffusori su di un televisore o altra posizione
instabile. I diffusori possono cadere, causando danni o
ferimenti.
S-SLW500
• Il subwoofer riproduce suoni di bassissima frequenza in mono
perché l’orecchio umano è poco sensibile alla direzione dei
suoni di bassa frequenza. Per questo, il subwoofer è
installabile in varie posizioni ma, se troppo distante, il suo
suono può non essere in sincronia con quello degli altri
diffusori. Il volume del subwoofer è regolabile cambiandone la
2 Usare le due viti tolte nella fase 1 per fissare al diffusore
distanza dal muro.
gli attacchi a muro.
• I diffusori anteriori installati a destra e sinistra devono distare
da 1,8 m a 2,7 m. Devo essere a distanza uguale sia dal
televisore sia dal pavimento.
• Sono disponibili basi per diffusori opzionali che facilitano una
ottimale installazione dei diffusori surround a o leggermente
oltre l’altezza degli orecchi dell’ascoltatore.
• L’effetto surround diminuisce se i diffusori surround sono
molto distanti dalla posizione di ascolto.
• Il subwoofer non è schermato magneticamente e deve quindi
essere tenuto lontano dal televisore o monitor, dato che i
campi magnetici che produce possono causare aberrazioni
cromatiche sul televisore. I dispositivi sensibili ai campi
magnetici (schede magnetiche, orologi da polso, nastri
3 Fissare i supporti per fili in dotazione sopra l'unità nel
magnetici, ecc.) devono essere tenuti lontani dal subwoofer.
modo visto in figura e inserirvi il cavo.
• Se i diffusori vengono installati su di un rack TV o AV, questo
o i componenti audio possono vibrare a causa delle vibrazioni
prodotte dai diffusori. Fare sì che il rack ed i componenti che
contiene non cambino di posizione a causa delle vibrazioni.
• Non installare lettori (di DVD, CD) sopra il subwoofer, dato che
le vibrazioni possono far saltare il suono.
• Per l’installazione, lasciare almeno 10 cm di spazio fra il retro
dell’unità ed i muri; per l’installazione verticale, lasciare
almeno 10 cm di spazio fra il lato sinistro della unità e i muri.
Se la distanza è insufficiente, questa unità potrebbe non
rendere bene o guastarsi.
6
It
ATTENZIONE
ATTENZIONE
ATTENZIONE
ATTENZIONE
Premere fino a sentire un “clic”.
S-HV600B_S-HV500-LR_En.fm 6 ページ 2011年4月12日 火曜日 午後4時25分

4 Fissare ad un muro.
• Durante l’installazione dell’unità su di un muro, il suo peso e
dei metodi di installazione scorretti ne possono causare la
caduta. Fare attenzione ad evitare gli incidenti.
• Durante l’installazione, verificare che la locazione di
installazione sia capace di reggere il peso dell’unità. Se non si
conosce la capacità di carico del muro, consultare un esperto
di murature.
• Pioneer non si assume alcuna responsabilità per danni o
ferite dovuti ad installazioni difettose scorrette, modifiche
dell’unità o disastri naturali.
Nell’installare l’unità sulla base per diffusori
Per installare questa unità su qualsiasi base per diffusori o base
di tipo diverso da quella provvista, usare la staffa acclusa.
Per l’installazione, usare viti M5. Le viti di fissaggio non sono
fornite. Seguire le istruzioni in dotazione alla base per diffusore o
altra base scelta.
Aprire due fori nel muro a 818 mm di distanza l’uno dall’altro.
S-HV500-LR
Installazione su di un muro
Per fissare l’unità ad un muro, prima fissare con la vite di
installazione verticale le staffe di installazione sul muro all'unità,
quindi fissare le staffe al muro.
Italiano
Collegamento
Collegamento del cavo
S-HV600B/S-HV500-LR
1 Spegnere l’amplificatore.
• Collegare il filo con la riga colorata al terminale rosso (+); il
filo normale va al terminale nero (–).
e si fissa questa unità ad un muro, controllare che questo sia tale
da permettere a viti di fissaggio (disponibili in commercio) di fare
bene presa, sorreggendo in modo sicuro il diffusore.
Un muro fatto di materiale soffice o di insufficiente robustezza non
sarà in grado di sostenere il peso del diffusore, e potrebbe alla
lunga farlo cadere.
Aprire due fori nel muro a 95 mm di distanza l’uno dall’altro.
2 Collegare le estremità dei cavi ai terminali di uscita dei
diffusori dell’amplificatore. Per maggiori dettagli, consultare
il manuale del proprio amplificatore.
7
It
Viti di fissaggio
per muro
(disponibili in
commercio)
*
5
mm
10
mm
Da 6 mm a 8 mm
*
Le viti di fissaggio per muro non sono accluse. Acquistare
viti adatte prendendo in considerazione il tipo di muro ed
il peso dei diffusori.
818 mm
5
mm
10
mm
Viti di fissaggio
per muro
(disponibili in
commercio)
*
95
mm
Da 6 mm a 8 mm
*
Le viti di fissaggio per muro non sono accluse. Acquistare
viti adatte prendendo in considerazione il tipo di muro ed
il peso dei diffusori.
ATTENZIONE
60 mm
S-HV600B_S-HV500-LR_En.fm 7 ページ 2011年4月12日 火曜日 午後4時25分
Al lato più
(+)
(rosso)
Tubo rosso
Al lato meno
(–)
(nero)

S-HV600B_S-HV500-LR_En.fm 8 ページ 2011年4月15日 金曜日 午後7時44分
S-SLW500
S-HV500-LR
1 Collegare un capo del cavo dei diffusori in dotazione al
Cassa. . . . . . . . . . . . . . . . . . . . . . . . . . . . . . . . . . . . . . . . . . . . . . . .Chiusa
retro di ciascun diffusore.
Configurazione . . . . . . . . . . . . . . . . . . . . . . . . . . . . . . . . . . . . . . . . a 2 vie
• Collegare il filo con la riga colorata al terminale rosso (+); il
Woofer/tweeter
filo normale va al terminale nero (–). Premere la linguetta a
. . . . . . . . . . . . . . . . . . 5,7 cm x 3 cm (due lati) x 2 pz./ 2 cm a cupola x 2 pz.
molla ed inserire il filo nel modo visto nella figura seguente.
Impedenza . . . . . . . . . . . . . . . . . . . . . . . . . . . . . . . . . . . . . . . . . . . . . .8 Ω
Lasciare andare la linguetta per fermare il filo.
Gamma di frequenza . . . . . . . . . . . . . . . . . . . . . . . . Da 170 Hz a 32 kHz
Sensibilità . . . . . . . . . . . . . . . . . . . . . . . . . . . . . .76 dB (82 dB* in totale)
Rosso (+)
Potenza in ingresso massima . . . . . . . . . . . . . . . . . . . . . . . . . . . . 100 W
Riga rossa
Frequenza di crossover . . . . . . . . . . . . . . . . . . . . . . . . . . . . . . . . 1,5 kHz
Nero (–)
Dimensioni esterne
Orientamento orizzontale
. . . . . . . . . . . . . . . . . . . . . .207 (L) mm x 100 (A) mm x 100 (P) mm
Orientamento verticale . . . .100 (L) mm x 225 (A) mm x 100 (P) mm
Peso. . . . . . . . . . . . . . . . . . . . . . . . . . . . . . . . . . . . . . . . . . . . . . . . . .0,4 kg
Accessori in dotazione
Base
. . . . . . . . . . . . . . . . . . . . . . . . . . . . . . . . . . . . . . . . . . . . . . . . . . . . .2
2 Collegare le estremità dei cavi ai terminali di uscita dei
Braccio di supporto . . . . . . . . . . . . . . . . . . . . . . . . . . . . . . . . . . . . . . . .2
diffusori dell’amplificatore. Per maggiori dettagli, consultare
Staffa. . . . . . . . . . . . . . . . . . . . . . . . . . . . . . . . . . . . . . . . . . . . . . . . . . . . .2
il manuale del proprio amplificatore.
Vite (testa autobloccante). . . . . . . . . . . . . . . . . . . . . . . . . . . . . . . . . . .2
Vite (testa piana). . . . . . . . . . . . . . . . . . . . . . . . . . . . . . . . . . . . . . . . . . .4
ATTENZIONE
Dado esagonale . . . . . . . . . . . . . . . . . . . . . . . . . . . . . . . . . . . . . . . . . . .2
• Questi terminali contengono un voltaggio PERICOLOSO. Per
Tenuta . . . . . . . . . . . . . . . . . . . . . . . . . . . . . . . . . . . . . . . . . . . . . . . . . . . .2
Scheda di garanzia (solo modello europeo). . . . . . . . . . . . . . . . . . . . . .1
evitare il rischio di folgorazioni nel collegare o scollegare i cavi
Istruzioni per l’uso (questo documento)
dei diffusori, scollegare il cavo di alimentazione prima di
toccare parti non isolate.
S-SLW500
• Dopo aver rimesso a posto i tappi, tirare leggermente i cavi per
Cassa. . . . . . . . . . . . . . . . . . . . . . . . . . . . . . .Tipo bass-reflex da scaffale
controllare che siano ben collegati ai rispettivi terminali.
Configurazione . . . . . . . . . . . . . . . . . . . . . . . . . . . . . . . . . cono da 16 cm
Collegamenti scadenti possono causare rumore ed
Impedenza . . . . . . . . . . . . . . . . . . . . . . . . . . . . . . . . . . . . . . . . . . . . . .4 Ω
interruzioni del suono.
Gamma di frequenza . . . . . . . . . . . . . . . . . . . . . . . . .Da 35 Hz a 2,0 kHz
• Se i conduttori dei cavi fuoriescono dai terminali ed entrano in
Sensibilità . . . . . . . . . . . . . . . . . . . . . . . . . . . . . . . . . . . . . . . . . . . . .78 dB
contatto l’uno con l’altro, il carico posto sul ricevitore è
Potenza in ingresso massima . . . . . . . . . . . . . . . . . . . . . . . . . . . . 100 W
eccessivo. Questo può impedirne il funzionamento o
Dimensioni esterne
addirittura danneggiarlo.
Orientamento orizzontale
. . . . . . . . . . . . . . . . . . . . . . . .435 (L) mm x 121 (A) mm x 360 (P) mm
• Se si usano dei diffusori collegati ad un ricevitore, non
Orientamento verticale
otterrete un normale effetto stereo se la polarità (+, –) di uno
. . . . . . . . . . . . . . . . . . . . . . 108,5 (L) mm x 435 (A) mm x 360 (P) mm
dei diffusori (destro o sinistro) viene invertita.
Peso. . . . . . . . . . . . . . . . . . . . . . . . . . . . . . . . . . . . . . . . . . . . . . . . . .4,5 kg
Accessori in dotazione
Cavo dei diffusori (3 m) . . . . . . . . . . . . . . . . . . . . . . . . . . . . . . . . . . . . . .1
Cuscinetti antiscivolamento . . . . . . . . . . . . . . . . . . . . . . . . . . . . . . . . . .4
Uso (S-HV600B/S-HV500-LR)
Tenuta . . . . . . . . . . . . . . . . . . . . . . . . . . . . . . . . . . . . . . . . . . . . . . . . . . . .4
Scheda di garanzia (solo modello europeo). . . . . . . . . . . . . . . . . . . . . .1
Dato che i S-HV600B/S-HV500-LR sono progettati per essere
diffusori satellite compatti, se ne raccomanda l’uso insieme ad un
Nota
subwoofer per poter produrre un suono su di una gamma
completa. In tal caso, regolare l’amplificatore (o ricevitore) su
• L’S-HV500-LR viene spedito con un dotazione di due diffusori
diffusori “piccolo” e la frequenza di crossover su 200 Hz.
per confezione.
• I dati tecnici ed il design sono soggetti a modifiche senza
preavviso a causa di migliorie.
Dati tecnici
* Questi diffusori emettono suono da due lati, e l’uscita viene
quindi raddoppiata. Il volume è equivalente a 82 dB prodotti da
diffusori normali.
S-HV600B
Cassa . . . . . . . . . . . . . . . . . . . . . . . . . . . . . . . . . . . . . . . . . . . . . . . .Chiusa
© 2011 PIONEER CORPORATION.
Configurazione . . . . . . . . . . . . . . . . . . . . . . . . . . . . . . . . . . . . . . . . a 2 vie
Tutti i diritti riservati.
Woofer/tweeter
. . . . . . . . . . . . . . . . . 5,7 cm x 3 cm (due lati) x 4 pz. / 2 cm a cupola x 4 pz.
Impedenza . . . . . . . . . . . . . . . . . . . . . . . . . . . . . . . . . . . . . . . . . . . . . .8 Ω
Gamma di frequenza . . . . . . . . . . . . . . . . . . . . . . . . Da 130 Hz a 32 kHz
Sensibilità . . . . . . . . . . . . . . . . . . . . . . . . . . . . . .76 dB (82 dB* in totale)
Potenza in ingresso massima . . . . . . . . . . . . . . . . . . . . . . . . . . . . 100 W
Frequenza di crossover . . . . . . . . . . . . . . . . . . . . . . . . . . . . . . . . 1,5 kHz
Dimensioni esterne . . . . . . . . . . .900 (L) mm x 66 (A) mm x 93 (P) mm
Peso. . . . . . . . . . . . . . . . . . . . . . . . . . . . . . . . . . . . . . . . . . . . . . . . . .1,7 kg
Accessori in dotazione
Staffa . . . . . . . . . . . . . . . . . . . . . . . . . . . . . . . . . . . . . . . . . . . . . . . . . . . . .2
Cuscinetti antiscivolamento . . . . . . . . . . . . . . . . . . . . . . . . . . . . . . . . . .2
Supporti per fili . . . . . . . . . . . . . . . . . . . . . . . . . . . . . . . . . . . . . . . . . . . . .4
Scheda di garanzia (solo modello europeo). . . . . . . . . . . . . . . . . . . . . .1
Istruzioni per l’uso (questo documento)
8
It

Per il modello europeo
Italiano
9
It
Se si vuole eliminare questo prodotto, non gettarlo insieme ai rifiuti domestici. Esiste un sistema di raccolta differenziata in conformità
alle leggi che richiedono appositi trattamenti, recupero e riciclo.
I privati cittadini dei paesi membri dell’UE, di Svizzera e Norvegia, possono restituire senza alcun costo i loro prodotti elettronici usati ad appositi
servizi di raccolta o a un rivenditore (se si desidera acquistarne uno simile).
Per i paesi non citati qui sopra, si prega di prendere contatto con le autorità locali per il corretto metodo di smaltimento.
In questo modo, si è sicuri che il proprio prodotto eliminato subirà il trattamento, il recupero e il riciclo necessari per prevenire gli effetti
potenzialmente negativi sull’ambiente e sulla vita dell’uomo.
K058b_A1_It
S-HV600B_S-HV500-LR_En.fm 9 ページ 2011年4月12日 火曜日 午後4時25分

S-HV600B_S-HV500-LR_En.fm 2 ページ 2011年4月12日 火曜日 午後5時8分
Hartelijk dank voor de aanschaf van dit Pioneer product.
Lees de handleiding aandachtig door zodat u volledig op de hoogte bent van de bediening en werking. Bewaar de handleiding op een veilige
plaats voor eventuele naslag in de toekomst.
S-SLW500
• Dit product is een passieve subwoofer en moet gecombineerd
Voordat u begint
worden met de VSX-S300 of andere geluidsapparatuur die is
uitgerust met een ingebouwde subwooferversterker.
S-HV600B/S-HV500-LR
• Dit luidsprekersysteem heeft een impedantie van 4 Ω en mag
• Dit luidsprekersysteem heeft een impedantie van 8 Ω en mag
alleen op een versterker worden aangesloten die ontworpen is
alleen op een versterker worden aangesloten die ontworpen is
voor een belastingsimpedantie van 4 Ω (de
voor een belastingsimpedantie van 8 Ω (de
luidsprekeraansluitingen op de versterker moeten duidelijk
luidsprekeraansluitingen op de versterker moeten duidelijk
voorzien zijn van het opschrift “4 Ω”).
voorzien zijn van het opschrift “8 Ω”).
Om beschadiging van de luidsprekers als gevolg van
Om beschadiging van de luidsprekers als gevolg van
overbelasting te voorkomen, dient u de volgende punten in
overbelasting te voorkomen, dient u de volgende punten in
acht te nemen:
acht te nemen:
•De stroomtoevoer naar de luidsprekers mag het maximaal
•De stroomtoevoer naar de luidsprekers mag het maximaal
toelaatbare ingangsvermogen niet overschrijden.
toelaatbare ingangsvermogen niet overschrijden.
•Bij gebruik van een grafische equalizer voor het versterken
•Bij gebruik van een grafische equalizer voor het versterken
van de hoge tonen, mag het volume van de versterker niet te
van de hoge tonen, mag het volume van de versterker niet te
hoog worden ingesteld.
hoog worden ingesteld.
•Probeer niet om een versterker met laag vermogen geluid
•Probeer niet om een versterker met laag vermogen geluid
met overmatig hoog volume te laten weergeven (de
met overmatig hoog volume te laten weergeven (de
harmonische vervorming van de versterker zal toenemen,
harmonische vervorming van de versterker zal toenemen,
wat kan resulteren in beschadiging van de luidspreker).
wat kan resulteren in beschadiging van de luidspreker).
Let op: opstelling
Let op: opstelling
• Plaats de luidspreker niet op een onstabiele ondergrond, want
• Plaats de luidspreker niet op een onstabiele ondergrond, want
dan kan de luidspreker vallen en beschadigingen of letsel
dan kan de luidspreker vallen en beschadigingen of letsel
veroorzaken.
veroorzaken.
• Schakel de AV-apparatuur uit, haal de stekker uit het
• Schakel de AV-apparatuur uit, haal de stekker uit het
stopcontact en raadpleeg de handleidingen voordat u begint
stopcontact en raadpleeg de handleidingen voordat u begint
met het aansluiten van apparatuur. Zorg dat u de juiste
met het aansluiten van apparatuur. Zorg dat u de juiste
aansluitkabels gebruikt.
aansluitkabels gebruikt.
• Bevestig de luidspreker niet aan de muur of het plafond, want
• Als u van plan bent om de luidsprekers aan de muur te
dan kan de luidspreker letsel veroorzaken als deze zou vallen.
bevestigen, moet u eerst controleren of de muur het gewicht
• Monteer de luidsprekers niet boven u aan het plafond of aan
van de luidsprekers kan dragen (S-HV600B: 1,7 kg, S-HV500-
een muur.
LR: 0,4 kg). Als u niet weet of de muur het gewicht van de
luidsprekers kan dragen, dient u een deskundige te
Let op: gebruik
raadplegen. Wanneer de luidsprekers aan een te zwakke muur
worden bevestigd, ontstaat een bijzonder gevaarlijke situatie
• Laat de luidspreker niet gedurende langere tijd vervormd
aangezien de luidsprekers kunnen vallen met ernstig letsel tot
geluid weergeven. Dit kan resulteren in beschadiging van de
gevolg.
luidspreker en bovendien bestaat er kans op brand.
• Controleer na de installatie of de luidsprekers stevig zijn
• Zet geen zware of grote voorwerpen op de luidspreker.
bevestigd. Voer ook naderhand regelmatig
Hierdoor kan de luidspreker vallen met beschadigingen of
veiligheidscontroles uit zodat u zeker weet dat de luidsprekers
letsel tot gevolg.
nog steeds degelijk zijn bevestigd.
• Ga niet op de luidspreker zitten of staan en laat ook niet
kinderen op de luidspreker spelen. Hierdoor kan de
Let op: gebruik
luidspreker vallen met beschadigingen of letsel tot gevolg.
• Laat de luidspreker niet gedurende langere tijd vervormd
• Het luidsprekerfront kan niet worden verwijderd. Probeer het
geluid weergeven. Dit kan resulteren in beschadiging van de
front niet met kracht te verwijderen want dan wordt het front
luidspreker en bovendien bestaat er kans op brand.
beschadigd.
• Zet geen zware of grote voorwerpen op de luidspreker.
Hierdoor kan de luidspreker vallen met beschadigingen of
Pioneer kan niet aansprakelijk worden gesteld voor
letsel tot gevolg.
ongevallen of schade die het gevolg zijn van onjuiste
• Sluit deze luidsprekers niet op andere apparatuur aan dan een
montage, verkeerd gebruik of wijziging van het product, of
AV-versterker of andere geluidsapparatuur aangezien dit kan
als gevolg van natuurrampen.
resulteren in een defect.
• Dit product is uitgerust met automatische
regressietechnologie om de luidsprekers te beschermen. Als
de luidsprekers geen geluid meer weergeven omdat het
signaal te sterk is, verlaagt u het volume op de versterker en
wacht dan een paar seconden. Het beveiligingscircuit zal
zichzelf weer automatisch uitschakelen.
2
Nl

Schoonmaken van de luidsprekerbehuizing
Bij normaal gebruik is het voldoende als u de luidspreker af en toe
Kenmerken
met een droge doek afveegt. Voor het verwijderen van hardnekkig
vuil kunt u de doek bevochtigen met een neutraal
reinigingsmiddel dat vijf- of zesmaal verdund is met water. Wring
• Het geluid komt uit beide zijden (roosternet) van de
de doek goed uit voordat u begint. Gebruik geen meubelwas of
luidspreker.
sterke reinigingsmiddelen.
• Deze luidspreker biedt een volle geluidsweergave in alle
Gebruik nooit witte spiritus, benzine, insecticidenspray of andere
richtingen. In tegenstelling tot normale luidsprekers is bij de
chemische middelen op of in de buurt van de luidsprekers, want
hieronder afgebeelde opstelling de luidspreker naar “voor”
deze kunnen de afwerking aantasten.
gericht. Om te genieten van een optimale geluidskwaliteit,
draait u de luidspreker zodanig dat de “voor” zijde naar uw
luisterplaats is gericht.
Inhoud van de doos
S-HV500-LR: Horizontale opstelling
S-HV600B
•Beugel x 2
• Antislipkussentjes x 2
• Kabelhouders x 4
• Garantiebewijs x 1 (alleen Europese model)
• Handleiding (dit document)
S-HV500-LR
‹Aanzicht van voorzijde›
S-HV500-LR: Verticale opstelling
• Voet x 2
• Standaardarm x 2
Nederlands
•Beugel x 2
• Schroef (drukkingskop) x 2
• Schroef (platte kop) x 4
• Zeskantmoer x 2
•Afdichting x 2
• Garantiebewijs x 1 (alleen Europese model)
• Handleiding (dit document)
S-SLW500
• Luidsprekersnoer (3 m) x 1
• Antislipkussentjes x 4
•Afdichting x 4
• Garantiebewijs x 1 (alleen Europese model)
3
Nl
‹Aanzicht van voorzijde›
S-HV600B_S-HV500-LR_En.fm 3 ページ 2011年4月12日 火曜日 午後5時8分

Montage
S-HV600B
1 Breng de antislipkussentjes op de onderkant van de poot
aan.
Verticale opstelling
1 Lijn de verticale montagesteun uit met het gat in de voet.
2 Maak de verticale montagesteun met behulp van de
schroef en zeskantmoer voor verticale montage vast aan de
voet. Zorg dat de zeskantmoer in de zeskantgroef in de
onderkant van de voet valt.
S-HV500-LR
Horizontale opstelling
1 Steek het luidsprekersnoer door het gat in de voet.
3 Steek het luidsprekersnoer door het gat in de verticale
montagesteun.
2 Lijn de draaistoplip uit met het gat in de voet.
4 Lijn de draaistoplip van de luidspreker uit met het gat in
de verticale steun.
3 Maak de luidspreker met de schroef voor horizontale
montage via de achterkant van de voet vast aan de voet.
5 Maak de luidspreker met de schroef voor verticale
montage vast aan de verticale steun.
4 Plaats de luidspreker zodanig dat het luidsprekersnoer
via de groef in de voet loopt.
4
Nl
Draaistoplip
Schroef voor
horizontale montage
Uitsparing voor snoer
Schroef voor
verticale montage
Zeskantmoer voor
verticale montage
Afdichting
Draaistoplip
Schroef voor verticale montage
S-HV600B_S-HV500-LR_En.fm 4 ページ 2011年4月12日 火曜日 午後5時8分

S-SLW500
Installatie van de subwoofer
Installatie
De subwoofer kan verticaal of horizontaal worden opgesteld. Bij
het verlaten van de fabriek is het apparaat gereedgemaakt voor de
horizontale opstelling.
Installatieplaats
Installatievoorbeeld: Voor de S-HV600B en S-
SLW500
Voor de verticale installatie
1 De voetjes zijn met kruiskopschroeven bevestigd;
gebruik een kruiskopschroevendraaier om de schroeven te
verwijderen.
2 Breng de bijgeleverde afdichtingen aan op de plaats
waar de voetjes waren om de schroefgaten af te dekken.
3 Breng de vier antislipkussentjes aan op de vier hoeken
van de kant waarop de subwoofer wordt geplaatst. Houd er
rekening mee dat de antislipkussentjes niet op iedere
ondergrond effectief zijn, dus vermijd het gebruik op erg
gladde plaatsen.
Installatievoorbeeld: Voor de S-HV500-LR en S-
SLW500
Nederlands
S-HV600B
• De geluiden die via de luidsprekers worden weergegeven,
• U moet de bovenstaande werkzaamheden niet uitvoeren
worden op verscheidene manieren beïnvloed door de
terwijl het apparaat schuin wordt gehouden. Leg het apparaat
omstandigheden in de luisterruimte.
op de zijkant op een zachte doek of ander materiaal om
• Dit luidsprekersysteem is niet magnetisch afgeschermd. Dit
krassen te voorkomen.
betekent dat er kleurvervorming kan optreden als de
luidspreker te dicht bij een beeldbuistelevisie staat opgesteld.
Als dit het geval is, moet u de luidspreker verder van de
televisie vandaan plaatsen. Bovendien mogen voorwerpen die
gemakkelijk worden beïnvloed door magnetische velden
(magnetische mediakaarten, polshorloges, videocassettes
enz.) niet in de buurt van de luidspreker worden gelegd.
5
Nl
Stap 1
Voetje
Stap 2
Afdichting
Stap 3
Antislipkussentjes
S-HV600B_S-HV500-LR_En.fm 5 ページ 2011年4月12日 火曜日 午後5時8分
LET OP

• Als er veel nagalm in de kamer is, raden wij u aan dikke kleden
aan de wanden te hangen en/of een vloerkleed op de grond te
leggen om het geluid te absorberen. Voor een optimaal
• Wanneer het luidsprekersysteem in een TV-rek of AV-rek wordt
resultaat moet u de wanden volledig bedekken.
geïnstalleerd, is het mogelijk dat het rek of de andere
geluidsapparatuur gaat trillen als gevolg van de trillingen die
door de luidspreker worden opgewekt. Let op dat de planken
in het rek of de andere apparatuur niet verschuift door de
• Opstelling van de luidsprekers op een onstabiele plaats is erg
trillingen van de luidspreker.
gevaarlijk en moet worden vermeden.
• Plaats geen disc-spelers (DVD- of CD-spelers) op de
• Zet de luidsprekers niet op een televisie of op een andere
subwoofer want dan is het mogelijk dat er geluid wordt
onstabiele plaats. De luidsprekers kunnen vallen met
overgeslagen als gevolg van de trillingen.
beschadigingen of letsel tot gevolg.
• Zorg ervoor dat er minimaal 10 cm vrije ruimte tussen de
S-HV500-LR
achterkant van het apparaat en een eventuele muur is; bij een
• De geluiden die via de luidsprekers worden weergegeven,
verticale opstelling moet tevens minimaal 10 cm vrije ruimte
worden op verscheidene manieren beïnvloed door de
tussen de linker zijkant en een eventuele muur zijn. Als er niet
omstandigheden in de luisterruimte.
voldoende vrije ruimte is, kan de prestatie van het apparaat
afnemen of kan het apparaat defect raken.
• De luidsprekers kunnen verticaal of horizontaal worden
opgesteld.
• Aangezien het luidsprekersysteem erg zwaar is, is opstelling
op een onstabiele plaats erg gevaarlijk en moet u dit ook
• Bij gebruik van een platte televisie plaatst u de luidsprekers op
vermijden. Wanneer de luidspreker valt, kan deze
een afstand van minstens 5 cm vanaf de zijkanten van de
beschadigingen of letsel veroorzaken.
televisie.
• Wanneer u een beeldbuistelevisie hebt, moet u de
luidsprekers 10 cm van de televisie vandaan plaatsen.
Aangezien deze luidsprekers een geringe lekkage van
De luidsprekers aan de muur
magnetische flux hebben, kan er wat kleurvervorming in het
beeld optreden afhankelijk van de installatie-omstandigheden.
bevestigen
In dit geval schakelt u de televisie uit en wacht dan 15 tot 30
minuten. Als de kleurvervorming blijft bestaan, zet u de
(S-HV600B/S-HV500-LR)
luidsprekers verder van de televisie vandaan.
• Als er veel nagalm in de kamer is, raden wij u aan dikke kleden
Alvorens te bevestigen
aan de wanden te hangen en/of een vloerkleed op de grond te
• Houd er rekening mee dat het luidsprekersysteem zwaar is en
leggen om het geluid te absorberen. Voor een optimaal
dat de schroeven door het gewicht van de luidspreker los
resultaat moet u de wanden volledig bedekken.
kunnen gaan zitten, of dat het materiaal van de muur niet
geschikt is om het gewicht van de luidspreker te dragen,
waardoor de luidspreker valt. Controleer of de muur waaraan
u de luidspreker wilt bevestigen, sterk genoeg is om het
• Opstelling van de luidsprekers op een onstabiele plaats is erg
gewicht van de luidspreker te dragen. Bevestig de luidspreker
gevaarlijk en moet worden vermeden.
niet aan een triplexwand of een andere dergelijke muur.
• Zet de luidsprekers niet op een televisie of op een andere
• Bevestigingsschroeven zijn niet bijgeleverd. Gebruik
onstabiele plaats. De luidsprekers kunnen vallen met
schroeven die geschikt zijn voor het materiaal van de muur en
beschadigingen of letsel tot gevolg.
die het gewicht van de luidspreker kunnen dragen.
S-SLW500
• De subwoofer geeft zeer lage geluiden in mono weer,
gebruikmakend van het feit dat het menselijk gehoor weinig
• Als u niet zeker bent van de eigenschappen en de sterkte van
richtingsgevoeligheid heeft voor geluiden van lage frequentie.
de muur, roep dan de hulp van een vakman in.
Dit betekent dat de subwoofer op veel verschillende plaatsen
kan worden opgesteld, maar als de subwoofer te ver weg staat,
• Pioneer kan niet aansprakelijk worden gesteld voor ongevallen
is het mogelijk dat de geluiden van de subwoofer en de andere
of schade die het gevolg zijn van een verkeerde bevestiging.
luidsprekers onsamenhangend overkomen. De intensiteit van
S-HV600B
het geluid van de subwoofer kan worden aangepast door de
1 Gebruik een kruiskopschroevendraaier om de twee
afstand tot de muur te veranderen.
schroeven te verwijderen waarmee de standaard aan de
• De linker en rechter voorluidspreker moeten ongeveer 1,8 tot
luidspreker is bevestigd.
2,7 meter uit elkaar staan. De luidsprekers moeten op gelijke
afstand van de televisie staan en op gelijke hoogte van de
vloer.
• Er zijn luidsprekerstandaards los verkrijgbaar waarmee u de
surroundluidsprekers zo gunstig mogelijk kunt opstellen op
oorhoogte of een weinig hoger.
• Het surroundeffect is zwak als de surroundluidsprekers zich
op erg grote afstand van de luisterplaats bevinden.
• De subwoofer is niet magnetisch afgeschermd en mag
daarom niet in de buurt van een TV of monitor worden
geplaatst, aangezien de interactie van magnetische
materialen vervorming van de kleuren op het scherm kan
veroorzaken. Voorwerpen die gemakkelijk beïnvloed worden
door magnetische velden (magnetische mediakaarten,
polshorloges, videocassettes enz.) mogen niet in de buurt van
de subwoofer worden gelegd.
6
Nl
LET OP
LET OP
LET OP
LET OP
S-HV600B_S-HV500-LR_En.fm 6 ページ 2011年4月12日 火曜日 午後5時8分

2 Gebruik de twee schroeven die in stap 1 zijn verwijderd
S-HV500-LR
om de muurbevestigingsbeugel aan de luidspreker te
Aan de muur bevestigen
bevestigen.
Om de luidspreker aan de muur te bevestigen, gebruikt u eerst de
schroef voor verticale montage om de muurbevestigingsbeugel
aan de luidspreker vast te maken en daarna bevestigt u de beugel
aan de muur.
3 Bevestig de bijgeleverde kabelhouders op de afgebeelde
wijze aan de bovenkant van de luidspreker en maak de
kabels hierin vast.
Wanneer een luidspreker aan de muur wordt bevestigd, dient u
vooraf te controleren of de muur sterk genoeg is om de
bevestigingsschroeven (los verkrijgbaar) volledig te kunnen
vastdraaien en de muur het gewicht van de luidspreker kan
dragen.
Wanneer de muur niet sterk genoeg is of het materiaal van de
muur niet geschikt is, kan de muur het gewicht van de luidspreker
niet dragen, waardoor het mogelijk is dat de luidspreker valt.
Maak twee gaten in de muur op 95 mm afstand van elkaar.
4 Bevestig de luidspreker aan de muur.
Nederlands
• Wanneer de luidspreker aan een muur wordt bevestigd, kan
door het gewicht van de luidspreker of de montagemethode de
kans bestaan dat de luidspreker kantelt of valt. Wees
voorzichtig om een ongeluk te voorkomen.
Maak twee gaten in de muur op 818 mm afstand van elkaar.
• Zorg er bij de installatie voor dat een plaats wordt gekozen die
sterk genoeg is om het gewicht van de luidspreker te dragen.
Als u niet weet of de muur het gewicht van de luidsprekers kan
dragen, dient u een deskundige te raadplegen.
• Pioneer kan niet aansprakelijk worden gesteld voor
beschadigingen of letsel die het gevolg zijn van een
gebrekkige of onjuiste montage, wijziging van het product, of
als gevolg van natuurrampen.
7
Nl
Druk totdat u een “klikgeluid” hoort.
Muur-
bevestigings-
schroeven
(los
verkrijgbaar)
*
5
mm
10
mm
6 mm tot 8 mm
*
Muurbevestigingsschroeven zijn niet bijgeleverd. Koop
geschikte schroeven overeenkomstig het type muur en het
gewicht van de luidspreker.
818 mm
S-HV600B_S-HV500-LR_En.fm 7 ページ 2011年4月12日 火曜日 午後5時8分
5
mm
10
mm
Muur-
bevestigings-
schroeven
(los
verkrijgbaar)
*
95
mm
6 mm tot 8 mm
*
Muurbevestigingsschroeven zijn niet bijgeleverd. Koop
geschikte schroeven overeenkomstig het type muur en het
gewicht van de luidspreker.
LET OP

Wanneer de luidspreker op een
2 Sluit het andere uiteinde van het snoer aan op de
luidspreker-uitgangsaansluitingen van de versterker
luidsprekerstandaard wordt gemonteerd
(raadpleeg de handleiding van de versterker voor verdere
Gebruik de bijgeleverde beugel wanneer de luidspreker op een
informatie).
andere dan de bijgeleverde luidsprekerstandaard of voet wordt
gemonteerd.
Gebruik M5-schroeven voor de installatie. Bevestigingsschroeven
zijn niet bijgeleverd. Volg de instructies die bij de gebruikte
• Op de luidsprekeraansluitingen staat een GEVAARLIJKE
luidsprekerstandaard of voet worden geleverd.
spanning. Om een elektrische schok te voorkomen bij het
aansluiten of losmaken van de luidsprekersnoeren, moet u de
stekker uit het stopcontact halen voordat u niet-geïsoleerde
onderdelen aanraakt.
• Nadat u de snoeren hebt aangesloten, trekt u lichtjes aan de
snoeren om te controleren of deze stevig vastzitten. Een slecht
contact kan resulteren in storingen of onderbrekingen in het
geluid.
• Als de draden uit de aansluitingen steken en met elkaar in
contact komen, zal dit een extra belasting voor de receiver
betekenen. Het is mogelijk dat de receiver dan niet meer werkt
en deze kan zelfs worden beschadigd.
• Als een luidsprekerpaar met de receiver is verbonden, maar
een van de luidsprekers (links of rechts) met omgekeerde
polariteit (+, –) is aangesloten, zal er geen normaal stereo-
effect worden verkregen.
Aansluitingen
Aansluiten van het snoer
Gebruik (S-HV600B/S-HV500-LR)
S-HV600B/S-HV500-LR
1 Schakel de versterker uit.
Aangezien de S-HV600B/S-HV500-LR zijn ontworpen als compacte
• Verbind de draad met de gekleurde markering met de rode (+)
satellietluidsprekers, verdient het aanbeveling deze luidsprekers
aansluiting; verbind de niet gemarkeerde draad met de (–)
in combinatie met een subwoofer te gebruiken om een
aansluiting.
volwaardige basweergave te verkrijgen. In dit geval zet u de
luidsprekerinstelling van de versterker (receiver) op “klein” en de
wisselfrequentie op 200 Hz.
2 Sluit het andere uiteinde van het snoer aan op de
luidspreker-uitgangsaansluitingen van de versterker
(raadpleeg de handleiding van de versterker voor verdere
informatie).
S-SLW500
1 Bevestig een uiteinde van het bijgeleverde
luidsprekersnoer aan de achterkant van de luidspreker.
• Verbind de draad met de gekleurde markering met de rode (+)
aansluiting; verbind de niet gemarkeerde draad met de (–)
aansluiting. Druk op de lipje van de veerklem en steek de
draad naar binnen, zoals hieronder is aangegeven. Laat het
lipje los om de draad vast te zetten.
8
Nl
60 mm
S-HV600B_S-HV500-LR_En.fm 8 ページ 2011年4月12日 火曜日 午後5時8分
LET OP
Naar plus
(+)
zijde (rood)
Rode huls
Naar min
(–)
zijde (zwart)
Rood (+)
Rood gekleurde
Zwart (–)
markering

