Pioneer VSX-1025-K: Подключение оборудования
Подключение оборудования: Pioneer VSX-1025-K

Глава 3:
Подключение оборудования
Этот ресивер предлагает широкие возможности подключения, но это не так сложно, как может
показаться.
На этой странице описаны компоненты, которыми можно дополнить используемую
систему домашнего кинотеатра.
English
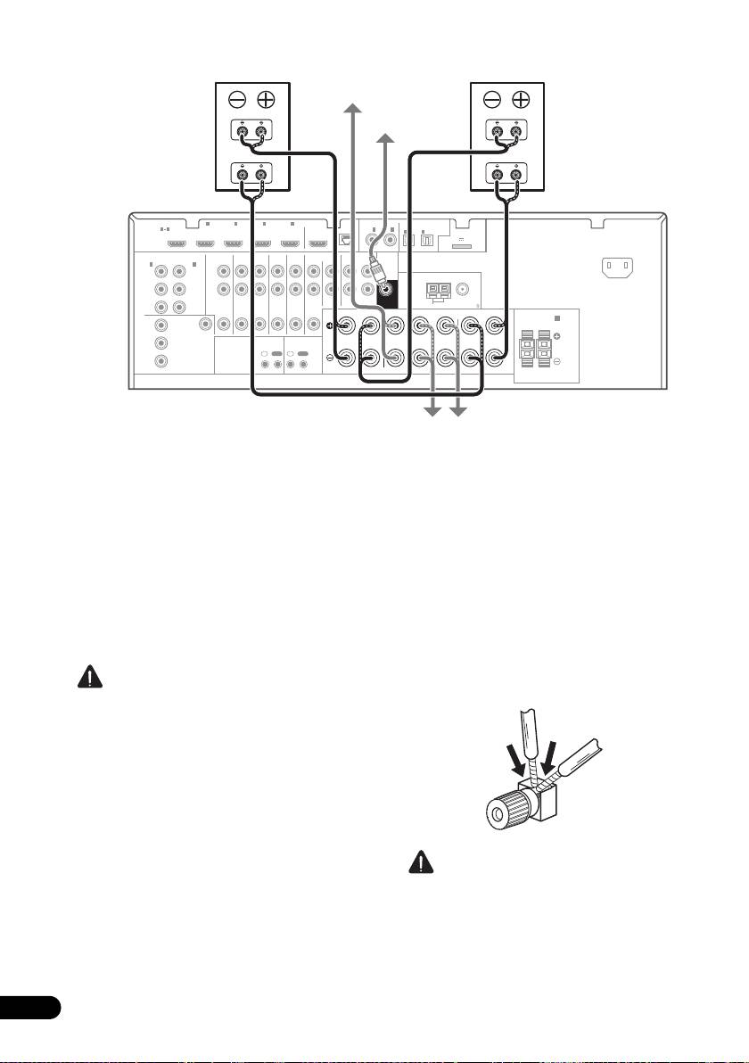
Внимание
• На рисунке показан VSX-1020, однако для VSX-1025 и VSX-920 используются одинаковые
подключения, если нет оговорок.
Français
Задняя панель
Italiano
Deutsch
Nederlands
Español
15
Ru
HDMI
BD IN IN IN IN IN
1
2 3 4
OUT
LAN
COAXIAL
ASSIGNABLE
OPTICAL
ASSIGNABLE
1 4
(
10/100
)
IN
1
IN
2
ASSIGNABLE
IN
1
IN
2
ADAPTER PORT
(
OUTPUT 5 V 100 mA MAX
)
AC IN
(
DVD
)
(
CD
)
(
TV/SAT
)
(
DVR/BDR
)
COMPONENT VIDEO
AUDIO
IN
1
ASSIGNABLE
IN
2
PRE OUT
(
DVD
)
(
DVR/BDR
)
Y
Y
L
ANTENNA
P
B
P
B
R
ZONE 2
DVR/BDR
DVD
TV/SAT
VIDEO
CD
CD-R/TAPE
SUBWOOFER
P
R
P
R
OUT
OUT IN
IN
IN
IN
OUT ININ
AM LOOP
FM UNBAL 75
FRONT CENTER SURROUND
SURROUND BACK
R
LR LR L
(
Single
)
SPEAKERS
MONITOR
FRONT HEIGHT/WIDE/
B
Y
OUT
RL
VIDEO
P
B
IR CONTROL
IN
OUT
IN
OUT
P
R
SPEAKERS
A
VSX-1020/VSX-1025
BD IN IN IN IN
1
2 3
OUT
LAN
COAXIAL
ASSIGNABLE
OPTICAL
(
10/100
)
IN
1
ASSIGNABLE
IN
1
IN
2
HDMI
ADAPTER PORT
ASSIGNABLE
(
OUTPUT 5 V 100 mA MAX
)
1 3
AC IN
(
DVD
)
(
TV/SAT
)
(
DVR/BDR
)
COMPONENT VIDEO
AUDIO
IN
1
ASSIGNABLE
IN
2
PRE OUT
(
DVD
)
(
DVR/BDR
)
Y
Y
L
ANTENNA
P
B
P
B
R
ZONE 2
DVR/BDR
DVD
TV/SAT
VIDEO 1
CD
CD-R/TAPE
SUBWOOFER
P
R
P
R
OUT
OUT IN
IN
IN
IN
OUT ININ
AM LOOP
FM UNBAL 75
FRONT CENTER SURROUND
SURROUND BACK
SPEAKERS
R
LR LR L
(
Single
)
MONITOR
FRONT HEIGHT/WIDE/
B
Y
OUT
RL
VIDEO
P
B
IR CONTROL
IN
OUT
IN
OUT
P
R
SPEAKERS
A
VSX-920
VSX-1025_SYXCN_Ru.book 15 ページ 2010年3月18日 木曜日 午前10時36分

VSX-1025_SYXCN_Ru.book 16 ページ 2010年3月18日 木曜日 午前10時36分
ОСТОРОЖНО
• Перед выполнением или изменением
подключений, отключите питание и
отсоедините кабель питания от
электророзетки. Включение должно быть
последним шагом.
Внимание
• Функции входа ниже устанавливаются по
умолчанию для различных входных
терминалов ресивера. Для переключения
значений при использовании других
подключений см. Меню Input Setup на
стр. 42.
Терминалы входа
Функция
входа
Digital HDMI Component
DVD COAX-1 IN 1
BD (BD)
TV/SAT OPT-1
DVR/BDR OPT-2 IN 2
HDMI 1
(HDMI-1)
HDMI 2
(HDMI-2)
HDMI 3
(HDMI-3)
a
HDMI 4
(HDMI-4)
a
HDMI 5
(HDMI-5)
(передняя
панель)
a
CD COAX-2
a. Только VSX-1020/VSX-1025
16
Ru

[B] Акустическая система 9.1
(Передняя крайняя)
Выбор количества
• Настройка Speaker System:
громкоговорителей
Normal(SB/FW)
Это устройство позволит вам настраивать
различные акустические системы в
соответствии с числом громкоговорителей,
English
R
которое у вас есть.
FWR
L
• Обязательно подключите
громкоговорители к передним левому и
C
SR
правому каналам (L и R).
SW
• Также можно подключить только один из
FWL
Français
задних громкоговорителей объемного
SBR
звучания (SB) или ни одного.
SL
SBL
Выберите ниже один из планов от [A] до [E].
[A] Акустическая система 9.1
(Передняя верхняя)
На этом плане левый и правый верхние
громкоговорители, показанные на плане [A],
*Настройка по умолчанию
заменяются на левый и правый крайние
• Настройка Speaker System:
громкоговорители (FWL/FWR).
Normal(SB/FH)
Эта система объемного звучания производит
реалистичный звук в более обширной зоне.
FHR
Italiano
[C] Подключение 7.1-канальной
FHL
R
акустической системы и
громкоговорителей B
L
C
SR
•
Настройка
Speaker System: Speaker B
SW
Deutsch
SBR
SL
SBL
R
L
Nederlands
R
9.1-канальная система объемного звучания
C
SR
L
включает левый и правый передние
SW
громкоговорители (L/R), центральный
громкоговоритель (C), левый и правый
SBR
передние громкоговорители (FHL/FHR),
SL
левый и правый громкоговорители объемного
SBL
Español
звучания (SL/SR), левый и правый задние
громкоговорители объемного звучания (SBL/
SBR) и низкочастотный громкоговоритель
Данные подключения позволяют
(сабвуфер) (SW).
одновременно прослушивать 5.1-канальное
объемное звучание в основной зоне и
Эта система объемного звучания производит
стереофоническое воспроизведение того же
более реал
истичный звук сверху.
источника от громкоговорителей В. Те же
самые подключения также обеспечивают
7.1-канальное объемное звучание в основной
зоне при неиспользовании громкоговорителей
B.
17
Ru
Громкоговоритель B
VSX-1025_SYXCN_Ru.book 17 ページ 2010年3月18日 木曜日 午前10時36分

[D] Подключение 5.1-канальной
Внимание
акустической системы и передних
• Настройка Speaker System должна быть
двухканальных усилителей
выполнена при использовании любых
(Высококачественное объемное
подключений, показанных выше, за
звучание)
исключением [A] (см. Speaker system setting
• Настройка Speaker System: Front Bi-
(Настройка системы громкоговорителей)
Amp
на стр. 101).
Подключение двухканального усиления
• Звук не выходит одновременно из
передних громкоговорителей для
пе
редних верхних, передних крайних
высококачественного звука 5.1-канального
громкоговорителей, громкоговорителей B
объемного звучания.
и задних громкоговорителей объемного
звучания. Набор громкоговорителей может
быть разный, в зависимости от входного
сигнала или режима прослушивания.
R
Другие подключения
L
C
громкоговорителей
SW
• Можно выбрать нужную схему
подключения громкоговорителей, даже
если имеется менее 5.1-канальной
SR
акустической системы (за исключением
SL
передних левого/правого
громкоговорителей).
[E] Подключение 5.1-канальной
• Когда низкочастотный громкоговоритель
акустической системы и ZONE 2
не подключается, подключите
(Multi Zone)
громкоговорители с возможностью
• Настройка Speaker System: ZONE 2
воспроизведения низких частот к
переднему каналу. (Низкочастотный
Данные подключения позволяют
компонент низкочастотного
одновременно прослушивать 5.1-канальное
громкоговорителя воспроизводится от
объемное звучание в основной зоне и
передних громкоговорителей, что может
стереофоническое воспроизведение на другом
повредить громкоговорители.)
компоненте в ZONE 2. (Выбор устройств
• После подключения, обязательно
приема ограничен.)
выполните пр
оцедуру
автоматической настройки MCACC
(настройка среды
громкоговорителей).
Cм. Автоматическое выполнение
оптимальной звуковой настройки (Auto
MCACC) на стр.39
18
Ru
Front Bi-Amp
R
L
C
SW
SR
SL
R
L
Основная зона
Подзона
ZONE 2
VSX-1025_SYXCN_Ru.book 18 ページ 2010年3月18日 木曜日 午前10時36分

Размещение громкоговорителей
• Дл
я получения оптимального
Порядок замены громкоговорителей, которые
стереоэффекта расположите фронтальные
вы хотите подключить, см. на схеме ниже.
громкоговорители на расстоянии 2–3
метров друг от друга и на равном удалении
от телевизора.
• В случае расположения
громкоговорителей около ЭЛТ-
English
телевизора, используйте
громкоговорители магнитозащищенного
типа или располагайте громкоговорители
на достаточном расстоянии от ЭЛТ-
телевизора.
Français
• Если используется центральный
громкоговоритель, разместите передние
громкоговорители под большим углом.
Есл
и нет – под меньшим углом.
• Расположите центральный
• Размещайте громкоговорители объемного
громкоговоритель под телевизором или
звучания под углом 120° от центра. Если
над ним, чтобы звук центрального канала
вы, (1) используете задний
исходил от экрана телевизора. Кроме того,
громкоговоритель объемного звучания, и,
центральный громкоговоритель не должен
(2) не используете передние верхние
пересекать линию, образованную
громкоговорители / передние крайние
передним краем правого и левого
Italiano
громкоговорители, мы рекомендует
фронтальных громкоговорителей.
размещать громкоговоритель объемного
• Лучше всего поверните громкоговорители
звучания прямо рядом с собой.
в направлении точки прослушивания.
• Если вы собираетесь подключить только
Угол зависит от размера помещения. Дл
я
один задний гром
коговоритель объемного
более просторных помещений
звучания, размещайте его непосредственно
используйте меньший угол.
Deutsch
позади себя.
• Громкоговорители объемного звучания и
• Располагайте левый и правый передние
задние громкоговорители объемного
верхние громкоговорители
звучания следует размещать на высоте от
непосредственно над левым и правым
60 см дo 90 см над уровнем уха слушателя
передними громкоговорителями на
с небольшим наклоном вниз. Убедитесь в
Nederlands
расстоянии минимум 1 метр.
том, что громкоговорители не направлены
навстречу друг другу. Для формата DVD-
Некоторые советы по улучшению
Audio громкоговорители должны
качества звучания
находиться более за слушателем.
Pасположение громкоговорителей в комнате
• Ст
арайтесь не размещать
имеет большое влияние на качество звука.
Español
громкоговорители объемного звучания
Следующие рекомендации помогут добиться
дальше от слушателя, чем передние и
оптимального звучания вашей системы.
центральные. В противном случае может
• Сабвуфер можно поместить на полу. В
произойти ослабление эффекта объемного
идеальном случае другие
звучания.
громкоговорители во время
прослушивания должны располагаться на
уровне ушей. Расположение
громкоговорителей на полу (кроме
сабвуфера) или закрепление их высоко на
стене не рекомендуется.
19
Ru
SW
FHL
FHR
C
L
R
30 30
FWL
FWR
60
60
120 120
SL
SR
60
SBL
SB
SBR
VSX-1025_SYXCN_Ru.book 19 ページ 2010年3月18日 木曜日 午前10時36分

Разъемы громкоговорителей группы B:
Подключение
1 Скрутите оголенные жилы провода.
громкоговорителей
2 Откройте защитные выступы и
Подключение каждого громкоговорителя к
вставьте оголенный провод.
ресиверу предусматривает подключение к
3 Отпустите защитные выступы.
положительному (+) и отрицательному (–)
контактам. Убедитесь в том, что они совпадают
с терминалами на самих громкоговорителях.
ОСТОРОЖНО
• На контактах громкоговорителей имеется
ОПАСНОЕ ДЛЯ ЖИЗНИ напряжение.
Во избежание опасности поражения
Внимание
электрическим током при подключении
или отключении кабелей
• О подключении противоположных концов
громкоговорителей отсоединяйте кабель
кабелей громкоговорителей к самим
питания, прежде чем прикасаться к лю
бым
громкоговорителям см. документацию к
неизолированным деталям.
ним.
• Оголенные концы провода
• Для подключения низкочастотного
громкоговорителя должны быть
громкоговорителя используйте кабель
обязательно скручены и вставлены в
RCA. Подключение с помощью кабелей
контакт громкоговорителя до конца. Если
громкоговорителей невозможно.
любой из неизолированных проводов
громкоговорителя коснется задней панели,
ОСТОРОЖНО
это может вызвать отключение питания в
целях безопасности.
• Все громкоговорители должны быть
надежно установлены. Это не только
Подключение проводов
улучшает качество звука, но и уменьшает
Разъемы громкоговорителей группы A:
риск повреждения или травмы в результате
падения или пере
ворачивания
1 Скрутите оголенные жилы провода.
громкоговорителей в случае внешнего
2 Ослабьте зажим контакта и вставьте
толчка (например, при землетрясении).
оголенный провод.
3 Зажмите контакт.
20
Ru
12 3
10 мм
12 3
10 мм
VSX-1025_SYXCN_Ru.book 20 ページ 2010年3月18日 木曜日 午前10時36分

Установка акустической системы
Как минимум необходимы только передние громкоговорители (правый и левый). Учтите, что
боковые громкоговорители объемного звучания всегда нужно подключать в паре, однако задний
громкоговоритель объемного звучания может быть подключен отдельно (к терминалу левого
заднего громкоговорителя объемного звучания).
English
Français
LINE LEVEL
INPUT
Italiano
HDMI
BD IN IN IN IN IN
1
2 3 4
OUT
LAN
COAXIAL
ASSIGNABLE
OPTICAL
ASSIGNABLE
1 4
(
10/100
)
IN
1
IN
2
ASSIGNABLE
IN
1
IN
2
ADAPTER PORT
(
OUTPUT 5 V 100 mA MAX
)
AC IN
(
DVD
)
(
CD
)
(
TV/SAT
)
(
DVR/BDR
)
COMPONENT VIDEO
ASSIGNABLE
AUDIO
PRE OUT
IN
1
IN
2
(
DVD
)
(
DVR/BDR
)
L
Y
Y
ANTENNA
PB
P
B
R
ZONE 2
DVR/BDR
DVD
TV/SAT
VIDEO
CD
CD-R/TAPE
SUBWOOFER
PR
PR
OUT
OUT IN
IN
IN
IN
OUT ININ
AM LOOP
FM UNBAL 75
Deutsch
FRONT CENTER SURROUND
SURROUND BACK
R
LR LR L
(
Single
)
SPEAKERS
MONITOR
FRONT HEIGHT/WIDE/
B
Y
OUT
RL
VIDEO
P
B
IR CONTROL
IN
OUT
IN
OUT
PR
SPEAKERS
A
Nederlands
Español
21
Ru
Передние верхние терминалы можно также использовать для
передних крайних громкоговорителей и громкоговорителей B.
Передняя верхняя настройка
Передний верхний правый
Передний верхний левый
Передняя крайняя настройка
Передний крайний правый
Передний крайний левый
Настройка Speaker B
Speaker B - правый
Speaker B - левый
Низкочастотный
Передний правый
Передний левый
Центральный
громкоговоритель
VSX-1020/VSX-1025
Терминалы заднего объемного звучания
можно также использовать для ZONE2.
5.1-канальная настройка объемного звучания
Не подключены
Не подключены
6.1-канальная настройка объемного звучания
Не подключены
Задний объемного звучания
Правый
7.1-канальная настройка объемного звучания
Левый
объемного
объемного
Правый тыловой канал
Левый тыловой канал
звучания
звучания
Настройка ZONE 2
ZONE 2 - правый
ZONE 2 - левый
VSX-1025_SYXCN_Ru.book 21 ページ 2010年3月18日 木曜日 午前10時36分

Двухканальное усиление громкоговорителей
Двухканальное усиление происходит при
Двухпроводное подключение
подключении высокочастотной головки и
громкоговорителей
низкочастотной головки громкоговорителей к
Громкоговорители также могут подключаться
различным усилителям для лучшего
с помощью двухпроводного подключения,
срабатывания кроссовера. Для этого
если они поддерживают двухканальное
используемые громкоговорители должны быть
усиление.
совместимы с двухканальным усилением
• При использовании данных подключений,
(иметь отдельные терминалы для высоких и
настройка Speaker System не производит
низких частот), и повышение качества
никакого эффекта.
звучания будет зависеть от типа используемых
громкоговорителей.
• Для двухпроводного подключения
громкоговорителя подключите два кабеля
громкоговорителя к соответствующему
ОСТОРОЖНО
разъему громкоговорителя на ресивере.
• Большинство громкоговорителей с
терм
иналами High и Low имеют две
металлические пластины, соединяющие
терминалы High и Low. При
двухканальном усилении
громкоговорителей данные пластины
необходимо удалить во избежание
серьезных повреждений усилителя. Для
получения дополнительной информации
см. руководство для громкоговорителя.
ОСТОРОЖНО
• Если используемые громкоговорители
• Не подключайте различные
имеют съемный разделительный фильтр,
громкоговорители к одному и тому же
убедитесь в том, что при подключении
терминалу таким образом.
двухканального усиления он не сн
ят. Это
может привести к повреждению
громкоговорителей.
22
Ru
High
High
Low
Low
HDMI
BD IN IN IN IN IN
1
2 3 4
OUT
LAN
COAXIAL
ASSIGNABLE
OPTICAL
ASSIGNABLE
1 4
(
10/100
)
IN
1
IN
2
ASSIGNABLE
IN
1
IN
2
ADAPTER PORT
IN
(
OUTPUT 5 V 100 mA MAX
)
(
)
(
)
(
)
(
)
AC IN
DVD
CD
TV/SAT
DVR/BDR
COMPONENT VIDEO
ASSIGNABLE
AUDIO
PRE OUT
IN
1
IN
2
(
DVD
)
(
DVR/BDR
)
L
Y
Y
ANTENNA
P
B
P
B
R
ZONE 2
DVR/BDR
DVD
TV/SAT
VIDEO
CD
CD-R/TAPE
SUBWOOFER
P
R
P
R
OUT
OUT IN
IN
IN
IN
OUT ININ
AM LOOP
FM UNBAL 75
FRONT CENTER SURROUND
SURROUND BACK
R
LR LR L
(
Single
)
SPEAKERS
MONITOR
FRONT HEIGHT/WIDE/
B
Y
OUT
RL
VIDEO
P
B
IR CONTROL
IN
OUT
IN
OUT
P
R
SPEAKERS
A
Передний правый
Центральный
Передний левый
Низкочастотный
громкоговоритель
Громкоговоритель,
Громкоговоритель,
совместимый с
совместимый с
двухканальным
двухканальным
усилением
усилением
VSX-1020/VSX-1025
Правый объемного звучания
Левый объемного звучания
VSX-1025_SYXCN_Ru.book 22 ページ 2010年3月18日 木曜日 午前10時36分

VSX-1025_SYXCN_Ru.book 23 ページ 2010年3月18日 木曜日 午前10時36分
• Также, при выполнении двухпроводного
Настройка громкоговорителей
подключения, учитывайте меры
системы В
предосторожности для двухканального
Можно прослушивать стереофоническое
усиления, показанные слева.
воспроизведение в другой комнате.
1 Подключите пару передних верхних
Выбор системы
громкоговорителей терминалам
English
передних верхних/крайних
громкоговорителей
громкоговорителей.
Передние верхние терминалы можно
См. раздел Подключение громкоговорителей
использовать для передних крайних
на стр. 20.
подключений и громкоговорителя B, в
2 Выберите «
Speaker B
» в меню
дополнение к передним верхним
Français
Speaker System
.
громкоговорителям. Также терминалы заднего
См. указания раздела Speaker system setting
объемного звучания могут использоваться для
(Настройка системы громкоговорителей) на
подключений двухканального усилителя и
стр. 101.
ZONE 2, в дополнение к задним
громкоговорителям объемного звучания.
Настройка двухканального усиления
Выполните данную настройку в соответствии с
Подключение двухканального усиления
подключением.
передних громкоговорителей для
высококачественного звучания
Передняя верхняя настройка
5.1-канального объемного звучания.
*Настройка по умолчанию
1 Подключите громкоговорители,
1 Подключите пару передних верхних
совместимые с двухканальным
Italiano
громкоговорителей терминалам передних
усилением, к терминалам передних
верхних/крайних громкоговорителей.
громкоговорителей и задних
См. раздел Подключение громкоговорителей на
громкоговорителей объемного звучания.
стр.20.
См. раздел Двухканальное усиление
громкоговорителей на стр. 22.
2 При необходимости, выберите
Deutsch
«
Normal(SB/FH)
» из меню
Speaker
2 Выберите «
Front Bi-Amp
» в меню
System
.
Speaker System
.
См. указания раздела Speaker system setting
См. указания раздела Speaker system setting
(Настройка системы громкоговорителей) на
(Настройка системы громкоговорителей) на
стр. 101.
стр. 101.
Nederlands
Настройка ZONE 2
Передняя крайняя настройка
Данные подключения позволяют
1 Подключите пару передних верхних
одновременно прослушивать 5.1-канальное
громкоговорителей терминалам передних
объемное звучание в основной зоне и
верхних/крайних громкоговорителей.
стереофоническое воспроизведение на другом
См. раздел Подключение громкоговорителей на
Español
компоненте в ZONE 2.
стр.20.
1 Подключите два громкоговорителя к
2 Выберите «
Normal(SB/FW)
» в меню
терминалам задних громкоговорителей
Speaker System
.
объемного звучания.
См. указания раздела Speaker system setting
См. раздел Подключение громкоговорителей
(Настройка системы громкоговорителей) на
на стр. 20.
стр. 101.
2 Выберите «
ZONE 2
» в меню
Speaker
System
.
См. указания раздела Speaker system setting
(Настройка системы громкоговорителей) на
стр. 101.
23
Ru

Об
аудиоподключении
О преобразователе
На данном ресивере имеется несколько типов
видеосигнала
аудиовходных и выходных терминалов. При
Преобразователь видеосигнала обеспечивает
выборе режима AUTO для входного сигнала,
вывод всех видеоисточников через все гнезда
ресивер выбирает первый доступный сигнал в
MONITOR OUT. HDMI - единственное
следующем порядке:
исключение: поскольку понижение данного
разрешения невозможно, при подключении
Типы кабелей и
Передаваемые
данного видеоисточника, необходимо
терминалы
аудиосигналы
подключить монитор/телевизор к
HDMI Аудиосигнал
1
видеовыходам HDMI ресивера.
высокой четкости
Если для нескольких видеокомпонентов
назначена одна и та же функция входа (см.
Меню Input Setup на стр. 42), преобразователь
Цифровой
Обычный
устанавливает приоритет в следующем
(Коаксиальный)
цифровой
порядке: HDMI, компонентное видео, затем
аудиосигнал
композитное видео.
Цифровой
(Оптический)
Приоритет звукового сигнала
RCA (Аналоговый)
Обычный
(Белый/Красный)
аналоговый
аудиосигнал
• С помощью кабеля HDMI можно
передавать видео и аудиосигналы с
высоким качеством через единый кабель.
ОСТОРОЖНО
• Аккуратно выполняйте подключение
оптического кабеля, старайтесь не
повредить защитную шторку опти
ческого
разъема.
• Обеспечьте для оптического кабеля
свободно свисающую петлю. Можно
повредить кабель об острые углы.
24
Ru
Примечание
1• Если на телевизоре не появляется видеосигнал, попробуйте отрегулировать настройки разрешения используемого
компонента или дисплея. Учтите, что некоторые компоненты (например, игровые видеоприставки) имеют
разрешение, преобразование которого невозможно. В таком случае, попытайтесь переключить Digital Video
Conversion (в Настройка видеоопций на стр. 71) на OFF.
• Разрешения входного сигнала, которые можно преобразовывать от компонентного видеовхода для выхода через
HDM
I, составляют 480i/576i, 480p/576p, 720p и 1080i. Сигналы 1080р не могут преобразовываться.
• Можно преобразовывать только сигналы с входным разрешением 480i/576i от компонентного видеовхода для
композитных терминалов MONITOR OUT.
HDMI IN
HDMI OUT
Y
P
B
P
R
Y
P
B
P
R
COMPONENT
COMPONENT VIDEO
VIDEO IN
MONITOR OUT
VIDEO IN
VIDEO
MONITOR OUT
Терминал для
Терминал для
подключения с
подключения с
исходным устройством
телевизионным монитором
Улучшение качества картинки
Возможность вывода видеосигналов
Данное изделие содержит технологию защиты
авторских прав, защищенную патентами США и
другими правами на интеллектуальную
собственность. Использование данной технологии
защиты авторских прав должно производиться с
разрешения Rovi Corporation, и оно предназначено
только для домашнего и других ограниченных видов
использования, если нет иного разрешения от Rovi
Corporation. Инженерный анализ или разборка
запрещена.
VSX-1025_SYXCN_Ru.book 24 ページ 2010年3月18日 木曜日 午前10時36分

Подключение телевизора и компонентов воспроизведения
Подключение с помощью HDMI
При наличии компонента с интерфейсом HDMI или DVI (с HDCP) (BD: проигрывателя Blu-ray
дисков, и др.), его можно подключить к данному ресиверу с помощью имеющегося в продаже
English
кабеля HDMI.
Если телевизор и компоненты воспроизведения поддерживают функцию Управление по HDMI,
можно использовать обычные функции Управление по HDMI (см. Функция Управление по
HDMI на стр. 63).
HDMI
ASSIGNABLE
Français
ASSIGNABLE
ASSIGNABLE
(
OUTPU
(
DVD
)
(
DVR/BDR
)
ASSIGNABLE
(
DVD
)
(
DVR/BDR
)
L
Y
Y
P
B
P
B
R
ZONE 2
DVR/BDR
DVD
TV/SAT
VIDEO
CD
CD-R/TAPE
P
R
P
R
OUT
OUT IN
IN
IN
IN
OUT ININ
FRONT CENTER SURROUND
R
LR
Y
P
B
P
R
Italiano
Deutsch
Nederlands
• Для компонентов приема также доступны
Español
подключен
ия, в дополнение к
подключениям HDMI (см. Подключение
проигрывателя DVD без выхода HDMI на
стр. 27).
• Для прослушивания звука телевизора через
ресивер, подключите ресивер и телевизор
через аудиокабели.
25
Ru
T
OPTICAL
(
CD
)
(
TV/SAT
)
COMPONENT VIDEO
AUDIO
PRE OUT
ANTENNA
SUBWOOFER
AM LOOP
A
BD IN IN IN IN IN
1
2 3 4
OUT
LAN
COAXIAL
1 4
(
10/100
)
IN
1
IN
2
IN
1
IN
2
IN
1
IN
2
MONITOR
OUT
VIDEO
IR CONTROL
IN
OUT
IN
OUT
SPEAKERS
A
RL
ANALOG
OPTICAL
AUDIO OUT
DIGITAL OUT
HDMI IN
HDMI OUT HDMI OUT
VSX-1020/
VSX-1025
Данное подключение
требуется для
прослушивания звука
телевизора через ресивер.
Выберите один
Совместимый с HDMI/
Другие компоненты,
Телевизор, совместимый с HDMI/DVI
DVI проигрыватель
оборудованные
Blu-ray дисков
интерфейсом HDMI/DVI
VSX-1025_SYXCN_Ru.book 25 ページ 2010年3月18日 木曜日 午前10時36分

1
– Dolby Digital, Dolby Digital Plus, DTS,
О HDMI
аудиосигналы с высокой битовой
При помощи подключения HDMI передаются
скоростью (Dolby TrueHD, DTS-HD Master
несжатые цифровые видеосигналы, а также
Audio, DTS-HD High Resolution Audio),
практически любые виды цифрового звука, с
DVD-Audio, CD, SACD (сигнал DSD),
которыми совместим подключенный
Video CD, Super VCD
компонент, включая DVD-Video, DVD-Audio,
SACD, Dolby Digital Plus, Dolby TrueHD, DTS-
• Синхронизированное управление
HD Master Audio (см. ниже информацию об
компонентов при помощи функции
ограничениях), Video CD/Super VCD и CD. Для
Управление по HDMI (см. Функция
получения дополнительной информации о
Управление по HDMI на стр.63).
совместимости HDMI см. О преобразователе
HDMI, логотип HDMI и High-Definition
видеосигнала на стр. 24.
Multimedia Interface являются торговыми
Данный ресивер поддерживает технологию
марками или зарегистрированными
®
High-Definition Multimedia Interface (HDMI
).
торговыми марками HDMI Licensing, LLC в
США и других странах.
С помощью подключений HDMI данный
ресивер поддерживает описанные ниже
“x.v.Color” и x.v.Color являются торговыми
2
функции.
марками Sony Corporation.
• Цифровая передача несжатого видео
(материала, защищенного по системе
HDCP (1080p/24, 1080p/60, и др.))
3
• Передача сигнала 3D
3
• Передача сигнала Deep Color
3
• Передача сигнала x.v.Color
• Прием многоканальных линейных
цифровых аудиосигналов PCM (192 кГц
или менее) для макс. 8 каналов
• Прием следующих цифровых
4
аудиоформатов:
26
Ru
Примечание
VSX-1025_SYXCN_Ru.book 26 ページ 2010年3月18日 木曜日 午前10時36分
1• Соединение HDMI возможно только для компонентов, оборудованных DVI, совместимых как с DVI, так и с системой
High Bandwidth Digital Content Protection (HDCP). При подключении к разъему DVI понадобится отдельный
переходник (DVIHDMI). Однако разъем DVI не поддерживает передачу аудиосигналов. Проконсультируйтесь со
своим местным дилером звуковой аппаратуры для получения дополнительной информации.
• При подключении компонента, несовместимого с HDCP, на дисплее передней панели отображается сообщение
HDCP ERROR. Д
анное сообщение отображается даже для некоторых компонентов, совместимых с HDCP, но когда
нет проблем в отображении видеоизображения, это не является неисправностью.
• В зависимости от подключенного компонента, использование соединения DVI может привести к ненадежной
передаче сигналов.
•
Данный ресивер поддерживает SACD,
Dolby Digital Plus
,
Dolby TrueHD
и
DTS-HD Master Audio
. Для использования
преимуществ данных форматов, однако, убедитесь, что компонент, подключенный к данному ресиверу, также
поддерживает соответствующий формат.
®
®
2• Используйте кабель High Speed HDMI
. Если используется кабель HDMI, а не кабель High Speed HDMI
, он может
работать неправильно.
• Если подключается кабель HDMI со встроенным эквалайзером, он может работать неправильно.
3 Передача сигнала возможна только при подключении к совместимому компоненту.
4• Передачи цифровых аудиосигналов в формате HDMI требуют большего времени для распознавания. В связи с этим,
может возникать пропадание аудиосигнала при переключении между аудиоформатами или начале воспроизведения.
• Включение/отключ
ение устройства, подключенного к терминалу HDMI OUT этого устройства во время
воспроизведения, или отсоединение/подсоединение кабеля HDMI во время воспроизведения, может вызвать помехи
или прерывание звука.

Подключение проигрывателя DVD без выхода HDMI
На данном рисунке показаны подключения телевизора (с входом HDMI) и проигрывателя DVD
(или другого компонента воспроизведения не имеющего выхода HDMI) к ресиверу.
English
Français
HDMI
ASSIGNABLE
ASSIGNABLE
ASSIGNABLE
(
DVD
)
(
DVR/BDR
)
ASSIGNABLE
(
DVD
)
L
Y
Y
P
B
P
B
R
P
R
P
R
FRONT CENTER SURROUND
R
LR
Y
P
B
Italiano
P
R
Deutsch
Nederlands
Español
• Для прослушивания звука телевизора через ресивер, подключите ресивер и телевизор через
аудиокабели.
• Если соединение выполнено с помощью оптического кабеля, потребуется указать ресиверу, к
какому цифровому входу подключен проигрыватель DVD (см. Меню Input Setup на стр.4
2).
27
Ru
L
(
OUTPUT
(
DVR/BDR
)
ZONE 2
DVR/BDR
DVD
TV/SAT
VIDEO
CD
CD-R/TAPE
OUT
OUT IN
IN
IN
IN
OUT ININ
5
OPTICAL
A
(
CD
)
(
TV/SAT
)
COMPONENT VIDEO
AUDIO
PRE OUT
ANTENNA
SUBWOOFER
AM LOOP
F
D
COMPONENT VIDEO OUT
VIDEO OUT
AUDIO OUT
DIGITAL OUT
P
R
P
B
Y
RL
ANALOG
COAXIAL OPTICAL
BD IN IN IN IN IN
1
2 3 4
OUT
LAN
COAXIAL
1 4
(
10/100
)
IN
1
IN
2
IN
1
IN
2
IN
1
IN
2
MONITOR
OUT
VIDEO
IR CONTROL
IN
OUT
IN
OUT
SPEAKERS
A
RL
ANALOG
OPTICAL
AUDIO OUT
DIGITAL OUT
HDMI IN
Проигрыватель DVD, и др.
Выберите один
Выберите один
VSX-1020/
VSX-1025
Данное подключение
требуется для
прослушивания звука
телевизора через ресивер.
Выберите один
Телевизор, совместимый с HDMI/DVI
VSX-1025_SYXCN_Ru.book 27 ページ 2010年3月18日 木曜日 午前10時36分

Подключение телевизора без входа HDMI
На данном рисунке показаны подключения телевизора (без входа HDMI) и проигрывателя DVD
(или другого компонента воспроизведения) к ресиверу.
• При использовании данных подключений, картинка не выводится на телевизор даже при
подключении проигрывателя DVD через кабель HDMI. Подключите видеотерминал
проигрывателя DVD через композитный или компонентный кабель.
HDMI
ASSIGNABLE
ASSIGNABLE
ASSIGNABLE
(
OUTP
(
DVD
)
(
DVR/BDR
)
ASSIGNABLE
(
DVD
)
(
DVR/BDR
)
L
Y
Y
P
B
P
B
R
ZONE 2
DVR/BDR
DVD
TV/SAT
VIDEO
CD
CD-R/TAPE
P
R
P
R
OUT
OUT IN
IN
IN
IN
OUT ININ
FRONT CENTER SURROUND
R
LR
Y
P
B
P
R
• Подключите через кабель HDMI для прослушивания звука высокой четкости на ресивере. Не
используйте кабель HDMI для приема видеосигналов.
В зависимости от видеокомпонента, может быть невозможно одновременно выводить сигналы
через HDMI и другие терминалы, и возможно необходимо выполнить настройки выхода.
Для
более подробной информации, пожалуйста, изучите инструкции по эксплуатации
, поставляемые с
компонентом.
28
Ru
U
BD IN IN IN IN IN
1
2 3 4
OUT
LAN
COAXIAL
OPTICAL
1 4
(
10/100
)
IN
1
IN
2
IN
1
IN
2
(
CD
)
(
TV/SAT
)
COMPONENT VIDEO
AUDIO
PRE OUT
IN
1
IN
2
ANTENNA
SUBWOOFER
AM LOOP
MONITOR
OUT
VIDEO
IR CONTROL
IN
OUT
IN
OUT
SPEAKERS
A
COMPONENT VIDEO OUT
VIDEO OUT
HDMI OUT
AUDIO OUT
DIGITAL OUT
P
R
P
B
Y
RL
ANALOG
COAXIAL OPTICAL
P
R
P
B
Y
RL
ANALOG
OPTICAL
COMPONENT VIDEO IN
VIDEO IN
AUDIO OUT
DIGITAL OUT
Проигрыватель DVD, и др.
Выберите один
Выберите один
VSX-1020/
VSX-1025
Данное подключение
требуется для
прослушивания звука
Выберите один
Выберите один
телевизора через
ресивер.
Телевизор
VSX-1025_SYXCN_Ru.book 28 ページ 2010年3月18日 木曜日 午前10時36分
• Если соединение выполнено с
помощью оптического кабеля,
потребуется указать ресиверу,
к какому цифровому входу
подключен проигрыватель
DVD (см. Меню Input Setup на
стр. 42).

Подключение спутникового/
Подключение HDD/DVD-
кабельного ресивера или другой
рекордера, видеомагнитофона и
приставки
других видеоисточников
Спутниковые и кабельные ресиверы, а также
Данный ресивер оборудован двумя наборами
цифровые радио ресиверы являются
аудио/видеовходов и выходов, пригодных для
English
примерами так называемых «приставок».
подключения аналоговых или цифровых
видеоустройств, включая HDD/DVD-
рекордеры и видеомагнитофоны.
ASSIGNABLE
ASSIGNABLE
(
DVD
)
(
DVR/BDR
)
Français
FRONT CENTER SURROUND
SURRO
R
Italiano
Deutsch
• Если соединение выполнено с помощью
коаксиального кабеля, потребуется указать
Nederlands
ресиверу, к какому цифровому входу
подключена приставка (см. Меню Input
• Если соединение выполнено с помощью
Setup на стр. 42).
коаксиального кабеля, потребуется
указать ресиверу, к какому цифровому
входу подключен рекордер (см. Меню
Español
Input Setup на стр. 42).
• Для записи следует подключить
аналоговые аудиокабели (цифровое
подключение предназначено только для
восп
роизведения).
29
Ru
U
(
OUTPUT 5 V 100 mA MA
DVR/BDR
DVD
TV/SAT
VIDEO
CD
CD-R/TAPE
OUT IN
IN
IN
IN
OUT ININ
LR LR
X
OPTICAL
ADAPTER PO
(
CD
)
(
TV/SAT
)
PRE OUT
ANTENNA
SUBWOOFER
AM LOOP
FM UNBAL 75
R
LAN
COAXIAL
IR CONTROL
SPEAKERS
N
2 3 4
IN IN
OUT
(
10/100
)
IN
1
IN
2
IN
1
IN
2
IN
OUT
IN
OUT
A
RL
ANALOG
COAXIAL OPTICAL
AUDIO OUT
DIGITAL OUT
VIDEO OUT
VSX-1020/VSX-1025
Выберите один
Приставка
ASSIGNABLE
ASSIGNABL
E
(
DVD
)
(
DVR/BDR
)
B
R
Y
(
OUT
R/BDR
)
L
R
ZONE 2
DVR/BDR
DVD
TV/SAT
VIDEO
CD
CD-R/TAPE
OUT
OUT IN
IN
IN
IN
OUT ININ
FRONT CENTER SURROUND
R
LR
P
OPTICAL
(
CD
)
(
TV/SAT
)
AUDIO
PRE OUT
ANTENNA
SUBWOOFER
AM LOOP
D
EO
IR CONTROL
SPEAKERS
R
IN IN IN IN
1
2 3 4
OUT
LAN
COAXIAL
(
10/100
)
IN
1
IN
2
IN
1
IN
2
2
IN
OUT
IN
OUT
A
RL
ANALOG
COAXIAL OPTICAL
AUDIO OUT
DIGITAL OUT
RL
ANALOG
AUDIO IN
VIDEO IN
VIDEO OUT
VSX-1020/VSX-1025
Выберите один
HDD/DVD-рекордер, видеомагнитофон, др.
VSX-1025_SYXCN_Ru.book 29 ページ 2010年3月18日 木曜日 午前10時36分

• Если подключается рекордер/магнитофон,
соедините аналоговые аудиовыходы с
Подключение других
аналоговыми аудиовходами рекордера/
аудиокомпонентов
магнитофона.
Данный ресивер оборудован цифровыми и
аналоговыми входами, позволяющими
О декодере WMA9 Pro
подключить аудиокомпоненты для
Данный аппарат имеет встроенный декодер
воспроизведения.
1
Windows Media™ Audio 9 Professional
(WMA9
Один из данных входов имеет
Pro), поэтому возможно воспроизведение
соответствующие выходы для использования с
аудиосигнала с кодированием WMA9 Pro через
аналоговыми аудиорекордерами.
HDMI, коаксиальное или оптическое цифровое
подключение при подключении к
проигрывателю, совместимому с WMA9 Pro.
ASSIGNABLE
ASSIGNABLE
Однако, подключенный проигрыватель DVD,
(
DVD
)
(
DVR/BDR
)
приставка и т.д. должны выводить аудиосигнал
в формате WMA9 Pro через коаксиальный или
оптический цифровой выход.
FRONT CENTER SURROUND
SURROUN
R
• Если соединение выполнено с помощью
оптического кабеля, потребуется указать
ресиверу, к какому цифровому входу
подключен компонент (см. Меню Input
Setup на стр.42).
• Если на проигрывателе имеются линейные
выходы (н
апример, он оборудован
встроенным предварительным усилителем
с фонокорректором), подключите его тогда
к входам CD.
30
Ru
D
IN
4
OUT
LAN
COAXIAL
OPTICAL
(
10/100
)
IN
1
IN
2
IN
1
IN
2
ADAPTER PORT
(
OUTPUT 5 V 100 mA MAX
)
(
CD
)
(
TV/SAT
)
PRE OUT
ANTENNA
TV/SAT
VIDEO
CD
CD-R/TAPE
SUBWOOFER
IN
IN
IN
OUT IN
AM LOOP
FM UNBAL 75
LR LR
CONTROL
IN
OUT
SPEAKERS
A
RL
ANALOG
COAXIAL OPTICAL
AUDIO OUT
DIGITAL OUT
RL
REC
AUDIO IN
VSX-1020/VSX-1025
Выберите один
CD-R, MD, DAT, и др.
Примечание
VSX-1025_SYXCN_Ru.book 30 ページ 2010年3月18日 木曜日 午前10時36分
1• Windows Media и логотип Windows являются торговыми марками или зарегистрированными торговыми марками
корпорации Microsoft в США и/или других странах.
• При использовании WMA9 Pro в зависимости от компьютерной системы возможны проблемы со звуком. Учтите, что
частота дискретизации источников формата WMA9 Pro 96 кГц преобразуется до 48 кГц.

4 Установите антенну AM на плоскую
поверхность в направлении наилучшего
Подключение антенн AM/FM
приема.
Подключите рамочную антенну АМ и
проволочную антенну FM, как показано ниже.
5 Подключите проволочную антенну FM
Для улучшения приема и качества звука
к разъему антенны FM.
подключите внешние антенны (см. раздел
Чтобы улучшить прием, полностью вытяните
English
Подсоединение наружных антенн нижe).
проволочную антенну FM и прикрепите ее к
стене или дверной раме. Не допускайте, чтобы
рис. а рис. б рис. в
антенна свешивалась или спутывалась.
Подсоединение наружных антенн
Для улучшения приема в диапазоне FM,
Français
подключите внешнюю антенну FM к FM
UNBAL 75 Ω.
3
1
2
4
5
ANTENNA
Italiano
ANTENNA
AM LOOP
FM UNBAL 75
AM LOOP
FM UNBAL 75
1 Снимите предохранительные щитки с
Для улучшения приема в диапазоне AM
контактов антенны AM.
подключите к разъемам AM LOOP провод
Deutsch
2 Откройте защитные выступы,
длиной от 5 м до 6 м с виниловой изоляцией,
вставьте по одному проводу в каждый
не отсоединяя прилагаемую рамочную
разъем до конца, затем отпустите
антенну AM.
выступы для фиксации проводов
Для наилучшего качества приема подвесьте ее
антенны AM.
горизонтально на улице.
Nederlands
3 Прикрепите рамочную антенну AM к
специальной стойке.
Чтобы прикрепить антенну к стойке, отогните
стойку в направлении стрелки (рис. а), затем
закрепите рамочную антенну на стойке с
Español
помощью зажима (рис. б).
• Чтобы установить антенну AM на стене
или другой поверхности, сначала
прикрепите стойку к поверхности с
помощью винтов (рис. в), а затем закрепите
антенну на стойке. Убедитесь в качестве
приема.
31
Ru
Коаксиальный кабель с
сопротивлением 75 Ω
ANTENNA
AM LOOP
FM UNBAL 75
Наружная
антенна
Комнатная антенна
(провод с виниловым
покрытием)
от 5 м до 6 м
VSX-1025_SYXCN_Ru.book 31 ページ 2010年3月18日 木曜日 午前10時36分

Настройка основной MULTI-ZONE (ZONE 2)
Настройка MULTI-ZONE
1 Подключите отдельный усилитель к
Данный ресивер может обслуживать до двух
гнездам
AUDIO ZONE 2 OUT
и
1
независимых зон в разных комнатах, если
телевизионный монитор
к гнезду
VIDEO
правильно выполнены подключения MULTI-
ZONE 2 OUT
на данном ресивере.
ZONE.
2 Подключите пару громкоговорителей к
В двух зонах можно одновременно
усилителю подзоны.
воспроизводить различные источники или, при
необходимости, один и тот же источник. Звук
на основную и подзону подается раздельно
(звучание основной зоны может быть
отключено, в то время как в подзоне
вк
лючено), и подзона может управляться от
пульта ДУ или органов управления передней
панели.
Выполнение подключений MULTI-
ZONE
Данные подключения можно выполнить при
наличии отдельных громкоговорителей и
1
телевизионного монитора
для подзоны
(ZONE 2). Также потребуется отдельный
усилитель, если Настройка MULTI-ZONE с
использованием терминалов
громкоговорителей (ZONE 2) на стр. 33 не
используется для подзоны.
Параметры прослушивания в режиме
MULTI-ZONE
В следующей таблице показаны сигналы,
выводящиеся на ZONE 2:
32
Ru
Примечание
HDMI
BD IN IN IN
1
ASSIGNABLE
1 4
VIDEO IN
COMPONENT VIDEO
AUDIO
IN
1
ASSIGNABLE
IN
2
(
DVD
)
(
DVR
)
L
Y
Y
P
B
P
B
R
ZONE 2
P
R
P
R
OUT
MONITOR
Y
OUT
VIDEO
P
B
P
R
AUDIO IN
RL
Подзона Доступные функции входа
a
ZONE 2 DVD, TV/SAT, DVR/BDR, VIDEO
,
b
a
VIDEO1/2
, INTERNET RADIO
, iPod/
a
USB
, CD, CD-R/TAPE, TUNER,
ADAPTER PORT
(Воспроизводятся аналоговый аудио и
композитный видео.)
a. Только VSX-1020/VSX-1025.
b.Только VSX-920.
1 К модели VSX-920 нельзя подключить телевизионный монитор для подзоны.
Подзона
Основная зона
Только VSX-1020/VSX-1025
VSX-1020/
VSX-1025
VSX-1025_SYXCN_Ru.book 32 ページ 2010年3月18日 木曜日 午前10時36分

Настройка MULTI-ZONE с использованием
терминалов громкоговорителей (ZONE 2)
Подключение дополнительного
Для использования данной настройки,
АДАПТЕРА
Bluetooth
требуется выбрать ZONE 2 в Speaker system
Когда к этому ресиверу подключен
setting (Настройка системы
беспроводной АДАПТЕР Bluetooth (Pioneer,
громкоговорителей) на стр. 101.
Модель AS-BT100), для прослушивания
English
1 Подключите два громкоговорителя к
музыки по беспроводной связи можно
терминалам задних громкоговорителей
использовать устройство с беспроводным
объемного звучания на этом ресивере.
интерфейсом Bluetooth (сотовый телефон,
1
цифровой музыкальный плейер и т.д.).
2
Только VSX-1020/VSX-1025:
Подключите
телевизионный монитор к гнездам
VIDEO
Français
ZONE 2 OUT
на данном ресивере.
Italiano
• Переключите ресивер в режим
ожидания и подключите беспроводной
АДАПТЕР
Bluetooth
к
ADAPTER PORT
.
• Инструкции по проигрыванию материала
Deutsch
с Bluetooth устройства с беспроводным
интерфейсом см. в АДАПТЕР Bluetooth®
для прослушивания музыки без проводов на
стр.53.
Nederlands
Внимание
• Не передвигайте ресивер с
присоединенным АДАПТЕРОМ Bluetooth.
Это может привести к повреждению или
неисправности контакта.
Español
33
Ru
AL
ABLE
SIRIU
ADAPTER PORT
IN
OUTPUT 5 V 500 mA MAX
)
OP
FM UNBAL 75
D
L RL
SURROUND BACK
(
Single
)
HDMI
BD IN IN IN
1
2
ASSIGNABLE
1 4
COMPONENT VIDEO
IN
1
ASSIGNABLE
AUDIO
IN
2
(
DVD
)
(
DVR/BDR
)
L
Y
Y
P
B
P
B
R
ZONE 2
DVR
P
R
P
R
OUT
OUT
MONITOR
Y
OUT
VIDEO
P
B
P
R
VIDEO IN
RL
Подзона
Основная зона
Только VSX-1020/
VSX-1025
VSX-1020/VSX-1025
Примечание
ASSIGNABLE
ASSIGNABLE
(
DVD
)
(
DVR/BDR
)
1• Устройство с беспроводным интерфейсом Bluetooth должно поддерживать профили A2DP.
• Компания Pioneer не гарантирует правильное подключение и работу этого устройства со всеми устройствами, в
которых используется беспроводная технология Bluetooth.
O
NT CENTER SURROUND
SURROUND BACK
FR
O
LR LR L
T
COAXIAL
OPTICAL
IN
1
IN
2
IN
1
IN
2
ADAPTER PORT
(
OUTPUT 5 V 100 mA MAX
)
(
CD
)
(
TV/SAT
)
PRE OUT
ANTENNA
APE
SUBWOOFER
IN
AM LOOP
FM UNBAL 75
(
Single
)
SPEAKERS
A
VSX-1020/VSX-1025
®
АДАПТЕР Bluetooth
VSX-1025_SYXCN_Ru.book 33 ページ 2010年3月18日 木曜日 午前10時36分

Подключение к сети через
Подключение компонента,
интерфейс LAN
оборудованного терминалом
Подключив этот ресивер к сети через терминал
HDMI, к входу на передней панели
LAN, вы сможете слушать Интернет-
(Только VSX-1020/VSX-1025)
1
радиостанции.
На передней панели имеется входной терминал
HDMI. Просто подключив оборудованную
терминалом HDMI видеокамеру через единый
кабель HDMI, можно просматривать
высококачественное изображение через
ресивер. К данному терминалу можно
подключать не только видеокамеры, но и
другие компоненты, оборудованные
терминалом HDMI.
Подключите терминал LAN на данном
ресивере к терминалу LAN на маршрутизаторе
(с или без встроенной функции DHCP сервера)
через прямой LAN кабель (CAT 5 или выше).
Включите функцию DHCP сервера
маршрутизатора. В случае, если на
маршрутизаторе отсутствует функция DHCP
сервера, необходимо настроить сеть вручную.
Подробнее, см. Меню Network Setup
(Настройка сети) на стр. 104.
Спецификации терминала LAN
Терминал LAN . . . . . . . . . . . . . . . . гнездо Ethernet
10BASE-T/100BASE-TX
34
Ru
Примечание
ASSIGNABLE
(
DVD
)
FRONT CENT
R
1 Для прослушивания Интернет-радиостанций, требуется заранее подписать контракт с ISP (провайдером Интернет
услуг).
E
L
D
IN
4
OUT
LAN
COAXIAL
(
10/100
)
IN
1
IN
2
(
CD
)
PRE OUT
TV/SAT
VIDEO
CD
CD-R/TAPE
SUBWOOFER
IN
IN
IN
OUT IN
CONTROL
I
T
IN
OUT
LAN
321
WAN
Интернет
Модем
VSX-1020/
VSX-1025
Маршрутизатор
LAN кабель
(продается
отдельно)
к порту LAN
Персональный компьютер
CONTROL ON
/
OFF
MASTER
VOLUME
VIDEO CAMERA
iPod
iPhone
MCACC
SETUP MIC
USB HDMI 5
Видеокамера, и др.
VSX-1025_SYXCN_Ru.book 34 ページ 2010年3月18日 木曜日 午前10時36分

VSX-1020/VSX-1025:
Подключение к видеоразъему на
передней панели
(Только VSX-920)
К передним видеоразъемам можно получить
доступ через регулятор INPUT SELECTOR
English
(передняя панель) или кнопки INPUT SELECT
(пульт ДУ). Здесь используются стандартные
аудио/видео гнезда. Подключите их таким же
образом, как подключаются разъемы на задней
панели.
Français
CONTROL ON
/
OFF
MASTER
VOLUME
VIDEO INPUT
iPod
iPhone
USB
MCACC
AUDIOLRVIDEO
SETUP MIC
VSX-920:
Italiano
AUDIOVIDEO
OUTPUT
Deutsch
Подключение iPod
Данный ресивер имеет специальный терминал
Nederlands
для подключения iPod, который позволяет
управлять воспроизведением аудиоматериала
на iPod с помощью органов управления
данного ресивера.
• Переключите ресивер в режим
ожидания, затем, с помощью
Español
поставляемого кабеля iPod, подключите
iPod к терминалу iPod/iPhone/USB на
передней панели данного ресивера.
• Также можно подключить через кабель,
поставляемый вместе с iPod, но в таком
случае невозможно будет просматривать
изображение через ресивер.
• Также прочитайте о подключении кабелей
в инструкции по эксплуатации iPod.
35
Ru
Телевизионная игровая приставка, видеокамера, и др.
CONTROL ON
/
OFF
MASTER
VOLUME
VIDEO CAMERA
iPod
iPhone
MCACC
SETUP MIC
USB HDMI 5
MENU
Кабель iPod
(прилагается)
iPod
CONTROL ON
/
OFF
MASTER
VOLUME
VIDEO INPUT
iPod
iPhone
USB
MCACC
AUDI OLRVIDEO
SETUP MIC
MENU
Кабель iPod
(прилагается)
iPod
VSX-1025_SYXCN_Ru.book 35 ページ 2010年3月18日 木曜日 午前10時36分

Подключение устройства USB
Подключение устройства USB
Можно проигрывать файлы аудио и
для вывода Advanced MCACC
фотографий, подключая устройства USB к
При использовании Auto MCACC (стр.87) или
этому ресиверу. Можно подключать
эквалайзера профессиональной акустической
клавиатуру USB (раскладка США-
калибровки (стр. 93) для калибровки
международная) к ресиверу для ввода теста на
реверберационных характеристик, трехмерные
следующих экранах ГИП (графического
графики реверберационных характеристик в
интерфейса пользователя).
вашем помещении для прослушивания (до и
• Измените имя входа в меню Input Setup
после калибровки) можно проверить на экране
(стр.43).
компьютера.
• Добавьте имена к предустановленным
Также на компьютере можно просмотреть
радиостанциям (стр. 51).
различные параметры МСАСС. Данные и
• Введите URL-адреса Интернет-
параметры MCACC передаются с этого
радистанций (стр. 55).
ресивера на устройство USB и, при
подключении устрой
ства USB к компьютеру,
• Переключите ресивер в режим
данные импортируются в компьютер
ожидания, затем подключите устройство
посредством программного обеспечения
USB к терминалу iPod/iPhone/USB на
MCACC.
1
передней панели данного ресивера.
Программное обеспечение MCACC для вывода
результатов доступно на странице поддержки
на веб-сайте Pioneer (http://www.pioneer.eu).
Инструкции по использованию программного
обеспечения также доступны там. По
возникновению любых вопросов относительно
программного обеспечения, пожалуйста,
свяжитесь со Cлужбой техподдержки Pioneer,
указанной в гарантийном талоне.
Подробнее см. документацию к пр
иложению
Advanced MCACC PC Display.
• Подробнее о подключении и работе
устройства USB см. Выходные данные
2
MCACC на стр.97.
36
Ru
Примечание
CONTROL ON
/
OFF
MASTER
VOLUME
VIDEO CAMERA
iPod
iPhone
MCACC
SETUP MIC
USB HDMI 5
1 Данный ресивер не поддерживает USB концентратор.
VSX-1020/VSX-1025
Запоминающее
устройство большой
емкости USB
Клавиатура USB
CONTROL ON
/
OFF
MASTER
VOLUME
VIDEO CAMERA
iPod
iPhone
MCACC
SETUP MIC
USB HDMI 5
2 Различные параметры и данные характеристик реверберации, использованные для отображения на компьютере, не
удаляются после отключения питания (см. Выходные данные MCACC на стр. 97).
Запоминающее
устройство
VSX-1020/VSX-1025
большой
емкости USB
VSX-1025_SYXCN_Ru.book 36 ページ 2010年3月18日 木曜日 午前10時36分

2 Подключите гнездо
IR IN
другого
компонента к гнезду
IR OUT
на задней
Подключение ИК-приемника
панели данного ресивера для его
Если стереоустройства установлены в
подключения к ИК-приемнику.
закрытом шкафу или тумбе или если вы хотите
Относительно типа кабеля, необходимого для
использовать пульт ДУ подзоны в другой
подключения, пожалуйста, смотрите
комнате, для управления системой можно
руководство к ИК-приемнику.
English
использовать дополнительный ИК-приемник
• Если нужно подключить компонент
(например, блок Niles или Xantech), а не датчик
1
Pioneer к ИК-приемнику, см. Управление
на передней панели ресивера.
другими компонентами Pioneer от
1 Подключите датчик ИК-ресивера к
сенсора ДУ данного аппарата ниже для
гнезду
IR IN
на задней панели этого
подключения к гнездам CONTROL
Français
ресивера.
вместо гнезда IR OUT.
Управление другими
компонентами Pioneer от
сенсора ДУ данного аппарата
Многие компоненты Pioneer оснащены
гнездами SR CONTROL, с помощью которых
можно соединить компоненты так, что для
управления всеми ими понадобится сенсор ДУ
только одного из компонентов. При
Italiano
использовании пульта ДУ, сигнал управления
передается по цепи компонентов до
2
устройства, для которого он предназначен.
Внимание
Deutsch
• Помните, что при использовании этого
режима, обязательно следует
дополнительно соединить по крайней
мере один набор аналоговых аудиогнезд,
Nederlands
видеогнезд или гнездо HDMI к другому
компоненту для заземления.
1 Выберите компонент, датчик ДУ
которого будет использоваться.
На этот компонент надо будет направлять
пульт ДУ для управления любым из
Español
компонентов в цепи.
37
Ru
Примечание
CONTROL
IR
IN OUT
IN
HDMI
BD IN IN IN IN IN
1
2 3 4
OUT
ASSIGNABLE
1 4
COMPONENT VIDEO
ASSIGNABLE
AUDIO
IN
1
IN
2
(
DVD
)
(
DVR/BDR
)
L
Y
Y
P
B
P
B
R
ZONE 2
DVR/BDR
DVD
TV/SAT
VIDEO
P
R
P
R
OUT
OUT IN IN
IN
IN
MONITOR
Y
OUT
VIDEO
P
B
IR CONTROL
IN
OUT
IN
OUT
P
R
1• Дистанционное управление может не действовать, если на окошко датчика ИК-приемника падает прямой свет
мощной флуоресцентной лампы.
• Обратите внимание, что другие производители могут не использовать технологию, связанную с ИК-технологиями.
Просмотрите информацию о ИК-совместимости вашего устройства в прилагаемой к нему документации.
• Если вы используете два пульта дистанционного управления (одновременно),
телеметрический датчик ИК-
приемника имеет приоритет по отношению к датчику на передней панели.
Шкаф или этажерка
Компонент
Компонент не
производства Pioneer
производства Pioneer
VSX-1020/VSX-1025
ИК-приемник
VSX-1025_SYXCN_Ru.book 37 ページ 2010年3月18日 木曜日 午前10時36分
2• Для управления всеми компонентами от пульта ДУ данного ресивера, см. раздел Настройка пульта дистанционного
управления для работы с другими компонентами на стр.77.
• Если пульт ДУ подключен к гнезду CONTROL IN (при помощи кабеля с мини-джек разъемами), то управление
данным аппаратом через сенсор ДУ будет невозможно.

2 Подключите гнездо
CONTROL OUT
такого компонента к гнезду
CONTROL IN
Подключение ресивера к
другого компонента Pioneer.
электророзетке
Используйте для подключения кабель с
монофоническими мини-джек разъемами на
Включайте вилку в сеть только после
обоих концах.
подключения к ресиверу всех устройств
(включая громкоговорители).
1 Вставьте разъем кабеля питания,
HDMI
BD IN IN IN IN IN
1
2 3 4
OUT
ASSIGNABLE
1 4
входящего в комплект поставки, в гнездо
AC IN
на задней панели ресивера.
COMPONENT VIDEO
ASSIGNABLE
AUDIO
IN
1
IN
2
(
DVD
)
(
DVR/BDR
)
L
Y
Y
2 Подключите другой конец к
1
PB
P
B
R
электророзетке.
ZONE 2
DVR/BDR
DVD
TV/SAT
VIDEO
PR
PR
OUT
OUT IN IN
IN
IN
MONITOR
Y
OUT
ОСТОРОЖНО
VIDEO
P
B
IR CONTROL
IN
OUT
IN
OUT
• Держите кабель питания за вилку.
PR
Вынимая вилку из электророзетки, никогда
не тяните за сам кабель, никогда не
дотрагивайтесь до кабеля питания
влажными руками, так как это может стать
причиной короткого замыкания и
поражения электрическим током. Не
IN OUT
IN OUT
CONTROL
CONTROL
ставьте на кабель питания устройство,
мебель или другие предметы и не
зажимайте его каким-либо ин
ым образом.
Запрещается завязывать узлы на кабеле
питания или связывать его с другими
кабелями. Кабели питания следует
прокладывать в таких местах, где
возможность наступить на них будет
Таким же образом подключите к цепи
маловероятной. Поврежденный кабель
остальные нужные компоненты в любом
питания может стать причиной возгорания
количестве.
или поражения электрическим током.
Периодически проверяйте кабель питания.
Если кабель питания поврежден,
обратитесь за сменным кабелем в
бл
ижайший уполномоченный независимый
сервис-центр Pioneer.
• Используйте только кабель питания,
входящий в комплект поставки данного
устройства.
• Используйте прилагаемый кабель питания
только по его прямому назначению, как
описано ниже.
• Когда ресивер не используется (например,
во время отпуска), его следует отключать
от питания, вынув вилку из розетки
электросети.
38
Ru
VSX-1020/VSX-1025
Примечание
VSX-1025_SYXCN_Ru.book 38 ページ 2010年3月18日 木曜日 午前10時36分
1 После подключения данного ресивера к розетке переменного тока, запускается процесс инициализации HDMI,
занимающий от 2 до 10 секунд. Во время данного процесса, любые операции недоступны. Во время данного процесса,
на дисплее передней панели мигает индикатор HDMI, и данный ресивер можно включить только после остановки
мигания. Данный процесс можно пропустить, установив режим Control на OFF. Подро
бнее о функции Управление
по HDMI см. Функция Управление по HDMI на стр. 63.
Оглавление
- Contents
- Flow of settings on the receiver
- Before you start
- Controls and displays
- Connecting your equipment
- Basic Setup
- Basic playback
- Listening to your system
- Control with HDMI function
- Using other functions
- Controlling the rest of your system
- The Advanced MCACC menu
- The System Setup and Other Setup menus
- Additional information
- Table des matières
- Organigramme des réglages sur le récepteur
- Avant de commencer
- Commandes et affichages
- Raccordement de votre équipement
- Configuration de base
- Lecture de base
- Écoute de sources à l’aide de votre système
- Fonction Control HDMI
- Utilisation d’autres fonctions
- Commander le reste de votre système
- Le menu MCACC avancé
- Configuration du système et autres réglages
- Informations complémentaires
- Содержание
- Порядок выполнения настроек на ресивере
- Перед началом работы
- Органы управления и индикаторы
- Подключение оборудования
- Основная настройка
- Основные операции воспроизведения
- Прослушивание системы
- Функция Управление по HDMI
- Использование других функций
- Управление остальными частями системы
- Меню Advanced MCACC
- Меню System Setup (Настройка системы) и Other Setup (Другие настройки)
- Дополнительная информация

