Karcher PC 60-130 T: Вывод из эксплуатации
Вывод из эксплуатации: Karcher PC 60-130 T
-
5
Для
увеличения
продолжительности
ис
-
пользования
очистительной
жидкости
устройство
оборудуется
сепаратором
.
Сепаратор
подает
масло
,
плавающее
в
очистительной
жидкости
,
в
резервуар
маслоприемника
.
Указание
Наилучшие
результаты
работы
сепа
-
ратора
достигаются
при
использова
-
нии
холодных
очистительных
жидкостей
.
Î
Чтобы
отделить
масло
от
воды
,
очис
-
тительную
жидкость
следует
оста
-
вить
в
покое
не
менее
чем
на
один
час
.
Am besten vor Arbeitsbeginn
durchführen.
Î
В
зависимости
от
количества
масла
включать
сепаратор
1
раз
в
день
на
несколько
минут
.
Лучшее
время
:
Утром
перед
началом
работы
,
в
охлажденном
,
успокоен
-
ном
состоянии
.
Î
По
мере
необходимости
опорожнять
резервуар
маслоприемника
.
Указание
Пожалуйста
,
утилизируйте
собранное
масло
надлежащим
образом
.
Нагревательным
элементом
и
масля
-
ным
сепаратором
устройства
можно
уп
-
равлять
автоматически
с
помощью
таймера
.
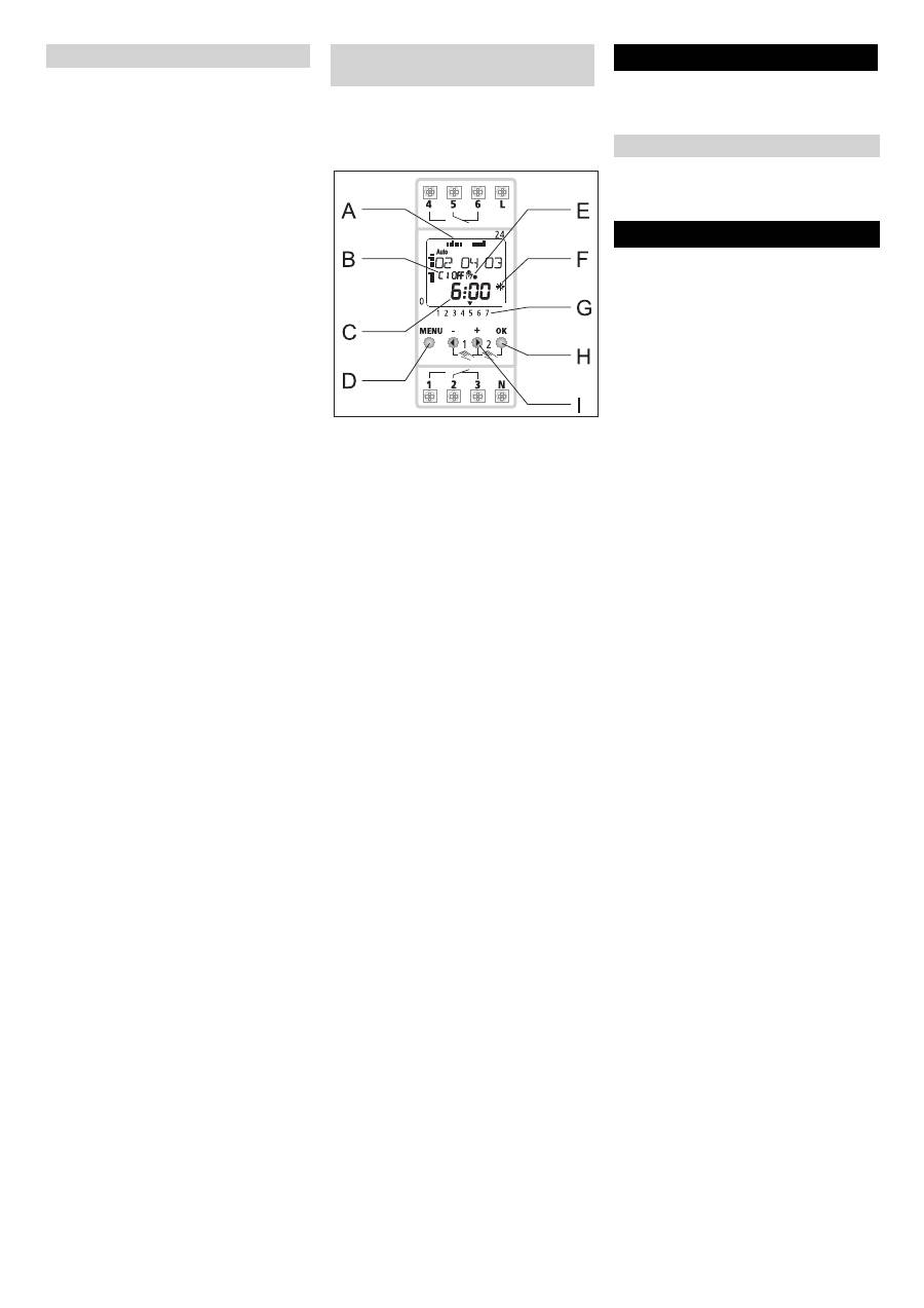
A
Сводка
по
дням
запрограммирован
-
ного
времени
включения
(5
день
=
пятница
).
B
Состояние
каналов
C1 =
масляный
сепаратор
–
канал
1
C2 =
нагрев
–
канал
2
C
Рабочее
напряжение
в
норме
.
Режим
запаса
хода
D
Меню
E
Индикация
специальных
функций
F
Индикация
летнего
/
зимнего
времени
G
Действующий
день
недели
(1 =
поне
-
дельник
, 2 =
вторник
...)
H
Подтверждение
Да
I
дальше
...
Нет
Рекомендация
:
–
Перед
нагревом
дать
поработать
масляному
сепаратору
в
течение
не
-
скольких
минут
.
–
При
программировании
таймера
учесть
,
что
время
нагрева
составля
-
ет
до
1
часа
.
Указание
Инструкция
по
эксплуатации
таймера
находится
в
шкафу
с
приборами
управ
-
ления
.
Î
Отрегулировать
таймер
в
соответс
-
твии
с
инструкцией
по
эксплуатации
фирмы
-
изготовителя
.
Î
На
пульте
управления
установить
выключатель
нагревательного
эле
-
мента
и
масляного
сепаратора
в
ав
-
томатический
режим
работы
.
При
этом
таймер
активируется
.
Î
Выключить
и
закрыть
главный
вы
-
ключатель
.
Î
Закройте
крышку
прибора
.
Î
Удалить
содержимое
из
резервуара
для
очистительного
раствора
.
Î
Опорожнить
насос
.
Внимание
!
Опасность
получения
травм
и
повреж
-
дений
!
При
транспортировке
следует
обратить
внимание
на
вес
устройс
-
тва
.
Î
Спустить
очистительную
жидкость
.
Î
Выключить
прибор
и
отсоединить
его
от
сети
.
Î
Отпустить
стояночный
тормоз
.
Î
Передвинуть
прибор
.
Î
При
перевозке
аппарата
в
транспор
-
тных
средствах
следует
учитывать
действующие
местные
государс
-
твенные
нормы
,
направленные
на
защиту
от
скольжения
и
опрокидыва
-
ния
.
Сепаратор
(
Опция
)
Таймер
(
по
дополнительному
заказу
)
Вывод из эксплуатации
Защита
от
замерзания
Транспортировка
111 RU
Оглавление
- Deutsch
- Sicherheitseinrichtungen
- Geräteelemente
- Inbetriebnahme
- Außerbetriebnahme
- Pflege und Wartung
- Hilfe bei Störungen
- Garantie Ersatzteile Technische Daten
- English
- Safety Devices
- Device elements
- Start up
- Shutting down
- Maintenance and care
- Troubleshooting
- Warranty Spare parts Technical specifications
- Français
- Dispositifs de sécurité
- Éléments de l'appareil
- Mise en service
- Mise hors service
- Entretien et maintenance
- Assistance en cas de panne
- Garantie Pièces de rechange Caractéristiques techniques
- Italiano
- Dispositivi di sicurezza
- Parti dell'apparecchio
- Messa in funzione
- Messa fuori servizio
- Cura e manutenzione
- Guida alla risoluzione dei guasti
- Garanzia Ricambi Dati tecnici
- Nederlands
- Veiligheidsinrichtingen
- Apparaat-elementen
- Inbedrijfstelling
- Buitenwerkingstelling
- Onderhoud
- Hulp bij storingen
- Garantie Reserveonderdelen Technische gegevens
- Español
- Dispositivos de seguridad
- Elementos del aparato
- Puesta en marcha
- Puesta fuera de servicio
- Cuidados y mantenimiento
- Ayuda en caso de avería
- Garantía Piezas de repuesto Datos técnicos
- Português
- Equipamento de segurança
- Elementos do aparelho
- Colocação em funcionamento
- Colocar fora de serviço
- Conservação e manutenção
- Ajuda em caso de avarias
- Garantia Peças sobressalentes Dados técnicos
- Dansk
- Sikkerhedsanordninger
- Maskinelementer
- Ibrugtagning
- Ud-af-drifttagning
- Pleje og vedligeholdelse
- Hjælp ved fejl
- Garanti Reservedele Tekniske data
- Norsk
- Sikkerhetsinnretninger
- Maskinorganer
- Ta i bruk
- Stans av driften
- Pleie og vedlikehold
- Feilretting
- Garanti Reservedeler Tekniske data
- Svenska
- Säkerhetsanordningar
- Aggregatelement
- Idrifttagning
- Ta ur drift
- Skötsel och underhåll
- Åtgärder vid störningar
- Garanti Reservdelar Tekniska data
- Suomi
- Turvalaitteet
- Laitteen osat
- Käyttöönotto
- Käytön lopettaminen
- Hoito ja huolto
- Häiriöapu
- Takuu Varaosat Tekniset tiedot
- Πίνακας περιεχομένων
- Διατάξεις ασφαλείας
- Στοιχεία συσκευής
- Έναρξη λειτουργίας
- Απενεργοποίηση
- Φροντίδα και συντήρηση
- Αντιμετώπιση βλαβών
- Εγγύηση Ανταλλακτικά Τεχνικά χαρακτηριστικά
- Türkçe
- Güvenlik tertibatlar ı
- Cihaz elemanlar ı
- İş letime alma
- Kullan ı m d ı ş ı nda
- Koruma ve Bak ı m
- Ar ı zalarda yard ı m
- Garanti Yedek parçalar Teknik Bilgiler
- Оглавление
- Защитные устройства
- Элементы прибора
- Начало работы
- Вывод из эксплуатации
- Уход и техническое обслуживание
- Помощь в случае неполадок
- Гарантия Запасные части Технические данные
- Magyar
- Biztonsági berendezések
- Készülék elemek
- Üzembevétel
- Üzemen kívül helyezés
- Ápolás és karbantartás
- Segítség üzemzavar esetén
- Garancia Alkatrészek M ű szaki adatok
- eština
- Bezpe č nostní za ř ízení
- Prvky p ř ístroje
- Uvedení do provozu
- Zastavení provozu
- Ošet ř ování a údržba
- Pomoc p ř i poruchách
- Záruka Náhradní díly Technické údaje
- Slovenšina
- Varnostne priprave
- Elementi naprave
- Zagon
- Ustavitev obratovanja
- Nega in vzdrževanje
- Pomo č pri motnjah
- Garancija Nadomestni deli Tehni č ni podatki
- Polski
- Zabezpieczenia
- Elementy urz ą dzenia
- Uruchamianie
- Wy łą czenie z ruchu
- Czyszczenie i konserwacja
- Usuwanie usterek
- Gwarancja Cz ęś ci zamienne Dane techniczne
- Românete
- Dispozitive de siguran ţă
- Elementele aparatului
- Punerea în func ţ iune
- Scoaterea din func ţ iune
- Îngrijirea ş i între ţ inerea
- Remedierea defec ţ iunilor
- Garan ţ ie Piese de schimb Date tehnice
- Slovenina
- Bezpe č nostné prvky
- Prvky prístroja
- Uvedenie do prevádzky
- Vyradenie z prevádzky
- Starostlivos ť a údržba
- Pomoc pri poruchách
- Záruka Náhradné diely Technické údaje
- Hrvatski
- Sigurnosni ure đ aji
- Sastavni dijelovi ure đ aja
- Stavljanje u pogon
- Stavljanje izvan pogona
- Njega i održavanje
- Otklanjanje smetnji
- Jamstvo Pri č uvni dijelovi Tehni č ki podaci
- Srpski
- Sigurnosni elementi
- Sastavni delovi ure đ aja
- Stavljanje u pogon
- Nakon upotrebe
- Nega i održavanje
- Otklanjanje smetnji
- Garancija Rezervni delovi Tehni č ki podaci
- Съдържание
- Предпазни приспособления
- Елементи на уреда
- Пускане в експлоатация
- Спиране на експлоатация
- Грижи и поддръжка
- Помощ при неизправности
- Гаранция Резервни части Технически данни
- Eesti
- Ohutusseadised
- Seadme elemendid
- Kasutuselevõtt
- Kasutuselt võtmine
- Korrashoid ja tehnohooldus
- Abi häirete korral
- Garantii Varuosad Tehnilised andmed
- Latviešu
- Droš ī bas iek ā rtas
- Apar ā ta elementi
- Ekspluat ā cijas uzs ā kšana
- Ekspluat ā cijas p ā rtraukšana
- Kopšana un tehnisk ā apkope
- Pal ī dz ī ba darb ī bas trauc ē jumu gad ī jum ā
- Garantija Rezerves da ļ as Tehniskie dati
- Lietuviškai
- Saugos į ranga
- Prietaiso dalys
- Naudojimo pradžia
- Naudojimo nutraukimas
- Prieži ū ra ir aptarnavimas
- Pagalba gedim ų atveju
- Garantija Atsargin ė s dalys Techniniai duomenys
- Зміст
- Захисні пристрої
- Елементи приладу
- Введення в експлуатацію
- Зняття з експлуатації
- Догляд та технічне обслуговування
- Допомога у випадку неполадок
- Гарантія Запасні частини Технічні характеристики

