Karcher PC 60-130 T: Naudojimo nutraukimas
Naudojimo nutraukimas: Karcher PC 60-130 T
-
5
Siekiant prailginti valomojo skys
č
io naudo-
jimo laik
ą
, prietaise
į
rengtas graibštas.
Graibštas transportuoja valomajame skys-
tyje pl
ū
duriuojan
č
i
ą
alyv
ą
į
alyvos surinki-
mo rezervuar
ą
.
Pastaba
Geriausias rezultatas pasiekiamas, naudo-
jant graibšt
ą
, kai valomasis skystis yra šal-
tas.
Î
Palaukite bent valand
ą
, kol valomasis
skystis atv
ė
s, kad alyva gal
ė
t
ų
atsiskirti
nuo vandens.
Am besten vor Arbeitsbeginn dur-
chführen.
Î
Priklausomai nuo alyvos naudojimo,
graibšt
ą
į
junkite vien
ą
kart
ą
per dien
ą
kelioms minut
ė
ms.
Geriausias laikas: rytais prieš prade-
dant eksploatuoti, kol skystis yra šaltas,
ramyb
ė
s b
ū
senoje.
Î
Taip pat ištuštinkite alyvos gaudykl
ę
.
Pastaba
Tinkamai sutvarkykite surinktos alyvos
atliekas.
Prietaiso šildytuv
ą
ir alyvos atskyrikl
į
gali-
ma valdyti laikma
č
iu visiškai automatiškai.
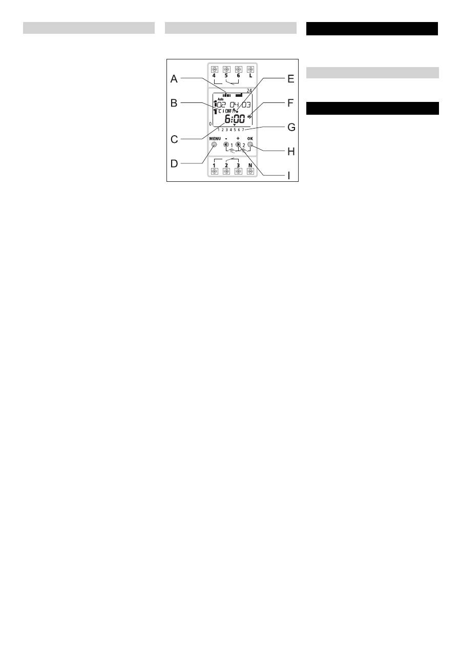
A Programuojamo jungimo laiko dienos
apžvalga (5 = penktadienis)
B Kanalo b
ū
kl
ė
s
C1 = alyvos atskyriklis - 1 kanalas
C2 = šildytuvas - 2 kanalas
C Tinkama darbo
į
tampa
Rezervinis režimas
D Meniu
E Speciali
ų
j
ų
funkcij
ų
indikatorius
F Vasaros ir žiemos laiko indikatorius
G Savait
ė
s diena (1 = pirmadienis, 2 = an-
tradienis ir t.t.)
H Patvirtinti
Taip
I
toliau...
Ne
Patarimas:
–
Alyvos atskyrikl
į
naudokite kelias minu-
tes prieš pašildym
ą
.
–
Prieš programuodami laikmat
į
, atsižvel-
kite
į
tai, kad šildytuvui kaisti reikia iki 1
valandos.
Pastaba
Laikma
č
io naudojimo instrukcij
ą
rasite jun-
gimo spintoje.
Î
Laikmat
į
nustatykite vadovaudamiesi
gamintojo naudojimo instrukcija.
Î
Valdymo plote nustatykite šildytuvo ir
alyvos atskyriklio automatin
į
režim
ą
.
Laikmatis aktyvinamas.
Î
Pagrindiniu jungikliu išjunkite prietais
ą
į
užrakinkite pagrindin
į
jungikl
į
.
Î
Uždarykite prietaiso gaubt
ą
.
Î
Ištuštinkite valomojo tirpalo rezervuar
ą
.
Î
Ištuštinkite siurbl
į
.
Atsargiai
Sužalojim
ų
ir pažeidim
ų
pavojus! Transpor-
tuojant prietais
ą
, reikia atsižvelgti
į
jo svor
į
.
Î
Išleiskite valom
ą
j
į
skyst
į
.
Î
Išjunkite prietais
ą
ir ištraukite tinklo kiš-
tuk
ą
.
Î
Atleiskite stov
ė
jimo stabd
į
.
Î
Prietais
ą
stumkite.
Î
Transportuojant
į
rengin
į
transporto
priemon
ė
se, j
į
reikia užfiksuoti pagal
galiojan
č
ius reglamentus, kad neslyst
ų
ir neapvirst
ų
.
Graibštas (pasirenkamas priedas)
Laikmatis (pasirenkamas)
Naudojimo nutraukimas
Apsauga nuo šal
č
io
Transportavimas
207 LT
Оглавление
- Deutsch
- Sicherheitseinrichtungen
- Geräteelemente
- Inbetriebnahme
- Außerbetriebnahme
- Pflege und Wartung
- Hilfe bei Störungen
- Garantie Ersatzteile Technische Daten
- English
- Safety Devices
- Device elements
- Start up
- Shutting down
- Maintenance and care
- Troubleshooting
- Warranty Spare parts Technical specifications
- Français
- Dispositifs de sécurité
- Éléments de l'appareil
- Mise en service
- Mise hors service
- Entretien et maintenance
- Assistance en cas de panne
- Garantie Pièces de rechange Caractéristiques techniques
- Italiano
- Dispositivi di sicurezza
- Parti dell'apparecchio
- Messa in funzione
- Messa fuori servizio
- Cura e manutenzione
- Guida alla risoluzione dei guasti
- Garanzia Ricambi Dati tecnici
- Nederlands
- Veiligheidsinrichtingen
- Apparaat-elementen
- Inbedrijfstelling
- Buitenwerkingstelling
- Onderhoud
- Hulp bij storingen
- Garantie Reserveonderdelen Technische gegevens
- Español
- Dispositivos de seguridad
- Elementos del aparato
- Puesta en marcha
- Puesta fuera de servicio
- Cuidados y mantenimiento
- Ayuda en caso de avería
- Garantía Piezas de repuesto Datos técnicos
- Português
- Equipamento de segurança
- Elementos do aparelho
- Colocação em funcionamento
- Colocar fora de serviço
- Conservação e manutenção
- Ajuda em caso de avarias
- Garantia Peças sobressalentes Dados técnicos
- Dansk
- Sikkerhedsanordninger
- Maskinelementer
- Ibrugtagning
- Ud-af-drifttagning
- Pleje og vedligeholdelse
- Hjælp ved fejl
- Garanti Reservedele Tekniske data
- Norsk
- Sikkerhetsinnretninger
- Maskinorganer
- Ta i bruk
- Stans av driften
- Pleie og vedlikehold
- Feilretting
- Garanti Reservedeler Tekniske data
- Svenska
- Säkerhetsanordningar
- Aggregatelement
- Idrifttagning
- Ta ur drift
- Skötsel och underhåll
- Åtgärder vid störningar
- Garanti Reservdelar Tekniska data
- Suomi
- Turvalaitteet
- Laitteen osat
- Käyttöönotto
- Käytön lopettaminen
- Hoito ja huolto
- Häiriöapu
- Takuu Varaosat Tekniset tiedot
- Πίνακας περιεχομένων
- Διατάξεις ασφαλείας
- Στοιχεία συσκευής
- Έναρξη λειτουργίας
- Απενεργοποίηση
- Φροντίδα και συντήρηση
- Αντιμετώπιση βλαβών
- Εγγύηση Ανταλλακτικά Τεχνικά χαρακτηριστικά
- Türkçe
- Güvenlik tertibatlar ı
- Cihaz elemanlar ı
- İş letime alma
- Kullan ı m d ı ş ı nda
- Koruma ve Bak ı m
- Ar ı zalarda yard ı m
- Garanti Yedek parçalar Teknik Bilgiler
- Оглавление
- Защитные устройства
- Элементы прибора
- Начало работы
- Вывод из эксплуатации
- Уход и техническое обслуживание
- Помощь в случае неполадок
- Гарантия Запасные части Технические данные
- Magyar
- Biztonsági berendezések
- Készülék elemek
- Üzembevétel
- Üzemen kívül helyezés
- Ápolás és karbantartás
- Segítség üzemzavar esetén
- Garancia Alkatrészek M ű szaki adatok
- eština
- Bezpe č nostní za ř ízení
- Prvky p ř ístroje
- Uvedení do provozu
- Zastavení provozu
- Ošet ř ování a údržba
- Pomoc p ř i poruchách
- Záruka Náhradní díly Technické údaje
- Slovenšina
- Varnostne priprave
- Elementi naprave
- Zagon
- Ustavitev obratovanja
- Nega in vzdrževanje
- Pomo č pri motnjah
- Garancija Nadomestni deli Tehni č ni podatki
- Polski
- Zabezpieczenia
- Elementy urz ą dzenia
- Uruchamianie
- Wy łą czenie z ruchu
- Czyszczenie i konserwacja
- Usuwanie usterek
- Gwarancja Cz ęś ci zamienne Dane techniczne
- Românete
- Dispozitive de siguran ţă
- Elementele aparatului
- Punerea în func ţ iune
- Scoaterea din func ţ iune
- Îngrijirea ş i între ţ inerea
- Remedierea defec ţ iunilor
- Garan ţ ie Piese de schimb Date tehnice
- Slovenina
- Bezpe č nostné prvky
- Prvky prístroja
- Uvedenie do prevádzky
- Vyradenie z prevádzky
- Starostlivos ť a údržba
- Pomoc pri poruchách
- Záruka Náhradné diely Technické údaje
- Hrvatski
- Sigurnosni ure đ aji
- Sastavni dijelovi ure đ aja
- Stavljanje u pogon
- Stavljanje izvan pogona
- Njega i održavanje
- Otklanjanje smetnji
- Jamstvo Pri č uvni dijelovi Tehni č ki podaci
- Srpski
- Sigurnosni elementi
- Sastavni delovi ure đ aja
- Stavljanje u pogon
- Nakon upotrebe
- Nega i održavanje
- Otklanjanje smetnji
- Garancija Rezervni delovi Tehni č ki podaci
- Съдържание
- Предпазни приспособления
- Елементи на уреда
- Пускане в експлоатация
- Спиране на експлоатация
- Грижи и поддръжка
- Помощ при неизправности
- Гаранция Резервни части Технически данни
- Eesti
- Ohutusseadised
- Seadme elemendid
- Kasutuselevõtt
- Kasutuselt võtmine
- Korrashoid ja tehnohooldus
- Abi häirete korral
- Garantii Varuosad Tehnilised andmed
- Latviešu
- Droš ī bas iek ā rtas
- Apar ā ta elementi
- Ekspluat ā cijas uzs ā kšana
- Ekspluat ā cijas p ā rtraukšana
- Kopšana un tehnisk ā apkope
- Pal ī dz ī ba darb ī bas trauc ē jumu gad ī jum ā
- Garantija Rezerves da ļ as Tehniskie dati
- Lietuviškai
- Saugos į ranga
- Prietaiso dalys
- Naudojimo pradžia
- Naudojimo nutraukimas
- Prieži ū ra ir aptarnavimas
- Pagalba gedim ų atveju
- Garantija Atsargin ė s dalys Techniniai duomenys
- Зміст
- Захисні пристрої
- Елементи приладу
- Введення в експлуатацію
- Зняття з експлуатації
- Догляд та технічне обслуговування
- Допомога у випадку неполадок
- Гарантія Запасні частини Технічні характеристики

