Karcher IB 7-40 Adv: Правильне застосування Призначення Елементи керування
Правильне застосування Призначення Елементи керування: Karcher IB 7-40 Adv
-
2
Обережно
!
Небезпека
ураження
через
ненавмисне
увімкнення
приладу
.
Перед
початком
роботи
з
приладом
витягнути
штекер
з
розетки
.
Обережно
!
Небезпека
холодового
опіку
сухим
льодом
або
холодними
частинами
приладу
.
Під
час
роботи
з
приладом
носити
захисний
одяг
або
видалити
сухий
лід
та
дати
приладу
нагрітися
.
Ніколи
не
брати
сухий
лід
до
роту
.
몇
Попередження
Небезпека
нещасного
випадку
через
ударну
силу
розпилювача
.
Перед
натисканням
на
спуск
пістолету
зайняти
безпечне
місце
та
добре
тримати
пістолет
.
Обережно
!
Небезпека
поранення
відлітаючими
предметами
.
Легкі
об
‘
єкти
чищення
зафіксувати
так
,
щоб
уникнути
їх
зміщення
струменем
сухого
льоду
.
몇
Попередження
Пристрій
не
використовуйте
,
коли
в
зоні
досяжності
є
інші
люди
,
особливо
,
якщо
вони
не
мають
захисного
одягу
.
Експлуатація
пристрою
забороняється
в
разі
пошкодження
мережевого
шнура
або
важливих
частин
пристрою
,
наприклад
,
запобіжників
,
шлангу
подачі
речовини
для
очищення
,
струминних
пістолетів
.
Небезпека
защемлення
дозатором
.
Перед
зняттям
захисної
пластини
з
контейнера
для
сухого
льоду
обов
‘
язково
витягнути
штепсельну
вилку
пристрою
з
розетки
.
Для
експлуатації
цього
приладу
у
ФРН
діють
наступні
інструкції
та
директиви
(
можна
отримати
у
Carl Heymanns Verlag
KG, Luxemburger Stra
Я
e 449, 50939 K
ц
ln)
–
BGV D 26
Робота
зі
струменями
–
Вказівки
щодо
виконання
до
BGV D 26
–
BGR 117
Роботи
у
тісних
приміщеннях
–
BGR 189
Застосування
захисного
одягу
–
BGR 195
Застосування
захисних
рукавиць
–
BGR 500
Роботи
з
пристроями
для
проведення
струминного
чищення
–
BGI 534
Роботи
у
тісних
приміщеннях
–
BGI 836
Застереження
щодо
газу
При
натисненні
на
кнопку
аварійного
виключення
дозування
сухого
льоду
зупиняється
і
потік
повітря
з
форсунки
уривається
.
Відпустити
спуск
пістолета
.
Натиснути
кнопку
аварийного
вимкнення
.
Дозування
сухого
льоду
зупинено
та
потік
повітря
з
сопла
припинився
.
Призупинення
забезпечення
тиску
повітря
.
Прилад
служить
для
видалення
забруднення
частинками
сухого
льоду
,
що
розпиляються
струменем
повітря
під
тиском
.
Прилад
не
повинен
використовуватися
вибухонебезпечній
зоні
.
Для
струменя
повинен
використовуватись
тільки
сухий
лід
.
Використання
іншого
засобу
може
привести
до
пошкодження
приладу
.
Стиснене
повітря
потрапляє
через
редукційний
клапан
до
струменевого
пістолету
.
При
натисканні
спускового
важеля
струменевого
пістолета
клапан
відкривається
і
з
пістолета
виходить
струмінь
повітря
.
Через
дозатор
у
повітряний
потік
додатково
додаються
гранули
сухого
льоду
.
При
застосуванні
пристрою
версії
"
І
B 7/40 Advanced"
підмішування
через
струменевий
пістолет
відключається
.
Часточки
сухого
льоду
потрапляють
на
поверхню
,
що
очищується
,
та
видаляють
бруд
.
Частинки
сухого
льоду
температурою
-
79 °
С
створюють
додаткову
теплову
напругу
між
брудом
та
очищуваним
об
'
єктом
,
що
також
сприяє
видаленню
бруду
.
До
того
ж
сухий
лід
на
виході
зразу
ж
перетворюється
в
газоподібний
діоксид
вуглецю
і
таким
чином
потребує
об
‘
єму
у
700
разів
більшого
.
Таким
чином
змішаний
з
сухим
льодом
бруд
видаляється
.
Під
час
роботи
струменя
,
вібратор
на
контейнері
із
сухим
льодом
забезпечує
безперервну
подачу
часток
сухого
льоду
.
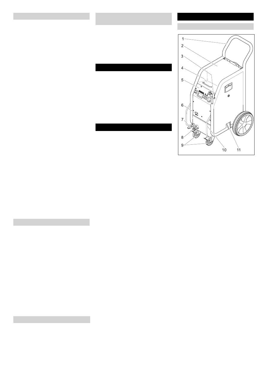
1
Тягова
ручка
2
Кришка
контейнера
з
сухим
льодом
3
Тримач
пістолету
4
Полиця
для
аксесуарів
5
Панель
управління
6
Зщеплення
управління
7
Заземлювальний
трос
,
оснащений
затискачем
(
тільки
в
І
B 7/40
Advanced,
опціонально
для
І
B 7/40
Class
і
c)
8
Зщеплення
шлангу
з
засобом
для
очищення
9
Рульова
стійка
і
гальма
зі
стопорним
пристроєм
10
Рукоятка
для
транспортування
,
захисна
передня
дуга
11
Скидання
сухого
льоду
,
для
спорожнювання
резервуара
Загальні
вказівки
щодо
безпеки
Інструкції
та
директиви
Захисні
пристрої
Кнопка
аварійного
вимкнення
Виключення
у
надзвичайному
випадку
Правильне застосування Призначення Елементи керування
Пристрій
260
UK
Оглавление
- Deutsch
- Bestimmungsgemäße Ver- wendungFunktion Bedienelemente
- Inbetriebnahme
- Bedienung
- Außerbetriebnahme Transport Lagerung Wartung und Pflege
- Hilfe bei Störungen
- Technische Daten
- Zubehör
- English
- Proper use Function Control elements
- Start up
- Operation
- Shutting down Transport Storage Maintenance and care
- Troubleshooting
- Technical specifications
- Accessories
- Français
- Utilisation conforme Fonction Eléments de commande
- Mise en service
- Utilisation
- Mise hors service Transport
- Assistance en cas de panne
- Caractéristiques techniques
- Accessoires
- Italiano
- Uso conforme a destinazione Funzione Dispositivi di comando
- Messa in funzione
- Uso
- Messa fuori servizio
- Guida alla risoluzione dei guasti
- Dati tecnici
- Accessori
- Nederlands
- Reglementair gebruik Functie Bedieningselementen
- Inbedrijfstelling
- Bediening
- Buitenwerkingstelling Vervoer Opslag Onderhoud en reparatie
- Hulp bij storingen
- Technische gegevens
- Accessoires
- Español
- Uso previsto Función Elementos de mando
- Puesta en marcha
- Manejo
- Puesta fuera de servicio Transporte
- Ayuda en caso de avería
- Datos técnicos
- Accesorios
- Português
- Utilização conforme o fim a que se destina a máquina Funcionamento Elementos de manuseamento
- Colocação em funcionamen- to
- Manuseamento
- Colocar fora de serviço Transporte Armazenamento Manutenção e conservação
- Ajuda em caso de avarias
- Dados técnicos
- Acessórios
- Dansk
- Bestemmelsesmæssig an- vendelseFunktion Betjeningselementer
- Ibrugtagning
- Betjening
- Ud-af-drifttagning Transport Opbevaring
- Service og vedligeholdelse
- Tekniske data
- Tilbehør
- Norsk
- Forskriftsmessig bruk Funksjon Betjeningselementer
- Ta i bruk
- Betjening
- Stans av driften Transport
- Lagring Vedliekhold og stell
- Tekniske data
- Tilbehør
- Svenska
- Ändamålsenlig användning Funktion Reglage
- Idrifttagning
- Handhavande
- Ta ur driftTransport Förvaring
- Skötsel och underhåll
- Tekniska data
- Tillbehör
- Suomi
- Käyttötarkoitus Toiminta Hallintalaitteet
- Käyttöönotto
- Käyttö
- Käytön lopettaminen Kuljetus Säilytys Huolto ja hoito
- Häiriöapu
- Tekniset tiedot
- Varusteet
- Πίνακας περιεχομένων
- Χρήση σύμφωνα με τους κα - νονισμούς Λειτουργία Στοιχεία χειρισμού
- Έναρξη λειτουργίας
- Χειρισμός
- Απενεργοποίηση
- Μεταφορά Αποθήκευση Συντήρηση και φροντίδα
- Αντιμετώπιση βλαβών
- Τεχνικά χαρακτηριστικά
- Εξαρτήματα
- Türkçe
- Kurallara uygun kullan ı m Fonksiyon Kumanda elemanlar ı
- İş letime alma
- Kullan ı m ı
- Kullan ı m d ı ş ı nda
- Ta ş ı ma Depolama Bak ı m ve koruma
- Teknik Bilgiler
- Aksesuar
- Оглавление
- Использование по назначе - нию Назначение Элементы управления
- Начало работы
- Управление
- Вывод из эксплуатации
- Транспортировка Хранение Техническое обслуживание и уход
- Помощь в случае непола - док
- Технические данные
- Принадлежности
- Magyar
- Rendeltetésszer ű használat Funkció Kezelési elemek
- Üzembevétel
- Használat
- Üzemen kívül helyezés Transport Tárolás Ápolás és karbantartás
- Segítség üzemzavar esetén
- M ű szaki adatok
- Tartozékok
- eština
- Používání v souladu s ur č e- ním Funkce Ovládací prvky
- Uvedení do provozu
- Obsluha
- Zastavení provozu
- P ř eprava Ukládání Údržba a ošet ř ování
- Technické údaje
- P ř íslušenství
- Slovenšina
- Namenska uporaba Delovanje Upravljalni elementi
- Zagon
- Uporaba
- Ustavitev obratovanja
- Transport Skladiš č enje Vzdrževanje in nega
- Tehni č ni podatki
- Pribor
- Polski
- U ż ytkowanie zgodne z prze- znaczeniem Funkcja Elementy obs ł ugi
- Uruchamianie
- Obs ł uga
- Wy łą czenie z ruchu Transport Przechowywanie Dogl ą d i piel ę gnacja
- Usuwanie usterek
- Dane techniczne
- Akcesoria
- Românete
- Utilizarea corect ă Func ţ ionarea Elemente de operare
- Punerea în func ţ iune
- Utilizarea
- Scoaterea din func ţ iune Transport Depozitarea Îngrijirea ş i între ţ inerea
- Remedierea defec ţ iunilor
- Date tehnice
- Accesorii
- Slovenina
- Používanie výrobku v súlade s jeho ur č ením Funkcia Ovládacie prvky
- Uvedenie do prevádzky
- Obsluha
- Vyradenie z prevádzky Transport Uskladnenie Údržba a ošetrovanie
- Pomoc pri poruchách
- Technické údaje
- Príslušenstvo
- Hrvatski
- Namjensko korištenje Funkcija Komandni elementi
- Stavljanje u pogon
- Rukovanje
- Stavljanje izvan pogona
- Transport Skladištenje Održavanje i njega
- Tehni č ki podaci
- Pribor
- Съдържание
- Употреба по предназначе - ние Функция Обслужващи елементи
- Пускане в експлоатация
- Обслужване
- Спиране на експлоатация
- T рансп o рт Съхранение Поддръжка и грижи
- Помощ при неизправности
- Технически данни
- Принадлежности
- Eesti
- Sihipärane kasutamine Funktsioon Teeninduselemendid
- Kasutuselevõtt
- Käsitsemine
- Kasutuselt võtmine
- Transport Hoiulepanek Tehnohooldus ja korrashoid
- Tehnilised andmed
- Tarvikud
- Latviešu
- Noteikumiem atbilstoša lieto- šana Darb ī ba Vad ī bas elementi
- Ekspluat ā cijas uzs ā kšana
- Apkalpošana
- Ekspluat ā cijas p ā rtraukšana
- Transport ē šana Glab ā šana Apkope un kopšana
- Tehniskie dati
- Piederumi
- Lietuviškai
- Naudojimas pagal paskirt į Veikimas Valdymo elementai
- Naudojimo pradžia
- Valdymas
- Naudojimo nutraukimas
- Transportavimas Laikymas Prieži ū ra ir aptarnavimas
- Techniniai duomenys
- Priedai
- Перелік
- Правильне застосування Призначення Елементи керування
- Введення в експлуатацію
- Експлуатація
- Зняття з експлуатації
- Транспортування Зберігання Технічне обслуговування й догляд
- Допомога у випадку неполадок
- Технічні характеристики
- Аксесуари

