Sony ILCE-6000L – page 22
Manual for Sony ILCE-6000L
Table of contents

Mukana tulleiden varusteiden tarkastaminen
Tarkista ensin kameran mallinimi (sivu 6). Varusteet määräytyvät mallin
mukaan.
Sulkeissa oleva numero osoittaa määrän.
x
Kaikkien mallien
• Okulaarin kuppi (1)
mukana
• Kamera (1)
• Virtajohto (1)* (ei mukana
• Käyttöopas (tämä opas) (1)
Yhdysvalloissa ja Kanadassa)
• Wi-Fi Connection/One-touch
(NFC) Guide (1)
Tässä oppaassa selitetään Wi-Fi-
yhteyttä tarvitsevat toiminnot.
* Kameran mukana saatetaan
toimittaa useita virtajohtoja. Käytä
x
ILCE-6000
maata/aluetta vastaavaa oikeata
• Rungon suojus (1) (kiinnitetty
virtajohtoa.
kameraan)
• Ladattava akku NP-FW50 (1)
x
ILCE-6000L
• E16 – 50 mm zoom-objektiivi (1)
(kiinnitetty kameraan)/objektiivin
etusuojus (1) (kiinnitetty
• Micro USB -kaapeli (1)
objektiiviin)
x
ILCE-6000Y
• E16 – 50 mm zoom-objektiivi (1)
• Verkkolaite AC-UB10C/UB10D
(kiinnitetty kameraan)/objektiivin
(1)
etusuojus (1) (kiinnitetty
objektiiviin)
FI
• E55 – 210 mm zoom-objektiivi
(1)/objektiivin etusuojus (1)/
objektiivin takasuojus (1)/
vastavalosuoja (1)
• Olkahihna (1)
FI
7

Osien tunnistaminen
H Objektiivi
I Kiinnitin
2)
J Kuva-anturi
2)
K Objektiivin koskettimet
1)
Älä peitä tätä osaa videoiden
tallennuksen aikana.
2)
Älä kosketa tätä osaa suoraan.
Kun objektiivi on irrotettu
A Suljinpainike
B C1 (Mukautettu 1) -painike
C Kaukolaukaisinanturi
D ON/OFF (Virta) -kytkin
E Itselaukaisimen valo/AF-
apuvalo
F Objektiivin vapautuspainike
1)
G Mikrofoni
FI
8

G Säätöpainike
H Latausvalo
1)
I Multi/micro USB -liitin
• Tukee Micro USB
-yhteensopivaa laitetta.
J HDMI-mikroliitin
1)
Lisätietoja moniliitäntäkengän ja
Multi/micro USB -liittimen kanssa
yhteensopivista lisälaitteista on
saatavana Sony-web-sivustolta,
Sony-jälleenmyyjältä tai
paikallisesta valtuutetusta Sony-
huollosta. Lisäksi voit käyttää
lisälaitekengän kanssa
yhteensopivia varusteita. Toimintaa
muiden valmistajien varusteiden
kanssa ei taata.
1)
A Moniliitäntäkenkä
B Kuva-anturin sijaintimerkki
C Koukku olkahihnaa varten
D Wi-Fi-anturi (sisäänrakennettu)
E Salamavalo
• Käytä salamaa painamalla
(salaman ponnautus)
-painiketta. Salama ei ponnahda
ylös automaattisesti.
• Kun salamaa ei käytetä, paina se
takaisin kameran runkoon.
F Tilapyörä
(Älykäs automaatti)/
(Paras automaattis.)/
(Ohjelmoitava)/
(Aukko etusijalla)/
FI
(Suljinaika etusijalla)/
(Käsivalotus)/
(Palauta rekisteri)/
(Video)/
(Pyyhkäisypanor.)/
(Valotusohjelma)
FI
9

N Nestekidenäyttö
• Voit säätää näytön helposti
katseltavaan kulmaan ja kuvata
mistä tahansa asennosta.
K Silmäanturi
O Diopterin säätöpainike
L Etsin
• Säädä diopterin säätöpainiketta
M Okulaarin kuppi
näkökykysi mukaan, kunnes
• Ei kiinnitetty kameraan tehtaalla.
näyttö näkyy selvästi etsimessä.
On suositeltavaa kiinnittää
Jos diopterin säätöpainikkeen
okulaarin kuppi, kun aiotaan
kiertäminen on vaikeaa, irrota
käyttää etsintä.
okulaarin kuppi ja säädä sitten
Okulaarin kupin kiinnitys/
painiketta.
irrotus
P (salaman ponnautus) -painike
Q MENU-painike
R Kuvattaessa: AEL-painike
Katseltaessa: Toiston zoomaus
• Irrota okulaarin kuppi, kun
S MOVIE (Video) -painike
kiinnität lisälaitteen (myydään
T Kuvattaessa:
erikseen) moniliitäntäkenkään.
Fn (Toiminto) -painike
Katseltaessa:
(Lähetä älypuhelim.) -painike
• Voit tuoda [Lähetä älypuhelim.]
-näytön esiin painamalla
(Lähetä älypuhelim.)
-painiketta.
U Kiekkopainike
V C2 (Mukautettu 2) -painike/
FI
(Poista) -painike
10
W (Toisto) -painike

C Jalustan liitäntäkolo
• Käytä jalustaa, jonka ruuvin
pituus on alle 5,5 mm. Muussa
tapauksessa et voi kiinnittää
kameraa tukevasti, ja kamera voi
vahingoittua.
D Kaiutin
E Käytön merkkivalo
F Akun/muistikortin kansi
G Muistikorttipaikka
H Akkulokero
I Akun poistovipu
A (N-merkki)
• Kosketa merkkiä, kun liität
kameran NFC-toiminnolla
varustettuun älypuhelimeen.
• NFC (Near Field
Communication) on
kansainvälinen lyhyen kantaman
langattoman tiedonsiirtotekniikan
standardi.
B Liitäntälevyn kansi
• Käytä tätä AC-PW20-
verkkolaitteen kanssa (myydään
erikseen). Aseta liitäntälevy
akkukoteloon ja vedä sitten johto
liitäntälevyn kannen läpi alla
olevassa kuvassa osoitetulla
tavalla.
FI
• Varmista, että johto ei puserru,
kun suljet kannen.
FI
11

x
Objektiivi
E55 – 210 mm F4.5 – 6.3
Katso objektiivien tiedot sivulta 34.
OSS (toimitetaan
ILCE-6000Y:n mukana)
E PZ 16 – 50 mm F3.5 – 5.6
OSS (toimitetaan ILCE-
6000L/ILCE-6000Y:n
mukana)
A Zoomaus-/tarkennusrengas
B Zoomausvipu
C Kiinnitinindeksi
A Tarkennusrengas
1)
D Objektiivin koskettimet
B Zoomausrengas
C Polttoväliasteikko
1)
Älä kosketa tätä osaa suoraan.
D Polttoväli-indeksi
1)
E Objektiivin koskettimet
F Kiinnitinindeksi
1)
Älä kosketa tätä osaa suoraan.
FI
12

Akun asettaminen
Akun poistovipu
1
Avaa kansi.
2
Aseta akku.
• Samalla kun painat akun poistovipua, aseta akku paikalleen kuvan
osoittamalla tavalla. Varmista, että akun poistovipu lukittuu, kun akku
on paikallaan.
• Jos kansi suljetaan, kun paristo ei ole kunnolla paikallaan, kamera voi
vahingoittua.
FI
FI
13

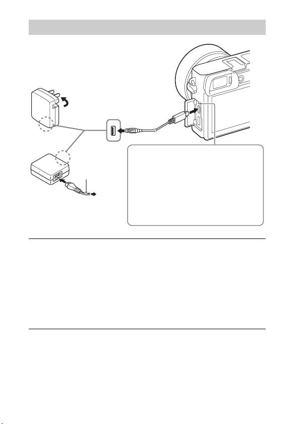
Akun lataaminen
Asiakkaat Yhdysvalloissa ja
Kanadassa
Latausvalo
Palaa: Lataus käynnissä
Ei pala: Lataus päättynyt
Virtajohto
Vilkkuu:
Latausvirhe tai lataus keskeytetty
tilapäisesti, koska kamera ei ole
Asiakkaat muissa maissa/
oikealla lämpötila-alueella
muilla alueilla kuin
Yhdysvalloissa ja
Kanadassa
1
Liitä kamera verkkolaitteeseen (mukana) micro USB
-kaapelilla (mukana).
2
Kytke verkkolaite pistorasiaan.
Latausvalo syttyy oranssina, ja lataus käynnistyy.
• Sammuta kamera akun latauksen ajaksi.
• Akku voidaan ladata, vaikka sen varausta olisi vielä jäljellä.
• Jos latausvalo vilkkuu eikä lataus ole päättynyt, irrota akku ja aseta se
uudelleen.
FI
14

Huomautuksia
• Jos kameran latausvalo vilkkuu, kun verkkolaite on liitetty pistorasiaan, se
tarkoittaa, että lataus on keskeytynyt tilapäisesti, koska lämpötila on suositellun
alueen ulkopuolella. Kun lämpötila palaa asianmukaiselle alueelle, lataus jatkuu.
Suosittelemme, että akku ladataan ympäristön lämpötilassa 10 °C – 30 °C.
• Akkua ei ehkä voi ladata tehokkaasti, jos sen liitinosa on likainen. Puhdista tällöin
akun liitinosa pyyhkimällä pöly kevyesti pois pehmeällä liinalla tai vanupuikolla.
• Liitä verkkolaite (mukana) lähimpään seinäpistorasiaan. Jos verkkolaitteen käytön
aikana ilmenee toimintahäiriöitä, kytke virtalähde irti välittömästi irrottamalla
pistoke pistorasiasta.
• Kun lataus on päättynyt, irrota verkkolaite pistorasiasta.
• Käytä vain alkuperäisiä Sony-akkuja, micro USB -kaapelia (mukana) ja
verkkolaitetta (mukana).
• Virtaa ei syötetä kuvauksen/toiston aikana, jos kamera on liitetty pistorasiaan
toimitetun verkkolaitteen avulla. Jos haluat syöttää virtaa kameraan kuvauksen/
toiston aikana, käytä AC-PW20-verkkolaitetta (myydään erikseen).
x
Latausaika (Täysi lataus)
Latausaika on noin 310 minuuttia käytettäessä verkkolaitetta (mukana).
Huomautuksia
• Yllä oleva latausaika on aika, joka tarvitaan täysin tyhjentyneen akun lataamiseen
25 °C:ssa. Lataus voi kestää pidempään käyttöolojen ja olosuhteiden mukaan.
x
Lataus tietokoneeseen liittämällä
Akku voidaan ladata liittämällä kamera
tietokoneeseen micro USB -kaapelilla.
USB-
Huomautuksia
liittimeen
• Huomaa seuraavat seikat, kun lataat tietokoneen
FI
kautta:
– Jos kamera liitetään kannettavaan tietokoneeseen, jota ei ole liitetty
virtalähteeseen, tietokoneen akku tyhjenee. Älä lataa pitkiä aikoja.
– Älä käynnistä/sammuta tietokonetta, käynnistä sitä uudelleen tai palauta sitä
lepotilasta, kun tietokoneen ja kameran välille on muodostettu USB-yhteys.
Tämä voi aiheuttaa kameran toimintahäiriön. Irrota kamera tietokoneesta ennen
tietokoneen käynnistämistä/sammuttamista, uudelleenkäynnistämistä tai
palauttamista lepotilasta.
FI
– Lataus itse kootulla tai muunnellulla tietokoneella ei välttämättä onnistu.
15

x
Akun kestoaika sekä tallennettavissa/toistettavissa
olevien kuvien määrä
Akun kestoaika Kuvien määrä
Kuvaus
Näyttö Noin 180 min. Noin 360 kuvaa
(valokuvat)
Etsin Noin 155 min. Noin 310 kuvaa
Tyypillinen
Näyttö Noin 60 min. —
videokuvaus
Etsin Noin 60 min. —
Jatkuva
Näyttö Noin 90 min. —
videokuvaus
Etsin Noin 90 min. —
Katselu (valokuvat) Noin 275 min. Noin 5500 kuvaa
Huomautuksia
• Yllä oleva kuvien määrä on voimassa, kun akku on ladattu täyteen. Kuvien määrä
voi pienentyä käyttöolosuhteiden mukaan.
• Tallennettavien kuvien määrä koskee kuvausta seuraavissa olosuhteissa:
– Sony Memory Stick PRO Duo™ (Mark2) -muistikortin (myydään erikseen)
käyttäminen.
– E PZ 16 – 50 mm F3.5 – 5.6 OSS -objektiivi on kiinnitetty.
– Akkua käytetään ympäristön lämpötilan ollessa 25 °C.
– [Etsimen kirkkaus]: [Manuaalinen] [±0]
– [Näytön kirkkaus]: [Manuaalinen] [±0]
• Kuvaus (valokuvat) -määrä perustuu CIPA-standardiin ja koskee kuvausta
seuraavissa olosuhteissa:
(CIPA: Camera & Imaging Products Association)
– DISP-asetus on [Näytä kaikki tied.].
– [Tarkennustila]: [Autom. AF]
– Kuva otetaan 30 sekunnin välein.
– Salamaa käytetään joka toisella kerralla.
– Virta kytketään päälle ja pois joka kymmenennellä kerralla.
• Videokuvauksen minuuttimäärä perustuu CIPA-standardiin ja koskee kuvausta
seuraavissa olosuhteissa:
– [ Tallennusasetus]: 60i 17M(FH)/50i 17M(FH).
– Tyypillinen videokuvaus: Akun kesto perustuu kuvauksen toistuvaan
aloittamiseen/lopettamiseen, zoomaukseen, virran kytkemiseen päälle/pois yms.
– Jatkuva videokuvaus: Akun kesto perustuu keskeytymättömään kuvaukseen,
kunnes raja (29 minuuttia) saavutetaan ja kun kuvausta sitten jatketaan
painamalla MOVIE-painiketta uudelleen. Muita toimintoja, kuten zoomausta, ei
käytetä.
FI
16

Muistikortin (myydään erikseen) asettaminen
Varmista, että lovettu
kulma osoittaa
oikeaan suuntaan.
1
Avaa kansi (sivu 13).
2
Aseta muistikortti (myydään erikseen).
• Kun lovettu kulma osoittaa kuvan mukaiseen suuntaan, aseta
muistikortti paikalleen, kunnes se napsahtaa.
3
Sulje kansi.
x
Muistikortit, joita voidaan käyttää
Muistikortti Valokuvat Videot
Memory Stick XC-HG Duo™
A
Memory Stick PRO Duo™ (vain Mark2)
Memory Stick PRO-HG Duo™
SD-muistikortti (Luokka 4 tai
nopeampi)
SDHC-muistikortti (Luokka 4 tai
B
nopeampi)
SDXC-muistikortti (Luokka 4 tai
nopeampi)
• Tässä oppaassa taulukon tuotteista käytetään nimeä:
FI
A: Memory Stick PRO Duo
B: SD-kortti
x
Muistikortin/akun poistaminen
Muistikortti: Poista muistikortti painamalla sitä sisään kerran.
Akku: Työnnä akun poistovipua. Varo, että et pudota akkua.
FI
17

Huomautuksia
• Älä koskaan irrota muistikorttia/akkua käytön merkkivalon (sivu 11) palaessa.
Muistikortilla oleva data voi vahingoittua.
Objektiivin kiinnittäminen/irrottaminen
Aseta kameran virtakytkin asentoon OFF, ennen kuin kiinnität tai irrotat
objektiivin.
Jos objektiivinsuojus tai pakkaushattu on kiinnitetty,
1
irrota se kamerasta tai objektiivista.
• Vaihda objektiivi nopeasti etäällä pölyisistä paikoista, jotta kameraan ei
pääse pölyä tai roskia.
Kiinnitä objektiivi kohdistamalla objektiivissa ja
2
kamerassa olevat valkoiset merkit.
• Pidä kameran etupuolta alaspäin, jotta kameraan ei pääse pölyä.
Työnnä objektiivia kevyesti kameraan päin ja käännä
3
objektiivia myötäpäivään, kunnes se lukittuu paikalleen.
• Aseta objektiivi paikalleen suorassa.
Huomautuksia
• Älä paina objektiivin vapautuspainiketta objektiivia kiinnittäessäsi.
• Älä käytä liikaa voimaa, kun kiinnität objektiivia.
• A-kiinnitteisen objektiivin (myydään erikseen) käyttöön tarvitaan kiinnitinsovitin
(myydään erikseen). Katso lisätietoja kiinnitinsovittimen mukana tulleesta
käyttöoppaasta.
• Kun käytetään jalustaliitännällä varustettua objektiivia, kiinnitä jalusta objektiivin
puolelle tasapainon säilyttämiseksi.
FI
18

x
Objektiivin irrottaminen
Objektiivin vapautuspainike
Paina objektiivin vapautuspainike pohjaan asti ja
1
käännä objektiivia vastapäivään, kunnes se pysähtyy.
Huomautuksia
• Jos kameran sisälle pääsee pölyä tai roskia objektiivin vaihdon aikana ja ne
tarttuvat kuva-anturin (osa, joka muuttaa valonlähteen digitaaliseksi signaaliksi)
pintaan, ne voivat näkyä kuvassa tummina pisteinä kuvausympäristön mukaan.
Kamera värisee hieman, vaikka virta on katkaistu, koska siinä on pölyn
tarttumisen kuvakennoon estävä toiminto. Objektiivi kannattaa kuitenkin
kiinnittää ja irrottaa nopeasti pölyttömässä tilassa.
• Jos kuva-anturiin tarttuu vierasta ainetta, poista se käyttämällä puhallinta.
• Älä jätä kameraa objektiivi irrotettuna.
• Jos haluat käyttää rungon suojusta tai objektiivin takasuojusta, osta ALC-B1EM
(rungon suojus) tai ALC-R1EM (objektiivin takasuojus) (myydään erikseen).
• Kun käytetään moottoroitua zoom-objektiivia, aseta ennen objektiivin vaihtamista
kameran virtakytkin asentoon OFF ja varmista, että objektiivi on vetäytynyt täysin
sisään. Jos objektiivi ei ole vetäytynyt sisään, älä paina sitä sisään väkisin.
• Kun kamera kiinnitetään jalustaan, älä kosketa zoomaus-/tarkennusrengasta
vahingossa.
FI
FI
19

Kellonajan asettaminen
Kiekkopainike
ON/OFF (Virta)
Valitse kohteet: v/V/b/B//
Aseta:
z
1
Aseta ON/OFF (Virta) -kytkin asentoon ON.
Päivämäärän ja ajan asetus näytetään, kun kameran virta kytketään päälle
ensimmäisen kerran.
• Virran kytkeytyminen ja käytön salliminen voi kestää jonkin aikaa.
2
Tarkista, että [Syötä] on valittu näytössä, ja paina sitten
kiekkopainikkeessa z.
3
Valitse haluamasi maantieteellinen sijainti
noudattamalla näytössä näkyviä ohjeita ja paina sitten
z.
4
Aseta [Kesäaika], [Päivämäärä/aika] ja
[Päivämäärämuoto] ja paina sitten z.
• Kun asetetaan [Päivämäärä/aika], keskiyö on 12:00 AM ja keskipäivä
on 12:00 PM.
5
Tarkista, että [Syötä] on valittu, ja paina sitten z.
FI
20

Valokuvien tai videoiden kuvaaminen
Suljinpainike
MOVIE
Valokuvien kuvaaminen
1
Tarkenna painamalla suljinpainike puoliväliin.
Kun kuva on tarkennettu, kuuluu äänimerkki ja z- tai -merkkivalo
syttyy.
2
Ota kuva painamalla suljinpainike pohjaan.
Videoiden kuvaaminen
1
Aloita tallennus painamalla MOVIE (Video) -painiketta.
• Kun käytetään objektiivia, jossa on zoomausvipu: Siirrä zoomausvipua.
Kun käytetään objektiivia, jossa on zoomausrengas: Kierrä
zoomausrengasta.
2
Voit pysäyttää tallennuksen painamalla MOVIE-
painiketta uudelleen.
Huomautuksia
• Älä vedä salamaa ylös käsin. Tämä voi aiheuttaa toimintahäiriöitä.
FI
• Jos käytetään zoomaustoimintoa videokuvauksen aikana, kameran toimintaääni
tallentuu. MOVIE-painikkeen toimintaääni voi tallentua myös, kun videon
tallennus lopetetaan.
• Katso videotallennuksen jatkuva kuvausaika kohdasta ”Kuvien määrä ja videoiden
tallennusaika” (sivu 26). Kun videon tallennus on lopetettu, voit aloittaa
tallennuksen uudelleen painamalla MOVIE-painiketta uudelleen. Tallennus
saattaa pysähtyä kameran suojaamiseksi ympäristön lämpötilan mukaan.
FI
21

Kuvien katseleminen
: Lähennä
Säädä: kierrä kiekkopainiketta.
Kiekkopainike
(Toisto)
Valitse kuvat:
(Poista)
B (seuraava)/b (edellinen) tai
kierrä kiekkopainiketta
Aseta: z
1
Paina (Toisto) -painiketta.
x
Edellisen/seuraavan kuvan valitseminen
Valitse kuva painamalla kiekkopainikkeessa B (seuraava)/b (edellinen) tai
kiertämällä kiekkopainiketta. Katsele videoita painamalla kiekkopainikkeen
keskellä z.
x
Kuvan poistaminen
1 Paina (Poista) -painiketta.
2 Valitse [Poista] painamalla kiekkopainikkeessa v ja paina sitten z.
x
Palaaminen kuvien ottamiseen
Paina suljinpainike puoliväliin.
FI
22

Muiden toimintojen esittely
MENU
Kiekkopainike
x
Kiekkopainike
DISP (Näytä sisältö): Voit vaihtaa ruutunäytön.
ISO (ISO): Voit asettaa herkkyyden kirkkauden perusteella.
(Hakemistonäyttö): Voit tarkastella useita kuvia yhden kuvan näytössä
samaan aikaan.
(Valokuv. luov. aset.): Voit käyttää kameraa intuitiivisesti ja ottaa luovia
kuvia helposti.
(Valotuksen korjaus): Voit kompensoida koko kuvan valotusta ja
kirkkautta.
(Kuvanottotapa): Voit vaihtaa eri kuvaustapojen välillä, kuten kerta-,
jatkuva tai haarukointikuvaus.
z (Vakio): Oletusarvoisesti [AF-lukitus] on määritetty tähän painikkeeseen.
x
Fn (Toiminto) -painike
Voit rekisteröidä 12 toimintoa ja käyttää niitä kuvauksen aikana.
1 Paina Fn (Toiminto) -painiketta.
2 Valitse haluamasi toiminto painamalla kiekkopainikkeessa v/V/b/B.
3 Valitse asetusarvo kiertämällä kiekkopainiketta.
x
Säätöpainike
FI
Voit muuttaa kunkin kuvaustilan asianmukaista asetusta välittömästi
kiertämällä säätöpainiketta.
FI
23

PlayMemories Home™ -sovelluksen
ominaisuudet
PlayMemories Home -ohjelmiston avulla voit tuoda valokuvia ja videoita
tietokoneeseen ja käyttää niitä. PlayMemories Home -ohjelmistoa tarvitaan
AVCHD-videoiden tuomiseen tietokoneeseen.
Tuotujen kuvien toisto
Kuvien tuominen kamerasta
Windows-järjestelmässä myös seuraavat
toiminnot ovat saatavilla:
Kuvien jakaminen
PlayMemories Online™
-palvelussa
Kuvien katselu
Videolevyjen
Kuvien
kalenterissa
luominen
lataaminen
verkkopalveluihin
• Voit ladata Image Data Converter- (RAW-kuvan käsittelyohjelmisto) tai
Remote Camera Control -ohjelmiston yms. noudattamalla seuraavia ohjeita:
Liitä kamera tietokoneeseen t käynnistä PlayMemories Home t napsauta
[Notifications].
Huomautuksia
• PlayMemories Home -sovelluksen asentamiseen tarvitaan Internet-yhteys.
• PlayMemories Online- tai muiden verkkopalveluiden käyttämiseen tarvitaan
Internet-yhteys. PlayMemories Online- tai muut verkkopalvelut eivät välttämättä
ole saatavilla kaikissa maissa tai kaikilla alueilla.
• Käytä Mac-sovelluksille seuraavaa URL-osoitetta:
http://www.sony.co.jp/imsoft/Mac/
• Jos tietokoneeseen on jo asennettu ennen vuotta 2011 julkaistujen mallien mukana
toimitettu PMB (Picture Motion Browser) -ohjelmisto, PlayMemories Home
korvaa sen asennuksen aikana. Käytä PlayMemories Home -ohjelmistoa, joka
korvaa PMB-ohjelmiston.
FI
24

x
Järjestelmävaatimukset
Ohjelmiston järjestelmävaatimukset ovat seuraavassa URL-osoitteessa:
www.sony.net/pcenv/
x
PlayMemories Home -ohjelmiston asennus
tietokoneeseen
1
Mene tietokoneen Internet-selaimella seuraavaan URL-
osoitteeseen ja asenna sitten PlayMemories Home.
www.sony.net/pm/
• Lisätietoja PlayMemories Home -ohjelmistosta on seuraavalla
PlayMemories Home -tukisivulla (vain englanniksi):
http://www.sony.co.jp/pmh-se/
• Kun asennus on valmis, PlayMemories Home käynnistyy.
Liitä kamera tietokoneeseen micro USB -kaapelilla
2
(mukana).
• PlayMemories Home -ohjelmistossa voidaan asentaa uusia toimintoja.
Liitä kamera tietokoneeseen, vaikka PlayMemories Home olisi jo
asennettu tietokoneeseen.
Huomautuksia
• Älä irrota micro USB -kaapelia (mukana) kamerasta, kun toimintanäyttö tai
käyttönäyttö on näkyvissä. Muuten tiedot voivat vahingoittua.
• Kun haluat kytkeä kameran irti tietokoneesta, napsauta tehtävärivillä ja
napsauta sitten (katkaisukuvake). Windows Vista: Napsauta tehtävärivillä .
FI
FI
25

Toimintojen lisääminen kameraan
Voit lisätä kameraan haluamiasi toimintoja muodostamalla yhteyden
sovellusten web-lataussivustoon (PlayMemories Camera Apps™)
Internetin kautta.
http://www.sony.net/pmca
• Kun sovellus on asennettu, voit kutsua sitä koskettamalla NFC-
yhteensopivalla Android-älypuhelimella kameran (N) -merkkiä
käyttämällä [One touch (NFC)] -toimintoa.
Huomautuksia
• Sovellusten lataustoiminto ei välttämättä ole saatavana eräissä maissa ja eräillä
alueilla. Lisätietoja on yllä olevassa sovellusten lataussivustossa.
Kuvien määrä ja videoiden tallennusaika
Valokuvien määrä ja tallennusaika saattavat vaihdella kuvausolosuhteiden ja
muistikortin mukaan.
x
Valokuvat
[ Kuvakoko]: [L: 24M]
Kun [ Kuvasuhde] -asetuksena on [3:2]*
Kapasiteetti
2 Gt
Laatu
Vakio 330 kuvaa
Hieno 200 kuvaa
RAW ja JPEG 54 kuvaa
RAW 74 kuvaa
* Kun [ Kuvasuhde]-asetuksena on muu kuin [3:2], voit tallentaa enemmän
kuvia kuin yllä näytetään. (Paitsi kun [ Laatu]-asetukseksi on valittu [RAW].)
FI
26

