Sony KV-29FX64K: instruction
Class: Household, kitchen appliances, electronics and equipment
Type:
Manual for Sony KV-29FX64K
Table of contents

R
FD Trinitron
Colour Television
Instruction Manual
GB
Инструкции за експлоатация
BG
Návod k obsluze
CZ
Kezelési útmutató
HU
Instrukcja obsługi
PL
Инструкция пo эксплyатации
RU
KV-29FX64K
© 2003 by Sony Corporation
4-087-257-61 (1)

Introduction
Thank you for choosing this Sony FD Trinitron Colour Television.
Before operating the TV, please read this manual thoroughly and retain it for future
reference.
• Symbols used in the manual:
OK
• Important information
• Shaded buttons on the remote control
show you the buttons you have to press
• Information on a feature.
to follow the sequence of the
instructions.
•1,2... Sequence of instructions.
• Informs you of the result of instructions.
Table of Contents
Introduction..............................................................................................................................................3
Safety Information...................................................................................................................................4
Overview
Overview of Remote Control Buttons ..................................................................................................5
Overview of TV Buttons ........................................................................................................................ 6
Installation
Inserting Batteries into the Remote Control ........................................................................................6
GB
Connecting the Aerial and VCR ........................................................................................................... 6
First Time Operation
Switching On the TV and Automatically Tuning .............................................................................. 7
Menu system
Introducing and Using the Menu System............................................................................................9
Menu Guide:
Picture Adjustment ............................................................................................................................. 9
Sound Adjustment............................................................................................................................. 10
Sleep Timer.........................................................................................................................................11
Language/Country ........................................................................................................................... 11
Auto Tuning ....................................................................................................................................... 11
Programme Sorting ...........................................................................................................................12
Programme Labels............................................................................................................................. 12
AV Preset ............................................................................................................................................ 12
Manual Programme Preset...............................................................................................................13
Noise Reduction.................................................................................................................................14
AV2 Output........................................................................................................................................15
TV Speakers........................................................................................................................................15
RGB Centring .....................................................................................................................................15
Picture Rotation .................................................................................................................................16
Teletext...............................................................................................................................................17
Additional Information
Connecting Optional Equipment ........................................................................................................ 18
Using Optional Equipment .................................................................................................................. 19
Remote Control Configuration for VCR/DVD.................................................................................20
Specifications.......................................................................................................................................... 21
Troubleshooting.....................................................................................................................................22
Table of Contents
3

Safety Information
Never push objects of any kind into
For environmental and safety
This set is to operate on a 220-
the set as this could result in a fire
240V AC supply only. Take care
reasons, it is recommended that
or electric shock. Never spill liquid
the TV set is not left in standby
of any kind on the set. If any liquid
not to connect too many
or solid object does fall through, do
appliances to the same power
mode when not in use. Disconnect
not operate the TV. Have it checked
socket as this could result in fire
from the mains.
immediately by qualified
or electric shock.
personnel.
Do not open the cabinet and the rear
For your own safety, do not touch
To prevent fire or shock
cover of the TV. Refer to qualified
any part of the TV, power lead or
hazard, do not expose the TV
service personnel only.
aerial lead during lightning
to rain or moisture.
storms.
Do not cover the
Never place
To prevent fire, keep inflammable
ventilation openings of the TV For
the TV in hot, humid or
objects or naked lights (eg
ventilation, leave a space of at
excessively dusty places. Do not
candles) away from the TV.
least 10cm all around the set.
install the TV where it may be
exposed to mechanical vibrations.
Clean the screen and cabinet with
Take care not to place heavy
a soft, lightly dampened cloth. Do
Pull out the power lead by the
objects on the power lead as this
not use any type of abrasive pad,
plug. Do not pull on the power
could result in damage.
alkaline cleaner, scouring powder
lead itself.
We recommend you wind any
or solvent, such as alcohol or
benzine, or antistatic spray. As a
excess lead around the holders
safety precaution, unplug the TV
provided on the rear of the TV.
before cleaning it.
Unplug the power lead before
Place the TV on a secure stable
moving the TV. Avoid uneven
Do not cover the ventilation
stand. Do not allow children to
surfaces, quick steps or excessive
openings of the TV with items
climb on to it. Do not place the TV
force. If the set has been dropped
such as curtains or newspapers
on its side or face up.
or damaged, have it checked
etc.
immediately by qualified service
personnel.
4
Safety Information

Overview of Remote Control Buttons
1 To Temporarily Switch Off TV:
Press this button to temporarily switch off TV (the standby indicator on
TV lights up). Press again to switch on TV from standby mode.
To save energy we recommend switching off completely when TV is not in use.
After 15 minutes without a signal and without any button being
pressed, the TV switches automatically into standby mode.
2 Selecting input source: Press this button repeatedly until the desired
input symbol of the source appears on the TV screen.
3 Selecting channels:
If Media Selector is switched on TV or VCR, press this button to select
channels.
For double-digit programme numbers, enter the second digit within 2.5
seconds.
4 a) If Media Selector button is switched on TV:
Press this button to watch the last channel selected (watched for at
least 5 seconds).
b) If Media Selector button is switched on VCR:
For Sony’s VCR double-digit programme numbers, e.g. 23, press -/- -
first and then the buttons 2 and 3.
5 This button only works in Teletext mode.
6 Selecting screen format: Press this button to view programmes in 16:9
mode. Press again to return to 4:3 mode.
7 Selecting Teletext: Press this button to switch on teletext.
8 a) If Media Selector is switched on TV:
• When MENU is switched on, use these buttons to operate the menu
system. For details refer to “Introducing and Using the Menu System”
GB
on page 9.
• When MENU is switched off, press OK to show a channel overview.
Then press or to select the channel and then press again the OK
button to watch the selected channel.
b)If Media Selector button is switched on VCR or DVD:
Using these buttons you can control the main functions of your VCR or
DVD.
9 Recording button: If Media Selector is switched on VCR, press this button to record programmes.
!º Media Selector:
With this remote control you can operate not only this TV but also the main functions of your VCR or DVD.
Switch on the device you want to operate and next press this button repeatedly to select the VCR, TV or
DVD. A green light will be lit momentarily.
Before the first time you want to control a DVD or VCR by using this remote control, you have to set
up it depending the brand of the device to be used. For more details, refer to chapter “Remote Control
Configuration for VCR or DVD” on page 20.
!¡ Selecting channels: Press this button to select the next or previous broadcast channel.
!™ Muting the Sound: Press this button to mute TV sound. Press again to restore the sound.
!£ Adjusting TV volume: Press this button to adjust the volume of the TV.
!¢ Displaying the menu system: Press this button to display the menu on the TV screen. Press again to
remove the menu display from the TV screen.
!∞ Selecting TV mode: Press this button to switch off teletext or video input.
!§ Selecting Sound effect: Press this button repeatedly to change the sound effect.
!¶ Selecting Picture mode: Press this button repeatedly to change the picture mode.
!• Displaying on Screen information: Press this button to display all on-screen indications. Press again
to cancel.
!ª VCR or DVD on/off: Press this button to switch your VCR or DVD on or off.
Besides TV functions, all coloured buttons as well as green symbols are also used for
Teletext operation. For more details, please refer to “Teletext” section of this instruction manual.
Overview
5
1
!ª
2
3
4
!•
5
!¶
6
!§
!∞
7
8
!¢
9
!º
!£
!¡
!™

Overview of TV Buttons
Programme Up or
Down Buttons
(Selects TV channels)
Volume control
buttons
Selecting
Input
Auto Start Up
Press on the mark
source
Button
on the door flap
to reveal the
control panel.
Video
S video Input jack
Input jack
Audio
Input jacks
Headphones
jack
Standby indicator
On/Off switch
Inserting Batteries into the Remote Control
Make sure you insert the supplied batteries using the correct polarities.
Always remember to dispose of used batteries in an environmental friendly way.
Connecting the Aerial and VCR
Connecting cables are not supplied.
or
VCR
OUT IN
Scart lead is optional.
For more details of VCR connection, please refer to the section “Connecting Optional
Equipment” of this instruction manual.
6
Overview-Installation

Switching On the TV and Automatically Tuning
The first time you switch on your TV, a sequence of menu screens appear on the TV
enabling you to: 1) choose the language of the menu screen, 2) choose the country in which
you wish to operate the TV, 3) adjust the picture slant 4) search and store all available
channels (TV Broadcast) and 5) change the order in which the channels (TV Broadcast)
appear on the screen.
However, if you need to change any of these settings at a later date, you can do that by
selecting the appropriate option in the (Set Up menu) or by pressing the Auto Start Up
Button on the TV set.
1 Connect the TV plug to the mains socket (220-240V AC,
50Hz).
The first time that the TV set is connected, it is usually
turned on. If the TV is off, press the on/off button on
the TV set to turn on the TV.
The first time you switch on the TV, a Language menu
displays automatically on the TV screen.
2 Press the or button on the remote control to select
Language
i
4
the language, then press the OK button to confirm your
Svenska
GB
Norsk
English
selection. From now on all the menus will appear in the
Nederlands
OK
Français
selected language.
Italiano
i
$
Select Language:
OK
3 The Country menu appears automatically on the TV
Country
i
4
screen. Press the or button to select the country in
Sverige
Norge
-
which you will operate the TV set, then press the OK
Italia
OK
Deutschland
button to confirm your selection.
Österreich
i
$
Select country:
OK
• If the country in which you want to use the TV set
does not appear in the list, select “-” instead of a
country.
• To avoid wrong teletext characters for cyrillic
languages we recommend selecting Russia if your
own country does not appear in the list.
4 Because of the earth’s magnetism, the picture might slant.
If picture slants, please
adjust picture rotation
The Picture Rotation menu allows you to correct the
Not necessary
picture slant if necessary.
Adjust now
OK
a) If it is not necessary, press or to select Not
OK
necessary and press OK.
b) If it is necessary, press or to select Adjust now,
then press OK and correct any slant of the picture
between –5 and +5 by pressing
or . Finally press
OK to store.
continued...
First Time Operation
7

5 The Auto Tuning menu appears on the screen. Press the
Do you want to start
OK button to select Yes.
automatic tuning?
Yes
No
OK
OK
6The TV starts to automatically search and store all
Auto Tuning
available broadcast channels for you.
Programme: 01
System: B/G
Channel: C21
This procedure could take some minutes. Please be
patient and do not press any buttons, otherwise the
Searching...
automatic tuning will not be completed.
If no channels were found during the auto tuning
No channel found
process then a new menu appears automatically on
Please connect aerial
OK
Confirm
the screen asking you to connect the aerial. Please
connect the aerial (see page 6) and press OK. The
OK
auto tuning process will start again.
7 After all available channels are captured and stored,
Programme Sorting
the Programme Sorting menu appears automatically
Programme:
01 TVE
on the screen enabling you to change the order in
02 TVE2
03 TV3
04 C33
which the channels appear on the screen.
OK
05 C27
06 C58
a) If you wish to keep the broadcast channels in the
Select channel:
OK
Exit:
MENU
tuned order, go to step 8.
b) If you wish to store the channels in a different order:
1 Press the or button to select the programme
Programme Sorting
Programme:
number with the channel (TV Broadcast) you wish
01 TVE
02 TVE2
to rearrange, then press the button.
03 TV3
04 C33
OK
05 C27
2 Press the or button to select the new
06 C58 05 C27
Select new position:
programme number position for your selected
OK
Exit: MENU
channel (TV Broadcast), then press .
3 Repeat steps b)1 and b)2 if you wish to change
the order of the other channels.
MENU
8 Press the MENU button to remove the menu from the
screen.
Your TV is now ready for use
8
First Time Operation

Introducing and Using the Menu System
Your TV uses an on-screen menu system to guide you through the operations. Use the
following buttons on the Remote Control to operate the menu system:
1 Press the MENU button to switch the first level menu on.
MENU
2 • To highlight the desired menu or option, press or .
• To enter to the selected menu or option, press .
• To return to the last menu or option, press .
OK
• To alter settings of your selected option, press//or.
• To confirm and store your selection, press OK.
MENU
3 Press the MENU button to remove the menu from the screen.
GB
Menu Guide
Level 1 Level 2 Level 3 / Function
Picture Adjustment
PICTURE ADJUSTMENT
Picture Adjustment
Mode: Personal
Mode: Personal
The “Picture Adjustment” menu allows you to
Contrast
Contrast
Brightness
Brightness
Colour
Colour
alter the picture adjustments.
Sharpness
Sharpness
Hue
Hue
Reset
Reset
OK
OK
To do this: after selecting the item you want to
alter press , then press / /
or repeatedly to adjust it and finally
press OK to store the new adjustment.
This menu also allows you to customise the
picture mode based on the programme you are
watching:
Personal (for individual settings).
Live (for live broadcast programmes, DVD
and Digital Set Top Box receivers).
Movie (for films).
• Brightness, Colour and Sharpness can only be altered if “Personal” mode is selected.
• Hue is only available for NTSC colour signal (e.g: USA video tapes).
• Select Reset and press OK to reset the picture to the factory preset levels.
continued...
Menu System
9

Level 1 Level 2 Level 3 / Function
Picture Adjustment
SOUND ADJUSTMENT
Mode: Personal
Contrast
The “Sound Adjustment” menu allows you to
Brightness
Colour
Sharpness
alter the sound adjustments.
Hue
Reset
OK
To do this: after selecting the item you want to
alter, press . Then press / / or
Sound Adjustment
repeatedly to adjust it and finally press OK to
Sound Adjustment
Effect: Natural
Effect: Natural
Treble
Treble
store the new adjustment.
Bass
Bass
Balance
Balance
Reset
Reset
Dual Sound: Mono
Dual Sound: Mono
Auto volume: On
Auto volume: On
OK
OK
Effect Natural: Enhances clarity, detail and presence of sound by
using “BBE High Definition Sound system”*.
Dynamic: “BBE High Definition Sound system”* intensifies
clarity and presence of sound for better intelligibility
and musical realism.
Dolby
**Virtual: Simulates the sound effect of “Dolby Surround Pro
Logic”.
Off: Flat response.
Treble Less More
Bass Less More
Balance Left Right
Reset Resets the sound to the factory preset levels.
Dual Sound • For a stereo broadcast:
Mono.
Stereo.
• For a bilingual broadcast:
Mono (for mono channel if available).
A (for channel 1).
B (for channel 2).
Auto Volume Off: volume level changes according to the broadcast signal.
On: volume level of the channels will stay the same, independent of
the broadcast signal (e.g. in the case of advertisements).
• If you are listening to the TV through headphones, the “Effect” option will automatically be switched
to “Off”.
• If you select “Dolby Virtual” on the “Effect” option, the “Auto Volume” option will automatically be
switched to “Off” and vice versa.
* The “BBE High Definition Sound system” is manufactured by Sony Corporation under license
from BBE Sound, Inc. It is covered by U.S. Patent No. 4,638,258 and No. 4,482,866. Teh word
“BBE” and BBE Symbol are trademarks of BBE Sound, Inc.
**This TV has been designed to create the “Dolby Surround” sound effect by simulating the sound
of four speakers with two speakers, when the broadcast audio signal is Dolby Surround encoded.
The sound effect can also be improved by connecting a suitable external amplifier (for details refer
to “Connecting to external audio Equipment” on page 19).
**Manufactured under license from Dolby Laboratories. “Dolby”, “Pro Logic” and the double-D
symbol are trademarks of Dolby Laboratories.
10
Menu System
K
continued...

Level 1 Level 2 Level 3 / Function
Picture Adjustment
SLEEP TIMER
Mode: Personal
Contrast
The “Sleep Timer” option in the “Timer” menu
Brightness
Colour
allows you to select a time period for the TV to
Sharpness
Hue
Reset
switch itself automatically into the standby
OK
mode.
To do this: after selecting the option press ,
Timer
Timer
then press or to set the time period delay
Sleep Timer: Off
Sleep Timer: Off
(max. of 4 hours) and finally press OK to store.
• While watching the TV, you can press the
OK
OK
button on the remote control to display the
time remaining.
• One minute before the TV switches itself into
standby mode, the time remaining is displayed on
the TV screen automatically.
Picture Adjustment
LANGUAGE / COUNTRY
Mode: Personal
The “Language/Country” option in the “Set
Contrast
Brightness
Colour
Up” menu allows you to select the language
Sharpness
Hue
that the menus are displayed in. It also allows
Reset
you to select the country in which you wish to
OK
GB
operate the TV set.
Set Up
Set Up
To do this: after selecting the option, press
Language/Country
Language/Country
Auto Tuning
and then proceed in the same way as in the
Auto Tuning
Programme Sorting
Programme Sorting
Progamme Labels
Progamme Labels
steps 2 and 3 of the section “Switching On the
AV Preset
AV Preset
Manual Programme Preset
Manual Programme Preset
TV and Automatically Tuning” on page 7.
Detail Set Up
Detail Set Up
OK
OK
AUTO TUNING
Picture Adjustment
Mode: Personal
The “Auto Tuning” option in the “Set Up”
Contrast
Brightness
menu allows you to automatically search for
Colour
Sharpness
Hue
and store all available TV channels.
Reset
OK
To do this: after selecting the option, press
and then proceed in the same way as in TV
steps 5 and 6 of the section “Switching On the
Set Up
Set Up
Language/Country
TV and Automatically Tuning” on page 8.
Language/Country
Auto Tuning
Auto Tuning
Programme Sorting
Programme Sorting
Progamme Labels
Progamme Labels
AV Preset
AV Preset
Manual Programme Preset
Manual Programme Preset
Detail Set Up
Detail Set Up
OK
OK
continued...
Menu System
11

Level 1 Level 2 Level 3 / Function
Picture Adjustment
PROGRAMME SORTING
Mode: Personal
The “Programme Sorting” option in the “Set
Contrast
Brightness
Colour
Up” menu allows you to change the order in
Sharpness
Hue
which the channels (TV Broadcast) appear on
Reset
OK
the screen.
To do this: after selecting the option, press
Set Up
Set Up
Language/Country
Language/Country
and then proceed in the same way as in step 7 b)
Auto Tuning
Auto Tuning
Programme Sorting
Programme Sorting
of the section “Switching On the TV and
Progamme Labels
Progamme Labels
AV Preset
AV Preset
Automatically Tuning” on page 8.
Manual Programme Preset
Manual Programme Preset
Detail Set Up
Detail Set Up
OK
OK
Picture Adjustment
PROGRAMME LABELS
Mode: Personal
Contrast
The “Programme Labels” option in the “Set
Brightness
Colour
Up” menu allows you to name a channel using
Sharpness
Hue
Reset
up to five characters (letters or numbers).
OK
To do this:
1 After selecting the option, press , then
Set Up
Set Up
Language/Country
Language/Country
press or to select the programme
Auto Tuning
Auto Tuning
Programme Sorting
Programme Sorting
Progamme Labels
Progamme Labels
number with the channel you wish to name.
AV Preset
AV Preset
Manual Programme Preset
Manual Programme Preset
2 Press . With the first element of the Label
Detail Set Up
Detail Set Up
OK
OK
column highlighted, press or to select
a letter or number (select “-“ for a blank), then
press to confirm this character. Select the
other four characters in the same way. Finally
press OK to store.
Picture Adjustment
AV PRESET
Mode: Personal
The “AV Preset” option in the “Set Up” menu
Contrast
Brightness
Colour
allows you to designate a name to the external
Sharpness
Hue
equipment you have connected to the sockets of
Reset
this TV.
OK
To do this:
1 After selecting the option, press , then
Set Up
Set Up
Language/Country
Language/Country
press or to select the input source you
Auto Tuning
Auto Tuning
Programme Sorting
Programme Sorting
Progamme Labels
Progamme Labels
wish to name (AV1, and AV2 are for the rear
AV Preset
AV Preset
Manual Programme Preset
Manual Programme Preset
Scarts and AV3 for side connectors). Then
Detail Set Up
Detail Set Up
OK
OK
press .
2 In the label column automatically appears a
label:
a) If you want to use one of the 6 predefined
label (CABLE, GAME, CAM, DVD,
VIDEO or SAT), press or to select
the desired label and finally press OK to
store.
b) If you want to set a different label, select
Edit and press . Then with the first
element highlighted, press or to
select a letter, number or “-“ for a blank,
then press to confirm this character.
Select the other four characters in the same
way and finally press OK to store.
continued...
12
Menu System

Level 1 Level 2 Level 3 / Function
Picture Adjustment
MANUAL PROGRAMME PRESET
Mode: Personal
The “Manual Programme Preset” option in the
Contrast
Brightness
Colour
“Set Up” menu allows you to:
Sharpness
Hue
Reset
a) Preset channels or the VCR channel one
OK
by one to the programme order of your
choice. To do this:
Set Up
Set Up
Language/Country
Language/Country
1 After selecting the ”Manual Programme
Auto Tuning
Auto Tuning
Programme Sorting
Programme Sorting
Progamme Labels
Progamme Labels
Preset” option, press then with
AV Preset
AV Preset
Manual Programme Preset
Manual Programme Preset
Programme option highlighted press .
Detail Set Up
Detail Set Up
OK
OK
Press or to select on which
programme number you want to preset the
channel (for VCR, select programme number
“0”). Then press .
2 The following option is only available
depending on the country you have
selected in the “Language/Country”
menu.
After selecting the System option, press .
Then press or to select the TV
Broadcast system (B/G for western European
countries or D/K for eastern European
GB
countries). Then press .
3 After selecting the Channel option, press .
Then press or to select the channel
tuning (“C” for terrestrial channels or “S” for
cable channels). Next press . After that,
press the number buttons to enter directly the
channel number of the TV Broadcast or the
channel of the VCR signal. If you do not
know the channel number, press or to
search for it. When you have tuned the
desired channel, press OK twice to store.
Repeat all the above steps to tune and store more
channels.
b) Label a channel using up to five characters.
To do this: Highlighting the Programme
option, press the PROG +/- button to select
the programme number with the channel
you wish to name. When the programme you
want to name appears on the screen, select
the Label option and press . Next
press or to select a letter, number or
“-“ for a blank. Press to confirm this
character. Select the other four characters in
the same way. After selecting all the
characters, press OK twice to store.
continued...
Menu System
13

Level 1 Level 2 Level 3 / Function
Picture Adjustment
c)Normally the automatic fine tuning (AFT) is
Mode: Personal
Contrast
operating, however you can manually fine
Brightness
Colour
tune the TV to obtain a better picture
Sharpness
Hue
Reset
reception in the case that the picture is
OK
distorted.
To do this: while watching the channel (TV
Set Up
Set Up
Broadcast) you wish to fine tune, select the
Language/Country
Language/Country
Auto Tuning
Auto Tuning
Programme Sorting
Programme Sorting
AFT option and press . Next press
Progamme Labels
Progamme Labels
AV Preset
AV Preset
or to adjust the fine tuning between -15
Manual Programme Preset
Manual Programme Preset
Detail Set Up
Detail Set Up
and +15. Finally press OK twice to store.
OK
OK
d) Skip any unwanted programme numbers
when they are selected with the PROG +/-
buttons.
To do this: Highlighting the Programme
option, press the PROG +/- button to select
the programme number you want to skip.
When the programme you want to skip
appears on the screen, select the Skip option
and press . Next press or to select
Yes. Finally press OK twice to confirm and
store.
To cancel this function afterwards, select “No”
instead of “Yes” in the step above.
e) View and record correctly scrambled
channels when using a decoder connected
directly to Scart 2/ 2 or through a
VCR.
This option is only available depending
on the country you have selected in the
“Language/Country” menu.
To do this: select the Decoder option and
press . Next press or to select On.
Finally press OK twice to confirm and store.
To cancel this function afterwards, select “Off”
instead of “On” in the step above.
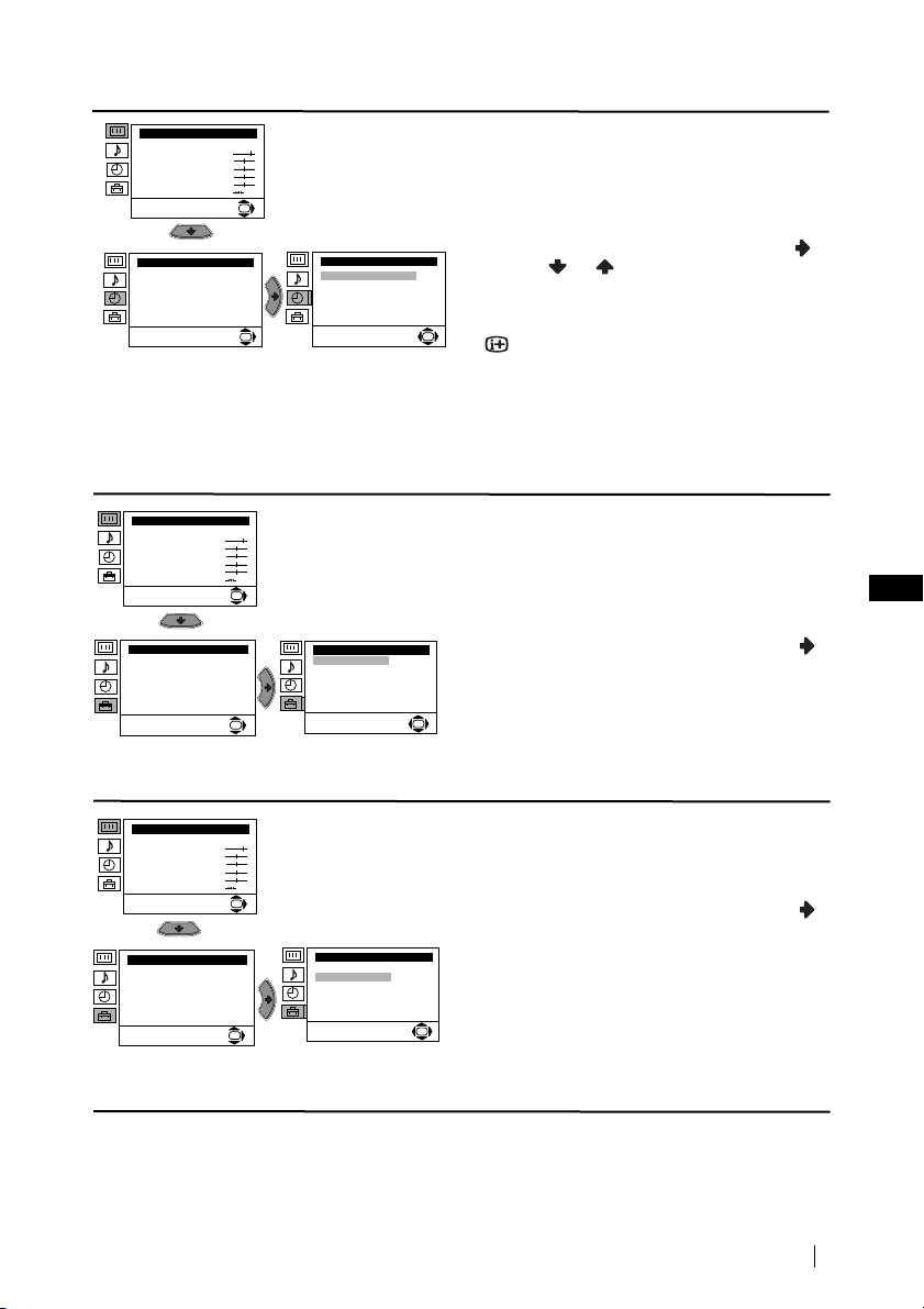
NOISE REDUCTION
Picture Adjustment
Mode: Personal
The “Noise Reduction” option in the “Detail Set
Contrast
Brightness
Colour
Up” menu allows you to automatically reduce
Sharpness
Hue
the picture noise visible in the broadcast signal.
Reset
OK
To do this: after selecting the option, press .
Set Up
Detail Set Up
Then press or to select Auto. Finally
Language/Country
Noise Reduction:
Auto
Auto Tuning
AV2 Output:
TV
press OK to confirm and store.
Programme Sorting
TV Speakers:
On
Progamme Labels
RGB Centring:
0
Picture Rotation:
0
AV Preset
Manual Programme Preset
To cancel this function afterwards, select “Off”
Detail Set Up
OK
instead of “Auto” in the step above.
OK
continued...
14
Menu System

AV2 OUTPUT
The “AV2 Output” option in the “Detail Set
Up” menu allows you to select the source to be
output from the Scart connector 2/ 2 in
order you can record from this Scart any signal
coming from the TV or from an external
equipment connected to the Scart connector
1/ 1 or side connectors 3 or 3
and 3.
If your VCR supports Smartlink, this
procedure is not necessary.
To do this: after selecting the option, press .
Then press or to select the desired
output signal: TV, AV1, AV3, YC3 or AUTO.
If you select “AUTO”, the output signal will always be the same one that is displayed on
the screen.
If you have connected a decoder to the Scart 2/ 2 or to a VCR connected to this
Scart, please remember to change back the “AV2 Output” to “AUTO” or “TV” for correct
unscrambling.
GB
TV SPEAKERS
The “TV Speakers” option in the “Detail Set
Up” menu allows you to mute the TV speakers
in order to listen to the TV from external
amplifier connected to the audio outputs on the
rear of the TV set.
To do this: after selecting the option, press .
Then press or to select Off. Finally press
OK to confirm and store.
To cancel this function afterwards, select “On”
instead of “Off” in the step above.
RGB CENTRING
When connecting an RGB source, such as a
“PlayStation”, you may need to readjust the
horizontal position of the picture. In that case,
you can readjust it through the “RGB Centring”
option in the “Detail Set Up”.
To do this: while watching an RGB source select
the “RGB Centring” option and press . Then
press or to adjust the centre of the
picture between –10 and +10. Finally press OK
to confirm and store.
15
S
Level 1 Level 2 Level 3 / Function
Picture Adjustment
Mode: Personal
Contrast
Brightness
Colour
Sharpness
Hue
Reset
OK
Set Up
Detail Set Up
Language/Country
Noise Reduction:
Auto
Auto Tuning
AV2 Output:
TV
Programme Sorting
TV Speakers:
On
Progamme Labels
RGB Centring:
0
Picture Rotation:
0
AV Preset
Manual Programme Preset
Detail Set Up
OK
OK
Picture Adjustment
Mode: Personal
Contrast
Brightness
Colour
Sharpness
Hue
Reset
OK
Set Up
Detail Set Up
Language/Country
Noise Reduction:
Auto
Auto Tuning
AV2 Output:
TV
Programme Sorting
TV Speakers:
On
RGB Centring:
0
Progamme Labels
Picture Rotation:
0
AV Preset
Manual Programme Preset
Detail Set Up
OK
OK
Picture Adjustment
Mode: Personal
Contrast
Brightness
Colour
Sharpness
Hue
Reset
OK
Set Up
Detail Set Up
Language/Country
Auto Tuning
Noise Reduction:
Auto
Programme Sorting
AV2 Output:
TV
TV Speakers:
On
Progamme Labels
RGB Centring:
0
AV Preset
Picture Rotation:
0
Manual Programme Preset
Detail Set Up
OK
OK
continued...
Menu System

Level 1 Level 2 Level 3 / Function
Picture Adjustment
PICTURE ROTATION
Mode: Personal
Contrast
Because of the earth’s magnetism, the picture
Brightness
Colour
Sharpness
may slant. In this case, you can correct the
Hue
Reset
pictures slant by using the option “Picture
OK
Rotation” in the “Detail Set Up” menu.
Set Up
Detail Set Up
To do this: after selecting the option, press .
Language/Country
Noise Reduction:
Auto
Auto Tuning
AV2 Output:
TV
Programme Sorting
TV Speakers:
On
Then press or to correct any slant of the
Progamme Labels
RGB Centring:
0
AV Preset
Picture Rotation:
0
picture between -5 and +5 and finally press OK
Manual Programme Preset
Detail Set Up
to store.
OK
OK
16
Menu System

Teletext
Teletext is an information service transmitted by most TV stations. The index page of the
teletext service (usually page 100) gives you information on how to use the service. To
operate teletext, use the remote control buttons as indicated below.
Make sure to use a channel (TV Broadcast) with a strong signal, otherwise teletext errors
may occur.
To Switch On Teletext :
After selecting the TV channel which carries the teletext service you wish
TELETEXT
Index
to view, press .
Programme
25
News
153
Sport
101
Weather
98
To Select a Teletext page:
Input 3 digits for the page number, using the numbered buttons.
• If you have made a mistake, retype the correct page number.
• If the counter on the screen continues searching, it is because this page is not available. In that case,
input another page number
To access the next or preceding page:
Press PROG + ( ) or PROG - ().
To superimpose teletext on to the TV:
GB
Whilst you are viewing teletext, press . Press it again to cancel teletext mode.
To freeze a teletext page:
Press / . Press it again to cancel the freeze.
To reveal concealed information (e.g: answer to a quiz):
Press / . Press it again to conceal the information.
To select a sub page:
A teletext page may consist of several sub pages. In this case the page number that appears
on the upper left corner will become from yellow to green colour and one or more arrows will
appear next to the page number. Press repeatedly or buttons on the remote control to
watch the desired sub page.
To Switch Off Teletext:
Press .
Fastext
Fastext service lets you access pages with one button push.
While you are in Teletext mode and Fastext is broadcast, a colour coded menu appears at
the bottom of the teletext page. Press the colour button (red, green, yellow or blue) to access
the corresponding page.
Teletext
17

Connecting Optional Equipment
Using the following instructions you can connect a wide range of optional equipment to
your TV set. (Connecting cables are not supplied).
1
2
“P
• To avoid picture distorsion, do not connect external equipment to connectors A and B
at the same time.
Connecting a VCR:
To connect a VCR, please refer to the section “Connecting the aerial and VCR” of this instruction
manual. We recommend you connect your VCR using a scart lead. If you do not have a scart
lead, tune in the VCR test signal to the TV programme number “0” by using the “Manual
Programme Preset” option. (for details of how to manually programme these presets, see page
13, step a).
Refer to your VCR instruction manual to find out how to find the output channel of your VCR.
Connecting a VCR that supports SmartLink:
SmartLink is a direct link between the TV set and the VCR. For more information on
SmartLink, please refer to the instruction manual of your VCR.
If you use a VCR that supports SmartLink, please connect the VCR by using a Scart lead
to the Scart
2/ 2 F.
If you have connected a decoder to the Scart 2/ 2 F or through a
VCR connected to this Scart:
Select the “Manual Programme Preset” option in the “Set Up” menu and after entering in the
“Decoder**” option, select “On” (by using or ). Repeat this option for each scrambling
signal.
**This option is only available depending on the country you have selected in the
“Language/Country” menu.
continued...
18
Additional Information
l
ayStation”*
Deco
d
Decoder
Hi-Fi
er
DVD
S VHS/Hi8/
DVC
8mm/Hi8/
camcorder
DVC
camcorder
VCR
A
F
B
D
E
C
* “PlayStation” is a product of Sony
Computer Entertainment, Inc.
* “PlayStation” is a trademark of Sony
When you connect the headphones,
Computer Entertainment, Inc.
the TV speakers will automatically
be muted.

Connecting to external Audio Equipment:
Plug in your Hi-Fi equipment to the audio output sockets D if you wish to amplify the audio
output from TV. Next , using the menu system, select the “Set Up” menu. Enter to the “Detail
Set Up” menu and set “TV Speakers” to “Off”.
Audio level of the external speakers can be modified by pressing the volume buttons on the
remote control. Also treble and bass settings can be modified through the “Sound
Adjustment” menu.
Left Hi-Fi
Right Hi-Fi
To enjoy “Dolby Virtual” sound effect through your
speaker
speaker
Hi-Fi equipment:
Place the speakers of your equipment in front of your
sitting place and besides the TV set but keeping a
distance of 50 cm from each speaker to the TV set.
Then by using the menu system, select the menu “Sound
Adjustment”. Next select “Dolby Virtual” on the “Effect”
option.
~50°
Using Optional Equipment
1 Connect your equipment to the designated TV
socket, as indicated in the previous page.
Your sitting position
2 Switch on the connected equipment.
GB
3 To watch the picture of the connected equipment, press the button repeatedly until the
correct input symbol appears on the screen.
Symbol Input Signals
1 • Audio / video input signal through the Scart connector E
1 • RGB input signal through the Scart connector E. This symbol appears only
if a RGB source has been connected.
2 • Audio / video input signal through the Scart connector F.
2 • RGB input signal through the Scart connector F. This symbol appears only
if a RGB source has been connected.
3 • Video input signal through the phono socket B and Audio input signal
through C.
S
3 •S Video Input signal through the front S Video input jack A and Audio
signal through C. This symbol appears only if a S Video source has been
connected.
4 Press button on the remote control to return to the normal TV picture.
For Mono Equipment
Connect the phono plug to the L/G/S/I socket on the front of the TV and select
3 or 3
S
input signal using the instructions above. Finally, refer to the “Sound Adjustment” section of
this manual and select “Dual Sound” “A” on the sound menu screen.
Additional Information
19

Remote Control Configuration for VCR/DVD
This remote control is default to operate basic functions of this Sony TV, Sony DVD and most of
Sony VCR when batteries are initially installed. To control other VCR and DVD major brands
and some Sony VCR models, please complete the following steps:
•Before you start, look up the 3 digit code for your brand of DVD or VCR from the list
below. On those brands that have more than one code, enter the first code number.
•Sony will endeavour to update the software according to market changes.
Therefore, please refer to code table included with the remote control for
latest code set.
1 Press the Media Selector button on the remote control repeatedly until the
required VCR or DVD green light is lit.
3
If Media Selector is on TV position, code numbers will not be stored.
2
2 Before the green light goes out, press and hold the yellow button for
approximately 6 seconds until the green light starts flashing.
3 Whilst the green light is flashing, enter all three digits of the code for your
brand using the number buttons on the remote control.
1
If your selected code is entered correctly, all three green lights will be lit
momentarily.
4 Turn on your brand VCR or DVD and check that the main functions work.
• If your device is not working or some of the functions do not work
please check you entered the correct code set or try the next code listed
against the brand.
• Your brand codes may be lost if weak batteries are not replaced within
a few minutes. To reset your brand DVD or VCR please repeat the
above steps. A small label is added inside the battery door to allow you
to record your brand codes.
• Not all brands are covered and not all models of every brand may be covered.
VCR Brand List DVD Brand List
Brand Code Brand Code
SONY (VHS) 301, 302, 303, 308, 309 SONY 001
SONY (BETA) 303, 307, 310 AIWA 021
SONY (DV) 304, 305, 306 DENON 018, 027, 020, 002
AIWA 325, 331, 351 GRUNDIG 009, 028, 023, 024, 016, 003
AKAI 326, 329, 330 HITACHI 025, 026, 015, 004
DAEWOO 342, 343 JVC 006, 017
GRUNDIG 358, 355, 360, 361, 320, 351 KENWOOD 008
HITACHI 327, 333, 334 LG 015, 014
JVC 314, 315, 322, 344, 352, 353, LOEWE 009, 028, 023, 024, 016, 003
354, 348, 349 MATSUI 013, 016
LG 332, 338 ONKYO 022
LOEWE 358, 355, 360, 361, 320, 351 PANASONIC 018, 027, 020, 002
MATSUI 356, 357 PHILIPS 009, 028, 023, 024, 016, 003
ORION 328 PIONEER 004
PANASONIC 321, 323 SAMSUNG 011, 014
PHILIPS 311, 312, 313, 316, 317, 318, SANYO 007
358, 359 SHARP 019, 027
SAMSUNG 339, 340, 341, 345 THOMSON 012
SANYO 335, 336 TOSHIBA 003
SHARP 324 YAMAHA 018, 027, 020, 002
THOMSON 319, 350
TOSHIBA 337
20
Additional Information

Specifications
TV system:
Side Terminals
Depending on your country selection:
S
3 S Video input – 4 pin DIN
B/G/H, D/K
3 video input – phono jack
3 audio input – phono jacks
Colour system:
PAL, SECAM
headphones jack
NTSC 3.58, 4.43 (only Video In)
Sound Output:
Channel Coverage:
2 x 20 W (music power)
VHF: E2-E12
2 x 10 W (RMS)
UHF: E21-E69
Woofer:
CATV: S1-S20
30 W (music power)
HYPER: S21-S41
15 W (RMS)
D/K: R1-R12, R21-R69
Power Consumption:
Picture Tube:
130 W
Flat Display FD Trinitron
Standby Power Consumption:
29” (approx. 73 cm. measured
0.3 W
diagonally)
Dimensions (w x h x d) :
GB
Rear Terminals
Approx. 771 x 585 x 506 mm.
1/ 1 21-pin scart connector
(CENELEC standard)
Weight:
including audio/video
Approx. 50 Kg.
input, RGB input, TV
Accessories supplied:
audio/video output.
1 Remote Control (RM-932)
2/ 2 21-pin Scart connector
2 Batteries (IEC designated)
(SMARTLINK)
(CENELEC standard)
Other features:
including audio / video
• 100 Hz picture
input, RGB input,
selectable audio / video
• Teletext, Fastext, TOPtext (250 page TEXT
output and Smartlink
memory)
interface.
• Sleep Timer
• Smartlink (direct link between your TV set
audio outputs (Left/
and a compatible VCR. For more
Right) - phono jacks
information on Smartlink, please refer to
the Instruction Manual of your VCR).
• TV system Autodetection.
• Dolby Virtual.
• BBE.
Design and specifications are subject to change without notice.
Ecological Paper - Totally Chlorine Free
Additional Information
21



