Sony KV-29FX64K – page 3
Manual for Sony KV-29FX64K
Table of contents

Отстраняване на неизправности
Пo-дoлy ca избpoeни някои прости разрешения при проблеми свързани с образа и звука.
Проблем
Разрешение
Липса на образ (екрана е тъмен) и звук.
• Проверете свързването на антената.
• Включете телевизора и натиснете бутона от
лицевата страна на апарата.
• Ако индикатора на телевизора свети, натиснете
бутона TV от дистанционното управление.
Образът е блед или несъществуващ, но
• Чрез системата от менюта влезте в менюто
качеството на звука е добро.
«Настройка на Картината» и изберете «Нулиране»
за възстановяване на фабричната настройка.
Липса на образ или на
• Проверете дали сте включили допълнителния
инфopмaциoннoтo мeню от
апарат и натиснете няколко пъти бутона от
допълнителния апарат свързан към ТВ
дистанционното управление, докато желания
чрез Евроконектора.
входен символ се появи на екрана.
Добро качество на образа, но няма
• Натиснете бутона + / - от дистанционното
звук.
управление.
• Проверете дали опцията «Teлeв гoвopитeл» от менюто
«Подробна начална настр.» е избрана в позиция « Bkл».
• Ocигypeтe ce, чe cлyшaлкитe ca изключени.
Цветните предавания са без цвят
• Чрез системата от менюта влезте в менюто «Настройка
на Картината» и изберете «Нулиране» за
възстановяване на фабричната настройка.
Образът е изкривен при смяна на
• Изключете екипа свързан към телевизора чрез
програмите или при избор на телетекст.
Евроконектора с 21крачета.
Гpeшни знaци фигypиpaт кoгaтo ce
•
Кoгaтo изпoлзaтe cиcтeмaтa Meню, влeзтe в peжим “Eзик/
глeдa тeлeтeкcтa.
Дъpжавa” и избepeтe cтpaнaтa в коятo щe изпoлзвaтe
тeлeвизopa. Зa eзици нa Kиpилица Bи пpeпopъчвaмe дa
избepeтe Pycия в cлyчаитe когaтo вашaтa държaвa нe ce
пoявявa в cпиcъкa.
Образът е наклонен.
• Чрез системата от менюта изберете опцията
«Въртене на карт.», в менюто «èoÀpoÄÌa ÌaäaÎÌa
ÌacÚp.», и регулирайте наклона.
Образ с шум.
• Чрез системата от менюта изберете опцията «Ф HacÚp.»,
в менюто «Програма Ръчен Избор», и
извършете ръчното настройване за по-добро
приемане на образа.
• Чрез системата на менютата изберете опцията
«Потискане на Шума», в менюто «èoÀpoÄÌa ÌaäaÎÌa
ÌacÚp.», и изберете «Auto» за
намаляване на шума на образа.
Образа не е декодиран правилно
•
Чрез системата от менюта влезте в менюто
въпреки че декодера е включен към
«àÌcÚaÎËpaÌe». В последсвие влезте в опцията «èoÀpoÄÌa
Евоконектора
2/ 2.
ÌaäaÎÌa ÌacÚp.» и изберете «AV2 изxoД» 2 в «TV».
Дистанционното управление не работи
• Проверете дали бутона за Селектор на Екипа от пулта за
дистанционно управление се намира в адекватна позиция
в зависимост от екипа който желаете да контролирате
(DVD, TV или VCR за Видео).
• Ако не можете да контролирате чрез пулта за
дистанционно управление вашето DVD или
Видео,въпреки че бутона за Селектор на Екипа се намира
в правилна позиция, вкарайте отново необходимия код
така както е оказано в глава «Конфигурация на пулта за
дистанционно управление за DVD или Видео» в тези
инструкции за експлоатация.
• Сменете батериите.
Индикатора за временно изключване
• Влезте в контакт с най-близката сервизна база на
(standby) на телевизора мига.
Sony.
В случай на повреда, изискайте телевизора да се провери от специализиран
персонал. Никога не отваряйте апарата.
22
Допълнителна инфомация

Úvod
Děkujeme Vám, že jste si vybrali televizor Sony s plochou obrazovkou FD Trinitron.
Před použitím televizoru si pozorně přečtěte tento návod k obsluze a zachovejte ho pro
budoucí informaci.
• Znaky, které užíváme v tomto návodu k obsluze:
• Důležitá informace.
• Šedá výplň tlačítek dálkového ovladače
OK
označuje tlačítka, která je nutno/možno
• Informace o funkci.
stisknout v tomto kroku.
•1,2... Posloupnost ovládacích kroků.
• Informace o výsledku pokynů.
Obsah
Úvod...........................................................................................................................................3
Bezpečnostní opatření ...............................................................................................................4
Všeobecný popis
Všeobecný přehled tlačítek dálkového ovladače.......................................................................5
Všeobecný přehled tlačítek televizoru........................................................................................6
Instalace
Vložení baterií do dálkového ovladače.......................................................................................6
Připojení antény a videa.............................................................................................................6
První zapojení televizoru
Zapnutí a automatické naladění TV............................................................................................7
Režim menu na obrazovce
Úvod a použití různých menu.....................................................................................................9
CZ
Průvodce po menu:
Nastavení Obrazu...................................................................................................................9
Nastavení zvuku ...................................................................................................................10
Časovač Vypnutí...................................................................................................................11
Jazyk/Země ..........................................................................................................................11
Automatické Ladění..............................................................................................................11
Třídění Programů ..................................................................................................................12
Označení programů ..............................................................................................................12
AV předvolby ........................................................................................................................12
Ruční Ladění.........................................................................................................................13
Redukce Šumu .....................................................................................................................14
Výstup AV2 ...........................................................................................................................15
TV reproduktory....................................................................................................................15
RGB centrování ....................................................................................................................15
Otočení Obrazu ....................................................................................................................16
Teletext ................................................................................................................................17
Doplňkové informace
Připojení přídavných zařízení ...................................................................................................18
Použití přídavných zařízení.......................................................................................................19
Instalace dálkového ovládání pro DVD nebo video .................................................................20
Technické údaje .......................................................................................................................21
Řešení problémů .....................................................................................................................22
Obsah
3

Bezpečnostní opatření
Nevkládejte žádné předměty do
Z bezpečnostních důvodů a z
televizoru, rovněž do televizoru
Tento televizor pracuje pouze s
důvodů ochrany životního
nelijte jakoukoliv tekutinu. V
napětím 220-240 V. V případě
prostředí doporučujeme
případě, že se tak stane ať již
zapojení příli mnoha spotřebičů
neponechávat televizor v
úmyslně či neúmyslně televizor
do jedné el. zásuvky může dolít k
pohotovostním stavu pokud není
nezapínejte a sdělte tuto skute
úrazu el. proudem či požáru.
del í dobu používán. V tomto
čnost nejbližšímu
případě odpojte televizor
autorizovanému servisu SONY,
z el. sítě.
který odborně televizor prověří.
Neotevírejte zadní kryt televizoru.
Nedotýkejte se během bouřky
Toto přenechte pouze
jakékoliv časti el. přívodního
kvalifikovaným odborníkům z
kabelu ani anténního kabelu.
autorizovaných servisů SONY.
4
Bezpečnostní opatření
Nevystavujte televizor dešti a
vlhku, předejdete tak případnému
úrazu el. proudem.
Nezakrývejte ventilační otvory
Neumisť ujte televizor na horká,
Hořlavé látky, či otevřený oheň
televizoru. Nechte kolem
mokrá či extrémněprašná místa.
(svíčka) neumisť ujte v těsné
televizoru alespoň 10 cm
Přístroj nesmí být vystaven
blizkosti televizoru.
prostoru pro ventilaci vzduchu.
mechanickým vibracím.
Č
istěte obrazovku a plastový kryt televize
pouze jemnou, lehce navlhčenou látkou.
Nepoužívejte žádné materiály s
Při vytahování el. přívodního
povrchovou úpravou určenou k broušení,
kabelu tahejte pouze za zástrčku,
nepoužívejte alkalické čističe, čistící a
netahejte za kabel.
brusné pasty, rozpouštědla jako je líh,
benzín, či ředidlo. Rovněž
nedoporučujeme používat antistatický
spray. Z bezpečnostních důvodů, před
mytím odpojte TV od el. proudu.
Abyste nepo
š
kodili el. přívodní
kabel nepokládejte na něj žádné
těžké předměty . Doporučujeme
přebytečnou část el. přívodního
kabelu navinout kolem háčků na
zadní straně televizoru.
Televizor postavte vždy na
Před manipulací vypojte televizor
stabilní a bezpečný stolek.
z el. sítě. Při manipulaci
Nezakrývejte ventilační otvory
Nedovolte dětem aby na televizor
postupujte opatrně abyste
televizoru novinami, časopisy
lezli, sedali si na něj, či si na něm
televizor nepoškodili. Pokud vám
ani záclonami a závěsy.
hráli.
televizor upadl, či byl jiným
Při manipulaci napokládejte
způsobem poškozen nechte ho
televizor na boční ani na čelní
prověřit odborným pracovníkem
stranu.
autorizovaného servisu SONY.

Všeobecný přehled tlačítek dálkového ovladače
1 Dočasné vypnutí televizoru: Stisknutím tlačítka se televize dočasně
vypne (indikátor pohotovostního stavu na televizi se rozsvítí).
Opětovným stisknutím tlačítka televizor opět zapnete.
Doporučujeme televizor vypnout úplně, pokud se nepoužívá - šetří se
tím energie.
Televizor se automaticky vypne do pohotovostního režimu, jestliže po
dobu 15 minut nedostává televizní signál a není stisknuto žádné
tlačítko.
2 Volba vstupního signálu: Tiskněte jej opakovaně, až se na obrazovce
objeví znaménko zvoleného vstupního signálu.
3 Tlačítko pro výběr programů: Jestliže je selektor zařízení v pozici TV
nebo VCR (video), stiskněte jej pro volbu kanálů.
Pokud chcete zvolit program s dvoumístným číslem, stiskněte druhou
číslici po dobu menší než 2,5 vteřiny.
4 a) Jestliže je selektor zařízení v pozici TV: Stisknutím vyvoláte kanál,
který jste naposledy sledovali po dobu delší než 5 sekund.
b) Jestliže je selektor zařízení v pozici VCR: Jestliže používáte video
Sony a chcete zvolit program s dvoumístným číslem, např. 23, nejdříve
stiskněte -/--, a následovně tlačítka 2 a 3.
5 Toto tlačítko lze použít pouze v režimu teletextu.
6 Výběr formátu zobrazení: Opakovaným tisknutím změníte formát
zobrazení: 4:3 pro obvyklý obraz nebo 16:9 pro imitaci širokoúhlého
obrazu.
7 Výběr z teletextu: Stisknutím se zobrazí teletext.
8 a) Jestliže je selektor zařízení v pozici TV:
• Je-li MENU zobrazeno, používejte tato tlačítka pro přesun po různých
menu. Obsáhlejší informace najdete v kapitole “Úvod a použití různých
menu” na straně 9.
• Pokud není MENU zobrazeno, stisknutím OK se zobrazí přehled
naladěných kanálů. Stisknutím nebo zvolte požadovaný kanál
(televizní stanici), po stisknutí OK jej můžete sledovat.
b)Jestliže je selektor zařízení v pozici VCR (video) nebo DVD:
CZ
Používejte tato tlačítka pro ovládání hlavních funkcí videa nebo DVD.
9 Tlačítko pro nahrávání: Jestliže je selektor zařízení v pozici VCR, stisknutí tohoto programu Vám umožní
nahrávat programy.
!º Selektor zařízení: S tímto dálkovým ovladačem můžete ovládat nejen televizor, ale také hlavní funkce
Vašeho DVD nebo videa. Zapněte to zařízení, které chcete ovládat a poté opakovaně tiskněte toto tlačítko
pro volbu DVD, TV nebo VCR (pro video). Ve zvolené pozici se na chvíli rozsvítí zelené světlo.
Před prvním použití dálkového ovladače pro ovládání DVD nebo videa, bude třeba provést jeho
instalaci v závislosti na značce Vašeho zařízení. K tomu je třeba postupovat tak, jak je popsáno v
kapitole “Instalace dálkového ovládání pro DVD nebo video” na straně 20.
!¡ Volba kanálů: Stiskněte pro volbu předchozího nebo následujícího kanálu.
!™ Vypnutí zvuku: Pokud chcete zvuk vypnout, stiskněte tlačítko. Zvuk se zapne opětovným stisknutím
!£ Nastavení hlasitosti: Stisknutím se nastaví hlasitost televizoru.
!¢ Zapojení režimu menu: Stiskněte jej a menu se objeví na obrazovce. Opětovným stisknutím se vypne a
objeví se normální obrazovka.
!∞ Volba TV režimu: Stisknutím se vypne teletext nebo vstup do videa.
!§ Volba zvukového efektu: Opakovaným stisknutím tohoto tlačítka lze změnit zvukový efekt.
!¶ Výběr specifického obrazu: Opakovaným stisknutím nastavíte specifický obraz.
!• Zobrazení informace na obrazovce: Stiskněte tlačítko a na obrazovce se objeví veškeré údaje.
Opětovným stisknutím tyto informace z obrazovky zmizí.
!ª Zapnutí/Vypnutí videa nebo DVD: Stisknutím zapnete nebo vypnete video nebo DVD.
Kromě těchto funkcí televizoru, všechna barevná tlačítka se používají také pro teletext. Obsáhlejší
informace je popsána v kapitole “Teletext” tohoto návodu k obsluze.
Overview
5
1
!ª
2
3
4
!•
5
!¶
6
!§
!∞
7
8
!¢
9
!º
!£
!¡
!™

Všeobecný přehled tlačítek televizoru
Programová tlačítka
pro výběr
následujícího nebo
předchozího kanálu
(pro volbu televizních
stanic)
Tlačítka pro
ovládání
hlasitosti
Vložení baterií do dálkového ovladače
Zkontrolujte, jestli jsou poskytnuté baterie ve správné pozici.
Berte ohled na životní prostředí a použitých baterií se zbavujte způsobem, který životní
prostředí nepoškozuje - odhazujte je do kontejnerů k tomu určených.
Připojení antény a videa
Přípojné kabely se nedodávají.
6
Všeobecný popis - Instalace
Tlačítko pro
inicializaci
televizoru
Tlačítko
Stlačením
pro volbu
znaménka na
vnějšího
krytu, získáte
vstupu
přístup k
Vstup
ovládacímu panelu.
videosignálu
Vstup videosignálu S
Ukazatel
Zvukové
režimu
vstupy
dočasného
vypnutí
Výstup pro sluchátka
televizoru
(pohotovostní)
Tlačítko zapnuto/vypnuto
nebo
videorekordér
OUT IN
Připojení pomocí konektoru typu Euro záleží na Vaší volbě.
Obsáhlejší informace o připojení videa najdete v kapitole “Připojení přídavných zařízení”
v tomto návodu k obsluze.

Zapnutí a automatické naladění TV
Po prvním zapnutí televizoru se na obrazovce objeví sekvence menu, pomocí kterých
budete moci:
1) zvolit jazyk menu; 2) zvolit zemi, ve které si přejete používat televizor; 3) seřídit
nakloněný obraz, 4) hledat a automaticky ukládat všechny kanály (televizní stanice), které
jsou k dispozici a 5) změnit pořadí, ve kterém se kanály (televizní stanice) objeví na
obrazovce.
Pokud časem budete chtít změnit jakékoliv z těchto seřízení, proved’te příslušnou volbu v
(menu Instalace), nebo stiskněte tlačítko pro inicializaci televizoru.
1 Zapojte televizor do elektrické sítě (220-240 V AC, 50Hz).
Při prvním zapojení televizoru by se měl televizor
automaticky zapnout. Pokud tomu tak není, stiskněte
tlačítko zapnuto / vypnuto na čelní části televizoru,
aby se zapnul. Po prvním zapnutí televizoru se na
obrazovce automaticky objeví menu Language (Jazyk).
2 Stiskněte tlačítko nebo dálkového ovladače pro
volbu jazyka a poté stiskněte tlačítko OK pro potvrzení
volby. Od této chvíle veškerá menu se objeví ve
zvoleném jazyce.
CZ
3 Na obrazovce se automaticky objeví menu Země.
Stiskněte tlačítko nebo pro volbu země, ve které
chcete používat televizor a poté stiskněte tlačítko OK
pro potvrzení volby.
• Jestliže v seznamu není ta země, ve které budete
používat televizor, místo země zvolte “-”.
• Pokud se vaše země neobjeví v nabídce pro
instalaci, doporučujeme použít nastavení pro
Rusko. Tímto nastavením předejdete chybnému
zobrazování znaků a písmen charakteristických
pro váš jazyk v teletextu.
4 Vzhledem k zemské přitažlivosti se může stát, že se
obraz nakloní. V tomto případě ho můžete seřídit
použitím funkce Otočení obrazu.
a) Pokud toho není třeba, stiskněte nebo pro
volbu Není potřeba a poté stiskněte OK.
b) Pokud toho je třeba, stiskněte nebo pro volbu
Upravit ted’ a stiskněte OK. Poté upravte nakloněný
obraz seřizováním v rozmezí od -5 do +5, pomocí
tlačítek nebo . Nakonec stiskněte OK pro jeho
uložení.
První zapojení televizoru
7
Language
i
4
Svenska
Norsk
English
Nederlands
Français
OK
Italiano
i
$
Select Language:
OK
Země
i
4
Sverige
Norge
-
Italia
OK
Deutschland
Österreich
i
$
Vyberte zemi:
OK
Jestliže je obraz nakloněn
upravte pootočení obrazu.
Není potřeba
OK
Upravit te
OK
pokračuje ...

5 Menu Automatické Ladění se objeví na obrazovce.
Stiskněte tlačítko OK pro volbu Ano.
6 Televizor začne automaticky ladit a ukládat všechny
kanály (televizní stanice), které jsou k dispozici.
Tento proces může trvat několik minut. Mějte
proto trpělivost a po dobu trvání procesu
ladění nestiskněte žádné tlačítko, proces by
se neuskutečnil.
Jestliže po vykonání automatického ladění televizor
nenašel žádný kanál (televizní stanici), na obrazovce
se objeví zpráva, která Vás žádá, abyste zapojili
anténu. Při zapojení antény postupujte tak, jak je
uvedeno na str.6 tohoto návodu a poté stiskněte
OK. Proces automatického ladění se obnoví.
7 Jakmile televizor ukončil ladění a uložil všechny
kanály (televizní stanice), na obrazovce se
automaticky objeví menu Třídění programů,
pomocí kterého můžete změnit pořadí, ve kterém se
kanály objeví na obrazovce.
a) Nechcete-li změnit toto pořadí kanálů, přejděte na
bod č. 8.
b) Chcete-li změnit pořadí kanálů:
1 Stiskněte tlačítko nebo pro volbu čísla
programu s kanálem (televizní stanicí), jehož
pozici chcete změnit a následovně stiskněte .
2 Stiskněte nebo pro volbu nového čísla
programu, ve kterém si přejete uložit zvolený
kanál (televizní stanici), a následovně
stiskněte .
3 Zopakujte body b)1 a b)2, chcete-li změnit pořadí
dalších televizních kanálů.
MENU
8 Stiskněte tlačítko MENU a menu zmizí z obrazovky.
Televizor je připraven k funkci.
8
První zapojení televizoru
Přejete si spustit
automatické ladění?
Ano
Ne
OK
OK
Automatické ladění
Program:
01
Systém:
B/G
Kanál:
C21
Vyhledávání...
Program nenalezen
Připojte prosím anténu
OK
Potvrte
OK
Třídění programů
Program:
01 TVE
02 TVE2
03 TV3
04 C33
OK
05 C27
06 C58
Zvolte kanál:
OK
Konec:
MENU
Třídění programů
Program:
01 TVE
02 TVE2
03 TV3
04 C33
OK
05 C27
06 C58 05 C27
Zvolte novou pozici:
OK
Konec:
MENU

Úvod a použití různých menu
Tento televizor používá na obrazovce systém menu a tím Vám ukazuje různé operace.
Pro přesun po menu používejte tlačítka dálkového ovladače, která jsou následovně
popsána:
MENU
1 Stiskněte tlačítko MENU a na obrazovce se objeví první stupeň menu.
2 • Pro zvýraznění žádaného menu nebo funkce, stiskněte tlačítko nebo
.
• Pro vstup do zvoleného menu nebo funkce, stiskněte .
• Pro návrat do předchozího menu nebo funkce, stiskněte .
OK
• Pro změnu nastavení zvolené funkce, stiskněte // nebo .
• Pro potvrzení a uložení Vaší volby, stiskněte OK.
3 Stiskněte tlačítko MENU a menu zmizí z obrazovky.
MENU
Průvodce po menu
CZ
Stupeň 1 Stupeň 2 Stupeň 3 / Funkce
Nastavení obrazu
NASTAVENÍ OBRAZU
Nastavení obrazu
Režim: Osobní
Režim: Osobní
Menu “Nastavení obrazu” slouží k úpravě nebo
Kontrast
Kontrast
Jas
Jas
Barevná sytost
Barevná sytost
seřízení obrazu.
Ostrost
Ostrost
Odstín
Odstín
Reset
Reset
OK
OK
K tomu je třeba: po zvolení funkce, kterou si
přejete změnit, stiskněte tlačítko . Poté
opakovaně stiskněte //nebo
pro změnu nastavení a nakonec stiskněte OK
pro jeho uložení.
Toto menu Vám také umožní změnit specifický
obraz podle toho, jaký program sledujete:
Osobní (pro osobní požadavky).
Přímý přenos (používejte pro pořady v
přímém přenosu, DVD a při použití Set Top
Boxů).
Film (pro filmy).
• Jas, Barevná Sytost a Ostrost jsou možné změnit pouze v případě, že změníte specifický
obraz v režimu “Osobní”.
• Odstín je dostupný pouze pro systém NTSC (např. videokazety z USA).
• Pro obnovení továrního nastavení obrazu, zvolte Reset a stiskněte tlačítko OK.
pokračuje ...
Režim menu na obrazovce
9

Stupeň 1 Stupeň 2 Stupeň 3 / Funkce
Nastavení obrazu
NASTAVENÍ ZVUKU
Režim: Osobní
Kontrast
Menu “Nastavení zvuku” Vám umožní změnit
Jas
Barevná sytost
Ostrost
nastavení zvuku.
Odstín
Reset
K tomu je třeba: po zvolení funkce, kterou si
OK
přejete změnit, stiskněte . Poté opětovně
tiskněte // nebo pro změnu
nastavení a nakonec stiskněte OK pro jeho
Nastaven zvuku
Nastaven zvuku
Efekt: Pfiirozen
Efekt: Pfiirozen
Výšky
Výšky
uložení.
Hloubky
Hloubky
Vyvážení
Vyvážení
Reset
Reset
Dvoukanál.zvuk: Mono
Dvoukanál.zvuk: Mono
Aut. Hlasitost: Zap
Aut. Hlasitost: Zap
OK
OK
Efekt Přirozený: Odstraňuje šum, zajišťuje přítomnost zvuku a
provádí jeho ladění pomocí systému “BBE High
Definition Sound system”*.
Dynamický: “BBE High Definition Sound system”*
zintenzívňuje jasnost a přítomnost zvuku
vytvářením srozumitelnějšího hlasu a pronikavější
hudby.
Dolby
**Virtual: Napodobuje zvukový efekt “Dolby Pro Logic”.
Vyp: Bez speciálních zvukových efektů.
Výšky Méně Více
Hloubky Méně Více
Vyvážení Levý Pravý
Reset Obnoví tovární nastavení zvuku.
Dvoukanál. zvuk
• Pro stereo vysílání:
Mono
Stereo
• Pro dvojjazyčné vysílání:
Mono (určen pro kanál mono, je-li k dispozici).
A (pro 1. kanál).
B (pro 2. kanál).
Aut. Hlasitost Vyp: Hlasitost se mění v závislosti na vysílacím signálu.
Zap: Hlasitost se udržuje nezávisle na vysílacím signálu (např.
reklamní inzeráty).
• Pokud posloucháte zvuk televizoru přes sluchátka, funkce “Efekt” automaticky přejde na pozici
“Vyp”.
• Pokud nastavíte “Efekt” v pozici “Dolby Virtual”, funkce “Aut. Hlasitost” se automaticky změní na
pozici “Vyp” a naopak.
* “BBE High Definition Sound system” je vyroben firmou Sony Corporation s licencí BBE Sound,
Inc. Je chráněn patentem USA č 4,638,258 a 4,482,866. Slovo “BBE” a symbol “BBE” jsou
obchodní značky BBE Sound, Inc.
**Tento televizor byl naržen tak aby dosáhl zvukového efektu “Dolby Surround” a
napodobil tak zvuk čtyř reproduktorů použitím pouze dvou reproduktoyů tohoto
televizora, vždy kdy audio signál vysílací stanice bude “Dolby Surround”.
Kromě toho, můžete také zlepšit zvukový efekt zapojením jednoho vnějšího
zesilovače. Podrobnější informace najdete v kapitole “Připojení vnějšího zvukového
zařízení” na straně 19.
**Vyrobeno s oprávněním Dolby Laboratories. “Dolby”, “Pro Logic” a znak dvojitého D
jsou obchodní značky Dolby Laboratories.
10
Režim menu na obrazovce
K
pokračuje ...

Stupeň 1 Stupeň 2 Stupeň 3 / Funkce
Nastavení obrazu
ČASOVAČ VYPNUTÍ
Režim: Osobní
Kontrast
Funkce “Časov. vypnutí” v režimu menu
Jas
Barevná sytost
Ostrost
“Časovač”, Vám umožní zvolit interval, po
Odstín
Reset
jehož uplynutí televizor automaticky přejde do
OK
režimu dočasného vypnutí (pohotovostní
režim).
Časovač
Časovač
K tomu je třeba: po zvolení funkce, stiskněte
Časov. Vypnutí:
Vyp
Časov. Vypnutí:
Vyp
tlačítko . Poté stiskněte nebo pro
volbu časového intervalu (max. 4 hodiny) a
nakonec stiskněte OK pro jeho uložení.
OK
OK
• Chcete-li vidět čas zbývající do vypnutí,
zatímco sledujete televizor, stiskněte tlačítko
.
• Minutu před tím, než televizor přejde do
režimu dočasného vypnutí, zbývající čas se
objeví na obrazovce.
Nastavení obrazu
JAZYK/ZEMĚ
Režim: Osobní
Kontrast
Funkce “Jazyk/Země” v režimu menu
Jas
Barevná sytost
“Instalace” slouží k volbě jazyka, ve kterém
Ostrost
Odstín
chcete, aby se na obrazovce objevily menu.
Reset
OK
Také Vám umožní zvolit zemi, ve které si přejete
televizor používat.
K tomu je třeba: po zvolení funkce, stiskněte
Instalace
Instalace
tlačítko . Poté postupujte tak, jak je popsáno
Jazyk/Země
Jazyk/Země
Automatické ladění
Automatické ladění
v kapitole “Zapnutí a automatické naladění TV”,
Třídění programů
Třídění programů
Označení programů
Označení programů
v bodě 2 a 3 na straně 7.
AV předvolby
AV předvolby
Ruční ladění
Ruční ladění
CZ
Prodrobnější nastavení
Prodrobnější nastavení
OK
OK
Nastavení obrazu
AUTOMATICKÉ LADĚNÍ
Režim: Osobní
Kontrast
Funkce “Automatické ladění” v režimu menu
Jas
Barevná sytost
“Instalace” slouží k tomu, aby televizor hledal a
Ostrost
Odstín
uložil do paměti veškeré kanály (televizní
Reset
stanice), které jsou k dispozici.
OK
K tomu je třeba: po zvolení funkce, stiskněte
tlačítko . Poté postupujte tak, jak je popsáno
Instalace
Instalace
v kapitole “Zapnutí a automatické naladění TV”,
Jazyk/Země
Jazyk/Země
Automatické ladění
Automatické ladění
Třídění programů
Třídění programů
v bodě 5 a 6 na straně 8.
Označení programů
Označení programů
AV předvolby
AV předvolby
Ruční ladění
Ruční ladění
Prodrobnější nastavení
Prodrobnější nastavení
OK
OK
pokračuje ...
Režim menu na obrazovce
11

Stupeň 1 Stupeň 2 Stupeň 3 / Funkce
Nastavení obrazu
TŘÍDĚNÍ PROGRAMŮ
Režim: Osobní
Funkce “Třídění programů” v režimu menu
Kontrast
Jas
Barevná sytost
“Instalace” slouží ke změně pořadí, ve kterém
Ostrost
Odstín
Reset
se kanály (televizní stanice) objeví na
OK
obrazovce.
K tomu je třeba: po zvolení funkce, stiskněte
tlačítko . Poté postupujte tak, jak je popsáno
Instalace
Instalace
Jazyk/Země
Jazyk/Země
Automatické ladění
v kapitole “Zapnutí a automatické naladění TV”,
Automatické ladění
Třídění programů
Třídění programů
Označení programů
Označení programů
v bodě 7b) na straně 8.
AV předvolby
AV předvolby
Ruční ladění
Ruční ladění
Prodrobnější nastavení
Prodrobnější nastavení
OK
OK
Nastavení obrazu
OZNAČENÍ PROGRAMŮ
Režim: Osobní
Kontrast
Funkce “Označení programů”, v režimu menu
Jas
Barevná sytost
“Instalace”, Vám umožní přidělit jméno kanálu,
Ostrost
Odstín
Reset
maximálně o pěti znacích.
OK
K tomu je třeba:
1 Po zvolení funkce, stiskněte tlačítko a
poté stiskněte nebo pro volbu čísla
Instalace
Instalace
Jazyk/Země
Jazyk/Země
programu, který chcete pojmenovat.
Automatické ladění
Třídění programů
Automatické ladění
Označení programů
Třídění programů
2 Stiskněte . Vyznačením prvního znaku ve
AV předvolby
Označení programů
Ruční ladění
AV předvolby
Prodrobnější nastavení
Ruční ladění
sloupci Etiqueta, stiskněte tlačítko nebo
Prodrobnější nastavení
OK
pro volbu jednoho písmene, čísla, nebo “-
OK
” pro mezeru a poté stiskněte pro
potvrzení tohoto znaku. Zbývající čtyři znaky
zvolte stejným způsobem. Nakonec stiskněte
OK pro jejich uložení.
Nastavení obrazu
AV PŘEDVOLBY
Režim: Osobní
Kontrast
Funkce “AV předvolby”, v režimu menu
Jas
Barevná sytost
“Instalace”, Vám umožní přidělit jméno
Ostrost
Odstín
vnějšímu zařízení připojenému k tomuto
Reset
OK
televizoru.
K tomu je třeba:
1 Po zvolení funkce, stiskněte tlačítko a
Instalace
Instalace
Jazyk/Země
poté stiskněte nebo pro volbu
Jazyk/Země
Automatické ladění
Automatické ladění
Třídění programů
Třídění programů
vnějšího vstupu, který chcete pojmenovat
Označení programů
Označení programů
AV předvolby
AV předvolby
(AV1 a AV2 pro přídavná zařízení připojená
Ruční ladění
Ruční ladění
Prodrobnější nastavení
Prodrobnější nastavení
ke konektorům typu Euro na zadní části
OK
OK
televizoru a AV3 pro konektory na ovládacím
čelním panelu).Poté stiskněte .
2 Ve sloupci “Název” se automaticky objeví
předurčené jméno:
a) Chcete-li použít jedno z těchto
předurčených jmen (CABLE, GAME,
CAM, DVD, VIDEO nebo SAT), stiskněte
tlačítko nebo pro volbu jednoho z
nich a nakonec stiskněte OK pro jeho
uložení.
b) Chcete-li přidělit Vámi určené jméno,
zvolte Editar a stiskněte . Poté,
vyznačením prvního znaku,
stiskněte nebo pro volbu jednoho
písmene, čísla, nebo “-” pro mezeru a
stiskněte pro potvrzení tohoto znaku.
Zbývající čtyři znaky zvolte stejným
způsobem a nakonec stiskněte OK pro
jejich uložení.
pokračuje ...
12
Režim menu na obrazovce

Stupeň 1 Stupeň 2 Stupeň 3 / Funkce
Nastavení obrazu
RUČNÍ LADĚNÍ
Režim: Osobní
Kontrast
Funkce “Ruční Ladění” v režimu menu
Jas
Barevná sytost
“Instalace” slouží pro:
Ostrost
Odstín
Reset
a) Postupné ladění kanálů (televizních stanic) v
OK
pořadí programu, které si přejete, nebo
postupné ladění video vstupu. K tomu je
třeba:
Instalace
Instalace
Jazyk/Země
Jazyk/Země
Automatické ladění
Automatické ladění
Třídění programů
Třídění programů
1 Po zvolení funkce “Ruční Ladění”, stiskněte
Označení programů
Označení programů
AV předvolby
AV předvolby
tlačítko . S vyznačenou položkou
Ruční ladění
Ruční ladění
Prodrobnější nastavení
Prodrobnější nastavení
Program stiskněte , a poté stiskněte
OK
OK
nebo pro volbu čísla programu
(pozice), na kterém si přejete naladit televizní
stanici nebo kanál videa (pro kanál videa
Vám doporučujeme vybrat číslo programu
“0”). Stiskněte tlačítko .
2 Dostupnost následující funkce závisí na
volbě země v režimu menu «Jazyk/
Země».
Po zvolení funkce Systém, stiskněte tlačítko
, a poté stiskněte nebo pro volbu
systému televizní stanice (B/G pro Západní
Evropu nebo D/K pro Východní Evropu)
Stiskněte .
3 Po zvolení funkce Kanál, stiskněte
tlačítko a poté stiskněte nebo pro
volbu typu kanálu (“C” pro pozemní vysílání
nebo “S” pro kabelové vysílání). Stiskněte
CZ
tlačítko . Posléze stiskněte číselná tlačítka
pro zavedení čísla kanálu televizní stanice
nebo znaménka kanálu videa.
Neznáte-li číslo kanálu, hledejte ho
stisknutím tlačítka nebo . Až najdete
kanál, který chcete uložit, stiskněte dvakrát
tlačítko OK.
Zopakujte všechny tyto body pro naladění a
uložení ostatních kanálů.
b) Přidělit jméno kanálu, maximálně o pěti
znacích.
K tomu je třeba: vyznačením funkce
Program, stiskněte tlačítko PROG + nebo -,
až se objeví číslo programu, který chcete
pojmenovat. Po té, až se objeví na
obrazovce, zvolte funkci Pojmenování a
následovně stiskněte tlačítko .
Stiskněte nebo pro volbu jednoho
písmene, čísla nebo “-” pro mezeru a
stiskněte pro potvrzení tohoto znaku.
Zbývající čtyři znaky zvolte stejným
způsobem. Po zvolení všech znaků,
stiskněte dvakrát tlačítko OK pro jejich
uložení.
pokračuje ...
Režim menu na obrazovce
13

Stupeň 1 Stupeň 2 Stupeň 3 / Funkce
c) Dokonce i v případě, že je normálně
Nastavení obrazu
Režim: Osobní
zapojeno jemné automatické ladění kanálů
Kontrast
Jas
(AFT), můžeme obraz ručně doladit (jestliže je
Barevná sytost
Ostrost
nejasný) a dosáhnout jeho zlepšení.
Odstín
Reset
OK
K tomu je třeba: zatímco sledujete kanál
(televizní stanici), ve kterém chcete provést
jemné naladění, zvolte funkci AFT, a poté
Instalace
Instalace
stiskněte tlačítko . Stiskněte nebo
Jazyk/Země
Jazyk/Země
Automatické ladění
Automatické ladění
pro doladění úrovně frekvence kanálu v
Třídění programů
Třídění programů
Označení programů
Označení programů
rozmezí od -15 do +15. Nakonec stiskněte
AV předvolby
AV předvolby
Ruční ladění
Ruční ladění
dvakrát tlačítko OK a tímto se nové doladění
Prodrobnější nastavení
Prodrobnější nastavení
OK
OK
uloží do paměti.
d) Vynechat čísla programů, které si nepřejete
sledovat a tím je přeskočit při jejich výběru
pomocí tlačítek PROG +/-.
K tomu je třeba: vyznačením funkce Program,
stiskněte tlačítko PROG + nebo -, až se objeví
číslo programu, který chcete vynechat. Po té,
až se objeví na obrazovce, zvolte funkci
Přeskočit a následovně stiskněte tlačítko .
Stiskněte nebo pro volbu Ano a
nakonec stiskněte dvakrát tlačítko OK pro jeho
uložení.
Jestliže časem chcete opět používat číslo
vynechaného programu, postupujte tak, jak je
výše uvedeno, ale místo “Ano” zvolte “Ne”.
e) Použitím dekodéru připojeného ke konektoru
typu Euro 2/ 2 , nebo přes video
připojené ke zmíněnému Eurokonektoru, Vám
tato funkce umožní sledovat a správně nahrát
kodifikovaný kanál.
Dostupnost následující funkce závisí na
volbě země v režimu menu “Jazyk/
Země”.
K tomu je třeba: po zvolení funkce Dekodér,
stiskněte tlačítko . Poté stiskněte nebo
pro volbu Zap. Nakonec stiskněte dvakrát
OK pro její uložení.
Jestliže časem budete chtít tuto funkci zrušit,
postupujte, jak je výše uvedeno, ale zvolte
znovu “Vyp” místo “Zap“.
Nastavení obrazu
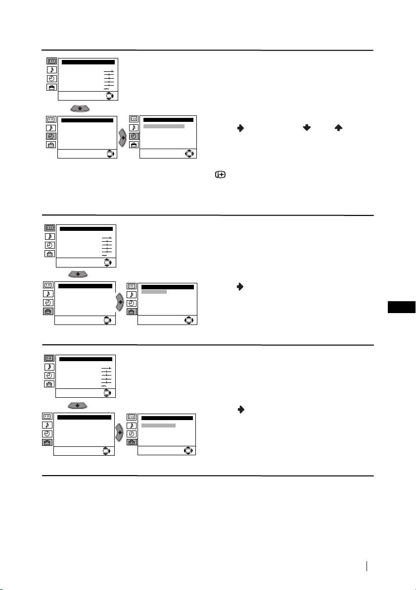
REDUKCE ŠUMU
Režim: Osobní
Kontrast
Funkce “Redukce šumu” v režimu menu
Jas
Barevná sytost
Ostrost
“Prodrobnější nastavení” slouží k redukci šumu
Odstín
Reset
obrazu v případě slabých signálů televizoru.
OK
K tomu je třeba: po zvolení funkce, stiskněte
tlačítko . Poté stiskněte nebo , zvolte
Instalace
Prodrobnější nastavení
Jazyk/Země
Redukce šumu:
Auto
Auto a nakonec stiskněte OK pro jeho uložení.
Automatické ladění
Výstup AV2:
Zap
Třídění programů
TV reproduktory:
On
Označení programů
RGB centrování:
0
AV předvolby
Otočení obrazu:
0
Jestliže časem budete chtít tuto funkci zrušit,
Ruční ladění
Prodrobnější nastavení
postupujte tak, jak je výše uvedeno, ale zvolte
OK
OK
“Vyp” místo “Auto”.
pokračuje ...
14
Režim menu na obrazovce

Stupeň 1 Stupeň 2 Stupeň 3 / Funkce
VÝSTUP AV2
Nastavení obrazu
Režim: Osobní
Funkce “Výstup AV2”, v režimu menu
Kontrast
Jas
Barevná sytost
“Prodrobnější nastavení”, Vám umožní zvolit
Ostrost
Odstín
Reset
vnější výstup konektoru typu Euro 2/ 2
OK
, abyste z tohoto Eurokonektoru mohli nahrát
jakýkoliv signál pocházející z televizoru, nebo z
Instalace
Prodrobnější nastavení
jiného vnějšího zařízení připojeného k
Jazyk/Země
Redukce šumu:
Auto
Automatické ladění
Výstup AV2:
TV
Třídění programů
TV reproduktory:
Zap
Eurokonektoru 1/ 1 nebo ke
Označení programů
RGB centrování:
0
Otočení obrazu:
AV předvolby
0
konektorům 3 nebo 3 a 3 na
S
Ruční ladění
Prodrobnější nastavení
ovládacím čelním panelu.
OK
OK
Má-li Váš videorekordér k dispozici
Smartlink, tento postup není třeba.
V tomoto případě je třeba: po zvolení funkce,
stiskněte tlačítko . Poté stiskněte nebo
pro volbu požadovaného výstupního signálu
TV, AV1, AV3, YC3 nebo AUTO.
Pokud zvolíte funkci AUTO, výstupní signál bude vždy stejný jako ten, který se objeví na
televizní obrazovce.
Máte-li připojený dekodér ke konektoru typu Euro 2/ 2, nebo k videu připojenému
k tomuto Eurokonektoru, nezapomeňte znovu zvolit “Výstup AV2” v režimu “AUTO” nebo
“TV” pro jeho správnou dekodifikaci.
Nastavení obrazu
TV REPRODUKTORY
Režim: Osobní
Kontrast
Volba funkce “TV reproduktory” v režimu menu
Jas
Barevná sytost
Ostrost
“Podrobnější nastavení” Vám umožní zrušit
Odstín
Reset
zvuk z reproduktorů televizoru a poslouchat ho
CZ
OK
pouze přes vnější zesilovač, který je zapojený k
výstupu zvuku na zadní části televizoru.
Prodrobnější nastavení
Instalace
Redukce šumu:
Auto
Jazyk/Země
K tomu je třeba: po zvolení funkce, stiskněte
Výstup AV2:
TV
Automatické ladění
TV reproduktory:
Zap
Třídění programů
RGB centrování:
0
tlačítko . Poté stiskněte nebo , zvolte
Označení programů
Otočení obrazu:
0
AV předvolby
Ruční ladění
Vyp a nakonec stiskněte OK pro jeho uložení.
Prodrobnější nastavení
OK
OK
Jestliže časem budete chtít tuto funkci zrušit,
postupujte tak, jak je výše uvedeno, ale zvolte
“Zap” místo “Vyp”.
Nastavení obrazu
RGB CENTROVÁNÍ
Režim: Osobní
Kontrast
Při zapojení vnějších signálů RGB, jako
Jas
Barevná sytost
“PlayStation”, je možné, že bude třeba seřídit
Ostrost
Odstín
Reset
vodorovné centrování obrazu. V tomto případě
OK
se seřizuje pomocí funkce “RGB centrování” v
režimu menu “Prodrobnější nastavení”.
Prodrobnější nastavení
Instalace
Jazyk/Země
Redukce šumu:
Auto
Automatické ladění
Výstup AV2:
TV
TV reproduktory:
Zap
Třídění programů
K tomu je třeba: zatímco sledujete vstupní
RGB centrování:
0
Označení programů
Otočení obrazu:
0
AV předvolby
signál RGB, zvolte funkci “RGB Centróvaní” a
Ruční ladění
Prodrobnější nastavení
stiskněte tlačítko . Poté stiskněte nebo
OK
OK
pro upravení centra obrazu (seřizujte od - 10
do + 10). Nakonec stiskněte tlačítko OK pro
jeho uložení.
pokračuje ...
Režim menu na obrazovce
15

Stupeň 1 Stupeň 2 Stupeň 3 / Funkce
Nastavení obrazu
OTOČENÍ OBRAZU
Režim: Osobní
Kontrast
Vzhledem k zemské přitažlivosti se může stát,
Jas
Barevná sytost
Ostrost
že se obraz nakloní. V tomto případě ho můžete
Odstín
Reset
upravit použitím funkce “Otočení obrazu” v
OK
režimu menu “Prodrobnější nastavení”.
Prodrobnější nastavení
Instalace
K tomu je třeba: po zvolení funkce, stiskněte
Jazyk/Země
Redukce šumu:
Auto
Automatické ladění
Výstup AV2:
TV
TV reproduktory:
Zap
tlačítko . Poté stiskněte nebo pro
Třídění programů
RGB centrování:
0
Označení programů
Otočení obrazu:
0
AV předvolby
seřízení otočení obrazu v rozmezí od - 5 do + 5.
Ruční ladění
Prodrobnější nastavení
Nakonec stiskněte OK pro jeho uložení.
OK
OK
16
Režim menu na obrazovce

Teletext
Teletext je informační služba, kterou užívá většina televizních stanic. Na straně s obsahem
služeb teletextu (všeobecně je to strana 100) je poskytnuta informace o tom, jak se užívá
tato služba. Pro práci v teletextu používejte tlačítka dálkového ovladače tak, jak je
uvedeno v této kapitole.
Zvolte televizní stanici se silným signálem, jinak může dojít v teletextu k chybám.
Vstup do teletextu
Zvolte kanál (televizní stanici), který vysílá teletext, který si přejete sledovat,
TELETEXT
stisknutím tlačítka .
Index
Programme
25
News
153
Zvolení stránky teletextu
Sport
101
Weather
98
Pomocí číselných tlačítek dálkového ovládače zadejte tři čísla představující
příslušné číslo stránky, kterou si přejete vidět.
• V případě, že se při volbě zmýlíte, zadejte jakákoliv tři čísla, a poté znovu zadejte správné
číslo stránky.
• Jestliže se počítadlo stránek nezastaví, je to proto, že požadovaná stránka není k dispozici.
V tomto případě zadejte jiné číslo stránky.
Zvolení následující nebo předchozí stránky
Stiskněte tlačítka PROG + ( ) nebo PROG - ( ).
Překrytí teletextu televizním obrazem
Zatímco sledujete teletext, stiskněte tlačítko . Opětovným stisknutím se teletextový režim
zruší.
Zmrazení teletextové stránky
CZ
Stiskněte tlačítko / . Opětovným stisknutím se zmrazení podstránky zruší.
Odhalení skrytých informací (např. soutěžních odpovědí)
Stiskněte tlačítko / . Opětovným stisknutím se informace opět ukryje.
Zvolení podstránky:
Jedna stránka teletextu se může skládat z několika podstran. V takovém případě číslo
stránky, které se objeví v horní levé části obrazovky, změní barvu ze žluté na zelenou a vedle
něj se objeví jedna nebo několik šipek. Opakovaně stiskněte tlačítka nebo na
dálkovém ovladači a požadovaná podstránka se objeví.
Vystoupení z teletextu:
Stiskněte tlačítko .
Fastext
Služba Fastextu nám umožní přístup do požadované stránky teletextu stisknutím pouze
jednoho tlačítka.
Jste-li v teletextu a v případě, že se vysílají signály Fastextu, na spodní části obrazovky se
objeví nabídka barevných kódů, které umožňují přístup přímo k teletextové stránce. K
zobrazení této nabídky stiskněte tlačítko příslušné barvy (červené, zelené, žluté nebo
modré) na dálkovém ovladači.
Teletext
17

Připojení přídavných zařízení
K televizoru je možné připojit různá další zařízení, jak je uvedeno níže. (Přípojné kabely se
nedodávají).
1
2
• Aby se zabránilo zkreslení obrazu nepřipojujte zařízení ke konektorůn A a B současně.
Připojení videa:
Pro připojení videa, obsáhlejší informace najdete v kapitole “Připojení anteny a videa”.
Doporučujeme Vám, byste pro připojení videa použili kabel typu Eurokonektor. V případě, že
nepoužijete tento kabel, budete muset naladit kanál video signálu ručně pomocí menu “Ruční
Ladění” (viz odst.a) na str.13). Zkonzultujte také návod k obsluze Vašeho videa, kde se dozvíte,
jak získáte kanál video signálu.
Připojení videorekordéru, které má k dispozici Smartlink:
Smartlink je přímé propojení mezi televizorem a videorekordérem, které umožňuje přenos
určitých informací. Podrobnější informace o Smartlinku najdete v návodu k obsluze
Vašeho videorekordéru.
Jestliže používáte videorekordér, který je opatřen Smartlinkem, doporučujeme Vám,
abyste ho připojili ke konektoru typu Euro 2/ 2 F použitím kabelu typu
Eurokonektor.
Pokud máte připojen dekodér ke konektoru typu Euro 2/ 2 F,
nebo k videu, které je připojeno ke zmíněnému Eurokonektoru:
Zvolte funkci “Ruční Ladění” v režimu menu “Instalace” a po zvolení funkce “Dekodér”**, zvolte
“Zap” (použitím nebo ) pro každý kódovaný kanál.
** Dostupnost této funkce závisí na volbě země v menu “Jazyk/Země”.
pokračuje ...
18
Doplňkové informace
“Pl
ay
S
tat
i
on
”*
D
e
k
o
dé
Dekodér
r
Hi
-
Fi
DVD
S VHS/Hi8/
DVC
8mm/Hi8/
kamkordér
DVC
kamkordér
videorekordér
A
F
B
D
E
C
* “PlayStation” je výrobek Sony
Computer Entertainment, Inc
* “PlayStation” je značka registrovan
Při zapojení sluchátek se
jako Sony Computer Entertainmen
reproduktory televizoru
Inc.
automaticky vypnou.

Připojení vnějšího zvukového zařízení:
Chcete-li poslouchat zvuk televizoru v reproduktorech Vaší Hi-Fi věže, připojte Hi-Fi věž k
výstupu audio D a, pomocí systému menu, zvolte “Instalace”. Poté vstupte do funkce
“Podrobnější nastavení” a zvolte “Vyp” v režimu “TV reproduktory”.
Hlasitost vnějších reproduktorů se může regulovat pomocí tlačítek pro nastavení hlasitosti
na dálkovém ovladači televizoru. Také je možné regulovat stupeň výšky a hloubky zvuku
pomocí menu “Nastavení zvuku”.
Také můžete dosáhnout zvukového efektu “Dolby
Reproduktory Vaší Hi-Fi věže
Virtual” pomocí Vaší Hi-Fi věže:
K tomu je třeba umístit reproduktory Hi-Fi věže po obou
stranách televizoru tak, aby vzdálenost mezi televizorem
a každým reproduktorem byla přibližně 50cm. Po
umístění reproduktorů zvolte menu “Nastavení zvuku”
pomocí systému menu, a poté zvolte “Dolby Virtual” ve
funkci “Efekt”.
~50°
Použití přídavných zařízení
1 Připojte přídavné zařízení přes příslušný konektor
televizoru tak, jak je výše uvedeno.
Optimální pozice pro uživatele
2 Zapněte připojené zařízení.
3 Aby se objevil obraz připojeného zařízení, opakovaně tiskněte tlačítko , dokud se na
obrazovce neobjeví správný vstupní symbol.
CZ
Symbol Vstupní signály
1 • Vstupní audio/video signál přes konektor typu Euro E
1 • Vstupní signál RGB přes konektor typu Euro E. Tento symbol se objeví
pouze v případě, že je připojen vstup RGB.
2 • Vstupní signál pro audio / video přes konektor typu Euro F.
2 • Vstupní signál pro RGB přes konektor typu Euro F. Tento symbol se
objeví pouze v případě, že je připojen vstup RGB.
3 • Vstupní video signál přes konektor RCA B a vstupní audio signál přes C.
S
3 • Vstupní signál pro S video přes konektor S videa A a vstupní signál pro
audio přes C. Tento symbol se objeví pouze v případě, že je připojen vstup
S video.
4 Aby se znovu objevil normální televizní obraz, stiskněte tlačítko na dálkovém ovladači.
Připojení monofonních přístrojů
Zástrčku zvuku zapojte do zdířky L/G/S/I na čelním panelu televizoru a zvolte vstup
3 nebo
S
3 postupem popsaným výše. Poté nastavte kanál “Dvoukanál. zvuk” “A” ve zvukové
nabidce dle částl “Nastavení zvuku” tohoto návodu.
Doplňkové informace
19

Instalace dálkového ovládání pro DVD nebo video
Tento dálkový ovladač je připraven nejen pro ovládání funkcí tohoto televizoru Sony, ale také pro
ovládání základních funkcí Vašeho DVD Sony a většiny videí Sony, aniž by byla nutná instalace
dálkového ovládání. Pro ovládání ostatních značek DVD a videí, stejně tak jako některých videí Sony,
před jejich prvním použití budete muset provést instalaci dálkového ovládání. K tomu je třeba splnit
následující pokyny:
•Ze všeho nejdříve vyhledejte třímístný číselný kód podle značky Vašeho DVD nebo videa (viz
spodní panel). U značek, které mají více než jeden kód, zaveďte první z nich.
• Sony se pokusí zaktualizovat kódy v souladu se změnami na obchodním trhu.
Aktuální seznam kódů najdete v pouzdru, ve kterém je dálkový ovladač.
1 Opakovaně tiskněte tlačítko selektoru zařízení na dálkovém ovladači dokud se v
požadované pozici, DVD nebo VCR (pro video), neobjeví zelené světlo.
3
Jestliže je selektor zařízení v pozici TV, není možné uložit do paměti
žádný kód.
2 Zatímco je v požadované pozici rozsvícen indikátor zelené barvy, stiskněte žluté
2
tlačítko na dálkovém ovladači po dobu asi 6 vteřin, dokud indikátor zelené barvy
nezačne blikat.
3 Zatímco bliká indikátor zelené barvy, zadejte pomocí číselných tlačítek na dálkovém
ovladači třímístný číselný kód v souladu se zařízením, které budete používat.
Pokud kód, který jste uvedli, existuje, na chvíli se rozsvítí všechny tři indikátory
1
zelené barvy. V opačném případě, předchozí pokyny znovu zopakujte.
4 Zapněte zařízení, které chcete používat a prověřte, zda dálkovým ovladačem
můžete ovládat hlavní funkce televizoru.
• Pokud zařízení nefunguje nebo selže některá z funkcí, zopakujte předchozí
pokyny a přesvědčte se, že kód, který zavádíte, je správný, nebo zkuste
další kód a tak pokračujte, až najdete ten správný.
• Uložené kódy se z paměti vymažou v případě, že vybité baterie nevyměníte
za méně než jednu minutu. V tomto případě znovu zopakujte všechny
předchozí pokyny. Na vnitřní části krytu baterií je nálepka, na kterou můžete
napsat číselný kód.
• Ne všechny značky, ani všechny modely jedné značky jsou brané v úvahu.
Přehled podle značek videa Přehled podle značek DVD
Značka Kód Značka Kód
SONY (VHS) 301, 302, 303, 308, 309 SONY 001
SONY (BETA) 303, 307, 310 AIWA 021
SONY (DV) 304, 305, 306 DENON 018, 027, 020, 002
AIWA 325, 331, 351 GRUNDIG 009, 028, 023, 024, 016, 003
AKAI 326, 329, 330 HITACHI 025, 026, 015, 004
DAEWOO 342, 343 JVC 006, 017
GRUNDIG 358, 355, 360, 361, 320, 351 KENWOOD 008
HITACHI 327, 333, 334 LG 015, 014
JVC 314, 315, 322, 344, 352, 353, LOEWE 009, 028, 023, 024, 016, 003
354, 348, 349 MATSUI 013, 016
LG 332, 338 ONKYO 022
LOEWE 358, 355, 360, 361, 320, 351 PANASONIC 018, 027, 020, 002
MATSUI 356, 357 PHILIPS 009, 028, 023, 024, 016, 003
ORION 328 PIONEER 004
PANASONIC 321, 323 SAMSUNG 011, 014
PHILIPS 311, 312, 313, 316, 317, 318, SANYO 007
358, 359 SHARP 019, 027
SAMSUNG 339, 340, 341, 345 THOMSON 012
SANYO 335, 336 TOSHIBA 003
SHARP 324 YAMAHA 018, 027, 020, 002
THOMSON 319, 350
TOSHIBA 337
20
Doplňkové informace

Technické údaje
Systém TV:
Vstupy na přední straně:
Závisí na Vámi zvolené zemi:
3 Vstup pro S video - 4-pinový DIN
B/G/H, D/K
3 video vstup - konektor RCA
3 audio vstup - konektory RCA.
Systém kódování barev:
PAL, SECAM
zdířka sluchátek
NTSC 3.58, 4.43 (pouze pro video vstup)
Výstupy zvuku:
Rozložení kanálů:
2 x 20 W (hudební výkon)
VHF: E2-E12
2 x 10 W (RMS)
UHF: E21-E69
Woofer:
CATV: S1-S20
30 W (hudební výkon)
HYPER: S21-S41
15 W (RMS)
D/K: R1-R12, R21-R69
Příkon:
Televizní obrazovka:
130 W
Plochá obrazovka FD Trinitron
29 inches (přibližně 73 cm. v úhlopříčce)
Příkon v režimu časového vypnutí
(pohotovostní režim):
Vstupy na zadní straně:
0.3 W
1/ 1 21-pinový konektor typu EURO
(norma CENELEC), včetně
Rozměry (š x v x h):
vstupu pro audio/video, vstupu
Přibližně 771 x 585 x 506 mm
RGB, výstupu audio/video z TV
Hmotnost:
CZ
audio/video.
Přibližně 50 kg
2/ 2 21-pinový konektor typu Euro
Dodané příslušenství:
(SMARTLINK) (norma CELENEC), včetně
1 dálkový ovládač, typ RM-932
vstupu pro audio / video, vstupu
2 baterie typu IEC.
pro RGB, volitelného výstupu
Další funkce:
audio / video a připojení
•Obraz 100 Hz
Smartlinku.
•Teletext, Fastext, TOPtext (250 stran
Výstupy audio (levé / pravé) -
paměti Teletextu).
•Automatické zapojení
konektory RCA.
•SmartLink (přímé propojení mezi
televizorem a kompatibilním
videorekordérem. Podrobnější
informace o Smartlinku najdete v
návodu k obsluze Vašeho
videorekordéru).
•Automatické nalezení systému TV.
• Dolby Virtual
• BBE.
Úpravy v designu a technických vlastnostech bez předchozího upozornění.
Ekologický papír - 100% bez chloru
21
S
Doplňkové informace



