Sony KV-21FX30K: instruction
Class: Household, kitchen appliances, electronics and equipment
Type:
Manual for Sony KV-21FX30K
Table of contents

01CoverKV21FX30.fm Page 1 Thursday, August 2, 2001 6:39 PM
4-206-090-32(1)
R
FD Trinitron
Colour Television
Instruction Manual
GB
Инструкции за експлоатация
BG
Návod k obsluze
CZ
Kezelési útmutató
HU
Instrukcja obsługi
PL
Инструкция пo эксплyатации
RU
Návod na obsluhu
SK
KV-21FX30K
© 2001 by Sony Corporation

01GBKV21FX30K.fm Page 3 Thursday, September 20, 2001 11:20 AM
Introduction
Thank you for choosing this Sony FD Trinitron Colour Television.
Before operating the TV, please read this manual thoroughly and retain it for future
reference.
• Symbols used in the manual:
• Informs you of possible hazards.
• Shaded buttons on the remote control
K
show you the buttons you have to press
• Important information
to follow the sequence of the
• Information on a feature.
instructions.
• Informs you of the result of instructions.
•
1,2...
Sequence of instructions.
Table of Contents
Introduction..............................................................................................................................................3
Safety Information...................................................................................................................................4
Overview
Overview of Remote Control Buttons .................................................................................................. 5
Overview of TV Buttons ........................................................................................................................ 6
Installation
Inserting Batteries into the Remote Control ........................................................................................6
GB
Connecting the Aerial and VCR ........................................................................................................... 6
First Time Operation
Switching On the TV and Automatically Tuning .............................................................................. 7
Menu system
Introducing and Using the Menu System............................................................................................ 9
Menu Guide:
Picture Adjustment ............................................................................................................................. 9
Sound Adjustment............................................................................................................................. 10
Sleep Timer......................................................................................................................................... 11
On Timer............................................................................................................................................. 11
Language/Country ........................................................................................................................... 11
Auto Tuning ....................................................................................................................................... 12
Programme Sorting ........................................................................................................................... 12
Programme Labels............................................................................................................................. 12
AV Preset ............................................................................................................................................ 12
Manual Programme Preset............................................................................................................... 13
Noise Reduction................................................................................................................................. 15
AV2 Output ........................................................................................................................................ 15
RGB Centring ..................................................................................................................................... 16
Picture Rotation .................................................................................................................................16
Teletext
...............................................................................................................................................17
Additional Information
Connecting Optional Equipment ........................................................................................................ 18
Using Optional Equipment .................................................................................................................. 19
Specifications.......................................................................................................................................... 20
Troubleshooting..................................................................................................................................... 21
Table of Contents
3

01GBKV21FX30K.fm Page 4 Thursday, September 20, 2001 11:20 AM
Safety Information
Never push objects of any kind into
For environmental and safety
This set is to operate on a 220-
the set as this could result in a fire
240V AC supply only. Take care
reasons, it is recommended that
or electric shock. Never spill liquid
the TV set is not left in standby
of any kind on the set. If any liquid
not to connect too many
or solid object does fall through, do
appliances to the same power
mode when not in use. Disconnect
not operate the TV. Have it checked
socket as this could result in fire
from the mains.
immediately by qualified
or electric shock.
personnel.
Do not open the cabinet and the rear
For your own safety, do not touch
To prevent fire or shock
cover of the TV. Refer to qualified
any part of the TV, power lead or
hazard, do not expose the TV
service personnel only.
aerial lead during lightning
to rain or moisture.
storms.
Do not cover the
Never place
To prevent fire, keep inflammable
ventilation openings of the TV For
the TV in hot, humid or
objects or naked lights (eg
ventilation, leave a space of at
excessively dusty places. Do not
candles) away from the TV.
least 10cm all around the set.
install the TV where it may be
exposed to mechanical vibrations.
Take care not to place heavy
Clean the TV with a soft, lightly
Pull out the power lead by the
objects on the power lead as this
dampened cloth. Do not use
plug. Do not pull on the power
could result in damage.
benzine, thinner or any other
lead itself.
We recommend you wind any
chemicals to clean the TV. Do not
scratch the TV screen. As a safety
excess lead around the holders
precaution, unplug the TV before
provided on the rear of the TV.
cleaning it.
Unplug the power lead before
Place the TV on a secure stable
moving the TV. Avoid uneven
Do not cover the ventilation
stand. Do not allow children to
surfaces, quick steps or excessive
openings of the TV with items
climb on to it. Do not place the TV
force. If the set has been dropped
such as curtains or newspapers
on its side or face up.
or damaged, have it checked
etc.
immediately by qualified service
personnel.
4
Safety Information

01GBKV21FX30K.fm Page 5 Thursday, September 20, 2001 11:20 AM
Overview of Remote Control Buttons
To Temporarily Switch Off TV
Muting the Sound
Press to temporarily switch off TV (the standby
Press to mute TV sound. Press again
indicator on TV lights up). Press again to switch on
to restore the sound.
TV from standby mode.
Displaying on Screen
To save energy we recommend
information
switching off completely when TV is not
Press to display all on-screen
in use.
indications. Press again to cancel.
After 15 minutes without a
signal and without any button
Selecting channels
being pressed, the TV switches
Press to select channels.
automatically into standby
For double-digit programme
mode.
numbers, enter the second digit
Selecting input source
within 2.5 seconds.
Press repeatedly until the desired
or
input symbol of the source appears
on the TV screen.
Press -/-- and then the first and
Back to the channel last
second digit.
watched
If you enter an incorrect first digit,
Press to watch the last channel
this should be corrected by entering
selected (watched for at least 5
another digit (0-9) and then selecting
seconds).
-/-- button again to enter the
Displaying the menu system
GB
programme number of your choice.
Press to display the menu on the TV
Selecting TV mode
screen. Press again to remove the
Press to switch off teletext or video
menu display from the TV screen.
input.
Menu selection
•
When MENU is switched on:
Selecting Teletext
Scroll Up
Press to switch on teletext.
Scroll Down
Selecting sound mode
Previous menu or selection
Next menu or selection
Press repeatedly to change the sound
OK
confirms your selection
mode.
•
When MENU is switched off:
Selecting Picture mode
OK
Shows a channel overview.
Press repeatedly to change the
Press or to select the
picture mode.
channel and then, press again the
Adjusting TV volume
OK
button to watch the selected
channel.
Press to adjust the volume of the TV.
Selecting Screen format
This button only works in Teletext mode.
Press to view programmes in 16:9
Function associated to this button
mode. Press again to return to 4:3
does not work with this TV.
mode.
Selecting channels
Press to select the next or previous
channel.
Besides TV functions, all coloured buttons as well as green symbols are also used for
Teletext operation. For more details, please refer to “Teletext” section of this instruction
manual.
Overview
5

01GBKV21FX30K.fm Page 6 Thursday, September 20, 2001 11:20 AM
Overview of TV Buttons
Standby
indicator
On/Off switch
Programme Up
Selecting
Auto Start
or Down
Input source
Up Button
Buttons (Selects
TV channels)
Press on the mark on
Video
Audio
Headphones
Volume control
the door flap to reveal the
Input jack
Input
jack
buttons
control panel.
jacks
Inserting Batteries into the Remote Control
Make sure you insert the supplied batteries using the correct polarities.
Always remember to dispose of used batteries in an environmental friendly way.
Connecting the Aerial and VCR
Connecting cables are not supplied.
or
VCR
OUT IN
For more details of VCR connection, please refer to
Scart lead is optional.
the section “Connecting Optional
Equipment” of this instruction manual.
6
Overview-Installation

01GBKV21FX30K.fm Page 7 Thursday, September 20, 2001 11:20 AM
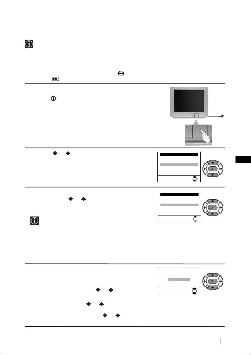
Switching On the TV and Automatically Tuning
The first time you switch on your TV, a sequence of menu screens appear on the TV ena-
bling you to: 1) choose the language of the menu screen, 2) choose the country in which you
wish to operate the TV, 3) adjust the picture slant 4) search and store all available channels
(TV Broadcast) and 5) change the order in which the channels (TV Broadcast) appear on the
screen.
However, if you need to change any of these settings at a later date, you can do that by
selecting the appropriate option in the (Set Up menu) or by pressing the Auto Start Up
Button on the TV set.
1
Connect the TV plug to the mains socket (220-240V AC,
50Hz)
Press the on/off button on the TV set to turn on the TV.
The first time you press this button, a
Language
menu
displays automatically on the TV screen.
2
Press the or button on the remote control to select
Language
i
4
the language, then press the
OK
button to confirm your
Svenska
GB
Norsk
selection. From now on all the menus will appear in the
English
Nederlands
Français
K
selected language.
Italiano
i
$
Select Language:
OK
3
The
Country
menu appears automatically on the TV
Country
i
4
screen. Press the or button to select the country in
Sverige
Norge
which you will operate the TV set, then press the
OK
-
Italia
K
Deutschland
button to confirm your selection.
Österreich
i
$
Select country:
OK
• If the country in which you want to use the TV set
does not appear in the list, select “-” instead of a
country.
• In order to avoid wrong teletext characters for
Cyrillic languages we recommend to select Russia
country in the case that your own country does not
appear in the list.
4
Because of the earth’s magnetism, the picture might slant.
If picture slants, please
adjust picture rotation
The
Picture Rotation
menu allows you to correct the
Not necessary
picture slants if it is necessary.
K
Adjust now
a)
If it is not necessary, press or to select
Not
OK
necessary
and press
OK
.
b)
If it is necessary, press or to select
Adjust now
,
then press
OK
and correct any slant of the picture
between –5 and +5 by pressing or . Finally press
OK
to store.
continued...
First Time Operation
7

01GBKV21FX30K.fm Page 8 Thursday, September 20, 2001 11:20 AM
5
The Auto Tuning menu appears on the screen. Press the
Do you want to start
OK
button to select
Yes
.
automatic tuning?
Yes
No
K
OK
6
The TV starts to automatically search and store all
Auto Tuning
available broadcast channels for you.
Programme: 01
System: B/G
Channel: C21
This procedure could take some minutes. Please be
patient and do not press any button, otherwise the
Searching...
automatic tuning will not be completed.
If no channels were found during the auto tuning
No channel found
process then a new menu appears automatically on
Please connect aerial
K
Confirm
the screen asking you to connect the aerial. Please
connect the aerial (see page 6) and press
OK
. The
OK
auto tuning process will start again.
7
After all available channels are captioned and stored,
Programme Sorting
the
Programme Sorting
menu appears automatically
Programme:
01 TVE
on the screen enabling you to change the order in
02 TVE2
03 TV3
04 C33
K
which the channels appear on the screen.
05 C27
06 C58
a) If you wish to keep the broadcast channels in the
Select channel:
OK
Exit:
MENU
tuned order, go to step 8.
b) If you wish to store the channels in a different order:
1 Press the or button to select the programme
Programme Sorting
Programme:
number with the channel (TV Broadcast) you wish
01 TVE
02 TVE2
to rearrange, then press the button.
03 TV3
04 C33
K
05 C27
2 Press the or button to select the new
06 C58 05 C27
Select new position:
programme number position for your selected
OK
Exit: MENU
channel (TV Broadcast), then press .
3 Repeat steps b)1 and b)2 if you wish to change
the order of the other channels.
MENU
8 Press the MENU button to remove the menu from the
screen.
Your TV is now ready for use
8
First Time Operation

01GBKV21FX30K.fm Page 9 Thursday, September 20, 2001 11:20 AM
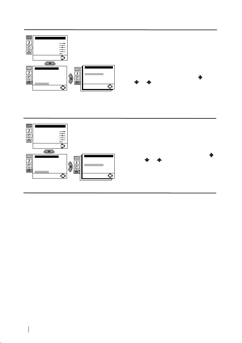
Introducing and Using the Menu System
Your TV uses an on-screen menu system to guide you through the operations. Use the
following buttons on the Remote Control to operate the menu system:
1 Press the MENU button to switch the first level menu on.
MENU
2 • To highlight the desired menu or option, press or .
• To enter to the selected menu or option, press .
• To return to the last menu or option, press .
K
• To alter settings of your selected option, press //or.
• To confirm and store your selection, press OK.
3 Press the MENU button to remove the menu from the screen.
MENU
GB
Menu Guide
Level 1 Level 2 Level 3 / Function
Picture Adjustment
PICTURE ADJUSTMENT
Picture Adjustment
Mode: Personal
Mode: Personal
The “Picture Adjustment” menu allows you to
Contrast
Contrast
Brightness
Brightness
Colour
Colour
alter the picture adjustments.
Sharpness
Sharpness
Hue
Hue
Reset
Reset
OK
OK
To do this: after selecting the item you want to
alter press , then press repeatedly / /
or to adjust it and finally press OK to
store the new adjustment.
This menu also allows you to customise the
picture mode based on the programme you are
watching:
Personal (for individual settings).
Live (for live broadcast programmes, DVD
and Digital Set Top Box receivers).
Movie (for films).
• Brightness, Colour and Sharpness can only be altered if “Personal” mode is selected.
• Hue is only available for NTSC colour signal (e.g: USA video tapes).
• Select Reset and press OK to reset the picture to the factory preset levels.
continued...
Menu System
9

01GBKV21FX30K.fm Page 10 Thursday, September 20, 2001 11:20 AM
Level 1 Level 2 Level 3 / Function
Picture Adjustment
SOUND ADJUSTMENT
Mode: Personal
Contrast
The “Sound Adjustment” menu allows you to
Brightness
Colour
alter the sound adjustments.
Sharpness
Hue
Reset
OK
To do this: after selecting the item you want to
alter, press . then press repeatedly /
/ or to adjust it and finally press OK
Sound Adjustment
Sound Adjustment
Mode: Personal
Mode: Personal
to store the new adjustment.
Treble
Treble
Bass
Bass
Balance
Balance
Reset
Reset
Dual Sound: Mono
Dual Sound: Mono
Detail Adjustment
Detail Adjustment
OK
OK
This menu also contains two submenus as following:
Mode Personal (for individual settings)
Rock
Pop
Jazz
Detail Adjustment Sound Effect: Off: Normal.
Spatial: Acoustic sound effect.
Auto volume: Off: Volume level changes according
to the broadcast signal.
On: Volume level of the channels will
stay the same, independent of the
broadcast signal (e.g. in the case of
advertisements).
TV Speakers: Off: Sound from external amplifier
connected to the audio outputs on
the rear of the TV set.
On: Sound from the TV set.
• Treble and Bass can only be altered if “Personal” mode is selected.
• Select Reset and press OK to reset the sound to the factory preset levels.
• In case of a bilingual broadcast select Dual Sound and set A for sound channel 1, B for sound channel
2 or Mono for mono channel if available. For a stereo broadcast you can choose Stereo or Mono.
continued...
10
Menu System

01GBKV21FX30K.fm Page 11 Thursday, September 20, 2001 11:20 AM
Level 1 Level 2 Level 3 / Function
Picture Adjustment
SLEEP TIMER
Mode: Personal
Contrast
The “Sleep Timer” option in the “Timer” menu
Brightness
Colour
allows you to select a time period for the TV to
Sharpness
Hue
Reset
switch itself automatically into the standby
OK
mode.
To do this: after selecting the option press ,
Timer
Timer
then press or to set the time period delay
Sleep Timer: Off
Sleep Timer: Off
On Timer: Off
On Timer: i Off
(max. of 4 hours) and finally press OK to store.
• While watching the TV, you can press the
OK
OK
button on the remote control to display the
time remaining.
• One minute before the TV switches itself into
standby mode, the time remaining is displayed on
the TV screen automatically.
ON TIMER
Picture Adjustment
The “On Timer” option in the “Timer” menu
Mode: Personal
Contrast
Brightness
allows you to select a time period for the TV to
Colour
Sharpness
switch itself automatically on from standby
Hue
Reset
mode.
OK
GB
To do this: after selecting the option press ,
then press or to set the time period delay
Timer
Timer
(max. 12 hours) and press OK to store. Finally
Sleep Timer: Off
Sleep Timer: Off
press the standby button
on the remote
On Timer: Off
On Timer: Off
control. After the selected length of time the TV
switches on automatically.
OK
OK
• The standby indicator on the TV set flashes
regularly to indicate that “On Timer” is active.
• Any loss of power will cause these settings to be
cleared.
If you have not activated the “On Timer”
option but the indicator on the TV set
flashes, please contact to your nearest
Sony Service Centre.
Picture Adjustment
LANGUAGE / COUNTRY
Mode: Personal
Contrast
The “Language/Country” option in the “Set
Brightness
Colour
Up” menu allows you to select the language
Sharpness
Hue
that the menus are displayed in. It also allows
Reset
you to select the country in which you wish to
OK
operate the TV set.
Set Up
Set Up
To do this: after selecting the option, press
Language/Country
Language/Country
Auto Tuning
Auto Tuning
and then proceed in the same way as in the
Programme Sorting
Programme Sorting
Progamme Labels
Progamme Labels
steps 2 and 3 of the section “Switching On the
AV Preset
AV Preset
Manual Programme Preset
Manual Programme Preset
TV and Automatically Tuning”.
Detail Set Up
Detail Set Up
OK
OK
continued...
Menu System
11

01GBKV21FX30K.fm Page 12 Thursday, September 20, 2001 11:20 AM
Level 1 Level 2 Level 3 / Function
AUTO TUNING
Picture Adjustment
Mode: Personal
The “Auto Tuning” option in the “Set Up”
Contrast
Brightness
menu allows you to automatically search for
Colour
Sharpness
Hue
and store all available TV channels.
Reset
OK
To do this: after selecting the option, press
and then proceed in the same way as in TV
steps 5 and 6 of the section “Switching On the
Set Up
Set Up
Language/Country
TV and Automatically Tuning”.
Language/Country
Auto Tuning
Auto Tuning
Programme Sorting
Programme Sorting
Progamme Labels
Progamme Labels
AV Preset
AV Preset
Manual Programme Preset
Manual Programme Preset
Detail Set Up
Detail Set Up
OK
OK
PROGRAMME SORTING
Picture Adjustment
Mode: Personal
The “Programme Sorting” option in the “Set
Contrast
Brightness
Colour
Up” menu allows you to change the order in
Sharpness
Hue
which the channels (TV Broadcast) appear on
Reset
the screen.
OK
To do this: after selecting the option, press
Set Up
Set Up
and then proceed in the same way as in step 7 b)
Language/Country
Language/Country
Auto Tuning
Auto Tuning
Programme Sorting
Programme Sorting
of the section “Switching On the TV and
Progamme Labels
Progamme Labels
AV Preset
AV Preset
Automatically Tuning”.
Manual Programme Preset
Manual Programme Preset
Detail Set Up
Detail Set Up
OK
OK
PROGRAMME LABELS
Picture Adjustment
Mode: Personal
The “Programme Labels” option in the “Set
Contrast
Brightness
Colour
Up” menu allows you to name a channel using
Sharpness
Hue
up to five characters (letters or numbers).
Reset
OK
To do this:
1 After selecting the option, press , then
Set Up
Set Up
Language/Country
Language/Country
press or to select the programme
Auto Tuning
Auto Tuning
Programme Sorting
Programme Sorting
number with the channel you wish to name.
Progamme Labels
Progamme Labels
AV Preset
AV Preset
Manual Programme Preset
Manual Programme Preset
2 Press . With the first element of the Label
Detail Set Up
Detail Set Up
column highlighted, press or to select
OK
OK
a letter or number (select “-“ for a blank), then
press to confirm this character. Select the
other four characters in the same way. Finally
press OK to store.
Picture Adjustment
AV PRESET
Mode: Personal
Contrast
The “AV Preset” option in the “Set Up” menu
Brightness
Colour
allows you to designate a name to the external
Sharpness
Hue
equipment you have connected to the sockets of
Reset
this TV.
OK
To do this:
Set Up
Set Up
1 After selecting the option, press , then
Language/Country
Language/Country
Auto Tuning
Auto Tuning
Programme Sorting
Programme Sorting
press or to select the input source you
Progamme Labels
Progamme Labels
AV Preset
AV Preset
wish to name (AV1 and AV2 are for the rear
Manual Programme Preset
Manual Programme Preset
Detail Set Up
Detail Set Up
Scarts and AV3 for front connectors). Then
OK
OK
press .
continued...
12
Menu System

01GBKV21FX30K.fm Page 13 Thursday, September 20, 2001 11:20 AM
Level 1 Level 2 Level 3 / Function
2 In the label column automatically appears a
label:
a) If you want to use one of the 6 predefined
label (CABLE, GAME, CAM, DVD,
VIDEO or SAT), press or to select
the desired label and finally press OK to
store.
b) If you want to set a different label, select
Edit and press . Then with the first
element highlighted, press or to
select a letter, number or “-“ for a blank,
then press to confirm this character.
Select the other four characters in the same
way and finally press OK to store.
Picture Adjustment
MANUAL PROGRAMME PRESET
Mode: Personal
The “Manual Programme Preset” option in the
Contrast
Brightness
Colour
“Set Up” menu allows you to:
Sharpness
Hue
Reset
a) Preset channels or a video input source one
OK
by one to the programme order of your
choice. To do this:
Set Up
Set Up
Language/Country
Language/Country
1 After selecting the ”Manual Programme
Auto Tuning
Auto Tuning
GB
Programme Sorting
Programme Sorting
Progamme Labels
Progamme Labels
Preset” option, press then with
AV Preset
AV Preset
Manual Programme Preset
Manual Programme Preset
Programme option highlighted press .
Detail Set Up
Detail Set Up
OK
OK
Press or to select on which
programme number you want to preset the
channel (for VCR, select programme number
“0”). Then press .
2 The following option is only available
depending on the country you have
selected in the “Language/Country”
menu.
After selecting the System option, press .
Then press or to select the TV
Broadcast system (B/G for western European
countries or D/K for eastern European
countries). Then press .
3 After selecting the Channel option, press .
Then press or to select the channel
tuning (“C” for terrestrial channels or “S” for
cable channels). Next press . After that,
press the number buttons to enter directly the
channel number of the TV Broadcast or the
channel of the VCR signal. If you do not
know the channel number, press or to
search for it. When you tune the desired
channel, press OK twice to store.
Repeat all the above steps to tune and store more
channels.
continued...
Menu System
13

01GBKV21FX30K.fm Page 14 Thursday, September 20, 2001 11:20 AM
Level 1 Level 2 Level 3 / Function
Picture Adjustment
b) Label a channel using up to five characters.
Mode: Personal
Contrast
Brightness
To do this: Highlighting the Programme
Colour
Sharpness
option, press the PROGR +/- button to select
Hue
Reset
the programme number with the channel
OK
you wish to name. When the programme you
want to name appears on the screen, select
Set Up
Set Up
Language/Country
Language/Country
the Label option and press . Next
Auto Tuning
Auto Tuning
Programme Sorting
Programme Sorting
press or to select a letter, number or
Progamme Labels
Progamme Labels
AV Preset
AV Preset
Manual Programme Preset
“-“ for a blank. Press to confirm this
Manual Programme Preset
Detail Set Up
Detail Set Up
character. Select the other four characters in
OK
OK
the same way. After selecting all the
characters, press OK twice to store.
c)Normally the automatic fine tuning (AFT) is
operating, however you can manually fine
tune the TV to obtain a better picture
reception in the case that the picture is
distorted.
To do this: while watching the channel (TV
Broadcast) you wish to fine tune, select the
AFT option and press . Next press
or to adjust the fine tuning between -15
and +15. Finally press OK twice to store.
d) Skip any unwanted programme numbers
when they are selected with the PROGR +/-
buttons.
To do this: Highlighting the Programme
option, press the PROGR +/- button to select
the programme number you want to skip.
When the programme you want to skip
appears on the screen, select the Skip option
and press . Next press or to select
Yes. Finally press OK twice to confirm and
store.
To cancel this function afterwards, select “No”
instead of “Yes” in the step above.
e) This option allows you to view and record
correctly scrambling channels when using a
decoder connected to the Scart
:2/
S
directly or through a VCR.
This option is only available depending
on the country you have selected in the
“Language/Country” menu.
To do this: select the Decoder option and
press . Next press or to select On.
Finally press OK twice to confirm and store.
To cancel this function afterwards, select “Off”
instead of “On” in the step above.
continued...
14
Menu System

01GBKV21FX30K.fm Page 15 Thursday, September 20, 2001 11:20 AM
Level 1 Level 2 Level 3 / Function
NOISE REDUCTION
Picture Adjustment
Mode: Personal
The “Noise Reduction” option in the “Detail Set
Contrast
Brightness
Colour
Up” menu allows you to automatically reduce
Sharpness
Hue
the picture noise visible in the broasdcast
Reset
OK
signal.
Set Up
Detail Set Up
To do this: after selecting the option, press .
Language/Country
Noise Reduction:
Auto
Auto Tuning
AV2 Output:
TV
Then press or to select Auto. Finally
Programme Sorting
RGB Centring:
0
Progamme Labels
Picture Rotation:
0
press OK to confirm and store.
AV Preset
Manual Programme Preset
Detail Set Up
OK
To cancel this function afterwards, select “Off”
OK
instead of “Auto” in the step above.
AV2 OUTPUT
Picture Adjustment
Mode: Personal
The “AV2 Output” option in the “Detail Set
Contrast
Brightness
Up” menu allows you to select the source to be
Colour
Sharpness
Hue
output from the Scart connector :2/q in
Reset
OK
order you can record from this Scart any signal
coming from the TV or from external
Set Up
Detail Set Up
equipment connected to the Scart connector
Language/Country
Noise Reduction:
Auto
Auto Tuning
AV2 Output:
TV
:1/ or front connectors 3 and 3.
Programme Sorting
RGB Centring:
0
GB
Progamme Labels
Picture Rotation:
0
AV Preset
Manual Programme Preset
Detail Set Up
If your VCR supports Smartlink, this
OK
OK
procedure is not necessary.
To do this: after selecting the option, press .
Then press or to select the desired
output signal: TV, AV1, AV3 or AUTO.
If you select “AUTO”, the output signal
will always be the same one that is
displayed on the screen.
If you have connected a decoder to the
Scart
:2/q or to a VCR connected to
this Scart, please remember to change back
the “AV2 Output” to “AUTO” or “TV” for
correct unscrambling.
continued...
Menu System
15

01GBKV21FX30K.fm Page 16 Thursday, September 20, 2001 11:20 AM
Level 1 Level 2 Level 3 / Function
RGB CENTRING
Picture Adjustment
Mode: Personal
When connecting an RGB source, such as a
Contrast
Brightness
Colour
“PlayStation”, you may need to readjust the
Sharpness
Hue
horizontal position of the picture. In that case,
Reset
OK
you can readjust it through the “RGB Centring”
option in the “Detail Set Up”.
Detail Set Up
Set Up
Noise Reduction:
Language/Country
Auto
AV2 Output:
TV
Auto Tuning
To do this: while watching an RGB source select
RGB Centring:
0
Programme Sorting
Picture Rotation:
0
Progamme Labels
the “RGB Centring” option and press . Then
AV Preset
Manual Programme Preset
Detail Set Up
press or to adjust the centre of the
OK
OK
picture between –10 and +10. Finally press OK
to confirm and store.
PICTURE ROTATION
Picture Adjustment
Mode: Personal
Because of the earth’s magnetism, the picture
Contrast
Brightness
Colour
might slant. In this case, you can correct the
Sharpness
Hue
picture slant by using the option “Picture
Reset
OK
Rotation” in the “Detail Set Up” menu.
Set Up
Detail Set Up
To do this: after selecting the option, press .
Language/Country
Noise Reduction:
Auto
Auto Tuning
AV2 Output:
TV
Then press or to correct any slant of the
Programme Sorting
RGB Centring:
0
Progamme Labels
Picture Rotation:
0
picture between -5 and +5 and finally press OK
AV Preset
Manual Programme Preset
Detail Set Up
to store.
OK
OK
16
Menu System

01GBKV21FX30K.fm Page 17 Thursday, September 20, 2001 11:20 AM
Teletext
Teletext is an information service transmitted by most TV stations. The index page of the
teletext service (usually page 100) gives you information on how to use the service. To
operate teletext, use the remote control buttons as indicated below.
Make sure to use a channel (TV Broadcast) with a strong signal, otherwise teletext errors
may occur.
To Switch On Teletext :
After selecting the TV channel which carries the teletext service you wish
TELETEXT
TELETEXT
TELETEXT
TELETEXT
TELETEXT
TELETEXT
TELETEXT
TELETEXT
Index
Index
Index
Index
Index
Index
Index
Index
to view, press .
Programme
Programme
Programme
Programme
Programme
Programme
Programme
Programme
25
25
25
25
25
25
25
25
News
News
News
News
News
News
News
News
153
153
153
153
153
153
153
153
Sport
Sport
Sport
Sport
Sport
Sport
Sport
Sport
101
101
101
101
101
101
101
101
Weather
Weather
Weather
Weather
Weather
Weather
Weather
Weather
98
98
98
98
98
98
98
98
To Select a Teletext page:
Input 3 digits for the page number, using the numbered buttons.
• If you have made a mistake, retype the correct page number.
• If the counter on the screen continues searching, it is because this page is not available. In that case,
input another page number
To access the next or preceding page:
Press PROGR + ( ) or PROGR - ().
To superimpose teletext on to the TV:
GB
Whilst you are viewing teletext, press . Press it again to cancel teletext mode.
To freeze a teletext page:
Some teletext pages have sub-pages which follow on automatically. To stop them, press
/ . Press it again to cancel the freeze.
To reveal concealed information (e.g: answer to a quiz):
Press / . Press it again to conceal the information.
To Switch Off Teletext:
Press .
Fastext
Fastext service lets you access pages with one button push.
While you are in Teletext mode and Fastext is broadcast, a colour coded menu appears at
the bottom of the teletext page. Press the colour button (red, green, yellow or blue) to access
the corresponding page.
Teletext
17

Connecting Optional Equipment
Using the following instructions you can connect a wide range of optional equipment to
your TV set. (Connecting cables are not supplied).
E
A
B
1
2
Connecting a VCR:
To connect a VCR, please refer to the section “Connecting the aerial and VCR” of this instruction
manual. We recommend you connect your VCR using a scart lead. If you do not have a scart
lead, tune in the VCR test signal to the TV programme number “0” by using the “Manual
Programme Preset” option. (for details of how to manually programme these presets, see page
13, step a).
Refer to your VCR instruction manual to find out how to find the output channel of your VCR.
Connecting a VCR that supports Smartlink:
Smartlink is a direct link between the TV set and the VCR. For more information on
Smartlink, please refer to the instruction manual of your VCR.
If you use a VCR that supports Smartlink, please connect the VCR by using a Scart lead to
the Scart :2/q E.
If you have connected a decoder to the Scart :2/q or through a VCR
connected to this Scart:
Select the “Manual Programme Preset” option in the “Set Up” menu and after entering in the
“Decoder**” option, select “On” (by using or ). Repeat this option for each scrambling
signal.
**This option is only available depending on the country you have selected in the
“Language/Country” menu.
continued...
18
Additional Information
“PlayStation”*
Deco
d
Deco
er
d
er
Hi-
f
D
C
i
VCRDVD
V
C
01GBKV21FX30K.fm Page 18 Thursday, September 20, 2001 11:20 AM
8mm/Hi8/
DVC
camcorder
VCR
RDVD
When you connect the headphones,
* “PlayStation” is a product of Sony
the TV speakers will automatically
Computer Entertainment, Inc.
be muted
* “PlayStation” is a trademark of Sony
Computer Entertainment, Inc.

01GBKV21FX30K.fm Page 19 Thursday, September 20, 2001 11:20 AM
Connecting to external Audio Equipment:
Plug in your Hi-Fi equipment to the audio output sockets D if you wish to amplify the audio
output from TV. Next ,using the menu system, select the “Sound Adjustment” menu. Enter the
“Detail Adjustment” option and set “TV Speakers” to “Off”.
The audio level of the external speakers can be modified by pressing the volume buttons
on the remote control. Also treble and bass settings can be modified through the “Sound
Adjustment” menu.
Using Optional Equipment
1 Connect your equipment to the designated TV socket, as indicated in the previous page.
2 Switch on the connected equipment.
3 To watch the picture of the connected equipment, press the button repeatedly until the
correct input symbol appears on the screen.
Symbol Input Signals
GB
1 • Audio / video input signal through the Scart connector C
• RGB input signal through the Scart connector C. This symbol appears only
if a RGB source has been connected.
2 • Audio / video input signal through the Scart connector E.
S
2 • S Video input signal through the Scart connector E.
3 • Video input signal through the phono socket A and Audio input signal
through B.
4 Press button on the remote control to return to the normal TV picture.
For Mono Equipment
Connect the phono plug to the L/G/S/I socket on the front of the TV and select 3 input
signal using the instructions above. Finally, refer to the “Sound Adjustment” section of this
manual and select “Dual Sound” “A” on the sound menu screen.
Additional Information
19

01GBKV21FX30K.fm Page 20 Thursday, September 20, 2001 11:20 AM
Specifications
TV system:
Sound Output:
Depending on your country selection:
2 x 14 W (music power)
B/G/H, D/K
2 x 7 W (RMS)
Colour system:
Power Consumption:
PAL, SECAM
60 W
NTSC 3.58, 4.43 (only Video In)
Standby Power Consumption:
Channel Coverage:
0.5 W
VHF: E2-E12
Dimensions (w x h x d) :
UHF: E21-E69
Approx. 545 x 446 x 485 mm.
CATV: S1-S20
HYPER: S21-S41
Weight:
D/K: R1-R12, R21-R69
Approx. 26 Kg.
Picture Tube:
Accessories supplied:
Flat Display FD Trinitron
1 Remote Control (RM-887)
21” (approx. 55 cm. measured
2 Batteries (IEC designated)
diagonally)
Other features:
Rear Terminals
• Teletext, Fastext, TOPtext
:1/ 21-pin scart connector
• Sleep Timer
(CENELEC standard)
• Wake UP Timer
including audio/video
• Smartlink (direct link between your TV set
input, RGB input, TV
and a compatible VCR. For more
audio/video output.
information on Smartlink, please refer to
the Instruction Manual of your VCR).
:2/q 21-pin Scart connector
• TV system Autodetection.
(CENELEC standard)
including audio / video
input, S video input,
selectable audio / video
output and Smartlink
interface.
audio outputs (Left/
Right) - phono jacks
Front Terminals
…3 video input – phono jack
3 audio input – phono jacks
headphones jack
Design and specifications are subject to change without notice.
Ecological Paper- Totally Chlorine Free
20
Additional Information

01GBKV21FX30K.fm Page 21 Thursday, September 20, 2001 11:20 AM
Troubleshooting
Here are some simple solutions to the problems which may affect the picture and sound.
Problem
Solution
No picture (screen is dark) and no
•Check the aerial connection.
sound.
• Plug the TV in and press the button on the front of
the TV.
•If the standby indicator is on, press button on
the remote control.
Poor or no picture (screen is dark),
•Using the menu system, select the “Picture
but good sound.
Adjustment” menu and select “Reset” to return to the
factory settings.
No picture or no menu information
•Check that the optional equipment is on and press the
from equipment connected to the
button repeatedly on the remote control until the
Scart connector.
correct input symbol is displayed on the screen.
Good picture, no sound.
• Press the +/- button on the remote control.
• Check that “TV Speakers” is “On” on the “Sound
Adjustment” menu.
• Check that headphones are not connected.
No colour on colour programmes.
• Using the menu system, select the “Picture
GB
Adjustment” menu and select “Reset” to return to
factory settings.
Distorted picture when changing
• Turn off any equipment connected to the Scart
programmes or selecting teletext.
connector on the rear of the TV.
Wrong characters appear when
• Using the menu system, enter to the “Language/
viewing teletext.
Country” menu and select the country in which you
operate the TV set. For Cyrillic languages, we
agreement to select Russia country in the case that your
own country does not appear in the list.
Picture slanted
• Using the menu system, select the “Picture Rotation”
option in the “Detail Set Up” menu to correct the
picture slant.
Noisy picture when viewing a TV
• Using the menu system, select the “Manual
channel.
Programme Preset” menu and adjust Fine Tuning
(AFT) to obtain better picture reception.
• Using the menu system, select the “Noise Reduction”
option in the “Detail Set Up” menu and select
“Auto” to reduce the noise in the picture.
No unscrambling or unstable picture
• Using the menu system, select the “Set Up” menu.
whilst viewing a scrambling channel
Then enter to “Detail Set Up” option and set “AV2
with a decoder connected through
Output” to “TV”.
the Scart connector
:2/q.
Remote control does not function.
• Replace the batteries.
The standby indicator on the TV
• Contact your nearest Sony service centre.
flashes even though the “On Timer”
If you continue to experience problems, have your TV serviced by qualified personnel.
Never open the casing yourself.
Additional Information
21



