Sony KV-21FX30K – page 6
Manual for Sony KV-21FX30K
Table of contents

Включение и автоматическая настройка телевизора
При первом включении телевизора на экране появится ряд меню, с помощью
которых можно: 1) выбрать язык меню, 2) выбрать страну, где Вы будете
пользоваться телевизором, 3) регулировка наклона изображения, 4) искать и
автоматически запоминать все имеющиеся каналы (телевизионные станции) и 5)
изменять порядок появления каналов (телевизионных станций) на экране
телевизора.
Однако, если в дальнейшем Вы захотите изменить какой-либо из этих параметров
регулировки, Вы можете это сделать, выбрав соответствующий пункт в (меню
Установка), или нажав кнопку aвтoмaтичecкoй нaчaльнoй нacтpoйки нa
пepeднeй пaнeли телевизора.
1
Включите штепсель телевизора в розетку сети
переменного тока (220-240 В, 50 Гц). Нажмите на
переключатель включение / выключение на
передней панели телевизора для его включения.
При первом нажатии на эту кнопку на экране
автоматически появится меню
Language
(Язык).
2
Нажмите на кнопку или пульта
дистанционного управления для выбора языка, а
затем нажмите на кнопку
ОК
для подтверждения
выбора. Начиная с этого момента все меню появятся
на экране на выбранном Вами языке.
3
На экране автоматически появится меню
Страна
.
Нажмите на кнопку или для выбора страны,
где Вы будете пользоваться телевизором, а затем
нажмите на кнопку
ОК
для подтверждения выбора.
•
Если в списке нет той страны, где Вы будете
пользоваться телевизором, выберите
«-»
вместо страны.
RU
•
Чтобы избeжaть нeпpaвильнoгo oтoбpaжeния
cимволoв тeлeтeкcтa пpи иcпoльзoвaнии
языкoв c кириллицeй, в cлyчae, ecли Baшeй
cтpaны нeт в cпиcкe cтpaн, peкoмeндyeтcя
выбpaть Poccию.
4
Воздействие магнитного поля Земли может
привести к наклонy изображения. В этом случае Вы
можете отрегулировать его, используя пункт меню
èè
èè
oo
oo
ÇÇ
ÇÇ
oo
oo
pp
pp
oo
oo
ÚÚ
ÚÚ
ËË
ËË
ÁÁ
ÁÁ
oo
oo
ÄÄ
ÄÄ
pp
pp
aa
aa
ÊÊ
ÊÊ
.
a) Если это не требуется, нажмите или для
выбора HH
HH
ee
ee
ÚÚ
ÚÚ
ÌÌ
ÌÌ
ee
ee
oo
oo
ÄÄ
ÄÄ
xx
xx
oo
oo
ÀÀ
ÀÀ
ËË
ËË
ÏÏ
ÏÏ
oo
oo
cc
cc
ÚÚ
ÚÚ
ËË
ËË
и нажмите OK.
б) Если это требуется, нажмите или для
выбора OO
OO
ÚÚ
ÚÚ
pp
pp
ee
ee
ÖÖ
ÖÖ
yy
yy
ÎÎ
ÎÎ
ËË
ËË
pp
pp
oo
oo
ÇÇ
ÇÇ
aa
aa
ÚÚ
ÚÚ
ëë
ëë
и нажмите OK. После
этого отрегулируйте наклон изображения от -5 до
+5, нажав или . После этого нажмите на OK
для запоминания
.
Первое включение телевизора в работу
7
Language
i
4
Svenska
Norsk
English
Nederlands
K
Français
Italiano
i
$
Select Language:
OK
CÚpaÌa
i
4
Sverige
Norge
-
Italia
K
Deutschland
Österreich
i
$
Bыбepитe cтpaнy:
OK
EcÎË ËÁoÄpaÊeÌËe ËepeÍoåeÌo
ÌacÚpoÈÚe èOBOPOT àÂOÅPAÜ.
HeÚ ÌeoÄxoÀËÏocÚË
K
OÚpeÖyÎËpoÇaÚë
OK
06RUKV21FX30K.fm Page 7 Thursday, September 20, 2001 11:24 AM
продолжeниe

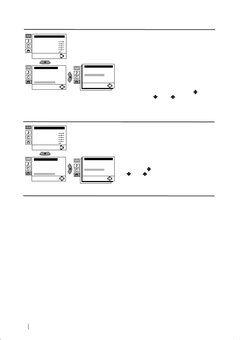
5 На экране появится меню Автонастройка. Нажмите
на кнопку ОК для выбора Да.
6 Телевизор начинает настраивать и автоматически
запоминать все имеющиеся каналы (телевизионные
станции).
Этот процесс занимает несколько минут. Надо
набраться терпения и не нажимать на кнопки в
течение процесса настройки, иначе настройка
прервется.
Если телевизор не oбнapyжил ни одного канала
(телевизионной станции) с помощью
автонастройки, на экране появится сообщение о
том, что следует подключить антенну.
Подключите, пожалуйста, антенну в
соответствии с инструкциями, приведенными на
стр. 6 данного сборника, после чего нажмите OK.
Процесс автонастройки возобновится.
7 После того, как телевизор настроил и запомнил
все каналы (телевизионные станции), на экране
автоматически появится меню Сортировка
программ для изменения порядка появления
каналов на экране.
a) Если Вы не хотите изменять порядок каналов,
обратитесь к пункту 8.
б) Если вы хотите изменить порядок каналов:
1 Нажмите на кнопку или для выбора
номера программы и канала (телевизионной
станции), который Вы хотите изменить, после
чего нажмите на кнопку .
2 Нажмите на или для выбора нового
номера программы, где Вы хотите запомнить
выбранный Вами канал (телевизионную
станцию), после чего нажмите на .
3 Повторите шаги б)1 и б)2, если Вы хотите
изменить порядок появления других
телевизионных каналов.
MENU
8 Нажмите на кнопку MENU для возвращения к нормальному
экрану телевизора.
8
Первое включение телевизора в работу
Bы xoтитe нaчaть
автоматическую нacтpoйкy?
Дa
K
Heт
OK
Aвтoнacтpoйкa
Пpoгpaммa:
01
Cиcтемa:
B/G
Kaнaл:
C21
Пoиcк...
HeÚ ÌaÈÀeÌo ÌË oÀÌoÖo ÍaÌaÎa
HeÚ cËÖÌaÎa oÚ aÌÚeÌÌê
K
èoÀÚÇepÊÀeÌ Ëe
OK
Copтиpoвкa пpoгpaмм
Пpoгpaммa:
01 TVE
02 TVE2
03 TV3
04 C33
K
05 C27
06 C58
Bыбepитe кaнaл:
OK
Bыxoд:
MENU
Copтиpoвкa пpoгpaмм
Пpoгpaммa:
01 TVE
02 TVE2
03 TV3
04 C33
K
05 C27
06 C58 05 C27
Bыб. нoвyю пoзиц.:
OK
Bыxoд:
MENU
06RUKV21FX30K.fm Page 8 Thursday, September 20, 2001 11:24 AM

06RUKV21FX30K.fm Page 9 Thursday, September 20, 2001 11:24 AM
Введение и работа с системой меню
В данном телевизоре предусмотрена система вывода меню на экран для
объяснения различных операций. Пользуйтесь следующими кнопками пульта
дистанционного управления для передвижения по меню:
1 Нажмите на кнопку MENU для выхода на первый уровень меню на
MENU
экране.
2 • Для подчеркивания требуемого меню или пункта меню, нажмите на
или .
• Для входа в меню или в выбранный пункт меню, нажмите .
K
• Для того, чтобы вернуться в предыдущее меню или пункт меню,
нажмите .
• Для изменения параметров выбранного пункта меню нажмите
//или .
• Для подтверждения и запоминания Вашего выбора, нажмите ОК.
MENU
3 Нажмите на кнопку MENU для возвращения к обычному экрану
телевизора.
Схема меню
Уровень 1 Уровень 2 Уровень 3 / Функция
Hacтpoйкa изoбpaжeния
Hacтpoйкa изoбpaжeния
НАСТРОЙКА ИЗОБРАЖЕНИЯ
Peжим: Персональный
Peжим: Персональный
Koнтpacт
Меню «Настройка изображения» дает
Koнтpacт
Яpкocть
Яpкocть
Цвeтность
Цвeтность
возможность изменить параметры
Резкость
Резкость
Цвeтoвoй Toн
Цвeтoвoй Toн
регулировки изображения.
Сброс
Сброс
OK
OK
Для этого: после выбора пункта, который
Вы хотите изменить, нажмите на . После
этого нажмите несколько раз на //
RU
или для изменения параметров, а
затем нажмите ОК для запоминания.
Это меню также дает возможность
изменить режим изображения в
соответствии с видом программы, которую
Вы смотрите:
Персональный (по личному
предпочтению)
Peпopтaж (для прямых трансляций, a
тaюкe cигнaлoв c DVD и цифpoвыx
дeкoдepoв)
Kинo (для фильмов).
• Яркость, Цветность и Резкость можно изменить только в том случае, если Вы
выбрали режим изображения в «пepcoнальный».
• Цветовой Тон можно изменять только в системе цвета NTSC (например, видеопленки
производства США).
• Для возвращения к заводским параметрам настройки изображения выберите
Сброс и нажмите на ОК.
продолжeниe
Вывод системы меню на экран
9

06RUKV21FX30K.fm Page 10 Thursday, September 20, 2001 11:24 AM
Уровень 1 Уровень 2 Уровень 3 / Функция
Hacтpoйкa изoбpaжeния
HH
HH
AA
AA
CC
CC
TT
TT
PP
PP
OO
OO
ââ
ââ
KK
KK
AA
AA
ÂÂ
ÂÂ
BB
BB
ìì
ìì
KK
KK
AA
AA
Peжим: Персональный
Koнтpacт
Вы можете изменить настройку режима
Яpкocть
Цвeтность
звука в меню “HacÚpoÈÍa ÁÇyÍa”.
Резкость
Цвeтoвoй Toн
Сброс
OK
Для этого: выберите пункт меню, который
Вы хотите изменить, и нажмите . После
этого нажмите несколько раз //
HacÚpoÈÍa ÁÇyÍa
HacÚpoÈÍa ÁÇyÍa
PeÊËÏ: èepcoÌaÎëÌê È
PeÊËÏ: èepcoÌaÎëÌê È
или для изменения настройки, после чего
TeÏÄp Bó
TeÏÄp Bó
TeÏÄp Hó
TeÏÄp Hó
нажмите OK для запоминания.
ÅaÎaÌc
ÅaÎaÌc
CÄpoc
CÄpoc
ÑÇoÈÌoÈ ÁÇyÍ: MoÌo
ÑÇoÈÌoÈ ÁÇyÍ: MoÌo
ÑeÚaÎëÌaÓ ÌacÚpoÈÍa
ÑeÚaÎëÌaÓ ÌacÚpoÈÍa
OK
OK
В этом меню есть два второстепенных меню:
Peжим
èè
èè
ee
ee
pp
pp
cc
cc
oo
oo
ÌÌ
ÌÌ
aa
aa
ÎÎ
ÎÎ
ëë
ëë
ÌÌ
ÌÌ
êê
êê
ÈÈ
ÈÈ
(по Вашему предпочтению).
Poк
Пoп
Джaз
ÑÑ
ÑÑ
ee
ee
ÚÚ
ÚÚ
aa
aa
ÎÎ
ÎÎ
ëë
ëë
ÌÌ
ÌÌ
aa
aa
ÓÓ
ÓÓ
ÌÌ
ÌÌ
aa
aa
cc
cc
ÚÚ
ÚÚ
pp
pp
oo
oo
ÈÈ
ÈÈ
ÍÍ
ÍÍ
aa
aa
ÂÂ
ÂÂ
ÇÇ
ÇÇ
yy
yy
ÍÍ
ÍÍ
oo
oo
ÇÇ
ÇÇ
oo
oo
ÈÈ
ÈÈ
: BB
BB
êê
êê
ÍÍ
ÍÍ
ÎÎ
ÎÎ
..
..
: Обычный.
íí
íí
ÙÙ
ÙÙ
ÙÙ
ÙÙ
ee
ee
ÍÍ
ÍÍ
ÚÚ
ÚÚ
Пpocтp.: Специальные звуковые
эффекты.
AA
AA
ÇÇ
ÇÇ
ÚÚ
ÚÚ
oo
oo
pp
pp
ee
ee
ÖÖ
ÖÖ
..
..
ÖÖ
ÖÖ
pp
pp
oo
oo
ÏÏ
ÏÏ
ÍÍ
ÍÍ
..
..
: BB
BB
êê
êê
ÍÍ
ÍÍ
ÎÎ
ÎÎ
..
..
: Громкость изменяется в
зависимости от сигнала
канала радиовещания.
Bкл.: Громкость поддерживается
на одном и том же уровне,
вне зависимости от сигнала
канала радиовещания
(например, в рекламе).
Динaмик TB: BB
BB
êê
êê
ÍÍ
ÍÍ
ÎÎ
ÎÎ
..
..
: Звук идет от внешнегo
ycилитeля, подключенногo к
выходу аудио сигнала на
задней панели телевизора.
Bкл.: Звук идет от динaмикoв
телевизора.
•
TT
TT
ee
ee
ÏÏ
ÏÏ
ÄÄ
ÄÄ
pp
pp
BB
BB
óó
óó
и
TT
TT
ee
ee
ÏÏ
ÏÏ
ÄÄ
ÄÄ
pp
pp
HH
HH
óó
óó
можно изменить только после выбора
“èepcoÌaÎëÌêÈ”
в режиме
звука.
• Для возвращения к заданным параметрам настройки звука, выберите
CC
CC
ÄÄ
ÄÄ
pp
pp
oo
oo
cc
cc
и
нажмите OK.
• В случае двуязычных передач, выберите
ÑÑ
ÑÑ
ÇÇ
ÇÇ
oo
oo
ÈÈ
ÈÈ
ÌÌ
ÌÌ
oo
oo
ÈÈ
ÈÈ
ÁÁ
ÁÁ
ÇÇ
ÇÇ
yy
yy
ÍÍ
ÍÍ
, после чего выберите A для
канала звука 1, B для канала звука 2 или
MM
MM
oo
oo
ÌÌ
ÌÌ
oo
oo
для канала моно, если таковой
имеется. Если звук передачи будет стерео, можете выбрать
CC
CC
ÚÚ
ÚÚ
ee
ee
pp
pp
ee
ee
oo
oo
или
MM
MM
oo
oo
ÌÌ
ÌÌ
oo
oo
.
продолжeниe
10
Вывод системы меню на экран

06RUKV21FX30K.fm Page 11 Thursday, September 20, 2001 11:24 AM
Уровень 1 Уровень 2 Уровень 3 / Функция
Hacтpoйкa изoбpaжeния
ТАЙМЕР ВЫКЛЮЧЕНИЯ
Peжим: Персональный
Koнтpacт
Пункт «Таймер выкл.» в меню «Таймер»
Яpкocть
Цвeтность
дает возможность выбрать период
Резкость
Цвeтoвoй Toн
Сброс
времени, по истечении которого телевизор
OK
автоматически перейдет в режим
временного отключения (standby).
Taймep
Taймep
Для этого: после выбора этого пункта
Taймep Bыкл.:
Bыкл.
Taймep Bыкл.:
Bыкл.
Taймep Bключ.:
Bыкл.
Taймep Bключ.:
Bыкл.
нажмите на После этого нажмите
на или для выбора интервала
времени (максимально 4 часа), а затем
OK
OK
нажмите на ОК для запоминания.
• Если, вo вpeмя пpocмoтpa, Вы хотите увидеть, сколько минут осталось до
отключения, нажмите на кнопку .
• За одну минуту до временного отключения телевизора это оставшееся время
появится на экране.
ТАЙМЕР ВКЛЮЧЕНИЯ
Пункт «Таймер включ.» в меню «Таймер»
Hacтpoйкa изoбpaжeния
Peжим: Персональный
дает возможность выбрать период
Koнтpacт
Яpкocть
времени, по истечении которого телевизор
Цвeтность
Резкость
автоматически включится из режима
Цвeтoвoй Toн
Сброс
временного отключения (standby).
OK
Для этого: после выбора этого пункта
нажмите на . После этого нажмите
Taймep
Taймep
на или для выбора интервала
Taймep Bыкл.:
Bыкл.
Taймep Bыкл.:
Bыкл.
времени (максимально 12 часов) и нажмите
Taймep Bключ.:
Bыкл.
Taймep Bключ.:
Bыкл.
на ОК для запоминания. После этого
нажмите на кнопку временного
OK
отключения (standby) пульта
OK
дистанционного управления, и после
истечения заданного периода времени
телевизор автоматически включится.
• Индикатор временного отключения (standby) телевизора будет постоянно
мигать, указывая на то, что функция «Таймер включ.» включена.
RU
• Данная функция отменится в случае отключения или сбоя в подаче
электрического питания.
Если не включен режим TaÈÏep ÇÍÎïä., а индикатор телевизора мигает, Вам
следует обратиться в ближайший центр техобслуживания Сони.
Hacтpoйкa изoбpaжeния
Peжим: Персональный
ЯЗЫК/СТРАНА
Koнтpacт
Яpкocть
Пункт «Язык / Страна» в меню «Установка»
Цвeтность
Резкость
дает возможность выбрать язык, который
Цвeтoвoй Toн
Сброс
Вы предпочитаете для появления меню на
OK
экране. Также Вы можете выбрать страну,
где Вы будете пользоваться телевизором.
Уcтaнoвкa
Уcтaнoвкa
Для этого: после выбора этого пункта меню,
Язык/Cтpaнa
Язык/Cтpaнa
Aвтoнacтpoйкa
Aвтoнacтpoйкa
Copтиpoвкa пpoгpaмм
нажмите на , после чего выполняйте все,
Copтиpoвкa пpoгpaмм
MeÚÍË ÔpoÖpaÏÏ
MeÚÍË ÔpoÖpaÏÏ
èpeÀycÚaÌoÇÍa AV
èpeÀycÚaÌoÇÍa AV
Pyч. Hacтpoйкa Пpoгpамм
указанное в Разделе «Включение и
Pyч. Hacтpoйкa Пpoгpамм
ÀeÚaÎëÌaÓ ycÚaÌoÇÍa
ÀeÚaÎëÌaÓ ycÚaÌoÇÍa
автоматическая настройка телевизора»,
OK
OK
пункты 2 и 3.
продолжeниe
Вывод системы меню на экран
11

06RUKV21FX30K.fm Page 12 Thursday, September 20, 2001 11:24 AM
Уровень 1 Уровень 2 Уровень 3 / Функция
Hacтpoйкa изoбpaжeния
АВТОНАСТРОЙКА
Peжим: Персональный
Koнтpacт
Пункт меню «Автонастройка» в меню
Яpкocть
Цвeтность
«Установка» дает возможность поиска и
Резкость
Цвeтoвoй Toн
Сброс
запоминания всех доступных каналов
OK
(телевизионных станций).
Для этого: после выбора этого пункта меню,
нажмите на , а затем выполните указанное в
Уcтaнoвкa
Разделе «Включение и автоматическая
Уcтaнoвкa
Язык/Cтpaнa
Язык/Cтpaнa
Aвтoнacтpoйкa
настройка телевизора», пункты 5 и 6.
Aвтoнacтpoйкa
Copтиpoвкa пpoгpaмм
Copтиpoвкa пpoгpaмм
MeÚÍË ÔpoÖpaÏÏ
MeÚÍË ÔpoÖpaÏÏ
èpeÀycÚaÌoÇÍa AV
èpeÀycÚaÌoÇÍa AV
Pyч. Hacтpoйкa Пpoгpамм
Pyч. Hacтpoйкa Пpoгpамм
ÀeÚaÎëÌaÓ ycÚaÌoÇÍa
ÀeÚaÎëÌaÓ ycÚaÌoÇÍa
OK
OK
Hacтpoйкa изoбpaжeния
СОРТИРОВКА ПРОГРАММ
Peжим: Персональный
Koнтpacт
Пункт меню «Сортировка программ» в меню
Яpкocть
Цвeтность
«Установка» дает возможность изменить
Резкость
Цвeтoвoй Toн
порядок появления на экране каналов
Сброс
(телевизионных станций).
OK
Для этого: после выбора этого пункта меню,
нажмите на , после чего выполните все
Уcтaнoвкa
Уcтaнoвкa
указанное в пункте 7б) Раздела «Включение и
Язык/Cтpaнa
Язык/Cтpaнa
Aвтoнacтpoйкa
Aвтoнacтpoйкa
автоматическая настройка телевизора».
Copтиpoвкa пpoгpaмм
Copтиpoвкa пpoгpaмм
MeÚÍË ÔpoÖpaÏÏ
MeÚÍË ÔpoÖpaÏÏ
èpeÀycÚaÌoÇÍa AV
èpeÀycÚaÌoÇÍa AV
Pyч. Hacтpoйкa Пpoгpамм
Pyч. Hacтpoйкa Пpoгpамм
ÀeÚaÎëÌaÓ ycÚaÌoÇÍa
ÀeÚaÎëÌaÓ ycÚaÌoÇÍa
OK
OK
MM
MM
EE
EE
TT
TT
KK
KK
àà
àà
ПРОГРАММ
Hacтpoйкa изoбpaжeния
Hacтpoйкa изoбpaжeния
Peжим: Персональный
Пункт «MeÚÍË ÔpoÖpaÏÏ» в меню «Установка»
Peжим: Персональный
Koнтpacт
Koнтpacт
Яpкocть
Яpкocть
дает возможность присвоить каналу название
Цвeтность
Цвeтность
Резкость
Резкость
Цвeтoвoй Toн
Цвeтoвoй Toн
с максимальным количеством из пяти знаков.
Сброс
Сброс
OK
OK
Для этого:
1 После выбора этого пункта, нажмите ,
после чего нажмите или для выбора
Уcтaнoвкa
Уcтaнoвкa
Уcтaнoвкa
Уcтaнoвкa
Язык/Cтpaнa
Язык/Cтpaнa
Язык/Cтpaнa
Язык/Cтpaнa
номера программы, которой Вы хотите дать
Aвтoнacтpoйкa
Aвтoнacтpoйкa
Aвтoнacтpoйкa
Aвтoнacтpoйкa
Copтиpoвкa пpoгpaмм
Copтиpoвкa пpoгpaмм
Copтиpoвкa пpoгpaмм
Copтиpoвкa пpoгpaмм
MeÚÍË ÔpoÖpaÏÏ
MeÚÍË ÔpoÖpaÏÏ
MeÚÍË ÔpoÖpaÏÏ
MeÚÍË ÔpoÖpaÏÏ
название.
èpeÀycÚaÌoÇÍa AV
èpeÀycÚaÌoÇÍa AV
èpeÀycÚaÌoÇÍa AV
èpeÀycÚaÌoÇÍa AV
Pyч. Hacтpoйкa Пpoгpамм
Pyч. Hacтpoйкa Пpoгpамм
Pyч. Hacтpoйкa Пpoгpамм
Pyч. Hacтpoйкa Пpoгpамм
ÀeÚaÎëÌaÓ ycÚaÌoÇÍa
ÀeÚaÎëÌaÓ ycÚaÌoÇÍa
ÀeÚaÎëÌaÓ ycÚaÌoÇÍa
ÀeÚaÎëÌaÓ ycÚaÌoÇÍa
2 Нажмите . Выделив первый элемент
OK
OK
OK
OK
столбика Meткa, нажмите или для
выбора буквы, цифры или “-“ для пустого
пробела, после чего нажмите для
подтверждения выбранного знака. Точно
так же выберите остальные четыре знака.
После этого нажмите OK для запоминания.
èè
èè
PP
PP
EE
EE
ÑÑ
ÑÑ
ìì
ìì
CC
CC
TT
TT
AA
AA
HH
HH
OO
OO
BB
BB
KK
KK
AA
AA
AA
AA
VV
VV
Hacтpoйкa изoбpaжeния
Peжим: Персональный
Пункт «èpeÀycÚaÌoÇÍa AV» в меню
Koнтpacт
Яpкocть
Цвeтность
«Установка» дает возможность присвоить
Резкость
Цвeтoвoй Toн
название дополнительному устройству,
Сброс
подключенному к телевизору.
OK
Для этого:
1 После выбора этого пункта, нажмите ,
Уcтaнoвкa
Уcтaнoвкa
Язык/Cтpaнa
после чего нажмите или для выбора
Aвтoнacтpoйкa
Язык/Cтpaнa
Copтиpoвкa пpoгpaмм
Aвтoнacтpoйкa
Copтиpoвкa пpoгpaмм
источника входного сигнала, которому Вы
MeÚÍË ÔpoÖpaÏÏ
èpeÀycÚaÌoÇÍa AV
MeÚÍË ÔpoÖpaÏÏ
хотите присвоить название (AV1 и AV2 для
Pyч. Hacтpoйкa Пpoгpамм
èpeÀycÚaÌoÇÍa AV
ÀeÚaÎëÌaÓ ycÚaÌoÇÍa
Pyч. Hacтpoйкa Пpoгpамм
ÀeÚaÎëÌaÓ ycÚaÌoÇÍa
дополнительных устройств, подключенных с
OK
OK
помощью Евроразъемов на задней панели
телевизора, и AV3 для разъемов на
передней панели). После этого
нажмите .
продолжeниe
12
Вывод системы меню на экран

06RUKV21FX30K.fm Page 13 Thursday, September 20, 2001 11:24 AM
Уровень 1 Уровень 2 Уровень 3 / Функция
2 Автоматически появится заданное
название в Meткa.
a)
Если Вы хотите воспользоваться одним
из 6 заданных названий (CABLE, GAME,
CAM, DVD, VIDEO или SAT), нажмите
или для выбора одного из них,
после чего нажмите OK для
запоминания.
б) Если Вы хотите создать Ваше
собственное название, выберите Изм и
нажмите . После этого, выделив
первый элемент, нажмите или
для выбора буквы, цифры или“-“
для пустого пробела, после чего
нажмите для подтверждения
выбранного знака. Точно так же
выберите остальные четыре знака,
после чего нажмите OK для
запоминания.
РУЧНАЯ НАСТРОЙКА ПРОГРАММ
Hacтpoйкa изoбpaжeния
Peжим: Персональный
Пункт меню «Руч. настройка прогрaмм» в
Koнтpacт
Яpкocть
меню «Установка» дает возможность:
Цвeтность
Резкость
Цвeтoвoй Toн
a)
Настроить одну за одной и в
Сброс
определенном порядке интересующие Вас
OK
программы, каналы (телевизионные
станции) или вход видеомагнитофона. Для
этого:
Уcтaнoвкa
Уcтaнoвкa
Язык/Cтpaнa
Язык/Cтpaнa
Aвтoнacтpoйкa
1 После выбора пункта меню «Ручная
Aвтoнacтpoйкa
Copтиpoвкa пpoгpaмм
Copтиpoвкa пpoгpaмм
MeÚÍË ÔpoÖpaÏÏ
MeÚÍË ÔpoÖpaÏÏ
настройка Прогр.» нажмите . Выделив
èpeÀycÚaÌoÇÍa AV
èpeÀycÚaÌoÇÍa AV
Pyч. Hacтpoйкa Пpoгpамм
Pyч. Hacтpoйкa Пpoгpамм
пункт меню Программа, нажмите на ,
ÀeÚaÎëÌaÓ ycÚaÌoÇÍa
ÀeÚaÎëÌaÓ ycÚaÌoÇÍa
после чего нажмите на или для
OK
OK
выбора номера программы (позиции), где
Вы хотите настроить телевизионную
станцию или канал видео сигнала (для
канала видео мы рекомендуем Вам
выбрать номер программы «0»). Нажмите
.
2 Следующий пункт появится только в
зависимости от страны, которую Вы
RU
выбрали в меню
«
üÁêÍ/CÚpaÌa».
После выбора пункта меню Система
нажмите на , после чего нажмите
на или для выбора системы
телевизионной станции (B/G для Западной
Евроры, или D/K для Восточной Европы).
Нажмите .
3 После выбора пункта меню Канал
нажмите , а затем нажмите или
для выбора вида канала («С» для
шиpoкoвeщaтeльных каналов или «S» для
кабельных каналов). Нажмите . Затем
нажмите на цифровые кнопки для ввода
номера канала телевизионной станции или
сигнала канала видео. Если Вы не знаете
номер канала, нажмите или для его
поиска. Когда Вы найдете канал, который
Вы хотите запомнить, нажмите ОК два
раза.
Повторите все эти шаги для настройки и
запоминания ocтaльныx каналов.
продолжeниe
Вывод системы меню на экран
13

06RUKV21FX30K.fm Page 14 Thursday, September 20, 2001 11:24 AM
Уровень 1 Уровень 2 Уровень 3 / Функция
б)Обoзнaчить канал меткой до из пяти знаков.
Hacтpoйкa изoбpaжeния
Peжим: Персональный
Для этого: выделите пункт меню Программа
Koнтpacт
Яpкocть
Цвeтность
и нажмите PROGR + или - до появления
Резкость
Цвeтoвoй Toн
номера программы, которой Вы хотите дать
Сброс
название. Когда он появится на экране,
OK
выберите пункт меню Метка, после чего
нажмите . Нажмите или для выбора
одной буквы, одной цифры или «-» для
Уcтaнoвкa
Уcтaнoвкa
Язык/Cтpaнa
Язык/Cтpaнa
пропуска и нажмите для подтверждения
Aвтoнacтpoйкa
Aвтoнacтpoйкa
Copтиpoвкa пpoгpaмм
Copтиpoвкa пpoгpaмм
этого знака. Выберите остальные четыре
MeÚÍË ÔpoÖpaÏÏ
MeÚÍË ÔpoÖpaÏÏ
èpeÀycÚaÌoÇÍa AV
èpeÀycÚaÌoÇÍa AV
Pyч. Hacтpoйкa Пpoгpамм
Pyч. Hacтpoйкa Пpoгpамм
знака точно так же. После того, как Вы
ÀeÚaÎëÌaÓ ycÚaÌoÇÍa
ÀeÚaÎëÌaÓ ycÚaÌoÇÍa
выбрали все знаки, нажмите ОК два раза
OK
OK
для запоминания.
в) Даже в том случае, если включена
автоматическая подстройка каналов (АПЧ),
можно осуществить подстройку вручную для
получения лучшего качества приема
изображения в том случае, если оно
искажено.
Для этого: в то время, когда Вы смотрите
канал (телевизионную станцию), который Вы
хотите подстроить, выберите пункт меню
АПЧ, после чего нажмите .
Нажмите или для пoдcтpoйки частоты
канала от -15 до +15. После чего нажмите ОК
два раза для запоминания.
г) Пропустить номера программ, которые Вам
не нужны, пpи выбoрe их с помощью кнопок
PROGR +/-.
Для этого: выделить пункт меню Программа
и нажать PROGR + или -, пока не появится
номер программы, который Вы хотите
пропустить. Когда он появится на экране,
выберите пункт меню Пропуск, после чего
нажмите . Нажмите или для выбора
Да, после чего нажмите ОК два раза для
запоминания.
Если Вы захотите отменить эту функцию в
дальнейшем, выберите снова «Нет» вместо
«Да».
е) Этот пункт меню дает возможность
смотреть и правильно записывать
закодированный канал при помощи
декодера, подключенного к Евроразъему
:2/ или через видеомагнитофон,
S
подключенный к данному Евроразъему.
Следующий пункт появится только в
зависимости от страны, которую Вы
выбрали в меню «üÁêÍ/CÚpaÌa».
Для этого: выберите пункт меню ÀÀ
ÀÀ
ee
ee
ÍÍ
ÍÍ
oo
oo
ÀÀ
ÀÀ
ee
ee
pp
pp
и
нажмите . После этого нажмите
или
для выбора Вкл. После этого нажмите
два раза OK для запоминания.
Если в дальнейшем Вы захотите отказаться
от этой возможности, выберите снова
«Выкл.» вместо «Вкл.».
продолжeниe
14
Вывод системы меню на экран

06RUKV21FX30K.fm Page 15 Thursday, September 20, 2001 11:24 AM
Уровень 1 Уровень 2 Уровень 3 / Функция
ШУMOПОНИЖЕНИЕ
Hacтpoйкa изoбpaжeния
Peжим: Персональный
Пyнкт «Шyмoпoнижeниe» в мeню
Koнтpacт
Яpкocть
Цвeтность
«ÀeÚaÎëÌaÓ ycÚaÌoÇÍa» пoзвoляeт
Резкость
Цвeтoвoй Toн
Сброс
aвтoмaтичecки yмeньшить шyм
OK
изoбpaжeния пpи cлaбoм cигнaлe.
ÀeÚaÎëÌaÓ ycÚaÌoÇÍa
Для этого: после выбора этого пункта меню
Уcтaнoвкa
Язык/Cтpaнa
Aвтoнacтpoйкa
Шyмoпoнижeниe:
Auto.
нажмите . После этого нажмите или
Copтиpoвкa пpoгpaмм
BêxoÀ AV2:
Tv.
MeÚÍË ÔpoÖpaÏÏ
RGB Чeнтpиpoвaниe:
0
èpeÀycÚaÌoÇÍa AV
Поворот Изoбpaж.:
0
для выбора Auto, после чего нажмите
Pyч. Hacтpoйкa Пpoгpамм
ÀeÚaÎëÌaÓ ycÚaÌoÇÍa
ОК для запоминания.
OK
OK
Если в дальнейшем Вы хотите отменить эту
функцию, выберите «Выкл.» вместо «Auto.».
BB
BB
õõ
õõ
XX
XX
OO
OO
ÑÑ
ÑÑ
AA
AA
VV
VV
22
22
Hacтpoйкa изoбpaжeния
Пункт меню «BêxoÀ AV2» в меню
Peжим: Персональный
Koнтpacт
«ÑeÚaÎëÌaÓ ycÚaÌoÇÍa» дает возможность
Яpкocть
Цвeтность
Резкость
выбрать выходной сигнал Евроразъема
Цвeтoвoй Toн
Сброс
:2/q для записи через данный
OK
Евроразъем любого сигнала, поступающего
от телевизора или от любого другого
ÀeÚaÎëÌaÓ ycÚaÌoÇÍa
Уcтaнoвкa
Язык/Cтpaнa
дополнительного устройства,
Шyмoпoнижeниe:
Auto.
Aвтoнacтpoйкa
BêxoÀ AV2:
Tv.
Copтиpoвкa пpoгpaмм
RGB Чeнтpиpoвaниe:
0
MeÚÍË ÔpoÖpaÏÏ
подключенного к Евроразъему :1/
Поворот Изoбpaж.:
èpeÀycÚaÌoÇÍa AV
0
Pyч. Hacтpoйкa Пpoгpамм
или к разъемам на передней панели 3 и
ÀeÚaÎëÌaÓ ycÚaÌoÇÍa
OK
OK
3.
Если у Вашего видеомагнитофона есть
Смартлинк, то в этом нет
необходимости.
Для этого: после выбора данного пункта
меню, нажмите . После этого нажмите
или для выбора требуемого
выходного сигнала TV, AV1, AV3 или AUTO.
RU
При выборе «AUTO», выходной сигнал
будет всегда тем же, который появился
на экране телевизора.
Если Вы подключили декодер к
Евроразъему
:2/q или к
видеомагнитофону, подключенному к
данному Евроразъему, не забудьте
снова пepeвecти «BêxoÀ AV2» в
«AUTO» или «TV» для правильногo
декодировaния сигнала.
продолжeниe
Вывод системы меню на экран
15

06RUKV21FX30K.fm Page 16 Thursday, September 20, 2001 11:24 AM
Уровень 1 Уровень 2 Уровень 3 / Функция
Hacтpoйкa изoбpaжeния
RR
RR
GG
GG
BB
BB
ññ
ññ
EE
EE
HH
HH
TT
TT
PP
PP
àà
àà
PP
PP
OO
OO
BB
BB
AA
AA
HH
HH
àà
àà
EE
EE
Peжим: Персональный
Koнтpacт
При подключении источника сигналов RGB,
Яpкocть
Цвeтность
таких, как «Playstation», возможно, что
Резкость
Цвeтoвoй Toн
Сброс
потребуется отрегулировать пoлoжeниe
OK
изoбpaжeния пo гopизoнтaли. В этом случае
Вам надо обратиться к пункту меню «RGB
ÀeÚaÎëÌaÓ ycÚaÌoÇÍa
áeÌÚpËpoÇaÌËe» в меню «ДeÚaÎëÌaÓ
Уcтaнoвкa
Язык/Cтpaнa
Шyмoпoнижeниe:
Auto.
Aвтoнacтpoйкa
ycÚaÌoÇÍa».
BêxoÀ AV2:
Tv.
Copтиpoвкa пpoгpaмм
RGB Чeнтpиpoвaниe:
0
MeÚÍË ÔpoÖpaÏÏ
Поворот Изoбpaж.:
0
èpeÀycÚaÌoÇÍa AV
Pyч. Hacтpoйкa Пpoгpамм
ÀeÚaÎëÌaÓ ycÚaÌoÇÍa
Для этого: в то время, как Вы видите
OK
OK
входной сигнал RGB, выберите пункт меню
«RGB áeÌÚpËpoÇaÌËe» и нажмите . После
этого нажмите или для регулировки
пoлoжeния изображения от -10 до +10.
После этого нажмите на ОК для
запоминания.
Hacтpoйкa изoбpaжeния
ПОBОPОT ИЗОБРАЖЕНИЯ
Peжим: Персональный
Koнтpacт
Воздействие магнитного поля Земли может
Яpкocть
Цвeтность
Резкость
привести к наклонy изображения. В этом
Цвeтoвoй Toн
Сброс
случае Вы можете отрегулировать его,
OK
используя пункт меню «Поворот Изображ.»
в меню «ÀeÚaÎëÌaÓ ycÚaÌoÇÍa».
Уcтaнoвкa
ÀeÚaÎëÌaÓ ycÚaÌoÇÍa
Язык/Cтpaнa
Aвтoнacтpoйкa
Шyмoпoнижeниe:
Auto.
Для этого: после выбора этого пункта меню
Copтиpoвкa пpoгpaмм
BêxoÀ AV2:
Tv.
MeÚÍË ÔpoÖpaÏÏ
RGB Чeнтpиpoвaниe:
0
èpeÀycÚaÌoÇÍa AV
Поворот Изoбpaж.:
0
нажмите на . После этого нажмите
Pyч. Hacтpoйкa Пpoгpамм
ÀeÚaÎëÌaÓ ycÚaÌoÇÍa
на или для регулировки наклонa
OK
OK
изображения от -5 до +5. После этого
нажмите на ОК для запоминания.
16
Вывод системы меню на экран

06RUKV21FX30K.fm Page 17 Thursday, September 20, 2001 11:24 AM
Телетекст
Телетекст - это информационные услуги, которые предоставляют основные
телевизионные станции. Страница оглавления услуг телетекста (обычно это
страница 100) предоставляет информацию о том, как надо пользоваться этой
службой. Для работы с телетекстом пользуйтесь кнопками пульта дистанционного
управления в соответствии с пpивeдeнными ниже указаниями.
Убедитесь в том, что настроенный Вами канал телевидения имеет хороший сигнал,
в противном случае в телетексте могут появиться ошибки.
Как войти в услуги Tелетекста:
TELETEXT
TELETEXT
TELETEXT
TELETEXT
TELETEXT
TELETEXT
TELETEXT
TELETEXT
После выбора канала (телевизионной станции), передающего
Index
Index
Index
Index
Index
Index
Index
Index
интересующий Вас телетекст, нажмите .
Programme
Programme
Programme
Programme
Programme
Programme
Programme
Programme
25
25
25
25
25
25
25
25
News
News
News
News
News
News
News
News
153
153
153
153
153
153
153
153
Sport
Sport
Sport
Sport
Sport
Sport
Sport
Sport
101
101
101
101
101
101
101
101
Weather
Weather
Weather
Weather
Weather
Weather
Weather
Weather
98
98
98
98
98
98
98
98
Выберите страницу Телетекста:
Введите три цифры номера интересующей Вас страницы с помощью цифровых
кнопок дистанционного управления.
• В случае ошибки, введите три любые цифры, а затем снова введите правильный
номер страницы.
• Если счетчик страниц не останавливается, это значит, что тaкoй страницы нет.
В этом случае введите другой номер страницы.
Выберите следующую или предыдущую страницу:
Нажмите на кнопкуе PROGR + () или PROGR - ().
Наложить телетекст на телевизионное изображение:
В то время, когда Вы смотрите телетекст, нажмите . Нажмите снова для выхода
из режима телетекста.
Задержка одной страницы:
Некоторые страницы телетекста состоят из нескольких подстраниц, которые
автоматически меняются. Для задержки одной подстраницы нажмите / .
Нажмите снова для отмены задержки.
RU
Показать скрытую информацию (например, решение кроссворда):
Нажмите / . Нажмите еще раз для того, чтобы эта информация не была видна.
Выход из службы телетекста:
Нажмите .
Фастекст
Услуги Фастекста дают возможность получить доступ к страницам телетекста,
нажимая только одну кнопку.
Если Вы находитесь в режиме телетекста и в том случае, если есть сигналы
Фастекста, на нижней части страницы появится меню цветных кодов, которые
дают возможность прямого доступа к странице. Для этого нажмите на
соответствующую цветную кнопку (красную, зеленую, желтую или синюю)
дистанционного управления.
Телетекст
17

Подключение дополнительных устройств
К телевизору можно подключить широкую гамму дополнительных устройств, как
это показано ниже. (Провода для подключения не поставляются).
E
8mm/Hi8/
DVC
Videocamera
A
B
1
2
Подключение видеомагнитофона:
Для подключения видеомагнитофона обратитесь к Разделу «Подключение антенны и
видеомагнитофона». Мы рекомендуем подключить видеомагнитофон через шнур c
Евроразъемoм (SCART). Если y Bac нeт тaкoгo шнypa, нacтpoйтe пpoгpaммy c нoмepoм
“0” нa тecтoвый cигнaл видeoмaгнитoфoнa c пoмoщью меню «Руч. Настройка прогрaмм»
(для этого обратитесь к пункту а) на странице 13). Tакже обратитесь к Инструкции по
Эксплуатации Вашего видеомагнитофона для oпpeдeлeния чacтoтнoгo кaнaлa
выхoднoгo cигнaлa.
Подключение видеомагнитофона со Smartlink:
Smartlink - это прямая связь между телевизором и видеомагнитофоном, которая
дает возможность прямой передачи определенной информации. Если Вам
требуется более детальная информация о Smartlink, обратитесь к Инструкции по
эксплуатации Вашего видеомагнитофона.
Если в Вашем видеомагнитофоне предусмотрен Smartlink, пользуйтесь шнуром
Евроразъема, подсоединив его к Евроразъему
:2/q E.
Ecли Bы пoдключили дeкoдep нeпocpeдcтвeннo к Евроразъему
:2/q или чepeз видeoмaгнитoфoн, пoдключeнный к этoмy
paзъeмy:
Выберите пункт меню «Руч. Настройка прогрaмм» в меню «Установка», и после выбора
пункта «Декодер»** выберите «Вкл.» (с помощью или ) для каждого
закодированного канала.
** Этoт пункт появится только в зависимости от страны, которую Вы выбрали в
меню «ЯзРк/Cтpaнa».
18
Дополнительная информация
“PlayStation”*
Hi-
f
D
C
i
VCRDVD
V
C
06RUKV21FX30K.fm Page 18 Thursday, September 20, 2001 11:24 AM
KBM
Дeкoдep
RDVD
8mm/
Hi8/DVC
видeoкaм
Кoгдa вклютcя нayшники
*“PlayStation”это продукт Sony
гpoмкoгoвopитeли тeлeвизopa
Computer Entertainment, Inc.
aвтoмaтичecки oтключaтcя.
Дeкoдep
*“PlayStation”это зарегистрированная
марка Sony Computer Entertainment, Inc.

06RUKV21FX30K.fm Page 19 Thursday, September 20, 2001 11:24 AM
Подключение внeшнeй звyкoвocпpoизвoдящeй aппapaтypы:
Если Вы хотите воспользоваться ВашиÏ музыкальным центрoм для воспрoизвeдeния
звука телевизора, подключите это устройство к выходу аудио D, и выберите
«HacÚpoÈÍa ÁÇyÍa» в системе меню. После этого войдите в пункт меню «ÑeÚaÎëÌaÓ
ÌacÚpoÈÍa» и выберите «Выкл.» в «ÑËÌaÏËÍ TB».
Громкость внешних колонок может регулироваться с помощью кнопок регулировки
громкости на пульте дистанционного управления телевизора. Также можно
изменить уровень тембра ВЧ и тембра НЧ в меню «HacÚpoÈÍa ÁÇyÍa».
Использование дополнительных устройств
1 Подключите дополнительное устройство к соответствующему разъему телевизора
в соответствии с пpивeдeнными выше yкaзaниями.
2 Включитe подключенное устройство.
3 Если Вы хотите увидеть изображение c подключенного устройства, нажмите
несколько раз на кнопку до появления на экране правильного символа входа.
Символ Входные сигналы
1•Входной сигнал аудио/видео посредством Евроразъема C
•Входной сигнал RGB посредством Евроразъема C. Этот символ
появляется только при подключении входа RGB.
2•Входной сигнал аудио/видео посредством Евроразъема E.
S
2•Входной сигнал S-видео посредством Евроразъема E.
3•Входной сигнал видео посредством paзъeмa RCA A и входной сигнал
RU
аудио посредством B.
4 Для возвращения к нормальному экрану телевизора нажмите на кнопку пульта
дистанционного управления
Fjr moho оборудования
Подcoefnhnte мoнo wteккep k lhesfy L/G/S/I ha æepefheй zactn tejebnsopa n bvdepnte
bxofhoй cnlhaj 3, ncæojƒsyr bvweæpnbefehhve nhctpykunn. Hakoheu, odpatntecƒ k
pasfejy «Hactpoйka sbyka» hactoråeй nhctpykunn n bvdepnte «Дboйнoй sbyk» «A» ha
skpahe sbykobolo mehi.
Дополнительная информация
19

06RUKV21FX30K.fm Page 20 Thursday, September 20, 2001 11:24 AM
Спецификации
Система телевещания:
Аудиовыход:
B зависимости от выбранной страны:
2 x 14 Вт (музыкaльнaя мощность)
B/G/H, D/K
2 x 7 Вт (RMS)
Система кодировки цвета:
Потребление электроэнергии:
PAL, SECAM
60 Вт
NTSC 3.58, 4.43 (только для входа видео)
Потребление электроэнергии в
Диапазон принимаемых каналов:
состоянии ожидания (standby):
VHF: E2-E12
0.5 Вт
UHF: E21-E69
Габариты (ширина х высота х
CATV: S1-S20
глубина):
HYPER: S21-S41
приблизительно 545 x 446 x 485 мм.
D/K: R1-R12, R21-R69
Вес:
Кинескоп:
приблизительно 26 кг.
Плоский экран FD Trinitron
21 дюйм (приблизительно 55 см пo
Комплект принадлежностей:
диагонали)
1 пульт дистанционного управления
RM-887.
Задние входные и выходные разъемы:
2 батарейки по стандарту IEC.
:1/ 21-контактный Евроразъем
(cтaндapт CENELEC), включая
Прочие характеристики:
вход аудио / видео, вход RGB,
•Телетекст, Фастекст, ТОПтекст.
выход аудио / видео ТВ.
•Автоматическое отключение.
•Автоматическое включение.
:2/q 21-контактный евроразъем
•Смартлинк (прямая связь между
(cтaндapт СЕNЕLЕС), включая
телевизором и соответствующим
вход аудио/видео, вход
видеомагнитофоном. Если Вам
требуется более детальная
S-видео, выход аудио/видео
информация о Смартлинк,
при возможности выбора и
обратитесь к инструкции пo
подключение Смартлинк.
экcплyaтaции Вашего
видеомагнитофона).
Выходы аудио (лев./прав.) -
•Автоматическое oпpeдeлeниe
разъемы RСА.
системы телевидения.
Передние входные и выходные разъемы:
…3 вход видео - paзъeм RCA
3 вход аудио - разъемы RСА
вход для наушников
Внесение изменений в дизайн и спецификации производится без
предварительного оповещения.
Экологичная бумага без хлора
Printed in Slovakia
Otæezataho b Cjobaknn.
Sony Slovakia, spol. sr.o., Trnava Plant
Cohn Cjobaknr cæoj. c.p.o., sabof b Tphabe
Trstínska cesta 8
Yj. Tpctnhcka 8,
917 58 Trnava
917 58 Tphaba
Slovak Republic
Cjobaknr
20
Допoлнитeльнaя инфомация

06RUKV21FX30K.fm Page 21 Thursday, September 20, 2001 11:24 AM
Выявление неисправностей
Ниже приводятся некоторые простые советы по устранению возможных
нарушений качества изображения и звука.
Неисправность
Меры по устранению
Нет изображения (темный экран),
•Проверьте, подключена ли антенна.
нет звука.
• Включите вилкy телевизорa в poзeткy и нажмите
на кнопку на передней панели телевизора.
•Если индикатор телевизора cвeтитcя, нажмите
на кнопку дистанционного управления.
Изображение плохое или
•С помощью системы меню войдите в меню
отсутствует (тeмный экpaн), но
«Настройка изображения» и выберите «Cбpoc»
хороший звук.
для возвращения к параметрам, заданным
изготовителем.
Отсутствует изображение или
•Убедитесь в том, что включено дополнительное
инфopмaциoннoe мeню
устройство и несколько раз нажмите на кнопку
дополнительного устройства,
дистанционного управления, до тех пор, пока
подключенного к Евроразъему на
правильный символ входа не появится на экране.
задней панели телевизора.
Хорошее качество изображения,
• Нажмите на кнопку +/- дистанционного
но нет звука.
управления.
• Убедитесь в том, что в пункте меню Динaмик TB в
меню HacÚpoÈÍa ÁÇyÍa выбрано «Вкл.»
• Пpoвepить, чтoбы нayшники были oтключeны.
Heт цвeтa нa цвeтных пepeдaчax.
•С помощью системы меню войдите в меню
«Настройка изображения» и выберите «Cбpoc»
для возвращения к параметрам, заданным
изготовителем.
Изображение искажается при
• Выключите ycтpoйcтвo, подключенное к 21-
смене программы или при выборе
контактному Евроразъему на задней панели
телетекста.
телевизора.
Пpи пpocмoтpe тeлeтeкcтa
• Иcпoльзyя мeню, вoйдите в пyнкт «Язык/Cтрaнa»
пoявляютcя нeкoppeктныe
и выбepитe cтpaнy, в кoтopoй Bы пoльзуeтecь
cимвoлы.
тeлeвизopoм. Пpи иcпoльзoвaнии языкoв c
киpиллицeй, в cлyчae, ecли Baшeй cтpaны нeт в
cпиcкe cтpaн, peкoмeндyeтся выбpaть Poccию.
Изображение наклонено.
• С помощью системы меню выберите пункт
«Вращение изображения» в меню «ÀeÚaÎëÌaÓ
ycÚaÌoÇÍa» и исправьте наклон.
Изображение с пoмexaми пpи
• С помощью системы меню выберите пункт «АПЧ»
RU
пpocмoтpe TB кaнaлa.
в меню «Ручная Настройка Прогр.» и вручную
настройте изображение для улучшения качества
его приема.
• С помощью системы меню выберите пункт
«Шумoпoнижeниe» в меню «ÀeÚaÎëÌaÓ ycÚaÌoÇÍa»
и выберите «Auto» для снижения шума
изображения.
Heт дeкoдиpoвaния или
• С помощью системы меню войдите в меню
нeycтoйчивoe изoбpaжeниe пpи
«ìcÚaÌoÇÍa», после этого войдите в пункт меню
пpocмoтpe зaкoдиpoвaннoгo
«ÑeÚaÎëÌaÓ ycÚaÌoÇÍa» и ycтaнoвитe «BêxoÀ
кaнaлa c дeкoдepoм,
AV2» в «TV”».
пoдключeнным к Eвpopaзъeмy
:2/q.
Не работает пульт
• Смените батарейки.
дистанционного управления.
Индикатор временного
• Свяжитесь с ближайшим сервисным центром
отключения (stabdby)
Сони.
телевизора мигает, хотя функция
Ecли пpoблeмы нeycтpaнимы, oбpaтитecь к квaлифициpoвaннoмy пepcoнaлy для
peмoнтa Baшeгo тeлeвизopa. Hикoгдa нe вcкpывaйтe caми кopпyc тeлeвизopa.
Дополнительная информация
21

07SKKV21FX30K.fm Page 3 Thursday, August 2, 2001 6:31 PM
Úvod
Ďakujeme, že ste sa rozhodli pre tento farebný televízor Sony s plochou obrazovkou FD
Trinitron.
Pred začatím používania televízora si pozorne prečítajte tento návod na obsluhu a
uschovajte ho pre prípad jeho použitia v budúcnosti.
• Znaky používané v tomto návode k obsluhe:
K
• Možné riziká.
• Tieňované tlačidlá diaľkového ovládača
označujú tlačidlá, ktoré treba stlačiť k
• Dôležitá informácia.
vykonaniu rôznych pokynov.
• Informácia o funkcii.
• Informácia o výsledku pokynov.
•1,2... Poradie pokynov, podľa ktorých treba
postupovať.
Obsah
Úvod ..........................................................................................................................................................3
Bezpečnostné predpisy..........................................................................................................................4
Všeobecný popis
Všeobecný popis tlačidiel na diaľkovom ovládači ............................................................................. 5
Všeobecný popis tlačidiel na televízore .............................................................................................. 6
Inštalácia
Inštalácia batérií do diaľkového ovládača ........................................................................................... 6
Pripojenie antény a videa ...................................................................................................................... 6
Prvé zapojenie televízora
Zapnutie a automatické naladenie televízora .................................................................................... 7
Režim menu na obrazovke
Úvod a použitie rôznych menu.............................................................................................................. 9
Sprievodca po menu:
Nastavenie obrazu ..............................................................................................................................9
Nastavenie zvuku............................................................................................................................... 10
Časovač vypnutia ..............................................................................................................................11
Časovač zapnutia .............................................................................................................................. 11
Jazyk/Krajina ...................................................................................................................................... 11
SK
Automatické ladenie.......................................................................................................................... 12
Triedenie programov.........................................................................................................................12
Označenie programov ......................................................................................................................12
AV predvol’by.....................................................................................................................................12
Ručné ladenie..................................................................................................................................... 13
Redukcia šumu ..................................................................................................................................15
Výstup AV2 ......................................................................................................................................... 15
RGB centrovanie .................................................................................................................. 16
Otočenie obrazu ................................................................................................................................. 16
Teletext .............................................................................................................................................17
Doplnkové informácie
Pripojenie prídavných zariadení .......................................................................................................... 18
Použitie prídavných zariadení ............................................................................................................. 19
Technické údaje.....................................................................................................................................20
Riešenie problémov .............................................................................................................................21
Obsah
3

07SKKV21FX30K.fm Page 4 Thursday, August 2, 2001 6:31 PM
Bezpečnostné predpisy
Z dôvodov ochrany životného
Nikdy nestrkajte žiadne predmety do
Tento prijímač môže byť zapojený
vnútra prijímača a dávajte pozor, aby
prostredia ako i bezpečnostných
len do elektrickej siete na zdroj
ste nevyliali do aparátu tekutinu,
dôvodov sa neodporúča nechávať
striedavého prúdu 220-240V.
nakoľko by ste mohli spôsobiť skrat
televízny prijímač v stave
Nezapájajte veľa aparátov do tej
alebo požiar. Ak by sa dostal do vnútra
dočasného vypnutia, keď sa
televízneho prijímača akýkoľvek
istej zásuvky, pretože by mohlo
nepoužíva. Vypnite ho stlačením
predmet alebo tekutina, nezapínajte
dôjsť k elektrickému skratu a
hlavného vypínača a v dobe
ho a zavolajte ihneď kvalifikovaný
požiaru.
neprítomnosti ho odpojte zo siete.
technický servis.
Nesnímajte zadný kryt na
Počas búrky sa z dôvodov
televíznom prijímači. Ak je to
Nevystavujte televízny prijímač
vlastnej bezpečnosti nedotýkajte
potrebné, obráťte sa na technický
dažďu ani vlhkosti, aby ste
žiadnej časti televízneho
sevis.
predišli skratom a požiaru.
prijímača, najmä napájacieho
kábla ako i kábla antény.
Neblokujte prístup
Nikdy neumiestňujte televízny
Aby ste predišli riziku požiaru,
vzduchu ani nezakrývajte vetracie
prijímač na príliš teplom, vlhkom
neumiestňujte v blízkosti
mriežky a otvory na aparáte. Kvôli
alebo prašnom mieste.
televízneho prijímača horľavé
správnemu vetraniu nechajte
Neumiestňujte ho ani na mieste,
predmety, sviečky a materiál,
okolo televízneho prijímača voľný
kde by mohol byť vystavený
ktorý by mohol spôsobiť požiar.
priestor minimálne 10 cm.
mechanickému vibrovaniu.
Čistite televízny prijímač jemnou a
Neklaďte ťažké predmety na
veľmi mierne navlhčenou handrou.
napájací kábel, nakoľko by ste ho
Nepoužívajte abrasívne čistiace
Aparát odpájajte zo siete
mohli poškodiť. Odporúčame
prostriedky, ktoré by mohli
ťahaním priamo za zásuvku.
Vám, aby ste zvinuli zvyšnú časť
spôsobiť poškriabanie. Z
Nikdy neťahajte za kábel.
kábla na navinovač kábla, ktorý
bezpečnostných dôvodov sa
sa nachádza na zadnej strane
odporúča prijímač odpojiť pred
krytu televízneho prijímača.
čistením zo siete.
Umiestnite televízny prijímač na
Ak musíte hýbať aparátom,
nábytok alebo policu, ktoré sú
odpojte ho najprv zo siete. Pri
dostatočne silné, veľké a stabilné,
Nezakrývajte vetracie štrbiny
prevoze dajte pozor na nerovné
aby ho udržali. Nedovoľte, aby po
žiadnym predmetom ako
plochy, schody a pod. Ak Vám
ňom skákali deti. Neklaďte ho na
záclony, noviny a pod.
televízny prijímač spadne alebo
bok alebo obrazovkou smerom
utrpí úder, avizujte ihneď odborný
nahor.
technický servis.
4
Bezpeãnostné predpisy

07SKKV21FX30K.fm Page 5 Thursday, August 2, 2001 6:31 PM
Všeobecný popis tlačidiel na diaľkovom ovládači
Dočasné vypnutie televízora
Vypnutie zvuku
Stlačte toto tlačidlo, aby ste televízor dočasne vypli
Stlačením tohto tlačidla vypnete
(ukazovateľ režimu čakania sa rozsvieti). Znovu ho
zvuk.
stlačte, aby ste televízor z tohto režimu dočasného
Zvuk sa zapne opätovným stlačením
vypnutia (standby) zapli.
tlačidla.
Kvôli šetreniu energie, sa odporúča
vypnúť televízor úplne, keď sa
Zobrazenie informácie na
nepoužíva.
obrazovke
Ak počas 15 minút nie je
Stlačením tohto tlačidla sa na
televízny signál, ani sa nestláča
obrazovke objavia všetky údaje.
žiadne tlačidlo, televízor prejde
Stlačte tlačidlo znova a táto
automaticky do režimu do
informácia z obrazovky zmizne.
časného vypnutia (standby).
Výber kanálov
Výber zdroja vstupu
Stlačte tieto tlačidlá, aby ste si zvolili
Stláčajte toto tlačidlo opakovane, až
žiadané kanály.
kým sa na obrazovke objaví
znamienko žiadaného zdroja vstupu.
Pre voľbu kanálov označených
dvojmiestnym číslom stlačte druhú
Návrat k poslednému vybranému
číslicu v kratšom čase ako 2,5
kanálu
sekundy.
Stlačte toto tlačidlo, aby sa znovu
objavil posledný vybraný kanál
alebo
(predchádzajúci kanál by sa mal
Stlačte -/-- a potom prvú a druhú
vopred zobraziť aspoň na 5 sekúnd).
číslicu.
Zapojenie režimu menu
Ak sa pomýlite pri stlačení prvej
Stlačte ho, aby sa objavil režim
číslice, pokračujte stlačením druhej
menu na obrazovke. Znovu ho
číslice (od 0 po 9) a potom zopakujte
stlačte, aby ste ho vypli a videli
znovu celý postup.
normálnu obrazovku.
Výber režimu TV
Tlačidlá na voľbu menu
Stlačte toto tlačidlo, aby ste vypli
•Keď je MENU zapojené:
teletext alebo vstup videa.
Zvýšiť o jeden stupeň.
Znížiť o jeden stupeň.
Výber teletextu
Zvoliť menu alebo sa vrátiť na
Stlačte toto tlačidlo, aby sa vám
predchádzajúcu voľbu.
zobrazil teletext.
Zvoliť menu alebo zvoliť
nasledujúcu voľbu.
Voľba režimu zvuku
OK Potvrdiť voľbu.
Opakovným stlačením tohto tlačidla
•Keď MENU nie je zapojené:
zmeníte režim zvuku.
OK Zobrazí sa všeobecný zoznam
SK
Výber režimu obrazu
kanálov. Zvoľte si kanál stlačením
Jeho opakovaným stlačením zmeníte
alebo a následne znovu
režim obrazu.
stlačte OK, objaví sa zvolený kanál.
Nastavenie hlasitosti
Výber formátu zobrazenia
Stlačením tohto tlačidla regulujete
Opakovaným stlačením zmeníte
hlasitosť televízora.
formát zobrazenia: 4:3 pre obvyklý
obraz alebo 16:9 pre imitáciu
Toto tlačidlo sa dá použiť len v režime
širokouhlého obrazu.
teletextu. Funkciu
spojenú s
týmto tlačidlom nie je možné použiť
Voľba kanálov
pre tento televízor.
Stlačením tohto tlačidla zvolíte
nasledujúci alebo predchádzajúci
kanál.
Okrem týchto funkcií televízora sa všetky farebné tlačidlá používajú aj pre teletext.
Obsiahlejšia informácia je uvedená v časti "Teletext" tohto návodu na obsluhu.
Všeobecný popis
5

Všeobecný popis tlačidiel na televízore
Inštalácia batérií do diaľkového ovládača
Skontrolujte, či boli dodané batérie umiestnené v správnej polarizácii.
Berte ohľad na životné prostredie a na odstraňovanie použitých batérií zvoľte taký spôsob,
ktorý nepoškodzuje životné prostredie - zaneste ich do zvláštnych kontajnerov určených na
tento účel.
Pripojenie antény a videa
Káble na pripojenie sa nedodávajú.
alebo
6
Všeobecný popis - Inštalácia
Pripojenie pomocou 21–
kolíkového eurokonektora
záleží od Vášho rozhodnutia.
Ukazovateľ režimu
Tlačidlo
dočasného
zapnutie/
vypnutia televízora
vypnutie
(standby)
Programové
tlačidlá pre
výber
nasledujúceho
alebo
Tlačidlo
predchádzajúce
znovuuvedenia
ho kanála (pre
televízora do
voľbu
Tlačidlo pre výber
chodu
televíznych
vstupného zdroja
staníc)
Stlačením značky na
Vstup pre
Vstupy pre
Vstup pre
Tlačidlá na
kryte získate prístup ku
príjem
príjem audia
videa
slúchadlá
ovládanie hlasitosti
konektorom
v
OUT IN
Podrobnejšiu informáciu o pripojení videa nájdete v
časti "Pripojenie prídavných zariadení" v tomto
návode na obsluhu.
id
eore
k
or
dé
07SKKV21FX30K.fm Page 6 Thursday, August 2, 2001 6:31 PM
r

Zapnutie a automatické naladenie televízora
Po prvom zapnutí televízora sa na obrazovke objaví súbor MENU, pomocou ktore’ho
budete môcť: 1) zvoliť si jazyk pre menu, 2) zvoliť si krajinu, v ktorej chcete používať
televízor, 3) nastaviť naklonenie obrazu, 4) hľadať a automaticky ukladať všetky kanály
(televízne stanice), ktoré sú k dispozícii a 5) zmeniť si poradie, v ktorom sa kanály (televízne
stanice) objavia na obrazovke.
Ak neskôr potrebujete zmeniť niektoré z týchto nastavení, môžete to urobiť tak, že zvolíte
príslušnú funkciu v (menu Nastavenie), alebo stlačíte tlačidlo znovuuvedenia
televizneho prijímača do chodu.
1 Zapojte televízor do elektrickej siete (220-240V striedavý
prúd, 50Hz). Stlačte tlačidlo zapnutie/vypnutie na
čelnej časti televízora, aby ste televízor zapli.
Keď stlačíte toto tlačidlo poprvýkrát, na obrazovke sa
automaticky objaví menu Language (Jazyk).
2 Stlačte tlačidlo alebo na diaľkovom ovládači pre
zvolenie jazyka a potom stlačte tlačidlo OK, aby ste
potvrdili výber. Od tohto okamžiku sa všetky menu
objavia vo zvolenom jazyku.
3 Na obrazovke sa automaticky objaví menu Krajina.
Stlačte tlačidlo alebo k zvoleniu krajiny, v ktorej
chcete používať televízor a následne stlačte tlačidlo OK,
aby ste potvrdili výber.
•Ak v zozname nie je uvedená krajina, v ktorej
bude te používať televízor, zvoľte "-" namiesto
krajiny.
•V prípade, že sa pri sledovaní teletextu písanom
cyrilikou na obrazovke objavujú nesprávne
SK
písmená, odporúčame Vám zvolit’ pri výbere
krajiny Rusko.
4 Z dôvodov vplyvu magnetického poľa Zeme sa môže
stať, že sa obraz na televíznej obrazovke nakloní. Menu
Otočenie obrazu vám umožní v takom prípade obraz
napraviť.
a) Ak nie je potrebné, stlačte alebo , aby ste
zvolili Nie je potrebné a stlačte OK.
b) Ak je potrebné, stlačte alebo , aby ste zvolili
Upravit’ teraz a stlačte OK. Potom napravte
naklonenie obrazu otočením v rozmedzí od -5 do +5
stlačením alebo . Stlačením OK sa pokyn
uloží do pamäti.
Prvé zapojenie televízora
7
Language
i
4
Svenska
Norsk
English
Nederlands
Français
K
Italiano
i
$
Select Language:
OK
Krajina
i
4
Sverige
Norge
-
Italia
K
Deutschland
Österreich
i
$
Zvoľte si krajinu:
OK
Ak je obraz naklonený,
upravte pootočenie obrazu.
Nie je potrebné
K
Upravit' teraz
OK
07SKKV21FX30K.fm Page 7 Thursday, August 2, 2001 6:31 PM
pokračuje...



