Sony KV-21FX30K – page 4
Manual for Sony KV-21FX30K
Table of contents

04HUKV21FX30K.fm Page 5 Thursday, August 2, 2001 6:04 PM
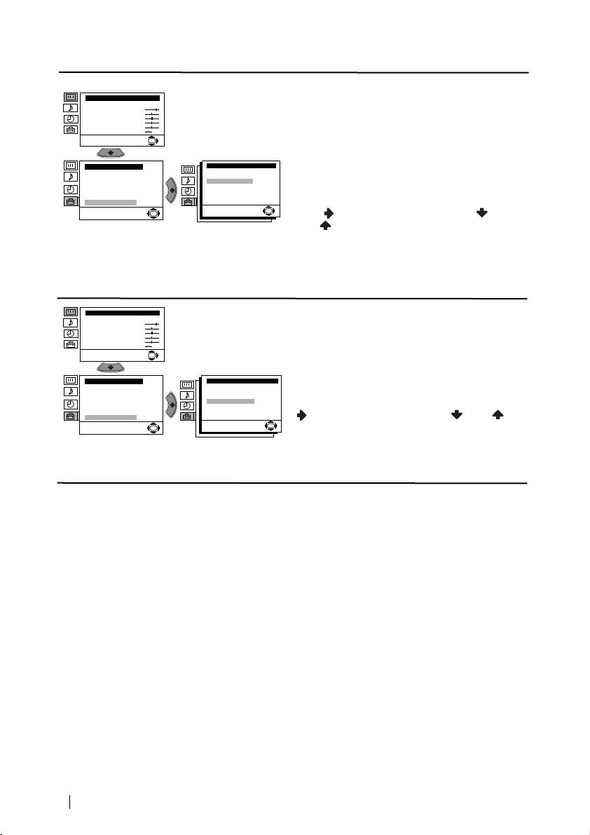
A távvezérlő gombjainak általános leírása
A televízió ideiglenes kikapcsolása
A hang elnémítása
Nyomja meg a televízió ideiglenes kikapcsolásához (a
Nyomja meg a hang elnémításához.
készenléti üzemmód jelző kigyullad). Nyomja meg
újra a készenléti üzemmódból (standby) való
A hang visszakapcsolásához nyomja
bekapcsoláshoz.
meg újra.
Az energiamegtakarítás érdekében
Információ megjelenítése a
ajánlatos a televíziót teljesen
képernyőn
kikapcsolni, ha azt nem használja.
Nyomja meg az összes utasítás
Amennyiben 15 perc elteltével
nincsen televíziójel és
képernyőn történő megjelenítéséhez.
semmilyen gombot nem
Nyomja meg újra annak törléséhez.
nyomtak le, a televízió auto
Csatornaválasztás
matikusan készenléti
Nyomja meg a csatornák
üzemmódba (standby) kapcsol.
kiválasztásához.
A bemenő forrás kiválasztása
Kétjegyű programszámok esetén 2,5
Nyomja meg egymás után többször,
amíg a kívánt bemenő forrás jelképe
másodpercen belül nyomja meg a
megjelenik a képernyőn.
második számjegyet.
Az utolsó választott csatornára
Vagy
való visszatérés
Nyomja meg a -/-- gombot majd az
Nyomja meg az utolsó választott
csatornára való visszatéréshez (az
első és a második számjegyet.
előző csatorna legalább 5
Ha eltéveszti az első számjegyet,
másodpercig kell képernyőn
üsse be a második számjegyet (0-tól
maradjon előzőleg).
9-ig), majd ezt követően hajtsa végre
A menürendszer bekapcsolása
újra a műveletet.
Nyomja meg a menü képernyőn való
megjelenítéséhez. Nyomja meg újra
A TV üzemmód kiválasztása
annak kikapcsolásához, a televízió
Nyomja meg a teletext vagy a
normál képernyőjéhez való
videobemenet kikapcsolásához.
visszantéréshez.
A teletext kiválasztása
A menü kiválasztására szolgáló
HU
gombok
Nyomja meg a teletext
•Ha a MENU aktív:
megjelenítéséhez.
Egy szinttel feljebb.
A hang üzemmód kiválasztása
Egy szinttel lejebb.
Az előző menübe vagy
Nyomja meg azt többször egymás
választásba való belépés.
után a hang üzemmód
A következő menübe vagy
változtatásához.
választásba való belépés.
A kép üzemmód kiválasztása
OK A választás megerősítése.
Nyomja meg egymás után többször a
•Ha a MENU nem aktív:
OK A csatornák általános listáját
kép üzemmód kiválasztásához.
mutatja. A vagy a
Hangerő szabályozás
megnyomásával válassza ki a
Nyomja meg a televízió hangerejének
csatornát, majd ezt követően
szabályozásához.
nyomja meg újból az OK gombot a
kiválasztott csatorna nézéséhez.
Ez a gomb csak teletext üzemmódban
működik. A gombhoz tartozó
A képernyő méret kiválasztása
funkció ezen a televizión nem
Nyomja meg többször egymás után
működik.
a képernyő méretének
változtatásához. 4:3 a megszokott
Csatornaválasztás
képhez vagy 16:9 a széles képernyő
Nyomja meg az előző vagy a
utánzásához.
következő csatorna kiválasztásához.
A televízió funkcióin kívül, minden színes gomb használható a teletexttel történő
műveletekhez is. További információt a használati utasítás “Teletext” c. fejezetében talál.
Általános leírás
5

A televízió gombjainak általános leírása
Az elemek behelyezése a távvezérlőbe
Győződjön meg arról, hogy az elemeket a polaritásoknak megfelelő helyzetben helyezi be.
Óvja környezetünket! A használt elemeket az erre a célra kijelölt gyüjtőhelyen helyezze el.
Az antenna és a videomagnó csatlakoztatása
A csatlakozó vezetékek nincsenek mellékelve.
OUT IN
A videomagnó csatlakoztatására vonatkozó további
Az eurocsatlakozóval
részleteket lásd a használati utasítás “Választható
történő csatlakoztatás
készülékek csatlakoztatása” c. fejezetében.
választható.
6
Általános leírás – Üzembehelyezés
vagy
Vi
d
04HUKV21FX30K.fm Page 6 Thursday, August 2, 2001 6:04 PM
Készenléti
üzemmód
Bekapcsolás /
Kikapcsolás
(standby) jelző
gomb
A következő
vagy az előző
program
kiválasztására
A televízió
szolgáló
újbóli
gomb (a
beindítására
televízió
A bemenő forrást
szolgáló gomb
csatornákat
kiválasztó gomb
választja ki)
Nyomja meg a fedél
Video
Hangerő
Audio
Fülhallgató
jelét a csatlakozók
szabályozó
bemenet
bemenet
bemenet
gombok
megjelenítéséhez
eomagnó

A TV bekapcsolása és automatikus hangolás
A televízió első bekapcsolásakor menüsorok jelennek meg a képernyőn, melyekkel 1)
kiválaszthatja a menük nyelvét, 2) kiválaszthatja az országot, ahol a készüléket használni
kívánja, 3) a képdőlés beállítása, 4) automatikusan megkeresheti és tárolhatja az összes
rendelkezésre álló csatornát (televízióadót) és 5) megváltoztathatja a csatornák
(televízióadók) képernyőn való megjelenésének sorrendjét.
Mindazonáltal, ha a jövőben ezen beállítások bármelyikét módosítani kívánja, azt a
megfelelő opciójának kiválasztásával teheti (Beállítás menü) vagy a televízió újraindító
gombjának megnyomásával.
1 Csatlakoztassa a televízió csatlakozóját a hálózati
aljzatba (220-240 V váltakozó feszültség, 50Hz). A
bekapcsoláshoz nyomja meg a televízió előlapjának
bekapcsolás/kikapcsolás gombját.
A gomb első megnyomásakor a Language (Nyelv) menü
automatikusan megjelenik a képernyőn.
2 Nyomja meg a távvezérlő vagy gombját a nyelv
kiválasztásához, majd ezt követően nyomja meg az OK
gombot a választás megerősítésére. Ettől kezdve
minden menü a választott nyelven jelenik meg.
3 A képernyőn automatikusan megjelenik az Ország
menü. Nyomja meg a vagy gombot, majd ezt
HU
követően nyomja meg az OK gombot a választás
megerősítésére.
• Amennyiben a listán nem jelenik meg azon
ország, ahol a televíziót használni fogja, válassza
“-“-t az ország helyett.
• Annak érdekében, hogy a cirill betük helyesen
jelenjenek meg a képernyőn, az országok
listájából válassza Oroszországot (Russia), ha a
lista nem tartalmazza az Őn hazáját.
4 A földmágnesesség következtében előfordulhat, hogy a
kép ferdén jelenik meg. Szükség esetén a
Képelforgatás lehetővé teszi a kép beállítását.
a) Ha nem szükséges, nyomja meg vagy a nem
szükséges kiválasztásához, majd nyomja meg az
OK-t.
b) Ha szükséges, nyomja meg a vagy a beállítás
kiválasztásához, majd nyomja meg az OK-t. Ezt
követően nyomja meg vagy a képdőlés –5 és
+5 közötti beállításához. Végezetül nyomja meg az
OK-t a rögzítéshez.
Első üzembehelyezés
7
Language
i
4
Svenska
Norsk
English
Nederlands
Français
K
Italiano
i
$
Select Language:
OK
Ország
i
4
Sverige
Norge
-
Italia
K
Deutschland
Österreich
i
$
Ország kivál:
OK
Ha a kép ferde, kérjük
állítsa be a kellő pozíciót.
nem szükséges
beállítás
K
OK
04HUKV21FX30K.fm Page 7 Thursday, August 2, 2001 6:04 PM
folytatódik…

5 Az Automatikus hangolás menü megjelenik a képernyőn.
Nyomja meg az OK gombot az Igen
kiválasztásához.
6 A televízió elkezdi automatikusan hangolni és rögzíteni az
összes rendelkezésre álló csatornát (televízióadót).
Ez a művelet eltarthat néhány percig. Legyen
türelemmel és ne nyomjon meg egyetlen gombot
sem a hangolás folyamata alatt, mivel ellenkező
esetben a folyamat nem fejeződik be.
Ha a televízió nem talált egyetlen csatornát
(televízióadót) sem az automatikus hangolás
végrehajtása után, a képernyőn megjelenik egy
üzenet, mely kéri, hogy csatlakoztassa az antennát.
Kérjük csatlakoztassa azt úgy, ahogyan a kezelési
útmutató 6. oldalán le van írva, majd nyomja meg az
OK-t. Az automatikus hangolás újból megindul.
7 Miután a televízió hangolta és rögzítette az összes
csatornát (televízióadót), a képernyőn
automatikusan megjelenik a Programhely-
átrendezés menü, hogy megváltoztathassa a
csatornák képernyőn történő megjelenésének
sorrendjét.
a) Ha nem kívánja a csatornák sorrendjét
megváltoztatni, menjen a 8. lépéshez.
b) Ha meg kívánja változtatni a csatornák sorrendjét:
1 Nyomja meg a vagy a gombot a
programszám kiválasztásához a csatornával
(televízióadó), melynek helyét meg kívánja
változtatni, majd ezt követően nyomja meg a .
2 Nyomja meg a vagy a az új programszám
kiválasztásához, melyen a kiválasztott csatornát
(televízióadót) rögzíteni kívánja, majd nyomja meg
a .
3 Ismételje meg a b1) és b2) lépést egyéb televíziócsatornák
újbóli átrendezéséhez.
8 Nyomja meg a MENU gombot a normális televízióképhez való
MENU
visszatéréshez.
A televízió működésre kész.
8
Első üzembehelyezés
Szeretné elindítani az
automatikus hangolást?
Igen
Nem
K
OK
Automatikus hangolás
Hangolás:
01
Rendszer:
B/G
Csatorna:
C21
Keresés...
Csatorna nem található.
Csatlakoztassa az antennát.
K
Megerősít
OK
Programhely-átrendezés
Hangolás:
01 TVE
02 TVE2
03 TV3
04 C33
K
05 C27
06 C58
Csatorna választása:
OK
Kilépés:
MENU
Programhely-átrendezés
Hangolás:
01 TVE
02 TVE2
03 TV3
04 C33
K
05 C27
06 C58 05 C27
Új programhely vál.:
OK
Kilépés:
MENU
04HUKV21FX30K.fm Page 8 Thursday, August 2, 2001 6:04 PM

04HUKV21FX30K.fm Page 9 Thursday, August 2, 2001 6:04 PM
Bevezetés a képernyő menürendszereibe és azok használata
Ez a televízió egy a képernyőn megjelenő menürendszert alkalmaz a különböző
műveletekben való eligazodáshoz. Használja a távvezérlő következő gombjait a
menükben történő mozgáshoz:
1 Nyomja meg a MENU gombot, hogy a menü első szintje megjelenjen a
MENU
képernyőn.
2 • A kívánt menü vagy opció kiemeléséhez nyomja meg vagy .
• A választott menübe vagy opcióba történő belépéshez nyomja meg .
• A menübe vagy az előző opcióhoz való visszatéréshez nyomja meg .
K
• A választott opció beállításainak módosításához nyomja meg
//vagy .
• Választásának megerősítésére és rögzítésére nyomja meg az OK
gombot.
3 Nyomja meg a MENU gombot a normális televízióképhez való
MENU
visszatéréshez.
Útmutató a menükhöz
1. szint 2. szint 3. szint / funkció
HU
KÉPBEÁLLÍTÁS
Képbeállítás
Képbeállítás
Üzemmód: Egyéni
Üzemmód: Egyéni
A “Képbeállítás” menü a kép beállításainak
Kontraszt
Kontraszt
Fényerő
Fényerő
Színtelítetség
Színtelítetség
módosítását teszi lehetővé.
Képélesség
Képélesség
Színárnyalat
Színárnyalat
Törlés
Törlés
Ehhez az Ön által módosítani kívánt opció
OK
OK
kiválasztása után, nyomja meg a . Ezt
követően többször egymás után nyomja meg a
//vagy a beállítás
módosításához, majd végezetül nyomja meg az
OK-t a rögzítéshez.
Ez a menü szintén lehetővé teszi a kép
üzemmód módosítását az Ön által nézett
program típusának megfelelően:
Egyéni (egyéni ízléshez).
Élő (élő televíziós közvetítéseknél, DVD és
Digital Set Top Box vevőegységnél)
Mozi (filmekhez)
• A Fényerő, a Színtelítettség és a Képélesség csak akkor módosítható ha az Egyéni-ben
kiválasztotta a képernyő üzemmódot.
• A Színárnyalat csak az NTSC színrendszerhez áll rendelkezésre (pl.: USA videokazetták).
• A gyárilag beállított képbeállítások visszaállításához válassza ki a Törlés-t majd nyomja meg az
OK-t.
folytatódik...
A képernyőn megjelenő menürendszerek
9

04HUKV21FX30K.fm Page 10 Thursday, August 2, 2001 6:04 PM
1. szint 2. szint 3. szint / funkció
Képbeállítás
HANGSZABÁLYOZÁS
Üzemmód: Egyéni
Kontraszt
A “Hangszabályozás” menü lehetővé teszi a
Fényerő
Színtelítetség
hangbeállítások módosítását.
Képélesség
Színárnyalat
Törlés
Ehhez, a módosítani kívánt opció kiválasztása
OK
után, nyomja meg a gombot. Ezt követően
nyomja meg többször egymás után a /
Hangszabályozás
Hangszabályozás
/ vagy a beállítás módosításához,
Üzemmód: Egyéni
Üzemmód: Egyéni
Magas hangszín
Magas hangszín
majd végezetül nyomja meg az OK-t a
Mély hangszín
Mély hangszín
Balansz
Balansz
Törlés
Törlés
rögzítéshez.
Kettős hang: Mono
Kettős hang: Mono
Részletes beállítás
Részletes beállítás
OK
OK
Ez a menü két almenüvel rendelkezik:
Üzemmód Egyéni (egyéni beállításokhoz).
Rock
Pop
Jazz
Részletes beállítás: Hang effektusok: Ki: Normális.
Térhang: Speciális hanghatások.
Auto hangerőszab: Ki: A hangerő a sugárzott jel
függvényében változik.
Be: A hangerő a sugárzott jeltől
függetlenül ugyanaz marad
(pl.: hírdetések).
TV hangszóró: Ki: A hang a TV hátsó részén lévő
audio kimenetbe
csatlakoztatott külső
erősítőről jön.
Be: A hang a televízió
hangszóróiból jön.
• A Magas hangszín és Mély hangszín csak akkor módosíthatók, ha a hang üzemmódban
kiválasztotta a Egyéni-t.
• A gyári hangbeállítások visszaállításához válassza Törlés-t, majd nyomja meg OK-t.
• Kétnyelvű adások esetén válassza a Kettős hang opciót, majd állítsa azt A-ra az 1.
hangcsatornához, B-re a második hangcsatornához vagy Mono-ra a monocsatornához ha az
rendelkezésre áll. Sztereóadás esetén választhat Stereo vagy Mono között.
folytatódik…
10
A képernyőn megjelenő menürendszerek

04HUKV21FX30K.fm Page 11 Thursday, August 2, 2001 6:04 PM
1. szint 2. szint 3. szint / funkció
KIKAPCSOLÁS IDŐZÍTŐ
Képbeállítás
Üzemmód: Egyéni
Az “Időzítő” menün belüli “Kikapcs. Időzítő”
Kontraszt
Fényerő
Színtelítetség
opció lehetővé teszi egy olyan időtartam
Képélesség
Színárnyalat
kiválasztását, melynek elteltével a televízió
Törlés
OK
automatikusan készenléti üzemmódba
(standby) kapcsol.
Időzítő
Időzítő
Ehhez az opció kiválasztása után nyomja meg
Kikapcs. időzítő:
Ki
Kikapcs. időzítő:
Ki
. Ezt követően nyomja meg vagy az
Bekapcs. időzítő:
Ki
Bekapcs. időzítő:
Ki
időtartam kiválasztásához (legfeljebb 4 óra),
majd végezetül nyomja meg az OK-t ennek
rögzítéséhez.
OK
OK
• Ha meg kívánja tekinteni a kikapcsolásig fennmaradó időt miközben a televíziót nézi, nyomja
meg a gombot
• Egy perccel a televízió készenléti üzemmódba kapcsolása előtt a fennmaradó idő megjelenik
a képernyőn.
Képbeállítás
BEKAPCSOLÁS IDŐZÍTŐ
Üzemmód: Egyéni
Kontraszt
Az “Időzítő” menün belüli “Bekapcs. Időzítő”
Fényerő
Színtelítetség
opció lehetővé teszi egy olyan idő tartam
Képélesség
Színárnyalat
Törlés
kiválasztását, melynek elteltével a televízió
OK
automatikusan bekapcsol a készenléti
üzemmódból (standby).
Időzítő
Időzítő
Ehhez az opció kiválasztása után nyomja meg
Kikapcs. időzítő:
Ki
Kikapcs. időzítő:
Ki
Bekapcs. időzítő:
Ki
. Ezt követően nyomja meg vagy az
Bekapcs. időzítő:
Ki
időtartam kiválasztásához (legfeljebb 12 óra),
majd nyomja meg az OK-t ennek rögzítéséhez.
OK
OK
Végezetül nyomja meg a távvezérlő
készenléti üzemmód (standby) gombját; a
televízió az időtartam elteltével automatikusan
HU
bekapcsol.
• A televízió készenléti üzemmód (standby) kijelzője rendszeresen pislogni fog annak
jelzéseként, hogy a “Bekapcs. Időzítő” funkció be van kapcsolva.
• Az áramellátás bármilyen meghibásodása vagy megszakadása a funkciót törli
Ha annak ellenére, hogy nem kapcsolta be az “Bekapcs.időzítő” funkciót, a televízió
kijelzője pislog, kérjük forduljon a legközelebbi Sony márkaszervízhez.
Képbeállítás
NYELV/ ORSZÁG
Üzemmód: Egyéni
Kontraszt
A “Beállítás” menün belüli “Nyelv/ Ország”
Fényerő
Színtelítetség
opció lehetővé teszi a képernyőn megjelenő
Képélesség
Színárnyalat
menük nyelvének kiválasztását. Lehetővé teszi
Törlés
OK
azon ország kiválasztását is, ahol a televíziót
használni kívánja.
Beállítás
Ehhez az opció kiválasztása után nyomja meg
Beállítás
Nyelv/Ország
Nyelv/Ország
, majd ezt követően járjon el a “A TV
Automatikus hangolás
Automatikus hangolás
Programhely-átrendezés
Programhely-átrendezés
Programnevek
Programnevek
bekapcsolása és automatikus hangolás” c.
AV beállítás
AV beállítás
Kézi hangolás
Kézi hangolás
fejezet 2. és 3. lépéseiben leírtak szerint.
Részlet beállítása
Részlet beállítása
OK
OK
folytatódik...
A képernyőn megjelenő menürendszerek
11

04HUKV21FX30K.fm Page 12 Thursday, August 2, 2001 6:04 PM
1. szint 2. szint 3. szint / funkció
AUTOMATIKUS HANGOLÁS
Képbeállítás
Üzemmód: Egyéni
A “Beállítás” menün belüli “Automatikus
Kontraszt
Fényerő
hangolás” opció lehetővé teszi, hogy a
Színtelítetség
Képélesség
Színárnyalat
televízió az összes rendelkezésre álló csatornát
Törlés
(televízióadót) megkeresse és elraktározza.
OK
Ehhez az opció kiválasztása után nyomja meg
, majd ezt követően járjon el a “A TV
Beállítás
Beállítás
bekapcsolása és automatikus hangolás” c.
Nyelv/Ország
Nyelv/Ország
Automatikus hangolás
Automatikus hangolás
fejezet 5. és 6. lépéseiben leírtak szerint.
Programhely-átrendezés
Programhely-átrendezés
Programnevek
Programnevek
AV beállítás
AV beállítás
Kézi hangolás
Kézi hangolás
Részlet beállítása
Részlet beállítása
OK
OK
Képbeállítás
PROGRAMHELYEK ÁTRENDEZÉSE
Üzemmód: Egyéni
Kontraszt
A “Beállítás” menün belüli “Programhely-
Fényerő
Színtelítetség
Képélesség
átrendezés” opció lehetővé teszi a csatornák
Színárnyalat
Törlés
(televízióadók) televízión való megjelenési
OK
sorrendjének megváltoztatását.
Ehhez az opció kiválasztása után nyomja meg
, majd ezt követően járjon el a “A TV
Beállítás
Beállítás
Nyelv/Ország
Nyelv/Ország
bekapcsolása és automatikus hangolás” c.
Automatikus hangolás
Automatikus hangolás
Programhely-átrendezés
Programhely-átrendezés
Programnevek
Programnevek
fejezet 7. b) lépésében leírtak szerint.
AV beállítás
AV beállítás
Kézi hangolás
Kézi hangolás
Részlet beállítása
Részlet beállítása
OK
OK
Képbeállítás
PROGRAMNEVEK
Üzemmód: Egyéni
Kontraszt
A “Beállítás” menün belüli “Programnevek”
Fényerő
Színtelítetség
opció lehetővé teszi, hogy egy legfeljebb öt
Képélesség
Színárnyalat
Törlés
karakterből álló névvel lásson el egy csatornát.
OK
Ehhez:
1 Az opció kiválasztása után nyomja meg ,
majd ezt követően nyomja meg * vagy * az
Beállítás
Beállítás
Nyelv/Ország
Nyelv/Ország
elnevezni kívánt csatorna számának
Automatikus hangolás
Automatikus hangolás
Programhely-átrendezés
Programhely-átrendezés
Programnevek
Programnevek
kiválasztásához.
AV beállítás
AV beállítás
Kézi hangolás
Kézi hangolás
Részlet beállítása
Részlet beállítása
2 Nyomja meg . A Címke oszlop első
OK
OK
elemének kiemelésével nyomja meg vagy
egy betű, szám kiválasztásához vagy “-“
egy üres hely kiválasztásához, majd ezt
követően nyomja meg a karakter
megerősítéséhez. A többi négy karaktert
ugyanígy válassza ki. Végezetül nyomja meg
OK-t a rögzítéshez.
Képbeállítás
AV BEÁLLÍTÁS
Üzemmód: Egyéni
Kontraszt
Fényerő
A “Beállítás” menün belüli “AV beállítás” opció
Színtelítetség
Képélesség
lehetővé teszi, hogy elnevezzen egy, a
Színárnyalat
Törlés
televízióhoz csatlakoztatott külső készüléket.
OK
Ehhez:
1 Az opció kiválasztása után nyomja meg ,
Beállítás
Beállítás
majd ezt követően nyomja meg vagy
Nyelv/Ország
Nyelv/Ország
az elnevezni kívánt bemeneti forrás
Automatikus hangolás
Automatikus hangolás
Programhely-átrendezés
Programhely-átrendezés
Programnevek
Programnevek
kiválasztásához (AV1 vagy AV2 a televízió
AV beállítás
AV beállítás
Kézi hangolás
Kézi hangolás
Részlet beállítása
Részlet beállítása
hátsó részén lévő eurocsatlakozókhoz
OK
OK
csatlakoztatott választható készülékekhez
és AV3 az elülső aljzatokhoz). Ezt követően
nyomja meg .
folytatódik...
12
A képernyőn megjelenő menürendszerek

04HUKV21FX30K.fm Page 13 Thursday, August 2, 2001 6:04 PM
1. szint 2. szint 3. szint / funkció
2 A “Címke” oszlopban automatikusan
megjelenik egy előre meghatározott címke:
a) Ha az előre meghatározott hat címke
(CABLE, GAME, CAM, DVD, VIDEO vagy
SAT) valamelyikét akarja használni,
nyomja meg vagy annak
kiválasztásához, majd végezetül nyomja
meg OK-t a rögzítéshez.
b) Ha saját címkét akar készíteni, válassza
Módosít-t és nyomja meg . Ezt
követően, az első elem kiemelésével,
nyomja meg vagy egy betű, szám
kiválasztásához vagy “-“ egy üres hely
kiválasztásához, majd ezt követően
nyomja meg a karakter
megerősítéséhez. A többi négy karaktert
ugyanígy válassza ki, majd végezetül
nyomja meg OK-t a rögzítéshez.
Képbeállítás
KÉZI HANGOLÁS
Üzemmód: Egyéni
Kontraszt
A “Beállítás” menün belüli “Kézi hangolás”
Fényerő
Színtelítetség
opció lehetővé teszi
Képélesség
Színárnyalat
Törlés
a) A csatornák (televízióadók) egyenkénti és a
OK
kívánt sorrendben történő beállítását
valamint egy videobemenet beállítását.
Ehhez:
Beállítás
Beállítás
Nyelv/Ország
Nyelv/Ország
Automatikus hangolás
Automatikus hangolás
1 A “Kézi hangolás” opció kiválasztása után
Programhely-átrendezés
Programhely-átrendezés
Programnevek
Programnevek
AV beállítás
AV beállítás
nyomja meg . A “Hangolás” opció
Kézi hangolás
Kézi hangolás
Részlet beállítása
Részlet beállítása
kiemelésével nyomja meg , majd ezt
OK
OK
követően nyomja meg vagy a
programszám (hely) kiválasztásához, melyen
a televízióadót vagy videocsatornát beállítani
HU
kívánja (a videocsatornához ajánlatos a “0”
program kiválasztása). Nyomja meg .
2 A következő opció attól függően jelenik
meg, hogy az “Nyelv/Ország” menüben
melyik országot választotta.
A Rendszer opció kiválasztása után nyomja
meg , majd ezt követően nyomja meg
vagy a televízió sugárzási rendszerének
kiválasztásához (B/G Nyugat-Európában
vagy D/ K Kelet-Európában). Nyomja
meg .
3 A Csatorna opció kiválasztása után nyomja
meg , majd ezt követően nyomja meg
vagy a csatorna típusának
kiválasztásához (“C” földi csatornákhoz vagy
“S” kábelcsatornákhoz). Nyomja meg .
Ezt követően nyomja meg a számgombokat
a televízióadó csatorna vagy a videocsatorna
jel számának közvetlen beviteléhez. Ha nem
ismeri a csatornaszámot, nyomja meg
vagy annak megkereséséhez. Amikor a
rögzíteni kívánt csatornát megtalálta, nyomja
meg az OK-t kétszer.
Ismételje meg ezeket a lépéseket további
csatornák beállításához és rögzítéséhez.
folytatódik...
A képernyőn megjelenő menürendszerek
13

b) Csatornák elnevezése legfeljebb öt
karakterből álló névvel.
Ehhez a Hangolás opció kiemelésével nyomja
meg a PROGR +/ - az elnevezni kívánt
program számának megjelenéséig. Amikor ez
megjelenik a képernyőn, válassza a Címke
opciót, majd ezt követően nyomja meg .
Nyomja meg vagy egy betű, szám vagy
“-“ egy betűköz kiválasztásához, majd nyomja
meg a karakter megerősítéséhez. A további
négy karaktert ugyanilyen módon válassza ki.
Az összes karakter kiválasztása után nyomja
meg kétszer az OK-t a rögzítéshez.
c) Annak ellenére, hogy az automatikus
finomhangolás (AFT) mindig be van kapcsolva,
azt kézileg is be tudja állítani a jobb képvétel
érdekében, amennyiben a kép torzítva jelenik
meg.
Ehhez, azon csatorna (televízióadó) nézése
közben, melyen a finomhangolást el kívánja
végezni, válassza ki az AFT opciót, majd ezt
követően nyomja meg . Nyomja meg
vagy a csatornafrekvencia szintjének
beállításához –15 és +15 között. Végezetül
nyomja meg kétszer az OK-t a rögzítéshez.
d) A nem kívánt programakhelyek kihagyása a
PROGR +/ - gombokkal történő kiválasztáskor
való átugrással.
Ehhez a Hangolás opció kiemelésével nyomja
meg a PROGR +/ - a kihagyni kívánt program
számának megjelenéséig. Amikor ez
megjelenik a képernyőn, válassza az Ugrás
opciót, majd ezt követően nyomja meg .
Nyomja meg vagy az Igen
kiválasztásához, majd végezetül
nyomja meg kétszer az OK-t a rögzítéshez.
Ha a későbbiekben ezt a funkciót törölni
kívánja, válassza újból a “Nem”-et az “Igen”
helyett.
e) Ez az opció lehetővé teszi, hogy megfelelően
láthasson és rögzíthessen egy kódolt
csatornáról, amikor egy, az:2/
eurocsatlakozóhoz csatlakoztatott dekódert
használ vagy az említett eurocsatlakozóhoz
csatlakoztatott videomagnón keresztül.
A következő opció attól függően jelenik
meg, hogy az “Nyelv/Ország” menüben
melyik országot választotta.
Ehhez válassza ki a Dekóder opciót és nyomja
meg . Ezt követően nyomja
meg vagy a Be kiválasztásához.
Végezetül nyomja meg kétszer OK-t annak
rögzítéséhez.
Ha a későbbiekban törölni akarja ezt a funkciót,
válassza újból a “Ki”-t “Be” helyett.
folytatódik...
14
A képernyőn megjelenő menürendszerek
S
04HUKV21FX30K.fm Page 14 Thursday, August 2, 2001 6:04 PM
1. szint 2. szint 3. szint / funkció
Képbeállítás
Üzemmód: Egyéni
Kontraszt
Fényerő
Színtelítetség
Képélesség
Színárnyalat
Törlés
OK
Beállítás
Beállítás
Nyelv/Ország
Nyelv/Ország
Automatikus hangolás
Automatikus hangolás
Programhely-átrendezés
Programhely-átrendezés
Programnevek
Programnevek
AV beállítás
AV beállítás
Kézi hangolás
Kézi hangolás
Részlet beállítása
Részlet beállítása
OK
OK

04HUKV21FX30K.fm Page 15 Thursday, August 2, 2001 6:04 PM
1. szint 2. szint 3. szint / funkció
ZAJZÁR
Képbeállítás
Üzemmód: Egyéni
A “Részlet beállítása” menün belüli “Zajzár”
Kontraszt
Fényerő
Színtelítetség
opció lehetővé teszi a kép zajszintjének
Képélesség
Színárnyalat
Törlés
automatikus csökkentését gyenge TV jelek
OK
esetén.
Ehhez az opció kiválasztása után nyomja meg
Beállítás
Részlet beállítása
. Ezt követően nyomja meg vagy a
Nyelv/Ország
Zajzár:
Auto
Automatikus hangolás
AV2 kimenet:
TV
Programhely-átrendezés
RGB pozionálás:
0
Auto kiválasztásához, majd végezetül nyomja
Programnevek
Képelforgatás:
0
AV beállítás
meg az OK-t a rögzítéshez.
Kézi hangolás
Részlet beállítása
OK
OK
Ha a későbbiekben ezt a funkciót törölni kívánja,
válassza újból a “Ki”-t a “Auto” helyett.
Képbeállítás
AV2 KIMENET
Üzemmód: Egyéni
Kontraszt
Fényerő
A “Részlet beállítása” menün belüli “AV2
Színtelítetség
Képélesség
Színárnyalat
kimenet” opció lehetővé teszi az :2/q
Törlés
OK
eurocsatlakozó kimeneti forrásának
kiválasztását, hogy ily módon rögzíthessen az
eurocsatlakozóról bármely, a televízióból vagy
Beállítás
Részlet beállítása
Nyelv/Ország
Zajzár:
Auto
Automatikus hangolás
AV2 kimenet:
TV
egyéb, az :1/ eurocsatlakozóhoz vagy a
Programhely-átrendezés
RGB pozionálás:
0
Programnevek
Képelforgatás:
0
3 és 3 elülső aljzatokhoz csatlakoztatott
AV beállítás
Kézi hangolás
Részlet beállítása
külső készülékből jövő jelet.
OK
OK
Ha videomagnója rendelkezik
Smartlinkkel, ez az eljárás szükségtelen.
HU
Ehhez, az opció kiválasztása után, nyomja meg
. Ezt követően nyomja meg vagy a
kívánt TV, AV1, AV3 vagy AUTO kimeneti jel
kiválasztásához.
Ha az “AUTO”-t választja, a kimeneti jel
mindig megegyezik majd a TV
képernyőjén megjelenővel.
Ha az
:2/q eurocsatlakozóhoz vagy
egy, az eurocsatlakozóhoz csatlakoztatott
videomagnóhoz egy dekódert
csatlakoztat, ne feledje az “AUTO”-ban
vagy a “TV”-ben az “AV2 kimenetet”
kiválasztani a megfelelő dekódoláshoz.
folytatódik...
A képernyőn megjelenő menürendszerek
15

04HUKV21FX30K.fm Page 16 Thursday, August 2, 2001 6:04 PM
1. szint 2. szint 3. szint / funkció
RGB POCIONÁLÁS
Képbeállítás
RGB jelforrás csatlakoztatásakor, mint pl. egy
Üzemmód: Egyéni
Kontraszt
Fényerő
“Playstation”, előfordulhat, hogy szükséges a
Színtelítetség
Képélesség
Színárnyalat
vízszintes képközép beállítása. Ebben az
Törlés
OK
esetben ezt a “Részlet beállítása” menün belüli
“RGB pozicionálás” opció használatával
Beállítás
Részlet beállítása
állíthatja be.
Nyelv/Ország
Zajzár:
Auto
Automatikus hangolás
AV2 kimenet:
TV
Programhely-átrendezés
RGB Közép:
0
Programnevek
Képelforgatás:
0
Ehhez az RGB jelforrás nézése közben
AV beállítás
Kézi hangolás
Részlet beállítása
válassza ki az “RGB Közép” opciót és nyomja
OK
OK
meg . Ezt követően nyomja meg
vagy a képközepelés -10 és +10 közötti
beállításához. Végezetül nyomja meg az OK-t a
rögzítéshez.
Képbeállítás
KÉPELFORGATÁS
Üzemmód: Egyéni
Kontraszt
Fényerő
A földmágnesesség következtében
Színtelítetség
Képélesség
Színárnyalat
előfordulhat, hogy a kép ferdén jelenik meg.
Törlés
OK
Ebben az esetben ezt a “Részlet beállítása”
menün belüli “Képelforgatás” opció
használatával állíthatja be.
Beállítás
Részlet beállítása
Nyelv/Ország
Zajzár:
Auto
Automatikus hangolás
AV2 kimenet:
TV
Programhely-átrendezés
RGB pozionálás:
0
Programnevek
Képelforgatás:
0
Ehhez az opciót kiválasztását után nyomja meg
AV beállítás
Kézi hangolás
Részlet beállítása
. Ezt követően nyomja meg vagy a
OK
OK
képdőlés –5 és +5 közötti beállításához.
Végezetül nyomja meg az OK-t a rögzítéshez.
16
A képernyőn megjelenő menürendszerek

04HUKV21FX30K.fm Page 17 Thursday, August 2, 2001 6:04 PM
Teletext
A teletext a legtöbb televízióadó által sugárzott információs szolgáltatás. A teletext
tartalomjegyzék oldala (általában a 100. oldal) nyújt a szolgáltatás használatára vonatkozó
tájékoztatást. A teletexten belül használja a távvezérlő gombjait az ezen az oldalon leírtak
szerint.
Győződjön meg arról, hogy erős jellel rendelkező televízió csatornát használ, ellenkező
esetben a teletextben hibák adódhatnak.
TELETEXT
TELETEXT
TELETEXT
TELETEXT
TELETEXT
TELETEXT
TELETEXT
TELETEXT
A Teletext szolgáltatásba való belépés:
Index
Index
Index
Index
Index
Index
Index
Index
Miután kiválasztotta azt a csatornát (televízióadót), mely az Ön által nézni
Programme
Programme
Programme
Programme
Programme
Programme
Programme
Programme
25
25
25
25
25
25
25
25
News
News
News
News
News
News
News
News
153
153
153
153
153
153
153
153
Sport
Sport
Sport
Sport
Sport
Sport
Sport
Sport
101
101
101
101
101
101
101
101
kívánt teletext szolgáltatást sugározza, nyomja meg .
Weather
Weather
Weather
Weather
Weather
Weather
Weather
Weather
98
98
98
98
98
98
98
98
Teletext oldal kiválasztása:
A távvezérlő gombjainak használatával vigye be az Ön által megtekinteni kívánt oldalszám
három számjegyét.
• Ha eltéveszti, üssön be bármilyen három számjegyet, majd ezt követően üsse be újra a
helyes oldalszámot.
• Amennyiben az oldalszámláló nem áll le, ez azt jelenti, hogy a kért oldal nem áll
rendelkezésre. Ebben az esetben üssön be egy másik oldalszámot
Az előző vagy a következő oldal kiválasztása:
Nyomja meg PROGR + () vagy PROGR - ().
A teletext tévéképernyő elé történő helyezése:
A teletext nézése közben nyomja meg . Újfent nyomja meg azt a teletext üzemmódból
való visszatéréshez.
HU
Egy oldal kimerevítése:
Egyes teletext oldalak automatikusan váltakozó aloldalakkal rendelkeznek. Egy aloldal
kimerevítéséhez nyomja meg / . Újfent nyomja meg azt a kimerevítés törléséhez.
Rejtett információ láthatóvá tétele (pl.: fejtörők megoldásai):
Nyomja meg / . Újfent nyomja meg azt az információ elrejtéséhez.
A Teletext szolgáltatásból való kilépés:
Nyomja meg .
Fastext
A Fastext szolgáltatás lehetővé teszi, hogy egyetlen gomb lenyomásával hozzáférjen a
teletext oldalaihoz.
A teletext szolgáltatáson belül, amennyiben Fastext jeleket sugároznak, a képernyő alsó
részén megjelenik egy színkód menü, mely lehetővé teszi, hogy közvetlenül hozzáférjen
egy oldalhoz. Ehhez nyomja meg a távvezérlő megfelelő színű gombját (piros, zöld, sárga
vagy kék).
Teletext
17

Választható készülékek csatlakoztatása
A televízióhoz választható készülékek széles skálája csatlakoztatható, a továbbiakban
leírtak szerint. (A csatlakozó kábelek nincsenek mellékelve.)
E
A
B
1
2
Videomagnó csatlakoztatása:
Videomagnó csatlakoztatásához lásd “Az antenna és a videomagnó csatlakoztatása” c.
fejezetet. A videot ajánlatos eurocsatlakozó használatával csatlakoztatni. Amennyiben nem ezt
a csatlakozót használja, a videojel csatornát a “Kézi Hangolás” menüben be kell állítsa (ehhez
lásd a 13. oldal a) bekezdését). Ezenkívül lásd a video használati utasítását a videojel csatorna
beállításához.
Smartlinkkel rendelkező videomagnó csatlakoztatása:
A Smartlink egy olyan, a televízió és egy videokészülék közti kapcsolat, mely lehetővé
teszi bizonyos információk közvetlen átjuttatását. Amennyiben a Smartlinkről bővebb
tájékoztatásra van szüksége, keresse azt videokészüléke kezelési útmutatójában.
Ha egy Smartlinkkel rendelkező videomagnót használ, használjon eurocsatlakozót és
csatlakoztassa azt a :2/q E eurocsatlakozóhoz.
Ha az :2/q eurocsatlakozóhoz vagy az említett eurocsatlakozóhoz
csatlakoztatott videomagnóhoz dekódert csatlakoztatott.
A “Beállítás” menüben válassza a “Kézi Hangolás” opciót, majd a “Dekóder”** opció
kiválasztása után válassza a “Be”-t ( vagy használatával) a kódolt csatornához.
** Ez az opció az “Ország” menüben kiválasztott ország szerint áll rendelkezésre.
18
Kiegészítő információ
“PlayStation”*
Hi-
f
D
C
i
VCRDVD
V
C
Videomagn
RDVD
ó
D
e
kód
er
D
e
kód
04HUKV21FX30K.fm Page 18 Thursday, August 2, 2001 6:04 PM
8mm/Hi8/
DVC
kamera
Fülhallgató csatlakoztatásakor a
* “PlayStation” a Sony Computer
televízió hangszórói automatikusan
Entertainment, Inc. terméke.
kikapcsolnak.
er
* “PlayStation” a Sony Computer
Entertainment, Inc. védett márkaneve.
folytatódik...

04HUKV21FX30K.fm Page 19 Thursday, August 2, 2001 6:04 PM
Külső audio készülék csatlakoztatása:
Ha televíziójának hangját zenekészüléke hangszóróin keresztül akarja élvezni, csatlakoztassa
a készüléket a D audio kimenethez, majd a menürendszerben válassza a “Hangszabályozás”-
t. Ezt követően lépjen be a “Részletes beállítás” opcióba és a “TV hangszóró”-ben válassza a
“Ki”-t.
A külső hangszórók hangereje a televízió távvezérlőjének hangerőszabályzó gombjaival
állítható. A magas és mély szinteket is változtathatja a “Hangszabályozás” menün
keresztül.
Választható készülékek használata
1 A választható készüléket csatlakoztassa a televízió megfelelő aljzatához a fentiekben
leírtak szerint.
2 Kapcsolja be a csatlakoztatott készüléket.
3 A csatlakoztatott készülék képének megtekintéséhez nyomja meg többször egymás
után , amíg a bemeneti jel helyes jelképe megjelenik a képernyőn.
Jelkép Bemeneti jelek
1•Eurocsatlakozón C keresztüli audio/ video bemeneti jel
•Eurocsatlakozón C keresztüli RGB bemeneti jel. Ez a jelkép csak abban az
esetben jelenik meg, ha csatlakoztatott RGB bemenetre.
HU
2•Audio bemeneti jel / az E eurocsatlakozón keresztüli videomagnó.
S
2•Az E eurocsatlakozón keresztüli S video bemeneti jel.
3•RCA A csatlakozón keresztüli video bemeneti jel és B-n keresztüli audio
bemeneti jel.
4 Nyomja meg a távvezérlő gombját a normál tévéképernyőhöz való visszatéréshez.
Mono hangrendszerő készülékek használata
A hangfrecvenciás csatlakozó kábelt csatlakoztassa a TV készülék előlapján található L/G/S/I
aljzatra és válassza ki a 3 bemenet jelét, felhasználva a fenti utasításokat. Végül hivatkozva
a jelen használati utasítás “hangbeállítás” részére, válassza ki a hangbeállítás menükép “Kettős
hang” “A” pontját.
Kiegészítő információ
19

04HUKV21FX30K.fm Page 20 Thursday, August 2, 2001 6:04 PM
Műszaki jellemzők
MINŐSÉGTANÚSÍTÁS
A 2/1984. (III.10.) BkM-IpM együttes rendelet értelmében - mint forgalmazá - tanúsitjuk, hogy a SONY
(KV-21FX30K) tipusú szines televizió megfelel az alábbi műszaki értékeknek.
Érintésvédelmi osztály: II.
Sugárzási szabvány:
Hangfrekvenciás
A kiválasztott országtól függően:
kimenőteljesítmény:
B/G/H, D/K
2 x 14 W (zenei teljesítmény)
2 x 7 W (RMS)
Szín szabvány:
PAL, SECAM
Teljesítményfelvétel:
NTSC 3.58, 4.43 (csak videobemenet)
60 W
Fogható csatornák:
Teljesítményfelvétel készenléti
VHF: E2-E12
üzemmódban (standby):
UHF: E21-E69
0.5 W
CATV: S1-S20
Méretek (szél. x mag. x mély.)
HYPER: S21-S41
Kb. 545 x 446 x 485 mm
D/K: R1-R12, R21-R69
Tömeg:
Képcső:
Kb. 26 kg
FD Trinitron tökéletesen sík
21” (kb, 55 cm mérhető képcsőátló).
Mellékelt tartozékok:
1 db távvezérlő RM-887 modell
Hátsó aljzatok:
2 db IEC szabvány szerinti elem
:1/ 21 pólusú eurocsatlakozó
(CENELEC szabvány) beleértve
Egyéb jellemzők:
audio/ video bemenet, RGB
•Teletext, Fastext, TOPtext
bemenet, TV audio/ video
•Kikapcsolás Időzítő
kimenet
•Bekapcsolás Időzítő
• Smartlink (a televízió és egy
:2/q 21 pólusú eurocsatlakozó
kompatibilis videokészülék közötti
(CENELEC szabvány) beleértve
közvetlen kommunikáció. Ha további
audio/ video bemenet, S video
információra van szüksége a
Smartlinkkel kapcsolatosan, nézze
bemenet, választható audio/
meg videomagnója használati
video bemenet és Smartlink
útmutatóját).
csatlakoztatás.
•A TV rendszer automatikus
felmérése.
Audio kimenetek (bal/ jobb) –
RCA aljzatok
Elülső aljzatok:
…3 video bemenet – RCA csatlakozó
3 audio bemenet – RCA csatlakozó
fülhallgató csatlakozó
A design és a műszaki jellemzők előzetes bejelentés nélkül változhatnak.
Környezetbarát papír – Klórmentes
20
Kiegészítő információ

04HUKV21FX30K.fm Page 21 Thursday, August 2, 2001 6:04 PM
Problémamegoldás
Az alábbiakban ismertetünk néhány egyszerű megoldást arra az esetre, ha valamilyen
kép- vagy hangprobléma fordulna elő.
Probléma
Megoldás
Nincs kép (a képernyő sötét) és
•Ellenőrizze az antennacsatlakozást.
nincs hang.
• Csatlakoztassa a készüléket a fali aljzathoz és nyomja
meg a gombot az előlapon.
•Ha a televízió jelzője világít, nyomja meg a
távvezérlő gombját.
Gyenge a kép vagy nincs kép (a
•A menürendszerben válassza ki a “Képbeállítás”-t és
képernyő sötét), de jó a hang.
válassza a “Törlés”-t a gyárilag beállított értékek viss-
zanyeréséhez.
A televízió hátlapján lévő
•Győzödjön meg arról, hogy a választható készüléket
eurocsatlakozóhoz csatlakoztatott
bekapcsolta, majd nyomja meg többször a távvezérlő
választható készüléknek nincs képe
gombját, amíg a helyes bemeneti jelkép megje-
vagy nincs információs menüje.
lenik a képernyőn.
Jó képminőség, de nincs hang.
• Nyomja meg a távvezérlő +/ -gombját.
• Ellenőrizze, hogy a “Hangszabályozás” menün belüli
“TV hangszóró” opció az “Be” pozícióban legyen
kiválasztva.
•
Goy
ő
z
ő
djön meg arról, hogy a fülhallgatót kikapcsolta-e.
A színes műsorok nem láthatók
• A menürendszerben válassza ki a “Képbeállítás”-t, és
színesben.
válassza a “Törlés”-t a gyárilag beállított értékek
visszanyeréséhez.
Programváltáskor vagy a teletext
• Kapcsolja ki a készülék hátlapján lévő 21 pólusú
kiválasztásakor a kép eltorzul.
eurocsatlakozóhoz csatlakoztatott készüléket.
A teletext adások vételekor helytelen
• Ha a menürendszert használja, lépjen be a
karakterek jelennek meg a
“Nyelv/Ország“ menübe, és válassza azt az országot,
képernyőn.
ahol a Készüléket működteti. A cirill abc-t használó
nyelveknél válassza Oroszországot, ha a lista nem
tartalmazza azt az országot, ahol Ön a készüléket
HU
használja.
Ferde a kép.
• A menürendszerben a “Különleges Jellemzők” menün
belül válassza a “Képelforgatás” opciót és állítsa be a
képdőlést.
Zajos kép.
• A menürendszerben a “Kézi Hangolás” menün belül
válassza az “AFT” opciót és állítsa be a hangolást a
jobb képvétel érdekében.
• A menürendszerben a “Különleges Jellemzők” menün
belül válassza az “Zajzár” opciót és válassza a “Auto”-
t a kép zajának csökkentésére.
Az
:2/q eurocsatlakozóhoz
• A menürendszeben válassza a “Beállítás”-t. Ezt
csatlakoztatott dekóderen keresztül
követően lépjen be a “Részlet beállítása” opcióba és a
nézett kódolt csatorna képe nem
“TV”-ben válassza a “AV2 kimenet“.
tökéletesen dekódolt vagy nem
stabil.
A távvezérlő nem működik.
• Cserélje ki az elemeket.
A készenléti üzemmód (standby)
• Forduljon a legközelebbi Sony márkaszervízhez.
jelzője villog, annak ellenére, hogy a
“Bekapcs. Időzít.” nincs
beprogramozva.
naprogramovaná.
Meghibásodás esetén a televíziót szakemberrel vizsgáltassa meg. Soha ne nyissa ki a
készüléket.
Kiegészítő információ
21

05PLKV21FX30K.fm Page 3 Thursday, August 2, 2001 6:07 PM
Wprowadzenie
Dziękujemy za wybór telewizora kolorowego Sony z Płaskim Ekranem FD Trinitron.
Przed rozpoczęciem użytkowania telewizora, wskazane jest wnikliwe zapoznanie się z
niniejszą instrukcją obsługi i zachowanie jej do wykorzystania w przyszłości.
• Symbole używane w niniejszej instrukcji obsługi:
• Potencjalne niebezpieczeństwo.
• Zaznaczone na pilocie przyciski
K
wskazują przyciski które należy
• Ważna informacja.
nacisnąć w celu wykonania
• Informacja o działaniu.
poszczególnych funkcji.
•1,2... Kolejność realizacji instrukcji.
• Informacja o wyniku operacji.
Spis treści
Wprowadzenie ......................................................................................................................................... 3
Informacje dotyczące bezpieczeństwa................................................................................................4
Opis ogólny
Ogólny przegląd przycisków pilota ..................................................................................................... 5
Ogólny przegląd przycisków telewizora ............................................................................................. 6
Podłączenie telewizora
Wkładanie baterii do pilota ....................................................................................................................6
Podłączanie anteny i magnetowidu ..................................................................................................... 6
Pierwsze uruchomienie telewizora
Włączanie telewizora i automatyczne programowanie .................................................................... 7
System menu na ekranie
Wprowadzenie do systemu menu na ekranie.....................................................................................9
Krótki przewodnik po systemie menu:
Regulacja obrazu................................................................................................................................. 9
PL
Regulacja dźwięku............................................................................................................................. 10
Timer wyłączenie ............................................................................................................................... 11
Timer włączenie ................................................................................................................................. 11
Język/Kraj ........................................................................................................................................... 11
Autoprogramowanie.......................................................................................................................... 12
Sortowanie programów .................................................................................................................... 12
Nazwy Programów ........................................................................................................................... 12
Ustawienia AV .................................................................................................................................... 12
Programowanie ręczne.....................................................................................................................13
Redukcja zakłóceń ............................................................................................................................ 15
Wyjście AV2........................................................................................................................................ 15
Centrowanie RGB..............................................................................................................................16
Obrót obrazu ......................................................................................................................................16
Telegazeta........................................................................................................................................ 17
Informacje dodatkowe
Podłączanie dodatkowych urządzeń ................................................................................................. 18
Zastosowanie dodatkowych urządzeń ............................................................................................. 19
Dane techniczne .................................................................................................................................... 20
Rozwiązywanie problemów ................................................................................................................ 21
Spis treści
3

Informacje dotyczące bezpieczeństwa
Telewizor jest przystosowany do
Ze względu na bezpieczeństwo i
zasilania tylko napięciem
ochronę środowiska
przemiennym 220 - 240 V. Nie
naturalnego zaleca się, aby
włączać zbyt dużej liczby urządzeń
telewizor, który nie jest używany,
do jednego gniazdka sieciowego-
nie pozostawał w trybie
grozi to pożarem lub porażeniem
czuwania, lecz był wyłączany z
prądem.
sieci.
4
Informacje dotyczące bezpieczeństwa
Nigdy nie wpychać do telewizora
żadnych przedmiotów.
Grozi to pożarem lub porażeniem
prądem. Nigdy nie wylewać na
telewizor żadnych płynów. Jeśli do
wnętrza telewizora dostanie się jakiś
płyn lub przedmiot, nie używać
urządzenia, zanim zostanie ono
skontrolowane przez odpowiednio
wykwalifikowaną osobę.
Nie otwierać obudowy ani nie
Dla własnego bezpieczeństwa,
Aby uniknąć ryzyka pożaru lub
zdejmować pokrywy z tyłu
w czasie burzy nie dotykać
porażenia prądem, nie wystawiać
telewizora. Naprawy powierzać
żadnych elementów telewizora,
telewizora na deszcz i chronić go
tylko wykwalifikowanym osobom.
jego przewodu zasilającego ani
przed wiłgocią.
przewodu antenowego.
Nigdy nie stawiać telewizora w
Nie zakrywać otworów
Aby uniknąć pożaru,
miejscach gorących, wilgotnych
wentylacyjnych na telewizorze. Dla
przechowywać łatwopalne
lub nadmiernie zapylonych. Nie
zapewnienia właściwej wentylacji,
przedmioty z dala od telewizora i
instalować telewizora w
pozostawić wokół telewizora
nie zbliżać się do niego z otwartym
miejscach, w których będzie on
przynajmniej 10 cm wolnego
ogniem (na przykład świecą).
narażony na wibracje
miejsca.
mechaniczne.
Do czyszczenia telewizora używać
miękkiej, lekko zwilżonej
Dbać, aby nie stawiać na
Przy wyłączaniu przewodu
ściereczki. Nie czyścić telewizora
przewodzie zasilającym ciężkich
zasilającego z gniazdka
benzyną, rozcieńczalnikiem
przedmiotów, ponieważ mogą one
sieciowego chwytać wtyczkę.
ani innymi środkami chemicznymi.
uszkodzić przewód. Zalecamy
Nie rysować ekranu telewizora.
Nie ciągnąć samego przewodu.
nawinięcie nadmiaru przewodu na
Dla bezpieczeństwa, przed
zaczepy znajdujące się z tyłu
czyszczeniem telewizora wyłączyć
telewizora.
go z sieci.
Przed przenoszeniem telewizora
wyłączyć go z sieci. Unikać
Ustawić telewizor na bezpiecznej,
nierównych powierzchni,
stabilnej podstawie. Nie
szybkiego marszu i używania
pozwalać, aby wspinały się na
nadmiernej siły. Jeśli telewizor
niego dzieci. Nie kłaść telewizora
został upuszczony lub uskodzony,
na boku ani ekranem do góry.
natychmiast zlecić jego kontrolę
odpowiednio wykwalifikowanej
osobie z serwisu.
Nie zakrywać otworów
wentylacyjnych na telewizorze
takimi przedmiotami jak zasłony
czy gazety.
05PLKV21FX30K.fm Page 4 Thursday, August 2, 2001 6:07 PM

05PLKV21FX30K.fm Page 5 Thursday, August 2, 2001 6:07 PM
Ogólny przegląd przycisków pilota
Czasowe wyłączenie telewizora
Wyłączanie dźwięku
Naciśnij go by czasowo wyłączyć telewizor (zostanie
Naciśnij go by wyłączyć dźwięk
wyświetlony wskaźnik trybu czuwania ). Naciśnij go
ponownie by włączyć telewizor pozostający w trybie
Ponownie go naciśnij by włączyć
czuwania (standby).
dźwięk.
Dla oszczędności energii wskazane
Wyświetlanie informacji na ekranie
jest całkowite wyłączenie telewizora
Naciśnij go by wszystkie wskaźniki
gdy się go nie używa.
pojawiły się na ekranie. Ponownie go
Jeśli w ciągu 15 minut nie ma
sygnału telewizyjnego ani też
naciśnij by zniknęły.
nie zostanie naciśnięty żaden
Wybór kanału
przycisk, telewizor
Naciskaj je by wybrać kanał.
automatycznie przełączy się na
tryb czuwania (standby)
W przypadku dwucyfrowych
Wybór sygnału wejściowego
numerów kanałów, naciskaj przycisk
Naciskaj go aż symbol żądanego
odpowiadający drugiej cyfrze nie
źródła sygnału pojawi się na ekranie.
dłużej niż 2,5 sekundy.
Powrót do ostatniego wybranego
lub
kanału
Naciśnij go by powrócić do
naciśnij -/—, a następnie pierwszą
poprzednio wybranego kanału
i drugą cyfrę .
(uprzednio wybrany kanał powinien
W przypadku popełnienia pomyłki
być wcześniej widoczny na ekranie
przez przynajmniej 5 sekund).
podczas wprowadzania pierwszej
cyfry dokończ operację
Wyświetlanie menu
wprowadzania drugiej (od 0 do 9 ), a
Naciśnij go by na ekranie pojawiło
się menu funkcji. Naciśnij go
następnie powtórz całą operację.
ponownie by usunąć menu z ekranu
Wybór Trybu TV
i by pojawił się normalny obraz
telewizyjny.
Naciśnij go by telegazeta zniknęła z
ekranu lub by wyłączyć wejście
Przyciski opcji menu
wideo.
•Gdy MENU jest na ekranie:
Przejść na wyższy poziom.
Wybór telegazety
Przejść na niższy poziom.
PL
Naciśnij go by telegazeta pojawiła
Przejść do poprzedniego menu
się na ekranie.
lub poprzedniej opcji .
Przejść do następnego menu
Wybór trybu dźwięku
lub następnej opcji.
Naciśnij go kilkakrotnie by zmienić
OK Potwierdzić wybór opcji.
tryb dźwięku.
•Gdy MENU nie ma na ekranie:
OK Wyświetla całą listę kanałów.
Wybór trybu obrazu
Wybierz kanał naciskając lub
Kilkakrotnie go naciśnij by zmienić
, a następnie, naciśnij OK by
tryb obrazu.
oglądać wybrany kanał.
Regulacja głośności
Wybór formatu ekranu
Naciśnij go by zmienić format
Naciśnij go by naregulować głośność
ekranu: 4:3 dla obrazu
telewizora.
konwencjonalnego lub 16:9 dla
Przycisk ten działa wyłącznie w trybie
odtworzenia ekranu szerokiego.
telegazety. Funkcja przypisana
Wybór kanałów
temu przyciskowi nie jest dostępna w
niniejszym telewizorze.
Naciśnij go by wybrać poprzedni lub
następny kanał.
Wszystkie przyciski kolorowe służą nie tylko do regulacji telewizora, ale też do obsługi
telegazety. Szersza informacja o ich funkcjach znajduje się w rozdziale «Telegazeta»
niniejszej instrukcji obsługi.
Opis ogólny
5



