Sony MPK-WA: instruction
Class: Photo and Video Accessories
Type:
Manual for Sony MPK-WA
Table of contents
- What is the O-ring?
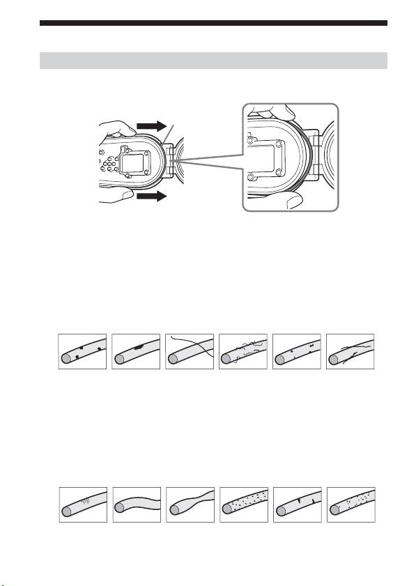
- Handling the O-ring 1 Remove the O-ring. 2 Inspect the O-ring.
- 3 Inspect the O-ring groove. 4 Inspect the contact surface on the other side of the O-ring in the same way. 5 Apply the special grease supplied to the O-ring. 6 Fit the O-ring into the groove of the Marine Pack.
- Handling the O-ring (continued)

2-674-692-01 (1)
マリンパック
Marine Pack
O
リングメンテナンスマニュアル
JP
O-ring Maintenance Manual
GB
Manual d’entretien du joint torique
FR
O-Ring -Wartungsanleitung
DE
Manuale di manutenzione della guarnizione toroidale
IT
O-ring Onderhoudshandleiding
NL
Manual de mantenimiento de la junta tórica
ES
Manual de manutenção do anel de vedação
PT
Underhållsanvisning för O-ring
SE
Руководство по техническому обслуживанию уплотнительного кольца
RU
O形環保養手冊
CT
O形环保养手册
CS
KR
O링의 보수 설명서
2006 Sony Corporation Printed in Japan


日本語
お買い上げいただき、ありがとうございます。
この取扱説明書をよくお読みのうえ、製品を安全にお使いください。お読
みになったあとは、いつでもみられるところに必ず保管してください。
*
お使いのマリンパックは、イラストのものとは限りません。
O
リング(オーリング)とは?
O
リングを使ってマリンパックなどの機器の防水性を保ちます。
O
リング
O
リングのメンテナンスは非常に重要です。正しく取り扱
わないと、水没の原因になります。
1-JP

O
リングの取り扱いかた
O
リングをセッティングする
O
リングのセッティングは、砂やほこりのない場所で行ってください。
1
O
リングを取りはずす
O
リング
O
リングを取りはずすときは、図のように
O
リングを軽く押さえつけな
がら、矢印の方向にずらしてください。
O
リングにたるみができますの
で、簡単に取りはずすことができます。
O
リングを取りはずす際は、爪
によって
O
リングを傷つけないようご注意ください。
2
O
リングを点検する
•
以下の点を充分確認して、柔らかい布かティッシュペーパーで必ず
取り除いてください。
−ゴミ、砂粒、毛髪、ほこり、塩、糸くずなどが付着していないか
−古いグリスが残っていないか
▲ゴミ ▲砂粒 ▲毛髪 ▲ほこり ▲塩 ▲糸くず
•
目に見えないゴミなどが付着していることもあるので、指先で触っ
て点検してください。
•O
リングを拭き取る際、布やティッシュペーパーの繊維が残らないよ
うに気をつけてください。
2-JP

•O
リングにヒビ割れ、ゆがみ、つぶれ、ささくれ、キズ、砂かみなど
がないか確認し、ある場合は必ず交換してください。
▲ヒビ割れ ▲ゆがみ ▲つぶれ ▲ささくれ ▲キズ ▲砂かみ
3
O
リングの溝を点検する
砂粒や乾いて固まった塩が入りこんでいる場合があるので、丁寧に取
り除いてください。
4
O
リングの反対側の接触面も同様に点検する
5
O
リングに付属の指定グリスを塗る
•
上の図のように
O
リングに米粒大のグリスを、指の腹で全体に薄く均
一に塗ってください。
•O
リングの表面には、いつも薄くグリスがついているようにしてくだ
さい。グリスは
O
リングを保護し、摩耗を防ぎます。
グリスについて
グリスは必ず付属のグリスをお使いください。
付属のグリス以外をご使用になると
O
リングをいため、水漏れしま
す。
3-JP

O
リングの取り扱いかた(つづき)
6
O
リングを溝にセットする
以下の点に注意して、
O
リングを溝に均等に入れてください。
−
O
リングにゴミなどが付着していないか
−
O
リングのねじれ、はみ出しがないか
−
O
リングを無理に引っ張らない
悪い例 良い例
最終チェック
O
リングにゴミなどの付着、キズ、ねじれ等の不具合がないか、もう一度
確認してください。
水漏れの確認方法
ご使用の機器を収納する前に、マリンパックを閉じ、水中(約
15cm
)に
約
3
分間沈めて、水漏れがないことを必ず確認してください。
Pご注意
砂地の海底で撮影したときや、砂の上にカメラを置いたときは、
O
リングを
はずして点検してください。
予備の
O
リングは必ず持っていきましょう。
現地で
O
リングに不具合が生じても、慌てずにすみます。
O
リングの寿命について
O
リングは1年程度使用したら新しいものに交換してください。
キズやヒビがなくても変形や摩擦により、防水性能は落ちてきます。
4-JP

English
* The Marine Pack you are using may not necessarily be the one in the
illustrations.
What is the O-ring?
The O-ring ensures the waterproof qualities of the Marine Pack or other
equipment.
O-ring
O-ring maintenance is very important. Failure to
carry out O-ring maintenance according to the
instructions may lead to water leakage and cause
the Marine Pack to sink.
1-GB

Handling the O-ring
Fit the O-ring
Avoid fitting the O-ring in dusty or sandy locations.
1 Remove the O-ring.
O-ring
To remove the O-ring, press it lightly and slide it in the direction of the
arrow as illustrated. The O-ring has enough slack to be able to be removed
easily. Be careful not to scratch the O-ring with your fingernail.
2 Inspect the O-ring.
• Check carefully for the following. If found, wipe off with a soft cloth or
tissue paper.
– Is there any dirt, sand, hair, dust, salt, thread scraps, etc. on the O-ring?
– Is there any old grease on the O-ring?
v Dirt v Sand v Hair v Dust v Salt
v Thread
scraps
• Lightly run your fingertip around the O-ring to check for any invisible
dirt.
• Be careful not to leave any cloth or tissue paper fibers on the O-ring after
wiping it.
• Check the O-ring for cracks, skewing, distortion, fine splitting, scratches,
sand inclusion, etc. Replace the O-ring if it is cracked or scratched.
v Cracks
v
Skewing
v
Distortion
v Fine
v Scratches
v Sand
Splitting
inclusion
2-GB

3 Inspect the O-ring groove.
Carefully remove any grains of sand or hardened salt that get into the
groove.
4 Inspect the contact surface on the other side of the O-ring in
the same way.
5 Apply the special grease supplied to the O-ring.
• Use your fingertips to thinly coat the entire surface of the O-ring with a
small drop of grease, as illustrated above.
• Make sure there is always a thin coating of grease on the surface of the
O-ring. Grease protects the O-ring and prevents wear.
Grease
Only use the grease supplied. Other kinds of grease will damage the O-
ring and cause water leakage.
6 Fit the O-ring into the groove of the Marine Pack.
Fit the O-ring evenly into the groove paying attention to the following
points:
– Check for dirt on the O-ring.
– Check the O-ring is not twisted or protruding.
– Do not pull the O-ring.
Bad example Good example
3-GB

Handling the O-ring (continued)
Final check
Check the O-ring again for any dirt, cracks or twisting, etc.
How to check for water leakage
Before installing the equipment, always close the marine pack and
immerse it in water to a depth of about 15 cm for about three minutes to
make sure no water leaks in.
PCAUTION
After taking photos near a sandy sea bottom or placing the camera on the
sand, remove the O-ring and inspect it.
Be sure to take a spare O-ring with you.
You can replace the fitted O-ring on location if
something goes wrong with it.
O-ring life
Replace each O-ring with a new one after one year of use.
Even if the O-ring is not cracked or scratched, deformation or wear
reduces its waterproof qualities.
4-GB

Français
* Votre caisson marin n’a pas forcément le même aspect que celui qui est
représenté sur les illustrations.
Qu’est-ce qu’un joint torique ?
Le joint torique est important car c’est lui qui garantit l’étanchéité du
caisson étanche et de l’appareil qu’il contient.
Joint torique
L’entretien du joint torique est donc très
important. Si vous ne suivez pas les consignes
d’entretien du joint torique, de l’eau peut
s’infiltrer dans le caisson étanche, qui risque alors
de tomber.
1-FR

Maniement du joint torique
Insérez le joint torique
Evitez de poser le joint torique à des endroits poussiéreux ou sableux.
1 Enlevez le joint torique.
Joint
torique
Pour retirer le joint torique, appuyez légèrement dessus et poussez-le dans
le sens de la flèche, comme indiqué sur l’illustration. Le joint torique est
suffisamment lâche pour pouvoir être enlevé facilement. Attention de ne
pas l’érafler avec les ongles.
2 Contrôlez le joint torique.
• Contrôlez bien le joint torique et essuyez-le avec un chiffon doux ou du
papier soie.
– Assurez-vous de l’absence de saleté, grains de sable, cheveux,
poussière, sel, fibres, etc.
– Assurez-vous de l’absence de vieille graisse.
v Saleté v Sable v Cheveu
v Poussière
v Sel v Fibres
• Passez le bout du doigt sur le joint torique pour vous assurer de
l’absence de saleté imperceptible.
• Après avoir essuyé le joint torique, assurez-vous qu’il ne reste pas de
fibres du chiffon ou du papier soie.
• Vérifiez si le joint torique n’est pas craquelé, tordu, déformé, fissuré
finement, rayé ou imprégné de sable. Remplacez-le par un neuf s’il est
craquelé ou fissuré.
v Fissures v Torsion
v Déformation
v Fentes
v Rayures
v Pénétration
fines
de sable
2-FR

3 Contrôlez bien la rainure du joint torique.
Eliminez soigneusement tous les grains de sable ou le sel durci ayant
pénétré dans la rainure.
4 De la même manière, contrôlez l’autre surface du joint
torique.
5 Appliquez la graisse spéciale fournie sur le joint torique.
• Mettez une petite goutte de graisse sur le doigt et répartissez-la sur tout
le joint avec le bout du doigt.
• Le joint torique doit toujours être recouvert d’une fine couche de graisse.
La graisse le protège, en particulier contre l’usure.
Graisse
Utilisez la graisse fournie uniquement. Tout autre type de graisse peut
endommager le joint torique et entraîner des infiltrations d’eau.
6 Insérez le joint torique dans la rainure du caisson étanche.
Insérez le joint torique en prêtant attention aux points suivants:
– Le joint doit être absolument propre.
– Le joint torique ne doit pas être tordu ou dépasser.
– Le joint torique ne doit pas être tiré.
Mauvais Bon
3-FR

Maniement du joint torique (suite)
Contrôle final
Vérifiez de nouveau le joint torique pour vous assurer qu’il n’est pas sale,
craquelé, tordu, etc.
Vérification de l’étanchéité du joint torique
Avant d’installer l’appareil, fermez toujours le caisson étanche et
immergez-le trois minutes environ dans l’eau, à une profondeur de 15 cm
environ, pour vous assurer que l’eau ne s’infiltre pas.
PATTENTION
Si vous avez pris des photos sur un fond marin sableux ou mis le caisson
sur le sable, sortez le joint torique et contralez-le.
Emportez toujours un joint de rechange.
Vous pourrez facilement le changer en cas de
problèmes lors de la prise de vues.
Durée de vie d’un joint torique
Remplacez le joint par un neuf après un an d’utilisation.
Même s’il n’est pas craquelé ou rayé, le joint se déforme et s’use, ce qui
réduit son étanchéité.
4-FR

Deutsch
* Die Abbildungen in der Anleitung zeigen möglicherweise nicht Ihr
Unterwassergehäuse-Modell.
Was ist ein O-Ring?
Beim Unterwassergehäuse gewährleistet der O-Ring einen wasserdichten
Abschluss.
O-Ring
Besonders wichtig: Regelmäßige Wartung des
O-Rings. Beachten Sie die Wartungsangaben in der
Anleitung. Ansonsten besteht die Gefahr, dass
Wasser eindringt und das Unterwassergehäuse
sinkt.
1-DE

Handhabung des O-Rings
Darauf achten, dass der O-Ring richtig sitzt
Setzen Sie den O-Ring nicht an einem staubigen oder sandigen Ort ein.
1 Den O-Ring herausnehmen.
O-ring
Zum Herausnehmen des O-Rings drücken Sie leicht, wie in der Abbildung
gezeigt, und ziehen Sie ihn dann in Pfeilrichtung heraus. Der O-Ring sitzt
relativ locker, so dass er leicht herausgenommen werden kann.
2 Den O-Ring kontrollieren.
• Wischen Sie den O-Ring mit einem weichen Tuch oder einem
Papiertaschentuch sauber, und kontrollieren Sie Folgendes:
– Schmutzpartikel, Sand, Haare, Staub, Salz, Fasern usw. dürfen nicht
vorhanden sein.
– Altes Fett darf nicht vorhanden sein.
v Schmutz v Sand v Haar v Staub v Salz v Fasern
• Lassen Sie Ihre Fingerspitzen vorsichtigüber den O-Ring gleiten, um
nicht sichtbare Schmutzpartikel aufzuspüren.
• Nachdem Sie den O-Ring abgewischt haben, vergewissern Sie sich
nochmals, dass keine Fasern oder Papierreste auf dem O-Ring
zurückgeblieben sind.
• Vergewissern Sie sich, dass der O-Ring nicht eingerissen, verdreht oder
verzogen ist, und keine Absplitterungen, Kratzer oder Sandeinschlüsse
aufweist. Wenn er eingerissen ist oder Kratzspuren aufweist, wechseln
Sie ihn aus.
v Risse
v Verbogen
v Verzogen
v
v Einkerbungen
v
Absplitterungen
Sandeinschlüsse
2-DE

3 Die O-Ring-Nut überprüfen.
Entfernen Sie sorgfältig alle Sand- oder getrockneten Salzkörnchen, die in
die Nut gelangt sind.
4 Die anderen Kontaktfläche, auf der der O-Ring aufliegt,
kontrollieren.
5 Den O-Ring mit dem mitgelieferten Spezialfett einfetten.
• Fetten Sie den ganzen O-Ring leicht mit einem Tropfen Fett mit Ihren
Fingern ein, wie in der Abbildung gezeigt.
• Der ganze O-Ring muss stets leicht eingefettet sein. Das Fett schützt den
O-Ring und gewährleistet eine lange Lebensdauer.
Fett
Verwenden Sie ausschließlich das mitgelieferte Fett. Bei anderen Arten
von Fett wird der O-Ring beschädigt und Wasser kann eindringen.
6 Den O-Rings in die Nut des Unterwassergehäuses einsetzen.
Setzen Sie den O-Ring gleichmäßig unter Beachtung der folgenden Punkte
in die Nut ein:
– Es darf sich kein Schmutz auf dem O-Ring befinden.
– Der O-Ring darf nicht verdreht sein und nicht hervorstehen.
– Ziehen Sie nicht am O-Ring.
Falsch Richtig
3-DE

Handhabung des O-Rings (Fortsetzung)
Endkontrolle
Vergewissern Sie sich nochmals, dass der O-Ring nicht verschmutzt,
eingerissen oder verdreht ist usw.
Überprüfen auf wasserdichten Abschluss
Vor dem Einsetzen des Geräts schließen Sie das Unterwassergehäuse
immer und tauchen es bis in eine Tiefe von etwa 15 cm ungefähr drei
Minuten lang in Wasser ein und vergewissern sich, dass kein Wasser
eindringt.
PVORSICHT
Nachdem Sie Bilder auf sandigem Meeresboden aufgenommen oder das
Gehäuse in den Sand gelegt haben, nehmen Sie den O-Ring heraus und
überprüfen Sie ihn.
Halten Sie einen Ersatz-O-Ring bereit.
Wenn beim Aufnehmen Probleme auftreten,
wechseln Sie den O-Ring aus.
Hinweis zur Lebensdauer des O-Rings
Wechseln Sie den O-Ring nach einer Betriebszeit von einem Jahr aus.
Ein älterer O-Ring kann sich verformt haben und nicht mehr richtig
dichten, selbst wenn er keine Risse oder Einkerbungen aufweist.
4-DE

Italiano
* La custodia subacquea utilizzata può differire da quella mostrata nelle
illustrazioni.
Che cosa è una guarnizione toroidale?
La guarnizione toroidale agisce in modo da preservare l’impermeabilità
della custodia subacquea e di altre attrezzature.
Guarnizione
toroidale
La manutenzione della guarnizione toroidale è
molto importante. Se la manutenzione della
guarnizione toroidale non viene eseguita secondo
le istruzioni, possono essere causate infiltrazioni
d’acqua che potrebbero far affondare la custodia
subacquea.
1-IT

Maneggio della guarnizione toroidale
Collocare la guarnizione toroidale in posizione
Evitare di collocare la guarnizione toroidale in luoghi con polvere o sabbia.
1 Rimuovere la guarnizione toroidale.
Guarnizione
toroidale
Per rimuovere la guarnizione toroidale, premerla leggermente e farla
scorrere in direzione della freccia come illustrato. La guarnizione toroidale
è abbastanza lenta da poter rimossa facilmente. Fare attenzione a non
graffiare la guarnizione toroidale con le unghie.
2 Ispezionare la guarnizione toroidale.
• Controllare bene quanto segue e pulire con un panno morbido o un
fazzoletto di carta.
– Sono presenti sporco, sabbia, capelli, polvere, sale, pelucchi, ecc.
–È rimasto lubrificante vecchio sulla guarnizione toroidale?
v Sporco v Sabbia v Capelli v Polvere v Sale
v Pelucchi
•Far passare leggermente un dito lungo la guarnizione toroidale per
controllare che non sia presente sporco non visibile.
• Dopo aver pulito la guarnizione toroidale, fare attenzione ad evitare che
fibre del panno o del fazzoletto di carta rimangano sulla superficie della
guarnizione toroidale.
• Controllare che la guarnizione toroidale non presenti incrinature,
storture, distorsioni, crepe sottili, graffi, penetrazioni di sabbia, ecc.
Sostituire la guarnizione toroidale se è incrinata o graffiata.
v Incrinature
v Storture
v Distorsioni
v Crepe
v Graffi
v Penetrazioni
sottili
di sabbia
2-IT

