Sony ILCE-6000L – page 16
Manual for Sony ILCE-6000L
Table of contents

Znaki towarowe
• Symbol N jest znakiem
• Memory Stick i są znakami
towarowym lub zastrzeżonym
towarowymi lub zastrzeżonymi
znakiem towarowym NFC Forum,
znakami towarowymi Sony
Inc. w Stanach Zjednoczonych i w
Corporation.
innych krajach.
• „AVCHD Progressive” i logotyp
• DLNA oraz DLNA CERTIFIED
„AVCHD Progressive” są
to znaki towarowe Digital Living
znakami towarowymi Panasonic
Network Alliance.
Corporation i Sony Corporation.
• Facebook oraz logo „f” to znaki
• Dolby i symbol podwójnego D to
towarowe lub zarejestrowane
znaki handlowe Dolby
znaki towarowe Facebook, Inc.
Laboratories.
• YouTube oraz logo YouTube to
• Terminy HDMI oraz HDMI High-
znaki towarowe lub
Definition Multimedia Interface,
zarejestrowane znaki towarowe
jak również logo HDMI są
Google Inc.
znakami towarowymi lub
• Eye-Fi jest znakiem towarowym
zastrzeżonymi znakami
Eye-Fi, Inc.
towarowymi firmy HDMI
• Dodatkowo, używane w instrukcji
Licensing LLC w Stanach
nazwy systemów i produktów są
Zjednoczonych i innych krajach.
ogólnie znakami towarowymi lub
• Windows jest zastrzeżonym
zastrzeżonymi znakami
znakiem towarowym Microsoft
towarowymi ich twórców lub
Corporation w Stanach
producentów. Jednak w niniejszej
Zjednoczonych i/lub w innych
instrukcji symbole ™ i
mogą nie
®
krajach.
być zawsze stosowane.
• Mac jest zastrzeżonym znakiem
towarowym Apple Inc. w Stanach
Zjednoczonych i w innych krajach.
PL
• iOS to zarejestrowany znak
towarowy lub znak towarowy
Cisco Systems, Inc.
• iPhone i iPad są zastrzeżonymi
znakami towarowymi Apple Inc.
Dodatkowe informacje o tym
w Stanach Zjednoczonych
produkcie i odpowiedzi na
i w innych krajach.
najczęściej zadawane pytania
• Logo SDXC jest znakiem
znajdują się na naszej witrynie
towarowym firmy SD-3C, LLC.
pomocy technicznej.
• Android oraz Google Play to znaki
towarowe Google Inc.
• Wi-Fi, logo Wi-Fi oraz Wi-Fi
PROTECTED SET-UP to
zarejestrowane znaki towarowe
Wi-Fi Alliance.
PL
37

Русский
E-переходник
Дополнительная информация о камере
(“Справочное руководство”)
“Справочное руководство” является интерактивным
руководством. Обращайтесь к нему для получения
подробных инструкций по многим функциям камеры.
1 Перейдите на страницу поддержки Sony.
http://www.sony.net/SonyInfo/Support/
2 Выберите страну или регион.
3 Найдите наименование модели камеры на
странице поддержки.
• Проверьте наименование модели на нижней
стороне камеры.
Просмотр справки
Данная камера оснащена встроенной инструкцией.
MENU
C2
Встроенная справка
Камера отображает пояснения для пунктов MENU и значений
установки.
1 Нажмите кнопку MENU или кнопку Fn (Функция).
2 Выберите нужный пункт, а затем нажмите кнопку C2.
RU
2

Подсказка по съемке
Камера отображает подсказки по съемке для выбранного режима
съемки.
1 Нажмите кнопку C2 в режиме съемки.
2 Выберите нужную подсказку по съемке, а затем нажмите z на
колесике управления.
Подсказка по съемке будет отображена.
• Вы можете выполнять прокрутку экрана с помощью v/V и
переключать подсказки по съемке с помощью b/B.
RU
RU
3

ПРЕДУПРЕЖДЕНИЕ
Для уменьшения опасности возгорания или поражения
электрическим током не подвергайте аппарат воздействию
дождя или влаги.
ВАЖНЫЕ ИНСТРУКЦИИ ПО ТЕХНИКЕ
БЕЗОПАСНОСТИ
-СОХРАНИТЕ ЭТИ ИНСТРУКЦИИ
ОПАСНОСТЬ
ДЛЯ УМЕНЬШЕНИЯ ОПАСНОСТИ
ВОЗГОРАНИЯ ИЛИ ПОРАЖЕНИЯ
ЭЛЕКТРИЧЕСКИМ ТОКОМ СТРОГО
СОБЛЮДАЙТЕ ЭТИ ИНСТРУКЦИИ
ПРЕДУПРЕЖДЕНИЕ
[ Батарейный блок
Неправильное обращение с батарейным блоком может стать причиной его
взрыва, возгорания, а также химических ожогов. Соблюдайте следующие
меры предосторожности.
• Не разбирайте блок.
• Не подвергайте батарейный блок каким бы то ни было механическим
воздействиям: ударам, падениям или попаданиям под тяжелые предметы.
• Во избежание короткого замыкания не допускайте контакта металлических
предметов с контактами батарейного блока.
• Не допускайте нагрева батарейного блока до температуры выше 60 °C:
избегайте воздействия на него прямых солнечных лучей, а также не
оставляйте в припаркованном на солнце автомобиле.
• Запрещается сжигать блок или бросать его в огонь.
• Не следует использовать поврежденные и протекшие литий-ионные батареи.
• Для зарядки батарейного блока используйте оригинальное зарядное
устройство Sony или другое совместимое зарядное устройство.
• Храните батарейный блок в недоступном для детей месте.
• Храните батарейный блок в сухом месте.
• Замену следует выполнять только на батарейный блок того же или
аналогичного типа, рекомендованный Sony.
• Утилизация использованных батарейных блоков должна производиться
надлежащим образом в соответствии с инструкциями.
RU
4
WiFi функцию следует использовать исключительно внутри помещений.

ИНФОРМАЦИЯ О ДЕКЛАРИРОВАНИИ
ПРОДУКЦИИ
[ Модуль беспроводной передачи данных, модель TypeWN
зарегистрирована Федеральным Агентством Связи
(Регистрационный номер в Госреестре: Д-РД-1983 от
20.07.2012)
Декларация соответствия: Д-РД–1983
Дата принятия декларации: 12.07.2012
Декларация действительна до: 12.07.2018
Модуль беспроводной передачи
«Правила применения
данных, модель TypeWN
оборудования радиодоступа. Часть
соответствует требованиям
1. Правила применения
нормативных документов:
оборудования радиодоступа для
беспроводной передачи данных в
диапазоне от 30МГц до 66 ГГц»
утвержденные Приказом
Министерства связи и массовых
коммуникаций РФ № 124 от
14.09.2010 (зарегистрирован
Минюстом России 12.10.2010.
Регистрационный № 18695)
Срок службы: 6 (шесть) лет
[ Адаптер переменного тока
При использовании сетевого адаптера переменного тока воспользуйтесь
близлежащей сетевой розеткой. Если при использовании аппарата возникает
RU
неисправность, немедленно отсоедините сетевой адаптер переменного тока от
сетевой розетки.
Сетевой шнур, если он прилагается, предназначен специально для
использования только с данным фотоаппаратом, и не должен использоваться с
другим электрическим оборудованием.
Только для модели предназначеных для рынков России и стран СНГ
RU
5

[ Дата изготовления изделия.
Вы можете узнать дату изготовления изделия, взглянув на обозначение “P/D:”,
которое находится на этикетке со штрих кодом картонной коробки.
Знаки, указанные на этикетке со штрих кодом картонной коробки.
P/D:XX XXXX
1 2
1. Месяц изготовления
2. Год изготовления
A-0, B-1, C-2, D-3, E-4, F-5, G-6,
H-7, I-8, J-9.
Дата изготовления литий-ионного батарейного блока указаны на боковой
стороне или на поверхности с наклейкой.
5 буквенно-цифровых символов
XXXXX
7: 2007 г.
A: Январь
8: 2008 г.
B: Февраль
9: 2009 г.
C: Март
0: 2010 г.
D: Апрель
. . .
E: Май
F: Июнь
G: Июль
H: Август
I: Сентябрь
J: Октябрь
K: Ноябрь
L: Декабрь
RU
6

Для покупателей в Европе
[ Примечание для клиентов в странах, на которые
распространяются Директивы ЕС
Изготовитель: Sony Corporation, 1-7-1 Konan Minato-ku Tokyo, 108-0075 Japan
Для запросов относительно соответствия данного изделия законодательству
Европейского Союза: Sony Deutschland GmbH, Hedelfinger Strasse 61, 70327
Stuttgart, Germany
Настоящим Sony Corporation заявляет, что данное оборудование
соответствует основным требованиям и другим необходимым положениям
директивы 1999/5/EC. Для получения более подробной информации,
пожалуйста, обратитесь по следующему URL-адресу:
http://www.compliance.sony.de/
[ Уведомление
Если статическое электричество или электромагнитныe силы приводят к сбою
в передачe данных, перезапустите приложение или отключите и снова
подключите коммуникационный кабель (USB и т.д.).
Данное изделие было испытано и признано соответствующим диапазону,
установленному инструкцией EMC, по использованию соединительных
кабелей короче 3 метров.
Электромагнитные поля определенных частот могут влиять на изображение и
звук данного аппарата.
RU
[ Утилизация использованных элементов питания и
отслужившего электрического и электронного
оборудования (Директива применяется в странах Евросоюза
и других европейских странах, где действуют системы
раздельного сбора отходов)
RU
7

Для покупателей, купивших фотоаппараты в
магазинах Японии, обслуживающих
туристов
[ Примечание
Некоторые сертификационные знаки для стандартов, которые поддерживает
данный фотоаппарат, можно отобразить на экране фотоаппарата.
Выберите MENU t (Настройка) 6 t [Логотип сертифик.].
Если знаки не удается отобразить из-за проблем, таких как неисправность
фотоаппарата, обратитесь к ближайшему дилеру Sony или в местный
авторизованный сервисный центр Sony.
RU
8

Содержание
Подготовка камеры Шаг 1 стр. 10
– Проверка комплектации
– Компоненты камеры
– Вставка аккумулятора
– Зарядка аккумулятора
– Установка карты памяти (продается отдельно)
– Установка/снятие объектива
– Установка часов
Основные операции Шаг 2 стр. 26
– Фотосъемка/видеосъемка
Функция воспроизведения Шаг 3 стр. 27
– Просмотр снимков
Функция записи Шаг 4 стр. 28
– Введение в другие функции
Импортирование изображений в компьютер стр. 30
– Функции PlayMemories Home™
Добавление функций на камере стр. 32
– Добавление функций на камере
RU
Прочее стр. 32
– Количество фотоснимков и время видеозаписи
– Примечания по использованию камеры
– Технические характеристики
Данное руководство относится к нескольким моделям, поставляемым с
различными объективами.
Название модели зависит от прилагаемого объектива. Доступная модель
варьируется в зависимости от стран/регионов.
Название модели Объектив
ILCE-6000 Не прилагается
ILCE-6000L E16 – 50 mm
RU
ILCE-6000Y E55 – 210 mm и E16 – 50 mm
9

Проверка комплектации
Сначала проверьте название модели вашей камеры (стр. 9).
Прилагаемые принадлежности отличаются в зависимости от
модели.
Число в скобках означает количество.
x
Прилагается ко всем
• Плечевой ремень
моделям
(сделано во Вьетнаме и
изготовлено из полиэстера/
• Камера (1)
искусственной кожи) (1)
• Шнур питания (1)* (не
прилагается в США и Канаде)
• Наглазник окуляра (1)
* В комплект поставки камеры
может входить несколько
• Инструкция по эксплуатации
шнуров питания. Используйте
(данное руководство) (1)
шнур, соответствующий
• Wi-Fi Connection/One-touch
стране/региону пребывания.
(NFC) Guide (1)
• Перезаряжаемый
Данная справка поясняет
аккумулятор NP-FW50 (1)
функции, требующие
соединения Wi-Fi.
x
ILCE-6000
• Крышка байонета (1)
• Кабель Micro USB (1)
(Надевается на камеру)
x
ILCE-6000L
• Зум-объектив E16 – 50 mm (1)
• Адаптер переменного тока
(надевается на камеру)/
AC-UB10C/UB10D (1)
Передняя крышка объектива
(1) (надевается на объектив)
RU
10

x
ILCE-6000Y
• Зум-объектив E16 – 50 mm (1)
(надевается на камеру)/
Передняя крышка объектива
(1) (надевается на объектив)
• Зум-объектив E55 – 210 mm
(1)/ Передняя крышка
объектива (1)/ Задняя крышка
объектива (1)/ Светозащитная
бленда объектива (1)
RU
RU
11

Компоненты камеры
H Объектив
I Байонет
2)
J Датчик изображения
K Контакты подсоединения
2)
объектива
1)
Не закрывайте эту часть во
время видеозаписи.
2)
Не прикасайтесь
непосредственно к этой части.
Когда объектив снят
A Кнопка затвора
B Кнопка C1
(Пользовательская 1)
C Датчик дистанционного
управления
D Выключатель ON/OFF
(Питание)
E Лампочка таймера
автоспуска/Подсветка АФ
F Кнопка отсоединения
объектива
1)
G Микрофон
RU
12

F Диск режимов
(Интеллект. Авто)/
(Супер авторежим)/
(Программное авто)/
(Приор. диафрагмы)/
(Приор. выдержки)/
(Ручной экспозиция)/
(Вызов памяти)/
(Видео)/
(Панорамный обзор)/
(Выбор сцены)
G Диск управления
H Индикатор зарядки
1)
I Разъем Multi/Micro USB
• Поддерживает Micro USB-
совместимое устройство.
J HDMI микрогнездо
A Многоинтерфейсный
1)
1)
Для получения подробных
разъем
сведений о совместимых
B Метка положения
дополнительных аксессуарах
датчика изображения
для многоинтерфейсного
C Проушина для плечевого
разъема и разъема Multi/Micro
ремня
USB, посетите веб-сайт Sony
D Датчик Wi-Fi (встроенный)
или обратитесь за
консультацией к дилеру Sony
E Вспышка
или в местный
• Нажмите кнопку (поднятие
уполномоченный сервисный
вспышки) для использования
центр Sony. Вы также можете
вспышки. Вспышка не
RU
использовать аксессуары,
поднимается автоматически.
совместимые с разъемом для
• Если вспышка не
крепления аксессуаров. Работа
используется, опустите ее в
с аксессуарами других
корпус камеры.
производителей не
гарантируется.
RU
13

N ЖК-экран
• Вы можете отрегулировать
экран, установив его под
хорошо видимым углом, и
выполнять съемку из любого
положения.
K Датчик окуляра
L Видоискатель
M Наглазник окуляра
O Диск регулировки диоптра
• Не устанавливается на
• Выполните регулировку с
камеру на заводе.
помощью диска регулировки
Рекомендуется установить
диоптра в соответствии с
наглазник окуляра, если
вашим зрением, пока в
предполагается
видоискателе не появится
использовать видоискатель.
четкое изображение. Если
Установка/снятие
возникает трудность при
наглазника окуляра
повороте диска регулировки
диоптра, снимите наглазник
окуляра, а затем повторно
выполните регулировку
диска.
• Снимите наглазник окуляра
P Кнопка (поднятие
во время установки
вспышки)
дополнительного аксессуара
(продается отдельно) на
Q Кнопка MENU
многоинтерфейсный разъем.
R Для съемки: Кнопка AEL
Для просмотра:
Воспроизведение крупным
планом
S Кнопка MOVIE (Видео)
RU
14

T Для съемки:
B Крышка соединительной
Кнопка Fn (Функция)
пластины
Для просмотра:
• Используйте ее при
Кнопка (Отправ. на
использовании адаптера
смартф.)
переменного тока AC-PW20
• Вы можете отобразить экран
(продается отдельно).
для [Отправ. на смартф.],
Вставьте соединительную
нажимая кнопку (Отправ.
пластину в отсек
на смартф.).
аккумулятора, а затем
U Колесико управления
пропустите провод сквозь
крышку соединительной
V Кнопка C2
пластины, как показано
(Пользовательская 2)/
ниже.
(Удалить)
W Кнопка
(Воспроизведение)
• При закрытии крышки
убедитесь, что провод не
защемлен.
C Отверстие гнезда для
штатива
• Используйте штатив с
винтом длиной менее 5,5 мм.
В противном случае Вы не
сможете плотно закрепить
камеру, что может привести
RU
к ее повреждению.
D Динамик
A (Метка N)
• При подключении камеры к
E Индикатор доступа
смартфону, который
F Крышка отсека
оснащен функцией NFC,
аккумулятора/карты памяти
прикоснитесь к метке.
G Слот карты памяти
• NFC (Near Field
H Слот для вставки
Communication)
аккумулятора
представляет собой
I Рычажок выталкивания
международный стандарт
аккумулятора
технологии беспроводной
связи в коротком диапазоне.
RU
15

x
Объектив
E55 – 210 mm F4.5 – 6.3
См. стр. 41 по характеристикам
OSS (прилагается к
объективов.
ILCE-6000Y)
E PZ 16 – 50 mm F3.5 – 5.6
OSS (прилагается к
ILCE-6000L/ILCE-6000Y)
A Кольцо зуммирования/
фокусировки
B Рычажок зуммирования
A Кольцо фокусировки
C Метка крепления
B Кольцо зуммирования
D Контакты подсоединения
C Шкала фокусного
1)
объектива
расстояния
1)
D Метка фокусного
Не прикасайтесь
расстояния
непосредственно к этой части.
E Контакты подсоединения
1)
объектива
F Метка крепления
1)
Не прикасайтесь
непосредственно к этой части.
RU
16

Вставка аккумулятора
Рычажок выталкивания
аккумулятора
1
Откройте крышку.
2
Вставьте аккумулятор.
• Нажимая рычажок выталкивания аккумулятора, вставьте
аккумулятор так, как показано на рисунке. Убедитесь, что
рычажок выталкивания аккумулятора защелкнулся после
вставки.
• В случае закрывания крышки с неправильно вставленным
аккумулятором можно повредить камеру.
RU
RU
17

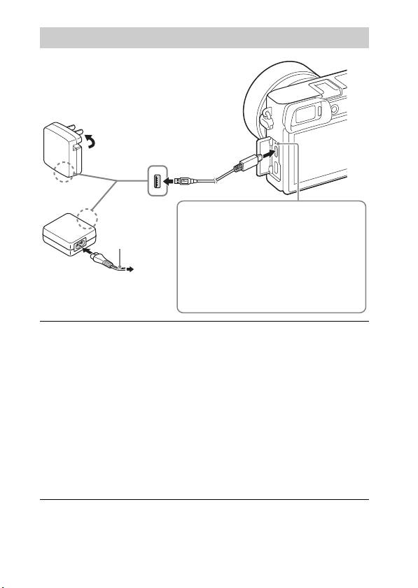
Зарядка аккумулятора
Для покупателей в США и
Канаде
Индикатор зарядки
Светится: Выполняется зарядка
Выключен: Зарядка завершена
Сетевой шнур
Мигает:
Ошибка зарядки или зарядка
временно приостановлена,
Для покупателей стран/
поскольку камера находится за
регионов за пределами
пределами надлежащего
США и Канады
температурного диапазона
1
Подключите камеру к адаптеру переменного тока
(прилагается) с помощью кабеля micro USB
(прилагается).
2
Подсоедините адаптер переменного тока к сетевой
розетке.
Индикатор зарядки горит оранжевым цветом, и начинается
зарядка.
• Выключите камеру на время зарядки аккумулятора.
• Аккумулятор можно заряжать, даже если он частично
заряжен.
• Если лампочка зарядки мигает и зарядка не завершена,
извлеките и снова вставьте аккумулятор.
RU
18

Примечания
• Если индикатор зарядки на камере мигает при подключении адаптера
переменного тока к сетевой розетке, это указывает на то, что зарядка
временно остановлена из-за выхода температуры за пределы
рекомендуемого диапазона. Когда температура возвращается к
установленному диапазону, зарядка возобновляется. Рекомендуется
заряжать аккумулятор при окружающей температуре от 10°C до 30°C.
• Если участок разъема аккумулятора загрязнен, аккумулятор может не
заряжаться эффективно. В этом случае слегка протрите пыль мягкой
тканью или ватным тампоном, чтобы очистить участок разъема
аккумулятора.
• Подсоедините адаптер переменного тока (прилагается) к ближайшей
сетевой розетке. При возникновении каких-либо неисправностей во
время использования адаптера переменного тока немедленно
отключите питание, отсоединив штепсельную вилку от сетевой
розетки.
• По завершении зарядки отключите адаптер переменного тока от
сетевой розетки.
• Обязательно используйте только оригинальный аккумулятор Sony,
кабель micro USB (прилагается) и адаптер переменного тока
(прилагается).
• Питание не подается во время съемки/воспроизведения, если камера
подключена к сетевой розетке (штепсельной розетке) с помощью
прилагаемого адаптера переменного тока. Используйте адаптер
переменного тока AC-PW20 (продается отдельно) для подачи питания к
камере во время съемки/воспроизведения.
x
Время зарядки (Полная зарядка)
Время зарядки с помощью адаптера переменного тока (прилагается)
RU
равно приблизительно 310 минут.
Примечания
• Указанное выше время зарядки относится к зарядке полностью
разряженного аккумулятора при температуре 25°C. Зарядка может
выполняться дольше в зависимости от условий и обстоятельств
использования.
RU
19

x
Зарядка при подключении к компьютеру
Аккумулятор можно зарядить
посредством подсоединения камеры к
компьютеру с помощью кабеля micro
USB.
К гнезду
USB
Примечания
• Обратите внимание на следующие
особенности при зарядке с помощью
компьютера:
– Если камера подключена к ноутбуку с автономным питанием, уровень
зарядки аккумулятора ноутбука снизится. Не выполняйте зарядку в
течение продолжительного периода времени.
– Не следует включать/отключать или перезагружать компьютер либо
переводить его в рабочий режим из спящего, когда между
компьютером и камерой установлено USB-соединение. Это может
привести к неисправности камеры. Перед включением/выключением
или перезагрузкой компьютера, или перед выводом компьютера из
спящего режима отсоедините камеру от компьютера.
– Зарядка с помощью компьютера, выполненного на заказ, или
модифицированного компьютера не гарантируется.
x
Время работы аккумулятора и количество
снимков, которые могут быть записаны и
воспроизведены
Время работы
Количество
аккумулятора
фотоснимков
Съемка
Экран Приблиз. 180 мин. Приблиз. 360
(фотоснимки)
изображений
Видоискатель Приблиз. 155 мин. Приблиз. 310
изображений
Типичная
Экран Приблиз. 60 мин. —
видеосъемка
Видоискатель Приблиз. 60 мин. —
Непрерывная
Экран Приблиз. 90 мин. —
видеосъемка
Видоискатель Приблиз. 90 мин. —
Просмотр (фотоснимки) Приблиз. 275 мин. Приблиз. 5500
RU
изображений
20

