Yamaha CDX-497 – страница 4
Инструкция к CD Плееру Yamaha CDX-497
Оглавление
- СОДЕРЙЖАНИЕ
- СОДЕРЙЖАНИЕ
- ПОДДЕРЖИВАЕМЫЕ ТИПЫ ДИСКОВ ФУНКЦИИ
- РАСПАКОВКА ПРИМЕЧАНИЯ ПО ПУЛЬТУ ДУ
- СОЕДИНЕНИЯ
- ИДЕНТИФИКАЦИЯ KOMПOHEHTOB Фронтальная панель Дисплей
- Пульт ДУ
- ОСНОВНЫЕ ОПЕРАЦИИ
- Пауза воспроизведения Отключение питания Воспроизведение нужной фонограммы Остановка воспроизведения Поиск папки/файла на MP3 или WMA диске (только CDX-497)
- Быстрая прокрутка вперед или назад (Ручной поиск) Переход на начало нужной фонограммы (Поиск с переходом)
- Перключение дисплея
- Настройка выходного уровня (только CDX-497) Переключение яркости дисплея Автоматический интервал
- ВОСПРОИЗВЕДЕНИЕ В СЛУЧАЙНОМ ПОРЯДКЕ ПОВТОРНОЕ ВОСПРОИЗВЕДЕНИЕ Повтор выбранного элемента
- Повторите А-В
- ПРОГРАММНОЕ ВОСПРОИЗВЕДЕНИЕ
- ИНДЕКСНЫЙ ПOИCK
- Автоматическое программирование кассеты (для Audio CD-диска) ПРОГРАММИРОВАНИЕ ФОНОГРАММ ДЛЯ ЗАПИСИ НА КАССЕТУ
- Примечания
- Ручное программирование кассеты (для Audio CD-диска)
- Программирование кассеты в случайном порядке (для Audio CD-диска)
- Автоматический поиск пикового уровня на диске (для Audio CD-диска)
- СИНХРОННАЯ ЗАПИСЬ CD-ДИСКА
- Примечания по обращению с компакт-дисками ПРИМЕЧАНИЯ ПО ДИСКАМ Диски, воспроизводимые на данном аппарате
- ВОЗМОЖНЫЕ НЕИСПРАВНОСТИ И СПОСОБЫ ИХ УСТРАНЕНИЯ
- ТЕХНИЧЕСКИЕ ХАРАКТЕРИСТИКИ
9
De
Deutsc
h
●
Beim Suchlauf kann die Musikwiedergabe, allerdings
verzerrt, mitgehört werden, um eine bestimmte Stelle
aufzufinden oder einen raschen Überblick über den
Titelinhalt zu erhalten.
●
Wenn manuelle Suche ausgeführt wird, wird die Pause
aufgehoben.
●
Diese Vorgänge können auch ausgeführt werden, indem
/
und
/
auf der Frontblende verwendet
werden.
Suchlauf in Vorwärtsrichtung
(gedrückt halten)
Suchlauf in Rückwärtsrichtung
(gedrückt halten)
Zum schnellen Vor- oder Rückspulen der Wiedergabe (Manuelle Suche)
Wiedergabe vom Beginn des nächsten Titels
Wiedergabe vom Beginn des gegenwärtigen Titels
Wiedergabe vom Beginn des vorherigen Titels
●
Diese Bedienungsschritte können auch in der Pausen-
oder Stop-Betriebsart ausgeführt werden.
●
Durch Gedrückthalten von
(oder
) an der
Fernbedienung werden Tracks automatisch in Richtung
niedrigerer (oder höherer) Nummern übersprungen.
●
Diese Vorgänge können auch ausgeführt werden, indem
/
und
/
auf der Frontblende verwendet
werden.
Um an den Anfang des gewünschten Tracks zu springen (Überspringen-Suche)
(einmal drücken)
(einmal drücken)
(zweimal drücken)
SEARCH
SEARCH
03_Ge_02_BOD_CDX-397_497_G.pm
5/8/06, 10:37 PM
9
10
De
Hinweise
●
Die Textinformation wird möglicherweise bei manchen CD-TEXT-Discs nicht angezeigt.
●
Das Gerät kann nur alphanumerische Zeichen anzeigen.
Hinweise
●
Manche Information von ID3-Tags wird möglicherweise bei manchen Discs nicht angezeigt.
●
Das Gerät kann nur alphanumerische Zeichen anzeigen.
TIME/INFO
MP3
MP3
MP3
MP3
MP3
MP3
MP3
MP3
MP3
CD
CD
CD
CD
CD
CD
CD
TIME/INFO
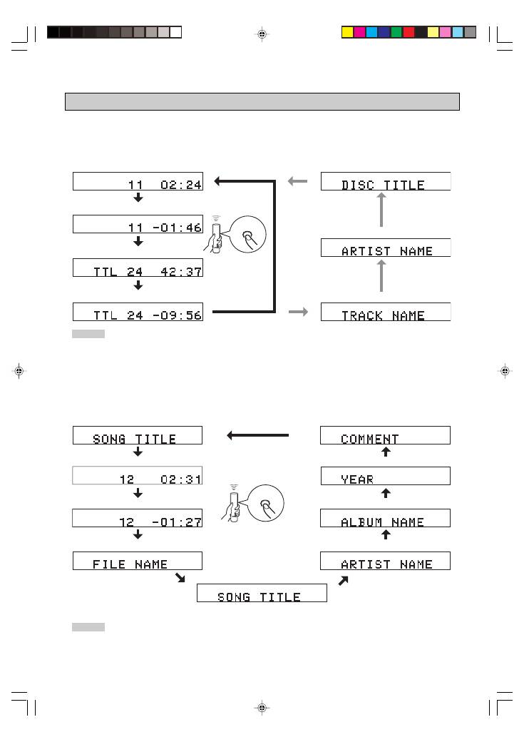
Sie können die folgenden Anzeigen (
1
–
4
) wählen, indem Sie
TIME/INFO
drücken. Bei der Wiedergabe einer CD-
TEXT-Disc werden auch Disc-Titel, Interpretenname und Trackname (
5
–
7
) angezeigt.
1
Verstrichene Spielzeit des gegenwärtigen Titels (Vorgabe)
2
Restspielzeit des gegenwärtigen Titels
3
Gesamtaufnahmezeit einer Disc
4
Restliche Spielzeit auf der Disc
Umschalten der Zeitanzeige
Sie können die folgenden Anzeigen (
1
–
9
) wählen, indem Sie
TIME/INFO
drücken.
*
Die durchrollende Anzeige zeigt den Song-Titel, den Interpretenname und den Albumnamen des gewählten Gegenstands.
1
Durchrollende Anzeige (Vorgabe)
*
2
Verstrichene Spielzeit der gegenwärtigen Datei
8
Jahr
9
Kommentar
7
Albumname
5
Songtitel
4
Dateiname
3
Restspielzeit der gegenwärtigen Datei
7
Disc-Titel
6
Name des Künstlers
5
Bezeichnung des Titels
6
Name des Künstlers
■
Bei der Wiedergabe einer MP3 oder WMA
■
Bei der Wiedergabe einer Audio-CD
03_Ge_02_BOD_CDX-397_497_G.pm
5/8/06, 10:37 PM
10
11
De
Deutsch
Hinweise
●
Bei eingeschalteter Leerstelleneinfügefunktion sind bei der
Anzeige der Gesamtspielzeit und der Restspielzeit die Pausen
von 4 Sekunden zwischen den Titeln eingeschlossen.
●
Wenn die automatische Leerstellenfunktion bei der Wiedergabe
aktiv ist, erscheint „AUTO SPC 4“ (die restlichen Sekunden
des Intervalls) und wird bei jedem Blinken im Intervall
zwischen den Tracks heruntergezählt.
Wenn Sie mit Kopfhörern hören, schließen Sie die
Kopfhörer an die
PHONES
-Buchse an.
Sie können die Helligkeit des Displays des DVD-Receivers
in drei Stufen ändern, indem Sie
DIMMER
drücken.
Einstellen des Ausgangspegels (nur CDX-497)
Sie können den Pegel der zum Verstärker ausgege4benen
Signale einstellen, indem Sie
OUTPUT LEVEL +/–
betätigen.
Wenn Sie eine Disc auf Band mit unzureichendem Zeitabstand zwischen den Tracks aufzeichnen, kann das Tonbandgerät
nicht richtig Leerstellensuche auf dem Band ausführen. Um einen Tracksuchvorgang zu erlauben, verwenden Sie diese
Funktion, um zwischen Tracks einen Intervall von etwa 4 Sekunden einzufügen.
Änderung der Displayhelligkeit
DIMMER
SPACE
OUTPUT
LEVEL
Automatisches Einfügen von Leerstellen
Drücken Sie
SPACE
, um die aktuelle Einstellung
aufleuchten zu lassen.
Leuchtet etwa 3 Sekunden
lang auf.
Während die aktuelle Einstellung aufleuchtet, drücken
Sie
SPACE
, um die Einstellung zwischen „AUTO SPACE
ON“ und „AUTO SPACE OFF“ umzuschalten.
Normale Displayhelligkeit
Etwas geringere Displayhelligkeit
Geringere Displayhelligkeit
Hinweis
Bei der Wiedergabe einer MP3/WMA-Disc ist der Pegel des an
die Klemme DIGITAL OUT (OPTICAL oder COAXIAL)
angelegten Signals auf Maximum gestellt, ungeachtet des
angezeigten Lautstärkepegels.
Hinweis
Beim Starten der Wiedergabe achten Sie auf den
Audioausgangspegel.
03_Ge_02_BOD_CDX-397_497_G.pm
11/1/06, 18:46
11
12
De
Hinweis
Wenn die Stromversorgung während der Zufallswiedergabe
ausgeschaltet wird, wird durch erneutes Drücken von
POWER
die Zufallswiedergabe wieder eingeschaltet.
”
(Einzeln wiederholen)
Die Wiedergabe eines bestimmten Titels wird wiederholt.
*
Diese Wiedergabewiederholung ist auch in der Programm- und
Zufallswiedergabebetriebsart möglich. (Beim Ausschalten der
Wiedergabewiederholung wird wieder auf die Programm- bzw.
Zufallswiedergabebetriebsart zurückgeschaltet.)
”
(Ordner wiederholen)
MP3,WMA
(nur CDX-497)
*
Alle Dateien im gewählten Ordner werden wiederholt
abgespielt.
ALL
”
(Voll wiederholen)
Die gesamten Plattentitel werden wiederholt.
*
Bei der Programmwiedergabe werden die programmierten Titel
wiederholt.
*
Wenn die Stromversorgung während der Vollen Wiederholung
ausgeschaltet wird, wird durch erneutes Drücken von
POWER
die volle Wiederholung wieder eingeschaltet.
ALL
Die Titel der CD können in Zufallsreihenfolge wiedergegeben werden.
ZUFALLSWIEDERGABE
Einschalten der Zufallswiedergabe
Drücken Sie
RANDOM.
Ausschalten der Zufallswiedergabe
Drücken Sie
oder
RANDOM
.
Sie können einen gewünschten Track, ein Album oder die ganze Disc wiederholt abspielen, indem Sie
REPEAT
drücken. Der
Wiederhol-Wiedergabemodus schaltet bei jedem Drücken von
REPEAT
um.
WIEDERGABEWIEDERHOLUNG
oder
RANDOM
RANDOM
REPEAT
(Einzeln wiederholen)
(Voll wiederholen)
(aus)
Wiederholen eines gewählten Punkts
(Ordner wiederholen)
Blinkt.
Audio CD
MP3, WMA
03_Ge_02_BOD_CDX-397_497_G.pm
5/8/06, 10:37 PM
12
13
De
Deutsc
h
Wiederholung A-B
Sie können einen bestimmten Abschnitt der Disc spezifizieren, indem Sie zwei Punkte (Start- und Endpunkt) setzen.
1
Drücken Sie
A-B
zum Wählen des Startpunkts der
Wiederhol-Wiedergabe.
2
Drücken Sie
A-B
zum Wählen des Endpunkts der
Wiederhol-Wiedergabe.
Der gewählte Abschnitt wird wiederholt abgespielt.
„A
”
“ leuchtet
auf „B“ blinkt.
„A
”
B“ leuchtet auf.
A–B
A–B
Zum Abbrechen der Wiederholung von A-B
Drücken Sie
A-B
wiederholt, bis „A
”
”
”
”
”
B“ aus dem Display
verschwindet.
A
B
A
B
03_Ge_02_BOD_CDX-397_497_G.pm
5/8/06, 10:37 PM
13
14
De
1
Drücken Sie
zum Stoppen der Wiedergabe.
2
Drücken Sie auf
PROGRAM
.
Display-Information in Schritt 3
1
Zeigt die Gesamtzahl der gegenwärtig programmierten
Tracks.
2
Gesamtspielzeit der programmierten Titel.
3
Zeigt die Programmnummer für den nächsten
Programmtitel
Durch Vorprogrammieren können Sie die Titel in beliebiger Reihenfolge wiedergeben. Sie können 40 Titel nacheinander
programmieren.
PROGRAMMWIEDERGABE
3
Drücken Sie für das
Programmieren eines Titels
die entsprechende
Zahlentaste.
Wiederholen Sie diesen Schritt, um weitere Titel zu
programmieren. Sie können den gleichen Titel
auch mehrmals programmieren.
Die Dateinummer wird pro Disc und nicht pro Ordner
erkannt. Das heißt die Jeder Datei zugewiesene
Nummer entspricht der Sequenz einer Disc.
4
Wenn die Programmierung beendet ist, drücken Sie
PROGRAM
.
5
Drücken Sie
, um die Programmwiedergabe zu
starten.
REPEAT
DIMMER
RANDOM
INDEX
0
9
6
5
8
7
2
1
4
3
A–B
PROGRAM
CLEAR
3
2, 4
SEARCH
TIME/INFO
FOLDER
SYNCHRO
TAPE
PEAK
SPACE
5
1
PROGRAM
PROG.
6
PROGRAM
PROG.
PROG.
2
1
3
MP3, WMA (nur CDX-497)
03_Ge_02_BOD_CDX-397_497_G.pm
5/8/06, 10:37 PM
14
15
De
Deutsc
h
Ausschalten der Indexsuchfunktion
Drücken Sie
INDEX
.
Hinweise
●
Nicht alle CDs besitzen Indexnummern und auch CDs mit
Indexnummern besitzen in manchen Fällen nur eine Nummer.
●
Mit Indexsystemen können Titel weiter unterteilt werden. Aus
der CD-Beilage ist ersichtlich, ob auf der CD Indexnummern
mit der Bezeichung
vorhanden sind.
●
Es gibt auch CDs bei denen die Wiedergabe etwas vor der mit
einer Indexnummer gekennzeichneten Stelle beginnt.
●
Falls keiner Indexpunkt vorhanden sind, beginnt die
Wiedergabe mit dem gewählten Titel.
●
Die Indexnummer kann nur bei leuchtender Anzeige „INDEX“
eingegeben werden.
Überprüfen des Programms
1.
Wenn die Programm-Wiedergabe läuft, drücken Sie
.
2.
Drücken Sie auf
PROGRAM
.
3.
Bei jedem Drücken von
können die
Tracknummern und die Reihenfolge programmierter
Tracks der Reihe nach geprüft werden. Die Anzeige der
Tracknummer kann zurückgesetzt werden (in
umgekehrter Reihenfolge), indem
gedrückt wird.
Ändern des Programms
1.
Führen Sie die Schritte in „Überprüfen des Programms“
aus.
2.
Die zu korrigierende Tracknummer wird angezeigt,
indem Sie
/
drücken.
3.
Wählen Sie die gewünschte Titelnummer, die Sie neu
programmieren wollen, mit den Zahlentasten. Der
vorher programmierte Titel wird gelöscht und an seiner
Stelle der neu eingegebene Titel programmiert.
4.
Drücken Sie
PROGRAM
zum Fertigstellen der
Korrektur. Zum Starten der Programmwiedergabe sofort
nach der Korrektur drücken Sie
anstelle von
PROGRAM
.
Falls die Titel einer CD mit Indexnummern versehen sind, kann die Wiedergabe von einer gewünschten Indexnummer
begonnen werden.
INDEXSUCHLAUF
6
INDEX
1
Drücken Sie
INDEX.
2
Drücken Sie eine Zahlentaste,
um die gewünschte
Indexnummer einzugeben.
Ausschalten der Programmwiedergabe
Drücken Sie auf
. Die zuerst programmierte
Tracknummer wird angezeigt. Um mit der Programm-
Wiedergabe fortzusetzen, drücken Sie
. Die Wiedergabe
startet mit der zuerst programmierten Tracknummer.
Löschen des Programms
Für das Löschen gibt es die folgenden Methoden.
●
Drücken Sie
oder
CLEAR
, während das Gerät
gestoppt ist.
●
Öffnen Sie die Disc-Schublade.
●
Schalten Sie das Gerät aus.
03_Ge_02_BOD_CDX-397_497_G.pm
5/8/06, 10:37 PM
15
16
De
1
Drücken Sie
zum Stoppen der Wiedergabe.
*
Die Spitzenpegel-Suchfunktion erleichtert das Einstellen
des richtigen Aufnahme-Aussteuerungspegels am
Cassettendeck. (Einzelheiten siehe Seite 20.)
2
Wenn gewünschte können Sie automatisch
zusätzliche Zeit zwischen Tracks einfügen.
(Einzelheiten siehe Seite 11.)
3
Drücken Sie
TAPE
zur Anzeige der gesamten
möglichen Aufnahmezeit im Display.
Sie können eine der vier Bandlängen wählen,
indem Sie
TAPE
drücken.
SPACE
46
60
90
54
Der CD-Spieler kann die Titel einer CD für die Aufnahme auf einer Cassette programmieren. Nach Eingabe der
Cassettengesamtspielzeit können die Titel automatisch oder manuell für die Aufnahme programmiert werden, so daß die
Aufnahmeleerzeit am Cassettenende möglichst klein ist.
TITELPROGRAMMIERUNG FÜR CASSETTENAUFNAHMEN
Falls gewünscht, kann die Cassettengesamtspielzeit
auch manuell eingegeben werden.
Beispiel: Für eine C-64-Cassette (32 Minuten pro
Seite) geben Sie „6“ und „4“ ein.
+
4
Drücken Sie
REPEAT
.
Die Titel für die Seite A und B werden automatisch
entsprechend der Cassettengesamtspielzeit
programmiert.
5
Starten Sie die Aufnahme auf dem Tonbandgerät,
und drücken Wie dann
an der Fernbedienung
dieses Geräts.
6
Dieses Gerät schaltet am Ende der Bandseite A
automatisch auf Pause. Drehen Sie die Bandseite
auf B um, setzen Sie die Aufnahme auf dem
Tonbandgerät fort, und drücken Sie dann
oder
an der Fernbedienung dieses Geräts, um die
Wiedergabe zu starten.
(aus)
SEARCH
SYNCHRO
TAPE
PEAK
SPACE
REPEAT
DIMMER
RANDOM
INDEX
0
9
6
5
8
7
2
1
4
3
A–B
PROGRAM
CLEAR
3
3
2
SEARCH
TIME/INFO
FOLDER
SYNCHRO
TAPE
PEAK
SPACE
REPEAT
DIMMER
RANDOM
A–B
PROGRAM
CLEAR
4
1
6
5, 6
TAPE
6
4
REPEAT
Die Titel der CD werden automatisch in unveränderter Reihenfolge programmiert.
Automatische Programmierung (Für Audio-CD)
AUTO SPC ON
„
TAPE 46
“ erscheint.
03_Ge_02_BOD_CDX-397_497_G.pm
5/8/06, 10:37 PM
16
17
De
Deutsc
h
Hinweise
●
In Schritt 4 können Sie die Programmdaten für Bandseite A
und B prüfen, nachdem Sie
REPEAT
drücken. Die
Information für jede Seite erscheint 3 Sekunden lang.
1
Zeigt die Anzahl der programmierten Tracks.
2
Zeigt die Gesamtspielzeit der programmierten Tracks.
3
Anzeige der Cassettenseite.
●
Bei unzureichender Cassettenspielzeit können nicht alle Titel
programmiert werden. Verwenden Sie in diesem Fall eine
Cassette mit längerer als der eigentlichen Spielzeit.
●
Sie können Programmdaten prüfen, aufheben oder korrigieren.
(Einzelheiten siehe Seite 15.)
*
Beim Überprüfen von Programmen erscheint “PAUSE” oder
“Pu” zwischen den Titelnummern für die Seite A und B.
●
Es können insgesamt bis zu 40 Titel programmiert werden.
Eine zwischen Seite A und B eingefügte Pause wird als ein
Titel gezählt.
●
Die CD-Synchronaufnahmefunktion kann verwendet werden,
wenn Ihr Tonbandgerät mit diesem Gerät kompatibel ist. In
diesem Fall drücken Sie in Schritt 5 und 6 auf
SYNCHRO
und
drücken dann
an der Fernbedienung dieses Geräts. Die
Aufnahme startet automatisch. (Einzelheiten siehe Seite 21.)
PROG.
3
2
1
03_Ge_02_BOD_CDX-397_497_G.pm
5/8/06, 10:37 PM
17
18
De
5
Wählen Sie die Titel für die Aufnahme mit den
Zahlentasten (auf der Cassettenseite B) in der
gewünschten Reihenfolge.
6
Drücken Sie auf
PROGRAM
.
7
Starten Sie die Aufnahme auf dem Tonbandgerät,
und drücken Wie dann
an der Fernbedienung
dieses Geräts.
8
Dieses Gerät schaltet am Ende der Bandseite A
automatisch auf Pause. Drehen Sie die Bandseite
auf B um, setzen Sie die Aufnahme auf dem
Tonbandgerät fort, und drücken Sie dann
oder
an der Fernbedienung dieses Geräts, um die
Wiedergabe zu starten.
Manuelle Programmierung (Für Audio-CD)
1
Führen Sie die Schritte 1 bis 3 auf Seite 16 aus.
2
Drücken Sie auf
PROGRAM
.
3
Wählen Sie die Titel mit den Zahlentasten (für die
Aufnahme auf der Cassettenseite A) in der
gewünschten Reihenfolge.
*
Die programmierten Tracknummern leuchten im Display auf.
4
Wenn die Track-Wahl für Seite A beendet ist,
drücken Sie
TAPE
.
Eine Pause wird eingefügt.
SEARCH
SYNCHRO
TAPE
PEAK
SPACE
REPEAT
DIMMER
RANDOM
INDEX
0
9
6
5
8
7
2
1
4
3
A–B
PROGRAM
CLEAR
4
3, 5
2
SEARCH
TIME/INFO
FOLDER
SYNCHRO
TAPE
PEAK
SPACE
REPEAT
DIMMER
RANDOM
A–B
PROGRAM
CLEAR
7, 8
8
6
PROGRAM
0
9
6
5
8
7
2
1
4
3
0
9
6
5
8
7
2
1
4
3
PROG.
TAPE
PROG.
Für die Aufnahme gewünschter Titel in beliebiger Reihenfolge.
Hinweise
●
Wenn in Schritt 3 oder 5 „Err“ im Display erscheint, kann die
gerade gewählte Tracknummer nicht programmiert werden,
weil nicht genug Zeit auf dem Band verbleibt.
●
Wenn im Schritt 3 oder 5 ein Titel gewählt wird, so wird die
entsprechende Titelnummer und die verbleibende
Cassettenspielzeit angezeigt; danach wird die nächste
programmierte Titelnummer angezeigt.
●
Sie können Programmdaten prüfen, aufheben oder korrigieren.
(Einzelheiten siehe Seite 15.)
*
Beim Überprüfen von Programmen erscheint „Pu“ zwischen
den Titelnummern für die Seite A und B.
●
Es können insgesamt bis zu 40 Titel programmiert werden.
Eine eingefügte Pause wird dabei als ein Titel gezählt.
●
Die CD-Synchronaufnahmefunktion kann verwendet werden,
wenn Ihr Tonbandgerät mit diesem Gerät kompatibel ist. In
diesem Fall drücken Sie in Schritt 7 und 8 auf
SYNCHRO
und
drücken dann
an der Fernbedienung dieses Geräts. Die
Aufnahme startet automatisch. (Einzelheiten siehe Seite 21.)
Blinkt.
03_Ge_02_BOD_CDX-397_497_G.pm
6/1/06, 8:30 PM
18
19
De
Deutsc
h
Hinweise
●
Da die programmierten Daten bei jedem Drücken von
RANDOM
wechseln, unterscheidet sich auch der nicht
bespielte Platz am Ende jeder Bandspur.
●
Bei unzureichender Cassettenspielzeit können nicht alle Titel
programmiert werden. Verwenden Sie in diesem Fall eine
Cassette mit längerer als der eigentlichen Spielzeit.
●
In Schritt 2 können Sie die Programmdaten für Bandseite A
und B prüfen. Die Information für jede Seite erscheint 3
Sekunden lang.
1
Zeigt die Anzahl der programmierten Tracks.
2
Zeigt die Gesamtspielzeit der programmierten Tracks.
3
Anzeige der Cassettenseite.
●
Es können insgesamt bis zu 40 Titel programmiert werden.
Eine zwischen Seite A und B eingefügte Pause wird als ein
Titel gezählt.
●
Die CD-Synchronaufnahmefunktion kann verwendet werden,
wenn Ihr Tonbandgerät mit diesem Gerät kompatibel ist. In
diesem Fall drücken Sie in Schritt 3 und 4 auf
SYNCHRO
und
drücken dann
an der Fernbedienung dieses Geräts. Die
Aufnahme startet automatisch. (Einzelheiten siehe Seite 21.)
Programmierung in Zufallsreihenfolge (Für Audio-CD)
1
Führen Sie die Schritte 1 bis 3 auf Seite 16 aus.
2
Drücken Sie
RANDOM
.
*
Die Titel für die Seite A und B werden automatisch in
Zufallsreihenfolge, entsprechend der
Cassettengesamtspielzeit programmiert.
3
Starten Sie die Aufnahme auf dem Tonbandgerät,
und drücken Wie dann
an der Fernbedienung
dieses Geräts.
4
Dieses Gerät schaltet am Ende der Bandseite A
automatisch auf Pause. Drehen Sie die Bandseite
auf B um, setzen Sie die Aufnahme auf dem
Tonbandgerät fort, und drücken Sie dann
oder
an der Fernbedienung dieses Geräts, um die
Wiedergabe zu starten.
SEARCH
TIME/INFO
FOLDER
SYNCHRO
TAPE
PEAK
SPACE
REPEAT
DIMMER
RANDOM
A–B
PROGRAM
CLEAR
3, 4
4
2
RANDOM
PROG. RANDOM
3
2
1
Die Titel werden für die Aufnahme auf Cassetten in Zufallsreihenfolge programmiert.
03_Ge_02_BOD_CDX-397_497_G.pm
6/1/06, 8:30 PM
19
20
De
Ausschalten der Spitzenpegelsuche
Drücken Sie auf
.
Hinweis
Bei mehrmaliger Spitzenpegelsuche der gleichen CD ist es
möglich, daß nicht immer die gleiche Stelle gefunden wird, weil
die Spitzenwertsuche von bestimmten Teilen der CD, die durch
den internen Mikroprozessor nach dem Zufallsprinzip ausgewählt
werden, ausgeführt wird.
1
Drücken Sie
zum Stoppen der Wiedergabe.
2
Drücken Sie
PEAK
.
Die Anzeige „PK“ leuchtet auf und der Spitzenpegel
auf der CD wird gesucht.
Für die Spitzenpegelsuche werden einige Minuten
benötigt.
Das Gerät spielt nach dem Suchlauf den Abschnitt
um den Spitzenpegel etwa 4 Sekunden lang
wiederholt ab. Stellen Sie den Aufnahmepegel auf
dem Tonbandgerät entsprechend dem Spitzenpegel
ein. (Für Einzelheiten beachten Sie die
Bedienungsanleitung des Tonbandgeräts.)
Das Gerät sucht automatisch den Spitzenpegel der Disc und spielt den betreffenden Abschnitt wiederholt ab. Bei Aufnahme
auf Band ist dieses Merkmal sehr nützlich zum Einstellen des Aufnahmepegels auf dem Tonbandgerät.
Automatische Spitzenpegelsuche auf einer CD (Für Audio-CD)
PEAK
CD
CD
03_Ge_02_BOD_CDX-397_497_G.pm
5/8/06, 10:37 PM
20
21
De
Deutsc
h
Bei diesem CD-Spieler kann die Cassettenaufnahme automatisch mit der Wiedergabe einer CD synchronisiert werden. Auf
diese Weise läßt sich einfach eine genaue Aufnahme machen.
Für diese Aufnahmeart muß ein Cassettendeck von YAHAMA, das mit einer entsprechenden Funktion ausgerüstet ist,
verwendet werden. (Schlagen Sie in der Cassettendeck-Bedienungsanleitung nach, um herauszufinden, ob das
Cassettendeck kompatibel ist.)
*
Dieses Gerät und das Cassettendeck müssen nahe beieinander aufgestellt werden, so daß Sie mit der Fernbedienung beide Geräte
miteinander steuern können.
CD-SYNCHROAUFNAHME
1
Drücken Sie
)
)
)
)
)
OPEN/CLOSE
zum Öffnen der Disc-
Schublade, und legen Sie eine Disc ein.
2
Legen Sie eine Cassette in das Cassettendeck ein.
*
Die Spitzenpegel-Suchfunktion erleichtert das
Einstellen des richtigen Aufnahme-
Aussteuerungspegels am Cassettendeck. (Einzelheiten
siehe Seite 20.)
3
Drücken Sie
SYNCHRO
.
Dieses Gerät schaltet auf Pausenmodus, und das
Tonbandgerät schaltet auf REC/PAUSE
(Aufnahme/Pause)-Modus.
*
In diesem Fall blinkt die Zeitanzeige dieses Gerätes.
Wählen Sie wenn erforderlich einen gewünschten
Track mit einer Zifferntaste oder
/
.
oder
DIMMER
RANDOM
INDEX
0
9
6
5
8
7
2
1
4
3
OPEN/CLOSE
1
3
SEARCH
TIME/INFO
SYNCHRO
TAPE
PEAK
SPACE
REPEAT
DIMMER
RANDOM
A–B
PROGRAM
CLEAR
3
3
4
5
OPEN/CLOSE
SYNCHRO
5
4
Drücken Sie auf
.
Die Wiedergabe der CD und die Aufnahme des
Cassettendecks werden eingeschaltet.
*
Die Wiedergabe der CD beginnt kurz nach der Aufnahme.
5
Wenn Sie die Aufnahme kurzzeitig unterbrechen
und die Aufnahme von einem gewünschten Track
an neu starten wollen, stoppen Sie dieses Gerät
durch Drücken von
und das Tonbandgerät
ebenfalls, und führen Sie dann Schritt 3-4 erneut
aus.
Ausschalten der CD-Synchroaufnahme
Drücken Sie auf
.
Hinweise
●
Zum Beenden oder Ausschalten der Aufnahme müssen Sie die
entsprechenden Bedienungsschritte am Cassettendeck
ausführen. (Für Einzelheiten beachten Sie die
Bedienungsanleitung des Tonbandgeräts.)
●
Anstelle einer ganzen CD kann auch ein Programm von
zusammengestellten Titeln aufgenommen werden.
(Einzelheiten siehe Seite 14 - 15.)
●
Diese Funktion kann auch zusammen mit der automatischen
Cassetten-Programmierfunktion verwendet werden.
(Einzelheiten siehe Seite 16 - 17.)
03_Ge_02_BOD_CDX-397_497_G.pm
5/8/06, 10:37 PM
21
22
De
Hinweise für die Handhabung von CDs
●
Behandeln Sie die Platten stets
sorgfältig, so daß die Oberfläche nicht
verkratzt wird.
●
CDs werden durch die Wiedergabe nicht abgenutzt aber
Beschädigungen durch unsachgemäße Handhabung
können die Wiedergabequalität beeinträchtigen.
●
Verwenden Sie nur einen Filzstift oder etwas ähnliches,
wenn Sie auf der Beschriftungsseite der CD schreiben.
Verwenden Sie niemals einen Kugelschreiber, Bleistift
usw. mit harter Spitze, da sonst die CD-Wiedergabe
beeinträchtigt werden kann.
●
Die CDs dürfen nicht verbogen werden.
●
Wenn eine Disc z.Z. nicht verwendet wird, nehmen Sie
aus dem Gerät und bewahren Sie sie in der Schutzbox
auf.
●
Beim Entfernen und Aufbewahren darf die Oberfläche der
CD nicht verkratzt werden.
●
Die CD-Wiedergabequalität wird durch Staub oder
geringe Verschmutzung der Oberfläche wie zum Beispiel
Fingerabdrücke nicht beeinträchtigt. Entfernen Sie
stärkere Verschmutzungen mit einem weichen, trockenen
Tuch. Wischen Sie dabei niemals in einer kreisförmigen
Bewegung, sondern stets von innen nach außen.
●
Verwenden Sie für die CDs niemals ein Platten-
Reinigungsmittel, andere Reinigungmittel oder ein
Antistatikspray, da dadurch die Platte angegriffen werden
kann.
●
Setzen Sie die CD-Platten nicht direktem Sonnenlicht,
hohen Temperaturen oder hoher Feuchtigkeit aus, um
Verzug und Beschädigungen zu vermeiden.
NEIN!
Wiedergabe von CD-Singles
Legen Sie die CD-Single in die innere Vertiefung der CD-
Lade. Legen Sie niemals eine normale CD über die CD-
Single ein.
HINWEISE FÜR CDs
CDs die sich mit diesem Gerät
wiedergeben lassen
Verwenden Sie diesen CD-Spieler ausschließlich für die
Wiedergabe von CDs, die mit den folgenden Markierungen
bezeichnet sind. Legen Sie niemals eine andere Platte ein.
Mit diesem Gerät können auch 8cm CD-Singles abgespielt
werden.
....
Compact Discs (Digital-Audio)
Die beliebtesten Discs für handelsübliche
Audio-CDs.
....
CD-R, CD-RW digitale Audio-Discs
Musik-CDs, die durch Kopieren auf eine
CD-R oder CD-RW (einschließlich
Dateien im MP3- oder WMA-Format)
angefertigt wurden.
Hinweise
●
Verwenden Sie nur CD-R oder CD-
RWs von bekannten Herstellern.
●
Verwenden Sie eine CD-R oder
CD-RW, die mindestens einen der
folgenden Schriftzüge trägt.
FOR CONSUMER
FOR CONSUMER USE
FOR MUSIC USE ONLY
●
Stellen Sie sicher, immer eine
finalisierte CD-R- oder CD-RW-Disc zu
verwenden.
....
CD-TEXT
Auf solchen CDs werden Textdaten, wie
Albumtitel, Liedertitel und Künstlernamen
aufgezeichnet. Sie lassen sich von
üblichen CD-Spielern wiedergeben.
Allerdings sind für die Wiedergabe des
Textes spezielle für die Textwiedergabe
geeignete CD-Spieler erforderlich.
Hinweis
Es ist möglich, daß sich gewisse CD-RWs oder andere
CDs, die nicht richtig aufgezeichnet wurden, nicht mit
diesem CD-Spieler wiedergeben lassen.
Zur Verhinderung von Gerätestörungen:
●
Verwenden Sie keine Nicht-
Standard-CDs, wie z.B. herzförmige
CDs, die auf dem Markt erhältlich
sind, weil sie das Gerät
beschädigen können.
●
Verwenden Sie keine mit Klebebändern, Etiketten
oder Klebemittel. Bei Verwendung einer solchen CD
kann die CD im Gerät steckenbleiben oder
Gerätebeschädigungen verursachen.
03_Ge_02_BOD_CDX-397_497_G.pm
5/8/06, 10:37 PM
22
23
De
Deutsc
h
MÖGLICHE URSACHE
Das Netzkabel ist nicht oder nicht
richtig an der Steckdose
angeschlossen.
Ein Fremdkörper hat sich in der CD-
Lade verklemmt.
Die CD ist beschädigt.
Am Laser-Abtaster hat sich Kondensat
niedergeschlagen.
Die CD wurde verkehrt eingelegt.
Die CD is verschmutzt.
Die CD-RW (wiederbeschreibbare CD)
wurde nicht richtig aufgezeichnet.
Eine nicht standardmäßige CD läßt
sich mit diesem Gerät nicht
wiedergeben.
Die CD ist zerkratzt oder beschädigt.
Die Verbindungskabel sind falsch
angeschlossen.
Bedienungsfehler des Verstärkers
Die Tasten OUTPUT LEVEL +/– sind
auf Minimum eingestellt. (nur CDX-497)
Das Gerät ist Vibrationen oder Stößen
ausgesetzt.
Die CD ist verschmutzt.
Die Verbindungskabel sind falsch
angeschlossen.
Der Tuner befindet sich zu nahe an
diesem Gerät.
Die CD ist verzogen.
Die Tasten OUTPUT LEVEL +/– sind
auf Minimum eingestellt.
Die Batterien der Fernbedienung sind
erschöpft.
Fernbedienung in zu großem Abstand
oder nicht richtig gerichtet betätigt
Starkes Licht, wie direkte
Sonneneinstrahlung oder das Licht von
einer Fluoreszenzlampe trifft auf den
Fernbedienungssensor.
Die Fernbedienung wird in der Nähe
eines fernbedienbaren Fernsehgeräts
benutzt.
STÖRUNG
Das Gerät kann mit der
POWER nicht eingeschaltet
werden.
Die CD-Lade wird nicht
vollständig geschlossen.
Die Wiedergabe beginnt nicht.
Der Beginn der Wiedergabe ist
verzögert bzw. die Wiedergabe
beginnt an der falschen Stelle.
Keine Tonwiedergabe
Tonausfälle
Brummgeräusche
Tunerstörgeräusche
Geräusche von der CD-Lade
Keine Tonwiedergabe über einen
Kopfhörer. (nur CDX-497)
Keine Funktion der
Fernbedienung
Fernsehgerät reagiert bei
Verwendung der Fernbedienung
Prüfen Sie bei einer auftretenden Störung zuerst, ob Sie den Fehler anhand der folgenden Tabelle beheben können. Falls
dies nicht möglich ist, oder eine Störung vorliegt, die nicht aufgeführt ist, lösen Sie das Netzkabel von der Steckdose und
wenden Sie sich an lhren autorisierten YAMAHA-Fachhändler oder eine YAMAHA Service-Station.
FEHLERSUCHE
ABHILFE
Das Netzkabel richtig anschließen.
Die CD-Lade vorsichtig überprüfen und
den Fremdkörper entfernen.
Die CD vorsichtig prüfen und ggf. eine
andere CD verwenden.
Nach dem Einschalten 20 bis 30
Minuten mit dem Beginn der
Wiedergabe warten.
Die CD mit der Beschriftung nach oben
gerichtet einlegen.
Die CD reinigen.
Eine standardmäßige CD verwenden,
die sich mit diesem Gerät
wiedergegeben läßt.
Die CD vorsichtig prüfen und ggf. eine
andere CD verwenden.
Die Kabel richtig anschließen. Wenn
die Störung damit nicht behoben wird,
können die Kabel defekt sein.
Den Verstärker auf die richtige
Eingangsquelle einstellen.
Stellen Sie die Lautstärke mit den Tasten
OUTPUT LEVEL +/– ein. (nur CDX-497)
Das Gerät an einem anderen Ort
aufstellen.
Die CD reinigen.
Die Kabel richtig anschlieben. Wenn
die Störung damit nicht behoben wird,
können die Kabel defekt sein.
Den Tuner weiter von diesem Gerät
entfernt aufstellen.
Eine andere CD verwenden.
Stellen Sie die Lautstärke mit den
Tasten OUTPUT LEVEL +/– ein.
Die Batterien durch neue ersetzen.
In einem Abstand bis zu 6 m und einem
Winkel von 60° im rechten Winkel
verwenden.
Ändern Sie die Aufstellungsposition des
Gerätes.
Das Fernsehgerät weiter entfernt
aufstellen oder den
Fernbedienungssensor abdecken.
03_Ge_02_BOD_CDX-397_497_G.pm
5/8/06, 10:37 PM
23
24
De
TECHNISCHE DATEN
Audioteil
Frequenzgang
............................... 2 Hz – 20 kHz, ± 0,5 dB
Klirrfaktor + Rauschen (1 kHz)
....................................................... weniger als 0,003 %
Störspannungsabstand
............................ mehr als 105 dB
Dynamikbereich
.......................................... mehr als 95 dB
Ausgangsspannung (1 kHz, 0 dB)
................... 2,0 ± 0,5 V
Kopfhörerausgang (0 dB)
<nur CDX-497>
..........................
66
0 ± 100 mV/32 ohms
Eigenschaften der Laserdiode
Material
.................................................................... GaAlAs
Wellenlänge
............................................................. 780 nm
Emissionsdauer
............................................. kontinuierlich
Laserausgang
...................................... Maximum 44,6
µ
W*
* Dieser Ausgang entspricht dem Meßwert in einem
Abstand von ca. 200 mm von der Linsenoberfläche im
optischen Abtaster.
Allgemein
Spannungsversorgung
Australien-Modell
....................................... 240 V, 50 Hz
Europa- und Großbritannien-Modell
.............................................................. 220-240 V, 50 Hz
Allgemeines Modell
.......... 110-120/220-240 V, 50/60 Hz
Modell für Korea
......................................... 220 V, 60 Hz
Modell für China
......................................... 220 V, 50 Hz
Leistungsaufnahme
................................................... 13 W
Abmessungen
(B x H x T) .................... 435 x 87 x 287 mm
Gewicht
...................................................................... 3,5 kg
Änderungen bei Design und technischen Daten bleiben
vorbehalten.
03_Ge_02_BOD_CDX-397_497_G.pm
5/8/06, 10:37 PM
24
Svenska
i
Sv
Så länge radiomottagaren är ansluten till ett nätuttag bryts inte
strömtillförseln från nätuttaget, även om radiomottagaren slås
av med strömbrytaren POWER.
FARA!
Placera inte ögonen i närheten av skivfacket eller någon annan
öppning för att titta in i apparaten, medan apparaten är
ansluten till ett nätuttag.
VARNING
UTSÄTT INTE ENHETEN FÖR REGN ELLER FUKT DÅ
DETTA SKAPAR RISK FÖR BRAND ELLER ELSTÖTAR.
Laserkomponenten i denna apparat kan avge en strålning som
överskrider gränsvärdet för klass 1.
1
Läs noga denna bruksanvisning för att kunna ha största möjliga
nöje av enheten. Förvara bruksanvisningen nära till hands för
framtida referens.
2
Installera ljudanläggningen på en väl ventilerad plats där det är
svalt, torrt och rent, lämna ett mellanrum på minst 10 cm
ovanför, till vänster/höger och bakom CDX-497/CDX-397 och
se till att ljudanläggningen inte utsätts för direkt solljus, hög
värme, vibrationer, damm, fukt och/eller kyla.
3
Placera enheten på behörigt avstånd från andra elapparater,
motorer, transformatorer och annat som kan orsaka störningar.
4
Utsätt inte enheten för hastiga temperaturväxlingar och placera
den inte på ett ställe där luftfuktigheten är hög (t.ex. nära en
luftfuktare) då fuktbildning i enheten skapar risk för brand,
elstötar, skador på enheten eller personskador.
5
Placera inte enheten på ett ställe där främmande föremål kan
tränga in i den eller där den kan utsättas för droppar eller
vattenstänk. Placera aldrig det följande ovanpå enheten:
- Övriga apparater då sådana kan orsaka skador och/eller
missfärgning av enhetens hölje.
- Brännbara föremål (t.ex. stearinljus) då sådana skapar risk för
brand, skador på enheten och/eller personskador.
- Vätskebehållare som kan falla och spilla vätska över enheten,
vilket skapar risk för elstötar och/eller skador på enheten.
6
Täck aldrig över enheten med en tidning, duk, gardin el.dyl. då
detta skapar risk för överhettning. En alltför hög temperatur
inuti enheten kan leda till brand, skador på enheten och/eller
personskador.
7
Anslut inte enheten till ett vägguttag förrän samtliga övriga
anslutningar slutförts.
8
Använd aldrig enheten vänd upp och ned. Detta kan leda till
överhettning som orsakar skador.
9
Hantera inte tangenter, reglage och kablar onödigt hårdhänt.
10 Fatta tag i själva kontakten när nätkabeln kopplas bort från
vägguttaget; dra aldrig i kabeln.
11 Använd aldrig några kemiska lösningar för rengöring då dessa
kan skada ytbehandlingen. Använd en ren, torr trasa.
12 Använd endast den spänning som står angiven på enheten.
Anslutning till en strömkälla med högre spänning än den
angivna kan orsaka brand, skador på enheten och/eller
personskador. YAMAHA åtar sig inget ansvar för skador
beroende på att enheten används med en spänning utöver den
angivna.
13 Försöka aldrig att utföra egna reparationer. Kontakta en
kvalificerad tekniker från YAMAHA om servicebehov
föreligger. Du får inte under några omständigheter ta av höljet.
14 Koppla bort nätkabeln från vägguttaget om enheten inte ska
användas under en längre tid (t.ex. under semestern).
15 Läs avsnittet “FELSÖKNING” om vanligt förekommande
driftsproblem innan du förutsätter att enheten är söndrig.
16 Se till att först tömma skivfacket, trycka på strömbrytaren
POWER för att stänga av CD-spelaren och dra ut
stickkontakten ur nätuttaget, innan CD-spelaren flyttas.
17 Kondensation (imma) uppstår, om den omgivande temperaturen
plötsligt ändras. Koppla i så fall loss nätkabeln från nätuttaget
och låt apparaten vila.
18 Vid långvarig användning kan det hända att apparaten blir
väldigt varm. Slå i så fall av strömmen och låt apparaten vila
tills den har svalnat.
19 Placera apparaten nära nätuttaget och så att stickkontakten på
nätkabeln lätt kan kommas åt.
OBSERVERA: LÄS DETTA INNAN ENHETEN TAS I BRUK.
OBSERVERA
Apparaten kopplas inte bort från växelströmskällan (nätet) så
länge som den är ansluten till vägguttaget, även om själva
apparaten har stängts av.
ADVARSEL
Netspæendingen til dette apparat er IKKE afbrudt, sålæenge
netledningen siddr i en stikkontakt, som er t endt - også
selvom der or slukket på apparatets afbryder.
VAROITUS
Laitteen toisiopiiriin kytketty kayttokytkin ei irroita koko
laitetta verkosta.
04_Sw_01_CAU_CDX-397_497_G.pm
5/8/06, 10:46 PM
1
1
Sv
Svenska
SLUMPMÄSSIG SKIVSPELNING ................ 12
REPETERAD AVSPELNING ........................ 12
Val av önskat repeteringssätt ..................... 12
A-B-repetering ............................................ 13
PROGRAMMERAD SPELNING ................... 14
INDEXSÖKNING .......................................... 15
PROGRAMMERING FÖR INSPELNING
PÅ BAND ...................................................... 16
Automatisk bandprogrammering
(för ljud-CD-skivor) ..................................... 16
Manuell bandprogrammering
(för ljud-CD-skivor) ..................................... 18
Bandprogrammering i slumpmässig
ordning (för ljud-CD-skivor) ........................ 19
Automatisk avsökning för toppnivå
på skiva (för ljud-CD-skivor) ....................... 20
SYNKRONISERAD KOPIERING FRÅN
CD-SKIVA ..................................................... 21
OBSERVERA OM SKIVOR ........................... 22
Skivor som kan användas med denna
apparat ....................................................... 22
Hantering av CD-skivor .............................. 22
FELSÖKNING ............................................... 23
TEKNISKA DATA .......................................... 24
EGENSKAPER ................................................ 2
SKIVTYPER SOM STÖDS .............................. 2
UPPACKNING ................................................. 3
ANMÄRKNINGAR OM
FJÄRRKONTROLLEN .................................... 3
ANSLUTNINGAR ........................................... 4
FUNKTIONSBESKRIVNING .......................... 5
Framsida ...................................................... 5
Teckenfönster ............................................... 5
Fjärrkontroll .................................................. 6
GRUNDLÄGGANDE MANÖVRERING .......... 7
Tillfällig paus ................................................ 8
Avslutande av skivspelning .......................... 8
Att stänga av apparaten ............................... 8
Spelning direkt från önskad melodi .............. 8
Sökning efter mapper/filer på en MP3- eller
WMA-skiva (gäller endast CDX-497) ........... 8
För att hoppa till början av önskad melodi
(Överhoppning) ............................................ 9
Snabbsökning framåt eller bakåt
(Manuell sökning) ......................................... 9
Byte av display ........................................... 10
Ändring av displayens ljusstyrka ................ 11
Automatisk intervallfunktion ....................... 11
Justering av utnivå
(gäller endast CDX-497) ........................... 11
INNEHÅLL
2
Sv
Vad är MP3?
“MP3 (MPEG-1 Audio Layer-3)” är en standardteknik och ett
standardformat för komprimering av ljudsekvenser till små
filer. Ljudkvalitetens ursprungliga nivå bevaras emellertid
vid uppspelning. En del MP3-skivor inkluderar ID3-
taggsinformation.
* Med ID3-taggar menas så kallad metadata inspelad på
MP3-skivan, såsom låttitlar, artistnamn m.m.
Anmärkningar
●
Beroende på aktuella inspelningsförhållanden, såsom
inställningarna på den programvara som använts vid
inspelning, kan det hända att isatt skiva inte kan spelas upp på
CD-spelaren eller att spåren inte spelas upp i den ordning de
spelats in.
●
CD-spelaren är kompatibel med bithastigheterna 32, 64, 96,
128, 160, 192, 256 och 320 kbps och med MP3-filer kodade
med variabla bithastigheter.
●
CD-spelaren är kompatibel med samplingsfrekvenserna 44,1
och 48 kHz.
●
Isatt skiva måste vara ISO9660-kompatibel.
Vad är WMA?
“WMA (Windows Media Audio)” är ett filformat från Microsoft
för kodning av digitala ljudfiler liknande MP3-filer, men med
högre komprimeringsgrad än MP3-filer.
Anmärkningar
●
CD-spelaren är kompatibel med en bithastighet på upp till 192
kbps och WMA-filer med variabel bitkodning.
●
CD-spelaren är kompatibel med en samplingsfrekvens på 44,1 kHz.
●
Isatt skiva måste vara ISO9660-kompatibel.
●
Kopieringsskyddade WMA-filer kan inte spelas upp på
CD-spelaren.
䢇
Funktion för automatisk införing av
mellanrum mellan melodierna
䢇
Synkroniserad kopiering från en CD-skiva
䢇
Justerbar ljusstyrka för displayen
䢇
Fjärrstyrd
䢇
Optisk digitalutgång
(Endast CDX-497)
䢇
Koaxial digitalutgång
䢇
Uppspelning av MP3- och WMA-skivor
Musikskivor kan spelas upp på CD-spelaren. Eftersom en
del skivfunktioner är begränsade till vissa typer av skivor
används nedanstående ikoner till att ange vilka skivtyper
som stöds. Varje ikon betyder att funktionen ifråga är
begränsad till motsvarande skivtyp. För information om vilka
skivstandarder som stöds och anmärkningar angående
skivor hänvisas till “OBSERVERA OM SKIVOR” (sid. 22).
Funktioner utan någon ikon angiven är tillgängliga för alla
typer av skivor.
SKIVTYPER SOM STÖDS
Musik-CD
Angående MP3- och WMA-skivor
MP3- och WMA-filer inspelade på en CD-R- eller CD-RW-
skiva kan spelas upp ungefär på samma sätt som spåren
på en vanlig musik-CD-skiva. CD-spelaren betraktar
mappar på en skiva som album och filer som spår (enligt
nedan).
MP3, WMA
Audio CD
Tack för valet av YAMAHA Compact Disc-spelare.
EGENSKAPER
MP3,WMA
(gäller endast CDX-497)
䢇
CD-R, CD-RW-skivor (för återinspelning)
kan spelas
(Se sidan 22 för ytterligare upplysningar.)
䢇
Kan visa CD-TEXT-data
䢇
Programmerad spelning
䢇
Slumpmässigt melodival
䢇
Repeterad skivspelning av en melodi/
hela skivan
䢇
Funktion för automatisk avsökning av
toppnivå
䢇
Funktion för melodiprogrammering,
användbar för inspelning av melodier
inpassade för vilken bandlängd som
helst
Rot
Spår (fil)
Album (mapp)
04_Sw_02_BOD_CDX-397_497_G.pm
5/8/06, 10:46 PM
2
3
Sv
Svenska
30
°
30
°
Fjärrkontroll
Ljudkabel med stiftkontakter
Batterier (AAA, R03, UM-4) x 2
Lyft varsamt ut apparaten och tillbehören från kartongen. Kartongen skall innehålla enheten och följande tillbehör.
(CDX-397)
SEARCH
TIME/INFO
FOLDER
FOLDER
ENTER
FILE
OUTPUT
LEVEL
FILE
SYNCHRO
TAPE
PEAK
SPACE
REPEAT
DIMMER
RANDOM
INDEX
0
9
6
5
8
7
2
1
4
3
OPEN/CLOSE
A–B
PROGRAM
CLEAR
SEARCH
TIME/INFO
SYNCHRO
TAPE
PEAK
SPACE
REPEAT
DIMMER
RANDOM
INDEX
0
9
6
5
8
7
2
1
4
3
OPEN/CLOSE
A–B
PROGRAM
CLEAR
UPPACKNING
ANMÄRKNINGAR OM FJÄRRKONTROLLEN
(CDX-497)
Iläggning av batteri
1.
Vänd upp och ned på fjärrkontrollen och tag bort
batterifackslocket genom att skjuta locket i pilens
riktning.
2.
Sätt i batterierna (AAA, R03, UM-4) enligt indikeringarna
i batterifacket.
3.
Sätt på locket för batterifacket igen.
Byte av batteri
Om du upptäcker att fjärrkontrollen måste användas nära
huvudenheten betyder det att batterierna är svaga. Byt då
ut båda batterierna mot nya.
Anmärkningar
●
Använd endast AAA, R03, UM-4 batterier vid byte.
●
Se till att polariteten är rätt. (Följ illustrationen inuti
batterifacket.)
●
Avlägsna batterierna om fjärrkontrollen inte skall användas
under en längre tid.
●
Kasta omedelbart bort alla batterier som läcker. Undvik att
vidröra utläckta ämnen och låt dem inte komma i kontakt med
klädsel etc. Rengör batterifacket noggrant innan nya batterier
läggs i.
Fjärrkontrollens manöveromfång
Anmärkningar
●
Det får inte finnas något stort hinder mellan fjärrkontrollen och
huvudenheten.
●
Om alltför starkt ljus (som t.ex. inverterat lysrörsljus el.dyl.)
skiner på huvudenhetens sensor kan det hända att
fjärrkontrollen inte fungerar som den ska. I dylika fall, flytta
på huvudenheten så att ljuset inte faller direkt på den.
Fjärrkontroll-
sensor
Inom ca 6 m
Tryck på
%
04_Sw_02_BOD_CDX-397_497_G.pm
5/8/06, 10:46 PM
3

