Yamaha CDX-397 – страница 2
Инструкция к CD Плееру Yamaha CDX-397
Оглавление
- СОДЕРЙЖАНИЕ
- СОДЕРЙЖАНИЕ
- ПОДДЕРЖИВАЕМЫЕ ТИПЫ ДИСКОВ ФУНКЦИИ
- РАСПАКОВКА ПРИМЕЧАНИЯ ПО ПУЛЬТУ ДУ
- СОЕДИНЕНИЯ
- ИДЕНТИФИКАЦИЯ KOMПOHEHTOB Фронтальная панель Дисплей
- Пульт ДУ
- ОСНОВНЫЕ ОПЕРАЦИИ
- Пауза воспроизведения Отключение питания Воспроизведение нужной фонограммы Остановка воспроизведения Поиск папки/файла на MP3 или WMA диске (только CDX-497)
- Быстрая прокрутка вперед или назад (Ручной поиск) Переход на начало нужной фонограммы (Поиск с переходом)
- Перключение дисплея
- Настройка выходного уровня (только CDX-497) Переключение яркости дисплея Автоматический интервал
- ВОСПРОИЗВЕДЕНИЕ В СЛУЧАЙНОМ ПОРЯДКЕ ПОВТОРНОЕ ВОСПРОИЗВЕДЕНИЕ Повтор выбранного элемента
- Повторите А-В
- ПРОГРАММНОЕ ВОСПРОИЗВЕДЕНИЕ
- ИНДЕКСНЫЙ ПOИCK
- Автоматическое программирование кассеты (для Audio CD-диска) ПРОГРАММИРОВАНИЕ ФОНОГРАММ ДЛЯ ЗАПИСИ НА КАССЕТУ
- Примечания
- Ручное программирование кассеты (для Audio CD-диска)
- Программирование кассеты в случайном порядке (для Audio CD-диска)
- Автоматический поиск пикового уровня на диске (для Audio CD-диска)
- СИНХРОННАЯ ЗАПИСЬ CD-ДИСКА
- Примечания по обращению с компакт-дисками ПРИМЕЧАНИЯ ПО ДИСКАМ Диски, воспроизводимые на данном аппарате
- ВОЗМОЖНЫЕ НЕИСПРАВНОСТИ И СПОСОБЫ ИХ УСТРАНЕНИЯ
- ТЕХНИЧЕСКИЕ ХАРАКТЕРИСТИКИ
English
19
En
Notes
●
Because programmed data changes every time
RANDOM
is
pressed, the unrecorded space at the end of each side of the
tape also varies accordingly.
●
All tracks may not be programmed if the tape length is not
enough. To program all tracks, use a tape that is longer than
the actual playing time.
●
In step 2, you can check the program data for side A and side
B. Information for each side is displayed for 3 seconds.
1
Shows the number of programmed tracks.
2
Shows the total time of programmed tracks.
3
Shows the side of the tape.
●
Up to 40 tracks can be programmed. A pause inserted between
side A and B is counted as one track.
●
CD synchronized recording function can be used if your tape
deck is compatible with it. If so, in step 3 and 4, press
SYNCHRO
and then press
on the remote control of this
unit. Recording automatically starts. (For details, refer to page
21.)
Random sequential tape-programming (for Audio CD)
1
Follow steps 1 – 3 on page 16.
2
Press
RANDOM
.
*
The unit automatically programs tracks at random for
both side A and side B considering the total time of the
tape.
3
Start recording on the tape deck, and then press
on the remote control of this unit.
4
This unit automatically pauses at the end of the side
A. Turn the tape over to the side B, resume
recording on the tape deck, and then press
or
on the remote control of this unit to start
playback.
SEARCH
TIME/INFO
FOLDER
SYNCHRO
TAPE
PEAK
SPACE
REPEAT
DIMMER
RANDOM
A–B
PROGRAM
CLEAR
3, 4
4
2
RANDOM
PROG. RANDOM
3
2
1
The unit automatically programs tracks in random sequential order for recording to tape.
01_En_02_BOD_CDX-397_497_G.pm
6/1/06, 8:37 PM
19
20
En
To cancel the peak level search function
Press
.
Note
Even if the peak level search is performed several times on the
same disc, the same part may not be always selected. That is
because the unit searches for the peak level among parts of the
disc that are randomly selected by the internal microcomputer.
1
Press
to stop the playback.
2
Press
PEAK
.
“PK” lights up on the display, and the peak level
search is performed on the disc.
It takes a few minutes to search for the peak level.
After searching, this unit plays back the part around
the peak level for about 4 seconds repeatedly.
According to the peak level, adjust the recording
level on your tape deck. (For details, refer to the
owner's manual of the tape deck.)
This unit automatically searches for the peak level of the disc, and play back the part repeatedly. When recording to tape, this
feature is very helpful for adjusting the recording level on the tape deck.
Automatic searching for the peak level on a disc (for Audio CD)
PEAK
CD
CD
01_En_02_BOD_CDX-397_497_G.pm
4/27/06, 3:06 PM
20
English
21
En
4
Press
.
Both CD playback and tape deck recording start.
*
CD playback starts shortly after starting the recording.
5
If you want to stop recording temporarily and restart
recording from a desired track, stop this unit by
pressing
, and the tape deck as well, then follow
steps 3–4 again.
To cancel synchronized CD-tape recording
function
Press
.
Notes
●
To finish or stop the recording, make proper operations on the
tape deck. (For details, refer to the owner’s manual of the tape
deck.)
●
Programmed sequence of tracks can also be recorded with this
function instead of recording an entire disc. (For details, refer
to pages 14–15.)
●
This function can also be used together with the automatic
tape-programming function. (For details, refer to pages 16–17.)
This unit can automatically synchronize a tape deck recording with CD play. With this function, you can record a CD on tape
easily and precisely.
This recording method requires a YAMAHA tape deck compatible with this function. (Refer to the tape deck operation manual
to find out whether it is compatible or not.)
*
This unit and the tape deck must be placed close to each other so that both of them can simultaneously receive the signals from the
remote control of this unit.
CD SYNCHRONIZED RECORDING
1
Press
)
)
)
)
)
OPEN/CLOSE
to open the disc tray, and
load a disc.
2
Load a tape on the tape deck.
*
The peak level search function of this unit is useful for
adjusting recording level on the tape deck. (For
details, refer to page 20.)
3
Press
SYNCHRO
.
This unit enters into the pause mode, and the tape
deck enters into the REC/PAUSE mode.
*
In this state, the time display on this unit blinks on and
off.
If necessary, select a desired track by pressing a
numeric button or
/
.
or
DIMMER
RANDOM
INDEX
0
9
6
5
8
7
2
1
4
3
OPEN/CLOSE
1
3
SEARCH
TIME/INFO
SYNCHRO
TAPE
PEAK
SPACE
REPEAT
DIMMER
RANDOM
A–B
PROGRAM
CLEAR
3
3
4
5
OPEN/CLOSE
SYNCHRO
5
01_En_02_BOD_CDX-397_497_G.pm
4/27/06, 3:06 PM
21
22
En
Notes about handling compact discs
●
Always handle the disc with care so that
its surface is not scratched.
●
Compact discs are not subjected to wear during
playback, but damage to the disc surface when the disc
is being handled can adversely affect the disc playback.
●
Be sure to use a felt-tip pen or similar writing tool when
writing on the label side of the disc. Do not use a ball-
point pen, pencil, or other hard-tipped writing tool, as
these may damage the disc and may adversely affect the
disc playback.
●
Do not warp discs.
●
When a disc is not currently being used, remove it from
the unit and store in an appropriate case.
●
When removing or storing a disc, be careful not to
scratch the playing surface.
●
Compact discs are not affected by small particles of dust
or fingerprints on their playing surface, but even so they
should be kept clean. Wipe by using a clean, dry cloth.
Do not wipe with a circular motion; wipe straight outward
from the center.
●
Do not try to clean the disc’s surface by using any type of
disc cleaner, record spray, anti-static spray or liquid, or
any other chemical-based liquid because such
substances might irreparably damage the disc’s surface.
●
Do not expose discs to direct sunlight, high temperature
or high humidity for a long period of time because these
might warp or otherwise damage the disc.
No!
To play back an 8-cm CD
Place it in the inner recessed area of the disc tray. Do not
put a normal (12-cm) CD on top of an 8-cm CD.
Discs playable with this unit
This compact disc player is designed only for playing back
compact discs bearing the marks shown below. Never
attempt to load any other type of disc into the unit. The unit
can also play back 8-cm (3-inch) compact discs.
....
Compact discs (digital audio)
The most popular discs for commercially
available audio CDs.
....
CD-R,CD-RW digital audio discs
Music CDs made by copying onto a CD-
R or CD-RW (including MP3 or WMA
format files).
Notes
●
Be sure to use a CD-R or CD-RW disc
made by a reliable manufacture.
●
Be sure to use a CD-R or CD-RW disc
which has at least one of the following
phrases on the disc or disc case.
FOR CONSUMER
FOR CONSUMER USE
FOR MUSIC USE ONLY
●
Be sure to use a finalized CD-R or CD-
RW disc.
....
CD-TEXT discs
The discs recorded with text data such as
album titles, track titles and artist names.
These discs can be played back with
ordinary CD players, however, the text
data can be displayed only with CD
players which have the ability to display
such data.
Note
This compact disc player may not be able to play back
some CD-RW discs or discs on which recording was not
made correctly.
To prevent a malfunction of this unit:
●
Do not use any nonstandard shaped
disc (heart etc.) available on the
market because it might damage the
unit.
●
Do not use a disc with tape, seals, or paste on it. If
you use such a disc, a disc may get stuck in the unit,
or damage to the unit may result.
NOTES ABOUT DISCS
01_En_02_BOD_CDX-397_497_G.pm
4/27/06, 3:06 PM
22
English
23
En
If the unit fails to operate normally, check the following points to determine whether the fault can be corrected by the simple
measures suggested. If it cannot be corrected, or if the fault is not listed in the SYMPTOM column, disconnect the power cord
and contact your authorized YAMAHA dealer or service center for help.
SYMPTOM
The unit does not switch ON when
POWER is pressed.
The disc tray does not close
completely.
Playback does not start.
Playback is delayed, or begins at
the wrong place.
No sound.
Sound “skips”.
Sound “hums”.
Noise from a nearby tuner.
Noise from inside of the disc tray.
No sound from the headphones.
(CDX-497 only)
The remote control does not
work.
TV functions strangely when the
remote control is used.
PROBABLE CAUSE
The power cord is not connected nor
completely connected.
A foreign object is obstructing the tray.
The disc is damaged.
There is moisture on the laser pickup.
The disc is loaded upside down.
The disc is dirty.
The CD-RW (ReWritable) disc is not
recorded correctly.
The disc is a non-standard disc not
playable with this unit.
The disc may be scratched or
damaged.
Improper output cable connections.
Improper amplifier operation.
The OUTPUT LEVEL +/– buttons are
set at minimum. (CDX-497 only)
The unit is being subjected to vibrations
or impacts.
The disc is dirty.
Improper cable connections.
The tuner is too close to the unit.
The disc may be warped.
The OUTPUT LEVEL +/– buttons are
set at minimum.
The batteries of the remote control are
too weak.
Remote control is too far away or tilted
too much.
Direct sunlight or lighting (of an inverter
type fluorescent lamp etc.) is striking
the remote control sensor of the main
unit.
Remote control is being used near TV
set with a remote control sensor.
REMEDY
Securely connect the power cord.
Carefully check the disc tray and
remove the foreign object.
Check the disc carefully; replace it if
necessary.
Wait 20 to 30 minutes after switching the
unit ON before trying to play back a disc.
Reload the disc with the label side up.
Clean the disc.
Replace the disc with a correctly-
recorded disc playable with this unit.
Check the disc carefully; replace it if
necessary.
Connect the cables properly. If the
problem persists, the cables may be
defective.
Set the amplifier controls to the correct
input selection.
Adjust the volume by using the
OUTPUT LEVEL +/– buttons. (CDX-
497 only)
Relocate the unit.
Clean the disc.
Securely connect the audio cables. If
the problem persists, the cables may be
defective.
Move the tuner and the main unit
farther apart.
Replace the disc.
Adjust the volume by using the
OUTPUT LEVEL +/– buttons.
Replace the batteries with new ones.
Use within 6 m and 60
°
radius.
Reposition the main unit.
Relocate the main unit away from the
TV or cover TV’s remote control sensor.
TROUBLESHOOTING
01_En_02_BOD_CDX-397_497_G.pm
4/27/06, 3:06 PM
23
24
En
SPECIFICATIONS
Audio Section
Frequency response
..................... 2 Hz – 20 kHz, ± 0.5 dB
Harmonic distortion + noise (1 kHz)
................................................................ 0.003 % or less
S/N ratio
...................................................... 105 dB or more
Dynamic range
............................................. 95 dB or more
Output voltage (1 kHz, 0 dB)
............................ 2.0 ± 0.5 V
Headphones output (0 dB)
<
CDX-497 only
>
.......................
66
0 ± 100 mV/ 32 ohms
Laser Diode Properties
Material
.................................................................... GaAlAs
Wavelength
.............................................................. 780 nm
Emission Duration
............................................ continuous
Laser Output
................................................ max. 44.6
µ
W*
* This output is the value measured at a distance of about
200 mm from the objective lens surface on the Optical
Pick-up Block.
General
Power requirements
Australia model
.......................................... 240 V, 50 Hz
Europe and U.K. models
..................... 220-240 V, 50 Hz
General model
.................. 110-120/220-240 V, 50/60 Hz
Korea model
................................................ 220 V, 60 Hz
China model
................................................ 220 V, 50 Hz
Power consumption
................................................... 13 W
Dimensions
(W x H x D) ....................... 435 x 87 x 287 mm
Weight
........................................................................ 3.5 kg
Please note that all specifications are subject to change
without notice.
01_En_02_BOD_CDX-397_497_G.pm
4/27/06, 3:06 PM
24
Français
i
Fr
15 Lisez la section intitulée “EN CAS DE DIFFICULTE” où
figurent une liste d’erreurs de manipulation communes avant de
conclure que l’appareil présente une anomalie de
fonctionnement.
16 Avant de déplacer l’appareil, retirez le disque, appuyez sur
POWER pour mettre l’appareil hors tension et débranchez le
cordon d’alimentation de la prise murale.
17 La condensation se forme lorsque la température ambiante
change brusquement. En ce cas, débranchez la fiche du cordon
d’alimentation et laissez l’appareil reposer.
18 La température de l’appareil peut augmenter en raison d’une
utilisation prolongée. En ce cas, coupez l’alimentation de
l’appareil et laissez-le au repos pour qu’il refroidisse.
19 Installez l’appareil près de la prise secteur et à un endroit tel
que la fiche secteur soit facilement accessible.
Tant que l’appareil est raccordé à la prise secteur, il reste
connecté au secteur même si vous le mettez hors tension avec
POWER.
DANGER
À partir du moment où cet appareil est alimenté par le secteur,
n’approchez pas vos yeux de la découpe du tiroir, ni d’ailleurs
des autres découpes, dans le dessein d’examiner l’intérieur du
coffret.
AVERTISSEMENT
POUR RÉDUIRE LES RISQUES D’INCENDIE OU DE
SECOUSSE ÉLECTRIQUE, N’EXPOSEZ PAS CET
APPAREIL À LA PLUIE OU À L’HUMIDITÉ.
Le laser de cet appareil peut émettre un rayonnement
dépassant les limites de la calsse I.
1
Pour utiliser l’appareil au mieux de ses possibilités, lisez
attentivement ce mode d’emploi. Conservez-le soigneusement
pour référence.
2
Installez cet ensemble audio dans un endroit frais, bien aéré, sec
et propre; ménagez un espace d’au moins 10 cm au-dessus, 10
cm à gauche et à droite et 10 cm à l’arrière du CDX-497/CDX-
397 — veillez à ce qu’il soit à l’abri de la lumière du soleil, des
sources de chaleur, des vibrations, des poussières, de l’humidité
et du froid.
3
Placez l’appareil loin des équipements, moteurs et
transformateurs électriques, pour éviter les ronflements
parasites.
4
N’exposez pas l’appareil à des variations brutales de
température, ne le placez pas dans un environnement très
humide (par exemple dans une pièce contenant un
humidificateur) car cela peut entraîner la condensation
d’humidité à l’intérieur de l’appareil qui elle-même peut être
responsable de secousse électrique, d’incendie, de dommage à
l’appareil ou de blessure corporelle.
5
Evitez d’installer l’appareil dans un endroit où des objets
peuvent tomber, ainsi que là où l’appareil pourrait être exposé à
des éclaboussures ou des gouttes d’eau. Sur le dessus de
l’appareil, ne placez pas:
- D’autres appareils qui peuvent endommager la surface de
l’appareil ou provoquer sa décoloration.
- Des objets se consumant (par exemple, une bougie) qui
peuvent être responsables d’incendie, de dommage à
l’appareil ou de blessure corporelle.
- Des récipients contenant des liquides qui peuvent être à
l’origine de secousse électrique ou de dommage à l’appareil.
6
Ne couvrez pas l’appareil d’un journal, d’une nappe, d’un
rideau, etc. car cela empêcherait l’évacuation de la chaleur.
Toute augmentation de la température intérieure de l’appareil
peut être responsable d’incendie, de dommage à l’appareil ou
de blessure corporelle.
7
Ne branchez pas la fiche du cordon d’alimentation de l’appareil
sur une prise secteur aussi longtemps que tous les
raccordements n’ont pas été effectués.
8
Ne pas faire fonctionner l’appareil à l’envers. Il risquerait de
chauffer et d’être endommagé.
9
N’exercez aucune force excessive sur les commutateurs, les
boutons et les cordons.
10 Pour débrancher la fiche du cordon d’alimentation au niveau de
la prise secteur, saisissez la fiche et ne tirez pas sur le cordon.
11 Ne nettoyez pas l’appareil au moyen d’un solvant chimique, ce
qui pourrait endommager la finition. Utilisez un chiffon sec et
propre.
12 N’alimentez l’appareil qu’à partir de la tension prescrite.
Alimenter l’appareil sous une tension plus élevée est dangereux
et peut être responsable d’incendie, de dommage à l’appareil ou
de blessure corporelle. YAMAHA ne saurait être tenue
responsable des dommages résultant de l’alimentation de
l’appareil sous une tension autre que celle prescrite.
13 Ne tentez pas de modifier ni de réparer l’appareil. Consultez le
service YAMAHA compétent pour toute réparation qui serait
requise. Le coffret de l’appareil ne doit jamais être ouvert,
quelle que soit la raison.
14 Si vous envisagez de ne pas vous servir de l’appareil pendant
une longue période (par exemple, pendant les vacances),
débranchez la fiche du cordon d’alimentation au niveau de la
prise secteur.
ATTENTION: VEUILLEZ LIRE CE QUI SUIT AVANT D’UTILISER L’APPAREIL.
02_Fr_01_CAU_CDX-397_497_G.pm
5/1/06, 5:18 PM
1
1
Fr
Français
LECTURE EN SEQUENCE ALEATOIRE ..... 12
LECTURE REPETEE ................................... 12
Répéter l’élément sélectionné .................... 12
Répétition A-B ............................................ 13
LECTURE PROGRAMMEE .......................... 14
RECHERCHE D’INDEX ................................ 15
PROGRAMMATION DES PLAGES POUR
ENREGISTREMENT SUR BANDE .............. 16
Programmation automatique de
bande (pour les CD audio) ......................... 16
Programmation manuelle de bande
(pour les CD audio) .................................... 18
Programmation de bande par séquence
aléatoire (pour les CD audio) ..................... 19
Recherche automatique du niveau de
crête d’un disque (pour les CD audio) ....... 20
ENREGISTREMENT SYNCHRONISE D’UN
DISQUE COMPACT ...................................... 21
REMARQUES CONCERNANT LES
DISQUES ....................................................... 22
Disques pouvant être lus sur cet appareil ...... 22
Remarques concernant la manipulation
des disques compact ................................. 22
EN CAS DE DIFFICULTE ............................. 23
CARACTERISTIQUES TECHNIQUES ......... 24
TABLE DES MATIERES
CARACTERISTIQUES .................................... 2
TYPES DE DISQUES PRIS EN CHARGE ...... 2
DEBALLAGE ................................................... 3
REMARQUES CONCERNANT LA
TELECOMMANDE .......................................... 3
RACCORDEMENTS ....................................... 4
IDENTIFICATION DES COMPOSANTS ........ 5
Panneau avant ............................................. 5
Afficheur ....................................................... 5
Télécommande ............................................ 6
FONCTIONNEMENT DE BASE ..................... 7
Pour interrompre momentanément
la lecture ...................................................... 8
Pour arrêter la lecture .................................. 8
Pour mettre l’appareil hors tension .............. 8
Pour effectuer directement la lecture
d’une plage .................................................. 8
Pour rechercher un dossier/fichier
sur un disque MP3 ou WMA
(CDX-497 seulement) .................................. 8
Pour sauter jusqu’au début de la
désirée (Rerherche avec saut) ..................... 9
Recherche manuelle rapide en avant ou en
arrière (Rerherche manuelle) ....................... 9
Changement des affichages ...................... 10
Modification de la luminosité de l’affichage ...... 11
Insertion d’espace ...................................... 11
Réglage du niveau de sortie
(CDX-497 seulement) ................................ 11
02_Fr_02_BOD_CDX-397_497_G.pm
6/1/06, 9:15 PM
1
2
Fr
Qu’est-ce que le format MP3 ?
Le format “MP3 (MPEG-1 Audio Layer-3)” est une
technologie standardisée et un format permettant de
compresser les fichiers audio en fichiers de plus petite
taille, tout en préservant la qualité originale du son lors de
la lecture.
* Certains disques MP3 contiennent des balises ID3.
Remarques
●
Selon les conditions d’enregistrement, par exemple les réglages
du logiciel d’enregistrement, certains disques ne pourront pas
être lus ou bien les fichiers ne seront pas lus dans l’ordre où ils
ont été enregistrés.
●
Cet appareil est compatible avec les débits binaires de 32, 64,
96, 128, 160, 192, 256 ou 320 kbps et les fichiers MP3
enregistrés à débit binaire variable.
●
Cet appareil est compatible avec une fréquence
d’échantillonnage de 44,1 ou 48 kHz.
●
Le disque doit être conforme à la norme ISO 9660.
Qu’est-ce que le format WMA ?
“WMA (Windows Media Audio)” est un format de fichier
audio mis au point par Microsoft similaire au MP3, mais
compressant les fichiers à un débit supérieur.
Remarques
●
Cet appareil est compatible avec les débits binaires de 192 kbps
et inférieurs et inférieurs et les fichiers WMA à débit binaire
variable.
●
Cet appareil est compatible avec la fréquence
d’échantillonnage de 44,1 kHz.
●
Le disque doit être conforme à la norme ISO 9660.
●
Les fichiers WMA protégés contre la copie ne peuvent pas être
lus sur cet appareil.
䢇
Fonction de recherche automatique du
niveau de crête
䢇
Enregistrement synchronisé de disque
compact
䢇
Luminosité d’affichage réglable
䢇
Fonctionnement par télécommande
䢇
Sortie numérique optique
(CDX-497 seulement)
䢇
Sortie numérique coaxiale
䢇
Lecture de disques MP3, WMA possible
Vous pouvez écouter des disques de musique avec cet
appareil. Comme certaines fonctions sont limitées à
certains types de disques, les disques pris en charge sont
indiqués par les icônes suivantes. Chaque icône signifie
que la fonction est limitée au type de disque mentionné.
Pour le détail sur les standards des disques pris en charge
et les remarques sur l’emploi de chaque type, reportez-vous
à “REMARQUES SUR LES DISQUES” (page 22).
Les fonctions sans icônes ne sont disponibles pour aucun
type de disque.
TYPES DE DISQUES PRIS EN CHARGE
CD de musique
À propos des disques MP3 et WMA
Vous pouvez lire les fichiers MP3 et WMA enregistrés sur
un CD-R ou CD-RW à peu près de la même façon qu’un
CD de musique. Cet appareil conisdère les dossiers du
disque comme des albums et les fichiers comme des
plages (voir ci-dessous).
Dossier
principal
Plage (Fichier)
Album
(Dossier)
MP3, WMA
Audio CD
Nous vous remercions d’avoir porté votre choix sur ce lecteur de disque compact YAMAHA.
CARACTERISTIQUES
MP3,WMA
(CDX-497 seulement)
䢇
Possibilité d’utiliser les disques CD-R,
CD-RW
(
Pour plus de détails, se reporter à la page
22.)
䢇
Possibilité d’afficher les données
CD-TEXT
䢇
Lecture programmee
䢇
Lecture en séquence aléatoire
䢇
Lecture répétée de plage unique/disque
entier
䢇
Fonction d’espacement automatique
䢇
Fonction de programmation de plage
utile pour enregistrer les plages
comprises dans n’importe quelle
longueur de bande
02_Fr_02_BOD_CDX-397_497_G.pm
5/1/06, 5:18 PM
2
3
Fr
Français
Mise en place des piles
1.
Retourner la télécommande et retirer le couvercle du
compartiment des piles en le faisant glisser dans le sens
indiqué par la flèche.
2.
Introduire les piles (AAA, R03, UM-4), en respectant les
indications de polarité situées à l’intérieur du
compartiment des piles.
3.
Remettre le couvercle du compartiment en place.
Remplacement de piles
Si lorsque l’on utilise la télécommande il est nécessaire de la
rapprocher de l’appareil, les piles sont sans doute déchargées.
Dans ce cas, remplacer les deux piles par des neuves.
Remarques
●
Si le remplacement des piles s’avère nécessaire, n’utiliser que
des piles AAA, R03, UM-4.
●
Veiller à ce que les polarités soient respectées. (Voir
l’illustration se trouvant dans le compartiment des piles.)
●
Lorsque l’on n’utilise pas la télécommande pendant un certain
temps, retirer les piles de la télécommande.
●
Si les piles fuient, les jeter immédiatement. Ne pas toucher
l’électrolyte et veiller à ce qu’il n’entre pas en contact avec des
vêtements. Nettoyer soigneusement le compartiment des piles
avant de mettre en place des piles neuves.
Portée de fonctionnement de la
télécommande
Remarques
●
En outre, veiller à ce qu’il n’y ait aucun obstacle entre la
télécommande et l’appareil.
●
Si le détecteur de télécommande est exposé directement à une
forte lumière (provenant d’une lampe fluorescente de type
inverseur, etc.), il se peut que la télécommande ne fonctionne
pas correctement. Dans ce cas, changer la position de
l’appareil principal de façon à éviter une exposition directe.
30
°
30
°
Télécommande
Câble audio cinch
Pile (AAA, R03, UM-4) x 2
Retirer soigneusement cet appareil et ses accessoires du carton d’emballage. Le carton doit contenir cet appareil et les accessoires suivants.
Capteur de
signaux provenant
de la télécommande
Portée de 6 mètres
environ
(CDX-397)
SEARCH
TIME/INFO
FOLDER
FOLDER
ENTER
FILE
OUTPUT
LEVEL
FILE
SYNCHRO
TAPE
PEAK
SPACE
REPEAT
DIMMER
RANDOM
INDEX
0
9
6
5
8
7
2
1
4
3
OPEN/CLOSE
A–B
PROGRAM
CLEAR
SEARCH
TIME/INFO
SYNCHRO
TAPE
PEAK
SPACE
REPEAT
DIMMER
RANDOM
INDEX
0
9
6
5
8
7
2
1
4
3
OPEN/CLOSE
A–B
PROGRAM
CLEAR
DEBALLAGE
REMARQUES CONCERNANT LA TELECOMMANDE
Appuyez
sur
%
(CDX-497)
02_Fr_02_BOD_CDX-397_497_G.pm
5/1/06, 5:18 PM
3
4
Fr
Lors de l’utilisation de la borne DIGITAL
OUT/OPTICAL (sortie numérique) (
2
)
●
Faire la connexion de cette borne à la borne d’entrée
optique d’un amplificateur à l’aide d’un câble à fibre
optique disponible sur le marché.
*
Utilisez un câble optique fiable.
●
Cette borne peut aussi être raccordée à la borne d’entrée
optique d’un enregistreur de minidisc etc. pour
enregistrer directement un disque compact sur un
minidisc.
Lors de l’utilisation de la borne DIGITAL
OUT/COAXIAL (sortie numérique) (
3
)
(CDX-497 seulement)
Faire la connexion de cette borne à la borne d’entrée
numérique d’un amplificateur à l’aide du câble de
connexion.
(CDX-497 seulement)
●
Le niveau des signaux émis par l’une quelconque de
ces bornes vers un amplificateur peut être réglé en
utilisant les touches
OUTPUT LEVEL +/–
.
●
Lorsqu’on utilise les bornes DIGITAL OUT (OPTICAL
ou COAXIAL), mettre le niveau de sortie des signaux
vers l’amplificateur au niveau maximum au moyen de
la touche
OUTPUT LEVEL +/–
.
LINE OUT
OPTICAL
COAXIAL
DIGITAL OUT
L
R
CD
DIGITAL IN
OPTICAL
COAXIAL
RACCORDEMENTS
●
Couper l’alimentation de l’appareil et de l’amplificateur ou
des autres composants avant d’effectuer les connexions.
●
Lors des connexions, veiller à ce que les bornes d’entrée de
l’amplificateur ou de tout autre appareil soient celles appropriées.
●
Il se peut que des parasites soient évidents si cet
appareil est proche d’un autre élément tel qu’un tuner.
Dans une telle situation, éloigner les appareils les uns
des autres afin d’éliminer ces parasites.
■
Choisir l’une des procédures suivantes pour raccorder cet appareil à
l’amplificateur utilisé.
Amplificateur
Vers la prise c.a
La partie hachurée (
) est fournie pour le modèle CDX-497 seulement.
1
1
1
1
1
Câble audio cinch
(inclus)
Modèles pour I’Europe et le Royaume-Uni
Lors de l’utilisation des bornes LINE OUT
(sortie analogique) de cet appareil (
1
)
Connecter ces bornes aux bornes “CD” (ou “AUX”) de
l’amplificateur. Pour plus de détails concernant ces
connexions, se reporter au mode d’emploi de l’amplificateur
utilisé.
*
Veiller à ce que le câble provenant des bornes de sortie gauche
(“L”) et droite (“R”) LINE OUT soit connecté correctement
aux bornes correspondantes (gauche et droite) de
l’amplificateur ou de tout autre appareil.
2
Câble optique
(non inclus)
3
Câble coaxial
(non inclus)
■
Pour brancher cet appareil sur une prise secteur
Après avoir raccordé tous les appareils, raccordez le cordon d’alimentation sur une prise secteur.
Précaution
Ne branchez pas la fiche du cordon d’alimentation de l’appareil sur une prise secteur aussi longtemps que tous
les raccordements n’ont pas été effectués.
02_Fr_02_BOD_CDX-397_497_G.pm
5/1/06, 5:18 PM
4
5
Fr
Français
Audio CD
MP3, WMA (CDX-497 seulement)
IDENTIFICATION DES COMPOSANTS
( ) indique le numéro de la page à laquelle les commandes sont le plus complètement décrites.
POWER
(p. 7)
Panneau d’affichage
Tiroir du disque (p. 7)
Capteur des signaux de la
télécommande (p. 3)
Prise PHONES (p. 11)
Les fonctions des commandes figurant sur l’appareil principal et la télécommande sont pratiquement identiques, avec les
exceptions décrites ci-dessous.
Panneau avant
Afficheur
1
Allume l’icône du mode de lecture sélectionné.
2
Indique les affichages de temps. (Pour plus de détails,
se reporter à la page 10.)
3
Indique la plage sélectionnée ou lue.
4
Indique le numéro de fichier
5
S’allume lorsqu’un disque de musique est dans le
plateau de disques.
6
S’allume lorsqu’un disque MP3 est lu.
7
S’allume lorsqu’un disque WMA est lu.
CD
PROG. RANDOM ALL A
B
1
2
3
5
WMA
PROG. RANDOM ALL A
B
MP3
7
1
2
4
6
/
(lecture/pause) (p. 7)
)
)
)
)
)
(ouverture/fermeture) (p. 7)
(arrêt) (p. 8)
/
(p. 9)
/
(p. 9)
●
La touche
/
de l’appareil principal possède à la fois les fonctions de la touche
(lecture) et de la touche
(pause)
de la télécommande.
●
La touche
et
de l’appareil principal possède à la fois les fonctions de la touche
/
(saut) et de la
touche
/
(recherche) de la télécommande.
La partie hachurée ( ) est fournie pour le modèle CDX-497 seulement.
02_Fr_02_BOD_CDX-397_497_G.pm
5/1/06, 5:18 PM
5
6
Fr
OUTPUT LEVEL +/– (p. 11)
SEARCH
TIME/INFO
FOLDER
FOLDER
ENTER
FILE
OUTPUT
LEVEL
FILE
SYNCHRO
TAPE
PEAK
SPACE
REPEAT
DIMMER
RANDOM
INDEX
0
9
6
5
8
7
2
1
4
3
OPEN/CLOSE
A–B
PROGRAM
CLEAR
DIMMER (p. 11)
SYNCHRO (p. 21)
SPACE (p. 11)
TAPE (p. 16)
Touches numériques (p. 8)
REPEAT (p. 12)
RANDOM (p. 12)
INDEX (p. 15)
CLEAR (p. 15)
PROGRAM (p. 14)
PEAK (p. 20)
(Touche de pause) (p. 8)
/
(Touche de saut) (p. 9)
(Touche d’arrêt) (p. 8)
SEARCH
/
(p. 9)
(Touche de lecture) (p. 7)
TIME/INFO(p. 10)
)
)
)
)
)
OPEN/CLOSE (p. 7)
A-B (p. 13)
Touches de déplacement du
curseur (p. 8)
Télécommande
La partie hachurée ( ) est fournie pour le modèle CDX-497 seulement.
Remarque
Le signal de sortie est réglé par défaut
au niveau maximal.
02_Fr_02_p11_CDX-397_497_G.pm
11/2/06, 12:13
6
7
Fr
Français
Etiquette vers le haut.
Tiroir du disque
OPEN/CLOSE
Remarques
●
Après la fermeture du tiroir des disques en appuyant sur
)
OPEN/CLOSE
, les informations suivantes apparaissent sur
l’afficheur.
Précaution
Lorsque le plateau à disque est ouvert,
ne pas toucher la
roue dentée à l’intérieur
. Si l’on touche la roue dentée, on
risquera de se coincer le doigt lorque le plateau se referme et
de se blesser.
1
Roue dentée
FONCTIONNEMENT DE BASE
SEARCH
SYNCHRO
TAPE
2
4
3
OPEN/CLOSE
2, 3
4
OPEN/CLOSE
CD
Nombre total
de plages
Temps
d’enregistrement
total du disque
Audio CD
●
De plus, on peut refermer le tiroir des disques en appuyant sur
, sur une touche numérique ou sur
RANDOM
ou en
appuyant légèrement sur l’avant du tiroir. Si le tiroir est fermé
d’une des manières décrites ici, la lecture commencera
automatiquement; toutefois, l’affichage ne montrera ni le
nombre total de plages ni le temps total d’enregistrement du
disque.
MP3, WMA
(CDX-497 seulement)
Nombre total
de fichiers
Ce mode d’emploi décrit la manière de faire fonctionner cet appareil au moyen de la télécommande.
Pour faire fonctionner cet appareil au moyen des commandes du panneau avant, utiliser les
touches correspondantes du panneau avant.
2
Appuyer sur
)
OPEN/CLOSE
pour ouvrir le tiroir
des disques et charger un disque.
1
Appuyer sur
POWER
pour mettre l’appareil sous
tension.
4
Appuyer sur
pour enclencher la lecture.
3
Appuyer sur
)
OPEN/CLOSE
pour fermer le tiroir
des disques.
La lecture commence à partir de la première plage
du disque.
02_Fr_02_BOD_CDX-397_497_G.pm
5/1/06, 5:18 PM
7
8
Fr
Sélectionner la plage voulue à l’aide des touches numériques.
Exemple: Sélectionner le numéro de plage 5
Appuyez sur “0” puis sur “5”.
*
Dans le cas d’un fichier MP3 ou WMA contenant 100 fichiers
ou plus, appuyez deux fois sur “0”, puis appuyez sur “5”.
*
La lecture démarre sinon quelques secondes après que la plage
souhaitée a été spécifiée.
MP3
CD
Pour interrompre momentanément la lecture
Appuyer sur
.
Pour reprendre la lecture, appuyer à nouveau sur
(ou appuyer sur
).
*
Il est aussi possible d’utiliser la touche
du panneau
avant de l’appareil pour arrêter temporairement la lecture ou
pour reprendre la lecture.
Pour effectuer directement la lecture d’une plage
Le numéro de la plage/
fichier choisie est affiché.
Pour arrêter la lecture
Appuyer sur
.
0
5
*
Si vous appuyez de nouveau sur
, la lecture commence par
la première.
1
Appuyez sur
FOLDER
g
g
g
g
g
/
h
h
h
h
h
pour sélectionner le
dossier souhaité.
2
Appuyez sur
ENTER
.
Pour rechercher un dossier/fichier sur un disque MP3 ou WMA
(CDX-497 seulement)
Vous pouvez lire le dossier ou le fichier souhaité avec les touches de déplacement du curseur.
3
Appuyez sur
FILE
q
q
q
q
q
/
w
w
w
w
w
pour sélectionner le fichier
souhaité.
4
Appuyez sur
ENTER
.
La lecture commence à partir du fichier sélectionné.
FOLDER
FOLDER
ENTER
FILE
FILE
FOLDER
FOLDER
ENTER
FILE
FILE
FOLDER
FOLDER
ENTER
FILE
FILE
FOLDER
FOLDER
ENTER
FILE
FILE
Audio CD
*
Exemple d’affichage pour un disque MP3.
*
Le numéro de fichier est reconnu pour
chaque disque pas pour chaque dossier. Les
numéros de fichiers correspondent donc à
l’ordre des fichier enregistrées sur le disque.
MP3, WMA
(CDX-497 seulment)
Pour mettre l’appareil hors tension
Appuyer à nouveau sur
POWER
.
*
Si l’on rétablit l’alimentation électrique pendant qu’un disque se
trouve encore sur le tiroir, la lecture du disque s’enclenche
automatiquement à partir de la première plage.
02_Fr_02_BOD_CDX-397_497_G.pm
5/1/06, 5:18 PM
8
9
Fr
Français
●
L’écoute est possible (cependant légèrement altérée)
pendant la recherche manuelle dans les deux sens. Cela
est très pratique pour localiser un endroit précis dans une
plage, ou pour examiner rapidement le contenu.
●
Si vous effectuez une recherche manuelle, la pause sera
annulée.
●
Les mêmes opérations peuvent être effectuées avec
/
et
/
sur la face avant.
Recherche manuelle rapide en avant
(maintenir enfoncée.)
Recherche manuelle rapide en arrière
(maintenir enfoncée.)
Recherche manuelle rapide en avant ou en arrière (Recherche manuelle)
Pour lire à partir du début de la plage suivante
Pour lire à partir du début de la plage actuelle
Pour lire à partir de la plage précédente
●
Ces opérations peuvent aussi être effectuées même si
l’unité est dans le mode de pause ou d’arrêt.
●
Vous pouvez sauter des plages en continu dans un sens
ou l’autre en maintenant le doigt sur
(ou
) de la
télécommande.
●
Les mêmes opérations peuvent être effectuées avec
/
et
/
sur la face avant.
Pour sauter jusqu’au début de la plage désirée (Recherche avec saut)
(Appuyer une fois.)
(Appuyer une fois.)
(Appuyer deux fois.)
SEARCH
SEARCH
02_Fr_02_BOD_CDX-397_497_G.pm
5/1/06, 5:18 PM
9
10
Fr
Remarques
●
Le texte peut ne pas s’afficher pour certains CD-TEXT.
●
Cet appareil ne peut afficher que des caractères alphanumériques.
Remarques
●
Certaines informations contenues dans les balises ID3 n’apparaissent pas pour certains disques.
●
Cet appareil ne peut afficher que des caractères alphanumériques.
TIME/INFO
MP3
MP3
MP3
MP3
MP3
MP3
MP3
MP3
MP3
CD
CD
CD
CD
CD
CD
CD
TIME/INFO
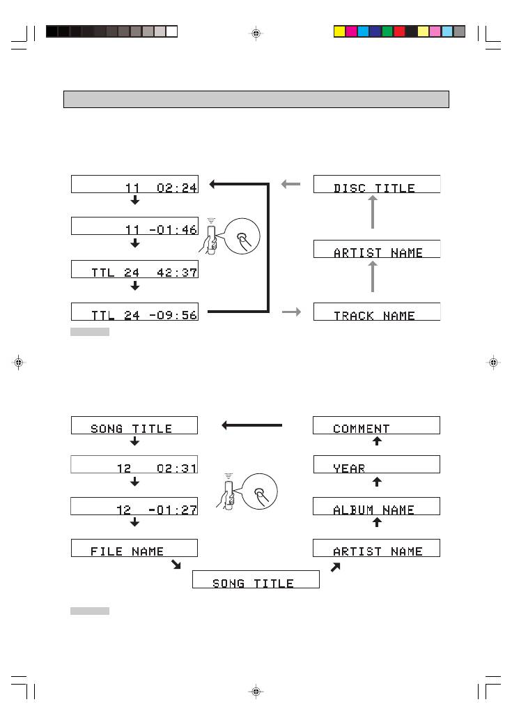
Vous pouvez sélectionner les affichages suivants (
1
-
4
) en appuyant sur
TIME/INFO
. Lorsqu’on effectue la lecture d’un
disque compact, le titre du disque, le nom de l’artiste et le nom de la plage (
5
-
7
) sont aussi affichés.
1
Temps écoulé à partir du début
de la plage actuelle (Défaut)
2
Temps restant de la plage actuelle
3
Temps d’enregistrement total du disque
4
Temps restant du disque
Changement des affichages
Vous pouvez sélectionner les affichages suivants (
1
-
9
) en appuyant sur
TIME/INFO
.
*
Le titre de la chanson, le nom de l’auteur et le nom de l’album de la plage sélectionnée défilent sur l’afficheur.
1
Défilement de l’affichage (Défaut)*
3
Temps restant du fichier actuel
8
Année
9
Commentaire
7
Nom de l’album
5
Titre de la chanson
4
Nom du fichier
2
Temps écoulé à partir du début du fichier actuel
7
Titre du disque
6
Nom de l’artiste
5
Nom de la plage
6
Nom de l’artiste
■
Lors de la lecture d’un CD audio
■
Lors de la lecture d’un MP3 ou WMA
02_Fr_02_BOD_CDX-397_497_G.pm
5/1/06, 5:18 PM
10
11
Fr
Français
Remarque
Lors de la lecture d’un disque MP3/WMA, le niveau du signal
audio transmis à la borne DIGITAL OUT (OPTICAL ou
COAXIAL) est maximal, quel que soit le niveau de volume
indiqué.
Remarque
Faites attention au niveau de sortie du signal audio avant
d’écouter un disque.
Remarques
●
Lorsque la fonction d’insertion d’espaces est utilisée,
l’affichage du temps total et du temps total restant comprend
les espaces de quatre secondes entre les morceaux.
●
Lorsque l’espacement automatique est utilisé pendant la
lecture, “AUTO SPC 4” (le nombre de secondes restantes) est
indiqué et clignote pour chaque espace entre les plages.
Lorsqu’on effectue une écoute au casque, brancher le
casque d’écoute à la prise
PHONES
.
Il est possible de modifier la luminosité de l’affichage en
appuyant sur
DIMMER
.
Réglage du niveau de sortie (CDX-497 seulement)
Il est possible de régler le niveau de sortie des signaux
vers l’amplificateur en appuyant sur
OUTPUT LEVEL +/–
.
Si vous enregistrez un disque sur une bande avec un espace insuffisant entre les plages, l’appareil pourra difficilement repérer
les espaces sur la bande. Pour permettre la recherche de plages, ajoutez au moins des espaces de 4 secondes entre les
plages.
Modification de la luminosité de l’affichage
DIMMER
SPACE
OUTPUT
LEVEL
Insertion d’espace
Appuyez sur
SPACE
pour allumer le réglage actuel.
S’allume environ 3 secondes.
Quand le réglage actuel est allumé, appuyez sur
SPACE
pour changer le réglage et sélectionner
“AUTO SPACE ON” ou
“AUTO SPACE OFF”.
Eclairage normal
Légèrement atténué
Atténué
02_Fr_02_BOD_CDX-397_497_G.pm
11/2/06, 14:35
11
12
Fr
RANDOM
Remarque
Si l’on met l’appareil hors tension pendant la lecture en séquence
aléatoire, lorsqu’on appuie à nouveau sur
POWER
pour remettre
l’appareil sous tension, la lecture en séquence aléatoire sera
rétablie automatiquement.
”
(Répétition d’un seul élément)
Une seule plage est lue en lecture répétée.
*
Ceci fonctionne aussi pour la lecture programmée et pour la
lecture en séquence aléatoire. (Au cas où la lecture répétée est
mise hors-circuit, la lecture programmée ou la lecture en
séquence aléatoire reprendra.)
”
(Répétition de dossier)
MP3,WMA
(CDX-497 seulement)
*
Tous les fichiers du dossier sélectionné sont répétées.
ALL
”
(Répétition complète)
Effectue la lecture répétée de toutes les plages (l’ensemble
du disque).
*
Pendant la lecture programmée, l’appareil effectue la lecture
répétée de toutes les plages programmées.
*
Si l’on met l’appareil hors tension pendant la lecture répétition
complète, lorsqu’on appuie à nouveau sur
POWER
pour
remettre l’appareil sous tension, la lecture poursuit
automatiquement.
ALL
L’appareil peut effectuer la lecture des plages d’un disque dans une séquence aléatoire.
LECTURE EN SEQUENCE ALEATOIRE
Pour effectuer une lecture en séquence aléatoire
Appuyer sur
RANDOM.
Pour annuler la lecture en séquence aléatoire
Appuyer sur
ou sur
RANDOM.
Il est possible de lire n’importe quelle plage désirée ou un disque entier en lecture répétée en appuyant sur
REPEAT
. Le
mode de lecture répétée change à chaque fois qu’on appuie sur
REPEAT
.
LECTURE REPETEE
ou
RANDOM
REPEAT
(Répétition d’un
seul élément)
(Répétition complète)
(Annulée off)
Répéter l’élément sélectionné
(Répétition de dossier)
Clignote.
MP3, WMA
Audio CD
02_Fr_02_BOD_CDX-397_497_G.pm
5/1/06, 5:18 PM
12
13
Fr
Français
Répétition A-B
Vous pouvez répéter un passage particulier du disque en spécifiant deux points (le début et la fin du passage).
1
Appuyez sur
A-B
pour sélectionner le début du
passage à répéter.
“A
”
” s’allume et
“B” clignote.
2
Appuyez sur
A-B
pour sélectionner la fin du
passage à répéter.
La section sélectionnée est répétée.
“A
”
B” s’allume.
A–B
A–B
Pour annuler la répétition d’un passage A-B
Appuyez plusieurs fois de suite sur
A-B
jusqu’à ce que
“A
”
”
”
”
”
B” disparaisse de l’afficheur.
A
B
A
B
02_Fr_02_BOD_CDX-397_497_G.pm
5/1/06, 5:18 PM
13

