Sony CDX-2500R – page 6
Manual for Sony CDX-2500R
Table of contents
- Table of Contents
- Location of controls
- Getting Started Resetting the unit Detaching the front panel
- Setting the clock
- CD Player Listening to a CD
- Playing a CD in various Radio modes Memorising stations automatically
- Receiving the memorised stations Memorising only the desired stations
- RDS Overview of the RDS function Displaying the station name
- Retuning the same programme automatically
- Listening to traffic announcements
- Presetting the RDS stations with the AF and TA data
- Locating a station by programme type
- Setting the clock Other Functions automatically Labelling the rotary commander
- Using the rotary commander
- Adjusting the sound characteristics Attenuating the sound
- Changing the sound and display settings
- Additional Boosting the bass sound Information Precautions
- Notes on moisture condensation When you play 8 cm CDs Notes on discs
- Maintenance Dismounting the unit
- Specifications CD player section General Tuner section Power amplifier section
- Troubleshooting guide General CD playback
- Radio reception RDS

Примечания
Подготовка к
• Старайтесь не уронить переднюю панель при
ее отсоединении от аппарата.
пользованию
• Если Вы снимаете панель при включенном
питании, оно автоматически отключится для
предотвращения повреждения
громкоговорителей.
• Если Вы берете переднюю панель с осбой,
поместите ее в прилагаемый специальный
Переустановка
футляр.
параметров
Установка передней панели
Перед первым использованием аппарата
Присоедините часть a передней панели к
или после замены автомобильного
части b проигрывателя, как это показано
аккумулятора необходимо произвести
на рисунке, а затем задвиньте панель
переустановку аппарата. Снимите
легкого щелчка.
переднюю панель и нажмите кнопку
переустановки с помощью заостренного
предмета, например, шариковой ручки.
Кнопка переустановки
a
Примечания
b
• При нажатии кнопки сброса стираются
установка часов и некоторые функции
программирования.
• При подключении к аппарату провода питания
Примечания
или при переустановке аппарата устанавливать
• Не устанавливайте переднюю панель верхней
диск следует не раньше, чем через 10 секунд.
стороной вниз.
Если установить диск до истечения 10 секунд, то
• При установке панели не прижимайте ее
переустановки аппарата не произойдет и кнопку
слишком сильно к магнитоле.
переустановки придется нажимать еще раз.
• Не надавливайте и не нажимйте слишком
сильно на окошко дисплея, расположенное на
передней панели.
• Не подвергайте переднюю панель прямому
воздействию солнечных лучей, источников
Отделение передней
тепла, таких, как автомобильная печка, и не
оставляйте ее во влажном месте. Никогда не
панели
оставляйте ее на приборной доске автомобиля,
запаркованного на солнцепеке или в месте, где
Во избежание хищения аппарата с него
возможно значительное повышение
можно снять переднюю панель.
температуры в салоне автомобиля.
1 Нажмите (OFF).
Предупреждающий сигнал
Если Вы, повернув ключ зажигания,
2 Нажмите (RELEASE), немного сместите
перевели его в положение OFF, не
переднюю панель влево и, потянув на
отсоединив переднюю панель, в течение
себя, снимите ее.
нескольких секунд будет слышен
(OFF)
сигнальный зуммер.
(RELEASE)
5

2 Нажмите (SHIFT).
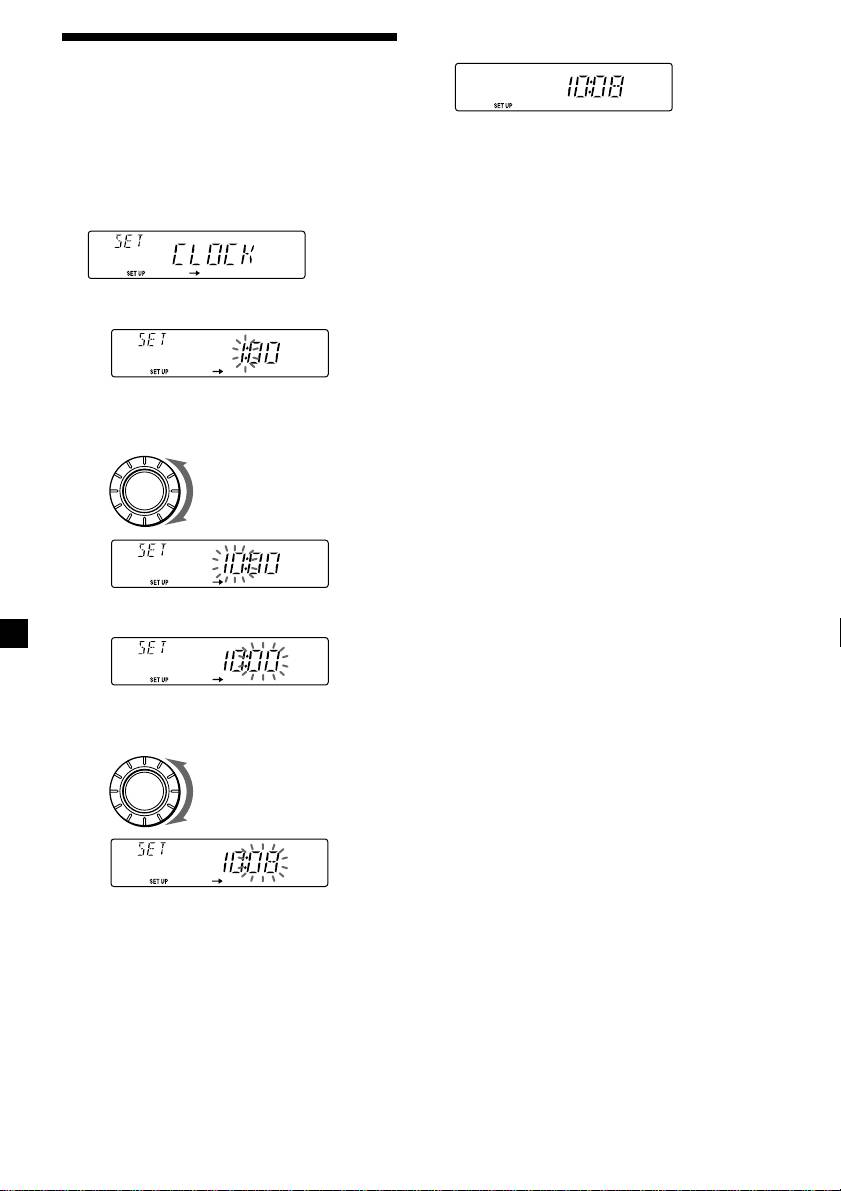
Установка часов
Часы имеют 24-часовую цифровую
индикацию.
Начинается отсчет времени.
Пример: для того, чтобы установить 10:08
1 Нажмите (SHIFT), затем нажимайте
3 Нажмите (SHIFT).
(2) (SET UP) до тех пор , пока на
После того, как установка времени
дисплее не появится “CLOCK”.
завершена, дисплей возвращается в
обычный режим воспроизведения.
1 Нажмите (4) (n).
Начинают мигать цифры, указывающие
часы.
2 Установите нужный час.
Назад
SOURCE
Вперед
3 Нажмите (4) (n).
Начинают мигать цифры минут.
4 Установите нужную минуту.
Назад
SOURCE
Вперед
6

После выбора нyжнoгo параметра дисплей
Проигрыватель
по пpoшеcтвии нecкoлькиx ceкyнд
автоматически переxoдит в режим Motion
компакт-дисков
Display.
В режиме Motion Display все
вышеперечисленные позиции
прокручиваются на дисплее поочередно,
одна за другой.
Воспроизведение
Совет
Режим Motion Display можно отключить. (См.
компакт-диска
раздел “Изменение заданных параметров звука и
дисплея” на стр.18).
Установите компакт-диск в
Нахождение нужной дорожки
проигрыватель.
Воспроизведение начинается
— Автоматический музыкальный
автоматически.
сенсор (AMS)
Этикеткой кверху
Во время воспроизведения смещайте
переключатель SEEK/AMS вверх или
вниз, а затем отпускайте - по одному
разу на каждую дорожку, которую Вы
хотите пропустить.
Для нахождения последующих
SEEK/AMS
дорожек.
Для нахождения предыдущих
дорожек.
Если диск уже установлен, нажимайте
Нахождение нужного места на
кнопку (SOURCE), пока на дисплее не
дорожке
появятся буквы “CD”, после этого начнется
воспроизведение.
— Ручной поиск
Время с начала
При воспроизведении сместите
Показание функции CD
воспроизведения
переключатель SEEK/AMS вверх или
вниз и держите его. После
нахождения нужного Вам места на
дорожке отпустите переключатель.
SEEK/AMS
Номер дорожки
Для поиска вперед
Примечание
Для воспроизведения компакт-дисков диаметром
Для поиска назад
8 см пользуйтесь приобретаемым дополнительно
Примечание
переходником Sony для дисков формата “сингл”
Если на дисплее высвечивается “ ” или
(CSA-8).
“
” это означает,что Вы подошли к
началу или к концу диска и ничего другого нет.
Для того чтобы Нажмите
Остановить 6 или (OFF)
воспроизведение
Извлечь 6
компакт-диск
Смена параметров, выводимых на
дисплей
Каждый раз при нажатии кнопки (DSPL),
во время воспроизведения компакт-диска,
параметр меняется следующим образом:
Номер дорожки/время с начала
воспроизведения ˜ часы
7

Воспроизведение
Радиоприемник
компакт-диска в
различных режимах
Компакт-диски могут воспроизводиться в
различных режимах:
Автоматическое
• REP (Repeat Play - повторное
воспроизведение) для повторения
занесение станций в
текущей дорожки.
• SHUF (Shuffle Play - перетасованное
память
воспроизведение) для воспроизведения
— Функция памяти оптимальной
всех дорожек в перетасованном порядке.
настройки станции (ВТМ)
Повторное воспроизведение дорожек
Аппарат выбирает станции с наиболее
— Повторное воспроизведение
сильным сигналом и запоминает их в
порядке их рабочих частот. Вы можете
1 Во время воспроизведения нажмите
занести в память до 10 станций в каждом
(SHIFT).
диапазоне (FM1, FM2, MW и LW - УКВ1,
Каждый раз при нажатии (SHIFT)
УКВ2, СВ и ДВ).
высвечиваются лишь те параметры,
которые Вы можете выбрать.
Предостережение
При настройке на станции во время
управления автомобилем во избежание
аварий используйте функцию памяти
оптимальной настройки.
2 Нажимайте (6) (REP) до тех пор, пока
1 Многократным нажатием (SOURCE)
не появится “REP-1”.
выберите в качестве источника
радиоприемник.
При каждом нажатии Вами (SOURCE)
источник меняется следующим образом:
z TUNER z CD
Начинается повторное воспроизведение.
3 Нажмите (SHIFT).
2 Последовательным нажатием (MODE)
Чтобы вернуться к обычному режиму
выберите желаемый диапазон.
воспроизведения в вышеописанной
При каждом нажатии (MODE) диапазон
операции 2 выберите “REP-OFF”.
меняется следующим образом:
z FM1 z FM2 z MW z LW
Воспроизведение дорожек в
случайном порядке
— Перетасованное воспроизведение
3 Нажмите (SHIFT), затем
последовательно нажимайте
1 Во время воспроизведения нажмите
(3) (PLAY MODE) до появления на
(SHIFT).
дисплее “В.Т.М”.
2 Нажимайте (7) (SHUF) до тех пор,
4 Нажмите (4) (n).
пока не появится “SHUF-1”.
Аппарат заносит в память под
номерными клавишами станции в
порядке очередности их частот.
Звуковой сигнал зуммера означает, что
установка занесена в память.
Начинается перетасованное воспроизведение.
3 Нажмите (SHIFT).
5 Нажмите (SHIFT).
Чтобы вернуться к обычному режиму
воспроизведения, в вышеописанной
операции 2 выберите “SHUF-OFF”.
8
D
DSPL
D
SHIFT
OFF
2 3 4 5 6 7 81

Примечания
• Аппарат не заносит в память станции со
Прием занесенных в
слабым сигналом. Если принимается только
незначительное количество станций, некоторые
память станций
номерные клавиши сохранет свои предыдущие
параметры.
• Если на дисплее высвечен какой-либо номер,
1 Последовательным нажатием
аппарат начинает занесение станций в память с
клавиши (SOURCE) выберите в
этого высвеченного номера.
качестве источника радиоприемник.
• Если в аппарате нет компакт-диска, то
появляется только диапазон радиоприемника,
даже если Вы нажимаете (SOURCE).
2 Последовательным нажатием (MODE)
выберите диапазон волн.
3 Нажмите номерную клавишу
Занесение в память
(с (1) по (10)), под которой в память
занесена нужная Вам станция.
только желаемых
Если Вы не можете настроиться на
станций
предустановленную станцию
Вы можете занести в память до 20 станций
Сместите вверх или вниз
FM (УКВ) (по 10 станций на каждый из
переключатель SEEK/AMS и
поддиапазонов FM1 и 2), до 10 станций СВ
отпустите его, чтобы начать поиск
и до 10 станций ДВ в любой
станции (автоматическая настройка).
последовательности по своему выбору.
Сканирование прекращается, когда
приемник находит какую-либо станцию.
1 Последовательным нажатием
Перемещайте неоднократно
(SOURCE) выберите в качестве
переключатель SEEK/AMS вверх или
источника приемник.
вниз до тех пор, пока не найдете сигнал
нужной Вам станции.
2 Последовательным нажатием (MODE)
выберите диапазон волн.
Примечание
Если автоматическая настройка
останавливается слишком часто, нажмите
3 Смещением переключателя SEEK/
клавишу (SHIFT), а затем последовательно
AMS вверх или вниз настройтесь на
нажимайте (3) (PLAY MODE) до появления на
волну станции, которую Вы хотите
дисплее надписи “LOCAL” (режим локального
занести в память под данной
поиска). После этого нажатием (4) (n)
выберите “LOCAL-ON”. Нажмите (SHIFT).
номернойк лавишей.
Настройка будет производиться только на
станции с относительно сильным сигналом.
4 Нажмите и удерживайте в нажатом
положении желаемую номерную
Совет
клавишу (c (1) по (10)) до появления
Если Вам известна рабочая частота станции,
передачу которой Вы хотите слушать, сдвиньте
на дисплее надписи “МЕМ”.
регулятор SEEK/AMS вверх или вниз и
На дисплее появляется номер данной
удерживайте его в этом положении до появления
клавиши.
на дисплее нужной частоты (ручная настройка).
Примечание
Если Вы попытаетесь занести в память другую
станцию под той же номерной клавишей,
предыдущая занесенная в память станция будет
стерта.
9

При слабом приеме стереопрограмм
УКВ
— Монофонический режим
RDS
1 При приеме радиопередач нажмите
(SHIFT), затем последовательно
нажимайте (3) (PLAY MODE) до
появления не дисплее надписи
Обзор функции RDS
“MONO”.
Система передачи радиоданных (RDS) - это
трансляционная служба, которая
2 Последовательно нажимайте (4) (n)
позволяет станциям FM передавать
до появления надписи “MONO-ON”.
дополнительную цифровую информацию
Звучание улучшится, но будет
вместе с обычным сигналом
монофоническим (“ST”) исчезнет с
радиопрограмм. Ваша автомобильная
дисплея.
стереосистема предоставляет Вам
множество возможностей. Вот только
3 Нажмите (SHIFT).
некоторые из них: автоматическая
перенастройка на ту же программу,
Чтобы вернуться к обычному режиму
прослушивание дорожных сообщений и
воспроизведения, в вышеописанной
нахождение станции по типу программы.
операции 2 выберите “MONO-OFF”.
Примечания
Изменение параметров, выводимых
• В зависимости от страны или региона могут
быть доступны не все функции RDS.
на дисплей
• Система RDS может не сработать должным
При каждом нажатии Вами (DSPL)
образом, если передаваемый сигнал слишком
параметр на дисплее меняется следующим
слаб или если станция, на волну которой Вы
образом:
настроились, не передает данные RDS.
Частота ˜ Часы
После выбора нyжнoгo параметра дисплей
по пpoшеcтвии нecкoлькиx ceкyнд
Индикация названия
автоматически переxoдит в режим Motion
Display.
станции
В режиме Motion Display все
Название принимаемой в данный момент
вышеперечисленные позиции
станции высвечивается на дисплее.
прокручиваются на дисплее поочередно,
одна за другой.
Выберите станцию FM (УКВ) (см стр.
Совет
8).
Режим Motion Display можно отключить. (См.
Если Вы настроились на станцию FM,
раздел “Изменение заданных параметров звука и
которая передает данные RDS, на
дисплея” на стр. 18).
дисплее появляется название станции.
Примечание
Индикация “*” означает, что принимается сигнал
станции RDS.
10

Изменение показаний дисплея
1 Выберите станцию (FM) (см стр. 8).
При каждом нажатии Вами (DSPL)
показания дисплея меняются следующим
2 Последовательно нажимайте (AF/TA)
образом:
до появлении на дисплее надписи
Частота ˜ Часы
“AF-ON”.
Аппарат начинает поиск
После выбора нyжнoгo параметра дисплей
альтернативной станции с более
по пpoшеcтвии нecкoлькиx ceкyнд
сильным сигналом в этой же
автоматически переxoдит в режим Motion
ретрансляционной сети.
Display.
В режиме Motion Display все
Примечание
вышеперечисленные позиции
Если в Вашем районе нет альтернативной
прокручиваются на дисплее поочередно,
станции и Вам не нужно искать такую станцию,
одна за другой.
выключите функцию AF многократным нажатием
(AF/TA) до появления на дисплее надписи “AF
TA-OFF”.
Cовет
Режим Motion Diplay можно отключить (См.
раздел “Изменение заданных параметров звука и
Изменение показаний дисплея
дисплея” стр. 18).
При каждом нажатии Вами (AF/TA)
показания дисплея меняются следующим
Примечание
образом:
В случае если станция, на волну которой Вы
настроились, не передает данных RDS, на
” TA-ON ” AF TA-ON*
дисплее загорается надпись “NO NAME”.
AF-ON “ AF TA-OFF “
* Выберите эту позицию для включения сразу
обеих функций AF и ТА.
Автоматическая
Примечания
• Если на дисплее попеременно мигают надпись
перенастройка на ту
“NO AF” и название станции, это означает, что
приемник не может найти никакой
же программу
альтернативной станции в данной
радиотрансляционной сети.
— альтернативные частоты (AF)
• Если название станции начинает мигать после
ее выбора при включенной функции AF, это
указывает на отсутствие альтернативной
Функция альтернатиных частот (AF)
частоты. Пока название станции мигает на
автоматически выбирает и
дисплее (в течение 8 секунд), переместите
перенастраивается на станцию с наиболее
переключатель SEEK/AMS вверх или вниз.
сильным сигналом в радиотрансляционной
Аппарат начнет поиск другой частоты с теми
сети.
же данными PI (Программной идентификацией)
Благодаря этой функции Вы можете во
(на дисплее появляется “PI SEEK” и звук не
время дальних поездок непрерывно
слышен. Если аппарат не может найти другую
слушать одну и туже программу, не
частоту, на дисплее появляется “NO PI”, и
аппарат возвращается к ранее выбранной
испытывая необходимости
частоте.
перенастраивать приемник вручную.
Смена частот осуществляется автоматически.
Продолжение на следующей странице n
96.0MHz
98.5MHz
Станция
102.5MHz
11

Прослушивание региональной
программы
Прослушивание
Функция “REG-ON” (региональная
дорожных сообщений
функция) данного приемника позволяет
Вам оставаться настроенным на
Параметр ТА (Дорожные сообщения) и ТР
региональную программу без
(Программа дорожной информации)
переключения на другую региональную
позволяет Вам автоматически
станцию (заметьте, что при этом Вы
настраиваться на станцию FM (УКВ),
должны включить функцию AF).
передающую дорожные сообщения, даже
Изготовителем приемник установлен на
если Вы слушаете другие программы.
“REG-ON”, но если Вы хотите отключить
эту функцию, сделайте следующее.
Нажимайте (AF/TA) до тех пор, пока на
1 При приеме радиопередачи нажмите
дисплее не появятся буквы “ТА-ON”
(SHIFT), затем последовательно
или “AF TA-ON”.
нажимайте (3) (PLAY MODE) до
Аппарат начинает поиск станций,
появления на дисплее надписи
передающих дорожную информацию.
“REG”.
На дисплее появляется “ТР”, когда
аппарат находит станцию передающую
дорожные сообщения.
2 Нажимайте (4) (n) последовательно
С началом передачи дорожных
до появления надписи “REG-OFF”.
сообщений на дисплее начинают мигать
буквы “ТА”. После прекращения
3 Нажмите (SHIFT).
передачи дорожных сообщений буквы
Заметьте, что при выборе функци
перестают мигать.
“REG-OFF” приемник может
переключиться на другую региональную
Совет
станцию в данной радиотрансляционной
Если дорожное сообщение начинается в момент,
кода Вы слушаете другую программу, аппарат
сети.
автоматически переключается на это сообщение
и возвращается к первоначальной программе
Чтобы вернуться к обычному режиму
после завершения дорожного сообщения.
воспроизведения, в вышеописанной
операции 2 выберите “REG-ON”.
Примечания
• В течение пяти секунд на дисплее мигают
Примечание
буквы “NO TP”, если станция, на которую Вы
Данная функция не работает в Соединенном
настроились, не передает информацию о
Королевстве и в некоторых других регионах.
дорожных сообщениях. Затем аппарат
начинает поиск станции передающей такую
информацию.
Функция локальной связи (только
• Если на дисплее появляются буквы “EON” и
для Соединенного королевства)
“ТР” это означает, что данная станция
Функция локальной связи предоставляет
использует дорожное сообщение
Вам возможность выбора других местных
передаваемое другими станциями,
работающими в той же радиотрансляционной
станций в данном районе даже, если они не
сети.
занесены в память под Вашей номерной
клавишей.
1 Нажмите номерную клавишу, под
которой занесена в память местная
станция.
2 Через пять секунд нажмите номерную
клавишу местной станции снова.
3 Повторяйте эту операцию до приема
нужной местной станции.
12

Отмена текущего дорожного
Предустановка той же самой
сообщения
установки для всех
предустановленных станций
Нажмите (AF/TA) или (SOURCE).
Для отмены всех дорожных сообщений
1 Выберите диапазон FM (стр. 8).
необходимо отключить эту функцию
путем нажатия (AF/TA) до появления
2 Для того чтобы выбрать либо
“AF TA-OFF”.
“AF-ON”, “ТА-ON” или “AF TA-ON”
(как для станций AF, так и ТА)
Предустановка громкости
нажмите несколько раз (AF/TA).
дорожных сообщений
Заметьте, что при выборе “AF TA-OFF” в
С тем чтобы не пропустить сообщение,
память заносятся не только станции
возможна предварительная установка
RDS, но также и станции не
уровня громкости дорожных сообщений
находящиеся в режиме RDS.
заранее. В момент начала дорожного
сообщения громкость будет автоматически
3 Нажимайте (SHIFT), затем (3) (PLAY
настраиваться на установленный уровень.
MODE) до появления “ВТМ”.
1 Выберите нужный уровень
4 Нажимайте (4) (n), пока не замигает
громкости.
“В.Т.М”.
2 Нажмите (AF/TA) в течение двух
5 Нажмите (SHIFT).
секунд.
На дисплее появляется “ТА”. Это
Предустановка различных
означает, что установка занесена в
память.
установок для каждой
предустановленной станции
Прием экстренных сообщений
1 Выберите диапазон FM и настройте
Если в момент, когда Вы слушаете радио,
желаемую станцию (стр. 9).
поступает экстренное сообщение,
программа автоматически переключается
на него. Если Вы слушаете не радио, а
2 Чтобы выбрать либо “AF-ON”,
другой источник, экстренные сообщения
“TA-ON” или “AF TA-ON” (как для
можно услышать, установив AF или TA в
функций AF, так и ТА) нажмите
положение включено. В таком случае
несколько раз (AF/TA).
приемник автоматически переключится на
эти сообщения независимо от того, какой
3 Нажимайте желаемую номерную
источник Вы слушаете в настоящий
клавишу до появления “МЕМ”.
момент.
Повторите, начиная с операции 1, чтобы
предустановить другие станции.
Совет
Если Вы хотите изменить предустановленную
Предустановка станций
установку AF и/или ТА после настройки
предустановленной станции, это можно сделать
RDS с данными AF и ТА
путем включения или выключения функции
AF или ТА.
При предварительной установке станций
RDS приемник автоматически заносит все
данные каждой станции, а также их
частоту в память, в результате чего Вам не
нужно включать функцию AF или ТА
каждый раз при настройке
предустановленной станции. Можно
пользоваться другим способом установки
(AF,TA или той и другой) для отдельных
предустановленных станций или той же
самой установкой для всех
предустановленных станций.
13

1 Находясь в диапазоне FM, нажимайте
Нахождение станции
(PTY) до появления на дисплее
“PTY”.
по типу программы
Выбрав один из типов программ,
приведенных ниже, можно найти нужную
Вам станцию.
Если станция работает в режиме PTY,
на дисплее появляется название типа
Типы программ Дисплей
текущей программы. Если принимаемая
станция работает не в режиме RDS или
Новости NEWS
если данные RDS не принимаются, на
Текущие события AFFAIRS
дисплее появляется “- - - - -”.
Информация INFO
Спорт SPORT
2 Нажимайте (PTY) до появления типа
Образование EDUCATE
желаемой программы.
Типы программ появляются в порядке
Радиоспектакли DRAMA
указанном в вышеприведенной таблице.
Культура CULTURE
Внимание! Тип программы “NONE”
Наука SCIENCE
(Пpoчee) выбирать для поиска нельзя.
Разное VARIED
Поп-музыка POP M
Рок-музыка ROCK M
Легкая музыка EASY M
3 Передвиньте регулятор SEEK/AMS
Легкая классика LIGHT M
вверх или вниз.
Классика CLASSICS
Приемник начинает поиск станции
передающей выбранный тип программы.
Прочие типы музыки OTHER M
Когда приемник находит программу, на
Погода WEATHER
дисплее в течение пяти секунд вновь
Финансы FINANCE
появляется тип программы.
Программы для детей CHILDREN
В течение пяти секунд на дисплее
поочередно появляются “NO” и тип
Общественная жизнь SOCIAL A
программы, если аппарат не может
Религия RELIGION
найти нужный тип программы. Затем
Звонки в прямой эфир PHONE IN
аппарат возвращается к ранее
выбранной станции.
Путешествия TRAVEL
Досуг LEISURE
Джаз-музыка JAZZ
Музыка кантри COUNTRY
Нац. Музыка NATION M
Старые шлягеры OLDIES
Народная музыка FOLK M
Документ. программы DOCUMENT
Без определения NONE
Примечание
В некоторых странах, где нет данных PTY
(Programme Type Selection - Выбор типа
программ), эту функцию использовать нельзя.
14

Автоматическая
Прочие функции
установка часов
Часы приемника устанавливаются
Вы можете также управлять
автоматически при приеме данных СТ
проигрывателем при помощи не входящего
(время), передаваемых станциями RDS.
в комплект поворотного дистанционного
переключателя.
1 При приеме радиопередачи нажмите
(SHIFT), затем последовательно
нажимайте (2) (SET UP) до появления
на дисплее надписи “СТ”.
Наклейка ярлычка на
поворотный
дистанционный
2 Нажимайте (4) (n) до появления на
переключатель
дисплее “СТ-ON”.
Часы установлены.
В зависимости от того, где Вы
устанавливаете поворотный
дистанционный переключатель, наклейте
на него соответствующий ярлычок, как это
показано на рисунке ниже.
3 Нажатием (SHIFT) вернитесь к
обычному дисплею.
Чтобы отменить функцию СТ
При осуществлении вышеописанной
LIST
MODE
операции 2 выберите “СТ-OFF”.
SOUND
Примечания
• Функция СТ может не работать, даже если
осуществляется прием передачи станции RDS.
• Время, установленное с помощью функции СТ,
может отличаться от фактического времени.
SOUND
MODE
LIST
15

Посредством вращения регулятора
Использование
(Регулятор SEEK/AMS)
поворотного
дистанционного
переключателя
Поворотный дистанционный
переключатель работает при нажатии
клавиш и/или вращении регуляторов.
С помощью нажатия клавиш
Поверните и отпустите регулятор,
(клавиши SOURCE и MODE)
чтобы:
• Найти определенную дорожку на
диске. Поверните и держите
регулятор, пока не найдете искомое
место на дорожке, а затем отпустите
(SOURCE)
его, чтобы начать воспроизведение.
• Произвести автоматическую
(MODE)
настройку на станции. Чтобы
настроиться на определенную
станцию, поверните и держите
регулятор.
Посредством вращения регулятора
При каждом нажатии Вами клавиши
с его одновременным нажатием
(SOURCE) источник меняется
следующим образом:
(регулятор PRESET/DISC)
TUNER (приемник) ˜ CD
Нажатие клавиши (MODE) изменяет
функцию следующим образом;
• Tuner: FM1 n FM2 n MW n LW
Нажмите на регулятор и поверните
его для:
• Приема станций, занесенных в память
под номерными клавишами.
16

Прочие операции
Вращением регулятора VOL
Подстройка
устанавливается уровень громкости.
характеристик звука
Нажатием кнопки
(ATT) приглушается
звук.
Вы можете подстроить низкие частоты,
высокие частоты, баланс каналов и баланс
OFF
передних и задних громкоговорителй.
На каждом источнике могут быть
предустанволены свои отдельные уровни
Нажатием кнопки
низких и высоких частот.
(OFF) осуществляется
выключение аппарата.
1 Многократным нажатием клавиши
Нажатием клавиши (SOUND) осуществляется
(SOUND) выберите параметр, который
подстройка меню громкости и звука.
Вы хотите подстроить.
VOL (громкость) n BAS (низкие) n
TRE (высокие частоты) n BAL (баланс
лев./прав. каналов) n FAD
(балансировка передних и задних
громкоговорителй)
2 Подстройте выбранный параметр
Нажатием клавиши (LIST) на дисплей
вращением регулятора.
выводятся названия типов программ
Проводите подстройку в первые три
(только в режиме УКВ).
секунды после выбора нужного
параметра на дисплее. (Спустя три
Изменение рабочего направления
секунды регулятор вновь начинает
Заводская установка рабочего направления
работать, как регулятор уровня
регуляторов показана на рисунке ниже.
громкости.)
Для увеличения
Приглушение звука
На поворотном дистанционном
Для уменьшения
переключателе, не входящем в
комплект, нажмите (ATT).
Если Вам необходимо установить
На дисплее ненадолго загорается
поворотный дистанционный
“АТТ-ON”.
переключатель на правой стороне рулевой
колонки, Вы можете поменять его рабочее
Для восстановления предыдущего уровня
направление на обратное.
громкости вновь нажмите (ATT).
Справка
Если интерфейсный кабель автомобильного
телефона подсоединен проводу управления
функцией АТТ, то при поступлении телефонного
звонка громкость уменьшается автоматическ
(функция Telephone ATT.)
Нажмите клавишу (SOUND) на две
секунды, одновременно нажимая на
регулятор VOL.
Совет
Рабочее направление этих регуляторов
поворотного переключателя Вы можете
изменить также на проигрывателе (стр 18).
17

1 Нажмите (SHIFT).
Изменение заданных
2 Нажимайте (2) (SET UP) до появления
параметров звука и
на дисплее нужного Вам параметра.
дисплея
При каждом нажатии Вами (2) (SET UP)
Вы можете установить следующие
параметр меняется следующим
параметры:
образом:
• CLOCK (часы) (стр.6)
CLOCK n CT n D.INFO* n BEEP n RM n
• CT (Время) (стр 15)
M.DSPL
• D.INFO (Двойную информацию) -
* Данная позиция появляется на дисплее
показывать на дисплее часы и режим
только во время воспроизведения компакт-
воспроизведения одновременно в
диска или мини-диска.
положении (ОN) или показ информации
поочередно в положении (OFF).
Примечание
• BEEP - для включения или выключения
Высвеченная позиция зависит от источника.
звукового сигнала.
• RM (Поворотный дистанционный
3 Нажатием (4) (n) выберите нужную
переключатель) - для изменения рабочего
Вам установку (Пример: ON или OFF).
направления регуляторов поворотного
дистанционного переключателя.
4 Нажмите (SHIFT).
— Выберите “NORM” для использования
По окончании установки режима
поворотного дистанционного
аппарат возвращается в обычный
переключателя с сохранением
режим воспроизведения.
предустановленных изготовителем
параметров.
— Выберите “REV” при монтаже
поворотного дистанционного
переключателя на правой стороне
рулевой колонки.
• M.DSPL (Движущийся дисплей) - для
включения/выключения движущегося
дисплея.
18

Дополнительная
Усиление
информация
низкочастотных звуков
— D-bass
Проигрыватель дает Вам возможность
насладиться четким и мощным звуком на
Предостережения
низких частотах.
Функция D-bass усиливает низкочастотный
• Если Ваша машина была запаркована на
сигнал, придавая большую крутизну
солнцепеке, в результате чего
низкочастотной характеристики, чем в
температура в салоне значительно
случае обычного усиления басов.
повысилась, не включайте проигрыватель
Вы можете четко слышать низкочастотные
до того, как он остынет.
звуки даже при неизменном уровне
• В случае если на проигрыватель не
поступает питание, проверьте сначала
громкости в диапазоне голосовых частот.
контакты. Если все в порядке, проверьте
При помощи функции D-BASS Вы можете
предохранитель.
легко акцентировать и подстраивать
• В случае если с громкоговорителей
характеристики низкочастотных звуков.
стереосистемы с двумя
D-BASS 3
громкоговорителями не поступает звук,
D-BASS 2
установите регулятор балансировки
D-BASS 1
переднего/заднего громкоговорителй в
Уровень
среднее положение.
• В случае если на Вашей машине есть
0dB
антенна с электроприводом, она
Частота (Гц)
выдвигается автоматически, когда
проигрыватель работает.
Подстройка низкочастотной
В случае возникновения у Вас каких-либо
характеристики
вопросов или проблем, связанных с Вашим
проигрывателем и не рассмотренных в
Вращая регулятор D-BASS,
данном Руководстве по эксплуатации,
установите уровень низкочастотных
обратитесь, пожалуйста, за консультацией
звуков (1, 2 или 3).
к ближайшему дилеру фирмы Sony.
На дисплее появляется надпись
“D-BASS”.
Примечания об обращении с
компакт-дисками
Для отмены этой функции переведите
Загрязненный или поврежденный диск
регулятор в положение OFF.
может вызывать пропадание звука во
время воспроизведения. Для получения
Примечание
оптимального звука берите диск за края.
В случае если происходит искажение
Чтобы диск оставался чистым, не
низкочастотных звуков, подрегулируйте их при
прикасайтесь к его поверхности.
помощи регулятора D-BASS или уровня
громкости.
Не приклеивайте бумагу или клейкую
ленту на ту сторону диска, на которую
нанесено его название.
Продолжение на следующей странице n
19

Оберегайте компакт-диски от прямого
О дисках
попадания солнечных лучей, не держите их
В случае использования Вами дисков, о
поблизости от источников тепла
которых говорится ниже, имеющийся на их
(например, у воздуховодов отопителя) и не
поверхности липкий налет может служить
оставляйте их внутри автомобиля
причиной остановки вращения диска,
запаркованного в солнечном месте, так как
приводить к сбоям в работе аппарата или
при этом возможно сильное нагревание
порче дисков.
воздуха в салоне.
Не пользуйтесь подержанными или
взятыми напрокат дисками, на поверхности
которых имеется липкий налет (например,
оставшийся от снятой наклейки либо
чернил) или на которых из-под этикетки
вытек клей.
На поверхности диска -
остатки клея
Перед прослушиванием протирайте диски
Использованы липкие
специальной чистящей салфеткой
чернила
(приобретается отдельно). Протирать диск
следует от центра к краям.
Не пользуйтесь взятыми напрокат
Не пользуйтесь растворителями,
компакт-дисками со старыми, начавшими
разбавителями или бензином, а также
отклеиваться этикетками.
имеющимися в продаже чистящими
Начавшие отклеиваться
составами или распылителями для
этикетки, оставляющие
антистатической обработки,
липкий след на диске
предназначенными для аналоговых
пластинок.
Не пользуйтесь своими компакт-дисками,
на которые налеплены этикетки или
наклейки.
Наклеены этикетки
Конденсация влаги
В дождливую погоду или при резком
повышении влажности воздуха на линзах
внутри компакт-проигрывателя может
произойти конденсация влаги. При этом
работа аппарата будет нарушена. В
подобном случае из проигрывателя
следует извлечь диск и дать аппарату
просохнуть в течение примерно одного
часа.
Воспроизведение компакт-дисков
диамтром 8 см
Чтобы не повредить проигрыватель,
пользуйтесь приобретаемым
дополнительно переходником Sony для
дисков формата “сингл” (СSA-8).
20

Примечания
• В целях безопасности перед очисткой
Уход за аппратом
контактов выключите двигатель автомобиля и
выньте ключ из замка зажигания.
Замена плавкого предохранителя
• Ни при каких обстоятельствах не прикасайтесь
к контактам непосредственно пальцами или
При замене предохранителя следите за
какими бы то ни было металлическими
тем, чтобы новый предохранитель был
предметами.
рассчитан на туже силу тока, которая
указана на корпусе старого
предохранителя. Если предохранитель
перегорел, проверьте подключение и
Демонтаж аппарата
замените его. Быстрое перегорание нового
предохранителя может свидетельствовать
о неисправности аппарата. В данном
случае обратитесь к ближайшему дилеру
Sony.
Демонтажный ключ
(прилагается)
µ
Плавкий
предохранитель
(10 А)
Внимание!
µ
Во избежание повреждения аппарата ни в
коем случае не пользуйтесь
предохранителями, рассчитанными на
большую силу тока, чем тот, который
прилагается к проигрывателю.
Чистка контактов передней панели
µ
Загрязнение контактов между аппаратом и
передней панелью может вызвать сбои в
Просунув монтажный ключ в щель, вытяните
работе проигрывателя. Чтобы не допустить
аппрат на себя.
этого снимайте периодически переднюю
панель, освобождая ее кнопкой (RELEASE),
и протирайте контакты ватным тампоном
со спиртом.. Не давите на контакты
слишком сильно, чтобы не повредить их.
Корпус аппарата
Обратная сторона передней панели
21

Технические характеристики
Проигрыватель компакт-дисков
Общие данные
Система Цифровая система
Выходные контакты Провод управления реле
воспроизведения
самовыдвигающейся
компакт-дисков
антенны
Отношение сигнал/шум 80 дБ
Провод управления
функцией АТТ
Полоса частот 10 – 20.000 Гц
Регулировка тембра Низкие ±8 дБ при 100 Гц
Детонация Ниже минимального
Высокие ±8 дБ при
уровня
10 кГц
поддающегося
Питание от автомобильного аккумулятора
измерению
12 В постоянного тока
(масса отрицательная)
Радиоприемник
Габариты (прибл.) 178 × 50 × 185 мм (ш/в/г)
Монтажные габариты (прибл.)
FM
182 × 53 × 162 мм (ш/в/г)
Диапазон настройки 87,5 – 108,0 МГц
Масса (прибл.) 1,2 кг
Вход антенны Гнездо для подключения
Комплектация Набор для монтажа и
наружной антенны
подсоединения (1 набop)
Промежуточная частота 10,7 МГц
Футляр передней модели
Эффективная чувствительность
(1)
Дополнительные принадлежности (в комплект не
12 дБ
входят)
Избирательность 75 дБ при 400 кГц
Вращающийся
Отношение сигнал/шум 65 дБ (стерео),
дистанционный
68 дБ (моно)
переключатель RM-X4S
Коэффициент гармоник при 1 кГц
Переходник для
0,8 % (стерео),
компакт-дисков формата
0,6 % (моно)
“сингл” CSA-8
Разделение 35 дБ при 1 кГц
Полоса частот 30 – 15.000 Гц
Конструкция и технические характеристики могут
MW/LW
быть изменены без извещения
Диапазон настройки MW: 531 – 1.602 кГц
LW: 153 – 281 кГц
Вход антенны Гнездо для подключения
внешней антенны
Промежуточная частота 10,7 МГц/450 кГц
Чувствительность MW: 30 µV
LW: 50 µV
Усилитель мощности
Выходы Клеммы для
подключения
громкоговорителей
(с фиксаторами)
Сопротивление громкоговорителей
4 – 8 Ом
Максимальная выходная мощность
45 W × 4 (при
сопротивлении 4 Ом)
22

Устранение неполадок
Приводимый ниже справочный перечень поможет Вам в устранении проблем, которые
могут возникнуть с Вашим проигрывателем
Перед просмотром этого перечня загляните сначала в инструкции по подсоединению и
эксплуатации проигрывателя.
Общие проблемы
Проблема
Причина/Способ устранения
Нет звука.
• Отмените функцию АТТ.
• В случае стереосистемы с двумя громкоговорителями
установите регулятор баланса средних и заданих
громкоговорителей в среднее положение.
• Вращением кольцевого регулятора по часовой стрелке
подстройте уровень громкости.
Стерлась информация,
• Отсоединен провод питания проигрывателя либо
введенная в память.
отключен аккумулятор автомобиля.
• Нажата кнопка переустановки.
n Введите нужную информацию повторно.
Индикация не выводится на
Снимите переднюю панель и очистите контакты.
дисплей.
Подробнее об этом см. в разделе “Чистка контактов
передней панели” (стр. 20).
Не работает
Предупреждающий сигнал приглушен (см. стр. 18).
предупреждающий сигнал.
Воспроизведение компакт-дисков
Проблема
Причина/Способ устранения
Не вставляется компакт-
• В проигрывателе уже есть компакт-диск.
диск.
• Компакт-диск был ошибочно установлен в перевернутом
положении.
Не включается
Компакт-диск загрязнен.
воспроизведение.
Компакт-диск
Температура окружающего воздуха превышает 50°C.
автоматически
выталкивается.
Компакт-диск не
Нажмите 6 в течение двух секунд.
выталкивается.
Не работают кнопки
Нажмите кнопку переустановки.
управления.
Скачки звука при вибрации
• Аппарат смонтирован под углом более 60°.
автомобиля.
• Аппарат смонтирован в неустойчивой части машины.
Продолжение на следующей странице n
23

Прием радиопрограмм
Проблема
Причина/Способ устранения
Настройка в режиме
• Занесите в память правильную частоту.
предустановки невозможна.
• Транслируемый сигнал слишком слаб.
Невозможна
Транслируемый сигнал слишком слаб.
автоматическая настройка.
n Осуществите ручную настройку.
Не удается настроиться на
Подсоедините провод питания электроприводной антенны
нужные станции.
(синий) или провод питания дополнительной аппаратуры
Слышны помехи.
(красный) к питающему проводу автомобильного антенного
усилителя. (Только в том случае если Ваш автомобиль
оснащен FM/MW/LW-антенной, встроенной в заднее/
боковое стекло.)
На дисплее мигает “ST”.
• Правильно настройтесь на частоту.
• Транслируемый сигнал слишком слаб.
n Переключитесь на режим MONO (см. стр. 10).
RDS
Проблема
Причина/Способ устранения
После нескольких секунд
Станция не передает дорожных программ или ее сигнал
прослушивания включается
слишком слаб.
функция SEEK.
n Последовательно нажимайте (AF/TA) до появления на
дисплее надписи “AF TA- OFF”.
Нет дорожных сообщений.
• Активируйте функцию “ТА”.
• Станция не транслирует дорожных сообщений, хотя и
относится к типу ТР.
n Настройтесь на другую станцию.
На дисплее PTY
Станция не указывает тип программы.
высвечивается “NONE”.
Если вышеприведенные способы устранения неполадок не помогают в решении возникшей
проблемы, проконсультируйтесь с ближайшим дилером фирмы “Sony”.
Sony Corporation Printed in Thailand
24



