Sony CDX-2500R – page 3
Manual for Sony CDX-2500R
Table of contents
- Table of Contents
- Location of controls
- Getting Started Resetting the unit Detaching the front panel
- Setting the clock
- CD Player Listening to a CD
- Playing a CD in various Radio modes Memorising stations automatically
- Receiving the memorised stations Memorising only the desired stations
- RDS Overview of the RDS function Displaying the station name
- Retuning the same programme automatically
- Listening to traffic announcements
- Presetting the RDS stations with the AF and TA data
- Locating a station by programme type
- Setting the clock Other Functions automatically Labelling the rotary commander
- Using the rotary commander
- Adjusting the sound characteristics Attenuating the sound
- Changing the sound and display settings
- Additional Boosting the bass sound Information Precautions
- Notes on moisture condensation When you play 8 cm CDs Notes on discs
- Maintenance Dismounting the unit
- Specifications CD player section General Tuner section Power amplifier section
- Troubleshooting guide General CD playback
- Radio reception RDS

Další funkce
Otáčejte knoflíkem VOL, jestliže
Nastavení zabarvení
chcete nastavit hlasitost.
zvuku
Stiskněte
(ATT), chcete-
li ztlumit zvuk.
Můžete nastavit basy, výšky, vyvážení vlevo-
vpravo a vepředu-vzadu.
OFF
Pro každý zdroj můžete zadat zvláš úroveň
basů a výšek.
Stiskněte (OFF),
chcete-li přístroj
1 Zadejte položku, kterou chcete nastavit,
vypnout.
opakovaným tisknutím (SOUND).
Stiskněte (SOUND), chcete-li nastavit
VOL (hlasitost) n BAS (basy) n
hlasitost nebo zabarvení zvuku.
TRE (výšky) n BAL (vlevo-vpravo) n
FAD (vepředu-vzadu)
2 Zadanou položku nastavte otáčením
knoflíku.
Položku nastavte do tří sekund po jejím
zadání. (Po třech sekundách bude knoflík
opět fungovat jako knoflík pro ovládání
hlasitosti).
Stiskněte (LIST), abyste vyvolali jména
druhů programů (pouze režim FM).
Změna směru funkce
Směr funkcí knoflíku je výrobcem nastaven
Ztlumení zvuku
podle ilustrace níže.
Zvyšování
Stiskněte (ATT) na přídavném dálkovém
ovladači.
Na displeji krátce zabliká “ATT-ON”.
Chcete-li nastavit původní úroveň hlasitosti,
stiskněte opět (ATT).
Snižování
Tip
Jestliže jste nuceni upevnit dálkový ovladač na
Jestliže je spojovací kabel od autotelefonu zapojen
pravé straně sloupku volantu, můžete směr
na kabel ATT, ztlumí přístroj automaticky hlasitost,
jakmile zazvoní telefon (funkce Telefon ATT).
funkcí otočit.
Stiskněte (SOUND) na dvě sekundy a
zatlačte přitom na knoflík VOL.
Tip
Máte možnost změnit směr funkcí daných knoflíků
přes přístroj (strana 18).
17

1 Stiskněte (SHIFT).
Změna nastavení zvuku
2 Tiskněte opakovaně (2) (SET UP),
a displeje
dokud se neobjeví požadovaná položka.
Můžete nastavit následující položky:
Při každém stisknutí tlačítek (2) (SET UP),
•CLOCK - hodiny (strana 6).
se budou položky měnit následovně:
•CT (automatické nastavení hodin) (strana 15).
•D.INFO (dvojí informace) - znázornění hodin
CLOCK n CT n D.INFO* n BEEP n RM n
a režimu přehrávání zároveň (ON), nebo
M.DSPL
střídavě (OFF).
* Jestliže není přehráván ani CD ani MD, neobjeví
•BEEP - zapnutí nebo vypnutí pípání.
se tato položka.
•RM (otočný dálkový ovladač) - změna směru
funkcí ovládacích prvků na dálkovém
Poznámka
Položka na displeji se bude měnit podle daného
ovladači.
zdroje.
— Zadejte “NORM”, chcete-li používat
dálkový ovladač v nastavení, zadaném
výrobcem.
3 Stiskněte (4) (n), abyste zadali
— Zadejte “REV”, chcete-li upevnit dálkový
požadované nastavení (Příklad: ON nebo
ovladač na pravé straně sloupku volantu.
OFF).
•M.DSPL (akční displej) - zapínání a vypínání
akčního displeje.
4 Stiskněte (SHIFT).
Když je nastavení ukončeno, objeví se
displej pro normání přehrávání.
18

Dodatečné
Zvýraznění basů — D-bass
informace
Můžete se těšit z poslechu jasných a silných
basů. Funkce D-bass zvýrazňuje signály sa
nižšími frekvencemi a ostřejší křivkou než
konvenční zvýraznění basů.
Basy uslyšíte mnohem jasněji, i když budou
Bezpečnostní
vokály nastaveny na stejnou hlasitost. Basy
můžete zvýraznit a nastavit snadno za pomoci
upozornění
ovladače D-BASS.
•Bylo-li vaše auto zaparkováno na přímém
D-BASS 3
slunci a došlo-li k velkému zvýšení teploty
D-BASS 2
D-BASS 1
uvnitř auta, nechte přístroj vychladnout, než
Úroveň
ho uvedete do provozu.
• Není-li přístroj pod proudem, zkontrolujte
napřed jeho zapojení. Je-li vše v pořádku,
0dB
zkontrolujte pojistku.
Frekvence (Hz)
•Jestliže se z reproduktorů neozývá žádný
zvuk, když jsou zapojené 2 reproduktory,
Nastavení křivky basů
nastavte vyvážení reproduktorů do středové
Otáčejte ovladačem D-BASS, abyste
polohy.
nastavili úroveň basů (1, 2 nebo 3).
•Jestliže je vaše auto vybaveno elektrickou
Na displeji se objeví “D-BASS”.
anténou, zapamatujte si, že tato se bude
vysouvat automaticky, jakmile zapnete rádio.
Chcete-li nastavení zrušit, otočte ovladač na
OFF - vypnuto.
Vyskytnou-li se další otázky nebo problémy
týkající se vašeho přístroje, které nejsou
Poznámka
popsány v tomto návodu k použití, obrate se
Jsou-li basy zkreslené, nastavte je za pomoci tlačítka
na nejbližší zastoupení firmy Sony.
D-BASS nebo tlačítka pro nastavení hlasitosti.
Poznámky k zacházení s CDs
Zašpiněné nebo poškozené disky mohou vést
k přeskakování zvuku během přehrávání.
Abyste mohli poslouchat optimální zvuk,
sahejte na CD pouze na jeho hranách. Aby
zůstaly disky čisté, nedotýkejte se jejich
povrchu.
Na potištěnou stranu nelepte ani nálepky ani
lepící pásky.
pokračování na další straně n
19

Nevystavujte disky přímému slunečnímu záření
Poznámky ke zkondenzování vlhkosti
ani zdrojům tepla jako jsou ventilátory,
Za velmi deštivých dnů nebo ve velmi vlhkém
nenechávejte je v autě zaparkovaném na
prostředí může dojít ke zkondenzování vlhkosti
přímém slunci, kdy by mohla teplota uvnitř
na čočkách uvnitř přehrávače CD. Jestliže k
auta nepřiměřeně stoupnout.
tomu dojde, nebude přístroj řádně fungovat. V
tom případě vyjměte disk a počkejte nejméně
hodinu, dokud se vlhkost nevypaří.
Jestliže přehráváte 8 centimetrové
disky
Použijte přídavný adaptér Sony compact disc
single (CSA-8), abyste uchránili přehrávač CD
před poškozením.
Před začátkem přehrávání očistěte CD jemnou
prachovkou. CD otírejte směrem od středu k
okrajům.
Nepoužívejte rozpouštědla jako je benzín,
ředidla, běžné čistící přípravky nebo
antistatický spray, určený pro analogové
disky.
Poznámky k diskům
Jestliže budete používat disky popsané níže,
mohou nalepené zbytky způsobit, že se CD
přestane točit a mohou vést k poruchám nebo
zničení vašeho disku.
Nepoužívejte disky, které jste koupili již
použité nebo z půjčovny, které mají na
povrchu nalepené zbytky (například od
sloupnutých nálepek, inkoustu nebo zbytky
lepidla nálepek).
Zde jsou zbytky lepidla
Inkoust je lepkavý
Nepoužívejte CD z půjčovny se starými
nálepkami, které se začínají odloupávat.
Nálepky, které se začínají
odloupávat, zanechávají
lepkavé zbytky
Nepoužívejte vaše Cd, na které byly
dodatečně nalepeny nálepky nebo štítky.
Nalepené štítky
20

Údržba
Demontáž přístroje
Výměna pojistky
Při výměně pojistky se ujistěte, abyste použili
pojistku se správnou hodnotou, která je
uvedena na jejím povrchu. Jestliže pojistka
Uvolňovací klíč
praskne, zkontrolujte zapojení proudu a
(součást
pojistku vyměňte. Jestliže pojistka po výměně
příslušenství)
opět praskne, může to být v důsledku poruchy
µ
přístroje. V tom případě se obrate na nejbližší
zastoupení Sony.
µ
Pojistka (10 A)
Upozornění
Nikdy nepoužívejte pojistky s vyšší ampérovou
hodnotou, než jaké jsou v přístroji, protože by
µ
to mohlo způsobit poškození přístroje.
Vysuňte přístroj dopředu, uvolňovací klíč musí být
přitom zasunutý.
Čistění kontaktů
Jestliže jsou kontakty mezi přístrojem a
předním panelem znečistěné, nebude přístroj
fungovat řádně. Abyste tomu předešli,
uvolněte přední panel stisknutím tlačítka
(RELEASE), sejměte ho a potom vyčistěte
konektory smotkem bavlněného hadříku
navlhčeného v alkoholu. Na kontakty přitom
příliš netlačte, abyste je nepoškodili.
Přístroj
Zadní strana předního panelu
Poznámky
• Pro vaši bezpečnost vypněte motor před čistěním
konektorů a vytáhněte klíček od zapalování.
• Nikdy se nedotýkejte kontaktů přímo prsty ani
žádnými kovovými předměty.
21

Technické údaje
Přehrávač CD
Všeobecně
Systém Digitální audio systém pro
Výstupy Pro kabel k elektrické
kompaktní disky
anténě
Odstup signálu od šumu 80 dB
kabel k autotelefonu
Odpovídající kmitočet 10 – 20.000 Hz
Telephone ATT
Pomalé a rychlé kolísání Pod měřitelnou hranicí
Ovládání zvuku Basy ±8 dB při 100 Hz
Výšky ±8 dB při 10 kHz
Napájení autobaterie - stejnosměrný
Rádio
proud 12 V DC
FM
(záporné ukostření)
Kmitočtový rozsah 87,5 – 108,0 MHz
Rozměry Přibl. 178 × 50 × 185 mm
Připojení antény Externí zdířka pro napojení
(š/v/h)
antény
Rozměry pro montáž Přibl. 182 × 53 × 162 mm
Mezifrekvenční kmitočet 10,7 MHz
(š/v/h)
Citlivost 12 dBf
Hmotnost Přibl. 1,2 kg
Selektivita 75 dB při 400 kHz
Dodávané příslušenství Součásti pro instalaci a
Odstup signálu od šumu 65 dB (stereo),
zapojení (1 souprava)
68 dB (mono)
Pouzdro na přední panel
Harmonická distorze při 1 kHz
(1)
0,8 % (stereo),
Doplňky, které lze dokoupit
0,6 % (mono)
Otočný dálkový ovladač
Rozlišení 35 dB při 1 kHz
RM-X4S
Frekvence 30 – 15.000 Hz
Adaptér Compact disc
single CSA-8
MW/LW
Kmitočtový rozsah MW: 531 – 1.602 kHz
LW: 153 – 281 kHz
Design a technické parametry mohou být změněny
Připojení antény Externí zdířka pro napojení
bez předchozího upozornění.
antény
Mezifrekvenční kmitočet 10,7 MHz/450 kHz
Citlivost MW: 30 µV
LW: 50 µV
Zesilovač
Výstupy Výstupy pro reproduktory
(bezpečnostní konektory)
Impedance reproduktorů 4 – 8 ohmů
Maximální výstup
45 W × 4 (při 4 ohmech)
22

Odstranění případných drobných závad
Následující přehled vám pomůže odstranit většinu závad, se kterými se případně při obsluze
vašeho přístroje setkáte.
Než si přečtete následující přehled, seznamte se s instrukcemi pro napojení a obsluhu.
Všeobecně
Problém
Příčina/Odstranění
Žádný zvuk.
• Zrušte funkci ATT.
• Nastavte kontrolu vyvážení do středové polohy při systému 2
reproduktorů.
• Otáčejte knoflíkem ve smyslu hodinových ručiček, abyste
nastavili hlasitost.
Obsah paměti byl vymazán.
• Došlo k odpojení kabelu pro přívod proudu nebo baterie.
• Došlo ke stisknutí tlačítka na vynulování přístroje.
n Uložte údaje znovu do paměti.
Na displeji nesvítí žádné
Sejměte přední panel a vyčistěte konektory. Viz “Čistění
indikace.
konektorů” (strana 20).
Není slyšet pípání.
Pípání je vypnuté (strana 18).
Přehrávání CD
Problém
Příčina/Odstranění
Není možné vložit disk.
• Již je vložený jiný disk.
• CD byl silou zasunut horní stranou dolů nebo nesprávným
způsobem (MD).
Přehrávání nezačne.
Zašpiněný CD.
Došlo k automatickému
Okolní teplota se zvýšila na více než 50˚C.
vysunutí disku.
Není možné vysunout CD.
Stiskněte 6 na dvě sekundy.
Tlačítka pro ovládání nefungují.
Stiskněte tlačítko na vynulování.
Zvuk přeskakuje v následku
• Přístroj je instalován pod úhlem větším než 60˚.
vibrací.
• Přístroj není instalován na stabilním místě v autě.
pokračování na další straně n
23

Poslech rádia
Problém
Příčina/Odstranění
Není možné naladit stanici
• Zadejte správnou frekvenci.
uloženou v paměti.
• Vysílání je příliš slabé.
Automatické ladění nefunguje.
Vysílání je příliš slabé.
n Nalate stanice manuálně.
Není možné naladit stanice.
Zapojte kabel pro elektrické ovládání antény (modrý) nebo
Zvuk je rušený.
přídavný kabel pro napájení antény (červený) na kabel pro
napájení zesilovače antény. (Pouze jestliže má Vaše auto
zabudovanou anténu FM/MW/LW na zadním/postranním skle.)
Indikátor “ST” bliká.
• Nalate přesně danou frekvenci.
• Vysílání je příliš slabé.
n Nastavte vysílání MONO (strana 10).
RDS
Problém
Příčina/Odstranění
Funkce SEEK vyhledávání
Stanice bez TP nebo se slabým signálem.
začíná po několika sekundách
n Tiskněte opakovaně (AF/TA) , dokud se neobjeví “AF TA-
poslechu.
OFF”.
Žádná dopravní hlášení.
• Zaktivujte “TA.”
• Stanice nevysílá žádné dopravní hlášení i přes TP.
n Nalate jinou stanici.
Funkce PTY ukazuje “NONE.”
Stanice neoznačuje druh programu.
Nepodaří-li se Vám odstranit závadu na základě uvedených postupů, obrate se na nejbližší
zastoupení firmy Sony.
24

25

Witamy !
Dziękujemy za zakupienie Odtwarzacza Płyt
Kompaktowych firmy Sony. Niniejszy sprzęt
posiada wiele funkcji uprzyjemniających
użytkowanie oraz może być obsługiwany przy
pomocy pilota zdalnego sterowania.
2

Spis treści
Umiejscowienie kontrolek ................................... 4
Informacje dodatkowe
Środki ostrożności ........................................ 19
Przygotowanie sprzętu
Konserwacja ................................................. 21
Zerowanie sprzętu .......................................... 5
Wymontowanie sprzętu ................................ 21
Zdejmowanie przedniego panelu.................... 5
Dane techniczne ........................................... 22
Ustawienie zegara .......................................... 6
Usuwanie usterek ......................................... 23
Odtwarzacz płyt CD
Słuchanie płyty CD ......................................... 7
Odtwarzanie płyty CD - różne tryby
odtwarzania ................................................ 8
Radio
Automatyczne zapisywanie pozycji stacji
radiowych w pamięci sprzętu
— tzw. “Best Tuning Memory” (BTM =
pamięć najlepszego strojenia).................... 8
Zapisywanie w pamięci sprzętu wyłącznie
pozycji wybranych stacji ............................9
Odbiór zaprogramowanych stacji
radiowych ................................................... 9
RDS
Funkcja RDS w skrócie ................................. 10
Wyświetlenie nazwy stacji ............................ 10
Automatyczne powtórne dostrojenie tego
samego programu
— funkcja alternatywnych zakresów
częstotliwości (AF) ................................... 11
Odbiór migawek o ruchu drogowym ............ 12
Programowanie pozycji stacji emitujących
RDS wraz z danymi AF i TA ..................... 13
Szukanie stacji wg. typu programu .............. 14
Automatyczne ustawienie zegara ................. 15
Inne funkcje
Oznakowanie rotacyjnego pilota zdalnego
sterowania ................................................ 15
Korzystanie z rotacyjnego pilota zdalnego
sterowania ................................................ 16
Regulacja charakterystyki dźwięku...............17
Wyciszanie dźwięku ...................................... 17
Zmiana ustawień dźwięku i wskazań ............ 18
Wzmacnianie tonów niskich
— funkcja D-bass .................................... 19
3

Umiejscowienie kontrolek
MODE
SEEK/AMS
SOUND
PTY
AF/TA
DSPL
OFF
1
2
D
3
SOURCE
D - BASS
SHIFT
OFF
2 3 4 5 6 7 8 9110
RELEASE
CDX–2500R
Szczegółowe informacje znajdują się na stronach podanych obok opisu kontrolki.
1 Kontrolka SEEK/AMS (przeszukiwanie/
!¡ Przycisk RELEASE (zwolnienie
automatyczny czujnik muzyki/
przedniego panelu) - str. 5, 20
przeszukiwanie manualne) - str. 7, 9,
!™ Przycisk zerowania (znajduje się na
11, 14
przodzie sprzętu pod przednim
2 Przycisk MODE (wybór pasma/sprzętu)
panelem) - str. 5
- str. 8, 9
!£ Przycisk OFF* - str. 5, 7
3 Przycisk SOURCE (wybór źródła) - str.
!¢ Przycisk SHIFT
7, 8, 9, 13
Przycisk PLAY MODE - str. 8, 9, 10, 12,
4 Kontrolka (głośność/tony niskie/tony
13
wysokie/wyważenie lewych i prawych
Przycisk REP - str. 8
głośników/wyważenie przednich i
Przycisk SET UP - str. 6, 15, 18
tylnych głośników) - str. 6, 17
Przycisk SHUF - str. 8
5 Przycisk SOUND - str. 17
!∞ Podczas odbioru radia:
Przyciski numeryczne - str. 9, 12, 13
6 Przycisk DSPL (wyświetlenie zmiany
trybu) - str. 7, 10, 11
!§ Kontrolka D-BASS - str. 19
7 Okienko wyświetlacza
8 Przycisk PTY - str. 14
9 Przycisk 6 (wysunięcie) - str. 7
*Ostrzeżenie w przypadku montażu w
0 Przycisk AF/TA - str. 11, 12, 13
pojeździe nie posiadającym na
stacyjce pozycji ACC (pomocnicza
pozycja)
Przez dwie sekundy naciskać
umieszczony na sprzęcie przycisk (OFF)
aby po wyłączeniu silnika wyłączyła się
również świetlna sygnalizacja zegara.
Krótkie naciśnięcie przycisku (OFF) nie
wyłączy sygnalizacji świetlnej zegara i tym
sposobem spowoduje niepotrzebne zużycie
mocy akumulatora.
4

Uwagi
Przygotowanie
• Proszę uważać, by nie upuścić panelu podczas
zdejmowania.
sprzętu
• Jeżeli zdejmuje się panel gdy sprzęt jest nadal
włączony, zasilanie sprzętu wyłączy się
automatycznie aby zapobiec uszkodzeniu
głośników.
• Zabierając ze sobą przedni panel, proszę go
zawsze przechowywać w załączonym etui.
Zerowanie sprzętu
Zakładanie przedniego panelu
Sprzęt musi zostać wyzerowany, jeżeli się
będzie z niego korzystało po raz pierwszy lub
Proszę założyć przedni panel, tak by jego
jeżeli wymieniony został akumulator pojazdu.
strona oznakowana na ilustracji literą a
Proszę zdjąć przedni panel i szpiczastym
pasowała do strony korpusu oznakowanej na
przedmiotem (np. długopisem), nacisnąć
rysunku literą b, następnie proszę go
przycisk zerowania.
docisnąć, tak by zaskoczył.
Przycisk zerowania
Uwagi
a
• Naciśnięcie przycisku zerowania powoduje
wymazanie ustawień zegara i niektórych funkcji
b
zapisanych w pamięci sprzętu.
• Po podłączeniu do sprzętu kabla zasilania lub po
wyzerowaniu sprzętu proszę odczekać przez mniej
więcej 10 sekund, przed umieszczeniem płyty.
Wsunięcie płyty przed upływem 10 sekund
Uwagi
spowoduje anulowanie uprzednio
• Proszę zwrócić na to uwagę, by panel nie został
przeprowadzonego zerowania sprzętu. W takim
zamontowany do góry nogami.
przypadku należy ponownie nacisnąć przycisk
• Nie należy zbyt silnie dociskać panelu przy
zerowania.
zakładaniu.
• Nie należy ani zbyt silnie naciskać, ani wywierać
silnego nacisku na okienko wyświetlacza
przedniego panelu.
• Przedni panel nie może być narażany na
bezpośrednie nasłonecznienie lub działanie źródeł
Zdejmowanie
ciepła, takich jak przewody ogrzewania; nie należy
pozostawiać go w wilgotnym miejscu. Nigdy nie
przedniego panelu
należy kłaść na desce rozdzielczej w samochodzie,
zaparkowanym w silnie nasłonecznionym miejscu
Zdjęcie przedniego panelu oferuje
lub narażonym na znaczny wzrost temperatury
zabezpieczenie sprzętu przed kradzieżą.
wewnątrz pojazdu.
Alarm ostrzegawczy
1 Proszę nacisnąć przycisk (OFF).
Przekręcenie kluczyka zapłonu przed zdjęciem
panelu powoduje włączenie się
2 Proszę nacisnąć przycisk (RELEASE),
kilkusekundowego alarmu ostrzegawczego.
następnie przesunąć panel lekko w lewo
i zdjąć pociągając do siebie.
(OFF)
(RELEASE)
5

2 Proszę nacisnąć przycisk (SHIFT).
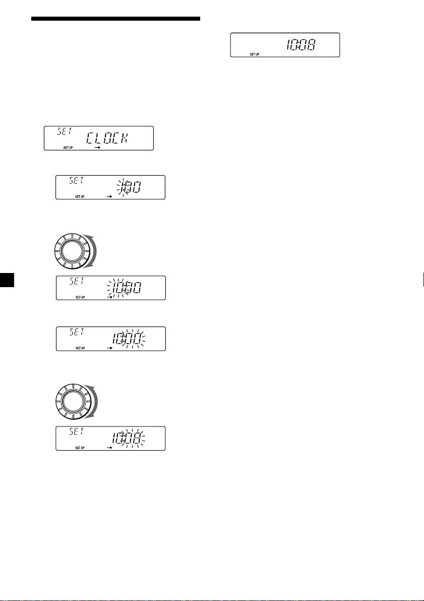
Ustawienie zegara
Wskazania pory na zegarze bazują na
cyfrowym systemie 24-godzinnym.
Zegar zaczyna chodzić.
Przykład: Ustawienie zegara na godzinę 10:08
1 Proszę nacisnąć przycisk (SHIFT),
3 Proszę nacisnąć przycisk (SHIFT).
następnie kilkakrotnie przycisk (2) (SET
Po zakończeniu ustawiania zegara,
UP) do momentu wyświetlenia symbolu
wskazania wyświetlacza powracają do
“CLOCK”.
wskazań dla normalnego odtwarzania.
1 Proszę nacisnąć przycisk (4) (n).
Wskazanie godziny miga.
2 Proszę ustawić godzinę.
cofanie się
SOURCE
przesunięcie do przodu
3 Proszę nacisnąć przycisk (4) (n).
Wskazanie minut miga.
4 Proszę ustawić minuty.
cofanie się
SOURCE
przesunięcie do przodu
6

Zmiana wyświetlanego wskaźnika
Każde naciśnięcie przycisku (DSPL) podczas
odtwarzania płyty CD powoduje, że
Odtwarzacz płyt CD
wyświetlany wskaźnik zmienia się w
następujący sposób:
Numer nagrania/Czas odtwarzania, który już
upłynął ˜ Zegar
Słuchanie płyty CD
Po wybraniu żądanego wskaźnika po paru
Proszę wsunąć płytę CD do sprzętu.
sekundach nastąpi automatyczne włączenie
Odtwarzanie rozpoczyna się
się trybu Motion Display (ruchomy,
automatycznie.
przesuwający się ekranopis).
Stroną z nadrukiem skierowaną do góry
W trybie przesuwającego się ekranopisu
wszystkie powyższe wskaźniki zostaną po
kolei wyświetlone na ekranie.
Wskazówka
Tryb przesuwającego się ekranopisu może zostać
wyłączony. (Szczegóły są podane w rozdziale
“Zmiana ustawień dźwięku i wskazań” na stronie 18).
Szukanie określonego nagrania
Jeżeli płyta CD zastała uprzednio wsunięta,
— Automatyczny Czujnik Muzyki
proszę kilkakrotnie nacisnąć przycisk
(AMS)
(SOURCE) do momentu wyświetlenia symbolu
“CD”, celem rozpoczęcia odtwarzania
Proszę podczas odtwarzania przesunąć
Czas odtwarzania,
kontrolkę SEEK/AMS do góry lub w dół i
Wskaźnik CD
który już upłynął
następnie zwolnić dla każdego z nagrań,
które ma zostać pominięte.
Aby zlokalizować
SEEK/AMS
następne kolejności
nagranie
Numer nagrania
Aby zlokalizować
poprzednie nagranie
Uwaga
Aby odtworzyć płyty CD o średnicy 8 cm, proszę
korzystać z opcjonalnego adaptera firmy Sony
Szukanie określonego miejsca w
(CSA-8) dla singlowych płyt kompaktowych.
nagraniu
— Szukanie manualne
Aby Proszę nacisnąć
przycisk
Proszę podczas odtwarzania przesunąć
kontrolkę SEEK/AMS do góry lub w dół i
zatrzymać odtwarzanie 6 lub (OFF)
trzymać ją w tej pozycji. Zwolnić
kontrolkę po znalezieniu właściwego
wysunąć płytę CD 6
miejsca.
SEEK/AMS
Przeszukiwanie do przodu
Przeszukiwanie wstecz
Uwaga
Jeżeli na wyświetlaczu wyświetlany jest symbol
“
” lub symbol “ ”, oznacza to, że
zlokalizowano początek lub koniec płyty i
przeszukiwanie zostało zakończone.
7

Odtwarzanie płyty CD -
Radio
różne tryby odtwarzania
Płyta CD może być odtwarzana w różnych
trybach:
•Tryb REP (odtwarzanie z powtórzeniem) -
Automatyczne
ponowne odtworzenie aktualnego nagrania.
•Tryb SHUF (odtwarzanie z wymieszaniem) -
zapisywanie pozycji
odtwarzanie wszystkich nagrań w
przypadkowej kolejności.
stacji radiowych w
Odtwarzanie nagrań z powtórzeniem
pamięci sprzętu
— Odtwarzanie z powtórzeniem
— tzw. “Best Tuning Memory” (BTM =
1 Proszę podczas odtwarzania nacisnąć
pamięć najlepszego strojenia)
przycisk (SHIFT).
Każde naciśnięcie przycisku (SHIFT)
Sprzęt wybiera stacje o najsilniejszym sygnale
powoduje, podświetlenie wyłącznie tych
i zapisuje je w pamięci w kolejności
ustawień, których wyboru można dokonać.
odpowiadającej kolejności ich częstotliwości.
DSPL
Dla każdego pasma (FM1, FM2, MW i LW)
D
D
można zapisać w pamięci maksymalnie 10
SHIFT
stacji.
OFF
2 3 4 5 6 7 81
Uwaga
Jeżeli dostraja się stacje podczas
2 Proszę kilkakrotnie nacisnąć przycisk
prowadzenia pojazdu, proszę korzystać z
(6) (REP) do momentu wyświetlenia
funkcji “Best Tuning Memory”, aby
symbolu “REP-1”.
zagwarantować bezpieczeństwo jazdy.
1 Proszę kilkakrotnie nacisnąć przycisk
(SOURCE), celem wybrania tunera.
Rozpoczyna się odtwarzanie z powtórzeniem.
Każde naciśnięcie przycisku (SOURCE)
powoduje, że wyświetlane źródło zmienia
3 Proszę nacisnąć przycisk (SHIFT).
się w następujący sposób:
z TUNER z CD
Celem powrócenia do normalnego trybu
odtwarzania, proszę wybrać pozycję “REP-
OFF” w ramach czynności opisanych powyżej
w punkcie 2.
2 Proszę kilkakrotnie nacisnąć przycisk
(MODE), celem wybrania pasma.
Odtwarzanie nagrań w przypadkowej
Każde naciśnięcie przycisku (MODE)
kolejności
powoduje, że wyświetlane pasmo zmienia
— Odtwarzanie z wymieszaniem
się w następujący sposób:
z FM1 z FM2 z MW z LW
1 Proszę podczas odtwarzania nacisnąć
przycisk (SHIFT).
2 Proszę kilkakrotnie nacisnąć przycisk
3 Proszę nacisnąć przycisk (SHIFT),
(7) (SHUF) do momentu wyświetlenia
następnie kilkakrotnie przycisk
symbolu “SHUF-1”.
(3) (PLAY MODE) do momentu
wyświetlenia symbolu “B.T.M”.
4 Proszę nacisnąć przycisk (4) (n).
Sprzęt zapisuje w pamięci pozycje stacji
Rozpoczyna się odtwarzanie w
przypadkowej kolejności.
radiowych pod odpowiednimi przyciskami
numerycznymi w kolejności zgodnej z
kolejnością ich częstotliwości.
3 Proszę nacisnąć przycisk (SHIFT).
Po zakodowaniu ustawienia włącza się
Celem powrócenia do normalnego trybu
krótki sygnał akustyczny.
odtwarzania, proszę wybrać pozycję “SHUF-
OFF” w ramach czynności opisanych powyżej
5 Proszę nacisnąć przycisk (SHIFT).
8
w punkcie 2.

Uwagi
• Sprzęt nie zapisuje w pamięci pozycji stacji,
Odbiór
których sygnał jest słaby. Jeżeli odbierany jest
sygnał tylko kilku stacji, część przycisków
zaprogramowanych
numerycznych zachowa ich uprzednie
zaprogramowanie.
stacji radiowych
• Gdy na wyświetlaczu pojawia się numer, sprzęt
rozpoczyna zapisywanie pozycji stacji radiowych,
począwszy od aktualnie wyświetlanej stacji.
1 Proszę kilkakrotnie nacisnąć przycisk
• Gdy w sprzęcie nie ma płyty CD, wyświetlane jest
(SOURCE), celem wybrania tunera.
tylko pasmo tunera, nawet jeżeli naciśnie się
przycisk (SOURCE).
2 Proszę kilkakrotnie nacisnąć przycisk
(MODE), celem wybrania pasma.
3 Proszę nacisnąć przycisk numeryczny
Zapisywanie w pamięci
(od (1) do (10)), pod którym jest
zaprogramowana wybrana stacja
sprzętu wyłącznie
radiowa.
pozycji wybranych stacji
Jeżeli nie można dostroić
Można zaprogramować w dowolnej wybranej
zaprogramowanej stacji radiowej
przez siebie kolejności do 20 stacji radiowych
w paśmie FM (po 10 dla FM1 i FM2), do 10
Proszę przesunąć kontrolkę SEEK/AMS
stacji w paśmie MW oraz maksymalnie 10
do góry, lub w dół, i ją następnie
stacji radiowych w paśmie LW
zwolnić, aby rozpocząć szukanie pozycji
stacji (automatyczne dostrajanie).
Przeszukiwanie kończy się w momencie
1 Proszę kilkakrotnie nacisnąć przycisk
uzyskania odbioru stacji. Proszę
(SOURCE), celem wybrania tunera.
kilkakrotnie przesunąć do góry lub w dół
kontrolkę SEEK/AMS, do momentu
2 Proszę kilkakrotnie nacisnąć przycisk
uzyskania odbioru żądanej stacji.
(MODE), celem wybrania pasma.
Uwaga
Jeżeli funkcja automatycznego strojenia jest zbyt
3 Proszę przesunąć kontrolkę SEEK/AMS
często przerywana, proszę nacisnąć przycisk
do góry lub na dół, aby dostroić stację
(SHIFT), następnie kilkakrotnie przycisk (3) (PLAY
radiową, której pozycja ma zostać
MODE) do momentu wyświetlenia symbolu “LOCAL”
zaprogramowana pod wybranym
(tryb szukania lokalnych stacji). Wtedy proszę
przyciskiem numerycznym.
nacisnąć przycisk (4) (n), celem wybrania pozycji
“LOCAL-ON”. Proszę nacisnąć przycisk (SHIFT).
Dostrajane będą wyłącznie stacje radiowe o
4 Proszę nacisnąć i trzymać przyciśniętym
względnie silnym sygnale.
wybrany przycisk numeryczny (od (1)
do (10)) do momentu wyświetlenia
Wskazówka
symbolu “MEM”.
Jeżeli częstotliwość stacji radiowej, której chce się
Wskaźnik przycisku numerycznego pojawia
słuchać, jest Państwu znana, proszę przesunąć
kontrolkę SEEK/AMS do góry lub dół i przytrzymać ją
się na wyświetlaczu.
w tej pozycji do momentu wyświetlenia żądanej
częstotliwości (strojenie manualne).
Uwaga
Gdy próbuje się zaprogramować pozycję drugiej
stacji radiowej pod tym samym przyciskiem
numerycznym, uprzednio zaprogramowana stacja
jest wymazywana.
9

Jeżeli jakość odbioru
stereofonicznego w paśmie FM jest zła
— tryb monofoniczny
RDS
1 Proszę podczas odbioru radia nacisnąć
przycisk (SHIFT), następnie kilkakrotnie
przycisk (3) (PLAY MODE) do momentu
wyświetlenia symbolu “MONO”.
Funkcja RDS w skrócie
Radio Data System (RDS - radiowy system
2 Proszę kilkakrotnie nacisnąć przycisk
danych) jest serwisem usługowym rozgłośni
(4) (n) do momentu wyświetlenia
radiowych pasma FM, umożliwijący stacjom
symbolu “MONO-ON”.
nadawczym tego pasma, emitowanie
Jakość odbieranego dźwięku ulega
dodatkowych informacji cyfrowych,
poprawie, ale odbiór jest monofoniczny
równolegle z normalnym sygnałem ich
(symbol “ST” gaśnie).
programów. Nabyty stereofoniczny zestaw
samochodowy oferuje cały wachlarz usług
3 Proszę nacisnąć przycisk (SHIFT).
tego typu. Oto niektóre z nich: automatyczne,
powtórne strojenie wybranego programu,
Celem powrócenia do normalnego trybu
migawki o ruchu drogowym i lokalizowanie
odtwarzania, proszę w opisanym powyżej
stacji nadawczych według rodzaju
punkcie 2 wybrać pozycję “MONO-OFF”.
nadawanych przez nie programów.
Zmiana wyświetlanego wskaźnika
Uwagi
• Dostępność wszystkich funkcji RDS zależy od
Każde naciśnięcie przycisku (DSPL)
danego kraju lub regionu.
powoduje następującą zmianę wyświetlanego
• RDS może nie funkcjonować prawidłowo, jeżeli
wskaźnika:
sygnał jest słaby lub jeśli dostrojona stacja nie
emituje danych RDS.
Częstotliwość ˜ Zegar
Parę sekund po wybraniu wskaźnika nastąpi
automatyczne włączenie się trybu Motion
Display (ruchomy ekranopis).
Wyświetlenie nazwy
W tym trybie wszystkie wskaźniki zostaną po
kolei wyświetlone na ekranie.
stacji
Wskazówka
Nazwa aktualnie odbieranej stacji jest
Tryb przesuwającego się ekranopisu może zostać
widoczna na wyświetlaczu.
wyłączony. (Szczegóły są podane w rozdziale
“Zmiana ustawień dźwięku i wskazań” na stronie 18).
Wybór stacji w paśmie FM (str. 8).
Dostrojenie stacji nadawczej pasma FM
emitującej sygnały serwisu RDS, wywołuje
podświetlenie wskaźnika nazwy stacji.
Uwaga
Wskaźnik “ *” oznacza, że odbierana jest stacja
emitująca sygnał RDS.
10

Zmiana wyświetlanego wskaźnika
1 Proszę wybrać stację w paśmie FM (str.
Każde naciśnięcie przycisku (DSPL) powoduje
8).
następującą zmianę wyświetlanego wskaźnika:
Częstotliwość (Nazwa stacji) ˜ Zegar
2 Proszę kilkakrotnie nacisnąć przycisk
(AF/TA) do momentu wyświetlenia
Parę sekund po wybraniu wskaźnika nastąpi
symbolu “AF-ON”.
automatyczne włączenie się trybu Motion
Sprzęt rozpoczyna szukanie alternatywnej
Display (ruchomy ekranopis).
stacji o silniejszym sygnale w tej samej
W tym trybie wszystkie powyższe wskaźniki
sieci nadawczej.
zostaną po kolei wyświetlone na ekranie.
Uwaga
Wskazówka
Jeżeli w danym rejonie nie ma alternatywnej stacji lub
Tryb przesuwającego się ekranopisu może zostać
nie ma potrzeby poszukiwania jej, proszę wyłączyć
wyłączony. (Szczegóły są podane w rozdziale
funkcję AF przez kilkakrotne naciskanie przycisku
“Zmiana ustawień dźwięku i wskazań” na stronie 18).
(AF/TA) do momentu wyświetlenia wskaźnika “AF
TA-OFF”.
Uwaga
Na wyświetlaczu ukazuje się symbol “NO NAME”,
Zmiana wyświetlanego wskaźnika
jeżeli odbierana stacja radiowa nie emituje danych
RDS.
Każde naciśnięcie przycisku (AF/TA)
powoduje następującą zmianę wyświetlanego
wskaźnika:
” TA-ON ” AF TA-ON*
AF-ON “ AF TA-OFF “
Automatyczne powtórne
* Proszę wybrać tę pozycję, by włączyć zarówno
dostrojenie tego samego
funkcję AF jak i funkcję TA.
programu
Uwagi
— funkcja alternatywnych zakresów
• Jeżeli miga na zwmianę symbol “NO AF” i nazwa
stacji, oznacza to, że sprzęt nie może znaleźć
częstotliwości (AF)
alteratywnej stacji w sieci nadawczej.
• Jeżeli nazwa stacji zaczyna migać po wybraniu
Funkcja AF (alternatywnych częstotliwości)
stacji przy pomocy funkcji AF, oznacza to, że nie
wybiera automatycznie i ponownie dostraja
istnieje alternatywna częstotliwość. Proszę
stację radiową o najsilniejszym sygnale. Ta
przesunąć kontrolkę SEEK/AMS do góry lub w dół,
funkcja pozwala na nieprzerwany odbiór tego
gdy nazwa stacji miga (w przeciągu ośmiu sekund).
samego programu radiowego podczas
Sprzęt rozpocznie szukanie innej częstotliwości
długodystansowej jazdy bez konieczności
posiadającej takie same dane PI (identyfikator
manualnego ponownego dostrajania stacji.
programu) (ukazuje się symbol “PI SEEK” oraz
zanika dźwięk). Jeżeli sprzęt nie może znaleźć innej
Automatyczna zmiana częstotliwości
częstotliwości, ukazuje się symbol “NO PI”, a
sprzęt powraca do uprzednio wybranej
częstotliwości.
96,0MHz
98,5MHz
Ciąg dalszy na następnej stronie n
102,5MHz
Stacja
11

Odbiór regionalnego programu
radiowego
Odbiór migawek o ruchu
Funkcja “REG-ON” (odbiór programu
drogowym
regionalnego aktywny) pozwala na stałe
dostrojenie do programu regionalnego bez
Migawki o ruchu drogowym (TA) i program
przełączania na odbiór innej stacji regionalnej.
informacji drogowych (TP) pozwalają na
(Proszę pamiętać o tym, że funkcja AF musi
automatyczne dostrojenie stacji radiowej w
być włączona). Ustawienie fabryczne jest
paśmie FM, transmitującej migawki o ruchu
“REG-ON,” ale jeżeli chce się wyłączyć tę
drogowym, nawet jeżeli odbiera się program z
funkcję, proszę postąpić w następujący
innego źródła.
sposób.
Proszę kilkakrotnie nacisnąć przycisk
1 Proszę podczas odbioru radia nacisnąć
(AF/TA) do momentu wyświetlenia
przycisk (SHIFT), następnie kilkakrotnie
symbolu “TA-ON” lub “AF TA-ON”.
przycisk (3) (PLAY MODE) do momentu
Sprzęt rozpoczyna szukanie stacji
wyświetlenia symbolu “REG”.
radiowych emitujących informacje o ruchu
drogowym. Gdy znaleziona zostanie stacja
2 Proszę kilkakrotnie nacisnąć przycisk
emitująca migawki o ruchu drogowym, na
(4) (n) do momentu wyświetlenia
wyświetlaczu pojawia się symbol “TP”.
symbolu “REG-OFF”.
Gdy rozpoczyna się emisja migawki o
ruchu drogowym, miga symbol “TA”. Po
zakończeniu migawki symbol ten przestaje
3 Proszę nacisnąć przycisk (SHIFT).
migać.
Proszę wziąć pod uwagę, że wybór
ustawienia “REG-OFF” może
Wskazówka
spowodować, przełączenie się sprzętu na
Jeżeli migawka o ruchu drogowym rozpocznie się,
odbiór innej stacji regionalnej,
gdy odbiera się inne źródło programu, sprzęt
transmitującej sygnał w ramach tej samej
automatycznie przełączy się na odbiór migawki, a
sieci nadawczej.
następnie po jej zakończeniu powróci do uprzednio
odbieranego źródła.
Celem uaktywnienia funkcji odbioru programu
Uwagi
regionalnego, proszę w ramach czynności
• Symbol “NO TP” miga przez pięć sekund, jeżeli
opisanych powyżej w punkcie 2 wybrać
odbierana stacja radiowa nie transmitującej
ustawienie “REG-ON”.
migawek o ruchu drogowym. Wtedy sprzęt zaczyna
szukać stacji emitującej takie migawki.
Uwaga
• Jeżeli na wyświetlaczu pojawia się symbol “EON”
Z tej funkcji nie można korzystać w Wielkiej Brytanii i
jednocześnie z symbolem “TP”, aktualnie
kilku innych regionach.
odbierana stacja radiowa korzysta z migawek o
ruchu drogowym emitowanych przez inne stacje
Funkcja lokalnego połączenia
radiowe w tej samej sieci.
(Tylko w Wielkiej Brytanii)
Funkcja lokalnego połączenia pozwala na
wybór innych stacji lokalnych w danym
regionie, nawet, jeżeli nie są one
zaprogramowane pod przyciskami
numerycznymi.
1 Proszę nacisnąć przycisk numeryczny,
pod którym jest zaprogramowana stacja
lokalna.
2 W przeciągu pięciu sekund proszę
nacisnąć ponownie przycisk
numeryczny stacji lokalnej.
3 Proszę powtórzyć opisane powyżej
czynności do momentu uzyskania
odbioru pożądanej stacji lokalnej.
12



