Sony KDL-15G2000 – page 5
Manual for Sony KDL-15G2000
Table of contents

Przegląd przycisków pilota
1 "/1 – Tryb czuwania odbiornika TV
Włączenie i wyłączenie odbiornika TV z trybu czuwania.
2 – Tryb ekranowy (strona 14)
3 Kolorowe przyciski
• W trybie cyfrowym (strona 15, 17): Wybranie opcji u dołu ekranu w
cyfrowych menu „Ulubione” i „EPG”.
• W trybie telegazety (strona 14): Do obsługi Fastext.
4 / – Info / Wywołanie telegazety
• W trybie cyfrowym: Wyświetlanie danych aktualnie oglądanego
programu.
• W trybie analogowym: Wyświetlanie informacji takich jak: aktualny
numer kanału.
• W trybie telegazety (strona 14): Wywołanie ukrytych informacji (np.
odpowiedzi do pytań).
5 F/f/G/g/ (strona19)
6 Zatrzymanie obrazu (strona 14)
PIP w trybie PC (strona 14) (tylko w modelu KDL-15G2000)
• W trybie TV: Zatrzymanie obrazu na ekranie TV.
• W trybie PC: Wyświetlanie małego obrazu (PIP). (tylko w modelu KDL-
15G2000)
7 MENU (strona 19)
8 DIGITAL – Tryb cyfrowy (strona 13)
9 Przyciski numeryczne
• W trybie TV: Wybór kanałów. W przypadku kanałów o numerze 10 i
powyżej, drugą cyfrę należy wcisnąć w ciągu 2 sekund.
• W trybie telegazety: Aby wybrać daną stronę należy za pomocą
przycisków numerycznych wprowadzić jej trzycyfrowy numer.
0 – Poprzedni kanał
Powrót do poprzednio oglądanego kanału (dłużej niż pięć sekund).
qa PROG +/- (strona 13)
• W trybie TV: Wybór następnego (+) lub poprzedniego (-) kanału.
• W trybie telegazety: Wybór następnej (+) lub poprzedniej (-) strony.
qs 2 +/- – Głośność
qd % – Wyciszenie dźwięku (strona 13)
qf
/ – Telegazeta (strona 14)
qg ANALOG – Tryb analogowy (strona 13)
qh / RETURN
Powrót do poprzedniego ekranu w wyświetlanym menu.
qj – EPG (Cyfrowy elektroniczny przewodnik po programach)
(strona 15)
qk – Tryb obrazu (strona 21)
ql 9 – Efekt dźwiękowy (strona 22)
w; – Wybór wejścia / Zatrzymanie telegazety
• W trybie TV (strona 18): Wybór sygnału wejściowego z urządzenia
podłączonego do gniazd TV.
• W trybie telegazety (strona 14): Zatrzymuje aktualnie wyświetlaną
stronę.
Wskazówka
Przyciski PROG + oraz przycisk nr 5 mają delikatnie wyczuwalne pod palcami wypustki. Ułatwiają one orientację przy
obsłudze odbiornika TV.
PL
11

Przegląd przycisków i wskaźników
telewizora
1 MENU (strona 19)
2 / – Wybór wejścia/OK
• W trybie TV (strona 18): Wybór sygnału
wejściowego z urządzenia podłączonego
do gniazd TV.
• W menu TV: Wybór opcji lub menu oraz
potwierdzenie wybranych ustawień.
3 2 +/-/G/g
• Zwiększenie (+) lub zmniejszenie (-)
głośności.
• W menu TV: Przewinięcie opcji w lewo
(
G) lub w prawo (g).
4 PROG +/-/F/f
• W trybie TV: Wybór następnego (+) lub
poprzedniego (-) kanału.
• W menu TV: Przewinięcie opcji w górę
(
F) lub w dół (f).
5 1 – Zasilanie
Włączenie lub wyłączenie odbiornika TV.
Uwaga
W celu zupełnego odłączenia odbiornika TV
należy wyjąć wtyczkę z gniazda sieciowego.
6 – Wskaźnik Bez obrazu/Timer
• Pali się na zielono, gdy telewizor jest
wyłączony (strona 23).
• Zapala się na pomarańczowo, gdy
ustawiony jest timer (strona 24).
• Zapala się na czerwono w momencie
rozpoczęcia nagrywania cyfrowego.
7 1 – Wskaźnik trybu czuwania
Pali się na czerwono, gdy telewizor jest w
trybie czuwania.
8 " – Wskaźnik zasilania
Pali się na zielono, gdy telewizor jest
włączony.
9 Czujnik zdalnego sterowania
PL
12

Odbiór audycji telewizyjnych
3 Nacisnąć przyciski numeryczne lub PROG
Odbiór audycji
+/-, aby wybrać kanał telewizyjny.
Aby przyciskami numerycznymi wybrać
telewizyjnych
numer kanału 10 lub wyższy, drugą i trzecią
cyfrę należy wcisnąć w ciągu 2 sekund.
Aby wybrać kanał cyfrowy przy użyciu
Odbiór audycji telewizyjnych
1
cyfrowego elektronicznego przewodnika po
1
programach (EPG), patrz strona 15.
W trybie cyfrowym
Na chwilę pojawia się baner informacyjny.
Mogą się na nim znajdować następujące
ikonki:
: Program radiowy
: Program zakodowany/dostępny po
wykupieniu abonamentu
: Dostępne różne wersje językowe audio
: Dostępne napisy u dołu ekranu
: Dostępne napisy u dołu ekranu dla osób
niesłyszących
: Zalecany minimalny wiek dla oglądania
2
2
aktualnego programu (od 4 do 18 lat)
: Blokada zabezpiecz
: Aktualny program jest nagrywany
3
Czynności dodatkowe
Aby Należy
Wyłączyć na chwilę
Nacisnąć "/1.
odbiornik TV
3
(Tryb czuwania)
Włączyć TV z
Nacisnąć %. Naciskając
trybu czuwania
przyciski 2 +/- ustawić
bez dźwięku
poziom głośności.
Wyłączyć odbiornik
Nacisnąć przycisk 1 na
TV
odbiorniku (u góry).
Uwaga
W celu zupełnego odłączenia
odbiornika TV, należy wyjąć
wtyczkę z gniazda zasilającego.
1 Aby włączyć telewizor, nacisnąć przycisk
1 znajdujący się u góry odbiornika.
Ustawić poziom
Nacisnąć przycisk 2 + (aby
Gdy odbiornik TV jest w trybie czuwania
głośności
zwiększyć poziom głośności)/
(wskaźnik 1 (czuwanie) z przodu telewizora
- (aby zmniejszyć poziom
jest czerwony), aby włączyć odbiornik TV
głośności).
należy wcisnąć przycisk "/1 na pilocie.
Wyłączyć dźwięk Nacisnąć %. Aby przywrócić
2 Nacisnąć przycisk DIGITAL, aby
dźwięk, należy ponownie
uruchomić tryb cyfrowy lub przycisk
nacisnąć ten przycisk.
ANALOG, aby uruchomić tryb analogowy.
Dostępność kanałów zależy od trybu, w jakim
pracuje telewizor.
cd
PL
13

PIP w trybie PC (Obraz w Obrazie)
Aby Należy
(tylko w modelu KDL-15G2000)
Uzyskać dostęp do
Nacisnąć . Aby wybrać
W trybie PC powoduje wyświetlenie małego
tabeli indeksu
kanał analogowy, nacisnąć
obrazka ostatnio oglądanego kanału.
programów (tylko
przycisk F/f, a następnie
w trybie
nacisnąć .
1 Nacisnąć na pilocie.
analogowym)
Aby uzyskać dostęp do tabeli
indeksu sygnałów
2 Naciskać przyciski F/f/G/g, aby ustawić
wejściowych, patrz strona 18.
położenie okna obrazu.
3 Nacisnąć , aby anulować.
Aby wejść na strony Teletegazety
Nacisnąć /. Po każdorazowym naciśnięciu
Wskazówka
Dźwięk pochodzi z małego obrazka.
przycisku /, ekran zmienia się w następujący
sposób:
Telegazeta t Telegazeta na obrazie
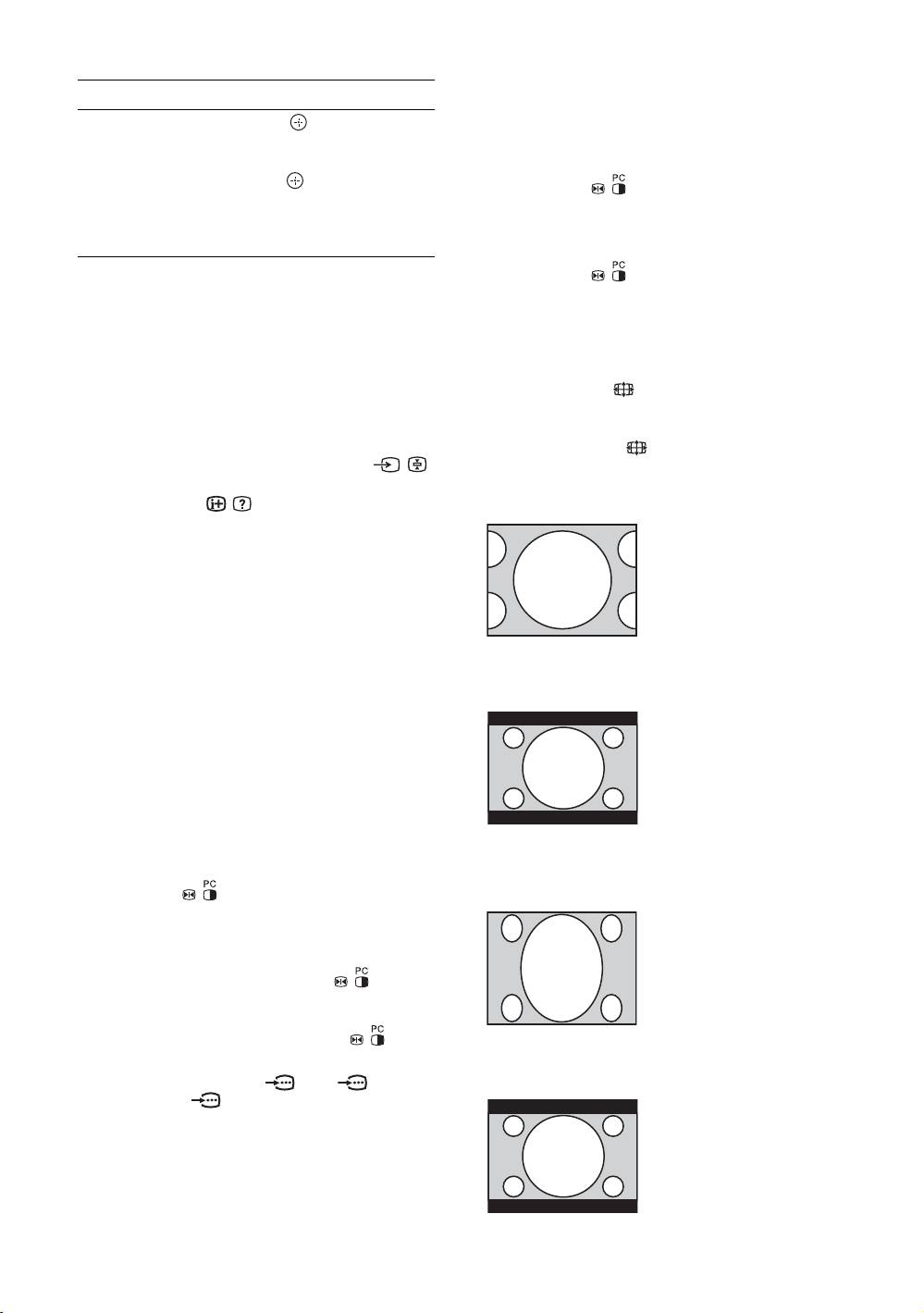
Aby zmienić tryb panoramiczny
telewizyjnym (tryb mieszany) t Bez telegazety
Naciśnij przycisk , aby wybrać 16:9 (tryb
(wyjście z trybu Telegazeta)
panoramiczny).
Aby wybrać stronę, naciskać przyciski
Aby powrócić do ustawienia 4:3, naciśnij
numeryczne lub PROG +/-.
ponownie przycisk .
Aby zatrzymać stronę, nacisnąć przycisk / .
W trybie cyfrowym
Aby pokazać na ekranie ukryte informacje,
nacisnąć przycisk / .
4:3
Obrazy w formacie 16:9
Wskazówki
(obrazy panoramiczne)
• Należy zapewnić odbiór sygnału TV dobrej jakości,
są rozciągnięte pionowo
gdyż w przeciwnym razie w telegazecie mogą pojawić
w prawidłowych
się błędy.
proporcjach i mogą nie
• Większość kanałów telewizyjnych udostępnia funkcje
być widoczne po bokach.
Telegazety. Informacje na temat używania Telegazety
można znaleźć na stronie spisu treści (zazwyczaj
Mm
strona 100).
• Jeśli u dołu strony telegazety pojawiają się opcje w
16:9
czterech kolorach, dostępna jest usługa szybkiego
Obrazy w formacie 16:9
dostępu Fastext. Usługa Fastext umożliwia szybki i
łatwy dostęp do stron. Aby wejść na stronę, nacisnąć
(obrazy panoramiczne)
przycisk w odpowiadającym danej stronie kolorze.
mają prawidłowe
proporcje.
Zatrzymanie obrazu
Opcja umożliwiająca zatrzymanie obrazu na
ekranie telewizora (np. aby zanotować numer
telefonu lub przepis kulinarny).
W trybie analogowym i przez wejścia AV
1 Nacisnąć na pilocie.
4:3
Obrazy w formacie 16:9
2 Naciskać przyciski F/f/G/g, aby ustawić
(obrazy panoramiczne)
położenie okna obrazu.
są rozciągnięte pionowo.
3 Aby zamknąć okno nacisnąć .
4 Aby powrócić do normalnego obrazu
telewizora, ponownie nacisnąć .
Mm
Wskazówka
16:9
Funkcja nie jest dostępna dla AV2, AV4 (dla
KDL-15G2000) i
AV3 (dla KDL-20G2000).
Obrazy w formacie 16:9
(obrazy panoramiczne)
mają prawidłowe
proporcje.
PL
14

Sprawdzanie elektronicznego przewodnika
po programach (EPG)
1 W trybie cyfrowym, w celu wyświetlenia
cyfrowego elektronicznego przewodnika
po programach (EPG), należy nacisnąć .
Odbiór audycji telewizyjnych
2 Wykonać wybrane operacje zgodnie z
opisem w tabeli poniżej.
Uwaga
Informacje na temat programu będą pokazywane tylko
jeśli są one nadawane przez daną stację telewizyjną.
Cyfrowy elektroniczny przewodnik po programach
Aby Należy
Wyłączyć EPG Nacisnąć przycisk .
Poruszać się po EPG Nacisnąć
F/f/G/g.
Obejrzeć bieżący program Nacisnąć w czasie, gdy wybrany jest bieżący program.
Wyświetlić informacje o programach wg
1 Nacisnąć niebieski przycisk.
kategorii – Lista kategorii
2 Za pomocą przycisków
F/f/G/g wybrać żądaną kategorię.
Nazwa kategorii jest pokazywana z boku.
Dostępne są następujące kategorie:
„Wszystkie”: Zawiera wszystkie dostępne kanały.
„Wiadomości”: Zawiera wszystkie kanały z wiadomościami.
3 Nacisnąć .
Cyfrowy elektroniczny przewodnik po programach (EPG)
wyświetla teraz tylko aktualne programy z wybranej kategorii.
Ustawić program, który ma być
1 Za pomocą przycisków F/f/G/g wybrać program, który ma
nagrywany – Programator nagrywania
zostać nagrany.
2 Nacisnąć .
3 Nacisnąć
F/f, aby wybrać „Programator nagrywania”.
4 Nacisnąć , aby ustawić timer TV i magnetowidu.
Obok informacji dot. danego programu pojawi się symbol .
Zapala się kontrolka z przodu telewizora.
Uwagi
• Nagrywanie przy użyciu timera magnetowidu można ustawić w
telewizorze tylko jeśli magnetowid obsługuje złącze Smartlink. Jeśli
magnetowid nie obsługuje Smartlink, pojawi się komunikat
przypominający o konieczności ustawienia timera magnetowidu.
• Po rozpoczęciu nagrywania, telewizor można przełączyć w tryb czuwania,
ale nie należy go wyłączać, gdyż może to spowodować anulowanie
nagrywania.
• Jeśli wybrano funkcję ograniczenia wiekowego dla programów, na
ekranie pojawi się komunikat z prośbą o podanie kodu PIN. Szczegółowe
informacje przedstawiono w rozdziale „Blokada zabezpiecz.” na
stronie 29.
cd
PL
15

Aby Należy
Ustawić, aby program był wyświetlany
1 Za pomocą przycisków F/f/G/g wybrać program, który ma
na ekranie automatycznie po jego
zostać wyświetlony na ekranie.
rozpoczęciu – Przypomnienie
2 Nacisnąć .
3 Nacisnąć
F/f, aby wybrać „Przypomnienie”.
4 Nacisnąć , aby wybrany program został automatycznie
wyświetlony w momencie jego rozpoczęcia.
Obok informacji dot. danego programu pojawi się symbol c.
Uwaga
Jeśli odbiornik został przełączony w stan czuwania, automatycznie
włączy się on w momencie rozpoczęcia danego programu.
Ustawić czas i datę programu, który ma
1 Nacisnąć .
zostać nagrany – Ręczny programator
2 Za pomocą przycisków
F/f wybrać „Ręczny programator
nagrywania
nagrywania”, a następnie nacisnąć .
3 Za pomocą przycisków
F/f wybrać datę, a następnie
nacisnąć
g.
4 Ustawić godzinę rozpoczęcia i zakończenia nagrywania
podobnie jak to opisano w kroku 3.
5 Za pomocą przycisków
F/f wybrać program, a następnie
nacisnąć , aby ustawić timer TV i magnetowidu.
Obok informacji dot. danego programu pojawi się symbol .
Zapala się kontrolka z przodu telewizora.
Uwagi
• Nagrywanie przy użyciu timera magnetowidu można ustawić w
telewizorze tylko jeśli magnetowid obsługuje złącze Smartlink. Jeśli
magnetowid nie obsługuje Smartlink, pojawi się komunikat
przypominający o konieczności ustawienia timera magnetowidu.
• Po rozpoczęciu nagrywania, telewizor można przełączyć w tryb czuwania,
ale nie należy go wyłączać, gdyż może to spowodować anulowanie
nagrywania.
• Jeśli wybrano funkcję ograniczenia wiekowego dla programów, na
ekranie pojawi się komunikat z prośbą o podanie kodu pin. Szczegółowe
informacje przedstawiono w rozdziale „Blokada zabezpiecz.” na
stronie 29.
Skasować nagrywanie/przypomnienie
1 Nacisnąć .
– Lista programatora
2 Za pomocą przycisków F/f wybrać „Lista programatora”.
3 Za pomocą przycisków F/f wybrać program, który ma
zostać skasowany, a następnie nacisnąć .
Pojawi się okienko informujące o planowanym skasowaniu
programu.
4 Nacisnąć g, aby wybrać „Tak”, a następnie nacisnąć , aby
potwierdzić.
Wskazówka
Cyfrowy elektroniczny przewodnik po programach (EPG) można również wyświetlić wybierając „Cyfrowy EPG” w
„MENU”.
PL
16

Korzystanie z Listy ulubionych kanałów
Funkcja Ulubione kanały umożliwia wybranie
programów z listy składającej się z maksymalnie 8
ustawionych przez użytkownika kanałów. Aby
wyświetlić Listę ulubionych kanałów, patrz
rozdział „Poruszanie się po menu” (strona 19).
Odbiór audycji telewizyjnych
Lista ulubionych kanałów
Aby Należy
Po raz pierwszy stworzyć swoją listę
Po naciśnięciu przycisku „Ulubione kanały cyfrowe” w „MENU” po
ulubionych kanałów
raz pierwszy pojawi się komunikat z pytaniem, czy mają zostać dodane
kanały do listy ulubionych kanałów.
1 Nacisnąć , aby wybrać „Tak”.
2 Za pomocą przycisków
F/f wybrać kanał, który ma zostać
dodany.
Jeśli numer kanału jest znany, można go wybrać bezpośrednio
naciskając w tym celu przyciski numeryczne.
3 Nacisnąć .
Kanały zapisane w liście ulubionych kanałów są oznaczone
symbolem .
Wyłączyć listę ulubionych kanałów Nacisnąć przycisk RETURN.
Obejrzeć dany kanał W czasie wybierania kanałów naciskać .
Dodać lub usunąć kanały z Listy
1 Nacisnąć niebieski przycisk.
ulubionych kanałów
Kanały zapisane w liście ulubionych kanałów są oznaczone
symbolem .
2 Za pomocą przycisków F/f wybrać kanał, który ma być
dodany lub usunięty.
Jeśli numer kanału jest znany, można go wybrać bezpośrednio
naciskając w tym celu przyciski numeryczne.
3 Nacisnąć .
4 Nacisnąć niebieski przycisk, aby powrócić do listy ulubionych
kanałów.
Usunąć wszystkie kanały z Listy
1 Nacisnąć niebieski przycisk.
ulubionych kanałów
2 Nacisnąć żółty przycisk.
Pojawi się okienko informujące o planowanym skasowaniu kanałów
z listy.
3 Nacisnąć G, aby wybrać „Tak”, a następnie nacisnąć , aby
potwierdzić.
PL
17

Dla KDL-20G2000
Oglądanie obrazów
AV1/ AV1 , AV 2 / AV2:
Sygnał audio/video lub RGB ze złącza SCART /
z podłączonych
1 lub 2. pojawia się tylko jeśli podłączono
źródło RGB.
urządzeń
AV 3:
Składowe sygnały wejściowe dostarczane są z gniazd
Y, P
B/CB, PR/CR / 3, a sygnały wejściowe
Włączyć podłączone urządzenie i wykonać
audio z gniazd L, R / 3. Obsługiwany format
jedną z następujących czynności.
sygnału, zobacz „Dane techniczne” (strona 32).
W przypadku urządzenia podłączonego do
AV4/ AV4:
złączy 21-stykowym przewodem SCART
Sygnał cyfrowy audio/video jest odbierany z gniazda
Rozpocząć odtwarzanie w podłączonym
4, natomiast sygnał wejściowy audio z gniazd
urządzeniu.
audio L (MONO), R 4. pojawi się tylko
Na ekranie pojawi się obraz z podłączonego
wtedy, gdy urządzenie jest podłączone do gniazda S
urządzenia.
video 4 zamiast do gniazda video 4, a
sygnał wejściowy S video jest odbierany z gniazda S
W przypadku samoprogramującego się
video 4.
magnetowidu (strona 4)
W trybie analogowym, kanał video można wybrać
naciskając przycisk PROG +/- lub przyciski
Czynności dodatkowe
numeryczne.
Aby Należy
W przypadku innego podłączenia urządzenia
Można również naciskać przycisk / , aż na
Powrócić do
Nacisnąć DIGITAL lub
ekranie pojawi się odpowiedni symbol wejścia
normalnego
ANALOG.
(patrz niżej).
odbioru
telewizyjnego
Dla KDL-15G2000
Wejść do Tabeli
Nacisnąć , aby wejść do
AV1/ AV1:
indeksu sygnałów
Tabeli indeksu sygnałów
Sygnał audio/video lub RGB ze złącza SCART /
wejściowych.
wejściowych. (Następnie, tylko
1. pojawia się tylko jeśli podłączono źródło
w trybie analogowym, nacisnąć
RGB.
g.) W celu wybrania źródła
sygnału wejściowego nacisnąć
AV 2 :
F/f, a następnie .
Składowe sygnały wejściowe dostarczane są z gniazd
Y, P
B/CB, PR/CR / 2, a sygnały wejściowe
audio z gniazd L, R / 2. Obsługiwany format
sygnału, zobacz „Dane techniczne” (strona 32).
AV 3 / AV 3 :
Sygnał cyfrowy audio/video jest odbierany z gniazda
3, natomiast sygnał wejściowy audio z gniazd
audio L (MONO), R 3. pojawi się tylko
wtedy, gdy urządzenie jest podłączone do gniazda S
video 3 zamiast do gniazda video 3, a
sygnał wejściowy S video jest odbierany z gniazda S
video 3.
4:
Sygnał wejściowy RGB dostarczany jest z gniazd PC
4, a sygnał wejściowy audio z gniazda 4.
PL
18

Korzystanie z MENU funkcji
Poruszanie się po menu
„MENU” umożliwia ustawienie w telewizorze wielu przydatnych funkcji. Kanały lub źródła sygnałów z
wejść zewnętrznych można łatwo wybrać przy użyciu pilota. Ustawienia telewizora można również zmienić
przy pomocy „MENU”.
1 Aby wyświetlić menu, należy nacisnąć
przycisk MENU.
MENU
Ulubione
Analogowe
Cyfrowe
2,3
Korzystanie z MENU funkcji
Cyfrowy EPG
Wejścia zewn.
Ustawienia
1
Wybierz:
Wprowadź:
Koniec:
MENU
2 Za pomocą przycisków F/f wybrać
żądaną opcję.
3 Nacisnąć , aby potwierdzić wybraną
opcję.
Aby wyjść z menu należy nacisnąć MENU.
Menu Opis
Ulubione
Uruchamia Listę ulubionych kanałów. Szczegółowe informacje na
temat ustawień, patrz strona 17.
(tylko w trybie cyfrowym)
Analogowe
Powraca do ostatnio oglądanego kanału analogowego.
(tylko w trybie cyfrowym)
Cyfrowe
Powraca do ostatnio oglądanego kanału cyfrowego.
(tylko w trybie cyfrowym)
Cyfrowy EPG
Uruchamia elektroniczny przewodnik po programach (EPG).
Szczegółowe informacje na temat ustawień, patrz strona 15.
(tylko w trybie cyfrowym)
Wejścia zewn.
Służy do wyboru urządzeń podłączonych do telewizora.
• Aby obejrzeć program/nagranie z urządzenia zewnętrznego,
wybrać źródło sygnału wejściowego, a następnie nacisnąć .
• Aby przypisać nazwę zewnętrznemu sygnałowi wejściowemu,
patrz strona 25.
cd
PL
19

Menu Opis
Ustawienia
Otwiera ekran menu Ustawienia, w którym dokonuje się większości
zaawansowanych ustawień i regulacji. Wybrać ikonę menu, wybrać
opcję i wprowadzić żądane zmiany lub dokonać regulacji za pomocą
przycisków
F/f/G/g.
Szczegółowe informacje na temat ustawień, patrz strony 21 do 29.
Uwaga
Opcje, które można regulować są różne, zależnie od sytuacji. Niedostępne
opcje są wyszarzałe lub nie są wyświetlane.
PL
20

Menu Regulacja obrazu
Podane niżej opcje można wybrać w menu
Regulacja obrazu
Regulacja obrazu. Wybór opcji w
Tryb obrazu
Własny
„Ustawienia”, patrz „Poruszanie się po
Światło
5
menu” (strona 19).
Kontrast
Max.
Jasność
50
Kolor
50
Odcień
0
Ostrość
15
Odcienie koloru
Ciepłe
Zerowanie
Red. zakłóceń
Auto
Powrót:
Wybierz:
Wprowadź:
Koniec:
MENU
Korzystanie z MENU funkcji
Tryb obrazu
Wybiera tryb obrazu.
• „Żywy”: Dla lepszego kontrastu i ostrości obrazu.
• „Standardowy”: Dla standardowego obrazu. Ustawienie zalecane dla celów kina
domowego.
• „Własny”: Umożliwia zapisanie własnych ustawień.
Światło
Regulacja jasności podświetlenia ekranu.
Kontrast
Zwiększenie lub zmniejszenie kontrastu obrazu.
Jasność
Zwiększenie lub zmniejszenie jasności obrazu.
Kolor
Zwiększenie lub zmniejszenie intensywności kolorów.
Odcień
Zwiększenie lub zmniejszenie odcieni zielonych.
Wskazówka
„Odcień” można zmieniać tylko w przypadku kolorowego sygnału NTSC (np. amerykańskie
taśmy wideo).
Ostrość
Zwiększenie lub zmniejszenie ostrości obrazu.
Odcienie
Regulacja białości obrazu.
• „Zimne”: Nadaje jasnym kolorom niebieski odcień.
koloru
• „Neutralne”: Nadaje jasnym kolorom neutralny odcień.
• „Ciepłe”: Nadaje jasnym kolorom czerwony odcień.
Wskazówka
„Ciepłe” można wybrać, gdy „Tryb obrazu” ustawiono na „Własny”.
Zerowanie
Przywraca wszystkie fabryczne ustawienia obrazu za wyjątkiem „Tryb obrazu”.
Red. zakłóceń
Zmniejsza zakłócenia obrazu (obraz zaśnieżony) w przypadku słabego sygnału
nadajnika TV.
• „Auto”: Automatycznie zmniejsza zakłócenia obrazu.
• „Wył.”: Wyłącza funkcję
„Red. zakłóceń”.
PL
21

Menu Regulacja dźwięku
Wymienione niżej opcje można wybrać w
Regulacja dźwięku
menu Regulacja dźwięku. Wybór opcji w
Efekt
Standardowy
„Ustawienia”, patrz „Poruszanie się po
Tony wys.
50
menu” (strona 19).
Tony niskie
50
Balans
0
Zerowanie
Podwójny dźwięk
Mono
Aut. głośność
Wł.
Powrót:
Wybierz:
Wprowadź:
Koniec:
MENU
Efekt
Służy do wyboru trybu dźwięku.
• „Standardowy”: Wzmacnia czystość, wyrazistość szczegółów i wrażenie
obecności dźwięku dzięki zastosowaniu systemu „BBE High definition
Sound System.”
• „Dynamiczny”: Wzmacnia czystość i wrażenie obecności dźwięku,
zapewniając lepszą czystość i naturalność dźwięku dzięki zastosowaniu
systemu „BBE High definition Sound System.”
• „BBE ViVA”: BBE ViVA Sound dodaje precyzyjnemu muzycznie
dźwiękowi przestrzennemu 3D efektu Hi-Fi. BBE podnosi czystość
dźwięku, a głębia i wysokość dźwięku są poprawiane dzięki opracowanej
przez BBE technologii 3D. Efekt BBE ViVA działa we wszystkich
programach, łącznie z wiadomościami, muzyką, sztukami teatralnymi,
filmami, sportem i grami elektronicznymi.
• „Wył.”: Płaski dźwięk.
Wskazówka
Efekt dźwiękowy można zmienić naciskając kilkakrotnie przycisk 9.
To ny w ys.
Służy do regulacji tonów wysokich.
Tony niskie
Służy do regulacji tonów niskich.
Balans
Zwiększa natężenie dźwięku z lewego lub prawego głośnika.
Zerowanie
Przywraca fabryczne ustawienia dźwięku.
Podwójny dźwięk
Wybiera dźwięk z głośnika dla programu stereofonicznego lub
dwujęzycznego.
• „Stereo”, „Mono”: Dla programu stereofonicznego.
• „A”/„B”/„Mono”: W przypadku programu dwujęzycznego należy wybrać
ustawienie „A” dla kanału dźwiękowego 1, „B” dla kanału dźwiękowego 2
lub „Mono” dla kanału monofonicznego, o ile jest dostępny.
Wskazówka
Wybierając inne urządzenie podłączone do odbiornika TV, należy ustawić „Podwójny
dźwięk” na „Stereo”, „A” lub „B”.
Aut. głośność
Utrzymuje stały poziom głośności, nawet gdy występują zmiany głośności
poziomu nadawanego sygnału (np. reklamy są zazwyczaj głośniejsze od
programów).
PL
22

Menu Funkcje
Wymienione niżej opcje można wybrać w
Funkcje
menu Funkcje. Wybór opcji w
Oszcz. energii
Standardowy
Wyjście AV2
TV
„Ustawienia”, patrz „Poruszanie się po
Centr. RGB
0
menu” (strona 19).
Regulacja PC
Timer
Powrót:
Wybierz:
Wprowadź:
Koniec:
MENU
Korzystanie z MENU funkcji
Oszcz. energii
Pozwala wybrać tryb oszczędzania energii tak, aby zmniejszyć zużycie energii
przez telewizor.
• „Standardowy”: Ustawienie domyślne.
• „Oszczędzanie”: Zmniejszenie zużycia energii przez telewizor.
• „Bez obrazu”: Wyłączenie obrazu. Mimo wyłączonego obrazu można
słuchać dźwięków.
Wyjście AV2
Ustawia wysyłanie sygnału przez gniazdo oznaczone / 2 znajdujące się
z tyłu odbiornika TV. Po podłączeniu magnetowidu do gniazda / 2,
(tylko w modelu KDL-
można nagrywać z urządzenia podłączonego do innych gniazd odbiornika TV.
20G2000)
• „TV”: Udostępnia sygnał.
• „Auto”: Udostępnia sygnał obrazu wyświetlanego w danym momencie na
ekranie telewizora.
Centr. RGB
Ustawia położenie obrazu w poziomie tak, aby obraz znajdował się w środku
ekranu.
Wskazówka
Ta opcja jest dostępna tylko, gdy do znajdującego się z tyłu odbiornika TV gniazda scart
/ 1 lub gniazda scart / 2 (tylko dla KDL-20G2000) podłączono źródło
sygnałów RGB.
Regulacja PC
Pozwala indywidualnie ustawić nastawy odbiornika TV i PC.
(tylko w modelu KDL-
Wskazówka
15G2000)
Opcja ta jest dostępna tylko podczas pracy w trybie PC.
• „Faza”: Regulacja obrazu, gdy część wyświetlanego tekstu lub obrazu jest
niewyraźna.
• „Wielkość piksela”: Powiększa lub zmniejsza obraz w płaszczyźnie
poziomej.
• „Centrowanie H”: Przesunięcie obrazu w lewo lub w prawo.
• „Oszcz. energii”: Przełączenie telewizora w tryb czuwania jeśli nie dochodzi
sygnał PC.
• „Zerowanie”: Przywrócenie ustawień fabrycznych.
cd
PL
23

Timer
Służy do ustawienia czasu włączenia i wyłączenia telewizora za pomocą
timera.
• Timer wyłączania
Ustawia okres czasu, po upływie którego odbiornik TV automatycznie
przełącza się w tryb czuwania.
Po uruchomieniu Timera wyłączania, wskaźnik (Timer) z przodu
telewizora pali się na pomarańczowo.
Wskazówki
• Jeśli telewizor zostanie wyłączony i ponownie włączony, ustawienia „Timer
wyłączania” zostaną skasowane „Wył.”.
• Na jedną minutę przed wyłączeniem telewizora i przejściem w stan czuwania,
wyświetlony zostanie komunikat „Timer wkrótce wyłączy zasilanie”.
•Nast. zegara
Umożliwia ręczne ustawienie zegara. Gdy telewizor odbiera sygnały
kanałów cyfrowych, zegara nie można ustawić ręcznie ponieważ
dostosowuje się on do czasu nadawanego sygnału.
•Timer
Służy do ustawienia czasu włączenia i wyłączenia telewizora za pomocą
timera.
„Tryb timera”: Wybiera żądany czas.
„Czas wł”: Czas włączenia telewizora.
„Czas wył”: Czas wyłączenia telewizora.
PL
24

Menu Ustawienia
Podane niżej opcje można wybrać w menu
Ustawienia
Ustawienia. Wybór opcji w „Ustawienia”,
Automatyczna inicjalizacja
patrz „Poruszanie się po menu” (strona 19).
Język
English
Kraj
-
Autoprogramowanie
Sortowanie programów
Ustawienia A/V
Korekta dźwięku
Programowanie ręczne
Ustawienia cyfrowe
Powrót:
Wybierz:
Wprowadź:
Koniec:
MENU
Automatyczna
Uruchamia „menu pierwszego uruchomienia” w celu wyboru języka oraz
kraju/regionu, a także dostrojenia wszystkich dostępnych kanałów cyfrowych
inicjalizacja
Korzystanie z MENU funkcji
i analogowych. Zazwyczaj nie ma potrzeby wykonywania tej operacji,
ponieważ język oraz kraj/region zostały wybrane, a kanały dostrojone podczas
pierwszej instalacji odbiornika (strona 5, 6). Opcja ta umożliwia jednak
powtórzenie tego procesu (np. w celu ponownego dostrojenia odbiornika po
zmianie mieszkania lub w celu wyszukania nowych kanałów uruchomionych
przez stacje telewizyjne).
Język
Wybiera język, w którym wyświetlane są menu.
Kraj
Wybiera kraj/region, w którym użytkowany jest odbiornik TV.
Wskazówka
Jeśli kraju/regionu, w którym odbiornik będzie używany nie ma na liście,
zamiast nazwy kraju/regionu należy wybrać „-”.
Autoprogramo-
Wykonuje strojenie wszystkich dostępnych kanałów.
Zazwyczaj nie ma potrzeby wykonywania tej operacji, ponieważ kanały
wanie
zostały już dostrojone przy pierwszej instalacji odbiornika (strona 5, 6). Opcja
ta umożliwia jednak powtórzenie tego procesu (np. w celu ponownego
dostrojenia odbiornika po zmianie mieszkania lub w celu wyszukania nowych
kanałów uruchomionych przez stacje telewizyjne).
Sortowanie
Zmienia kolejność, w jakiej kanały są zapisane w odbiorniku TV.
1 Za pomocą przycisków
F/f wybrać kanał, który ma być przeniesiony
programów
w nowe miejsce, a następnie nacisnąć
g.
2 Za pomocą przycisków
F/f wybrać nowe miejsce dla wybranego
kanału, a następnie nacisnąć .
Ustawienia A/V
Przypisuje nazwę każdemu urządzeniu podłączonemu do bocznych i tylnych
gniazd. Po wybraniu urządzenia, nazwa ta będzie przez chwilę wyświetlana na
ekranie. Można pominąć źródło sygnału wejściowego, które nie jest podłączone
do żadnego z urządzeń.
1 Za pomocą przycisków
F/f wybrać żądane źródło sygnału
wejściowego, a następnie nacisnąć .
2 Za pomocą przycisków
F/f wybrać żądaną opcję spośród podanych
poniżej, a następnie nacisnąć .
• AV1 (lub AV2/AV3/AV4/PC), VIDEO, DVD, CABLE, GAME, CAM,
SAT: Przypisuje jedną z fabrycznie zaprogramowanych nazw do każdego z
podłączanych urządzeń.
• „Edycja”: Tworzy własną nazwę.
• „Pomiń”: Pomija źródło sygnału wejściowego, które nie jest podłączone do
żadnego z urządzeń w momencie naciskania F/f, aby wybrać źródło sygnału
wejściowego.
Korekta dźwięku
Pozwala wybrać indywidualny poziom głośności dla każdego urządzenia
podłączonego do odbiornika TV.
cd
PL
25

Programowanie
Przed wybraniem „Nazwa”/„ARC”/„Filtracja dźwięku”/„Pomiń”/
„Dekoder”, nacisnąć
F/f, aby wybrać numer programu, który ma zostać
ręczne
zmieniony. Następnie nacisnąć .
System
/Kanał
Programuje ręcznie kanały programów.
1 Za pomocą przycisków
F/f wybrać „System”, a następnie nacisnąć .
2 Aby wybrać jeden z następujących systemów telewizji, naciskać
przyciski
F/f, a następnie G.
B/G: dla krajów/regionów zachodnioeuropejskich
D/K: dla krajów/regionów wschodniej Europy
L: dla Francji
I: dla Wielkiej Brytanii
Uwaga
Zależnie od wybranego kraju/regionu, zaznaczonego w opcji „Kraj ” (strona 5),
opcja ta może nie być dostępna.
3 Za pomocą przycisków F/f wybrać „Kanał”, a następnie nacisnąć .
4 Za pomocą przycisków F/f wybrać „S” (dla kanałów telewizji
kablowej) lub „C” (dla kanałów telewizji naziemnej), a następnie
nacisnąć
g.
5 Aby wykonać strojenie kanałów należy postępować w następujący
sposób:
Jeśli numer kanału (częstotliwość) jest nieznany
Naciskać przyciski F/f, aby znaleźć następny dostępny kanał. Z chwilą
znalezienia kanału, przeszukiwanie zatrzyma się. Aby kontynuować
przeszukiwanie, nacisnąć F/f.
Jeśli numer kanału (częstotliwość) jest znany
Przyciskami numerycznymi wpisać numer żądanego kanału stacji telewizyjnej
lub numer kanału magnetowidu.
6 Nacisnąć , aby przejść do „Potwierdź”, a następnie nacisnąć .
7 Nacisnąć f, aby wybrać „OK”, a następnie nacisnąć .
Powtórzyć powyższą procedurę, aby ręcznie zaprogramować inne kanały.
Nazwa
Nadaje wybranemu kanałowi nazwę wybraną przez użytkownika i zawierającą
do 5 liter lub cyfr. Po wybraniu kanału, nazwa ta będzie przez chwilę
wyświetlana na ekranie.
ARC
Pozwala precyzyjnie wykonać ręczne strojenie wybranego programu, jeśli
użytkownik uzna, że nieznaczna korekta dostrojenia poprawi jakość obrazu.
Strojenie można skorygować w zakresie -15 do +15. Po wybraniu „Wł.”,
strojenie precyzyjne jest wykonywane automatycznie.
Filtracja dźwięku
Polepsza jakość dźwięku na poszczególnych kanałach w przypadku
zniekształceń transmisji monofonicznej. W pewnych przypadkach,
niestandardowy sygnał telewizyjny może powodować zniekształcenie dźwięku
lub przejściowy zanik dźwięku podczas oglądania programów emitowanych w
mono.
Jeśli nie występują żadne zniekształcenia dźwięku, zalecamy pozostawienie
ustawienia fabrycznego „Wył.”.
Uwagi
• Po wybraniu opcji „Mała” lub „Duża” nie można odbierać dźwięku stereo lub
podwójnego dźwięku.
• Funkcja „Filtracja dźwięku” nie jest dostępna, gdy „System” ustawiono na „L”.
PL
26

Pomiń
Pomija nieużywane kanały analogowe, gdy podczas wyboru kanałów naciśnie
się PROG +/-. (Można wciąż wybrać pominięty kanał przyciskami
numerycznymi).
Dekoder
Wyświetla i nagrywa kodowane kanały telewizyjne przy użyciu dekodera
podłączonego do złącza SCART / 1, albo do złącza SCART /
2 (tylko w modelu KDL-20G2000) za pośrednictwem magnetowidu.
Uwaga
Zależnie od wybranego kraju/regionu, wybranego w opcji „Kraj ” (strona 5), opcja ta
może nie być dostępna.
Potwierdź
Zachowuje zmiany dokonane w ustawieniach „Programowanie ręczne”.
Korzystanie z MENU funkcji
PL
27

Menu Ustawienia cyfrowe
Menu Ustawienia cyfrowe pozwala na
Ustawienia
zmianę/konfigurację nastawień kanałów
Automatyczna inicjalizacja
cyfrowych. Wybór opcji w „Ustawienia”,
Język
English
patrz „Poruszanie się po menu” (strona 19).
Kraj
-
Autoprogramowanie
Sortowanie programów
Ustawienia A/V
Korekta dźwięku
Programowanie ręczne
Ustawienia cyfrowe
Powrót:
Wybierz:
Wprowadź:
Koniec:
MENU
Strojenie
Wyświetla menu „Strojenie cyfrowe”.
cyfrowe
Autoprogramowanie
Dostraja wszystkie kanały cyfrowe.
Zazwyczaj nie ma potrzeby wykonywania tej operacji, ponieważ kanały zostały
już dostrojone przy pierwszej instalacji odbiornika (strona 5). Opcja ta umożliwia
jednak powtórzenie tego procesu (np. w celu ponownego dostrojenia odbiornika
po zmianie mieszkania lub w celu wyszukania nowych kanałów uruchomionych
przez stacje telewizyjne).
Edycja listy programóv
Usuwa wszystkie niechciane kanały cyfrowe zapisane w pamięci telewizora oraz
zmienia kolejność, w jakiej zapisane są kanały.
1 Za pomocą przycisków
F/f wybrać kanał, który ma być usunięty lub
przeniesiony w nowe miejsce.
Jeśli numer programu (częstotliwość) jest znany
Przyciskami numerycznymi wpisać trzycyfrowy numer żądanego kanału stacji
telewizyjnej.
2 Usuwanie lub zmiana kolejności, w jakiej zapisane są kanały cyfrowe:
Usuwanie kanału cyfrowego
Nacisnąć . Pojawia się komunikat informujący, że wybrany kanał cyfrowy ma
być skasowany. Nacisnąć
G, aby wybrać „Tak”, a następnie nacisnąć .
Zmiana kolejności kanałów cyfrowych
Nacisnąć g, a następnie F/f, aby wybrać nowe położenie dla danego kanału, a
następnie
G. W razie potrzeby powtórzyć kroki 1 i 2, aby przesunąć inne kanały.
3 Nacisnąć przycisk RETURN.
Programowanie ręczne
Umożliwia manualne strojenie kanałów cyfrowych.
1 Wybrać przycisk numeryczny, aby wybrać kanał, który ma być ręcznie
dostrojony, a następnie nacisnąć
F/f, aby go dostroić.
2 Po wyszukaniu dostępnych kanałów nacisnąć F/f, aby wybrać kanał,
który ma być zapisany, a następnie nacisnąć .
3 Za pomocą przycisków
F/f wybrać numer programu, pod którym ma
zostać zapisany nowy kanał, a następnie nacisnąć .
Powtórzyć powyższą procedurę, aby ręcznie zaprogramować inne kanały.
PL
28

Ustawienia
Wyświetla menu „Ustawienia cyfrowe”.
cyfrowe
Ustawienia napisów
Wyświetla na ekranie cyfrowe napisy.
Po wybraniu opcji „Słaby słuch” wraz z napisami u dołu ekranu mogą
wyświetlane być dodatkowe znaki wizualne (jeśli na danym kanale nadawane są
takie informacje).
Język napisów
Wybiera język, w którym wyświetlane są napisy u dołu ekranu.
Język audio
Wybiera język stosowany dla programu. W przypadku niektórych kanałów
cyfrowych, dla danego programu dostępnych może być kilka wersji językowych.
Typ audio
Po wybraniu „Słaby słuch” zwiększa poziom głośności.
Blokada zabezpiecz.
Pozwala ograniczyć wiekowo dostęp do programów. Programy, które
Korzystanie z MENU funkcji
przekraczają ustawione ograniczenie wiekowe mogą być oglądane tylko po
wpisaniu poprawnego numeru PIN.
1 Przyciskami numerycznymi wpisać dany kod PIN.
Jeśli PIN nie został wcześniej ustawiony, pojawi się ekran, w którym należy wpisać
kod PIN. Zastosować się do instrukcji podanych w opisie „Kod PIN” poniżej.
2 Za pomocą przycisków F/f wybrać ograniczenie wiekowe lub „Brak”
(oglądanie bez ograniczeń), a następnie nacisnąć .
3 Nacisnąć przycisk RETURN.
Kod PIN
Do ustawienia kodu PIN po raz pierwszy lub do zmiany istniejącego kodu.
1 PIN należy wpisać zgodnie z poniższym opisem:
W przypadku, jeśli kod PIN został już wcześniej ustawiony
Przyciskami numerycznymi wpisać aktualny numer PIN.
W przypadku, jeśli kod PIN nie był wcześniej ustawiony
Przyciskami numerycznymi wpisać fabrycznie ustawiony numer PIN tj. 9999
2 Przyciskami numerycznymi wpisać numer nowego kodu PIN.
Pojawi się komunikat informujący o zaakceptowaniu nowego kodu PIN.
3 Nacisnąć przycisk RETURN.
Wskazówka
Kod PIN 9999 jest zawsze akceptowany.
Ustawienia techniczne
Wyświetla menu „Konfiguracja techniczna”.
„Auto. info. dot. usług”: Opcja ta pozwala na wyszukanie i zapisanie nowo
udostępnionych usług cyfrowych.
„Pobier. oprogramowania”: Opcja ta pozwala na automatyczne i bezpłatne
pobranie aktualizacji oprogramowania przez antenę (po opublikowaniu takich
aktualizacji). Sony zaleca, aby funkcja ta była stale włączona (ustawiona na
„Wł.”). Jeśli oprogramowanie nie ma być aktualizowane, opcję tę należy ustawić
na „Wył.”.
„Informacje o systemie”: Wyświetla aktualną wersje oprogramowania oraz
poziom sygnału.
„Strefa czasu”: Pozwala ustawić strefę czasową w kraju użytkownika.
Ustawienia modułu CA
Po uzyskaniu Modułu Dostępu Warunkowego (CAM) i specjalnej karty, opcja ta
umożliwia uzyskanie dostępu do usługi płatnej telewizji Pay Per View. Patrz
strona 30 w celu uzyskania informacji na temat położenia gniazda
(PCMCIA).
PL
29

Korzystanie z dodatkowego sprzętu
Podłączanie dodatkowego sprzętu
Do odbiornika TV można podłączyć cały szereg dodatkowych urządzeń. Przewody łączące nie zostały
dostarczone w zestawie.
Podłączenie do gniazd z boku odbiornika TV
Aby podłączyć Należy
Moduł Dostępu
Opcja umożliwiająca
Warunkowego
korzystanie z usług Pay Per
(CAM) A
View.
Więcej informacji można
znaleźć w instrukcji obsługi
modułu CAM. Aby użyć
Modułu Dostępu Warunkowego
(CAM) należy usunąć gumową
zaślepkę z gniazda CAM. Przed
Dla KDL-15G2000
włożeniem modułu CAM do
gniazda CAM należy wyłączyć
odbiornik TV. Jeśli moduł CAM
nie jest używany, zaleca się
nałożenie zaślepki na gniazdo
CAM.
Kamerę S VHS/
Podłączyć do gniazda S-video
Kamera S VHS/
Hi8/DVC B
3 lub gniazda video 3
Hi8/DVC
(dla KDL-
oraz gniazd audio 3. Aby
15G2000)
uniknąć zakłóceń obrazu, nie
podłączać równocześnie kamery
do gniazda video 3 i gniazda
S-video 3. Sprzęt
monofoniczny należy podłączyć
Słuchawki
do gniazda L 3, a „Podwójny
dźwięk” ustawić na „A”
(strona 22).
Kamerę S VHS/
Podłączyć do gniazda S-video
Dla KDL-20G2000
Hi8/DVC B
4 lub gniazda video 4
(dla KDL-
oraz gniazd audio 4. Aby
20G2000)
uniknąć zakłóceń obrazu, nie
podłączać równocześnie kamery
do gniazda video 4 i gniazda
S-video 4. Sprzęt
monofoniczny należy podłączyć
do gniazda L 4, a „Podwójny
dźwięk” ustawić na „A”
Kamera S VHS/
Hi8/DVC
(strona 22).
Słuchawki C Aby w słuchawkach odbierać
dźwięk z odbiornika TV należy
je podłączyć do gniazda i.
Słuchawki
PL
30


