Sony KDL-15G2000 – page 3
Manual for Sony KDL-15G2000
Table of contents

Перегрузка
Телевизор предназначен для
Сведения по
работы только от сети
переменного тока с
напряжением 220–240 В. Не
безопасности
подключайте слишком много
приборов к одной электророзетке. Это может привести
Кабель питания
к возгоранию или поражению электрическим током.
• Во избежание
Если телевизор не используется
повреждения кабеля
• Если Вы не собираетесь
питания соблюдайте
пользоваться телевизором в
следующие правила.
течение нескольких дней, по
В случае
соображениям безопасности
повреждения кабеля
и охраны окружающей
питания существует опасность возгорания или
среды его следует
поражения электрическим током.
отключить от сети
– Прежде чем переместить телевизор,
электропитания.
отсоедините его от сети.
• Телевизор не отключен полностью от электрической
– При отсоединении кабеля
сети, даже если он выключен. Чтобы полностью
питания вначале выньте его
выключить телевизор, выньте вилку кабеля питания
вилку из розетки.
из электророзетки. Однако в некоторых моделях
– Вынимая кабель питания из
правильная работа функций возможна только если
электророзетки, беритесь
телевизор остается в дежурном режиме.
за штепсельную вилку. Не
Переноска
тяните за сам кабель
• Перед перемещением телевизора
питания.
отсоедините от него все кабели.
– Не пережимайте, не
• Если телевизор переносится
перегибайте и не
вручную, держите его, как
показано на рисунке справа.
перекручивайте кабель
Поднимая телевизор, крепко
питания, прилагая
придерживайте его снизу. Если этого не сделать, он
излишние усилия. Центральные провода могут
может упасть и получить повреждения или нанести
оголиться или переломиться.
серьезную травму.
– Не изменяйте конструкцию кабеля питания.
• При перевозке предохраняйте
– Не ставьте и не кладите никакие тяжелые
телевизор от ударов и сильной
предметы на кабель питания.
вибрации. Он может упасть и
– Кабель питания не должен находиться рядом с
получить повреждения или
стать причиной серьезной
источниками тепла.
травмы.
• В случае повреждения кабеля питания
• В случае падения или
немедленно прекратите пользоваться им и
повреждения телевизора
обратитесь в сервисный центр Sony для его
немедленно обратитесь к
замены.
квалифицированному специалисту по обслуживанию
• Не используйте входящий в комплект поставки
для его проверки.
кабель питания с другим оборудованием.
• Если необходимо доставить телевизор в ремонтную
• Используйте только кабели питания Sony, не
мастерскую или перевезти в другое место, упакуйте
пользуйтесь другими марками.
его в картонную коробку и упаковочный материал, в
которых он поставлялся изначально.
Сетевая розетка
Размещение
Не пользуйтесь электророзеткой с
• Штепсельную вилку адаптера переменного тока
плохими контактами. Вставляйте вилку
следует подсоединять к легкодоступной сетевой
в розетку до конца. Плохой контакт
розетке, чтобы ее можно было немедленно
может привести к искрению и, как
отсоединить в экстренном случае.
следствие, к возгоранию. Обратитесь к
• Устанавливайте телевизор на
электрику с просьбой заменить
ровную устойчивую поверхность.
электророзетку.
Не вешайте на телевизор никакие
Чистка вилки кабеля
предметы. В противном случае
питания
возможно его падение с подставки,
Регулярно чистите вилку кабеля
результатом чего может явиться
питания, предварительно вынув ее из
материальный ущерб или серьезная травма.
розетки. Если вилка покрыта пылью,
• Не устанавливайте телевизор в местах с повышенной
в ней скапливается влага, что может
температурой, например, под прямыми солнечными
привести к повреждению изоляции и, как следствие, к
лучами, рядом с отопительными приборами или
возгоранию.
тепловентиляторами. В противном случае телевизор
может перегреться, его корпус может
деформироваться, и могут возникнуть неполадки в
его работе.
Продолжение
RU
7

• Не устанавливайте телевизор в местах,
Адаптер переменного тока
подверженных воздействию прямого потока воздуха
от кондиционера. Установка телевизора в таком
месте может привести к конденсации влаги внутри
него с последующим выходом аппарата из строя.
• Никогда не устанавливайте
10 см
10 см
телевизор в жарких, влажных
или слишком запыленных
местах.
• Не устанавливайте телевизор в
10 см
местах, где могут быть насекомые.
10 см
• Не устанавливайте телевизор в таких местах, где он
10 см
может быть подвержен механической вибрации.
• Не устанавливайте телевизор в таких местах, где о
него можно случайно удариться например, за
колонной или на небольшой высоте, где его можно
• Никогда не устанавливайте телевизор следующим
задеть головой. Это может стать причиной травмы.
образом:
• Не позволяйте детям
Циркуляция
взбираться на телевизор.
воздуха нарушена.
• Если телевизор используется
рядом с морским побережьем,
соль может вызвать коррозию
металлических частей и привести к внутреннему
повреждению или возгоранию телевизора.
Вентиляция
• Никогда не перекрывайте
Стена
вентиляционные отверстия и
не вставляйте в них никакие
предметы. Это может
привести к перегреву и
последующему возгоранию.
• Если не обеспечить надлежащую вентиляцию, в
телевизоре может скапливаться пыль и грязь. Для
обеспечения надлежащей вентиляции соблюдайте
следующие рекомендации:
Прокладка кабелей
– Не устанавливайте телевизор задом наперед и
• Выполняя соединения между устройствами, в
боком;
целях безопасности извлеките кабель питания из
– Не ставьте телевизор на бок и нижней стороной
электророзетки.
вверх;
• Будьте осторожны, чтобы не споткнуться о
– Не устанавливайте телевизор на полке или в
кабели. Иначе можно повредить телевизор.
нише;
Медицинские
– Не ставьте телевизор на ковер или на кровать;
учреждения
– Не накрывайте телевизор тканью, например,
Не ставьте телевизор в
занавесками, а также газетами и т.п.
местах, где работает
• Оставляйте свободное пространство вокруг
медицинское оборудование.
телевизора, как показано на нижеприведенном рисунке.
Это может привести к
В противном случае возможно нарушение нормальной
циркуляции воздуха, что может привести к перегреву и,
неисправной работе медицинского оборудования.
как следствие, к возгоранию или повреждению
Использование вне
телевизора.
помещения
30 см
• Не устанавливайте
телевизор вне помещения.
Попадание телевизора под
дождь может привести к
10 см
10 см
6 см
возгоранию или поражению
электрическим током.
• Если телевизор подвержен воздействию прямых
солнечных лучей, он может перегреться и выйти
из строя.
Обеспечьте пространство
вокруг аппарата не менее
указанного.
RU
8

Транспортные
Разбитое стекло
средства, корабли и
• Не кидайте в телевизор никакие
другие суда
предметы. От удара экранное
• Не устанавливайте
стекло может разбиться и
телевизор в
нанести серьезную травму.
транспортном средстве.
• Если на поверхности телевизора
Во время движения он может упасть и причинить
появилась трещина, не
травму.
прикасайтесь к нему, пока кабель питания не
• Не устанавливайте этот
будет отсоединен от электросети. В противном
телевизор на кораблях и
случае существует опасность поражения
других судах. Попадание
электрическим током.
на него морской воды
Обслуживание
может привести к
Внутри телевизора имеется
возгоранию или
опасное высокое напряжение.
повреждению телевизора.
Не снимайте корпус.
Вода и влага
Обращайтесь только к
• Не используйте телевизор
квалифицированному
рядом с водой, – например,
специалисту по обслуживанию.
рядом с ванной или душевой
Демонтаж и установка мелких деталей
комнатой. Следите за тем,
Храните мелкие детали вне досягаемости детей.
чтобы он не попадал под дождь и не находился во
влажном или задымленном помещении. В
противном случае возможно возгорание и
поражение электрическим током.
• Не прикасайтесь к кабелю
питания и к телевизору
влажными руками. В
противном случае существует
опасность поражения
электрическим током или
повреждения телевизора.
Влага и
легковоспламеняющиеся
предметы
• Не кладите на телевизор какие-
либо предметы На телевизор не
должны попадать какие-либо
капли или брызги; нельзя
ставить на него какие-либо
предметы, содержащие жидкости, например вазу с
цветами.
• Во избежание возгорания не ставьте рядом с
телевизором легковоспламеняющиеся предметы
или источники открытого пламени (например,
свечи).
• Если жидкость или какой-либо предмет все же
попадет внутрь корпуса телевизора через
отверстия в нем, немедленно выключите
телевизор. Это может привести к поражению
электрическим током или выходу телевизора из
строя. Поэтому немедленно обратитесь к
квалифицированному специалисту по
обслуживанию для проверки телевизора.
Грозы
В целях безопасности во время
грозы не прикасайтесь ни к каким
частям телевизора, а также к
кабелям питания и антенны.
RU
9

тканью. Если пыль не удаляется полностью,
протрите экран мягкой тканью, слегка смоченной в
слабом растворе мягкого моющего средства.
Меры
• Ни в коем случае не используйте никакие абразивные
материалы, щелочные/кислотные очистители,
предосторожности
чистящие порошки и такие летучие растворители,
как спирт, бензин, разбавитель или инсектициды.
Применение этих веществ или длительный контакт с
Просмотр телевизора
изделиями из резины/винила могут повредить
• Для удобства просмотра рекомендуется располагаться
покрытие корпуса или поверхность экрана.
от телевизора на расстоянии, в четыре-семь раз
• В вентиляционных отверстиях со временем может
превышающем вертикальный размер экрана’.
скапливаться пыль. Для обеспечения надлежащей
• Для получения четкого изображения не направляйте
вентиляции рекомендуется периодически (раз в
непосредственно на экран источники света и не
месяц) удалять пыль с помощью пылесоса.
допускайте воздействия на него прямых солнечных
• При регулировке угла наклона телевизора
лучей. По возможности используйте точечное
придерживайте основание подставки рукой, чтобы
освещение потолочных светильников.
предотвратить отсоединение экрана от подставки.
• Смотрите телевизор при достаточном освещении;
Старайтесь, чтобы пальцы не попали в зазор между
просмотр при плохом освещении или в течение
экраном и подставкой.
слишком длительного времени может вызвать
утомление глаз.
Дополнительные устройства
Регулировка громкости
• Не устанавливайте дополнительные компоненты
• Отрегулируйте громкость так, чтобы не беспокоить
слишком близко к телевизору. Расстояние от
соседей. Звуки очень сильно распространяются в
телевизора до дополнительных компонентов должно
ночное время. Поэтому рекомендуется закрывать
быть не менее 30 см. В случае установки
окна или пользоваться наушниками.
видеомагнитофона перед телевизором или рядом с
• При пользовании наушниками не устанавливайте
ним изображение может искажаться.
слишком большую громкость, чтобы не повредить
• В случае установки телевизора в непосредственной
слух.
близости от устройств, испускающих
электромагнитное излучение, возможны искажение
ЖК-экран
изображения или аудио помехи.
• Хотя ЖК-экран изготовлен по высокоточной
технологии и число эффективных точек достигает
99,99 % и выше, на экране могут постоянно
Утилизация телевизора
появляться черные или яркие цветные (красные,
синие или зеленые) точки. Это структурное свойство
Утилизация
ЖК-экрана, которое не является признаком
неисправности.
электрического и
• Не нажимайте на защитный фильтр, не царапайте его
электронного
и не ставьте на телевизор какие-либо предметы. Это
оборудования
может привести к неравномерности изображения или
(директива
повреждению ЖК-экрана.
• Если телевизор работает в холодном месте,
применяется в странах
изображение может оказаться размытым или слишком
Евросоюза и других
темным. Это не является признаком неисправности.
европейских странах,
Эти явления исчезнут с повышением температуры.
где действуют системы
• При продолжительной демонстрации неподвижного
изображения могут появляться остаточные
раздельного сбора
изображения. Через несколько секунд они могут
отходов)
исчезнуть.
Данный знак на устройстве или
• Во время работы телевизора экран и корпус
его упаковке обозначает, что данное устройство нельзя
нагреваются. Это не является признаком
неисправности.
утилизировать вместе с прочими бытовыми отходами.
• ЖК-экран содержит небольшое количество жидких
Его следует сдать в соответствующий приемный пункт
кристаллов и ртути. Люминесцентная лампа в
переработки электрического и электронного
телевизоре также содержит ртуть. При утилизации
оборудования. Неправильная утилизация данного
соблюдайте соответствующие местные положения и
изделия может привести к потенциально негативному
инструкции.
влиянию на окружающую среду и здоровье людей,
Уход за поверхностью экрана и корпусом
поэтому для предотвращения подобных последствий
телевизора и их чистка
необходимо выполнять специальные требования по
Перед тем, как приступать к чистке телевизора,
утилизации этого изделия. Переработка данных
отсоедините его кабель питания от сети.
материалов поможет сохранить природные ресурсы.
Для обеспечения сохранности конструкционных
Для получения более подробной информации о
материалов и покрытия экрана телевизора соблюдайте
переработке этого изделия обратитесь в местные
следующие меры предосторожности.
органы городского управления, службу сбора бытовых
• Не нажимайте на экран, не скребите по нему
твердыми предметами, и ничего в него не кидайте. В
отходов или в магазин, где было приобретено изделие.
противном случае экран можно повредить.
• Если телевизор непрерывно работает в течение
продолжительного времени, не прикасайтесь к
панели дисплея, так как она нагревается.
• К поверхности экрана рекомендуется прикасаться
как можно реже.
• Для удаления пыли с поверхности экрана/корпуса
телевизора осторожно протирайте его мягкой
RU
10

Описание пульта ДУ
1 "/1 – Дежурный режим
Служит для включения и выключения телевизора из дежурного режима.
2 – Режим экрана (стр. 14)
3 Цветные кнопки
• В цифровом режиме: (стр. 15, 18): Позволяют выбирать опции в нижней
части экрана в цифровых меню “Предпочитаемые программы” и EPG
(Цифровой электронный экранный телегид).
• В режиме телетекста (стр. 14): Используются для режима Фастекст.
4 / – Информация/Вывод скрытого текста
• В цифровом режиме: Выводит на экран краткую информацию о
просматриваемой в данный момент программе.
• В аналоговом режиме: Выводит на экран такую информацию, как
текущий номер канала.
• В режиме телетекста (стр. 14): Выводит на экран скрытую информацию
(например, ответы телевикторины).Эта кнопка не работает.
5 F/f/G/g/ (стр.20)
6 Замораживание изображения (стр. 14)
PIP в режиме ПК (стр. 14) (только для KDL-15G2000)
• В обычном режиме работы телевизора: Замораживает телевизионное
изображение (стоп-кадр).
• В режимe ПК: Выводит на экран малую картинку (PIP). (только для
KDL-15G2000)
7 MENU (стр. 20)
8 DIGITAL – Цифровой режим (стр. 13)
9 Цифровые кнопки
• В обычном режиме работы телевизора: Служат для выбора канала. Для
выбора каналов с двузначными номерами вторую цифру следует
вводить в течение двух секунд после ввода первой.
• В режиме телетекста: Служат для ввода трехзначного номера нужной
страницы.
0 – Предыдущий канал
Служит для возврата к предыдущему просматривавшемуся каналу (пи
условии, что его просмотр длился более пяти секунд).
qa PROG +/- (стр. 13)
• В обычном режиме работы телевизора: Служит для выбора
следующего (+) или предыдущего (-) канала.
• В режиме телетекста: Служит для выбора следующего (+) или
предыдущего (-) канала.
qs 2 +/- – Громкость
qd % – Отключение звука (стр. 14)
qf
/ – Tелетекст (стр. 14)
qg ANALOG – Аналоговый режим (стр. 13)
qh / RETURN
Служит для возврата к предыдущей странице любого выведенного на
экран меню.
qj – EPG (цифровой экранный электронный телегид)
(стр. 15)
qk – Режим изоб. (стр. 22)
ql 9 – Звуковой эффект (стр. 23)
w; – Выбор источника входного сигнала / Удержание
текста
• В обычном режиме работы телевизора (стр. 19): Служит для выбора
источника входного сигнала из числа устройств, подключенных к
разъемам телевизора.
• В режиме телетекста (стр. 14): Служит для удержания текущей
страницы.
Подсказка
На кнопке PROG + и цифровой кнопке 5 имеются выпуклые точки. По ним удобно ориентироваться при
управлении телевизором.
RU
11

Описание кнопок и индикаторов
телевизора
1 MENU (стр. 20)
2 / – Кнопка выбора источника
входного сигнала/OK
• В обычном режиме работы телевизора
(стр. 19): Служит для выбора источника
входного сигнала из числа устройств,
подключенных к разъемам телевизора.
• При работе с меню: Служит для выбора
меню или опции и для подтверждения
установки.
3 2 +/-/G/g
• Служит для увеличения (+) или
уменьшения (-) громкости.
• При работе с меню: Служит для
перемещения между опциями влево (
G)
или вправо (g).
4 PROG +/- /F/f
• В обычном режиме работы телевизора:
Служит для выбора следующего (+) или
предыдущего (-) канала.
• При работе с меню: Служит для
перемещения между опциями вверх (
F)
или вниз (
f
).
5 1 – Кнопка включения/выключения
питания
Служит для включения или выключения
телевизора.
Примечание
Чтобы полностью выключить телевизор,
выньте вилку кабеля питания из
электророзетки.
6 – Отключение изображения/
Индикатор таймера
• Загорается зеленым светом при
отключенном изображении (стр. 24).
• Загорается оранжевым светом при
установленном таймере (стр. 25).
• Загорается красным светом при начале
цифровой записи в дежурном режиме.
7 1 – Индикатор дежурного режима
Загорается красным светом, когда
телевизор находится в дежурном режиме.
8 " – Индикатор включения
телевизора
Загорается зеленым светом при включении
телевизора.
9 Датчик сигнала с пульта ДУ
RU
12

Просмотр телевизора
режим или кнопку ANALOG для его
Просмотр
переключения в аналоговый режим.
Число доступных каналов будет зависеть от
телевизионных
заданного режима.
3 Для выбора телевизионного канала
программ
используйте цифровые кнопки или
Просмотр телевизора
кнопку PROG +/-.
Для выбора каналов с двузначными номерами
вторую цифру следует вводить в течение двух
1
1
секунд после ввода первой.
О том, как выбрать цифровой канал с
помощью цифрового электронного
экранного телегида (EPG), см. на стр. 15.
В цифровом режиме
На короткое время на экране появится
информационный баннер. Баннер может
содержать следующие пиктограммы:
: Трансляция радиосигнала
: Трансляция кодированных/получаемых
по подписке программ
: Доступно многоязычное аудиовещание
: Доступны субтитры
:
Доступны субтитры для слабослышащих
: Рекомендуемый минимальный возраст
2
2
для просмотра текущей программы (от
4 до 18 лет)
: Замок от детей
3
: Ведется запись текущей программы
Дополнительные операции
Чтобы Необходимо
Временно
Нажать "/1.
выключить
3
телевизор
(установить его в
дежурный режим)
Включить
Нажать кнопку %. С
телевизор из
помощью кнопки 2 +/-
дежурного режима
отрегулируйте уровень
без звука
громкости.
Выключить
Нажать кнопку 1 на
телевизор
телевизоре (на его верхней
крышке).
1 Для включения телевизора нажмите
Примечание
кнопку 1 на телевизоре (на его верхней
Для полного выключения
панели).
телевизора выньте вилку
Если телевизор находится в дежурном
сетевого шнура из розетки.
режиме (индикатор 1 дежурного режима на
Отрегулировать
Нажимать 2 + (для
передней панели телевизора горит красным
уровень громкости
увеличения)/- (для
цветом), для включения телевизора нажмите
уменьшения).
кнопку "/1 на пульте ДУ.
2 Нажмите кнопку DIGITAL для
переключения телевизора в цифровой
Продолжение
RU
13

PIP (Picture in Picture – Режим двух
Чтобы Необходимо
экранов) в режимe ПК (только для
Отключить звук Нажать кнопку %. Для
KDL-15G2000)
восстановления звука
В режиме ПК эта функция выводит на экран окно с
нажмите эту кнопку еще раз.
изображением, соответствующим последнему
Вывести на экран
Нажать . Для выбора
выбранному каналу.
таблицу программ
аналогового канала
1 Нажмите кнопку на пульте ДУ.
(только в
нажмите
аналоговом
F/f, затем нажмите кнопку
2 С помощью кнопок F/f/G/g
режиме)
.
отрегулируйте положение окна.
Вывод на экран таблицы
3 Для отмены данной функции нажмите
входных сигналов см. на
кнопку .
стр. 19.
Подсказка
Вход в режим телетекста
Воспроизводимый звук будет соответствовать этому
окну.
Нажмите /. При каждом нажатии кнопки / экран
будет циклически меняться в следующей
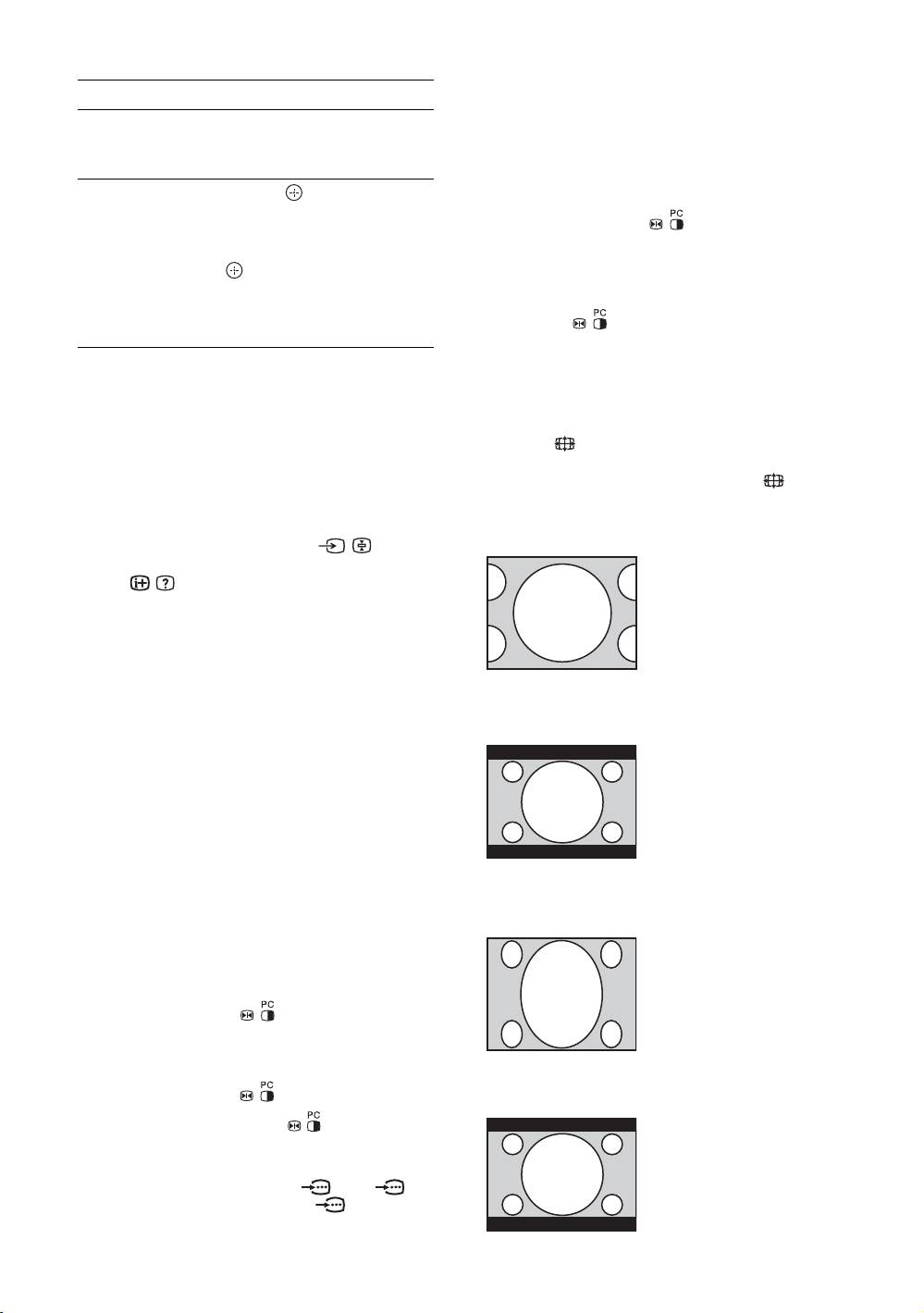
Переключение режима экрана
последовательности:
Нажмите , чтобы переключить на формат 16:9
Текст t Текст, наложенный на телевизионное
(широкоэкранный режим).
изображение (смешанный режим) t Изображение
Чтобы вернуться к формату 4:3, нажмите еще раз.
без текста (выход из режима телетекста)
Для выбора страницы используйте цифровые
В цифровом режиме
кнопки или PROG +/-.
4:3
Для удержания страницы нажмите / .
Изображения в формате
Для вывода на экран скрытой информации нажмите
16:9 (широкоэкранный
кнопку / .
режим) отображаются в
растянутом виде, в
Подсказки
правильном соотношении,
• Удостоверьтесь, что Вы принимаете канал
а их края могут быть не
(телевизионную станцию) с хорошим сигналом, в
видны.
противном случае возможны ошибки телетекста.
mM
• Крупнейшие телевизионные станции
предоставляют услуги телетекста. Для получения
16:9
информации о том, как пользоваться этим
сервисом выберите страницу с указателем
16:9 (широкоэкранные
телетекста (обычно это страница 100).
изображения)
• Если в нижней части страницы телетекста
отображаются в
появляются четыре цветовых символа, Вы можете
правильной пропорции.
войти в режим Фастекст. Фастекст обеспечивает
Вам быстрый и простой доступ к нужным
страницам. Нажмите кнопку соответствующего
цвета для выхода на нужную страницу.
В аналоговом режиме с входными аудио и
видео сигналами
Замораживание изображения:
4:3
Данная функция позволяет замораживать
16:9 (широкоэкранные
телевизионное изображение (например, чтобы
изображения)
записать показанный на экране телефонный номер
растягиваются по
или рецепт).
вертикали.
1 Нажмите кнопку на пульте ДУ.
2 С помощью кнопок F/f/G/g
отрегулируйте положение окна.
mM
3 Нажмите кнопку для удаления окна.
16:9
4 Снова нажмите кнопку для возврата
16:9 (широкоэкранные
изображения)
к обычному режиму работы телевизора.
отображаются в
Подсказка
правильной пропорции.
Данная функция недоступна для AV2,
AV4 (для модели KDL-15G2000) и AV3 (для
модели KDL-20G2000).
RU
14

Использование цифрового
электронного экранного телегида (EPG)
1 В цифровом режиме нажмите кнопку
Просмотр телевизора
для вывода на экран цифрового
экранного электронного телегида (EPG).
2 Выполните нужную операцию в
соответствии со следующей таблицей.
Примечание
Информация о программе будет выведена на экран
только, если она передается телевещательной
Цифровой экранный электронный телегид
станцией.
Чтобы Необходимо
Удалить с экрана EPG (цифровой
Нажать .
электронный экранный телегид)
Передвигаться по разделам
Нажимать
F/f/G/g.
цифрового электронного экранного
телегида (EPG)
Просмотреть текущую программу Нажать кнопку при выбранной программе.
Отсортировать информацию о
1 Нажать синюю кнопку.
программе по категории – Список
2 С помощью кнопок
F/f/G/g выбрать категорию. Сбоку
категорий
на экране появится название категории.
Имеются следующие категории:
“Все категории”: Включает все доступные каналы.
“Новости”: Включает все информационные каналы.
3 Нажать .
Цифровой экранный электронный телегид (EPG) теперь будет
выводить на экран только программы, относящиеся к
выбранной категории.
Продолжение
RU
15

Чтобы Необходимо
Задать программу для записи –
1 С помощью кнопок F/f/G/g выбрать предстоящую
Запись по таймеру
программу, которую Вы хотите записать.
2 Нажать .
3 С помощью кнопок
F/f выбрать “Запись по таймеру”.
4 Нажать установки таймеров телевизора и Вашего
видеомагнитофона.
Символ появится рядом с информацией о данной
программе. При этом индикатор (на передней панели
телевизора) загорится.
Примечания
• Вы можете установить на телевизоре таймер записи
видеомагнитофона только для видеомагнитофонов, совместимых с
функцией Smartlink. Если Ваш видеомагнитофон несовместим с
функцией Smartlink, на экране появится сообщение, напоминающее
Вам о необходимости установить на запись таймер Вашего
видеомагнитофона.
• После начала записи Вы можете переключить телевизор в
дежурный режим; однако нельзя полностью выключать телевизор, в
противном случае возможна отмена записи.
• Если для ряда программ задано возрастное ограничение, на экране
появится запрос PIN-кода. Более подробную информацию см. в
разделе “Замок от детей” на стр. 30.
Задать программу для
1 С помощью кнопок F/f/G/g выбрать предстоящую
автоматического вывода на экран
программу, которую Вы хотите вывести на экран.
при начале ее трансляции
2 Нажать .
– Напоминание
3 С помощью кнопок
F/f выбрать “Напоминание”.
4 Нажать для автоматического вывода на экран
выбранной программы при начале ее трансляции.
Символ c появится рядом с информацией о данной программе.
Примечание
Если Вы установите телевизор в дежурный режим, он
автоматически включится перед началом трансляции данной
программы.
RU
16

Чтобы Необходимо
Задать время и дату трансляции
1 Нажать .
программы, которую Вы хотите
2 С помощью кнопок
F/f выбрать “Ручная запись по
записать – Ручная запись по таймеру
таймеру”, затем нажать .
3 С помощью кнопок
F/f выбрать дату, затем нажать g.
4 Задать время начала и окончания записи таким же
образом, как и в шаге 3.
5 С помощью кнопок
F/f выбрать программу, затем
Просмотр телевизора
нажать для установки таймеров телевизора и Вашего
видеомагнитофона.
Символ появится рядом с информацией о данной
программе. При этом индикатор (на передней панели
телевизора) загорится.
Примечания
• Вы можете установить на телевизоре таймер записи
видеомагнитофона только для видеомагнитофонов, совместимых с
функцией Smartlink. Если Ваш видеомагнитофон несовместим с
функцией Smartlink, на экране появится сообщение, напоминающее
Вам о необходимости установить на запись таймер Вашего
видеомагнитофона.
• После начала записи Вы можете переключить телевизор в
дежурный режим; однако нельзя полностью выключать телевизор, в
противном случае возможна отмена записи.
• Если для ряда программ задано возрастное ограничение, на экране
появится запрос PIN-кода. Более подробную информацию см. в
разделе “Замок от детей” на стр. 30.
Отменить запись/напоминание –
1 Нажать .
Список таймеров
2 С помощью кнопок F/f выбрать Список таймеров.
3 С помощью кнопок
F/f выбрать программу, запись/
напоминание о которой Вы хотите отменить, и нажать
кнопку .
На экране появится запрос подтверждения на отмену.
4 Нажать g для выбора опции “Да”, затем для
подтверждения нажать кнопку .
Подсказка
Вы можете также вывести на экран цифровой экранный электронный телегид (EPG), выбрав опцию “Цифр
(EPG)” в “MENU”.
RU
17

Использование списка предпочитаемых
программ
Функция “Предпочитаемые программы” позволяет
Вам выводить на экран программы из
составляемого Вами же списка, который может
включать в себя до 8 каналов. О том, как вывести на
экран список предпочитаемых программ, см. в
разделе “Навигация по системе меню” (стр. 20).
Список предпочитаемых
Чтобы Необходимо
Впервые создать список Ваших
Когда Вы в первый раз выберете в меню опцию “Цифр.
предпочитаемых программ
Избранные”, на экране появится запрос, желаете ли Вы добавить
каналы в список предпочитаемых программ.
1 Нажать кнопку для выбора опции “Да”.
2 С помощью кнопок
F/f выбрать канал, который Вы
хотите добавить в список.
Если Вы знаете номер канала, Вы можете непосредственно
выбрать нужный канал с помощью цифровых кнопок.
3 Нажать .
Каналы, содержащиеся в списке предпочитаемых программ,
помечены символом .
Удалить с экрана списка
Нажать кнопку RETURN.
предпочитаемых программ
Просмотреть тот или иной канал Нажать кнопку , выбрав тот или иной канал.
Добавить или удалить каналы из
1 Нажать синюю кнопку.
списка предпочитаемых программ
Каналы, содержащиеся в списке предпочитаемых программ,
помечены символом .
2 С помощью кнопок F/f выбрать канал, который Вы
ходите добавить или удалить.
Если Вы знаете номер канала, Вы можете непосредственно
выбрать нужный канал с помощью цифровых кнопок.
3 Нажать .
4 Нажать синюю кнопку для возвращения к списку
предпочитаемых программ.
Удалить все каналы из списка
1 Нажать синюю кнопку.
предпочитаемых программ
2 Нажать желтую кнопку.
На экране появится запрос подтверждения того, что Вы
действительно хотите удалить все каналы из списка
предпочитаемых программ.
3 Нажать G для выбора опции “Да”, затем для
подтверждения нажать кнопку .
RU
18

4:
Входной сигнал RGB, поданный через разъемы
Просмотр
PC (для подключения ПК) 4, и входной
аудиосигнал, поданный через гнездо 4.
изображения с
устройств,
Для модели KDL-20G2000
AV1/ AV1, AV2/ AV2:
подключенных к
Входной аудио/видео иди RGB сигнал, поданный
Просмотр телевизора
через Scart-разъем / 1 или 2. Этот
телевизору
символ появляется только при подключении
источника RGB сигнала.
AV 3:
Включите подключенное к телевизору
Компонентный входной сигнал, поданный через
устройство и затем выполните одну из
гнезда Y, P
B/CB, PR/CR / 3, и входной
следующих операций.
аудиосигнал, поданный через гнезда L, R /
Для устройств, подключенных к Scart-
3. Для информации о форматах
разъемам с помощью полностью распаянного
поддерживаемого сигнала, обращайтесь,
21-контактного Scart-кабеля
пожалуйста, к разделу “Технические
Начните воспроизведение на подключенном
характеристики” (стр. 33).
устройстве.
На экране появится изображение, поступающее от
AV4/ AV4:
подключенного устройства.
Входной видеосигнал, поданный через гнездо
видеовхода 4, и входной аудиосигнал,
Для видеомагнитофона с автоматической
настройкой (стр. 4)
поданный через гнезда аудиовхода L (MONO), R
В аналоговом режиме нажимайте PROG +/- или на
4. Символ появляется только в том
цифровые кнопки для выбора видеоканала.
случае, если устройство подключено к гнезду S
video 4, а не к видеовходу 4, и входной
Для других подключенных устройств
сигнал S video подается через гнездо S video
Нажимайте кнопку / до тех пор, пока на
4.
экране не появится символ нужного источника
входного сигнала (см. ниже).
Для модели KDL-15G2000
Дополнительные операции
AV 1 / AV 1 :
Чтобы Необходимо
Входной аудио/видео иди RGB сигнал, поданный
через Scart-разъем / 1. Этот символ
Возвратиться к
Нажать DIGITAL или
появляется только при подключении источника
обычному режиму
ANALOG.
RGB сигнала.
работы
телевизора
AV 2 :
Компонентный входной сигнал, поданный через
Вывести на экран
Нажать кнопку для вывода
гнезда Y, P
B/CB, PR/CR / 2, и входной
Таблицу входных
таблицы входных сигналов.
аудиосигнал, поданный через гнезда L, R /
сигналов.
(Затем, только в аналоговом
2. Для информации о форматах
режиме, нажмите кнопку
g.)
поддерживаемого сигнала, обращайтесь,
С помощью кнопки
F/f
пожалуйста, к разделу “Технические
выберите источник входного
характеристики” (стр. 33).
сигнала, затем нажмите
кнопку .
AV 3 / AV 3 :
Входной видеосигнал, поданный через гнездо
видеовхода 3, и входной аудиосигнал,
поданный через гнезда аудиовхода L (MONO), R
3. Символ появляется только в том
случае, если устройство подключено к гнезду S
video 3, а не к видеовходу 3, и входной
сигнал S video подается через гнездо S video
3.
RU
19

Использование функций MENU
Навигация по системе меню
Экранное меню позволяет Вам использовать различные возможности данного телевизора. Вы можете легко
выбрать каналы или внешние входы с помощью пульта ДУ. ВЫ можете также легко изменить установки Вашего
телевизора с помощью меню.
1 Нажмите кнопку MENU для вывода
меню на экран.
MENU
Цифр. Избранные
Аналогов.
Цифр.
2,3
Цифр. EPG
Внешние входы
Установки
1
Выбр.:
Вход:
Выxoд:
MENU
2 С помощью кнопок F/f выберите
нужную опцию.
3 Нажмите для подтверждения
сделанного выбора.
Для выхода из меню нажмите кнопку
MENU.
Меню Описание
Цифр. избранные
Выводит на экран список предпочитаемых программ. Подробности об
(только в цифровом
установках см. стр. 18.
режиме)
Аналогов.
Служит для возврата к предыдущему просматривавшемуся аналоговому
(только в цифровом
каналу.
режиме)
Цифр.
Служит для возврата к предыдущему просматривавшемуся цифровому
(только в цифровом
каналу.
режиме)
Цифр. EPG
Выводит на экран Цифровой экранный электронный телегид (EPG).
(только в цифровом
Подробности об установках см. на стр. 15.
режиме)
Внешние входы
Выводит на экран список устройств, подключенных к Вашему
телевизору.
• Для просмотра изображения с нужного внешнего входа выберите
источник входного сигнала, затем нажмите кнопку .
• О придании метки внешнему входу см. стр. 26.
RU
20

Меню Описание
Установки
Открывает меню Установки , в котором выполняется большинство
расширенных установок и настроек. Выберите пиктограмму какого-либо
подменю, выберите опцию и произведите ее изменение или настройку с
помощью кнопок
F/f/G/g.
Подробности об установках см. на стр. 22 – 30.
Примечание
Параметры, которые можно регулировать, меняются в зависимости от
ситуации. Недоступные параметры отображаются серым цветом или не
отображаются совсем.
Использование функций MENU
RU
21

Меню “Настройка изображения”
Вы можете выбрать нижеперечисленные
Настройка изображения
опции в меню “Настройка изображения”. О
Режим изоб.
Индивидуальный
правилах выбора опций в меню “Установки”
Пoдcвeтка
5
см. в разделе “Навигация по системе меню”
Контраст
Max
(стр. 20).
Яркость
50
Цветность
50
Оттенок
0
Резкость
15
Цвeтовой тон
Teплый
Сброс
Шумопонижение
Aвто
Назад:
Выбр.:
Вход:
Выxoд:
MENU
Позволяет выбрать режим изображения.
Режим изоб.
• “Яркий”: Задается для увеличения контрастности и резкости изображения.
• “Cтaндapт”: Для получения стандартного изображения. Рекомендуется для
домашнего просмотра.
• “Индивидуальный”: Позволяет Вам сохранить предпочитаемые Вами
установки.
Позволяет настроить яркость подсветки.
Подсветка
Служит для увеличения или уменьшения контрастности изображения.
Контраст
Позволяет сделать изображение более ярким или темным.
Яркость
Служит для увеличения или уменьшения громкости интенсивности цвета.
Цветность
Служит для усиления или ослабления зеленых тонов.
Оттенок
Подсказка
Регулировка параметра “Оттенок” возможна только для сигнала в формате NTSC
(например, при просмотре американских видеокассет).
Позволяет делать изображение более резким или мягким.
Резкость
Позволяет настроить оттенки белого на изображении.
Цветовой тон
• “Холодный”: Придает белым цветам голубой оттенок.
• “Нейтральный”: Придает белым цветам нейтральный оттенок.
• “Teплый”: Придает белым цветам красный оттенок.
Подсказка
Опция “Teплый” может быть задана только в случае, если Вы установили параметр
“Режим изоб.” в опцию “Индивидуальный”.
Возвращает все настройки изображения кроме “Режим изоб.” к заводским
Сброс
предустановкам.
Эта опция уменьшает помехи (“снег”) на изображении при приеме слабого
Шумопонижение
телевизионного сигнала.
• “Авто”: Эта опция уменьшает помехи на изображении.
• “Выкл.”: Выключение функции “Шумопонижение”.
RU
22

Меню “Настройка звука”
Вы можете выбрать нижеперечисленные
Настройка звука
опции в меню “Настройка звука”. О правилах
Эффект
Cтaндapт
выбора опций см. в разделе “Установки”,
Тембр ВЧ
50
“Навигация по системе меню” (стр. 20).
Тембр НЧ
50
Баланс
0
Сброс
Двойной звук
Моно
Авторег. громк.
Вкл.
Назад:
Выбр.:
Вход:
Выxoд:
MENU
Использование функций MENU
Позволяет выбрать тот или иной звуковой режим.
Эффект
•
“Стандарт”: Увеличивает четкость и отчетливость звучания и эффект
реального присутствия благодаря применению “Системы обработки звука
BBE”
• “Динамичный”: Увеличивает четкость и отчетливость звучания и эффект
реального присутствия благодаря применению “Системы обработки звука
BBE”.
• “BBE ViVA”: BBE ViVA Sound обеспечивает трехмерный звук с качеством Hi-
Fi. Четкость звучания улучшается BBE, а ширина, глубина, и высота звучания
увеличиваются за счет эксклюзивной системы трехмерного звука компании
BBE. BBE ViVA Sound совместим со всеми телевизионными программами,
включая новости, музыкальные передачи, телеспектакли, фильмы, спортивные
трансляции и электронные игры.
• “Выкл.”: Без звуковых эффектов.
Подсказка
Вы можете изменять звуковой эффект, неоднократно нажимая кнопку 9.
Позволяет выполнить регулировку уровня звука высокой частоты.
Тембр ВЧ
Позволяет выполнить регулировку уровня звука низкой частоты.
Тембр НЧ
Позволяет регулировать баланс звука между левым и правым динамиком.
Баланс
Возвращает все настройки звука к заводским предустановкам.
Сброс
Эта опция позволяет производить выбор звука, который должен
Двойной звук
воспроизводиться через динамики при стереотрансляции или трансляции на двух
языках.
• “Стерео”, “Mоно”: Для стереопрограмм.
• “A”/“B”/“Mоно”: Для двуязычных трансляций выберите “A” для звукового
канала 1, “B” для звукового канала 2 или “Mоно” для монофонического канала,
если таковой имеется.
Подсказка
Если Вы выбрали подключенное к телевизору внешнее устройство, придайте опции
“Двойной звук” значения “Стерео”, “A” или “B”.
Эта опция обеспечивает поддержание постоянного уровня громкости, даже когда
Авторег. громк.
в нем случаются резкие изменения (например, звук в рекламных роликах обычно
бывает громче, чем в других передачах).
RU
23

Меню “Функции”
Вы можете выбрать нижеперечисленные
Функции
опции в меню “Функции”. О правилах выбора
Энергосбереж.
Cтaндapт
опций см. в разделе “Установки”, “Навигация
Выход AV2
TV
по системе меню” (стр. 20).
RGB центр.
0
Настройка для ПК
Таймер
Назад:
Выбр.:
Вход:
Выxoд:
MENU
Позволяет выбрать режим энергосбережения для уменьшения потребления
Энергосбереж.
энергии Вашим телевизором.
• “Стандарт”: Заводская предустановка.
• “Пониженное”: Уменьшает потребление энергии телевизором.
• “Откл. изображ.”: Отключает изображение.
С помощью этой опции можно задавать сигнал, выводимый через разъем с меткой
Выход AV2
/ 2 на задней панели телевизора. Если Вы подключили видеомагнитофон
(только для KDL-20G2000)
к гнезду / 2, Вы можете вести на него запись с других устройств,
подключенных к телевизору.
• “TV”: Выводит на разъем телевизионный сигнал.
• “Авто”: Выводит на разъем сигнал, воспроизводимый на экране, независимо от
его источника.
Эта опция позволяет Вам настроить горизонтальное положение изображения так,
RGB центр.
чтобы оно оказалось в середине экрана.
Подсказка
Эта опция доступна только если источник RGB-сигнала подсоединен к разъему Scart
/ 1 или к разъему Scart / 2 (только для модели KDL-20G2000) на
задней стороне телевизора.
Эта опция позволяет Вам произвести настройку экрана по своему вкусу при
Настройка для
подключении ПК и использовании экрана телевизора в качестве его монитора.
ПК
Подсказка
(только для KDL-15G2000)
Эта опция доступна только в режиме воспроизведения сигналов, поступающих от ПК.
• “Фаза”: Выполняет регулировку экрана, когда неясно видна часть текста или
изображения.
• “Шаг”: Расширяет или сужает экран по горизонтали.
• “Гориз. центр.”: Перемещает экран влево или вправо.
• “Энергосбереж.”: При отсутствии сигнала от ПК возвращает телевизор в
дежурный режим.
• “Сброс”: Производит возврат к заводским предустановкам.
RU
24

Позволяет установить таймер для включения/выключения телевизора.
Та й м е р
• Таймер выкл.
Эта опция позволяет Вам задать время, по истечении которого телевизор
автоматически переходит в дежурный режим.
Когда активирована опция “Таймер выкл.”, индикатор (таймер) на передней
панели телевизора загорается оранжевым светом.
Подсказки
• Если Вы выключите телевизор и снова включите его, функция “Таймер выкл.”
сбросится в положение “Выкл.”.
• Сообщение “Таймер СНА заканчивается. ТВ будет выключен.”
появится на экране
за одну минуту до переключения телевизора в дежурный режим
.
• Устан. часов
Позволяет вручную откорректировать текущее время на часах. Когда телевизор
принимает цифровые каналы, ручная коррекция текущего времени невозможна,
т.к. часы синхронизированы с кодом времени передаваемого сигнала.
•Таймер
Позволяет установить таймер для включения/выключения телевизора.
“Режим таймера”: Позволяет выбрать нужный период.
“Время Вкл.”: Устанавливает время включения телевизора.
Использование функций MENU
“Время Выкл.”: Устанавливает время выключения телевизора.
RU
25

Меню “Установка”
Вы можете выбрать нижеперечисленные
Установка
опции в меню “Установка”. О правилах
Автозапуск
выбора опций см. в разделе “Установки”,
Язык
English
“Навигация по системе меню” (стр. 20).
Cтрана
-
Автонастройка
Сортировка программ
Предустановка AV
Баланс громкости
Руч. настройка программ
Назад:
Выбр.:
Вход:
Выxoд:
MENU
Запускает “меню первого включения” для выбора языка и страны/региона и
Автозапуск
настройки всех доступных цифровых и аналоговых каналов. Обычно этого делать
не требуется, потому что язык и страна/регион уже были выбраны, а все каналы
- уже настроены при установке телевизора (стр. 5, 6). Тем не менее, эта опция
позволяет повторить процедуру (например, заново настроить телевизор после
переезда или найти новые каналы, появившиеся в эфире).
Эта опция позволяет выбрать язык, на котором меню выводятся на экран.
Язык
Эта опция позволяет выбрать страну/регион, где используется телевизор.
Страна
Подсказка
Если страны/региона, в которой Вы хотите пользоваться телевизором, нет в
списке, вместо страны выберите “-”.
Настройтесь на все доступные аналоговые каналы.
Автонастройка
Обычно этого делать не требуется, потому что все каналы уже настроены при
установке телевизора (стр. 5, 6). Тем не менее, эта опция позволяет повторить
процедуру (например, заново настроить телевизор после переезда или найти
новые каналы, появившиеся в эфире).
Эта опция позволяет изменить порядок расположения каналов, сохраненных в
Сортировка
памяти телевизора.
программ
1 С помощью кнопок F/f выберите канал, который Вы ходите
переместить в новое положение, затем нажмите кнопку
g.
2 С помощью кнопок F/f выберите новое положение Вашего канала,
затем нажмите кнопку .
Эта опция позволяет присвоить имя любому внешнему устройству,
Предустановка
подключенному к разъемам на боковой и задней панелях телевизора. Данное имя
AV
будет ненадолго выводиться на экран при выборе данного устройства. Вы можете
пропустить источник входного сигнала, к которому не подключено никакое
устройство.
1 С помощью кнопок F/f выберите нужный источник входного сигнала,
затем нажмите .
2 С помощью кнопок F/f выберите нужную из нижеперечисленных
опций и нажмите кнопку .
•AV1 (
или AV2/AV3/AV4/PC), VIDEO, DVD, CABLE, GAME, CAM,
SAT: Используется для присвоения подсоединенному устройству одной
из предустановленных меток.
• “Изм.”: Вы создаете Вашу собственную метку.
• “Пропуск”: Эта опция позволяет пропускать источник входного
сигнала, к которому не подключено никакое устройство, при выборе
источника входного сигнала с помощью кнопок F/f.
Эта опция позволяет Вам задать независимый уровень громкости для каждого из
Баланс
устройств, подключенных к телевизору.
громкости
RU
26


