Sony KV-34FQ75K – page 5
Manual for Sony KV-34FQ75K
Table of contents
HU
Biztonsági előírások
Az ön biztonsága érdekében
Kizárólag 220-240 V-os hálózati váltakozó
feszültséggel üzemeltesse a készüléket. Ne
csatlakoztasson
túl
sok
készüléket
ugyanahhoz az aljzathoz, mert a túlterhelés
tüzet okozhat.
Energiatakarékossági és biztonsági okok
miatt ne hagyja a készüléket készenléti
üzemmódban, amikor nem használja.
Hosszabb távollét esetén húzza ki a hálózati
csatlakozó vezetéket a fali konnektorból.
Ne dugjon semmilyen tárgyat a készülékbe,
mert ezzel tüzet és áramütést okozhat. Ha a
szellőző nyílásokon keresztül bármilyen
szilárd test, vagy folyadék kerül a készülék
belsejébe, húzza ki a hálózati csatlakozó
vezetéket.
Azonnal
ellenőriztesse
szakemberrel!
Soha ne nyissa ki a készülék hátsó burkolatát.
A javítást bízza szakemberre.
Az áramütés és a tűz veszélyének elkerülése
érdekében óvja a TV készüléket esőtől és
nedvességtől.
Viharos időjárás, villámlás idején saját
biztonsága érdekében ne érintse meg a
készüléket, a hálózati csatlakozó vezetéket
és az antennakábelt.
A
készülék
szellőzőnyílásait
hagyja
szabadon. A megfelelő szellőzés érdekében a
készülék minden oldalánál hagyjon legalább
10 cm-es szabad területet.
Ne állítsa a készüléket szélsőségesen meleg,
párás vagy poros helyre, vagy olyan helyre,
ahol mechanikai vibrációnak lehet kitéve.
A tűz veszélyének elkerülése érdekében ne
tegyen a készülék közelébe gyúlékony
tárgyakat, ne gyújtson nyílt lángot (ne
égessen pl. gyertyát).
A képernyőt enyhén megnedvesített ruhával
tisztíthatja meg. Ne használjon a tisztításhoz
benzint, higítót, súrolószert. Tisztítás előtt
húzza
ki
a
hálózati
csatlakozót
a
konnektorból.
A hálózati csatlakozó kihúzásánál a
csatlakozó dugót fogja meg, és ne a
vezetéket.
Ne tegyen nehéz tárgyat a hálózati vezetékre,
mert megsérülhet.
Javasoljuk, hogy a felesleges vezetéket
csévélje fel a tv készülék hátulján lévo
tartóra.
A TV készüléket stabil állványra helyezze. Ne
engedje, hogy a gyerek felmásszon a TV-re.
Ne fordítsa a TV készüléket az oldalára, vagy
a képernyővel felfelé.
Mozgatás előtt húzza ki a hálózati
csatlakozót a konnektorból. A készüléket
óvatosan szállítsa, kerülje a zötykölődős
utcákat,
óvja
a
készüléket
ütéstől,
rázkódástól.
Ne takarja le a készülék szellőzőnyílásait pl.
függönnyel, újsággal, stb.
1
Biztonsági tudnivalók
A TV készüléket megfelelő méretű és teherbírású állványra helyezze. A Sony tanácsa, hogy ehhez a különlegesen
formatervezett TV készülékhez használja a hozzá tartozó SU-34FQ1 típusú állványt. Ha azonban más bútoron kívánja
elhelyezni a készüléket, ügyeljen arra, hogy az aszallap vagy szekrénytető elég nagy legyen, és a készülék mindhárom
lába kényelmesen, túllógás nélkül elférjen rajta.
Biztonsági tudnivalók
Tartalomjegyzék
Tartalomjegyzék
Üzembe helyezés
1.A mellékelt tartozékok ellenőrzése
2.Az elemek behelyezése a távvezérlőbe
3.A TV csatlakoztatása
4.A TV bekapcsolása
5.A joystick használata
6.A TV hangolása
7.A videocsatorna megkeresése
2
2
3
4
4
5
5
Használat
A TV beállítógombjainak áttekintése
A távvezérlő gombjainak áttekintése
NexTView
Teletext
A Multi PIP (kép a képben) funkció használata
A PAP (kép és kép) funkció használata
A TV menürendszerének használata
A kép szabályozása
A hang szabályozása
A Szolgáltatások menü használata
A képernyő méretének módosítása
A programhelyek átrendezése
A TV manuális hangolása
Az állomások elnevezése
Programhelyek átugrása
A "További programok tárolása" szolgáltatás használata
A "Bemutató" jellemző kiválasztása
A kép elforgatásának beállítása
A kép alakjának beállítása RGB forrás esetén
A személyi azonosító kód bevitele
Bemenő jelek tárolása és elnevezése
6
7
8
10
12
12
13
13
14
15
15
16
16
17
17
18
18
19
19
20
20
Külső berendezések
Külső berendezések csatlakoztatása a TV-hez
Berendezések csatlakoztatására vonatkozó további információk
Smartlink
Más Sony berendezések távvezérlése
21
22
22
22
További információk
Specifikációk
Csatornákijelzések táblázata
Hibakeresés
23
23
24
2
Kövesse az 1-7. lépéseket a TV-készülék üzembe helyezéséhez és a TV-programok megtekintéséhez. Üzembe helyezés
1. A mellékelt tartozékok ellenőrzése
2. Az elemek behelyezése a távvezérlőbe
Elemek
Az elemek behelyezésénél mindig ügyeljen a megfelelő polaritásra.
Mindig ügyeljen arra, hogy a használt elemek hulladékba helyezéséről környezetbarát módon gondoskodjon.
+
- -
+
Távvezérlő
-
+
+
-
3
Üzembe helyezés
3. A TV csatlakoztatása
1. Csatlakoztassa a meglévő antennakábelt a TV készülék hátlapján lévő
aljzathoz.
Antenna csatlakoztatása a TV-készülékhez
Antenna és videomagnó csatlakoztatása a TV-készülékhez
Ha a TV készüléket nem
csatlakoztatja
videomagnóhoz,
csatlakoztassa az
antennakábelt (a bal
oldali ábrán látható
módon), és folytassa a "4.
A TV bekapcsolása"
címszóval.
Ha a TV-készüléket
videomagnóhoz
csatlakoztatja, az alábbi
szakasz szerint járjon el.
A scart kábel külön
beszerezheto
kiegészíto.
Amennyiben
azonban használja, ez
a további kapcsolat
javíthatja a kép és a
hang minőségét
lejátszás közben.
OUT
IN
AERIAL
ANTENNA
AC IN
(meglévő antennakábel)
(scart kábel - nem
tartozék)
1. Csatlakoztassa a meglévő antennakábelt a videomagnó hátoldalán található RF IN
aljzathoz, az ábrának megfelelően.
2. Csatlakoztassa a videomagnó antennakábelét a videomagnó hátlapján lévő RF OUT
aljzatba és a TV hátlapján lévő antennaaljzatba az ábrának megfelelően.
3. Csatlakoztassa a 21 pólusú scart kábelt (amennyiben használja) a TV készülék hátoldalán
található AV2 aljzathoz.
4. Csatlakoztassa a videomagnót a hálózathoz, és kapcsolja be.
5. Helyezzen egy felvételt tartalmazó kazettát a videomagnóba, és nyomja meg a "PLAY"
gombot.
4
Üzembe helyezés
1. Csatlakoztassa a TV hálózati csatlakozóját a hálózati aljzathoz (220-240V AC,
50Hz), és kapcsolja be a készüléket.
2. Nyomja be a hálózati kapcsolót
a TV-készülék előlapján.
Ha a TV előlapján a készenléti üzemmód jelzőfénye világít, nyomja meg a TV
gombot a
távvezérlőn a TV-készülék bekapcsolásához. Legyen türelemmel, mivel néhány pillanatig
eltarthat, amíg a kép megjelenik a TV képernyőjén.
4. A TV bekapcsolása
5. A joystick használata
/
Egy-egy menü-beállítás
kiválasztásához nyomja meg
középen az OK gombot.
A menükben való mozgáshoz
nyomja meg a megfelelő
nyílgombot.
A joystick mozgatása
A joystick
megnyomása
5
1. A Nyelv/Ország menü jelenik meg a TV képernyőjén az "English" szó
kiemelésével.
2. A távvezérlőn lévő
v
vagy
V
gombbal jelölje ki a választott nyelvet,
majd az OK gombot megnyomva erősítse meg a választást.
3. A
v
vagy
V
gombbal válassza ki az országot, ahol a TV-készüléket
használni fogja, majd az OK gombot megnyomva erősítse meg a
választást. Válassza a "Ki" beállítást, ha nem szeretné, hogy a csatornák
egy megadott csatornasorrend szerint kerüljenek tárolásra az 1.
programhelytől kezdődően.
4. Az "automatikus hangolás" menü jelenik meg a TV képernyőjén a
kiválasztott nyelven. Az OK gomb megnyomásával hagyja jóvá az
automatikus hangolást.
5. Győződjön meg arról, hogy az antenna az utasításoknak megfelelően
csatlakoztatva van, majd az OK gomb megnyomásával erősítse ezt meg.
A készülék megkezdi az összes rendelkezésre álló csatorna automatikus
keresését és tárolását. Ez néhány percig is tarthat - legyen türelemmel,
és ne nyomjon meg semmilyen gombot.
6. Amikor a TV elvégezte az összes rendelkezésre álló csatorna
hangolását, a "Programhelyek átrendezése" menü jelenik meg a TV
képernyőjén, ami lehetővé teszi a programok sorrendjének
megváltoztatását a TV-készüléken. Ha meg szeretné változtatni a
programok sorrendjét, a
v
vagy
V
gombbal válassza ki az áthelyezni
kívánt programot, majd nyomja meg a
B
gombot. A
v
vagy
V
gombbal
válassza ki az új programhely számát a kiválasztott csatorna számára,
majd az OK gombot megnyomva erősítse meg az áthelyezést. Ezzel a
kiválasztott csatorna az új programhelyre kerül, és a többi csatorna
ennek megfelelően kap új helyet. Ismételje meg ezt a műveletet, ha
más csatornák sorrendjét is meg kívánja változtatni a TV-készüléken.
7. Nyomja meg a MENU gombot, hogy eltávolítsa a menüt a TV
képernyőjéről.
8. A PROGR+/- vagy a számgombok segítségével tekintheti meg a TV-
programokat.
Megjegyzés:Ha bármelyik szakaszban le szeretné állítani az automatikus
hangolási folyamatot, nyomja meg az OK gombot.
Ha a TV-készüléket videomagnóhoz csatlakoztatja, meg kell keresnie a videocsatornát.
1. Nyomogassa a távvezérlőn lévő PROGR+/- gombokat mindaddig, amíg a videokészülék képe meg nem jelenik a TV
képernyőjén.
Megjegyzés:Ha a videocsatornát egy másik programhelyre szeretné áthelyezni, lapozza fel a jelen kezelési útmutató "A
programhelyek átrendezése" c. szakaszát.
7. A videocsatorna megkeresése
Üzembe helyezés
Mielőtt elvégezné a TV hangolását, felszólítást kap a nyelv és az ország beállítására.
6. A TV hangolása
Language country
Select language:
Confirm:
Language
Country
Suomi
Svenska
Português
Polski
Norsk
Nederlands
Magyar
Great Britain
Lengyelország
Norvégia
Hollandia
Luxemburg
Olaszország
Irország
Magyarország
Seretné elindítani az
automatikus hangolást ?
Igen : OK Nem :
Kérem igazolja, hogy az
antenna catlakoztatva van
Igen : OK Nem :
1
2
3
6
5
4
7
8
9
0
6
Használat
A TV beállítógombjainak áttekintése
Hangerő-szabályozó gombok.
Nyomja meg, ha növelni(+)/
csökkenteni(-) kívánja a hangerőt.
Videobemenet gomb.
Megnyomásával kiválaszthatja a
videomagnóról stb. érkező bemenő jeleket.
Program fel (+) vagy
le (-) gombok.
Megnyomásával
kiválaszthatja a TV-
programokat.
Ha az előlapon lévő bemeneti csatlakozókhoz és tv
kezelőszervekhez kíván hozzáférni, nyomja felfelé
a vezérlőpanelt (lásd az ábrát).
A vezérlőpanel lenyílik.
Visszaállító gomb.
Ezzel
a
gombbal
a
kép-
és
hangjellemzőket
visszaállíthatja
a
gyári értékre. A képernyőn az
"Autotune" kijelzés után megjelenik a
Sony logo. Ha nem kívánja újra
beállítani a tv készüléket, nyomja meg
a
b
gombot a távvezérlőn.
7
Használat
A távvezérlő gombjainak áttekintése
A TV-készülék ideiglenes kikapcsolása
Megnyomásával ideiglenesen kikapcsolhatja a TV-
készüléket. Nyomja meg ismét ezt a gombot a készenléti
üzemmódból történő bekapcsoláshoz.
Energiatakarékossági okokból javasoljuk, hogy teljesen
kapcsolja ki a TV-készüléket, amikor nincs használatban.
MEGJEGYZÉS: 15-30 perc elteltével, amely alatt sem TV-
jel nem érkezik, sem pedig semmilyen gombot nem
nyomnak meg, a készülék automatikusan készenléti
üzemmódba kapcsol.
A képernyő információk mutatása
Megnyomásával az összes képernyőjelzés láthatóvá válik. A
funkció elvetéséhez nyomja meg ismét a gombot. A teletext
üzemmódban megnyomására megjelenik az indexoldal
(rendszerint a 100. oldal), ismételt megnyomására pedig
eltűnik.
A bemenő jel kiválasztása vagy a teletext rögzítése
Megnyomásával kiválaszthatja a TV csatlakozóira érkező
bemenő jeleket (lásd az Opcionális berendezések használata
c. szakaszt). Teletext üzemmódban nyomja meg ezt a
gombot a kijelzett oldal rögzítéséhez. A funkció elvetéséhez
nyomja meg ismét a gombot.
Részletes ismertetésért lapozza fel a jelen kezelési útmutató
"A PAP funkció használata" c. szakaszát.
Visszatérés az előző csatornához
Megnyomásával visszatérhet az előzőleg nézett csatornához.
Megjegyzés: Csak akkor működik, miután a jelenlegi
csatornát 5 másodpercig nézte.
Megnyomásával be- és kikapcsolhatja a Multi PIP
üzemmódot.
A képernyőformátum megváltoztatása
Megnyomásával módosíthatja a képernyő méretbeállításait.
Gyorsteletext gombok
A részleteket lásd a kézikönyv Teletext c. szakaszában.
Menüpontok kiválasztása
Az OK gombot és a nyílbillentyűket használva
kiválaszthatja a TV menürendszerében rendelkezésre álló
opciókat.
Csatornák kiválasztása
Megnyomásával kiválaszthatja a csatornákat.
A menü megjelenítése
Nyomja meg ezt a gombot, ha használni kívánja a TV
menürendszerét. Nyomja meg ismét, hogy eltávolítsa a
menüt a TV képernyőjéről.
A hang némítása
Megnyomásával elnémíthatja a TV hangját.
Ismételt megnyomásával visszaállíthatja a hangot.
TV üzemmódba való visszatérés
Megnyomásával visszatér normál üzemelésre
teletext vagy készenléti üzemmódból.
A teletext kiválasztása
Megnyomásával be- és kikapcsolhatja a teletextet.
Az Elektronikus musorfüzet (EPG)
kiválasztása
Megnyomásával be- és kikapcsolhatja az EPG-t.
A kép kimerevítése
Nyomja meg, ha fel kíván jegyezni valamilyen, a
TV
képernyőjén
látható
információt
(pl.
telefonszámot).
Ismételt
megnyomásával
visszatérhet a normál TV üzemmódba.
A programhelyek kiválasztása
A számgombokat megnyomva válassza ki a
programhelyeket.
Kétjegyű programhelyek, pl. 23, esetén, először
nyomja meg a -/-- gombot, majd pedig a 2 és a 3
gombot.
A képbeállítás menü megjelenítése
Megnyomásával módosíthatja a képbeállításokat.
Az OK gomb megnyomásával távolíthatja el a
menükijelzést.
Az Audio beállítás menü megjelenítése
Megnyomásával módosíthatja a hangbeállításokat.
Az OK gomb megnyomásával távolíthatja el a
menükijelzést.
A Programtáblázat megjelenítése
Nyomja meg az OK gombot. A
v
vagy
V
gombbal
válassza ki a kívánt programot, majd a
B
gombot
megnyomva erősítse meg a választást.
A TV hangerejének beállítása
Megnyomásával beállíthatja a TV hangerejét.
A gyári beállítások visszaállítása
Nyissa fel a távvezérlő fedelét, és nyomja meg
ezt a gombot, ha a kép- és hangbeállításokat
vissza kívánja állítani a gyárilag beállított
értékekre. Miután az "Üzembe helyezés"
menü megjelent a TV képernyőjén, lapozza fel
a kezelési útmutató "A nyelv és az ország
kiválasztása" c. szakaszát, ha módosítani
kívánja a nyelv- és az országválasztást.
A pontos idő megjelenítése
Nyissa fel a távvezérlő fedelét, és nyomja meg ezt
a gombot, ha meg kívánja jeleníteni a pontos időt
a képen.
Videokészülék használata
Nyissa fel a távvezérlő fedelét, és nyomja meg ezeket
a gombokat, ha a videokészüléket kívánja használni
(lapozza fel a videomagnó kézikönyvét).
Más Sony berendezések távvezérlése
Nyissa fel a távvezérlő fedelét. Állítsa be a VTR
1234 DVD választókapcsolót a vezérelni kívánt
készüléknek megfelelően:
VTR1: Beta videomagnó
VTR2: 8mm videomagnó
VTR3: VHS videomagnó
VTR4: Digitális videomagnó (DCR-VX 1000/
9000E, VHR-1000)
DVD: Digitális videolemez
A távvezérlőn lévő gombokkal működtesse a
készüléket.
8
Használat
*a szolgáltatás rendelkezésre állásától függően.
A NexTView egy elektronikus műsorfüzet, amely az EPG-t támogató összes csatorna tekintetében legfeljebb 1 hét*
műsorinformációit tartalmazza.
*Ha az adatok meghaladják a NexTView memóriáját, 7 napnál kevesebbre vonatkozóan juthat információhoz.
NexTView*
A NexTView megjelenítése
Először ki kell választania egy olyan csatornát, amely NexTView szolgáltatást nyújt. Ilyen esetben megjelenik a
"NexTView" jelzés, amint az összes adat rendelkezésre áll.
1. A távvezérlőn lévő
gombot ismételten megnyomva kapcsolhatja be és ki a NexTView-t.
2. A
v
,
V
,
b
vagy
B
gombokkal mozgassa a kurzort a képen.
3. Az OK gombot megnyomva erősítse meg a választást.
a. Ha az OK gombot a dátum, időpont vagy ikon (témakörök) oszlopokon nyomja meg, megváltoztatja a programlistát a
választással összhangban.
b Ha az OK gombot a programlistán nyomja meg, közvetlenül megjelenik a csatorna, ha a műsor aktuálisan fut,
vagy megjelenik a "Long Info" menü, ha a műsor sugárzására valamely későbbi időpontban kerül sor.
7
Tue
07 Tue
12:38
8
Wed
10
Fri
11
Sat
12
Sun
13
Mon
9
Thu
12
SWISS
Star Wars
Super RTL
Fantasy film, USA, 1996
Werner - Beinhart
Pro 7
Flui grüsst den Rest der Welt
Kabel 1
Once upon a time in the West
Euronews
International News
RTL Plus
10:35 - 12:45
10:20 - 12:00
10:45 - 10:50
11:00 - 11:20
11:45 - 12:50
TXT
TPS / RINGIER
Tue 07. 04 .98
Tárgymutató
teljes lista
egyéni választás
hírműsorok
filmek
sportközvetítések
szórakoztató műsorok
gyermekműsorok
visszatérés a legutóbbi menübe
9
Az "Individual Setting" menü használata
1. A
v
vagy
V
gombbal válassza ki a
ikont, majd a
B
gombot megnyomva hívja be az "Individual Setting" menüt.
2. A
v
vagy
V
gombbal jelölje ki a képen a választani kívánt témát, majd az OK gombot megnyomva erősítse meg a
választást.
3. Ismételje meg a 2. lépést minden olyan tételnél, amelyet fel kíván venni a listára.
4. Amikor befejezte a lista összeállítását, a
B
gombot megnyomva válassza a
ikont a menü képen.
5. Nyomja meg az OK gombot.
A "Long Info" menü használata
1. A
v
vagy
V
gombbal válasszon ki egy későbbi műsort a programlista oszlopában.
2. Az OK gomb megnyomásával hívja be a "Long Info" menüt.
3. Ha Smartlink videomagnóval rendelkezik, és fel szeretné venni a kiválasztott műsort a videomagnóval, a
b
gombot
lenyomva válassza ki az
ikont, majd az OK gombot lenyomva töltse le az információt a videomagnóra.
4. A videomagnó beállítása:
VPS/PDC
A
b
gombot ismételten megnyomva válassza ki a VPS/PDC opciót, majd az OK gombot megnyomva válassza ki a "Be"
vagy "Ki" beállítást. Ezzel a beállítással garantálható, hogy az egész műsor felvételre kerül akkor is, ha változás van a TV-
programban. Ez a funkció csak akkor működik, ha a kiválasztott csatorna sugároz VPS/PDC jelet.
Sebesség
A
V
gombbal válassza ki a "Speed" opciót, majd az OK gombot megnyomva válassza ki a "SP" (normál) vagy a
"LP"(hosszanjátszó) beállítást. Hosszanjátszó üzemmódban kétszer olyan hosszú felvételt tud készíteni a
videokazettára. Azonban a kép minősége romolhat.
A videomagnó beállítása
A
V
gombbal válassza ki a "VCR Setup" opciót, majd az OK gombot megnyomva válassza ki, melyik videomagnót szeretné
beprogramozni, ami lehet a "VCR1" vagy a "VCR2".
5. Végül a
B
gombot megnyomva válassza a
ikont, majd nyomja meg az OK gombot, hogy eltávolítsa a menüt a TV
képernyőjéről.
Használat
NexTView
07 Tue
12:38
Address Mapping
The position of the addresses in the
OSDA is shown in the following diagram.
The position values of the DPW are set
to '0'.
If other values are set, the complete
combination will be scrolled.
Example:
if the DPWC is set to '63', the char-
Speed
Timer Prog
VPS/PDC
SP
VCR1
On
This channel has been set for a timer
First nextTView/EPG-Providers in Europe
SWISS
TXT
TPS / RINGIER
nexTView
Tue 07. 04 .98
10
Használat
A legtöbb TV-állomás a teletexten keresztül sugároz információs szolgáltatást. A teletext indexoldala (rendszerint a
100. oldal) tájékoztatást nyújt a szolgáltatás használatának módjáról. Olyan TV-csatornát vegyen igénybe, amely
megfelelő térerővel fogható, mivel ellenkező esetben a teletext vételében hibák léphetnek fel.
Teletext
A teletext be- és kikapcsolása
1. Válassza ki azt a TV-csatornát, amelyen a nézni kívánt teletext adást sugározzák.
2. A P&T (kép és teletext) üzemmód bekapcsolásához nyomja meg egyszer a
gombot. A
képernyő két részre oszlik, a jobb oldaliban a TV-csatorna, a bal oldaliban pedig a
teletext látható.
P&T üzemmód: A PROGR+/-
gomb megnyomásával válthatja a TV
képernyőjén megjelenő csatornát. A
b
vagy
B
gomb megnyomásával
módosíthatja a TV képernyőjének méretét. A normál teletext vétel
visszaállításához nyomja meg a
gombot ismét.
3. Nyomja meg a
gombot kétszer, hogy csak a teletext jelenjen meg.
4. A Mix üzemmódhoz nyomja meg a
gombot háromszor.
5. A teletext kikapcsolásához nyomja meg a
gombot, vagy nyomja meg a gombot
negyedszer is.
Nyomja meg a
gombot a teletext kikapcsolásához.
Egy teletext oldal kiválasztása
A távvezérlőn lévő számgombok használatával adja meg az oldalszám három számjegyét. Ha
eltéveszti, gépeljen be három tetszőleges számjegyet, majd adja meg ismét a helyes
oldalszámot.
További teletext funkciók használata
A következő vagy az előző oldal kiválasztása
A távvezérlőn lévő
vagy
gombot megnyomva választhatja ki az előző vagy a következő
oldalt.
Aloldal kiválasztása
Egy teletext oldal több aloldalt is tartalmazhat. Ilyen esetben megjelenik egy információs sor,
amely az aloldalak számát jelzi. A
v
vagy
V
gomb megnyomásával válassza ki az aloldalt.
Egy teletext oldal rögzítése
Nyomja meg a
gombot az oldal rögzítéséhez. A rögzítés elvetéséhez nyomja meg
ismét a gombot.
Az indexoldal felfedése.
Nyomja meg a
gombot az gomb megnyomásával fedje fel az oldalt (rendszerint a 100.
oldal).
Színgombok használata az oldalak eléréséhez (gyorsteletext)
(csak akkor működik, ha a TV-állomás sugároz gyorsteletext jeleket).
Amikor egy oldal alján egy színkódos menü jelenik meg, a megfelelő oldal eléréséhez nyomja
meg a távvezérlőn lévő egyik színgombot (zöld, piros, sárga vagy kék).
Az "Oldalkapcsolás" szolgáltatás használata
1. A távvezérlőn lévő számgombokat megnyomva válasszon ki egy olyan teletext oldalt, amelyen több oldalszám szerepel (pl.
az indexoldal).
2. Nyomja meg az OK gombot.
3. A
v
vagy
V
gombbal válassza ki a kívánt oldalszámot, majd nyomja meg az OK gombot. A kért oldal néhány másodperc
múlva megjelenik.
Index
TELETEXT
TELETEXT
Programme
News
Sport
Weather
25
153
101
98
Index
TELETEXT
Programme
News
Sport
Weather
25
153
101
98
Index
TELETEXT
Programme
News
Sport
Weather
25
153
101
98
m
m
216-02
01
03
04
05
06
07
08
02
11
Használat
Teletext
A Teletext menü használata
1. A távvezérlőn lévő MENU gombot megnyomva jelenítse meg a menüt a TV
képernyőjén.
2. A
v
vagy
V
gombbal jelölje ki a választani kívánt menüpontot, majd a
B
gombot
megnyomva hívja be a hozzá tartozó almenüt.
3. Nyomja meg a MENU gombot, hogy eltávolítsa a Teletext menüt a képernyőről.
Fel./Alul/Teljes
A Fel./Alul/Teljes almenü lehetővé teszi a Teletext oldal különböző részeinek felnagyítását.
A
v
gombot megnyomva a képernyő felső felét, a
V
gombot megnyomva pedig az alsó felét
nagyíthatja fel. Az OK gomb megnyomásával állíthatja vissza az oldalt a normál méretre. A
Teletext menühöz való visszatéréshez nyomja meg a
b
gombot.
Szövegtörlés*
*
csak teletext és rávetítéses üzemmódban használható (lásd "A teletext be- és kikapcsolása")
A szövegtörléssel a teletext oldal megtalálásáig nézhető a tv állomás műsora.
Felfedés
Egyes teletext oldalak rejtett információkat (pl. rejtvény megfejtését)
tartalmazhatnak, amelyek ezzel a funkcióval megnézhetők.
Időkód oldal*
*
a szolgáltatás elérhetőségétől függően, csak teletext és rávetítéses üzemmódban használható.
E funkció segítségével egy adott teletext oldal (pl. emlékeztető oldal) a beállított
időpontban megjelenik a képernyőn.
Oldaláttekintés*
*
csak ha a tv állomás TOP-Text adást sugároz.
Ennél a menünél a TOP-Text oldalak két hasábban jelennek meg, az első tartalmazza
az oldal "blokkokat", a második az oldal "csoportokat".
Oldaláttekintés
1.
A távvezérlő
gombjának kétszeri megnyomásával kapcsoljon egész képernyős
szöveg üzemmódba.
2.
A MENU gombbal hívja be a "Teletext" menüt.
3.
A
v
vagy a
V
gombbal jelölje ki a "Szövegtörlés" sort, majd a
B
gombbal válassza
ki azt.
4.
Az aktuális tv csatorna megjelenik. A teletext oldal megtalálásakor a kék
szimbólum megjelenik a képernyő bal felső sarkában.
5.
A teletext oldal behívásához nyomja meg a távvezérlő
gombját.
1.
Teletext üzemmódban a MENU gombbal hívja be a "Teletext" menüt.
2.
A
v
vagy a
V
gombbal jelölje ki a "Szövegtörlés" sort, majd a
B
gombbal válassza
ki azt. A rejtett információ megjelenik.
1.
Teletext üzemmódban a MENU gombbal hívja be a "Teletext" menüt.
2.
A
v
vagy a
V
gombbal jelölje ki az "Időkód" sort, majd a
B
gombbal válassza ki
azt. Az időkód almenü megjelenik.
3.
A távvezérlő számgombjaival írja be a kívánt teletext oldalszámot.
4.
A távvezérlővel állítsa be a kívánt időpontot.
5.
Az időpont tárolásához nyomja meg az OK gombot. A tv kilép a teletext
üzemmódból, és a beállított időpont a képernyő bal felső sarkában megjelenik. A
beállított időpontban a kiválasztott teletext oldal automatikusan bekapcsol.
1.
A
b
vagy
B
gombbal válassza ki az első vagy a második hasábot.
2.
A
v
vagy a
V
gombbal válassza ki a megfelelő "csoportot" vagy "blokkot".
3.
Az OK gombbal hívja be a kiválasztott oldalt.
12
Használat
A Multi PIP (kép a képben) funkció használata
A Multi PIP (kép a képben) üzemmód 12 kimerevített képből álló sorozatot jelenít meg, valamint egy 13. képet,
amely élő. Manuálisan választhatja ki, melyik csatornát szeretné nézni akár a teljes képen, akár PIP
üzemmódban.
A PAP (kép és kép) funkció használata
A PAP szolgáltatás két részre osztja a képek két csatorna egyidőben történő nézéséhez (az egyiken - kívánság
szerint - a videojelforrással). A bal oldali kép hangja a TV hangszóróiból hallható, a jobb oldali kép hangja
fejhallgatón keresztül választható.
1. A távvezérlőn lévő
gombbal válassza ki a Multi PIP üzemmódot. 13
programhely jelenik fel a képen, középen az aktuálisan nézett csatornával.
2. A PROGR+/- gomb ismételt megnyomásával válassza ki a következő vagy az előző
12 programhelyet.
3. A
v
,
V
,
b
vagy
B
gombbal mozoghat a 13 megjelenített csatorna között.
4. Az OK gomb megnyomásával válassza ki a bekeretezett csatornát. Ez a csatorna
kerül most középre.
5. Nyomja fel az OK gombot ismét a kiválasztott csatorna megjelenítéséhez, vagy a
gomb megnyomásával távolítsa el a Multi PIP üzemmódot a TV kép jéről.
A PAP funkció be- és kikapcsolása
Nyomja fel a
gombot egyszer a képek megjelenítéséhez, és kétszer pedig a PAP
kikapcsolásához.
A PAP forrás kiválasztása
Nyomja fel a
M
gombot. A
M
szimbólum megjelenik a jobb oldali képen. Válassza ki a
kívánt jelforrást a számgombok (TV-csatornák esetén) vagy a
gomb (videojelforrás
esetén) segítségével.
A képek megcserélése
A
gomb megnyomásával cserélheti fel a két képek.
A képek nagyítása
A
b
vagy
B
gombbal módosíthatja a két kép méretét.
03
05
01
06
11
09
08
02
10
07
13
12
04
13
Használat
A TV tartalmaz egy menürendszert, amely egy sor felhasználóbarát képernyőkijelzésen és menün alapul. Ezek a
kijelzések segítenek abban, hogy a legtöbbet hozza ki a TV-készülékből, segítséget nyújtanak a kép- és hangbeállítások
módosításában, a TV-kép méretének megváltoztatásában, a TV-programok átrendezésében stb.
A kép és a hang beállítása
A kép és a hang gyári előbeállítása megtörtént. Azonban módosíthatja ezeket a beállításokat, hogy megfeleljenek saját
ízlésének.
A TV menürendszerének használata
1. A távvezérlőn lévő MENU gombot megnyomva jelenítse meg a menüt a TV
képernyőjén.
2. A
v
vagy
V
gombbal válassza ki a
menüpontot, ha a képbeállításokat, vagy a
menüpontot ha a hangbeállításokat kívánja módosítani, majd a
B
gombot lenyomva
lépjen be a "Képbeállítás", illetve az "Audio beállítás" menübe.
3. A
v
vagy
V
gombbal válassza ki azt a tételt a képen, amelyet beállítani kíván, majd a
B
gombot megnyomva erősítse meg a választást. A menüpontok és hatásaik
ismertetését az alábbi táblázat tartalmazza.
4. A
v
,
V
,
B
vagy
b
gombokkal állítsa be a kiválasztott tételt.
5. Amikor befejezte egy tétel beállítását, az OK gomb megnyomásával tárolja az új
beállítást.
6. Ismételje meg a 3-5. lépéseket, ha bármely más tételeket is be kíván állítani.
7. Nyomja meg a MENU gombot, hogy eltávolítsa a menüt a TV képernyőjéről.
A kép szabályozása
Tétel
Hatás/Használat
Kép üzemmód
V
Live
(élő adásokhoz)
Personal(egyéni beállításokhoz)
Mozi (filmekhez)
v
Game (sportműsorokhoz)
Kontraszt
Kevesebb
b B
Több
Fényerő*
Sötétebb
b B
Világosabb
Színtelítettség*
Kevesebb
b B
Több
Színárnyalat**
Reddish
b B
Greenish
Képélesség*
Lágyabb
b B
Élesebb
*
Csak akkor jelenik meg, ha a "Kép üzemmód" menüben az "Egyéni" funkciót választja
ki.
**
Csak NTSC videórendszer (pl. USA videókazetták) esetében jelenik meg.
Törlés
Visszaállítja a képjellemzőket a gyárilag beállított
értékekre.
AI (Mesterséges
V
Ki :
Normál
intelligencia)
v
Be : A kontraszt szintjének automatikus
optimalizálása a TV-jelnek megfelelően.
Képzajszűrés
V
Magas:
Erős zajcsökkentés
K
özepes
:
Közepes zajcsökkentés.
Alacsony:
Enyhe zajcsökkentés.
Auto:
Az optimális zajcsökkentés automatikus
kiválasztása.
v
Ki:
Zajcsökkentés kikapcsolva.
Digit
á
lis M
ód
V
Normál: Normál 100 Hz-es képminőség
.
DRC 50:
Megnövelt képminőség görgetett
szövegek nézéséhez.
v
DRC 100:
Optimális képminőség, villogásmentes
kép.
Sz
nárnyalat
V
Meleg:
Meleg tónus előállítása.
Normál: Normál tónus.
v
Hűvös:
Hűvös tónus előállítása.
14
A hang szabályozása
Tétel
Hatás/Használat
Ekvalizer üzemmód
V
Personal
Vocal
Jazz
Rock
Pop
v
Flat (rögzített beállítás, nem módosítható)
Ekvalizer beállítás
Módosíthatja az Ekvalizer üzemmód pontban kiválasztott
üzemmódot az 5 kiválasztott frekvenciasáv elnyomásával
és kiemelésével. A
b
vagy
B
gombot megnyomva válassza
ki a frekvenciasávot, majd a
V
vagy
v
gombot megnyomva
állítsa be a frekvenciát. Végül az OK gomb megnyomásával
tárolja az új beállítást.
Ha tárolni kívánja az új beállítást, az Ekvalizer üzemmódot "Personal"-ra kell
állítania. A Personal üzemmód állandó jelleggel tárolja a beállítást, míg az összes
többi üzemmód (Vocal, Jazz, Rock, Pop) csak a következő üzemmódváltásig
tárolja azt.
Balansz
b
Eltolódás balra
.
B
Eltolódás jobbra.
Loudness
V
Ki:
Normál.
v
Be:
Zenés műsorokhoz.
Térhatás
V
Ki:
Normál.
v
Be:
Speciális akusztikus hatás.
Auto. hangerőszab.
V
Ki :
a hangerő a sugárzott jelnek megfelelően
változik.
v
Be :
a csatornák hangereje ugyanaz marad
függetlenül a sugárzott jeltől (pl.reklámok
esetében)
Kettős hang
Kétnyelvű adás esetén:
V
A az 1. hangcsatornára
v
B a 2. hangcsatornára
Sztereo adás esetén:
V
Mono
v
Sztereo
NICAM sztereo adás esetén a NiCAM jelzés rövid időre megjelenik a képen.
Fejhallgatók
i
Hangerő
Kevesebb
b B
Több
i
Kettős hang
Csak akkor használható, ha a PAP funkciót kiválasztotta.
V
Sztereó:
Az egyik képernyő hangja hallható mind
a
tv készülék hangszórójából, mind a
fejhallgatóból.
v
PAP:
A bal képernyő hangja hallható a tv
készülék hangszórójából, a jobb
képernyőé a fejhallgatóból.
A PAP funkció részleteit lásd a "PAP funkció használata" című fejezetben.
A TV menürendszerének használata:
0
Mono
On
Off
Mono
Off
0
15
A TV menürendszerének használata:
A Szolgáltatások menü használata
1. A távvezérlőn lévő MENU gombot megnyomva jelenítse meg a menüt a TV képernyőjén.
2. A
v
vagy
V
gombbal válassza ki a
opciót a "Szolgáltatások" menühöz, majd a
B
gombot
megnyomva nyissa meg a "Szolgáltatások" menüt.
3. A
v
vagy
V
gombbal válassza ki a kívánt menüpontot, majd a
B
gombot megnyomva erősítse meg
a választást. A menüpontok és hatásaik ismertetését az alábbi táblázat tartalmazza.
4. A
v
,
V
,
B
vagy
b
gombokkal válassza ki a kívánt beállítást.
5. Az OK gomb megnyomásával erősítse meg a beállítás kiválasztását.
6. Ismételje meg a 3-5. lépéseket, ha bármely más tételt is ki kíván választani.
7. Nyomja meg a MENU gombot, hogy eltávolítsa a menüt a TV képernyőjéről.
8.
Tétel
Hatás/Használat
Kikapcsolásidőzítő
Kiválaszthat egy időtartamot, melynek elteltével a TV
készenléti üzemmódba kapcsol.
V
Ki
.
v
90 perc
Gyermekzár
V
Ki : Normál
v
Be : A távvezérlőn lévő gombokat megnyomva kapcsolja ki a TV-
készüléket készenléti üzemmódból. A készüléken lévő
kezelőgombok nem működnek.
AV2 kimenet
V
TV audio/videojel az antennáról
AV1 audio/videojel a scart 1 aljzatról
AV2 audio/videojel a scart 2 aljzatról
AV3 audio/videojel a scart 3 aljzatról
v
AV4 audio/videojel a TV előlapján lévő csatlakozókról
AV 2 Kimenet
A képernyő méretének módosítása
Ez a szolgáltatás lehetővé teszi a TV-kép méretének megváltoztatását.
A távvezérlőn a
gombot ismételten megnyomva vagy a
v
vagy
V
gomb segítségével válassza ki a
következő formátumok egyikét, majd az OK gombot megnyomva erősítse meg a választást:
4:3
hagyományos 4:3 képméret, teljes képmegjelenítés.
Wide 16:9 képarányú műsorokhoz.
4:3
Wide
16
- - - - -
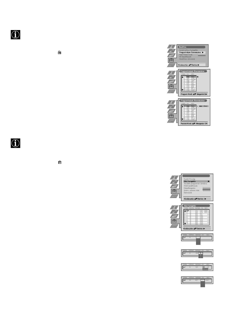
A TV menürendszerének használata:
A programhelyek átrendezése
A TV behangolása után ezt a jellemzőt használhatja a csatornák sorrendjének megváltoztatására a TV-készüléken.
1. A távvezérlőn lévő MENU gombot megnyomva jelenítse meg a menüt a TV képernyőjén.
2. A
V
gombbal válassza ki a
szimbólumot a menüképernyőn, majd a
B
gombot megnyomva
nyissa meg a "Beállítás" menüt.
3. A
V
gombbal válassza ki a "Programok átrendezése" menüpontot, majd a
B
gombot
megnyomva nyissa meg a "Programok átrendezése" menüt.
4. A
v
vagy
V
gombbal válassza ki az áthelyezni kívánt csatornát, majd a
B
gombot megnyomva
erősítse meg a választást.
5. A
v
vagy
V
gombbal válassza ki az új programhelyet (pl. PROG 4) a kiválasztott csatorna
számára, majd az OK gombot megnyomva erősítse meg az áthelyezést. Ezzel a kiválasztott
csatorna az új programhelyre kerülnek, és a többi csatorna ennek megfelelően kap új helyet.
6. Ismételje meg a 4. és 5. lépést, ha más csatornákat is át kíván helyezni.
7. Nyomja meg a MENU gombot, hogy eltávolítsa a menüt a TV képernyőjéről.
A TV manuális hangolása
Már elvégezte a TV automatikus hangolását a jelen útmutató elején lévő utasítások segítségével. Azonban elvégezheti
ezt a műveletet manuálisan is úgy, hogy egyszerre egy csatornát vesz fel a TV-készüléken beprogramozottak közé.
1. A távvezérlőn lévő MENU gombot megnyomva jelenítse meg a menüt a TV képernyőjén.
2. A
V
gombbal válassza ki a
szimbólumot a menüképernyőn, majd a
B
gombot megnyomva
nyissa meg a "Beállítás" menüt.
3. A
V
gombbal válassza ki a "Kézi beállítás" menüpontot, majd a
B
gombot megnyomva nyissa meg
a "Kezi beallitas" menüt.
4. A
V
gombbal válassza ki a "Kézi hangolás" menüpontot a menüképernyőn, majd a
B
gombot
megnyomva nyissa meg a "Kézi hangolás" menüt.
5. A
v
vagy
V
gombbal válasszon ki egy programhelyet a csatorna számára (pl. PROGR 1 a BBC1
számára), majd a
B
gombot megnyomva jelölje ki az "UGRÁS" oszlopot.
6. A
b
gombot megnyomva válassza ki a "Ki" beállítást, majd a
B
gombot megnyomva jelölje ki a
"NORMA" oszlopot.
7. A
v
vagy
V
gombbal válassza ki a sugárzási rendszert (B/G a nyugat-európai országokban vagy D/
K a kelet-európai országokban vagy az "EXT" beállítást a video műsorforrás számára (AV1, AV2,
...), majd nyomja meg a
B
gombot a beállítások megerősítéséhez.
8. A
v
vagy
V
gombbal válassza ki a "C" beállítást a földi sugárzású csatornák számára, az "S"
beállítást a kábelcsatornák számára vagy az "F" beállítást a közvetlen jelbemenetek számára, majd
a
B
gombot megnyomva erősítse meg a beállítást.
9. Válassza ki a "CS" (csatorna) első számjegyét, majd a "CS" második számjegyét a távvezérlőn lévő
számgombokkal vagy a
v
vagy
V
gombbal keresse meg a következő fogható csatornát.
10. Ha nem szeretné tárolni ezt a csatornát a kiválasztott programhelyen, a
v
vagy
V
gombbal folytassa
a keresést, amíg a kívánt csatorna meg nem jelenik.
11. Ha ez az a csatorna, amelyet tárolni kíván, nyomja meg az OK gombot.
12. Ismételje meg az 5-11. lépést, ha további csatornákat kíván tárolni, majd a MENU gomb
megnyomásával távolítsa el a menüt a TV képernyőjéről.
B/G
D/K
IRL
EXT
AV1
AV2
AV3
AV4
Beállítási útmutató
O
- - - - - - -
17
A TV menürendszerének használata:
Az állomások elnevezése
A csatornák nevét a készülék rendszerint automatikusan átveszi a teletext adásból, ha az rendelkezésre áll. A
csatornához vagy videobemenethez Ön is rendelhet egy, legfeljebb öt karakterből (betű vagy szám) álló nevet.
Programhelyek átugrása
Ezzel a funkcióval kijelölheti a nem használt programhelyeket, hogy azokat a készülék a PROGR+/- gombokkal történő
csatornaválasztás közben átugorja. Az átugrott programhelyeket azonban a számgombokkal továbbra is ki lehet
választani.
1. A távvezérlőn lévő MENU gombot megnyomva jelenítse meg a menüt a TV képernyőjén.
2. A
V
gombbal válassza ki a
szimbólumot a menüképernyőn, majd a
B
gombot
megnyomva nyissa meg a "Beállítás" menüt.
3. A
V
gombbal válassza ki a "Kézi beállítás" menüpontot, majd a
B
gombot megnyomva
nyissa meg a "Kézi beállítás" menüt.
4. A
V
gombbal válassza ki a "Kézi hangolás" menüpontot, majd a
B
gombot megnyomva
nyissa meg a "Kézi hangolás" menüt.
5. A
v
vagy
V
gombbal válassza ki azt a csatornát, amelyhez nevet kíván rendelni.
6. Nyomja meg ismételten a
B
gombot mindaddig, amíg a "NÉV" oszlopban az első
karakterhely kiemelésre nem kerül.
7. A
v
vagy
V
gombbal válasszon ki egy betű vagy számot (a szóközhöz nyomja meg a "-"
gombot), majd a
B
gombot megnyomva erősítse meg a választást. Ugyanígy válassza ki a
további négy karaktert.
8. Az összes karakter kiválasztása után nyomja meg az OK gombot.
9. Ismételje meg a 5-8. lépést, ha más csatornákat is el kíván nevezni.
10. Nyomja meg a MENU gombot, hogy eltávolítsa a menüt a TV képernyőjéről.
1. A távvezérlőn lévő MENU gombot megnyomva jelenítse meg a menüt a TV
képernyőjén.
2. A
V
gombbal válassza ki a
szimbólumot a menüképernyőn, majd a
B
gombot
megnyomva nyissa meg a "Beállítás" menüt.
3. A
V
gombbal válassza ki a "Kézi beállítás" menüpontot, majd a
B
gombot
megnyomva nyissa meg a "Kézi beállítás" menüt.
4. A
V
gombbal válassza ki a "Kézi hangolás" menüpontot, majd a
B
gombot
megnyomva nyissa meg a "Kézi hangolás" menüt.
5. A
v
vagy
V
gombbal válasszon ki egy programhelyet, majd a
B
gombot megnyomva
jelölje ki az "UGRÁS" oszlopot.
6. A
v
vagy
V
gombbal válassza a "Ki" vagy "Be" (ha át kívánja ugrani ezt a
programhelyet) beállítást, majd az OK gombot megnyomva tárolja a beállítást.
7. Ismételje meg az 5. és 6. lépést, ha bármely más programhelyeknél módosítani
kívánja az ugrás beállítását.
8. Nyomja meg a MENU gombot, hogy eltávolítsa a menüt a TV képernyőjéről.
Manual Set Up
Select:
Enter:
Language/Country
Manual Programme Preset
Further Programme Preset
RGB Set Up
Picture Rotation
Personal ID
Demo
O
- - - - - - -
Beállítási útmutató
O
- - - - - - -
Beállítási útmutató
O
- - - - - - -
18
A TV menürendszerének használata:
A "További programok tárolása" jellemző használata
E jellemző révén lehetősége van a) beállítani minden egyes csatorna csillapítását, b) egyedileg beállítani minden egyes
csatorna hangerejét, c) elvégezni a TV finomhangolását jobb képvétel érdekében, ha a kép torz vagy d) beállítani az AV
kimenetet kódolt (pl. fizető TV-dekóderről érkező) jelekkel rendelkező csatornák programhelyei számára. Ezzel a
módszerrel a videomagnó már a dekódolt jelet veszi fel.
Beállítási útmutató
O
- - - - - - -
1. A távvezérlőn lévő MENU gombot megnyomva jelenítse meg a menüt a TV képernyőjén.
2. A
V
gombbal válassza ki a
szimbólumot a menüképernyőn, majd a
B
gombot megnyomva
nyissa meg a "Beállítás" menüt.
3. A
V
gombbal válassza ki a "Kézi beállítás" menüpontot, majd a
B
gombot megnyomva
nyissa meg a "Kézi beállítás" menüt.
4. A
V
gombbal válassza ki a "További programok tárolása" menüpontot, majd a
B
gombot
megnyomva nyissa meg a "További programok tárolása" menüt.
5. A
v
vagy
V
gombbal válassza ki az érintett programhelyet, majd a
B
gombot ismételten
megnyomva válassza ki az a) HANG b) AFT vagy c) DEKÓDER menüpontot. A
kiválasztott menüpont színe megváltozik.
6.
a)ATT
- RF csillapítás
A
v
vagy
V
gombbal kapcsolja a csillapítást "be" vagy "ki". Az OK gomb megnyomásával
erősítse meg a választást. Ismételje meg az 5. és 6a. lépéseket, ha be kívánja állítani más
csatornák csillapítását is.
b)HANG
- Hangerő-kiegyenlítés
A
v
vagy
V
gombokkal állítsa be a csatorna hangerejét (-7 és +7 közötti tartományban). Az
OK gombot megnyomva tárolja a beállítást. Ismételje meg az 5. és 6b. lépéseket, ha be kívánja
állítani más csatornák hangerejét is.
c) AFT
- Automatikus finomhangolás
A
v
vagy
V
gombbal végezze el a csatorna frekvenciájának finomhangolását a -15 és +15
közötti tartományban. Az OK gombot megnyomva erősítse meg a beállítást. Ismételje meg
az 5. és 6c. lépéseket, ha más csatornák finomhangolását is el kívánja végezni.
d)DEKÓDER
A
v
vagy
V
gombbal válassza ki az AV1 vagy AV2 beállítást a programhely számára, majd az
OK gombot megnyomva erősítse meg a beállítást. Most már csatlakoztathat dekódert a TV
hátlapján lévő AV1 vagy AV2 aljzathoz, és a dekóderről érkező kép az adott programhelyen
fog megjelenni. Ismételje meg az 5. és 6d. lépést, ha más programhelyekhez is be kíván
állítani AV kimenetet.
7. Nyomja meg a MENU gombot, hogy eltávolítsa a menüt a TV képernyőjéről.
A "Bemutató" jellemző kiválasztása
Ez a funkció áttekintést ad a TV-készüléken rendelkezésre álló egyes jellemzőkről.
1. A távvezérlőn lévő MENU gombot megnyomva jelenítse meg a menüt a TV képernyőjén.
2. A
V
gombbal válassza ki a
szimbólumot a menüképernyőn, majd a
B
gombot
megnyomva nyissa meg a "Beállítás" menüt.
3. A
V
gombbal válassza ki a "Kézi beállítás" menüpontot, majd a
B
gombot megnyomva
nyissa meg a "Kézi beállítás" menüt.
4. A
V
gombbal válassza ki a "Bemutató" menüpontot, majd a
B
gombot megnyomva indítsa
el a bemutatót (ami kb. 5 percig tart).
5. Nyomja meg a
gombot, hogy eltávolítsa a bemutatót a TV képernyőjéről.
Beállítási útmutató

