Sony KV-34FQ75K – page 3
Manual for Sony KV-34FQ75K
Table of contents
11
Obsługa
Telegazeta
Posługiwanie się menu telegazety
1. Kiedy telegazeta jest włączona, naciśnij przycisk MENU na pilocie, aby wyświetlić
menu na ekranie telewizora.
2.
Wciśnij
v
lub
V
w celu wybrania podpunktu, a następnie naciśnij
B
, aby dostać się do
odpowiedniego menu niższego poziomu.
3. Aby usunąć z ekranu menu telegazety, naciśnij przycisk MENU.
Góra/Dół/Cała
Menu Góra/Dół/Cała pozwala powiększyć różne części strony telegazety. Naciśnij
v
, w celu
powiększenia górnej części obrazu,
V
, aby powiększyć dolną część. Naciśnięcie przycisku
OK spowoduje przywrócenie normalnej wielkości strony. Naciśnij
b
, aby powrócić do menu
telegazety.
Usunięcie tekstu*
*funkcja dostępna tylko w trybie telegazety i trybie Mix (patrz Włączanie i wyłączanie telegazety)
Funkcja usunięcia tekstu służy do wyświetlania obrazu telewizyjnego podczas wyszukiwania
strony telegazety.
1. Dwukrotnie naciśnij przycisk
na pilocic, aby wyświetlić telegazetę na pełnym
ekranie.
2. Naciśnij przycisk MENU, aby wyświetlić menu telegazety.
3. Naciskając
v
lub
V
wskaż wariant Usunięcie tekstu. Potwierdź wybór,
naciskając
B
.
4. Pojawi się obraz odbieranej obecnie stacji telewizyjnej. Po odszukaniu strony
telegazety, w lewym górnym rogu ekranu pojawi się niebieski symbol
.
5. W celu wyświetlenia strony naciśnij przycisk
na pilocie.
Odsłanianie
Niektóre strony telegazety zawierają ukryte informacje (np. odpowiedzi do quizu), które
można odsłonić.
Strona na czas*
* zależnie od dostępno ci usługi. Ze strony na czas można korzystać tylko w trybie telegazety i w trybie ‘Mix .
Strona na czas umożliwia wy wietlenie o zadanej godzinie strony gazety z kodowaniem
czasowym (np. strony z alarmem).
1. W trybie telegazety naci nij przycisk MENU na pilocie, aby wy wietlić menu telegazety.
2.
Przyciskiem
v
lub
V
wskaż wariant Odsłanianie i potwierd wybór przyciskiem
B
.
Na
ekranie pojawią się ukryte informacje
.
1. W trybie telegazety naci nij przycisk MENU na pilocie, aby wy wietlić menu telegazety.
2.
Przyciskiem
v
lub
V
wskaż wariant Strona na czas i potwierd wybór przyciskiem
B
.
Pojawi się menu niższego poziomu ‘Strona na czas ..
3. Przyciskami numerycznymi na pilocie wprowad numer żšdanej strony.
4. Używajšc pilota, wprowad żšdanš godzinę.
5. Potwierd ustawienia przyciskiem OK. Tryb telegazety wyłšczy się, a w lewym górnym
rogu ekranu pojawi się godzina. O zaprogramowanej godzinie zostanie wy wietlona
żšdana strona.
Przegląd stron*
*funkcji można użyć, gdy stacja telewizyjna nadaje dane TOP-text.
W tym menu strony TOP-text sa podzielone na dwje kolumny, z których pierwsza zawiera
bloki stron, a druga- grupy stron.
1.
Naciskając
b
lub
B
, wybierz pierwszą albo drugą kolumnę.
2.
Naciskając
v
lub
V
, aby wybierz żądaną grupę albo blok stron.
3. W celu wyswietlenia żądanych stron naciśnij przycisk OK.
12
Obsługa
Posługiwanie się trybem Multi PIP
W trybie Multi PIP (obraz w obrazie) można wyświetlić 12 nieruchomych obrazów i 13, który jest ruchomy.
Możesz ręcznie wybrać program, który chcesz oglądać, w trybie pełnoekranowym lub w trybie PIP.
Działanie trybu PAP (Obraz i obraz)
Funkcja PAP dzieli obraz na dwie części i daje możliwość oglądania dwóch programów jednocześnie (może być
to także obraz z magnetowidu). Dźwięk programu z lewej części ekranu jest nadawany przez głośniki, natomiast
dźwięku z prawej części można słuchać przez słuchawki.
1.
Naciśnij przycisk
znajdujący się na pilocie, aby włączyć tryb Multi PIP. Na
ekranie pojawia się 13 pozycji programów, z bieżącym pośrodku.
2. Przyciskami PROGR+/- można wybrać następne lub poprzednie 12 programów.
3.
Przyciskami
v
,
V
,
b
oraz
B
można poruszać się pomiędzy 13 wyświetlonymi
programami.
4. Naciśnij przycisk OK, aby wybrać zaznaczony program. Program ten będzie teraz
wyświetlany w środkowym oknie.
5. Naciśnij ponownie OK, aby wyświetlić wybrany kanał lub naciśnij
, aby wyłączyć
tryb Multi PIP.
Włączanie i wyłączanie trybu PAP
Naciśnij raz
, aby podzielić ekran na dwie części, drugi raz, aby powrócić do
normalnego obrazu.
Wybieranie dźwięku dla słuchawek
Włączywszy funkcję PAP, przejdź do sekcji Regulacja obrazu i dźwięku i wybierz dla
parametru
Podwójny dźwięk ustawienie PAP .
Wybieranie źródła sygnału dla trybu PAP
Naciśnij
M
. Symbol
M
pojawi się w prawej części ekranu. Teraz można wybrać źródło
sygnału przy pomocy klawiszy oznaczonych numerami (dla programów telewizyjnych)
lub
(dla magnetowidu).
Zamiana pozycji obrazów
Naciśnij
, aby zamienić ekrany miejscami.
Zmienianie wielkości ekranów
Naciskaj przycisk
b
lub
B
,
aby zmienić wielkość obydwu obrazów.
03
05
01
06
11
09
08
02
10
07
13
12
04
13
Obsługa
Telewizor zawiera przyjazny dla użytkownika system sterowania, który składa się z serii menu ekranowych. System ten
pomoże Ci oglądać z satysfakcją telewizję, a także zmienić ustawienia obrazu i dźwięku, wielkość obrazu, kolejność
programów oraz wiele innych funkcji.
Regulacja obrazu i dźwięku
Obraz i dźwięk zostały wyregulowane fabrycznie. Można jednak zmienić ustawienia w zależności od upodobań.
Posługiwanie się systemem menu telewizora
1. Przyciśnij przycisk MENU na pilocie, aby wyświetlić menu na ekranie telewizora.
2.
Naciskaj przycisk
v
lub
V
, aby wybrać
(regulacja obrazu) lub
(ustawienia
dźwięku), następnie należy nacisnąć
B
w celu wejścia do menu "Ustawienia dźwięku" lub
"Regulacja obrazu".
3.
Przyciskami
v
lub
V
można wybrać parametr, którego wartość ma być zmieniona,
następnie należy przycisnąć
B
, aby zatwierdzić. Opis parametrów w menu i ich działania -
patrz tabela poniżej.
4.
Przyciskami
v
,
V
,
B
oraz
b
dokonuje się regulacji wybranego parametru.
5. Po wprowadzeniu zmian przyciśnij przycisk OK, aby zachować nowe ustawienia.
6. Powtórz czynności 3-5, jeżeli chcesz dokonać regulacji innych parametrów.
7. Przyciśnij przycisk MENU, aby menu zniknęło z ekranu telewizora.
Regulacja obrazu
Parametr
Efekt/Działanie
Tryb Obrazu
V
Na żywo (dla programów nadawanych "na żywo")
Własny
(ustawienia indywidualne)
Film
(dla filmów)
v
Gra
(dla gier komputerowych)
Kontrast
Mniej
b
B
Więcej
Jasność*
Ciemniej
b
B
Jaśniej
Kolor*
Mniej
b
B
Więcej
Odcień**
Czerwonawy
b
B
Zielonkawy
Ostrość*
Mniejsza
b
B
Większa
*
Tylko jeśli dla Tryb obrazu jest wybrane ustawienie Własny
**
Dotyczy tylko sygnału koloru NTSC (np. amerykańskich kaset video)
Zerowanie
Zostaną przywrócone fabryczne ustawienia obrazu
Sztuczna intel.
V
Wyłączona : Normalne działanie
v
Włączone : Automatyczna optymalizacja
kontrastu, w zależności od sygnału
TV.
Redukcja zakłóceń
V
Wysoka: silna redukcja zakłóceń
Średnia:
rednia redukcja zakłóceń
Niska:
słaba redukcja zakłóceń
Auto:
automatycznie dobierany, optymalny poziom
redukcji zakłóceń
v
Wyłączona: brak redukcji zakłóceń
Tryb cyfrowy
V
Normalny: podstawowa jako ć obrazu 100Hz
DRC 50: poprawiona rozdzielczo ć obrazu do oglądania
przesuwających się znaków
v
DRC 100: optymalna rozdzielczo ć obrazu eliminująca
migotanie
Barwa
V
Ciepła:
nadaje obrazowi ciepły odcień
Normalna:normalne ustawienie
v
Zimna:
nadaje obrazowi zimny odcień
14
Posługiwanie się systemem menu telewizora:
0
NICAM
NICAM
0
Regulacja dźwięku
Parametr
Efekt/Działanie
Tryby korektora
V
Osobisty
Wokal
Jazz
Rock
Pop
v
Płaski (ustawienie stałe, nie może być
regulowane)
Ustawienia korektora
Można dokonywać zmiany ustawienia wybranych trybów
korektora, poprzez zwiększanie lub zmniejszanie
częstotliwości w jednym z 5 zakresów. Przyciśnij
b
lub
B
,
aby wybrać zakres częstotliwości, a następnie
V
lub
v
w
celu dokonania regulacji częstotliwości. Na koniec należy
przycisnąć OK, aby zachować nowe ustawienia.
Jeżeli zamierzasz zachować nowe ustawienia, to musisz wybrać tryb
'Osobisty'. W trybie Osobistym ustawienia zostają zachowane na stałe, we
wszystkich innych trybach (Wokal, Jazz, Rock, Pop) ustawienia zostają
zachowane do następnej zmiany trybu.
Balans
b
Bardziej na lewo
B
Bardziej na prawo
Głośność
V
Nie:
normalne ustawienie
v
Tak: dla programów muzycznych
Przestrzeń
V
Nie: normalne ustawienie
v
Tak: specjalny efekt przestrzenny
Autom. reg. głośn.
V
Nie: poziom głośności będzie zmieniał się,
w zależności od nadawanego sygnału.
v
Tak: Poziom głośności programów będzie
cały czas taki sam niezależnie od nadawanego
sygnału (np. podczas reklam)
Podw. dźwięk
Dla programów nadawanych w dwóch językach:
V
A kanał 1
v
B kanał 2
Dla programów nadawanych w stereo:
V
Mono
v
Stereo
Kiedy zostanie odebrany
sygnaі
NICAM stereo, symbol NICAM pojawi siê na
chwilê na ekranie.
Słuchawki
i
Głośność
głośniej
b
B
ciszej
i
Podw. dźwięk
Wariant dostępny tylko po włšczeniu funkcji PAP:
V
Stereo:
dźwięk z jednego ekranu słychać zarówno
z gło ników telewizora, jak i w słuchawkach
v
PAP:
dźwięk z lewego ekranu słychać z gło ników
telewizora, a dźwięku dla prawego ekranu
można słuchać w słuchawkach.
Więcej informacji o funkcji PAP podano w czę ci ‘Użycie funkcji PAP
.
15
1. Przyciśnij przycisk MENU na pilocie, aby wyświetlić menu na ekranie telewizora.
2.
Naciskaj przycisk
v
lub
V
, aby wybrać
(menu "Funkcje"), następnie
B
, aby je wyświetlić.
3.
Naciskaj przycisk
v
lub
V
, aby wybrać żądany parametr z menu, a następnie naciśnij
B
, aby
potwierdzić. Opis parametrów w menu i efektów ich działania znajduje się w tabeli poniżej.
4.
Naciskaj przycisk
v
,
V
,
B
lub
b
, aby dokonać żądanej regulacji.
5. Naciśnij OK, aby potwierdzić swój wybór.
6. Powtarzaj czynności 3-5, jeżeli zamierzasz dokonać dalszych regulacji.
7. Naciśnij przycisk MENU, aby usunąć menu ekranu telewizora.
Parametr
Efekt/Działanie
Sleep Timer
Możesz wybrać czas, po którym telewizor automatycznie przełączy się
w tryb czuwania.
V
Nie
.
v
90 min
Blokada
V
Nie :
Bez zmian
zabezpieczająca
v
Tak :
Naciśnij przyciski pilota, aby wyłączyć telewizor ze
stanu czuwania. Przyciski na telewizorze nie będą działać.
Wyjście AV2
V
TV sygnał audio/video z anteny
AV1 sygnał audio/video z gniazda 1
AV2 sygnał audio/video z gniazda 2
AV3 sygnał audio/video z gniazda 3
v
AV4 sygnał audio/video z gniazd znajdujących się z przodu
telewizora
Posługiwanie się systemem menu telewizora:
Używanie menu Funkcje
Zmienianie wielkości obrazu
Funkcja ta pozwala zmieniać wielkość obrazu telewizora.
Naciśnij kilkukrotnie przycisk
na pilocie lub użyj
v
lub
V
, aby wybrać jeden z następujących
formatów, a następnie naciśnij OK, aby potwierdzić swój wybór:
4:3
zwyczajny obraz w formacie 4:3, informacja o pełnym obrazie.
Szeroki
dla programów nadawanych w formacie 16:9.
4:3
Szeroki
16
Posługiwanie się systemem menu telewizora
:
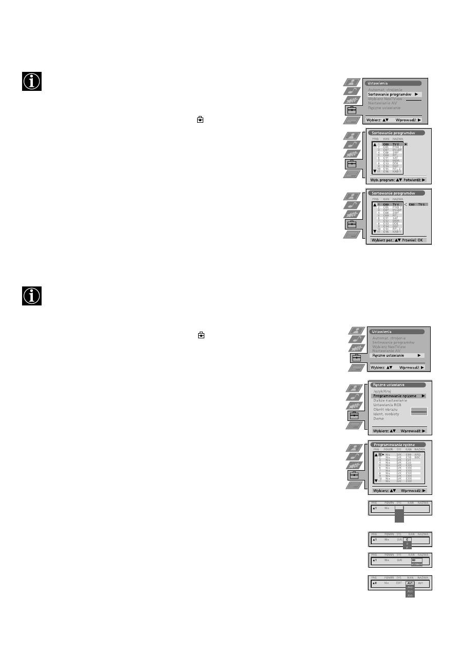
Zamiana pozycji programów
Po dokonaniu strojenia telewizora, dzięki tej funkcji można zmienić kolejność
zapamiętanych kanałów.
1.Przyciśnij przycisk MENU na pilocie, aby wyświetlić menu na ekranie telewizora.
2.
Naciskaj przycisk
V
, aby wybrać z menu symbol
i przyciśnij
B
, aby wejść do menu
"Ustawienia".
3.
Naciśnij
V
,
aby wybrać "Sortowanie programów", następnie
B
, aby wejść do menu
"Sortowanie programów".
4.
Naciskaj przycisk
v
lub
V
, aby wybrać kanał, który chcesz przenieść pod inny numer i
naciśnij
B
, aby potwierdzić.
5.
Naciśnij
v
lub
V
, aby wybrać nową pozycję (np. PROG 4) dla wybranego programu i
naciśnij OK, aby zatwierdzić. Wybrany program zostanie przemieszczony do nowej
pozycji, a pozycje pozostałych programów odpowiednio się zmienią.
6.Powtarzaj czynności 4 oraz 5, jeżeli zamierzasz posortować dalsze kanały.
7.Naciśnij przycisk MENU, aby usunąć menu z ekranu telewizora.
- - - - -
Ręczne programowanie telewizora
Po wykonaniu czynności opisanych na początku instrukcji telewizor jest już automatycznie zaprogramowany.
Można jednak wykonać tę operację ręcznie, aby dodać kanał.
1.Przyciśnij przycisk MENU na pilocie, aby wyświetlić menu na ekranie telewizora.
2.Naciśnij przycisk
V
, aby wybrać z menu symbol
i przyciśnij
B
, aby wejść do menu
"Ustawienia".
3.
Naciśnij
V
, aby wybrać "Ręczne ustawianie", a następnie naciśnij
B
, aby wejść do
menu"Ręczne ustawianie".
4.
Naciśnij
V
,
aby wybrać "Programowanie ręczne", a następnie naciśnij
B
, aby wejść do
menu "Programowanie ręczne".
5.
Naciśnij przyciski
v
lub
V
, aby wybrać numer programu dla kanału (np. PROGR 1 dla
TVP1), a następnie naciśnij
B
, aby podświetlić kolumnę "POMIŃ".
6.
Naciśnij
v
, aby wybrać "Nie", a następnie
B
, aby podświetlić kolumnę "SYS".
7.
Naciśnij
v
lub
V
, aby wybrać system nadawczy (B/G dla Europy Zachodnie, D/K dla
Europy Wschodniej) lub "ZEW" (EXT) dla wejścia wideo (AV1, AV2, ...), a następnie
naciśńij
B
, aby zatwierdzić.
8.
Naciskaj przycisk
v
lub
V
, aby wybrać "C" dla kanałów nadawanych normalnie, "S" dla
kanałów nadawanych w sieci kablowej, lub "F" dla wejść bezpośredniej częstotliwości,
następnie naciśnij
B
, aby potwierdzić.
9.
Wybierz pierwszą cyfrę z numeru kanału ("KAN"), następnie drugą cyfrę numeru kanału,
korzystając z przycisków numerycznych pilota
lub naciśnij
v
lub
V
, aby rozpocząć przeszukiwanie do następnego dostępnego kanału.
10.
Jeżeli nie zamierzasz przypisać tego kanału do pamięci o wybranym numerze, naciśnij
v
lub
V
, aby kontynuować przeszukiwanie, aż do żądanego kanału.
11.Jeżeli znajdziesz kanał, którzy chcesz zapisać, naciśnij przycisk OK.
12.Powtarzaj czynności 5-9, jeżeli chcesz zaprogramować więcej programów, następnie naciśnij
przycisk MENU, aby usunąć menu z ekranu telewizora.
B/G
D/K
IRL
EXT
O
- - - - - - -
17
Posługiwanie się systemem menu telewizora:
Nadawanie nazw programom
Nazwy programów są automatycznie pobierane z telegazety, jeżeli jest ona dostępna. Możesz jednak nadać
nazwę programowi lub urządzeniu wideo złożoną z pięciu znaków (liter i cyfr).
Pomijanie pozycji programów
Można zaprogramować telewizor tak, aby podczas wybierania programów przyciskami PROGR+/-, pomijane
były niechciane numery programów. Jednakże przy pomocy przycisków numerycznych wciąż można wybrać
pominięty program.
1.Przyciśnij przycisk MENU na pilocie, aby wyświetlić menu na ekranie telewizora.
2.
Naciśnij przycisk
V
, aby wybrać z menu symbol
i przyciśnij
B
, aby wejść do menu
"Ustawienia".
3.
Naciśnij
V
, aby wybrać "Ręczne ustawianie", a następnie naciśnij
B
, aby wejść do
menu "Ręczne ustawianie".
4.
Naciśnij
V
,
aby wybrać "Programowanie ręczne", a następnie
B
, aby wejść do menu
"Programowanie ręczne".
5.
Naciśnij przyciski
v
lub
V
, aby wybrać kanał, który chcesz nazwać.
6.
Naciskaj
B
, aż podświetlony zostanie pierwszy element z kolumny "NAZWA".
7.
Naciśnij
v
lub
V
, aby wybrać literę lub cyfrę (wybierz "-" dla pustych miejsc),
następnie naciśnij
B
, aby zatwierdzić. Wybierz pozostałe cztery znaki w ten sam
sposób.
8.Po wybraniu wszystkich znaków naciśnij OK, aby zatwierdzić.
9.Powtórz czynności od 5 do 8, jeżeli zamierzasz nadać nazwy innym programom.
10.Naciśnij przycisk MENU, aby usunąć menu z ekranu telewizora.
1.Przyciśnij przycisk MENU na pilocie, aby wyświetlić menu na ekranie telewizora.
2.
Naciśnij przycisk
V
, aby wybrać z menu symbol
i przyciśnij
B
, aby wejść do menu
"Ustawienia".
3.
Naciśnij
V
, aby wybrać "Ręczne ustawianie", a następnie naciśnij
B
, aby wejść do
menu "Ręczne ustawianie".
4.
Naciśnij
V
, aby wybrać "Programowanie ręczne", a następnie
B
, aby wejść do menu
"Programowanie ręczne".
5.
Naciśnij
v
lub
V
, aby wybrać pozycję programu, a następnie
B
, aby podświetlić
kolumnę "POMIŃ".
6.
Naciśnij
v
lub
V
, aby wybrać "Nie" lub "Tak" (jeżeli chcesz, aby dana pozycja była
pomijana) i naciśnij OK, aby zachować.
7.Powtarzaj czynności 5 oraz 6, jeżeli zamierzasz włączyć lub wyłączyć pomijanie
innych programów.
8.Naciśnij przycisk MENU, aby usunąć menu z ekranu telewizora.
T
Manual Set Up
Select:
Enter:
Language/Country
Manual Programme Preset
Further Programme Preset
RGB Set Up
Picture Rotation
Personal ID
Demo
O
- - - - - - -
O
- - - - - - -
O
- - - - - - -
18
Posługiwanie się systemem menu telewizora:
Posługiwanie się menu "Dalsze nastawianie"
Przy pomocy tej funkcji można: a) wyregulować tłumienie dla każdego kanału, b) wyregulować poziom głośności
dla każdego kanału, c) ręcznie dostroić kanał tak, aby uzyskać lepszy odbiór, jeżeli obraz jest zamazany lub d)
ustawić wyjście AV dla kodowanych kanałów (np. dekodera płatnej telewizji). W ten sposób podłączony
magnetowid nagra nie zamazany obraz.
O
- - - - - - -
1.Przyciśnij przycisk MENU na pilocie, aby wyświetlić menu na ekranie telewizora.
2.
Naciśnij przycisk
V
i wybierz symbol
znajdujący się na ekranie, następnie
naciśnij
B
, aby wejść do menu "Ustawienia".
3.
Naciśnij
V
, aby wybrać "Ręczne ustawianie", następnie naciśnij
B
, aby wejść do menu
"Ręczne ustawianie".
4.
Naciśnij przycisk
V
, aby wybrać "Dalsze ustawianie", następnie
B
, aby wejść do menu
"Dalsze ustawianie".
5.
Naciśnij
v
lub
V
, aby wybrać odpowiedni program, następnie naciśnij
B
, aby wybrać
a) ATT b) GŁOS c) ARC lub d) DEKODER. Wybrany wariant zmieni kolor.
6.
a)
ATT - RF tłumienie
Naciskaj
v
lub
V
, aby włączyć ("Tak") lub wyłączyć ("Nie") tłumienie. Naciśnij OK,
aby potwierdzić swój wybór. Powtarzaj czynności 5 oraz 6a, jeżeli zamierzasz dokonać
regulacji dla innych kanałów.
b)
GŁOS - poziom głośności
Naciskaj
v
lub
V
, aby wyregulować dla kanału poziom głośności (od -7 do +7). Przycisk
OK spowoduje zapisanie zmian. Powtarzaj czynności 5 oraz 6b, jeżeli zamierzasz
dokonać regulacji dla innych kanałów.
c)
ARC - automatyczne dostrajanie
Naciśnij przyciski
v
lub
V
, aby dostroić kanał w zakresie od -15 do +15. Przyciśnij OK,
aby potwierdzić. Powtarzaj czynności 5 oraz 6c, jeżeli zamierzasz dokonać regulacji dla
innych kanałów.
d)
DEKODER
Naciśnij przyciski
v
lub
V
, aby wybrać AV1 lub AV2 dla pozycji programu i naciśnij
OK, aby zatwierdzić. Teraz możesz podłączyć dekoder do gniazda AV1 lub AV2
znajdującego się z tyłu odbiornika, a pochodzący z niego obraz będzie się pojawiał na
ekranie po wybraniu tego numeru. Powtarzaj czynności 5 oraz 6d, jeżeli zamierzasz
dokonać regulacji dla innych kanałów.
7.Naciśnij przycisk MENU, aby usunąć menu z ekranu telewizora.
Włączanie trybu "Demo"
Tryb ten jest przewodnikiem po niektórych funkcjach dostępnych w telewizorze.
1.Przyciśnij przycisk MENU na pilocie, aby wyświetlić menu na ekranie telewizora.
2.
Naciśnij przycisk
V
i wybierz symbol
znajdujący się na ekranie, następnie
naciśnij
B
, aby wejść do menu "Ustawienia".
3.
Naciśnij
V
, aby wybrać "Ręczne ustawianie" a następnie naciśnij
B
, aby wejść do
menu "Ręczne ustawianie".
4.
Naciśnij przycisk
V
, aby wybrać "Demo" a następnie
B
, aby rozpocząć pokaz, który
trwa około 5 minut.
5.Naciśnij
, aby przerwać pokaz.
Start
O
- - - - - - -
19
Posługiwanie się systemem menu telewizora:
Regulacja geometrii obrazu dla sygnału RGB
Podczas podłączania źródła obrazu typu RGB, np. Sony Playstation, może okazać się, że konieczna jest regulacja
geometrii obrazu.
1.Naciśnij przycisk
, aby wybrać źródło sygnału RGB
.
2.Przyciśnij przycisk MENU, aby wyświetlić menu na ekranie telewizora.
3.
Naciśnij przycisk
V
i wybierz symbol
znajdujący się na ekranie, następnie
naciśnij
B
, aby wejść do menu "Ustawienia"
4.
Naciśnij
V
, aby wybrać z menu "Ręczne ustawianie", następnie
B
, aby wejść do menu
"Ręczne ustawianie"
5.
Naciśnij przycisk
V
, aby wybrać z menu "Ustawienia RGB", następnie naciśnij
B
, aby
wejść do podmenu "Ustawienia RGB".
6.
Naciśnij
B
,
aby wybrać Centrow. poziomie, następnie
v
lub
V
, aby wyregulować
położenie środka obrazu w zakresie od -10 do +10. Zapisz nowe ustawienia,
przyciskając OK.
7.
Naciśnij
B
,
aby wybrać "Wielkość poziomie", następnie
v
lub
V
, aby wyregulować
wielkość obrazu w poziomie, w zakresie od -10 do +10. Zapisz nowe ustawienia
przyciskając OK.
8.Naciśnij przycisk MENU, aby zniknęło ono z ekranu telewizora.
1
Regulacja obrotu obrazu
Z powodu pola magnetycznego Ziemi obraz może okazać się przechylony. W takim przypadku można na nowo
wyregulować obraz.
1.Przyciśnij przycisk MENU na pilocie, aby wyświetlić menu na ekranie telewizora.
2.
Naciśnij przycisk
V
i wybierz symbol
, znajdujący się na ekranie, następnie
naciśnij
B
, aby wejść do menu "Ustawienia".
3.
Naciśnij
V
, aby wybrać "Ręczne ustawianie", a następnie naciśnij
B
, aby wejść do
menu "Ręczne ustawianie".
4.
Naciśnij
V
, aby wybrać "Obrót obrazu", następnie
B
, aby wejść do menu "Obrót
obrazu".
5.
Naciśnij przyciski
v
lub
V
, aby obrócić obraz w zakresie od -5 do +5 i przyciśnij
przycisk OK, aby zachować.
6.Naciśnij przycisk MENU, aby usunąć menu z ekranu telewizora.
- - - - -
- - - - -
20
Posługiwanie się systemem menu telewizora:
Wprowadzanie identyfikatora osobistego
Dzięki tej funkcji można wprowadzić do telewizora identyfikator osobisty, który pozwoli odszukać właściciela,
jeżeli telewizor zostanie ukradziony i odzyskany. Ten kod bezpieczeństwa można jednak wprowadzić tylko raz
- należy go zanotować!
1.Przyciśnij przycisk MENU na pilocie, aby wyświetlić menu na ekranie telewizora.
2.
Naciśnij przycisk
V
i wybierz symbol
, znajdujący się na ekranie, następnie
naciśnij
B
, aby wejść do menu "Ustawienia".
3.
Naciśnij
V
,
aby wybrać "Ręczne ustawianie", następnie naciśnij
B
, aby wejść do
menu "Ręczne ustawianie".
4.
Naciśnij przycisk
V
, aby wybrać z menu "Ident. osobisty", następnie naciśnij
B
, aby
wejść do podmenu "Ident. osobisty".
5.
Naciskaj przycisk
v
lub
V
, aby wybrać pierwszy z 11 znaków (litera, cyfra albo
odstęp), następnie naciśnij
B
, aby przejść do następnego znaku.
6.Powtarzaj czynności 5 dla wszystkich znaków z kodu.
7.Naciśnij OK, aby zachować.
Na ekranie pojawi się okienko z żądaniem ponownego
wprowadzenia kodu.
8.
Przyciśnij ponownie przycisk OK, aby ostatecznie zachować kod, lub naciśnij
b
, aby
skasować.
9.Naciśnij przycisk MENU, aby usunąć menu z ekranu telewizora.
Regulacja i nadawanie nazw sygnałom wejściowym
Dzięki tej funkcji można automatycznie formatować wejściowe sygnały źródłowe i nadawać im nazwy.
1.Przyciśnij przycisk MENU na pilocie, aby wyświetlić menu na ekranie telewizora.
2.
Naciśnij przycisk
V
i wybierz symbol
znajdujący się na ekranie, następnie
naciśnij
B
, aby wejść do menu "Ustawienia".
3.
Naciśnij przycisk
V
, aby wybrać z menu "Nastawianie AV", następnie
B
, aby wejść do
menu "Nastawianie AV".
4.
Naciskaj przycisk
v
lub
V
, aby wybrać żądane wejście AV (AV1, 2, 3 lub 4).
5.
Przyciskiem
B
wybierz "NAZWA".
6.
Naciskaj
v
lub
V
, aby wybrać pierwszy znak nazwy i naciśnij
B
, aby przejść do
następnego znaku.
7.Powtórz czynność 6, aby wybrać pozostałe 4 znaki, a następnie naciśnij OK, aby
zachować.
8.Powtórz czynności 4-8 dla pozostałych źródeł sygnału AV, następnie naciśnij przycisk
MENU, aby usunąć menu z ekranu telewizora.
-
- - - - - -
AV 1
AV 2
AV 3
AV 4
AV 1
AV 2
AV 3
AV 4
AV 1
AV 2
AV 3
AV 4
AV 1
AV 2
AV 3
AV 4
21
Dodatkowy osprzęt
Wzorując się na poniższych rysunkach, do telewizora można podłączyć różnorodny sprzęt audio i video.
Podłączanie urządzeń dodatkowych
Aby odebrać sygnał wejściowy z podłączonego sprzętu, należy wybrać to gniazdo, do którego podłączone jest dane
urządzenie.
1.Na podstawie powyższych rysunków, podłącz sprzęt do odpowiedniego gniazda telewizora.
2.Naciskaj przycisk
pilota, aż odpowiedni symbol wejścia pokaże się na ekranie telewizora (patrz tabela poniżej):
* automatyczne rozpoznanie sygnału w zależności od podłączonego sprzętu
3.Włącz podłączony sprzęt.
Na ekranie telewizora pojawi się obraz z podłączonego urządzenia (jeśli nadaje ono
sygnał obrazu).
4.Naciśnij
, aby powrócić do normalnego obrazu.
Uwaga: Aby uniknąć zniekształceń obrazu, nie wolno podłączać sprzętu jednocześnie do gniazd
F
oraz
G
.
Podłączanie słuchawek
Włącz słuchawki do gniazda
E
z przodu telewizora.
Podłączanie sprzętu HiFi audio
Połącz dodatkowy sprzęt audio do gniazda wyjściowego
D
z tyłu telewizora.
Symbol na
ekranie
Sygnał wejściowy z gniazda
•
Wejściowy sygnał audio/video z wejścia
A
lub sygnał* RGB z wejścia
A
•
Wejściowy sygnał audio/video z wejścia
B
lub sygnał* S-video z wejścia
B
•
Wejściowy sygnał audio/video z wejścia
C
lub sygnał* S-video z wejścia
C
•
Sygnał wejściowy S-video z 4-szpilkowego gniazda DIN
F
lub sygnał* video z gniazda cinch
G
lub sygnał audio z gniazd cinch
H
1
2
3
4
C
AB
E
H
G
F
Kamera
8mm/Hi8
Kamera
S-VHS/Hi8
DVD
Hi-Fi
Playstation Magnetowid
Dekoder
22
Dodatkowe urz
ądzenia
*
Jeżeli występują zakłócenia obrazu lub dźwięku, wówczas należy odsunąć magnetowid od telewizora.
*
Kiedy podłączasz monofoniczny magnetowid, podłącz przewód tylko do białych gniazd telewizora i
magnetowidu.
*
Więcej informacji o wybieraniu sygnału wejściowego z gniazda Scart 2
/
podano na stronie 15.
*
Jeśli podłączasz zewnętrzny sprzęt hi-fi, regulację głośności możesz wykonać przez zmianę w menu dźwięku
ustawienia dla słuchawek - zapoznaj się z sekcją "Regulacja obrazu i dźwięku".
Dodatkowe informacje dotycz
ące podłączania urządzeń
2
s
2
Smartlink jest to bezpośrednie łącze pomiędzy telewizorem i magnetowidem.
Do użycia systemu Smartlink potrzebny jest:
*
Magnetowid obsługujący Smartlink, NexTView Link, Easy Link lub Megalogic.
*
Pełny, 21-stykowy kabel Euro, umożliwiający podłączenie magnetowidu do gniazda Scart 2
/
.
Zalety Smartlink to:
*
Informacje na temat zaprogramowanych kanałów przekazywane są z telewizora do magnetowidu.
*
Przy pomocy NexTView można łatwo programować magnetowid.
*
Bezpośrednie nagrywanie: podczas oglądania telewizji wystarczy nacisnąć jeden przycisk magnetowidu, aby
nagrać dany program.
Aby uzyskać więcej informacji na temat Smartlink, należy zapoznać się z instrukcją magnetowidu.
Smartlink
2
s
2
Przy pomocy przycisków znajdujących się pod pokrywką pilota, można sterować także innymi urządzeniami firmy
Sony.
1.Otwórz pokrywkę pilota.
2.Przestaw przełącznik VTR 1234 DVD w położenie odpowiadające urządzeniu, którym chcesz sterować:
VTR1 magnetowid Beta
VTR2
magnetowid 8 mm
VTR3
magnetowid VHS
VTR4 Digital Video (DCR-VX 1000/9000E,VHR-1000)
DVD
Digital Video Disk
3.Użyj przycisków pilota do zdalnego sterowania dodatkowymi urządzeniami.
*
Jeżeli sprzęt ten ma przełącznik trybu sterowania (COMMAND MODE), należy go przestawić w to samo
położenie, co przełącznik VTR 1234 DVD pilota.
*
Jeżeli sprzęt ten nie ma danej funkcji, odpowiedni przycisk pilota nie będzie działał.
Zdalne sterowanie innym sprzętem Sony
23
Informacje dodatkowe
Dane techniczne
System TV
B/G/H, D/K
System koloru
PAL, SECAM
NTSC 3.58, 4.43 (tylko Video In)
Zakresy kanałów
Patrz "Tabela kanałów" na tej stronie.
Kineskop
FD Trinitron
Około 86cm (34 cale)
Gniazda z tyłu
/
21-stykowa łączówka Euro (norma CENELEC)
zawierająca wejście audio/video, RGB oraz
wyjście telewizyjne audio/video.
/
21-stykowa łączówka Euro (norma CENELEC)
zawierająca wejście audio/ video, S-video oraz
wyjście audio/video monitora.
/
21-stykowa łączówka Euro (norma CENELEC)
zawierająca wejście audio/video, S-video oraz
wyjście audio/video monitora.
L/G/S/I
Gniazda RCA, regulowany poziom wyj ciowy sygnału
R/D/D/D
dźwiękowego
Wyjścia dla zewnętrznych głośników: 2-stykowe DIN (5)
RF In
Gniazda z przodu
Wejście sygnału video - gniazdo cinch
Wejście sygnału audio - gniazdo cinch
Wejście sygnału S-video - gniazdo 4-stykowe DIN
Gniazdo słuchawkowe stereo mini
1
s
1
2
s
2
3
s
3
4
4
s
4
Moc wyjściowa dźwięku
Lewy / prawy: 2 x 20 W (moc muzyczna)
2 x 10 W (moc skuteczna)
Gło nik basowy:30 W (moc muzyczna)
15 W (moc skuteczna)
Pobór mocy
170W
Wymiary (szer. x wys. x gł.)
Około 892x727x620 mm
Ciężar
Około 82kg
Akcesoria w wyposażeniu
Pilot RM-893 (1 szt.)
Baterie do pilota (zgodne z normą IEC) (2 szt.)
Inne funkcje
Płaski kineskop Trinitron, cyfrowa redukcja zakłóceń,
obraz 100 Hz, PAP, PAT, M-PIP,
Pamiêæ 2000 stron
telegazety
, korektor graficzny identyfikator osobisty,
funkcja sleep, NexTView, cyfrowy filtr grzebieniowy,
drugi tuner.
Dane techniczne oraz konstrukcja mogą ulec
zmianie.
Tabela kanałów
Odbierane kanały
Oznaczenia kanałów
B/G/H
E2..12, 21..69
C02..C12, C21..69
CABLE TV (1)
S1..S41
S01..S41
CABLE TV (2)
S01..S05
S42..S46
M1..M10
S01..S10
U1..U10
S11.S20
ITALIA
A, B..H, H1, H2
C13, C14..C20, C11, C12
CABLE TV
S1..S41
S01..S41
S01..S05
S42..S46
24
Informacje dodatkowe
Oto kilka prostych rozwiązań problemów, które mogą niekorzystnie wpływać na obraz i dźwięk.
•
Jeżeli w dalszym ciągu występują problemy, oddaj swój telewizor do naprawy wykwalifikowanemu
personelowi.
•
NIGDY nie zdejmować obudowy.
Problemy i ich usuwanie
Problem
Rozwiązanie
Brak obrazu (ekran jest ciemny),
brak dźwięku
•
Włącz wtyczkę telewizora do sieci.
•
Wciśnij przycisk
znajdujący się z przodu telewizora.
•
Jeżeli świeci się wskaźnik , wciśnij na pilocie przycisk
lub przycisk numeru programu.
•
Sprawdź podłączenie anteny.
•
Wyłącz telewizor na 3 lub 4 sekundy, następnie włącz go
ponownie, używając przycisku
, znajdującego się z
przodu telewizora.
Słaba jakość obrazu lub jego brak
(ekran jest ciemny), ale dobra
jakość dźwięku.
•
W systemie menu wybierz "Regulacja
obrazu". Wyreguluj jasność, obraz oraz balans kolorów.
•
Z menu regulacji obrazu wybierz "Zerowanie", aby
przywrócić ustawienia fabryczne.
Słaba jakość obrazu podczas
oglądania sygnału wideo RGB.
•
Wciskaj przycisk
pilota, aż na ekranie zostanie
wyświetlony symbol RGB
.
Dobry obraz, brak dźwięku
•
Naciskaj na pilocie przycisk
.
•
Jeśli na ekranie wyświetlony jest symbol
, wciśnij
przycisk
pilota.
Brak koloru w programach
kolorowych
•
Używając systemu MENU, wybierz menu regulacji
koloru i dokonaj regulacji.
•
Z menu regulacji obrazu wybierz "Zerowanie", by
przywrócić ustawienia fabryczne.
Zniekształcony obraz przy
zmianach programu lub czytaniu
telegazety
•
Wyłącz urządzenia podłączone do gniazd znajdujących
się z tyłu telewizora.
Nie działa pilot
•
Wymień baterie.
Miga wskaźnik stanu czuwania
na telewizorze
•
Skontaktuj się z najbliższym centrum serwisowym Sony.
Zakłócenia w obrazie z
zewnętrznego urządzenia.
Zmniejszyć poziom ostro ci.
/
CZ
Bezpečnostní informace
Bezpečnostní informace
Tento televizor pracuje pouze s napětím 220-
240V. V případě zapojení příli mnoha
spotřebičů do jedné el. zásuvky může dojít k
úrazu el. proudem či požáru.
Z bezpečnostních důvodů a z důvodů
ochrany životního prostředí doporučujeme
neponechávat televizor v pohotovostním
stavu pokud není del í dobu používán. V
tomto případě odpojte televizor z el. sítě.
Nevkládejte žádné předměty do televizoru,
rovněž do televizoru nelijte jakoukoliv
tekutinu. V případě, že se tak stane a již
úmyslně či neúmyslně televizor nezapínejte
a sdělte tuto skutečnost nejbliž ímu
autorizovanému
servisu
SONY,
který
odborně televizor prověří.
Neotevírejte zadní kryt televizoru. Toto
přenechte
pouze
kvalifikovaným
odborníkům z autorizovaných servisů SONY.
Nevystavujte televizor de ti a vlhku,
předejdete tak případnému úrazu el.
proudem.
Nedotýkejte se během bouřky jakékoliv
části el. přívodního kabelu ani anténního
kabelu.
Nezakrývejte ventilační otvory televizoru.
Nechte kolem televizoru alespoň 10 cm
prostoru pro ventilaci vzduchu.
Neumis ujte televizor na horká, mokrá či
extrémně pra ná místa. Televizor by neměl
být vystaven mechanickým vibracím.
Hořlavé látky, či otevřený oheň (svíčka)
neumis ujte v těsné blízkosti televizoru.
Při vytahování el. přívodního kabelu tahejte
pouze za zástrčku, netahejte za kabel.
Abyste nepo kodili el. přívodní kabel
nepokládejte na něj žádné těžké předměty.
Doporučujeme
přebytečnou
část
el.
přívodního kabelu navinout kolem háčků na
zadní straně televizoru.
Televizor postavte vždy na stabilní a bezpečný
stolek. Nedovolte dětem aby na televizor
lezli, sedali si na něj, či si na něm hráli. Při
manipulaci nepokládejte televizor na boční
ani na čelní stranu.
Před manipulací vypojte televizor z el. sítě.
Při manipulaci postupujte opatrně abyste
televizor nepo kodili. Pokud vám televizor
upadl, či byl jiným způsobem po kozen
nechte ho prověřit odborným pracovníkem
autorizovaného servisu SONY.
Nezakrývejte ventilační otvory televizoru
novinami, časopisy ani záclonami a závěsy.
Televizor můžete čistit pouze jemnou, lehce
navlhčenou látkou. Nepoužívejte benzín,
ředidlo
ani
jiné
chemikálie,
rovněž
nepoužívejte čistící prostředky s brusnými
účinky. Ne krábejte povrch obrazovky. Pro va
i bezpečnost doporučujeme televizor před či
těním vždy odpojit od el. sítě.
1
Bezpečnostní informace
Pou ívjete v dy stolky se silnější a stabilnější konstrukcí přiměřenou váze a velikosti této televize. Vzhledem k jedinečnému
“plovoucímu” designu této TV, doporučuje společnost SONY pou ívat originální stolek SU-34FQ1 navr ený pro tuto TV.
Pokud nebudete pou ívat doporučený stolek, je důle ité zajistit aby skříňka, nebo stůl poskytoval dostatek prostoru pro 3 nohy
na kterých televizor stojí.
Bezpečnostní informace
Obsah
Obsah
Instalace
1. Kontrola dodaného příslušenství
2. Vložení baterií do dálkového ovladače
3. Připojení televizoru
4. Zapnutí televizoru
5. Použití ovládacího knoflíku
6. Vyladění televizoru
7. Vyhledání video kanálu
2
2
3
4
4
5
5
Obsluha
Přehled tlačítek televizoru
Přehled tlačítek dálkového ovladače
NexTView
Teletext
Použití režimu Multi PIP (vícenásobný obraz v obraze)
Ovládání funkce PAP (obraz a obraz)
Použití systému nabídek televizoru
Nastavení obrazu a zvuku
Ovládání zvuku
Použití nabídky Spec. funkce
Změna rozměrů obrazovky
Změna uspořádání televizních kanálů
Manuální vyladění televizoru
Pojmenování kanálu
Přeskočení pozic programů
Použití funkce Rozšířené předvolby
Výběr funkce Ukázka
Nastavení natočení obrazu
Nastavení geometrie obrazu pro zdroj signálu RGB
Zadání osobního ID čísla
Předvolení a pojmenování vstupních signálů
6
7
8
10
12
12
13
13
14
15
15
16
16
17
17
18
18
19
19
20
20
Další zařízení
Připojení dalšího zařízení k televizoru
Další informace týkající se připojování zařízení
Smartlink
Dálkové ovládání dalších zařízení firmy Sony
21
22
22
22
Další informace
Technické údaje
Tabulka zobrazení kanálů
Odstraňování chyb
23
23
24
2
Při instalaci televizoru a zobrazení televizních
programů postupujte podle kroků 1-7.
Instalace
1. Kontrola dodaného příslušenství
2. Vložení baterií do dálkového ovladače
Baterie
Při vkládáni baterií do dálkového ovladače vždy dodržujte polaritu baterií
Použité baterie vždy likvidujte s ohledem na životní prostředí.
+
- -
+
Dálkový ovladač
-
+
+
-
3
Instalace
3. Připojení televizoru
1. Připojte stávající anténní svod do zásuvky na zadní straně televizoru označené
.
Připojení antény k televizoru
Připojení antény a videorekordéru k televizoru
Jestliže nebudete
televizor připojovat k
videorekordéru, připojte
prosím anténní svod
(podle vyobrazení vlevo)
a přejděte k oddílu
4.Zapnutí televizoru .
Pokud budete televizor
připojovat k
videorekordéru, přečtěte
si prosím níže uvedený
oddíl.
Kabel typu SCART je
volitelný. Jestliže je
ho však možné použít,
toto doplňkové
propojení může
zlepšit kvalitu obrazu
a zvuku v režimu
přehrávání.
OUT
IN
AERIAL
ANTENNA
AC IN
(stávající anténní svod)
(kabel SCART - není
součástí dodávky)
1. Podle vyobrazení zapojte váš anténní svod do konektoru označeném RF IN na vašem videorekordéru.
2. Podle vyobrazení připojte anténní vedení ze zásuvky RF OUT na zadní straně videorekordéru do anténní
zásuvky na zadní straně televizoru.
3. Propjte kabel SCART (pokud se rozhodnete ho použít) se vstupem označeným AV2 na zadní straně televizoru.
4. Připojte videorekordér k elektrické síti a zapněte ho.
5. Do videorekordéru vložte předem nahranou pásku a stiskněte tlačítko PLAY (přehrávat).
4
Instalace
1. Zapojte zástrčku televizoru do sít'ové zásuvky (220-240V ~, 50Hz) a zapněte ho.
2.Stiskněte vypínač
na přední straně televizoru.
Jestliže svítí indikátor úsporného režimu umístěný na přední straně televizoru,
zapněte televizor stisknutím tlačítka TV
na dálkovém ovladači. BuQte prosím trpěliví, nebot' obraz se
může objevit na televizní obrazovce až po chvíli.
4. Zapnutí televizoru
5. Použití ovládacího knoflíku
/
Potvrzení své volby provedete
stisknutím ovládacího knoflíku
uprostřed.
V nabídkách se můžete pohybovat
stisknutím příslušných šipek.
Pohyb ovládacím knoflíkem
Stisknutí ovládacího knoflíku

