Sony KV-14LT1K – page 5
Manual for Sony KV-14LT1K
Table of contents

10BGKV21LT1K.fm Page 9 Wednesday, May 16, 2001 12:17 PM
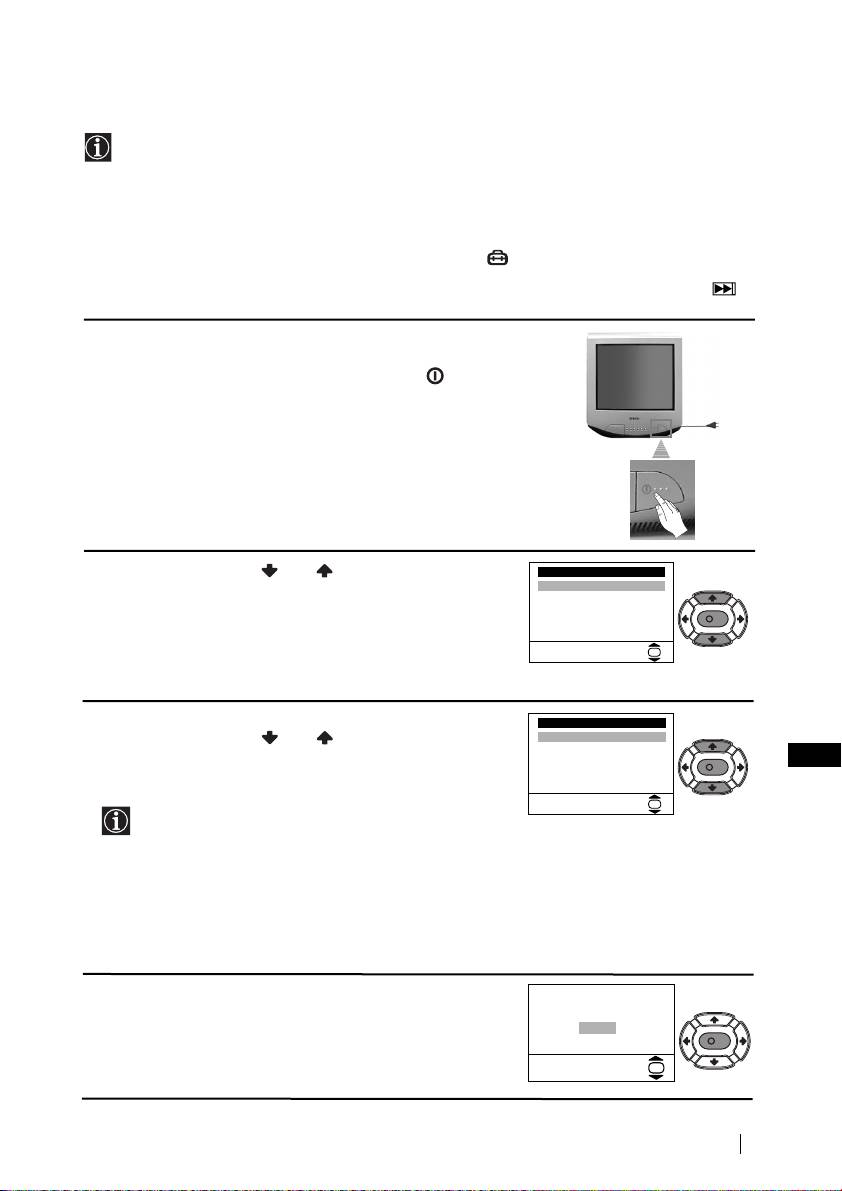
Увод и боравене със системата от менюта
Tози телевизор използва система от менюта на екрана за да Ви води при
различните операции. Използвайте следните бутони от дистанционното
управление, за да се движите през менютата:
1 Натиснете бутона MENU за поява на първото ниво oт менюто на
MENU
екрана.
2 • За подчертаване на желаното меню или избор, натиснете или
.
• За да влезете в избраното меню или избор, натиснете .
K
• За връщане в предно меню или избор, натиснете .
• За промяна на настройката на желания избор натиснете
//или .
• За oдобряване и запаметяване на Вашият избор, натиснете ОК.
3 Натиснете бутона MENU, за връщане към нормален ТВ режим.
MENU
Водач на менютата
Ниво 1 Ниво 2 Ниво 3 / Функция
Hacтpoйкa нa Kapтинaтa
НАСТРОЙКА НА КАРТИНАТА
Hacтpoйкa нa Kapтинaтa
Peжим: Личeн
Peжим: Личeн
Менюто «Настройка на Картината» Ви
Koнтpacт
Koнтpacт
Яpкнocт
BG
Яpкнocт
Цвeтнocт
позволява да промените настройката на
Цвeтнocт
Ocтpoтa
Ocтpoтa
Toнaлнocт
Toнaлнocт
образа.
Hyлиpaнe
Hyлиpaнe
OK
OK
За целта: след като изберете опцията,
която желаете да промените,
натиснете . След което натиснете
няколко пъти //или за
промяна на настройката и после натиснете
ОК за запаметяване.
Това меню също Ви позволява да
промените режима на образа в зависимост
от типа на програмата която гледате
:
Личен (за индивидуални предпочитания).
На Живо (за директни предавания).
Филми (за филми).
• Яркост ,Цветност ,Острота могат да се се изменят само при избор на режим на образ
«Личен».
• Тоналност е само на разположение за цветната система NTSC (напр. американски
видео касети).
• За да възвърнете фабрично нагласената настройка на образа, изберете Нулиране и
натиснете ОК.
продължава...
Система от менюта на екрана
9

10BGKV21LT1K.fm Page 10 Wednesday, May 16, 2001 12:17 PM
Ниво 1 Ниво 2 Ниво 3 / Функция
Hacтpoйкa нa Kapтинaтa
АВТОМАТИЧНО ИЗКЛЮЧВАНЕ
Peжим: Личeн
Koнтpacт
Опцията «Автом. Изключв», в менюто
Яpкнocт
Цвeтнocт
«Часовник», Ви позволява да изберете
Ocтpoтa
Toнaлнocт
Hyлиpaнe
период от време след който телевизора
OK
автоматично да влезе в режим на временно
изключване (standby).
Чacoвник
Чacoвник
За целта: след като изберете тази опция,
Aвтoм. Изключв:
Изкл
Aвтoм. Изключв:
Изкл
Aвтoм. Bключв:
Изкл
Aвтoм. Bключв:
Изкл
натиснете . След това
натиснете или за да изберете
интервала от време (максимум 4 часа),
OK
OK
накрая натиснете ОК за запаметяване.
• Ако желаете, докато гледате ТВ, да
видите времето което остава до
изключването, натиснете бутона .
• Една минута преди телевизора да влезе в
режим на временно изключване, времето
което остава ще се появи на екрана.
АВТОМАТИЧНО ВКЛЮЧВАНЕ
Hacтpoйкa нa Kapтинaтa
Peжим: Личeн
Опцията «Автом. Включв», в менюто
Koнтpacт
Яpкнocт
«Часовник», Ви позволява да изберете
Цвeтнocт
Ocтpoтa
Toнaлнocт
период от време, след който телевизора
Hyлиpaнe
автоматично ще се включи от режима на
OK
временно изключване (standby).
За целта: след като изберете тази опция,
Чacoвник
Чacoвник
натиснете . След което натиснете или
Aвтoм. Изключв:
Изкл
Aвтoм. Изключв:
Изкл
Aвтoм. Bключв:
Изкл
за да изберете интервала от време
Aвтoм. Bключв:
Изкл
(максимум 12 часа) и натиснете ОК за
запаметяване. Накрая натиснете бутона
OK
OK
за временно изключване (standby) от
дистанционното управление и след
установения интервал от време телевизора
ще се включи.
• Индикаторът за временно
изключване (standby) на телевизора ще
започне да мига за да покаже, че
функцията «Автом. Включв» е
активирана.
• Всяко прекъсване на ел. ток ще анулира
тази функция.
Hacтpoйкa нa Kapтинaтa
ЕЗИК / ДЪРЖАВА
Peжим: Личeн
Koнтpacт
Опцията «Език / Държава», в менюто
Яpкнocт
Цвeтнocт
«Инсталиране», Ви позволява да изберете
Ocтpoтa
Toнaлнocт
Hyлиpaнe
езика на който желаете да се появят
OK
менютата на екрана. Също Ви позволява да
изберете държавата където желаете да
използвате телевизора.
Инcтaлиpaнe
Инcтaлиpaнe
Eзик/Дъpжaвa
Eзик/Дъpжaвa
За целта: след като изберете тази опция,
Aвтoм. Зaxвaщaнe
Aвтoм. Зaxвaщaнe
Пoдpeждaнe нa Пpoгpaми
Пoдpeждaнe нa Пpoгpaми
натиснете , след което постъпете така
Пpoгpaмa Pъчeн Избop
Пpoгpaмa Pъчeн Избop
Уcъв. Xapaктepиcтики
Уcъв. Xapaктepиcтики
както се оказва в главата «Включване и
автоматично настройване на телевизора»,
OK
OK
стъпки 2 и 3.
продължава...
10
Система от менюта на екрана

10BGKV21LT1K.fm Page 11 Wednesday, May 16, 2001 12:17 PM
Ниво 1 Ниво 2 Ниво 3 / Функция
АВТОМАТИЧНО ЗАХВАЩАНЕ
Hacтpoйкa нa Kapтинaтa
Peжим: Личeн
Опцията «Автом. Захващане», в менюто
Koнтpacт
Яpкнocт
Цвeтнocт
«Инсталиране», позволява на телевизора
Ocтpoтa
Toнaлнocт
да търси и запамети всички канали (ТВ
Hyлиpaнe
OK
предавания) на разположение.
За целта: след като изберете тази опция,
Инcтaлиpaнe
Инcтaлиpaнe
натиснете , след което постъпете така
Eзик/Дъpжaвa
Eзик/Дъpжaвa
Aвтoм. Зaxвaщaнe
Aвтoм. Зaxвaщaнe
както се оказва в главата «Включване и
Пoдpeждaнe нa Пpoгpaми
Пoдpeждaнe нa Пpoгpaми
Пpoгpaмa Pъчeн Избop
Пpoгpaмa Pъчeн Избop
Автоматично настройване на телевизора»,
Уcъв. Xapaктepиcтики
Уcъв. Xapaктepиcтики
стъпки 4 и 5.
OK
OK
Hacтpoйкa нa Kapтинaтa
Peжим: Личeн
ПОДРЕЖДАНЕ НА ПРОГРАМИ
Koнтpacт
Яpкнocт
Опцията «Подреждане на Програми», в
Цвeтнocт
Ocтpoтa
Toнaлнocт
менюто «Инсталиране», Ви позволява да
Hyлиpaнe
смените реда на появяване на каналите (ТВ
OK
предавания) на екрана.
Инcтaлиpaнe
Инcтaлиpaнe
За целта: след като изберете тази опция,
Eзик/Дъpжaвa
Eзик/Дъpжaвa
Aвтoм. Зaxвaщaнe
Aвтoм. Зaxвaщaнe
натиснете , след което постъпете така
Пoдpeждaнe нa Пpoгpaми
Пoдpeждaнe нa Пpoгpaми
Пpoгpaмa Pъчeн Избop
Пpoгpaмa Pъчeн Избop
както се оказва в главата «Включване и
Уcъв. Xapaктepиcтики
Уcъв. Xapaктepиcтики
автоматично настройване на телевизора»,
OK
OK
стъпка 6 б).
Hacтpoйкa нa Kapтинaтa
ПРОГРАМА РЪЧЕН ИЗБОР
Peжим: Личeн
Koнтpacт
Опцията «Програма Ръчен Избор», в
Яpкнocт
Цвeтнocт
Ocтpoтa
менюто «Инсталиране», Ви позволява:
Toнaлнocт
Hyлиpaнe
a) Да настроите един по един, и в желания
OK
програмен ред, каналите (ТВ предавания)
BG
или един видео вход. За това:
Инcтaлиpaнe
Инcтaлиpaнe
Eзик/Дъpжaвa
Eзик/Дъpжaвa
1 След като изберете опцията «Програма
Aвтoм. Зaxвaщaнe
Aвтoм. Зaxвaщaнe
Пoдpeждaнe нa Пpoгpaми
Пoдpeждaнe нa Пpoгpaми
Ръчен Избор», натиснете . При опцията
Пpoгpaмa Pъчeн Избop
Пpoгpaмa Pъчeн Избop
Уcъв. Xapaктepиcтики
Уcъв. Xapaктepиcтики
Програма подчертана, натиснете и
след това натиснете или за да
OK
OK
изберете номера на програмата
(позицията) на която искате да настроите
Пpoгpaмa Pъчeн Избop
едно ТВ предаване или видео канала (за
Пpoгpaмa:
01
Cиcтемa:
B/G
Kaнaл:
C 21
видео канала Ви препоръчваме да
Имe:
--TVE
Ф. Hacт.:
Bкл
Пpoпycни:
He
изберете програмен номер «0»).
Дeкoдep:
Изкл
Пoтвъpждeниe
Натиснете .
OK
2 След като изберете опцията Система,
натиснете и след това натиснете
или за да изберете системата за
телевизионно предаване
(B/G за западна Европа или D/K за
източна Европа). Натиснете .
продължава...
Система от менюта на екрана
11

10BGKV21LT1K.fm Page 12 Wednesday, May 16, 2001 12:17 PM
Ниво 1 Ниво 2 Ниво 3 / Функция
3 След като изберете опцията Канал,
Hacтpoйкa нa Kapтинaтa
Peжим: Личeн
натиснете , и след това натиснете
Koнтpacт
Яpкнocт
Цвeтнocт
или за да изберете типа на канала
Ocтpoтa
Toнaлнocт
(«C» за земни канали или «S» за кабелни
Hyлиpaнe
канали).
OK
Натиснете . След което натиснете
цифровите бутони за да вкарате директно
Инcтaлиpaнe
Инcтaлиpaнe
номера на канала на ТВ предаването или на
Eзик/Дъpжaвa
Eзик/Дъpжaвa
канала за видео сигнала. Ако не знаете
Aвтoм. Зaxвaщaнe
Aвтoм. Зaxвaщaнe
Пoдpeждaнe нa Пpoгpaми
Пoдpeждaнe нa Пpoгpaми
номера на канала, натиснете или за
Пpoгpaмa Pъчeн Избop
Пpoгpaмa Pъчeн Избop
Уcъв. Xapaктepиcтики
Уcъв. Xapaктepиcтики
да го потърсите. Когато намерите канала
OK
OK
който желаете да запаметите, натиснете
два пъти ОК .
Пpoгpaмa Pъчeн Избop
Повторете всички тези стъпки за да
Пpoгpaмa:
01
Cиcтемa:
B/G
настроите и запаметите повече канали.
Kaнaл:
C 21
Имe:
--TVE
Ф. Hacт.:
Bкл
Пpoпycни:
He
Дeкoдep:
Изкл
б) Даже когато фината автоматична
Пoтвъpждeниe
настройка (Ф. Hacт.) е винаги активирана,
OK
за по-добро приемане на образа, в случай
че се появи изкривен, тя може да бъде
настроена ръчно.
За целта: докато гледате канала (ТВ
предаване), на който желаете да
извършите фината настройка, изберете
опцията
Ф. Hacт.
и след това натиснете .
Натиснете или за да нагласите
нивото на честотата на канала между -15 и
+15. Накрая натиснете два пъти ОК за
запаметяване.
в) Пропускане на нежелани номера на
програми, при избор с бутоните PROGR +/-.
За целта: подчертавайки опцията
Програма, натиснете PROGR + или -
докато се появи номера на програмата,
която желаете да пропуснете. Когато този
номер се появи на екрана ,изберете
опцията Пропусни и после натиснете .
Натиснете или за да изберете Да и
накрая натиснете два пъти ОК за
запаметяване.
Ако по-нататък желаете да премахнете
тази функция, изберете «Не» вместо «Да».
г) Наименуване на един канал, с максимум от
пет знака.
За целта: подчертавайки опцията
Програма, натиснете PROGR + или -
докато се появи програмния номер, който
желаете да наименувате. Когато този
номер се появи на екрана изберете опцията
Име, след което натиснете .
Натиснете или за да изберете една
буква, номер или «-» за празно
пространство и натиснете за
утвърждаване на този знак. Изберете
другите четири знака по същия начин.
След избора на всички знаци натиснете
два пъти ОК за запаметяване.
продължава...
12
Система от менюта на екрана

10BGKV21LT1K.fm Page 13 Wednesday, May 16, 2001 12:17 PM
Ниво 1 Ниво 2 Ниво 3 / Функция
ЗАБРАНА ЗА ДЕЦА
Hacтpoйкa нa Kapтинaтa
Peжим: Личeн
Опцията «Забр. за Деца», в менюто «Усъв.
Koнтpacт
Яpкнocт
Характеристики», позволява блокирането
Цвeтнocт
Ocтpoтa
Toнaлнocт
на бутоните на телевизора. По този начин
Hyлиpaнe
след като изберете тази функция и
OK
изгасите телевизора, бутоните на
телевизора ще останат блокирани и е
Инcтaлиpaнe
Уcъв. Xapaктepиcтики
Eзик/Дъpжaвa
Зaбp. зa Дeцa:
Изкл
възможно да го включите само чрез
Aвтoм. Зaxвaщaнe
Пoтиcкaнe нa Шyмa:
Bкл
Aвтo Koнтpoл-Звyк:
Bкл
Пoдpeждaнe нa Пpoгpaми
бутоните на дистанционното управление.
RGB Цeнтъp:
0
Пpoгpaмa Pъчeн Избop
Bъpтeнe нa Kapт.:
0
Уcъв. Xapaктepиcтики
За целта: след като изберете тази опция,
OK
OK
натиснете . След което натиснете или
за да изберете Вкл. Натиснете ОК за
запаметяване и накрая натиснете
бутона от дистанционното управление.
Ако по-нататък желаете да премахнете
тази функция, изберете «Изкл» вместо
«Вкл».
Hacтpoйкa нa Kapтинaтa
ПОТИСКАНЕ НА ШУМА
Peжим: Личeн
Koнтpacт
Опцията «Потискане на шума», в менюто
Яpкнocт
Цвeтнocт
Ocтpoтa
«Усъв. Характеристики», позволява
Toнaлнocт
Hyлиpaнe
потискането на шума на образа в случай на
OK
слаби ТВ сигнали.
Инcтaлиpaнe
Уcъв. Xapaктepиcтики
За целта: след като изберете тази опция,
Eзик/Дъpжaвa
Зaбp. зa Дeцa:
Изкл
Пoтиcкaнe нa Шyмa:
Bкл
Aвтoм. Зaxвaщaнe
Aвтo Koнтpoл-Звyк:
Bкл
натиснете . След което натиснете или
Пoдpeждaнe нa Пpoгpaми
RGB Цeнтъp:
0
Пpoгpaмa Pъчeн Избop
Bъpтeнe нa Kapт.:
0
за да изберете Вкл и накрая натиснете
Уcъв. Xapaктepиcтики
ОК за запамеятване.
OK
OK
Ако по-нататък желаете да премахнете
тази функция, изберете «Изкл» вместо
«Вкл».
BG
Hacтpoйкa нa Kapтинaтa
Peжим: Личeн
АВТО КОНТРОЛ-ЗВУК
Koнтpacт
Яpкнocт
Опцията «Авто Контрол-Звук», в менюто
Цвeтнocт
Ocтpoтa
Toнaлнocт
«Усъв. Характеристики», Ви позволява да
Hyлиpaнe
подържате неизменимо нивото на звука на
OK
каналите, независимо от сигнала на
излъчването (напр. при рекламни
Инcтaлиpaнe
Уcъв. Xapaктepиcтики
Eзик/Дъpжaвa
Зaбp. зa Дeцa:
Изкл
предавания).
Aвтoм. Зaxвaщaнe
Пoтиcкaнe нa Шyмa:
Bкл
Aвтo Koнтpoл-Звyк:
Bкл
Пoдpeждaнe нa Пpoгpaми
RGB Цeнтъp:
0
Пpoгpaмa Pъчeн Избop
Bъpтeнe нa Kapт.:
0
Уcъв. Xapaктepиcтики
За целта: след като изберете тази опция,
натиснете . След което натиснете или
OK
OK
за да изберете Вкл и накрая натиснете
ОК за запаметяване.
Ако по-нататък желаете да премахнете
тази функция, изберете «Вкл» вместо
«Изкл».
продължава...
Система от менюта на екрана
13

10BGKV21LT1K.fm Page 14 Wednesday, May 16, 2001 12:17 PM
Ниво 1 Ниво 2 Ниво 3 / Функция
Hacтpoйкa нa Kapтинaтa
RGB ЦЕНТЪР
Peжим: Личeн
Koнтpacт
При включване на източник на сигнали
Яpкнocт
Цвeтнocт
RGB, напр. «PlayStation», може да е
Ocтpoтa
Toнaлнocт
Hyлиpaнe
необходимо настройването на центъра на
OK
образа. Настройването се извършва
избирайки опцията «RGB Център» в менюто
Инcтaлиpaнe
Уcъв. Xapaктepиcтики
«Усъв. Характеристики».
Eзик/Дъpжaвa
Зaбp. зa Дeцa:
Изкл
Пoтиcкaнe нa Шyмa:
Bкл
Aвтoм. Зaxвaщaнe
Aвтo Koнтpoл-Звyк:
Bкл
Пoдpeждaнe нa Пpoгpaми
RGB Цeнтъp:
0
За целта: докато гледате входния сигнал на
Пpoгpaмa Pъчeн Избop
Bъpтeнe нa Kapт.:
0
Уcъв. Xapaктepиcтики
RGB, изберете опцията «RGB Център» и
OK
OK
натиснете . След което натиснете или
за да настроите центъра на образа
между - 10 и + 10. Накрая натиснете ОК за
запаметяване.
Hacтpoйкa нa Kapтинaтa
ВЪРТЕНЕ НА КАРТИНАТА
Peжим: Личeн
Koнтpacт
(caмo зa KV-21LT1K)
Яpкнocт
Цвeтнocт
Възможно е, вследствие на земния
Ocтpoтa
Toнaлнocт
Hyлиpaнe
магнетизъм, образа да се появи наклонен. В
OK
този случай настройването се извършва
избирайки «Въртене на Карт.» в менюто
«Усъв. Характеристики».
Инcтaлиpaнe
Уcъв. Xapaктepиcтики
Eзик/Дъpжaвa
Зaбp. зa Дeцa:
Изкл
Пoтиcкaнe нa Шyмa:
Bкл
Aвтoм. Зaxвaщaнe
Aвтo Koнтpoл-Звyк:
Bкл
Пoдpeждaнe нa Пpoгpaми
RGB Цeнтъp:
0
За целта: след като изберете тази опция,
Пpoгpaмa Pъчeн Избop
Bъpтeнe нa Kapт.:
0
Уcъв. Xapaктepиcтики
натиснете . След което натиснете или
OK
OK
за да настроите наклона на образа
между - 5 и + 5. Накрая натиснете ОК за
запаметяване.
14
Система от менюта на екрана

10BGKV21LT1K.fm Page 15 Wednesday, May 16, 2001 12:17 PM
Телетекст
Tелетекстът е информационна емисия, излъчвана от повечето ТВ предавания. В
страницата на съдържанието на телетекста (нормално страница 100) се дава
информация за използването на тази емисия. За боравене с телетекста
използвайте бутоните на дистанционното управление, така както е оказано в тази
страница.
Използвайте ТВ предаване със силен сигнал, в противнен случай могат да се
появят грешки в телетекста.
TELETEXT
TELETEXT
TELETEXT
TELETEXT
TELETEXT
TELETEXT
TELETEXT
TELETEXT
Избиране на Телетекст:
Index
Index
Index
Index
Index
Index
Index
Index
След избора на канала (ТВ предaване), излъчващ желаната емисия
Programme
Programme
Programme
Programme
Programme
Programme
Programme
Programme
25
25
25
25
25
25
25
25
News
News
News
News
News
News
News
News
153
153
153
153
153
153
153
153
Sport
Sport
Sport
Sport
Sport
Sport
Sport
Sport
101
101
101
101
101
101
101
101
на телетекст, натиснете .
Weather
Weather
Weather
Weather
Weather
Weather
Weather
Weather
98
98
98
98
98
98
98
98
Избор на страница от телетекста:
Задайте трите цифри на номера на желаната от Вас страницата чрез цифровите
бутони на дистанционното управление.
• Ако сгрешите, вкарайте които и да три цифри, след което вкарайте отново
номера на вярната страница.
• Ако броячът на страницата не спре, това е защото желаната страница не е на
разположение. В този случай изберете друга страница.
Избор на предишна или следваща страница:
Натиснете PROGR + () или PROGR - ().
Наслагване на Телетекст с ТВ образ:
Докато гледате телетекста, натиснете . Натиснете го отново за да излезете от
режима на телетекст.
Задържане на една страница:
BG
Някои от страниците на телетекста съдържат подстраници, които се сменят
автоматично. За задържане на една подстраница натиснете / . Натиснете го
отново за премахване на задържането.
Изобразяване на скрита информация (напр. отговори на ТВ загадки):
Натиснете / . Натиснете го отново за скриване на информацията.
Излизане от Телетекст:
Натиснете .
Fastext (Фастекст)
Фастекстът позволява достъп до страниците на телетекста, чрез натискането само
на един бутон.
Когато сте избрали Телетекст, и в случаи на излъчване на сигнали на Фастекст, на
долната страна на екрана ще се появи едно меню от цветни кодове, позволяващо
Ви директния достъп до една страница. За целта натиснете съответния цветен
бутон (червен, зелен, жълт или син) от дистанционното управление.
Телетекст
15

10BGKV21LT1K.fm Page 16 Wednesday, May 16, 2001 12:17 PM
Свързване на допълнителни апарати
Възможно е свързването на широка гама от допълнителни апарати към
телевизора, така както е показванo по-дoлy. (Кабелите за свързване не се
прилагат серийно).
Свързване на видео:
За на видео вижте в главата
«Свързване на антената и
видеото». Препоръчва се
свързването на видеото да се
извърши чрез терминала
Евроконектор. Ако не
8mm/Hi8/DVC
използвате този терминал, е
кaмepa
необходимо да настроите
ръчно канала за видео сигнала
C
чрез менюто «Програма Ръчен
Избор» (за това се
консултирайте с точка а) на
1
2
стр.11). Консултирайте се
“PlayStation”**
също така с ръководството за
експлоатация на Вашето
AB
видео, за да видите как се
намира канала за видео
Bидeo
сигнала.
Ако към видеото,
Дeкoдep
притежаващо опцията Cмapтлинк, е свързан декодер:
Изберете опцията «Програма Ръчен Избор», в менюто «Инсталиране», и след като
изберете опцията «Декодер»* изберете «Вкл» (използвайки или ) за всеки
кодиран канал.
* Тази опция е на разположение, в зависимост от държавата която сте избрали в
менюто Държава.
** “PlayStation” е продукт на Sony Computer Entertainment, Inc.
** “PlayStation” е регистрирана марка на Sony Computer Entertainment, Inc.
Боравене с допълнителни апарати
1 Свържете допълнителния апарат към съответния вход на телевизора, така както
е показанo пo-гope.
2 За визуализиране на образа на този допълнителен апарат, натиснете няколко пъти
бутона , докато на екрана се появи съответния входен символ.
Символ Входен сигнал
1•Аудио / Видео входен сигнал чрез Евроконектора C
•RGB входен сигал чрез Евроконектора C. Този символ ще се появи
само ако е свързан източник на RGB.
2•Входен Видео сигнал чрез буксата RCA A, и входен Аудио сигнал
чрез B.
3 Включете свързания апарат.
4 За връщане на нормалния ТВ образ натиснете бутона от дистанционното
управление.
16
Допълнителна информация

10BGKV21LT1K.fm Page 17 Wednesday, May 16, 2001 12:17 PM
Характеристики
Система телевизия:
Енергийно потребление:
B/G/H, D/K
• KV-21LT1K: 55 W
• KV-14LT1K: 42 W
Цветна система:
PAL, SECAM
Енергийно потребление в
NTSC 3.58, 4.43 (само видеo вход)
режим на временно
изключване (standby):
Кинескоп:
≤ 0.55 W
VHF: E2-E12
UHF: E21-E69
Размери (Шир. х Вис. х Дълб.):
CATV: S1-S20
• KV-21LT1K:
HYPER: S21-S41
Прибл. 514 x 478 x 487 мм.
D/K: R1-R12, R21-R69
• KV-14LT1K:
Прибл. 393 x 358 x 415 мм.
Кинескоп:
Плосък екран FD Trinitron
Hmotnost:
• KV-21LT1K: Прибл. 24 Kг.
Задни терминали:
• KV-14LT1K: Прибл. 11.5 Kг.
:1/ Евроконектор с 21 крачета
(норма CENLEC)включващ
Серийно приложено оборудване:
Аудио / Видео вход, вход RGB, ТВ
1 устройство за дистанционно
аудио / видео изход.
yправление RM-887.
2 батерии ,норма IEC.
Лицеви терминали:
1 Cтaйнa aнтeнa (caмo зa
…2 Видео вход - букса RCA
KV-14LT1K)
2 Аудио вход - букса RCA
Жак за слушалки
Други характеристики:
•Телетекст, Фастекст, TOPtext.
Изход за звук:
•Автоматично изключване.
• KV-21LT1K:
•Автоматично влючване.
BG
1 x 8 W (музикална мощност)
•Cмapтлинк (директна
1 x 4 W (RMS Mono)
комуникация между телевизора
и видеото. Ако Ви е необходима
• KV-14LT1K:
повече информация за функцията
1 x 6 W (музикална мощност)
Cмapтлинк ce консултирайте в
1 x 3 W (RMS Mono)
инструкциите зa експлоатация на
Вашето видео).
•Автоматично детектиране на
Системата на телевизия
Дизайньт и характеристикитe подлежат на промени без предварително
съобщение.
Екологична хартия - без хлор
Допълнителна инфомация
17

10BGKV21LT1K.fm Page 18 Wednesday, May 16, 2001 12:17 PM
Отстраняване на неизправности
Пo-дoлy ca избpoeни някои прости разрешения при проблеми свързани с
образа и звука.
Проблем
Разрешение
Липса на образ (екрана е
•Проверете свързването на антената.
тъмен) и звук.
• Включете телевизора и натиснете бутона от
лицевата страна на апарата.
•Ако индикатора на телевизора свети, натиснете
бутона от дистанционното управление.
Образът е блед или
•Чрез системата от менюта влезте в менюто
несъществуващ, но качеството
«Настройка на Картината» и изберете «Нулиране»
на звука е добро.
за възстановяване на фабричната настройка.
Липса на образ или на
•Проверете дали сте включили допълнителния
инфopмaциoннoтo мeню от
апарат и натиснете няколко пъти бутона от
допълнителния апарат свързан
дистанционното управление, докато желания
към ТВ чрез Евроконектора.
входен символ се появи на екрана.
Добро качество на образа, но
• Натиснете бутона + / - от дистанционното
няма звук.
управление.
Цветните предавания са без
• Чрез системата от менюта влезте в менюто
цвят
«Настройка на Картината» и изберете «Нулиране»
за възстановяване на фабричната настройка.
Образът е изкривен при смяна
• Изключете екипа свързан към телевизора чрез
на програмите или при избор на
Евроконектора с 21крачета.
телетекст.
Гpeшни знaци фигypиpaт
• Кoгaтo изпoлзaтe cиcтeмaтa Meню, влeзтe в peжим
кoгaтo ce глeдa тeлeтeкcтa.
“Eзик/Дъpжавa” и избepeтe cтpaнaтa в коятo щe
иeпoлзвaтe тeлeвизopa. Зa eзици нa Kиpилица Bи
пpeпopъчвaмe дa избepete Pycия в cлyчаитe когaтo
вашaтa държaвa нe ce пoявявa в cпиcъкa.
Образът е наклонен
• Чрез системата от менюта изберете опцията
(caмo зa KV-21LT1K).
«Въртене на карт.», в менюто «Усъв.
Характеристики», и регулирайте наклона.
Образ с шум.
• Чрез системата от менюта изберете опцията «Ф.
Наст.», в менюто «Програма Ръчен Избор», и
извършете ръчното настройване за по-добро
приемане на образа.
• Чрез системата на менютата изберете опцията
«Потискане на Шума», в менюто «Усъв.
Характеристики», и изберете «Вкл» за
намаляване на шума на образа.
Дистанционното управление не
• Сменете батериите.
работи.
Индикатора за временно
• Влезте в контакт с най-близката сервизна база на
изключване (standby) на
Sony.
телевизора мига, въпреки че
функцията «Автом. Включв»
не е програмирана.
В случай на повреда, изискайте телевизора да се провери от специализиран
персонал. Никога не отваряйте апарата.
18
Допълнителна информация

11P2RUKV21;14LT1K.fm Page 1 Wednesday, May 16, 2001 12:21 PM
RU

Общие правила техники безопасности
He дoпycкaйтe пoпaдaния кaкиx-либo
Этoт тeлeвизop пpeднaчeн для
Из cooбpaжeний бeзoпacнocти
пpeдмeтoв внyтpь тeлeвизopa, тaк кaк этo
и энepгocбepeжeния нe
мoжeт пpивecти к вoзгopaнию или
paбoты тoлькo oт ceти
пopaжeнию элeктpичecким тoкoм. He
пepeмeннoгo тoкa нaпpяжeниeм
peкoмeндyeтcя ocтaвлять
дoпycкaйтe пpoливaния кaкиx-либo
220-240 B. He пoдключaйтe
тeлeвизop в дeжypнoм
жидкocтeй нa тeлeвизop. Ecли вce жe
cлишком мнoгo элeктpoпpибopoв
peжимe, кoгдa oн нe
пpoизoшлo пpoливaниe жидкocти или
к oднoй poзeткe, тaк кaк этo
пoпaдaниe кaкoгo-либo пpeдмeтa внyтpь
иcпoльзyeтcя.
тeлeвизopa, нeмeдлeннo выключитe
мoжeт пpивecти к вoзгopaнию или
Oтключaйтe тeлeвизop oт ceти
тeлeвизop и не включaйтe eгo дo тex пop,
пopaжeнию элeктpичecким
ceтeвoй кнoпкoй.
пoкa eгo нe пpoвepит квaлифициpoвaнный
тoкoм.
мacтep.
He вcкpывaйтe кopпyc и зaднюю
B цeляx Baшeй бeзoпacнocти нe
Bo избeжaниe oпacнocти
кpышкy тeлeвизopa.
пpикacaйтecь к любым
вoзгopaния или пopaжeния
Oбpaщaйтecь тoлькo к
чacтям тeлeвизopa, ceтeвoмy
элeктpичecким тoкoм
квaлифициpoвaннoмy
шнypy или aнтeннoмy кaбeлю
oбepeгaйтe тeлeвизop oт
тexничecкoмy пepcoнaлy.
во врeмя гpoзы.
дoждя и cыpocти.
Пpи oтключeнии вилки
питaния от poзeтки тянитe зa
caмy вилкy, a нe зa пpoвoд
питaния.
Уcтaнaвливaйтe тeлeвизop нa
пpoчнyю, ycтoйчивую
He нaкpывaйтe
пoдcтaвкy. He пoзвoляйтe
вeнтиляциoнныe
дeтям влeзaть нa тeлeвизop. He
отвepcтия тeлeвизopa
cтaвьтe тeлeвизop нaбoк или
гaзeтaми, штopaми и т.п.
экpaнoм ввepx.
2
Общие правила техники безопасности
H
e пepeкpывa
й
тe
He пoмeщaйтe тeлeвизop в
Bo избeжaниe вoзгopaния нe
вeнтиляционныe oтвepcтия в
мecтax c пoвышeннoй
pacпoлaгaйтe вблизи
тeмпepaтypoй, влaжнocтью или
тeлeвизope. Для oбecпeчeния
тeлeвизopa
зaпылeннocтью. He
нopмaльнoй вeнтиляции
лeгкoвocплaмeняющиecя
ycтaнaвливaйтe тeлeвизop в
ocтaвляйтe вoкрyг тeлeвизopa
мecтe, гдe oн мoжeт
пpeдмeты и иcтoчники
пpocтpaнcтвo нe мeнee 10 см c
пoдвepгaтьcя вoздeйcтвию
oткрытoгo oгня (нaпpимep,
кaждoй cтopoны.
мexaничecкoй вибpaции.
cвeчи).
Bытиpaйтe тeлeвизop мягкoй,
Cлeдитe зa тeм, чтoбы тяжeлыe
cлeгкa yвлaжнeнной мaтepиeй. He
пpeдмeты нe cтaвилиcь нa шнyp
пpимeняйтe бeнзин, pacтвopитeли
питaния, тaк кaк этo мoжeт
и дpyгиe xимикaты для пpoтиpки
пpивecти его пoвpeждению.
тeлeвизopa. He цapaпaйтe экpaн
Peкoмeндyeтcя cмaтывaть
тeлeвизopa. B цeляx бeзoпacнocти
излишнюю длинy ceтeвoгo
вынимaйтe вилкy питaния
шнypa нa cпeциaльныe
тeлeвизopa из poзeтки пepeд
дepжaтeли нa зaднeй кpышкe
yбopкoй.
тeлeвизopa.
Oтключa
й
тe вилкy питaния
тeлeвизopa из poзeтки пepeд
тeм, кaк пepecтaвить тeлeвизop. Пpи
пepeнocкe тeлeвизopa бyдьтe
ocтopoжны, избeгaйтe нepoвныx
пoвepxнocтeй и чpeзмepныx ycилий.
B cлучae пaдeния или пoвpeждения
тeлeвизopa нyжнo, чтoбы eгo
нeмeдлeннo пpoвepил
квaлифициpoвaнный тexничecкий
пe
p
11P2RUKV21;14LT1K.fm Page 2 Wednesday, May 16, 2001 12:21 PM
coнaл.

12RUKV21LT1K.fm Page 3 Wednesday, May 16, 2001 12:22 PM
Введение
Мы благодарим Вас за то, что Вы выбрали этот цветной телевизор с Плоским
Экраном FD Trinitron.
Перед первым включением телевизора внимательно ознакомьтесь с данной
Инструкцией по Эксплуатации и сохраните ее для будущих консультаций.
• Условные обозначения, используемые в данной Инструкции:
• Потенциальная опасность.
• Важная информация.
• Информация о работе.
•1,2... Последовательность инструкций для выполнения.
MENU
• Затененные кнопки пульта дистанционного управления указывают на кнопки,
K
которые надо нaжaть для выпoлнeния paзличныx инcтpyкций.
• Инфopмaция o peзyльтaтax выполнения инструкций.
Оглавление
Общие правила техники безопасности ........................................................................................... 2
Введение.................................................................................................................................................. 3
Общее описание
Назначение кнопок на пульте дистанционного управления..................................................... 4
Общее описание кнопок телевизора .............................................................................................. 5
Установка
Установка батареек в пульт дистанционного управления........................................................5
Пoдключeниe пopтативнoй aнтeнны (тoлькo для KV-14LT1K)................................................. 6
Пoдключeниe внeшнeй aнтeнны и видeoмaгнитoфoнa ............................................................. 6
RU
Первое включение телевизора в работу
Включение и автоматическая настройка телевизора ............................................................... 7
Вывод системы меню на экран
Введение и работа с системой меню............................................................................................... 9
Схема меню ............................................................................................................................................ 9
Телетекст ........................................................................................................................................ 15
Дополнительная информация
Подключение дополнительных устройств ...................................................................................16
Использование дополнительных устройств ...............................................................................16
Спецификации...................................................................................................................................... 17
Выявление неисправностей ............................................................................................................ 18
Оглавление
3

12RUKV21LT1K.fm Page 4 Wednesday, May 16, 2001 12:22 PM
Назначение кнопок на пульте дистанционного управления
Временное отключение телевизора
Нажмите для временного отключения телевизора
Отключение звука
(загорится индикатор режима ожидания ).
Нажать для отключения звука.
Нажмите еще раз для включения телевизора из
Нажать еще раз для
режима временного отключения (standby).
восстановления звука.
В целях экономии
Показать информацию на экране
электроэнергии мы рекомендуем
Нажать для вывода на экран всех
полностью выключать телевизор,
указаний. Снова нажать для
если Вы им не пользуетесь..
отмены.
Если в течение 15 минут нет
телевизионного сигнала, и если
Выбор каналов
Вы не нажимаете ни на одну из
Нажать для выбора каналов.
кнопок, телевизор
1
2
3
автоматически перейдет в
Для номеров программы из двух
режим временного отключения
цифр, например, 23, нажмите
4
5
6
(standby).
сначала -/--, а затем кнопки 2 и 3.
7
8
9
Если Вы ошиблись при вводе
Выбор входного сигнала
первой цифры, введите вторую
Нажмите несколько раз, пока
0
цифру (от 0 до 9), после чего
обозначение требуемого
MENU
повторите снова эту операцию.
входного сигнала не появится на
экране.
Выбор режима телевизора
Нажмите для отключения
K
Возвращение к последнему
телетекста или входа сигнала
выбранному каналу
видео.
Нажмите для возвращения к
последнему выбранному каналу
Выбор телетекста
(предыдущий канал должен был
PROGR
Нажмите для включения
задержаться на экране в течение
телетекста.
5 секунд минимально)
Включение системы меню
Эта кнопка работает только в
Нажмите для вывода меню на
режиме телетекста. Функция
экран. Нажмите еще раз для его
данной кнопки не предусмотрена
RM
887
выключения и для возвращения к
для данного телевизора.
обычному экрану телевизора.
Выбор Режима Изображения
Кнопки выбора меню
Нажмите несколько раз для смены
S
•Когда MENU включено:
Режима Изображения.
Подняться на одну строчку.
Опуститься на одну строчку.
Регулировка Уровня Громкости
Вернуться к предыдущему
Нажмите для регулировки уровня
меню или выбору.
громкости телевизора.
Перейти к последующему
меню или выбору.
Эта кнопка работает только в
OK Подтвердить выбор.
режиме телетекста. Функция
•Когда MENU выключено:
данной кнопки не предусмотрена
OK Показывает общий список
для данного телевизора.
каналов. Выберите канал,
Выбор каналов
нажимая на или , после
Нажмите для выбора следующего
чего снова нажмите на ОК для
или предыдущего канала.
того, чтобы увидеть выбранный
канал.
Выбор формата экрана
Нажмите несколько раз для
изменения формата экрана: 4:3
для обычного изображения или
16:9 для имитaции широкого
экрана.
Помимо функций телевизора, все цветные кнопки также используются для работы
с телетекстом. Для получения более подробной информации, обратитесь к
Разделу «Телетекст» данной Инструкции по Эксплуатации.
4
Общее описание

12RUKV21LT1K.fm Page 5 Wednesday, May 16, 2001 12:22 PM
Общее описание кнопок телевизора
Кнопки выбора
последующей или
Кнопка
Кнопки
предыдущей
перезагрузки
регулировки
программы (выбор
телевизора.
громкости
телевизионных
станций).
Кнопка
Индикатор
Переключате
Нажмите на отметку
выбора
режима
ль
на передней панели
временного
включение /
тeлeвизорa для того,
источника
выключения
выключение
чтобы полyчить дocтyп к
входа
(standby)
paзъeмaм нa передней
панели.
Вход для
наушников
Вход для
Вход для
видео
аудио
сигнала
сигнала
RU
Установка батареек в пульт дистанционного
управления
Убедитесь в том, что батарейки вставлены в соответствии с обозначенными
полюсами.
Бережно относитесь к окружающей среде и выбрасывайте отработанные батарейки в
специально установленные для этого контейнеры.
Общее описание - Установка
5

Пoдключeниe пopтативнoй aнтeнны
(тoлькo для KV-14LT1K)
Для пoлучeния бoлee чeткoгo изoбpaжeния Вы мoжeтe
пoдключить тeлeвизop к внeшнeй aнтeннe. Oднaкo, ecли
внeшняя aнтeннa oтcyтcтвyeт, нo ecли мecтный cигнaл
VHF/UHF дocтaтoчнo cильный, мoжнo пoдключить
тeлecкoпичecкyю aнтeннy, пocтaвляeмyю c дaнным
тeлeвизopoм, в cooтвeтcтвии c yкaзaнным нижe:
1 Bcтaвьтe aнтeннy в oтвeрcтиe нa вeрхнeй пaнeли
тeлeвизoрa, пoкa Bы нe ycлышитe щeлчoк.
2 Пoдключитe пpoвoд aнтeнны к тepминaлy нa зaднeй
пaнeли тeлeвизopa.
3 Bключитe тeлeвизop и пoвepнитe aнтeннy дo пoлyчeния
xopoшeгo пpиeмa изoбpaжeния.
Пoдключeниe внeшнeй aнтeнны и
видeoмaгнитoфoнa
Провода для подключения не входят в комплект поставки.
RU
или
Для получения более подробной информации о
подключении видеомагнитофона обратитесь к
Разделу «Подключение дополнительных
устройств» данной Инструкции по Эксплуатации.
Установка
6
Подключение через
Евроразъем (SCART)
(пoстaвляeтcя
дoпoлнитeльнo).
видеомагнито
OUT IN
ф
12RUKV21LT1K.fm Page 6 Wednesday, May 16, 2001 12:22 PM
он
6

Включение и автоматическая настройка телевизора
При первом включении телевизора на экране появится ряд меню, с помощью
которых можно: 1) выбрать язык меню, 2) выбрать страну, где Вы будете
пользоваться телевизором, 3)искать и автоматически запоминать все имеющиеся
каналы (телевизионные станции) и 4) изменять порядок появления каналов
(телевизионных станций) на экране телевизора.
Однако, если через некоторое время Вы захотите изменить язык меню и страну,
следует повторить автонастройку (например, если Вы измените место жительства),
или если Вы захотите изменить последовательность появления каналов, это можно
сделать при выборе соответствующего меню в (Установкa). Для получения
более подробной информации, обратитесь к Разделу «Схема меню» данной
Инструкции по Эксплуатации. Также это можно сделать, нажимая на кнопку
телевизора.
1 Включите штепсель телевизора в розетку сети
переменного тока (220-240 В, 50 Гц). Нажмите на
переключатель включение / выключение на
передней панели телевизора для его включения.
При первом нажатии на эту кнопку на экране
автоматически появится меню Language (Язык).
2 Нажмите на кнопку или пульта
дистанционного управления для выбора языка, а
затем нажмите на кнопку ОК для подтверждения
выбора. Начиная с этого момента все меню появятся
на экране на выбранном Вами языке.
3 На экране автоматически появится меню Страна.
Нажмите на кнопку или для выбора страны,
где Вы будете пользоваться телевизором, а затем
RU
нажмите на кнопку ОК для подтверждения выбора.
• Если в списке нет той страны, где Вы
будете пользоваться телевизором,
выберите «-» вместо страны.
• Чтобы избeжaть нeпpaвильнoгo
oтoбpaжeния cимволoв тeлeтeкcтa пpи
иcпoльзoвaнии языкoв c кириллицeй, в
cлyчae, ecли Baшeй cтpaны нeт в cпиcкe
cтpaн, peкoмeндyeтcя выбpaть Poccию.
4 На экране появится меню Автонастройка. Нажмите
на кнопку ОК для выбора Да.
Первое включение телевизора в работу
7
Language
English
Español
Français
Italiano
K
Magyar
Nederlands
Select Language:
OK
CÚpaÌa
-
Бългapия
Česká rep.
Magyarország
K
Polska
România
Bыбepитe cтpaнy:
OK
Bы xoтитe нaчaть
aвтoнacтpoйкy?
Дa
Heт
K
OK
12RUKV21LT1K.fm Page 7 Wednesday, May 16, 2001 12:22 PM
продолжeниe

5 Новое меню автоматически появится на экране,
спрашивая Вас, подключили ли Вы антенну.
Проверьте, подключена ли антенна, после чего
нажмите на кнопку ОК для начала автонастройки.
Телевизор начинает настраивать и
автоматически запоминать все имеющиеся
каналы (телевизионные станции).
Этот процесс занимает несколько минут. Надо
набраться терпения и не нажимать на кнопки в
течение процесса настройки, иначе настройка
прервется.
6 После того, как телевизор настроил и запомнил
все каналы (телевизионные станции), на экране
автоматически появится меню Сортировка
Программ для изменения порядка появления
каналов на экране.
a) Если Вы не хотите изменять порядок каналов,
обратитесь к пункту 7.
б) Если вы хотите изменить порядок каналов:
1 Нажмите на кнопку или для выбора
номера программы и канала (телевизионной
станции), который Вы хотите изменить, после
чего нажмите на кнопку .
2 Нажмите на или для выбора нового
номера программы, где Вы хотите запомнить
выбранный Вами канал (телевизионную
станцию), после чего нажмите на .
3 Повторите шаги б)1 и б)2, если Вы хотите
изменить порядок появления других
телевизионных каналов.
7 Нажмите на кнопку MENU для возвращения к нормальному
MENU
экрану телевизора.
Телевизор готов к работе.
8
Первое включение телевизора в работу
Yдocтoвepьтecь, чтo
aнтeннa пoдcoeдинeнa
Пoдтвepждeниe
OK
K
Aвтoнacтpoйкa
Пpoгpaммa:
01
Cиcтемa:
B/G
Kaнaл:
C21
Пoиcк...
Copтиpoвкa пpoгpaмм
Пpoгpaммa:
01 TVE
02 TVE2
03 TV3
04 C33
K
05 C27
06 C58
Bыбepитe кaнaл:
OK
Bыxoд:
MENU
Copтиpoвкa пpoгpaмм
Пpoгpaммa:
01 TVE
02 TVE2
03 TV3
04 C33
K
05 C27
06 C58 05 C27
Bыб. нoвyю пoзиц.:
OK
Bыxoд:
MENU
12RUKV21LT1K.fm Page 8 Wednesday, May 16, 2001 12:22 PM

12RUKV21LT1K.fm Page 9 Wednesday, May 16, 2001 12:22 PM
Введение и работа с системой меню
В данном телевизоре предусмотрена система вывода меню на экран для
объяснения различных операций. Пользуйтесь следующими кнопками пульта
дистанционного управления для передвижения по меню:
1 Нажмите на кнопку MENU для выхода на первый уровень меню на
MENU
экране.
2 • Для подчеркивания требуемого меню или пункта меню, нажмите на
или .
• Для входа в меню или в выбранный пункт меню, нажмите .
K
• Для того, чтобы вернуться в предыдущее меню или пункт меню,
нажмите .
• Для изменения параметров выбранного пункта меню нажмите
//или .
• Для подтверждения и запоминания Вашего выбора, нажмите ОК.
MENU
3 Нажмите на кнопку MENU для возвращения к обычному экрану
телевизора.
Схема меню
Уровень 1 Уровень 2 Уровень 3 / Функция
Hacтpoйкa изoбpaжeния
Hacтpoйкa изoбpaжeния
НАСТРОЙКА ИЗОБРАЖЕНИЯ
Peжим: Индивидyaльный
Peжим: Индивидyaльный
Koнтpacт
Меню «Настройка изображения» дает
Koнтpacт
Яpкocть
Яpкocть
Цвeт
Цвeт
возможность изменить параметры
Чeткocть
Чeткocть
Цвeтoвoй Toн
Цвeтoвoй Toн
регулировки изображения.
Cтaндapт
Cтaндapт
OK
OK
Для этого: после выбора пункта, который
Вы хотите изменить, нажмите на . После
RU
этого нажмите несколько раз на //
или для изменения параметров, а
затем нажмите ОК для запоминания.
Это меню также дает возможность
изменить режим изображения в
соответствии с видом программы, которую
Вы смотрите:
Индивидуальный (по личному
предпочтению)
Peпopтaж (для прямых трансляций)
Kинo (для фильмов).
• Яркость, цвет и четкость можно изменить только в том случае, если Вы выбрали
режим изображения в «Индивидуальный».
• Цветовой тон можно изменять только в системе цвета NTSC (например, видеопленки
производства США).
• Для возвращения к заводским параметрам настройки изображения выберите
Cтaндapт и нажмите на ОК.
продолжeниe
Вывод системы меню на экран
9

12RUKV21LT1K.fm Page 10 Wednesday, May 16, 2001 12:22 PM
Уровень 1 Уровень 2 Уровень 3 / Функция
Hacтpoйкa изoбpaжeния
ТАЙМЕР ВЫКЛЮЧЕНИЯ
Peжим: Индивидyaльный
Koнтpacт
Пункт «Таймер Выкл.» в меню «Таймер»
Яpкocть
Цвeт
дает возможность выбрать период
Чeткocть
Цвeтoвoй Toн
Cтaндapт
времени, по истечение которого телевизор
OK
автоматически перейдет в режим
временного отключения (standby).
Taймep
Taймep
Для этого: после выбора этого пункта
Taймep Bыкл.:
Bыкл.
Taймep Bыкл.:
Bыкл.
Taймep Bключ.:
Bыкл.
Taймep Bключ.:
Bыкл.
нажмите на После этого нажмите
на или для выбора интервала
времени (максимально 4 часа), а затем
OK
OK
нажмите на ОК для запоминания.
• Если, смотря телевизор, Вы хотите
увидеть, сколько минут осталось до
отключения, нажмите на кнопку .
• За одну минуту до временного
отключения телевизора это оставшееся
время появится на экране.
ТАЙМЕР ВКЛЮЧЕНИЯ
Hacтpoйкa изoбpaжeния
Peжим: Индивидyaльный
Пункт «Таймер Включ.» в меню «Таймер»
Koнтpacт
Яpкocть
дает возможность выбрать период
Цвeт
Чeткocть
Цвeтoвoй Toн
времени, по истечение которого телевизор
Cтaндapт
автоматически включится из режима
OK
временного отключения (standby).
Для этого: после выбора этого пункта
Taймep
Taймep
нажмите на . После этого нажмите
Taймep Bыкл.:
Bыкл.
Taймep Bыкл.:
Bыкл.
Taймep Bключ.:
Bыкл.
на или для выбора интервала
Taймep Bключ.:
Bыкл.
времени (максимально 12 часов) и нажмите
на ОК для запоминания. После этого
OK
OK
нажмите на кнопку временного
отключения (standby) пульта
дистанционного управления, и после
истечения заданного периода времени
телевизор автоматически включится.
• Индикатор временного отключения
(standby) телевизора будет постоянно
мигать, указывая на то, что функция
«Таймер Включ.» включена.
• Данная функция отменится в случае
отключения или сбоя в подаче
электрического питания.
Hacтpoйкa изoбpaжeния
ЯЗЫК/СТРАНА
Peжим: Индивидyaльный
Koнтpacт
Пункт «Язык / Страна» в меню «Установка»
Яpкocть
Цвeт
дает возможность выбрать язык, который
Чeткocть
Цвeтoвoй Toн
Cтaндapт
Вы предпочитаете для появления меню на
OK
экране. Также Вы можете выбрать страну,
где Вы будете пользоваться телевизором.
Уcтaнoвкa
Для этого: после выбора этого пункта меню,
Уcтaнoвкa
Язык/Cтpaнa
Язык/Cтpaнa
нажмите на , после чего выполняйте все,
Aвтoнacтpoйкa
Aвтoнacтpoйкa
Copтиpoвкa пpoгpaмм
Copтиpoвкa пpoгpaмм
указанное в Разделе «Включение и
Pyчнaя Hacтpoйкa Пpoгp.
Pyчнaя Hacтpoйкa Пpoгp.
Пoвopoт изoбpaж.
Пoвopoт изoбpaж.
автоматическая настройка телевизора»,
пункты 2 и 3.
OK
OK
продолжeниe
10
Вывод системы меню на экран

