Sony KV-14LT1K – page 4
Manual for Sony KV-14LT1K
Table of contents

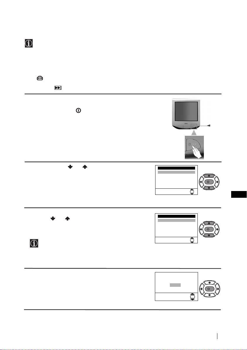
Włączanie telewizora i automatyczne programowanie
Gdy telewizor zostanie włączony po raz pierwszy na ekranie pojawią się menu dzięki
którym można: 1) wybrać język w którym wyświetlane będą wszystkie menu, 2) wybrać
kraj w którym używane będzie urządzenie, 3) odnaleźć i automatycznie zapisać wszystkie
dostępne kanały (stacje telewizyjne) i 4) zmienić kolejność w której kanały (stacje
telewizyjne) pojawiają się na ekranie.
Jeśli po jakimś czasie zaistnieje potrzeba zmiany języka w którym wyświetlane są menu,
kraju, automatycznego programowania (np. przy zmianie miejsca zamieszkania) lub
kolejności pojawiania się kanałów, można tego dokonać wybierając odpowiednie menu w
(Ustawianie). Szersza informacja znajduje się w rozdziale «Krótki przewodnik po
systemie menu” niniejszej instrukcji obsługi. Można również dokonać zmiany naciskając
przycisk telewizora.
1 Włącz przewód zasilający telewizora do gniazdka
sieciowego (220-240V AC, 50Hz). Naciśnij przycisk
włączony/wyłączony znajdujący się z przodu
telewizora, by włączyć urządzenie.
Gdy przycisk ten zostanie naciśnięty po raz pierwszy, na
ekranie automatycznie zostanie wyświetlone menu
Language (Język).
2 Naciśnij przycisk lub na pilocie by wybrać język, a
następnie naciśnij przycisk OK by potwierdzić wybór.
Od tego momentu wszystkie menu będą wyświetlane w
wybranym języku.
PL
3 Na ekranie pojawi się automatycznie menu Kraj. Naciśnij
przycisk lub by wybrać kraj w którym będzie
używany telewizor, a następnie naciśnij przycisk OK by
potwierdzić wybór.
Jeśli na liście nie ma kraju w którym będzie
używany telewizor , wybierz “-“ zamiast nazwy
kraju.
4 Menu Autoprogramowanie pojawi się na ekranie.
Naciśnij przycisk OK by wybrać opcję Tak.
Pierwsze uruchomienie telewizora
7
Language
English
Español
Français
Italiano
K
Magyar
Nederlands
Select Language:
OK
Kraj
-
Бългapия
Česká rep.
Magyarország
K
Polska
România
Wybór kraju:
OK
Czy chcesz rozpocząć
automatyczne programowanie?
Tak
Nie
K
OK
08PLKV21LT1K.fm Page 7 Wednesday, May 16, 2001 12:09 PM
kontynuuje...

5 Na ekranie automatycznie pojawi się nowe menu
przypominające o sprawdzeniu czy została podłączona
antena. Sprawdź czy antena została podłączona i
wówczas naciśnij przycisk OK by rozpoczęło się
automatyczne programowanie.
Telewizor rozpoczyna programowanie i
automatyczne zapisywanie wszystkich dostępnych
kanałów (stacji telewizyjnych).
Proces dostrajania może potrwać kilka minut.
Zachowaj cierpliwość i nie naciskaj żadnych
przycisków podczas jego trwania, gdyż w
przeciwnym wypadku nie zostałby on zakończony.
6 Gdy telewizor zaprogramuje i zapisze wszystkie
kanały (stacje telewizyjne), na ekranie pojawi się
automatycznie menu Sortowanie Programów by
można było zmienić kolejność pojawiania się
kanałów na ekranie.
a) Jeśli nie ma potrzeby zmiany kolejności programów,
przejdź do punktu 7.
b) Jeśli chcesz zmienić kolejność programów:
1 Naciśnij przycisk lub by wybrać numer
programu kanału (stacji telewizyjnej) którego
pozycję chcesz zmienić, a następnie naciśnij .
2 Naciśnij przycisk lub by wybrać nowy
numer programu na którym chcesz zapisać
wybrany kanał (stację telewizyjną) a następnie
naciśnij .
3 Powtórz kroki b)1 i b)2 by przyporządkować pozostałe
kanały telewizyjne.
7 Naciśnij przycisk MENU by przywrócić normalny obraz telewizyjny.
MENU
Telewizor jest gotowy do użytku.
8
Pierwsze uruchomienie telewizora
Sprawdź, czy antena jest
podłączona?
Potwierdź
OK
K
Autoprogramowanie
Program:
01
System:
B/G
Kanał:
C21
Wyszukiwanie...
Sortowanie Programów
Program:
01 TVE
02 TVE2
03 TV3
04 C33
K
05 C27
06 C58
Wybór kanału:
OK
Wyjście:
MENU
Sortowanie Programów
Program:
01 TVE
02 TVE2
03 TV3
04 C33
K
05 C27
06 C58 05 C27
Lokalizacja prog.:
OK
Wyjście:
MENU
08PLKV21LT1K.fm Page 8 Wednesday, May 16, 2001 12:09 PM

08PLKV21LT1K.fm Page 9 Wednesday, May 16, 2001 12:09 PM
Wprowadzenie do systemu menu na ekranie
Niniejszy telewizor dysponuje systemem menu wyświetlanym na ekranie by ułatwić
ustawianie poszczególnych funkcji. Używaj następujących przycisków na pilocie by
poruszać się po poszczególnych systemach menu:
1 Naciśnij przycisk MENU by został wyświetlony na ekranie pierwszy poziom
MENU
menu.
2 • By wybrać pożądaną pozycję lub opcję naciśnij przycisk lub .
• By wejść do wybranego menu lub jego opcji naciśnij przycisk .
• By powrócić do poprzedniego menu lub jego opcji naciśnij przycisk .
K
• By zmienić nastawienia wybranej opcji naciśnij przycisk
//lub .
• By potwierdzić i zapisać wybór naciśnij OK.
3 Naciśnij przycisk MENU by przywrócić normalny obraz telewizyjny.
MENU
Krótki przewodnik po systemie menu
Poziom 1 Poziom 2 Poziom 3 / Funkcja
PL
Regulacja Obrazu
REGULACJA OBRAZU
Regulacja Obrazu
Tryb: Własny
Tryb: Własny
Menu ”Regulacja obrazu” pozwala zmienić
Kontrast
Kontrast
Jasność
Jasność
Kolor
Kolor
nastawienia obrazu.
Ostrość
Ostrość
Odcień
Odcień
Zerowanie
W tym celu: po wybraniu opcji którą chcesz
Zerowanie
OK
OK
zmienić naciśnij przycisk . Następnie
kilkakrotnie naciśnij przycisk //
lub by zmienić ustawienie i na
zakończenie naciśnij OK by zapisać nowe
ustawienie.
Menu to pozwala również zmienić tryb obrazu
zgodnie z rodzajem oglądanego programu.
Własny (dla indywidualnych upodobań).
Żywy (dla programów nadawanych na
żywo)
Filmowy (dla filmów).
• Jasność, Kolor i Ostrość mogą zostać zmienione wyłącznie gdy tryb obrazu zostanie
nastawiony na opcję “Własny”.
• Odcień jest dostępny wyłącznie dla systemu koloru NTSC (np. taśmy video z USA).
• By przywrócić nastawienia fabryczne wybierz Zerowanie i naciśnij OK.
kontynuuje...
System menu na ekranie
9

08PLKV21LT1K.fm Page 10 Wednesday, May 16, 2001 12:09 PM
Poziom 1 Poziom 2 Poziom 3 / Funkcja
Regulacja Obrazu
TIMER WYŁĄCZENIE
Tryb: Własny
Kontrast
Opcja “Timer wył.” w menu “Timer”, pozwala
Jasność
Kolor
wybrać okres czasu po upływie którego
Ostrość
Odcień
telewizor automatycznie przełączy się na tryb
Zerowanie
czuwania (standby)..
OK
W tym celu: po wybraniu opcji naciśnij przycisk
. Następnie naciśnij lub by nastawić
Timer
Timer
Timer wył.:
Wył.
Timer wył.:
Wył.
okres czasu (najwyżej 4 godziny) i na
Timer wł:
Wył.
Timer wł:
Wył.
zakończenie naciśnij przycisk OK by zapisać
ustawienie.
OK
OK
• By został wyświetlony czas pozostający do
wyłączenia, oglądając telewizję naciśnij
przycisk .
• Minutę zanim telewizor się przełączy na tryb
czuwania, pozostający do tego momentu
czas zostanie automatycznie wyświetlony na
ekranie.
Regulacja Obrazu
TIMER WŁĄCZENIE
Tryb: Własny
Opcja “Timer Wł.” w menu “Timer”, pozwala
Kontrast
Jasność
Kolor
wybrać okres czasu po upływie którego
Ostrość
Odcień
telewizor włączy się automatycznie z trybu
Zerowanie
czuwania (standby).
OK
W tym celu: po wybraniu opcji naciśnij przycisk
. Następnie naciśnij lub by nastawić
Timer
Timer
okres czasu (najwyżej 12 godzin) i naciśnij
Timer wył.:
Wył.
Timer wył.:
Wył.
Timer wł:
Wył.
przycisk OK by zapisać ustawienie. Na
Timer wł:
Wył.
zakończenie naciśnij przycisk czasowego
wyłączenia (standby) na pilocie i po
OK
OK
wyznaczonym okresie czasu telewizor włączy
się automatycznie.
• Wskaźnik trybu czuwania (standby)
telewizora, regularnie miga wskazując, iż
nastawiona jest funkcja “Timer wł.”.
• Jakikolwiek błąd lub przerwa w dopływie
prądu anuluje ustawienie tej funkcji.
JĘZYK / KRAJ
Regulacja Obrazu
Tryb: Własny
Opcja “Język/Kraj” w menu “Ustawianie”,
Kontrast
Jasność
pozwala wybrać język w którym wszystkie
Kolor
Ostrość
menu będą wyświetlane na ekranie. Pozwala
Odcień
Zerowanie
również wybrać kraj w którym będzie używany
OK
telewizor.
W tym celu: po wybraniu opcji naciśnij przycisk
Ustawianie
Ustawianie
, a następnie postępuj tak jak jest to opisane
Język/Kraj
Język/Kraj
Autoprogramowanie
Autoprogramowanie
w rozdziale “Włączanie telewizora i
Sortowanie Programów
Sortowanie Programów
Programowanie Ręczne
Programowanie Ręczne
automatyczne programowanie”, w punktach 2 i
Zaawansowane Funkcje
Zaawansowane Funkcje
3.
OK
OK
kontynuuje...
10
System menu na ekranie

08PLKV21LT1K.fm Page 11 Wednesday, May 16, 2001 12:09 PM
Poziom 1 Poziom 2 Poziom 3 / Funkcja
AUTOPROGRAMOWANIE
Regulacja Obrazu
Tryb: Własny
Opcja“Autoprogramowanie” w menu
Kontrast
Jasność
“Ustawianie”, pozwala by telewizor odszukał i
Kolor
Ostrość
Odcień
zapisał wszystkie dostępne kanały (stacje
Zerowanie
telewizyjne).
OK
W tym celu: po wybraniu opcji naciśnij przycisk
, a następnie postępuj tak jak jest to opisane
Ustawianie
Ustawianie
w rozdziale “Włączanie telewizora i
Język/Kraj
Język/Kraj
Autoprogramowanie
Autoprogramowanie
automatyczne programowanie”, w punktach 4
Sortowanie Programów
Sortowanie Programów
Programowanie Ręczne
Programowanie Ręczne
i 5.
Zaawansowane Funkcje
Zaawansowane Funkcje
OK
OK
Regulacja Obrazu
SORTOWANIE PROGRAMÓW
Tryb: Własny
Kontrast
Opcja “Sortowanie programów” w menu
Jasność
Kolor
Ostrość
“Ustawianie”, pozwala zmienić kolejność w
Odcień
Zerowanie
jakiej kanały (stacje telewizyjne) pojawiają się
OK
na ekranie.
W tym celu: po wybraniu opcji naciśnij , a
następnie postępuj tak jak jest to opisane w
Ustawianie
Ustawianie
Język/Kraj
Język/Kraj
rozdziale “Włączanie telewizora i automatyczne
Autoprogramowanie
Autoprogramowanie
Sortowanie Programów
Sortowanie Programów
programowanie”, w punkcie 6 b).
Programowanie Ręczne
Programowanie Ręczne
Zaawansowane Funkcje
Zaawansowane Funkcje
OK
OK
PROGRAMOWANIE RĘCZNE
Regulacja Obrazu
Tryb: Własny
Opcja “Programowanie ręczne” w menu
Kontrast
Jasność
“Ustawianie”, pozwala:
Kolor
Ostrość
Odcień
PL
Zerowanie
a) Zaprogramować pojedyńczo i w dowolnym
OK
porządku wybrane kanały (stacje telewizyjne)
lub wejście video. W tym celu:
Ustawianie
Ustawianie
1 Po wybraniu opcji “Programowanie ręczne”
Język/Kraj
Język/Kraj
Autoprogramowanie
Autoprogramowanie
naciśnij przycisk . Po wybraniu opcji
Sortowanie Programów
Sortowanie Programów
Programowanie Ręczne
Programowanie Ręczne
Program, naciśnij przycisk , a
Zaawansowane Funkcje
Zaawansowane Funkcje
następnie lub by wybrać numer
OK
OK
programu (pozycję) pod którym chcesz
zapisać stację telewizyjną lub kanał video
Programowanie Ręczne
(dla kanału video radzimy wybrać numer
Program:
01
System:
B/G
programu “0”). Naciśnij .
Kanał:
C 21
Nazwaí:
--TVE
ARC:
Wł.
Pomiń:
Nie
2 Po wybraniu opcji System, naciśnij , a
Dekoder:
Wył.
Potwierdź
następnie lub by wybrać system
OK
nadawania (B/G dla Europy zachodniej, D/K
dla Europy wschodniej). Naciśnij .
kontynuuje...
System menu na ekranie
11

08PLKV21LT1K.fm Page 12 Wednesday, May 16, 2001 12:09 PM
Poziom 1 Poziom 2 Poziom 3 / Funkcja
3 Po wybraniu opcji Kanał naciśnij przycisk a
Regulacja Obrazu
Tryb: Własny
następni lub by wybrać rodzaj kanału
Kontrast
Jasność
(“C” dla kanałów naziemnych lub “S” dla kanałów
Kolor
Ostrość
Odcień
telewizji kablowej).
Zerowanie
Naciśnij . Następnie naciskaj przyciski
OK
numeryczne by bezpośrednio wprowadzić
numer kanału stacji telewizyjnej lub sygnału
Ustawianie
Ustawianie
kanału video. Nie znając numeru kanału
Język/Kraj
Język/Kraj
naciśnij przycisk lub by go odszukać.
Autoprogramowanie
Autoprogramowanie
Sortowanie Programów
Sortowanie Programów
Po znalezieniu kanału który chcesz zapisać
Programowanie Ręczne
Programowanie Ręczne
Zaawansowane Funkcje
Zaawansowane Funkcje
dwukrotnie naciśnij OK.
OK
OK
Powtórz poszczególne kroki by znaleźć i
zapisać więcej kanałów.
Programowanie Ręczne
Program:
01
System:
B/G
Kanał:
C 21
b) Nawet gdy automatyczne precyzyjne
Nazwaí:
--TVE
ARC:
Wł.
programowanie (ARC) jest stale włączone
Pomiń:
Nie
Dekoder:
Wył.
Potwierdź
można ręcznie programować by uzyskać
OK
lepszy odbiór obrazu gdyby pojawiły się
zakłócenia.
W tym celu: oglądając kanał (stację
telewizyjną) który chcesz precyzyjne
zaprogramować,
wybierz opcję ARC, a następnie naciśnij .
Naciśnij lub by nastawić poziom
częstotliwości kanału między -15 i +15. Na
zakończenie dwukrotnie naciśnij OK by
zapisać ustawienie.
c) Pomijać pozycje programów przy wybieraniu
kanałów przyciskami PROGR +/-.
W tym celu: po wybraniu opcji Program,
naciśnij PROGR + lub – aż pojawi się numer
programu który chcesz pominąć. Gdy pojawi
się on na ekranie wybierz opcję Pomiń, a
następnie naciśnij przycisk . Naciśnij
lub by wybrać Tak i na zakończenie
dwukrotnie naciśnij OK by zapisać ustawienie.
By anulować ustawienie tej funkcji wybierz
opcję “Nie” zamiast “Tak”.
d) Nadać kanałowi nazwę, składającą się z maks.
5 znaków
W tym celu: po wybraniu opcji Program,
naciśnij PROGR + lub – aż pojawi się numer
programu któremu chcesz nadać nazwę. Gdy
pojawi się on na ekranie wybierz opcję Nazwa,
a następnie naciśnij przycisk .
Naciśnij lub by wybrać literę, cyfrę lub “-
” by zostawić puste miejsce i naciśnij
przycisk by potwierdzić wybór znaku.
Pozostałe cztery znaki wybierz w ten sam
sposób. Po wybraniu wszystkich znaków
dwukrotnie naciśnij OK by zapisać
ustawienie.
kontynuuje...
12
System menu na ekranie

08PLKV21LT1K.fm Page 13 Wednesday, May 16, 2001 12:09 PM
Poziom 1 Poziom 2 Poziom 3 / Funkcja
BLOKADA
Regulacja Obrazu
Tryb: Własny
Opcja “Blokada” w menu “Zaawansowane
Kontrast
Jasność
Funkcje”, pozwala zablokować przyciski
Kolor
Ostrość
Odcień
telewizora. Dzięki ustawieniu tej funkcji, po
Zerowanie
OK
wyłączeniu telewizora przyciski telewizora
zostaną zablokowane, i będzie on działać
wyłącznie przy użyciu przycisków pilota.
Ustawianie
Zaawansowane Funkcje
Język/Kraj
Blokada:
Wył.
Autoprogramowanie
Redukcja zakłóceń:
Wł.
Autoregulacja Dźw.:
Wł.
W tym celu: po wybraniu opcji naciśnij przycisk
Sortowanie Programów
Centrowanie RGB:
0
Programowanie Ręczne
Obrót Obrazu:
0
. Następnie naciśnij lub by wybrać
Zaawansowane Funkcje
Wł. Naciśnij OK by zapisać ustawienie a na
OK
OK
zakończenie naciśnij przycisk
pilota.
By anulować ustawienie tej funkcji wybierz
opcję “Wył” zamiast “Wł”.
REDUKCJA ZAKŁÓCEŃ
Regulacja Obrazu
Tryb: Własny
Opcja “Redukcja zakłóceń” w menu
Kontrast
Jasność
Kolor
“Zaawansowane Funkcje”, pozwala
Ostrość
Odcień
zredukować zakłócenia obrazu w przypadku
Zerowanie
OK
słabych sygnałów TV.
W tym celu: po wybraniu opcji naciśnij przycisk
Ustawianie
Zaawansowane Funkcje
. Następnie naciśnij lub by wybrać Wł
Język/Kraj
Blokada:
Wył.
Redukcja zakłóceń:
Wł.
Autoprogramowanie
Autoregulacja Dźw.:
Wł.
i na zakończenie naciśnij OK by zapisać
Sortowanie Programów
Centrowanie RGB:
0
Programowanie Ręczne
Obrót Obrazu:
0
ustawienie.
Zaawansowane Funkcje
OK
OK
By anulować ustawienie tej funkcji wybierz
opcję “Wył” zamiast “Wł”.
PL
Regulacja Obrazu
AUTOREGULACJA DŹWIĘKU
Tryb: Własny
Kontrast
Opcja “Autoregulacja Dźw.” w menu
Jasność
Kolor
Ostrość
“Zaawansowane Funkcje” pozwala zachować
Odcień
Zerowanie
poziom głośności kanału niezależnie od
OK
sygnału stacji (np. w reklamach).
W tym celu: po wybraniu opcji naciśnij przycisk
Ustawianie
Zaawansowane Funkcje
Język/Kraj
Blokada:
Wył.
. Następnie naciśnij lub by wybrać
Autoprogramowanie
Redukcja zakłóceń:
Wł.
Autoregulacja Dźw.:
Wł.
Sortowanie Programów
Centrowanie RGB:
0
Wł i na zakończenie naciśnij OK by zapisać
Programowanie Ręczne
Obrót Obrazu:
0
Zaawansowane Funkcje
ustawienie.
OK
OK
By anulować ustawienie tej funkcji wybierz
opcję “Wył” zamiast “Wł”.
kontynuuje...
System menu na ekranie
13

08PLKV21LT1K.fm Page 14 Wednesday, May 16, 2001 12:09 PM
Poziom 1 Poziom 2 Poziom 3 / Funkcja
Regulacja Obrazu
CENTROWANIE RGB
Tryb: Własny
Kontrast
Gdy podłączone jest źródło sygnałów RGB, jak
Jasność
Kolor
np. konsola “PlayStation”, może się okazać
Ostrość
Odcień
Zerowanie
niezbędna regulacja centrowania obrazu.
OK
Można jej dokonać przy użyciu opcji
“Centrowanie RGB” w menu “Zaawansowane
Ustawianie
Zaawansowane Funkcje
Funkcje”.
Blokada:
Język/Kraj
Wył.
Redukcja zakłóceń:
Wł.
Autoprogramowanie
Autoregulacja Dźw.:
Wł.
Sortowanie Programów
Centrowanie RGB:
0
Obrót Obrazu:
W tym celu: widząc sygnał wejściowy RGB,
Programowanie Ręczne
0
Zaawansowane Funkcje
wybierz opcję “Centrowanie RGB” i naciśnij
OK
OK
przycisk . Następnie naciśnij lub by
ustawić centrowanie obrazu między -10 i +10.
Na zakończenie naciśnij OK by zapisać
ustawienie.
Regulacja Obrazu
OBRÓT OBRAZU
Tryb: Własny
Kontrast
(tylko dla KV-21LT1K)
Jasność
Kolor
Z powodu magnetyzmu ziemskiego istnieje
Ostrość
Odcień
Zerowanie
możliwość, że obraz będzie przechylony.
OK
Można go wówczas uregulować przy użyciu
opcji “Obrót obrazu” w menu “Zaawansowane
Ustawianie
Zaawansowane Funkcje
Funkcje”.
Język/Kraj
Blokada:
Wył.
Redukcja zakłóceń:
Wł.
Autoprogramowanie
Autoregulacja Dźw.:
Wł.
Sortowanie Programów
Centrowanie RGB:
0
Obrót Obrazu:
W tym celu: po wybraniu opcji naciśnij przycisk
Programowanie Ręczne
0
Zaawansowane Funkcje
. Następnie naciśnij lub by ustawić
OK
OK
przechylenie obrazu między -5 i +5. Na
zakończenie naciśnij OK by zapisać
ustawienie.
14
System menu na ekranie

08PLKV21LT1K.fm Page 15 Wednesday, May 16, 2001 12:09 PM
Telegazeta
Telegazeta jest usługą informacyjną transmitowaną przez większość stacji telewizyjnych.
Strona ze spisem treści telegazety (zwykle strona 100) dostarcza informacji o sposobie
korzystania z usługi telegazety. By poruszać się po telegazecie należy używać przycisków
pilota tak jak jest to opisane na tej stronie.
By móc odpowiednio korzystać z telegazety używaj kanał o silnym sygnale, w przeciwnym
wypadku w tekście telegazety mogą pojawić się błędy.
TELETEXT
TELETEXT
TELETEXT
TELETEXT
TELETEXT
TELETEXT
TELETEXT
TELETEXT
Włączanie Telegazety:
Index
Index
Index
Index
Index
Index
Index
Index
Po wybraniu kanału (stacji telewizyjnej) która transituje telegazetę z której
Programme
Programme
Programme
Programme
Programme
Programme
Programme
Programme
25
25
25
25
25
25
25
25
News
News
News
News
News
News
News
News
153
153
153
153
153
153
153
153
Sport
Sport
Sport
Sport
Sport
Sport
Sport
Sport
101
101
101
101
101
101
101
101
chcesz korzystać, naciśnij przycisk .
Weather
Weather
Weather
Weather
Weather
Weather
Weather
Weather
98
98
98
98
98
98
98
98
Wybór strony Telegazety:
Używając przyciski numeryczne wprowadź trzy cyfry numeru strony którą chcesz oglądać.
• Przy mylnym wyborze wprowadź dowolne trzy cyfry a następnie wprowadź poprawny
numer strony telegazety.
• Jeśli licznik stron nie zatrzymuje się oznacza to, że wybrana strona nie jest dostępna. W tym
wypadku zmień numer żądanej strony.
Wybór następnej lub poprzedniej strony:
Naciśnij PROGR + () lub PROGR - ().
Nałożenie telegazety na obraz telewizyjny:
Oglądając telegazetę naciśnij przycisk . Naciśnij go ponownie by wyjść z trybu
telegazety.
Zatrzymanie strony:
PL
Niektóre strony telegazety składają się z podstron które automatycznie pojawiają się jedna
po drugiej na ekranie. By zatrzymać podstronę naciśnij przycisk / . Naciśnij go
ponownie by anulować zatrzymanie.
Wyświetlanie ukrytej informacji (np. rozwiązanie zagadek):
Naciśnij przycisk / . Naciśnij go ponownie by znów ukryć informację.
Wyłączanie telegazety:
Naciśnij przycisk .
Fastext
Usługa Fastext pozwala dostać się do odpowiedniej strony telegazety poprzez naciśnięcie
tylko jednego przycisku.
Gdy korzystasz z usługi telegazety, gdy emitowane są sygnały Fastext, w dolnej części
ekranu pojawia się menu kolorowych kodów który pozwala dostać się bezpośrednio do
odpowiedniej strony. W tym celu naciśnij odpowiedni kolorowy przycisk (czerwony,
zielony, żółty lub niebieski) pilota.
Telegazeta
15

08PLKV21LT1K.fm Page 16 Wednesday, May 16, 2001 12:09 PM
Podłączanie dodatkowych urządzeń
Do telewizora można podłączyć bardzo wiele rodzajów dodatkowych urządzeń tak jak jest
to pokazane poniżej. (Do urządzenia nie załączone są kable do tych podłączeń)
Podłączanie magnetowidu:
By podłączyć magnetowid
skonsultuj rozdział “Podłączanie
anteny i magnetowidu”. Radzimy
podłączyć magnetowid do złącza
EURO. Gdy nie używasz kabla do
złącza EURO, zaprogramuj
ręcznie kanał wejściowy sygnału
8mm/Hi8/DVC
video przy użyciu menu
kamera
“Programowanie ręczne”, w tym
celu skonsultuj punkt a) na stronie
C
11). Skonsultuj również instrukcję
obsługi posiadanego
1
2
magnetowidu by dowiedzieć się
jak uzyskać kanał sygnału video.
“PlayStation”**
AB
Jeśli do magnetowidu
dysponującego Smartlink
Magnetowid
podłączony jest Dekoder:
Wybierz opcję “Programowanie
Dekoder
Ręczne” w menu “Ustawianie” i
po wybraniu opcji “Dekoder” *,
wybierz “Wł” (używając przycisk lub ) dla każdego kodowanego kanału.
* Opcja ta jest dostępna w zależności od kraju który został wybrany w menu “kraj”.
** “PlayStation” jest produktem Sony Computer Entertainment, Inc.
** “PlayStation” jest znakiem firmowym zarejestrowanym przez Sony Computer Entertainment, Inc.
Zastosowanie dodatkowych urządzeń
1 Podłącz dodatkowe urządzenie do odpowiedniego gniazda telewizora tak jak jest to
pokazane powyżej.
2 By pojawił się obraz z podłączonego urządzenia kilkakrotnie naciśnij przycisk aż na
ekranie pojawi się odpowiedni symbol sygnału wejściowego.
Symbol Sygnały wejściowe
1•Sygnał wejściowy audio/video ze złącza EURO C
•Sygnał wejściowy RGB ze złącza EURO C. Symbol ten pojawi się
wyłącznie wtedy jeśli podłączone zostało źródło wejściowe sygnału
RGB.
2•Sygnał wejściowy video ze złącza RCA A i sygnał wejściowy audio ze
złącza B
3 Włącz podłączone urządzenie.
4 By przywrócić normalny obraz telewizyjny naciśnij przycisk pilota.
16
Informacje dodatkowe

08PLKV21LT1K.fm Page 17 Wednesday, May 16, 2001 12:09 PM
Dane techniczne
System TV:
Pobór mocy:
B/G/H, D/K
• KV-21LT1K: 55 W
• KV-14LT1K: 42 W
System koloru:
PAL, SECAM
Zużycie energii w trybie czuwania
NTSC 3.58, 4.43 (tylko wejście video)
(standby):
≤ 0.55 W
Zakresy kanałów:
VHF: E2-E12
Wymiary (szer. x wys. x głęb.):
UHF: E21-E69
• KV-21LT1K:
CATV: S1-S20
W przybliżeniu 514 x 478 x 487 mm.
HYPER: S21-S41
• KV-14LT1K:
D/K: R1-R12, R21-R69
W przybliżeniu 393 x 358 x 415 mm.
Kineskop:
Waga:
Płaski Ekran FD Trinitron
• KV-21LT1K: W przybliżeniu 24 Kg.
• KV-14LT1K: W przybliżeniu 11.5 Kg.
Tylne gniazda:
:1/ Złącze 21-stykowe EURO (norma
Akcesoria w wyposażeniu:
CENELEC) w tym wejścia audio/
Pilot mod. RM-887 (1 szt.)
video, wejście RGB, wyjście audio/
Baterie (zgodne z normą IEC) ( 2 szt.)
video TV
1 Antena (tylko dla KV-14LT1K)
Przednie gniazda:
Inne dane:
…2 wejście video - złącze RCA
•Telegazeta, Fastext, TOPtext.
•Automatyczne wyłączenie
2 wejście audio - złącze RCA
•Automatyczne włączenie
gniazdo do podłączenia słuchawek.
PL
• Smartlink (bezpośrednie połączenie
między telewizorem i kompatybilnym
Moc wyjściowa dźwięku:
magnetowidem. Szersza informacja o
• KV-21LT1K:
łączu Smartlink znajduje się w
1 x 8 W (moc muzyczna)
instrukcji obsługi magnetowidu).
1 x 4 W (RMS Mono)
•Automatyczne wykrywanie systemu
• KV-14LT1K:
przekazu sygnałów TV.
1 x 6 W (moc muzyczna)
1 x 3 W (RMS Mono)
Wygląd i dane techniczne mogą ulec zmianie bez wcześniejszego uprzedzenia.
Papier Ekologiczny - 100% bez chloru
Informacje dodatkowe
17

08PLKV21LT1K.fm Page 18 Wednesday, May 16, 2001 12:09 PM
Rozwiązywanie problemów
Oto kilka prostych rozwiązań problemów związanych z obrazem i dźwiękiemelő.
Problem
Rozwiązanie
Brak obrazu (ekran jest ciemny) i
•Sprawdź podłączenie anteny.
brak dźwięku.
• Włącz telewizor do sieci i naciśnij przycisk z
przodu urządzenia.
•Jeśli pojawi się wskaźnik nacińnij przycisk
pilota.
Słaba jakość obrazu lub jego brak,
•Przy użyciu systemu menu wybierz menu “Regulacja
lecz dobra jakość dźwięku.
obrazu” i ustaw “Zerowanie” by przywrócić
nastawienia fabryczne.
Brak obrazu lub brak menu
•Upewnij się, że dodatkowe urządzenie jest włączone
informacyjnego z dodatkowego
do sieci i kilkakrotnie naciśnij przycisk pilota, aż
urządzenia podłączonego do złącza
odpowiedni symbol sygnału wejściowego pojawi się
EURO z tyłu telewizora.
na ekranie.
Dobry obraz lecz brak dźwięku.
• Naciśnij przycisk +/- pilota.
Brak koloru w programach
• Przy użyciu systemu menu wybierz menu “Regulacja
kolorowych.
obrazu” i ustaw “Zerowanie” by przywrócić
nastawienia fabryczne.
Obraz ulega zniekształceniu przy
• Wyłącz urządzenie podłączone do złącza 21 -
zmianie programu lub przy czytaniu
stykowego EURO z tyłu telewizora.
telegazety.
W telegazecie pojawiają się
• Po wprowadzeniu w menu trybu wyświetlania ekranu
nieprawidłowe litery
“Język/Kraj” wybierz swój kraj.
Obraz jest przechylony
• Przy użyciu systemu menu wybierz opcję “Obrót
(tylko dla KV-21LT1K).
obrazu” w menu “Zaawansowane Funkcje” i wyreguluj
przechylenie.
Zakłócenia obrazu
• Przy użyciu systemu menu wybierz opcję “ARC” w
menu “Programowanie Ręczne” i ręcznie zaprogramuj
by uzysk ć lepszy odbiór obrazu.
• Przy użyciu systemu menu wybierz opcję “Redukcja
zakłóceń” w menu “Zaawansowane Funkcje” i wybierz
opcję “Wł.” by zmniejszyć zakłócenia obrazu.
Nie działa pilot.
• Zmień baterie.
Miga wskaźnik trybu czuwania
• Skontaktuj się z najbliższą stacją serwisową Sony.
(standby) mimo, iż nie jest
ustawiona funkcja “Timer wł.”.
W przypadku awarii oddaj telewizor do naprawy wykwalifikowanemu personelowi
technicznemu. Nigdy nie otwieraj obudowy.
18
Informacje dodatkowe

09P2BGKV21;14LT1K.fm Page 1 Wednesday, May 16, 2001 12:20 PM
BG

Техника на безопасност
Tози тeлeвизор може да работи
Пo причини за безoпастност от
само на захранващо
въздействие на природни
напрежение 220-240 V.
явления e препоръчително да
Bнимавайте да не включвате
твърде много уреди в един
не оставяте телевизора в
контакт, тьй като това може да
режим “stand by”, a да гo
причини токов удар.
изключватe централно.
He oтвaряйте кутиятa и задния
Зa Baшa coбcтвeнa бeзoпacнocт
Зa дa прeдoтврaтитe риcкa
кaпaк нa тeиeвизорa.
нe пипaйтe тeлeвизорa, кaбeлa
oт тoкoв yдaр, нe излaгaйтe
Oбръщайте се само към
или aнтeнaтa му по врeмe нa
тeлeвизорa нa дъжд или
квaлифициран сервизен
гръмотeвични бури.
влaгa.
перcoнaл.
He пoкривaйтe
вeнтилaциoннитe отвoри нa
Зa дa избегнeтe пoжaр, дръжтe
тeлeвизoрa.
нacтрaнa oт тeлeвизорa
Ocтaвeтe нaй-мaлко 10 см.
възпламeними и oткрити
рaзтoяниe oкoлo тeлeвизoрa зa
източници нa светлина/
вeнтилация.
напримeр cвeщи/.
He пocтaвяйтe тeжки пpeдмети
Koгaтo изключвaтe тeлeвизopa,
въpxy кaбeлa, тъй кaтo тoвa
дъpпaйтe щeпceлa, a нe кaбелa.
мoжe дa гo пoвpeди.
Пpeпopъчвaмe ви дa нaвиeтe
излишния зaxpaнвaщ кaбeл
oкoлo пpeднaзнaчeнитe зa цeлтa
пpиcпocoблeния нa зaднaтa
cтpaнa нa тeлeвизopa.
Пocтaвяйтe тeлeвизopa нa
He пoкpивaйтe
cигypнa, cтaбилнa пocтaвкa.
вeнтилaцкoннитe oтвopи нa
He пoзвoлявaйтe нa дeцa дa ce
тeлeвизopa
кaтepят пo нeгo. He гo
c пpeдмeти кaтo пepдeтa,
oбpъщaйтe нa cтpaни или пo
вecтници и дp.
“гpъ
Б”.
2
Техника на безопасност
Hикогa не пъхaйте кaквито и да
било прeдмети в телeвизорa, тьй
като товa може дa причини пожар
или токов удар. Hикога не
разливaйте течности по
телевизора. B случай, чe течност
или твърд прeдмет попaднат в
телевизора го изключете.
Cвържете сe нeзaбaвно c
квалифицирани служители нa Coни.
09P2BGKV21;14LT1K.fm Page 2 Wednesday, May 16, 2001 12:20 PM
Hикoгa нe пoстaвяйтe
тeлeвизoрa нa гoрeщи, влaжни
или изключитeлнo прaшни
мecтa. He инстaлирaйтe
тeлeвизорa нa мecтa кьдето
можe дa бъде изложeн нa
меxaнични вибрaции.
Пoчиствaйтe тeлeвизора c мeкa,
лeкo влажна кърпа. He използвaйтe
бeнзин, рaзрeдитeл или дрyги
xимикaли, зa дa почиститe
тeлевизoрa. He дpacкaйтe пo eкpaнa
нa тeлeвизopa. Зa пo-гoлямa
бeзoпacтнocт изключвaйтe
тeлевизopa oт кoнтaктa, кoгaтo го
пoчиcтвaтe.
Излючвaйтe кaбeлa нa
тeлeвизopa пpeди дa гo
мecтитe. Пpи пpeмecтвaнeтo
избягвaйтe нepaвни
пoвъpxнocти и нe пpaвeтe бъpзи
кpaчки. Aкo изпycнeтe или
нapaнитe тeлeвизopa,
нeзaбaвнo ce кoнcyлpaйтe c
квaлифициpaни cepвизни
cлyжитeли нa Coни.

10BGKV21LT1K.fm Page 3 Wednesday, May 16, 2001 12:17 PM
Увод
Благодарим Ви за избора на този цветен телевизор Sony с плосък екран FD
Trinitron.
Преди използване на телевизора прочетете внимателно това ръководство за
експлоатация и го запазете за бъдещи изяснения.
• Символи използвани в това ръководство:
• Потенциална опасност.
• Важна информация.
• Информация за функцията.
•1,2... Последователност за следване на инструкциите.
MENU
• Потъмнените бутони на дистанционното управление показват кои бутони
K
трябва да се натискат за изпълнението на различните операции.
• Информация за резултата от инструкциите.
Съдържание
Техника на безопасност ...................................................................................................................... 2
Увод .......................................................................................................................................................... 3
Основно описание
Основно описание на бутоните на дистанционното управление............................................. 4
Основно описание на бутоните на телевизора ............................................................................ 5
Инсталиране
Инсталиране на батериите в устройството за дистанционно управление ........................... 5
Cвъpзвaнe нa пopтaтивнa aнтeнa (caмo зa KV-14LT1K) ...................................................... 6
Cвъpзвaнe нa външнa aнтeнa и видeo................................................................................... 6
BG
Първоначално включване
Включване и автоматично настройване на телевизора ........................................................... 7
Ситема от менюта на екрана
Увод и боравене със системата от менюта ................................................................................... 9
Водач на менютата .............................................................................................................................. 9
Телетекст ........................................................................................................................................ 15
Допълнителна информация
Свързване на допълнителни апарати ...........................................................................................16
Боравене с допълнителни апарати ............................................................................................... 16
Характеристики ................................................................................................................................... 17
Отстраняване на неизправности ................................................................................................... 18
Съдържание
3

10BGKV21LT1K.fm Page 4 Wednesday, May 16, 2001 12:17 PM
Основно описание на бутоните на дистанционното управление
Временно изключване на телевизора
Натиснете го за временно изключване на
Елиминиране на звука
телевизора (индикаторът за режим на очакване
Натиснете го за премахване на
ще светне). Натиснете го отново за да
звука.
включите телевизора от режима на временно
Натиснете го отново за
изключване (standby).
възвръщане на звука.
За икономия на ел. енергия се
препоръчва цялостното
Изобразяване на информация на
изключване на телевизора когато
екрана
не се използва.
Натиснете го за изобразяване на
Ако в продължение на 15 мин.
всички индикации на екрана.
няма ТВ сигнал и не се
Натиснете го отново за
натискат бутоните, телевизора
премахване.
1
2
3
ще мине автоматично в режим
Избор на канали
на временно изключване
4
5
6
Натиснете ги за избор на канали.
(standby).
7
8
9
За двуцифрени програмни номера,
Избор на входен сигнал
напр. 23, първо натиснете -/-- и
Натиснете го няколко пъти,
0
след това бутоните 2 и 3.
докато символа на желания
MENU
Ако сбъркате при вкарването на
входен сигнал се появи на екрана.
първата цифра, продължете
вкарвайки и втората (от 0 до 9) и
Връщане на последния избран
K
веднага след това повторете
канал
операцията.
Натиснете го за да върнете
последния избран канал
Избор на режим на телевизия
(предният канал трябва да е бил
Натиснете го за да изключите
изобразен в продължение на
PROGR
телетекста или входа за видео.
най-малко 5 сек.).
Избор на телетекста
Активиране на системата от
Натиснете го за изобразяване на
менюта
телетекста.
Натиснете го за да видите
RM
887
менюто на екрана. Натиснете го
Този бутон функционира само в
отново за премахване и връщане
режим на Телетекст. Функцията
на нормалния ТВ екран.
, свързана с този бутон, не
функционира с този телевизор.
S
Бутони за избора на менюто
•Когато MENU е активирано:
Избор на режим на образа
Качване с едно ниво.
Натиснете го няколко пъти за
Слизане с едно ниво.
смяна на режима на образа.
Отиване в предно меню или
избор.
Настройване на силата на звука
Отиване в следващо меню
Натиснете го за настройване на
или избор.
силата на звука.
OK Утвърждаване на избора.
Този бутон функционира само в
•Когато MENU не е активирано:
режим на телетекст. Функцията
OK Показва един основен
, свързана с този бутон не
списък на каналите. Изберете
функционира с този телевизор.
канала, натискайки или ,
след което натиснете ОК за да
Избор на канали
видите избрания канал.
Натиснете го за избор на преден
или следващ канал.
Избор на формат на екрана
Натиснете го няколко пъти за
смяна на формат на екрана: 4:3 за
обикновенен образ или 16:9 за
имитация на панорамен екран.
Освен телевизионните функции, всички цветни бутони се използват също така и за
операциите на телетекста. За повече информация вижте в главата «Телетекст», в
това ръководство за експлоатация.
4
Основно описание

10BGKV21LT1K.fm Page 5 Wednesday, May 16, 2001 12:17 PM
Основно описание на бутоните на телевизора
Бутони за избор
Бутон за връщане
Бутони за
на предна /
към фабричната
контрол на
следваща
настройка на
силата на
програма (избор
телевизора
звука
на ТВ предавания)
Индикатор
Бутон за
Натиснете върху символът
Бутон за избор
за режим на
включване /
на лицевата страна на
на входен
временно
изключване
тeлeвизoра за да
сигнал
изключване
достигнете до лицевите
(standby).
букси.
Букса за
слушалки
Букса за
Букса за
видео
аудио
вход
вход
BG
Инсталиране на батериите в устройството за
дистанционно управление
Поставете приложените батерии с правилно разположени полюси.
Опазвайте околната среда и изхвърляйте използваните батерии в контейнерите
за тази цел.
Основно описание - Инсталиране
5

Cвъpзвaнe нa пopтaтивнa aнтeнa
(caмo зa KV-14LT1K)
За пo-дoбpo пpиeмaнe нa oбpaзa Bи пpeпopъчвaмe дa
cвъpжeтe тeлeвизopa към външнa aнтeнa. Aкo нe
paзпoлaгaтe c външнa aнтeнa и aкo мecтния cигнaл VHF/
UHF e дocтaтъчнo cилeн мoжeтe дa cвъpжeтe
тeлecкoпичнaтa aнтeнa, пpилoжeнa c тoзи тeлeвизop, тaкa
кaктo e пoкaзaнo пo-дoлy:
1 Bкapaйтc aнтeнaтa във вдлъбнaтинaтa нa гopнaтa
cтpaнa нa тeлeвизopa дoкaтo изщтpaкa.
2 Cвъpжeтe кaбeлa нa aнтeнaтa към вxoдa paзпoлoжeн
нa зaднaтa cтpaнa нa тeлeвизopa.
3 Bключeтe тeлeвизopa и opиeнтиpaйтe aнтeнaтa, зa
пpиeмaнe нa дoбъp oбpaз.
Cвъpзвaнe нa външнa aнтeнa и видeo
Кабелите за свързване не са приложени серийно.
BG
или
За повече детайли за свързването на видеото
вижте в главата «Свързване на допълнителни
апарати», в това ръководство за експлоатация.
Инсталиране
6
Свързването чрез
Евроконектора е опция
10BGKV21LT1K.fm Page 6 Wednesday, May 16, 2001 12:17 PM
видео
OUT IN
6

Включване и автоматично настройване на телевизора
Когато включите за първи път телевизора, на екрана ще се появи
последователност от менюта чрез които ще можете да: 1) изберете езика на
менютата, 2) изберете държавата в която желаете да използвате апарата, 3)
търсите и запаметите автоматично всички канали на разположение (ТВ
предавания) и 4) смените реда на появяване на каналите (ТВ предавания).
Ако след време се налага смяната на езика на менютата, държавата, повтарянето
на автоматичната настройка (напр. при смяна на местожителство) или смяната на
реда на каналите, може да се извърши избирайки съответното меню в
(Инсталиране). За повече информация вижте в главата «Водач на менютата» в това
ръководство за експлоатация. Промяната е възможна също така, натискайки
бутона на телевизора.
1 Включете кабела за захранването (220-240V AC,
50Hz)
Натиснете бутона за вкл./ изкл. отлицевата
страна на телевизора, за да го включите.
Когато включите за първи път този бутон, менюто
Language (Език) ще се появи автоматично на
екрана.
2Натиснете бутона или от дистанционното
управление за да изберете езика и после натиснете
бутона ОК за да пoтвърдите избора. От този момент
всички менюта ще се появяват на избрания език.
BG
3 На екрана автоматично ще се появи менюто
Държава. Натиснете бутона или за избор на
държавата, където желаете да използвате
телевизора, след което натиснете ОК за
утвърждаване на избора.
• Ако в списъка не фигурира държавата в
която ще използвате телевизора изберете “-”
нa мястото на държава.
•Зa дa бъдaт пpaвилни знaцитe нa Kиpилицa в
Teлeтeкcтa ви пpeпopъчвaмe дa избepete
Pycия, в cлyчaитe кoгaтo Baшaтa cтpaнa нe
фигypиpa в cпиcъкa.
4 Менюто Автомaтичнo Захващане се появява на
екрана. Натиснете ОК за да изберете Да.
Първоначално включване
7
Language
English
Español
Français
Italiano
K
Magyar
Nederlands
Select Language:
OK
Дъpжaвa
-
Бългapия
Česká rep.
Magyarország
K
Polska
România
Избepи дъpжaвa:
OK
Жeлaeтe ли дa cтapтиpaтe
aвтoмaтичнa нacтpoйкa?
Дa
He
K
OK
10BGKV21LT1K.fm Page 7 Wednesday, May 16, 2001 12:17 PM
продължава...

5 На екрана ще се появи ново меню искайки да
пoтвърдите че антената е включена, пoтвърдeте и
тогава натиснете ОК за да започне автоматичната
настройка.
Телевизора започва автоматично да търси и
запаметява всички канали (ТВ предавания) на
разположение.
Този процес може да продължи няколко минути.
Бъдете търпелив и не натискайте нито един
бутон, докато продължава процеса на
настройване, в противнен случай процеса няма
да се завърши.
6 След като телевизора се настрои и запамети
всички канали (ТВ предавания), на екрана
автоматично ще се появи менюто Подреждане на
Програми, за да можете да смените реда на
появяване на програмите на екрана.
a) Ако не желаете да смените реда на каналите,
отидете в стъпка 7.
б) Ако желаете да смените реда на каналите:
1 Натиснете бутона или за да изберете
номера на програма на съответния канал (ТВ
предаване), чиято позиция желаете да
смените и след това натиснете .
2 Натиснете или за избор на новия номер
на програмата, на която желаете да
запаметите избрания канал (ТВ предаване),
след което натиснете .
3 Повторете стъпките б)1 и б)2 ако желаете да
преподредите други ТВ канали.
7 Натиснете бутона MENU, за връщане към нормален ТВ режим.
MENU
Телевизора е готов за работа
8
Първоначално включване
Moля, пoтвъpдeтe, чe
aнтeнaтa e cвъpзaнa
Пoтвъpждeниe
OK
K
Aвтoм. Зaxвaщaнe
Пpoгpaмa:
01
Cиcтемa:
B/G
Kaнaл:
C21
Tъpcи...
Пoдpeждaнe нa Пpoгpaми
Пpoгpaмa:
01 TVE
02 TVE2
03 TV3
04 C33
K
05 C27
06 C58
Избepи кaнaл:
OK
Изпизaнe:
MENU
Пoдpeждaнe нa Пpoгpaми
Пpoгpaмa:
01 TVE
02 TVE2
03 TV3
04 C33
K
05 C27
06 C58 05 C27
Избop нa нoмep:
OK
Изпизaнe:
MENU
10BGKV21LT1K.fm Page 8 Wednesday, May 16, 2001 12:17 PM

