Sony KV-14LT1K – page 2
Manual for Sony KV-14LT1K
Table of contents

04KV-21LT1KCZ.fm Page 3 Wednesday, May 16, 2001 11:45 AM
Úvod
Děkujeme Vám, že jste si vybrali televizor Sony s plochou obrazovkou FD Trinitron.
Před použitím televizoru si pozorně přečtěte tento návod k obsluze a zachovejte ho pro
budoucí informaci.
• Znaky, které užíváme v tomto návodu k obsluze:
• Varování před možným nebezpečím.
• Důležitá informace.
• Informace o funkci.
•1,2... Posloupnost ovládacích kroků.
MENU
• Šedá výplň tlačítek dálkového ovladače označuje tlačítka, která je nutno/možno
K
stisknout v tomto kroku.
• Informace o výsledku pokynů.
Obsah
Bezpečnostní opatření............................................................................................................................ 2
Úvod .......................................................................................................................................................... 3
Všeobecný popis
Všeobecný přehled tlačítek dálkového ovladače............................................................................... 4
CZ
Všeobecný přehled tlačítek televizoru ................................................................................................ 5
Instalace
Vložení baterií do dálkového ovladače ................................................................................................ 5
Připojení přenosné antény (pouze pro KV-14LT1K) ......................................................................... 6
Připojení venkovní antény a videa ....................................................................................................... 6
První zapojení televizoru
Zapnutí a automatické naladění TV ..................................................................................................... 7
Režim menu na obrazovce
Úvod a použití různých menu................................................................................................................ 9
Průvodce po menu ................................................................................................................................. 9
Teletext...............................................................................................................................................15
Doplňkové informace
Připojení přídavných zařízení...............................................................................................................16
Použití přídavných zařízení ................................................................................................................. 16
Technické údaje.....................................................................................................................................17
Řešení problémů ................................................................................................................................... 18
Obsah
3

04KV-21LT1KCZ.fm Page 4 Wednesday, May 16, 2001 11:45 AM
Všeobecný přehled tlačítek dálkového ovladače
Dočasné vypnutí televizoru
Vypnutí zvuku
Stisknutím tlačítka se televize dočasně vypne (indikátor
Pokud chcete zvuk vypnout,
pohotovostního stavu na televizi se rozsvítí).
stiskněte tlačítko.
Opětovným stisknutím tlačítka televozor opět zapnete.
Zvuk se zapne opětovným stisknutím.
Zobrazení informace na obrazovce
Doporučujeme televizor vypnout
Stiskněte tlačítko a na obrazovce se
úplně, pokud se nepoužívá - šetří se
objeví veškeré údaje. Opětovným
tím energie.
Televizor se automaticky vypne
stisknutím tyto informace z
do pohotovostního režimu,
obrazovky zmizí.
jestliže po dobu 15 minut
Tlačítko pro výběr programů
1
2
3
nedostává televitní signál a není
Stisknutím lze zvolit žádaný kanál.
stisknuto žádné tlačítko.
4
5
6
Pokud chcete zvolit program s
Volba vstupního signálu
7
8
9
dvoumístným číslem, např. 23,
Tiskněte jej opakovaně, až se na
obrazovce objeví znaménko
nejdříve stiskněte -/--, a následovně
0
zvoleného vstupního signálu.
tlačítka 2 a 3.
MENU
Jestliže jste se stisknutím prvního
Návrat ke kanálu sledovanému
čísla zmýlili, stiskněte znovu tlačítko
naposled
K
(od 0 do 9 ) a poté zopakujte znovu
Stisknutím vyvoláte kanál, který jste
naposledy sledovali po dobu delší
celou operaci.
než 5 sekund.
Volba TV režimu
Zapojení režimu menu
Stisknutím se vypne teletext nebo
PROGR
Stiskněte jej a menu se objeví na
vstup do videa.
obrazovce. Opětovným stisknutím
Výběr z teletextu
se vypojí a objeví se normální
obrazovka.
Stisknutím se zobrazí teletext.
RM
887
Ovládání menu
Toto tlačítko lze použít pouze v režimu
•Je-li MENU zobrazeno:
teletextu. Funkci spojenou s tímto
Nahoru.
tlačítkem nelze použít pro tento
Dolů.
televizor.
S
Předchozí nabídka či volba.
Výběr specifického obrazu
Další nabídka či volba.
OK Potvrdit volbu.
Opakovaným stisknutím nastavíte
•Pokud není MENU zobrazeno:
specifický obraz.
OK Zobrazí přehled kanálů.
Nastavení hlasitosti
Stisknutím nebo zvolte
požadovaný kanál, po stisknutí OK
Stisknutím se nastaví hlasitost
jej můžete sledovat
televizoru.
Toto tlačítko lze použít pouze v režimu
Výběr formátu zobrazení
teletextu. Funkci spojenou s
Opakovaným tisknutím změníte
tímto tlačítkem nelze použít pro tento
formát zobrazení: 4:3 pro obvyklý
televizor
.
obraz nebo 16:9 pro imitaci
širokoúhlého obrazu.
Volba kanálů
Stiskněte pro volbu předchozího
nebo následujícího kanálu.
Kromě těchto funkcí televizoru, všechna barevná tlačítka se používají také pro teletext.
Obsáhlejší informace je popsána v kapitole “Teletext” tohoto návodu k obsluze.
4
Všeobecný popis

04KV-21LT1KCZ.fm Page 5 Wednesday, May 16, 2001 11:45 AM
Všeobecný přehled tlačítek televizoru
Programová
tlačítka pro výběr
následujícího nebo
Tlačítko pro
Tlačítka pro
předchozího kanálu
inicializaci
ovládání
(pro volbu televizních
televizoru
hlasitosti
stanic)
Tlačítko pro
Ukazatel režimu
Tlačítko
Stlačením znaménka
volbu vnějšího
na čelní části televizoru,
dočasného
zapnuto/
vstupu
vypnuto
získáte přístup k
vypnutí
ovládacímu
televizoru
čelnímu panelu.
(pohotovostní)
režim).
CZ
Výstup pro
sluchátka
Vstup
Zvukový
videosignálu
vstup
Vložení baterií do dálkového ovladače
Zkontrolujte, jestli jsou poskytnuté baterie ve správné pozici.
Berte ohled na životní prostředí a použitých baterií se zbavujte způsobem, který životní
prostředí nepoškozuje - odhazujte je do kontejnerů k tomu určených.
Všeobecný popis - Instalace
5

Připojení přenosné antény
(pouze pro KV-14LT1K)
Aby jste dosáhli lepší příjem obrazu, doporučujeme vám připojit
televizor k venkovní anteně. Pokud nemáte k dispozici venkovní
antenu, ale místní VHF/UHF signál je dostatečně silný, můžete
připojit teleskopickou antenu dodanon s tímto televizorem, tak
jak je popsáno následovně:
1 Zasuňte antenu do drážky na urchní části televizoru až se
ozve «klik».
2 Připojte kabel anteny k vývodu umístěném na zadní části
televizoru.
3 Zapněte televizor a zaměřte antenu tak, abyste dosáhli
dobrý příjem obrazu.
CZ
Připojení venkovní antény a videa
Přípojné kabely se nedodávají.
nebo
Obsáhlejší informace o připojení videa najdete v
kapitole “Připojení přídavných zařízení” v tomto
návodu k obsluze.
Instalace
6
Připojení pomocí konektoru
typu Euro záleží na Vaší
volbě.
v
OUT IN
id
eore
k
or
d
04KV-21LT1KCZ.fm Page 6 Wednesday, May 16, 2001 11:45 AM
ér
6

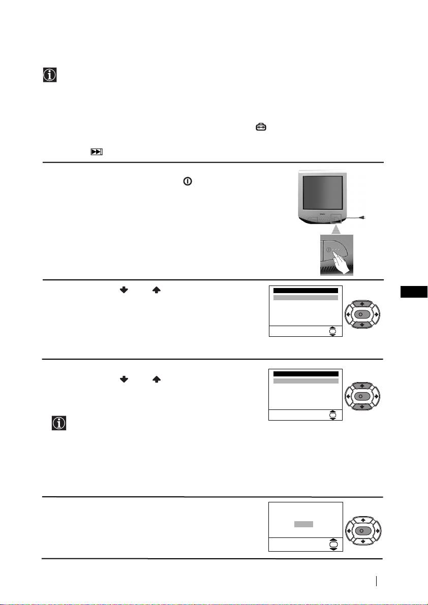
Zapnutí a automatické naladění TV
Po prvním zapnutí televizoru se na obrazovce objeví sekvence menu, pomocí kterých
budete moci:
1) zvolit jazyk menu; 2) zvolit zemi, ve které si přejete používat televizor; 3) hledat a
automaticky ukládat všechny kanály (televizní stanice), které jsou k dispozici a 4) změnit
pořadí, ve kterém se kanály (televizní stanice) objeví na obrazovce.
Jestliže po nějaké době chcete opět změnit jazyk menu, zemi, zopakovat automatické
naladění (např. v případě stěhování) nebo znovu změnit pořadí kanálů, je možné to provést
zvolením vhodného menu, které se nachází v režimu (Instalace).
Obsáhlejší informace naleznete v kapitole „Průvodce po menu“ tohoto návodu nebo
můžete opět provést nové automatické nastavení televizoru stisknutím inicializačního
tlačítka na televizoru.
1 Zapojte televizor do elektrické sítě (220-240 V AC, 50Hz).
Stiskněte tlačítko zapnuto/vypnuto na čelní části
televizoru, aby se televizor zapnul.
Po prvním stisknutí tohoto tlačítka, menu Language
(Jazyk) se automaticky objeví na obrazovce.
2 Stiskněte tlačítko nebo dálkového ovladače pro
CZ
volbu jazyka a poté stiskněte tlačítko OK pro potvrzení
volby. Od této chvíle veškerá menu se objeví ve
zvoleném jazyce.
3 Na obrazovce se automaticky objeví menu Země.
Stiskněte tlačítko nebo pro volbu země, ve které
chcete používat televizor a poté stiskněte tlačítko OK
pro potvrzení volby.
• Jestliže v seznamu není ta země, ve které budete
používat televizor, místo země zvolte «-».
• Pokud se vaše země neobjeví v nabídce pro
instalaci, doporučujeme použít nastavení pro
Rusko. Tímto nastavením předejdete chybnému
zobrazování znaků a písmen charakteristických
pro váš jazyk v teletextu.
4 Menu Automatické Ladění se objeví na obrazovce.
Stiskněte tlačítko OK pro volbu Ano.
První zapojení televizoru
7
Language
English
Español
Français
Italiano
K
Magyar
Nederlands
Select Language:
OK
Země
-
Бългapия
Česká rep.
Magyarország
K
Polska
România
Vyberte zemi:
OK
Přejete si spustit
automatické ladění?
Ano
Ne
K
OK
04KV-21LT1KCZ.fm Page 7 Wednesday, May 16, 2001 11:45 AM
pokračuje ...

5 Na obrazovce se automaticky objeví nové menu, které
Vás žádá, abyste se přesvědčili, že je zapojená anténa.
Zkontrolujte tedy, zda je anténa zapojena a poté stiskněte
tlačítko OK, aby se započalo automatické ladění.
Televizor začne automaticky ladit a ukládat všechny
kanály (televizní stanice), které jsou k dispozici.
Tento proces může trvat několik minut. Mějte proto
trpělivost a po dobu trvání procesu ladění
nestiskněte žádné tlačítko, proces by se
neuskutečnil.
6 Jakmile televizor ukončil ladění a uložil všechny
kanály (televizní stanice), na obrazovce se
automaticky objeví menu Třídění Programů,
pomocí kterého můžete změnit pořadí, ve kterém se
kanály objeví na obrazovce.
a) Nechcete-li změnit toto pořadí kanálů, přejděte na
bod č. 7.
b) Chcete-li změnit pořadí kanálů:
1 Stiskněte tlačítko nebo pro volbu čísla
programu s kanálem (televizní stanicí), jehož
pozici chcete změnit a následovně stiskněte .
2 Stiskněte nebo pro volbu nového čísla
programu, ve kterém si přejete uložit zvolený
kanál (televizní stanici), a následovně
stiskněte .
3 Zopakujte body b)1 a b)2, chcete-li změnit pořadí
dalších televizních kanálů.
7 Stiskněte tlačítko MENU a menu zmizí z obrazovky.
MENU
Televizor je připraven k funkci.
8
První zapojení televizoru
Potvrd’te prosím
že anténa je připojena
Potvrd’te
OK
K
Automatické Ladění
Program:
01
Systém:
B/G
Kanál:
C21
Vyhledávání...
Třídění Programů
Program:
01 TVE
02 TVE2
03 TV3
04 C33
K
05 C27
06 C58
Zvolte kanál:
OK
Konec:
MENU
Třídění Programů
Program:
01 TVE
02 TVE2
03 TV3
04 C33
K
05 C27
06 C58 05 C27
Zvolte novou pozici:
OK
Konec:
MENU
04KV-21LT1KCZ.fm Page 8 Wednesday, May 16, 2001 11:45 AM

04KV-21LT1KCZ.fm Page 9 Wednesday, May 16, 2001 11:45 AM
Úvod a použití různých menu
Tento televizor používá na obrazovce systém menu a tím Vám ukazuje různé operace.
Pro přesun po menu používejte tlačítka dálkového ovladače, která jsou následovně
popsána:
1 Stiskněte tlačítko MENU a na obrazovce se objeví první stupeň menu.
MENU
2 • Pro zvýraznění žádaného menu nebo funkce, stiskněte tlačítko
nebo .
• Pro vstup do zvoleného menu nebo funkce, stiskněte .
K
• Pro návrat do předchozího menu nebo funkce, stiskněte .
• Pro změnu nastavení zvolené funkce, stiskněte
//nebo .
• Pro potvrzení a uložení Vaší volby, stiskněte OK.
3 Stiskněte tlačítko MENU a menu zmizí z obrazovky.
MENU
CZ
Průvodce po menu
Stupeň 1 Stupeň 2 Stupeň 3 / Funkce
Nastavení Obrazu
NASTAVENÍ OBRAZU
Nastavení Obrazu
Režim: Osobní
Režim: Osobní
Menu “Nastavení Obrazu” slouží k úpravě nebo
Kontrast
Kontrast
Jas
Jas
Barevná Sytost
Barevná Sytost
seřízení obrazu.
Ostrost
Ostrost
Odstín
Odstín
Reset
Reset
OK
OK
K tomu je třeba: po zvolení funkce, kterou si
přejete změnit, stiskněte tlačítko . Poté
opakovaně stiskněte //nebo
pro změnu nastavení a nakonec stiskněte OK
pro jeho uložení.
Toto menu Vám také umožní změnit specifický
obraz podle toho, jaký program sledujete:
Osobní (pro osobní požadavky).
Přímý Přenos (pro programy v přímém
přenosu).
Filmový (pro filmy).
• Jas, Barevná Sytost a Ostrost jsou možné změnit pouze v případě, že změníte specifický
obraz v režimu “Osobní”.
• Odstín je dostupný pouze pro systém NTSC (např. videokazety z USA).
• Pro obnovení továrního nastavení obrazu, zvolte Reset a stiskněte tlačítko OK.
pokračuje ...
Režim menu na obrazovce
9

04KV-21LT1KCZ.fm Page 10 Wednesday, May 16, 2001 11:45 AM
Stupeň 1 Stupeň 2 Stupeň 3 / Funkce
Nastavení Obrazu
ČASOVAČ VYPNUTÍ
Režim: Osobní
Kontrast
Funkce “Časov. Vypnutí” v režimu menu
Jas
Barevná Sytost
“Časovač”, Vám umožní zvolit interval, po
Ostrost
Odstín
Reset
jehož uplynutí televizor automaticky přejde do
OK
režimu dočasného vypnutí (pohotovostní
režim).
Časovač
Časovač
K tomu je třeba: po zvolení funkce, stiskněte
Časov. Vypnutí:
Vyp
Časov. Vypnutí:
Vyp
Časov. Zapnutí:
Vyp
Časov. Zapnutí:
Vyp
tlačítko . Poté stiskněte nebo pro
volbu časového intervalu (max. 4 hodiny) a
nakonec stiskněte OK pro jeho uložení.
OK
OK
• Chcete-li vidět čas zbývající do vypnutí,
zatímco sledujete televizor, stiskněte tlačítko
.
• Minutu před tím, než televizor přejde do
režimu dočasného vypnutí, zbývající čas se
objeví na obrazovce.
Nastavení Obrazu
ČASOVAČ ZAPNUTÍ
Režim: Osobní
Funkce “Časov. Zapnutí” v režimu menu
Kontrast
Jas
Barevná Sytost
“Časovač”, Vám umožní zvolit interval, po
Ostrost
Odstín
jehož uplynutí se televizor v režimu dočasného
Reset
vypnutí (pohotovostní režim) automaticky
OK
zapne.
K tomu je třeba: po zvolení funkce, stiskněte
Časovač
Časovač
tlačítko . Poté stiskněte nebo pro
Časov. Vypnutí:
Vyp
Časov. Vypnutí:
Vyp
Časov. Zapnutí:
Vyp
volbu časového intervalu (max. 12 hodin) a
Časov. Zapnutí:
Vyp
stiskněte OK pro jeho uložení. Nakonec
stiskněte tlačítko
časového spínače
OK
OK
(pohotovostní režim) na dálkovém ovladači a
po stanovení časového intervalu, se televizor
automaticky zapne.
• Ukazatel dočasného vypnutí televizoru
(pohotovostní režim) , pravidelným
blikáním upozorní, že funkce “Časov.
Zapnutí” je zapojena.
• Jakákoliv zástava nebo přerušení
elektrického proudu, zruší tuto funkci.
Nastavení Obrazu
JAZYK/ZEMĚ
Režim: Osobní
Kontrast
Funkce “Jazyk/Země” v režimu menu
Jas
Barevná Sytost
Ostrost
“Instalace” slouží k volbě jazyka, ve kterém
Odstín
Reset
chcete, aby se na obrazovce objevily menu.
OK
Také Vám umožní zvolit zemi, ve které si přejete
televizor používat.
Instalace
Instalace
K tomu je třeba: po zvolení funkce, stiskněte
Jazyk/Země
Jazyk/Země
tlačítko . Poté postupujte tak, jak je popsáno
Automatické Ladění
Automatické Ladění
Třídění Programů
Třídění Programů
v kapitole “Zapnutí a automatické naladění TV”,
Ruční Ladění
Ruční Ladění
Pokročilé Vybavení
Pokročilé Vybavení
v bodě 2 a 3.
OK
OK
pokračuje ...
10
Režim menu na obrazovce

04KV-21LT1KCZ.fm Page 11 Wednesday, May 16, 2001 11:45 AM
Stupeň 1 Stupeň 2 Stupeň 3 / Funkce
AUTOMATICKÉ LADĚNÍ
Nastavení Obrazu
Režim: Osobní
Funkce “Automatické Ladění” v režimu menu
Kontrast
Jas
“Instalace” slouží k tomu, aby televizor hledal a
Barevná Sytost
Ostrost
Odstín
uložil do paměti veškeré kanály (televizní
Reset
stanice), které jsou k dispozici.
OK
K tomu je třeba: po zvolení funkce, stiskněte
tlačítko . Poté postupujte tak, jak je popsáno
Instalace
Instalace
v kapitole “Zapnutí a automatické naladění TV”,
Jazyk/Země
Jazyk/Země
Automatické Ladění
Automatické Ladění
v bodě 4 a 5.
Třídění Programů
Třídění Programů
Ruční Ladění
Ruční Ladění
Pokročilé Vybavení
Pokročilé Vybavení
OK
OK
Nastavení Obrazu
TŘÍDĚNÍ PROGRAMŮ
Režim: Osobní
Kontrast
Funkce “Třídění Programů” v režimu menu
Jas
Barevná Sytost
Ostrost
“Instalace” slouží ke změně pořadí, ve kterém
Odstín
Reset
se kanály (televizní stanice) objeví na
OK
obrazovce.
K tomu je třeba: po zvolení funkce, stiskněte
Instalace
Instalace
tlačítko . Poté postupujte tak, jak je popsáno
Jazyk/Země
Jazyk/Země
Automatické Ladění
Automatické Ladění
v kapitole “Zapnutí a automatické naladění TV”,
Třídění Programů
Třídění Programů
Ruční Ladění
Ruční Ladění
v bodě 6b).
Pokročilé Vybavení
Pokročilé Vybavení
OK
OK
CZ
Nastavení Obrazu
RUČNÍ LADĚNÍ
Režim: Osobní
Kontrast
Funkce “Ruční Ladění” v režimu menu
Jas
Barevná Sytost
“Instalace” slouží pro:
Ostrost
Odstín
Reset
a) Postupné ladění kanálů (televizních stanic) v
OK
pořadí programu, které si přejete, nebo
postupné ladění video vstupu. K tomu je
třeba:
Instalace
Instalace
Jazyk/Země
Jazyk/Země
Automatické Ladění
Automatické Ladění
1 Po zvolení funkce “Ruční Ladění”, stiskněte
Třídění Programů
Třídění Programů
Ruční Ladění
Ruční Ladění
tlačítko . S vyznačenou položkou
Pokročilé Vybavení
Pokročilé Vybavení
Program stiskněte , a poté stiskněte
OK
OK
nebo pro volbu čísla programu
(pozice), na kterém si přejete naladit televizní
Ruční Ladění
stanici nebo kanál videa (pro kanál videa
Program:
01
Systém:
B/G
Vám doporučujeme vybrat číslo programu
Kanál:
C 21
Pojmenování:
--TVE
AFT:
Zap
“0”). Stiskněte tlačítko .
Přeskočit:
Ne
Dekodér:
Vyp
Potvrd’te
2 Po zvolení funkce Systém, stiskněte tlačítko
OK
, a poté stiskněte nebo pro volbu
systému televizní stanice (B/G pro Západní
Evropu nebo D/K pro Východní Evropu)
Stiskněte .
pokračuje ...
Režim menu na obrazovce
11

04KV-21LT1KCZ.fm Page 12 Wednesday, May 16, 2001 11:45 AM
Stupeň 1 Stupeň 2 Stupeň 3 / Funkce
3 Po zvolení funkce Kanál, stiskněte tlačítko
Nastavení Obrazu
Režim: Osobní
a poté stiskněte nebo pro volbu typu
Kontrast
Jas
kanálu (“C” pro pozemní vysílání nebo “S” pro
Barevná Sytost
Ostrost
Odstín
kabelové vysílání). Stiskněte tlačítko .
Reset
Posléze stiskněte číselná tlačítka pro zavedení
OK
čísla kanálu televizní stanice nebo znaménka
kanálu videa.
Instalace
Instalace
Neznáte-li číslo kanálu, hledejte ho stisknutím
Jazyk/Země
Jazyk/Země
tlačítka nebo . Až najdete kanál, který
Automatické Ladění
Automatické Ladění
Třídění Programů
Třídění Programů
chcete uložit, stiskněte dvakrát tlačítko OK.
Ruční Ladění
Ruční Ladění
Pokročilé Vybavení
Pokročilé Vybavení
Zopakujte všechny tyto body pro naladění a
OK
OK
uložení ostatních kanálů.
Ruční Ladění
b) Dokonce i v případě, že je normálně
Program:
01
Systém:
B/G
Kanál:
zapojeno jemné automatické ladění kanálů
C 21
Pojmenování:
--TVE
AFT:
Zap
(AFT), můžeme obraz ručně doladit (jestliže je
Přeskočit:
Ne
Dekodér:
Vyp
Potvrd’te
nejasný) a dosáhnout jeho zlepšení.
OK
K tomu je třeba: zatímco sledujete kanál
(televizní stanici), ve kterém chcete provést
jemné naladění, zvolte funkci AFT, a poté
stiskněte tlačítko . Stiskněte nebo
pro doladění úrovně frekvence kanálu v
rozmezí
od -15 do +15. Nakonec stiskněte dvakrát
tlačítko OK a tímto se nové doladění uloží do
paměti.
c) Vynechat čísla programů, které si nepřejete
sledovat a tím je přeskočit při jejich výběru
pomocí tlačítek PROG +/-.
K tomu je třeba: vyznačením funkce Program,
stiskněte tlačítko PROGR + nebo -, až se
objeví číslo programu, který chcete vynechat.
Po té, až se objeví na obrazovce, zvolte funkci
Přeskočit a následovně stiskněte tlačítko .
Stiskněte nebo pro volbu Ano a
nakonec stiskněte dvakrát tlačítko OK pro jeho
uložení.
Jestliže časem chcete opět používat číslo
vynechaného programu, postupujte tak, jak je
výše uvedeno, ale místo “Ano” zvolte “Ne”.
d) Přidělit jméno kanálu, maximálně o pěti
znacích.
K tomu je třeba: vyznačením funkce Program,
stiskněte tlačítko PROGR + nebo -, až se
objeví číslo programu, který chcete
pojmenovat. Po té, až se objeví na
obrazovce, zvolte funkci Pojmenování a
následovně stiskněte tlačítko .
Stiskněte nebo pro volbu jednoho
písmene, čísla nebo “-” pro mezeru a
stiskněte pro potvrzení tohoto znaku.
Zbývající čtyři znaky zvolte stejným
způsobem. Po zvolení všech znaků, stiskněte
dvakrát tlačítko OK pro jejich uložení.
pokračuje ...
12
Režim menu na obrazovce

04KV-21LT1KCZ.fm Page 13 Wednesday, May 16, 2001 11:45 AM
Stupeň 1 Stupeň 2 Stupeň 3 / Funkce
RODIČOVSKÝ ZÁMEK
Nastavení Obrazu
Režim: Osobní
Funkce “Rodičovský Zámek” v režimu menu
Kontrast
Jas
“Pokročilé Vybavení” slouží pro zablokování
Barevná Sytost
Ostrost
Odstín
tlačítek televizoru. Po zvolení této funkce a po
Reset
OK
vypnutí televizoru, tlačítka televizoru zůstanou
zablokovaná a televizor bude možné opět
zapnout pouze použitím tlačítek na dálkovém
Instalace
Pokročilé Vybavení
Jazyk/Země
Rodičovský Zámek:
Vyp
Automatické Ladění
Redukce Šumu:
Zap
ovladači.
Aut.Regul.Hlasit.:
Zap
Třídění Programů
RGB Centr:
0
Ruční Ladění
Otočení Obrazu:
0
K tomu je třeba: po zvolení funkce, stiskněte
Pokročilé Vybavení
tlačítko . Poté stiskněte nebo pro
OK
OK
volbu Zap. Stiskněte OK pro jeho uložení a
nakonec stiskněte tlačítko
na dálkovém
ovladači.
Jestliže časem budete chtít toto zablokování
zrušit, postupujte tak, jak je výše uvedeno, ale
zvolte “Vyp” místo “Zap”.
Nastavení Obrazu
REDUKCE ŠUMU
Režim: Osobní
Kontrast
Funkce “Redukce Šumu” v režimu menu
Jas
Barevná Sytost
Ostrost
“Pokročilé Vybavení” slouží k redukci šumu
Odstín
Reset
obrazu v případě slabých signálů televizoru.
OK
K tomu je třeba: po zvolení funkce, stiskněte
tlačítko . Poté stiskněte nebo , zvolte
Instalace
Pokročilé Vybavení
Jazyk/Země
Rodičovský Zámek:
Vyp
Zap a nakonec stiskněte OK pro jeho uložení.
CZ
Redukce Šumu:
Zap
Automatické Ladění
Aut.Regul.Hlasit.:
Zap
Třídění Programů
RGB Centr:
0
Ruční Ladění
Otočení Obrazu:
0
Jestliže časem budete chtít tuto funkci zrušit,
Pokročilé Vybavení
postupujte tak, jak je výše uvedeno, ale zvolte
OK
OK
“Vyp” místo “Zap”.
Nastavení Obrazu
AUTOMATICKÝ REGULÁTOR HLASITOSTI
Režim: Osobní
Kontrast
Funkce “Aut. Regul. Hlasit.” v režimu menu
Jas
Barevná Sytost
“Pokročilé Vybavení” slouží k udržování
Ostrost
Odstín
Reset
úrovně hlasitosti kanálů nezávisle na vysílaném
OK
signálu (např. při reklamách).
K tomu je třeba: po zvolení funkce, stiskněte
Instalace
Pokročilé Vybavení
Jazyk/Země
Rodičovský Zámek:
Vyp
tlačítko . Poté stiskněte nebo , zvolte
Automatické Ladění
Redukce Šumu:
Zap
Aut.Regul.Hlasit.:
Zap
Třídění Programů
Zap a nakonec stiskněte OK pro jeho uložení.
RGB Centr:
0
Ruční Ladění
Otočení Obrazu:
0
Pokročilé Vybavení
Jestliže časem budete chtít tuto funkci zrušit,
OK
OK
postupujte tak, jak je výše uvedeno, ale zvolte
“Vyp” místo “Zap”.
pokračuje ...
Režim menu na obrazovce
13

04KV-21LT1KCZ.fm Page 14 Wednesday, May 16, 2001 11:45 AM
Stupeň 1 Stupeň 2 Stupeň 3 / Funkce
Nastavení Obrazu
RGB CENTR.
Režim: Osobní
Kontrast
Při zapojení zdroje signálů RGB, jako
Jas
Barevná Sytost
“PlayStation”, je možné, že bude třeba upravit
Ostrost
Odstín
Reset
centrování obrazu. V tomto případě se upravuje
OK
pomocí funkce “RGB Centr” v režimu menu
“Pokročilé Vybavení”.
Instalace
Pokročilé Vybavení
Jazyk/Země
Rodičovský Zámek:
Vyp
Redukce Šumu:
Zap
K tomu je třeba: zatímco sledujete vstupní
Automatické Ladění
Aut.Regul.Hlasit.:
Zap
Třídění Programů
RGB Centr:
0
Ruční Ladění
Otočení Obrazu:
0
signál RGB, zvolte funkci “RGB Centr” a
Pokročilé Vybavení
stiskněte tlačítko . Poté stiskněte nebo
OK
OK
pro upravení centra obrazu (seřizujte od - 10
do + 10). Nakonec stiskněte tlačítko OK pro
jeho uložení.
Nastavení Obrazu
OTOČENÍ OBRAZU
Režim: Osobní
Kontrast
(pouze pro KV-21LT1K)
Jas
Barevná Sytost
Vzhledem k zemské přitažlivosti se může stát,
Ostrost
Odstín
Reset
že se obraz nakloní. V tomto případě ho můžete
OK
upravit použitím funkce “Otočení Obrazu” v
režimu menu “Pokročilé Vybavení”.
Instalace
Pokročilé Vybavení
Jazyk/Země
Rodičovský Zámek:
Vyp
Redukce Šumu:
Zap
K tomu je třeba: po zvolení funkce, stiskněte
Automatické Ladění
Aut.Regul.Hlasit.:
Zap
Třídění Programů
RGB Centr:
0
tlačítko . Poté stiskněte nebo pro
Ruční Ladění
Otočení Obrazu:
0
Pokročilé Vybavení
seřízení otočení obrazu v rozmezí od - 5 do + 5.
OK
OK
Nakonec stiskněte OK pro jeho uložení.
14
Režim menu na obrazovce

04KV-21LT1KCZ.fm Page 15 Wednesday, May 16, 2001 11:45 AM
Teletext
Teletext je informační služba, kterou užívá většina televizních stanic. Na straně s obsahem
služeb teletextu (všeobecně je to strana 100) je poskytnuta informace o tom, jak se užívá
tato služba. Pro práci v teletextu používejte tlačítka dálkového ovladače tak, jak je
uvedeno v této kapitole.
Zvolte televizní stanici se silným signálem, jinak může dojít v teletextu k chybám.
Vstup do teletextu
TELETEXT
TELETEXT
TELETEXT
TELETEXT
TELETEXT
TELETEXT
TELETEXT
TELETEXT
Zvolte kanál (televizní stanici), který vysílá teletext, který si přejete sledovat,
Index
Index
Index
Index
Index
Index
Index
Index
Programme
Programme
Programme
Programme
Programme
Programme
Programme
Programme
25
25
25
25
25
25
25
25
stisknutím tlačítka .
News
News
News
News
News
News
News
News
153
153
153
153
153
153
153
153
Sport
Sport
Sport
Sport
Sport
Sport
Sport
Sport
101
101
101
101
101
101
101
101
Weather
Weather
Weather
Weather
Weather
Weather
Weather
Weather
98
98
98
98
98
98
98
98
Zvolení stránky teletextu
Pomocí číselných tlačítek dálkového ovládače zadejte tři čísla představující příslušné číslo
stránky, kterou si přejete vidět.
• V případě, že se při volbě zmýlíte, zadejte jakákoliv tři čísla, a poté znovu zadejte správné
číslo stránky.
• Jestliže se počítadlo stránek nezastaví, je to proto, že požadovaná stránka není k dispozici.
V tomto případě zadejte jiné číslo stránky.
Zvolení následující nebo předchozí stránky
Stiskněte tlačítka PROGR + ( ) nebo PROGR - ( ).
CZ
Překrytí teletextu televizním obrazem
Zatímco sledujete teletext, stiskněte tlačítko . Opětovným stisknutím se teletextový režim
zruší.
Zmrazení teletextové stránky
Některé stránky teletextu se mohou skládat z několika podstran, které se automaticky
otáčejí. Pro zmrazení jedné podstránky stiskněte tlačítko / . Opětovným stisknutím
se zmrazení podstránky zruší.
Odhalení skrytých informací (např. soutěžních odpovědí)
Stiskněte tlačítko / . Opětovným stisknutím se informace opět ukryje.
Vystoupení z teletextu:
Stiskněte tlačítko .
Fastext
Služba Fastextu nám umožní přístup do požadované stránky teletextu stisknutím pouze
jednoho tlačítka.
Jste-li v teletextu a v případě, že se vysílají signály Fastextu, na spodní části obrazovky se
objeví nabídka barevných kódů, které umožňují přístup přímo k teletextové stránce. K
zobrazení této nabídky stiskněte tlačítko příslušné barvy (červené, zelené, žluté nebo
modré) na dálkovém ovladači.
Teletext
15

04KV-21LT1KCZ.fm Page 16 Wednesday, May 16, 2001 11:45 AM
Připojení přídavných zařízení
K televizoru je možné připojit různá další zařízení, jak je uvedeno níže. (Přípojné kabely se
nedodávají).
Připojení videa:
Pro připojení videa, obsáhlejší
informace najdete v kapitole
“Připojení anteny a videa”.
Doporučujeme Vám, byste pro
připojení videa použili kabel typu
Eurokonektor. V případě, že
nepoužijete tento kabel, budete
8mm/Hi8/DVC
muset naladit kanál video signálu
kamkordér
ručně pomocí menu “Ruční
Ladění” (viz odst.a) na str.11).
C
Zkonzultujte také návod k
obsluze Vašeho videa, kde se
1
2
dozvíte, jak získáte kanál video
signálu.
“PlayStation”**
AB
Máte-li k videu, které disponuje
videorekordér
Smartlinkem, zapojen Dekodér:
Zvolte funkci “Ruční Ladění” v
Dekodér
režimu menu “Instalace” a po
zvolení funkce “Dekodér”*, zvolte “Zap” (použitím nebo ) pro každý kódovaný kanál.
* Dostupnost této funkce závisí na volbě země v menu “Země”.
** “PlayStation” je výrobek Sony Computer Entertainment, Inc.
** “PlayStation” je značka registrovaná jako Sony Computer Entertainment, Inc.
Použití přídavných zařízení
1 Připojte přídavné zařízení přes příslušný konektor televizoru tak, jak je výše uvedeno.
2 Aby se objevil obraz připojeného zařízení, opakovaně tiskněte tlačítko , dokud se na
obrazovce neobjeví správný vstupní symbol.
Symbol Vstupní signály
1•Vstupní audio/video signál přes konektor typu Euro C
•Vstupní signál RGB přes konektor typu Euro C. Tento symbol se objeví
pouze v případě, že je připojen vstup RGB.
2•Vstupní video signál přes konektor RCA A a vstupní audio signál přes B.
3 Zapněte připojené zařízení.
4 Aby se znovu objevil normální televizní obraz, stiskněte tlačítko na dálkovém ovladači.
16
Doplňkové informace

04KV-21LT1KCZ.fm Page 17 Wednesday, May 16, 2001 11:45 AM
Technické údaje
Systém TV:
Příkon:
B/G/H, D/K
• KV-21LT1K: 55 W
• KV-14LT1K: 42 W
Systém kódování barev:
PAL, SECAM
Příkon v režimu časového vypnutí
NTSC 3.58, 4.43 (pouze pro video vstup)
(pohotovostní režim):
≤ 0.55 W
Rozložení kanálů:
VHF: E2-E12
Rozměry (š x v x h):
UHF: E21-E69
• KV-21LT1K:
CATV: S1-S20
Přibližně 514 x 478 x 487 mm.
HYPER: S21-S41
• KV-14LT1K:
D/K: R1-R12, R21-R69
Přibližně 393 x 358 x 415 mm.
Televizní obrazovka:
Hmotnost:
Plochá obrazovka FD Trinitron
• KV-21LT1K: Přibližně 24 Kg.
• KV-14LT1K: Přibližně 11.5 Kg.
Vstupy na zadní straně:
:1/ 21-pinový konektor typu EURO
Dodané příslušenství:
(norma CENELEC), včetně vstupu
1 dálkový ovládač, typ RM-887
pro audio/video, vstupu RGB,
2 baterie typu IEC.
výstupu audio/video z TV audio/
1 Anténa (pouze pro KV-14LT1K)
CZ
video.
Další funkce:
Vstupy na přední straně:
•Teletext, Fastext, TOPtext
…2 video vstup - konektor RCA
•Automatické zapojení
2 audio vstup - konektor RCA
•Automatické vypojení
•Smartlink (přímé propojení mezi
zdířka sluchátek
televizorem a kompatibilním
Výstupy zvuku:
videorekordérem. Podrobnější
• KV-21LT1K:
informace o Smartlinku najdete v
1 x 8 W (hudební výkon)
návodu k obsluze Vašeho
1 x 4 W (RMS Mono)
videorekordéru).
• KV-14LT1K:
•Automatické nalezení systému TV.
1 x 6 W (hudební výkon)
1 x 3 W (RMS Mono)
Úpravy v designu a technických vlastnostech bez předchozího upozornění.
Ekologický papír - 100% bez chloru
Doplňkové informace
17

04KV-21LT1KCZ.fm Page 18 Wednesday, May 16, 2001 11:45 AM
Řešení problémů
Zde jsou některá řešení problémů, které mohou ovlivnit obraz i zvuk.
Problém
Řešení
Není obraz (černá obrazovka) a není
•Zkontrolujte zapojení antény.
zvuk
• Zapojte televizor do zásuvky a stiskněte tlačítko na
čelní straně aparátu.
•Pokud na televizoru svítí indikátor , stiskněte tlačítko
na dálkového ovladače.
Špatný nebo žádný obraz, ale zvuk
•Pomocí Režimu menu vstupte do “Nastavení Obrazu”
je dobrý
a zvolte “Reset” pro obnovení továrního nastavení.
Není obraz nebo není informační
•Zkontrolujte zapojení přídavného zařízení a několikrát
menu přídavného zařízení
stiskněte tlačítko na dálkovém ovladači, dokud se
připojeného přes Eurokonektor na
správný vstupní symbol neobjeví na obrazovce.
zadní části televizoru
Dobrý obraz, ale bez zvuku.
• Stiskněte tlačítko +/- na dálkovém ovládači.
Barevné pořady nejsou barevné
• Pomocí Režimu menu vstupte do “Nastavení Obrazu”
a zvolte “Reset” pro obnovení továrního nastavení.
Obraz je zkreslený při změně
• Na zadní straně televizoru vypněte zařízení připojené
programu nebo při zvolení teletextu
přes 21-kolíkový Euro-konektor
Chybné zobrazování písmen a znaků
• Vstupem do nabídky Menu se dostanete až do úrovně
se projeví při sledování teletextu
nastavení “Instalace/Jazyk/Země”, zde zvolíte příslušný
jazyk a zemi, kde je televizor instalován a jejíž vysílání
televizor přijíma. Pro země kde se používají písmena a
znaky z Cyrilice a jejich název se nezobrazí v nabídce
doporučujeme použít nastavení televizoru pro Rusko.
Takto se předejdete chybnému zobrazování Cyrilichých
písmen a znaků v teletextu.
Obraz je nakloněný
• Pomocí Režimu menu zvolte funkci “Otočení Obrazu”
(pouze pro KV-21LT1K)
v režimu menu “Pokročilé Vybavení” a upravte
naklonění.
Šum v obrazu
• Pomocí Režimu menu zvolte funkci “AFT” v režimu
menu “Ruční Ladění” a ručně dolaďte. Tak dosáhnete
lepšího příjmu obrazu.
• Pomocí Režimu menu zvolte funkci “Redukce Šumu”
v režimu menu “Pokročilé Vybavení” a zvolte “Zap” pro
zredukování šumu v obrazu.
Dálkový ovládač nefunguje
• Vložte nové baterie.
Indikátor dočasného vypnutí
• Obraťte se na nejbližší autorizovaný servis Sony
televizoru (pohotovostní režim)
bliká, aniž by funkce “Časov.
Zapnutí” byla naprogramovaná.
Pokud se závady nepodařilo odstranit, nechte televizor prověřit oprávněným odborníkem.
Kryt NIKDY neodnímejte sami.
18
Doplňkové informace

05P2HUKV21;14LT1K.fm Page 1 Wednesday, May 16, 2001 12:11 PM
HU

Biztonsági előírások
Energiatakarékossági és
Kizárólag 220 - 240 V -os hálózati
biztonsági okok miatt ne hagyia
váltakozó feszültséggel
a készüléket készenléti
üzemeltesse a készüleket. Ne
üzemmódban, amikor nem
csatlakoztasson túl sok készüléket
használja. Hosszabb távollét
ugyanahhoz az aljzathoz, mert a
esetén húzza ki a hálózati
csatlakozó vezetéket a fali
túterhelés tüzet okozhat.
konnektorból.
Soha ne nyissa ki a készülék hátsó
Vihaos időjárás, villámlás idején
Az áramütés és a tűz veszélyének
burkolatát. A javítást bizza
saját biztonsága érdekében
elkerülése érdekében óvja a TV
szakemberre.
ne érintse meg a készüléket,
készüléket esőtől és
ahálózati csatlakozó vezetéket
nedvességtől.
és az antennakábelt.
A készülek szellőzőnyílásait hagyja
Ne állítsa a készüléket
A tűz veszélyének elkerülése
szabadon. A megfelelő
szélsőségesen meleg, párás vagy
érdekében ne alkalmazzon a
szellőzés érdekében a készülék
poros helyre, vagy olyan helyre,
készülek közelében nyílt lángot (ne
minden oldalánál hagyjon legalább
ahol mechanikai vibrációnak lehet
égessen pl. gyertyát).
10 cm-es szabad területet.
kitéve.
2
Biztonsági előírások
Ne dugion semmilyen tárgat a
készülekbe, mert ezzel tüzet és
áramütést okozhat.Ha a szellőző
nyíasokon keresztül bármilyen
szilárd test, vagy folyadék kerüll a
készülek belsejébe, húzza ki a
hálozaki csatlakozó vezetéket.
Azonnal ellenőriztesse
szakemberrel!
A képernyőt enyhén
A hálózati csatlakozó
Ne tegyen nehéz tárgyat a hálózat
megnedvesített ruhával
kihúzásánál a cstlakozó
vezetékré, mert megsérülhet.
tisztíthatja meg.
dugót forgia meg, és ne a
Javasoljuk, hogy a felesleges
Ne használjon a tisztításhoz
vezetéket.
vezetéket csévélje fel a tv
benzint, higítót, súrolószert.
készülék hátuljan lévő tartóra.
Tisztítás előtt húzza ki a hálózati
csatlakozót a konnektorból.
A TV készüléket stabil állványra
Mozgatás előtt húzza ki a hálózat
helyezze. Ne engedje, hogy a
készülék az oldalára vagy
képernyővel előre dőljön.
i
05P2HUKV21;14LT1K.fm Page 2 Wednesday, May 16, 2001 12:11 PM
Ne takarja le a készülék
csatlakozót a konnektorból.
szellőzőnyílásait pl. függönnyel,
A készüléket óvatosan szállítsa,
újsággal, stb.
kerülje a zötykölődős utcákat,
óvja a készüléket ütéstől,
rázkódástól.

06HUKV21LT1K.fm Page 3 Wednesday, May 16, 2001 11:56 AM
Bevezetés
Köszönjük, hogy ezt a Sony FD Trinitron sarkított képernyős televíziót választotta.
A televízió használata előtt figyelmesen olvassa el ezt az útmutatót és őrizze meg
jövőbeni referenciákhoz.
• Az útmutatóban használt jelképek:
• Lehetséges kockázatok.
• Fontos információ.
• Információ a funkcióról.
•1,2... Követendő utasítás sor.
MENU
• A távvezérlő árnyékolt gombjai mutatják a különböző utasítások végrehajtásához
K
megnyomandó gombokat.
• Információ az utasítások eredményéről.
Tartalomjegyzék
Biztonsági előírások ................................................................................................................................2
Bevezetés ................................................................................................................................................. 3
Általános leírás
A távvezérlő gombjainak általános leírása ..........................................................................................4
A televízió gombjainak általános leírása ............................................................................................. 5
HU
Üzembehelyezés
Az elemek behelyezése a távvezérlőbe ............................................................................................... 5
Hordozható antenna csatlakoztatása (csak a KV-14LT1K-hoz)...................................................... 6
Külső antenna és videomagnó csatlakoztatása................................................................................. 6
Első üzembehelyezés
A TV bekapcsolása és automatikus hangolás ................................................................................... 7
A képernyőn megjelenő menürendszerek
Bevezetés a képernyő menürendszereibe és azok használata .......................................................9
Útmutató a menükhöz ........................................................................................................................... 9
Teletext...............................................................................................................................................15
Kiegészítő információ
Választható készülékek csatlakoztatása ........................................................................................... 16
Választható készülékek használata ................................................................................................... 16
Műszaki jellemzők ................................................................................................................................. 17
Problémamegoldás ..............................................................................................................................18
Tartalomjegyzék
3

06HUKV21LT1K.fm Page 4 Wednesday, May 16, 2001 11:56 AM
A távvezérlő gombjainak általános leírása
A televízió ideiglenes kikapcsolása
A hang elnémítása
Nyomja meg a televízió ideiglenes kikapcsolásához (a
Nyomja meg a hang elnémításához.
készenléti üzemmód jelző kigyullad). Nyomja meg
újra a készenléti üzemmódból (standby) való
A hang visszakapcsolásához nyomja
bekapcsoláshoz.
meg újra.
Az energiamegtakarítás érdekében
Információ megjelenítése a
ajánlatos a televíziót teljesen
képernyőn
kikapcsolni, ha azt nem használja.
Nyomja meg az összes utasítás
Amennyiben 15 perc elteltével
nincsen televíziójel és
képernyőn történő megjelenítéséhez.
semmilyen gombot nem
Nyomja meg újra annak törléséhez.
nyomtak le, a televízió auto
Csatornaválasztás
1
2
3
matikusan készenléti
Nyomja meg a csatornák
üzemmódba (standby) kapcsol.
4
5
6
kiválasztásához.
A bemenő forrás kiválasztása
7
8
9
Nyomja meg egymás után többször,
Kétjegyű programhelyek, pl. 23,
amíg a kívánt bemenő forrás jelképe
kiválasztásához nyomja meg először
0
megjelenik a képernyőn.
a -/-- gombot, majd a 2-es és a 3-as
MENU
Az utolsó választott csatornára
gombokat.
való visszatérés
Ha eltéveszti az első számjegyet,
Nyomja meg az utolsó választott
K
üsse be a második számjegyet (0-tól
csatornára való visszatéréshez (az
előző csatorna legalább 5
9-ig), majd ezt követően hajtsa végre
másodpercig kell képernyőn
újra a műveletet.
maradjon előzőleg).
A TV üzemmód kiválasztása
PROGR
A menürendszer bekapcsolása
Nyomja meg a teletext vagy a
Nyomja meg a menü képernyőn való
videobemenet kikapcsolásához.
megjelenítéséhez. Nyomja meg újra
annak kikapcsolásához, a televízió
A teletext kiválasztása
normál képernyőjéhez való
Nyomja meg a teletext
RM
887
visszantéréshez.
megjelenítéséhez.
A menü kiválasztására szolgáló
gombok
Ez a gomb csak teletext üzemmódban
•Ha a MENU aktív:
működik. A gombhoz tartozó
S
Egy szinttel feljebb.
funkció ezen a televizión nem
Egy szinttel lejebb.
működik.
Az előző menübe vagy
választásba való belépés.
A kép üzemmód kiválasztása
A következő menübe vagy
Nyomja meg egymás után többször a
választásba való belépés.
kép üzemmód kiválasztásához.
OK A választás megerősítése.
Hangerő szabályozás
•Ha a MENU nem aktív:
OK A csatornák általános listáját
Nyomja meg a televízió hangerejének
mutatja. A vagy a
szabályozásához.
megnyomásával válassza ki a
Ez a gomb csak teletext üzemmódban
csatornát, majd ezt követően
működik. A gombhoz tartozó
nyomja meg újból az OK gombot a
funkció ezen a televizión nem
kiválasztott csatorna nézéséhez.
működik.
A képernyő méret kiválasztása
Csatornaválasztás
Nyomja meg többször egymás után
Nyomja meg az előző vagy a
a képernyő méretének változ-
tatásához. 4:3 a megszokott képhez
következő csatorna kiválasztásához.
vagy 16:9 a széles képernyő
utánzásához.
A televízió funkcióin kívül, minden színes gomb használható a teletexttel történő
műveletekhez is. További információt a használati utasítás “Teletext” c. fejezetében talál.
4
Általános leírás

