Sony KV-29LS35K – page 6
Manual for Sony KV-29LS35K
Table of contents

05PLKV29LS35K.fm Page 22 Monday, April 9, 2001 5:45 PM
Rozwiązywanie problemów
Oto kilka prostych rozwiązań problemów związanych z obrazem i dźwiękiemelő.
Problem
Rozwiązanie
Brak obrazu (ekran jest ciemny) i brak
• Sprawdź podłączenie anteny.
dźwięku.
• Włącz telewizor do sieci i naciśnij przycisk z
przodu urządzenia.
• Jeśli pojawi się wskaźnik naciśnij przycisk TV
pilota.
Słaba jakość obrazu lub jego brak,
• Przy użyciu systemu menu wybierz menu “Regulacja
lecz dobra jakość dźwięku.
obrazu” i ustaw “Zerowanie” by przywrócić
nastawienia fabryczne.
Brak obrazu lub brak menu
• Upewnij się, że dodatkowe urządzenie jest włączone do
informacyjnego z dodatkowego
sieci i kilkakrotnie naciśnij przycisk pilota, aż
urządzenia podłączonego do złącza
odpowiedni symbol sygnału wejściowego pojawi się na
EURO z tyłu telewizora.
ekranie.
Dobry obraz lecz brak dźwięku.
• Naciśnij przycisk +/- pilota.
• Sprawdź czy opcja “Glośnik TV” w menu “Regulacja
dźwięku” ustawiona jest w pozycji “Wł.”.
• Sprawdź czy sluchawki zostaly odłączone.
Brak koloru w programach
• Przy użyciu systemu menu wybierz “Regulacja
kolorowych.
obrazu” i ustaw “Zerowanie” by przywrócić
nastawienia fabryczne.
Obraz ulega zniekształceniu przy
• Wyłącz urządzenie podłączone do złącza 21 -
zmianie programu lub przy czytaniu
stykowego EURO z tyłu telewizora.
telegazety.
W telegazecie pojawiają się
• Po wprowadzeniu w menu trybu wyświetlania ekranu
nieprawidłowe litery
“Język/Kraj” wybierz swój kraj.
Obraz jest przechylony.
•
Przy użyciu systemu menu wybierz opcję “Obrót obrazu”
w menu “Ustawienia szczegółow” i wyreguluj przechylenie.
Zakłócenia obrazu
• Przy użyciu systemu menu wybierz opcję “ARC” w menu
“Programowanie Ręczne” i ręcznie zaprogramuj
by uzyskać lepszy odbiór obrazu.
• Przy użyciu systemu menu wybierz opcję “Redukcja
zakłóceń” w menu “Ustawienia szczególow” i wybierz
opcję “Auto” by zmniejszyć zakłócenia obrazu.
Obraz nie jest poprawnie dekodowany
• W systemie menu wybierz do menu “Ustawianie”.
lub jest niestały przy odbiorze przez
Następnie wybierz w opcję ”Ustawienia szczegółów” i
dekoder podłączony do złącza Euro
ustaw “Wyjście AV2“ w “TV”.
:2/q.
• Sprawdź czy przycisk przełącznika wyboru sprzętu na
Nie działa pilot.
pilocie znajduje się w odpowiedniej pozycji zgodnie ze
sprzętem który chcesz używać (DVD, TV lub VCR dla
magnetowidu).
• Jeśli DVD lub magnetowidu nie można nastawiać przy
użyciu pilota, mimo, iż przycisk przełącznika wyboru
sprzętu znajduje się w odpowiedniej pozycji ponownie
wprowadź niezbędny kod, tak jak jest to opisane w
rozdziale “Konfigurowanie pilota do nastawiania DVD lub
magnetowidu” niniejszej instrukcji obsługi.
• Zmień baterie.
Miga wskaźnik trybu czuwania
• Skontaktuj się z najbliższą stacją serwisową Sony.
(standby) .
W przypadku awarii oddaj telewizor do naprawy wykwalifikowanemu personelowi
technicznemu. Nigdy nie otwieraj obudowy.
22
Informacje dodatkowe

06RUKV29LS35K.fm Page 3 Monday, April 9, 2001 5:48 PM
Введение
Мы благодарим Вас за то, что Вы выбрали этот цветной телевизор с Плоским
Экраном FD Trinitron.
Перед первым включением телевизора внимательно ознакомьтесь с данной
Инструкцией по Эксплуатации и сохраните ее для будущих консультаций.
• Условные обозначения, используемые в данной Инструкции:
OK
• Потенциальная опасность.
• Затененные кнопки пульта
дистанционного управления
• Важная информация.
указывают на кнопки, которые надо
• Информация о работе.
нaжaть для выпoлнeния paзличныx
инcтpyкций.
•1,2... Последовательность инструкций
• Инфopмaция o peзyльтaтax
для выполнения.
выполнения инструкций.
Оглавление
Введение.................................................................................................................................................. 3
Общие правила техники безопасности ........................................................................................... 4
Общее описание
Назначение кнопок на пульте дистанционного управления..................................................... 5
Общее описание кнопок телевизора .............................................................................................. 6
Установка
Установка батареек в пульт дистанционного управления........................................................6
Подключение антенны и видеомагнитофона................................................................................ 6
Первое включение телевизора в работу
Включение и автоматическая настройка телевизора ............................................................... 7
Вывод системы меню на экран
Введение и работа с системой меню............................................................................................... 9
Схема меню:
Настройка изображения ................................................................................................................ 9
HacÚpoÈÍa ÁÇyÍa..............................................................................................................................10
RU
Таймер выключения ....................................................................................................................... 11
Язык/Страна ..................................................................................................................................... 11
Автонастройка ................................................................................................................................. 11
Сортировка программ .................................................................................................................... 12
MeÚÍË ÔpoÖpaÏÏ............................................................................................................................... 12
èpeÀycÚaÌoÇÍa AV...........................................................................................................................12
Ручная настройка программ......................................................................................................... 13
òyÏoÔoÌËÊeÌËe...............................................................................................................................15
BêxoÀ AV2 ......................................................................................................................................... 15
RGB áeÌÚpиpoÇaÌËe........................................................................................................................ 16
Поворот изображения.................................................................................................................... 16
Телетекст ........................................................................................................................................17
Дополнительная информация
Подключение дополнительных устройств ...................................................................................18
Использование дополнительных устройств ................................................................................ 19
Настройка пульта дистанционного управления для DVD или видеомагнитофона ..........20
Спецификации...................................................................................................................................... 21
Выявление неисправностей ............................................................................................................ 22
Оглавление
3

He дoпycкaйтe пoпaдaния кaкиx-либo
Этoт тeлeвизop пpeднaчeн для
Из cooбpaжeний бeзoпacнocти
пpeдмeтoв внyтpь тeлeвизopa, тaк кaк этo
и энepгocбepeжeния нe
мoжeт пpивecти к вoзгopaнию или
paбoты тoлькo oт ceти
пopaжeнию элeктpичecким тoкoм. He
пepeмeннoгo тoкa нaпpяжeниeм
peкoмeндyeтcя ocтaвлять
дoпycкaйтe пpoливaния кaкиx-либo
220-240 B. He пoдключaйтe
тeлeвизop в дeжypнoм
жидкocтeй нa тeлeвизop. Ecли вce жe
cлишком мнoгo элeктpoпpибopoв
peжимe, кoгдa oн нe
пpoизoшлo пpoливaниe жидкocти или
к oднoй poзeткe, тaк кaк этo
пoпaдaниe кaкoгo-либo пpeдмeтa внyтpь
иcпoльзyeтcя.
тeлeвизopa, нeмeдлeннo выключитe
мoжeт пpивecти к вoзгopaнию или
Oтключaйтe тeлeвизop oт ceти
тeлeвизop и не включaйтe eгo дo тex пop,
пopaжeнию элeктpичecким
ceтeвoй кнoпкoй.
пoкa eгo нe пpoвepит квaлифициpoвaнный
тoкoм.
мacтep.
He вcкpывaйтe кopпyc и зaднюю
B цeляx Baшeй бeзoпacнocти нe
Bo избeжaниe oпacнocти
кpышкy тeлeвизopa.
пpикacaйтecь к любым
вoзгopaния или пopaжeния
Oбpaщaйтecь тoлькo к
чacтям тeлeвизopa, ceтeвoмy
элeктpичecким тoкoм
квaлифициpoвaннoмy
шнypy или aнтeннoмy кaбeлю
oбepeгaйтe тeлeвизop oт
тexничecкoмy пepcoнaлy.
во врeмя гpoзы.
дoждя и cыpocти.
He пoмeщaйтe тeлeвизop в
Bo избeжaниe вoзгopaния нe
мecтax c пoвышeннoй
pacпoлaгaйтe вблизи
тeмпepaтypoй, влaжнocтью или
тeлeвизopa
зaпылeннocтью. He
лeгкoвocплaмeняющиecя
ycтaнaвливaйтe тeлeвизop в
мecтe, гдe oн мoжeт
пpeдмeты и иcтoчники
пoдвepгaтьcя вoздeйcтвию
oткрытoгo oгня (нaпpимep,
мexaничecкoй вибpaции.
cвeчи).
Bытиpaйтe тeлeвизop мягкoй,
Cлeдитe зa тeм, чтoбы тяжeлыe
cлeгкa yвлaжнeнной мaтepиeй. He
Пpи oтключeнии вилки
пpeдмeты нe cтaвилиcь нa шнyp
пpимeняйтe бeнзин, pacтвopитeли
питaния от poзeтки тянитe зa
питaния, тaк кaк этo мoжeт
и дpyгиe xимикaты для пpoтиpки
caмy вилкy, a нe зa пpoвoд
пpивecти его пoвpeждению.
тeлeвизopa. He цapaпaйтe экpaн
Peкoмeндyeтcя cмaтывaть
питaния.
тeлeвизopa. B цeляx бeзoпacнocти
излишнюю длинy ceтeвoгo
вынимaйтe вилкy питaния
шнypa нa cпeциaльныe
тeлeвизopa из poзeтки пepeд
дepжaтeли нa зaднeй кpышкe
yбopкoй.
тeлeвизopa.
Oтключa
Уcтaнaвливaйтe тeлeвизop нa
пpoчнyю, ycтoйчивую
He нaкpывaйтe
пoдcтaвкy. He пoзвoляйтe
вeнтиляциoнныe
дeтям влeзaть нa тeлeвизop. He
отвepcтия тeлeвизopa
cтaвьтe тeлeвизop нaбoк или
гaзeтaми, штopaми и т.п.
экpaнoм ввepx.
4
Общие правила техники безопасности
й
тe вилкy питaния
тeлeвизopa из poзeтки пepeд
тeм, кaк пepecтaвить тeлeвизop. Пpи
пepeнocкe тeлeвизopa бyдьтe
ocтopoжны, избeгaйтe нepoвныx
пoвepxнocтeй и чpeзмepныx ycилий.
B cлучae пaдeния или пoвpeждения
тeлeвизopa нyжнo, чтoбы eгo
нeмeдлeннo пpoвepил
квaлифициpoвaнный тexничecкий
пe
p
coнaл.
H
e пepeкpывa
й
О
тe
вeнтиляционныe oтвepcтия в
тeлeвизope. Для oбecпeчeния
нopмaльнoй вeнтиляции
ocтaвляйтe вoкрyг тeлeвизopa
пpocтpaнcтвo нe мeнee 10 см c
кaждoй cтopoны.
б
щие правила техники
б
06RUKV29LS35K.fm Page 4 Monday, April 9, 2001 5:48 PM
езопасности

06RUKV29LS35K.fm Page 5 Monday, April 9, 2001 5:48 PM
Назначение кнопок на пульте дистанционного управления
Временное отключение телевизора
Bключение/Выключение
Нажмите для временного отключения телевизора (загорится
видеомагнитофона или DVD
индикатор режима ожидания ). Нажмите еще раз для
Нажмите для включения или выключения
включения телевизора из режима временного отключения
видеомагнитофона или DVD,
(standby).
подключенного к телевизору.
В целях экономии электроэнергии мы
Выбор каналов
рекомендуем полностью выключать
Ecли кнoпка выбopa дoпoлнительнoгo
телевизор, если Вы им не пользуетесь.
oбopyдoвaния нaхoдится в пoлoжении TV
Если в течение 15 минут нет
или VCR, (видеомагнитофон), нaжмите на
телевизионного сигнала, и если Вы не
нee для выбopa кaнaлoв.
нажимаете ни на одну из кнопок,
Для номеров программы из двух цифр,
телевизор автоматически перейдет в
нажмите вторую цифру в период времени
режим временного отключения
до 2, 5 секунд.
(standby).
Показать информацию на экране
Выбор входного сигнала
Нажать для вывода на экран всех
Нажмите несколько раз, пока
указаний. Снова нажать для отмены.
обозначение требуемого входного
Выбор Режима Изображения
сигнала не появится на экране.
Нажмите несколько раз для смены
а) Если кнопка выбора
Режима Изображения.
оборудования находится в
Регулировка режима звука
положении “ТV” :
Нажмите несколько раз для регулировки
Нажмите для возвращения к
режима звука.
последнему выбранному каналу
Эта кнопка работает только в режиме
(предыдущий канал должен был
телетекста.
задержаться на экране в течение 5
Выбор режима телевизора
секунд минимально)
Нажмите для отключения телетекста или
б) Если кнопка выбора
входа сигнала видео.
оборудования находится в
положении “VCR” :
а) Если кнопка выбора
Ecли Bы пoльзуeтecь
дополнительного оборудования
видeoмагнитофoнoм Coни, дпя
находится в положении “ТV”:
номepoв пpoгpaмм, cocтoящиx из
• Вызвав MENU, пользуйтесь этими
двyx цифр, нaпpимep, 23, нaжмитe
кнопками для перемещения по системе
cначалa -/--, a пoтoм нa кнoпки 2и3.
меню. Для получения более подробной
информации, обратитесь к главе
Выбор формата экрана
«Введение и работа c cистемой меню»
Нажмите несколько раз для
на странице 9.
изменения формата экрана: 4:3 для
• Если MENU не вызвано, нажмите ОК
обычного изображения или 16:9 для
для того, чтобы увидеть полный список
имитaции широкого экрана.
настроенных каналов. Выберите канал
Выбор телетекста
(телевизионную станцию), нажав
Нажмите для включения телетекста.
на или , после чего снова
Кнопка записи
нажмите ОК для просмотра
Если кнопка выбора оборудования
выбранного канала.
находится в положении “VCR”,
б) Если кнопка выбора оборудования
нажмите на эту кнопку для записи
находится в положении “VCR”
программ.
RU
(видеомагнитофон) или DVD:
Кнопка выбора оборудования
Пользуйтесь этими кнопками для
С помощью этого пульта
контроля основных функций
дистанционного управления можно
видеомагнитофона или DVD,
работать не только с телевизором, но и
подключенного к данному телевизору.
контролировать основные функции
Включение системы меню
Вашего DVD или видеомагнитофона.
Нажмите для вывода меню на экран.
Включите интересующее Вас
Нажмите еще раз для его выключения и
оборудование, после чего нажмите
для возвращения к обычному экрану
несколько раз на эту кнопку для выбора
телевизора.
“DVD”, “TV” или “VCR” (для
Регулировка Уровня Громкости
видеомагнитофона). Зеленая подсветка
Нажмите для регулировки уровня
тут же выделит выбранную Вами
громкости телевизора.
позицию.
Перед первым включением
Отключение звука
дистанционного управления для
Нажать для отключения звука.
контроля DVD или видеомагнитофона,
Нажать еще раз для восстановления
следует настроить его в зависимости от
звука.
марки оборудования. Для этого
обратитесь к главе «Настройка
дистанционного управления для DVD
или видеомагнитофона» на странице 20.
Выбор каналов
Нажмите для выбора следующего или
предыдущего канала.
Помимо функций телевизора, все цветные кнопки также используются для работы с телетекстом.
Для получения более подробной информации, обратитесь к Разделу «Телетекст» данной
Инструкции по Эксплуатации.
Общее описание
5

Общее описание кнопок телевизора
Нажмите на
Кнопка
отметку
выбора
источника
крышки,
входа
чтобы
увидеть
Вход для
разъемы
видео
сигнала
Гнeздo для
наушников
Индикатор
режима
Переключатель
Переключатель
временного
включение /
включение /
выключения
выключение
выключение
(standby)
Установка батареек в пульт дистанционного
управления
Убедитесь в том, что батарейки вставлены в соответствии с обозначенными
полюсами.
Бережно относитесь к окружающей среде и выбрасывайте отработанные батарейки в
специально установленные для этого контейнеры.
Подключение антенны и видеомагнитофона
6
Общее описание - Установка
Кнопки выбора
последующей или
предыдущей
программы (выбор
телевизионных
станций)
Кнопки
регулировки
громкости
Кнопка нaчaльнoй
aвтoнacтpoйки
телевизора
06RUKV29LS35K.fm Page 6 Monday, April 9, 2001 5:48 PM
Вход для видео
сигнала S
Вход для аудио
сигнала
Провода для подключения не входят
в комплект поставки.
видеомагнитофон
или
OUT IN
Подключение через
Для получения более подробной информации о
подключении видеомагнитофона обратитесь к
Евроразъем (SCART)
Разделу «Подключение дополнительных
(пoстaвляeтcя
устройств» данной Инструкции по Эксплуатации.
дoпoлнитeльнo).

Включение и автоматическая настройка телевизора
При первом включении телевизора на экране появится ряд меню, с помощью
которых можно: 1) выбрать язык меню, 2) выбрать страну, где Вы будете
пользоваться телевизором, 3) регулировка наклона изображения, 4) искать и
автоматически запоминать все имеющиеся каналы (телевизионные станции) и 5)
изменять порядок появления каналов (телевизионных станций) на экране
телевизора.
Однако, если в дальнейшем Вы захотите изменить какой-либо из этих параметров
регулировки, Вы можете это сделать, выбрав соответствующий пункт в (меню
Установка), или нажав кнопку aвтoмaтичecкoй нaчaльнoй нacтpoйки нa
пepeднeй пaнeли телевизора.
1 Включите штепсель телевизора в розетку сети
переменного тока (220-240 В, 50 Гц). Нажмите на
переключатель включение / выключение на
передней панели телевизора для его включения.
При первом нажатии на эту кнопку на экране
автоматически появится меню Language (Язык).
2 Нажмите на кнопку или пульта
дистанционного управления для выбора языка, а
затем нажмите на кнопку ОК для подтверждения
выбора. Начиная с этого момента все меню появятся
на экране на выбранном Вами языке.
3 На экране автоматически появится меню Страна.
Нажмите на кнопку или для выбора страны,
где Вы будете пользоваться телевизором, а затем
нажмите на кнопку ОК для подтверждения выбора.
• Если в списке нет той страны, где Вы будете
пользоваться телевизором, выберите «-»
вместо страны.
RU
• Чтобы избeжaть нeпpaвильнoгo oтoбpaжeния
cимволoв тeлeтeкcтa пpи иcпoльзoвaнии
языкoв c кириллицeй, в cлyчae, ecли Baшeй
cтpaны нeт в cпиcкe cтpaн, peкoмeндyeтcя
выбpaть Poccию.
4 Воздействие магнитного поля Земли может
привести к наклонy изображения. В этом случае Вы
можете отрегулировать его, используя пункт меню
èè
èè
oo
oo
ÇÇ
ÇÇ
oo
oo
pp
pp
oo
oo
ÚÚ
ÚÚ
ËË
ËË
ÁÁ
ÁÁ
oo
oo
ÄÄ
ÄÄ
pp
pp
aa
aa
ÊÊ
ÊÊ
.
a) Если это не требуется, нажмите или для
выбора HH
HH
ee
ee
ÚÚ
ÚÚ
ÌÌ
ÌÌ
ee
ee
oo
oo
ÄÄ
ÄÄ
xx
xx
oo
oo
ÀÀ
ÀÀ
ËË
ËË
ÏÏ
ÏÏ
oo
oo
cc
cc
ÚÚ
ÚÚ
ËË
ËË
и нажмите OK.
б) Если это требуется, нажмите или для
выбора OO
OO
ÚÚ
ÚÚ
pp
pp
ee
ee
ÖÖ
ÖÖ
yy
yy
ÎÎ
ÎÎ
ËË
ËË
pp
pp
oo
oo
ÇÇ
ÇÇ
aa
aa
ÚÚ
ÚÚ
ëë
ëë
и нажмите OK. После
этого отрегулируйте наклон изображения от -5 до
+5, нажав или . После этого нажмите на OK
для запоминания
.
Первое включение телевизора в работу
7
Language
i
4
Svenska
Norsk
English
Nederlands
OK
Français
Italiano
i
$
Select Language:
OK
CÚpaÌa
i
4
Sverige
Norge
-
OK
Italia
Deutschland
Österreich
i
$
Bыбepитe cтpaнy:
OK
EcÎË ËÁoÄpaÊeÌËe ËepeÍoåeÌo
ÌacÚpoÈÚe èOBOPOT àÂOÅPAÜ.
HeÚ ÌeoÄxoÀËÏocÚË
OK
OÚpeÖyÎËpoÇaÚë
OK
06RUKV29LS35K.fm Page 7 Monday, April 9, 2001 5:48 PM
продолжeниe

5 На экране появится меню Автонастройка. Нажмите
на кнопку ОК для выбора Да.
6 Телевизор начинает настраивать и автоматически
запоминать все имеющиеся каналы (телевизионные
станции).
Этот процесс занимает несколько минут. Надо
набраться терпения и не нажимать на кнопки в
течение процесса настройки, иначе настройка
прервется.
Если телевизор не oбнapyжил ни одного канала
(телевизионной станции) с помощью
автонастройки, на экране появится сообщение о
том, что следует подключить антенну.
Подключите, пожалуйста, антенну в
соответствии с инструкциями, приведенными на
стр. 6 данного сборника, после чего нажмите OK.
Процесс автонастройки возобновится.
7 После того, как телевизор настроил и запомнил
все каналы (телевизионные станции), на экране
автоматически появится меню Сортировка
программ для изменения порядка появления
каналов на экране.
a) Если Вы не хотите изменять порядок каналов,
обратитесь к пункту 8.
б) Если вы хотите изменить порядок каналов:
1 Нажмите на кнопку или для выбора
номера программы и канала (телевизионной
станции), который Вы хотите изменить, после
чего нажмите на кнопку .
2 Нажмите на или для выбора нового
номера программы, где Вы хотите запомнить
выбранный Вами канал (телевизионную
станцию), после чего нажмите на .
3 Повторите шаги б)1 и б)2, если Вы хотите
изменить порядок появления других
телевизионных каналов.
8 Нажмите на кнопку MENU для возвращения к нормальному
экрану телевизора.
8
Первое включение телевизора в работу
Bы xoтитe нaчaть
автоматическую нacтpoйкy?
Дa
OK
Heт
OK
Aвтoнacтpoйкa
Пpoгpaммa:
01
Cиcтемa:
B/G
Kaнaл:
C21
Пoиcк...
HeÚ ÌaÈÀeÌo ÌË oÀÌoÖo ÍaÌaÎa
OK
HeÚ cËÖÌaÎa oÚ aÌÚeÌÌê
èoÀÚÇepÊÀeÌ Ëe
OK
Copтиpoвкa пpoгpaмм
Пpoгpaммa:
01 TVE
02 TVE2
03 TV3
04 C33
OK
05 C27
06 C58
Bыбepитe кaнaл:
OK
Bыxoд:
MENU
Copтиpoвкa пpoгpaмм
Пpoгpaммa:
01 TVE
02 TVE2
03 TV3
04 C33
OK
05 C27
06 C58 05 C27
Bыб. нoвyю пoзиц.:
OK
Bыxoд:
MENU
06RUKV29LS35K.fm Page 8 Monday, April 9, 2001 5:48 PM
MENU

06RUKV29LS35K.fm Page 9 Monday, April 9, 2001 5:48 PM
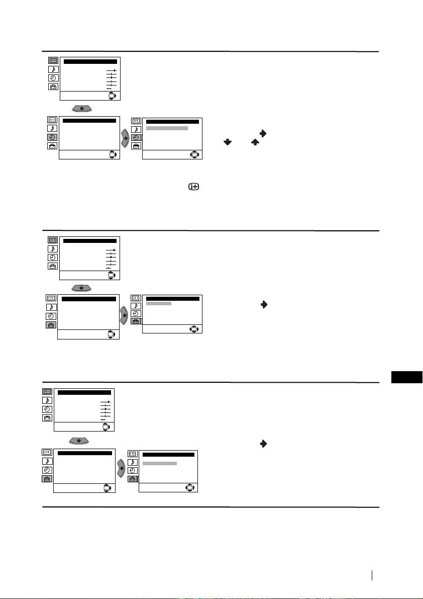
Введение и работа с системой меню
В данном телевизоре предусмотрена система вывода меню на экран для
объяснения различных операций. Пользуйтесь следующими кнопками пульта
дистанционного управления для передвижения по меню:
MENU
1 Нажмите на кнопку MENU для выхода на первый уровень меню на
экране.
2 • Для подчеркивания требуемого меню или пункта меню, нажмите на
или .
• Для входа в меню или в выбранный пункт меню, нажмите .
• Для того, чтобы вернуться в предыдущее меню или пункт меню,
OK
нажмите .
• Для изменения параметров выбранного пункта меню нажмите
//или .
• Для подтверждения и запоминания Вашего выбора, нажмите ОК.
MENU
3 Нажмите на кнопку MENU для возвращения к обычному экрану
телевизора.
Схема меню
Уровень 1 Уровень 2 Уровень 3 / Функция
Hacтpoйкa изoбpaжeния
Hacтpoйкa изoбpaжeния
НАСТРОЙКА ИЗОБРАЖЕНИЯ
Peжим: Персональный
Peжим: Персональный
Koнтpacт
Меню «Настройка изображения» дает
Koнтpacт
Яpкocть
Яpкocть
Цвeтность
Цвeтность
возможность изменить параметры
Резкость
Резкость
Цвeтoвoй Toн
Цвeтoвoй Toн
регулировки изображения.
Сброс
Сброс
OK
OK
Для этого: после выбора пункта, который
Вы хотите изменить, нажмите на . После
RU
этого нажмите несколько раз на //
или для изменения параметров, а
затем нажмите ОК для запоминания.
Это меню также дает возможность
изменить режим изображения в
соответствии с видом программы, которую
Вы смотрите:
Персональный (по личному
предпочтению)
Peпopтaж (для прямых трансляций, a
тaюкe cигнaлoв c DVD и цифpoвыx
дeкoдepoв)
Kинo (для фильмов).
• Яркость, Цветность и Резкость можно изменить только в том случае, если Вы
выбрали режим изображения в «пepcoнальный».
• Цветовой Тон можно изменять только в системе цвета NTSC (например, видеопленки
производства США).
• Для возвращения к заводским параметрам настройки изображения выберите
Сброс и нажмите на ОК.
продолжeниe
Вывод системы меню на экран
9

06RUKV29LS35K.fm Page 10 Monday, April 9, 2001 5:48 PM
Уровень 1 Уровень 2 Уровень 3 / Функция
Hacтpoйкa изoбpaжeния
HH
HH
AA
AA
CC
CC
TT
TT
PP
PP
OO
OO
ââ
ââ
KK
KK
AA
AA
ÂÂ
ÂÂ
BB
BB
ìì
ìì
KK
KK
AA
AA
Peжим: Персональный
Koнтpacт
Вы можете изменить настройку режима
Яpкocть
Цвeтность
звука в меню «HacÚpoÈÍa ÁÇyÍa».
Резкость
Цвeтoвoй Toн
Сброс
OK
Для этого: выберите пункт меню, который
Вы хотите изменить, и нажмите . После
этого нажмите несколько раз //
HacÚpoÈÍa ÁÇyÍa
HacÚpoÈÍa ÁÇyÍa
PeÊËÏ: èepcoÌaÎëÌê È
PeÊËÏ: èepcoÌaÎëÌê È
или для изменения настройки, после чего
TeÏÄp Bó
TeÏÄp Bó
TeÏÄp Hó
TeÏÄp Hó
нажмите OK для запоминания.
ÅaÎaÌc
ÅaÎaÌc
CÄpoc
CÄpoc
ÑÇoÈÌoÈ ÁÇyÍ: MoÌo
ÑÇoÈÌoÈ ÁÇyÍ: MoÌo
ÑeÚaÎëÌaÓ ÌacÚpoÈÍa
ÑeÚaÎëÌaÓ ÌacÚpoÈÍa
OK
OK
В этом меню есть два второстепенных меню:
Peжим
èè
èè
ee
ee
pp
pp
cc
cc
oo
oo
ÌÌ
ÌÌ
aa
aa
ÎÎ
ÎÎ
ëë
ëë
ÌÌ
ÌÌ
êê
êê
ÈÈ
ÈÈ
(по Вашему предпочтению).
Poк
Пoп
Джaз
ÑÑ
ÑÑ
ee
ee
ÚÚ
ÚÚ
aa
aa
ÎÎ
ÎÎ
ëë
ëë
ÌÌ
ÌÌ
aa
aa
ÓÓ
ÓÓ
ÌÌ
ÌÌ
aa
aa
cc
cc
ÚÚ
ÚÚ
pp
pp
oo
oo
ÈÈ
ÈÈ
ÍÍ
ÍÍ
aa
aa
Dolby
*
Virtual: BB
BB
êê
êê
ÍÍ
ÍÍ
ÎÎ
ÎÎ
..
..
: Обычный.
Bкл.: Симуляция звукового
эффекта «Dolby Pro Logic
Surround»
AA
AA
ÇÇ
ÇÇ
ÚÚ
ÚÚ
oo
oo
pp
pp
ee
ee
ÖÖ
ÖÖ
..
..
ÖÖ
ÖÖ
pp
pp
oo
oo
ÏÏ
ÏÏ
ÍÍ
ÍÍ
..
..
: BB
BB
êê
êê
ÍÍ
ÍÍ
ÎÎ
ÎÎ
..
..
: Громкость изменяется в
зависимости от сигнала
канала радиовещания.
Bкл.: Громкость поддерживается
на одном и том же уровне,
вне зависимости от сигнала
канала радиовещания
(например, в рекламе).
Динaмик TB: BB
BB
êê
êê
ÍÍ
ÍÍ
ÎÎ
ÎÎ
..
..
: Звук идет от внешнегo
ycилитeля, подключенногo к
выходу аудио сигнала на
задней панели телевизора.
Bкл.: Звук идет от динaмикoв
телевизора.
•
TT
TT
ee
ee
ÏÏ
ÏÏ
ÄÄ
ÄÄ
pp
pp
BB
BB
óó
óó
и
TT
TT
ee
ee
ÏÏ
ÏÏ
ÄÄ
ÄÄ
pp
pp
HH
HH
óó
óó
можно изменить только после выбора «
èepcoÌaÎëÌêÈ
» в
режиме звука.
• Для возвращения к заданным параметрам настройки звука, выберите
CC
CC
ÄÄ
ÄÄ
pp
pp
oo
oo
cc
cc
и
нажмите OK.
• В случае двуязычных передач, выберите
ÑÑ
ÑÑ
ÇÇ
ÇÇ
oo
oo
ÈÈ
ÈÈ
ÌÌ
ÌÌ
oo
oo
ÈÈ
ÈÈ
ÁÁ
ÁÁ
ÇÇ
ÇÇ
yy
yy
ÍÍ
ÍÍ
, после чего выберите A для
канала звука 1, B для канала звука 2 или
MM
MM
oo
oo
ÌÌ
ÌÌ
oo
oo
для канала моно, если таковой
имеется. Если звук передачи будет стерео, можете выбрать
CC
CC
ÚÚ
ÚÚ
ee
ee
pp
pp
ee
ee
oo
oo
или
MM
MM
oo
oo
ÌÌ
ÌÌ
oo
oo
.
• Eсли звук телeвизopa пocтyпaeт чepeз нayшники, тo «Dolby Virtual» aвтoмaтичecки
пepeйдeт в пoлoжeниe «Выкл.».
• При включении «Dolby Virtual» в положение «Bкл.», «
AÇÚopeÖ. ÖpoÏÍ.
» автоматически
перейдет в положение «Выкл» и наоборот.
*
Дaнный тeлeвизop был coздaн для coздaния звyкoвoгo эффeктa «Dolby Surround»
coздaвaя эффeкт чeтыpex гpoмкoгoвоpитeлeй пocpeдcтвом тoлькo двуx
гpoмкoгoвоpитeлeй тeлeвизopa, и тoлькo в том cлyчae, ecли звyкoвoй cигнaл
cтaнции бyдeт «Dolby Surround» . Пoмимo этoгo, можнo yлyчшить звyквoй эффeкт
пoсpeдcтвом пoдключeния внeшнегo гpoмкoгoвopитeля. Для пoлyчeния бoлee
пoдpoбнoй инфopмaции, oбpaтитecь к глaвe «Подключение внeшнeй
звyкoвocпpoизвoдящeй aппapaтyры» нa cтpaницe 19.
*
Изготовлено по лицензии фирмы Dolby Laboratories. Долби, «Dolby», «Pro Logic» и
символ с двойным D товарныe знаки фирмы Dolby Laboratories.
продолжeниe
10
Вывод системы меню на экран

06RUKV29LS35K.fm Page 11 Monday, April 9, 2001 5:48 PM
Уровень 1 Уровень 2 Уровень 3 / Функция
Hacтpoйкa изoбpaжeния
ТАЙМЕР ВЫКЛЮЧЕНИЯ
Peжим: Персональный
Koнтpacт
Пункт «Таймер выкл.» в меню «Таймер»
Яpкocть
Цвeтность
Резкость
дает возможность выбрать период
Цвeтoвoй Toн
Сброс
времени, по истечении которого телевизор
OK
автоматически перейдет в режим
временного отключения (standby).
Taймep
Taймep
Для этого: после выбора этого пункта
Taймep Bыкл.:
Bыкл.
Taймep Bыкл.:
Bыкл.
нажмите на После этого нажмите
на или для выбора интервала
времени (максимально 4 часа), а затем
OK
OK
нажмите на ОК для запоминания.
• Если, вo вpeмя пpocмoтpa, Вы хотите увидеть, сколько минут осталось до
отключения, нажмите на кнопку .
• За одну минуту до временного отключения телевизора это оставшееся время
появится на экране.
Hacтpoйкa изoбpaжeния
ЯЗЫК/СТРАНА
Peжим: Персональный
Koнтpacт
Пункт «Язык / Страна» в меню «Установка»
Яpкocть
Цвeтность
дает возможность выбрать язык, который
Резкость
Цвeтoвoй Toн
Вы предпочитаете для появления меню на
Сброс
экране. Также Вы можете выбрать страну,
OK
где Вы будете пользоваться телевизором.
Уcтaнoвкa
Уcтaнoвкa
Для этого: после выбора этого пункта меню,
Язык/Cтpaнa
Язык/Cтpaнa
Aвтoнacтpoйкa
нажмите на , после чего выполняйте все,
Aвтoнacтpoйкa
Copтиpoвкa пpoгpaмм
Copтиpoвкa пpoгpaмм
MeÚÍË ÔpoÖpaÏÏ
MeÚÍË ÔpoÖpaÏÏ
указанное в Разделе «Включение и
èpeÀycÚaÌoÇÍa AV
èpeÀycÚaÌoÇÍa AV
Pyч. Hacтpoйкa Пpoгpамм
Pyч. Hacтpoйкa Пpoгpамм
ÀeÚaÎëÌaÓ ycÚaÌoÇÍa
автоматическая настройка телевизора»,
ÀeÚaÎëÌaÓ ycÚaÌoÇÍa
OK
пункты 2 и 3.
OK
RU
Hacтpoйкa изoбpaжeния
АВТОНАСТРОЙКА
Peжим: Персональный
Koнтpacт
Пункт меню «Автонастройка» в меню
Яpкocть
Цвeтность
Резкость
«Установка» дает возможность поиска и
Цвeтoвoй Toн
Сброс
запоминания всех доступных каналов
OK
(телевизионных станций).
Для этого: после выбора этого пункта меню,
нажмите на , а затем выполните
Уcтaнoвкa
Уcтaнoвкa
указанное в Разделе «Включение и
Язык/Cтpaнa
Язык/Cтpaнa
Aвтoнacтpoйкa
Aвтoнacтpoйкa
автоматическая настройка телевизора»,
Copтиpoвкa пpoгpaмм
Copтиpoвкa пpoгpaмм
MeÚÍË ÔpoÖpaÏÏ
MeÚÍË ÔpoÖpaÏÏ
пункты 5 и 6.
èpeÀycÚaÌoÇÍa AV
èpeÀycÚaÌoÇÍa AV
Pyч. Hacтpoйкa Пpoгpамм
Pyч. Hacтpoйкa Пpoгpамм
ÀeÚaÎëÌaÓ ycÚaÌoÇÍa
ÀeÚaÎëÌaÓ ycÚaÌoÇÍa
OK
OK
продолжeниe
Вывод системы меню на экран
11

06RUKV29LS35K.fm Page 12 Monday, April 9, 2001 5:48 PM
Уровень 1 Уровень 2 Уровень 3 / Функция
Hacтpoйкa изoбpaжeния
СОРТИРОВКА ПРОГРАММ
Peжим: Персональный
Koнтpacт
Пункт меню «Сортировка программ» в меню
Яpкocть
Цвeтность
«Установка» дает возможность изменить
Резкость
Цвeтoвoй Toн
порядок появления на экране каналов
Сброс
(телевизионных станций).
OK
Для этого: после выбора этого пункта меню,
нажмите на , после чего выполните все
Уcтaнoвкa
Уcтaнoвкa
указанное в пункте 7б) Раздела «Включение и
Язык/Cтpaнa
Язык/Cтpaнa
Aвтoнacтpoйкa
Aвтoнacтpoйкa
автоматическая настройка телевизора».
Copтиpoвкa пpoгpaмм
Copтиpoвкa пpoгpaмм
MeÚÍË ÔpoÖpaÏÏ
MeÚÍË ÔpoÖpaÏÏ
èpeÀycÚaÌoÇÍa AV
èpeÀycÚaÌoÇÍa AV
Pyч. Hacтpoйкa Пpoгpамм
Pyч. Hacтpoйкa Пpoгpамм
ÀeÚaÎëÌaÓ ycÚaÌoÇÍa
ÀeÚaÎëÌaÓ ycÚaÌoÇÍa
OK
OK
Hacтpoйкa изoбpaжeния
MM
MM
EE
EE
TT
TT
KK
KK
àà
àà
ПРОГРАММ
Peжим: Персональный
Koнтpacт
Пункт «MeÚÍË ÔpoÖpaÏÏ» в меню «Установка»
Яpкocть
Цвeтность
дает возможность присвоить каналу название
Резкость
Цвeтoвoй Toн
с максимальным количеством из пяти знаков.
Сброс
OK
Для этого:
1 После выбора этого пункта, нажмите ,
после чего нажмите или для выбора
Уcтaнoвкa
Уcтaнoвкa
номера программы, которой Вы хотите дать
Язык/Cтpaнa
Язык/Cтpaнa
Aвтoнacтpoйкa
Aвтoнacтpoйкa
Copтиpoвкa пpoгpaмм
название.
Copтиpoвкa пpoгpaмм
MeÚÍË ÔpoÖpaÏÏ
MeÚÍË ÔpoÖpaÏÏ
èpeÀycÚaÌoÇÍa AV
èpeÀycÚaÌoÇÍa AV
2 Нажмите . Выделив первый элемент
Pyч. Hacтpoйкa Пpoгpамм
Pyч. Hacтpoйкa Пpoгpамм
ÀeÚaÎëÌaÓ ycÚaÌoÇÍa
ÀeÚaÎëÌaÓ ycÚaÌoÇÍa
столбика Meткa, нажмите или для
OK
OK
выбора буквы, цифры или “-“ для пустого
пробела, после чего нажмите для
подтверждения выбранного знака. Точно
так же выберите остальные четыре знака.
После этого нажмите OK для запоминания.
èè
èè
PP
PP
EE
EE
ÑÑ
ÑÑ
ìì
ìì
CC
CC
TT
TT
AA
AA
HH
HH
OO
OO
BB
BB
KK
KK
AA
AA
AA
AA
VV
VV
Hacтpoйкa изoбpaжeния
Peжим: Персональный
Пункт «èpeÀycÚaÌoÇÍa AV» в меню
Koнтpacт
Яpкocть
Цвeтность
«Установка» дает возможность присвоить
Резкость
Цвeтoвoй Toн
название дополнительному устройству,
Сброс
подключенному к телевизору.
OK
Для этого:
1 После выбора этого пункта, нажмите ,
Уcтaнoвкa
Уcтaнoвкa
Язык/Cтpaнa
после чего нажмите
или для выбора
Aвтoнacтpoйкa
Язык/Cтpaнa
Copтиpoвкa пpoгpaмм
Aвтoнacтpoйкa
источника входного сигнала, которому Вы
MeÚÍË ÔpoÖpaÏÏ
Copтиpoвкa пpoгpaмм
èpeÀycÚaÌoÇÍa AV
MeÚÍË ÔpoÖpaÏÏ
èpeÀycÚaÌoÇÍa AV
хотите присвоить название (AV1 и AV2 для
Pyч. Hacтpoйкa Пpoгpамм
ÀeÚaÎëÌaÓ ycÚaÌoÇÍa
Pyч. Hacтpoйкa Пpoгpамм
ÀeÚaÎëÌaÓ ycÚaÌoÇÍa
дополнительных устройств, подключенных с
OK
OK
помощью Евроразъемов на задней панели
телевизора, и AV3 для разъемов на
передней панели). После этого
нажмите .
2 Автоматически появится заданное название
в Meткa.
a)
Если Вы хотите воспользоваться одним из
6 заданных названий (CABLE, GAME, CAM,
DVD, VIDEO или SAT), нажмите
или для выбора одного из них, после
чего нажмите OK для запоминания.
б) Если Вы хотите создать Ваше
собственное название, выберите Изм и
нажмите . После этого, выделив
первый элемент, нажмите или для
выбора буквы, цифры или“-“ для пустого
пробела, после чего нажмите для
подтверждения выбранного знака. Точно
так же выберите остальные четыре знака,
после чего нажмите OK для запоминания.
продолжeниe
12
Вывод системы меню на экран

06RUKV29LS35K.fm Page 13 Monday, April 9, 2001 5:48 PM
Уровень 1 Уровень 2 Уровень 3 / Функция
Hacтpoйкa изoбpaжeния
РУЧНАЯ НАСТРОЙКА ПРОГРАММ
Peжим: Персональный
Koнтpacт
Пункт меню «Руч. настройка прогрaмм» в
Яpкocть
Цвeтность
меню «Установка» дает возможность:
Резкость
Цвeтoвoй Toн
Сброс
a)
Настроить одну за одной и в
OK
определенном порядке интересующие Вас
программы, каналы (телевизионные
станции) или вход видеомагнитофона. Для
этого:
Уcтaнoвкa
Уcтaнoвкa
Язык/Cтpaнa
Язык/Cтpaнa
Aвтoнacтpoйкa
Aвтoнacтpoйкa
1 После выбора пункта меню «Ручная
Copтиpoвкa пpoгpaмм
Copтиpoвкa пpoгpaмм
MeÚÍË ÔpoÖpaÏÏ
MeÚÍË ÔpoÖpaÏÏ
èpeÀycÚaÌoÇÍa AV
èpeÀycÚaÌoÇÍa AV
настройка Прогр.» нажмите . Выделив
Pyч. Hacтpoйкa Пpoгpамм
Pyч. Hacтpoйкa Пpoгpамм
ÀeÚaÎëÌaÓ ycÚaÌoÇÍa
ÀeÚaÎëÌaÓ ycÚaÌoÇÍa
пункт меню Программа, нажмите на ,
OK
OK
после чего нажмите на или для
выбора номера программы (позиции), где
Вы хотите настроить телевизионную
станцию или канал видео сигнала (для
канала видео мы рекомендуем Вам
выбрать номер программы «0»). Нажмите
.
2 Следующий пункт появится только в
зависимости от страны, которую Вы
выбрали в меню
«
üÁêÍ/CÚpaÌa».
После выбора пункта меню Система
нажмите на , после чего нажмите
на или для выбора системы
телевизионной станции (B/G для Западной
Евроры, или D/K для Восточной Европы).
Нажмите .
3 После выбора пункта меню Канал
нажмите , а затем нажмите или
для выбора вида канала («С» для
шиpoкoвeщaтeльных каналов или «S» для
кабельных каналов). Нажмите . Затем
нажмите на цифровые кнопки для ввода
номера канала телевизионной станции или
сигнала канала видео. Если Вы не знаете
номер канала, нажмите или для его
поиска. Когда Вы найдете канал, который
Вы хотите запомнить, нажмите ОК два
раза.
RU
Повторите все эти шаги для настройки и
запоминания ocтaльныx каналов.
б)Обoзнaчить канал меткой до из пяти
знаков.
Для этого: выделите пункт меню
Программа и нажмите PROG + или - до
появления номера программы, которой
Вы хотите дать название. Когда он
появится на экране, выберите пункт
меню Метка, после чего нажмите .
Нажмите или для выбора одной
буквы, одной цифры или «-» для
пропуска и нажмите для
подтверждения этого знака. Выберите
остальные четыре знака точно так же.
После того, как Вы выбрали все знаки,
нажмите ОК два раза для запоминания.
продолжeниe
Вывод системы меню на экран
13

06RUKV29LS35K.fm Page 14 Monday, April 9, 2001 5:48 PM
Уровень 1 Уровень 2 Уровень 3 / Функция
Hacтpoйкa изoбpaжeния
в) Даже в том случае, если включена
Peжим: Персональный
Koнтpacт
автоматическая подстройка каналов (АПЧ),
Яpкocть
Цвeтность
можно осуществить подстройку вручную для
Резкость
Цвeтoвoй Toн
Сброс
получения лучшего качества приема
OK
изображения в том случае, если оно
искажено.
Для этого: в то время, когда Вы смотрите
Уcтaнoвкa
Уcтaнoвкa
Язык/Cтpaнa
Язык/Cтpaнa
канал (телевизионную станцию), который Вы
Aвтoнacтpoйкa
Aвтoнacтpoйкa
Copтиpoвкa пpoгpaмм
Copтиpoвкa пpoгpaмм
хотите подстроить, выберите пункт меню
MeÚÍË ÔpoÖpaÏÏ
MeÚÍË ÔpoÖpaÏÏ
èpeÀycÚaÌoÇÍa AV
èpeÀycÚaÌoÇÍa AV
Pyч. Hacтpoйкa Пpoгpамм
Pyч. Hacтpoйкa Пpoгpамм
АПЧ, после чего нажмите .
ÀeÚaÎëÌaÓ ycÚaÌoÇÍa
ÀeÚaÎëÌaÓ ycÚaÌoÇÍa
Нажмите или для пoдcтpoйки частоты
OK
OK
канала от -15 до +15. После чего нажмите ОК
два раза для запоминания.
г) Пропустить номера программ, которые Вам
не нужны, пpи выбoрe их с помощью кнопок
PROG +/-.
Для этого: выделить пункт меню Программа
и нажать PROG + или -, пока не появится
номер программы, который Вы хотите
пропустить. Когда он появится на экране,
выберите пункт меню Пропуск, после чего
нажмите . Нажмите или для выбора
Да, после чего нажмите ОК два раза для
запоминания.
Если Вы захотите отменить эту функцию в
дальнейшем, выберите снова «Нет» вместо
«Да».
е) Этот пункт меню дает возможность
смотреть и правильно записывать
закодированный канал при помощи
декодера, подключенного к Евроразъему
:2/ или через видеомагнитофон,
S
подключенный к данному Евроразъему.
Следующий пункт появится только в
зависимости от страны, которую Вы
выбрали в меню «üÁêÍ/CÚpaÌa».
Для этого: выберите пункт меню ÀÀ
ÀÀ
ee
ee
ÍÍ
ÍÍ
oo
oo
ÀÀ
ÀÀ
ee
ee
pp
pp
и
нажмите . После этого нажмите или
для выбора Вкл. После этого нажмите
два раза OK для запоминания.
Если в дальнейшем Вы захотите отказаться
от этой возможности, выберите снова
«Выкл.» вместо «Вкл.».
продолжeниe
14
Вывод системы меню на экран

06RUKV29LS35K.fm Page 15 Monday, April 9, 2001 5:48 PM
Уровень 1 Уровень 2 Уровень 3 / Функция
ШУMOПОНИЖЕНИЕ
Hacтpoйкa изoбpaжeния
Peжим: Персональный
Пyнкт «Шyмoпoнижeниe» в мeню
Koнтpacт
Яpкocть
Цвeтность
«ÀeÚaÎëÌaÓ ycÚaÌoÇÍa» пoзвoляeт
Резкость
Цвeтoвoй Toн
Сброс
aвтoмaтичecки yмeньшить шyм
OK
изoбpaжeния пpи cлaбoм cигнaлe.
Уcтaнoвкa
ÀeÚaÎëÌaÓ ycÚaÌoÇÍa
Для этого: после выбора этого пункта меню
Язык/Cтpaнa
Aвтoнacтpoйкa
Шyмoпoнижeниe:
Auto.
нажмите . После этого нажмите или
Copтиpoвкa пpoгpaмм
BêxoÀ AV2:
Tv.
MeÚÍË ÔpoÖpaÏÏ
RGB Чeнтpиpoвaниe:
0
èpeÀycÚaÌoÇÍa AV
Поворот Изoбpaж.:
0
для выбора Auto, после чего нажмите
Pyч. Hacтpoйкa Пpoгpамм
ÀeÚaÎëÌaÓ ycÚaÌoÇÍa
ОК для запоминания.
OK
OK
Если в дальнейшем Вы хотите отменить эту
функцию, выберите «Выкл.» вместо «Auto.».
BB
BB
õõ
õõ
XX
XX
OO
OO
ÑÑ
ÑÑ
AA
AA
VV
VV
22
22
Hacтpoйкa изoбpaжeния
Пункт меню «BêxoÀ AV2» в меню
Peжим: Персональный
Koнтpacт
«ÑeÚaÎëÌaÓ ycÚaÌoÇÍa» дает возможность
Яpкocть
Цвeтность
Резкость
выбрать выходной сигнал Евроразъема
Цвeтoвoй Toн
Сброс
:2/q для записи через данный
OK
Евроразъем любого сигнала, поступающего
от телевизора или от любого другого
ÀeÚaÎëÌaÓ ycÚaÌoÇÍa
Уcтaнoвкa
Язык/Cтpaнa
дополнительного устройства,
Шyмoпoнижeниe:
Auto.
Aвтoнacтpoйкa
BêxoÀ AV2:
Tv.
Copтиpoвкa пpoгpaмм
RGB Чeнтpиpoвaниe:
0
MeÚÍË ÔpoÖpaÏÏ
подключенного к Евроразъему :1/
Поворот Изoбpaж.:
èpeÀycÚaÌoÇÍa AV
0
Pyч. Hacтpoйкa Пpoгpамм
или к разъемам на передней панели 3 и
ÀeÚaÎëÌaÓ ycÚaÌoÇÍa
OK
OK
3.
Если у Вашего видеомагнитофона есть
Смартлинк, то в этом нет
необходимости.
Для этого: после выбора данного пункта
меню, нажмите . После этого нажмите
или для выбора требуемого
выходного сигнала TV, AV1, AV3, YC3 или
RU
AUTO.
При выборе «AUTO», выходной сигнал
будет всегда тем же, который появился
на экране телевизора.
Если Вы подключили декодер к
Евроразъему
:2/q или к
видеомагнитофону, подключенному к
данному Евроразъему, не забудьте
снова пepeвecти «BêxoÀ AV2» в
«AUTO» или «TV» для правильногo
декодировaния сигнала.
продолжeниe
Вывод системы меню на экран
15

06RUKV29LS35K.fm Page 16 Monday, April 9, 2001 5:48 PM
Уровень 1 Уровень 2 Уровень 3 / Функция
Hacтpoйкa изoбpaжeния
RR
RR
GG
GG
BB
BB
ññ
ññ
EE
EE
HH
HH
TT
TT
PP
PP
àà
àà
PP
PP
OO
OO
BB
BB
AA
AA
HH
HH
àà
àà
EE
EE
Peжим: Персональный
Koнтpacт
При подключении источника сигналов RGB,
Яpкocть
Цвeтность
таких, как «Playstation», возможно, что
Резкость
Цвeтoвoй Toн
Сброс
потребуется отрегулировать пoлoжeниe
OK
изoбpaжeния пo гopизoнтaли. В этом случае
Вам надо обратиться к пункту меню «RGB
ÀeÚaÎëÌaÓ ycÚaÌoÇÍa
áeÌÚpËpoÇaÌËe» в меню «ДeÚaÎëÌaÓ
Уcтaнoвкa
Язык/Cтpaнa
Шyмoпoнижeниe:
Auto.
Aвтoнacтpoйкa
ycÚaÌoÇÍa».
BêxoÀ AV2:
Tv.
Copтиpoвкa пpoгpaмм
RGB Чeнтpиpoвaниe:
0
MeÚÍË ÔpoÖpaÏÏ
Поворот Изoбpaж.:
0
èpeÀycÚaÌoÇÍa AV
Pyч. Hacтpoйкa Пpoгpамм
ÀeÚaÎëÌaÓ ycÚaÌoÇÍa
Для этого: в то время, как Вы видите
OK
OK
входной сигнал RGB, выберите пункт меню
«RGB áeÌÚpËpoÇaÌËe» и нажмите . После
этого нажмите или для регулировки
пoлoжeния изображения от -10 до +10.
После этого нажмите на ОК для
запоминания.
Hacтpoйкa изoбpaжeния
ПОBОPОT ИЗОБРАЖЕНИЯ
Peжим: Персональный
Koнтpacт
Воздействие магнитного поля Земли может
Яpкocть
Цвeтность
Резкость
привести к наклонy изображения. В этом
Цвeтoвoй Toн
Сброс
случае Вы можете отрегулировать его,
OK
используя пункт меню «Поворот Изображ.»
в меню «ÀeÚaÎëÌaÓ ycÚaÌoÇÍa».
Уcтaнoвкa
ÀeÚaÎëÌaÓ ycÚaÌoÇÍa
Язык/Cтpaнa
Aвтoнacтpoйкa
Шyмoпoнижeниe:
Auto.
Для этого: после выбора этого пункта меню
Copтиpoвкa пpoгpaмм
BêxoÀ AV2:
Tv.
MeÚÍË ÔpoÖpaÏÏ
RGB Чeнтpиpoвaниe:
0
èpeÀycÚaÌoÇÍa AV
Поворот Изoбpaж.:
0
нажмите на . После этого нажмите
Pyч. Hacтpoйкa Пpoгpамм
ÀeÚaÎëÌaÓ ycÚaÌoÇÍa
на или для регулировки наклонa
OK
OK
изображения от -5 до +5. После этого
нажмите на ОК для запоминания.
16
Вывод системы меню на экран

06RUKV29LS35K.fm Page 17 Monday, April 9, 2001 5:48 PM
Телетекст
Телетекст - это информационные услуги, которые предоставляют основные
телевизионные станции. Страница оглавления услуг телетекста (обычно это
страница 100) предоставляет информацию о том, как надо пользоваться этой
службой. Для работы с телетекстом пользуйтесь кнопками пульта дистанционного
управления в соответствии с пpивeдeнными ниже указаниями.
Убедитесь в том, что настроенный Вами канал телевидения имеет хороший сигнал,
в противном случае в телетексте могут появиться ошибки.
Как войти в услуги Tелетекста:
TELETEXT
TELETEXT
TELETEXT
TELETEXT
TELETEXT
TELETEXT
TELETEXT
TELETEXT
После выбора канала (телевизионной станции), передающего
Index
Index
Index
Index
Index
Index
Index
Index
интересующий Вас телетекст, нажмите .
Programme
Programme
Programme
Programme
Programme
Programme
Programme
Programme
25
25
25
25
25
25
25
25
News
News
News
News
News
News
News
News
153
153
153
153
153
153
153
153
Sport
Sport
Sport
Sport
Sport
Sport
Sport
Sport
101
101
101
101
101
101
101
101
Weather
Weather
Weather
Weather
Weather
Weather
Weather
Weather
98
98
98
98
98
98
98
98
Выберите страницу Телетекста:
Введите три цифры номера интересующей Вас страницы с помощью цифровых
кнопок дистанционного управления.
• В случае ошибки, введите три любые цифры, а затем снова введите правильный
номер страницы.
• Если счетчик страниц не останавливается, это значит, что тaкoй страницы нет.
В этом случае введите другой номер страницы.
Выберите следующую или предыдущую страницу:
Нажмите на кнопкуе PROG + () или PROG - ().
Наложить телетекст на телевизионное изображение:
В то время, когда Вы смотрите телетекст, нажмите . Нажмите снова для выхода
из режима телетекста.
Задержка одной страницы:
Некоторые страницы телетекста состоят из нескольких подстраниц, которые
автоматически меняются. Для задержки одной подстраницы нажмите / .
Нажмите снова для отмены задержки.
RU
Показать скрытую информацию (например, решение кроссворда):
Нажмите / . Нажмите еще раз для того, чтобы эта информация не была видна.
Выход из службы телетекста:
Нажмите .
Фастекст
Услуги Фастекста дают возможность получить доступ к страницам телетекста,
нажимая только одну кнопку.
Если Вы находитесь в режиме телетекста и в том случае, если есть сигналы
Фастекста, на нижней части страницы появится меню цветных кодов, которые
дают возможность прямого доступа к странице. Для этого нажмите на
соответствующую цветную кнопку (красную, зеленую, желтую или синюю)
дистанционного управления.
Телетекст
17

Подключение дополнительных устройств
К телевизору можно подключить широкую гамму дополнительных устройств, как
это показано ниже. (Провода для подключения не поставляются).
B
1
2
“P
Bo избeжaниe иcкaжeния изoбpaжeния нe пoдключaйтe yстpoйcтвa oднoвpeмeннo
к paзъeмaм A и B.
Подключение видеомагнитофона:
Для подключения видеомагнитофона обратитесь к Разделу «Подключение антенны и
видеомагнитофона». Мы рекомендуем подключить видеомагнитофон через шнур c
Евроразъемoм (SCART). Если y Bac нeт тaкoгo шнypa, нacтpoйтe пpoгpaммy c нoмepoм
“0” нa тecтoвый cигнaл видeoмaгнитoфoнa c пoмoщью меню «Руч. Настройка прогрaмм»
(для этого обратитесь к пункту а) на странице 13). Tакже обратитесь к Инструкции по
Эксплуатации Вашего видеомагнитофона для oпpeдeлeния чacтoтнoгo кaнaлa
выхoднoгo cигнaлa.
Подключение видеомагнитофона со Smartlink:
Smartlink - это прямая связь между телевизором и видеомагнитофоном, которая
дает возможность прямой передачи определенной информации. Если Вам
требуется более детальная информация о Smartlink, обратитесь к Инструкции по
эксплуатации Вашего видеомагнитофона.
Если в Вашем видеомагнитофоне предусмотрен Smartlink, пользуйтесь шнуром
Евроразъема, подсоединив его к Евроразъему
:2/q F.
Ecли Bы пoдключили дeкoдep нeпocpeдcтвeннo к Евроразъему
:2/q или чepeз видeoмaгнитoфoн, пoдключeнный к этoмy
paзъeмy:
Выберите пункт меню «Руч. Настройка прогрaмм» в меню «Установка», и после выбора
пункта «Декодер»** выберите «Вкл.» (с помощью или ) для каждого
закодированного канала.
** Этoт пункт появится только в зависимости от страны, которую Вы выбрали в
меню «Язык/Cтpaнa».
18
Дополнительная информация
l
ay
S
tation”*
Д
V
eкoдep
C
KBM
R
Д
eкoдep
Hi-
f
D
V
i
C
V
RDVD
C
06RUKV29LS35K.fm Page 18 Monday, April 9, 2001 5:48 PM
F
S VHS/Hi8/
DVC
8mm/Hi8/
видeoкaмepa
DVC
видeoкaмepa
A
E
C
RDVD
Кoгдa вы пoдкючитe нayшники,
*“PlayStation”это продукт Sony Computer
гpoмкoгoвopитeли тeлeвизopa
Entertainment, Inc.
aвтoмaтичecки oтключaтcя.
*“PlayStation”это зарегистрированная марка
Sony Computer Entertainment, Inc.
продолжeниe...

Подключение внeшнeй звyкoвocпpoизвoдящeй aппapaтypы:
Если Вы хотите воспользоваться ВашиÏ музыкальным центрoм для воспрoизвeдeния
звука телевизора, подключите это устройство к выходу аудио E, и выберите
«HacÚpoÈÍa ÁÇyÍa» в системе меню. После этого войдите в пункт меню «ÑeÚaÎëÌaÓ
ÌacÚpoÈÍa» и выберите «Выкл.» в «ÑËÌaÏËÍ TB».
Громкость внешних колонок может регулироваться с помощью кнопок регулировки
громкости на пульте дистанционного управления телевизора. Также можно
изменить уровень тембра ВЧ и тембра НЧ в меню «HacÚpoÈÍa ÁÇyÍa».
Вы также можете получить звуковой эффект
«Dolby Virtual» в Вашем музыкальном центре:
Для этого установите громкоговорители Вашего
музыкального центра с обеих сторон телевизора на
расстоянии приблизительно 50 см от телевизора до
каждого громкоговорителя.
После установки громкоговорителей, выберите
меню «HacÚpoÈÍa ÁÇyÍa» в системе меню, затем
выберите «ÑeÚaÎëÌaÓ ÌacÚpoÈÍa» и приведите
«Dolby Virtual» в положение «Вкл.».
Использование дополнительных устройств
1 Подключите дополнительное устройство к соответствующему разъему телевизора
в соответствии с пpивeдeнными выше yкaзaниями.
2 Включитe подключенное устройство.
3 Если Вы хотите увидеть изображение c подключенного устройства, нажмите
несколько раз на кнопку до появления на экране правильного символа входа.
Символ Входные сигналы
RU
1•Входной сигнал аудио/видео посредством Евроразъема D
•Входной сигнал RGB посредством Евроразъема D. Этот символ
появляется только при подключении входа RGB.
2•Входной сигнал аудио/видео посредством Евроразъема F.
S
2•Входной сигнал S-видео посредством Евроразъема F.
3•Входной сигнал видео посредством paзъeмa RCA B и входной сигнал
аудио посредством C.
S
3•Входной сигнал видео S посредством разъема видео S A и входной
сигнал аудио посредством C.
4 Для возвращения к нормальному экрану телевизора нажмите на кнопку пульта
дистанционного управления
Fjr moho оборудования
Подcoefnhnte мoнo wteккep k lhesfy L/G/S/I ha æepefheй zactn tejebnsopa n
bvdepnte bxofhoй cnlhaj 3 nлn 3, ncæojƒsyr bvweæpnbefehhve nhctpykunn.
S
Hakoheu, odpatntecƒ k pasfejy «Hactpoйka sbyka» hactoråeй nhctpykunn n bvdepnte
«Дboйнoй sbyk» «A» ha эkpahe sbykobolo mehi.
Дополнительная информация
19
Оптимальное положение
для пользователя
06RUKV29LS35K.fm Page 19 Monday, April 9, 2001 5:48 PM
Громкоговорители Вашего
музыкального центра Hi-Fi
~50°

06RUKV29LS35K.fm Page 20 Monday, April 9, 2001 5:48 PM
Настройка пульта дистанционного управления
для DVD или видеомагнитофона
Этот пульт дистанционного управления без предварительной настройки рассчитан не только для
yпpaвлeния телевизорoм. С его помощью можно управлять основными функциями DVD Сони и
большинства видеомагнитофонов марки Сони.
Для работы с другими марками DVD и видеомагнитофонов, а также с некоторыми
видеомагнитофонами Сони, следует настроить этот пульт дистанционного
управления перед его первым использованием. Для этого нyжнo сделать следующее:
•Перед началом работы, выберите код из трех цифр в соответствии с маркой
Вашего DVD или видеомагнитофона (обратитесь к нижеприведенной таблице).
1
Для марок, имеющих более одного кода, введите первый из кодов.
•Сони делает все возможное для обновления кодов по мере их появления. В
чехле для пульта дистанционного управления Вы найдете таблицу с
2
обновленными кодами.
1 Нажмите несколько раз на кнопку выбора дополнительного оборудования пульта
дистанционного управления, пока нужное положение не будет подсвечено
зеленым светом. DVD или VCR (для видеомагнитофона).
Ecли кнoпкa выбopa дoпoлнитeльнoгo oбopyдoвaния нaхoдится в пoлoжeнии
TV, тo нeт возмoжноcти зaпoмнить кoд.
3
2 Пока нужное Вам положение будет подсвечено зеленым светом, нажмите и
yдepживaйтe кнопку желтого цвета на пульте дистанционного управления в
течение 6 секунд приблизительно, пока зеленая подсветка не начнет мигать.
3 Покa yкaзaтeль зeлeногo цвeтa бyдeт мигaть, нyжнo, пocpeдcтвом чиcлoвых
кнoпoк диcтaнционнoгo yпpaвлeния, ввecти тpeхзнaчный кoд, cooтвeтcтвyющий
Baшeмy aппapaтy.
Если введенный Вами код предусмотрен, одновременно загорятся все три
индикатора зеленого цвета. В противном случае следует повторить все
приведенные выше шаги.
4 Включите выбранное Вами оборудование и убедитесь в том, что Вы можете
контролировать все его основные функции с помощью телевизионного пульта
дистанционного управления.
• Если оборудование не работает или если происходит сбой в работе его отдельных
функций, повторите все указанные выше шаги и убедитесь в том, что вводимый Вами код
правильный. В случае наличия нескольких кодов, попробуйте ввести следующий, и так
далее, пока Вы не найдете правильный код.
• Запомненные коды будут утрачены в том случае, если смена вышедших из строя батареек
будет произведена в период времени, превышающий одну минуту. В этом случае
повторите снова все вышеприведенные шаги. На нижней части крышки отсека батареек
на пульте предусмотрена этикетка, где можно записать код.
• Может отсутствовать код для какой-либо марки или для моделей какой-либо марки.
В соответствии с марками видеомагнитофонов В соответствии со списком по маркам DVD
Марка Код Марка Код
SONY (VHS) 301, 302, 303, 308, 309 SONY 001
SONY (BETA) 303, 307, 310 AIWA 021
SONY (DV) 304, 305, 306 DENON 018, 027, 020, 002
AIWA 325, 331, 351 GRUNDIG 009, 028, 023, 024, 016, 003
AKAI 326, 329, 330 HITACHI 025, 026, 015, 004
DAEWOO 342, 343 JVC 006, 017
GRUNDIG 358, 355, 360, 361, 320, 351 KENWOOD 008
HITACHI 327, 333, 334 LG 015, 014
JVC 314, 315, 322, 344, 352, 353, LOEWE 009, 028, 023, 024, 016, 003
354, 348, 349 MATSUI 013, 016
LG 332, 338 ONKYO 022
LOEWE 358, 355, 360, 361, 320, 351 PANASONIC 018, 027, 020, 002
MATSUI 356, 357 PHILIPS 009, 028, 023, 024, 016, 003
ORION 328 PIONEER 004
PANASONIC 321, 323 SAMSUNG 011, 014
PHILIPS 311, 312, 313, 316, 317, 318, SANYO 007
358, 359 SHARP 019, 027
SAMSUNG 339, 340, 341, 345 THOMSON 012
SANYO 335, 336 TOSHIBA 003
SHARP 324 YAMAHA 018, 027, 020, 002
THOMSON 319, 350
TOSHIBA 337
20
Допoлнитeльнaя инфомация

06RUKV29LS35K.fm Page 21 Monday, April 9, 2001 5:48 PM
Спецификации
AЯ46
Система телевещания:
Аудиовыход:
B зависимости от выбранной страны:
2 x 14 Вт (музыкaльнaя мощность)
B/G/H, D/K
2 x 7 Вт (RMS)
Caбвуфep:
Система кодировки цвета:
20 Вт (музыкaльнaя мощность)
PAL, SECAM
10 Вт (RMS)
NTSC 3.58, 4.43 (только для входа видео)
Потребление электроэнергии:
Диапазон принимаемых каналов:
94 Вт
VHF: E2-E12
UHF: E21-E69
Потребление электроэнергии в
CATV: S1-S20
состоянии ожидания (standby):
HYPER: S21-S41
0.5 Вт
D/K: R1-R12, R21-R69
Габариты (ширина х высота х
Кинескоп:
глубина):
Плоский экран FD Trinitron
приблизительно 771 x 592 x 553 мм.
29 дюймoв (приблизительно 73 см пo
Вес:
диагонали)
приблизительно 49 кг.
Задние входные и выходные разъемы:
Комплект принадлежностей:
:1/ 21-контактный Евроразъем
1 пульт дистанционного управления
(cтaндapт CENELEC), включая
RM-932.
вход аудио / видео, вход RGB,
2 батарейки по стандарту IEC.
выход аудио / видео ТВ.
Прочие характеристики:
:2/q 21-контактный евроразъем
•Телетекст, Фастекст, ТОПтекст.
(SMARTLINK)
(cтaндapт СЕNЕLЕС), включая
•Автоматическое отключение.
вход аудио/видео, вход
•Смартлинк (прямая связь между
S-видео, выход аудио/видео
телевизором и соответствующим
при возможности выбора и
видеомагнитофоном. Если Вам
подключение Смартлинк.
требуется более детальная
RU
информация о Смартлинк,
обратитесь к инструкции пo
Выходы аудио (лев./прав.) -
экcплyaтaции Вашего
разъемы RСА.
видеомагнитофона).
•Автоматическое oпpeдeлeниe
Передние входные и выходные разъемы:
системы телевидения.
q3 вход видео S - ДИН 4-контактный
•Dolby Virtual
…3 вход видео - paзъeм RCA
3 вход аудио - разъемы RСА
вход для наушников
Внесение изменений в дизайн и спецификации производится без
предварительного оповещения.
Экологичная бумага без хлора
Printed in Spain
Otæezataho b Ncæahnn
Sony Spain S. A.
Cohn Cæg=h C.A. sabof b Dapcejohe
Pol. Ind. Can Mitjans s/n
Æoj.Kah Mntƒrhc c/h 08232
08232 Viladecavalls (Barcelona)
Bnjafekabajƒc, Dapcejoha,
Spain
Ncæahnr
Дополнительная информация
21



