Sony KV-29LS30K – page 3
Manual for Sony KV-29LS30K
Table of contents

Bezpečnostní opatření
Nevkládejte žádné předměty do
Z bezpečnostních důvodů a z
televizoru, rovněž do televizoru
Tento televizor pracuje pouze s
důvodů ochrany životního
nelijte jakoukoliv tekutinu. V
napětím 220-240 V. V případě
prostředí doporučujeme
případě, že se tak stane ať již
zapojení příli mnoha spotřebičů
neponechávat televizor v
úmyslně či neúmyslně televizor
do jedné el. zásuvky může dolít k
pohotovostním stavu pokud není
nezapínejte a sdělte tuto skute
úrazu el. proudem či požáru.
del í dobu používán. V tomto
čnost nejbližšímu
případě odpojte televizor
autorizovanému servisu SONY,
z el. sítě.
který odborně televizor prověří.
Neotevírejte zadní kryt televizoru.
Nedotýkejte se během bouřky
Toto přenechte pouze
jakékoliv časti el. přívodního
kvalifikovaným odborníkům z
kabelu ani anténního kabelu.
autorizovaných servisů SONY.
4
Bezpečnostní opatření
Nevystavujte televizor dešti a
vlhku, předejdete tak případnému
úrazu el. proudem.
Nezakrývejte ventilační otvory
Neumisť ujte televizor na horká,
Hořlavé látky, či otevřený oheň
televizoru. Nechte kolem
mokrá či extrémněprašná místa.
(svíčka) neumisť ujte v těsné
televizoru alespoň 10 cm
Přístroj nesmí být vystaven
blizkosti televizoru.
prostoru pro ventilaci vzduchu.
mechanickým vibracím.
Televizor můžete čistit pouze jemnou,
lehce navlhčenou látkou.
Při vytahování el. přívodního
Nepoužívejte benzín, ředidlo ani jiné
chemikálie, rovněž nepoužvejte čistící
kabelu tahejte pouze za zástrčku,
prostředky s brusnými účinky.
netahejte za kabel.
Nepoškrábejte povrch obrazovky. Pro
vaši bezpečnost doporučujeme
televizor před čištěním vždy odpojit
od el. sítě.
Abyste nepo
š
kodili el. přívodní
kabel nepokládejte na něj žádné
těžké předměty . Doporučujeme
přebytečnou část el. přívodního
kabelu navinout kolem háčků na
zadní straně televizoru.
03CZKV29LS30K.fm.save Page 4 Wednesday, April 11, 2001 12:11 PM
Televizor postavte vždy na
Před manipulací vypojte televizor
stabilní a bezpečný stolek.
z el. sítě. Při manipulaci
Nezakrývejte ventilační otvory
Nedovolte dětem aby na televizor
postupujte opatrně abyste
televizoru novinami, časopisy
lezli, sedali si na něj, či si na něm
televizor nepoškodili. Pokud vám
ani záclonami a závěsy.
hráli.
televizor upadl, či byl jiným
Při manipulaci napokládejte
způsobem poškozen nechte ho
televizor na boční ani na čelní
prověřit odborným pracovníkem
stranu.
autorizovaného servisu SONY.

03CZKV29LS30K.fm.save Page 5 Wednesday, April 11, 2001 12:11 PM
Všeobecný přehled tlačítek dálkového ovladače
Dočasné vypnutí televizoru
Vypnutí zvuku
Stisknutím tlačítka se televize dočasně vypne (indikátor
Pokud chcete zvuk vypnout,
pohotovostního stavu na televizi se rozsvítí).
stiskněte tlačítko.
Opětovným stisknutím tlačítka televizor opět zapnete.
Zvuk se zapne opětovným stisknutím.
Zobrazení informace na obrazovce
Doporučujeme televizor vypnout
Stiskněte tlačítko a na obrazovce se
úplně, pokud se nepoužívá - šetří se
objeví veškeré údaje. Opětovným
tím energie.
Televizor se automaticky vypne
stisknutím tyto informace z
do pohotovostního režimu,
obrazovky zmizí.
jestliže po dobu 15 minut
Tlačítko pro výběr programů
nedostává televizní signál a není
Stisknutím lze zvolit žádaný kanál.
stisknuto žádné tlačítko.
Pokud chcete zvolit program s
Volba vstupního signálu
dvoumístným číslem, stiskněte
Tiskněte jej opakovaně, až se na
druhou číslici po dobu menší než
obrazovce objeví znaménko
2,5 vteřiny.
zvoleného vstupního signálu.
nebo
Návrat ke kanálu sledovanému
naposled
Stiskněte -/-- a poté první a druhou
Stisknutím vyvoláte kanál, který jste
číslici. Jestliže jste se stisknutím
naposledy sledovali po dobu delší
prvního čísla zmýlili, stiskněte znovu
než 5 sekund.
tlačítko (od 0 do 9 ) a poté zopakujte
Zapojení režimu menu
znovu celou operaci.
Stiskněte jej a menu se objeví na
Volba TV režimu
obrazovce. Opětovným stisknutím
Stisknutím se vypne teletext nebo
se vypne a objeví se normální
vstup do videa.
obrazovka.
CZ
Výběr z teletextu
Ovládání menu
•Je-li MENU zobrazeno:
Stisknutím se zobrazí teletext.
Nahoru.
Volba režimu zvuku
Dolů.
Opakovaným stisknutím změníte
Předchozí nabídka či volba.
Další nabídka či volba.
režim zvuku.
OK Potvrdit volbu.
Výběr specifického obrazu
•Pokud není MENU zobrazeno:
Opakovaným stisknutím nastavíte
OK Zobrazí přehled kanálů.
specifický obraz.
Stisknutím nebo zvolte
požadovaný kanál, po stisknutí OK
Nastavení hlasitosti
jej můžete sledovat
Stisknutím se nastaví hlasitost
televizoru.
Výběr formátu zobrazení
Opakovaným tisknutím změníte
Toto tlačítko lze použít pouze v režimu
formát zobrazení: 4:3 pro obvyklý
teletextu. Funkci spojenou s
obraz nebo 16:9 pro imitaci
tímto tlačítkem nelze použít pro tento
širokoúhlého obrazu.
televizor
.
Volba kanálů
Stiskněte pro volbu předchozího
nebo následujícího kanálu.
Kromě těchto funkcí televizoru, všechna barevná tlačítka se používají také pro teletext.
Obsáhlejší informace je popsána v kapitole “Teletext” tohoto návodu k obsluze.
Všeobecný popis
5

Všeobecný přehled tlačítek televizoru
Tlačítko pro
Stlačením
volbu
znaménka na
vnějšího
krytu, získáte
vstupu
přístup k
ovládacímu
Vstup
panelu.
videosignálu
Výstup pro sluchátka
Ukazatel režimu
dočasného
Tlačítko
vypnutí televizoru
zapnuto/
(pohotovostní) režim.
vypnuto
Vložení baterií do dálkového ovladače
Zkontrolujte, jestli jsou poskytnuté baterie ve správné pozici.
Berte ohled na životní prostředí a použitých baterií se zbavujte způsobem, který životní
prostředí nepoškozuje - odhazujte je do kontejnerů k tomu určených.
Připojení antény a videa
Přípojné kabely se nedodávají.
6
Všeobecný popis - Instalace
Programová tlačítka
pro výběr
následujícího nebo
předchozího kanálu
(pro volbu televizních
stanic)
Tlačítka pro
ovládání
hlasitosti
Tla
čí
tko pro
inicializaci
televizoru
Vstup videosignálu S
Zvukové
vstupy
OUT IN
Obsáhlejší informace o připojení videa najdete v
Připojení pomocí konektoru
kapitole “Připojení přídavných zařízení” v tomto
typu Euro záleží na Vaší
návodu k obsluze.
volbě.
nebo
03CZKV29LS30K.fm.save Page 6 Wednesday, April 11, 2001 12:11 PM

Zapnutí a automatické naladění TV
Po prvním zapnutí televizoru se na obrazovce objeví sekvence menu, pomocí kterých
budete moci:
1) zvolit jazyk menu; 2) zvolit zemi, ve které si přejete používat televizor; 3) seřídit
nakloněný obraz, 4) hledat a automaticky ukládat všechny kanály (televizní stanice), které
jsou k dispozici a 5) změnit pořadí, ve kterém se kanály (televizní stanice) objeví na
obrazovce.
Pokud časem budete chtít změnit jakékoliv z těchto seřízení, proved’te příslušnou volbu v
(menu Instalace), nebo stiskněte tlačítko pro inicializaci televizoru.
1 Zapojte televizor do elektrické sítě (220-240 V AC, 50Hz).
Stiskněte tlačítko zapnuto/vypnuto na čelní části
televizoru, aby se televizor zapnul.
Po prvním stisknutí tohoto tlačítka, menu Language
(Jazyk) se automaticky objeví na obrazovce.
2 Stiskněte tlačítko nebo dálkového ovladače pro
volbu jazyka a poté stiskněte tlačítko OK pro potvrzení
volby. Od této chvíle veškerá menu se objeví ve
zvoleném jazyce.
CZ
3 Na obrazovce se automaticky objeví menu Země.
Stiskněte tlačítko nebo pro volbu země, ve které
chcete používat televizor a poté stiskněte tlačítko OK
pro potvrzení volby.
• Jestliže v seznamu není ta země, ve které budete
používat televizor, místo země zvolte «-».
• Pokud se vaše země neobjeví v nabídce pro
instalaci, doporučujeme použít nastavení pro
Rusko. Tímto nastavením předejdete chybnému
zobrazování znaků a písmen charakteristických
pro váš jazyk v teletextu.
4 Vzhledem k zemské přitažlivosti se může stát, že se
obraz nakloní. V tomto případě ho můžete seřídit
použitím funkce Otočení obrazu.
a) Pokud toho není třeba, stiskněte nebo pro
volbu Není potřeba a poté stiskněte OK.
b) Pokud toho je třeba, stiskněte nebo pro volbu
Upravit ted’ a stiskněte OK. Poté upravte nakloněný
obraz seřizováním v rozmezí od -5 do +5, pomocí
tlačítek nebo . Nakonec stiskněte OK pro jeho
uložení.
První zapojení televizoru
7
Language
i
4
Svenska
Norsk
English
Nederlands
Français
K
Italiano
i
$
Select Language:
OK
Země
i
4
Sverige
Norge
-
Italia
K
Deutschland
Österreich
i
$
Vyberte zemi:
OK
Jestliže je obraz nakloněn
upravte pootočení obrazu.
Není potřeba
Upravit te
K
OK
03CZKV29LS30K.fm.save Page 7 Wednesday, April 11, 2001 12:11 PM
pokračuje ...

5 Menu Automatické Ladění se objeví na obrazovce.
Stiskněte tlačítko OK pro volbu Ano.
6 Televizor začne automaticky ladit a ukládat všechny
kanály (televizní stanice), které jsou k dispozici.
Tento proces může trvat několik minut. Mějte
proto trpělivost a po dobu trvání procesu
ladění nestiskněte žádné tlačítko, proces by
se neuskutečnil.
Jestliže po vykonání automatického ladění televizor
nenašel žádný kanál (televizní stanici), na obrazovce
se objeví zpráva, která Vás žádá, abyste zapojili
anténu. Při zapojení antény postupujte tak, jak je
uvedeno na str.6 tohoto návodu a poté stiskněte
OK. Proces automatického ladění se obnoví.
7 Jakmile televizor ukončil ladění a uložil všechny
kanály (televizní stanice), na obrazovce se
automaticky objeví menu Třídění programů,
pomocí kterého můžete změnit pořadí, ve kterém se
kanály objeví na obrazovce.
a) Nechcete-li změnit toto pořadí kanálů, přejděte na
bod č. 8.
b) Chcete-li změnit pořadí kanálů:
1 Stiskněte tlačítko nebo pro volbu čísla
programu s kanálem (televizní stanicí), jehož
pozici chcete změnit a následovně stiskněte .
2 Stiskněte nebo pro volbu nového čísla
programu, ve kterém si přejete uložit zvolený
kanál (televizní stanici), a následovně
stiskněte .
3 Zopakujte body b)1 a b)2, chcete-li změnit pořadí
dalších televizních kanálů.
MENU
8 Stiskněte tlačítko MENU a menu zmizí z obrazovky.
Televizor je připraven k funkci.
8
První zapojení televizoru
Přejete si spustit
automatické ladění?
Ano
Ne
K
OK
Automatické ladění
Program:
01
Systém:
B/G
Kanál:
C21
Vyhledávání...
Program nenalezen
Připojte prosím anténu
K
Potvrte
OK
Třídění programů
Program:
01 TVE
02 TVE2
03 TV3
04 C33
K
05 C27
06 C58
Zvolte kanál:
OK
Konec:
MENU
Třídění programů
Program:
01 TVE
02 TVE2
03 TV3
04 C33
K
05 C27
06 C58 05 C27
Zvolte novou pozici:
OK
Konec:
MENU
03CZKV29LS30K.fm.save Page 8 Wednesday, April 11, 2001 12:11 PM

03CZKV29LS30K.fm.save Page 9 Wednesday, April 11, 2001 12:11 PM
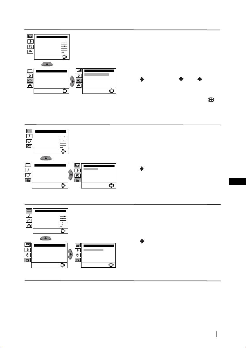
Úvod a použití různých menu
Tento televizor používá na obrazovce systém menu a tím Vám ukazuje různé operace.
Pro přesun po menu používejte tlačítka dálkového ovladače, která jsou následovně
popsána:
1 Stiskněte tlačítko MENU a na obrazovce se objeví první stupeň menu.
MENU
2 • Pro zvýraznění žádaného menu nebo funkce, stiskněte tlačítko
nebo .
• Pro vstup do zvoleného menu nebo funkce, stiskněte .
K
• Pro návrat do předchozího menu nebo funkce, stiskněte .
• Pro změnu nastavení zvolené funkce, stiskněte
//nebo .
• Pro potvrzení a uložení Vaší volby, stiskněte OK.
3 Stiskněte tlačítko MENU a menu zmizí z obrazovky.
MENU
Průvodce po menu
CZ
Stupeň 1 Stupeň 2 Stupeň 3 / Funkce
Nastavení obrazu
NASTAVENÍ OBRAZU
Nastavení obrazu
Režim: Osobní
Režim: Osobní
Menu “Nastavení obrazu” slouží k úpravě nebo
Kontrast
Kontrast
Jas
Jas
Barevná sytost
Barevná sytost
seřízení obrazu.
Ostrost
Ostrost
Odstín
Odstín
Reset
Reset
OK
OK
K tomu je třeba: po zvolení funkce, kterou si
přejete změnit, stiskněte tlačítko . Poté
opakovaně stiskněte //nebo
pro změnu nastavení a nakonec stiskněte OK
pro jeho uložení.
Toto menu Vám také umožní změnit specifický
obraz podle toho, jaký program sledujete:
Osobní (pro osobní požadavky).
Přímý přenos (používejte pro pořady v
přímém přenosu, DVD a při použití Set Top
Boxů).
Film (pro filmy).
• Jas, Barevná Sytost a Ostrost jsou možné změnit pouze v případě, že změníte specifický
obraz v režimu “Osobní”.
• Odstín je dostupný pouze pro systém NTSC (např. videokazety z USA).
• Pro obnovení továrního nastavení obrazu, zvolte Reset a stiskněte tlačítko OK.
pokračuje ...
Režim menu na obrazovce
9

03CZKV29LS30K.fm.save Page 10 Wednesday, April 11, 2001 12:11 PM
Stupeň 1 Stupeň 2 Stupeň 3 / Funkce
Nastavení obrazu
NASTAVENÍ ZVUKU
Režim: Osobní
Kontrast
Menu “Nastavení zvuku” Vám umožní změnit
Jas
Barevná sytost
nastavení zvuku.
Ostrost
Odstín
Reset
K tomu je třeba: po zvolení funkce, kterou si
OK
přejete změnit, stiskněte . Poté opětovně
tiskněte // nebo pro změnu
nastavení a nakonec stiskněte OK pro jeho
Nastaven zvuku
Nastaven zvuku
Režim: Osobní
Režim: Osobní
uložení.
Výšky
Výšky
Hloubky
Hloubky
Vyvážení
Vyvážení
Reset
Reset
Dvoukanál.zvuk: Mono
Dvoukanál.zvuk: Mono
Pokročilé nastavení
Pokročilé nastavení
OK
OK
Toto menu má dvě podmenu:
Režim Osobní (pro osobní požadavky)
Rock
Pop
Jazz
Pokročilé nastavení Zvukový efekt: Vyp: Normální.
Spatial: Pro speciální akustické efekty.
Aut. hlasitost: Vyp: Hlasitost se mění v závislosti na
vysílacím signálu.
Zap: Hlasitost se udržuje nezávisle
na vysílacím signálu (např.
reklamní inzeráty).
TV reproduktory: Vyp: Zvuk vzniká ve vnějším
zesilovači připojenému k
výstupu audio na zadní části
televizoru .
Zap: Zvuk vzniká v reproduktorech
televizoru.
• Výšky a Hloubky je možné změnit pouze po zvolení “Osobní” v režimu zvuku.
• Přestože je zvuk nastaven již v továrně, je možné jej přizpůsobit Vašim specifickým
požadavkům. Pro znovunastavení zvuku zvolte Reset a stiskněte OK.
• V případě dvojjazyčného vysílání, zvolte funkci Dvoukanál. zvuk a nastavte ji na A (pro
1.zvukový kanál), B (pro 2.zvukový kanál), nebo na Mono (určený pro kanál mono, je-li k
dispozici). Pro vysílání stereo můžete zvolit bud’ Stereo, nebo Mono.
pokračuje ...
10
Režim menu na obrazovce

03CZKV29LS30K.fm.save Page 11 Wednesday, April 11, 2001 12:11 PM
Stupeň 1 Stupeň 2 Stupeň 3 / Funkce
Nastavení obrazu
ČASOVAČ VYPNUTÍ
Režim: Osobní
Kontrast
Funkce “Časov. vypnutí” v režimu menu
Jas
Barevná sytost
Ostrost
“Časovač”, Vám umožní zvolit interval, po
Odstín
Reset
jehož uplynutí televizor automaticky přejde do
OK
režimu dočasného vypnutí (pohotovostní
režim).
Časovač
Časovač
Časov. Vypnutí:
Vyp
Časov. Vypnutí:
Vyp
K tomu je třeba: po zvolení funkce, stiskněte
tlačítko . Poté stiskněte nebo pro
volbu časového intervalu (max. 4 hodiny) a
OK
OK
nakonec stiskněte OK pro jeho uložení.
• Chcete-li vidět čas zbývající do vypnutí, zatímco sledujete televizor, stiskněte tlačítko .
• Minutu před tím, než televizor přejde do režimu dočasného vypnutí, zbývající čas se
objeví na obrazovce.
Nastavení obrazu
JAZYK/ZEMĚ
Režim: Osobní
Kontrast
Funkce “Jazyk/Země” v režimu menu
Jas
Barevná sytost
“Instalace” slouží k volbě jazyka, ve kterém
Ostrost
Odstín
chcete, aby se na obrazovce objevily menu.
Reset
OK
Také Vám umožní zvolit zemi, ve které si přejete
televizor používat.
Instalace
K tomu je třeba: po zvolení funkce, stiskněte
Instalace
Jazyk/Země
Jazyk/Země
Automatické ladění
tlačítko . Poté postupujte tak, jak je popsáno
Automatické ladění
Třídění programů
Třídění programů
Označení programů
Označení programů
v kapitole “Zapnutí a automatické naladění TV”,
AV předvolby
AV předvolby
Ruční ladění
Ruční ladění
v bodě 2 a 3.
Prodrobnější nastavení
Prodrobnější nastavení
CZ
OK
OK
Nastavení obrazu
AUTOMATICKÉ LADĚNÍ
Režim: Osobní
Kontrast
Funkce “Automatické ladění” v režimu menu
Jas
Barevná sytost
“Instalace” slouží k tomu, aby televizor hledal a
Ostrost
Odstín
uložil do paměti veškeré kanály (televizní
Reset
OK
stanice), které jsou k dispozici.
K tomu je třeba: po zvolení funkce, stiskněte
tlačítko . Poté postupujte tak, jak je popsáno
Instalace
Instalace
v kapitole “Zapnutí a automatické naladění TV”,
Jazyk/Země
Jazyk/Země
Automatické ladění
Automatické ladění
Třídění programů
Třídění programů
v bodě 5 a 6.
Označení programů
Označení programů
AV předvolby
AV předvolby
Ruční ladění
Ruční ladění
Prodrobnější nastavení
Prodrobnější nastavení
OK
OK
pokračuje ...
Režim menu na obrazovce
11

03CZKV29LS30K.fm.save Page 12 Wednesday, April 11, 2001 12:11 PM
Stupeň 1 Stupeň 2 Stupeň 3 / Funkce
Nastavení obrazu
TŘÍDĚNÍ PROGRAMŮ
Režim: Osobní
Funkce “Třídění programů” v režimu menu
Kontrast
Jas
Barevná sytost
“Instalace” slouží ke změně pořadí, ve kterém
Ostrost
Odstín
Reset
se kanály (televizní stanice) objeví na
OK
obrazovce.
K tomu je třeba: po zvolení funkce, stiskněte
tlačítko . Poté postupujte tak, jak je popsáno
Instalace
Instalace
Jazyk/Země
Jazyk/Země
Automatické ladění
v kapitole “Zapnutí a automatické naladění TV”,
Automatické ladění
Třídění programů
Třídění programů
Označení programů
Označení programů
v bodě 7b).
AV předvolby
AV předvolby
Ruční ladění
Ruční ladění
Prodrobnější nastavení
Prodrobnější nastavení
OK
OK
Nastavení obrazu
OZNAČENÍ PROGRAMŮ
Režim: Osobní
Kontrast
Funkce “Označení programů”, v režimu menu
Jas
Barevná sytost
“Instalace”, Vám umožní přidělit jméno kanálu,
Ostrost
Odstín
Reset
maximálně o pěti znacích.
OK
K tomu je třeba:
1 Po zvolení funkce, stiskněte tlačítko a
poté stiskněte nebo pro volbu čísla
Instalace
Instalace
Jazyk/Země
programu, který chcete pojmenovat.
Automatické ladění
Jazyk/Země
Třídění programů
Automatické ladění
Označení programů
Třídění programů
2 Stiskněte . Vyznačením prvního znaku ve
AV předvolby
Označení programů
Ruční ladění
AV předvolby
Ruční ladění
sloupci Etiqueta, stiskněte tlačítko nebo
Prodrobnější nastavení
Prodrobnější nastavení
OK
pro volbu jednoho písmene, čísla, nebo
OK
“-” pro mezeru a poté stiskněte pro
potvrzení tohoto znaku. Zbývající čtyři znaky
zvolte stejným způsobem. Nakonec stiskněte
OK pro jejich uložení.
Nastavení obrazu
AV PŘEDVOLBY
Režim: Osobní
Kontrast
Funkce “AV předvolby”, v režimu menu
Jas
Barevná sytost
“Instalace”, Vám umožní přidělit jméno
Ostrost
Odstín
vnějšímu zařízení připojenému k tomuto
Reset
televizoru.
OK
K tomu je třeba:
1 Po zvolení funkce, stiskněte tlačítko a
Instalace
Instalace
poté stiskněte nebo pro volbu
Jazyk/Země
Jazyk/Země
Automatické ladění
Automatické ladění
Třídění programů
Třídění programů
vnějšího vstupu, který chcete pojmenovat
Označení programů
Označení programů
AV předvolby
AV předvolby
(AV1 a AV2 pro přídavná zařízení připojená
Ruční ladění
Ruční ladění
Prodrobnější nastavení
Prodrobnější nastavení
ke konektorům typu Euro na zadní části
OK
OK
televizoru a AV3 pro konektory na ovládacím
čelním panelu).Poté stiskněte .
2 Ve sloupci “Název” se automaticky objeví
předurčené jméno:
a) Chcete-li použít jedno z těchto
předurčených jmen (CABLE, GAME,
CAM, DVD, VIDEO nebo SAT), stiskněte
tlačítko nebo pro volbu jednoho z
nich a nakonec stiskněte OK pro jeho
uložení.
b) Chcete-li přidělit Vámi určené jméno,
zvolte Editar a stiskněte . Poté,
vyznačením prvního znaku,
stiskněte nebo pro volbu jednoho
písmene, čísla, nebo “-” pro mezeru a
stiskněte pro potvrzení tohoto znaku.
Zbývající čtyři znaky zvolte stejným
způsobem a nakonec stiskněte OK pro
jejich uložení.
pokračuje ...
12
Režim menu na obrazovce

03CZKV29LS30K.fm.save Page 13 Wednesday, April 11, 2001 12:11 PM
Stupeň 1 Stupeň 2 Stupeň 3 / Funkce
Nastavení obrazu
RUČNÍ LADĚNÍ
Režim: Osobní
Kontrast
Funkce “Ruční Ladění” v režimu menu
Jas
Barevná sytost
“Instalace” slouží pro:
Ostrost
Odstín
Reset
a) Postupné ladění kanálů (televizních stanic) v
OK
pořadí programu, které si přejete, nebo
postupné ladění video vstupu. K tomu je
třeba:
Instalace
Instalace
Jazyk/Země
Jazyk/Země
Automatické ladění
Automatické ladění
Třídění programů
Třídění programů
1 Po zvolení funkce “Ruční Ladění”, stiskněte
Označení programů
Označení programů
AV předvolby
AV předvolby
tlačítko . S vyznačenou položkou
Ruční ladění
Ruční ladění
Prodrobnější nastavení
Prodrobnější nastavení
Program stiskněte , a poté stiskněte
OK
OK
nebo pro volbu čísla programu
(pozice), na kterém si přejete naladit televizní
stanici nebo kanál videa (pro kanál videa
Vám doporučujeme vybrat číslo programu
“0”). Stiskněte tlačítko .
2 Dostupnost následující funkce závisí na
volbě země v režimu menu «Jazyk/
Země».
Po zvolení funkce Systém, stiskněte tlačítko
, a poté stiskněte nebo pro volbu
systému televizní stanice (B/G pro Západní
Evropu nebo D/K pro Východní Evropu)
Stiskněte .
3 Po zvolení funkce Kanál, stiskněte
tlačítko a poté stiskněte nebo pro
volbu typu kanálu (“C” pro pozemní vysílání
nebo “S” pro kabelové vysílání). Stiskněte
CZ
tlačítko . Posléze stiskněte číselná tlačítka
pro zavedení čísla kanálu televizní stanice
nebo znaménka kanálu videa.
Neznáte-li číslo kanálu, hledejte ho
stisknutím tlačítka nebo . Až najdete
kanál, který chcete uložit, stiskněte dvakrát
tlačítko OK.
Zopakujte všechny tyto body pro naladění a
uložení ostatních kanálů.
b) Přidělit jméno kanálu, maximálně o pěti
znacích.
K tomu je třeba: vyznačením funkce
Program, stiskněte tlačítko PROGR + nebo
-, až se objeví číslo programu, který chcete
pojmenovat. Po té, až se objeví na
obrazovce, zvolte funkci Pojmenování a
následovně stiskněte tlačítko .
Stiskněte nebo pro volbu jednoho
písmene, čísla nebo “-” pro mezeru a
stiskněte pro potvrzení tohoto znaku.
Zbývající čtyři znaky zvolte stejným
způsobem. Po zvolení všech znaků,
stiskněte dvakrát tlačítko OK pro jejich
uložení.
pokračuje ...
Režim menu na obrazovce
13

03CZKV29LS30K.fm.save Page 14 Wednesday, April 11, 2001 12:11 PM
Stupeň 1 Stupeň 2 Stupeň 3 / Funkce
c) Dokonce i v případě, že je normálně
Nastavení obrazu
Režim: Osobní
zapojeno jemné automatické ladění kanálů
Kontrast
Jas
(AFT), můžeme obraz ručně doladit (jestliže je
Barevná sytost
Ostrost
nejasný) a dosáhnout jeho zlepšení.
Odstín
Reset
OK
K tomu je třeba: zatímco sledujete kanál
(televizní stanici), ve kterém chcete provést
jemné naladění, zvolte funkci AFT, a poté
Instalace
Instalace
stiskněte tlačítko . Stiskněte nebo
Jazyk/Země
Jazyk/Země
Automatické ladění
Automatické ladění
pro doladění úrovně frekvence kanálu v
Třídění programů
Třídění programů
Označení programů
Označení programů
rozmezí od -15 do +15. Nakonec stiskněte
AV předvolby
AV předvolby
Ruční ladění
Ruční ladění
dvakrát tlačítko OK a tímto se nové doladění
Prodrobnější nastavení
Prodrobnější nastavení
OK
OK
uloží do paměti.
d) Vynechat čísla programů, které si nepřejete
sledovat a tím je přeskočit při jejich výběru
pomocí tlačítek PROG +/-.
K tomu je třeba: vyznačením funkce Program,
stiskněte tlačítko PROGR + nebo -, až se
objeví číslo programu, který chcete vynechat.
Po té, až se objeví na obrazovce, zvolte funkci
Přeskočit a následovně stiskněte tlačítko .
Stiskněte nebo pro volbu Ano a
nakonec stiskněte dvakrát tlačítko OK pro jeho
uložení.
Jestliže časem chcete opět používat číslo
vynechaného programu, postupujte tak, jak je
výše uvedeno, ale místo “Ano” zvolte “Ne”.
e) Použitím dekodéru připojeného ke konektoru
typu Euro :2/ , nebo přes video
S
připojené ke zmíněnému Eurokonektoru, Vám
tato funkce umožní sledovat a správně nahrát
kodifikovaný kanál.
Dostupnost následující funkce závisí na
volbě země v režimu menu «Jazyk/
Země».
K tomu je třeba: po zvolení funkce Dekodér,
stiskněte tlačítko . Poté stiskněte nebo
pro volbu Zap. Nakonec stiskněte dvakrát
OK pro její uložení.
Jestliže časem budete chtít tuto funkci zrušit,
postupujte, jak je výše uvedeno, ale zvolte
znovu «Vyp» místo «Zap».
pokračuje ...
14
Režim menu na obrazovce

03CZKV29LS30K.fm.save Page 15 Wednesday, April 11, 2001 12:11 PM
Stupeň 1 Stupeň 2 Stupeň 3 / Funkce
REDUKCE ŠUMU
Nastavení obrazu
Režim: Osobní
Funkce “Redukce šumu” v režimu menu
Kontrast
Jas
“Prodrobnější nastavení” slouží k redukci šumu
Barevná sytost
Ostrost
Odstín
obrazu v případě slabých signálů televizoru.
Reset
OK
K tomu je třeba: po zvolení funkce, stiskněte
tlačítko . Poté stiskněte nebo , zvolte
Instalace
Prodrobnější nastavení
Auto a nakonec stiskněte OK pro jeho uložení.
Jazyk/Země
Redukce šumu:
Auto
Automatické ladění
Výstup AV2:
TV
Třídění programů
RGB centrování:
0
Označení programů
Otočení obrazu:
0
Jestliže časem budete chtít tuto funkci zrušit,
AV předvolby
Ruční ladění
postupujte tak, jak je výše uvedeno, ale zvolte
Prodrobnější nastavení
OK
OK
“Vyp” místo “Auto”.
Nastavení obrazu
VÝSTUP AV2
Režim: Osobní
Kontrast
Funkce «Výstup AV2», v režimu menu
Jas
Barevná sytost
Ostrost
«Prodrobnější nastavení», Vám umožní zvolit
Odstín
Reset
vnější výstup konektoru typu Euro :2/q,
OK
abyste z tohoto Eurokonektoru mohli nahrát
jakýkoliv signál pocházející z televizoru, nebo z
Instalace
Prodrobnější nastavení
Jazyk/Země
Redukce šumu:
Auto
jiného vnějšího zařízení připojeného k
Automatické ladění
Výstup AV2:
TV
Třídění programů
RGB centrování:
0
Eurokonektoru :1/ , nebo ke
Označení programů
Otočení obrazu:
0
AV předvolby
Ruční ladění
konektorům 3 a 3 na ovládacím čelním
Prodrobnější nastavení
OK
panelu.
CZ
OK
Má-li Váš videorekordér k dispozici
Smartlink, tento postup není třeba.
V tomoto případě je třeba: po zvolení funkce,
stiskněte tlačítko . Poté stiskněte nebo
pro volbu požadovaného výstupního
signálu TV, AV1, AV3, YC3 nebo AUTO.
Pokud zvolíte funkci AUTO, výstupní
signál bude vždy stejný jako ten, který se
objeví na televizní obrazovce.
Máte-li připojený dekodér ke konektoru
typu Euro
:2/q, nebo k videu
připojenému k tomuto Eurokonektoru,
nezapomeňte znovu zvolit “Výstup AV2” v
režimu “AUTO” nebo “TV” pro jeho
správnou dekodifikaci.
pokračuje ...
Režim menu na obrazovce
15

03CZKV29LS30K.fm.save Page 16 Wednesday, April 11, 2001 12:11 PM
Stupeň 1 Stupeň 2 Stupeň 3 / Funkce
Nastavení obrazu
RGB CENTROVÁNÍ
Režim: Osobní
Kontrast
Při zapojení vnějších signálů RGB, jako
Jas
Barevná sytost
“PlayStation”, je možné, že bude třeba seřídit
Ostrost
Odstín
Reset
vodorovné centrování obrazu. V tomto případě
OK
se seřizuje pomocí funkce “RGB centrování” v
režimu menu “Prodrobnější nastavení”.
Instalace
Prodrobnější nastavení
Jazyk/Země
Redukce šumu:
Auto
Automatické ladění
Výstup AV2:
TV
K tomu je třeba: zatímco sledujete vstupní
Třídění programů
RGB centrování:
0
Označení programů
Otočení obrazu:
0
signál RGB, zvolte funkci “RGB Centróvaní” a
AV předvolby
Ruční ladění
Prodrobnější nastavení
stiskněte tlačítko . Poté stiskněte nebo
OK
OK
pro upravení centra obrazu (seřizujte od - 10
do + 10). Nakonec stiskněte tlačítko OK pro
jeho uložení.
Nastavení obrazu
OTOČENÍ OBRAZU
Režim: Osobní
Kontrast
Vzhledem k zemské přitažlivosti se může stát,
Jas
Barevná sytost
že se obraz nakloní. V tomto případě ho můžete
Ostrost
Odstín
Reset
upravit použitím funkce “Otočení obrazu” v
OK
režimu menu “Prodrobnější nastavení”.
K tomu je třeba: po zvolení funkce, stiskněte
Instalace
Prodrobnější nastavení
Jazyk/Země
Redukce šumu:
Auto
Automatické ladění
Výstup AV2:
TV
tlačítko . Poté stiskněte nebo pro
Třídění programů
RGB centrování:
0
Označení programů
Otočení obrazu:
0
seřízení otočení obrazu v rozmezí od - 5 do + 5.
AV předvolby
Ruční ladění
Prodrobnější nastavení
Nakonec stiskněte OK pro jeho uložení.
OK
OK
16
Režim menu na obrazovce

03CZKV29LS30K.fm.save Page 17 Wednesday, April 11, 2001 12:11 PM
Teletext
Teletext je informační služba, kterou užívá většina televizních stanic. Na straně s obsahem
služeb teletextu (všeobecně je to strana 100) je poskytnuta informace o tom, jak se užívá
tato služba. Pro práci v teletextu používejte tlačítka dálkového ovladače tak, jak je
uvedeno v této kapitole.
Zvolte televizní stanici se silným signálem, jinak může dojít v teletextu k chybám.
Vstup do teletextu
TELETEXT
TELETEXT
TELETEXT
TELETEXT
TELETEXT
TELETEXT
TELETEXT
TELETEXT
Zvolte kanál (televizní stanici), který vysílá teletext, který si přejete sledovat,
Index
Index
Index
Index
Index
Index
Index
Index
Programme
Programme
Programme
Programme
Programme
Programme
Programme
Programme
25
25
25
25
25
25
25
25
stisknutím tlačítka .
News
News
News
News
News
News
News
News
153
153
153
153
153
153
153
153
Sport
Sport
Sport
Sport
Sport
Sport
Sport
Sport
101
101
101
101
101
101
101
101
Weather
Weather
Weather
Weather
Weather
Weather
Weather
Weather
98
98
98
98
98
98
98
98
Zvolení stránky teletextu
Pomocí číselných tlačítek dálkového ovládače zadejte tři čísla představující příslušné číslo
stránky, kterou si přejete vidět.
• V případě, že se při volbě zmýlíte, zadejte jakákoliv tři čísla, a poté znovu zadejte správné
číslo stránky.
• Jestliže se počítadlo stránek nezastaví, je to proto, že požadovaná stránka není k dispozici.
V tomto případě zadejte jiné číslo stránky.
Zvolení následující nebo předchozí stránky
Stiskněte tlačítka PROGR + ( ) nebo PROGR - ( ).
Překrytí teletextu televizním obrazem
Zatímco sledujete teletext, stiskněte tlačítko . Opětovným stisknutím se teletextový režim
CZ
zruší.
Zmrazení teletextové stránky
Některé stránky teletextu se mohou skládat z několika podstran, které se automaticky
otáčejí. Pro zmrazení jedné podstránky stiskněte tlačítko / . Opětovným stisknutím
se zmrazení podstránky zruší.
Odhalení skrytých informací (např. soutěžních odpovědí)
Stiskněte tlačítko / . Opětovným stisknutím se informace opět ukryje.
Vystoupení z teletextu:
Stiskněte tlačítko .
Fastext
Služba Fastextu nám umožní přístup do požadované stránky teletextu stisknutím pouze
jednoho tlačítka.
Jste-li v teletextu a v případě, že se vysílají signály Fastextu, na spodní části obrazovky se
objeví nabídka barevných kódů, které umožňují přístup přímo k teletextové stránce. K
zobrazení této nabídky stiskněte tlačítko příslušné barvy (červené, zelené, žluté nebo
modré) na dálkovém ovladači.
Teletext
17

Připojení přídavných zařízení
K televizoru je možné připojit různá další zařízení, jak je uvedeno níže. (Přípojné kabely se
nedodávají).
1
2
“P
Aby se zabránilo zkreslení obrazu nepřipojujte zařízení ke konektorůn A a B současně.
Připojení videa:
Pro připojení videa, obsáhlejší informace najdete v kapitole “Připojení anteny a videa”.
Doporučujeme Vám, byste pro připojení videa použili kabel typu Eurokonektor. V případě, že
nepoužijete tento kabel, budete muset naladit kanál video signálu ručně pomocí menu “Ruční
Ladění” (viz odst.a) na str.13). Zkonzultujte také návod k obsluze Vašeho videa, kde se dozvíte,
jak získáte kanál video signálu.
Připojení videorekordéru, které má k dispozici Smartlink:
Smartlink je přímé propojení mezi televizorem a videorekordérem, které umožňuje přenos
určitých informací. Podrobnější informace o Smartlinku najdete v návodu k obsluze
Vašeho videorekordéru.
Jestliže používáte videorekordér, který je opatřen Smartlinkem, doporučujeme Vám,
abyste ho připojili ke konektoru typu Euro :2/q F použitím kabelu typu
Eurokonektor.
Pokud máte připojen dekodér ke konektoru typu Euro :2/q, nebo k
videu, které je připojeno ke zmíněnému Eurokonektoru:
Zvolte funkci “Ruční Ladění” v režimu menu “Instalace” a po zvolení funkce “Dekodér”**, zvolte
“Zap” (použitím nebo ) pro každý kódovaný kanál.
** Dostupnost této funkce závisí na volbě země v menu “Jazyk/Země”.
18
Doplňkové informace
l
ay
S
tation”*
D
e
k
o
dé
r
D
e
k
o
dé
r
Hi-
f
V
i
C
V
RDVD
C
03CZKV29LS30K.fm.save Page 18 Wednesday, April 11, 2001 12:11 PM
F
S VHS/Hi8
DVC
8mm/Hi8/
kamkordér
DVC
videorekordér
kamkordér
A
B
D
E
C
RDVD
Při zapojení sluchátek se
* “PlayStation” je výrobek Sony Computer
reproduktory televizoru
Entertainment, Inc
automaticky vypnou.
* “PlayStation” je značka registrovaná jako
Sony Computer Entertainment, Inc.
pokračuje ...

03CZKV29LS30K.fm.save Page 19 Wednesday, April 11, 2001 12:11 PM
Připojení vnějšího zvukového zařízení:
Chcete-li poslouchat zvuk televizoru v reproduktorech Vaší Hi-Fi věže, připojte Hi-Fi věž k
výstupu audio E a, pomocí systému menu, zvolte “Nastavení zvuku”. Poté vstupte do funkce
“Pokročilé nastavení” a zvolte “Vyp” v režimu “TV reproduktory”.
Hlasitost vnějších reproduktorů se může regulovat pomocí tlačítek pro nastavení hlasitosti
na dálkovém ovladači televizoru. Také je možné regulovat stupeň výšky a hloubky zvuku
pomocí menu “Nastavení zvuku”.
Použití přídavných zařízení
1 Připojte přídavné zařízení přes příslušný konektor televizoru tak, jak je výše uvedeno.
2 Zapněte připojené zařízení.
3 Aby se objevil obraz připojeného zařízení, opakovaně tiskněte tlačítko , dokud se na
obrazovce neobjeví správný vstupní symbol.
Symbol Vstupní signály
1•Vstupní audio/video signál přes konektor typu Euro D
•Vstupní signál RGB přes konektor typu Euro D. Tento symbol se objeví
pouze v případě, že je připojen vstup RGB.
CZ
2•Vstupní signál pro audio / video přes konektor typu Euro F.
S
2•Vstupní signál pro S video přes konektor typu Euro F.
3•Vstupní video signál přes konektor RCA B a vstupní audio signál přes C.
S
3•Vstupní signál pro S video přes konektor S videa A a vstupní signál pro
audio přes C.
4 Aby se znovu objevil normální televizní obraz, stiskněte tlačítko na dálkovém ovladači.
Připojení monofonních přístrojů
Zástrčku zvuku zapojte do zdířky L/G/S/I na čelním panelu televizoru a zvolte vstup 3 nebo
S
3 postupem popsaným výše. Poté nastavte kanál “Dvoukanál. zvuk” “A” ve zvukové
nabidce dle částl “Nastavení zvuku” tohoto návodu.
Doplňkové informace
19

03CZKV29LS30K.fm.save Page 20 Wednesday, April 11, 2001 12:11 PM
Technické údaje
Systém TV:
Výstupy zvuku:
Závisí na Vámi zvolené zemi:
2 x 14 W (hudební výkon)
B/G/H, D/K
2 x 7 W (RMS)
Woofer:
Systém kódování barev:
20 W (hudební výkon)
PAL, SECAM
10 W (RMS)
NTSC 3.58, 4.43 (pouze pro video vstup)
Příkon:
Rozložení kanálů:
94 W
VHF: E2-E12
UHF: E21-E69
Příkon v režimu časového vypnutí
CATV: S1-S20
(pohotovostní režim):
HYPER: S21-S41
0.5 W
D/K: R1-R12, R21-R69
Rozměry (š x v x h):
Televizní obrazovka:
Přibližně 771 x 592 x 553 mm
Plochá obrazovka FD Trinitron
Hmotnost:
29 inches (přibližně 73 cm. v úhlopříčce)
Přibližně 49 kg
Vstupy na zadní straně:
Dodané příslušenství:
:1/ 21-pinový konektor typu EURO
1 dálkový ovládač, typ RM-887
(norma CENELEC), včetně
2 baterie typu IEC.
vstupu pro audio/video, vstupu
RGB, výstupu audio/video z TV
Další funkce:
audio/video.
•Teletext, Fastext, TOPtext
•Automatické zapojení
:2/q 21-pinový konektor typu Euro
•Smartlink (přímé propojení mezi
(SMARTLINK)
(norma CELENEC), včetně
televizorem a kompatibilním
vstupu pro audio / video, vstupu
videorekordérem. Podrobnější
pro S video, volitelného výstupu
informace o Smartlinku najdete v
audio / video a připojení
návodu k obsluze Vašeho
Smartlinku.
videorekordéru).
•Automatické nalezení systému TV.
Výstupy audio (levé / pravé) -
konektory RCA.
Vstupy na přední straně:
q3 Vstup pro S video - 4-pinový DIN
…3 video vstup - konektor RCA
3 audio vstup - konektory RCA.
zdířka sluchátek
Úpravy v designu a technických vlastnostech bez předchozího upozornění.
Ekologický papír - 100% bez chloru
20
Doplňkové informace

03CZKV29LS30K.fm.save Page 21 Wednesday, April 11, 2001 12:11 PM
Řešení problémů
Zde jsou některá řešení problémů, které mohou ovlivnit obraz i zvuk.
Problém
Řešení
Není obraz (černá obrazovka) a není
•Zkontrolujte zapojení antény.
zvuk
• Zapojte televizor do zásuvky a stiskněte tlačítko na
čelní straně aparátu.
•Pokud na televizoru svítí indikátor , stiskněte tlačítko
na dálkového ovladače.
Špatný nebo žádný obraz, ale zvuk
•Pomocí Režimu menu vstupte do “Nastavení obrazu”
je dobrý
a zvolte “Reset” pro obnovení továrního nastavení.
Není obraz nebo není informační
•Zkontrolujte zapojení přídavného zařízení a několikrát
menu přídavného zařízení
stiskněte tlačítko na dálkovém ovladači, dokud se
připojeného přes Eurokonektor na
správný vstupní symbol neobjeví na obrazovce.
zadní části televizoru
Dobrý obraz, ale bez zvuku.
• Stiskněte tlačítko +/- na dálkovém ovládači.
• Přesvěčte se, zda funkce “TV reproduktory“, v režimu
menu “Nastavení zvuku“, je zvolena v pozici “Zap“.
• Zkontrolujte, jsou-li sluchátka odpojeny.
Barevné pořady nejsou barevné
• Pomocí Režimu menu vstupte do “Nastavení obrazu”
a zvolte “Reset” pro obnovení továrního nastavení.
Obraz je zkreslený při změně
• Na zadní straně televizoru vypněte zařízení připojené
programu nebo při zvolení teletextu
přes 21-kolíkový Euro-konektor
Chybné zobrazování písmen a znaků
• Vstupem do nabídky Menu se dostanete až do úrovně
se projeví při sledování teletextu
nastavení “Instalace/Jazyk/Země”, zde zvolíte
příslušný jazyk a zemi, kde je televizor instalován a jejíž
CZ
vysílání televizor přijíma. Pro země kde se používají
písmena a znaky z Cyrilice a jejich název se nezobrazí
v nabídce doporučujeme použít nastavení televizoru
pro Rusko. Takto se předejdete chybnému
zobrazování Cyrilichých písmen a znaků v teletextu.
Obraz je nakloněný
• Pomocí Režimu menu zvolte funkci “Otočení obrazu”
v režimu menu “Podrobnější nastavení” a upravte
naklonění.
Šum v obrazu
• Pomocí Režimu menu zvolte funkci “AFT” v režimu
menu “Ruční Ladění” a ručně dolaďte. Tak dosáhnete
lepšího příjmu obrazu.
• Pomocí Režimu menu zvolte funkci “Redukce Šumu”
v režimu menu “Pokročilé Vybavení” a zvolte “Auto”
pro zredukování šumu v obrazu.
Při sledování kanálu kodifikovaného
• Pomocí systému menu, vstupte do režimu menu
pomocí dekodéru, který je připojený
“Instalace“. Poté vstupte do funkce “Prodrobnější
k Eurokonektoru
:2/q, obraz
nastavení“ a zvolte “Výstup AV2“ v režimu “TV“.
se správně nedekóduje nebo je
nestálý.
Dálkový ovládač nefunguje
• Vložte nové baterie.
Indikátor dočasného vypnutí
• Obraťte se na nejbližší autorizovaný servis Sony.
televizoru (pohotovostní režim)
bliká.
Pokud se závady nepodařilo odstranit, nechte televizor prověřit oprávněným odborníkem.
Kryt NIKDY neodnímejte sami.
Doplňkové informace
21

04HUKV29LS30K.fm Page 3 Wednesday, April 11, 2001 12:13 PM
Bevezetés
Köszönjük, hogy ezt a Sony FD Trinitron tökéletesen sík képernyős televíziót választotta.
A televízió használata előtt figyelmesen olvassa el ezt az útmutatót és őrizze meg
jövőbeni referenciákhoz.
• Az útmutatóban használt jelképek:
• Lehetséges kockázatok.
• A távvezérlő árnyékolt gombjai
K
mutatják a különböző utasítások
• Fontos információ.
végrehajtásához
• Információ a funkcióról.
megnyomandó gombokat.
•1,2... Követendő utasítás sor.
• Információ az utasítások eredményéről.
Tartalomjegyzék
Bevezetés ................................................................................................................................................. 2
Biztonsági előírások ................................................................................................................................4
Általános leírás
A távvezérlő gombjainak általános leírása ..........................................................................................5
A televízió gombjainak általános leírása ............................................................................................. 6
Üzembehelyezés
Az elemek behelyezése a távvezérlőbe ............................................................................................... 6
Az antenna és a videomagnó csatlakoztatása .................................................................................. 6
Első üzembehelyezés
A TV bekapcsolása és automatikus hangolás ................................................................................... 7
A képernyőn megjelenő menürendszerek
Bevezetés a képernyő menürendszereibe és azok használata ....................................................... 9
Útmutató a menükhöz:
HU
Képbeállítás..........................................................................................................................................9
Hangszabályozás............................................................................................................................... 10
Kikapcsolás időzítő ........................................................................................................................... 11
Nyelv/Ország...................................................................................................................................... 11
Automatikus hangolás ......................................................................................................................11
Programhelyek átrendezése ............................................................................................................12
Programnevek....................................................................................................................................12
AV beállítás ......................................................................................................................................... 12
Kézi hangolás..................................................................................................................................... 13
Zajzár ................................................................................................................................................... 15
AV2 Kimenet ......................................................................................................................................15
RGB pocicionálás.............................................................................................................................. 16
Képelforgatás ..................................................................................................................................... 16
Teletext...............................................................................................................................................17
Kiegészítő információ
Választható készülékek csatlakoztatása ........................................................................................... 18
Választható készülékek használata ................................................................................................... 19
Műszaki jellemzők ................................................................................................................................. 20
Problémamegoldás ..............................................................................................................................21
Tartalomjegyzék
3

Biztonsági előírások
Energiatakarékossági és
Kizárólag 220 - 240 V -os hálózati
biztonsági okok miatt ne hagyia
váltakozó feszültséggel
a készüléket készenléti
üzemeltesse a készüleket. Ne
üzemmódban, amikor nem
csatlakoztasson túl sok készüléket
használja. Hosszabb távollét
ugyanahhoz az aljzathoz, mert a
esetén húzza ki a hálózati
csatlakozó vezetéket a fali
túterhelés tüzet okozhat.
konnektorból.
4
Biztonsági előírások
Ne dugion semmilyen tárgat a
készülekbe, mert ezzel tüzet és
áramütést okozhat.Ha a szellőző
nyíasokon keresztül bármilyen
szilárd test, vagy folyadék kerüll a
készülek belsejébe, húzza ki a
hálozaki csatlakozó vezetéket.
Azonnal ellenőriztesse
szakemberrel!
Soha ne nyissa ki a készülék hátsó
Vihaos időjárás, villámlás idején
Az áramütés és a tűz veszélyének
burkolatát. A javítást bizza
saját biztonsága érdekében
elkerülése érdekében óvja a TV
szakemberre.
ne érintse meg a készüléket,
készüléket esőtől és
ahálózati csatlakozó vezetéket
nedvességtől.
és az antennakábelt.
A készülek szellőzőnyílásait hagyja
Ne állítsa a készüléket
A tűz veszélyének elkerülése
szabadon. A megfelelő
szélsőségesen meleg, párás vagy
érdekében ne alkalmazzon a
szellőzés érdekében a készülék
poros helyre, vagy olyan helyre,
készülek közelében nyílt lángot (ne
minden oldalánál hagyjon legalább
ahol mechanikai vibrációnak lehet
égessen pl. gyertyát).
10 cm-es szabad területet.
kitéve.
A képernyőt enyhén
A hálózati csatlakozó
Ne tegyen nehéz tárgyat a hálózat
megnedvesített ruhával
kihúzásánál a cstlakozó
vezetékré, mert megsérülhet.
tisztíthatja meg.
dugót forgia meg, és ne a
Javasoljuk, hogy a felesleges
Ne használjon a tisztításhoz
vezetéket.
vezetéket csévélje fel a tv
benzint, higítót, súrolószert.
készülék hátuljan lévő tartóra.
Tisztítás előtt húzza ki a hálózati
csatlakozót a konnektorból.
A TV készüléket stabil állványra
Mozgatás előtt húzza ki a hálózat
helyezze. Ne engedje, hogy a
készülék az oldalára vagy
képernyővel előre dőljön.
i
04HUKV29LS30K.fm Page 4 Wednesday, April 11, 2001 12:13 PM
Ne takarja le a készülék
csatlakozót a konnektorból.
szellőzőnyílásait pl. függönnyel,
A készüléket óvatosan szállítsa,
újsággal, stb.
kerülje a zötykölődős utcákat,
óvja a készüléket ütéstől,
rázkódástól.



