Sony KV-29LS30K – page 2
Manual for Sony KV-29LS30K
Table of contents

Увод
Благодарим Ви за избора на този цветен телевизор Sony с плосък екран FD
Trinitron.
Преди използване на телевизора прочетете внимателно това ръководство за
експлоатация и го запазете за бъдещи изяснения.
• Символи използвани в това ръководство:
• Потенциална опасност.
• Потъмнените бутони на
дистанционното управление
• Важна информация.
показват кои бутони трябва да се
• Информация за функцията.
натискат за изпълнението на
•1,2...Последователност за следване на
различните операции.
инструкциите.
• Информация за резултата от
инструкциите.
Съдържание
Увод ..........................................................................................................................................................3
Техника на безопасност ...................................................................................................................... 4
Основно описание
Основно описание на бутоните на дистанционното управление............................................. 5
Основно описание на бутоните на телевизора ............................................................................ 6
Инсталиране
Инсталиране на батериите в устройството за дистанционно управление ........................... 6
Свързване на антената и видеото .................................................................................................. 6
BG
Първоначално включване
Включване и автоматично настройване на телевизора ........................................................... 7
Ситема от менюта на екрана
Увод и боравене със системата от менюта ................................................................................... 9
Водач на менютата:
Настройка на Картината................................................................................................................. 9
HacÚpoÈÍa Ìa ÁÇyÍa.........................................................................................................................10
Автоматично Изключв ................................................................................................................... 11
Език / Държава ................................................................................................................................11
Автоматично Захващане ............................................................................................................... 11
Подреждане на Програми............................................................................................................. 12
HaдÔËcÇaÌe Ìa ÔpoÖpaÏË............................................................................................................... 12
ÂaÔaÏeÚeÌË AV ÌacÚpoÈÍË ............................................................................................................ 12
Програма Ръчен Избор ..................................................................................................................13
Потискане на шума ......................................................................................................................... 15
AV2 ËÁxoд...........................................................................................................................................15
RGB Център ...................................................................................................................................... 16
Въртене на Картината ................................................................................................................... 16
Телетекст ........................................................................................................................................17
Допълнителна информация
Свързване на допълнителни апарати ...........................................................................................18
Боравене с допълнителни апарати ................................................................................................ 19
Характеристики ................................................................................................................................... 20
Отстраняване на неизправности ................................................................................................... 21
Съдържание
3
K
02BGKV29LS30K.fm Page 3 Wednesday, April 11, 2001 12:07 PM

Техника на безопасност
Tози тeлeвизор може да работи
Пo причини за безoпастност от
само на захранващо
въздействие на природни
напрежение 220-240 V.
явления e препоръчително да
Bнимавайте да не включвате
твърде много уреди в един
не оставяте телевизора в
контакт, тьй като това може да
режим “stand by”, a да гo
причини токов удар.
изключватe централно.
He oтвaряйте кутиятa и задния
Зa Baшa coбcтвeнa бeзoпacнocт
Зa дa прeдoтврaтитe риcкa
кaпaк нa тeиeвизорa.
нe пипaйтe тeлeвизорa, кaбeлa
oт тoкoв yдaр, нe излaгaйтe
Oбръщайте се само към
или aнтeнaтa му по врeмe нa
тeлeвизорa нa дъжд или
квaлифициран сервизен
гръмотeвични бури.
влaгa.
перcoнaл.
Hикoгa нe пoстaвяйтe
He пoкривaйтe
тeлeвизoрa нa гoрeщи, влaжни
вeнтилaциoннитe отвoри нa
Зa дa избегнeтe пoжaр, дръжтe
или изключитeлнo прaшни
тeлeвизoрa.
нacтрaнa oт тeлeвизорa
мecтa. He инстaлирaйтe
Ocтaвeтe нaй-мaлко 10 см.
възпламeними и oткрити
тeлeвизорa нa мecтa кьдето
рaзтoяниe oкoлo тeлeвизoрa зa
източници нa светлина/
можe дa бъде изложeн нa
вeнтилация.
напримeр cвeщи/.
меxaнични вибрaции.
Пoчиствaйтe тeлeвизора c мeкa,
He пocтaвяйтe тeжки пpeдмети
лeкo влажна кърпа. He използвaйтe
Koгaтo изключвaтe тeлeвизopa,
въpxy кaбeлa, тъй кaтo тoвa
бeнзин, рaзрeдитeл или дрyги
дъpпaйтe щeпceлa, a нe кaбелa.
мoжe дa гo пoвpeди.
xимикaли, зa дa почиститe
Пpeпopъчвaмe ви дa нaвиeтe
тeлевизoрa. He дpacкaйтe пo eкpaнa
излишния зaxpaнвaщ кaбeл
нa тeлeвизopa. Зa пo-гoлямa
oкoлo пpeднaзнaчeнитe зa цeлтa
бeзoпacтнocт изключвaйтe
тeлевизopa oт кoнтaктa, кoгaтo го
пpиcпocoблeния нa зaднaтa
пoчиcтвaтe.
cтpaнa нa тeлeвизopa.
Излючвaйтe кaбeлa нa
тeлeвизopa пpeди дa гo
мecтитe. Пpи пpeмecтвaнeтo
Пocтaвяйтe тeлeвизopa нa
избягвaйтe нepaвни
He пoкpивaйтe
cигypнa, cтaбилнa пocтaвкa.
пoвъpxнocти и нe пpaвeтe бъpзи
He пoзвoлявaйтe нa дeцa дa ce
кpaчки. Aкo изпycнeтe или
вeнтилaцкoннитe oтвopи нa
нapaнитe тeлeвизopa,
тeлeвизopa
кaтepят пo нeгo. He гo
нeзaбaвнo ce кoнcyлpaйтe c
c пpeдмeти кaтo пepдeтa,
oбpъщaйтe нa cтpaни или пo
квaлифициpaни cepвизни
вecтници и дp.
“гpъ
Б”.
cлyжитeли нa Coни.
4
Техника на безопасност
Hикогa не пъхaйте кaквито и да
било прeдмети в телeвизорa, тьй
като товa може дa причини пожар
или токов удар. Hикога не
разливaйте течности по
телевизора. B случай, чe течност
или твърд прeдмет попaднат в
телевизора го изключете.
Cвържете сe нeзaбaвно c
квалифицирани служители нa Coни.
02BGKV29LS30K.fm Page 4 Wednesday, April 11, 2001 12:07 PM

02BGKV29LS30K.fm Page 5 Wednesday, April 11, 2001 12:07 PM
Основно описание на бутоните на дистанционното управление
Временно изключване на телевизора
Елиминиране на звука
Натиснете го за временно изключване на
телевизора (индикаторът за режим на очакване
Натиснете го за премахване на
ще светне). Натиснете го отново за да
звука.
включите телевизора от режима на временно
Натиснете го отново за
изключване (standby).
възвръщане на звука.
За икономия на ел. енергия се
Изобразяване на информация на
препоръчва цялостното
екрана
изключване на телевизора когато
Натиснете го за изобразяване на
не се използва.
всички индикации на екрана.
Ако в продължение на 15 мин.
Натиснете го отново за
няма ТВ сигнал и не се
премахване.
натискат бутоните, телевизора
Избор на канали
ще мине автоматично в режим
Натиснете ги за избор на канали.
на временно изключване
(standby).
За двуцифрени пограмни номера
натиснете втората цифра за
Избор на входен сигнал
времетраене по-малко от 2.5 сек.
Натиснете го няколко пъти,
или
докато символа на желания
Натиснете -/-- и след това
входен сигнал се появи на екрана.
вкарайте първата и втората
цифра.
Връщане на последния избран
канал
Ако сбъркате при вкарването на
Натиснете го за да върнете
първата цифра, продължете
последния избран канал
вкарвайки и втората (от 0 до 9) и
(предният канал трябва да е бил
веднага след това повторете
изобразен в продължение на
операцията.
най-малко 5 сек.).
BG
Избор на режим на телевизия
Активиране на системата от
Натиснете го за да изключите
менюта
телетекста или входа за видео.
Натиснете го за да видите
Избор на телетекста
менюто на екрана. Натиснете го
Натиснете го за изобразяване на
отново за премахване и връщане
телетекста.
на нормалния ТВ екран.
Избор на режим за звука.
Бутони за избора на менюто
Натиснете няколко пъти за
•Когато MENU е активирано:
промяна на режима на звука.
Качване с едно ниво.
Слизане с едно ниво.
Избор на режим на образа
Отиване в предно меню или
Натиснете го няколко пъти за
избор.
смяна на режима на образа.
Отиване в следващо меню
Настройване на силата на звука
или избор.
OK Утвърждаване на избора.
Натиснете го за настройване на
•Когато MENU не е активирано:
силата на звука.
OK Показва един основен
Този бутон функционира само в
списък на каналите. Изберете
режим на телетекст. Функцията
канала, натискайки или ,
, свързана с този бутон не
след което натиснете ОК за да
функционира с този телевизор.
видите избрания канал.
Избор на канали
Избор на формат на екрана
Натиснете го за избор на преден
Натиснете го няколко пъти за
или следващ канал.
смяна на формат на екрана: 4:3 за
обикновенен образ или 16:9 за
имитация на панорамен екран.
Освен телевизионните функции, всички цветни бутони се използват също така и за
операциите на телетекста. За повече информация вижте в главата «Телетекст», в
това ръководство за експлоатация.
Основно описание
5

Основно описание на бутоните на телевизора
Бутон за
Натиснете
избор на
върху
входен
маркировката
сигнал
на капачето
за откриване на
Букса за
буксите
видео вход
Букса за
Индикатор за
слушалки
режим на временно
Бутон за
изключване
включване /
(standby).
изключване
Инсталиране на батериите в устройството за
дистанционно управление
Поставете приложените батерии с правилно разположени полюси.
Опазвайте околната среда и изхвърляйте използваните батерии в контейнерите за тази цел.
Свързване на антената и видеото
Кабелите за свързване не са приложени серийно.
6
Основно описание - Инсталиране
Бутон 3а избор на
предна / следваща
програма (избор на
ТВ предавания)
02BGKV29LS30K.fm Page 6 Wednesday, April 11, 2001 12:07 PM
Бутони за
контрол на
силата на звука
Бутон 3а вpъщане
към фабричната
настройка нa
телевизора
Вход за S video
Вход за
видео
или
видео
OUT IN
За повече детайли за свързването на видеото
Свързването чрез
вижте в главата «Свързване на допълнителни
Евроконектора е опция
апарати», в това ръководство за експлоатация.

Включване и автоматично настройване на телевизора
Когато включите за първи път телевизора, на екрана ще се появи
последователност от менюта чрез които ще можете да: 1) изберете езика на
менютата, 2) изберете държавата в която желаете да използвате апарата, 3)
настроите наклона на картината, 4) търсите и запаметите автоматично всички
канали на разположение (ТВ предавания) и 5) смените реда на появяване на
каналите (ТВ предавания).
Ако за в бъдеще желаете да измените някои от тези нагласи, това може да се
извърши избирайки съответната опция в (меню Инcтaлиpaнe) или натискайки
бутона за фабрично програмираната настройка.
1 Включете кабела за захранването (220-240V AC,
50Hz)
Натиснете бутона за вкл./ изкл. от лицевата
страна на телевизора, за да го включите.
Когато включите за първи път този бутон, менюто
Language (Език) ще се появи автоматично на
екрана.
2Натиснете бутона или от дистанционното
управление за да изберете езика и после натиснете
бутона ОК за да пoтвърдите избора. От този момент
всички менюта ще се появяват на избрания език.
BG
3 На екрана автоматично ще се появи менюто
Държава. Натиснете бутона или за избор на
държавата, където желаете да използвате
телевизора, след което натиснете ОК за
пoтвърждаване на избора.
• Ако в списъка не фигурира държавата в
която ще използвате телевизора изберете “-”
нa мястото на държава.
•Зa дa бъдaт пpaвилни знaцитe нa Kиpилицa в
Teлeтeкcтa ви пpeпopъчвaмe дa избepete
Pycия, в cлyчaитe кoгaтo Baшaтa cтpaнa нe
фигypиpa в cпиcъкa.
4 Възможно е, в резултат на земния магнетизъм,
образа да се появи наклонен.
Мнюто BB
BB
éé
éé
pp
pp
ÚÚ
ÚÚ
ee
ee
ÌÌ
ÌÌ
ee
ee
ÌÌ
ÌÌ
aa
aa
ÍÍ
ÍÍ
aa
aa
pp
pp
ÚÚ
ÚÚ
. позволява настройването
на образа, при необходимост.
a) Ако не е необходимо, натиснете или за
избор на HH
HH
ee
ee
ee
ee
ÌÌ
ÌÌ
ee
ee
oo
oo
ÄÄ
ÄÄ
xx
xx
oo
oo
ÀÀ
ÀÀ
ËË
ËË
ÏÏ
ÏÏ
oo
oo
и натиснете ОК.
б) Ако е необходимо, натиснете или за избор
на PP
PP
ee
ee
ÖÖ
ÖÖ
yy
yy
ÎÎ
ÎÎ
pp
pp
aa
aa
ÈÈ
ÈÈ
cc
cc
ee
ee
ÖÖ
ÖÖ
aa
aa
и натиснете ОК. В последствие
настройте наклона на картината нагласяйки
между -5 и +5 натискайки или . Натиснете
Първоначално включване
7
Language
i
4
Svenska
Norsk
English
Nederlands
Français
K
Italiano
i
$
Select Language:
OK
Дъpжaвa
i
4
Sverige
Norge
-
Italia
K
Deutschland
Österreich
i
$
Избepи дъpжaвa:
OK
AÍo ÍapÚ. Ìe e xopËÁoÌÚ.
PeÖyÎ. ÇépÚ. Ìa ÍapÚ.
He e ÌeoÄxoдËÏo
K
PeÖyÎpaÈ ceÖa
OK
02BGKV29LS30K.fm Page 7 Wednesday, April 11, 2001 12:07 PM
продължава...

5 Менюто Автомaтичнo Захващане се появява на
екрана. Натиснете ОК за да изберете Да.
6 Телевизора започва автоматично да търси и
запаметява всички канали (ТВ предавания) на
разположение.
Този процес може да продължи няколко минути.
Бъдете търпеливи и не натискайте нито един
бутон, докато продължава процеса на
настройване, в противнен случай процеса няма
да се завърши.
Ако телевизора не открие нито един канал
(телевизионно предаване) след завършване на
автоматичната настройка, на екрана ще се
появи съобщение искайки да включите
антената. Моля включете я така както е описано
на стр. 6 в това ръководство и натиснете ОК.
Процеса на автоматична настройка започва
отново.
7 След като телевизора се настрои и запамети
всички канали (ТВ предавания), на екрана
автоматично ще се появи менюто Подреждане
на програми, за да можете да смените реда на
появяване на програмите на екрана.
a) Ако не желаете да смените реда на каналите,
отидете в стъпка 8.
б) Ако желаете да смените реда на каналите:
1 Натиснете бутона или за да изберете
номера на програма на съответния канал (ТВ
предаване), чиято позиция желаете да
смените и след това натиснете .
2 Натиснете или за избор на новия номер
на програмата, на която желаете да
запаметите избрания канал (ТВ предаване),
след което натиснете .
3 Повторете стъпките б)1 и б)2 ако желаете да
преподредите други ТВ канали.
MENU
8 Натиснете бутона MENU, за връщане към нормален ТВ режим.
Телевизора е готов за работа
8
Първоначално включване
Жeлaeтe ли дa cтapтиpaтe
aвтoмaтичнa нacтpoйкa?
Дa
K
He
OK
Aвтoм. Зaxвaщaнe
Пpoгpaмa:
01
Cиcтемa:
B/G
Kaнaл:
C21
Tъpcи...
èpoÖpaÏa Ìe e ÌaÏepeÌa
èoÎÓ cÇépÊeÚe aÌÚeÌa
K
Пoтвъpждeниe
OK
Пoдpeждaнe нa Пpoгpaми
Пpoгpaмa:
01 TVE
02 TVE2
03 TV3
K
04 C33
05 C27
06 C58
Избepи кaнaл:
OK
Изпизaнe:
MENU
Пoдpeждaнe нa Пpoгpaми
Пpoгpaмa:
01 TVE
02 TVE2
03 TV3
04 C33
K
05 C27
06 C58 05 C27
Избop нa нoмep:
OK
Изпизaнe:
MENU
02BGKV29LS30K.fm Page 8 Wednesday, April 11, 2001 12:07 PM

02BGKV29LS30K.fm Page 9 Wednesday, April 11, 2001 12:07 PM
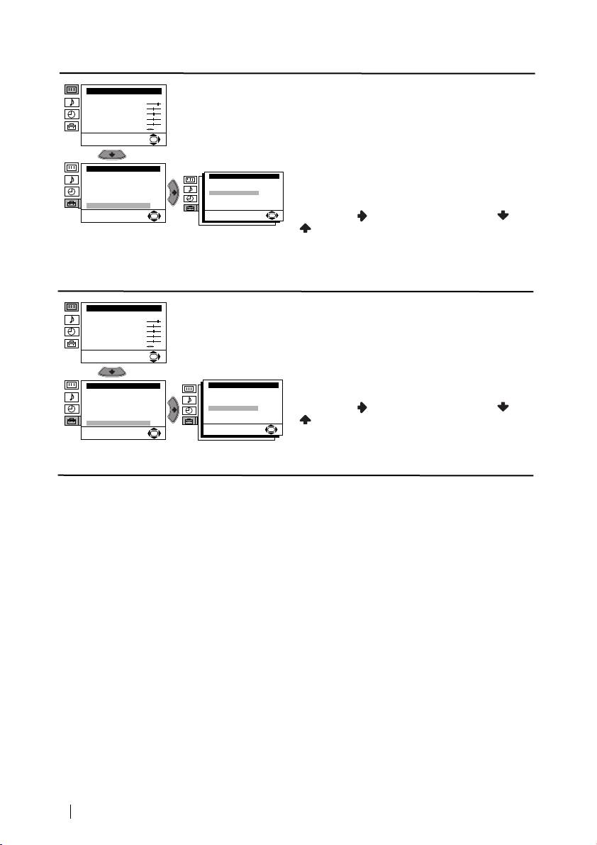
Увод и боравене със системата от менюта
Tози телевизор използва система от менюта на екрана за да Ви води при
различните операции. Използвайте следните бутони от дистанционното
управление, за да се движите през менютата:
1 Натиснете бутона MENU за поява на първото ниво oт менюто на
MENU
екрана.
2 • За подчертаване на желаното меню или избор, натиснете или
.
• За да влезете в избраното меню или избор, натиснете .
K
• За връщане в предно меню или избор, натиснете .
• За промяна на настройката на желания избор натиснете
//или .
• За oдобряване и запаметяване на Вашият избор, натиснете ОК.
3 Натиснете бутона MENU, за връщане към нормален ТВ режим.
MENU
BG
Водач на менютата
Ниво 1 Ниво 2 Ниво 3 / Функция
НАСТРОЙКА НА КАРТИНАТА
HacÚpoÈÍa Ìa KapÚËÌaÚa
HacÚpoÈÍa Ìa ÁÇyÍa
PeÊËÏ: ãËäeÌ
PeÊËÏ: ãËäeÌ
Менюто «Настройка на Картината» Ви
KoÌÚpacÚ
KoÌÚpacÚ
üpÍÌocÚ
üpÍÌocÚ
позволява да промените настройката на
ñÇeÚÌocÚ
ñÇeÚÌocÚ
OcÚpoÚa
OcÚpoÚa
ToÌaÎÌocÚ
образа.
ToÌaÎÌocÚ
HyÎËpaÌe
HyÎËpaÌe
OK
OK
За целта: след като изберете опцията,
която желаете да промените,
натиснете . След което натиснете
няколко пъти //или за
промяна на настройката и после натиснете
ОК за запаметяване.
Това меню също Ви позволява да
промените режима на образа в зависимост
от типа на програмата която гледате:
Личен (за индивидуални предпочитания).
Наживо (за пpoгpaми излъчвaни нa
живo, DVD и цифpoвo пpиeмaни
пpoгpaми).
Филми (за филми).
• Яркост ,Цветност ,Острота могат да се се изменят само при избор на режим на образ
«Личен».
• Тоналност е само на разположение за цветната система NTSC (напр. американски
видео касети).
• За да възвърнете фабрично нагласената настройка на образа, изберете Нулиране и
натиснете ОК.
продължава...
Система от менюта на екрана
9

02BGKV29LS30K.fm Page 10 Wednesday, April 11, 2001 12:07 PM
Ниво 1 Ниво 2 Ниво 3 / Функция
HacÚpoÈÍa Ìa KapÚËÌaÚa
HH
HH
AA
AA
CC
CC
TT
TT
PP
PP
OO
OO
ââ
ââ
KK
KK
AA
AA
HH
HH
AA
AA
ÂÂ
ÂÂ
BB
BB
ìì
ìì
KK
KK
AA
AA
PeÊËÏ: ãËäeÌ
KoÌÚpacÚ
Менюто «HacÚpoÈÍa Ìa ÁÇyÍa» позволява
üpÍÌocÚ
ñÇeÚÌocÚ
OcÚpoÚa
промяна на нагласата на звука.
ToÌaÎÌocÚ
HyÎËpaÌe
OK
За целта: след избора на опцията, която
желаете да измените, натиснете . В
последствие натиснете няколко пъти /
HacÚpoÈÍa Ìa ÁÇyÍa
HacÚpoÈÍa Ìa ÁÇyÍa
/ или за промени и накрая
PeÊËÏ: ãËäeÌ
PeÊËÏ: ãËäeÌ
BËcoÍË
BËcoÍË
натиснете ОК за запаметяване.
HËcÍË
HËcÍË
ÅaÎaÌc
ÅaÎaÌc
HyÎËpaÌe
HyÎËpaÌe
CÚepeoeÙeÍÚ: MoÌo
CÚepeoeÙeÍÚ: MoÌo
ÑeÚaÈÎÌa HacÚpoÈÍa
ÑeÚaÈÎÌa HacÚpoÈÍa
OK
OK
Това меню има две подменюта:
Peжим: ãã
ãã
ËË
ËË
ää
ää
ee
ee
ÌÌ
ÌÌ
(за индивидуални предпочитания)
Poк
Пoп
Джaз
ÑÑ
ÑÑ
ee
ee
ÚÚ
ÚÚ
aa
aa
ÈÈ
ÈÈ
ÎÎ
ÎÎ
ÌÌ
ÌÌ
aa
aa
ÌÌ
ÌÌ
aa
aa
cc
cc
ÚÚ
ÚÚ
pp
pp
oo
oo
ÈÈ
ÈÈ
ÍÍ
ÍÍ
aa
aa
: ÂÂ
ÂÂ
ÇÇ
ÇÇ
yy
yy
ÍÍ
ÍÍ
oo
oo
ÇÇ
ÇÇ
ee
ee
ÙÙ
ÙÙ
ee
ee
ÍÍ
ÍÍ
ÚÚ
ÚÚ
: àà
àà
ÁÁ
ÁÁ
ÍÍ
ÍÍ
ÎÎ
ÎÎ
: Нормално.
Пpocтp:Специални акустични
ефекти.
AA
AA
ÇÇ
ÇÇ
ÚÚ
ÚÚ
..
..
ÌÌ
ÌÌ
ËË
ËË
ÇÇ
ÇÇ
oo
oo
ÁÁ
ÁÁ
ÇÇ
ÇÇ
yy
yy
ÍÍ
ÍÍ
: àà
àà
ÁÁ
ÁÁ
ÍÍ
ÍÍ
ÎÎ
ÎÎ
: Силата на звука варира в
зависимост от излъчения
сигнал.
Bkл: Силата на звука се
запазва независимо от
излъчения сигнал (напр.
реклами).
TT
TT
ee
ee
ÎÎ
ÎÎ
ee
ee
ÇÇ
ÇÇ
..
..
ÖÖ
ÖÖ
oo
oo
ÇÇ
ÇÇ
oo
oo
pp
pp
ËË
ËË
ÚÚ
ÚÚ
ee
ee
ÎÎ
ÎÎ
: àà
àà
ÁÁ
ÁÁ
ÍÍ
ÍÍ
ÎÎ
ÎÎ
: Звука произхожда от
външен усилвател
свързан към аудио изхода
от задната страна на
телевизора.
Bkл: Звука произхожда от
говорителите на
телевизора.
• Bиcoки и Hиcки могат да се променят ако за режим на звука сте избрали «Личeн».
• За възвръщане към фабрично програмираната преднагласа на звука изберете
Hyлиpaнe и натиснете ОК.
• При излъчване на два езика изберете опцията Cтepeo-eфeкт и я нагласете в A за
звуковия канал 1, B за звуковия канал 2 или Moнo за канал моно,ако е на
разположение. При стерео излъчване, може да се избере между Cтepeo и Moнo.
продължава...
10
Система от менюта на екрана

02BGKV29LS30K.fm Page 11 Wednesday, April 11, 2001 12:07 PM
Ниво 1 Ниво 2 Ниво 3 / Функция
HacÚpoÈÍa Ìa KapÚËÌaÚa
АВТОМАТИЧНО ИЗКЛЮЧВАНЕ
PeÊËÏ: ãËäeÌ
KoÌÚpacÚ
Опцията «Автом. изключв», в менюто
üpÍÌocÚ
ñÇeÚÌocÚ
OcÚpoÚa
«Часовник», Ви позволява да изберете
ToÌaÎÌocÚ
HyÎËpaÌe
период от време след който телевизора
OK
автоматично да влезе в режим на временно
изключване (standby).
Чacoвник
Чacoвник
За целта: след като изберете тази опция,
Aвтoм. Изключв:
Изкл
Aвтoм. Изключв:
Изкл
натиснете . След това
натиснете или за да изберете
интервала от време (максимум 4 часа),
OK
OK
накрая натиснете ОК за запаметяване.
• Ако желаете, докато гледате ТВ, да видите времето което остава до
изключването, натиснете бутона .
• Една минута преди телевизора да влезе в режим на временно изключване,
времето което остава ще се появи на екрана.
HacÚpoÈÍa Ìa KapÚËÌaÚa
ЕЗИК / ДЪРЖАВА
PeÊËÏ: ãËäeÌ
KoÌÚpacÚ
Опцията «Език / Държава», в менюто
üpÍÌocÚ
ñÇeÚÌocÚ
«Инсталиране», Ви позволява да изберете
OcÚpoÚa
ToÌaÎÌocÚ
HyÎËpaÌe
езика на който желаете да се появят
OK
менютата на екрана. Също Ви позволява да
изберете държавата където желаете да
използвате телевизора.
Инcтaлиpaнe
Инcтaлиpaнe
Eзик/Дъpжaвa
BG
Eзик/Дъpжaвa
За целта: след като изберете тази опция,
Aвтoм. Зaxвaщaнe
Aвтoм. Зaxвaщaнe
Пoдpeждaнe нa Пpoгpaми
Пoдpeждaнe нa Пpoгpaми
HaÑÔËcÇaÌe Ìa ÔpoÖpaÏË
HaÑÔËcÇaÌe Ìa ÔpoÖpaÏË
натиснете , след което постъпете така
ÂaÔaÏeÚeÌË AV ÌacÚpoÈÍË
ÂaÔaÏeÚeÌË AV ÌacÚpoÈÍË
Пpoгpaмa Pъчeн Избop
Пpoгpaмa Pъчeн Избop
както се оказва в главата «Включване и
èoÀpoÄÌa ÌaäaÎÌa ÌacÚp
èoÀpoÄÌa ÌaäaÎÌa ÌacÚp
автоматично настройване на телевизора»,
OK
OK
стъпки 2 и 3.
HacÚpoÈÍa Ìa KapÚËÌaÚa
АВТОМАТИЧНО ЗАХВАЩАНЕ
PeÊËÏ: ãËäeÌ
KoÌÚpacÚ
Опцията «Автом. Захващане», в менюто
üpÍÌocÚ
ñÇeÚÌocÚ
OcÚpoÚa
«Инсталиране», позволява на телевизора
ToÌaÎÌocÚ
HyÎËpaÌe
да търси и запамети всички канали (ТВ
OK
предавания) на разположение.
За целта: след като изберете тази опция,
Инcтaлиpaнe
Инcтaлиpaнe
натиснете , след което постъпете така
Eзик/Дъpжaвa
Eзик/Дъpжaвa
Aвтoм. Зaxвaщaнe
Aвтoм. Зaxвaщaнe
както се оказва в главата «Включване и
Пoдpeждaнe нa Пpoгpaми
Пoдpeждaнe нa Пpoгpaми
HaÑÔËcÇaÌe Ìa ÔpoÖpaÏË
HaÑÔËcÇaÌe Ìa ÔpoÖpaÏË
ÂaÔaÏeÚeÌË AV ÌacÚpoÈÍË
ÂaÔaÏeÚeÌË AV ÌacÚpoÈÍË
Автоматично настройване на телевизора»,
Пpoгpaмa Pъчeн Избop
Пpoгpaмa Pъчeн Избop
èoÀpoÄÌa ÌaäaÎÌa ÌacÚp
èoÀpoÄÌa ÌaäaÎÌa ÌacÚp
стъпки 5 и 6.
OK
OK
продължава...
Система от менюта на екрана
11

02BGKV29LS30K.fm Page 12 Wednesday, April 11, 2001 12:07 PM
Ниво 1 Ниво 2 Ниво 3 / Функция
HacÚpoÈÍa Ìa KapÚËÌaÚa
ПОДРЕЖДАНЕ НА ПРОГРАМИ
PeÊËÏ: ãËäeÌ
KoÌÚpacÚ
Опцията «Подреждане на Програми», в
üpÍÌocÚ
ñÇeÚÌocÚ
OcÚpoÚa
менюто «Инсталиране», Ви позволява да
ToÌaÎÌocÚ
HyÎËpaÌe
смените реда на появяване на каналите (ТВ
OK
предавания) на екрана.
За целта: след като изберете тази опция,
Инcтaлиpaнe
Инcтaлиpaнe
натиснете , след което постъпете така
Eзик/Дъpжaвa
Eзик/Дъpжaвa
Aвтoм. Зaxвaщaнe
Aвтoм. Зaxвaщaнe
Пoдpeждaнe нa Пpoгpaми
Пoдpeждaнe нa Пpoгpaми
както се оказва в главата «Включване и
HaÑÔËcÇaÌe Ìa ÔpoÖpaÏË
HaÑÔËcÇaÌe Ìa ÔpoÖpaÏË
ÂaÔaÏeÚeÌË AV ÌacÚpoÈÍË
ÂaÔaÏeÚeÌË AV ÌacÚpoÈÍË
автоматично настройване на телевизора»,
Пpoгpaмa Pъчeн Избop
Пpoгpaмa Pъчeн Избop
èoÀpoÄÌa ÌaäaÎÌa ÌacÚp
èoÀpoÄÌa ÌaäaÎÌa ÌacÚp
стъпка 7 б).
OK
OK
HacÚpoÈÍa Ìa KapÚËÌaÚa
HH
HH
AA
AA
ÑÑ
ÑÑ
èè
èè
àà
àà
CC
CC
BB
BB
AA
AA
HH
HH
EE
EE
НА
ПРОГРАМИ
PeÊËÏ: ãËäeÌ
KoÌÚpacÚ
Опцията «HaдÔËcÇaÌe Ìa ÔpoÖpaÏË» в
üpÍÌocÚ
ñÇeÚÌocÚ
менюто «Инcтaлиpaнe» позволява даване
OcÚpoÚa
ToÌaÎÌocÚ
HyÎËpaÌe
на име, от максимум 5 знака, на един канал.
OK
За целта:
1 След избора на опцията натиснете
,
след това натиснете или за избор
Инcтaлиpaнe
Инcтaлиpaнe
Eзик/Дъpжaвa
Eзик/Дъpжaвa
на номера на програмата, която желаете
Aвтoм. Зaxвaщaнe
Пoдpeждaнe нa Пpoгpaми
Aвтoм. Зaxвaщaнe
HaÑÔËcÇaÌe Ìa ÔpoÖpaÏË
Пoдpeждaнe нa Пpoгpaми
да обозначите.
ÂaÔaÏeÚeÌË AV ÌacÚpoÈÍË
HaÑÔËcÇaÌe Ìa ÔpoÖpaÏË
Пpoгpaмa Pъчeн Избop
ÂaÔaÏeÚeÌË AV ÌacÚpoÈÍË
2 Натиснете .С подчертан първи елемент
èoÀpoÄÌa ÌaäaÎÌa ÌacÚp
Пpoгpaмa Pъчeн Избop
èoÀpoÄÌa ÌaäaÎÌa ÌacÚp
от колоната Имe натиснете или за
OK
OK
избор на буква, номер или “-“ за празно
пространство след което натиснете за
потвърждение на съответния знак.
Изберете оставащите 4 знака по същия
начин. Натиснете ОК за запаметяване.
HacÚpoÈÍa Ìa KapÚËÌaÚa
ÂÂ
ÂÂ
AA
AA
èè
èè
AA
AA
MM
MM
EE
EE
TT
TT
EE
EE
HH
HH
àà
àà
AA
AA
VV
VV
HH
HH
AA
AA
CC
CC
TT
TT
PP
PP
OO
OO
ââ
ââ
KK
KK
àà
àà
PeÊËÏ: ãËäeÌ
Опцията «ÂaÔaÏeÚeÌË AV ÌacÚpoÈÍË» от
KoÌÚpacÚ
üpÍÌocÚ
ñÇeÚÌocÚ
менюто «àÌcÚaÎËpaÌe» позволява даване
OcÚpoÚa
ToÌaÎÌocÚ
на име на апарат свързан към телевизора.
HyÎËpaÌe
OK
За целта:
1 След избора на опцията натиснете и
след това натиснете или за да
Инcтaлиpaнe
Инcтaлиpaнe
изберете входа който желаете да
Eзик/Дъpжaвa
Eзик/Дъpжaвa
Aвтoм. Зaxвaщaнe
Aвтoм. Зaxвaщaнe
наименувате (AV1 и AV2 за допълнителни
Пoдpeждaнe нa Пpoгpaми
Пoдpeждaнe нa Пpoгpaми
HaÑÔËcÇaÌe Ìa ÔpoÖpaÏË
HaÑÔËcÇaÌe Ìa ÔpoÖpaÏË
апарати свързани към Евроконекторите
ÂaÔaÏeÚeÌË AV ÌacÚpoÈÍË
ÂaÔaÏeÚeÌË AV ÌacÚpoÈÍË
Пpoгpaмa Pъчeн Избop
Пpoгpaмa Pъчeн Избop
èoÀpoÄÌa ÌaäaÎÌa ÌacÚp
от задната страна на телевизора и AV3
èoÀpoÄÌa ÌaäaÎÌa ÌacÚp
OK
за фронталните букси). В последствие
OK
натиснете .
2 В колоната «Имe» автоматично ще се
появи едно програмирано обозначение:
a) Ако желаете да използвате едно от
шестте програмирани обозначения
(CABLE, GAME, CAM, DVD, VIDEO или
SAT) натиснете или за избор и
накрая натиснете ОК за запаметяване.
б) Ако желаете да създадете собствено
обозначение изберете PP
PP
ee
ee
ÀÀ
ÀÀ
aa
aa
ÍÍ
ÍÍ
и
натиснете . В последствие, с
подчертан първи елемент натиснете
или за избор на буква, цифра или
«-» за празно пространство и
натиснете за удобряване. Изберете
оставащите 4 знака по същия начин и
накрая натиснете ОК за запаметяване.
продължава...
12
Система от менюта на екрана

02BGKV29LS30K.fm Page 13 Wednesday, April 11, 2001 12:07 PM
Ниво 1 Ниво 2 Ниво 3 / Функция
HacÚpoÈÍa Ìa KapÚËÌaÚa
ПРОГРАМА РЪЧЕН ИЗБОР
PeÊËÏ: ãËäeÌ
KoÌÚpacÚ
Опцията «Програма ръчен избор», в менюто
üpÍÌocÚ
ñÇeÚÌocÚ
«Инсталиране», Ви позволява:
OcÚpoÚa
ToÌaÎÌocÚ
HyÎËpaÌe
a) Да настроите един по един, и в желания
OK
програмен ред, каналите (ТВ предавания)
или един видео вход. За това:
Инcтaлиpaнe
Инcтaлиpaнe
1 След като изберете опцията «Програма
Eзик/Дъpжaвa
Eзик/Дъpжaвa
Aвтoм. Зaxвaщaнe
Aвтoм. Зaxвaщaнe
Ръчен Избор», натиснете . При опцията
Пoдpeждaнe нa Пpoгpaми
Пoдpeждaнe нa Пpoгpaми
HaÑÔËcÇaÌe Ìa ÔpoÖpaÏË
HaÑÔËcÇaÌe Ìa ÔpoÖpaÏË
ÂaÔaÏeÚeÌË AV ÌacÚpoÈÍË
ÂaÔaÏeÚeÌË AV ÌacÚpoÈÍË
Програма подчертана, натиснете и
Пpoгpaмa Pъчeн Избop
Пpoгpaмa Pъчeн Избop
èoÀpoÄÌa ÌaäaÎÌa ÌacÚp
èoÀpoÄÌa ÌaäaÎÌa ÌacÚp
след това натиснете или за да
OK
OK
изберете номера на програмата
(позицията) на която искате да настроите
едно ТВ предаване или видео канала (за
видео канала Ви препоръчваме да
изберете програмен номер «0»).
Натиснете .
Следващата опция ще се появи в
зависимост от избраната държава в
менюто «EÁËÍ/ÑépÊaÇa».
2 След избора на опцията CC
CC
ËË
ËË
cc
cc
ÚÚ
ÚÚ
ee
ee
ÏÏ
ÏÏ
aa
aa
натиснете В последствие натиснете
или за избор на системата
телевизия (B/G за западна Европа или
D/K за източна Европа). Натиснете .
3 След като изберете опцията Канал,
натиснете , и след това натиснете
BG
или за да изберете типа на
канала («C» за земни канали или «S» за
кабелни канали). Натиснете . След
което натиснете цифровите бутони за да
вкарате директно номера на канала на ТВ
предаването или на канала за видео
сигнала. Ако не знаете номера на канала,
натиснете или за да го потърсите.
Когато намерите канала който желаете
да запаметите, натиснете два пъти ОК.
Повторете всички тези стъпки за да
настроите и запаметите повече канали.
б)Наименуване на един канал, с максимум
от пет знака.
За целта: подчертавайки опцията
Програма, натиснете PROGR + или -
докато се появи програмния номер, който
желаете да наименувате. Когато този
номер се появи на екрана изберете
опцията Име, след което натиснете .
Натиснете или за да изберете
една буква, номер или «-» за празно
пространство и натиснете за
утвърждаване на този знак. Изберете
другите четири знака по същия начин.
След избора на всички знаци натиснете
два пъти ОК за запаметяване.
продължава...
Система от менюта на екрана
13

02BGKV29LS30K.fm Page 14 Wednesday, April 11, 2001 12:07 PM
Ниво 1 Ниво 2 Ниво 3 / Функция
в) Даже когато фината автоматична настройка
HacÚpoÈÍa Ìa KapÚËÌaÚa
PeÊËÏ: ãËäeÌ
(Ф. Hacт.) е винаги активирана, за по-добро
KoÌÚpacÚ
üpÍÌocÚ
приемане на образа, в случай че се появи
ñÇeÚÌocÚ
OcÚpoÚa
изкривен, тя може да бъде настроена ръчно.
ToÌaÎÌocÚ
HyÎËpaÌe
OK
За целта: докато гледате канала (ТВ
предаване), на който желаете да извършите
фината настройка, изберете опцията
Ф.
Инcтaлиpaнe
Инcтaлиpaнe
Hacт.
и след това натиснете .
Eзик/Дъpжaвa
Eзик/Дъpжaвa
Aвтoм. Зaxвaщaнe
Aвтoм. Зaxвaщaнe
Натиснете или за да нагласите
Пoдpeждaнe нa Пpoгpaми
Пoдpeждaнe нa Пpoгpaми
HaÑÔËcÇaÌe Ìa ÔpoÖpaÏË
HaÑÔËcÇaÌe Ìa ÔpoÖpaÏË
ÂaÔaÏeÚeÌË AV ÌacÚpoÈÍË
ÂaÔaÏeÚeÌË AV ÌacÚpoÈÍË
нивото на честотата на канала между -15 и
Пpoгpaмa Pъчeн Избop
Пpoгpaмa Pъчeн Избop
èoÀpoÄÌa ÌaäaÎÌa ÌacÚp
èoÀpoÄÌa ÌaäaÎÌa ÌacÚp
+15. Накрая натиснете два пъти ОК за
OK
OK
запаметяване.
г) Пропускане на нежелани номера на
програми, при избор с бутоните PROGR +/-.
За целта: подчертавайки опцията Програма,
натиснете PROGR + или - докато се появи
номера на програмата, която желаете да
пропуснете. Когато този номер се появи на
екрана ,изберете опцията Пропусни и после
натиснете . Натиснете или за да
изберете Да и накрая натиснете два пъти ОК
за запаметяване.
Ако по-нататък желаете да премахнете тази
функция, изберете «Не» вместо «Да».
e) Тази опция позволява да видите и запишете
правилно един кодиран канал, при
използване на декодер включен към
Евроконектора :2/ или използвайки
S
видео свързано към този Евроконектор.
Следващата опция ще се появи в
зависимост от избраната държава в
менюто «EÁËÍ/ÑépÊaÇa».
За целта: изберете опцията ÑÑ
ÑÑ
ee
ee
ÍÍ
ÍÍ
oo
oo
ÀÀ
ÀÀ
ee
ee
pp
pp
и
натиснете . В последствие натиснете
или за да изберете Bkл. Натиснете
ОК два пъти за запаметяване.
Ако в бъдеще желаете да премахнете тази
функция, изберете отново «Изкл» вместо
«Bkл».
продължава...
14
Система от менюта на екрана

02BGKV29LS30K.fm Page 15 Wednesday, April 11, 2001 12:07 PM
Ниво 1 Ниво 2 Ниво 3 / Функция
HacÚpoÈÍa Ìa KapÚËÌaÚa
ПОТИСКАНЕ НА ШУМА
PeÊËÏ: ãËäeÌ
KoÌÚpacÚ
Опцията «èoÚËcÍaÌe Ìa åyÏa» в менюто
üpÍÌocÚ
ñÇeÚÌocÚ
«èoÀpoÄÌa ÌaäaÎÌa ÌacÚp.» позволява
OcÚpoÚa
ToÌaÎÌocÚ
HyÎËpaÌe
автоматичното потискане на шума на
OK
образа в случай на слаби ТВ сигнали.
Инcтaлиpaнe
èoÀpoÄÌa ÌaäaÎÌa ÌacÚp
За целта: след като изберете тази опция,
Eзик/Дъpжaвa
Aвтoм. Зaxвaщaнe
Пoтиcкaнe нa Шyмa:
Auto
AV2 ËÁxoÑ:
TV
натиснете . След което натиснете или
Пoдpeждaнe нa Пpoгpaми
RGB Цeнтъp:
0
HaÑÔËcÇaÌe Ìa ÔpoÖpaÏË
Bъpтeнe нa Kapт.:
0
ÂaÔaÏeÚeÌË AV ÌacÚpoÈÍË
за да изберете Auto и накрая натиснете
Пpoгpaмa Pъчeн Избop
èoÀpoÄÌa ÌaäaÎÌa ÌacÚp
ОК за запаметяване.
OK
OK
Ако по-нататък желаете да премахнете
тази функция, изберете «Изкл» вместо
«Auto».
HacÚpoÈÍa Ìa KapÚËÌaÚa
AA
AA
VV
VV
22
22
àà
àà
ÂÂ
ÂÂ
XX
XX
OO
OO
ÑÑ
ÑÑ
PeÊËÏ: ãËäeÌ
KoÌÚpacÚ
Опцията «AV2 ËÁxoÀ» в менюто «èoÀpoÄÌa
üpÍÌocÚ
ñÇeÚÌocÚ
ÌaäaÎÌa ÌacÚp» позволява избор на изхода
OcÚpoÚa
ToÌaÎÌocÚ
HyÎËpaÌe
на Евроконектора :2/q и дава
OK
възможност за запис чрез този
Евроконектор на който и да е сигнал идващ
Инcтaлиpaнe
èoÀpoÄÌa ÌaäaÎÌa ÌacÚp
от телевизора или от друг външен апарат
Eзик/Дъpжaвa
Aвтoм. Зaxвaщaнe
Пoтиcкaнe нa Шyмa:
Auto
свързан към Евроконектора :1/ или
Пoдpeждaнe нa Пpoгpaми
AV2 ËÁxoÑ:
TV
HaÑÔËcÇaÌe Ìa ÔpoÖpaÏË
RGB Цeнтъp:
0
ÂaÔaÏeÚeÌË AV ÌacÚpoÈÍË
Bъpтeнe нa Kapт.:
0
към лицевите букси 3 и 3.
Пpoгpaмa Pъчeн Избop
èoÀpoÄÌa ÌaäaÎÌa ÌacÚp
OK
OK
Ако видеото Ви разполага със
Smartlink, този процес не е необходим.
BG
За целта: след избора на опцията натиснете
. След това натиснете или за
избор на желания изходен сигнал TV, AV1,
AV3, YC3 или AUTO.
При избор на «AUTO» изходния сигнал
винаги ще бъде еднакъв с този който е
на екрана на телевизора.
Ако сте свързали декодера към
Евроконектора
:2/q или към
видеото свързано към този
Евроконектор, трябва да изберете
«AUTO» или «TV» при «AV2 изход» за
правилно декодиране.
продължава...
Система от менюта на екрана
15

02BGKV29LS30K.fm Page 16 Wednesday, April 11, 2001 12:07 PM
Ниво 1 Ниво 2 Ниво 3 / Функция
HacÚpoÈÍa Ìa KapÚËÌaÚa
RGB ЦЕНТЪР
PeÊËÏ: ãËäeÌ
KoÌÚpacÚ
При включване на източник на сигнали
üpÍÌocÚ
ñÇeÚÌocÚ
RGB, напр. «PlayStation», може да е
OcÚpoÚa
ToÌaÎÌocÚ
HyÎËpaÌe
необходимо хоризонтално центриране на
OK
образа. Настройването се извършва
избирайки опцията «RGB цeÌÚép» в менюто
«èoÀpoÄÌa ÌaäaÎÌa ÌacÚp.».
Инcтaлиpaнe
Eзик/Дъpжaвa
èoÀpoÄÌa ÌaäaÎÌa ÌacÚp
Aвтoм. Зaxвaщaнe
Пoдpeждaнe нa Пpoгpaми
Пoтиcкaнe нa Шyмa:
Auto
HaÑÔËcÇaÌe Ìa ÔpoÖpaÏË
AV2 ËÁxoÑ:
TV
RGB Цeнтъp:
0
За целта: докато гледате входния сигнал на
ÂaÔaÏeÚeÌË AV ÌacÚpoÈÍË
Bъpтeнe нa Kapт.:
0
Пpoгpaмa Pъчeн Избop
èoÀpoÄÌa ÌaäaÎÌa ÌacÚp
RGB, изберете опцията «RGB център» и
OK
OK
натиснете . След което натиснете или
за да настроите центъра на образа
между -10 и +10. Накрая натиснете ОК за
запаметяване.
HacÚpoÈÍa Ìa KapÚËÌaÚa
ВЪРТЕНЕ НА КАРТИНАТА
PeÊËÏ: ãËäeÌ
KoÌÚpacÚ
Възможно е, вследствие на земния
üpÍÌocÚ
ñÇeÚÌocÚ
магнетизъм, образа да се появи наклонен. В
OcÚpoÚa
ToÌaÎÌocÚ
HyÎËpaÌe
този случай настройването се извършва
OK
избирайки «Въртене на Карт.» в менюто
«èoÀpoÄÌa ÌaäaÎÌa ÌacÚp.».
Инcтaлиpaнe
èoÀpoÄÌa ÌaäaÎÌa ÌacÚp
Eзик/Дъpжaвa
Пoтиcкaнe нa Шyмa:
Auto
Aвтoм. Зaxвaщaнe
За целта: след като изберете тази опция,
AV2 ËÁxoÑ:
TV
Пoдpeждaнe нa Пpoгpaми
RGB Цeнтъp:
0
HaÑÔËcÇaÌe Ìa ÔpoÖpaÏË
Bъpтeнe нa Kapт.:
0
натиснете . След което натиснете или
ÂaÔaÏeÚeÌË AV ÌacÚpoÈÍË
Пpoгpaмa Pъчeн Избop
èoÀpoÄÌa ÌaäaÎÌa ÌacÚp
за да настроите наклона на образа
OK
OK
между -5 и +5. Накрая натиснете ОК за
запаметяване.
16
Система от менюта на екрана

02BGKV29LS30K.fm Page 17 Wednesday, April 11, 2001 12:07 PM
Телетекст
Tелетекстът е информационна емисия, излъчвана от повечето ТВ предавания. В
страницата на съдържанието на телетекста (нормално страница 100) се дава
информация за използването на тази емисия. За боравене с телетекста
използвайте бутоните на дистанционното управление, така както е оказано в тази
страница.
Използвайте ТВ предаване със силен сигнал, в противнен случай могат да се
появят грешки в телетекста.
Избиране на Телетекст:
TELETEXT
TELETEXT
TELETEXT
TELETEXT
TELETEXT
TELETEXT
TELETEXT
TELETEXT
Index
Index
Index
Index
Index
Index
Index
Index
След избора на канала (ТВ предaване), излъчващ желаната емисия
Programme
Programme
Programme
Programme
Programme
Programme
Programme
Programme
25
25
25
25
25
25
25
25
News
News
News
News
News
News
News
News
153
153
153
153
153
153
153
153
на телетекст, натиснете .
Sport
Sport
Sport
Sport
Sport
Sport
Sport
Sport
101
101
101
101
101
101
101
101
Weather
Weather
Weather
Weather
Weather
Weather
Weather
Weather
98
98
98
98
98
98
98
98
Избор на страница от телетекста:
Задайте трите цифри на номера на желаната от Вас страницата чрез цифровите
бутони на дистанционното управление.
• Ако сгрешите, вкарайте които и да три цифри, след което вкарайте отново
номера на вярната страница.
• Ако броячът на страницата не спре, това е защото желаната страница не е на
разположение. В този случай изберете друга страница.
Избор на предишна или следваща страница:
BG
Натиснете PROGR + () или PROGR - ().
Наслагване на Телетекст с ТВ образ:
Докато гледате телетекста, натиснете . Натиснете го отново за да излезете от
режима на телетекст.
Задържане на една страница:
Някои от страниците на телетекста съдържат подстраници, които се сменят
автоматично. За задържане на една подстраница натиснете / . Натиснете го
отново за премахване на задържането.
Изобразяване на скрита информация (напр. отговори на ТВ загадки):
Натиснете / . Натиснете го отново за скриване на информацията.
Излизане от Телетекст:
Натиснете .
Fastext (Фастекст)
Фастекстът позволява достъп до страниците на телетекста, чрез натискането само
на един бутон.
Когато сте избрали Телетекст, и в случаи на излъчване на сигнали на Фастекст, на
долната страна на екрана ще се появи едно меню от цветни кодове, позволяващо
Ви директeн достъп до една страница. За целта натиснете съответния цветен бутон
(червен, зелен, жълт или син) от дистанционното управление.
Телетекст
17

Свързване на допълнителни апарати
Възможно е свързването на широка гама от допълнителни апарати към
телевизора, така както е показванo по-дoлy. (Кабелите за свързване не се
прилагат серийно).
1
2
“P
Зa дa ce избягнaт изкpивявaния нa oбpaзa нe включвaйтe нaвeднъж aпapaти към
A и B.
Свързване на видео:
За cвързване на видео вижте в главата «Свързване на антената и видеото».
Препоръчва се свързването на видеото да се извърши чрез терминала Евроконектор.
Ако не използвате този терминал, е необходимо да настроите ръчно канала за видео
сигнала чрез менюто «Програма Ръчен Избор» (за това се консултирайте с точка а) на
стр.13). Консултирайте се също така с ръководството за експлоатация на Вашето
видео, за да видите как се намира канала за видео сигнала.
Свързване на видео притежаващо функцията Smartlink:
Smartlink е свръзка между телевизор и видео екип, позволяваща директното
преминаване на определена информация. Ако Ви е нужна повече информация
за Smartlink, вижте в инсрукциите за експлоатация на Вашия видео екип.
При използване на видео притежаващо Smartlink използвайте Евроконекторен
кабел и го включете към Евроконектора
:2/q F.
Aко дeкoдepa e включeн към eврoкoнeктopa :2/q или към
видео cвъpзaнo към тoзи eвpoкoнeктop:
Изберете опцията «Програма Ръчен Избор», в менюто «Инсталиране», и след като
изберете опцията «Декодер»** изберете «Вкл» (използвайки или ) за всеки
кодиран канал.
** Тази опция е на разположение, в зависимост от държавата която сте избрали в
менюто «Eзик/Държава».
18
Допълнителна информация
l
ay
S
tation”*
Д
V
eкoдep
C
Bидeo
R
Д
eкoдep
Hi-
f
V
i
C
V
RDVD
C
02BGKV29LS30K.fm Page 18 Wednesday, April 11, 2001 12:07 PM
F
S VHS/Hi8/
8mm/Hi8/
DVC
DVC
кaмepa
кaмepa
A
B
D
E
C
RDVD
Koгaтo включите cлyшaлките,
* “PlayStation” е продукт на Sony
гoвopителитe нa тeлeвизopa щe
Computer Entertainment, Inc.
ce изключaт aвтoмaтичнo.
* “PlayStation” е регистрирана марка на
Sony Computer Entertainment, Inc.
продължава...

02BGKV29LS30K.fm Page 19 Wednesday, April 11, 2001 12:07 PM
Свързване на допълнителен аудио екип:
Ако желаете да се насладите на звука от телевизора през говорителите на Вашия
музикален екип, свържете екипа към аудио изхода E и, чрез системата от менюта,
изберете «Hacтpoйкa нa звyкa». В последствие влезте в опцията «Дeтaйлнa нacтpoйкa»
и изберете « Изкл» в «Teлeв гoвopитeл».
Силата на звука на допълнителните говорители може да се измени чрез бутоните
за усилване от пулта за дистанционно управление на телевизора. Също е
възможна промяна на нивото на ниските и високите честоти чрез менюто
«Hacтpoйкa нa звyкa».
Боравене с допълнителни апарати
1 Свържете допълнителния апарат към съответния вход на телевизора, така както
е показанo пo-гope.
2 Включете свързания апарат.
3 За визуализиране на образа на този допълнителен апарат, натиснете няколко пъти
бутона , докато на екрана се появи съответния входен символ.
Символ Входен сигнал
1•Аудио / Видео входен сигнал чрез Евроконектора D
BG
• RGB входен сигал чрез Евроконектора D. Този символ ще се появи
само ако е свързан източник на RGB.
2•Вход аудио/видео чрез Евроконектора F.
S
2•Вход S video чрез Евроконектора F.
3•Входен Видео сигнал чрез буксата RCA B, и входен Аудио сигнал
чрез C
3 • Вход S video чрез буксата за S video A и вход аудио чрез C.
S
4 За връщане на нормалния ТВ образ натиснете бутона от дистанционното
управление.
3a moho odopyfbahe
Bkjizete moho aæapatypata k∂m L/G/S/I kyæjyhla ha æpefhnr æahej ha tejebnsopa n
nsdepete bxofeh cnlhaj 3 иjи 3 , kato nsæojsbate æo-lophnte nhctpykunn.
S
Kohcyjtnpa йte ce c∂c cekunrta «Hactpo йka ha sbyka » b toba yæ∂tbahe n nsdepete
«Cтepeo-eфeкт» «A» b mehito sa sbyka.
Допълнителна информация
19

02BGKV29LS30K.fm Page 20 Wednesday, April 11, 2001 12:07 PM
Характеристики
Система телевизия:
Изход за звук:
B зависимост от избора на държава:
2 x 14 W (музикална мощност)
B/G/H, D/K
2 x 7 W (RMS)
Woofer:
Цветна система:
20 W (музикална мощност)
PAL, SECAM
10 W (RMS)
NTSC 3.58, 4.43 (само видеo вход)
Енергийно потребление:
Oбхвaт нa кaнaлитe:
94 W
VHF: E2-E12
UHF: E21-E69
Енергийно потребление в
CATV: S1-S20
режим на временно
HYPER: S21-S41
изключване (standby):
D/K: R1-R12, R21-R69
0.5 W
Кинескоп:
Размери (Шир. х Вис. х Дълб.):
Плосък екран FD Trinitron
Прибл. 771 x 592 x 553 мм.
29 инчa (Пpиблизитeлю 73cm Диaгoнал на
изoбражението).
Teглo:
Прибл. 49 Кг.
Задни терминали:
Серийно приложено оборудване:
:1/ Евроконектор с 21 крачета
1 устройство за дистанционно
(норма CENLEC)включващ
yправление RM-887.
Аудио / Видео вход, вход
2 батерии ,норма IEC.
RGB, ТВ аудио / видео изход.
Други характеристики:
:2/q Евроконектор с 21 крачета
•Телетекст, Фастекст, TOPtext.
(SMARTLINK)
(норма CENELEC) включващ
•Автоматично изключване.
вход за аудио/видео, вход за
•Cмapтлинк (директна
S video, изход за аудио/видео
по избор и Smartlink.
комуникация между
телевизора и видеото. Ако Ви е
Изходи аудио (ляво/дясно) -
необходима повече информация
за функцията Cмapтлинк ce
букси RCA.
консултирайте в инструкциите зa
Лицеви терминали:
експлоатация на Вашето видео).
q3 Вход S video - DIN 4 крачета.
•Автоматично детектиране на
Системата на телевизия.
…3 Видео вход - букса RCA
3 Вход аудио - букси RCA
Жак за слушалки
Дизайньт и характеристикитe подлежат на промени без предварително
съобщение.
Екологична хартия - без хлор
20
Допълнителна инфомация

02BGKV29LS30K.fm Page 21 Wednesday, April 11, 2001 12:07 PM
Отстраняване на неизправности
Пo-дoлy ca избpoeни някои прости разрешения при проблеми свързани с
образа и звука.
Проблем
Разрешение
Липса на образ (екрана е тъмен) и
•Проверете свързването на антената.
звук.
• Включете телевизора и натиснете бутона от
лицевата страна на апарата.
•Ако индикатора на телевизора свети, натиснете
бутона от дистанционното управление.
Образът е блед или
•Чрез системата от менюта влезте в менюто
несъществуващ, но качеството на
«Настройка на Картината» и изберете «Нулиране»
звука е добро.
за възстановяване на фабричната настройка.
Липса на образ или на
•Проверете дали сте включили допълнителния
инфopмaциoннoтo мeню от
апарат и натиснете няколко пъти бутона от
допълнителния апарат свързан
дистанционното управление, докато желания
към ТВ чрез Евроконектора.
входен символ се появи на екрана.
Добро качество на образа, но
• Натиснете бутона + / - от дистанционното
няма звук.
управление.
• Проверете дали опцията «Teлeв гoвopитeл» от
менюто «Hacтpoйкa нa зВyкa» е избрана в позиция
« Bkл».
• Ocигypeтe ce, чe cлyшaлкитe ca изключени.
Цветните предавания са без цвят
• Чрез системата от менюта влезте в менюто
«Настройка на Картината» и изберете «Нулиране»
за възстановяване на фабричната настройка.
Образът е изкривен при смяна на
• Изключете екипа свързан към телевизора чрез
програмите или при избор на
Евроконектора с 21крачета.
BG
телетекст.
Гpeшни знaци фигypиpaт кoгaтo
•
Кoгaтo изпoлзaтe cиcтeмaтa Meню, влeзтe в peжим
ce глeдa тeлeтeкcтa.
“Eзик/Дъpжавa” и избepeтe cтpaнaтa в коятo щe
иeпoлзвaтe тeлeвизopa. Зa eзици нa Kиpилица Bи
пpeпopъчвaмe дa из
б
epete Pycия в cлyчаитe когaтo
вашaтa държaвa нe ce пoявявa в cпиcъкa.
Образът е наклонен.
• Чрез системата от менюта изберете опцията
«Въртене на карт.», в менюто «èoÀpoÄÌa ÌaäaÎÌa
ÌacÚp.», и регулирайте наклона.
Образ с шум.
•Чрез системата от менюта изберете опцията «Ф
HacÚp.», в менюто «Програма Ръчен Избор», и
извършете ръчното настройване за по-добро
приемане на образа.
•Чрез системата на менютата изберете опцията
«Потискане на Шума», в менюто «èoÀpoÄÌa
ÌaäaÎÌa ÌacÚp.», и изберете «Auto» за
намаляване на шума на образа.
Образа не е декодиран правилно
•Чрез системата от менюта влезте в менюто
въпреки че декодера е включен
«àÌcÚaÎËpaÌe». В последсвие влезте в опцията
към Евоконектора
:2/q.
«èoÀpoÄÌa ÌaäaÎÌa ÌacÚp.» и изберете AV2 изxoД
2 в «TV».
Дистанционното управление не
• Сменете батериите.
работи.
Индикатора за временно
• Влезте в контакт с най-близката сервизна база на
Sony.
изключване (standby) на
телевизора мига.
В случай на повреда, изискайте телевизора да се провери от специализиран
персонал. Никога не отваряйте апарата.
Допълнителна информация
21

03CZKV29LS30K.fm.save Page 3 Wednesday, April 11, 2001 12:11 PM
Úvod
Děkujeme Vám, že jste si vybrali televizor Sony s plochou obrazovkou FD Trinitron.
Před použitím televizoru si pozorně přečtěte tento návod k obsluze a zachovejte ho pro
budoucí informaci.
• Znaky, které užíváme v tomto návodu k obsluze:
• Varování před možným nebezpečím.
• Šedá výplň tlačítek dálkového ovladače
K
označuje tlačítka, která je nutno/možno
• Důležitá informace.
stisknout v tomto kroku.
• Informace o funkci.
• Informace o výsledku pokynů.
•1,2... Posloupnost ovládacích kroků.
Obsah
Úvod ..........................................................................................................................................................3
Bezpečnostní opatření............................................................................................................................ 4
Všeobecný popis
Všeobecný přehled tlačítek dálkového ovladače............................................................................... 5
Všeobecný přehled tlačítek televizoru ................................................................................................ 6
Instalace
Vložení baterií do dálkového ovladače ................................................................................................6
Připojení antény a videa ........................................................................................................................ 6
První zapojení televizoru
Zapnutí a automatické naladění TV ..................................................................................................... 7
Režim menu na obrazovce
CZ
Úvod a použití různých menu................................................................................................................ 9
Průvodce po menu:
Nastavení Obrazu................................................................................................................................9
Nastavení zvuku................................................................................................................................. 10
Časovač Vypnutí................................................................................................................................11
Jazyk/Země ........................................................................................................................................11
Automatické Ladění ..........................................................................................................................11
Třídění Programů ............................................................................................................................... 12
Označení programů........................................................................................................................... 12
AV předvolby ...................................................................................................................................... 12
Ruční Ladění....................................................................................................................................... 13
Redukce Šumu................................................................................................................................... 15
Výstup AV2 ......................................................................................................................................... 15
RGB centrování.................................................................................................................................. 16
Otočení Obrazu.................................................................................................................................. 16
Teletext...............................................................................................................................................17
Doplňkové informace
Připojení přídavných zařízení...............................................................................................................18
Použití přídavných zařízení ................................................................................................................. 19
Technické údaje.....................................................................................................................................20
Řešení problémů ................................................................................................................................... 21
Obsah
3



