Sony KV-29FQ65K: Table of Contents
Table of Contents: Sony KV-29FQ65K
Table of contents
- Table of Contents
1
Safety Information
All televisions operate on extremely high voltages. To prevent fire or electric shock, please follow the safety guidelines indicated
in the blue sheet supplied.
Always use TV stands that are strong and stable enough to support the weight and size of this TV. Due to the unique floating
design of this TV, Sony highly recommend you use their designated stand, SU-29FQ1. If this recommended option is not taken,
it is vitally important to ensure that any cabinet or table has a large enough surface area to accommodate all three legs of the TV
without any overlap.
Safety Information
Table of Contents
Table of Contents
Installation
1. Checking the accessories supplied
2. Inserting batteries into the remote control
3. Connecting the TV
4. Switching on the TV
5. Using the joystick
6. Tuning your TV
7. Finding your video channel
2
2
3
4
4
5
5
Operation
Overview of the TV set buttons
Overview of the remote control buttons
NexTView
Teletext
Using the TV menu system
Adjusting the picture and sound
Using the Features menu
Re-arranging the TV channels
Manually tuning the TV
Naming a channel
Skipping programme positions
Using the ‘Further Programme Preset’ feature
Adjusting the picture rotation
Adjusting the picture geometry for an RGB source
Inputting your personal ID
Presetting and naming input signals
6
7
8
10
12
12
14
15
15
16
16
17
18
18
19
19
Additional Equipment
Connecting additional equipment to the TV
Additional information when connecting equipment
Smartlink
Remote control of other Sony equipment
20
21
21
21
Additional Information
Specifications
Channel Display Table
Troubleshooting
22
22
23
2
Follow steps 1-7 to install the TV and view TV programmes. Installation
1. Checking the accessories supplied
2. Inserting batteries into the remote control
Batteries
Always observe the correct polarity when inserting batteries.
Always remember to dispose of used batteries in an environmentally friendly way.
-
+
+
-
Remote control
+
- -
+
3
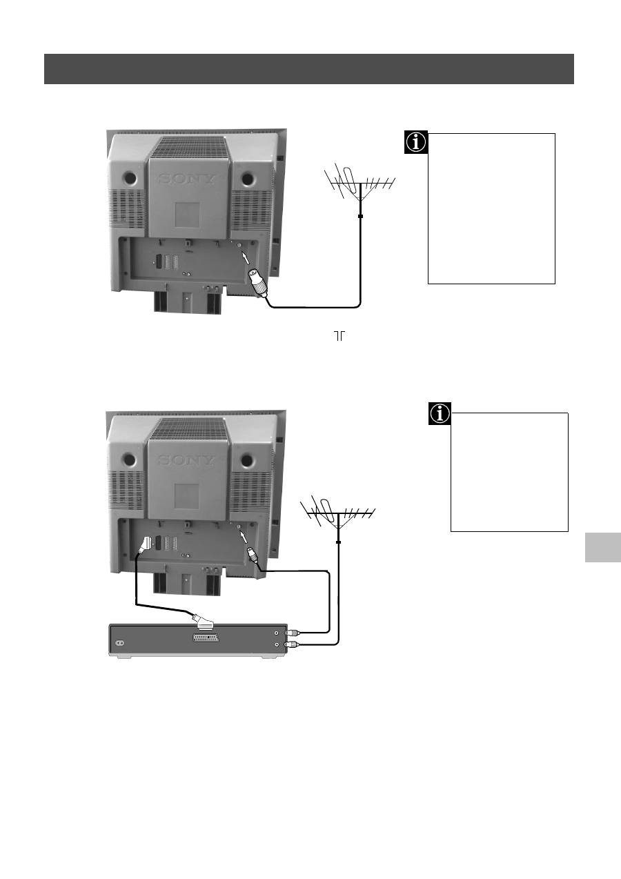
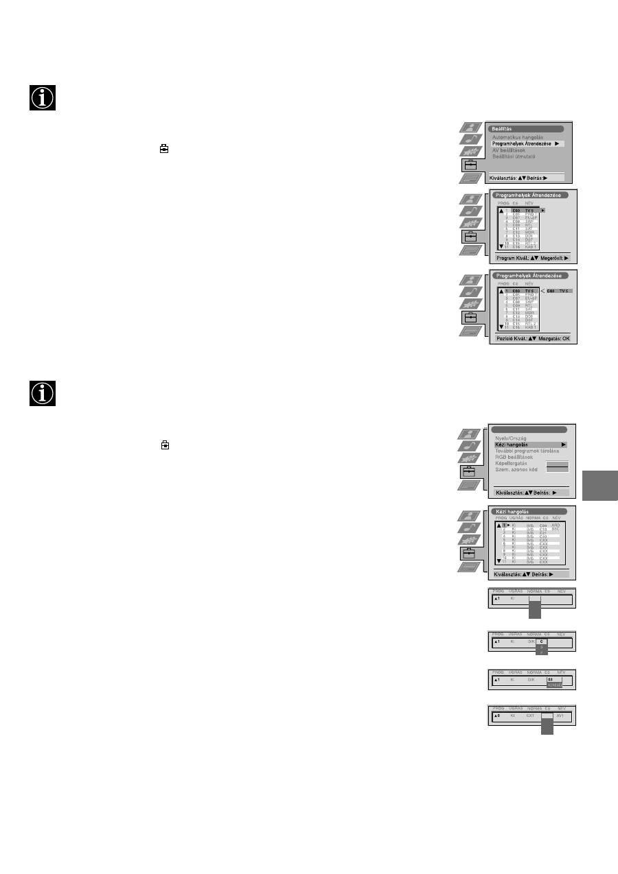
Installation
3. Connecting the TV
The scart lead is
optional. If it can be
used however, this
additional
connection can
improve picture and
sound quality when
in play mode.
1. Connect your existing aerial lead to the socket marked
on the rear of the TV set.
Connecting an aerial to your TV
Connecting an aerial and VCR to your TV
1. Connect your existing aerial lead to your VCR as shown.
2. Connect the VCR aerial lead from the RF OUT socket on the back of the VCR to the aerial
socket on the back of the TV as shown.
3. Connect the scart lead (if used) to the AV2 socket on the rear of the TV set.
4. Connect the VCR set to the mains and switch on.
5. Insert a pre-recorded tape into the VCR and press the ‘PLAY’ button. This enables the TV
set to locate and store the video channel during the ‘Tuning your TV’ procedure on page 5.
If you are not connecting
your TV to a VCR,
please connect the aerial
lead (as shown left) and
proceed to section
‘4.Switching on the TV’.
If you are connecting
your TV to a VCR please
refer to the section
below.
OUT
IN
AERIAL
ANTENNA
AC IN
existing aerial lead
scart lead
(not supplied)
4
Installation
1. Connect the TV plug to the mains socket (220-240V AC, 50Hz).
2. Push in the on/off button
on the front of the TV.
If the standby mode indicator on the front of the TV is lit, press the TV
button on
the remote control to switch on the TV set. Please be patient as the picture may take a
few moments to appear on the TV screen.
4. Switching on the TV
5. Using the joystick
/
To select an item in a menu press
the OK button down in the middle.
To move around the menus press
the relevant arrow button.
Moving the joystick
Pressing the joystick
5
Installation
Before you tune your TV, you will be asked to set your language and country.
6. Tuning your TV
:
:
:
:
Language/Country
Select Language:
Confirm:
Language
Country
Čeština
Dansk
Deutsch
English
Espa
ñ
ol
Français
Italiano
Language/Country
Select Country:
Confirm:
Language
Country
France
Germany
Great Britain
Greece
Hungary
Ireland
Italy
English
1. The Language/Country menu appears on the TV screen with the
word ‘English’ highlighted.
2. Press the
v
or
V
buttons on the remote control to select your
chosen language then press the OK button to confirm. The
country menu appears on screen with the word ‘OFF’ highlighted.
Select ‘OFF’ if you do not want your channels stored in a given
channel sequence starting from programme position 1.
3. Press
v
or
V
to select the country in which you wish to operate
the TV then press the OK button to confirm your choice.
4. The ‘autotune’ menu appears on the TV screen in your selected
language. Press the OK button to confirm.
5. Ensure the aerial is connected as instructed, then press the OK
button to confirm. The TV starts to automatically search and store
all available channels for you. This may take a few minutes -
please be patient and do not press any buttons.
6. Once the TV has tuned all available channels the ‘Programme
Sorting’ menu appears on the TV screen enabling you to change
the order of the channels on your TV. If you wish to change the
channel order, press the
v
or
V
buttons to select the channel you
want to move, then press
B
. Press the
v
or
V
buttons to select the
new programme number position for your selected channel then
press the OK button to confirm. The selected channel now moves
to its new programme position and the other channels move
accordingly. Repeat this procedure if you wish to sort the order of
other channels on your TV.
7. Press the MENU button to remove the menu from the TV screen.
8. Press the PROGR+/- or the numbered buttons to view the TV
channels.
Note: If you would like to stop the autotune process at any stage,
press the OK button.
If you have connected a VCR to your TV, you now need to find your video channel.
1. Press the PROGR+/- buttons on the TV remote control until your video picture appears on the TV screen.
Note: If you wish to move your video channel to a different programme position, refer to the ‘Re-arranging the TV channels’
section of this instruction manual.
7. Finding your video channel
Programme Sorting
Select Prog:
Confirm:
PROG CH
LABEL
Programme Sorting
Select Position:
Move: OK
C03
TV 5
PROG CH
LABEL
1
2
3
4
5
6
7
8
9
10
11
C03
C05
C07
C08
C09
C11
C12
C13
C14
C15
C16
TV 5
PRO 7
EU-SP
SWF
RTL
SAT
MDR
DDI
DSF
RTL 2
KAB 1
C03
C05
C07
C08
C09
C11
C12
C13
C14
C15
C16
TV 5
PRO 7
EU-SP
SWF
RTL
SAT
MDR
DDI
DSF
RTL 2
KAB 1
1
2
3
4
5
6
7
8
9
10
11
1
2
3
6
5
4
7
8
9
0
6
Operation
Overview of the TV set buttons
Volume control buttons.
Press to increase (+) /decrease
(-) volume.
Video input button.
Press to select
the input
signals from VCR etc.
Programme Up (+) or
Down (-) buttons.
Press to select TV
channels.
Master Reset button.
Press to return the picture and sound
levels to factory settings. The Sony logo
will appear on the screen followed by the
‘Autotune’ screen. If you do not wish to
retune your TV, press the
b
button on
your remote control.
Push up on the control panel (as shown)
to access the front input sockets and TV
buttons.
The control panel drops down.
100Hz
100Hz
7
Operation
Overview of the remote control buttons
To temporarily switch off TV
Press to temporarily switch off TV. Press again to switch on
from standby mode. To save energy, we recommend
switching off completely when TV is not in use.
NOTE: After 15-30 minutes without a TV signal and without
any button being pressed, the TV switches automatically into
standby mode.
To reveal on screen information
Press to reveal all on-screen indications. Press again to
cancel. In Teletext mode, press to reveal the index page
(normally page 100).
To select input signal or freeze teletext
Press to select inputs from the TV sockets (see Using
Optional Equipment section). In Teletext mode, press to
freeze the displayed page. Press once again to cancel.
To return to previous channel
Press to return to the previous channel you were watching.
Note: This can be done only after watching the present
channel for 5 seconds.
To change screen format
Press repeatedly to select 4:3 mode or 16:9 mode (imitation
of wide screen format).
Fastext keys
See Teletext section of manual for details.
To select menu items
Use the OK button and arrow keys to select the options
available in the menu system of this TV.
To select channels
Press to select channels.
To display the menu
Press if you wish to use the TV menu system. Press again to
remove the menu from the TV screen.
To mute sound
Press to mute TV sound. Press again to restore the
sound.
To return to TV mode
Press to return to the normal operation from teletext
mode or standby mode.
To select Teletext
Press to switch Teletext on and off.
To select Electronic Programme Guide
(EPG)
Press to switch EPG on and off.
To freeze the picture
Press if you wish to make a note of some
information on the TV screen eg a telephone
number. Press again to return to normal TV mode.
To select channels
Press the numbered buttons to select channels.
For double digit programme numbers, e.g.23, press
-/-- first, then the buttons 2 and 3.
To display picture menu
Press to change the picture settings. Press the OK
button to remove the display.
To display sound menu
Press to change the sound settings. Press the OK
button to remove the display.
To display the Channel Table
Press the OK button. Press
v
or
V
to select the
desired channel then press
B
to confirm.
To adjust TV volume
Press to adjust the volume of the TV.
To reset to factory set levels.
Open the remote control lid and press to return
picture and sound settings to factory-set levels.
After the ‘Installation’ menu has appeared on
the TV screen, refer to the ‘Selecting Language
and Country’ section of the instruction manual
to change your choice of language and country
if desired.
To display the time.
Open the remote control lid and press to display the
time on screen. Press again to cancel.
To operate video equipment
Open the remote control lid and press these buttons to
operate your video equipment (please refer to your
VCR manual).
To operate other Sony equipment.
Open the remote control lid and set the selector VTR 1234
DVD according to the equipment you want to control:
VTR 1: Beta VCR
VTR 2: 8mm VCR
VTR 3: VHS VCR
VTR 4 Digital Video (DCR-VX 1000/9000E, VHR-1000)
DVD Digital Video Disk
Use the buttons on the remote control to operate the
equipment.
8
Operation
NexTView is an electronic programme guide with up to 1 week* of programme information on those channels included
in the selected provider.
*If the data exceeds the memory of NexTView, you will get information on less than 7 days.
When looking for information you can search by theme (sports, art etc.), date or time (e.g. broadcasts between 8 and 9
p.m.). When you’ve found a programme you can go directly to this programme, use the timer to remind you of it or preset
your VCR with Smartlink.
The NexTView provider is responsible for the contents of the guide. The TV set is responsible for the presentation, that
is the menu structure and the navigation, if there is none from the provider. If there is a navigation from the provider the
basic operation with the joystick is the same as described in the Sony navigation.
At first you need to select a channel providing a NexTView service. In this case the indication “NexTView” is displayed
as soon as all data is available. When you later change the channel you can still select this NexTView service.
NexTView*
Index
full list of selection
personal selection
news broadcasts
movies
sports
entertainment
children
return to last menu
* depending on availability of service
Operation using the Sony navigation
1. Press
to switch NexTView on and off.
2. Use the joystick buttons as follows
(a)
while in the columns date, time or icon (themes), the programme list changes according to the selection.
(b)
while in the programme list, confirming a running broadcast brings you directly to the TV programme or confirming
a future programme brings you to the long info menu.
•
moving up or downwards within a column: Use
v
or
V
.
•
going to the left columns time and date: Use
b
.
•
going to the right column icons: Use
B
.
•
Confirming a selection: Press OK.
7
Tue
07 Tue
12:38
8
Wed
10
Fri
11
Sat
12
Sun
13
Mon
9
Thu
12
SWISS
Star Wars
Super RTL
Fantasy film, USA, 1996
Werner - Beinhart
Pro 7
Flui grüsst den Rest der Welt
Kabel 1
Once upon a time in the West
Euronews
International News
RTL Plus
10:35 - 12:45
10:20 - 12:00
10:45 - 10:50
11:00 - 11:20
11:45 - 12:50
TXT
TPS / RINGIER
Tue 07. 04 .98
9
Individual Setting
When you select there will be no personal pre-selection. lets you make your own individual selection of
themes, limiting the search to the marked ones.
1. Select using
v
or
V
. Push
B
to enter.
The menu Individual Settings is displayed.
2. Select the item you wish to mark using
v
or
V
. Confirm by pressing OK.
Repeat step 2 for all the items you wish to have in your list.
3. When finished with the list, select using
B
and press OK.
Using the ‘Long Info’ menu
1. Select a future programme in the column programme list using
v
or
V
. Press OK.
The long info menu is displayed.
You may wish to record the selected programme with your VCR.
(only with Smartlink VCRs)
2. Select using
b
and press OK.
This information is transferred to the VCR connected to your set.
Setting up your VCR
3. Select VPS/PDC by pushing
b
repeatedly.
4. Select Speed using
V
.
5. Select VCR Setup using
V
.
6. Select using
B
. Press OK.
You are back in the last menu.
07 Tue
12:38
Address Mapping
The position of the addresses in the
OSDA is shown in the following diagram.
The position values of the DPW are set
to '0'.
If other values are set, the complete
combination will be scrolled.
Example:
if the DPWC is set to '63', the char-
Speed
Timer Prog
VPS/PDC
SP
VCR1
On
This channel has been set for a timer
First nextTView/EPG-Providers in Europe
SWISS
TXT
TPS / RINGIER
nexTView
Tue 07. 04 .98
With this setting on, you have the guaranteed recording of the whole broadcast
should there be a change in the TV programme. This only works if the selected
channel broadcasts a VPS/PDC signal.
•
Select On or Off using OK.
Select between standardplay (SP) or longplay (LP) mode.With longplay you can
record twice as much on a videotape. The picture quality, however, may suffer.
•
Select SP or LP using OK.
Operation
NexTView*
Select which of the connected Smartlink VCRs you wish to programme.
•
Select VCR 1 or 2 using OK.
Speed
VPS/PDC
VCR1
On
SP
VCR Setup
10
Operation
Most TV channels broadcast information via Teletext. The index page of the teletext service (usually page 100) gives
you information on how to use the service. Please use a TV channel with a strong signal, otherwise there may be Teletext
errors.
Teletext
Switching Teletext on and off
1. Select the TV channel which carries the teletext service you want to view.
2. Press the
button once to get Teletext only.
3. Press
twice for Mix mode.
4. Press
or press
a third time to switch off Teletext.
Selecting a Teletext page
Input three digits for the page number using the numbered buttons on the remote control. If
you make a mistake, type in any three digits then re-enter the correct page number.
Using Other Teletext Functions
Selecting the next or preceding page
Press the
or
buttons on the remote control to select the previous or next page.
To freeze a Teletext page
Press the
button to freeze the page. Press again to cancel the freeze.
Revealing the index page
Press the
button to reveal the index page (normally page 100).
Selecting a sub page
A teletext page may consist of several sub pages. In this case an information line is displayed,
showing the number of subpages. It may take a few seconds for the information line to appear.
Select the sub page by pressing
v
or
V
.
Using colour buttons to access pages (Fastext)
(only available if the TV station broadcasts Fastext signals)
When the colour coded menu appears at the bottom of a page, press a coloured button on the
remote control (green, red, yellow or blue) to access the corresponding page.
Using the feature ‘Page Catching’
1. Press the numbered buttons on the remote control to select a teletext page which has
several page numbers on it (eg the index page).
2. Press the OK button.
3. Press
v
or
V
to select the desired page number then press the OK button. The requested
page is displayed after some seconds.
Index
TELETEXT
Programme
News
Sport
Weather
25
153
101
98
Index
TELETEXT
Programme
News
Sport
Weather
25
153
101
98
m
m
m
216-02
01
03
04
05
06
07
08
02
11
Operation
Teletext
Using the Teletext menu
1. With Teletext switched on, press the MENU button on the remote control to display the
menu on the TV screen.
2. Press
v
or
V
to select your chosen item on the screen then press
B
to display the relevant
sub menu.
3. To remove the Teletext menu from the screen, press the MENU button.
Top/Bottom/Full
The Top/Bottom/Full sub menu allows you to enlarge different sections of the Teletext page.
Press
v
to enlarge the upper half of the screen, Press
V
to enlarge the lower half. Press the OK
button to restore the page to normal size. Press
b
to return to the Teletext menu screen.
Text Clear
Text Clear is a function that displays a TV channel while a Teletext page is being searched for.
Reveal
Some Teletext pages contain hidden information (eg for a quiz), which can be revealed.
Time Page*
*depending on availability of service.
Time Page allows a time-coded Teletext page (such as an alarm page), to be displayed at a set
time.
Top:
Bottom:
Full: OK
Teletext
Top / Bottom / Full
Text Clear
Reveal
Time Page
Page Overview
Select:
Enter Menu:
1. Press the
button on the remote control twice to select full screen text.
2. Press the MENU button to display the ‘Teletext’ menu.
3. Press
v
or
V
to highlight ‘Text Clear’ and press
B
to select.
4. The current TV channel is displayed. Once the text page has been found a blue
symbol will appear in the top left hand corner of the screen.
5. Press the
button on the remote control to view the page.
1. In text mode press the MENU button on the remote control to access the ‘Teletext’ menu.
2. Press
v
or
V
to highlight ‘Reveal’ and press
B
to select. The hidden information is
displayed on the screen.
1. In Text mode press the MENU button on the remote control to access the ‘Teletext’
menu.
2. Press
v
or
V
to highlight ‘Time Page’ and press
B
to select. The ‘Time Page’ sub menu
is displayed.
3. Enter the desired page number using the numbered buttons on the remote control.
4. Enter the desired time using the remote control.
5. Press OK to confirm the settings. The TV will exit Teletext mode and the time will be
displayed in the top left hand corner of the screen. At the requested time the desired page
is displayed.
Time Page
PAGE
TIME
Select Page: 0-9
Next:
- - : - -
– – –
Page Overview*
*only available if TOP-Text is transmitted by the TV station.
In this menu the TOP-Text pages are divided into two columns, the first column showing
‘blocks’ of pages and the second showing ‘groups’ of pages.
1. Press
b
or
B
to select the first or second column.
2. Press
v
or
V
to select the relevant ‘group’ or ‘block’ of pages.
3. Press the OK button to display the chosen pages.
12
Operation
The TV consists of a menu system which is based on a series of user friendly on-screen displays and menus. These displays will
help you get the most from your TV, helping you to change picture and sound settings, to alter the size of the TV picture and to
rearrange the TV channels etc.
Adjusting the picture and sound
The picture and sound are preset at the factory. You can however adjust them to suit your own taste.
Using the TV menu system
Picture Adjustment
Picture Mode
Contrast
Brightness
Colour
Sharpness
Reset
AI
Noise Reduction
Colour Tone
Personal
On
On
Normal
Picture Mode
Live
Personal
Movie
AI
On
Off
Noise Reduction
On
Off
Contrast
Select:
Enter:
Colour Tone
Warm
Normal
Cool
1. Press the MENU button on the remote control to display the menu on the TV screen.
2. Press the
v
or
V
buttons to select
for picture settings or
for sound settings then
press
B
to enter either the ‘Picture Adjustment’ menu or the ‘Audio Adjustment’ menu.
3. Press the
v
or
V
buttons to select the item on the screen you wish to adjust then press
B
to
confirm. For a description of the menu items and their effects, see the table below.
4. Press the
v
,
V
,
B
or
b
buttons to adjust your selected item.
5. As soon as you have adjusted the item, press the OK button to store the new setting.
6. Repeat steps 3-5 if you wish to adjust any of the other items.
7. Press the MENU button to remove the menu from the TV screen.
Picture Control
Item
Effect/Operation
Picture Mode
V
Live (for live broadcasts)
Personal (for individual settings)
v
Movie (for movie broadcasts)
Contrast
Less
b B
More
Brightness*
Darker
b B
Brighter
Colour*
Less
b B
More
Hue**
Reddish
b B
Greenish
Sharpness*
Softer
b B
Sharper
*Only available if ‘Personal’ is selected in ‘Picture Mode’
**Only available for NTSC colour signal (eg. US video tapes)
Reset
Resets picture to the factory preset levels
AI
V
On:
Automatic optimization of contrast level
(Artificial Intelligence)
according to the TV signal.
v
Off: Normal.
Noise Reduction
V
On:
Reduces picture noise in case of a weak
broadcasting signal.
v
Off:
No noise reduction.
Colour Tone
V
Warm:
Gives a warm tint to the picture.
Normal:
Normal.
v
Cool:
Gives a cool tint to the picture.
13
Using the TV menu system:
Audio Adjustment
Equaliser Mode
Equaliser
Adjustment
Balance
Loudness
Space
Auto Vol. Control
Dual Sound
Volume
Dual Sound
Stereo
Off
Off
Stereo
Select Mode :
Off
Confirm: OK
Personal
Vocal
Jazz
Rock
0
NICAM
NICAM
Equaliser Adjustment
Sel:
Adjust:
Confirm:OK
(Personal)
+
0
–
120
150
1,5K
5 K
10 K
Auto Vol. Control
Off
On
Dual Sound
Mono
Stereo
Volume
Dual Sound
B
A
Space
Off
On
Loudness
Off
On
NICAM
NICAM
Balance
0
Sound Control
Item
Effect/Operation
Equaliser Mode
V
Personal
Vocal
Jazz
Rock
Pop
v
Flat (fixed setting, cannot be adjusted)
Equaliser adjustment
You can adjust the mode selected in Equaliser mode by
cutting and boosting the 5 selected frequency bands.
Press
b
or
B
to select the frequency band then
V
or
v
to
adjust the frequency. Finally, press the OK button to store
the new adjustment.
If you want to store the new setting, you need to set the Equaliser mode to
‘Personal’. Personal mode permanently stores the setting, all other modes
(Vocal, Jazz, Rock, Pop) store only until the next mode change.
Balance
b
More
left
B
More right
Loudness
V
Off:
Normal
v
On:
For music broadcasts
Space
V
Off:
Normal
v
On:
Special acoustic effect
Auto Vol. Control
V
Off:
Volume level changes according to the
broadcast signal.
v
On:
Volume level of the channels will stay the
same independent of the broadcast signal (eg
in the case of advertisements).
Dual Sound
For a bilingual broadcast:
V
A for channel 1
v
B for channel 2
For a stereo broadcast:
V
Mono
v
Stereo
When NICAM stereo is being broadcast, the indication NICAM appears briefly
on the screen.
Headphones
i
Volume
Adjusts headphone volume.
Can also adjust the volume level of additional equipment
connected to the RCA sockets on the rear of the TV.
i
Dual Sound
For a bilingual broadcast:
V
A for channel 1
v
B for channel 2
14
Using the TV menu system:
Using the Features menu
1. Press the MENU button on the remote control to display the menu on the TV screen.
2. Press the
v
or
V
buttons to select
for the ‘Features’ menu then press
B
to enter the ‘Features’
menu.
3. Press the
v
or
V
buttons to select the desired menu item then press
B
to confirm. For a description
of the menu items and their effects, see the table below.
4. Press the
v
,
V
,
B
or
b
buttons to select the desired setting.
5. Press the OK button to confirm your choice of setting.
6. Repeat steps 3-5 if you wish to select any of the other items.
7. Press the MENU button to remove the menu from the TV screen.
Item
Effect/Operation
Sleep Timer
You can select a time after which the TV switches itself into
standby mode.
V
Off
v
90 min
Parental Lock
V
Off: No parental lock.
v
On:
This feature disables the TV buttons when the set is in standby mode.
It is only possible to switch the set back on by pressing a button on
the remote control.
AV2 Output
V
TV audio/video signal from the aerial
AV1 audio/video signal from scart 1
AV2 audio/video signal from scart 2
AV3 audio/video signal from scart 3
v
AV4 audio/video signal from connectors on front of the TV
Features
Select:
Enter:
Sleep Timer
Parental Lock
AV 2 Output
Off
Off
TV
10 min
Sleep Timer
Parental Look
Off
On
AV 2 Output
TV
AV 1
AV 2
AV 3
AV 4
Changing the screen size
This feature allows you to change the size of the TV picture.
Press the
button on the remote control repeatedly or use the
v
or
V
buttons to select one of the
following formats then press the OK button to confirm your selection:
4:3
conventional 4:3 picture size, full picture information.
16:9
for 16:9 broadcasts.
4:3
16:9
15
Using the TV menu system:
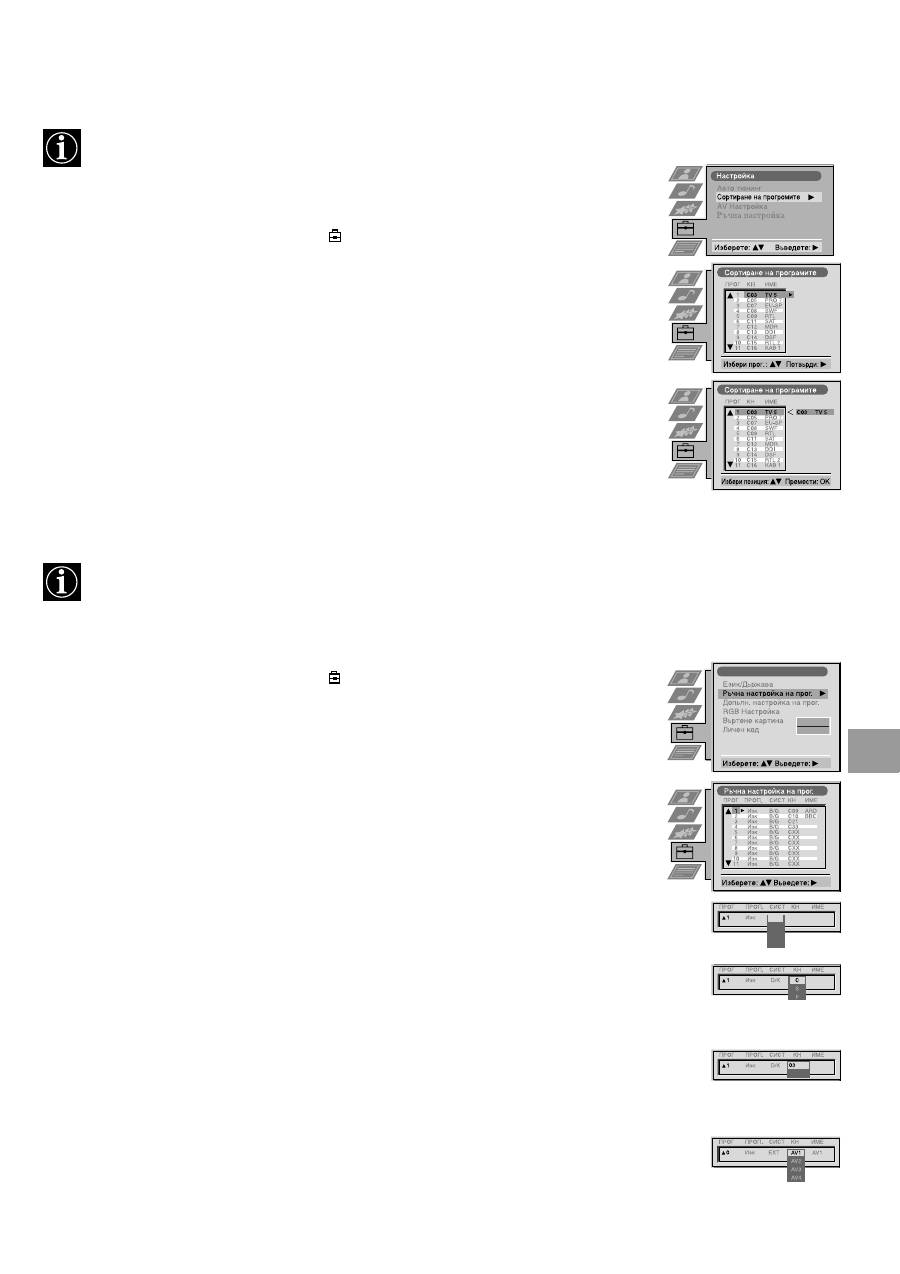
Re-arranging the TV channels
After tuning the TV, you can use this feature to change the order of the channels on the TV.
1. Press the MENU button on the remote control to display the menu on the TV screen.
2. Press the
V
button to select the
symbol on the menu screen then press
B
to enter the ‘Set Up’
menu.
3. Press the
V
button to select ‘Programme Sorting’ then press
B
to enter the ‘Programme Sorting’
menu.
4. Press the
v
or
V
buttons to select the channel you want to move then press
B
to confirm.
5. Press the
v
or
V
buttons to select the new programme position (eg PROG 4) for your selected
channel then press the OK button to confirm. The selected channel now moves to its new
programme position and the other channels move accordingly.
6. Repeat steps 4 and 5 if you wish to sort the other channels.
7. Press the MENU button to remove the menu from the TV screen.
Programme Sorting
Select Prog:
Confirm:
Set Up
Auto Tuning
Programme Sorting
AV Preset
Manual Set Up
Select:
Enter:
PROG CH
LABEL
Programme Sorting
Select Position:
Move: OK
C03
TV 5
PROG CH
LABEL
1
2
3
4
5
6
7
8
9
10
11
C03
C05
C07
C08
C09
C11
C12
C13
C14
C15
C16
TV 5
PRO 7
EU-SP
SWF
RTL
SAT
MDR
DDI
DSF
RTL 2
KAB 1
C03
C05
C07
C08
C09
C11
C12
C13
C14
C15
C16
TV 5
PRO 7
EU-SP
SWF
RTL
SAT
MDR
DDI
DSF
RTL 2
KAB 1
1
2
3
4
5
6
7
8
9
10
11
Manually tuning the TV
You have already tuned the TV automatically using the instructions at the start of this manual. You can however carry
out this operation manually, adding channels to the TV, one at a time.
1. Press the MENU button on the remote control to display the menu on the TV screen.
2. Press the
V
button to select the
symbol on the menu screen then press
B
to enter the ‘Set Up’
menu.
3. Press the
V
button to select ‘Manual Set Up’ on the menu screen then press
B
to enter the ‘Manual
Set Up’ menu.
4. Press the
V
button to select ‘Manual Programme Preset’ on the menu screen then press
B
to enter
the ‘Manual Programme Preset’ menu.
5. Press the
v
or
V
buttons to select a programme number for your channel (eg PROGR 1 for BBC1)
then press
B
to highlight the ‘SKIP’ column.
6. Press
v
to select ‘OFF’ then press
B
to highlight the ‘SYS’ column.
7. Press the
v
or
V
buttons to select the TV broadcast system or ‘EXT’ for a video input source
(AV1, AV2, ...) then press
B
to confirm.
8. Press the
v
or
V
buttons to select ‘C’ for terrestrial channels, ‘S’ for cable channels, or ‘F’ for
direct frequency inputs then press
B
to confirm.
9. Select the first number digit of ‘CH’ (channel) then the second number digit of ‘CH’ with the
number buttons on the remote control or Press the
V
button to search for the next available
channel.
10. If you do not wish to store this channel on the programme number you selected, press the
V
button
to continue searching for the desired channel.
11. If this is the channel you wish to store, press the OK button.
12. Repeat steps 5-11 if you wish to store more channels then press the MENU button to remove the
menu from the TV screen.
PROG
SYS
Off
SKIP
LABEL
1
B/G
Manual Set Up
Select:
Enter:
Language/Country
Manual Programme Preset
Further Programme Preset
RGB Set Up
Picture Rotation
Personal ID
Manual Programme Preset
Select:
Enter:
PROG
CH
SYS
SKIP
LABEL
TV5
TV
Off
Off
Off
Off
Off
Off
Off
Off
Off
Off
Off
1
2
3
4
5
6
7
8
9
10
11
PROG
CH
SYS
Off
SKIP
LABEL
1
B/G
D/K
IRL
EXT
CH
C
S
F
PROG
SYS
Off
SKIP
LABEL
1
B/G
CH
03
SEARCH
PROG
CH
SYS
Off
SKIP
LABEL
0
EXT
AV1
C09
C10
B/G
B/G
B/G
B/G
B/G
B/G
B/G
B/G
B/G
B/G
B/G
C21
C33
CXX
CXX
CXX
CXX
CXX
CXX
CXX
AV1
AV2
AV3
AV4
O
- - - - - - -
Set Up
Auto Tuning
Programme Sorting
AV Preset
Manual Set Up
Select:
Enter:
16
Using the TV menu system:
Naming a channel
Names for channels are usually taken automatically from Teletext if available. You can however name a channel or an
input video source using up to five characters (letters or numbers).
Skipping programme positions
This function enables you to skip unused programme positions when selecting them with the PROGR+/- buttons.
However, by using the number buttons you can still select the skipped programme position.
1. Press the MENU button on the remote control to display the menu on the TV screen.
2. Press the
V
button to select the
symbol on the menu screen then press
B
to enter the ‘Set
Up’ menu.
3. Press the
V
button to select ‘Manual Set Up’ then press
B
to enter the ‘Manual Set Up’
menu.
4. Press the
V
button to select ‘Manual Programme Preset’ then press
B
to enter the ‘Manual
Programme Preset’ menu.
5. Press the
v
or
V
buttons to select the channel you wish to name.
6. Press the
B
button repeatedly until the first element of the ‘LABEL’ column is highlighted.
7. Press the
v
or
V
buttons to select a letter or number (select ‘-’ for a blank) then press
B
to
confirm. Select the other four characters in the same way.
8. After selecting all the characters, press the OK button.
9. Repeat steps 5 to 8 if you wish to label other channels.
10. Press the MENU button to remove the menu from the TV screen.
1. Press the MENU button on the remote control to display the menu on the TV screen.
2. Press the
V
button to select the
symbol on the menu screen then press
B
to enter the ‘Set
Up’ menu.
3. Press the
V
button to select ‘Manual Set Up’ then press
B
to enter the ‘Manual Set Up’
menu.
4. Press the
V
button to select ‘Manual Programme Preset’ then press
B
to enter the ‘Manual
Programme Preset’ menu.
5. Press the
v
or
V
buttons to select the programme position then press
B
to highlight the
‘SKIP’ column.
6. Press the
v
or
V
buttons to select ‘Off’ or ‘On’ (if you wish to skip this programme
position) then press the OK button to store.
7. Repeat steps 5 and 6 if you wish to skip or unskip further programme positions.
8. Press the MENU button to remove the menu from the TV screen.
Manual Programme Preset
Select:
Enter:
PROG
CH
SYS
SKIP
LABEL
PROG
CH
SYS
SKIP
LABEL
53
I
F189
- - -
Off
On
C09
C10
BBC1
BBC
I
I
Off
Off
Off
Off
Off
Off
Off
Off
Off
Off
Off
51
52
53
54
55
56
57
58
59
60
61
Manual Programme Preset
Select:
Enter:
PROG
CH
SYS
SKIP
LABEL
C09
C10
ARD
BBC
B/G
B/G
Off
Off
Off
Off
Off
Off
Off
Off
Off
Off
Off
1
2
3
4
5
6
7
8
9
10
11
PROG
CH
SYS
Off
SKIP
LABEL
6
I
C07
T E
Manual Set Up
Select:
Enter:
Language/Country
Manual Programme Preset
Further Programme Preset
RGB Set Up
Picture Rotation
Personal ID
Demo
O
- - - - - - -
Manual Set Up
Select:
Enter:
Language/Country
Manual Programme Preset
Further Programme Preset
RGB Set Up
Picture Rotation
Personal ID
O
- - - - - - -
Manual Set Up
Select:
Enter:
Language/Country
Manual Programme Preset
Further Programme Preset
RGB Set Up
Picture Rotation
Personal ID
O
- - - - - - -
17
Using the TV menu system:
Using the Further Programme Preset feature
With this feature you can a) individually adjust the volume level of each channel, b) manually fine-tune the TV to obtain
a better picture reception if the picture is distorted or c) preset the AV output for the programme positions of channels
with scrambled signals (eg from a pay TV decoder). In this way a connected VCR records the unscrambled signal.
Manual Set Up
Select:
Enter:
Language/Country
Manual Programme Preset
Further Programme Preset
RGB Set Up
Picture Rotation
Personal ID
O
- - - - - - -
Further Programme Preset
Select:
Enter:
PROG
AFT
VOL
DECODER
On
On
On
On
On
On
On
On
On
On
On
Off
Off
Off
Off
Off
Off
Off
Off
Off
Off
Off
0
0
0
0
0
0
0
0
0
0
0
1
2
3
4
5
6
7
8
9
10
11
PROG
AFT
VOL
DECODER
1
0
PROG
AFT
VOL
DECODER
1
-5
PROG
AFT
VOL
DECODER
1
-5
On
On
Off
AV1
AV2
1. Press the MENU button on the remote control to display the menu on the TV screen.
2. Press the
V
button to select the
symbol on the menu screen then press
B
to enter the ‘Set
Up’ menu
3. Press the
V
button to select ‘Manual Set Up’ then press
B
to enter the ‘Manual Set Up’ menu.
4. Press the
V
button to select ‘Further Programme Preset’ then press
B
to enter the ‘Further
Programme Preset’ menu.
5. Press the
v
or
V
buttons to select the relevant programme number then press the
B
button
repeatedly to select a)VOL b) AFT or c) DECODER. The selected item changes colour.
6. a)
VOL - Volume Offset
Press the
v
or
V
buttons to adjust the volume level (range -7 to +7) of the channel. Store by
pressing the OK button. Repeat steps 5 and 6a if you wish to adjust the volume level of the
other channels.
b)
AFT - Automatic Fine Tuning
Press the
v
or
V
buttons to fine tune the channel frequency over a range of -15 to +15. Press
the OK button to confirm. Repeat steps 5 and 6c if you wish to fine tune other channels.
c)
DECODER
Press the
v
or
V
buttons to select AV1 or AV2 for the programme position then press the OK
button to confirm. You can now attach a decoder to the AV1 or the AV2 socket on the back of
the TV and the picture from that decoder will appear on this programme number. Repeat steps
5 and 6c to preset the AV output for other programme positions.
7. Press the MENU button to remove the menu from the TV screen.
18
Using the TV menu system:
Adjusting the picture geometry for an RGB source
When connecting an RGB source such as a Sony Playstation you may need to readjust the geometry of the picture.
RGB Set Up
Adjust Size:
Confirm: OK
H Centre
O
H Size
O
RGB Set Up
Adjust Position:
Confirm: OK
H Centre
O
H Size
O
1. Press the
button on the remote control to select the connected RGB source
.
2. Press the MENU button to display the menu on the TV screen.
3. Press the
V
button to select the
symbol on the menu screen then press
B
to enter the ‘Set
Up’ menu.
4. Press the
V
button to select ‘Manual Set Up’ on the menu screen then press
B
to enter the
‘Manual Set Up’ menu.
5. Press the
V
button to select ‘RGB Set Up’ on the menu screen then press
B
to enter the
‘RGB Set Up’ sub menu.
6. Press
B
to select H Centre then press
v
or
V
to adjust the centre of the picture over a range
of -10 to +10. Store the new range by pressing the OK button.
7. Press
B
to select H Size then press
v
or
V
to adjust the horizontal coordinates over a range
of -10 to +10. Store the new range by pressing the OK button.
8. Press the MENU button to remove the menu from the TV screen.
1
Adjusting the picture rotation
Because of the earth’s magnetism the picture might slant. In this case you can readjust the picture.
1. Press the MENU button on the remote control to display the menu on the TV screen.
2. Press the
V
button to select the
symbol on the menu screen then press
B
to enter the ‘Set
Up’ menu.
3. Press the
V
button to select ‘Manual Set Up’ then press
B
to enter the ‘Manual Set Up’
menu.
4. Press the
V
button to select ‘Picture Rotation’ then press
B
to enter the ‘Picture Rotation’
sub menu.
5. Press the
v
or
V
buttons to rotate the picture over a range of -5 to +5 then press the OK
button to store.
6. Press the MENU button to remove the menu from the TV screen.
Manual Set Up
Rotate:
Confirm: OK
Language/Country
Manual Programme Preset
Further Programme Preset
RGB Set Up
Picture Rotation
Personal ID
O
- - - - -
- - - - -
Set Up
Auto Tuning
Programme Sorting
AV Preset
Manual Set Up
Select:
Enter:
19
Using the TV menu system:
Inputting your personal ID
With this feature, you can allocate a safety code to your TV which will enable you to be traced if the TV is stolen and
recovered. The safety code however can only be entered once - please make a note of it!
1. Press the MENU button on the remote control to display the menu on the TV screen.
2. Press the
V
button to select the
symbol on the menu screen then press
B
to enter the
‘Set Up’ menu.
3. Press the
V
button to select ‘Manual Set Up’ on the menu screen then press
B
to enter the
‘Manual Set Up’ menu.
4. Press the
V
button to select ‘Personal ID’ on the menu screen then press
B
to enter the
‘Personal ID’ sub menu.
5. Press the
v
or
V
buttons to select the first of a total of 11 characters (letter, number + or a
blank) then press
B
to go to the next character.
6. Repeat step 5 to input all the characters for the code.
7. Press the OK button to store. A status box appears on screen requesting you to re-enter
your code.
8. Press the OK button to store the code or press
b
to cancel.
9. Press the MENU button to remove the menu from the TV screen.
Presetting and naming input signals
Using this feature you can label input sources.
1. Press the MENU button on the remote control to display the menu on the TV screen.
2. Press the
V
button to select the
symbol on the menu screen then press
B
to enter the ‘Set
Up’ menu.
3. Press the
V
button to select ‘AV Preset’ on the menu screen then press
B
to enter the ‘AV
Preset’ menu.
4. Press the
v
or
V
buttons to select the desired AV input (AV1, 2, 3 or 4).
5. Press the
B
button to select ‘LABEL’.
6. Press the
v
or
V
buttons to select the first character of the name then press the
B
button to
move to the next character.
7. Repeat step 6 to select the other 4 characters then store by pressing the OK button.
8. Repeat steps 4-8 for the other AV input sources then press the MENU button to remove the
menu from the TV screen.
Manual Set Up
Select. A-Z, 0-9:
Store: OK
Language/Country
Manual Programme Preset
Further Programme Preset
RGB Set Up
Picture Rotation
Personal ID
-
- - - - - -
AV Preset
Select:
Enter:
AV 1
AV 2
AV 3
AV 4
AV 1
AV 2
AV 3
AV 4
INPUT
LABEL
AV Preset
INPUT
LABEL
Select: A-Z, 0-9:
Confirm: OK
AV 1
AV 2
AV 3
AV 4
AV 1
AV 2
AV 3
AV 4
20
Additional Equipment
Using the illustrations below, you can connect a wide range of audio and video equipment to your TV.
Connecting additional equipment to the TV
B C
D
A
To view the input signals of connected equipment, please follow the instructions below.
1. Using the illustrations above, connect your equipment to the appropriate TV socket.
2. Press the
button repeatedly on the remote control until the correct input symbol for your equipment appears on the TV
screen (see table below):
* automatic detection of the signal according to the connected equipment
3. Switch on the connected equipment. The picture from this equipment (if any are available) will appear on the TV screen.
4. Press
to return to the normal TV screen.
Note: To avoid picture distortion, do not connect equipment to the
F
and
G
sockets at the same time
Symbol on
the TV screen
Input signals from connector
•
Audio/video input signal through scart connector
A
or* RGB through scart connector
A
•
Audio/video input signal through scart connector
B
or* S-video through scart connector
B
•
Audio/video input signal through scart connector
C
or* S-video through scart connector
C
•
S-video input signal through the 4-pin DIN connector
F
or* video input signal through phono jack
G
and audio input signal through phono jacks
H
1
2
3
4
Connecting Headphones
Plug in your headphones to the socket
E
on the front of the TV set.
Connecting Hi-fi Equipment
Plug in your external audio equipment to the output sockets
D
on the rear of the TV set.
DVD
Hi-Fi
Playstation
VCR
Decoder
F
G
H
E
100Hz
8mm/Hi8
camcorder
S-VHS/Hi8
camcorder
21
Additional Equipment
*
If the picture or sound is distorted, move the VCR away from the TV set.
*
When connecting a monaural VCR, connect only the white jack to both the TV set and the VCR.
*
For information on how to select the output signal of the scart 2
/
, see page 14.
*
When connecting external hi-fi equipment, you can adjust the volume level by adjusting the headphones setting in the
sound menu - please refer to the ‘Adjusting the picture and sound’ section of this manual.
Additional information when connecting equipment
2
s
2
Smartlink is a direct link between your TV and VCR.
For Smartlink you need:
*
A VCR which supports Smartlink, NexTView Link, Easy Link or Megalogic.
*
A fully-wired 21-pin scart cable to connect your VCR to scart 2
/
connector.
The features of Smartlink are:
*
Tuning information such as the channel overview are downloaded from the TV set to the VCR.
*
With NexTView you can programme your VCR easily.
*
Direct TV recording: while watching TV you need to press just one button on the VCR to record this programme.
For more information on Smartlink please refer to your VCR instruction manual.
Smartlink
2
s
2
Using the buttons underneath the cover of the remote control you can control other Sony equipment.
1. Open the cover of the remote control.
2. Set the selector VTR 1234 DVD according to the equipment you want to control:
VTR1 Beta VCR
VTR2 8mm VCR
VTR3 VHS VCR
VTR4 Digital Video (DCR-VX 1000/9000E,VHR-1000)
DVD Digital Video Disk
3. Use the buttons on the remote control to operate the equipment.
*
If your equipment has a COMMAND MODE selector, set this selector to the same position as the VTR 1234 DVD
selector on the TV remote control.
*
If the equipment does not have a certain function, the corresponding button on the remote control does not work.
Remote control of other Sony equipment
22
Additional Information
Specifications
TV system
B/G/H, D/K
Colour system
PAL, SECAM
NTSC 3.58, 4.43 (only Video In)
Channel coverage
See the ‘Channel Display Table’ below.
Picture tube
FD Trinitron, Approx. 72cm (29 inches)
Rear Terminals
/
21-pin Euro connector (CENELEC standard) including audio/
video input, RGB input, TV audio/video output.
/
21-pin Euro connector (CENELEC standard) including audio/
video input, S-video input, Selectable audio/video output.
/
21-pin Euro connector (CENELEC standard) including audio/
video input, S-video input, Monitor audio/video output.
L/G/S/I
RCA connectors, variable output for audio signals.
R/D/D/D
RF In
Front Terminals
Video input -phono jacks
Audio inputs - phono jacks
S video input - 4 pin DIN
Headphones jack - minijack stereo
1
1
2
s
2
3
s
3
4
4
s
4
Sound output
Left/Right:
2x20W (Music Power)
2x10W (RMS)
Sub woofer: 30W (Music Power)
15W (RMS)
Power consumption
158W
Dimensions (wxhxd)
Approx. 765x635x570mm
Weight
Approx. 59kg
Accessories supplied
RM-893 remote control (1)
IEC designated size AA batteries (2)
Optional accessory
TV Stand:
SU-29FQ1
Other features
Flat display Trinitron tube, noise reduction, graphic equaliser,
2000 page TEXT memory, personal ID, sleep timer,
NexTView.
Design and specifications are subject to change
without notice.
Channel Display Table
Receivable Channels
Channel Displays
B/G/H
E2..12, 21..69
C02..C12, C21..69
KABEL-TV (1)
S1..S41
S01..S41
KABEL-TV (2)
S01..S05
S42..S46
M1..M10
S01..S10
U1..U10
S11.S20
ITALIEN
A, B..H, H1, H2
C13, C14..C20, C11, C12
D/K
R01..R12, R21..R69
C01..C12, C21..C69
S01..S05
S42..S46
23
Additional Information
Here are some simple solutions to problems which may affect the picture and sound.
•
If you continue to have these problems, have your TV serviced by qualified personnel.
•
NEVER open the casing yourself.
Troubleshooting
Problem
Suggested remedy
No picture (screen is dark), no sound.
•
Plug the TV in.
•
Press the
button on the front of the TV.
•
If the
indicator is on press the
button or a numbered
button on the remote control.
•
Check the aerial connection.
•
Turn the TV off for 3 or 4 seconds and then turn it on again
using the
button on the front of the TV.
Poor or no picture (screen is dark), but
good sound.
•
Using the MENU system, select the Picture Adjustment
display. Adjust the brightness, picture and colour balance
levels.
•
From the Picture Adjustment display select RESET to return
to the factory settings.
Good picture, no sound.
•
Press the
button on the remote control.
•
If
is displayed on the screen, press the
button on the
remote control.
No colour on colour programmes.
•
Using the MENU system, select the Picture Adjustment
display and adjust the colour setting.
•
From the Picture Adjustment display select RESET to return
to the factory settings.
Distorted picture when changing
programmes or selecting Teletext.
•
Turn off any equipment connected to the scart connectors on
the rear of the TV.
Remote control does not function.
•
Replace the batteries.
The standby indicator
on the TV
flashes.
•
Contact your nearest Sony service centre.
Interference on picture from external
equipment.
•
Reduce sharpness level.
/
24
PL
Informacje dotyczące bezpieczeństwa
W telewizorach są wykorzystywane bardzo wysokie napięcia. Aby uniknąć ryzyka pożaru lub porażenia prądem, należy
stosować się do podanych niżej zasad bezpieczeństwa.
Bezpieczeństwo
Ogólne bezpieczeństwo
•
Nie
wystawiać telewizora na deszcz ani wilgoć.
•
Nie
zdejmować tylnej obudowy.
•
Dla
własnego bezpieczeństwa, wszystkie naprawy zlecać wykwalifikowanym osobom.
Bezpieczeństwo instalacji
•
Nie
instalować telewizora z miejscach gorących, wilgotnych lub nadmiernie
zapylonych.
•
Nie
blokować ani nie zakrywać otworów wentylacyjnych. Dla zapewnienia wentylacji
pozostawić ze wszystkich stron telewizorach po 10 cm wolnego miejsca.
•
Nie
instalować telewizora w miejscach narażonych na wibracje mechaniczne.
•
Stawiać
telewizor tylko na stabilnej podstawie, która nadaje się do podtrzymywania
telewizora o takich wymiarach i wadze.
Bezpieczeństwo obsługi
•
Do
zasilania telewizora używać wyłącznie napięcia przemiennego 220-240 V, 50 Hz.
•
Jeśli
przez otwory wentylacyjne wpadnie jakiś przedmiot lub wleje się płyn, nie
używać telewizora. Natychmiast zlecić jego kontrolę.
•
Ze
względu na ochronę środowiska i bezpieczeństwo zaleca się, by nie pozostawiać
nieużywanego telewizora w trybie czuwania, ale go wyłączać wyłącznikiem sieciowym.
•
Przy
wyłączaniu telewizora z gniazdka sieciowego nie ciągnąć za przewód. Zawsze
chwytać za wtyczkę.
•
W
przypadku burzy należy wyłączyć telewizor z sieci i odłączyć antenę. W przeciwnym
razie telewizor może zostać uszkodzony po uderzeniu pioruna.
Konserwacja
•
Czyścić
ekran miękką, wilgotną ciereczką. Nie używać żadnych środków do
szorowania.
•
Osady
z kurzu i nikotyny mogą powodować nagrzewanie się wnętrza telewizora. Na
dłuższą metę może to stanowić czynnik ryzyka i skrócić okres eksploatacji telewizora.
Z tego względu co pięć lat należy zlecać kontrolę serwisową telewizora.
1
Informacje dotyczące bezpieczeństwa
Wszystkie odbiorniki telewizyjne pracują z wykorzystaniem bardzo wysokich napięć. Aby uniknąć pożaru lub
porażenia prądem, należy przestrzegać zasad bezpieczeństwa, podanych na załączonym niebieskim arkuszu.
Stojak pod telewizor musi być zawsze odpowiednio stabilny i wytrzymały, aby utrzyma duży i ciężki telewizor. Dla
unikatowej konstrukcji tego telewizora firma Sony zaleca używanie specjalnie zaprojektowanego stojaka SU-29FQ1.W
przypadku stosowania innego rozwiązania (stojaka czy szafki) należy też zapewnić odpowiednio dużą powierzchnię
podstawy, aby wszystkie trzy nóżki telewizora mia y stabilne oparcie i były umiejscowione wystarczająco daleko od
krawędzi podstawy.
Informacje dotyczące bezpieczeństwa
Spis Treści
Spis Treści
Instalowanie
1. Sprawdzanie załączonych akcesoriów
2. Wkładanie baterii do pilota
3. Podłączanie telewizora
4. Włączanie telewizora
5. Używanie przycisku sterującego
6. Programowanie telewizora
7. Znajdywanie kanału wideo
2
2
3
4
4
5
5
Obsługa
Przegląd przycisków telewizora
Przegląd przycisków pilota
NexTView
Telegazeta
Posługiwanie się systemem menu telewizora
Regulacja obrazu
Regulacja dźwięku
Używanie menu Funkcje
Zamiana pozycji programów
Ręczne programowanie telewizora
Nadawanie nazw programom
Pomijanie pozycji programów
Posługiwanie się menu "Dalsze nastawianie"
Regulacja obrotu obrazu
Regulacja geometrii obrazu dla sygnału RGB
Wprowadzanie identyfikatora osobistego
Regulacja i nadawanie nazw sygnałom wej
ś
ciowym
6
7
8
10
12
12
13
14
15
15
16
16
17
18
18
19
19
Dodatkowy osprzęt
Podłączanie urządzeń dodatkowych
Informacje dodatkowe dotyczące podłączania urządzeń
Smartlink
Zdalne sterowanie innym sprzętem Sony
20
21
21
21
Informacje dodatkowe
Dane techniczne
Tabela kanałów
Problemy i ich usuwanie
22
22
23
2
Wykonaj czynności 1-7, aby dokonać instalacji telewizora i zacząć oglądać programy. Instalowanie
1. Sprawdzanie załączonych akcesoriów
2. Wkładanie baterii do pilota
Baterie
Przy wkładaniu baterii zawsze zwracaj uwagę na wła ciwe ułożenie biegunów.
Pamiętaj, aby pozbywać się niepotrzebnych baterii w sposób przyjazny dla środowiska.
+
- -
+
Pilot
-
+
+
-
3
Instalowanie
3. Podłączanie telewizora
1. Podłącz antenę do magnetowidu, tak jak to pokazano.
2. Połącz gniazdo magnetowidu RF OUT, znajdujące się z tyłu magnetowidu, z
gniazdkiem antenowym telewizora, tak jak to pokazano na rysunku.
3. Podłącz przewód z łączówkami EURO AV (SCART) (jeśli posiadasz) do złącza
AV2 z tyłu telewizora i złącza z tyłu magnetowidu.
4. Podłącz magnetowid do gniazdka sieciowego i włącz go.
5. Włóż nagraną kasetę do magnetowidu i przyciśnij 'PLAY'.
1. Podłącz antenę do gniazda oznaczonego
, znajdującego się z tyłu odbiornika.
Podłączanie anteny do telewizora
Podłączanie anteny i magnetowidu do telewizora
Jeżeli nie podłączasz
telewizora do
magnetowidu, wówczas
należy podłączyć antenę,
tak jak to pokazano na
ilustracji, po lewej i
przejść do sekcji
"4. Włączanie
telewizora".
Jeżeli natomiast
podłączasz telewizor do
magnetowidu, wówczas
należy przejść do sekcji
znajdującej się poniżej.
Kabel Euro nie jest
wymagany. Jeżeli
jednak zostanie
użyty, to dodatkowe
połączenie może
polepszyć obraz i
dźwięk podczas
odtwarzania.
OUT
IN
AERIAL
ANTENNA
AC IN
(istniejąca antena)
(łączówka Euro -
nie ma w wyposażeniu)
4
Instalowanie
1. Podłącz wtyczkę kabla telewizora do gniazdka zasilania (220-240V AC, 50Hz).
2. Wciśnij wyłącznik zasilania
znajdujący się z przodu telewizora.
Jeżeli świeci się kontrolka trybu czuwania, znajdująca się z przodu telewizora, należy nacisnąć przycisk TV
znajdujący się na pilocie, aby włączyć odbiornik TV. Należy zachować cierpliwość; obraz może pojawić się na
ekranie dopiero po kilku chwilach.
4. Włączanie telewizora
5. Używanie przycisku sterującego
/
Aby wybrać wariant w menu,
naci nij rodkowš czę ć
przycisku, oznaczonš OK..
Aby poruszać się po menu,
wciśnij odpowiedni przycisk
kierunku.
Przemieszczanie wskaźnika Przyciskanie
przyciskiem sterującym
przycisku sterującego
5
Instalowanie
Przed przystąpieniem do strojenia telewizora należy wybrać język i kraj.
6. Programowanie telewizora
Language/Country
Select Language:
Confirm:
Language
Country
Nederlands
Norsk
Polski
Português
Svenska
Suomi
Türkçe
Holandia
Norwegia
Polska
Portugalia
Rosja
S
ł
owacja
Hispania
Polski
1. Na ekranie pojawia się menu Język/Kraj z podświetlonym
słowem "English".
2.
Przyciskami
v
oraz
V
pilota wybierz język, a następnie
przyciśnij OK, aby zatwierdzić. Pojawia się menu Kraj z
podświetlonym słowem "Wyłączony". Wybierz "Wyłączony",
jeżeli nie chcesz, aby kanały zostały kolejno zaprogramowa-
ne, począwszy od pozycji 1.
3.
Wciśnij
v
lub
V
, aby wybrać kraj, w którym będzie używany
telewizor i przyciśnij OK, aby potwierdzić swój wybór.
4. Pojawia się menu "Automatyczne Strojenie" w wybranym
języku. Przyciśnij OK, aby potwierdzić.
5. Sprawdź, czy antena jest podłączona zgodnie z instrukcjami i
przyciśnij OK, aby zatwierdzić. Telewizor zacznie
automatycznie wyszukiwać i programować dostępne kanały.
Operacja ta może potrwać kilka minut - należy zachować
cierpliwość i nie przyciskać żadnych przycisków.
6.
Po zakończeniu strojenia wszystkich dostępnych kanałów, na
ekranie pojawia się menu "Sortowanie programów", które
pozwala zmienić porządek zaprogramowanych kanałów.
Jeżeli chcesz zmienić kolejność programów, przyciśnij
v
lub
V
, aby wybrać kanał, który chcesz przesunąć, następnie
przyciśnij
B
. Przy pomocy przycisków
v
lub
V
wybierz nową
pozycję dla danego programu i przyciśnij OK, aby
potwierdzić. Wybrany program zostanie przeniesiony w
nowe miejsce, a inne programy zostaną odpowiednio
przesunięte. Powtarzaj tę procedurę, jeżeli chcesz zmienić
kolejność pozostałych programów.
7. Naciśnij przycisk MENU, aby usunąć menu z ekranu
telewizora.
8. Naciskaj PROGR+/- lub numerowane przyciski, aby oglądać
programy telewizyjne.
Uwaga: Aby w dowolnym momencie zatrzymać proces
automatycznego strojenia, naciśnij przycisk OK.
Podłączywszy już magnetowid do telewizora, musisz znaleźć kanał wideo.
1. Naciskaj przyciski PROGR+/-, aż kanał wideo pokaże się na ekranie telewizora.
Uwaga: Jeżeli chcesz zmienić pozycję kanału wideo wśród programów, przejdź do sekcji "Zapamiętywanie
kanałów TV".
7. Znajdywanie kanału wideo
1
2
3
6
5
4
7
8
9
0
6
Obsługa
Przegląd przycisków telewizora
Przyciski regulacji głośności.
Przyciśnij, aby zwiększyć (+) /
zmniejszyć (-) głośność.
Przycisk wejścia Video.
Przyciśnij, aby wybrać sygnał
wejściowy z magnetowidu lub
innych urządzeń.
Przyciski zmiany
programu (+) i (-).
Przyciśnij, aby
zmienić program.
Aby
uzyskać
dostęp
do
przednich
gniazd
wej ciowych i przycisków telewizora, popchnij do
góry panel sterowania (jak pokazano na ilustracji).
Panel sterowania opu ci się.
Przycisk przywracania
standardowych ustawień.
Naci nij go w celu przywrócenia
fabrycznych ustawień obrazu i d więku.
Na ekranie pojawi się logotyp Sony, a
następnie
ekran
automatycznego
strojenia. Je li nie chcesz ponownie
dostrajać telewizora, naci nij przycisk
b
na pilocie
100Hz
100Hz
7
Obsługa
Przegląd przycisków pilota
Aby chwilowo wyłączyć telewizor
Przyciśnij w celu chwilowego wyłączenia telewizora.
Aby włączyć telewizor, należy ponownie nacisnąć ten
przycisk. Aby oszczędzać energię, znależy wyłączać nie
używany telewizor z sieci. UWAGA: Jeśli przez 15-30
minut nie jest odbierany sygnał TV i nie zostanie
naciśnięty żaden przycisk, telewizor automatycznie
przełączy się w tryb oczekiwania.
Aby pokazać informacje
Naciśnij w celu pokazania wszystkich ekranowych
wskaźników. Naciśnij ponownie, aby je ukryć. Naciśnij w
trybie telegazety, aby przejść do spisu treści (przeważnie
strona 100), naciśnij ponownie, aby skasować.
Aby wybrać sygnał wejściowy lub zatrzymać
telegazetę
Wciśnij w celu wyboru sygnału wejściowego z gniazd
(patrz sekcja "Używanie dodatkowego sprzętu").
Naciśnij w trybie telegazety, aby zatrzymać wyświetlaną
stronę. Naciśnij ponownie, aby skasować.
Aby powrócić do poprzedniego kanału
Wciśnij w celu przejścia do ostatnio oglądanego
programu. Uwaga: Operacja ta może zostać wykonana
tylko wtedy, gdy obecny kanał był oglądany przez 5
sekund.
Aby zmienić format obrazu
Wciśnij w celu zmiany wielkości obrazu.
Przyciski Fastext
Aby zapoznać się ze szczegółami: patrz sekcja
Telegazeta.
Aby wybrać podpunkty menu
Użyj przycisku OK oraz przycisków kierunkowych, aby
wybrać opcje dostępne w systemie menu telewizora.
Aby wybrać kanał
Wcisnąć w celu wybrania kanału.
Aby wyświetlić menu
Naciśnij, jeżeli chcesz dokonać ustawień w menu
telewizora. Naciśnij ponownie, aby menu zniknęło z
ekranu.
Aby wyłączyć dźwięk
Wcisnąć w celu wyłączenia dźwięku telewizora.
Wcisnąć ponownie, aby przywrócić dźwięk.
Aby powrócić do normalnego trybu TV
Przyciśnij w celu powrotu do normalnego
działania z telegazety lub z trybu czuwania.
Aby włączyć telegazetę
Wciśnij w celu włączenia i wyłączenia
telegazety.
Aby wybrać Elektroniczny program TV
(EPG)
Wciśnij w celu włączenia i wyłączenia EPG.
Aby zatrzymać obraz
Przyciśnij, jeżeli chcesz zanotować jakąś
informację z ekranu telewizora, np. numer
telefonu. Przyciśnij ponownie, aby powrócić do
normalnego obrazu telewizyjnego.
Aby wybrać program
Przyciśnij jeden z numerowanych przycisków.
Dla programów dwucyfrowych, np. 23, najpierw
należy przycisnąć -/--, a następnie 2 oraz 3.
Aby wyświetlić menu obrazu
Przyciśnij, aby zmienić ustawienia obrazu.
Przyciśnij przycisk OK, aby usunąć menu.
Aby wyświetlić menu dźwięku
Przyciśnij, aby zmienić ustawienia dźwięku.
Przyciśnij przycisk OK, aby usunąć menu.
W celu wyświetlenia tabeli programów
Wciśnij przycisk OK. Wciśnij
v
lub
V
w celu
wyboru żądanego programu, a następnie
B
, aby
potwierdzić.
Aby ustawić głośność
Przycisnąć w celu ustawienia głośności
telewizora.
Aby przywrócić ustawienia fabryczne.
Otwórz pokrywkę pilota i naciśnij, aby
przywrócić fabryczne ustawienia obrazu i
dźwięku.
Po
pojawieniu
się
menu
"Instalacja", przejdź do sekcji "Wybieranie
języka i kraju", aby zmienić, jeżeli to
potrzebne, język i kraj.
Aby wyświetlić godzinę.
Otwórz pokrywkę pilota i naciśnij w celu
wyświetlenia na ekranie aktualnej godziny.
Aby obsługiwać wyposażenie wideo
Otwórz pokrywkę pilota i użyj tych przycisków w
celu obsługi sprzętu wideo (proszę zapoznać się ze
szczegółami w instrukcji magnetowidu).
Zdalne sterowanie innym sprzętem Sony
Otwórz pokrywkę pilota. Przestaw przełącznik VTR
1234 DVD w położenie odpowiadające urządzeniu,
którym chcesz sterować:
VTR1: magnetowid Beta
VTR2: magnetowid 8 mm
VTR3: magnetowid VHS
VTR4: Digital Video (DCR-VX 1000/9000E,
VHR-1000)
DVD: Digital Video Disk
Użyj przycisków pilota do zdalnego sterowania
dodatkowymi urządzeniami.
8
Obsługa
*w zależności od dostępności usługi
NexTView jest elektronicznym wykazem programów, zapewniającym z wyprzedzeniem do 1 tygodnia infor-
rnacje o tych programach, które obsługuje wybrany operator. Jeśli dane NexTView przepełniają pamięć, uzys-
kasz informacje o okresie krótszym niż 7 dni.
Podczas przeglądania informacji możliwe jest wyszukiwanie według tematu (sport, sztuka itd.) lub daty i godziny (np.
audycje między 8 a 9 wieczorem). Znalazłszy żądany program, możesz do niego przejść , użyć układu czasowego, który
Ci o nim przypomni, lub zaprogramować magnetowid (z funkcją Smartlink).
Za zawartość wykazu odpowiada operator NexTView. Do zadań telewizora należy prezentacja, czyli struktura menu
i ich obsługa, jeśli operator ich nie zapewnia. Jeśli mechanizmy obsługi zapewnia operator, podstawowe operacje
joystickiem są takie same jak podane w opisie systemu obsługi Sony.
Kiedy w kanale nadawana jest informacja NexTView, pojawia się wskazanie "NexTView". Jeśli zmienisz kanat,
moźesz w dalszym ciągu wbrać korzystanie z danych NexTView.
Posługiwanie się systemem obsługi Sony
1. Naciśnij przycisk
, aby włączyć lub wyłączyć NexTView.
2. Wykonuj następujące czynności, naciskając odpowiednie strony joysticka:
•
przechodzenie w górę lub w dt kolumny: naciskaj stronę
V
lub
v
•
przechodzenie do lewych kolumn daty i godziny: naciśnij stronę
b
•
przechodzenie do ikon w prawej kolumnie: nacśnij stronę
B
•
potwiewdzanie wyboru: naciśnij część z napisem
OK
(a)
Kiedy wskaźnik znajduje się w kolumnie daty, godziny lub ikon (tematów), lista programów zmienia się
zależnie od dokonanego wyboru.
(b)
Kiedy wskaźnik znajduje się na liście programów, potwierdzenie trwającej audycji powoduje bezpośrednie
przeście do programu, a potwierdzenie przyszłej audycji powoduje wyświetlenie długiego menu
informacyjnego (patrz część Korzystanie z długiego menu informacyjnego).
Legenda dla ikon
pełna lista wyboru
sport
własny wybór
rozrywka
wiadomości
programy dla dzieci
filmy
powrót do ostatniego menu
NexTView
7
Tue
07 Tue
12:38
8
Wed
10
Fri
11
Sat
12
Sun
13
Mon
9
Thu
12
SWISS
Star Wars
Super RTL
Fantasy film, USA, 1996
Werner - Beinhart
Pro 7
Flui grüsst den Rest der Welt
Kabel 1
Once upon a time in the West
Euronews
International News
RTL Plus
10:35 - 12:45
10:20 - 12:00
10:45 - 10:50
11:00 - 11:20
11:45 - 12:50
TXT
TPS / RINGIER
Tue 07. 04 .98
9
Obsługa
NexTView
Osobní nastavení
Po wybraniu wariantu
nie pojawi się żaden program. lkona
pozwala na indywidualne wybieranie tem-
atów i ograniczenie wyboru do tematów wskazanych
1. Naciskając stronę
V
lub
v
joysticka, wskaż ikonę
. Naciśnij stronę
B
.
Pojawi się menu osobní nastavení.
2. Wskaż wariant, który chcesz wybrać, naciskając stronę
V
lub
v
. Potwierdź wybór, naciskając część z napisem OK.
Potwarzaj czynność 2 lia wszystkich pozycji, które mają się znaleźć na liście.
3. Na zakończenie stroną
B
joysticka wskaż ikonę
i naciśnij cześć z napisem OK.
Korzystanie z długiego menu informacyjnego
1.
Naciskając stroną
V
lub
v
joysticka, wybierz z listy programów zbliżającą się audycję. Naciśnij cześć oznaczoną
napisem OK.
Pojawi się długie menu informacyjne.
Jeśli chcesz nagrać wybrany program na magnetowid
(tylko dia magnetowidów z systemem Smartlink)
2.
Naciskając stronę
b
, wskż wariant
i naciśnij cześć z napisem OK.
Informacje zostaną przesłane do magnetowidu podłączonego do telewizora.
Wybieranie ustawień magnetowidu
3.
Naciskając stronę
b
, wskaż wariant VPS/PDC.
Wybranie tego ustawienia gwarantuje nagranie całego programu, nawet w przypadku zmiany w programie tel-
ewizyjnym. Funkcja ta działa tylko wówczas, gdy wybrana stacja nadaje sygnał VPS/PDC.
•
Wciskaj
OK, aby wybrac ustawiene.
4.
Naciskając stronę
V
, wskaż wariant szybkość.
Wybierz nagrywanie standardowe (SP) lub wydłużone (LP). Tryb LP pozwala na dwukrotne wydłużenie czasu
nagrywania. Może się jednak przy tym pogorszyć jakość obrazu.
•
Wciskaj
OK, aby wybrac ustawienie SP lub LP.
5.
Naciskając stronę
V
, wskaż wariant Ustawień video.
Wybierz dołączony magnetowid, który chcesz zaprogramować.
•
Wciskaj OK, aby wybrac ustawienie VCR 1 lub 2.
Aby opuścić menu
6.
Stronę
B
joysticka wskaż ikonę
i naciśnij cześć z napisem OK.
Powrócisz do poprzednio widocznego menu.
07 Tue
12:38
Address Mapping
The position of the addresses in the
OSDA is shown in the following diagram.
The position values of the DPW are set
to '0'.
If other values are set, the complete
combination will be scrolled.
Example:
if the DPWC is set to '63', the char-
Speed
Timer Prog
VPS/PDC
SP
VCR1
On
This channel has been set for a timer
First nextTView/EPG-Providers in Europe
SWISS
TXT
TPS / RINGIER
nexTView
Tue 07. 04 .98
Speed
VPS/PDC
VCR1
On
SP
VCR Setup
10
Obsługa
Większość programów telewizyjnych jest nadawana wraz z telegazetą. Strona spisu treści telegazety (zazwyczaj strona
100) podaje informacje dotyczące jej obsługi. Należy jednak korzystać z telegazety nadawanej z programem o silnym
sygnale, w przeciwnym wypadku mogą wystąpić błędy w odbiorze telegazety.
Telegazeta
Włączanie i wyłączanie telegazety
1. Wybierz kanał telewizyjny nadający żądaną telegazetę.
2. Jeden raz naciśnij przycisk
, aby wyświetlić telegazetę.
3. Naciśnij przycisk
dwa razy, aby wyłączyć tryb mieszany.
Telegazeta zostanie nałożona na obraz telewizyjny.
4. Aby wyłączyć telegazetę, naciśnij przycisk lub 3. raz przycisk
.
Wybieranie strony telegazety
Wprowadź trzy cyfry numeru strony, używając do tego numerowanych przycisków
pilota. Jeżeli popełnisz błąd, wprowadź jakiekolwiek trzy cyfry, a następnie wprowadź
jeszcze raz poprawny numer.
Używanie innych funkcji telegazety
Wybieranie następnej lub poprzedniej strony
Naciśnij przyciski
lub
, znajdujące się na pilocie, w celu wybrania poprzedniej
lub następnej strony.
Wybieranie podstron
Strona Telegazety może zawierać kilka podstron. W takim przypadku zostanie
wyświetlony pasek informacyjny, pokazujący liczbę podstron. Wybierz podstronę
przyciskając
v
lub
V
.
Aby zatrzymać stronę telegazety
Przyciśnij,
w celu zatrzymania strony. Przyciśnij ponownie, aby przerwać
zatrzymanie.
Odkrywanie ukrytych informacji (np. odpowiedzi do quizu).
Naciśnij przycisk
, aby pokazać ukrytą informację. Naciśnij ponownie, aby ją ukryć.
Używanie kolorowych przycisków w celu przejścia na strony (Fastext)
(dostępne tylko dla stacji telewizyjnych nadających sygnał Fastext)
Kiedy zakodowane kolorami menu pojawi się na dole strony, naciśnij kolorowy
przycisk pilota (zielony, czerwony, żółty lub niebieski), aby wyświetlić odpowiednią
stronę.
Używanie funkcji "Łapanie stron"
1. Za pomocą numerowanych przycisków pilota wybierz stronę, która zawiera kilka
stron (np. strona spisu treści).
2. Wciśnij przycisk OK.
3.
Wciśnij
v
lub
V
, aby wybrać numer żądanej strony, a następnie przycisk OK.
Żądana strona zostanie wyświetlona po kilku sekundach.
216-02
01
03
04
05
06
07
08
02
Index
TELETEXT
Programme
News
Sport
Weather
25
153
101
98
Index
TELETEXT
Programme
News
Sport
Weather
25
153
101
98
m
m
m
11
Obsługa
Telegazeta
Posługiwanie się menu telegazety
1. Kiedy telegazeta jest włączona, naciśnij przycisk MENU na pilocie, aby wyświetlić
menu na ekranie telewizora.
2.
Wciśnij
v
lub
V
w celu wybrania podpunktu, a następnie naciśnij
B
, aby dostać się
do odpowiedniego menu niższego poziomu.
3. Aby usunąć z ekranu menu telegazety, naciśnij przycisk MENU.
Góra/Dół/Cała
Menu Góra/Dół/Cała pozwala powiększyć różne części strony telegazety. Naciśnij
v
, w
celu powiększenia górnej części obrazu,
V
, aby powiększyć dolną część. Naciśnięcie
przycisku OK spowoduje przywrócenie normalnej wielkości strony. Naciśnij
b
, aby
powrócić do menu telegazety.
Usunięcie tekstu
Funkcja usunięcia tekstu służy do wyświetlania obrazu telewizyjnego podczas
wyszukiwania strony telegazety.
1. Dwukrotnie naciśnij przycisk
na pilocic, aby wyświetlić telegazetę na pełnym
ekranie.
2. Naciśnij przycisk MENU, aby wyświetlić menu telegazety.
3. Naciskając
v
lub
V
wskaż wariant Usunięcie tekstu. Potwierdź wybór,
naciskając
B
.
4. Pojawi się obraz odbieranej obecnie stacji telewizyjnej. Po odszukaniu strony
telegazety, w lewym górnym rogu ekranu pojawi się niebieski symbol
.
5. W celu wyświetlenia strony naciśnij przycisk
na pilocie.
Odsłanianie
Niektóre strony telegazety zawierają ukryte informacje (np. odpowiedzi do quizu),
które można odsłonić.
Strona na czas*
*w zależności od dostępności usługi
Strona na czas umożliwia wy wietlenie o zadanej godzinie strony gazety z kodowaniem
czasowym (np. strony z alarmem).
Przegląd stron*
*funkcji można użyć, gdy stacja telewizyjna nadaje dane TOP-text.
W tym menu strony TOP-text sa podzielone na dwje kolumny, z których pierwsza
zawiera bloki stron, a druga- grupy stron.
1.Naciskając
b
lub
B
, wybierz pierwszą albo drugą kolumnę.
2.Naciskając
v
lub
V
, aby wybierz żądaną grupę albo blok stron.
3.W celu wyswietlenia żądanych stron naciśnij przycisk OK.
1. W trybie telegazety naci nij przycisk MENU na pilocie, aby wy wietlić menu
telegazety.
2.
Przyciskiem
v
lub
V
wskaż wariant Odsłanianie i potwierd wybór przyciskiem
B
.
Na ekranie pojawią się ukryte informacje
.
1. W trybie telegazety naci nij przycisk MENU na pilocie, aby wy wietlić menu
telegazety.
2.
Przyciskiem
v
lub
V
wskaż wariant Strona na czas i potwierd wybór przyciskiem
B
.
Pojawi się menu niższego poziomu ‘Strona na czas ..
3. Przyciskami numerycznymi na pilocie wprowad numer żšdanej strony.
4. Używajšc pilota, wprowad żšdanš godzinę.
5. Potwierd ustawienia przyciskiem OK. Tryb telegazety wyłšczy się, a w lewym
górnym rogu ekranu pojawi się godzina. O zaprogramowanej godzinie zostanie
wy wietlona żšdana strona.
12
Obsługa
Telewizor zawiera przyjazny dla użytkownika system sterowania, który składa się z serii menu ekranowych. System ten
pomoże Ci oglądać z satysfakcją telewizję, a także zmienić ustawienia obrazu i dźwięku, wielkość obrazu, kolejność
programów oraz wiele innych funkcji.
Regulacja obrazu i dźwięku
Obraz i dźwięk zostały wyregulowane fabrycznie. Można jednak zmienić ustawienia w zależności od upodobań.
Posługiwanie się systemem menu telewizora
1. Przyciśnij przycisk MENU na pilocie, aby wyświetlić menu na ekranie telewizora.
2.
Naciskaj przycisk
v
lub
V
, aby wybrać
(regulacja obrazu) lub
(ustawienia
dźwięku), następnie należy nacisnąć
B
w celu wejścia do menu "Ustawienia
dźwięku" lub "Regulacja obrazu".
3.
Przyciskami
v
lub
V
można wybrać parametr, którego wartość ma być zmieniona,
następnie należy przycisnąć
B
, aby zatwierdzić. Opis parametrów w menu i ich
działania - patrz tabela poniżej.
4.
Przyciskami
v
,
V
,
B
oraz
b
dokonuje się regulacji wybranego parametru.
5. Po wprowadzeniu zmian przyciśnij przycisk OK, aby zachować nowe ustawienia.
6. Powtórz czynności 3-5, jeżeli chcesz dokonać regulacji innych parametrów.
7. Przyciśnij przycisk MENU, aby menu zniknęło z ekranu telewizora.
Regulacja obrazu
Parametr
Efekt/Działanie
Tryb Obrazu
V
Na żywo (dla programów nadawanych "na żywo")
Własny
(ustawienia indywidualne)
v
Film
(dla filmów)
Kontrast
Mniej
b
B
Więcej
Jasność*
Ciemniej
b
B
Jaśniej
Kolor*
Mniej
b
B
Więcej
Odcień**
Czerwonawy
b
B
Zielonkawy
Ostrość*
Mniejsza
b
B
Większa
*
Tylko jeśli dla Tryb obrazu jest wybrane ustawienie Własny
**
Dotyczy tylko sygnału koloru NTSC (np. amerykańskich kaset video)
Zerowanie
Zostaną przywrócone fabryczne ustawienia obrazu
Sztuczna intel.
V
Tak:
Automatyczna optymalizacja
kontrastu, w zależności od sygnału TV.
v
Nie:
Normalne działanie
Redukcja zakłóceń
V
Tak:
Zmniejszanie zakłóceń w obrazie w
przypadku słabego sygnału stacji.
v
Nie:
Tryb normalny.
Barwa
V
Cpł:
nadaje obrazowi ciepły odcień
Norm:
normalne ustawienie
v
Zmn:
nadaje obrazowi zimny odcień
13
Regulacja dźwięku
Parametr
Efekt/Działanie
Tryby korektora
V
Osobisty
Wokal
Jazz
Rock
Pop
v
Płaski (ustawienie stałe, nie może być
regulowane)
Ustawienia korektora
Można dokonywać zmiany ustawienia wybranych trybów
korektora, poprzez zwiększanie lub zmniejszanie
częstotliwości w jednym z 5 zakresów. Przyciśnij
b
lub
B
,
aby wybrać zakres częstotliwości, a następnie
V
lub
v
w
celu dokonania regulacji częstotliwości. Na koniec należy
przycisnąć OK, aby zachować nowe ustawienia.
Jeżeli zamierzasz zachować nowe ustawienia, to musisz wybrać tryb
'Osobisty'. W trybie Osobistym ustawienia zostają zachowane na stałe, we
wszystkich innych trybach (Wokal, Jazz, Rock, Pop) ustawienia zostają
zachowane do następnej zmiany trybu.
Balans
b
Bardziej na lewo
B
Bardziej na prawo
Głośność
V
Nie:
normalne ustawienie
v
Tak: dla programów muzycznych
Przestrzeń
V
Nie: normalne ustawienie
v
Tak: specjalny efekt przestrzenny
Autom. reg. głośn.
V
Nie:
Poziom głośności będzie zmieniał się,
w zależności od nadawanego sygnału.
v
Tak:
Poziom głośności programów będzie
cały czas taki sam niezależnie od
nadawanego sygnału (np. podczas reklam)
Podw. dźwięk
Dla programów nadawanych w dwóch językach:
V
A kanał 1
v
B kanał 2
Dla programów nadawanych w stereo:
V
Mono
v
Stereo
Kiedy zostanie odebrany
sygnaі
NICAM stereo, symbol NICAM pojawi siê na
chwilê na ekranie.
Słuchawki
i
Głośność
głośniej
b B
ciszej
i
Podw. dźwięk
Dla programów nadawanych w dwóch językach:
V
A kanał 1
v
B kanał 2
Posługiwanie się systemem menu telewizora:
0
NICAM
NICAM
0
(
(
Nie
Tak
Nie
Tak
Nie
Tak
14
Posługiwanie się systemem menu telewizora:
Używanie menu Funkcje
1. Przyciśnij przycisk MENU na pilocie, aby wyświetlić menu na ekranie telewizora.
2.
Naciskaj przycisk
v
lub
V
, aby wybrać
(menu "Funkcje"), następnie
B
, aby je wyświetlić.
3.
Naciskaj przycisk
v
lub
V
, aby wybrać żądany parametr z menu, a następnie naciśnij
B
, aby
potwierdzić. Opis parametrów w menu i efektów ich działania znajduje się w tabeli poniżej.
4.
Naciskaj przycisk
v
,
V
,
B
lub
b
, aby dokonać żądanej regulacji.
5. Naciśnij OK, aby potwierdzić swój wybór.
6. Powtarzaj czynności 3-5, jeżeli zamierzasz dokonać dalszych regulacji.
7. Naciśnij przycisk MENU, aby usunąć menu ekranu telewizora.
Parametr
Efekt/Działanie
Sleep Timer
Możesz wybrać czas, po którym telewizor automatycznie przełączy się
w tryb czuwania.
V
Nie
.
v
90 min
Blokada
V
Nie :
Bez zmian
zabezpieczająca
v
Tak :
Naciśnij przyciski pilota, aby wyłączyć telewizor ze
stanu czuwania. Przyciski na telewizorze nie będą działać.
Wyjście AV2
V
TV sygnał audio/video z anteny
AV1 sygnał audio/video z gniazda 1
AV2 sygnał audio/video z gniazda 2
AV3 sygnał audio/video z gniazda 3
v
AV4 sygnał audio/video z gniazd znajdujących się z przodu
telewizora
Zmienianie wielkości obrazu
Funkcja ta pozwala zmieniać wielkość obrazu telewizora.
Naciśnij kilkukrotnie przycisk
na pilocie lub użyj
v
lub
V
, aby wybrać jeden z następujących
formatów, a następnie naciśnij OK, aby potwierdzić swój wybór:
4:3
zwyczajny obraz w formacie 4:3, informacja o pełnym obrazie.
16:9
dla programów nadawanych w formacie 16:9.
4:3
16:9
15
Posługiwanie się systemem menu telewizora
:
Zamiana pozycji programów
Po dokonaniu strojenia telewizora, dzięki tej funkcji można zmienić kolejność
zapamiętanych kanałów.
1.Przyciśnij przycisk MENU na pilocie, aby wyświetlić menu na ekranie telewizora.
2.
Naciskaj przycisk
V
, aby wybrać z menu symbol
i przyciśnij
B
, aby wejść do menu
"Ustawienia".
3.
Naciśnij
V
,
aby wybrać "Sortowanie programów", następnie
B
, aby wejść do menu
"Sortowanie programów".
4.
Naciskaj przycisk
v
lub
V
, aby wybrać kanał, który chcesz przenieść pod inny numer i
naciśnij
B
, aby potwierdzić.
5.
Naciśnij
v
lub
V
, aby wybrać nową pozycję (np. PROG 4) dla wybranego programu i
naciśnij OK, aby zatwierdzić. Wybrany program zostanie przemieszczony do nowej
pozycji, a pozycje pozostałych programów odpowiednio się zmienią.
6.Powtarzaj czynności 4 oraz 5, jeżeli zamierzasz posortować dalsze kanały.
7.Naciśnij przycisk MENU, aby usunąć menu z ekranu telewizora.
Ręczne programowanie telewizora
Po wykonaniu czynności opisanych na początku instrukcji telewizor jest już automatycznie zaprogramowany.
Można jednak wykonać tę operację ręcznie, aby dodać kanał.
1.Przyciśnij przycisk MENU na pilocie, aby wyświetlić menu na ekranie telewizora.
2.Naciśnij przycisk
V
, aby wybrać z menu symbol
i przyciśnij
B
, aby wejść do menu
"Ustawienia".
3.
Naciśnij
V
, aby wybrać "Ręczne ustawianie", a następnie naciśnij
B
, aby wejść do
menu"Ręczne ustawianie".
4.
Naciśnij
V
,
aby wybrać "Programowanie ręczne", a następnie naciśnij
B
, aby wejść do
menu "Programowanie ręczne".
5.
Naciśnij przyciski
v
lub
V
, aby wybrać numer programu dla kanału (np. PROGR 1 dla
TVP1), a następnie naciśnij
B
, aby podświetlić kolumnę "POMIŃ".
6.
Naciśnij
v
, aby wybrać "Nie", a następnie
B
, aby podświetlić kolumnę "SYS".
7.
Naciśnij
v
lub
V
, aby wybrać system nadawczy (B/G dla Europy Zachodnie, D/K dla
Europy Wschodniej) lub "ZEW" (EXT) dla wejścia wideo (AV1, AV2, ...), a następnie
naciśńij
B
, aby zatwierdzić.
8.
Naciskaj przycisk
v
lub
V
, aby wybrać "C" dla kanałów nadawanych normalnie, "S" dla
kanałów nadawanych w sieci kablowej, lub "F" dla wejść bezpośredniej częstotliwości,
następnie naciśnij
B
, aby potwierdzić.
9.
Wybierz pierwszą cyfrę z numeru kanału ("KAN"), następnie drugą cyfrę numeru kanału,
korzystając z przycisków numerycznych pilota
lub naciśnij
v
lub
V
, aby rozpocząć przeszukiwanie do następnego dostępnego kanału.
10.
Jeżeli nie zamierzasz przypisać tego kanału do pamięci o wybranym numerze, naciśnij
v
lub
V
, aby kontynuować przeszukiwanie, aż do żądanego kanału.
11.Jeżeli znajdziesz kanał, którzy chcesz zapisać, naciśnij przycisk OK.
12.Powtarzaj czynności 5-9, jeżeli chcesz zaprogramować więcej programów, następnie naciśnij
przycisk MENU, aby usunąć menu z ekranu telewizora.
B/G
D/K
IRL
EXT
O
- - - - - - -
16
Posługiwanie się systemem menu telewizora:
Nadawanie nazw programom
Nazwy programów są automatycznie pobierane z telegazety, jeżeli jest ona dostępna. Możesz jednak nadać
nazwę programowi lub urządzeniu wideo złożoną z pięciu znaków (liter i cyfr).
Pomijanie pozycji programów
Można zaprogramować telewizor tak, aby podczas wybierania programów przyciskami PROGR+/-, pomijane
były niechciane numery programów. Jednakże przy pomocy przycisków numerycznych wciąż można wybrać
pominięty program.
1.Przyciśnij przycisk MENU na pilocie, aby wyświetlić menu na ekranie telewizora.
2.
Naciśnij przycisk
V
, aby wybrać z menu symbol
i przyciśnij
B
, aby wejść do menu
"Ustawienia".
3.
Naciśnij
V
, aby wybrać "Ręczne ustawianie", a następnie naciśnij
B
, aby wejść do
menu "Ręczne ustawianie".
4.
Naciśnij
V
,
aby wybrać "Programowanie ręczne", a następnie
B
, aby wejść do menu
"Programowanie ręczne".
5.
Naciśnij przyciski
v
lub
V
, aby wybrać kanał, który chcesz nazwać.
6.
Naciskaj
B
, aż podświetlony zostanie pierwszy element z kolumny "NAZWA".
7.
Naciśnij
v
lub
V
, aby wybrać literę lub cyfrę (wybierz "-" dla pustych miejsc),
następnie naciśnij
B
, aby zatwierdzić. Wybierz pozostałe cztery znaki w ten sam
sposób.
8.Po wybraniu wszystkich znaków naciśnij OK, aby zatwierdzić.
9.Powtórz czynności od 5 do 8, jeżeli zamierzasz nadać nazwy innym programom.
10.Naciśnij przycisk MENU, aby usunąć menu z ekranu telewizora.
1.Przyciśnij przycisk MENU na pilocie, aby wyświetlić menu na ekranie telewizora.
2.
Naciśnij przycisk
V
, aby wybrać z menu symbol
i przyciśnij
B
, aby wejść do menu
"Ustawienia".
3.
Naciśnij
V
, aby wybrać "Ręczne ustawianie", a następnie naciśnij
B
, aby wejść do
menu "Ręczne ustawianie".
4.
Naciśnij
V
, aby wybrać "Programowanie ręczne", a następnie
B
, aby wejść do menu
"Programowanie ręczne".
5.
Naciśnij
v
lub
V
, aby wybrać pozycję programu, a następnie
B
, aby podświetlić
kolumnę "POMIŃ".
6.
Naciśnij
v
lub
V
, aby wybrać "Nie" lub "Tak" (jeżeli chcesz, aby dana pozycja była
pomijana) i naciśnij OK, aby zachować.
7.Powtarzaj czynności 5 oraz 6, jeżeli zamierzasz włączyć lub wyłączyć pomijanie
innych programów.
8.Naciśnij przycisk MENU, aby usunąć menu z ekranu telewizora.
T
O
- - - - - - -
O
- - - - - - -
17
Posługiwanie się systemem menu telewizora:
Posługiwanie się menu "Dalsze nastawianie"
Przy pomocy tej funkcji można: a) wyregulować poziom głośności dla każdego kanału, b) ręcznie dostroić kanał
tak, aby uzyskać lepszy odbiór, jeżeli obraz jest zamazany lub c) ustawić wyjście AV dla kodowanych kanałów
(np. dekodera płatnej telewizji). W ten sposób podłączony magnetowid nagra nie zamazany obraz.
O
- - - - - - -
1.Przyciśnij przycisk MENU na pilocie, aby wyświetlić menu na ekranie telewizora.
2.
Naciśnij przycisk
V
i wybierz symbol
znajdujący się na ekranie, następnie
naciśnij
B
, aby wejść do menu "Ustawienia".
3.
Naciśnij
V
, aby wybrać "Ręczne ustawianie", następnie naciśnij
B
, aby wejść do menu
"Ręczne ustawianie".
4.
Naciśnij przycisk
V
, aby wybrać "Dalsze ustawianie", następnie
B
, aby wejść do menu
"Dalsze ustawianie".
5.
Naciśnij
v
lub
V
, aby wybrać odpowiedni program, następnie naciśnij
B
, aby wybrać
a) GŁOS b) ARC lub c) DEKODER. Wybrany wariant zmieni kolor.
a) GŁOS - poziom głośności
Naciskaj
v
lub
V
, aby wyregulować dla kanału poziom głośności (od -7 do +7). Przycisk
OK spowoduje zapisanie zmian. Powtarzaj czynności 5 oraz 6a, jeżeli zamierzasz
dokonać regulacji dla innych kanałów.
b) ARC - automatyczne dostrajanie
Naciśnij przyciski
v
lub
V
, aby dostroić kanał w zakresie od -15 do +15. Przyciśnij OK,
aby potwierdzić. Powtarzaj czynności 5 oraz 6c, jeżeli zamierzasz dokonać regulacji dla
innych kanałów.
c) DEKODER
Naciśnij przyciski
v
lub
V
, aby wybrać AV1 lub AV2 dla pozycji programu i naciśnij
OK, aby zatwierdzić. Teraz możesz podłączyć dekoder do gniazda AV1 lub AV2
znajdującego się z tyłu odbiornika, a pochodzący z niego obraz będzie się pojawiał na
ekranie po wybraniu tego numeru. Powtarzaj czynności 5 oraz 6d, jeżeli zamierzasz
dokonać regulacji dla innych kanałów.
6.Naciśnij przycisk MENU, aby usunąć menu z ekranu telewizora.
18
Posługiwanie się systemem menu telewizora:
Regulacja geometrii obrazu dla sygnału RGB
Podczas podłączania źródła obrazu typu RGB, np. Sony Playstation, może okazać się, że konieczna jest regulacja
geometrii obrazu.
1.Naciśnij przycisk
, aby wybrać źródło sygnału RGB
.
2.Przyciśnij przycisk MENU, aby wyświetlić menu na ekranie telewizora.
3.
Naciśnij przycisk
V
i wybierz symbol
znajdujący się na ekranie, następnie
naciśnij
B
, aby wejść do menu "Ustawienia"
4.
Naciśnij
V
, aby wybrać z menu "Ręczne ustawianie", następnie
B
, aby wejść do menu
"Ręczne ustawianie"
5.
Naciśnij przycisk
V
, aby wybrać z menu "Ustawienia RGB", następnie naciśnij
B
, aby
wejść do podmenu "Ustawienia RGB".
6.
Naciśnij
B
,
aby wybrać Centrow. poziomie, następnie
v
lub
V
, aby wyregulować
położenie środka obrazu w zakresie od -10 do +10. Zapisz nowe ustawienia,
przyciskając OK.
7.
Naciśnij
B
,
aby wybrać "Wielkość poziomie", następnie
v
lub
V
, aby wyregulować
wielkość obrazu w poziomie, w zakresie od -10 do +10. Zapisz nowe ustawienia
przyciskając OK.
8.Naciśnij przycisk MENU, aby zniknęło ono z ekranu telewizora.
1
Regulacja obrotu obrazu
Z powodu pola magnetycznego Ziemi obraz może okazać się przechylony. W takim przypadku można na nowo
wyregulować obraz.
1.Przyciśnij przycisk MENU na pilocie, aby wyświetlić menu na ekranie telewizora.
2.
Naciśnij przycisk
V
i wybierz symbol
, znajdujący się na ekranie, następnie
naciśnij
B
, aby wejść do menu "Ustawienia".
3.
Naciśnij
V
, aby wybrać "Ręczne ustawianie", a następnie naciśnij
B
, aby wejść do
menu "Ręczne ustawianie".
4.
Naciśnij
V
, aby wybrać "Obrót obrazu", następnie
B
, aby wejść do menu "Obrót
obrazu".
5.
Naciśnij przyciski
v
lub
V
, aby obrócić obraz w zakresie od -5 do +5 i przyciśnij
przycisk OK, aby zachować.
6.Naciśnij przycisk MENU, aby usunąć menu z ekranu telewizora.
- - - - -
- - - - -
19
Posługiwanie się systemem menu telewizora:
Wprowadzanie identyfikatora osobistego
Dzięki tej funkcji można wprowadzić do telewizora identyfikator osobisty, który pozwoli odszukać właściciela,
jeżeli telewizor zostanie ukradziony i odzyskany. Ten kod bezpieczeństwa można jednak wprowadzić tylko raz -
należy go zanotować!
1.Przyciśnij przycisk MENU na pilocie, aby wyświetlić menu na ekranie telewizora.
2.
Naciśnij przycisk
V
i wybierz symbol
, znajdujący się na ekranie, następnie
naciśnij
B
, aby wejść do menu "Ustawienia".
3.
Naciśnij
V
,
aby wybrać "Ręczne ustawianie", następnie naciśnij
B
, aby wejść do
menu "Ręczne ustawianie".
4.
Naciśnij przycisk
V
, aby wybrać z menu "Ident. osobisty", następnie naciśnij
B
, aby
wejść do podmenu "Ident. osobisty".
5.
Naciskaj przycisk
v
lub
V
, aby wybrać pierwszy z 11 znaków (litera, cyfra albo
odstęp), następnie naciśnij
B
, aby przejść do następnego znaku.
6.Powtarzaj czynności 5 dla wszystkich znaków z kodu.
7.Naciśnij OK, aby zachować.
Na ekranie pojawi się okienko z żądaniem ponownego
wprowadzenia kodu.
8.
Przyciśnij ponownie przycisk OK, aby ostatecznie zachować kod, lub naciśnij
b
, aby
skasować.
9.Naciśnij przycisk MENU, aby usunąć menu z ekranu telewizora.
Regulacja i nadawanie nazw sygnałom wejściowym
Dzięki tej funkcji można automatycznie formatować wejściowe sygnały źródłowe i nadawać im nazwy.
1.Przyciśnij przycisk MENU na pilocie, aby wyświetlić menu na ekranie telewizora.
2.
Naciśnij przycisk
V
i wybierz symbol
znajdujący się na ekranie, następnie
naciśnij
B
, aby wejść do menu "Ustawienia".
3.
Naciśnij przycisk
V
, aby wybrać z menu "Nastawianie AV", następnie
B
, aby wejść do
menu "Nastawianie AV".
4.
Naciskaj przycisk
v
lub
V
, aby wybrać żądane wejście AV (AV1, 2, 3 lub 4).
5.
Przyciskiem
B
wybierz "NAZWA".
6.
Naciskaj
v
lub
V
, aby wybrać pierwszy znak nazwy i naciśnij
B
, aby przejść do
następnego znaku.
7.Powtórz czynność 7, aby wybrać pozostałe 4 znaki, a następnie naciśnij OK, aby
zachować.
8.Powtórz czynności 4-8 dla pozostałych źródeł sygnału AV, następnie naciśnij przycisk
MENU, aby usunąć menu z ekranu telewizora.
-
- - - - - -
AV 1
AV 2
AV 3
AV 4
AV 1
AV 2
AV 3
AV 4
AV 1
AV 2
AV 3
AV 4
AV 1
AV 2
AV 3
AV 4
20
Dodatkowy osprzęt
Wzorując się na poniższych rysunkach, do telewizora można podłączyć różnorodny sprzęt audio i video.
Podłączanie urządzeń dodatkowych
Aby odebrać sygnał wejściowy z podłączonego sprzętu, należy wybrać to gniazdo, do którego podłączone jest dane
urządzenie.
1.Na podstawie powyższych rysunków, podłącz sprzęt do odpowiedniego gniazda telewizora.
2.Naciskaj przycisk
pilota, aż odpowiedni symbol wejścia pokaże się na ekranie telewizora (patrz tabela poniżej):
* automatyczne rozpoznanie sygnału w zależności od podłączonego sprzętu
3.Włącz podłączony sprzęt.
Na ekranie telewizora pojawi się obraz z podłączonego urządzenia (jeśli nadaje ono
sygnał obrazu).
4.Naciśnij
, aby powrócić do normalnego obrazu.
Uwaga: Aby uniknąć zniekształceń obrazu, nie wolno podłączać sprzętu jednocześnie do gniazd
F
oraz
G
.
Podłączanie słuchawek
Włącz słuchawki do gniazda
E
z przodu telewizora.
Podłączanie sprzętu HiFi audio
Połącz dodatkowy sprzęt audio do gniazda wyjściowego
D
z tyłu telewizora.
Symbol na
ekranie
Sygnał wejściowy z gniazda
•
Wejściowy sygnał audio/video z wejścia
A
lub sygnał* RGB z wejścia
A
•
Wejściowy sygnał audio/video z wejścia
B
lub sygnał* S-video z wejścia
B
•
Wejściowy sygnał audio/video z wejścia
C
lub sygnał* S-video z wejścia
C
•
Sygnał wejściowy S-video z 4-szpilkowego gniazda DIN
F
lub sygnał* video z gniazda cinch
G
lub sygnał audio z gniazd cinch
H
1
2
3
4
B C
D
A
DVD
Hi-Fi
Playstation
Magnetowid
Dekoder
F
G
H
E
100Hz
Kamera
8mm/Hi8
Kamera
S-VHS/Hi8
21
Dodatkowe urz
ądzenia
*
Jeżeli występują zakłócenia obrazu lub dźwięku, wówczas należy odsunąć magnetowid od telewizora.
*
Kiedy podłączasz monofoniczny magnetowid, podłącz przewód tylko do białych gniazd telewizora i
magnetowidu.
*
Więcej informacji o wybieraniu sygnału wejściowego z gniazda Scart 2
/
podano na stronie 14.
*
Jeśli podłączasz zewnętrzny sprzęt hi-fi, regulację głośności możesz wykonać przez zmianę w menu dźwięku
ustawienia dla słuchawek - zapoznaj się z sekcją "Regulacja obrazu i dźwięku".
Dodatkowe informacje dotycz
ące podłączania urządzeń
2
s
2
Smartlink jest to bezpośrednie łącze pomiędzy telewizorem i magnetowidem.
Do użycia systemu Smartlink potrzebny jest:
*
Magnetowid obsługujący Smartlink, NexTView Link, Easy Link lub Megalogic.
*
Pełny, 21-stykowy kabel Euro, umożliwiający podłączenie magnetowidu do gniazda Scart 2
/
.
Zalety Smartlink to:
*
Informacje na temat zaprogramowanych kanałów przekazywane są z telewizora do magnetowidu.
*
Przy pomocy NexTView można łatwo programować magnetowid.
*
Bezpośrednie nagrywanie: podczas oglądania telewizji wystarczy nacisnąć jeden przycisk magnetowidu, aby
nagrać dany program.
Aby uzyskać więcej informacji na temat Smartlink, należy zapoznać się z instrukcją magnetowidu.
Smartlink
2
s
2
Przy pomocy przycisków znajdujących się pod pokrywką pilota, można sterować także innymi urządzeniami firmy
Sony.
1.Otwórz pokrywkę pilota.
2.Przestaw przełącznik VTR 1234 DVD w położenie odpowiadające urządzeniu, którym chcesz sterować:
VTR1 magnetowid Beta
VTR2
magnetowid 8 mm
VTR3
magnetowid VHS
VTR4 Digital Video (DCR-VX 1000/9000E,VHR-1000)
DVD
Digital Video Disk
3.Użyj przycisków pilota do zdalnego sterowania dodatkowymi urządzeniami.
*
Jeżeli sprzęt ten ma przełącznik trybu sterowania (COMMAND MODE), należy go przestawić w to samo
położenie, co przełącznik VTR 1234 DVD pilota.
*
Jeżeli sprzęt ten nie ma danej funkcji, odpowiedni przycisk pilota nie będzie działał.
Zdalne sterowanie innym sprzętem Sony
22
Informacje dodatkowe
Dane techniczne
System TV
B/G/H, D/K
System koloru
PAL, SECAM
NTSC 3.58, 4.43 (tylko Video In)
Zakresy kanałów
Patrz "Tabela kanałów" na tej stronie.
Kineskop
FD Trinitron
Około 72cm (29 cale), kąt odchylania 104˚
Gniazda z tyłu
/
21-stykowa łączówka Euro (norma CENELEC)
zawierająca wejście audio/video, RGB oraz
wyjście telewizyjne audio/video.
/
21-stykowa łączówka Euro (norma CENELEC)
zawierająca wejście audio/ video, S-video oraz
wyjście audio/video monitora.
/
21-stykowa łączówka Euro (norma CENELEC)
zawierająca wejście audio/video, S-video oraz
wyjście audio/video monitora.
L/G/S/I
Gniazda RCA, regulowany poziom wyj ciowy sygnału
R/D/D/D
dźwiękowego
Wyjścia dla zewnętrznych głośników: 2-stykowe DIN (5)
RF In
Gniazda z przodu
Wejście sygnału video - gniazdo cinch
Wejście sygnału audio - gniazdo cinch
Wejście sygnału S-video - gniazdo 4-stykowe DIN
Gniazdo słuchawkowe stereo mini
1
s
1
2
s
2
3
s
3
4
4
s
4
Moc wyjściowa dźwięku
Lewy / prawy: 2 x 20 W (moc muzyczna)
2 x 10 W (moc skuteczna)
Gło nik basowy:30 W (moc muzyczna)
15 W (moc skuteczna)
Pobór mocy
158W
Wymiary (szer. x wys. x gł.)
Około 765x635x570 mm
Ciężar
Około 59kg
Akcesoria w wyposażeniu
Pilot RM-893 (1 szt.)
Baterie do pilota (zgodne z normą IEC) (2 szt.)
Inne funkcje
Płaski kineskop Trinitron, cyfrowa redukcja zakłóceń,
Pamiêæ 2000 stron telegazety
, korektor graficzny
identyfikator osobisty, funkcja sleep, NexTView.
Dane techniczne oraz konstrukcja mogą ulec
zmianie.
Tabela kanałów
Odbierane kanały
Oznaczenia kanałów
B/G/H
E2..12, 21..69
C02..C12, C21..69
CABLE TV (1)
S1..S41
S01..S41
CABLE TV (2)
S01..S05
S42..S46
M1..M10
S01..S10
U1..U10
S11.S20
ITALIA
A, B..H, H1, H2
C13, C14..C20, C11, C12
CABLE TV
S1..S41
S01..S41
S01..S05
S42..S46
23
Informacje dodatkowe
Oto kilka prostych rozwiązań problemów, które mogą niekorzystnie wpływać na obraz i dźwięk.
•
Jeżeli w dalszym ciągu występują problemy, oddaj swój telewizor do naprawy wykwalifikowanemu
personelowi.
•
NIGDY nie zdejmować obudowy.
Problemy i ich usuwanie
Problem
Rozwiązanie
Brak obrazu (ekran jest ciemny),
brak dźwięku
•
Włącz wtyczkę telewizora do sieci.
•
Wciśnij przycisk
znajdujący się z przodu telewizora.
•
Jeżeli świeci się wskaźnik
, wciśnij na pilocie
przycisk
lub przycisk numeru programu.
•
Sprawdź podłączenie anteny.
•
Wyłącz telewizor na 3 lub 4 sekundy, następnie włącz go
ponownie, używając przycisku
, znajdującego się z
przodu telewizora.
Słaba jakość obrazu lub jego brak
(ekran jest ciemny), ale dobra
jakość dźwięku.
•
W systemie menu wybierz "Regulacja
obrazu". Wyreguluj jasność, obraz oraz balans kolorów.
•
Z menu regulacji obrazu wybierz "Zerowanie", aby
przywrócić ustawienia fabryczne.
Słaba jakość obrazu podczas
oglądania sygnału wideo RGB.
•
Wciskaj przycisk
pilota, aż na ekranie zostanie
wyświetlony symbol RGB
.
Dobry obraz, brak dźwięku
•
Naciskaj na pilocie przycisk
.
•
Jeśli na ekranie wyświetlony jest symbol
, wciśnij
przycisk
pilota.
Brak koloru w programach
kolorowych
•
Używając systemu MENU, wybierz menu regulacji
koloru i dokonaj regulacji.
•
Z menu regulacji obrazu wybierz "Zerowanie", by
przywrócić ustawienia fabryczne.
Zniekształcony obraz przy
zmianach programu lub czytaniu
telegazety
•
Wyłącz urządzenia podłączone do gniazd znajdujących
się z tyłu telewizora.
Nie działa pilot
•
Wymień baterie.
Miga wskaźnik stanu czuwania
na telewizorze
•
Skontaktuj się z najbliższym centrum serwisowym Sony.
Zakłócenia w obrazie z
zewnętrznego urządzenia.
Zmniejszyć poziom ostro ci.
/
24
CZ
Bezpečnostní informace
Televizní přistroje pracují s velmi vysokým napětím. Aby nedošlo k požáru nebo úrazu elektrickým proudem, ři"te se
prosím následující informaceni.
Bezpečnostní informace
Všeobecné pokyny
•
Tento
televizor je určen pro příjem a reprodukci audio a video-signálů.
Jakékoli jiné využití přístroje není přípustné.
•
Nikdy neotevírejte zadní kryt přístroje.
•
Opravy
svěřte pouze kvalifikovaným osobám!
•
Přístroj
nevystavujte působení deště ani vlhkosti.
Pokyny pro bezpečné umístění
•
Nezakrývejte
ventilační otvory. Pro dostatečný přístup vzduchu je kolem přístroje třeba
mezera alespoň 5 cm.
•
Přístroj
neumís1ujte na místa vystavená vysokým teplotám, vlhkosti nebo nadměrné
prašnosti.
•
Přístroj
neumís1ujte na místa, kde by byl vystaven mechanickým vibracím.
•
Televizor
umístěte pouze na takové místo, které svou nosností odpovídá jeho váze.
Bezpečnost provozu
•
Přístroj
napájejte pouze střídavým napětím 220 ~ 240 V, 50 Hz.
•
Pokud
do přístroje vnikne ventilačními otvory jakákoli tekutina nebo pevný předmět,
odpojte jej od el. sítě. Ihned jej pak nechejte zkontrolovat!
•
Pokud
přístroj nebudete používat, nenechávejte jej v pohotovostním režimu. V příipadě,
že televizor nebudete delší dobu používat, odpojte jej od el. sítě.
•
Pří
odpojování od el. sítě netahejte za kabel, ale pouze za vidlici.
•
V
případě bouřky odpojte televizor od el. sítě a odpojte anténní přívod. V opačném
případě může dojít k poškození přístroje elektrickým výbojem.
Údržba
•
Obrazovku
čistěte jemným, lehce navlhčeným hadrem. Nepoužívejte brusné pasty, apod.
•
Vrstva
prachu nebo nikotinu může způsobit nadměrné zahřívání vnitřních částí
televizoru. Dlouhodobé přetrvávání tohoto stavu zvyšuje riziko poškození přístroje a
zkracuje jeho životnost. Z tohoto důvodu nechejte svůj přístroj kontrolovat každých pět
let v odborném servisu.
1
Bezpečnostní informace
Všechny televizory používají ke své funkci mimořádně vysoká napětí. Abyste předešli požáru nebo elektrickému šoku, ři"te se
prosím bezpečnostními pokyny, které jsou uvedeny na dodaném modrém listu.
Pou ívjete v dy stolky se siln j í a stabiln j í konstrukcí p im enou váze a velikosti této televize. Vzhledem k jedine nému
plovoucímu designu této TV, doporu uje spole nost SONY pou ívat originální stolek SU-29FQ1 navr ený pro tuto TV. Pokud
nebudete pou ívat doporu ený stolek, je d le ité zajistit aby sk í ka, nebo st l poskytoval dostatek prostoru pro 3 nohy na kterých
televizor stojí.
Bezpečnostní informace
Obsah
Obsah
Instalace
1. Kontrola dodaného příslušenství
2. Vložení baterií do dálkového ovladače
3. Připojení televizoru
4. Zapnutí televizoru
5. Použití ovládacího knoflíku
6. Vyladění televizoru
7. Vyhledání video kanálu
2
2
3
4
4
5
5
Obsluha
Přehled tlačítek televizoru
Přehled tlačítek dálkového ovladače
NexTView
Teletext
Použití systému nabídek televizoru
Ovládání obrazu
Ovládání zvuku
Použití nabídky Spec. funkce
Změna uspořádání televizních kanálů
Manuální vyladění televizoru
Pojmenování kanálu
Přeskočení pozic programů
Použití funkce Rozšířené předvolby
Nastavení natočení obrazu
Nastavení geometrie obrazu pro zdroj signálu RGB
Zadání osobního ID čísla
Předvolení a pojmenování vstupních signálů
6
7
8
10
12
12
13
14
15
15
16
16
17
18
18
19
19
Další zařízení
Připojení dalšího zařízení k televizoru
Další informace týkající se připojování zařízení
Smartlink
Dálkové ovládání dalších zařízení firmy Sony
20
21
21
21
Další informace
Technické údaje
Tabulka zobrazení kanálů
Odstraňování chyb
22
22
23
2
Při instalaci televizoru a zobrazení televizních
programů postupujte podle kroků 1-7.
Instalace
1. Kontrola dodaného příslušenství
2. Vložení baterií do dálkového ovladače
Baterie
Při vkládáni baterií do dálkového ovladače vždy dodržujte polaritu baterií
Použité baterie vždy likvidujte s ohledem na životní prostředí.
+
- -
+
Dálkový ovladač
-
+
+
-
3
Instalace
3. Připojení televizoru
1. Podle vyobrazení připojte stávající anténní svod k videorekordéru.
2. Podle vyobrazení připojte anténní vedení ze zásuvky RF OUT na zadní straně
videorekordéru do anténní zásuvky na zadní straně televizoru.
3. Propjte kabel SCART (pokud se rozhodnete ho použít) se vstupem označeným AV2
na zadní straně televizoru.
4. Připojte videorekordér k elektrické síti a zapněte ho.
5. Do videorekordéru vložte předem nahranou pásku a stiskněte tlačítko PLAY
(přehrávat).
1. Připojte stávající anténní svod do zásuvky na zadní straně televizoru označené
.
Připojení antény k televizoru
Připojení antény a videorekordéru k televizoru
Kabel typu SCART je
volitelný. Jestliže je
ho však možné použít,
toto doplňkové
propojení může
zlepšit kvalitu obrazu
a zvuku v režimu
přehrávání.
OUT
IN
AERIAL
ANTENNA
AC IN
Jestliže nebudete
televizor připojovat k
videorekordéru, připojte
prosím anténní svod
(podle vyobrazení vlevo)
a přejděte k oddílu
4.Zapnutí televizoru .
Pokud budete televizor
připojovat k
videorekordéru, přečtěte
si prosím níže uvedený
oddíl.
(stávající anténní svod)
(kabel SCART - není
součástí dodávky)
4
Instalace
1. Zapojte zástrčku televizoru do sít'ové zásuvky (220-240V ~, 50Hz) a zapněte ho.
2. Stiskněte vypínač
na přední straně televizoru.
Jestliže svítí indikátor úsporného režimu umístěný na přední straně televizoru,
zapněte televizor stisknutím tlačítka TV
na dálkovém ovladači. Bu"te prosím trpěliví, nebot' obraz se
může objevit na televizní obrazovce až po chvíli.
4. Zapnutí televizoru
5. Použití ovládacího knoflíku
/
Potvrzení své volby provedete
stisknutím ovládacího knoflíku
uprostřed.
V nabídkách se můžete pohybovat
stisknutím příslušných šipek.
Pohyb ovládacím knoflíkem
Stisknutí ovládacího knoflíku
5
Instalace
Před vyladěním televizoru budete požádáni, abyste nastavili svůj jazyk a zemi.
6. Vyladění televizoru
Language/Country
Select Language:
Confirm:
Language
Country
Čeština
Dansk
Deutsch
English
Espa
ñ
ol
Français
Italiano
Vyp
Rakousko
Belgie
Bulharsko
Česká rep.
Dánsko
Finsko
Čeština
Jazyk/Země
Jazyk
Země
Vyber zemi:
Potvrzeni: OK
1. Na obrazovce televizoru se objeví nabídka Language/Country se
zvýrazněným slovem English.
2. Stisknutím tlačítka
v
nebo
V
na dálkovém ovladači zvolte jazyk
dle vlastního výběru a potom pro potvrzení stiskněte tlačítko OK.
Na obrazovce se objeví nabídka zemí se zvýrazněným slovem
OFF (vypnuto). Pokud nechcete, aby byly kanály uloženy v
daném pořadí kanálů, počínaje pozicí programu 1, zvolte 'OFF'.
3. Stisknutím
v
nebo
V
zvolte zemi, v níž chcete televizor
provozovat a svou volbu potvr"te stisknutím tlačítka OK.
4. Na obrazovce televizoru se objeví nabídka automatické ladění
ve vámi zvoleném jazyce. Pro potvrzení stiskněte tlačítko OK.
5. Ujistěte se, že je anténa připojena podle pokynů a pro potvrzení
stiskněte tlačítko OK. Televizor pro vás začne automaticky
vyhledávat a ukládat všechny dostupné kanály. To může trvat
několik minut - bu"te prosím trpěliví a nemačkejte žádná
tlačítka.
6. Když televizor naladí všechny dostupné kanály, na obrazovce se
objeví nabídka Třídění programů, která vám umožňuje změnit
pořadí kanálů v televizoru. Pokud chcete změnit pořadí kanálů,
zvolte stisknutím tlačítka
v
nebo
V
kanál, který chcete přemístit
a potom stiskněte
B
. Stisknutím tlačítka
v
nebo
V
zvolte pozici
nového čísla programu pro vámi zvolený kanál a potom pro
potvrzení stiskněte tlačítko OK. Zvolený kanál se nyní přesune
na svou novou pozici programu a také ostatní kanály se podle
toho přemístí. Pokud chcete setřídit pořadí dalších kanálů
televize, tento postup opakujte.
7. Stisknutím tlačítka MENU odstraňte nabídku z televizní
obrazovky.
8. Stisknutím tlačítek PROGR+/- nebo tlačítek s čísly zobrazíte
požadované televizní kanály.
Poznámka: Jestliže budete chtít automatické vyla"ování v
kterémkoliv okamžiku zastavit, stiskněte tlačítko OK.
Pokud jste připojili k televizoru videorekordér, budete muset nyní vyhledat kanál s videem.
1. Opakovaně tiskněte tlačítka PROGR+/- na dálkovém ovladači, dokud se na obrazovce televizoru neobjeví obraz z videa.
Poznámka: Jestliže chcete přesunout kanál s videem na pozici jiného programu, přečtěte si v této příručce oddíl
Řazení televizních kanálů .
7. Vyhledání video kanálu
1
2
3
6
5
4
7
8
9
0
6
Obsluha
Přehled tlačítek televizoru
Tlačítka pro ovládání hlasitosti.
Jejich stisknutím můžete zvýšit (+)
nebo snížit (-) hlasitost.
Tlačítko pro video vstup.
Jeho stisknutím můžete zvolit vstupní
signál z videorekordéru atd.
Tlačítka pro přepnutí na vyšší
(+) nebo nižší (-) program.
Jejich stisknutím lze navolit
požadovaný televizní kanál.
Pro zpřístupnění čelního ovládacího panelu
se vstupními konektory stiskněte ovládací
panel směrem nahoru (viz obr.)
Tlačítko obnovení původního
nastavení.
Po stisknutí tohoto tlačítka se zvuk a
obraz vrátí do hodnot nastavených z
továrny. Na obrazovce se objeví logo
SONY a poté se objeví obrazovka
“
Automatického ladění
”
. Pokud si
nepřejete aby proběhlo automatické
ladění znovu, stiskněte
b
tlačítko na
dálkovém ovládání.
100Hz
100Hz
Ovládací panel se vysune směrem
dolů.
7
Vypnutí zvuku
Jeho stisknutím vypnete zvuk televizoru.
Opětovným stisknutím zvuk obnovíte.
Návrat do režimu televizoru
Jeho stisknutím se vrátíte z teletextového nebo
pohotovostního režimu do normálního provozního
režimu.
Výběr teletextu
Jeho stisknutím zapnete nebo vypnete teletext.
Výběr Elektronického průvodce programy (EPG)
Jeho stisknutím zapnete nebo vypnete EPG.
Zmrazení obrazu
Pokud si chcete poznamenat nějaké informace z
televizní obrazovky, např. telefonní číslo, stiskněte
toto tlačítko. Jeho opětovným stisknutím se vrátíte
do normálního režimu televizoru.
Výbìr kanálù
Stisknutím těchto tlačítek s čísly můžete provádět
výběr kanálů.
U dvoumístných čísel programů, např. 23, stiskněte
nejprve -/-- a potom tlačítka 2 a 3.
Zobrazení nabídky pro nastavení obrazu
Po jeho stisknutí můžete provést změny v
nastavení obrazu. Zobrazení této nabídky zrušíte
stisknutím tlačítka OK.
Zobrazení nabídky pro nastavení zvuku
Po jeho stisknutí můžete provést změny v
nastavení zvuku. Zobrazení této nabídky zrušíte
stisknutím tlačítka OK.
Zobrazení tabulky kanálù
Stiskněte tlačítko OK. Stisknutím
v
nebo
V
zvolte
požadovaný kanál a potom stiskněte
B
pro
potvrzení.
Nastavení hlasitosti televizoru
Jeho stisknutím nastavíte hlasitost televizoru.
Obsluha
Přehled tlačítek dálkového ovladače
Dočasné vypnutí televizoru
Jeho stisknutím televizor dočasně vypnete. Po jeho
opětovném stisknutí televizor opustí úsporný režim a zapne
se. Kvůli úspoře energie doporučujeme, abyste televizor
zcela vypínali, když jej nepoužíváte. POZNÁMKA: Jestliže
televizor nepřijímá po dobu 15 - 30 minut žádný televizní
signál a není stisknuto žádné tlačítko, automaticky se přepne
do úsporného režimu.
Vyvolání informací na obrazovce
Jeho stisknutím vyvoláte všechny údaje na obrazovce. Jeho
opětovným stisknutím jejich zobrazení zrušíte. V režimu
Teletext jeho stisknutím vyvoláte stránku s rejstříkem
(obvykle stránka 100) a jeho opětovným stisknutím její
zobrazení zrušíte.
Výběr vstupního signálu nebo zmrazení teletextu
Jeho stisknutím můžete zvolit vstup z některého z
konektorů televizoru (viz oddíl Použití přídavných zařízení).
V režimu Teletext jeho stisknutím zmrazíte zobrazenou
stránku. Jeho opětovným stisknutím toto zmrazení zrušíte.
Návrat na předchozí kanál
Jeho stisknutím se vrátíte na předchozí kanál, který jste
sledovali. Poznámka: Toto lze provést pouze po sledování
stávajícího kanálu po dobu 5 sekund.
Změna formátu obrazovky
Jeho stisknutím změníte velikost obrazovky.
Klávesy pro Fastext
Podrobnosti najdete v příručce v oddílu Teletext.
Výběr položek nabídky
Pomocí tlačítka OK a kláves se šipkami můžete volit
možnosti, které jsou k dispozici v systému nabídek tohoto
televizoru.
Výběr kanálů
Jeho stisknutím můžete zvolit požadovaný kanál.
Zobrazení nabídky
Toto tlačítko stiskněte, jestliže chcete použít systém nabídek
televizoru. Jeho opětovným stisknutím nabídku z televizní
obrazovky odstraníte.
Obnovení hodnot nastavených ve výrobě.
Otevřete víčko dálkového ovladače a
stisknutím tohoto tlačítka obnovte výrobní
nastavení obrazu a zvuku. Když se na
obrazovce
televizoru
objeví
nabídka
Instalace', podívejte se do příručky do oddílu
Výběr jazyka a země, abyste případně mohli
změnit svou volbu jazyka a země.
Zobrazení času.
Po otevření víčka dálkového ovladače můžete
stisknutím tohoto tlačítka zobrazit na obrazovce čas.
Obsluha video přístroje
Po otevření víčka dálkového ovladače můžete
stisknutím těchto tlačítek ovládat svůj video přístroj
(prostudujte si prosím příručku ke svému
videorekordéru).
Dálkové ovládání dalších zařízení firmy Sony
Otevřete kryt dálkového ovladače. Volič VTR 1234
DVD nastavte podle zařízení, které chcete ovládat:
VTR1:Videorekordér Beta
VTR2: Videorekordér 8mm
VTR3: Videorekordér VHS
VTR4: Digitální video (DCR-VX 1000/9000E,
VHR-1000)
DVD: Digitální video disk
K ovládání zařízení použijte tlačítka na dálkovém
ovladači.
8
Obsluha
*podle dostupnosti služby
NexTView je elektronický programový průvodce umožňující snadný přístup k programovým informacím až na
týden dopředu na všech kanálech podporujících tento systém. Přesáhne-li objem dat kapacitu paměti Nex-
TView, zobrazí se méně, informací.
Při vyhledávíní informací můžete hledat podle témat (sport, umění, apod.), data nebo času (např . vysílání mezi 20.00
a 21.00). Po nalezení programu se na něj můžete ihned přepnout. Abyste nezapomněli, můžete nastavit časový
spínač nebo videorekordér pomocí Smartlink.
Za informace je zodpovědný provozovatel NexTView. Televizor má vliv pouze na jejich reprodukci, tj. strukturu
menu a vyhledávání (pokud není upraveno provozovatelem). Je-li od provozovatele zadán způsob pohybu po
průvodci, základní pohyby joysticku mají stejné funkce jako při ovládání Sony.
Nejprve musíte zvolit kanál přenásející NexTView službu. V takovém připadě je zobrazena indikace NexTView
jakmile jsou všechna data k dispozici. Jestilže potom změníte příjmaný kanál, je NexTView služba stále k použití.
Ovládáni v systému Sony
1. Stisknutím
zapnete/vypnete NexTView.
2. Tlačítka na joysticku použijte následovně:
•
pohyb po sloupci nahoru a dolů:
V
nebo
v
•
přesun na levé sloupce (datum a čas):
b
•
přesun do pravého sloupce:
B
potvrzení volby: OK
(a)
jste-li ve sloupcí datum, čas nebo téma (ikona), přehled programů se bude měnit podle volby.
(b)
Jste-li v seznamu programů potvrzením volby probíhajícího vysílání se do něj ihned přepnete. Zvolíte-li
vysílání, které teprve bude, zobrazí se menu Long Info (viz. také Používání menu Long Info)
Popis ikon (témat)
celkový seznam nabídek
sport
užvatelské nastavení
zábava
zpravodajství
děti
filmy
návrat do předchozího menu
NexTView*
7
Tue
07 Tue
12:38
8
Wed
10
Fri
11
Sat
12
Sun
13
Mon
9
Thu
12
SWISS
Star Wars
Super RTL
Fantasy film, USA, 1996
Werner - Beinhart
Pro 7
Flui grüsst den Rest der Welt
Kabel 1
Once upon a time in the West
Euronews
International News
RTL Plus
10:35 - 12:45
10:20 - 12:00
10:45 - 10:50
11:00 - 11:20
11:45 - 12:50
TXT
TPS / RINGIER
Tue 07. 04 .98
9
Obsluha
NexTView
Uživatelské nastaveni
Zvolíte-li
nebudou nastaveny žándé parametry. V
si můžete provést vlastní předvolbu témat (ikon) a
omezit vyhledávání pouze na ta, která jsou označena.
1. Pomocí
v
nebo
V
označte
. Potvrd´te
B
.
Zobrazí se menu osobní nastavení.
2. Označte položku, kterou chcete označit použijte
v
nebo
V
. Potvrd´te stiskem OK. Další položky označíte opakování
kroku 2.
3. Po dokončení seznamu označte pomocí
B
symbol
a stiskněte OK.
Používání menu Long lnfo
1. V seznamu programů si vyberte ten, který budete chtít sledovat (použijte
v
nebo
V
. Stiskněte OK.
Zobrazí se menu Long Info.
2. Pomocí
b
označte Stiskněte OK.
Informace se přenese do připojeného videorekordéru.
Nastavení videorekordéru
3. Pomocí
b
označte VPS/PDC.
Pokud je tato funkce zapnutá, máte zaručenu nahrávku celého programu i v případě, že dojde ke změně
vysílacího času (platí pro případ, kdy je vysílán signál VPS/PDC).
•
Zvolte
Vyp nebo Zap tlačítkem OK.
4. Stisknutím
V
označte Rychlost.
Vyberte si mezi standardní délkou (SP) nebo dvojnásobnou délkou (LP). V módu LP můžete na kazetu zazna-
menat dvakrát více než v módu SP. Je to ale na úkor kvality obrazu.
•
Zvolte SP
nebo LP tlačítkem OK.
5. Stisknutím
V
označte Nastavení video.
Vyberte si, který z připojených videorekordérů má být programován.
•
Zvolte
VCR 1 nebo 2 tlačítkem OK.
Opuštění menu
6. Pomocí
B
označte
Stiskněte OK.
Vrátili jste se do předchozího menu.
07 Tue
12:38
Address Mapping
The position of the addresses in the
OSDA is shown in the following diagram.
The position values of the DPW are set
to '0'.
If other values are set, the complete
combination will be scrolled.
Example:
if the DPWC is set to '63', the char-
Speed
Timer Prog
VPS/PDC
SP
VCR1
On
This channel has been set for a timer
First nextTView/EPG-Providers in Europe
SWISS
TXT
TPS / RINGIER
nexTView
Tue 07. 04 .98
Speed
VPS/PDC
VCR1
On
SP
VCR Setup
10
Obsluha
Většina televizních kanálů vysílá informace prostřednictvím teletextu. Stránka s rejstříkem teletextové služby (obvykle stránka
100) vám poskytuje informace o jejím využití. Použijte prosím televizní kanál se silným signálem, jinak se mohou v teletextu
vyskytnout chyby.
Teletext
Zapnutí a vypnutí teletextu
1. Zvolte televizní stanici, která teletext vysíá.
2. Zapnete teletextu jej stisknutím
.
3. Stiskněte dvakrát tlačítko
. Objeví se textová stránka na TV obraze.
4. Stisknutím
nebo 3. stiskem
teletext vypnete.
Vyvolání stránky s rejstríkem.
Tuto stránku (obvykle stránku 100) vyvoláte stisknutím tlacítka *. Jeho opetovným
stisknutím její zobrazení zrušíte.
Použití dalších funkcí teletextu
Výběr následující nebo předchozí stránky
Stisknutím tlačítka
nebo
na dálkovém ovladači zvolíte předchozí nebo následující
stránku.
Výběr podstránky
Teletextová stránka se může skládat z několika podstránek. V takovém případě je zobrazen
informační řádek, který ukazuje počet podstránek. Podstránku zvolíte stisknutím
v
nebo
V
.
Zmrazení teletextové stránky
Stránku zmrazíte stisknutím tlačítka
. Jeho opětovným stisknutím toto zmrazení zrušíte.
Vyvolání skrytých informací (např. odpovědí na kvíz).
Informace vyvoláte stisknutím tlačítka
.
Přístup ke stránkám pomocí barevných tlačítek (Fastext)
(k dispozici pouze v případě, že daná televizní stanice vysílá signály Fastext)
Když se ve spodní části stránky objeví barevně rozlišená nabídka, můžete stisknutím
barevného tlačítka na dálkovém ovladači (zeleného, červeného, žlutého nebo modrého)
přejít na příslušnou stránku.
Použití funkce Zachytávání stránek
1. Stisknutím očíslovaných tlačítek na dálkovém ovladači zvolte teletextovou
stránku, na které je několik čísel stránek (např. stránku s rejstříkem).
2. Stiskněte tlačítko OK.
3. Stisknutím
v
nebo
V
zvolte požadované číslo stránky a potom stiskněte tlačítko
OK. Požadovaná stránka se za několik sekund zobrazí.
216-02
01
03
04
05
06
07
08
02
Index
TELETEXT
Programme
News
Sport
Weather
25
153
101
98
Index
TELETEXT
Programme
News
Sport
Weather
25
153
101
98
m
m
m
11
Obsluha
Teletext
Použití nabídky Teletext
1. Stisknutím tlačítka MENU na dálkovém ovladači zobrazte nabídku na obrazovce
televizoru.
2. Stisknutím
v
nebo
V
zvolte na obrazovce položku dle vlastního výběru a potom
zobrazte stisknutím
B
příslušnou dílčí nabídku.
3. Nabídku Teletext odstraníte z obrazovky stisknutím tlačítka MENU.
Horní/Dolní/Plný
Dílčí nabídka Horní/Dolní/Plný vám umožňuje zvětšit různé části teletextové stránky.
Stisknutím
v
zvětšíte horní polovinu obrazovky, stisknutím
V
zvětšíte její dolní polovinu.
Stisknutím tlačítka OK obnovíte normální velikost stránky. Stisknutím
b
se vrátíte na
obrazovku s nabídkou Teletext.
Vymazaní textu
Po zvolení této funkce můžete při čekání na požadovanou teletextovou stránku sledovat
příslušný televizní kanál.
1.
Na dalkovem ovladaci stisknete dvakrat tlacitko
a teletext se zobrazi na cele
obrazovce.
2.
Stisknete tlacitko MENU - zobrazite menu rezimu teletext.
3.
Stisknete
v
nebo
V
, zvolte Skryti textu a potvrdte
B
stisknutim.
4.
Zobrazi se prislusny televizni kanal, ktery sledujete. Jakmile bude stranka k dispozici,
modry symbol
se zobrazi v levern hornim rohu obrazovky.
5.
Stisknete tlacitko
zobrazi se pozadovana stranka teletextu.
Odkrýt text
Některé teletextové stránky mohou obsahovat skryté informace (kvíz, hádanky)
Casovací stránka*
*podle dostupnosti služby.
Časovací stránka umožňuje zobrazit požadovanou Teletextovou stránku v předem
nastavené době (obdoba alarmu)
Přehled stránek*
*
funkce přístupná pouze v případě, že sledovaná stanice vysílá v režimu TOP-Text.
V nabídce Přehled stránek jsou stránky bloků a skupin hlavního textu seřazeny do
dvou sloupců, aby si zákazník mohl snadno vybrat svou stránku. Pro každou stránku
bloku v prvním sloupci jsou ve druhém sloupci uvedeny odpovídající stránky skupin.
1.
V režimu teletextu stiskněte na dálkovém ovladači tlačítko MENU a zobrazí se
vám MENU teletextu.
2.
Stiskněte
v
nebo
V
abyste vybrali funkci Odkrýt a poté svou volbu potvrd
’
te
stisknutím tlačítka
B
Skrytá informace se zobrazí.
1.
V režimu Teletextu na dálkovém ovladači stiskněte tlačítko MENU a zobrazí se
Vám MENU teletextu.
2.
Stiskněte
v
nebo
V
, zvolte
“
Skrytí textu
”
a potvrd
’
te stisknutím
B
. Objeví se
nabídka funkcí Časovací stránky.
3.
Zadejte na dálkovém ovladači číslo požadované stránky.
4.
Zadejte na dálkovém ovladači požadovaný čas zobrazení stránky.
5.
Svou volbu potvrd
’
te stisknutím tlačítka OK. Televizor se přepne z režimu
teletextu do režimu normálního obrazua v levém horním rohu obrazovky se
zobrazí časový údaj. Požadovaná stránka se zobrazí přesně v předem nastavené
době.
1.
Na dálkovém ovladači stisknutím
b
nebo
B
zvolte první, nebo druhý sloupec.
2.
Stisknutím
v
nebo
V
zvolte požadovanou
“
skupinu
”
, či
“
blok
”
stránek.
3.
Stisknutím tlačítka OK zobrazíte požadovanou stránku.
12
Obsluha
Tento televizor obsahuje systém nabídek, který tvoří soustava snadno použitelných oken a nabídek na obrazovce. Tato okna
vám pomohou dosáhnout maximálního výkonu tohoto televizoru. Jejich pomocí můžete změnit nastavení obrazu a zvuku,
upravit rozměry televizního obrazu, změnit uspořádání televizních kanálů atd.
Nastavení obrazu a zvuku
Obraz a zvuk jsou předem nastaveny ve výrobě. Jejich nastavení však můžete upravit, aby vyhovovalo vašim vlastním
představám.
Použití systému nabídek televizoru
Zap
Zap
Normal
Zap
Vyp
Kontrast
Výbér: Zadat:
Barevný Tón
Teplý
Normal
Stud.
Zap
Vyp
1. Stisknutím tlačítka MENU na dálkovém ovladači zobrazte nabídku na obrazovce
televizoru.
2. Stisknutím tlačítka
v
nebo
V
zvolte
pro nastavení obrazu nebo
pro
nastavení zvuku. Potom stisknutím
B
přejděte bu"to do nabídky Nastavení
obrazu nebo Nastavení zvuku .
3. Stisknutím tlačítka
v
nebo
V
zvolte na obrazovce parametr, jehož nastavení
chcete upravit a potom stiskněte
B
pro potvrzení. Popis jednotlivých položek
nabídky a jejich funkcí najdete v níže uvedené tabulce.
4. Stisknutím tlačítka
v
,
V
,
B
nebo
b
nastavte zvolený parametr.
5. Po nastavení parametru uložte nové nastavení stisknutím tlačítka OK.
6. Pokud chcete nastavit některý z dalších parametrů, zopakujte kroky 3 - 5.
7. Stisknutím tlačítka MENU odstraňte nabídku z televizní obrazovky.
Ovládání obrazu
Položka
Účinek/ovládání
Režim obrazu
V
Live
(pro živá vysílání)
Personal (pro individuální nastavení)
v
Movie (pro vysílání filmů)
Kontrast
nižší
b
B
vyšší
Jas*
tmavší
b
B
jasnější
Barevná sytost*
nižší
b
B
vyšší
Odstín**
načervenalý
b
B
nazelenalý
Ostrost*
mdlejší
b
B
ostřejší
*
Jen v případě, že je položka Režim obrazu nastavena na Personal
**
Pouze u systému NTSC.
Reset
Obnoví původní nastavení obrazu z výroby
Umělá inteligence
V
Zap : Automatická optimalizace úrovně kontrastu
podle televizního signálu.
v
Vyp : Normální
Redukce šumu
V
Zap :
Potla
č
en
í
š
umu obrazu v p
ří
pad
ě
slab
é
ho sign
á
lu.
v
Vyp: Redukce šumu vypnuta.
Barevný tón
V
Teplý:
Dodá obrazu teplý barevný nádech.
Normal:
Normální
v
Stud.:
Dodá obrazu studený nádech obrazu
13
Ovládání zvuku
Položka
Účinek/ovládání
Režim ekvalizéru
V
Personal
Vocal
Jazz
Rock
Pop
v
Flat (pevné nastavení, které nelze upravovat)
Nastavení ekvalizéru
Zvolený režim v Režimu ekvalizéru můžete upravit
potlačením nebo zesílením 5 zvolených kmitočtových
pásem. Stisknutím
b
nebo
B
zvolte kmitočtové pásmo a
potom stisknutím
V
nebo
v
nastavte daný kmitočet.
Nakonec stisknutím tlačítka OK nové nastavení uložte.
Jestliže chcete uložit nové nastavení, musíte nastavit Režim ekvalizéru na
Personal . V režimu Personal se nastavení uloží trvale, zatímco ve všech
ostatních režimech (Vocal, Jazz, Rock, Pop) se uloží pouze do příští změny
režimu.
Vyr
ážení
b
Doleva
B
Doprava
Fyziologie
V
Vyp: Normální úroveň hlasitosti.
v
Zap: Úroveň hlasitosti pro hudební
představení.
Prostor
V
Vyp: Normální nastavení.
v
Zap: Speciální akustické efekty.
Auto nast. hlas.
V
Vyp : úroveň hlasitosti se bude měnit v závislosti na
vysílaném signálu.
v
Zap : úroveň hlasitosti kanálů zůstane stejná,
nezávisle na vysílaném signálu (např. v případě
reklam)
Dvojí zvuk
Pro dvojjazyčné vysílání:
V
A pro kanál 1
v
B pro kanál 2
Pro stereo vysílání:
V
Mono
v
Stereo
Při vysílání NICAM stereo se na obrazovce krátce objeví indikace NICAM.
Sluchátka
i
Hlasitost
nižší
b
B
vyšší
i
Dvojí zvuk
Pro dvojjazyčné vysílání:
V
A pro kanál 1
v
B pro kanál 2
Použití systému nabídek televizoru:
(
(
B
A
Mono
Zap
Vyp
Mono
Vyp
0
NICAM
NICAM
14
Použití systému nabídek televizoru:
Použití nabídky Spec. funkce
1. Stisknutím tlačítka MENU na dálkovém ovladači zobrazte nabídku na obrazovce televizoru.
2. Stisknutím tlačítka
v
nebo
V
zvolte
pro nabídku Spec. funkce a potom do této nabídky
přejděte stisknutím
B
.
3. Stisknutím tlačítka
v
nebo
V
zvolte požadovanou položku nabídky a potom pro potvrzení stiskněte
B
. Popis jednotlivých položek nabídky a jejich funkcí najdete v níže uvedené tabulce.
4. Stisknutím tlačítka
v
,
V
,
B
nebo
b
zvolte požadované nastavení.
5. Stisknutím tlačítka OK svou volbu nastavení potvr"te.
6. Pokud chcete vybrat některou z ostatních položek, opakujte kroky 3 - 5.
7. Stisknutím tlačítka MENU odstraňte nabídku z televizní obrazovky.
Položka
Účinek/ovládání
Čas do vypnutí
Můžete zvolit čas, po jehož uplynutí se televizor přepne do
úsporného
režimu.
V
Vyp
.
v
90 min
Rodičovský zámek
V
Vyp :
Normal
v
Zap :
Stisknutím tlačítek na dálkovém ovladači můžete
televizor přepnout z úsporného režimu. Tlačítka
na televizoru nefungují.
Výstup AV2
V
Televizní zvukový/obrazový signál z antény
Zvukový/obrazový signál AV1 ze SCART 1
Zvukový/obrazový signál AV2 ze SCART 2
Zvukový/obrazový signál AV3 ze SCART 3
v
Zvukový/obrazový signál AV4 z konektorů na přední straně
televizoru
Spec. funkce
Čas do vypnutí
Rodičorský zámek
Výstrup AV2
Výběr:
Zadat:
Vyp
Vyp
TV
Rodičorský zámek
Vyp
Zap
10 Min
Čas do vypnutí
Výstrup AV2
TV
AV1
AV2
AV3
AV4
Změna rozměrů obrazovky
Tato funkce vám umožňuje změnit rozměry obrazu televizoru.
Opakovaným stisknutím tlačítka
na dálkovém ovladači nebo pomocí tlačítka
v
nebo
V
zvolte jeden
z následujících formátů a potom svůj výběr potvr"te stisknutím tlačítka OK:
4:3
konvenční velikost obrazu 4:3, úplné informace o obrazu.
16:9
pro vysílání s poměrem stran 16:9.
4:3
16:9
15
Použití systému nabídek televizoru:
Změna uspořádání televizních kanálů
Po vyladění televizoru můžete pomocí této funkce změnit pořadí jeho kanálů.
1. Stisknutím tlačítka MENU na dálkovém ovladači zobrazte nabídku na obrazovce televizoru.
2. Stisknutím tlačítka
V
zvolte na obrazovce s nabídkou symbol
a potom stisknutím
B
přejděte
do nabídky Nastavení.
3. Stisknutím tlačítka
V
zvolte Třídění programů a potom stisknutím
B
přejděte do nabídky
Třídění programů.
4. Stisknutím tlačítka
v
nebo
V
zvolte kanál, který chcete přemístit a potom pro potvrzení
stiskněte
B
.
5. Stisknutím tlačítka
v
nebo
V
zvolte novou pozici programu (např. PROG 4) pro zvolený kanál a
potom pro potvrzení stiskněte tlačítko OK. Zvolený kanál se nyní přesune na svou novou pozici
programu a ostatní kanály se podle toho také přemístí.
6. Pokud chcete setřídit další kanály, opakujte kroky 4 a 5.
7. Stisknutím tlačítka MENU odstraňte nabídku z televizní obrazovky.
Manuální vyladění televizoru
Televizor jste již automaticky vyladili podle pokynů na začátku této příručky. Tuto operaci však můžete provést
manuálně a přidávat kanály do televizoru jednotlivě.
1. Stisknutím tlačítka MENU na dálkovém ovladači zobrazte nabídku na obrazovce televizoru.
2. Stisknutím tlačítka
V
zvolte na obrazovce s nabídkou symbol
a potom stisknutím
B
přejděte do
nabídky Nastavení.
3. Stisknutím tlačítka
V
zvolte na obrazovce s nabídkou Manuální nastavení a potom stisknutím
B
přejděte do nabídky Manuální nastavení.
4. Stisknutím tlačítka
V
zvolte na obrazovce s nabídkou Ruční ladění a potom stisknutím
B
přejděte do nabídky Ruční ladění.
5. Stisknutím tlačítka
v
nebo
V
zvolte pro daný kanál číslo programu (např. PROGR 1 pro BBC1) a
potom stisknutím
B
zvýrazněte sloupec SKOČ.
6. Stisknutím
v
zvolte Vyp a potom stisknutím
B
zvýrazněte sloupec SYS.
7. Stisknutím tlačítka
v
nebo
V
zvolte systém televizního vysílání (B/G pro západoevropské země
nebo D/K pro východoevropské země) nebo EXT pro zdroj vstupního video signálu (AV1,
AV2,...) a potom stiskněte
B
pro potvrzení.
8. Stisknutím tlačítka
v
nebo
V
zvolte C pro pozemní kanály, S pro kabelové kanály nebo F pro
přímé frekvenční vstupy a potom stiskněte
B
pro potvrzení.
9. Pomocí očíslovaných tlačítek na dálkovém ovladači zvolte nejprve první a potom druhou číslici
čísla K. (kanál) nebo Stisknutím tlačítka
v
nebo
V
vyhledejte další dostupný kanál.
10. Pokud nechcete uložit na zvoleném čísle programu tento kanál, pokračujte stisknutím tlačítka
v
nebo
V
ve vyhledávání požadovaného kanálu.
11. Jestliže je to kanál, který chcete uložit, stiskněte tlačítko OK.
12. Pokud chcete uložit další kanály, opakujte kroky 5 - 11 a potom stisknutím tlačítka MENU
odstraňte tuto nabídku z obrazovky televizoru.
PROG
SYS
Vyp
SKOČ
NÁZEV
1
B/G
Manuální nastavení
Výběr:
Zadat:
Jazyk/Země
Ruční ladění
Rozšířené předvolby
RGB Nastavení
Pootočení obrazu
Osobní ID číslo
Nastavení
Automatické ladění
Třidění programů
AV předvolby
Manuální nastavení
Výběr:
Zadat:
Ruční ladění
Výběr:
Zadat:
PROG
K.
SYS
SKOČ
NÁZEV
C09
C10
ARD
BBC
B/G
B/G
Vyp
Vyp
Vyp
Vyp
Vyp
Vyp
Vyp
Vyp
Vyp
Vyp
Vyp
1
2
3
4
5
6
7
8
9
10
11
PROG
K.
SYS
Vyp
SKOČ
NÁZEV
1
B/G
D/K
IRL
EXT
K.
C
S
F
PROG
SYS
Vyp
SKOČ
NÁZEV
1
B/G
K.
03
NAJDI
PROG
K.
SYS
Vyp
SKOČ
NÁZEV
0
EXT
AV1
AV2
AV3
AV4
AV1
O
- - - - - - -
16
Použití systému nabídek televizoru:
Pojmenování kanálu
Jména kanálů se obvykle přebírají automaticky z teletextu, pokud jsou k dispozici. Kanál nebo zdroj vstupního
video signálu však můžete pojmenovat s použitím až pěti znaků (písmen nebo čísel).
Přeskočení pozic programů
Tato funkce vám umožňuje přeskočit nevyužité pozice programů při jejich výběru pomocí tlačítek PROGR+/-.
Pomocí tlačítek s čísly však přesto můžete tyto vynechané pozice programů zvolit.
1. Stisknutím tlačítka MENU na dálkovém ovladači zobrazte nabídku na obrazovce
televizoru.
2. Stisknutím tlačítka
V
zvolte na obrazovce s nabídkou symbol
a potom stisknutím
B
přejděte do nabídky Nastavení.
3. Stisknutím tlačítka
V
zvolte Manuální nastavení a potom stisknutím
B
přejděte do
nabídky Manuální nastavení.
4. Stisknutím tlačítka
V
zvolte Ruční ladění a potom stisknutím
B
přejděte do nabídky
Ruční ladění.
5. Stisknutím tlačítka
v
nebo
V
zvolte kanál, který chcete pojmenovat.
6. Opakovaně mačkejte tlačítko
B
dokud nebude zvýrazněn první element sloupce
NÁZEV.
7. Stisknutím tlačítka
v
nebo
V
zvolte písmeno nebo číslici (pro mezeru zvolte - ) a
potom stiskněte
B
pro potvrzení. Další čtyři znaky vyberte stejným způsobem.
8. Po výběru všech znaků stiskněte tlačítko OK.
9. Pokud chcete pojmenovat další kanály, opakujte kroky 5 až 8.
10. Stisknutím tlačítka MENU odstraňte nabídku z televizní obrazovky.
1. Stisknutím tlačítka MENU na dálkovém ovladači zobrazte nabídku na obrazovce
televizoru.
2. Stisknutím tlačítka
V
zvolte na obrazovce s nabídkou symbol
a potom stisknutím
B
přejděte do nabídky Nastavení.
3. Stisknutím tlačítka
V
zvolte Manuální nastavení a potom stisknutím
B
přejděte do
nabídky Manuální nastavení.
4. Stisknutím tlačítka
V
zvolte Ruční ladění a potom stisknutím
B
přejděte do
nabídky Ruční ladění.
5. Stisknutím tlačítka
v
nebo
V
zvolte pozici programu a potom stisknutím
B
zvýrazněte sloupec SKOČ.
6. Stisknutím tlačítka
v
nebo
V
zvolte Vyp nebo Zap (pokud chcete tuto pozici
programu přeskočit) a potom pro uložení stiskněte tlačítko OK.
7. Pokud chcete přeskočit nebo naopak nepřeskočit další pozice programů, opakujte
kroky 5 a 6.
8. Stisknutím tlačítka MENU odstraňte nabídku z televizní obrazovky.
Ruční ladění
Výběr:
Zadat:
PROG
K.
SYS
SKOČ
NÁZEV
PROG
K.
SYS
SKOČ
NÁZEV
53
B/G
F189
- - -
Vyp
Zap
C09
C10
ARD
BBC
B/G
B/G
Vyp
Vyp
Vyp
Vyp
Vyp
Vyp
Vyp
Vyp
Vyp
Vyp
Vyp
51
52
53
54
55
56
57
58
59
60
61
Manuální nastavení
Výběr:
Zadat:
Jazyk/Země
Ruční ladění
Rozšířené předvolby
RGB Nastavení
Pootočení obrazu
Osobní ID číslo
O
- - - - - - -
Ruční ladění
Výběr:
Zadat:
PROG
K.
SYS
SKOČ
NÁZEV
C09
C10
ARD
BBC
B/G
B/G
Vyp
Vyp
Vyp
Vyp
Vyp
Vyp
Vyp
Vyp
Vyp
Vyp
Vyp
1
2
3
4
5
6
7
8
9
10
11
PROG
K.
SYS
Vyp
SKOČ
NÁZE
6
B/G C07
T E
Manuální nastavení
Výběr:
Zadat:
Jazyk/Země
Ruční ladění
Rozšířené předvolby
RGB Nastavení
Pootočení obrazu
Osobní ID číslo
O
- - - - - - -
17
Použití systému nabídek televizoru:
Použití funkce Rozšířené předvolby
Pomocí této funkce muzete a) individuálne nastavit hlasitost jednotlivých kanálu, b) manuálne jemne doladit televizor,
abyste dosáhli lepšího príjmu obrazu, pokud je obraz pokroucený, nebo c) predvolit výstup AV pro programové pozice
kanálu s pomíchanými signály (napr. z placeného televizního dekodéru). Pripojený videorekordér takto nahraje
nepomíchaný signál.
Manuální nastavení
Výběr:
Zadat:
Jazyk/Země
Ruční ladění
Rozšířené předvolby
RGB Nastavení
Pootočení obrazu
Osobní ID číslo
Rozšířené předvolby
Výběr:
Zadat:
PROG
AFT
HLASDEKODÉR
Zap
Zap
Zap
Vyp
Vyp
Vyp
0
0
0
1
2
3
4
5
6
7
8
9
10
11
PROG
AFT
HLASDEKODÉR
1
0
PROG
AFT
HLASDEKODÉR
1
-5
PROG
AFT
HLASDEKODÉR
1
-5
Zap
Zap
Vyp
AV1
AV2
Vyp
Vyp
Vyp
Vyp
Vyp
Vyp
Vyp
Vyp
Zap
Zap
Zap
Zap
Zap
Zap
Zap
Zap
0
0
0
0
0
0
0
0
O
- - - - - - -
1. Stisknutím tlačítka MENU na dálkovém ovladači zobrazte nabídku na obrazovce televizoru.
2. Stisknutím tlačítka
V
zvolte na obrazovce s nabídkou symbol
a potom stisknutím
B
přejděte do nabídky Nastavení.
3. Stisknutím tlačítka
V
zvolte Manuální nastavení a potom stisknutím
B
přejděte do nabídky
Manuální nastavení.
4. Stisknutím tlačítka
V
zvolte Rozšířené předvolby a potom stisknutím
B
přejděte do nabídky
Rozšířené předvolby.
5. Stisknutím tlačítka
v
nebo
V
zvolte příslušné číslo programu a potom opakovaným
stisknutím tlačítka
B
zvolte a) HLAS b) AFT nebo c) DEKODÉR. Vybraná položka změní
svou barvu.
6. a)HLAS - Kompenzace hlasitosti
Stisknutím tlačítka
v
nebo
V
nastavte úroveň hlasitosti (rozsah -7 až +7) daného kanálu. Pro
uložení stiskněte tlačítko OK. Pokud chcete nastavit úroveň hlasitosti dalších kanálů,
opakujte kroky 5 a 6a.
b) AFT - Automatické jemné doladění
Stisknutím tlačítka
v
nebo
V
můžete kmitočet daného kanálu jemně doladit v rozsahu -15 až
+15. Pro potvrzení stiskněte tlačítko OK. Pokud chcete jemně doladit další kanály, opakujte
kroky 5 a 6c.
c)DEKODÉR
Stisknutím tlačítka
v
nebo
V
zvolte AV1 nebo AV2 pro danou pozici programu a potom pro
potvrzení stiskněte tlačítko OK. Nyní můžete do zásuvky AV1 nebo AV2 na zadní straně
televizoru připojit dekodér. Obraz z tohoto dekodéru se objeví na tomto čísle programu.
Pokud chcete předvolit výstup AV pro další pozice programů, opakujte kroky 5 a 6d.
7. Stisknutím tlačítka MENU odstraňte nabídku z televizní obrazovky.
18
Použití systému nabídek televizoru:
Nastavení geometrie obrazu pro zdroj signálu RGB
Při připojení zdroje signálu RGB, jako je např. Sony playstation, budete možná muset upravit nastavení
geometrie obrazu.
RGB Nastavení
Nast. velikost:
Potvrzeni: OK
H střed
O
H velikost
O
RGB Nastavení
Nast. polohu:
Potvrzeni: OK
H střed
O
H velikost
O
1. Stisknutím tlačítka
na dálkovém ovladači zvolte připojený zdroj signálu RGB
.
2. Stisknutím tlačítka MENU zobrazte nabídku na obrazovce televizoru.
3. Stisknutím tlačítka
V
zvolte na obrazovce s nabídkou symbol
a potom stisknutím
B
přejděte do nabídky Nastavení.
4. Stisknutím tlačítka
V
zvolte na obrazovce s nabídkou Manuální nastavení a potom
stisknutím
B
přejděte do nabídky Manuální nastavení.
5. Stisknutím tlačítka
V
zvolte na obrazovce s nabídkou RGB Nastavení a potom
stisknutím
B
přejděte do dílčí nabídky RGB Nastavení.
6. Stisknutím
B
zvolte H Centre a potom stisknutím
v
nebo
V
nastavte střed obrazu v
rozsahu -10 až +10. Nový rozsah uložte stisknutím tlačítka OK.
7. Stisknutím
B
zvolte H Size a potom stisknutím
v
nebo
V
nastavte horizontální
souřadnice v rozsahu -10 až +10. Nový rozsah uložte stisknutím tlačítka OK.
8. Stisknutím tlačítka MENU odstraňte nabídku z televizní obrazovky.
1
Nastavení natočení obrazu
Zemský magnetismus může způsobovat naklonění obrazu. V takovém případě můžete upravit nastavení
obrazu.
1. Stisknutím tlačítka MENU na dálkovém ovladači zobrazte nabídku na obrazovce
televizoru.
2. Stisknutím tlačítka
V
zvolte na obrazovce s nabídkou symbol
a potom stisknutím
B
přejděte do nabídky Nastavení.
3. Stisknutím tlačítka
V
zvolte Manuální nastavení a potom stisknutím
B
přejděte do
nabídky Manuální nastavení.
4. Stisknutím tlačítka
V
zvolte Pootočení obrazu a potom stisknutím
B
přejděte do
dílčí nabídky Pootočení obrazu.
5. Stisknutím tlačítka
v
nebo
V
pootočte obraz v rozmezí -5 až +5 a potom pro uložení
stiskněte tlačítko OK.
6. Stisknutím tlačítka MENU odstraňte nabídku z televizní obrazovky.
Manuální nastavení
Pootočení:
Potvrzení-: OK
Jazyk/Země
Ruční ladění
Rozšířené předvolby
RGB Nastavení
Pootočení obrazu
Osobní ID číslo
O
- - - - -
- - - - -
19
Použití systému nabídek televizoru:
Zadání osobního ID čísla
Pomocí této funkce můžete televizoru přiřadit bezpečnostní kód, který umožní vaše vyhledání, pokud bude televizor
ukraden a získán nazpátek. Tento bezpečnostní kód lze však zadat pouze jednou - poznamenejte si ho prosím
1. Stisknutím tlačítka MENU na dálkovém ovladači zobrazte nabídku na obrazovce
televizoru.
2. Stisknutím tlačítka
V
zvolte na obrazovce s nabídkou symbol
a potom stisknutím
B
přejděte do nabídky Nastavení.
3. Stisknutím tlačítka
V
zvolte na obrazovce s nabídkou Manuální nastavení a potom
stisknutím
B
přejděte do nabídky Manuální nastavení.
4. Stisknutím tlačítka
V
zvolte na obrazovce s nabídkou Osobní ID číslo a potom
stisknutím
B
přejděte do dílčí nabídky Osobní ID číslo.
5. Stisknutím tlačítka
v
nebo
V
zvolte první z celkem 11 znaků (písmeno, číslo + nebo
mezera) a potom stisknutím
B
přejděte na další znak.
6. Opakováním kroku 5 zadejte všechny znaky kódu.
7. Pro uložení stiskněte tlačítko OK. Na obrazovce se objeví stavové okénko se
žádostí, abyste znovu zadali svůj kód.
8. Dalším stisknutím tlačítka OK kód definitivně uložte, nebo jej zrušte stisknutím
b
.
9. Stisknutím tlačítka MENU odstraňte nabídku z televizní obrazovky.
Předvolení a pojmenování vstupních signálů
Pomocí této funkce můžete automaticky formátovat a označovat zdroje vstupních signálů.
1. Stisknutím tlačítka MENU na dálkovém ovladači zobrazte nabídku na obrazovce
televizoru.
2. Stisknutím tlačítka
V
zvolte na obrazovce s nabídkou symbol
a potom stisknutím
B
přejděte do nabídky Nastavení.
3. Stisknutím tlačítka
V
zvolte na obrazovce s nabídkou AV předvolby a potom
stisknutím
B
přejděte do nabídky AV předvolby.
4. Stisknutím tlačítka
v
nebo
V
zvolte požadovaný vstup AV (AV1, 2, 3 nebo 4).
5. Stisknutím tlačítka
B
zvolte POPIS.
6. Stisknutím tlačítka
v
nebo
V
zvolte první znak názvu a potom se stisknutím tlačítka
B
přesuňte na další znak.
7. Opakováním kroku 6 zvolte další 4 znaky a potom pro uložení stiskněte tlačítko OK.
8. Opakujte kroky 4 - 8 pro ostatní zdroje vstupního signálu AV a potom stisknutím
tlačítka MENU odstraňte tuto nabídku z obrazovky televizoru.
Manuální nastavení
Vyber A-Z, 0-9:
Ulož: OK
Jazyk/Země
Ruční ladění
Rozšířené předvolby
RGB Nastavení
Pootočení obrazu
Osobní ID číslo
-
- - - - - -
AV předvolby
Výběr:
Zadat:
AV 1
AV 2
AV 3
AV 4
AV 1
AV 2
AV 3
AV 4
VSTUP
POPIS
AV předvolby
VSTUP
POPIS
AV 1
AV 2
AV 3
AV 4
AV 1
AV 2
AV 3
AV 4
Výběr A-Z, 0-9 :
Potvrzeni: OK
20
Další zařízení
Podle níže uvedených ilustrací můžete k televizoru připojit širokou řadu zvukových a obrazových zařízení.
Připojení dalšího zařízení k televizoru
Abyste dostali vstupní signál z připojeného zařízení na obrazovku televizoru, musíte zvolit symbol konektoru, k němuž
jste zařízení připojili.
1. Podle výše uvedených ilustrací zapojte zařízení do příslušné zásuvky televizoru.
2. Opakovaně mačkejte tlačítko
na dálkovém ovladači, dokud se na obrazovce televizoru neobjeví správný symbol
vstupu pro vaše zařízení (viz níže uvedená tabulka):
* automatická detekce signálu podle připojeného zařízení
3. Zapněte připojené zařízení.Obraz z tohoto zařízení (pokud vysílá signál) se zobrazí na obrazovce.
4. Stisknutím
se vrátíte na běžnou televizní obrazovku.
Poznámka: Abyste zamezili pokroucení obrazu, nepřipojujte zařízení současně do zásuvky
F
a
G
.
Pøipojení sluchátek
Zapojte sluchátka do zdířky
E
na čelním ovládacím panelu televizoru.
Propojte extern
í audio zaříení s televizí přes výstupní konektory
D
na zadní straně televizoru.
Symbol na
obrazovce
televizoru
Vstupní signály z konektoru
Zvukový/obrazový vstupní signál přes konektor SCART
A
nebo* RGB přes konektor SCART
A
Zvukový/obrazový vstupní signál přes konektor SCART
B
nebo* S-video přes konektor SCART
B
Zvukový/obrazový vstupní signál přes konektor SCART
C
nebo* S-video přes konektor SCART
C
Vstupní signál S-video přes konektor
F
typu DIN se 4 kolíky nebo* obrazový vstupní signál přes
zdířku
G
a zvukový vstupní signál přes zdířky
H
1
2
3
4
B C
D
A
DVD
Hi-Fi
Playstation
videorekordér
dekodér
F
G
H
E
100Hz
8mm/Hi8
kamkordér
S-VHS/Hi8
kamkordér
21
Doplòková zaøízení
*
Pokud je obraz nebo zvuk zkreslený, přemístěte videorekordér do větší vzdálenosti od televizoru.
*
Při připojování monofonního videorekordéru zapojte do televizoru i videorekordéru pouze bílý kolík.
*
Informace o tom, jak zvolit výstupní signál z konektoru SCART 2
/
, najdete na straně 14.
Další informace týkající se připojování zařízení
2
s
2
Smartlink je přímé propojení mezi televizorem a videorekordérem.
Pro Smartlink potřebujete:
*
Videorekordér, který podporuje Smartlink, NexTView Link, Easy Link nebo Megalogic.
*
Kabel s konektory SCART s 21 kolíky a plným počtem vodičů pro připojení videorekordéru ke konektoru
SCART 2
/
.
Smartlink má následující funkce:
*
Informace o vyladění, např. přehled kanálů, jsou přenášeny z televizoru do videorekordéru.
*
Pomocí NexTView můžete videorekordér snadno programovat.
*
Přímé nahrávání z televizoru : při sledování televizoru můžete daný pořad nahrát stisknutím jediného tlačítka na
videorekordéru.
Více informací o propojení Smartlink najdete v příručce ke svému videorekordéru.
Smartlink
2
s
2
Pomocí tlačítek umístěných pod krytem dálkového ovladače můžete ovládat další zařízení společnosti Sony.
1. Otevřete kryt dálkového ovladače.
2. Volič VTR 1234 DVD nastavte podle zařízení, které chcete ovládat:
VTR1 Videorekordér Beta
VTR2 Videorekordér 8mm
VTR3 Videorekordér VHS
VTR4 Digitální video (DCR-VX 1000/9000E,VHR-1000)
DVD Digitální video disk
3. K ovládání zařízení použijte tlačítka na dálkovém ovladači.
*
Pokud je zařízení vybaveno voličem příkazového režimu (COMMAND MODE), nastavte tento volič do stejné
polohy jako volič VTR 1234 DVD na dálkovém ovladači televizoru.
*
Jestliže zařízení není vybaveno některou funkcí, příslušné tlačítko na dálkovém ovladači nebude fungovat.
Dálkové ovládání dalších zařízení firmy Sony
22
Dal¹í informace
Technické údaje
Televizní systém
B/G/H, D/K
Barevný systém
PAL, SECAM
NTSC 3.58, 4.43 (pouze vstup video signálu)
Pokrytí kanálů
Viz Průvodce kanály na následující straně.
Obrazovka
FD Trinitron
Přibližně 72cm (29 palců), vychýlení 104˚
Konektory na zadní straně
/
Konektor Euro s 21 kolíky (standard CENELEC) včetně
zvukového/obrazového vstupu, vstupu RGB a zvukového/
obrazového televizního výstupu.
/
Konektor Euro s 21 kolíky (standard CENELEC) včetně
zvukového/obrazového vstupu, vstupu S-video a zvukového/
obrazového výstupu pro monitor.
/
Konektor Euro s 21 kolíky (standard CENELEC) včetně
zvukového/obrazového vstupu, vstupu S-video a zvukového/
obrazového výstupu pro monitor.
L/G/S/I
RCA konektory, variabilní výstup pro audio signály
R/D/D/D
Konektory pro externí reproduktory : DIN se 2 kolíky (5)
Vstup vysokofrekvenčního signálu
Konektory na přední straně
Vstup obrazového signálu - zdířky
Vstupy zvukového signálu - zdířky
Vstup S video - DIN se 4 kolíky
Zdířka pro sluchátka - minizdířka, stereo
1
s
1
2
s
2
3
s
3
4
4
s
4
Výstup zvuku
Pravý/levý:
2x20W (
Hudební výkon
)
2x10W (RMS)
Sub woofer: 30W (
Hudební výkon
)
15W (RMS)
Příkon
158W
Rozměry (šxvxh)
Přibližně 765x635x570 mm
Hmotnost
Přibližně 59kg
Dodávané příslušenství
Dálkový ovladač RM-893 (1)
Baterie velikosti AA podle IEC (2)
Další vlastnosti
Plochá obrazovka Trinitron, redukce šumu,
pamět
’
teletextu 2000 stran
, grafický ekvalizér, osobní ID číslo,
nastavení času do vypnutí, NexTView.
Konstrukce a technické parametry mohou být
změněny bez předchozího upozornění.
Tabulka zobrazení kanálů
Kanály,kterélze přijímat
Zobrazení kanálů
B/G/H
E2..12, 21..69
C02..C12, C21..69
KABEL. TEL. (1) S1..S41
S01..S41
KABEL. TEL. (2) S01..S05
S42..S46
M1..M10
S01..S10
U1..U10
S11.S20
ITALIA
A, B..H, H1, H2
C13..C20
D/K
R01..R12, R21..R69
C01..C12, C21..C69
S01..S05
S42..S46
23
Další informace
Zde je několik jednoduchých řešení problémů, které mohou postihnout obraz a zvuk.
• Pokud tyto problémy pøetrvávají, nechte si televizor opravit kvalifikovaným opraváøem.
• NIKDY neotvírejte skøíò televizoru sami.
Odstraňování chyb
Problém
Navrhované řešení
Žádný obraz (obrazovka je tmavá),
žádný zvuk.
Zapojte televizor do zásuvky.
Stiskněte tlačítko
na přední straně televizoru.
Jestliže svítí indikátor
, stiskněte tlačítko
nebo
některé z očíslovaných tlačítek na dálkovém ovladači.
Zkontrolujte připojení k anténě.
Pomocí tlačítka
na přední straně televizoru televizor
na 3 až 4 sekundy vypněte a potom znovu zapněte.
Špatný nebo žádný obraz (obra-
zovka je tmavá), ale dobrý zvuk.
V systému nabídek (MENU) zvolte okno Nastavení
obrazu. Nastavte jas, obraz a barevnou vyváženost.
V okně Nastavení obrazu zvolte RESET, abyste obnovili
původní výrobní nastavení.
Dobrý obraz, žádný zvuk.
Stiskněte tlačítko
na dálkovém ovladači.
Pokud je na obrazovce zobrazen symbol
, stiskněte
tlačítko
na dálkovém ovladači.
Žádné barvy v barevných progra-
mech.
V systému nabídek (MENU) zvolte okno Nastavení
obrazu a upravte nastavení barev.
V okně Nastavení obrazu zvolte RESET, abyste obnovili
původní výrobní nastavení.
Pokroucený obraz při přepnutí
programů nebo při výběru tele-
textu.
Vypněte veškerá zařízení připojená ke konektorům
SCART na zadní straně televizoru.
Dálkové ovládání nefunguje.
Vyměňte baterie.
Indikátor úsporného režimu
na
televizoru bliká.
Obrat'te se na nejbližší servisní středisko společnosti
Sony.
Rušení obrazu z externího zařízení.
Snižte úroveň ostrosti obrazu.
/
24
HU
Biztonsági előírások
A TV készülék rendkívül magas feszültségen működik. A tűzveszély és áramütés megelőzése érdekében tartsa be az
alábbi előírásokat.
Az Ön biztonsága érdekében
Általános biztonsági előírások
•
Óvja
a TV készüléket esőtől, nedvességtől.
•
Ne távolítsa el a készülék hátlapját.
•
A
saját biztonsága érdekében a készüléket kizárólag szakképzett szerelővel
javíttassa.
Biztonságos elhelyezés
•
Ne
állítsa a készüléket szélsőségesen meleg, párás vagy poros helyre.
•
Ne
takarja le a szellőzőnyílásokat. A megfelelő szellőzés érdekében hagyjon a TV
készülék körül legalább 10cm-es szabad helyet.
•
Ne tegye
a
készüléket olyan helyre, ahol vibrációnak lehet kitéve.
•
A
készüléket
kizárólag olyan stabil állványra helyezze, amelyet a készülék súlyának
és méretének megfelelően terveztek.
Biztonságos üzemeltetése
•
A TV
készüléket
kizárólag 220-240V AC, 50Hz hálózati váltakozó feszültséggel
működtesse.
•
Ha a
szellőző nyílásokon keresztül bármilyen szilárd test, vagy folyadék kerül a
készülék belsejébe, húzza ki a hálózati csatlakozó vezetéket. Azonnal ellenőriztesse
szakemberrel!
•
Környezetvédelmi és
biztonsági okok miatt se hagyja a TV készüléket készenléti
állapotban akkor, amikor nem használja. Ilyenkor kapcsolja ki a hálózati
kapcsolóval.
•
A hálózati
csatlakozókábel kihúzásakor ne a kábelt, hanem a dugót fogja meg.
•
Vihar, villámlás esetén
húzza ki a készülék hálózati csatlakozóját a konnektorból, és
húzza ki az antennacsatlakozót is. Így megelőzheti, hogy a villámlás komoly kárt
tegyen a készülékben.
Karbantartás
•
A TV képernyőt
puha, megnedvesített törlőkendővel tisztítsa. Ne használjon a
tisztításhoz súrolószereket.
•
A lerakódott por és nikotin
a készülék belső túlmelegedését okozhatja. Ez hosszú
távon a biztonságosságot befolyásolhatja és csökkentheti a készülék élettartamát.
Éppen ezért a készüléket 5 évenként ellenőriztesse szakszervízben.
1
Biztonsági tudnivalók
Valamennyi televízió rendkívül magas feszültséggel működik. Tűz vagy áramütés megelőzése érdekében kérjük, tartsa
be a mellékelt kék színű lapon feltüntetett biztonsági rendszabályokat.
A TV készüléket megfelel méret és teherbírású állványra helyezze. A Sony tanácsa, hogy ehhez a különlegesen
formatervezett TV készülékhez használja a hozzá tartozó SU-29FQ1 típusú állványt. Ha azonban más bútoron kívánja
elhelyezni a készüléket, ügyeljen arra, hogy az aszallap vagy szekrénytet elég nagy legyen, és a készülék mindhárom
lába kényelmesen, túllógás nélkül elférjen rajta.
Biztonsági tudnivalók
Tartalomjegyzék
Tartalomjegyzék
Üzembe helyezés
1.A mellékelt tartozékok ellenőrzése
2.Az elemek behelyezése a távvezérlőbe
3.A TV csatlakoztatása
4.A TV bekapcsolása
5.A joystick használata
6.A TV hangolása
7.A videocsatorna megkeresése
2
2
3
4
4
5
5
Használat
A TV beállítógombjainak áttekintése
A távvezérlő gombjainak áttekintése
NexTView
Teletext
A TV menürendszerének használata
A kép szabályozása
A hang szabályozása
A Szolgáltatások menü használata
A programhelyek átrendezése
A TV manuális hangolása
Az állomások elnevezése
Programhelyek átugrása
A "További programok tárolása" szolgáltatás használata
A kép elforgatásának beállítása
A kép alakjának beállítása RGB forrás esetén
A személyi azonosító kód bevitele
Bemenő jelek tárolása és elnevezése
6
7
8
10
12
12
13
14
15
15
16
16
17
18
18
19
19
Külső berendezések
Külső berendezések csatlakoztatása a TV-hez
Berendezések csatlakoztatására vonatkozó további információk
Smartlink
Más Sony berendezések távvezérlése
20
21
21
21
További információk
Specifikációk
Csatornákijelzések táblázata
Hibakeresés
22
22
23
2
Kövesse az 1-7. lépéseket a TV-készülék üzembe helyezéséhez és a TV-programok megtekintéséhez. Üzembe helyezés
1. A mellékelt tartozékok ellenőrzése
2. Az elemek behelyezése a távvezérlőbe
Elemek
Az elemek behelyezésénél mindig ügyeljen a megfelelő polaritásra.
Mindig ügyeljen arra, hogy a használt elemek hulladékba helyezéséről környezetbarát módon gondoskodjon.
+
- -
+
Távvezérlő
-
+
+
-
3
Üzembe helyezés
3. A TV csatlakoztatása
1. Csatlakoztassa a meglévő antennakábelt az ábrának megfelelően a videomagnóhoz.
2. Csatlakoztassa a videomagnó antennakábelét a videomagnó hátlapján lévő RF OUT
aljzatba és a TV hátlapján lévő antennaaljzatba az ábrának megfelelően.
3. Csatlakoztassa a 21 pólusú scart kábelt (amennyiben használja) a TV készülék hátoldalán
található AV2 aljzathoz.
4. Csatlakoztassa a videomagnót a hálózathoz, és kapcsolja be.
5. Helyezzen egy felvételt tartalmazó kazettát a videomagnóba, és nyomja meg a "PLAY"
gombot.
1. Csatlakoztassa a meglévő antennakábelt a TV készülék hátlapján lévő
aljzathoz.
Antenna csatlakoztatása a TV-készülékhez
Antenna és videomagnó csatlakoztatása a TV-készülékhez
Ha a TV készüléket nem
csatlakoztatja
videomagnóhoz,
csatlakoztassa az
antennakábelt (a bal
oldali ábrán látható
módon), és folytassa a "4.
A TV bekapcsolása"
címszóval.
Ha a TV-készüléket
videomagnóhoz
csatlakoztatja, az alábbi
szakasz szerint járjon el.
A scart kábel külön
beszerezheto
kiegészíto.
Amennyiben
azonban használja, ez
a további kapcsolat
javíthatja a kép és a
hang minőségét
lejátszás közben.
OUT
IN
AERIAL
ANTENNA
AC IN
(meglévő antennakábel)
(scart kábel - nem
tartozék)
4
Üzembe helyezés
1. Csatlakoztassa a TV hálózati csatlakozóját a hálózati aljzathoz (220-240V AC,
50Hz), és kapcsolja be a készüléket.
2. Nyomja be a hálózati kapcsolót
a TV-készülék előlapján.
Ha a TV előlapján a készenléti üzemmód jelzőfénye világít, nyomja meg a TV
gombot a
távvezérlőn a TV-készülék bekapcsolásához. Legyen türelemmel, mivel néhány pillanatig
eltarthat, amíg a kép megjelenik a TV képernyőjén.
4. A TV bekapcsolása
5. A joystick használata
/
Egy-egy menü-beállítás
kiválasztásához nyomja meg
középen az OK gombot.
A menükben való mozgáshoz
nyomja meg a megfelelő
nyílgombot.
A joystick mozgatása
A joystick
megnyomása
5
1. A Nyelv/Ország menü jelenik meg a TV képernyőjén az "English" szó
kiemelésével.
2. A távvezérlőn lévő
v
vagy
V
gombbal jelölje ki a választott nyelvet,
majd az OK gombot megnyomva erősítse meg a választást. Az ország
menü jelenik meg a TV képernyőjén a "Ki" szó kiemelésével. Válassza
a "Ki" beállítást, ha nem szeretné, hogy a csatornák egy megadott
csatornasorrend szerint kerüljenek tárolásra az 1. programhelytől
kezdődően.
3. A
v
vagy
V
gombbal válassza ki az országot, ahol a TV-készüléket
használni fogja, majd az OK gombot megnyomva erősítse meg a
választást.
4. Az "automatikus hangolás" menü jelenik meg a TV képernyőjén a
kiválasztott nyelven. Az OK gomb megnyomásával hagyja jóvá az
automatikus hangolást.
5. Győződjön meg arról, hogy az antenna az utasításoknak megfelelően
csatlakoztatva van, majd az OK gomb megnyomásával erősítse ezt meg.
A készülék megkezdi az összes rendelkezésre álló csatorna automatikus
keresését és tárolását. Ez néhány percig is tarthat - legyen türelemmel,
és ne nyomjon meg semmilyen gombot.
6. Amikor a TV elvégezte az összes rendelkezésre álló csatorna
hangolását, a "Programhelyek átrendezése" menü jelenik meg a TV
képernyőjén, ami lehetővé teszi a programok sorrendjének
megváltoztatását a TV-készüléken. Ha meg szeretné változtatni a
programok sorrendjét, a
v
vagy
V
gombbal válassza ki az áthelyezni
kívánt programot, majd nyomja meg a
B
gombot. A
v
vagy
V
gombbal
válassza ki az új programhely számát a kiválasztott csatorna számára,
majd az OK gombot megnyomva erősítse meg az áthelyezést. Ezzel a
kiválasztott csatorna az új programhelyre kerül, és a többi csatorna
ennek megfelelően kap új helyet. Ismételje meg ezt a műveletet, ha
más csatornák sorrendjét is meg kívánja változtatni a TV-készüléken.
7. Nyomja meg a MENU gombot, hogy eltávolítsa a menüt a TV
képernyőjéről.
8. A PROGR+/- vagy a számgombok segítségével tekintheti meg a TV-
programokat.
Megjegyzés:Ha bármelyik szakaszban le szeretné állítani az automatikus
hangolási folyamatot, nyomja meg az OK gombot.
Ha a TV-készüléket videomagnóhoz csatlakoztatja, meg kell keresnie a videocsatornát.
1. Nyomogassa a távvezérlőn lévő PROGR+/- gombokat mindaddig, amíg a videokészülék képe meg nem jelenik a TV
képernyőjén.
Megjegyzés:Ha a videocsatornát egy másik programhelyre szeretné áthelyezni, lapozza fel a jelen kezelési útmutató "A
programhelyek átrendezése" c. szakaszát.
7. A videocsatorna megkeresése
Üzembe helyezés
Mielőtt elvégezné a TV hangolását, felszólítást kap a nyelv és az ország beállítására.
6. A TV hangolása
1
2
3
6
5
4
7
8
9
0
Language/Country
Select Language:
Confirm:
Language
Country
Espa
ñ
ol
Français
Italiano
Magyar
Nederlands
Norsk
Polski
Magyarország
Irország
Olaszország
Luxemburg
Hollandia
Norvégia
Lengyelország
Magyar
Seretné elindítani az
automatikus hangolást ?
Igen : OK Nem :
Kérem igazolja, hogy az
antenna catlakoztatva van
Igen : OK Nem :
6
Használat
A TV beállítógombjainak áttekintése
Hangerő-szabályozó gombok.
Nyomja meg, ha növelni(+)/
csökkenteni(-) kívánja a hangerőt.
Videobemenet gomb.
Megnyomásával kiválaszthatja a
videomagnóról stb. érkező bemenő jeleket.
Program fel (+) vagy
le (-) gombok.
Megnyomásával
kiválaszthatja a TV-
programokat.
Ha az előlapon lévő bemeneti csatlakozókhoz és tv
kezelőszervekhez kíván hozzáférni, nyomja felfelé
a vezérlőpanelt (lásd az ábrát).
A vezérlőpanel lenyílik.
Visszaállító gomb.
Ezzel
a
gombbal
a
kép-
és
hangjellemzőket visszaállíthatja a gyári
értékre. A képernyőn az "Autotune"
kijelzés után megjelenik a Sony logo.
Ha nem kívánja újra beállítani a tv
készüléket, nyomja meg a
b
gombot a
távvezérlőn.
100Hz
100Hz
7
Használat
A távvezérlő gombjainak áttekintése
A TV-készülék ideiglenes kikapcsolása
Megnyomásával ideiglenesen kikapcsolhatja a TV-
készüléket. Nyomja meg ismét ezt a gombot a készenléti
üzemmódból történő bekapcsoláshoz.
Energiatakarékossági okokból javasoljuk, hogy teljesen
kapcsolja ki a TV-készüléket, amikor nincs használatban.
MEGJEGYZÉS: 15-30 perc elteltével, amely alatt sem TV-
jel nem érkezik, sem pedig semmilyen gombot nem
nyomnak meg, a készülék automatikusan készenléti
üzemmódba kapcsol.
A képernyő információk mutatása
Megnyomásával az összes képernyőjelzés láthatóvá válik. A
funkció elvetéséhez nyomja meg ismét a gombot. A teletext
üzemmódban megnyomására megjelenik az indexoldal
(rendszerint a 100. oldal), ismételt megnyomására pedig
eltűnik.
A bemenő jel kiválasztása vagy a teletext rögzítése
Megnyomásával kiválaszthatja a TV csatlakozóira érkező
bemenő jeleket (lásd az Opcionális berendezések használata
c. szakaszt). Teletext üzemmódban nyomja meg ezt a
gombot a kijelzett oldal rögzítéséhez. A funkció elvetéséhez
nyomja meg ismét a gombot.
Visszatérés az előző csatornához
Megnyomásával visszatérhet az előzőleg nézett csatornához.
Megjegyzés: Csak akkor működik, miután a jelenlegi
csatornát 5 másodpercig nézte.
A képernyőformátum megváltoztatása
Megnyomásával módosíthatja a képernyő méretbeállításait.
Gyorsteletext gombok
A részleteket lásd a kézikönyv Teletext c. szakaszában.
Menüpontok kiválasztása
Az OK gombot és a nyílbillentyűket használva
kiválaszthatja a TV menürendszerében rendelkezésre álló
opciókat.
Csatornák kiválasztása
Megnyomásával kiválaszthatja a csatornákat.
A menü megjelenítése
Nyomja meg ezt a gombot, ha használni kívánja a TV
menürendszerét. Nyomja meg ismét, hogy eltávolítsa a
menüt a TV képernyőjéről.
A hang némítása
Megnyomásával elnémíthatja a TV hangját.
Ismételt megnyomásával visszaállíthatja a hangot.
TV üzemmódba való visszatérés
Megnyomásával visszatér normál üzemelésre
teletext vagy készenléti üzemmódból.
A teletext kiválasztása
Megnyomásával be- és kikapcsolhatja a teletextet.
Az Elektronikus musorfüzet (EPG)
kiválasztása
Megnyomásával be- és kikapcsolhatja az EPG-t.
A kép kimerevítése
Nyomja meg, ha fel kíván jegyezni valamilyen, a
TV
képernyőjén
látható
információt
(pl.
telefonszámot).
Ismételt
megnyomásával
visszatérhet a normál TV üzemmódba.
A programhelyek kiválasztása
A számgombokat megnyomva válassza ki a
programhelyeket.
Kétjegyű programhelyek, pl. 23, esetén, először
nyomja meg a -/-- gombot, majd pedig a 2 és a 3
gombot.
A képbeállítás menü megjelenítése
Megnyomásával módosíthatja a képbeállításokat.
Az OK gomb megnyomásával távolíthatja el a
menükijelzést.
Az Audio beállítás menü megjelenítése
Megnyomásával módosíthatja a hangbeállításokat.
Az OK gomb megnyomásával távolíthatja el a
menükijelzést.
A Programtáblázat megjelenítése
Nyomja meg az OK gombot. A
v
vagy
V
gombbal
válassza ki a kívánt programot, majd a
B
gombot
megnyomva erősítse meg a választást.
A TV hangerejének beállítása
Megnyomásával beállíthatja a TV hangerejét.
A gyári beállítások visszaállítása
Nyissa fel a távvezérlő fedelét, és nyomja meg
ezt a gombot, ha a kép- és hangbeállításokat
vissza kívánja állítani a gyárilag beállított
értékekre. Miután az "Üzembe helyezés"
menü megjelent a TV képernyőjén, lapozza fel
a kezelési útmutató "A nyelv és az ország
kiválasztása" c. szakaszát, ha módosítani
kívánja a nyelv- és az országválasztást.
A pontos idő megjelenítése
Nyissa fel a távvezérlő fedelét, és nyomja meg ezt
a gombot, ha meg kívánja jeleníteni a pontos időt
a képen.
Videokészülék használata
Nyissa fel a távvezérlő fedelét, és nyomja meg ezeket
a gombokat, ha a videokészüléket kívánja használni
(lapozza fel a videomagnó kézikönyvét).
Más Sony berendezések távvezérlése
Nyissa fel a távvezérlő fedelét. Állítsa be a VTR 1234
DVD választókapcsolót a vezérelni kívánt
készüléknek megfelelően:
VTR1: Beta videomagnó
VTR2: 8mm videomagnó
VTR3: VHS videomagnó
VTR4: Digitális videomagnó (DCR-VX 1000/
9000E, VHR-1000)
DVD: Digitális videolemez
A távvezérlőn lévő gombokkal működtesse a
készüléket.
8
Használat
*a szolgáltatás eléhetőségétől függően
A NexTView egy olyan elektronikus műsorújság, amely 1 hétre előre tartalmazza a szolgáltató által kiválasztott
TV állomások programinformációit. Ha az információk mennyisége meghaladja a NexTView tároló kapac-
itásit, az elérhető információk egy hétnél rővidebb időre vonatkoznak.
As információk között kereshet téma (pl. sport, művészet, stb.), dátum vagy idő (pl. 8 és 9 óra kőzőtti, műsorok)
szerint is, A kívánt műsor megtalálásakor kőzvetlenül átkapcsolhat az adásra, beállíthatja az időzítőt (hogy meg ne
feledkezzen a műsorről), illetve a Simartlink csatlakozőn keresztiül beprogramozhatja a videómagnót.
A műsorújság tartalmáért a NexTView szolgáltató a felelős. Ha a szolgáltató nem biztosít automatikus
navigációt a TV készülék feladata a megjelenítés, amelyet a menüszerkezet és navigáció kombinációja alkot. Ha
szolgáltató navigációt is biztosít, az alaptműveletek megegyeznek a joystick-kal vezérelt Sony navigációnal
leírtakkal.
Működtetés a Sony navigáició segítségével
Amikor a NexTView információk rendelkezésre állna, a képernő megjelenik a NexTView felirat.
1. Kapcsolja be és ki a NexTView funkciót a gombbal.
Ha a szolgáltató nem biztosít automatikus navigációt, a készülék azonnal a Sony navigációs rendszerre kapcsol.
2. A Sony navigáció bekapcsolásához tolja a joystick-ot a
b
jelhez.
Megjelenik a Sony navigációs menü.
3. A joystick gombokat az alábbiak szerint kell haználni:
•
Mozgás oszlopon belül fel vagy le:
V
vagy
v
•
Mozgás a bal szélső oszlopokhoz (idő és dátum):
b
•
Mozgás a jobb szélső ikonokhoz:
B
•
A kiválasztás megerõsitése: Nyomja meg az OK gombot.
(a)
A dátum, idő és ikon (témák) oszlopokon belül a műsor-lista a kiválasztás függvényében változik.
(b)
Ha a műsor-listán belül egy éppen folyő műsor kiválasztásakor a bővített információs menüre kapcsol (lásd a
„Bővített információs menü haználata című fejezetet.
Az ikonok magyarázata
teljes lista
sport
egyéni választás
szőrakoztató
híműsorok
gyermekműsor
filmek
vissza az előző menüre
NexTView*
7
Tue
07 Tue
12:38
8
Wed
10
Fri
11
Sat
12
Sun
13
Mon
9
Thu
12
SWISS
Star Wars
Super RTL
Fantasy film, USA, 1996
Werner - Beinhart
Pro 7
Flui grüsst den Rest der Welt
Kabel 1
Once upon a time in the West
Euronews
International News
RTL Plus
10:35 - 12:45
10:20 - 12:00
10:45 - 10:50
11:00 - 11:20
11:45 - 12:50
TXT
TPS / RINGIER
Tue 07. 04 .98
9
Használat
NexTView
Egyéni program beállitás
Ha a
ikont választja ki, az egyéni választás lista üres lesz. A
ikon lehetővé teszi az egyéni témaválasztást,
mely révén a keresés csak a megjelölt témákat fogja érinteni.
1. Tolja a
v
vagy
V
jelhez és válassza ki a
ikont. Tolja a
B
jelhez.
Az Egyéni program beállítáts menü megjelenik.
2. Tolja a
v
vagy
V
jelhez és jelölje ki a kívánt témát.
Az OK gombbal erősitse meg a kiválasztást. A 2. lépés megismétlésével jelölje ki az összes olyan témát, amelyet a
listába kíván foglalni.
3. Ha befejezte a lista összeállítását, tolja a
B
jelhez, válassza ki a
ikont és nyomja meg az OK gombot.
A b v tett inform ci s men haszn lata
1. Tolja a
v
vagy
V
jelhez és a műsor-listából válassza ki a kívánt jövőbeli műsort. Nyomja meg az OK gombot.
Megjelenik a bővitett információs menü.
Ha a kiv lasztott m sort szeretn felvenni a vide magn val
(csak a Smartlínk csatlakozóval ellátott videómagnók esetében)
2. Tolja a
b
jelhez és válassza ki a ikont, majd nyomja meg az OK gombot.
Az információ átkerül a TV készülékhez csatlakoztatott videómagnó memóriájába.
A videomagnó beprogramoziása
3. Tolja a
b
jelhez és válassza ki a VPS/PDC funkciót.
Ha ezt a funkciót bekapcsolja, a műsor felvételéről akkor sem késik le, ha műsorcsúszás vagy műsorváltozás for-
dul elő. Ez a funkció azonban csak akkor működik, ha a kiválasztott TV állomás sugároz VPS/PDC jeleket.
•
Tolja a
OK jelhez és válassza ki a „Be" vagy „Ki" beállítást.
4. Tolja a
V
jelhez és válassza ki a Sebesség funkciót.
Válassza ki a normál (SP) vagy a hosszanjátszó (LP) felvételi üzemmódot. LP üzemmódban kétszer olyan hosszú
felvételt készíthet egy adott kazettára, mint SP üzemmódban. A képminőség azonban gyengébb lehet.
•
Tolja a
OK jelhez és vilassza ki a „SP" vagy „LP" sebeséget.
5. Tolja a
V
jelhez és válassza ki az Videomagn. funkciót.
Válassza ki a csatlakoztatott videómagnók közül azt, amelyiket szeretné beprogramozni.
•
Tolja
a OK jelhez és válassza ki a VCR 1 vagy 2 videómagnót.
Kilépés a menüből
6. Tolja a
B
jelhez és válassza ki a
ikont. Nyomja meg az OK gombot.
A készülék visszakapcsol az előző- menüre.
07 Tue
12:38
Address Mapping
The position of the addresses in the
OSDA is shown in the following diagram.
The position values of the DPW are set
to '0'.
If other values are set, the complete
combination will be scrolled.
Example:
if the DPWC is set to '63', the char-
Speed
Timer Prog
VPS/PDC
SP
VCR1
On
This channel has been set for a timer
First nextTView/EPG-Providers in Europe
SWISS
TXT
TPS / RINGIER
nexTView
Tue 07. 04 .98
Speed
VPS/PDC
VCR1
On
SP
VCR Setup
10
Használat
A legtöbb TV-állomás a teletexten keresztül sugároz információs szolgáltatást. A teletext indexoldala (rendszerint a
100. oldal) tájékoztatást nyújt a szolgáltatás használatának módjáról. Olyan TV-csatornát vegyen igénybe, amely
megfelelő térerővel fogható, mivel ellenkező esetben a teletext vételében hibák léphetnek fel.
Teletext
A teletext be- és kikapcsolása
1. Válassza ki azt a TV-csatornát, amelyen a nézni kívánt teletext adást sugározzák.
2. Nyomja meg a
gombot kétszer, hogy csak a teletext jelenjen meg.
3. A Mix üzemmódhoz nyomja meg a
gombot háromszor.
4. A teletext kikapcsolásához nyomja meg a
gombot, vagy nyomja meg a gombot
negyedszer is.
Egy teletext oldal kiválasztása
A távvezérlőn lévő számgombok használatával adja meg az oldalszám három számjegyét. Ha
eltéveszti, gépeljen be három tetszőleges számjegyet, majd adja meg ismét a helyes
oldalszámot.
További teletext funkciók használata
A következő vagy az előző oldal kiválasztása
A távvezérlőn lévő
vagy
gombot megnyomva választhatja ki az előző vagy a következő
oldalt.
Aloldal kiválasztása
Egy teletext oldal több aloldalt is tartalmazhat. Ilyen esetben megjelenik egy
információs sor, amely az aloldalak számát jelzi. A
v
vagy
V
gomb megnyomásával
válassza ki az aloldalt.
Egy teletext oldal rögzítése
Nyomja meg a
gombot az oldal rögzítéséhez. A rögzítés elvetéséhez nyomja meg
ismét a gombot.
Az indexoldal felfedése.
Nyomja meg a
gombot az gomb megnyomásával fedje fel az oldalt (rendszerint a 100.
oldal).
Színgombok használata az oldalak eléréséhez (gyorsteletext)
(csak akkor működik, ha a TV-állomás sugároz gyorsteletext jeleket).
Amikor egy oldal alján egy színkódos menü jelenik meg, a megfelelő oldal eléréséhez nyomja
meg a távvezérlőn lévő egyik színgombot (zöld, piros, sárga vagy kék).
Az "Oldalkapcsolás" szolgáltatás használata
1. A távvezérlőn lévő számgombokat megnyomva válasszon ki egy olyan teletext oldalt,
amelyen több oldalszám szerepel (pl. az indexoldal).
2. Nyomja meg az OK gombot.
3. A
v
vagy
V
gombbal válassza ki a kívánt oldalszámot, majd nyomja meg az OK gombot.
A kért oldal néhány másodperc múlva megjelenik.
216-02
01
03
04
05
06
07
08
02
Index
TELETEXT
Programme
News
Sport
Weather
25
153
101
98
Index
TELETEXT
Programme
News
Sport
Weather
25
153
101
98
m
m
m
11
Használat
Teletext
A Teletext menü használata
1. A távvezérlőn lévő MENU gombot megnyomva jelenítse meg a menüt a TV
képernyőjén.
2. A
v
vagy
V
gombbal jelölje ki a választani kívánt menüpontot, majd a
B
gombot
megnyomva hívja be a hozzá tartozó almenüt.
3. Nyomja meg a MENU gombot, hogy eltávolítsa a Teletext menüt a képernyőről.
Fel./Alul/Teljes
A Fel./Alul/Teljes almenü lehetővé teszi a Teletext oldal különböző részeinek felnagyítását.
A
v
gombot megnyomva a képernyő felső felét, a
V
gombot megnyomva pedig az alsó felét
nagyíthatja fel. Az OK gomb megnyomásával állíthatja vissza az oldalt a normál méretre. A
Teletext menühöz való visszatéréshez nyomja meg a
b
gombot.
Szövegtörlés
A szövegtörléssel a teletext oldal megtalálásáig nézhető a tv állomás műsora.
Felfedés
Egyes teletext oldalak rejtett információkat (pl. rejtvény megfejtését)
tartalmazhatnak, amelyek ezzel a funkcióval megnézhetők.
Időkód oldal*
*a szolgáltatás eléhetőségétől függően
E funkció segítségével egy adott teletext oldal (pl. emlékeztető oldal) a beállított
időpontban megjelenik a képernyőn.
Oldaláttekintés*
*
csak ha a tv állomás TOP-Text adást sugároz.
Ennél a menünél a TOP-Text oldalak két hasábban jelennek meg, az első tartalmazza
az oldal "blokkokat", a második az oldal "csoportokat".
Oldaláttekintés
1.
A távvezérlő
gombjának kétszeri megnyomásával kapcsoljon egész képernyős
szöveg üzemmódba.
2.
A MENU gombbal hívja be a "Teletext" menüt.
3.
A
v
vagy a
V
gombbal jelölje ki a "Szövegtörlés" sort, majd a
B
gombbal válassza
ki azt.
4.
Az aktuális tv csatorna megjelenik. A teletext oldal megtalálásakor a kék
szimbólum megjelenik a képernyő bal felső sarkában.
5.
A teletext oldal behívásához nyomja meg a távvezérlő
gombját.
1.
Teletext üzemmódban a MENU gombbal hívja be a "Teletext" menüt.
2.
A
v
vagy a
V
gombbal jelölje ki a "Szövegtörlés" sort, majd a
B
gombbal válassza
ki azt. A rejtett információ megjelenik.
1.
Teletext üzemmódban a MENU gombbal hívja be a "Teletext" menüt.
2.
A
v
vagy a
V
gombbal jelölje ki az "Időkód" sort, majd a
B
gombbal válassza ki
azt. Az időkód almenü megjelenik.
3.
A távvezérlő számgombjaival írja be a kívánt teletext oldalszámot.
4.
A távvezérlővel állítsa be a kívánt időpontot.
5.
Az időpont tárolásához nyomja meg az OK gombot. A tv kilép a teletext
üzemmódból, és a beállított időpont a képernyő bal felső sarkában megjelenik. A
beállított időpontban a kiválasztott teletext oldal automatikusan bekapcsol.
1.
A
b
vagy
B
gombbal válassza ki az első vagy a második hasábot.
2.
A
v
vagy a
V
gombbal válassza ki a megfelelő "csoportot" vagy "blokkot".
3.
Az OK gombbal hívja be a kiválasztott oldalt.
12
Használat
A TV tartalmaz egy menürendszert, amely egy sor felhasználóbarát képernyőkijelzésen és menün alapul. Ezek a
kijelzések segítenek abban, hogy a legtöbbet hozza ki a TV-készülékből, segítséget nyújtanak a kép- és hangbeállítások
módosításában, a TV-kép méretének megváltoztatásában, a TV-programok átrendezésében stb.
A kép és a hang beállítása
A kép és a hang gyári előbeállítása megtörtént. Azonban módosíthatja ezeket a beállításokat, hogy megfeleljenek saját
ízlésének.
A TV menürendszerének használata
1. A távvezérlőn lévő MENU gombot megnyomva jelenítse meg a menüt a TV
képernyőjén.
2. A
v
vagy
V
gombbal válassza ki a
menüpontot, ha a képbeállításokat, vagy a
menüpontot ha a hangbeállításokat kívánja módosítani, majd a
B
gombot
lenyomva lépjen be a "Képbeállítás", illetve az "Audio beállítás" menübe.
3. A
v
vagy
V
gombbal válassza ki azt a tételt a képen, amelyet beállítani kíván,
majd a
B
gombot megnyomva erősítse meg a választást. A menüpontok és
hatásaik ismertetését az alábbi táblázat tartalmazza.
4. A
v
,
V
,
B
vagy
b
gombokkal állítsa be a kiválasztott tételt.
5. Amikor befejezte egy tétel beállítását, az OK gomb megnyomásával tárolja az új
beállítást.
6. Ismételje meg a 3-5. lépéseket, ha bármely más tételeket is be kíván állítani.
7. Nyomja meg a MENU gombot, hogy eltávolítsa a menüt a TV képernyőjéről.
A kép szabályozása
Tétel
Hatás/Használat
Kép üzemmód
V
Live
(élő adásokhoz)
Personal(egyéni beállításokhoz)
v
Mozi (filmekhez)
Kontraszt
Kevesebb
b B
Több
Fényerő*
Sötétebb
b B
Világosabb
Színtelítettség*
Kevesebb
b B
Több
Színárnyalat**
Reddish
b B
Greenish
Képélesség*
Lágyabb
b B
Élesebb
*
Csak akkor jelenik meg, ha a "Kép üzemmód" menüben az "Egyéni" funkciót
választja ki.
**
Csak NTSC videórendszer (pl. USA videókazetták) esetében jelenik meg.
Törlés
Visszaállítja a képjellemzőket a gyárilag beállított
értékekre.
AI (Mesterséges
V
Be:
A kontraszt szintjének automatikus
intelligencia)
optimalizálása a TV-jelnek megfelelően.
v
Ki:
Normál
Képzajszűrés
V
Be:
Gyenge vétel esetén a képzajok csőkkentése
v
Ki:
Normál
Sz
nárnyalat
V
Meleg:
Meleg tónus előállítása.
Normál: Normál tónus.
v
Hűvös:
Hűvös tónus előállítása.
13
A hang szabályozása
Tétel
Hatás/Használat
Ekvalizer üzemmód
V
Personal
Vocal
Jazz
Rock
Pop
v
Flat (rögzített beállítás, nem módosítható)
Ekvalizer beállítás
Módosíthatja az Ekvalizer üzemmód pontban kiválasztott
üzemmódot az 5 kiválasztott frekvenciasáv elnyomásával
és kiemelésével. A
b
vagy
B
gombot megnyomva válassza
ki a frekvenciasávot, majd a
V
vagy
v
gombot megnyomva
állítsa be a frekvenciát. Végül az OK gomb megnyomásával
tárolja az új beállítást.
Ha tárolni kívánja az új beállítást, az Ekvalizer üzemmódot "Personal"-ra kell
állítania. A Personal üzemmód állandó jelleggel tárolja a beállítást, míg az összes
többi üzemmód (Vocal, Jazz, Rock, Pop) csak a következő üzemmódváltásig
tárolja azt.
Balansz
b
Eltolódás balra
.
B
Eltolódás jobbra.
Loudness
V
Ki:
Normál.
v
Be:
Zenés műsorokhoz.
Térhatás
V
Ki:
Normál.
v
Be:
Speciális akusztikus hatás.
Auto. hangerőszab.
V
Be : a csatornák hangereje ugyanaz marad
függetlenül a sugárzott jeltől (pl.
reklámok esetében)
v
Ki : a hangerő a sugárzott jelnek megfelelően
változik.
Kettős hang
Kétnyelvű adás esetén:
V
A az 1. hangcsatornára
v
B a 2. hangcsatornára
Sztereo adás esetén:
V
Mono
v
Sztereo
NICAM sztereo adás esetén a NiCAM jelzés rövid időre megjelenik a képen.
Fejhallgatók
i
Hangerő
Kevesebb
b B
Több
i
Kettős hang
Kétnyelvű adás esetén:
V
A az 1. hangcsatornára
v
B a 2. hangcsatornára
A TV menürendszerének használata:
0
(
(
Mono
On
Off
Mono
Off
0
14
A TV menürendszerének használata:
A Szolgáltatások menü használata
1. A távvezérlőn lévő MENU gombot megnyomva jelenítse meg a menüt a TV képernyőjén.
2. A
v
vagy
V
gombbal válassza ki a
opciót a "Szolgáltatások" menühöz, majd a
B
gombot
megnyomva nyissa meg a "Szolgáltatások" menüt.
3. A
v
vagy
V
gombbal válassza ki a kívánt menüpontot, majd a
B
gombot megnyomva erősítse meg
a választást. A menüpontok és hatásaik ismertetését az alábbi táblázat tartalmazza.
4. A
v
,
V
,
B
vagy
b
gombokkal válassza ki a kívánt beállítást.
5. Az OK gomb megnyomásával erősítse meg a beállítás kiválasztását.
6. Ismételje meg a 3-5. lépéseket, ha bármely más tételt is ki kíván választani.
7. Nyomja meg a MENU gombot, hogy eltávolítsa a menüt a TV képernyőjéről.
Tétel
Hatás/Használat
Kikapcsolásidőzítő
Kiválaszthat egy időtartamot, melynek elteltével a TV
készenléti üzemmódba kapcsol.
V
Ki
.
v
90 perc
Gyermekzár
V
Ki : Normál
v
Be : A távvezérlőn lévő gombokat megnyomva kapcsolja ki a TV-
készüléket készenléti üzemmódból. A készüléken lévő
kezelőgombok nem működnek.
AV2 kimenet
V
TV audio/videojel az antennáról
AV1 audio/videojel a scart 1 aljzatról
AV2 audio/videojel a scart 2 aljzatról
AV3 audio/videojel a scart 3 aljzatról
v
AV4 audio/videojel a TV előlapján lévő csatlakozókról
AV 2 Kimenet
A képernyő méretének módosítása
Ez a szolgáltatás lehetővé teszi a TV-kép méretének megváltoztatását.
A távvezérlőn a
gombot ismételten megnyomva vagy a
v
vagy
V
gomb segítségével válassza ki a
következő formátumok egyikét, majd az OK gombot megnyomva erősítse meg a választást:
4:3
hagyományos 4:3 képméret, teljes képmegjelenítés.
16:9
16:9 képarányú műsorokhoz.
4:3
16:9
15
A TV menürendszerének használata:
A programhelyek átrendezése
A TV behangolása után ezt a jellemzőt használhatja a csatornák sorrendjének megváltoztatására a TV-készüléken.
1. A távvezérlőn lévő MENU gombot megnyomva jelenítse meg a menüt a TV képernyőjén.
2. A
V
gombbal válassza ki a
szimbólumot a menüképernyőn, majd a
B
gombot megnyomva
nyissa meg a "Beállítás" menüt.
3. A
V
gombbal válassza ki a "Programok átrendezése" menüpontot, majd a
B
gombot
megnyomva nyissa meg a "Programok átrendezése" menüt.
4. A
v
vagy
V
gombbal válassza ki az áthelyezni kívánt csatornát, majd a
B
gombot megnyomva
erősítse meg a választást.
5. A
v
vagy
V
gombbal válassza ki az új programhelyet (pl. PROG 4) a kiválasztott csatorna
számára, majd az OK gombot megnyomva erősítse meg az áthelyezést. Ezzel a kiválasztott
csatorna az új programhelyre kerülnek, és a többi csatorna ennek megfelelően kap új helyet.
6. Ismételje meg a 4. és 5. lépést, ha más csatornákat is át kíván helyezni.
7. Nyomja meg a MENU gombot, hogy eltávolítsa a menüt a TV képernyőjéről.
A TV manuális hangolása
Már elvégezte a TV automatikus hangolását a jelen útmutató elején lévő utasítások segítségével. Azonban elvégezheti
ezt a műveletet manuálisan is úgy, hogy egyszerre egy csatornát vesz fel a TV-készüléken beprogramozottak közé.
B/G
D/K
IRL
EXT
AV1
AV2
AV3
AV4
Beállítási útmutató
O
- - - - - - -
1. A távvezérlőn lévő MENU gombot megnyomva jelenítse meg a menüt a TV képernyőjén.
2. A
V
gombbal válassza ki a
szimbólumot a menüképernyőn, majd a
B
gombot megnyomva
nyissa meg a "Beállítás" menüt.
3. A
V
gombbal válassza ki a "Kézi beállítás" menüpontot, majd a
B
gombot megnyomva nyissa meg
a "Kezi beallitas" menüt.
4. A
V
gombbal válassza ki a "Kézi hangolás" menüpontot a menüképernyőn, majd a
B
gombot
megnyomva nyissa meg a "Kézi hangolás" menüt.
5. A
v
vagy
V
gombbal válasszon ki egy programhelyet a csatorna számára (pl. PROGR 1 a BBC1
számára), majd a
B
gombot megnyomva jelölje ki az "UGRÁS" oszlopot.
6. A
b
gombot megnyomva válassza ki a "Ki" beállítást, majd a
B
gombot megnyomva jelölje ki a
"NORMA" oszlopot.
7. A
v
vagy
V
gombbal válassza ki a sugárzási rendszert (B/G a nyugat-európai országokban vagy D/
K a kelet-európai országokban vagy az "EXT" beállítást a video műsorforrás számára (AV1, AV2,
...), majd nyomja meg a
B
gombot a beállítások megerősítéséhez.
8. A
v
vagy
V
gombbal válassza ki a "C" beállítást a földi sugárzású csatornák számára, az "S"
beállítást a kábelcsatornák számára vagy az "F" beállítást a közvetlen jelbemenetek számára, majd
a
B
gombot megnyomva erősítse meg a beállítást.
9. Válassza ki a "CS" (csatorna) első számjegyét, majd a "CS" második számjegyét a távvezérlőn lévő
számgombokkal vagy a
v
vagy
V
gombbal keresse meg a következő fogható csatornát.
10. Ha nem szeretné tárolni ezt a csatornát a kiválasztott programhelyen, a
v
vagy
V
gombbal folytassa
a keresést, amíg a kívánt csatorna meg nem jelenik.
11. Ha ez az a csatorna, amelyet tárolni kíván, nyomja meg az OK gombot.
12. Ismételje meg az 5-11. lépést, ha további csatornákat kíván tárolni, majd a MENU gomb
megnyomásával távolítsa el a menüt a TV képernyőjéről.
16
A TV menürendszerének használata:
Az állomások elnevezése
A csatornák nevét a készülék rendszerint automatikusan átveszi a teletext adásból, ha az rendelkezésre áll. A
csatornához vagy videobemenethez Ön is rendelhet egy, legfeljebb öt karakterből (betű vagy szám) álló nevet.
Programhelyek átugrása
Ezzel a funkcióval kijelölheti a nem használt programhelyeket, hogy azokat a készülék a PROGR+/- gombokkal
történő csatornaválasztás közben átugorja. Az átugrott programhelyeket azonban a számgombokkal továbbra is ki
lehet választani.
1. A távvezérlőn lévő MENU gombot megnyomva jelenítse meg a menüt a TV képernyőjén.
2. A
V
gombbal válassza ki a
szimbólumot a menüképernyőn, majd a
B
gombot
megnyomva nyissa meg a "Beállítás" menüt.
3. A
V
gombbal válassza ki a "Kézi beállítás" menüpontot, majd a
B
gombot megnyomva
nyissa meg a "Kézi beállítás" menüt.
4. A
V
gombbal válassza ki a "Kézi hangolás" menüpontot, majd a
B
gombot megnyomva
nyissa meg a "Kézi hangolás" menüt.
5. A
v
vagy
V
gombbal válassza ki azt a csatornát, amelyhez nevet kíván rendelni.
6. Nyomja meg ismételten a
B
gombot mindaddig, amíg a "NÉV" oszlopban az első
karakterhely kiemelésre nem kerül.
7. A
v
vagy
V
gombbal válasszon ki egy betű vagy számot (a szóközhöz nyomja meg a "-"
gombot), majd a
B
gombot megnyomva erősítse meg a választást. Ugyanígy válassza ki a
további négy karaktert.
8. Az összes karakter kiválasztása után nyomja meg az OK gombot.
9. Ismételje meg a 5-8. lépést, ha más csatornákat is el kíván nevezni.
10. Nyomja meg a MENU gombot, hogy eltávolítsa a menüt a TV képernyőjéről.
1. A távvezérlőn lévő MENU gombot megnyomva jelenítse meg a menüt a TV
képernyőjén.
2. A
V
gombbal válassza ki a
szimbólumot a menüképernyőn, majd a
B
gombot
megnyomva nyissa meg a "Beállítás" menüt.
3. A
V
gombbal válassza ki a "Kézi beállítás" menüpontot, majd a
B
gombot
megnyomva nyissa meg a "Kézi beállítás" menüt.
4. A
V
gombbal válassza ki a "Kézi hangolás" menüpontot, majd a
B
gombot
megnyomva nyissa meg a "Kézi hangolás" menüt.
5. A
v
vagy
V
gombbal válasszon ki egy programhelyet, majd a
B
gombot megnyomva
jelölje ki az "UGRÁS" oszlopot.
6. A
v
vagy
V
gombbal válassza a "Ki" vagy "Be" (ha át kívánja ugrani ezt a
programhelyet) beállítást, majd az OK gombot megnyomva tárolja a beállítást.
7. Ismételje meg az 5. és 6. lépést, ha bármely más programhelyeknél módosítani
kívánja az ugrás beállítását.
8. Nyomja meg a MENU gombot, hogy eltávolítsa a menüt a TV képernyőjéről.
Manual Set Up
Select:
Enter:
Language/Country
Manual Programme Preset
Further Programme Preset
RGB Set Up
Picture Rotation
Personal ID
Demo
O
- - - - - - -
Beállítási útmutató
O
- - - - - - -
Beállítási útmutató
O
- - - - - - -
17
A TV menürendszerének használata:
A "További programok tárolása" jellemző használata
E jellemző révén lehetősége van a) egyedileg beállítani minden egyes csatorna hangerejét, b) elvégezni a TV
finomhangolását jobb képvétel érdekében, ha a kép torz vagy c) beállítani az AV kimenetet kódolt (pl. fizető TV-
dekóderről érkező) jelekkel rendelkező csatornák programhelyei számára. Ezzel a módszerrel a videomagnó már a
dekódolt jelet veszi fel.
Beállítási útmutató
O
- - - - - - -
1. A távvezérlőn lévő MENU gombot megnyomva jelenítse meg a menüt a TV képernyőjén.
2. A
V
gombbal válassza ki a
szimbólumot a menüképernyőn, majd a
B
gombot megnyomva
nyissa meg a "Beállítás" menüt.
3. A
V
gombbal válassza ki a "Kézi beállítás" menüpontot, majd a
B
gombot megnyomva
nyissa meg a "Kézi beállítás" menüt.
4. A
V
gombbal válassza ki a "További programok tárolása" menüpontot, majd a
B
gombot
megnyomva nyissa meg a "További programok tárolása" menüt.
5. A
v
vagy
V
gombbal válassza ki az érintett programhelyet, majd a
B
gombot ismételten
megnyomva válassza ki az a) HANG b) AFT vagy c) DEKÓDER menüpontot. A
kiválasztott menüpont színe megváltozik.
6. a)HANG - Hangerő-kiegyenlítés
A
v
vagy
V
gombokkal állítsa be a csatorna hangerejét (-7 és +7 közötti tartományban). Az
OK gombot megnyomva tárolja a beállítást. Ismételje meg az 5. és 6a. lépéseket, ha be kívánja
állítani más csatornák hangerejét is.
b) AFT - Automatikus finomhangolás
A
v
vagy
V
gombbal végezze el a csatorna frekvenciájának finomhangolását a -15 és +15
közötti tartományban. Az OK gombot megnyomva erősítse meg a beállítást. Ismételje meg
az 5. és 6c. lépéseket, ha más csatornák finomhangolását is el kívánja végezni.
c)DEKÓDER
A
v
vagy
V
gombbal válassza ki az AV1 vagy AV2 beállítást a programhely számára, majd az
OK gombot megnyomva erősítse meg a beállítást. Most már csatlakoztathat dekódert a TV
hátlapján lévő AV1 vagy AV2 aljzathoz, és a dekóderről érkező kép az adott programhelyen
fog megjelenni. Ismételje meg az 5. és 6d. lépést, ha más programhelyekhez is be kíván
állítani AV kimenetet.
7. Nyomja meg a MENU gombot, hogy eltávolítsa a menüt a TV képernyőjéről.
18
A TV menürendszerének használata:
A kép alakjának beállítása RGB forrás esetén
Amikor valamilyen RGB jelforrást, például Sony playstation-t csatlakoztat a készülékhez, lehetséges, hogy újra
be kell állítania a kép alakját.
1. A távvezérlőn lévő
gombot megnyomva válassza ki a csatlakoztatott RGB
jelforrást
.
2. A MENU gombot megnyomva jelenítse meg a menüt a TV képernyőjén.
3. A
V
gombbal válassza ki a
szimbólumot a menüképernyőn, majd a
B
gombot
megnyomva nyissa meg a "Beállítás" menüt.
4. A
V
gombbal válassza ki a "Kézi beállítás" menüpontot a menüképernyőn, majd a
B
gombot megnyomva nyissa meg a "Kézi beállítás" menüt.
5. A
V
gombbal válassza ki az "RGB beállítások" menüpontot a menüképernyőn, majd
a
B
gombot megnyomva nyissa meg az "RGB beállítások" almenüt.
6. A
B
gombot megnyomva válassza a H Centre menüpontot, majd a
v
vagy
V
gombbal
állítsa be a kép középpontját a -10 és +10 közötti tartományban. Az OK gombot
megnyomva tárolja az új tartományt.
7. A
B
gombot megnyomva válassza a H Size menüpontot, majd a
v
vagy
V
gombbal
állítsa be a vízszintes koordinátákat a -10 és +10 közötti tartományban. Az OK
gombot megnyomva tárolja az új tartományt.
8. Nyomja meg a MENU gombot, hogy eltávolítsa a menüt a TV képernyőjéről.
1
A kép elforgatásának beállítása
A Föld mágnesessége miatt lehetséges, hogy a kép ferde. Ebben az esetben újra be kell állítania a képet.
1. A távvezérlőn lévő MENU gombot megnyomva jelenítse meg a menüt a TV
képernyőjén.
2. A
V
gombbal válassza ki a
szimbólumot a menüképernyőn, majd a
B
gombot
megnyomva nyissa meg a "Beállítás" menüt.
3. A
V
gombbal válassza ki a "Kézi beállítás" menüpontot, majd a
B
gombot
megnyomva nyissa meg a "Kézi beállítás" menüt.
4. A
V
gombbal válassza ki a "Képelforgatás" menüpontot, majd a
B
gombot
megnyomva nyissa meg a "Képelforgatás" menüt.
5. A
v
vagy
V
gombbal forgassa el a képet -5 és +5 közé eső tartományban, majd az
OK gombot megnyomva tárolja a beállítást.
6. Nyomja meg a MENU gombot, hogy eltávolítsa a menüt a TV képernyőjéről.
- - - - -
- - - - -
Beállítási útmutató
19
A TV menürendszerének használata:
A személyi azonosító kód bevitele
Ennek a jellemzőnek a segítségével egy biztonsági kódot jelölhet ki a TV számára, amely lehetővé teszi a tulajdonos
felkutatását, ha a készülék az ellopását követően megkerül. A biztonsági kód azonban csak egyszer adható meg - kérjük,
jegyezze fel!
1. A távvezérlőn lévő MENU gombot megnyomva jelenítse meg a menüt a TV
képernyőjén.
2. A
V
gombbal válassza ki a
szimbólumot a menüképernyőn, majd a
B
gombot
megnyomva nyissa meg a "Beállítás" menüt.
3. A
V
gombbal válassza ki a "Kézi beállítás" menüpontot a menüképernyőn, majd a
B
gombot megnyomva nyissa meg a "Kézi beállítás" menüt.
4. A
V
gombbal válassza ki a "Szem. azonos. kód" menüpontot a menüképernyőn, majd a
B
gombot megnyomva nyissa meg a "Szem. azonos. kód" almenüt.
5. A
v
vagy
V
gombbal válassza ki az összesen 11 karakter (betű, szám + vagy szóköz) közül
az elsőt, majd a
B
gombot megnyomva lépjen a következő karakterpozícióra.
6. Ismételje meg a 5. lépést a kód összes többi karakterének beviteléhez.
7. Az OK gombot megnyomva tárolja a kódot. Egy üzenetpanel jelenik meg a képernyőn,
amely a kód újbóli bevitelét kéri.
8. Még egyszer nyomja meg az OK gombot a kód végleges tárolásához, vagy a
b
gombot
megnyomva vesse el.
9. Nyomja meg a MENU gombot, hogy eltávolítsa a menüt a TV képernyőjéről.
Bemenő jelek tárolása és elnevezése
Ennek a jellemzőnek a segítségével automatikusan formázhatja és feliratozhatja a külső jelforrásokat.
1. A távvezérlőn lévő MENU gombot megnyomva jelenítse meg a menüt a TV
képernyőjén.
2. A
V
gombbal válassza ki a
szimbólumot a menüképernyőn, majd a
B
gombot
megnyomva nyissa meg a "Beállítás" menüt.
3. A
V
gombbal válassza ki az "AV beállítások" menüpontot a menüképernyőn, majd a
B
gombot megnyomva nyissa meg az "AV beállítások" menüt.
4. A
v
vagy
V
gombbal válassza ki a kívánt AV bemenetet (AV1, 2, 3 vagy 4).
5. A
B
gombbal válassza ki a "NÉV" oszlopot.
6. A
v
vagy
V
gombbal válassza ki a név első karakterét, majd a
B
gombot megnyomva
lépjen a következő karakterpozícióra.
7. Ismételje meg a 6. lépést a további 4 karakter kiválasztásához, majd az OK gombot
megnyomva tárolja a nevet.
8. Ismételje meg a 4-8. lépést a többi AV bemenetnél, majd a MENU gomb
megnyomásával távolítsa el a menüt a TV képernyőjéről.
Beállítási útmutató
-
- - - - - -
AV 1
AV 2
AV 3
AV 4
AV 1
AV 2
AV 3
AV 4
AV 1
AV 2
AV 3
AV 4
AV 1
AV 2
AV 3
AV 4
BEMENET
NÉV
BEMENET
NÉV
20
Külső berendezések
Az alábbi ábra segítségével audio- és videokészülékek széles választékát csatlakoztathatja a TV-készülékhez.
Külső berendezések csatlakoztatása a TV-hez
B C
D
A
Annak érdekében, hogy egy csatlakoztatott berendezés bemenő jele megjelenjen a TV képernyőjén, ki kell választania
annak a csatlakozónak a szimbólumát, amelyhez a készüléket csatlakoztatta.
1. A fenti ábra segítségével csatlakoztassa a berendezést a TV-készülék megfelelő aljzatához.
2. Nyomja meg ismételten a távvezérlőn lévő
gombot mindaddig, amíg a berendezésnek megfelelő
bemenetszimbólum meg nem jelenik a TV képernyőjén (lásd az alábbi táblázatot).
* a jel automatikus érzékelése a csatlakoztatott berendezésnek megfelelően
3. Kapcsolja be a csatlakoztatott berendezést.A csatlakoztatott berendezés (ha van) megjelenik a tv képernyőn.
4. A normál TV-képernyőhöz való visszatéréshez nyomja meg a
gombot.
Megjegyzés: A képtorzulás megelőzése érdekében ne csatlakoztasson berendezéseket egyszerre az
F
és
G
aljzatokhoz.
Fejhallgató csatlakoztatása
Csatlakoztassa a fejhallgatót a készülék előlapján lévő
E
aljzathoz.
Hi-Fi berendezés csatlakoztatása
Csatlakoztassa az audió készülékét a TV készülék hátoldalán taláhatő
D
kimeneti aljzathoz.
A TV
képernyőjén lévő
szimbólum
Bemenő jelek a csatlakozóról
•
Audio/video bemenő jel a
A
scart csatlakozón keresztül vagy* RGB a
A
scart csatlakozón
keresztül
•
Audio/video bemenő jel az
B
scart csatlakozón keresztül vagy* S-video az
B
scart
csatlakozón keresztül
•
Audio/video bemenő jel az
C
scart csatlakozón keresztül vagy* S-video az
C
scart
csatlakozón keresztül
•
S-video bemenő jel az
F
4 érintkezős DIN csatlakozón keresztül vagy* video bemenő jel a
G
phono jacken keresztül és audio bemenő jel a
H
phono jacken keresztül
1
2
3
4
DVD
Hi-Fi
Playstation
Videomagnó
Dekóder
F
G
H
E
100Hz
8mm/Hi8
S-VHS/Hi8
21
Opcionális berendezések
* Ha a kép vagy a hang torz, vigye távolabb a videomagnót a TV-készüléktől.
* Mono videomagnó csatlakoztatása esetén mind a TV-készülékhez, mind pedig a videomagnóhoz csak a fehér
dugaszt kell csatlakoztatni.
* Ha információra van szüksége arra vonatkozóan, hogyan válassza ki a scart 2
/
kimenő jelét, lapozza fel a 14. oldalt.
Berendezések csatlakoztatására vonatkozó további
információk
2
s
2
A Smartlink egy közvetlen összeköttetés a TV-készülék és a videomagnó között.
A Smartlink használatához szükségesek a következők:
*
Olyan videomagnó, amely támogatja a Smartlink, NexTView Link, Easy Link vagy Megalogic jellemzőket.
* Teljes huzalozású 21 pólusú scart kábel a videomagnónak a scart 2
/
aljzathoz való csatlakoztatásához.
A Smartlink által biztosított jellemzők:
*
A hangolási információk (pl. a csatornák áttekintése) letöltésre kerülnek a TV-készülékről a videomagnóra.
* A NexTView segítségével könnyedén programozhatja a videomagnót.
*
Közvetlen felvétel a TV-ről: TV-nézés közben csak egyetlen gombot kell megnyomnia, hogy a videomagnó felvegye
az adott műsort.
A Smartlink-re vonatkozó bővebb információért lapozza fel a videomagnó kezelési útmutatóját.
Smartlink
2
s
2
A távvezérlő fedele alatt lévő gombok segítségével más Sony berendezéseket is vezérelhet.
1. Nyissa fel a távvezérlő fedelét.
2. Állítsa be a VTR 1234 DVD választókapcsolót a vezérelni kívánt készüléknek megfelelően:
VTR1 Beta videomagnó
VTR2 8mm videomagnó
VTR3 VHS videomagnó
VTR4 Digitális videomagnó (DCR-VX 1000/9000E,VHR-1000)
DVD Digitális videolemez
3. A távvezérlőn lévő gombokkal működtesse a készüléket.
* Ha a készülék rendelkezik COMMAND MODE (parancsmód) választókapcsolóval, állítsa azt ugyanolyan
pozícióba, mint amilyenbe a VTR 1234 DVD választókapcsolót állította a TV távvezérlőjén.
* Ha a készülék nem rendelkezik bizonyos funkciókkal, a távvezérlőn lévő megfelelő gomb nem működik.
Más Sony berendezések távvezérlése
22
További információk
A 2/1984. /III.10./ IpM-BkM sz. eqyüttes rendelet értelmében forgalomba hozó tanúsítja, hogy a SONY KV-29FQ65 K típusú
televízió megfelel az alábbi m
ű
szaki értékeknek:
Specifikációk
Sugárzási rendszer
B/G/H, D/K
Színrendszer
PAL, SECAM
NTSC 3.58, 4.43 (csak videobemenet)
Fogható csatornák
Lásd a "Útmutató a csatornákhoz" c. szakaszt a következő oldalon.
Képcső
FD Trinitron
Kb. 72 cm (29 hüvelyk), 104˚-os eltérítés
Csatlakozók a hátlapon
/
21 pólusú Euro csatlakozó (CENELEC szabvány), amely
tartalmaz audio/video bemenetet, RGB bemenetet, TV audio/
video kimenetet.
/
21 pólusú Euro csatlakozó (CENELEC szabvány), amely
tartalmaz audio/video bemenetet, S-video bemenetet, Monitor
audio/video kimenetet.
/
21 pólusú Euro csatlakozó (CENELEC szabvány), amely
tartalmaz audio/video bemenetet, S-video bemenetet, Monitor
audio/video kimenetet.
L/G/S/I
RCA csatlakozók, szabályozható kimenet az audio jelek
R/D/D/D
számára.
Külső hangszórók csatlakozói: 2 pólusú DIN (5)
RF bemenet
Csatlakozók az előlapon
Videobemenet - phono jackek
Audiobemenetek - phono jackek
S-video bemenet - 4 pólusú DIN
Fejhallgató csatlakozó - sztereo minijack
1
s
1
2
s
2
3
s
3
4
4
s
4
Hangfrekvenciás kimenőteljesítmény
Bal/Jobb:
2x20W (zenei)
2x10W (tartós)
Mélyhang sugárzó: 30W (zenei)
15W (
tartós
)
Áramfogyasztás
158 W
Méretek (sz x ma x mé)
Kb. 765x635x570 mm
Súly
Kb. 59kg
Mellékelt tartozékok
RM-893 távvezérlő (1 db)
IEC AA méretű elem (2 db)
Egyéb jellemzők
Lapos Trinitron képcső, zajcsökkentés,
Képzajszűrés,
2000 oldalas teletext memória, személyi azonosító,
elalváskapcsoló, NexTView.
A kialakítás és a specifikációk külön értesítés nélkül
változhatnak.
Csatornakijelzések táblázata
Fogható csatornák
Csatornakijelzések
B/G/H
E2..12, 21..69
C02..C12, C21..69
CABLE TV (1)
S1..S41
S01..S41
CABLE TV (2)
S01..S05
S42..S46
M1..M10
S01..S10
U1..U10
S11.S20
ITALIA
A, B..H, H1, H2
C13..C20
D/K
R01..R12, R21..R69
C01..C12, C21..C69
S01..S05
S42..S46
23
További információk
Az alábbi táblázat tartalmaz néhány egyszerű megoldást arra az esetre, ha valamilyen kép- vagy hangprobléma fordulna elő.
•
Ha a probléma továbbra is fennáll, a készülék javítása érdekében forduljon szakemberhez.
•
SOHA ne bontsa meg a külső burkolatot.
Hibakeresés
Probléma
Javasolt megoldás
Nincs kép (a képernyő sötét), nincs
hang
•
Csatlakoztassa a készüléket a hálózathoz.
•
Nyomja meg a
gombot a TV előlapján.
•
Ha a
jelzőfény világít, nyomja meg a
gombot vagy
egy számgombot a távvezérlőn.
•
Ellenőrizze az antennacsatlakozást.
•
Kapcsolja ki a TV-készüléket 3-4 másodpercre, majd
kapcsolja vissza a TV előlapján lévő
gomb
használatával.
Gyenge a kép vagy nincs kép (a
képernyő sötét), de a hang jó.
•
A menürendszer segítségével válassza ki a
Képbeállítás menüt. Állítsa be a fényerőt, a kép
üzemmódot és a színtelítettséget.
•
A Képbeállítás menüből válassza a Törlés menüpontot,
hogy visszaállítsa a gyári beállításokat.
Jó a kép, nincs hang
•
Nyomja meg a
gombot a távvezérlőn.
•
Ha a
szimbólum látható a képernyőn, nyomja meg a
gombot a távvezérlőn.
Nem látható színesben a színes
program
•
A menürendszer segítségével válassza ki a Képbeállítás
menüt, és módosítsa a színbeállítást.
•
A Képbeállítás menüből válassza a Törlés menüpontot,
hogy visszaállítsa a gyári beállításokat.
Torz a kép programváltáskor
vagy a teletext kiválasztásakor
•
Kapcsoljon ki minden, a TV-készülék hátlapján lévő
scart csatlakozókhoz csatlakoztatott berendezést.
A távvezérlő nem működik
•
Cserélje ki az elemeket.
A
jelzőfény villog a TV-
készüléken
•
Hívja fel a legközelebbi Sony szervizközpontot.
Külső berendezés műsorában
interferencia zaj
•
Csökkentse a képélességet.
/
24
BG
Инструкции за безопасност
Всички телевизори работят при изключително висок волтаж. За да се избегне пожар или таков удар, моля спазвайте
инструкциите за безопастност по-долу.
ЗА ВАШАТА БЕЗОПАСНОСТ
Общи правила за безопасност
•
Не излагайте телевизора на дъжд или влага.
•
Не сваляйте капака.
•
При повреда се обръщайте към квалифициран сервиз.
За безопасно инсталиране
•
Не включвайте телевизора в горещо, влажно или много прашно помещение.
•
Вентилационните отвори не трябва да се блокират или покриват. За добра вентилация
оставете празно разтояние от най-малко 10см около телевизора.
•
Не инсталирайте телевизора на места където може да е изложен на механични
вибрации.
•
Поставете телевизора на стабилна основа конструирана за теглото и размерите на този
телевизор.
За безопасна експлоатация
•
Не включвайте телевизора към захранване друго освен 220-240V, 50Hz.
•
Не включвайте телевизора ако във вентилационните отвори попадне течност или
твърд предмет.
Проверете телевизора незабавно.
•
По причини за безопасност и опзване на околната среда се препоръчва телевизора да
не се оставя на standby режим, когато не се използва. Изключвайте го от
електрическата мрежа.
•
Не изключвайте телевизора чрез дърпане на захранващия кабел. Изключете го като
извадите централния контакт.
•
При буря, изключете телевизора от антената и електрическата мрежа. В противен
случай телевизора може да бъде поразен от светкавица.
Поддръжка
•
Почиствайте телевизора с мек, влажен парцал. Не използвайте абразивни почистващи
препарати.
•
Прахът и никотина могат да предизвикат топлинно натрупване вътре в телевизора.
Това представлява риск и може да съкрати живота на телевизора. Следователно е
добре да сервизирате телевизора на всеки 5 години.
1
Информация за безопасност
Всички телевизори работят с изключително високо напрежение. За предпазване от пожар или удар от електрически ток,
следвайте указанията за безопасност, посочени в предоставената синя карта.
opaди yникaлни дизaйн нa тoзи мoдeл, Coни пpeпopъчвa дa изпoлзвaтe cпeциaлнo paзpaбoтeнaтa пocтaвкa SU-29FQ1. B
пpoтивeн cлyчaй, изпoлзвaйтe пocтaвки, кoитo дa ca дocтaтъчнo здpaви и cтaбилни дa пoeмaт тeглoтo и paзмepитe нa тoзи
тeлeвизop.
Информация за безопасност
Съдържание
Съдържание
Инсталиране
1. Проверка на доставените принадлежности
2. Поставяне на батериите в дистанционното управление
3. Свързване на телевизора
4. Включване на телевизора
5. Използване на джойстика
6. Настройване на вашия телевизор
7.
Намиране на вашия видеоканал
2
2
3
4
4
5
5
Използване
Преглед на бутоните на телевизора
Преглед на бутоните на дистанционното управление
NexTView
Телетекст
Използване на системата от менюта на телевизора
Управление на картината
Управление на звука
Използване на менюто Възможности/Характеристики
Пренареждане на каналите на телевизора
Ръчна настройка на телевизора
Наименуване на канал
Пропускане на програмни позиции
Използване на характеристиката "Допълнителна настройка на
програма"
Настройка на завъртането на картината
Настройка на геометрията на картината за източник на RGB
Въвеждане на вашата лична идентификация
Предварителна настройка и наименуване на входните сигнали
6
7
8
10
12
12
13
14
15
15
16
16
17
18
18
19
19
Допълнителна апаратура
Свързване на допълнителна апаратура към телевизора
Допълнителна информация при свързване на апаратура
Smartlink
Дистанционно управление на друга апаратура на Sony
20
21
21
21
Допълнителна информация
Спецификации
Таблица за показване на каналите
Отстраняване на неизправности
22
22
23
2
За инсталиране на телевизора и
гледане на телевизионни програми,
следвайте стъпки 1-7.
Инсталиране
1. Проверка на доставените принадлежности
2. Поставяне на батериите в дистанционното управление
Винаги спазвайте поляритета при поставяне на батериите.
Никога не забравяйте, че трябва да изхвърлите батериите по начин, опазващ околната среда.
Батерии
+
- -
+
Дистанционно управление
-
+
+
-
3
Инсталиране
3. Свързване на телевизора
1.
Свържете кабела на съществуващата антена към вашия видеокасетофон, както е показано.
2.
Свържете кабела за антена на видеокасетофона от гнездото RF OUT на задната страна на
видеокасетофона към гнездото за антена на задната страна на телевизора, както е показано.
3.
Свържете скарт кабела към AV2 гнездото на задната страна на телевизора.
4.
Свържете видеокасетофона към мрежата и го включете.
5.
Поставете касета със запис във видеокасетофона и натиснете бутона "PLAY".
1.
Свържете извода на вашата съществуваща антена към гнездото, отбелязано с
на задната страна на телевизора.
Свързване на антена към телевизора
Свързване на антена и видеокасетофон към телевизора
Ако не свързвате вашия
телевизор към
видеокасетофон,
свържете извода за
антена (показан вляво)
и преминете към раздел
"4. Включване на
телевизора".
Ако свързвате вашия
телевизор към
видеокасетофон, вж.
раздела по-долу.
Изводът тип SCART се
поставя
допълнително. Ако
обаче той може да се
използва, тази
допълнителна връзка
може да подобри
качеството на
картината и звука в
режим на
възпроизвеждане.
OUT
IN
AERIAL
ANTENNA
AC IN
(съществуващ извод за антена)
(извод SCART - не е
предоставен)
4
Инсталиране
1.
Поставете щепсела на телевизора в контакта на мрежата за променлив ток (220-
240V, 50Hz) и го включете.
2.
Натиснете бутона за включване/изключване
отпред на телевизора.
Ако индикаторът за режим на готовност отпред на телевизора свети, натиснете бутона TV
на
дистанционното управление, за да включите телевизора. Моля, запазете търпение, защото до появяване на картината на
телевизионния екран могат да изминат няколко секунди.
4. Включване на телевизора
5. Използване на джойстика
/
За да изберете раздел от менюто,
натиснете бутона OK в средата.
За придвижване по менютата,
натиснете съответния бутон със
стрелка.
Движение с джойстика
Натискане на джойстика
5
Инсталиране
Преди да настроите телевизора, ще получите въпрос за задаване на вашия език и страна.
6. Настройване на вашия телевизор
Language/Country
Select Language:
Confirm:
Language
Country
Portugu
ê
s
Svenska
Suomi
Türkçe
Ελληνικα
Бьларски
Русский
Бьларски
1.
При появяване на менюто ‘Language/country’ на екрана е осветена
думата "English".
2.
Натиснете бутоните
v
или
V
на дистанционното управление, за да
изберете език, а след това натиснете бутона OK за потвърждаване.
При появяване на менюто за държава на екрана е осветена думата
"ИЗК". Изберете "ИЗК", ако не искате каналите ви да се запомнят
в дадена поредица от канали, започваща от програмна позиция 1.
3.
Натиснете
v
или
V
, за да изберете държавата, в която искате да
използвате телевизора, и натиснете OK, за да потвърдите избора
си.
4.
На екрана на телевизора се появява "авто настройки" на избрания
от вас език. Натиснете бутона OK за потвърждаване.
5.
Уверете се, че антената е свързана в съответствие с указанията, и
натиснете бутона OK за потвърждаване. Телевизорът
автоматично започва да търси и да запомня всички налични канали
вместо вас. Това може да трае няколко минути - моля, бъдете
търпеливи и не натискайте бутоните.
6.
След като телевизорът е настроил всички налични канали, на
екрана на телевизора се появява менюто "Сортиране на
програмите", което ви дава възможност да променяте реда на
каналите на вашия телевизор. Ако желаете да смените реда на
каналите, натиснете бутоните
v
или
V
за избор на канала, който
желаете да преместите, и после натиснете
B
.
Натиснете бутоните
v
или
V
,
за да изберете новото положение на номер на програма за
избрания канал, а след това натиснете бутона OK за
потвърждаване. Сега избраният канал се премества на новата си
програмна позиция, а останалите канали се преместват по
съответен начин. Ако желаете да сортирате реда на други канали
на телевизора, повторете тази процедура.
7.
Натиснете бутона MENU, за да изтриете менюто от екрана на
телевизора.
8.
Натиснете бутона PROGR+/- или цифровите бутони, за да гледате
телевизионните канали.
Забележка: Ако желаете да спрете процеса на автоматична настройка
във всеки момент, натиснете бутона OK.
Ако сте свързали видеокасетофон към телевизора, трябва да намерите вашия видеоканал.
1.
Натискайте бутоните PROGR+/- на дистанционното управление, докато на екрана на телевизора се появи картина от
вашето видео.
Забележка:Ако желаете да преместите вашия видеоканал на друга програмна позиция, вж. раздела "Подреждане на
каналите на телевизора" в това ръководство за експлоатация.
7. Намиране на вашия видеоканал
1
2
3
6
5
4
7
8
9
0
6
Използване
Преглед на бутоните на телевизора
Бутони за управление на силата на звука.
Натиснете за увеличаване (+)/намаляване (-)
на силата на звука.
Бутон за вход от видео.
Натиснете за избиране на
входните сигнали от
видеокасетофон и др.
Бутони Програма нагоре
(+) или надолу (-).
Натиснете за избиране на
телевизионни канали.
Натиснете контролния панел /както е
показано/, за да откриете предните изводи и
бутоните на телевизора.
Контролният панел се отваря.
Бутон за нулиране на досегашни
настройки.
Натиснете, за да върнете фабричните
настройки на картината и звука. Логото
на Sony ще се появи на екрана,
последвано от екран "Autotune". Ако не
желаете
да
пренастойвате
вашия
телевизор , натиснете
b
бутон на
дистанционното.
100Hz
100Hz
7
За временно изключване на телевизора
Натиснете за временно изключване на телевизора.
Натиснете отново за включване от режим готовност. За
икономия на електроенергия препоръчваме пълното
изключване на телевизора, когато той не се използва.
ЗАБЕЛЕЖКА: След 15-30 минути без телевизионен сигнал
и без да е натискан бутон, телевизорът автоматично се
изключва в режим готовност.
За разкриване на информация на екрана
Натиснете за разкриване на всички указания на екрана.
Натиснете отново за отказ. В режим Телетекст, натиснете
за показване на страницата Индекс (обикновено страница
100), а след това натиснете отново за отказ.
За избор на входния сигнал или стопиране на
телетекста
Натиснете за избор на входове от телевизионните гнезда
(вж. раздела "Използване на допълнителна апаратура"). В
режим Телетекст, натиснете за стопиране на показваната
страница. Натиснете отново за отказ.
За връщане към предишния канал
Натиснете за връщане към предишния канал, който сте
гледали. Забележка: Това може да се направи само след
гледане на предварително настроен канал в продължение
на 5 секунди.
За смяна на формата на екрана
Натиснете за смяна на размера на екрана.
Клавиши на Fastext
За подробности вж. раздела "Телетекст" на ръководството.
За избор на елементи от меню
Използвайте бутона OK и клавишите със стрелки за
избор на функциите, предлагани в системата от менюта
на този телевизор.
За избор на канали
Натиснете за избор на канали.
За показване на менюто
Натиснете, ако желаете да използвате системата от менюта
на телевизора. Натиснете отново за махане на менюто от
екрана на телевизора.
Използване
Преглед на бутоните на дистанционното управление
За заглушаване на звука
Натиснете за заглушаване на звука на телевизора.
Натиснете отново за възстановяване на звука.
За връщане в режим телевизия
Натиснете за връщане към нормална работа от
режим телетекст или режим готовност.
За избор на Телетекст
Натиснете за включване и изключване на
Телетекст.
За избор на Електронен указател на
програмите (EPG)
Натиснете за включване и изключване на EPG.
За стопиране на картината
Натиснете, ако искате да си запишете бележка или
информация от телевизионния екран, например
телефонен номер. Натиснете отново за връщане
към нормален режим на телевизия.
За избор на канали
Натиснете бутоните с цифри за избор на канали.
За двуцифрени номера на програми, напр. 23,
натиснете първо -/--, а след това бутони 2 и 3.
За показване на меню за картината
Натиснете за промяна на настройките на
картината. Натиснете бутона OK за премахване
на показаното меню.
За показване на меню за звука
Натиснете за промяна на настройките на звука.
Натиснете бутона OK за премахване на
показаното меню.
За показване на Таблицата на каналите
Натиснете бутона OK. Натиснете
v
или
V
за
избор на желания канал, а после натиснете
B
за
потвърждаване.
За настройка на силата на звука
Натиснете за настройка на силата на звука на
телевизора.
За връщане на фабрично зададените
стойности.
За връщане на настройките на картината и
звука на фабрично зададените стойности,
отворете
капачето
на
дистанционното
управление и натиснете. След като менюто
"Инсталиране" се е появило на екрана на
телевизора, по желание променете езика и
страната, както е описано в раздела "Избор на
език и държава" на ръководството
.
За показване на часа.
За да покажете часа на екрана, отворете капачето на
дистанционното управление и натиснете.
За използване на видеоапаратура
За да работите с вашата видеоапаратура, отворете
капачето на дистанционното управление и натиснете
тези бутони (моля, вж. ръководството за вашия
видеокасетофон).
Дистанционно управление на друга апаратура
на Sony
Отворете капачето на дистанционното управление.
Задайте селектора VTR 1234 DVD в съответствие с
апаратурата, която искате да управлявате:
VTR1: Beta VCR
VTR2: 8mm VCR
VTR3: VHS VCR
VTR4: Digital Video (DCR-VX 1000/9000E,
VHR-1000)
DVD:
Digital Video Disk
С помощта на бутоните на дистанционното управление
управлявайте апаратурата.
8
Използване
* в зависимост от достъпността на услугата
NexTView е електронен програмен с правочник с информация за програмите до 1 седмица на тези канали, които
поддържа избраният доставчик. Aко данните надхвърлят паметта на NexTView, вие ще получите информация за по-
малко от 7 дни.
Kогато търсите информация, вие можете да търсите по тема (напр. спорт, изкуство и др.), дата или час (напр.
предавания между 8 и 9 вечерта). Kогато намерите програма, вие можете да отидете директно на нея, да използвате
таймера, за да ви
напомни за нея или да настроите видеорекордера със Smartlink.
Доставчикът на NexTView отговаря за съдържанието на справочника. Oт телевизора зависи представянето на
информацията, т. е. структурата на менюто и движението по него, ако не са зададени от доставчика.
Aко движението не е зададено от доставчика, основните операции с джойстика са същите като
описаните по-долу на Sony.
Hай-напред изберете програма, която поддьржа функциятя “NexTView”. B този случай индикацията
“NexTView” се изобразява веднага щом пялата информапия е налична.
Pабота с менюто Sony navigation
1.
Hатиснете
, за да включите или изключите NexTView.
2. Използвайте бутоните на джойстика както следва:
•
Движение нагоре и надолу в рамките на една колона: използвайте
V
или
v
•
Oтиване на левите колони час и дата: използвайте
b
•
Oтиване на иконките за дясна колона: използвайте
B
• Потвърждаване на избор: натиснете OK
(a)
докато сте в колонките дата, час или иконка (теми), списъкът с програмите се променя в зависимост от избора.
(
б
)
докато сте в списъка с програмите потвърждаването на текущото предаване отвежда директно на
телевизионната програма, а потвърждаването на бъдеща програма ви отвежда в менюто с информация (вижте
‹зползване на менюто с информация)
Легенда на иконките
Пълен списък на избраните предавания
Cпортни предавания
Личен избор
Забавни предавания
Hовинарски емисии
Петски предавания
Bръщане на предишното меню
Филми
NexTView*
7
Tue
07 Tue
12:38
8
Wed
10
Fri
11
Sat
12
Sun
13
Mon
9
Thu
12
SWISS
Star Wars
Super RTL
Fantasy film, USA, 1996
Werner - Beinhart
Pro 7
Flui grüsst den Rest der Welt
Kabel 1
Once upon a time in the West
Euronews
International News
RTL Plus
10:35 - 12:45
10:20 - 12:00
10:45 - 10:50
11:00 - 11:20
11:45 - 12:50
TXT
TPS / RINGIER
Tue 07. 04 .98
9
Използване
NexTView
Личен избор на програмите
Kогато изберете
, няма да има лични предварително избрани програми. Tази опция ви позволява да направите
свой личен избор на темите и така да ограничите търсенето до отбелязаните теми.
1.
Изберете
като използвате
v
или
V
.
Преместете към
B
.
Mенюто Личен а настройка се появява.
2.
Изберете темата, която желаете да маркирате като използвате
v
или
V
.
Потвърдете като натиснете OK. Повторете стъпка 2 за всички теми, които желаете да имате в своя списък.
3.
Kогато свършите списъка, изберете
като използвате
B
и натиснете OK.
Използване на менюто с информация
1.
Изберете бъдеща програма в колонката със списъка на програмите като използвате
v
или
V
.
Hатиснете OK.
Появява се менюто с информация.
Bие желаете да запишете избраната програма с вашия видеорекордер
(важи само за видеорекордери със Smartlink)
2.
Изберете като използвате
b
и натиснете OK.
Информацията се прехвърля към видеорекордера, свързан с телевизора.
Hастройка на видеорекордера
3.
Изберете VPS/PDC като използвате
b
.
Cлед като сте задали тази опция вие имате гарантиран запис на цялото предаване, дори и да има промяна
в телевизионната програма. Tази опция е възможна само ако избраният канал излъчва VPS/PDC сигнал.
• Изберете Bкл или Изк като използвате OK.
4.
Изберете Cкорост като използвате
V
.
Изберете между режим на стандартен запис (SP) или на дълъг запис (LP). C режима на дълъг запис вие
можете записвате двойно по-дълго време на видеокасета в сравнение със стандартния запис.
Kачеството на картината обаче може да пострада.
• Изберете SP или LP като използвате OK.
5.
Изберете Hаст. видео като използвате
V
.
Изберете с кой от свързаните видеорекордери желаете да направите записа.
• Изберете VCR 1 или 2 като използвате OK.
За да излезете от менюто
6.
Изберете
като използвате
B
.
Hатиснете OK.
Bие сте отново в последното меню.
07 Tue
12:38
Address Mapping
The position of the addresses in the
OSDA is shown in the following diagram.
The position values of the DPW are set
to '0'.
If other values are set, the complete
combination will be scrolled.
Example:
if the DPWC is set to '63', the char-
Speed
Timer Prog
VPS/PDC
SP
VCR1
On
This channel has been set for a timer
First nextTView/EPG-Providers in Europe
SWISS
TXT
TPS / RINGIER
nexTView
Tue 07. 04 .98
Speed
VPS/PDC
VCR1
On
SP
VCR Setup
10
Използване
Повечето телевизионни канали излъчват информация чрез Телетекст. Страницата Индекс на услугата Телетекст (обикновено
страница 100) съдържа информация за начина на използване на тази услуга. Моля, използвайте телевизионен канал със силен
сигнал, защото в противен случай може да има грешки в Телетекст.
Телетекст
Включване и изключване на Телетекст
1.
Изберете телевизионния канал, изпълняващ услугата Телетекст, който искате да
гледате.
2.
Натиснете
за да включите Телетекст.
3.
Натиснете
два пъти, за Смесен режим.
4.
Натиснете
или
натиснете
3. път, за да изключите телетекста.
Избор на страница от Телетекст
Въведете с три цифри номера на страницата, като използвате бутоните с цифри на
дистанционното управление. Ако сгрешите, въведете кои да е три цифри, а след това въведете
отново правилния номер на страница.
Използване на други функции на Телетекст
Избор на следващата или предишната страница
За да изберете следващата или предишната страница, натиснете бутоните
или
на
дистанционното управление.
Избор на подстраница
Телетекст страницата може да се състои от няколко подстраници. В този случай се се
изписва информация за броя на подстраниците. Изберете желаната подстраница като
натискате
v
или
V
.
За стопиране на телетекстна страница
За стопиране на страницата натиснете бутона
. За да отмените стопирането, го натиснете
отново.
Разкриване на индексната страница.
Натиснете бутона
за да разкриете страницата (обикновено стр. 100).
Използване на цветни бутони за достъп до страниците (Fastext)
(налична, само ако телевизионната станция предава сигнали на Fastext)
Когато в долната част на страницата се появи меню с цветово кодиране, натиснете цветен бутон
на дистанционното управление (зелен, червен, жълт или син) за достъп до съответната
страница.
Използване на характеристиката "Хващане на страница"
1.
Натиснете бутоните с цифри на дистанционното управление, за да изберете телетекстна
страница, на която има много номера на страници (например страница Индекс).
2.
Натиснете бутона OK.
3.
Натиснете
v
или
V
, за да изберете желания номер на страница, а след това натиснете
бутона OK. Заявената страница се показва след няколко секунди.
216-02
01
03
04
05
06
07
08
02
Index
TELETEXT
Programme
News
Sport
Weather
25
153
101
98
Index
TELETEXT
Programme
News
Sport
Weather
25
153
101
98
m
m
m
11
Използване
Използване на менюто за Телетекст
Телетекст
1. За показване на менюто на телевизионния екран натиснете бутона MENU на
дистанционното управление.
2.
Натиснете
v
или
V
, за да изберете елемент на екрана, а след това натиснете
B
,
за да
покажете съответното подменю.
3. За махане на менюто на Телетекст от екрана натиснете бутона MENU.
Горен/Долен/Пълен
Подменюто Горен/Долен/Пълен ви дава възможност да увеличавате различни секции от
страницата на Телетекст. Натиснете
v
,
за да разширите горната половина на екрана.
Натиснете
V
,
за да разширите долната половина. Натиснете бутона OK, за да върнете
страницата в нормалния размер. Натиснете
b
,
за да се върнете към екрана на менюто на
Телетекст.
Изчистване на текста
Изчистване на текста е функция, която позволява гледането на телевизионен канал,
докато се тьрси телетекст страница.
Разкриване
Някон Телетекст страници съдържат скрита информация / например при телевизионни
загатки/, която може да бъде разкрита
.
Часова страница*
* в зависимост от достъпността на услугата
Часовата страница, позволява на времекодираните телетекст страници, да се показват на
екрана в определено време.
Преглед на страниците*
*
достьпно само ако телевизионният канал предава TOP-Text.
В това меню страниците TOP-Text са разделени на две колони. Първата колона показва
"блокове" страници, а втората "групи" страници.
1.
Í
атиснете два пъти
бутон на дистанционното, за да превключите целия екран на
Текст.
2. Натиснете бутона MENU, за да покажете Телетекст менюто.
3.
Натиснете
v
или
V
, за да осветите "Text Clear" и натиснете
B
, за да го изберете.
4.
Показва се гледаният до този момент телевизинен канал. Веднага след намирането на
текстовата страница, в горния, ляв ыъл на екрана ще се появи син знак
5.
Натиснете
бутона на дистанционното, за да видите.
1. В режим на текст натиснете бутона MENU на дистанционното, за да изберете
менюто на Телетекста.
2.
Натиснете
v
или
V
,
за да осветите 'Reveal' и натиснете
B
, за да го изберете. Скритата
информация ще се появи на екрана.
1. В режим Текст натиснете бутона MENU на дистанционното, за да влезете в
Телетекст Меню.
2.
Натиснете
v
или
V
,
за да осветите 'Time Page' и натиснете
B
,
за да го изберете
Подменюто на 'Time Page' се появява на екрана.
3. Влезте в желания номер страница, използвайки номерираните бчтони на
дистанционното.
4. Настройте желаното време, използвайки дистанционното.
5. Натиснете OK, за да потвърдите настройките. Телевизорът ще излезе от Телетекст
режим и избраното време ще се появи в горният, ляв ыъл на екрана. В зададеното
време, избраната страница ще се появи на екрана.
1.
Натиснете
b
или
B
,
за да изберете първата или втората колона.
2.
Натиснете
v
или
V
,
за да изберете съответната "група" или "блок" от страници.
3. Натиснете бутона OK, за да покажете избраните страници.
12
Използване
Телевизорът е устроен като система от менюта, която се основава на изображения и менюта на екрана, лесни за потребителя. Тези
изображения ще ви помогнат да получите най-доброто от вашия телевизор, като променяте настройките на картината и звука, да
смените размера на телевизионната картина, да пренаредите каналите на телевизора и т. н.
Настройка на картината и звука
Картината и звука са настроени фабрично. Можете обаче да ги настроите по собствен вкус.
Използване на системата от менюта на телевизора
1.
Натиснете бутона MENU на дистанционното управление, за да покажете менюто на
екрана на телевизора.
2.
Натиснете бутоните
v
или
V
,
за да изберете
за настройки на картината, или
за
настройки на звука, а след това натиснете
B
, за да влезете в менюто "Настройка на
картина" или менюто "Настройка на звука".
3.
Натиснете бутоните
v
или
V
, за да изберете елемента на екрана, който искате да
настроите, и след това натиснете
B
,
за потвърждаване. За описание на елементите на
менюто и действието им вж. таблицата по-долу.
4.
Натиснете бутоните
v
,
V
,
B
или
b
за настройка на избрания елемент.
5. След като сте настроили елемента, натиснете бутона OK за запомняне на новата
настройка.
6. Повторете стъпки 3-5, ако желаете да настройвате други елементи.
7.
Натиснете бутона MENU, за да изтриете менюто от екрана на телевизора.
Управление на картината
Елемент
Действие/използване
Режим картина
V
Живо (за предавания на живо)
Персонален(за индивидуални настройки)
v
Филм (за предаване на филми)
Контраст
По-слаб
b B
По-силен
Яркост*
По-тъмно
b B
По-светло
Цвят*
По-слаб
b B
По-силен
Нюанс**
Червеникав
b B
Зеленикав
Острота*
По-меко
b B
По-рязко
*
Само ако в менюто Режим картина е избрана опцията Персонален
**
Само ако сигналът е NTSC (напр. при US видео записи)
Нулиране
Възстановява картината до фабрично настроените нива
ИИ (Изкуствен интелект
)
V
Вкл:
Автоматично оптимизиране на нивото на
контраст в зависимост от телевизионния сигнал.
v
Изк:
Нормално
Шумопотискане.
V
Вкл:
Подтиска шума в картината вследствие на слаб
сигнал
v
Изк:
Нормално
Тонове на цвета
V
Warm
:
Придава топъл нюанс на картината.
Normal:
Normal
.
v
Cool
:
Придава студен нюанс на картината.
13
Използване на системата от менюта на телевизора:
0
(
)
B
A
Управление на звука
Елемент
Действие/използване
Режим на еквилайзера
V
Персонален
Вокал
Джаз
Рок
Поп
v
Глухо (фиксирана настройка, не може да се
регулира)
Настройка на еквилайзера
Режима, избран в Режим на еквилайзера, можете
да регулирате чрез отрязване и усилване на 5-те
избрани честотни ленти. Натиснете
b
или
B
, за да
изберете честотната лента, а след това
V
или
v
, за
да регулирате честотата. Накрая, натиснете
бутона OK за запомняне на новата настройка.
Ако искате да запомните новата настройка, трябва да зададете Режим на еквилайзера
на "Персонален". Персоналният режим запомня постоянно настройката, а всички
други режими (Вокал, Джаз, Рок, Поп) запомнят само доследващата промяна на
режима.
Баланс
b
На ляво
B
На дясно
Гръмкост
V
Изключен
:
нормален режим.
v
Включен
:
за музикални предавания
.
Пространство
V
Изключен
:
нормален режим.
v
Включен
:
специален акустичен ефект
.
Автоматична сила звук
V
Включено: силата на звука за каналите ще
остава една и съща, независимо от канала на
излъчване (напр., в случай на реклами)
v
Изключено: силата на звука се променя в
зависимост от сигнала на предаване.
Двоен звук
За двуезично предаване:
V
A за канал 1
v
B за канал 2
За стерео предаване:
V
Моно
v
Стерео
Когато се излъчва NICAM стерео, на екрана за кратко се появява индикация NICAM.
Слушалки
i
Сила на звука
По-слабо
b
B
По-силно
i
Двоен звук
За двуезично предаване:
V
A за канал 1
v
B за канал 2
0
NICAM
NICAM
14
Използване на системата от менюта на телевизора:
Използване на менюто Възможности/Характеристики
1.
Натиснете бутона MENU на дистанционното управление, за да покажете менюто на екрана на
телевизора.
2.
Натиснете бутоните
v
или
V
,
за да изберете
за менюто "Възможности/Характеристики", а след
това натиснете
B
, за да влезете в менюто "Възможности/Характеристики".
3.
Натиснете бутоните
v
или
V
,
за да изберете желания елемент на менюто, и натиснете
B
за
потвърждаване. За описание на елементите на менюто и тяхното действие вж. таблицата по-долу.
4.
Натиснете бутоните
v
,
V
,
B
или
b
, за да изберете желаната настройка.
5.
Натиснете бутона OK за потвърждаване на избраната настройка.
6.
Ако желаете да изберете други елементи, повторете стъпки 3-5.
7.
Натиснете бутона MENU, за да изтриете менюто от екрана на телевизора.
Елемент
Действие/използване
Таймер самоизкл
Можете да избирате време, след което телевизорът се самоизключва
до режим на готовност.
V
Изключено
.
v
90 мин.
Забр. за деца
V
Изключено: Нормално
v
Включено: Натиснете бутоните на дистанционното управление, за да
превключите телевизора от режим на готовност. Бутоните на
телевизора не работят.
AV2 изход
V
Телевизионен аудио/видео сигнал от антената
AV1 аудио/видео сигнал от вход SCART 1
AV2 аудио/видео сигнал от вход SCART 2
AV3 аудио/видео сигнал от вход SCART 3
v
AV4 аудио/видео сигнал от съединителите отпред на телевизора
.
.
AV 4
Промяна на размера на екрана
Тази
характеристика
ви
позволява
да
променяте
размера
на
екрана
на
картината
на
телевизора
.
С
неколкократно
натискане
на
бутона
на
дистанционното
управление
или
с
помощта
на
бутоните
v
или
V
изберете
един
от
следните
формати
,
а
след
това
натиснете
бутона
OK
за
потвърждаване
на
избора
:
4:3
обикновен
размер
на
картината
4:3,
пълна
информация
от
картината
.
1
6:9
предавания
1
6:9.
4:3
16:9
15
Използване на системата от менюта на телевизора:
Пренареждане на каналите на телевизора
След като настроите телевизора, можете с помощта на тази характеристика да промените реда на
каналите на телевизора.
1. Натиснете бутона MENU на дистанционното управление, за да покажете менюто на екрана на
телевизора.
2.
Натиснете бутона
V
,
за да изберете символа
на екрана на менюто, а след това натиснете
B
, за да
влезете в менюто "Настройка".
3.
Натиснете бутона
V
,
за да изберете "Сортиране на програмите", а след това натиснете B, за да
влезете в менюто "Сортиране на програмите".
4.
Натиснете бутоните
v
или
V
,
за да изберете канала, който искате да преместите, а след това
натиснете B за потвърждаване.
5.
Натиснете бутоните
v
или
V
, за да изберете новата програмна позиция (напр. ПРОГ 4) за избрания
от вас канал, а след това натиснете бутона OK за потвърждаване. Избраният канал се премества на
новата си програмна позиция, а другите канали се преместват по съответен начин.
6. Ако желаете да сортирате другите канали, повторете стъпки 4 и 5.
7. Натиснете бутона MENU, за да изтриете менюто от екрана на телевизора.
Ръчна настройка на телевизора
Вече сте настроили телевизора автоматично с помощта на инструкциите в началото на това
ръководство. Можете обаче да извършите тази операция и ръчно, като добавяте канали към
телевизора един по един.
1. Натиснете бутона MENU на дистанционното управление, за да покажете менюто на екрана на
телевизора.
2.
Натиснете бутона
V
,
за да изберете символа
на екрана на менюто, а след това натиснете
B
,
за да
влезете в менюто "Настройка".
3.
Натиснете бутона
V
,
за да изберете "Ръчна настройка" на екрана на менюто, а след това натиснете B,
за да влезете в менюто "Ръчна настройка".
4.
Натиснете бутона
V
,
за да изберете "Ръчна настройка на програмите" на екрана на менюто, а след
това натиснете
B
, за да влезете в менюто "Ръчна настройка на програмите".
5.
Натиснете бутоните
v
или
V
,
за да изберете номера на програма за вашия канал (напр. ПРОГ 1 за
КАНАЛ 1), а след това натиснете
B
, за да осветите колонката "ПРОПУСКАНЕ".
Натиснете
v
,
за да изберете "ИЗК", а след това натиснете
B
,
за да осветите колонката "СИСТ".
6.
Натиснете бутоните
v
или
V
,
за да изберете системата на телевизионно предаване (B/G за
западноевропейските страни или D/K за източноевропейските страни) или "EXT" за източник на
сигнал от видео (AV1, AV2, ...), след което натиснете
B
за потвърждаване.
7.
Натиснете бутоните
v
или
V
,
за да изберете "C" за ефирни канали, "S" за кабелни канали или "F" за
входове с директна честота, след което натиснете
B
за потвърждаване.
8.
Изберете първата цифра от "КН" (канал), а след това втората цифра от "КН" с цифровите бутони на
дистанционното управление или натиснете бутоните
v
или
V
,
за да търсите следващия наличен канал.
9.
Ако не желаете да този канал да бъде запомнен на номера на програма, който сте избрали, натиснете
бутоните
v
или
V
,
за да продължите търсенето на желания канал.
10. Ако това е каналът, който искате да бъде запомнен, натиснете бутона OK.
11. Повторете стъпки 5-11, ако искате да бъдат запомнени още канали, а след това натиснете бутона
MENU, за да изтриете менюто от екрана на телевизора.
B/G
D/K
IRL
EXT
Ръчна настройка
O
- - - - - - -
Търси
16
Използване на системата от менюта на телевизора:
Наименуване на канал
Имената на каналите обикновено се взимат автоматично от Телетекст, ако има такъв в наличност. Можете обаче
да наименувате канал или входен сигнал от видео, като използвате до пет знака (букви и цифри)
.
Пропускане на програмни позиции
Тази функция ви дава възможност да пропускате неизползвани програмни позиции, когато ги избирате
с бутоните PROGR+/-. Все още обаче можете да избирате пропуснатата програмна позиция, като
използвате цифровите бутони.
1. Натиснете бутона MENU на дистанционното управление, за да покажете менюто на екрана на
телевизора.
2.
Натиснете бутона
V
,
за да изберете символа
на екрана на менюто, а след това натиснете
B
,
за да влезете в менюто "Настройка".
3.
Натиснете бутона
V
, за да изберете "Ръчна настройка", а след това натиснете
B
, за да влезете в
менюто "Ръчна настройка".
4.
Натиснете бутона
V
,
за да изберете "Ръчна настройка на програми", а след това натиснете
B
,
за
да влезете в менюто "Ръчна настройка на програми".
5.
Натиснете бутоните
v
или
V
,
за да изберете канала, който желаете да наименувате.
6.
Натиснете бутона
B
неколкократно, докато се освети първият елемент от колонката "ИМЕ".
7.
Натиснете бутоните
v
или
V
,
за да изберете буква или цифра (за интервал изберете "-"), а след
това натиснете
B
за потвърждаване. По същия начин изберете останалите четири знака.
8. След като сте избрали всичките четири знака, натиснете бутона OK.
9. Ако желаете да поставите име на други канали, повторете стъпки от 5 до 8.
10. Натиснете бутона MENU, за да изтриете менюто от екрана на телевизора.
1. Натиснете бутона MENU на дистанционното управление, за да покажете менюто на екрана
на телевизора.
2.
Натиснете бутона
V
,
за да изберете символа
на екрана на менюто, а след това натиснете
B
,
за да влезете в менюто "Настройка".
3.
Натиснете бутона
V
,
за да изберете "Ръчна настройка", а след това натиснете
B
,
за да влезете
в менюто "Ръчна настройка".
4.
Натиснете бутона
V
,
за да изберете "Ръчна настройка на програма", а след това натиснете
B
,
за да влезете в менюто "Ръчна настройка на програма".
5.
Натиснете бутоните
v
или
V
,
за да изберете програмната позиция, а след това
B
,
за да
осветите колонката "ПРОП.".
6.
Натиснете бутоните
v
или
V
,
за да изберете "Изк" или "Вкл" (ако желаете да пропуснете тази
програмна позиция), а след това натиснете бутона OK за запомняне.
7. Повторете стъпки 5 и 6, ако желаете да пропуснете или прекратите пропускането на други
програмни позиции.
8. Натиснете бутона MENU, за да изтриете менюто от екрана на телевизора.
Manual Set Up
Select:
Enter:
Language/Country
Manual Programme Preset
Further Programme Preset
RGB Set Up
Picture Rotation
Personal ID
Demo
O
- - - - - - -
Ръчна настройка
O
- - - - - - -
Ръчна настройка
O
- - - - - - -
17
Използване на системата от менюта на телевизора:
Използване на характеристиката "Допълнителна настройка на програми"
С тази характеристика можете: а) да настройвате индивидуално силата на звука на всеки канал; б) ръчно да
настройвате фино телевизора за получаване на по-добро приемане на картина, ако картината е изкривена или
в) предварително да настроите изхода на AV за програмните позиции на канали с кодирани сигнали (напр. от
телевизионен декодер със заплащане). По този начин свързан видеокасетофон записва декодиран сигнал.
Ръчна настройка
O
- - - - - - -
1. Натиснете бутона MENU на дистанционното управление, за да покажете менюто на екрана на
телевизора.
2.
Натиснете бутона
V
, за да изберете символа
на екрана на менюто, а след това натиснете B, за
да влезете в менюто "Настройка".
3.
Натиснете бутона
V
,
за да изберете "Ръчна настройка", а след това натиснете B, за да влезете в
менюто "Ръчна настройка".
4.
Натиснете бутона
V
, за да изберете "Допълнителна настройка на програми", а след това
натиснете B, за да влезете в менюто "Допълнителна настройка на програми".
5.
Натиснете бутоните
v
или
V
,
за да изберете съответния номер на програма, а след това натиснете
бутона B неколкократно, за да изберете: а) VOL б) AFT или в) ДЕКОДЕР. Избраният елемент
сменя цвета си.
6.
а) VOL - Изместване на силата на звука
Натиснете бутоните
v
или
V
, за да регулирате нивото на звука (диапазон от -7 до +7) на канала. За
запомняне натиснете бутона OK. Ако желаете да настроите нивото на звука за други канали,
повторете стъпки 5 и 6а.
б) AFT - Автоматична фина настройка
Натиснете бутоните
v
или
V
, за да настроите фино честотата на канала в диапазон от -15 до +15.
Натиснете бутона OK за потвърждаване. Ако желаете да настроите фино други канали,
повторете стъпки 5 и 6в.
в) ДЕКОДЕР
Натиснете бутоните
v
или
V
, за да изберете AV1 или AV2 за програмната позиция, а след това
натиснете бутона OK за потвърждаване. Сега можете да свържете декодер към гнездото AV1
или AV2 на задната страна на телевизора и картината от този декодер ще се появи на този номер
програма. За настройване на AV изход за други програмни позиции повторете стъпки 5 и 6г.
7. Натиснете бутона MENU, за да изтриете менюто от екрана на телевизора.
18
Използване на системата от менюта на телевизора:
Настройка на геометрията на картината за източник на RGB
При свързване на източник на RGB, например телевизионна игра Sony, може да е необходимо пренастройване на
геометрията на картината.
1. Натиснете бутона
на дистанционното управление, за да изберете свързания източник на
RGB
.
2. Натиснете бутона MENU на дистанционното управление, за да покажете менюто на екрана на
телевизора.
3.
Натиснете бутона
V
, за да изберете символа
на екрана на менюто, а после натиснете
B
,
за да
влезете в менюто "Настройка".
4.
Натиснете бутона
V
, за да изберете "Ръчна настройка" на екрана на менюто, а след това
натиснете B, за да влезете в менюто "Ръчна настройка".
5.
Натиснете бутона
V
, за да изберете "RGB настройка" на екрана на менюто, а след това
натиснете
B
,
за да влезете в подменюто "RGB настройка".
6.
Натиснете
B
, за да изберете H Centre, а след това натиснете
v
или
V
,
за да регулирате центъра
на картината в диапазон от -10 до +10. С натискане на бутона OK новият диапазон се запомня.
7.
Натиснете
B
, за да изберете H Size, а след това натиснете
v
или
V
, за да регулирате
хоризонталните координати в диапазон от -10 до +10. С натискане на бутона OK новият
диапазон се запомня.
8. Натиснете бутона MENU, за да изтриете менюто от екрана на телевизора.
1
Настройка на завъртането на картината
По причина на земния магнетизъм е възможно картината да е наклонена. В такъв случай можете да
пренастроите картината.
1. Натиснете бутона MENU на дистанционното управление, за да покажете менюто на екрана
на телевизора.
2.
Натиснете бутона
V
, за да изберете символа
на екрана на менюто, а след това натиснете
B
,
за да влезете в менюто "Настройка".
3.
Натиснете бутона
V
,
за да изберете "Ръчна настройка", а след това натиснете
B
, за да влезете
в менюто "Ръчна настройка".
4.
Натиснете бутона
V
, за да изберете "Завъртане на картината", а след това натиснете
B
,
за да
влезете в подменюто "Завъртане на картината".
5.
Натиснете бутоните
v
или
V
, за да завъртите картината в диапазона от -5 до +5, а след това
натиснете бутона OK за запомняне.
6. Натиснете бутона MENU, за да изтриете менюто от екрана на телевизора.
- - - - -
- - - - -
Ръчна настройка
19
Използване на системата от менюта на телевизора:
Въвеждане на вашата лична идентификация
С помощта на тази характеристика можете да назначите код на защита на вашия телевизор, който ще
помогне за удостоверяване на телевизора, в случай че бъде откраднат и намерен. Моля да отбележите
обаче, че кодът на защита може да се въвежда само веднъж!
1. Натиснете бутона MENU на дистанционното управление, за да покажете менюто на екрана
на телевизора.
2.
Натиснете бутона
V
, за да изберете символа
на екрана на менюто, а след това натиснете
B
, за да влезете в менюто "Настройка"
3.
Натиснете бутона
V
,
за да изберете "Ръчна настройка" на екрана на менюто, а след това
натиснете
B
, за да влезете в менюто "Ръчна настройка".
4.
Натиснете бутона
V
, за да изберете "Лична идентификация" на екрана на менюто, а след
това натиснете
B
, за да влезете в подменюто "Лична идентификация".
5.
Натиснете бутоните
v
или
V
, за да изберете първия от общо 11 знака (буква, цифра, + или
интервал), а след това натиснете
B
, за да преминете към следващия знак.
6. Повторете стъпка 5, за да въведете всички знаци за кода.
7. Натиснете бутона OK за запомняне. На екрана се появява клетка на състоянието, която ви
подканва да въведете повторно кода си.
8.
Отново натиснете бутона OK за окончателно запомняне на кода или натиснете
b
за отказ.
9. Натиснете бутона MENU, за да изтриете менюто от екрана на телевизора.
Предварителна настройка и наименуване на входните сигнали
С помощта на тази характеристика можете автоматично да форматирате и наименувате входните
източници.
1. Натиснете бутона MENU на дистанционното управление, за да покажете менюто на екрана на
телевизора.
2.
Натиснете бутона
V
,
за да изберете символа
на екрана на менюто, а след това натиснете
B
,
за да влезете в менюто "Настройка".
3.
Натиснете бутона
V
,
за да изберете "AV Настройка" на екрана на менюто, а след това
натиснете
B
, за да влезете в менюто "AV Настройка".
4.
Натиснете бутоните
v
или
V
,
за да изберете желания AV вход (AV1, 2, 3 или 4).
5.
Натиснете бутона
B
, за да изберете "ИМЕ".
6.
Натиснете бутоните
v
или
V
, за да изберете първия знак на името, а след това натиснете
бутона
B
, за да преминете към следващия знак.
7. Повторете стъпка 6, за да изберете останалите 4 знака, които след това се запомнят с
натискане на бутона OK.
8. Повторете стъпки 4-8 за другите входни източници AV, а след това натиснете бутона MENU,
за да изтриете менюто от екрана на телевизора.
Ръчна настройка
-
- - - - - -
AV 1
AV 2
AV 3
AV 4
AV 1
AV 2
AV 3
AV 4
AV 1
AV 2
AV 3
AV 4
AV 1
AV 2
AV 3
AV 4
ВХОД
ЙМЕ
ВХОД
ЙМЕ
20
Допълнителна апаратура
Като използвате илюстрациите по-долу, към вашия телевизор можете да свързвате широка гама от аудио и
видео апаратура.
Свързване на допълнителна апаратура към телевизора
За да получите входния сигнал от свързаната апаратура на екрана на телевизора, трябва да изберете символа
на съединителя, към какъвто сте свързали устройството.
1. Като използвате илюстрациите по-горе, свържете вашата апаратура към съответното гнездо на телевизора.
2.
Натискайте бутона
на дистанционното управление, докато на екрана на телевизора се появи правилния символ на вход за
вашата апаратура (вж. таблицата по-долу):
* автоматично откриване на сигнала в съответствие със свързаната апаратура
3. Включете свързаната апаратура. Образ от тази апаратура /ако е налична/ щесе появи на екрана.
4. Натиснете
, за да се върнете към нормалния екран на телевизора.
Забележка: За да избегнете изкривяване на картината, не свързвайте едновременно апаратура към гнездата
F
и
G
.
Свързване на слушалките.
Включете елушалките във вход
E
на предната част на телевизора.
Свързване на Hi Fi апаратура
Включете Вашата аудио апаратура към изходите
D
на задната страна на телевизора.
Символ на
екрана на
телевизора
Входни сигнали от съединителя
•
Аудио/видео входен сигнал през SCART съединител
A
или* RGB през SCART съединител
A
•
Аудио/видео входен сигнал през SCART съединител
B
или* S-видео през SCART съединител
B
•
Аудио/видео входен сигнал през SCART съединител
C
или* S-видео през SCART съединител
C
•
S-видео входен сигнал през 4-изводен DIN съединител
F
или* видео входен сигнал през фоно жак
G
и аудио входен сигнал през фоно жакове
H
1
2
3
4
B C
D
A
DVD
Hi-Fi
Playstation
видео
Декоде
р
F
G
H
E
100Hz
8mm/Hi8
камера
S-VHS/Hi8
камера
21
Допълнителна апаратура
Допълнителна информация при свързване с други уреди
.
Апаратура по избор
*
Ако има изкривяване на картината или звука, отдалечете видеокасетофона от телевизора.
*
Когато свързвате моно видеокасетофон, свържете само белия жак към телевизора и към видеокасетофона.
*
За информация как се избира изходния сигнал на SCART 2
/
, вж. стр. 14.
*
Когато свързвате допълнително хаи-фи оборудване, можете да
настроите силата на звука, като промените
настройката на слушалките в менюто за регулиране на звука - моля, консултирайте се с главата за
настройка на картината и звука в този наръчник.
2
s
2
Smartlink е директна връзка между телевизора и видеокасетофона.
За Smartlink ви е необходимо следното:
*
Видеокасетофон, който поддържа Smartlink, NexTView Link, Easy Link или Megalogic.
*
Напълно опроводен SCART кабел с 21 извода за свързване на видеокасетофона към съединителя SCART 2
/
.
Характеристиките на Smartlink са следните:
*
Информацията за настройване,
като ви
да на преглед на каналите, се прехвърля от телевизора към видеокасетофона.
*
С помощта на NexTView можете лесно да програмирате вашия видеокасетофон.
*
Директен запис от телевизора: докато гледате телевизия, е необходимо само да натиснете един бутон на видеокасетофона,
за да запишете тази програма.
Допълнителна информация по Smartlink потърсете в инструкциите за експлоатация на вашия видеокасетофон.
Smartlink
2
s
2
С помощта на бутоните под капачето на дистанционното управление можете да управлявате друга апаратура
на Sony.
1. Отворете капачето на дистанционното управление.
2. Задайте селектора VTR 1234 DVD в съответствие с апаратурата, която искате да управлявате:
VTR1 Beta VCR
VTR2 8mm VCR
VTR3 VHS VCR
VTR4 Digital Video (DCR-VX 1000/9000E,VHR-1000)
DVD Digital Video Disk
3. С помощта на бутоните на дистанционното управление управлявайте апаратурата.
*
Ако вашата апаратура има селектор КОМАНДЕН РЕЖИМ, установете този селектор на същото положение, както
и селектора VTR 1234 DVD на дистанционното управление на телевизора.
*
Ако на апаратурата няма дадена функция, съответният бутон на дистанционното управление не работи.
Дистанционно управление на друга апаратура на Sony
22
Допълнителна информация
Спецификации
Телевизионна система
B/G/H, D/K
Цветова система
PAL, SECAM
NTSC 3.58, 4.43 (само вход от Видео)
Обхват на каналите
Вж. "Таблица за показване на каналите" по-долу
Електроннолъчева тръба
FD Trinitron
Прибл. 72cm (29 инча), отклонение 104°
Задни клеми
/
21-изводен Euro съединител (стандарт CENELEC), включващ
аудио/видео вход, RGB вход, телевизионен аудио/видео
изход.
/
21-изводен Euro съединител (стандарт CENELEC), включващ
аудио/видео вход, S-видео вход, аудио/видео изход за
монитор.
/
21-изводен Euro съединител (стандарт CENELEC), включващ
аудио/видео вход, S-видео вход, аудио/видео изход за
монитор.
L/G/S/I
RCA конектори, изход за аудио сигнали
R/D/D/D
Клеми за външни високоговорители: 2-изводен DIN (5)
RF In
Клеми на предната страна
Âèäåî âõîä - ôîíî æàêîâå
Àóäèî âõîäîâå - ôîíî æàêîâå
S-âèäåî âõîä - 4-èçâîäåí DIN
Æàê çà ñëóøàëêè - ñòåðåî ìèíèæàê
1
s
1
2
s
2
3
s
3
4
4
s
4
Звуков изход
Ляв/Десен:
2x20W /музикална мощност/
2x10W (RMS)
суббас:
30W /музикална мощност/
15W (RMS)
Мощност на потребление
158W
Размери (шxвxд)
Прибл. 765x635x570 mm
Тегло
Прибл. 59 kg
Предоставяни принадлежности
Дистанционно управление RM-893 (1)
Батерии, определени от IEC, размер AA (2)
Други характеристики
Електроннолъчева тръба Trinitron с плоско
изображение, дигитално намаляване на
нивото на шума,
2000 стр. Памет на
телетекста
, графичен еквилайзер, лична
идентификация, таймер за самоизключване,
NexTView.
Конструкцията и спецификациите
подлежат на изменение без
предупреждение.
Таблица за показване на каналите
Приемани канали
Изображения на каналите
B/G/H
E2..12, 21..69
C02..C12, C21..69
КАБЕЛНА ТВ
(1)
S1..S41
S01..S41
КАБЕЛНА ТВ
(2)
S01..S05
S42..S46
M1..M10
S01..S10
U1..U10
S11.S20
ИТАЛИЯ
A, B..H, H1, H2
C13..C20
D/K
R01..R12, R21..R69
C01..C12, C21..C69
S01..S05
S42..S46
23
Допълнителна информация
Ето някои прости решения на проблемите, които могат да засегнат картината и звука.
•
Ако тези проблеми продължат да се появяват, телевизорът трябва да бъде прегледан от квалифициран сервизен
техник.
•
НИКОГА не отваряйте сами кутията.
Отстраняване на неизправности
Проблем
Предложение за отстраняване
Липса на картина (екранът е
тъмен), липса на звук
•
Включете телевизора в мрежата.
•
Натиснете бутона
отпред на телевизора.
•
Ако индикаторът
е включен, натиснете бутона
или
цифров бутон на дистанционното управление.
•
Проверете свързването на антената.
•
Изключете телевизора за 3 или 4 секунди и след това отново го
включете, като използвате бутона
отпред на телевизора.
Лоша или липса на картина
(екранът е тъмен), но добър звук
•
С помощта на системата от МЕНЮТА изберете показване на
Настройка на
картината. Настройте нивата на яркостта, картинния и
цветовия баланс.
•
От изображението на Настройка на картината изберете
НУЛИРАНЕ, за да се върнете към фабричните настройки.
Добра картина, липса на звук
•
Натиснете бутона
на дистанционното управление.
•
Ако на екрана е показано
, натиснете бутона
на
дистанционното управление.
Липса на цвят или цветни програми.
•
С помощта на системата от МЕНЮТА, изберете показване на
Настройка на картината и регулирайте цветовата настройка.
•
От изображението на Настройка на картината изберете
НУЛИРАНЕ, за да се върнете към фабричните настройки.
Изкривяване на картината при
смяна
на програми или избиране на
Телетекст
•
Изключете всяка апаратура, свързана със съединителите
SCART на задната страна на телевизора.
Дистанционното управление не
функционира.
•
Заменете батериите.
Индикаторът за готовност
на
телевизора мига.
•
Обърнете се към най-близкия сервизен център на Sony.
Смущения в картината
предизвикани от външни източници.
•
намалете нивото на остротата
/
24
RU
Общие правила техники безопасности
Все телевизоры работают под очень высоким напряжением. Для предотвращения пожара или поражения электрическим
током следуйте, пожалуйста, инструкциям по безопасности, приведенным ниже.
Для Вашей безопасности
В целях общей безопасности
•
Не подвергайте аппарат воздействию дождя или сырости.
•
Не открывайте заднюю панель.
•
В целях Вашей безопасности поручайте обслуживание телевизора только
квалифицированным специалистам.
В целях безопасной установки
•
Не устанавливайте телевизор в жарких, влажных или чрезмерно запыленных местах.
•
Не закрывайте вентиляционные отверстия. Для вентиляции оставьте свободным
пространство как минимум 10 см вокруг телевизора.
•
Не устанавливайте телевизор в местах, подверженных повышенной механической
вибрации.
•
Устанавливайте телевизор только на устойчивую стойку, предназначенную для
размеров и веса Вашего телевизора.
В целях безопасной эксплуатации
•
Подключайте телевизор только к сети напряжением 220-240 В переменного тока с
частотой 50 Гц.
•
Не пользуйтесь телевизором, если в него попала какая-либо жидкость или твердый
предмет – немедленно отдайте проверить его квалифицированному специалисту.
•
Для сохранения окружающей среды и по причинам безопасности не рекомендуется
оставлять телевизор в режиме временного отключения (standby), когда он не
используется. Отключите его от сети.
•
Для отключения от сети не тяните за шнур питания, а вытащите штепсель из розетки.
•
В случае грозы во избежание поражения молнией отключите телевизор от сети и
отсоедините внешнюю антенну.
В целях обслуживания
•
Протирайте телевизор сухой мягкой тканью. Не используйте никакие абразивные
чистящие вещества.
•
Пыль и табачный дым могут привести к накоплению тепла внутри телевизора при
длительной эксплуатации. На протяжении эксплуатации это может привести к
снижению безопасности и сократить срок службы Вашего телевизора. Поэтому
обращайтесь примерно каждые пять лет к квалифицированным специалистам для
обслуживания Вашего телевизора.
1
Информация по безопасности работы
Все телевизоры работают на сверхвысоком напряжении. Для предупреждения пожара или короткого замыкания выполняйте меры
безопасности, указанные на прилагаемом голубом листке.
Bceгдa иcпoльзyйтe нaдeжныe и пpoчныe тeлeвизиoнныe cтoйки, cпocoбныe выдepжaть вec и paзмep тeлeвизopa. Фиpмa “Sony”
нacтo тeльнo peкoмeндyeт иcпoльзoвaть cтoйкy SU-29FQ1, cпeциaльнo пpeднaзнaчeннyю дл этoй мoдeли тeлeвизopa c yникaльным
“плaвaющим” дизaйнoм. Ecли Bы нe иcпoльзyeтe peкoмeндyeмyю cтoйкy, тo чpeзвычaйнo вaжнo ycтaнoвить тeлeвизop нa плocкyю
пoвepxнocть, нa кoтopoй дocтaтoчнo мecтa дл paзмeщeни вcex тpex нoжeк тeлeвизopa. Yбeдитeсь пpи этoм, чтo ни oднa из ниx нe
cвeшивaeтc .
Информация по безопасности работы
Содержание
Содержание
Установка
1. Проверка комплектующих принадлежностей
2. Установка батареек в пульт дистанционного управления
3. Подключение телевизора
4. Включение телевизора
5. Пользование джойстиком
6. Настройка телевизора
7.
Поиск видеоканала
2
2
3
4
4
5
5
Работа телевизора
Просмотр клавишей настройки телевизора
Просмотр клавишей дистанционного управления
NexTView
Телетекст
Использование системы меню телевизора
Регулировка изображения
Регулировка звука
Пользование меню параметров
Перераспределение телевизионных каналов
Ручная настройка телевизора
Обозначение каналов
Пропуск программных положений
Использование функции дополнительной настройки
Настройка поворота изображения
Настройка геометрии изображения от источника RGB-сигнала
Введение персональной идентификации
Предварительная настройка и маркировка входных сигналов
6
7
8
10
12
12
13
14
15
15
16
16
17
18
18
19
19
Дополнительное оборудование
Подключение к телевизору дополнительного оборудования
Дополнительная информация для подключения оборудования
Канал Smart
Пульт дистанционного управления другой аппаратуры Sony
20
21
21
21
Дополнительная информация
Технические характеристики
Таблица отображения каналов
Поиск неполадок
22
22
23
2
Выполните операции 1-7 для установки
телевизора и просмотра телевизионных
программ.
Установка
1. Проверка комплектующих принадлежностей
2. Установка батареек в пульт дистанционного управления
Батарейки
Соблюдайте полярность при установке батареек.
Выбрасывая отработанные батарейки, всегда помните о необходимости защиты окружающей среды.
+
- -
+
Пульт дистанционного управление
-
+
+
-
3
Установка
3. Подключение телевизора
1. Соедините существующий антенный вывод с КВМ, как показано на рисунке.
2. Подключите антенный вывод КВМ от высокачастотного гнезда OUT на задней стороне
магнитофона к антенному гнезду на задней панели телевизора, как показано на рисунке.
3. Подключите кабель scart (если используется) к разъему AV2 на задней панели
телевизора.
4. Подключите КВМ к электрической сети и включите его.
5. Вставьте записанную кассету в КВМ и нажмите клавишу "PLAY".
1. Подключите имеющийся антенный вывод к обозначенному гнезду
на задней панели телевизора.
Подключение антенны к телевизору
Подключение антенны и КВМ к телевизору
Если вы не подключаете
телевизор к КВМ,
соедините его с антенным
выводом (как показано
слева) и переходите к
разделу "4. Включение
телевизора".
Если же вы подключаете
телевизор к КВМ,
смотрите раздел,
приведенный ниже.
Разъем scart является
дополнительным. При
его использовании,
однако, такое
дополнительное
соединение улучшает
качество изображения и
звука в режиме
воспроизведения.
OUT
IN
AERIAL
ANTENNA
AC IN
(существующий антенный вывод)
(разъем scart - не входит в
комплект)
4
Установка
1. Вставьте вилку телевизора в электрическую розетку (220-240 В перем. тока, 50 Гц) и
включите прибор.
2. Нажмите на клавишу on/off
на передней панели телевизора.
Если на передней панели телевизора горит индикатор режима ожидания, нажмите клавишу телевизора
на
панели дистанционного управления, чтобы включить телевизор. Проявите терпение, поскольку изображение может
появиться на экране телевизора через несколько секунд.
4. Включение телевизора
5. Пользование джойстиком
/
Для выбора пункта из меню
нажмите кнопку ОК в центре
джойстика.
Для перемещения по меню
нажмите соответствующую
клавишу-стрелку.
Движение джойстика
Нажатие джойстика
5
Language/Country
Select Language:
Confirm:
Language
Country
Portugu
ê
s
Svenska
Suomi
Türkçe
Ελληνικα
Бьларски
Русский
Русский
1. Меню Язык/Страна появляется на экране телевизора с
выделенным словом "English".
2. Нажмите клавишу
v
или
V
на пульте дистанционного управления,
чтобы выделить выбранный вами язык, затем нажмите клавишу
ОК для подтверждения. Меню страны появляется на экране с
выделенным словом "OFF". Выделите "OFF", если не хотите
внести в ЗУ каналы в данной последовательности, начиная с
программного положения 1.
3. Нажмите клавишу
v
или
V
, чтобы выделить страну, в которой вы
пользуетесь телевизором, и нажмите клавишу ОК для
подтверждения сделанного вами выбора.
4. На экране телевизора появляется меню "самоподнастройки" на
выбранном вами языке. Нажмите клавишу ОК для подтверждения.
5. Проверьте подключение антенны, как указано выше, и нажмите
клавишу ОК для подтверждения. Телевизор начинает
автоматический поиск и внесение в память всех имеющихся
каналов. Это может занять несколько минут, наберитесь терпения и
не нажимайте никакие кнопки.
6. После подстройки телевизором всех имеющихся каналов на экране
появляется меню "Упорядочение программ", давая возможность
изменить порядок каналов в телевизоре. Чтобы изменить порядок
каналов нажмите клавишу
v
или
V
для выделения канала, который
вы хотите передвинуть, затем нажмите
B
. Нажмите клавишу
v
или
V
, чтобы выделить новый номер положения программы для
выделенного канала, и для подтверждения нажмите клавишу ОК.
Выделенный канал перемещается в свое новое программное
положение, и соответствующим образом передвигаются другие
каналы. Повторите эти операции, если хотите упорядочить другие
каналы телевизора.
7.
Нажмите клавишу MENU, чтобы убрать меню с экрана
телевизора.
8. Нажмите клавиши PROGR+/- или цифровые клавиши, чтобы
просмотреть телевизионные каналы.
Примечание :при желании остановить процесс самоподнастройки на
любом этапе нажмите клавишу ОК.
Если вы подключили КВМ к телевизору, вам нужно найти видеоканал.
1. Нажимайте клавиши PROGR+/- на пульте дистанционного управления, пока видеоизображение не появится на экране
телевизора.
Примечание :при желании переместить видеоканал в другое программное положение, смотри раздел "Упорядочение
телевизионных каналов" данного руководства.
7. Поиск видеоканала
Программ
Установка
Перед настройкой телевизора вас попросят ввести нужный вам язык и страну нахождения.
6. Настройка телевизора
Да :
OK
Нет :
Вы хотите начать
автонастройку ?
Удостовсрьтесь, что
антенна подсоединена
Да :
OK
Нет :
1
2
3
6
5
4
7
8
9
0
6
Работа телевизора
Просмотр клавишей настройки телевизора
Регулировочные клавиши
уровня громкости.
Для усиления громкости нажмите
(+) / для понижения громкости (-).
Клавиша входного
видеосигнала.
Нажмите для выделения входных
сигналов от КВМ и проч.
Клавиши программ
вверх (+) или вниз (-).
Нажмите для выбора
телевизонных каналов.
Чтобы открыть контрольную панель и получить
доступ к фронтальным разъемам и кнопкам
управления телевизором, нажмите на нее снизу.
Кнопка возврата к первоначальной
установке.
Нажмите на эту кнопку для возврата к
заводским установкам изображения и
звука. На экране появится логотип
“Sony”, а затем экран “Автонастройка”.
Если Вы не хотите снова настроить Ваш
телевизор, нажмите на кнопку
b
на
пульте ДУ.
100Hz
100Hz
Контрольная панель откроется вниз.
7
Работа
Просмотр клавишей дистанционного управления
Для временного выключения телевизора
Нажмите, чтобы временно выключить телевизор.
Нажмите еще раз, чтобы вывести телевизор из режима
ожидания. Для экономии электроэнергии рекомендуем
полностью выключать телевизор, когда вы им не
пользуетесь. ПРИМЕЧАНИЕ: через 15-30 минут без
телевизионного сигнала и без нажатия какой-либо клавиши
телевизор автоматически переключается в режим
ожидания.
Для открытия экранной информации
Нажмите для открытия всех экранных указаний. Нажмите
еще раз, чтобы убрать их. В режиме Телетекста нажмите
клавишу, чтобы увидеть страницу с указателем (обычно
страница 100) и затем нажмите еще раз, чтобы убрать ее.
Для выделения входного сигнала или
фиксации телетекста
Нажмите для выделения входных сигналов от
телевизионных гнезд (смотри раздел об использовании
дополнительного оборудования). В режиме Телетекста
нажмите, чтобы зафиксировать отображенную на экране
страницу. Нажмите еще раз, чтобы убрать ее.
Для возврата на предыдущий канал
Нажмите, чтобы вернуться на предыдущий канал, который
вы раньше смотрели. Примечание: это можно сделать
только после просмотра имеющегося канала в течение 5
секунд.
Для изменения экранного формата
Нажмите, чтобы изменить размер экрана.
Ключи быстрого текста Fastext
Для более подробной информации смотри раздел
Телетекст руководства.
Для выделения элементов меню
Используйте клавишу ОК и клавиши-стрелки для
выделения дополнительных функций, имеющихся в
системе меню телевизора.
Для выделения каналов
Нажмите для выделения каналов.
Для выведения меню на экран
Нажмите, если хотите использовать систему меню
телевизора. Нажмите еще раз, чтобы убрать меню с экрана
телевизора.
Для отключения звука
Нажмите, чтобы отключить звук телевизора.
Нажмите еще раз, чтобы восстановить
воспроизведение звука.
Для возвращения в режим телевидения
Нажмите, чтобы вернуться к нормальной работе
из режима телетекста или ожидания.
Для выделения Телетекста
Нажмите, чтобы включить и выключить
Телетекст.
Для выделения Электронного
руководства программ (EPG)
Нажмите, чтобы включить и выключить EPG.
Для выполнения стоп-кадра
Нажмите, если хотите записать какую-либо
информацию на экране телевизора, к примеру,
номер телефона. Нажмите еще раз, чтобы
вернуться в нормальный режим телевидения.
Для выделения каналов
Нажмите цифровые клавиши, чтобы выделить
каналы.
Для программ с двухзначными номерами,
например 23, сначала нажмите -/-- и затем клавиши
2 и 3.
Для воспроизведения меню изображения
Нажмите, чтобы изменить настройку
изображения. Нажмите клавишу OK, чтобы
убрать воспроизведение.
Для воспроизведения звукового меню
Нажмите, чтобы изменить звуковые настройки.
Нажмите клавишу OK, чтобы убрать
воспроизведение.
Для воспроизведения Таблицы программ
Нажмите клавишу OK. Нажмите
v
или
V
, чтобы
выделить нужный канал, затем нажмите
B
для
подтверждения.
Для настройки уровня звука телевизора
Нажмите, чтобы отрегулировать уровень звука
телевизора.
Для восстановления заводской настройки.
Откройте крышку пульта дистанционного
управления и нажмите для восстановления
заводской настройки изображения и звука.
После "Установки"; на экране телевизора
появляется
меню;
по
разделу
данного
руководства "Выбор языка и страны" измените
сделанный вами выбор языка и страны по
желанию.
Для выведения на экран времени
Откройте крышку пульта дистанционного
управления и нажмите, чтобы вывести время на
экран.
Для работы видеоаппаратуры
Откройте крышку пульта дистанционного
управления и нажмите эти кнопки, чтобы привести в
действие видеоаппаратуру (смотри руководство
КВМ).
Пульт дистанционного управления другой
аппаратуры Sony
Откройте крышку пульта дистанционного управления.
Настройте переключатель ВМФ 1234 DVD на
аппаратуру, которой вы хотите управлять:
VTR1: Beta КВМ
ВМФ2: 8 мм КВМ
ВКФ3: бытовой КВМ
Цифровой видеомагнитофон ВМФ4 (DCR-VX 1000
9000E,VHR-1000)
DVD:
цифровой видеодиск
Пользуйтесь кнопками пульта дистанционного
управления для управления аппаратурой.
8
Работа
NexTView*
*в зависимости от наличия такой услуги
NexTView представляет собой электронный справочник программ (до 1 недели), которые позволяет Вам получить
доступ к информации о каналах, поддерживаемых выбранным предоставителем этой услуги.Если данные не
помещаются в памяти NexTView, Вы получите информацию о менее чем 7 днях.
При просмотре информации Вы можете осуществлять поиск по определенной теме (спорт, искусство, и пр.), дате или
времени (например, передачи между 8 и 9 часами). Когда Вы найдете программу, Вы можете перейти непосредственно
к этой программе, использовать таймер, напоминающий Вам о программе, или настроить Ваш видеомагнитофон со
Smartlink.
Предоставитель услуги NexTView не несет ответственности о содержимом руководства. Tелевизор
ответственен за представление, за структуру меню и навигационную систему, если таковой не
существует у предоставителя услуги. Eсли навигационная система поступает от предоставителя
услуги, основное управление этой системой не отличается от описанного в разделе “Hавигационная
система Sony”.
Cначала необходимо выбрать канал, который предоставляется услугой “NexTView”. B данном случае после того, как
все данные будут полученыб, на экране появится индикация “NexTView”. B случае, если позже эти каналы будут
изменеы, Bы все равно сможете воспользоваться услугой “NexTView”.
Использование навигационной системы Sony
1.
Hажмите кнопку
для включения и выключения NexTView.
2. Используйте джойстик следующим образом:
•
перемещение вверх или вниз внутри столбца: используйте
V
или
v
•
Переход к дате и времени в левом столбце: используйте
b
•
Переход к изображениям правого столбца: используйте
B
• Подтверждение выбора: Hажмите OK
(a)
При использовании столбцов даты, времени, или изображений (тем), список программ меняется в соответствии с
произведенным выбором.
(б)
При использовании списка программ, выбор текущей передачи перенесет Bас непосредственно к этой программе,
а выбор будущей передачи перенесет Bас в информационное меню (см. “Использование Информационного
Mеню”).
Pасшифровка условных обозначений
полный список
спортивные передачи
индивидуальный выбор
развлекательные программы
новые передачи
детские передачи
фильмы
назад в предыдущее меню
7
Tue
07 Tue
12:38
8
Wed
10
Fri
11
Sat
12
Sun
13
Mon
9
Thu
12
SWISS
Star Wars
Super RTL
Fantasy film, USA, 1996
Werner - Beinhart
Pro 7
Flui grüsst den Rest der Welt
Kabel 1
Once upon a time in the West
Euronews
International News
RTL Plus
10:35 - 12:45
10:20 - 12:00
10:45 - 10:50
11:00 - 11:20
11:45 - 12:50
TXT
TPS / RINGIER
Tue 07. 04 .98
9
Работа
NexTView
Дндивидуальная установка
При выборе темы
Bы можете осуществить индивидуальный выбор тем, ограничивая поиск только
помеченными темами.
1.
Bыберите
при помощи кнопок
v
или
V
.
Hажмите на
B
.
Появится меню “Индивидуальная установка”.
2.
Bыберите тему, которую Bы желаете отметить, при помощи кнопок
v
или
V
.
Подтвердите Bаш выбор нажатием кнопки OK. Повторите пункт 2 для всех тем, которые Bы желаете внести в список.
3.
По окончании составления списка выберите
при помощи кнопки
B
,
затем нажмите OK.
Использование Информационного Mеню
1.
Bыберите будущую программу в столбце программ при помощи кнопок
v
или
V
.
Hажмите OK.
Появится Информационное Mеню.
Eсли Bы желаете записать программу на видеомагнитофон
(только для видеомагнитофонов со Smartlink)
2.
Bыберите при помощи
b
. Подтвердите Bаш выбор нажатием кнопки OK.
Информация будет передана на видеомагнитофон, подключенный к телевизору.
Hастройка Bашего видеомагнитофона
3.
Bыберите VPS/PDC при помощи
b
.
Kогда эта опция включена, Bам гарантирована запись всей программы в случае изменения в телевизионной
программе. Зта функция работает только в тех случаях, если выбранный канала передает сигналы VPS/PDC.
•
Bыберите “Bкл” или “Bыкл” при помощи OK.
4.
Bыберите “Cкорость” при помощи кнопки
V
.
Oсуществите выбор между режимами стандартного воспроизведения (SP) или продолжительного воспроизведения
(LP). B режиме продолжительного воспроизведения Bы можете записать на кассету в два раза больше информации,
чем в режиме стандартного воспроизведения.При этом качество изображения ухудшится.
•
Bыберите SP или LP при помощи кнопки OK.
5.
Bыберите “Hастройка BM” при помощи
V
.
Bыберите, какой из подключенных видеомагнитофонов Bы желаете запрограммировать.
•
Bыберите VCR 1 или 2 при помощи кнопки OK.
Для выхода из меню
6.
Bыберите при помощи
кнопки z. “ажмите
B
.
Bы вернетесь к предыдущему меню.
07 Tue
12:38
Address Mapping
The position of the addresses in the
OSDA is shown in the following diagram.
The position values of the DPW are set
to '0'.
If other values are set, the complete
combination will be scrolled.
Example:
if the DPWC is set to '63', the char-
Speed
Timer Prog
VPS/PDC
SP
VCR1
On
This channel has been set for a timer
First nextTView/EPG-Providers in Europe
SWISS
TXT
TPS / RINGIER
nexTView
Tue 07. 04 .98
Speed
VPS/PDC
VCR1
On
SP
VCR Setup
10
Работа
Наибольшее число телевизионных каналов передают информацию по Телетексту. Страница с указателем услуг Телетекста
(обычно страница 100) предоставляет информацию о том, как ими пользоваться. Пользуйтесь телевизионным каналом с сильным
сигналом передачи, в противном случае в Телетексте могут быть ошибки.
Телетекст
Включение и выключение Телетекста
1. Выберите телевизионный канал, передающий телетекст, который вы желаете.
2. Чтобы включить телетекст, нажать кнопкy
.
3. Нажмите кнопкy
дважды для вызова смешанного режима.
4. Нажмите кнопкy
или
3. раз для отключения телетекста. Выбор страницы
телетекста
Выделите страницу Телетекста
Введите три цифры номера страницы цифровыми клавишами на пульте управления. В случае
ошибки наберите любые три цифры и повторно введите номер нужной страницы.
Использование других функций Телетекста
Выделение следующей или предыдущей страницы
Нажмите клавишу
или
на пульте дистанционного управления для выделения
предыдущей или следующей страницы.
Выделение подстраницы
Страница телетекста может сосотоять из нескольких суб-страниц. В этом случае
появляется информационная строка, показывающая число суб-страниц. Выберите суб-
страницу, нажимая
v
или
V
.
Стоп-кадр страницы Телетекста
Нажмите клавишу
, чтобы зафиксировать страницу. Нажмите еще раз, чтобы снять стоп-
кадр.
Открытие страницы с указателем
Нажмите
клавишу, чтобы открыть страницу (обычно страница 100). Нажмите еще
раз, чтобы убрать ее.
Использование цветных клавиш для доступа к страницам (Fastext)
(данная функция имеется только, если телевизионная станция передает сигналы Fastext)
При появлении меню цветной кодировки внизу страницы нажмите цветную клавишу на пульте
дистанционного управления (зеленую, красную, желтую или синюю), чтобы выйти на
соответствующую страницу.
Использование функции "Ловушка страницы"
1. Нажмите цифровые клавиши на пульте дистанционного управления для выделения
страницы телетекста, на которой указаны несколько страничных номеров (напр., страница
указателя).
2. Нажмите клавишу OK.
3. Нажмите
v
или
V
, чтобы выделить номер нужной страницы, затем нажмите клавишу ОК.
Заказанная страница выводится на экран через несколько секунд.
216-02
01
03
04
05
06
07
08
02
Index
TELETEXT
Programme
News
Sport
Weather
25
153
101
98
Index
TELETEXT
Programme
News
Sport
Weather
25
153
101
98
m
m
m
11
Работа
Телетекст
Обэор станиц
.
.
Использование меню Телетекста
1. Нажмите клавишу MENU на панели дистанционного управления для выведения меню на
экран телевизора.
2. Нажмите клавишу
v
или
V
, чтобы выделить выбранный вами на экране элемент, затем
нажмите клавишу
B
для отображения соответствующего подменю.
3. Чтобы снять с экрана меню Телетекста, нажмите клавишу MENU.
Вверх/Внизy/Полн.
Подменю Вверх/Внизy/Полн. позволяет расширять различные разделы страницы Телетекста.
Нажмите
v
, чтобы увеличить верхнюю половину экрана. Нажмите
V
, чтобы увеличить
нижнюю половину экрана. Нажмите клавишу ОК, чтобы восстановить нормальный размер
страницы. Нажмите
b
, чтобы вернуться на экран меню Телетекста.
Yдaпить текста
Функция удаления текста позволяет смотреть телевизионный канал во время поиска
страницы телетекста.
Покaзывать
Некоторые страницы телетекста содержат скрытую информацию (например, викторина),
которую можно показать.
Время страницы*
*в зависимости от наличия такой услуги
Функция Время страницы позволяет вызвать и настроить время у страниц телетекста с
временным кодом (например, страница-предупреждение).
Обзор станиц*
*
возможно только при условии трансляции телетекста TOP-Text.
В этом меню страницы TOP-Text разделяются на две колонки, первая колонка показывает
блоки страниц, а вторая показывает группы страниц.
1.
Нажмите два раза кнопку
на пульте ДУ для выбора полной страницы текста.
2. Нажмите кнопку MENU для вывода меню телетекста.
3.
Нажмите
v
или
V
,
чтобы выбрать “Удалить текст”, и нажмите
B
для ввода.
4.
На экране появится текущий телевизионный канал. Когда завершится поиск
страницы телетекста, синий символ
появится в левом верхнем углу экрана.
5.
Нажмите кнопку
на пульте ДУ для просмотра страницы.
1. В режиме телетекста нажмите кнопку MENU на пульте ДУ для вывода меню
телетекста.
2.
Нажмите
v
или
V
, чтобы выбрать “Показывать”, и нажмите
B
для ввода. На экране
появится скрытая информация.
1. В режиме телетекста нажмите кнопку MENU на пульте ДУ для вывода меню
телетекста.
2.
Нажмите
v
или
V
, чтобы выбрать “Время страницы”, и нажмите
B
для ввода. На
экране появится суб-меню “Время страницы”.
3. Введите нужный номер страницы, пользуясь кнопками с цифрами на пульте ДУ.
4. Введите нужное время, пользуясь пультом ДУ.
5. Нажмите ОК для подтверждения ввода. Телевизор выйдет из режима телетекста, и
время будет отображатся в левом верхнем углу экрана. В заданное время появится
выбранная страница.
1.
Нажмите
b
или
B
для выбора первой или второй колонки.
2.
Нажмите
v
или
V
для выбора соответствующего блока или группы страниц.
3. Нажмите ОК для вывода выбранных страниц.
12
Работа
Телевизор располагает системой меню, основанной на серии удобных для пользователя экранных изображений и меню. Эти
воспроизведения дают вам возможность получить наибольшую отдачу от эксплуатации телевизора, помогая менять настройку
изображения и звука, менять размеры телевизионного изображения, перераспределять телевизионные каналы и т. д.
Настройка изображения и звука
На заводе изготовителе выполнена предварительная настройка изображения и звука. Тем не менее их можно отрегулировать по
собственному усмотрению.
Использование системы меню телевизора
1. Нажмите клавишу MENU на пульте дистанционного управления для выведения меню на
телевизионный экран.
2. Нажмите клавиши
v
или
V
, чтобы выделить
для настройки изображения или
для
звуковой настройки, затем нажмите
B
для введения меню "Настройка изображения"или
меню "Настройка звука".
3. Нажмите клавиши
v
или
V
для выделения на экране элементов, которые вы хотите
настроить, затем нажмите
B
для подтверждения. Описание элементов меню и их эффектов
смотри в приведенной ниже таблице.
4. Нажмите клавиши
v
,
V
,
B
или
b
для настройки выделенных элементов.
5. После регулировки нужных элементов нажмите клавишу ОК для введения в ЗУ новой
настройки.
6. Повторите операции 3-5 при желании настроить любые другие элементы.
7.
Нажмите клавишу MENU, чтобы убрать меню с экрана телевизора.
Регулировка изображения
Элемент
Эффект/Действие
Режим изображения
V
Live (для прямой трансляции)
Персональный (для индивидуальной настройки)
v
Фильм (для трансляции кинофильмов)
Контраст
меньше
b
B
больше
Яркость*
темнее
b
B
светлее
Hасыщенность*
бледнее
b
B
ярче
Цветовой тон**
красноватый
b
B
зеленоватый
Четкость*
более размытая
b
B
более отчетливая
*
Только если в позиции “Режим изображения” выбрано “Персональный”
**
Только для цветовoй системы NTSC
Стандарт
Приводит изображение на уровень заводской настройки
Искусст интеллект
V
Вкп
:
Автоматическая оптимизация уровня
контрастности применительно к телевизионному
сигналу.
v
Вкп
:
Нормальный
Понижение шума
V
Вкп
:
Понижение помех на изображении в случае
слабого сигнала.
Цветовой тон
V
Теплый:
Придает теплый оттенок изображению.
Нормальный: Нормальный.
v
Холодный: Придает холодный оттенок изображению.
.
Репортаж
Индивид.
Кино
13
Использование системы меню телевизора:
0
(
(
B
A
Регулировка звука
Элемент
Эффект/Действие
Режим эквалайзера
V
Персональный
Голос
Джаз
Рок
Поп
v
Фоновый экран (фиксированная настройка, не может
быть отрегулирована)
Настройка эквалайзера
Можно отрегулировать способ, выбранный в режиме
эквалайзера путем прямого перехода и подъема 5 выбранных
частотных диапазонов. Нажмите
b
или
B
для выбора полосы
частот и затем
V
или
v
для регулировки частоты. Наконец
нажмите клавишу OK для введения в ЗУ новой настройки.
При желании сохранить в памяти новую настройку необходимо настроить режим
эквалайзера на "Персональный". Персональный режим неизменно хранит
настройку в памяти, все прочие режимы (Голос, Джаз, Рок, Поп) сохраняют
информацию в памяти только до изменения следующего режима.
Баланс
b
Сдвиг влево
B
Сдвиг вправо
Громкость
V
Выкл.: Нормальная
v
Вкл.: Для музыкальных передач
Пространство
V
Выкл.: Нормальный
v
Вкл.: Специальный акустический эффект
Авторег. громкости
V
On : уровень громкости каналов остается неизменным
независимо от сигнала телевещения (напр., в случае
рекламы)
v
Off : уровень громкости меняется по сигналу
трансляции.
Двойной звук
Для двухязычного вещания:
V
A для канала 1
v
B для канала 2
Для стерео телевещания:
V
Моно
v
Стерео
Когда передается стерео NICAM, на экране ненадолго появляется указание
NICAM.
Наушники
i
Громк. телeф
ниже
b
B
выше
i
Двойной звук
Для двухязычного вещания:
V
A для канала 1
v
B для канала 2
0
NICAM
NICAM
14
Использование системы меню телевизора:
Использование меню параметров
1. Нажмите клавишу MENU на пульте дистанционного управления, чтобы вывести меню на экран
телевизора.
2. Нажмите клавиши
v
или
V
, чтобы выделить
для меню "Параметры", затем нажмите
B
для
введения меню "Параметры".
3. Нажмите клавиши
v
или
V
, чтобы выделить нужный элемент меню, затем нажмите
B
для
подтверждения. Описание элементов меню и их эффектов смотри в приведенной ниже таблице.
4. Нажмите клавиши
v
,
V
,
B
или
b
, чтобы выделить нужную настройку.
5. Нажмите клавишу ОК, чтобы подтвердить ваш выбор настройки.
6. Повторите операции 3-5 при желании выделить любой другой элемент.
7.
Нажмите клавишу MENU, чтобы убрать меню с экрана телевизора.
Элемент
Эффект/Действие
Таймер режима ожидания Вы можете выделить время, по истечении которого телевизор сам
переключается в режим ожидания.
V
Off
.
v
90 мин
Oикcация
V
Off : нормальная
v
On : нажмите клавиши на пульте дистанционного управления, чтобы
вывести телевизор из режима ожидания. Клавиши на телевизоре не
действуют.
AV2 Выод
V
аудио/видео телевизионный сигнал от антенны
AV1 аудио/видео сигнал от разъема scart 1
AV2 аудио/видео сигнал от разъема scart 2
AV3 аудио/видео сигнал от разъема scart 3
v
AV4 аудио/видео сигнал от разъемов на передней панели телевизора
AV2 Выод
AV2 Выод
Изменение размеров экрана
Эта функция дает возможность изменить размер телевизионного изображения.
Нажмите клавишу
на пульте дистанционного управления несколько раз или нажмите
v
или
V
, чтобы
выделить один из следующих форматов, затем нажмите клавишу ОК для подтверждения выделенного
участка:
4:3
стандартный 4:3 размер изображения, полная информация изображения.
Ширина
для телевизионного вещания 16:9.
4:3
16:9
15
Использование системы меню:
Перераспределение телевизионных каналов
Настроив телевизор, можно использовать эту функцию для изменения порядка каналов в телевизоре.
1. Нажмите клавишу MENU на пульте дистанционного управления, чтобы вывести меню на экран
телевизора.
2. Нажмите клавишу
V
, чтобы выделить символ
на экранном меню, затем нажмите
B
, чтобы ввести
меню "Установки".
3. Нажмите клавишу
V
, чтобы выделить функцию "Сортировка программ", затем нажмите
B
, чтобы
ввести меню "Сортировка программ".
4. Нажмите клавиши
v
или
V
, чтобы выделить канал, который нужно передвинуть, затем нажмите
B
для подтверждения.
5. Нажмите клавиши
v
или
V
, чтобы выделить новое положение программы (напр. ПРОГ 4)
выделенного канала, затем для подтверждения нажмите клавишу ОК. Выделенный канал
перемещается в новое программное положение, и соответственно перемещаются и другие каналы.
6. Повторите операции 4 и 5, если нужно переместить другие каналы.
7. Нажмите клавишу MENU, чтобы убрать меню с экрана телевизора.
Программ
Программ
Ручная настройка телевизора
Вы уже выполнили автоматическую настройку телевизора по инструкциям в начале руководства. Можно также
выполнить эту операцию вручную, добавляя по одному телевизионные каналы.
1. Нажмите клавишу MENU на пульте дистанционного управления, чтобы вывести меню на экран
телевизора.
2. Нажмите клавишу
V
, чтобы выделить символ
на экранном меню, затем нажмите
B
, чтобы
ввести меню "Yстановки".
3. Нажмите клавишу
V
, чтобы выделить функцию "Ручная Yстановкa" на экранном меню , затем
нажмите
B
, чтобы ввести меню "Ручная Yстановкa".
4. Нажмите клавишу
V
, чтобы выделить функцию "Ручная настройка программ" на экранном меню
, затем нажмите
B
, чтобы ввести меню "Ручная настройка программ".
5. Нажмите клавишу
v
или
V
, чтобы выделить номер программы для вашего канала (напр. ПРОГР 1
для BBC1), затем нажмите
B
, чтобы выделить колонку "Пропуск".
6. Нажмите
v
, чтобы выделить "OFF", затем нажмите
B
, чтобы выделить колонку "СИСТ".
7. Нажмите клавишу
v
или
V
, чтобы выделить систему телевещения (B/G для западноевропейских
стран, D/K для восточноевропейских стран) или "EXT" для входного видеосигнала (AV1, AV2, ...) ,
затем нажмите
B
для подтверждения.
8. Нажмите клавишу
v
или
V
, чтобы выбрать "С" для наземных каналов, "S" для кабельных каналов
или "F" для прямых частотных вводов, затем нажмите
B
для подтверждения.
9. Выделите первый номер "KAH" (канал) затем второй номер "KAH" цифровыми клавишами на
пульте дистанционного управления или
Нажмите
V
для поиска следующего имеющегося канала.
10. Если вы не хотите сохранить этот канал на выбранном вами номере программы, нажмите клавишу
v
или
V
для продолжения поиска нужного канала.
11. При желании сохранить этот канал нажмите клавишу ОК.
12. Повторите операции 5-11, если нужно сохранить несколько каналов, затем нажмите клавишу
MENU, чтобы убрать меню с экрана телевизора.
B/G
D/K
IRL
EXT
настройка программ
16
Использование системы меню телевизора:
Обозначение каналов
Названия каналов как правило берутся автоматически из Телетекста, если он имеется. Вы, однако, можете сами
обозначить канал или входной видеосигнал, используя до пяти знаков (букв или цифр).
Пропуск программных положений
Эта функция дает возможность пропустить неиспользуемые программные положения при переключении программ
клавишами PROGR+/-. Тем не менее при помощи цифровых клавиш можно также выделить пропущенные положения
программ.
1. Нажмите клавишу MENU на пульте дистанционного управления, чтобы вывести меню на
экран телевизора.
2. Нажмите клавишу
V
, чтобы выделить символ
на экранном меню, затем нажмите
B
,
чтобы ввести меню "Yстановки".
3. Нажмите клавишу
V
, чтобы выделить функцию "Ручная yстановкa", затем нажмите
B
,
чтобы ввести меню "Ручная yстановкa".
4. Нажмите клавишу
V
, чтобы выделить функцию "Pучная настройка программ", затем
нажмите
B
, чтобы ввести меню "Pучная настройка программ".
5. Нажмите клавишу
v
или
V
, чтобы выделить канал, который вы хотите обозначить.
6. Нажмите клавишу
B
несколько раз, пока не выделится первый элемент колонки
"НАЗВАНИЕЕ".
7. Нажмите клавишу
v
или
V
, чтобы выделить букву или цифру (выделите "-" для
пропуска), затем нажмите
B
для подтверждения. Таким же образом выделите еще четыре
знака.
8. Выделив все знаки, нажмите клавишу ОК.
9. Повторите операции с 5 по 8 при желании обозначить другие каналы.
10. Нажмите клавишу MENU, чтобы убрать меню с экрана телевизора.
1. Нажмите клавишу MENU на панели дистанционного управления, чтобы вывести меню на
экран телевизора.
2. Нажмите клавишу
V
, чтобы выделить символ
на экранном меню, затем нажмите
B
,
чтобы ввести меню "Yстановки".
3. Нажмите клавишу
V
, чтобы выделить функцию "Ручная настройка", затем нажмите
B
,
чтобы ввести меню "Ручная настройка".
4. Нажмите клавишу
V
, чтобы выделить функцию "Pучная настройка программ" затем
нажмите
B
, чтобы ввести меню "Pучная настройка программ".
5. Нажмите клавиши
v
или
V
, чтобы выделить положение программы, затем нажмите
B
,
чтобывыделить колонку "ПРОП".
6. Нажмите клавишу
v
или
V
, чтобы выделить "Off" или "On" (если хотите пропустить данное
положение программы), затем нажмите клавишу ОК для введения информации в память.
7. Повторите операции 5 и 6 при желании пропустить или сохранить следующее программное
положение.
8. Нажмите клавишу MENU, чтобы убрать меню с экрана телевизора.
Ручная настройка программ
настройка программ
настройка программ
Ручная настройка программ
17
Использование системы меню телевизора:
Использование функции дополнительной настройки
Посредством этой функции можно a) произвести индивидуальную настройку уровня громкости каждого канала, b)
выполнить ручную поднастройку телевизора для улучшения приема изображения, если оно искажено или c) заранее
настроить аудиовизуальный выходной сигнал для программных положений каналов с зашифрованными сигналами (
например, с декодера платного телевидения). В таком случае подключенный КВМ записывает расшифрованный сигнал.
настройка программ
1. Нажмите клавишу MENU на пульте дистанционного управления, чтобы вывести меню на экран
телевизора.
2. Нажмите клавишу
V
, чтобы выделить символ
на экранном меню, затем нажмите
B
, чтобы
ввести меню "Yстановки".
3. Нажмите клавишу
V
, чтобы выделить функцию "Ручная yстановкa", затем нажмите
B
, чтобы
ввести меню "Ручная yстановкa".
4. Нажмите клавишу
V
, чтобы выделить функцию "Hастройка (продолженте)" , затем нажмите
B
, чтобы ввести меню "Hастройка (продолженте)".
5. Нажмите клавишу
v
или
V
, чтобы выбрать соответствующий номер программы , затем
нажмите клавишу
B
несколько раз, чтобы выделить а) VOL b) AFT или c) DECODER.
Меняется цвет выделенного элемента.
6. a)VOL - Volume Offset/Коррекция громкости
Нажмите клавишу
v
или
V
для регулировки уровня звука (диапазон от -7 до +7) канала.
Сохраните в памяти нажатием клавиши ОК. Повторите операции 5 и 6a при желании
отрегулировать уровень звука других каналов.
c) AFT - Automatic Fine Tuning/Автоматическая точная настройка
Нажмите клавишу
v
или
V
для точной настройки частоты канала в диапазоне от -15 до +15.
Нажмите клавишу ОК для подтвержджения. Повторите операции 5 и 6с при желании точно
настроить и другие каналы.
d)DECODER/ДЕКОДЕР
Нажмите клавишу
v
или
V
, чтобы выделить AV1 или AV2 для положения программы, затем
нажмите клавишу ОК для подтверждения. Теперь можно подключить декодер к гнезду AV1 или
гнезду AV2 на задней панели телевизора, и изображение от декодера появится на программе под
этим номерем. Повторите операции 5 и 6d, чтобы произвести предварительную настройку
аудиовизуального выходного сигнала для других программных положений.
7. Нажмите клавишу MENU, чтобы убрать меню с экрана телевизора.
18
Использование системы меню телевизора:
Настройка геометрии изображения от источника RGB-сигнала
При подключении источника RGB-сигнала типа Sony playstation может оказаться необходимым перенастроить геометрию
изображения.
1. Нажмите клавишу
на пульте дистанционного управления, чтобы выделить подключенный
источник RGB
.
2. Нажмите клавишу MENU, чтобы вывести меню на экран телевизора.
3. Нажмите клавишу
V
, чтобы выделить символ
на экранном меню, затем нажмите
B
, чтобы
ввести меню "Yстановки".
4. Нажмите клавишу
V
, чтобы выделить функцию "Ручная yстановка" на экранном меню ,
затем нажмите
B
, чтобы ввести меню "Ручная yстановка".
5. Нажмите клавишу
V
, чтобы выделить функцию "Настройка "RGB-сигнала" на экранном
меню , затем нажмите
B
, чтобы ввести подменю "Настройка "RGB-сигнала".
6. Нажмите
B
, чтобы выделить H Centre, затем нажмите
v
или
V
, чтобы отрегулировать
центрирование изображения в диапазоне от -10 до +10. Сохраните информацию новой
настройки нажатием клавиши ОК.
7. Нажмите
B
, чтобы выделить H Size, затем нажмите
v
или
V
, чтобы отрегулировать
горизонтальные координаты в диапазоне от -10 до +10. Сохраните информацию новой
настройки нажатием клавиши ОК.
8. Нажмите клавишу MENU, чтобы убрать меню с экрана телевизора.
1
Настройка поворота изображения
В силу земного магнетизма изображение может наклоняться. В таком случае изображение можно поднастроить.
1. Нажмите клавишу MENU на панели дистанционного управления, чтобы вывести меню на
экран телевизора.
2. Нажмите клавишу
V
, чтобы выделить символ
на экранном меню , затем нажмите
B
,
чтобы ввести меню "Yстановки".
3. Нажмите клавишу
V
, чтобы выделить функцию "Ручная yстановка", затем нажмите
B
,
чтобы ввести меню "Ручная yстановка".
4. Нажмите клавишу
V
, чтобы выделить функцию "Поворот изображения", затем нажмите
B
,
чтобы ввести подменю "Поворот изображения"nu.
5. Нажмите клавишу
v
или
V
, чтобы повернуть изображение в пределах от -5 до +5, затем
нажмите клавишу ОК, чтобы ввести информацию в память.
6. Нажмите клавишу MENU, чтобы убрать меню с экрана телевизора.
- - - - -
- - - - -
настройка программ
19
Использование системы меню телевизора:
Введение персональной идентификации
При использовании этой функции можно придать вашему телевизору защитный код, который даст возможность найти вас
в случае кражи и затем нахождения телевизора. Защитный код может быть введен только один раз: запишите его для себя!
1. Нажмите клавишу MENU на пульте дистанционного управления, чтобы вывести меню на
экран телевизора.
2. Нажмите клавишу
V
, чтобы выделить символ
на экранном меню , затем нажмите
B
,
чтобы ввести меню "Yстановки".
3. Нажмите клавишу
V
, чтобы выделить функцию "Ручная yстановкa" на экранном меню ,
затем нажмите
B
, чтобы ввести меню "Ручная yстановкa".
4. Нажмите клавишу
V
, чтобы выделить функцию "Персон. пароль" на экранном меню ,
затем нажмите
B
, чтобы ввести подменю "Персон. пароль".
5. Нажмите клавишу
v
или
V
, чтобы выделить первый из 11 знаков (буква, цифра + или
пропуск), затем нажмите
B
, чтобы перейти к следующему знаку.
6. Повторите операцию 5, чтобы ввести все знаки кода.
7. Нажмите клавишу ОК для введения информации в память. На экране появляется блок
состояния, требуя еще раз ввести ваш код.
8. Нажмите клавишу ОК еще раз для окончательного запоминания кода или нажмите
b
,
чтобы стереть его.
9. Нажмите клавишу MENU, чтобы убрать меню с экрана телевизора.
Предварительная настройка и маркировка входных сигналов
При помощи этой функции можно автоматически задать формат и маркировать источник входного сигнала.
1. Нажмите клавишу на пульте дистанционного управления, чтобы вывести меню на экран
телевизора.
2. Нажмите клавишу
V
, чтобы выделить символ
на экранном меню , затем нажмите
B
, чтобы
ввести меню "Yстановки".
3. Нажмите клавишу
V
, чтобы выделить функцию "Yстановкa нч входов" на экранном меню ,
затем нажмите
B
, чтобы ввести меню "Yстановкa нч входов".
4. Нажмите клавишу
v
или
V
, чтобы выделить нужный АВ входной сигнал (AV1, 2, 3 или 4)..
5. Нажмите клавишу
B
, чтобы выделить "LABEL".
6. Нажмите клавишу
v
или
V
, чтобы выделить первый знак названия, затем нажмите клавишу
B
, чтобы перейти к следующему знаку.
7. Повторите операцию 6, чтобы выделить остальные 4 знака, затем сохраните информацию
нажатием клавиши ОК.
8. Повторите операции 4-8 для других источников АВ входного сигнала и нажмите клавишу
MENU, чтобы убрать меню с экрана телевизора.
-
- - - - - -
AV 1
AV 2
AV 3
AV 4
AV 1
AV 2
AV 3
AV 4
AV 1
AV 2
AV 3
AV 4
AV 1
AV 2
AV 3
AV 4
20
Дополнительное оборудование
Опираясь на приведенные ниже иллюстрации, вы можете подключить к телевизору обширную гамму аудио и видеоаппаратуры.
Подключение к телевизору дополнительного оборудования
Для выведения входного сигнала подключенной аппаратуры на экран телевизора вам нужно выделить символ разъема, с которым
соединена аппаратура.
1. Глядя на приведенные выше иллюстрации, подключите аппаратуру к соответствующему гнезду телевизора.
2. Нажмите клавишу
несколько раз на пульте дистанционного управления, пока правильный входной сигнал для вашей
аппаратуры не появится на экране телевизора (смотри таблицу внизу):
* автоматическое обнаружение сигнала согласно подключенной аппаратуре
3. Включите подключенную аппаратуру. Изображение от подключенной аппаратуры (если оно возможно) появится на
экране телевизора.
4. Нажмите
, чтобы вернуться к нормальному экрану телевизора.
Примечание: для предупреждения искажения изображения не подключайте аппаратуру
F
и
G
к гнездам одновременно.
Подсоединение наушников
Подключите наушники к разъему
E
на передней панели телевизора.
Подключите аппаратуры Hi-Fi
Подключите Вашу аудиоаппаратуру к выходному разъему
D
на задней панели телевизора.
Символ на экране
телевизора
Входные сигналы от разъема
•
Входной аудио/видео сигнал через разъем scart
A
или * RGB-сигнал через разъем scart
A
•
Входной аудио/видео сигнал через разъем scart
B
или* S-видео сигнал через разъем scart
B
•
Входной аудио/видео сигнал через разъем scart
C
или* S-видео сигнал через разъем scart
C
•
Входной S-видеосигнал через 4-штырьковый разъем DIN
F
или* входной видеосигнал через гнездо
подключения проигрывателя
G
и входной аудиосигнал через гнездо подключения проигрывателя
H
1
2
3
4
B C
D
A
DVD
Hi-Fi
Playstation
KBM
Декодер
F
G
H
E
100Hz
8mm/Hi8
видеокамера
S-VHS/Hi8
видеокамера
21
Дополнительное оборудование
*
Если изображение или звук искажены, уберите КВМ от телевизора.
*
При подключении КВМ monaural соедините только белое гнездо с телевизором и КВМ.
*
Информацию о том, как выделить выходной сигнал разъема scart 2
/
, смотри на странице 14.
*
При подключении внешнего Hi-Fi оборудования, Вы можете отрегулировать уровень громкости путем
регулировки наушников в звуковом меню - обратитесь к пункту “Настройка изображения и звука”.'e
Дополнительная информация при подключении
оборудования
2
s
2
Канал Smart является прямой связью между телевизором и КВМ.
Для такой связи необходимо:
*
иметь КВМ, который поддерживает связь с развитой логикой Smartlink, NexTView Link, Easy Link или Megalogic.
*
полностью протянутый кабель с 21-штарьковым разъемом scart для подключения КВМ к разъему
/
scart 2.
Характеристики связи Smartlink:
*
Информация о подстройке, типа просмотра канала, передается с телевизора на КВМ.
*
При помощи NexTView вы можете легко программировать КВМ.
*
Прямая запись с телевизора : когда вы смотрите телевизор, достаточно нажать одну кнопку на КВМ, чтобы записать данную
программу.
Для получения больше информации относительно Smartlink смотрите руководство по эксплуатации вашего КВМ.
Канал Smart
2
s
2
При помощи кнопок под крышкой пульта дистанционного управления можно управлять другой аппаратурой марки Sony.
1. Откройте крышку пульта дистанционного управления.
2. Настройте переключатель ВМФ 1234 DVD на аппаратуру, которой вы хотите управлять:
VTR1 Beta КВМ
ВМФ2 8 мм КВМ
ВКФ3 бытовой КВМ
Цифровой видеомагнитофон ВМФ4 (DCR-VX 1000/9000E,VHR-1000)
DVD цифровой видеодиск
3. Пользуйтесь кнопками пульта дистанционного управления для управления аппаратурой.
*
Если ваша аппаратура оснащена переключателем COMMAND MODE, поставьте его в такое же положение, что
переключатель видеомагнитофона VTR 1234 DVD на пульте дистанционного управления.
*
Если аппаратура не обладает постоянной функцией, соответствующая кнопка на пульте дистанционного управления не
действует.
Пульт дистанционного управления другой аппаратуры Sony
22
Дополнительная информация
Технические характеристики
Телевизионная система
B/G/H, D/K
Система цвета
ПАЛ, СЕКАМ
НТСЦ 3.58, 4.43 (только входной видеосигнал)
Канальный охват
Смотри "Руководство по каналам" на следующей странице.
Кинескоп
FD Trinitron
Примерно 72 см (29 дюйма), 104° развертка
Задние клеммы
/
21-штырьковый евроразъем (стандарт CENELEC) включая
аудио/видео ввод, ввод RGB-сигнала, вывод аудио/видео
телевизионных сигналов.
/
21-штырьковый евроразъем (стандарт CENELEC) включая
аудио/видео ввод, S-видео ввод, аудио/видео вывод монитора.
/
21-штырьковый евроразъем (стандарт CENELEC) включая
аудио/видео ввод, S-видео ввод, аудио/видео вывод монитора.
L/G/S/I
Разъемы RCA, выходы для аудио сигналов
R/D/D/D
Клеммы внешних динамиков : 2-штырька DIN (2)
RF In
Передние клеммы
Входной видеосигнал - гнезда для подключения проигрывателя
Входной аудиосигнал - гнезда для подключения проигрывателя
S входной видеосигнал - 4 штырька DIN
Гнездо наушников - минигнездо стереосигнала
1
s
1
2
s
2
3
s
3
4
4
s
4
Звуковая мощность
Левый/Правый:
2х20 Вт (МРО)
2х10 Вт (RMS)
Сабвуфер:
30 Вт (МРО)
15 Вт (RMS)
Энергопотребление
158 Вт
Размеры (ш х выс х г)
Прим.765X635X570 мм
Вес
Прим. 59 кг
Поставляемые принадлежности
RM-893 пульт дистанционного управления (1)
Установленные МЭК размеры АА батареек (2)
Другие характеристики
Плоский кинескоп Trinitron, цифровое
шумоподавление, Память телетекста на 2000
страниц
,
персональная идентификация, таймер
режима ожидания, NexTView, .
Дизайн и технические характеристики могут быть
изменены без предупреждения.
Таблица отображения каналов
Приемные каналы
Отображение на дисплее каналов
B/G/H
E2..12, 21..69
C02..C12, C21..69
ТВ КАБЕЛЬ (1)
S1..S41
S01..S41
ТВ КАБЕЛЬ (2)
S01..S05
S42..S46
M1..M10
S01..S10
U1..U10
S11.S20
ИТАЛИЯ
A, B..H, H1, H2
C13, C14..C20, C11, C12
ТВ КАБЕЛЬ
S1..S41
S01..S41
S01..S05
S42..S46
23
Дополнительная информация
Ниже приводятся несколько простых решений проблем, которые могут возникать с изображением и звуком.
•
Если эти проблемы сохраняются, обратитесь за квалифицированной помощью телевизионной мастерской.
•
НИКОГДА сами не открывайте корпус прибора.
Поиск неполадок
Проблема
Рекомендуемая мера
Нет изображения (экран остается
темным), нет звука
•
Подключите телевизор к сети.
•
Нажмите клавишу
на передней панели телевизора.
•
Если индикатор
горит, нажмите клавишу
или цифровую
клавишу на панели дистанционного управления.
•
Проверьте подключение антенны.
•
Выключите телевизор на 3-4 секунды и затем включите его
опять при помощи клавиши
на передней панели телевизора.
Нет изображения или оно
некачественное (экран остается
темным), но хороший звук.
•
При помощи системы MENU выделите дисплей настройки
изображения. Отрегулируйте яркость, уровни баланса
изображения и цветобаланс.
•
На дисплее настройки изображения выделите функцию
RESET, чтобы вернуться к заводской настройке.
Хорошее изображение, нет звука
•
Нажмите клавишу
на панели дистанционного управления.
•
Если
появляется на экране, нажмите клавишу
на пульте
дистанционного управления.
Нет цвета в цветных программах
•
При помощи системы MENU выделите дисплей настройки
изображения и отрегулируйте цветовую настройку.
•
На дисплее настройки изображения выделите RESET, чтобы
вернуться к заводской настройке.
Искажение изображения при
переключении программ или при
выделении Телетекста
•
Отключите всю аппаратуру, соединенную с разъемом scart на
задней панели телевизора.
Пульт дистанционного управления не
работает
•
Замените батарейки.
Мигает индикатор режима ожидания
на телевизоре
•
Обратитесь в ближайшую мастерскую сервисного
обслуживания Sony.
Помехи на изображении от
внешнего оборудования.
•
Уменьшите уровень четкости
/
24



