Sony KV-29CS60K: Table of Contents
Table of Contents: Sony KV-29CS60K
Table of contents
- Table of Contents

GB text.fm Page 3 Tuesday, April 27, 2004 3:21 PM
Introduction
Thank you for choosing this Sony FD Trinitron Colour Television.
Before operating the TV, please read this manual thoroughly and retain it for future reference.
• Symbols used in the manual:
• Important information.
• Shaded buttons on the remote control show
• Information on a feature.
you the buttons you have to press to follow
• 1,2... Sequence of instructions.
the sequence of the instructions.
• Informs you of the result of instructions.
Table of Contents
Introduction .............................................................................................................................................. 3
Safety Information.................................................................................................................................... 4
Overview
Overview of Remote Control Buttons....................................................................................................... 5
Overview of TV Buttons .......................................................................................................................... 6
GB
Installation
Inserting Batteries into the Remote Control............................................................................................. 6
Connecting the Aerial and VCR .............................................................................................................. 6
First Time Operation
Switching On the TV and Automatically Tuning ...................................................................................... 7
Menu system
Introducing and Using the Menu System................................................................................................. 9
Menu Guide:
Picture Adjustment.......................................................................................................................... 9
Sound Adjustment .......................................................................................................................... 10
Sleep Timer .................................................................................................................................... 11
Language/Country .......................................................................................................................... 11
Auto Tuning .................................................................................................................................... 11
Programme Sorting......................................................................................................................... 12
Programme Labels ......................................................................................................................... 12
AV Preset........................................................................................................................................ 12
Manual Programme Preset............................................................................................................. 13
Noise Reduction ............................................................................................................................. 15
AV3 Output ..................................................................................................................................... 15
TV Speakers................................................................................................................................... 15
RGB Centring ................................................................................................................................. 16
Picture Rotation .............................................................................................................................. 16
Teletext.................................................................................................................................................. 17
Additional Information
Connecting Optional Equipment .............................................................................................................. 18
Using Optional Equipment ....................................................................................................................... 19
Specifications........................................................................................................................................... 20
Troubleshooting....................................................................................................................................... 21
Table of Contents 3

GB text.fm Page 4 Tuesday, April 27, 2004 3:21 PM
Safety Information
This set is to operate on a 220-240V AC
For environmental and safety reasons, it
Never push objects of any kind into the
supply only. Take care not to connect
is recommended that the TV set is not
set as this could result in a fire or electric
too many appliances to the same power
left in standby mode when not in use.
shock. Never spill liquid of any kind on
socket as this could result in fire or
Disconnect from the mains. However,
the set. If any liquid or solid object does
electric shock.
some TVs may have features which
fall into the cabinet, do not operate the
require they are left in standby. The
TV. Have it checked immediately by
instructions in this manual will inform
qualified personnel.
you if this applies.
Do not open the cabinet and the rear cover
For your own safety, do not touch any
To prevent fire or shock hazard, do not
of the TV. Refer to qualified service
part of the TV, power lead or aerial lead
expose the TV to rain or moisture.
personnel only.
during lightning storms.
Do not cover the ventilation openings of
Never place the TV in hot, humid or
To prevent fire, keep inflammable
the TV For ventilation, leave a space of
excessively dusty places. Do not
objects or naked lights (eg candles)
at least 10cm all around the set.
install the TV where it may be
away from the TV.
exposed to mechanical vibrations.
Clean the screen and cabinet with a soft,
Pull out the power lead by the plug.
Take care not to place heavy objects on
lightly dampened cloth. Do not use any type
Do not pull on the power lead itself.
the power lead as this could result in
of abrasive pad, alkaline cleaner, scouring
damage.
powder or solvent, such as alcohol or
We recommend you wind any excess
benzine, or antistatic spray. As a safety
lead around the holders provided on
precaution, unplug the TV before cleaning
the rear of the TV.
it.
Place the TV on a secure stable stand.
Unplug the power lead before moving
Do not cover the ventilation
Never attempt to move the TV and stand
the TV. Avoid uneven surfaces, quick
openings of the TV with items such
together -always move the TV and stand
steps or excessive force. If the set has
as curtains or newspapers etc.
separately. Do not place the TV on its
been dropped or damaged, have it
side or face up. Do not allow children to
checked immediately by qualified
climb on to it.
service personnel.
4 Safety Information

GB text.fm Page 5 Tuesday, April 27, 2004 3:21 PM
Overview of Remote Control Buttons
1 To temporarily switch off TV:
1
Press this button to temporarily switch off TV (the standby indicator
on TV lights up). Press again to switch on TV from standby mode.
To save energy we recommend switching off completely when TV is
2
not in use.
After 15 minutes without a signal and without any button being
pressed, the TV switches automatically into standby mode.
3
2 Selecting input source:
qj
4
Press this button repeatedly until the desired input symbol of the
qh
5
source appears on the TV screen.
qg
6
3 Selecting channels:
Press these buttons to select channels.
qf
7
For double-digit programme numbers, enter the second digit within
2.5 seconds.
8
4 Previous channel button:
Press this button to watch the last channel selected (provided you
qd
9
watched it for at least 5 seconds).
5 This button only works in Teletext mode.
6 This button only works in Teletext mode.
qs
q;
GB
7 Selecting Teletext:
Press this button to switch on teletext.
qa
8 Control pad:
• When MENU is switched on, use these buttons to operate the
menu system. For details refer to “Using the Menu System” on
page 9.
• When MENU is switched off, press OK to show a channel
overview. Then press v or V to select the channel and then press
the OK button again to watch the selected channel.
9 Selecting screen format:
qf Selecting TV mode:
Press this button repeatedly to view programmes
Press this button to switch off teletext or video
in 16:9 mode. Press again to return to 4:3 mode.
input.
q; Selecting channels:
qg Selecting Sound effect:
Press this button to select the next or previous
Press this button repeatedly to change the sound
broadcast channel.
effect.
qa Muting the Sound:
qh Selecting Picture mode:
Press this button to mute TV sound. Press again
Press this button repeatedly to change the picture
to restore the sound.
mode.
qs Adjusting TV volume:
qj Displaying on Screen information:
Press this button to adjust the volume of the TV.
Press this button to display all on-screen
indications. Press again to cancel.
qd Displaying the menu system:
Press this button to display the menu on the TV
screen. Press again to remove the menu display
from the TV screen.
Besides the TV functions, all coloured and green symbol buttons are also used for Teletext operation. For
more details, please refer to “Teletext” section of this instruction manual.
Overview 5

GB text.fm Page 6 Wednesday, May 12, 2004 11:51 AM
Overview of TV Buttons
Programme Up or Down
Buttons (Selects TV
channels)
Volume control
buttons
Auto Start Up
3
Button
Selecting
Input source
Standby
3
S video Input
Video Input
indicator
jack
jack
Pull open the
door on the side of
the TV to reveal
Audio
the sockets
o3
Input jacks
Headphones
On/Off
jack
switch
Inserting Batteries into the Remote Control
Make sure you insert the supplied batteries observing the correct polarities.
Always remember to dispose of used batteries in an environmental friendly way.
C
N
O
S
T
R
A
O
P
R
O
Y
/4
N
P
A
A
J
N
I
O
PAN
/4
TION JA
SONY CORPORA
Connecting the Aerial and VCR
Connecting cables are not supplied.
VCR
(SMARTLINK)
MANUFACTURED UNDER LICENCE
or
FROM DOLBY LABORATORIES
"DOLBY" AND THE DOUBLE - D
SYMBOL ARE TRADEMARKS OF
DOLBY LABORATORIES
(SMARTLINK)
(SMARTLINK)
Scart lead is optional
For more details of VCR connection, please refer to the section “Connecting
Optional Equipment” of this instruction manual.
6 Overview-Installation

GB text.fm Page 7 Tuesday, April 27, 2004 3:21 PM
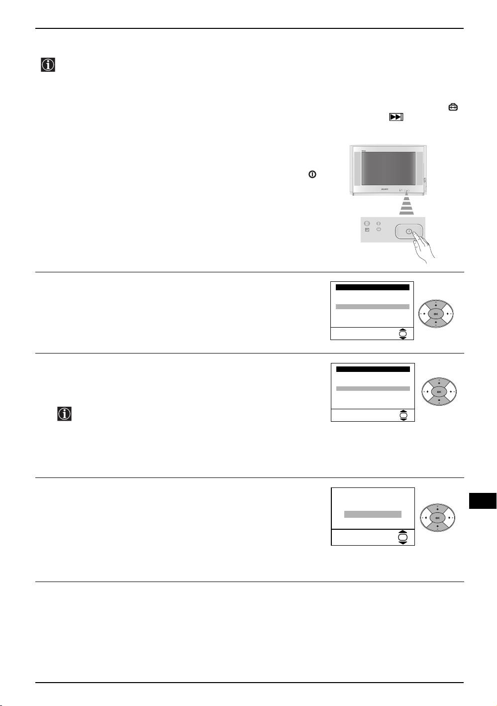
Switching on the TV and Automatically Tuning
The first time you switch on your TV, a sequence of menu screens appear on the TV enabling you to:
1) choose the language of the menu screen, 2) choose the country in which you wish to operate the TV,
3) adjust the picture slant 4) search for and store all available channels (TV Broadcasts) and 5) change
the order in which the channels (TV Broadcasts) appear on the screen.
However, if you need to change any of these settings at a later date, you can do that by selecting the
appropriate option in the (Set Up menu) or by pressing the Auto Start Up Button on the TV set.
1
Connect the TV plug to the mains socket (220-240V AC, 50Hz).
The first time that the TV set is connected, it is usually turned on.
If the TV is off, press the on/off button on the TV set to turn on
the TV.
The first time you switch on the TV, a Language menu appears
automatically on the TV screen.
GB
2
Press the v or V button on the remote control to select the
Language
language, then press the OK button to confirm your selection.
i
v
Svenska
From now on all the menus will appear in the selected language.
Norsk
English
Nederlands
Français
Italiano
i
V
Select Language:
OK
3
The Country menu appears automatically on the TV screen. Press
Country
the v or V
button to select the country in which you will operate the
i
v
Sverige
TV set, then press the OK button to confirm your selection.
Norge
-
Italia
Deutschland
• If the country in which you want to use the TV set does not
Österreich
i
V
appear in the list, select “-” instead of a country.
Select country:
OK
• In order to avoid wrong teletext characters for Cyrillic
languages we recommend you select Russia as the country
if your own country does not appear in the list.
4
Because of the earth’s magnetism, the picture might slant. The
Picture Rotation menu allows you to correct the picture slant if it
If picture slants, please
adjust picture rotation
is necessary.
Not necessary
a) If it is not necessary, press the v or V button to select Not
Adjust now
necessary and press OK.
b) If it is necessary, press the v or V button to select Adjust now,
OK
then press OK and correct any slant of the picture between –5
and +5 by pressing the v or V button. Finally press OK to store.
continued...
First Time Operation 7

GB text.fm Page 8 Tuesday, April 27, 2004 3:21 PM
Switching on the TV and Automatically Tuning
5
The Auto Tuning menu appears on the screen. Press the OK
button to select Yes.
Do you want to start
automatic tuning?
Ye s
No
OK
6
The TV starts to automatically search and store all available
broadcast channels for you.
Auto Tuning
Programme: 01
System: B/G
This procedure could take some minutes. Please be patient
Channel: C21
and do not press any buttons, otherwise the automatic tuning
will not be completed.
Searching...
If no channels were found during the auto tuning process then
a new menu appears automatically on the screen asking you
No channel found
to connect the aerial. Please connect the aerial (see page 6)
Please connect aerial
and press OK. The auto tuning process starts again.
Confirm
OK
7
After all available channels are captured and stored, the
Programme Sorting menu appears automatically on the
Programme Sorting
Programme:
screen enabling you to change the order in which the
01 TVE
02 TVE2
channels appear on the screen.
03 TV3
04 C33
05 C27
06 C58
a) If you wish to keep the broadcast channels in their tuned order,
Select channel:
OK
Exit:
MENU
go to step 7.
b) If you wish to store the channels in a different order:
Programme Sorting
1 Press the v or V button to select the programme number that
Programme:
01 TVE
has the channel (TV Broadcast) you wish to rearrange, then
02 TVE2
03 TV3
press the b
button.
04 C33
05 C27
2 Press the v or V button to to select the new programme
06 C58 05 C27
number position for your selected channel (TV Broadcast),
Select new position:
OK
Exit:
MENU
then press B.
3 Repeat steps b)1 and b)2 if you wish to change the order of
the other channels.
8
Press the MENU button to remove the menu from the screen.
MENU
Your TV is now ready for use.
8 First Time Operation

GB text.fm Page 9 Tuesday, April 27, 2004 3:21 PM
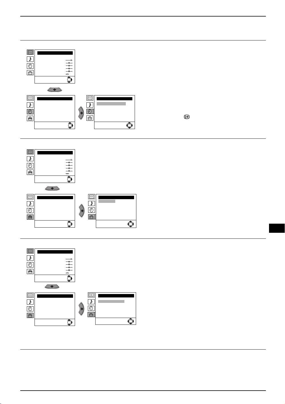
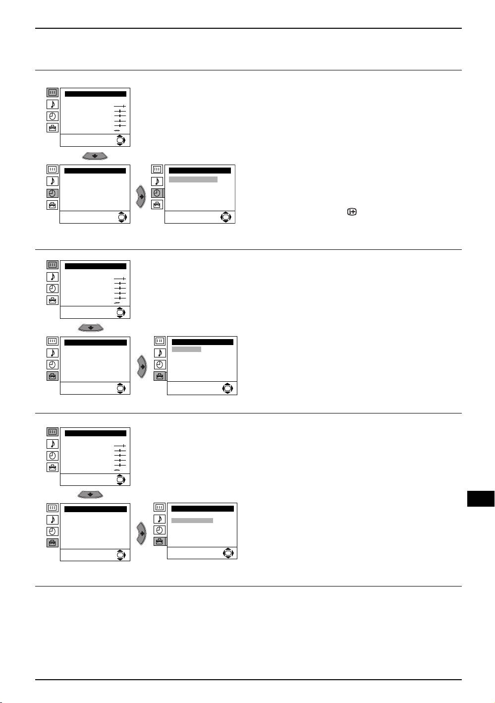
Introducing and Using the Menu System
Your TV uses an on-screen menu system to guide you through the operations. Use the following
buttons on the Remote Control to operate the menu system:
1
Press the MENU button to switch the first level menu on.
MENU
2
• To highlight the desired menu or option, press v or V button.
• To enter to the selected menu or option, press b.
• To return to the last menu or option, press B
.
• To alter the settings of your selected option, press v/V/B or b.
• To confirm and store your selection, press the OK button.
3
Press the MENU button to remove the menu from the screen.
MENU
GB
Menu Guide
Level 1 Level 2 Level 3 / Function
Picture Adjustment
Picture Adjustment
PICTURE ADJUSTMENT
Mode: Personal
Mode: Personal
Contrast
Contrast
The “Picture Adjustment” menu allows you to alter
Brightness
Brightness
the picture adjustments.
Colour
Colour
Sharpness
Sharpness
Hue
Hue
Reset
Reset
To do this:
OK
OK
After selecting the item you want to alter press the b
button, then repeatedly press the v/V/B or b buttons
to make any adjustments and finally press the OK
button to store.
This menu also allows you to customise the picture
mode based on the programme you are watching:
v Personal (for individual settings).
v Live (for live broadcast programmes, DVD and
Digital Set Top Box receivers).
v Movie (for films).
• Brightness, Colour and Sharpness can only be altered if “Personal” mode is selected.
• Hue is only available for NTSC colour signal (e.g: USA video tapes).
• Select Reset and press the OK button to return the picture settings to their factory preset levels.
continued...
Menu System 9

GB text.fm Page 10 Tuesday, April 27, 2004 3:21 PM
Introducing and Using the Menu System
Level 1 Level 2 Level 3 / Function
SOUND ADJUSTMENT
Picture Adjustment
The “Sound Adjustment” menu allows you to alter the
Mode: Personal
sound settings.
Contrast
Brightness
Colour
Sharpness
To do this:
Hue
Reset
After selecting the item you want to alter press the b
OK
button, then repeatedly press the v/V/B or b buttons
to make any adjustments and finally press the OK
button to store.
Sound Adjustment
Sound Adjustment
Effect: Natural
Effect: Natural
Treble
Treble
Bass
Bass
Balance
Balance
Reset
Reset
Dual Sound: Mono
Dual Sound: Mono
Auto volume: On
Auto volume: On
OK
OK
Effect bvNatural: Enhances clarity, detail and presence of sound by using the “BBE
High Definition Sound system”*.
v Dynamic: “BBE High Definition Sound system”* intensifies clarity and presence
of sound for better intelligibility and musical realism.
v Dolby**Virtual: Simulates the sound effect of “Dolby Surround Pro Logic”.
v Off: Flat response.
Treble bBLess b More
Bass bBLess b More
Balance bBLeft b Right
Reset Resets the sound to the factory preset levels.
K
Dual Sound b • For a stereo broadcast:
v Mono.
v Stereo.
• For a bilingual broadcast:
v Mono (for mono channel if available).
v A (for channel 1).
v B (for channel 2).
Auto VolumebvOff: volume level changes according to the broadcast signal.
v On: volume level of the channels will stay the same, independent of the broadcast
signal (e.g. in the case of advertisements).
• If you are listening to the TV through headphones, the “Effect” option is automatically switched to “Off”.
• If you select “Dolby Virtual” in the “Effect” option, the “Auto Volume” option is automatically switched to
“Off” and vice versa.
*The “BBE High Definition Sound system” is manufactured by Sony Corporation under license from
BBE Sound, Inc. It is covered by U.S. Patent No. 4,638,258 and No. 4,482,866. The word “BBE” and
BBE Symbol are trademarks of BBE Sound, Inc.
**This TV has been designed to create the “Dolby Surround” sound effect by simulating the sound of
four speakers with only two speakers, when the broadcast audio signal is Dolby Surround encoded.
The sound effect can also be improved by connecting a suitable external amplifier (for details refer
to “Connecting to external audio Equipment” on page 19).
**Manufactured under license from Dolby Laboratories. “Dolby”, “Pro Logic” and the double-D symbol
are trademarks of Dolby Laboratories.
continued...
10 Menu System

GB text.fm Page 11 Tuesday, April 27, 2004 3:21 PM
Introducing and Using the Menu System
Level 1 Level 2 Level 3 / Function
SLEEP TIMER
Picture Adjustment
The “Sleep Timer” option in the “Timer” menu allows
Mode: Personal
you to select a time period for the TV to automatically
Contrast
Brightness
switch itself into the standby mode.
Colour
Sharpness
Hue
Reset
To do this:
OK
After selecting the option, press the
b button then
press the v or V button to set the time period delay
(max. of 4 hours) and finally press the OK button to
store.
Timer
Timer
Sleep Timer: Off
Sleep Timer: Off
• While watching the TV, you can press the
button on the remote control to display the time
remaining.
• One minute before the TV switches itself into
OK
OK
standby mode, the time remaining is displayed on
the TV screen automatically.
GB
LANGUAGE / COUNTRY
Picture Adjustment
Mode: Personal
The “Language/Country” option in the “Set Up” menu
Contrast
Brightness
allows you to select the language in which the menus
Colour
Sharpness
are displayed. It also allows you to select the country
Hue
Reset
in which you wish to operate the TV set.
OK
To do this:
After selecting the option, press the
b button then
proceed in the same way as in the steps 2 and 3 of
Set Up
Set Up
the section “Switching On the TV and Automatically
Language/Country
Language/Country
Auto Tuning
Auto Tuning
Tuning” on page 7.
Programme Sorting
Programme Sorting
Progamme Labels
Progamme Labels
AV Preset
AV Preset
Manual Programme Preset
Manual Programme Preset
Detail Set Up
Detail Set Up
OK
OK
AUTO TUNING
Picture Adjustment
Mode: Personal
The “Auto Tuning” option in the “Set Up” menu allows
Contrast
Brightness
you to automatically search for and store all available
Colour
Sharpness
TV channels.
Hue
Reset
To do this:
OK
After selecting the option, press the
b button then
proceed in the same way as in TV steps 5 and 6 of
the section “Switching On the TV and Automatically
Set Up
Set Up
Tuning” on page 8.
Language/Country
Language/Country
Auto Tuning
Auto Tuning
Programme Sorting
Programme Sorting
Progamme Labels
Progamme Labels
AV Preset
AV Preset
Manual Programme Preset
Manual Programme Preset
Detail Set Up
Detail Set Up
OK
OK
continued...
Menu System 11

GB text.fm Page 12 Tuesday, April 27, 2004 3:21 PM
Introducing and Using the Menu System
Level 1 Level 2 Level 3 / Function
PROGRAMME SORTING
Picture Adjustment
The “Programme Sorting” option in the “Set Up”
Mode: Personal
menu allows you to change the order in which the
Contrast
Brightness
channels (TV Broadcasts) appear on the screen.
Colour
Sharpness
Hue
Reset
To do this:
OK
After selecting the option, press the
b button then
proceed in the same way as in step 7 b) of the section
“Switching On the TV and Automatically Tuning” on
Set Up
Set Up
page 8.
Language/Country
Language/Country
Auto Tuning
Auto Tuning
Programme Sorting
Programme Sorting
Progamme Labels
Progamme Labels
AV Preset
AV Preset
Manual Programme Preset
Manual Programme Preset
Detail Set Up
Detail Set Up
OK
OK
PROGRAMME LABELS
Picture Adjustment
The “Programme Labels” option in the “Set Up” menu
Mode: Personal
Contrast
allows you to name a channel using up to five
Brightness
characters (letters or numbers).
Colour
Sharpness
Hue
Reset
To do this:
OK
1 After selecting the option, press the b button, then
press the
v or V buttons to select the programme
number of the channel you wish to name.
Set Up
Set Up
2 Press b button. With the first element of the Label
Language/Country
Language/Country
Auto Tuning
Auto Tuning
column highlighted, press v or
V buttons to select
Programme Sorting
Programme Sorting
Progamme Labels
Progamme Labels
a letter or number (select “-“ for a blank), then
AV Preset
AV Preset
press the
b button to confirm the character. Select
Manual Programme Preset
Manual Programme Preset
Detail Set Up
Detail Set Up
the other four characters in the same way. Finally
OK
OK
press the OK to store.
AV PRESET
Picture Adjustment
The “AV Preset” option in the “Set Up” menu allows
Mode: Personal
you to designate a name to the external equipment
Contrast
Brightness
you have connected to the sockets of this TV.
Colour
Sharpness
Hue
Reset
To do this:
OK
1 After selecting the option, press the
b button, then
press the v or
V buttons to select the input source
you wish to name (AV1 and AV2 represent the
rear Scart sockets and AV3 is for the side
Set Up
Set Up
Language/Country
Language/Country
connectors). Then press the b button to confirm.
Auto Tuning
Auto Tuning
Programme Sorting
Programme Sorting
Progamme Labels
Progamme Labels
AV Preset
AV Preset
2 A predefined label automatically appears in the
Manual Programme Preset
Manual Programme Preset
Detail Set Up
Detail Set Up
label column:
OK
OK
a) If you want to use one of the 6 predefined
labels (CABLE, GAME, CAM, DVD, VIDEO or
SAT), press the v or
V buttons to select the
desired label, then press OK button to store.
b) If you want to set a different label, select Edit
and press b button. Then with the first element
highlighted, press the v or
V buttons to select
a letter, number or “-“ for a blank, then press b
button to confirm the character. Select the
other four characters in the same way. Finally
press the OK button to store.
continued...
12 Menu System

GB text.fm Page 13 Tuesday, April 27, 2004 3:21 PM
Introducing and Using the Menu System
Level 1 Level 2 Level 3 / Function
MANUAL PROGRAMME PRESET
Picture Adjustment
The “Manual Programme Preset” option in the “Set
Mode: Personal
Up” menu allows you to:
Contrast
Brightness
Colour
Sharpness
a) Preset channels or the VCR channel one by one
Hue
Reset
to the programme order of your choice.
OK
To do this:
1 After selecting the ”Manual Programme Preset”
Set Up
Set Up
option, press the
b button then with Programme
Language/Country
Language/Country
Auto Tuning
Auto Tuning
option highlighted press the
b button.
Programme Sorting
Programme Sorting
Press the v or
V buttons to select which
Progamme Labels
Progamme Labels
AV Preset
AV Preset
programme number you want to preset the
Manual Programme Preset
Manual Programme Preset
Detail Set Up
Detail Set Up
channel to (for VCR, select programme number
OK
OK
“0”). Then press the B button.
2 The availability of this option depends on
the country you have selected in the
GB
“Language/Country” menu.
After selecting the System option, press the
b
button. Then press the v or
V buttons to select the
TV Broadcast system (B/G for western European
countries or D/K for eastern European countries).
Press the B button.
3 After selecting the Channel option, press the b
button. Then press the v or
V buttons to select the
channel tuning (“C” for terrestrial channels or “S”
for cable channels). Next press b button. After
that, press the numbered buttons to directly enter
the channel number of the TV Broadcast or the
VCR channel. If you do not know the channel
number, press the v or
V buttons to search for it.
When you have tuned to the desired channel,
press the OK button twice to store.
Repeat all the above steps to tune and store more
channels.
b) Label a channel using up to five characters.
To do this:
After highlighting the Programme option, press
the PROG +/- button to select the programme
number of the channel you wish to name. When
the programme you want to name appears on the
screen, select the Label option and press
b
button. Next press the v or
V buttons to select a
letter, number or “-“ for a blank. Press the
b button
to confirm thecharacter. Select the other four
characters in the same way. After selecting all the
characters, press the OK button twice to store.
continued...
Menu System 13

GB text.fm Page 14 Wednesday, May 12, 2004 11:57 AM
Introducing and Using the Menu System
Level 1 Level 2 Level 3 / Function
c) Manually fine tune the TV to obtain a better
Picture Adjustment
picture reception if the picture is distorted.
Mode: Personal
Contrast
Normally the automatic fine tuning (AFT) is in
Brightness
Colour
operation, but you can alter it manually.
Sharpness
Hue
Reset
To do this:
OK
Whilst watching the channel (TV Broadcast) you
wish to fine tune, select the AFT option and press
b button. Next press the v or
V buttons to adjust
Set Up
Set Up
the fine tuning between -15 and +15. Finally
Language/Country
Language/Country
Auto Tuning
Auto Tuning
press the OK button twice to store.
Programme Sorting
Programme Sorting
Progamme Labels
Progamme Labels
AV Preset
AV Preset
Manual Programme Preset
Manual Programme Preset
d) Skip any unwanted programme numbers when
Detail Set Up
Detail Set Up
they are selected with the PROG +/- buttons.
OK
OK
To do this:
After highlighting the Programme option, press
the PROG +/- button to select the programme
number you want to skip. When the programme
you want to skip appears on the screen, select
the Skip option and press the b button. Next
press the v or
V buttons to select Yes. Finally
press the OK button twice to confirm and store.
To cancel this function later on select “No”
instead of “Yes” in the step above.
e) View and record scrambled channels when using
a decoder connected directly to the Scart socket
2/ 2 or through a VCR.
The availability of this option depends on
the country you have selected in the
“Language/Country” menu.
To do this:
Select the Decoder option and press the b
button. Next press the v or
V buttons to select
On. Finally press the OK button twice to confirm
and store.
To cancel this function later on, select “Off”
instead of “On” in the step above.
continued...
14 Menu System

GB text.fm Page 15 Wednesday, May 12, 2004 11:57 AM
Introducing and Using the Menu System
Level 1 Level 2 Level 3 / Function
NOISE REDUCTION
Picture Adjustment
The “Noise Reduction” option in the “Detail Set Up”
Mode: Personal
menu allows you to automatically reduce any picture
Contrast
Brightness
noise visible in the broadcast signal.
Colour
Sharpness
Hue
Reset
To do this:
OK
After selecting the option, press the b button. Then
press the v or
V buttons to select Auto. Finally press
the OK button to confirm and store.
Set Up
Detail Set Up
Language/Country
Noise Reduction:
Auto
To cancel this function later on, select “Off” instead of
Auto Tuning
AV2 output:
TV
TV speakers:
On
Programme Sorting
“Auto” in the step above.
RGB Centring:
0
Progamme Labels
Picture Rotation
0
AV Preset
Manual Programme Preset
Detail Set Up
OK
OK
AV2 OUTPUT
GB
The “AV2 Output” option in the “Detail Set Up” menu
Picture Adjustment
Mode: Personal
allows you to select the source to be output from the
Contrast
Brightness
Scart connector 2/ 2. You can then record the
Colour
Sharpness
TV signal from this Scart, or signals from external
Hue
Reset
equipment connected to the Scart connector 1/
1, or the side connectors 3, 3 and 3.
S
OK
If your VCR supports Smartlink, this procedure
is not necessary.
Set Up
Detail Set Up
Language/Country
Noise Reduction:
Auto
Auto Tuning
AV2 output:
TV
To do this:
TV speakers:
On
Programme Sorting
RGB Centring:
0
Progamme Labels
After selecting the option, press the b button. Then
Picture Rotation
0
AV Preset
Manual Programme Preset
press the v or
V buttons to select the desired output
Detail Set Up
OK
signal: TV, AV1, AV3, YC3 or AUTO.
OK
If you select “AUTO”, the output signal will always be the same one that is displayed on the screen.
If you have connected a decoder to the Scart socket 2/ 2 or to a VCR connected to that Scart
socket, please remember to set the “AV2 Output” to “AUTO” or “TV” for correct unscrambling.
TV SPEAKERS
The “TV Speakers” option in the “Detail Set Up”
Picture Adjustment
menu allows you to mute the TV speakers in order to
Mode: Personal
Contrast
listen to the TV from an external amplifier connected
Brightness
Colour
to the audio outputs on the rear of the TV set.
Sharpness
Hue
Reset
To do this:
OK
After selecting the option, press the b button. Then
press the v or
V buttons to select Off. Finally press
the OK button to confirm and store.
Set Up
Detail Set Up
Language/Country
Noise Reduction:
Auto
Auto Tuning
AV2 output:
TV
To cancel this function later on, select “On” instead of
TV speakers:
On
Programme Sorting
RGB Centring:
0
Progamme Labels
“Off” in the step above.
Picture Rotation
0
AV Preset
Manual Programme Preset
Detail Set Up
OK
OK
continued...
Menu System 15

GB text.fm Page 16 Tuesday, April 27, 2004 3:21 PM
Introducing and Using the Menu System
Level 1 Level 2 Level 3 / Function
RGB CENTRING
Picture Adjustment
When connecting an RGB source, such as a
Mode: Personal
“PlayStation”, you may need to readjust the
Contrast
Brightness
horizontal position of the picture. In that case, you
Colour
Sharpness
can readjust it using the “RGB Centring” option in the
Hue
Reset
“Detail Set Up”.
OK
To do this:
While watching an RGB source select the “RGB
Centring” option and press the b button. Then press
Set Up
Detail Set Up
the v or
V buttons to adjust the centre of the picture
Language/Country
Noise Reduction:
Auto
Auto Tuning
AV2 output:
TV
TV speakers:
On
between –10 and +10. Finally press the OK button to
Programme Sorting
RGB Centring:
0
Progamme Labels
Picture Rotation
0
confirm and store.
AV Preset
Manual Programme Preset
Detail Set Up
OK
OK
PICTURE ROTATION
Picture Adjustment
Because of the earth’s magnetism, the picture might
Mode: Personal
slant. If this is the case, you can correct the pictures
Contrast
Brightness
slant by using the option “Picture Rotation” in the
Colour
Sharpness
“Detail Set Up” menu.
Hue
Reset
OK
To do this:
After selecting the option, press the b button. Then
press the v or V buttons to correct any slant of the
picture between -5 and +5 and finally press the OK
Set Up
Detail Set Up
button to store.
Language/Country
Noise Reduction:
Auto
Auto Tuning
AV2 output:
TV
TV speakers:
On
Programme Sorting
RGB Centring:
0
Progamme Labels
Picture Rotation
0
AV Preset
Manual Programme Preset
Detail Set Up
OK
OK
16 Menu System

GB text.fm Page 17 Tuesday, April 27, 2004 3:21 PM
Teletext
Teletext is an information service transmitted by most TV stations. The index page of the teletext service
(usually page 100) gives you information on how to use the service. To operate teletext, use the remote
control buttons as indicated below.
Teletext errors may occur if you use a channel (TV Broadcast) with a weak signal.
To Switch on Teletext:
After selecting the TV channel which carries the teletext service you wish
TELETEXT
TELETEXT
TELETEXT
TELETEXT
TELETEXT
TELETEXT
TELETEXT
TELETEXT
to view, press the button.
Index
Index
Index
Index
Index
Index
Index
Index
Programme
Programme
Programme
Programme
Programme
Programme
Programme
Programme
25
25
25
25
25
25
25
25
News
News
News
News
News
News
News
News
153
153
153
153
153
153
153
153
To Select a Teletext page:
Sport
Sport
Sport
Sport
Sport
Sport
Sport
Sport
101
101
101
101
101
101
101
101
Input the 3 digits of the page number, using the numbered buttons.
Weather
Weather
Weather
Weather
Weather
Weather
Weather
Weather
98
98
98
98
98
98
98
98
• If you have made a mistake, retype the correct page number.
• If the counter on the screen continues searching, it is because the page is not
available.
In that case, input another page number.
To access the next or preceding page:
Press PROG + () or PROG - ( ) buttons.
GB
To superimpose teletext onto the TV:
Whilst you are viewing teletext, press the button. Press again to cancel teletext mode.
To freeze a teletext page:
Press the / button. Press again to cancel freeze.
To reveal concealed information (e.g: answer to a quiz):
Press the / button. Press again to conceal the information.
To select a sub page:
A teletext page may consist of several sub pages. In this case the page number that appears on the upper left
corner changes colour from yellow to green, and one or more arrows will appear next to the page number.
Repeatedly press the B or b buttons on the remote control to watch the desired sub page.
To Switch Off Teletext:
Press button.
Fastext
The Fastext service lets you access pages with one button push.
While you are in Teletext mode and providing Fastext is broadcast, a colour coded menu appears at the
bottom of the teletext page. Press one of the coloured buttons (red, green, yellow or blue) to access the
corresponding page.
Teletext 17

GB text.fm Page 18 Wednesday, May 12, 2004 12:26 PM
Connecting Additional Equipment
Using the following instructions you can connect a wide range of optional equipment to your TV set.
(Connecting cables are not supplied).
MANUFACTURED UNDER LICENCE
FROM DOLBY LABORATORIES
"DOLBY" AND THE DOUBLE - D
SYMBOL ARE TRADEMARKS OF
DOLBY LABORATORIES
(SMARTLINK)
8mm/Hi8/
DVC
camcorder
S VHS/Hi8/
DVC
camcorder
A
3
B
3
F
C
(SMARTLINK)
o3
ED
VCR
When you connect the headphones,
the TV speakers will automatically be
Hi-Fi
muted.
“PlayStation”
*
Decoder
DVD
* “PlayStation” is a product of Sony
Computer Entertainment, Inc.
* “PlayStation” is a trademark of Sony
Computer Entertainment, Inc.
• To avoid picture distortion, do not connect external equipment to connectors A and B at the same
time.
• Do not connect a Decoder to the Scart connector E.
• Games that use a “gun” attachment to point at the screen do not work correctly due to the 100Hz
technology used in this television
Connecting a VCR:
To connect a VCR, please refer to the section “Connecting the aerial and VCR” of this instruction manual. We
recommend you connect your VCR using a Scart lead. If you do not have a Scart lead, tune in the VCR test
signal to the TV programme number “0” by using the “Manual Programme Preset” option. (for details of how
to manually programme these presets, see page 13, step a).
Refer to your VCR instruction manual to find out the output channel of your VCR.
Connecting a VCR that supports Smartlink:
Smartlink is a direct link between the TV set and the VCR. For more information on Smartlink, please
refer to the instruction manual of your VCR.
If you use a VCR that supports Smartlink, please connect the VCR by using a Scart lead to the Scart
socket 2/ 2 F.
If you have connected a decoder to the Scart 2/ 2 F or through a VCR connected to
this Scart:
Select the “Manual Programme Preset” option in the “Set Up” menu and after selecting the “Decoder**” option,
select “On” (by using
the v or V button). Repeat this procedure for each scrambled signal.
** The availability of this option depends on the country you have selected in the “Language/Country” menu.
continued...
18 Additional Information

GB text.fm Page 19 Wednesday, May 12, 2004 11:59 AM
Connecting Additional Equipment
Connecting to external Audio Equipment:
Plug in your Hi-Fi equipment to the audio output sockets D if you wish to amplify the audio output from your
TV. Next, using the menu system, select the “Set Up” menu. Enter the “Detail Set Up” menu and set “TV
Speakers” to “Off”.
The audio level of the external speakers can be modified by pressing the volume buttons on the remote
control. Also, treble and bass settings can be modified through the “Sound Adjustment” menu.
To enjoy “Dolby Virtual” sound effect through your Hi-Fi equipment:
Place the speakers of your equipment in front of your sitting position
Left Hi-Fi
Right Hi-Fi
and besides the TV set, but keeping a distance of 50 cm from each
speaker
speaker
speaker to the TV set.
Then, using the menu system, select the menu “Sound Adjustment”,
and select “Dolby Virtual” on the “Effect” option.
50cm 50cm
GB
Your sitting position
Using optional Equipment
1
Connect your equipment to the designated TV socket, as indicated in the previous page.
2
Switch on the connected equipment.
3
To watch the picture from the connected equipment, press the button repeatedly until the correct
input symbol appears on the screen.
Symbol
Input Signals
1
• Audio / video input signal through the Scart connector E.
1
• RGB input signal through the Scart connector E. This symbol appears only if a RGB
source has been connected.
2
• Audio/video input signal through the Scart connector F.
2
• RGB input signal through the Scart connector F. This symbol appears only if a RGB
source has been connected.
3
• Video input signal through the phono socket B and Audio input signal through phono
socket C.
S
3
• S Video Input signal through the front S Video input jack A and Audio signal through
phono socket C. This symbol appears only if a S Video source has been connected.
4
Press button on the remote control to return to the normal TV picture.
For Mono Equipment
Connect the phono plug to the L/G/S/I socket on the side of the TV and select 3 or 3 input signal using
S
the instructions above. Finally, refer to the “Sound Adjustment” section of this manual and select “Dual
Sound” “A” on the sound menu screen.
Additional Information 19

GB text.fm Page 20 Wednesday, May 12, 2004 11:59 AM
Specifications
TV system Depending on your country selection B/G/H, D/K, L , I
Colour System PAL, SECAM
NTSC 3.58, 4.43 (Video In only)
Channel Coverage VHF: E2-E12
UHF: E21-E69
CATV: S1-S20
HYPER: S21-S41
D/K: R1-R12, R21-R69
Picture Tube Flat display FD Trinitron 29” (Approx. 73 cm measured diagonally)
Rear Terminals 1/ 1 21-pin Scart connector (CENELEC standard) including audio/
video input, RGB input, TV audio/video output
2/ 2 21-pin Scart connector (CENELEC standard) including audio/
(SMARTLINK) video input, RGB input, selectable audio/video output and
Smartlink interface
Audio outputs (Left/Right) - phono jacks
Side terminals 3 S Video input - 4 pin DIN
S
3 Video input - phono jack
3 Audio input - phono jacks
i Headphones jack
Sound Output 2 x 20W (Music Power), 2 x 10W (RMS)
Power Consumption 113W
Standby Power
0.3W
Consumption
Dimensions (WxHxD) Approx. 807mm x 603mm x 543mm
Weight Approx. 45Kg
Accessories Supplied 1 Remote Control (RM-947), 2 batteries (IEC designated)
Other Features • 100Hz picture
• Teletext, Fastext, TOPtext (250 page TEXT memory)
• Sleep Timer
• Smartlink (direct link between your TV set and a compatible VCR. For more
information on Smartlink, please refer to the Instruction Manual of your VCR)
• TV system Autodetection
• Dolby Virtual
• BBE
Design and specifications are subject to change without notice.
20 Additional Information

GB text.fm Page 21 Wednesday, May 12, 2004 11:59 AM
Troubleshooting
Here are some simple solutions to problems which may affect the picture and sound.
Problem Suggested Remedy
No picture (screen is dark), and no sound. • Check the aerial connection.
• Plug the TV in and press the button on the front of
the TV.
• If the standby indicator is on press the button
or a numbered button on the remote control.
Poor or no picture (screen is dark), but good
• Using the MENU system, select the “Picture
sound.
Adjustment“ display and select “RESET“ to return to
the factory settings.
No picture or menu information from equipment
• Check that the optional equipment is on, and press
connected to the Scart socket.
the button of the remote control repeatedly until
the correct input symbol is displayed on screen.
Good picture, no sound. • Press the button on the remote control.
• Check that “TV Speakers” is “On” in the “Detail Set
Up” menu.
GB
• Check the Headphones are not connected.
No colour on colour programmes. • Using the MENU system, select the “Picture
Adjustment“ and select “RESET“ to return to the
factory settings.
Distorted picture when changing programmes or
• Turn off any equipment connected to the scart
selecting Teletext.
connectors on the rear of the TV.
Wrong characters appear when viewing teletext. • Using the menu system, display the “Language/
Country” menu and select the country in which you
are operating the TV set.
For Cyrillic languages, we recommend you select
Russian as the country if your own country does not
appear in the list.
Picture slanted. • Using the menu system, select the “Picture Rotation”
option in the “Detail Set Up” menu to correct the
picture slant.
Snowy picture when viewing a TV channel. • Using the menu system, select the “Manual
Programme Preset” menu and adjust Fine Tuning
(AFT) to obtain better picture reception.
• Using the menu system, select the “Noise Reduction”
option in the “Detail Set Up” menu and select “Auto”
to reduce the noise in the picture.
No unscrambled picture whilst viewing un
• Using the menu system, display the “Set Up” menu.
unscrambled channel with a decoder connected
Then select the “Detail Set Up” option and set “AV2
through the scart connector 2/ 2.
Output” to “TV”.
• Check that the decoder is not connected to the 1/
1 scart socket.
Remote control does not function. • Replace the batteries.
The standby indicator on the TV flashes. • Contact your nearest Sony service centre.
• If you continue to have problems, have your TV serviced by qualified personnel.
• NEVER open the casing yourself.
Additional Information 21

Untitled1.fm Page 1 Thursday, March 25, 2004 9:27 AM

BG Text.fm Page 3 Tuesday, April 27, 2004 4:04 PM
Увод
Благодарим Ви за избора на този цветен телевизор Sony с плосък
екран FD Trinitron.
Преди използване на телевизора прочетете внимателно това ръководство за експлоатация и
го запазете за бъдещи изяснения.
• Символии използввани в това ръководство:
• Важна информация.
• Потьменените бутони на дистанционното
управление показват кои бутони трябва
• Информация за функцията.
да се натискат за изпълнението на
• 1,2... Последователност за следване на
различните операции.
инструкциите.
• Информация за резултата от
инструкциите.
Съдържание
Увод ........................................................................................................................................................ 3
Техника на безопасност........................................................................................................................ 4
Основно описание
Основно описание на бутоните на дистанционното управление...................................................... 5
Основно описание на бутоните на телевизора ................................................................................. 6
Инсталиране
Инсталиране на батериите в устройството за дистанционно управление ...................................... 6
Свързване на антената и видеото ...................................................................................................... 6
BG
Първоначално включване
Включване и автоматично настройване на телевизора ................................................................... 7
Ситема от менюта на екрана
Увод и боравене със системата от менюта ........................................................................................ 9
Водач на менютата:
Настройка на Картината.............................................................................................................. 9
Настройка на звука ...................................................................................................................... 10
Автоматично Изключв ................................................................................................................. 11
Език / Държава ............................................................................................................................. 11
Автоматично Захващане.............................................................................................................. 11
Автоматично Захващане.............................................................................................................. 12
Надписване на програми ............................................................................................................. 12
Запаметени AV настройки ........................................................................................................... 12
Програмиа Ръчен Избор............................................................................................................... 13
Потискане на шума....................................................................................................................... 15
AV3 изход ...................................................................................................................................... 15
Телев. говорител .......................................................................................................................... 15
RGB Център .................................................................................................................................. 16
Въртене на Картината ................................................................................................................. 16
Телетекст ............................................................................................................................................ 17
Допълнителнаинформация
Свързване на допълнителни апарати ................................................................................................. 18
Боравене с допълнителни апарати...................................................................................................... 19
Характеристики ..................................................................................................................................... 20
Отстраняване на неизправности ..........................................................................................................21
съдържание 3

BG Text.fm Page 4 Tuesday, April 27, 2004 4:04 PM
Техника на безопасност
Никога не пъхайте каквито и да
Този телевизор може да работи само
По причини за безопасност и предпазване от
въздействие от природни явления е
било предмети в телевизора, тъй
на захранващо напрежение 220-240V.
препоръчително да не оставяте телевизора в
като това може да причини пожар
Внимавайте да не включвате твърде
режим “stand by” когато не се използва.
много уреди в един контакт, тъй
или токов удар. Никога не
Изключвайте от електрическата мрежа.
като това може да причини токов
разливайте течности по телевизора.
Някои телевизори имат функции, които за да
удар.
В случай, че течност или твърд
бъдат използвани, изискват уреда да бъде
предмет попаднат в телевизора го
оставен в режим “stand by”. Инструкциите в
това ръководство ще Ви информират дали
изключете. Свържете се незабавно с
това е необходимо.
квалифицирани
Не отваряйте кутията и задния капак
За Ваша собствена безопасност не
За да предотвратите риска от токов
на телевизора. Обръщайте се само
пипайте телевизора, кабела или
удар, не излагайте телевизора на
към квалифициран сервизен
антената му по време на
дъжд или влага.
персонал.
гръмотевични бури.
Не покривайте вентилационните
Никога не поставяйте телевизора
За да избегнете пожар, дръжте
отвори на телевизора. Оставете най-
на горещи, влажни или
настрана от телевизора
малко 10 см. разтояние около
изключително прашни места. Не
възпламеними предмети и открити
телевизора за вентилация.
инсталирайте телевизора на места
източници на светлина /например
където може да бъде изложен на
свещи/.
механични вибрации.
Почиствайте екрана и кутията с
Когато изключвате телевизора,
Не поставяйте тежки предмети
мека, влажна кърпа. Не използвайте
дърпайте щепсела, а не кабелa.
върху кабела, тъй като това може
абразивни кърпи, алкални
да го повреди.
почистващи средства, изстъргващи
Препоръчваме ви да навиете
препарати или разтворители като
излишния захранващ кабел около
спирт или бензин, както и
предназначените за целта
антистатичен спрей.
приспособления на задната страна
на телевизора.
Поставяйте телевизора на сигурна,
Изключвайте кабела на
Не покривайте
стабилна поставка. Никога не се
телевизора преди да го местите.
вентилационните отвори на
опитвайте да премествате телевизора и
При преместването избягвайте
телевизора с предмети като
поставката едновременно – винаги
неравни повърхности и не правете
пердета, вестници и др.
премествайте телевизора и поставката
бързи крачки. Ако изпуснете или
отделно. Не обръщайте телевизора
нараните телевизора, незабавно се
настрани или по “гръб”. Не позволявайте
консултирайте с квалифицирани
на деца да се катерят по него.
сервизни служители на Сони.
4 Техника на безопасност

BG Text.fm Page 5 Tuesday, April 27, 2004 4:04 PM
Основно описание на бутоните на дистанционното управление
1
1 временно изключване на телевизора :
натиснете го за временно изключване на телевизора
(индикаторът за режим на очакване) ще светне). Натиснете
го отново за да вклочите телевизора от режима на временно
2
изключване (standby).
За икономия на еп. енергия се препоръчва цялостното
3
изключване на телевизора когато не се използва.
Ако в продължение на 15 мин. няма TB сигнал и не се
qj
4
натискат бутоните, телевизора ще мйне автоматично в
qh
5
режим на временно изключване (standby).
qg
6
2 Избор на входен сигнал:
qf
Натиснете го няколко пъти, докато символа на желания входен
7
сигнал се появи на екрана.
8
3 Избор на канали:
Натиснете, за да въведете необходимия номер на канал.
qd
видеокасетофон.
9
За двуцифрени погрмни номера натиснете втората цифра за
времетраене по-малко от 2.5 сек.
4 Бутон за предишен канал:
qs
q;
Натиснете го за да върнете последния избран канал (предният
канаи трябва да е бил изобразен в продължение на най-малко 5
сек.).
qa
5 Този бутон функционира самно в режим на телетекст.
6 Този бутон функционира самно в режим на телетекст.
BG
7 Телетекст:
Натиснете го за ииобраияване на телетекста.
8 Блок за управление:
•
Когато MENU е активирано,
използвайте
тези бутони за
предвижване през системата от менюта. За повече детайли
вижте в глава «Увод и боравене със системата от менюта
» на
стр. 9
•
Когато MENU
н
е е
активирано,
натиснете OK за
визуализиране на генералния списък на настроените канала.
Изберете канала (TB предаване) натискайки
v или V или и
след това натиснете отново OK за да видите избрания канал.
9 Избор на формат на екрана:
qf Избор на режим на телевизия:
Hатиснете го няколко пъти за смяна на
Натиснете го за да изключите телетекста или
формат на екрана: 4:3 за обикновенен образ
входа за видео.
или 16:9 за имитация на панорамен екран.
qg Избор на звуков ефект:
q; Избор на канали:
Натиснете този бутон няколко пъти, за да
Натиснете го за избор на преден или следващ
промените звуковия ефект.
канал.
qh Избор на режим на образа:
qa Елиминиране на канали:
Натиснете го няколко пъти за смяна на
Натиснете го за премахване на звука.
режима на образа .
Натиснете го отново за възвръщане на звука.
qj Изобразяване на информация на екрана:
qs Настройване на силата на звука:
Натиснете го за изобразяване на всички
Натиснете го за настройване на силата звука.
индикации на екрана. Натиснете го отново за
премахване.
qd Активиране не системата от менюта:
Натиснете го за да видите менюто на екрана.
Натиснете го отново за премахване и връщане
на нормалния ТВ екран.
Освен телевизионните функции, всички цветни бутони се използват също така и за операциите
на телетекста. За повече информация вижте в главата «Телетекст», в това ръководство за
експлоатация.
Основно описание 5

BG Text.fm Page 6 Wednesday, May 12, 2004 12:31 PM
Основно описание на бутоните на телевизора
Бутон За избор на
предна/следваща
програма (избор на
TB предавания)
Бутони за контрол
на силата на
звука
Бутон за избор
Бутон За
на входен
3
връщане към
сигнал
Индикатор за режим
фабричната
на временно
настройка на
Букса за
3
изключване (standby)
телевизора
видео
вход
Отворете вратичката
Вход за
отстрани на
S video
телевизора за да
Вход за
разкриете контактите
o3
видео
Букса за
слушалки
Бутон за
включване/
изключване
Инсталиране на батериите в устройството за дистанционно
управление
Поставете приложените батерии с правилно разположени полюси.
Опазвайте околната среда и изхвърляйте използваните батерии в контейнерите за тази цел.
O
C
Y
N
O
S
P
R
N
IO
T
R
A
O
/4
N
P
A
A
J
SON
Y CORPORATION JAPAN/4
Свързване на антената и видеото
Кабелите за свързване не са приложени серийно.
видео
(SMARTLINK)
MANUFACTURED UNDER LICENCE
или
FROM DOLBY LABORATORIES
"DOLBY" AND THE DOUBLE - D
SYMBOL ARE TRADEMARKS OF
DOLBY LABORATORIES
(SMARTLINK)
(SMARTLINK)
СвързванеточрезЕвроконектораеопция
Кабелите за свързване не са приложени серийно.За повече детайли за
свързването на видеото вижте в главата «Свързване на допълнителни
апарати», в това ръководство за експлоатация.
6 Основноописание - Инсталиране

BG Text.fm Page 7 Tuesday, April 27, 2004 4:04 PM
Включване и автоматично настройване на телевизора
Когато включите за първи път телевизора, на екрана ще се появи последователност от менюта
чрез които ще можете да: 1) изберете езика на менютата, 2) изберете държавата в която
желаете да използвате апарата, 3) настроите наклона на картината, 4) тьрсите и запаметите
автоматично всички канали на разположение (TB предавания) и 5) смените реда на появяване
на каналите (TB предавания). Ако за в бъдеще желаете да измените някои от тези нагласи,
това може да се извърши избирайки съответната опция в (меню Инсталиране) или
натискайки бутона за фабрично програмираната настройка.
1
Включете кабела за захранването (220-240V AC, 50Hz).
Когато свържете телевизора за първи път в ел. мрежа, той се
включва автоматично. Ако не, натиснете бутона вкл./изкл.
на лицевия панел на телевизора, за да го включите.
Когато включите телевизора за първи път, на екрана
автоматично ще се появи менюто Language (Език).
2
Натиснете бутона v или V от дистанционното управление за
Language
да изберете езика и после натиснете бутона OK за да
i
v
Svenska
потвърдите избора. От този момент всички менюта ще се
Norsk
English
появяват на избрания език.
BG
Nederlands
Français
Italiano
i
V
Select Language:
OK
3
На екрана автоматично ще се появи менюто Държава.
Дъpжaвa
Натиснете бутона v или V за избор на Държавата, където
i
v
Sverige
желаете да използвате телевизора, след което натиснете
Norge
-
OK за потвърждаване на избора.
Italia
Deutschland
Österreich
i
V
• Ако в списъка не фигурира държавата в която ще
Избepи дъpжaвa:
OK
използвате телевизора изберете «-» на мястото на
държава.
• За да бъдат правилни знаците на Кирилица в
Телетекста ви препоръчваме да изберете Русия, в
случаите когато Вашата страна не фигурира в списъка.
4
Възможно е, в резултат на земния магнетизъм, образа да се
появи наклонен. Мнюто Въртене на карт. позволява
Aкo кapт. нe e xopизoнт.
настройването на образа, при необходимост.
Peгyл. въpт. нa кapт.
a) Ако не е необходимо, натиснете v или V за избор на Не е
He e нeoбxoдимo
Peгyлpaй ceгa
необходимо и натиснете OK.
OK
б
) Ако е необходимо, натиснете v или V за избор на
Регулрай сега и натиснете OK. В последствие настройте
наклона на картината нагласяйки между -5 и +5
натискайки v или V.
продължава...
Първоначално включване 7

BG Text.fm Page 8 Tuesday, April 27, 2004 4:04 PM
Включване и автоматично настройване на телевизора
5
Менюто Автоматично Захващане се появява на екрана.
Жeлaeтe ли дa cтapтиpaтe
Натиснете OK за да изберете Да.
aвтoмaтичнa нacтpoйкa?
Дa
He
OK
6
Телевизора започва автоматично да търси и запаметява
Aвтoм. Зaxвaщaнe
всички канали (TB предавания) на разположение.
Пpoгpaмa:
01
Cиcтемa:
B/G
Този процес може да продължи няколко минути. Бъдете
Kaнaл:
C21
търпеливи и не натискайте нито един бутон, докато
продължава процеса на настройване, в противнен
Tъpcи...
случай процеса няма да се завърши.
Ако телевизора не открие нито един канал
Џpoгpaмa нe e нaмepeнa
Пoля cвъpжeтe aнтeнa
(телевизионно предаване) след завършване на
Пoтвъpждeниe
автоматичната настройка, на екрана ще се появи
съобщение искайки да включите антената. Моля
включете я така както е описано на стр. 6 в това
OK
ръководство и натиснете OK. Процеса на автоматична
настройка започва отново.
7
След като телевизора се настрои и запамети всички
Пoдpeждaнe нa Пpoгpaми
канали (TB предавания), на екрана автоматично ще се
Пpoгpaмa:
01 TVE
появи менюто Подреждане на програми, за да можете
02 TVE2
03 TV3
да смените реда на появяване на програмите на екрана.
04 C33
05 C27
06 C58
a) Ако не желаете да смените реда на каналите,
Избepи кaнaл:
Изпизaнe:
MENU
OK
отидетевстъпка 8.
б
) Ако желаете да смените реда на каналите:
Пoдpeждaнe нa Пpoгpaми
1 Натиснете бутона v или V за да изберете номера на
Пpoгpaмa:
01 TVE
програма на съответния канал (TB предаване), чиято
02 TVE2
03 TV3
позиция желаете да смените и след това натиснете b.
04 C33
05 C27
2 Натиснете v или V за избор на новия номер на
06 C58 05 C27
програмата, на която желаете да запаметите избрания
Избop нa нoмep:
Изпизaнe:
MENU
OK
канал (TB предаване), след което натиснете B.
3 Повторете стъпките б)1 и б)2 ако желаете да
преподредите други TB канали.
8
Натиснете бутона MENU, за връщанекъмнормален TB режим.
MENU
Телевизора е готов за работа.
8 Първоначално включване

BG Text.fm Page 9 Tuesday, April 27, 2004 4:04 PM
Увод и боравене със системата от менюта
Този телевизор използва система от менюта на екрана за да Ви води при различните
операции. Използвайте следните бутони от дистанционното управление, за да се движите
през менютат:
1
Натиснете бутона MENU за поява на първото ниво от менюто
MENU
на екрана.
2
• За подчертаване на желаното меню или избор, натиснете v
или V
.
• За да влезете в избраното меню или избор, натиснете b.
• За връщане в предно меню или избор, натиснете B
.
• За промяна на настройката на желания избор натиснете v/
V/B или b.
• За одобряване и запаметяване на Вашият избор, натиснете
OK.
3
Натиснете бутона MENU, за връщане към нормален TB
MENU
режим.
BG
Водач на менютата
Ниво 1 Ниво 2 Ниво 3 / Функция
Hacтpoйкa нa Kapтинaтa
Hacтpoйкa нa звyкa
НАСТРОЙКА НА КАРТИНАТА
Peжим: Личeн
Peжим: Личeн
Koнтpacт
Koнтpacт
Менюто «Настройка на Картината» Ви
Яpкнocт
Яpкнocт
Цвeтнocт
Цвeтнocт
позволява да промените настройката на образа.
Ocтpoтa
Ocтpoтa
Toнaлнocт
Toнaлнocт
Hyлиpaнe
Hyлиpaнe
За целта:
OK
OK
Cлед като изберете опцията, която желаете да
промените, натиснете b. След което натиснете
няколко пъти v/V/B или b за промяна на
настройката и после натиснете OK за
запаметяване.
Това меню също Ви позволява да промените
режима на образа в зависимост от типа на
програмата която гледате:
v Личен (за индивидуални предпочитания).
v Наживо (за програми изльчвани на живо, DVD
и цифилми (зарово приемани програми).
v Филми (за филми).
• Яркост, Цветност, Острота могат да се се изменят само при избор на режим на образ «Личен».
• Тоналност е само на разположение за цветната система NTSC (напр. американски видео
касети).
• За да вьзвьрнете фабрично нагласената настройка на образа, изберете Нулиране и натиснете
OK.
продължава...
Система от менюта на екрана 9

BG Text.fm Page 10 Tuesday, April 27, 2004 4:04 PM
Увод и боравене със системата от менюта
Ниво 1 Ниво 2 Ниво 3 / Функция
НАСТРОЙКА НА ЗВУКА
Hacтpoйкa нa Kapтинaтa
Менюто «Настройка на звука» позволява
Peжим: Личeн
промяна на нагласата на звука.
Koнтpacт
Яpкнocт
Цвeтнocт
Ocтpoтa
За целта:
Toнaлнocт
Hyлиpaнe
Cлед избора на опцията, която желаете да
OK
измените, натиснете b. В последствие натиснете
няколко пъти v/V/B или b за промени и накрая
натиснете OK за запаметяване.
Hacтpoйкa нa звyкa
Hacтpoйкa нa звyкa
Eфeкт: Ecтecтвeн
Eфeкт: Ecтecтвeн
Bиcoки
Bиcoки
Hиcки
Hиcки
Бaлaнc
Бaлaнc
Hyлиpaнe
Hyлиpaнe
Cтepeoeфeкт: Moнo
Cтepeoeфeкт: Moнo
Aвт. нивo звyк: Bkл
Aвт. нивo звyк: Bkл
OK OK
Ефект bvЕстествен: подобрява чистотата и подчертава на звука чрез системата
«BBE High Definition Sound system»*.
v динамичен: «BBE High Definition Sound system»* изчиства максимално
звука, придава усещана за реалност на гласа и на музиката.
v Dolby**Virtual: Симулра звуков ефект «Dolby Surround Pro Logic».
v Изкл: без специални акустични ефекти.
Високи bBНамаляване b Повишаване
Ниски bBНамаляване b Повишаване
Баланс bBНаляво b Надясно
Нулиране Възстановява фабрично настроените нива на звука.
K
Cтерео-ефектb • За стерео предавания:
v Моно.
v Стерео.
• За предаване на два езика:
v Моно (За каналът моно ако е на разположение).
v A (за канал 1).
v B (за канал 2).
Авт. ниво звукbvИзкл: Силата на звука варира в зависимост от излъчения сигнал.
v On: Силата на звука се запазва независимо от излъчения сигнал (напр.
реклами).
• Когато слушате Телевизора със слушалки, опцията «Ефект» ще премине автоматично в позиция
«Изкл.».
• Ако настроите «Ефект» в «Dolby Virtual», опцията «Авт. ниво звук» ще се промени автоматично в
позиция «Изки» и обратно.
* «BBE High Definition Sound system» е произведена от Sony Corporation по лиценз на BBE
Sound, INC.и под закрила на USA N: 4,638,258 и 4,482,866. Думата «BBE» и символа «BBE»
са търговски марки на BBE Sound, Inc.
**Този телевизор е Разработен да предава ефекта «Dolby Surround», който само чрез двата
говорителя на телевизора симулира звук като от четири говорителя, винаги когато
излъчения сигнал от предавателната станния е «Dolby Surround». Също можете да
подобрите ефекта на звука включвайки допълнителен усилвател. За повече детайли вижте
в глава «Включване на външен аудио екип» на стр. 19.
**Произведено с позволение на Dolby Laboratories. «Dolby», «Pro Logic» и символа на двойното
D са търговски марки на Dolby Laboratories.
продължава...
10 Система от менюта на екрана

BG Text.fm Page 11 Tuesday, April 27, 2004 4:04 PM
Увод и боравене със системата от менюта
Ниво 1 Ниво 2 Ниво 3 / Функция
АВТОМАТИЧНО ИЗКЛЮЧВАНЕ
Опцията «Автом. изключв» в менюто
Hacтpoйкa нa Kapтинaтa
Peжим: Личeн
«Часовник» Ви позволява да изберете период от
Koнтpacт
Яpкнocт
време след който телевизора автоматично да
Цвeтнocт
Ocтpoтa
влезе в режим на временно изключване
Toнaлнocт
Hyлиpaнe
(standby).
OK
За целта:
Cлед като изберете тази опция, натиснете b.
След това натиснете v или V за да изберете
Чacoвник
Чacoвник
интервала от време (максимум 4 часа).
Aвтoм. Изключв:
Изкл
Aвтoм. Изключв:
Изкл
• Ако желаете, докато гледате TB, да видите
времето което остава до изключването,
натиснете бутона .
OK
OK
• Една минута преди телевизора да влезе в
режим на временно изключване, времето
което остава ще се появи наекрана.
ЕЗИК / ДЪРЖАВА
Hacтpoйкa нa Kapтинaтa
Опцията «Език / държава» в менюто
Peжим: Личeн
Koнтpacт
«Инсталиране», Ви позволява да изберете езика
Яpкнocт
Цвeтнocт
на който желаете да се появят менютата на
Ocтpoтa
BG
Toнaлнocт
екрана. Също Ви позволява да изберете
Hyлиpaнe
държавата където желаете да използвате
OK
телевизора.
За целта:
Инcтaлиpaнe
Инcтaлиpaнe
Eзик/Дъpжaвa
Eзик/Дъpжaвa
Cлед като изберете тази опция, натиснете b,
Aвтoм. Зaxвaщaнe
Aвтoм. Зaxвaщaнe
Пoдpeждaнe нa Пpoгpaми
Пoдpeждaнe нa Пpoгpaми
след което постъпете така както се оказва в
HaДпиcвaнe нa пpoгpaми
HaДпиcвaнe нa пpoгpaми
Зaпaмeтeни AV нacтpoйки
главата «Включване и автоматично настройване
Зaпaмeтeни AV нacтpoйки
Пpoгpaмa Pъчeн Избop
Пpoгpaмa Pъчeн Избop
Пoдpoбнa нaчaлнa нacтp
на телевизора» стъпки 2 и 3 на стр. 7.
Пoдpoбнa нaчaлнa нacтp
OK
OK
АВТОМАТИЧНО ЗАХВАЩАНЕ
Hacтpoйкa нa Kapтинaтa
Опцията «Автом. Захващане» в менюто
Peжим: Личeн
«Инсталиране» позволява на телевизора да
Koнтpacт
Яpкнocт
търси и запамети всички канали (TB
Цвeтнocт
Ocтpoтa
предавания) на разположение.
Toнaлнocт
Hyлиpaнe
OK
За целта:
Cлед като изберете тази опция, натиснете b,
след което постъпете така както се оказва в
Инcтaлиpaнe
Инcтaлиpaнe
главата «Включване и автоматично настройване
Eзик/Дъpжaвa
Eзик/Дъpжaвa
Aвтoм. Зaxвaщaнe
на телевизора» стъпки 5 и 6 на стр. 8.
Aвтoм. Зaxвaщaнe
Пoдpeждaнe нa Пpoгpaми
Пoдpeждaнe нa Пpoгpaми
HaДпиcвaнe нa пpoгpaми
HaДпиcвaнe нa пpoгpaми
Зaпaмeтeни AV нacтpoйки
Зaпaмeтeни AV нacтpoйки
Пpoгpaмa Pъчeн Избop
Пpoгpaмa Pъчeн Избop
Пoдpoбнa нaчaлнa нacтp
Пoдpoбнa нaчaлнa нacтp
OK
OK
продължава...
Система от менюта на екрана 11

BG Text.fm Page 12 Tuesday, April 27, 2004 4:04 PM
Увод и боравене със системата от менюта
Ниво 1 Ниво 2 Ниво 3 / Функция
ПОДРЕЖДАНЕ НА ПРОГРАМИ
Hacтpoйкa нa Kapтинaтa
Опцията «Подреждане на Програми» в менюто
Peжим: Личeн
«Инсталиране», Ви позволява да смените реда
Koнтpacт
Яpкнocт
на появяване на каналите (TB предавания) на
Цвeтнocт
Ocтpoтa
екрана.
Toнaлнocт
Hyлиpaнe
OK
За целта:
Cлед като изберете тази опция, натиснете b,
след което постъпете така както се оказва в
Инcтaлиpaнe
Инcтaлиpaнe
главата «Включване и автоматично настройване
Eзик/Дъpжaвa
Eзик/Дъpжaвa
на телевизора» стъпки 7б) на стр. 8.
Aвтoм. Зaxвaщaнe
Aвтoм. Зaxвaщaнe
Пoдpeждaнe нa Пpoгpaми
Пoдpeждaнe нa Пpoгpaми
HaДпиcвaнe нa пpoгpaми
HaДпиcвaнe нa пpoгpaми
Зaпaмeтeни AV нacтpoйки
Зaпaмeтeни AV нacтpoйки
Пpoгpaмa Pъчeн Избop
Пpoгpaмa Pъчeн Избop
Пoдpoбнa нaчaлнa нacтp
Пoдpoбнa нaчaлнa нacтp
OK
OK
НАДПИСВАНЕ НА ПРОГРАМИ
Hacтpoйкa нa Kapтинaтa
Опцията «Надписване на програми» в менюто
Peжим: Личeн
«Инсталиране» позволява даване на име, от
Koнтpacт
Яpкнocт
максимум 5 знака, на един канал.
Цвeтнocт
Ocтpoтa
Toнaлнocт
Hyлиpaнe
За целта:
1 След избора на опцията натиснете b, след
OK
това натиснете v или V за избор на номера на
програмата, която желаете да обозначите.
2 Натиснете b. С подчертан първи елемент от
Инcтaлиpaнe
Инcтaлиpaнe
Eзик/Дъpжaвa
колоната Име натиснете v или V за избор на
Eзик/Дъpжaвa
Aвтoм. Зaxвaщaнe
Aвтoм. Зaxвaщaнe
буква, номер или “-“ за празно пространство
Пoдpeждaнe нa Пpoгpaми
Пoдpeждaнe нa Пpoгpaми
HaДпиcвaнe нa пpoгpaми
HaДпиcвaнe нa пpoгpaми
след което натиснете b за потвърждение на
Зaпaмeтeни AV нacтpoйки
Зaпaмeтeни AV нacтpoйки
Пpoгpaмa Pъчeн Избop
Пpoгpaмa Pъчeн Избop
съответния знак. Изберете оставащите 4
Пoдpoбнa нaчaлнa нacтp
Пoдpoбнa нaчaлнa нacтp
знака по същия начин. Натиснете OK за
OK
OK
паметяване.
ЗАПАМЕТЕНИ AV НАСТРОЙКИ
Опцията «Запаметени AV настройки» от менюто
Hacтpoйкa нa Kapтинaтa
Peжим: Личeн
«Инсталиране» позволява даване на име на
Koнтpacт
Яpкнocт
апарат свързан към телевизора.
Цвeтнocт
Ocтpoтa
Toнaлнocт
Hyлиpaнe
За целта:
OK
1 След избора на опцията натиснете b и след
това натиснете v или V за да изберете входа
който желаете да наименувате (AV1, и AV2
за допълните лни апарати свързани към
Инcтaлиpaнe
Инcтaлиpaнe
Eзик/Дъpжaвa
Eзик/Дъpжaвa
Евроконекторите от задната страна на
Aвтoм. Зaxвaщaнe
Aвтoм. Зaxвaщaнe
Пoдpeждaнe нa Пpoгpaми
Пoдpeждaнe нa Пpoгpaми
телевизора и AV3 за предните съединители).
HaДпиcвaнe нa пpoгpaми
HaДпиcвaнe нa пpoгpaми
В последствие натиснете b.
Зaпaмeтeни AV нacтpoйки
Зaпaмeтeни AV нacтpoйки
Пpoгpaмa Pъчeн Избop
Пpoгpaмa Pъчeн Избop
2 В колоната «Име» автоматично ще се появи
Пoдpoбнa нaчaлнa нacтp
Пoдpoбнa нaчaлнa нacтp
едно програмирано обозначение:
OK
OK
a) Ако желаете да използвате едно от
шестте програмирани обозначения
(CABLE, GAME, CAM, DVD, VIDEO или
SAT) натиснете v или V за избор и накрая
натиснете OK за запаметяване.
б) Ако желаете да създадете собствено
обозначение изберете Редак и натиснете
b. В последствие, с подчертан първи
елемент натиснете v или V за избор на
буква, цифра или «-» за празно
пространство и натиснете b за
удобряване. Изберете оставащите 4 знака
по същия начин и накрая натиснете OK за
запаметяване.
продължава...
12 Система от менюта на екрана

BG Text.fm Page 13 Tuesday, April 27, 2004 4:04 PM
Увод и боравене със системата от менюта
Ниво 1 Ниво 2 Ниво 3 / Функция
ПРОГРАМА РЪЧЕН ИЗБОР
Hacтpoйкa нa Kapтинaтa
Опцията «Програма ръчен избор», в менюто
Peжим: Личeн
«Инсталиране», Ви позволява:
Koнтpacт
Яpкнocт
Цвeтнocт
Ocтpoтa
a) Да настроите един по един, и в желания
Toнaлнocт
Hyлиpaнe
програмен ред, каналите (ТВ предавания) или
OK
един видео вход.
За целта:
Инcтaлиpaнe
Инcтaлиpaнe
1 След като изберете опцията «Програма
Eзик/Дъpжaвa
Eзик/Дъpжaвa
Aвтoм. Зaxвaщaнe
Ръчен Избор», натиснете b. При опцията
Aвтoм. Зaxвaщaнe
Пoдpeждaнe нa Пpoгpaми
Пoдpeждaнe нa Пpoгpaми
Програма подчертана, натиснете b и след
HaДпиcвaнe нa пpoгpaми
HaДпиcвaнe нa пpoгpaми
Зaпaмeтeни AV нacтpoйки
Зaпaмeтeни AV нacтpoйки
това натиснете v или V за да изберете номера
Пpoгpaмa Pъчeн Избop
Пpoгpaмa Pъчeн Избop
Пoдpoбнa нaчaлнa нacтp
Пoдpoбнa нaчaлнa нacтp
на програмата (позицията) на която искате да
OK
OK
настроите едно ТВ предаване или видео
канала (за видео канала Ви препоръчваме да
изберете програмен номер «0»). Натиснете B.
2 Следващата опция ще се появи в
зависимост от избраната държава в
менюто «Език/Държава».
След избора на опцията Система натиснете b
BG
В последствие натиснете v или V за избор на
системата телевизия (B/G за западна Европа
или D/K за източна Европа). Натиснете B.
3 След като изберете опцията Канал,
натиснете b, и след това натиснете v или V за
да изберете типа на канала («C» за земни
канали или «S» за кабелни канали).
Натиснете b. След което натиснете
цифровите бутони за да вкарате директно
номера на канала на ТВ предаването или на
канала за видео сигнала. Ако не знаете
номера на канала, натиснете v или V за да го
потърсите. Когато намерите канала който
желаете да запаметите, натиснете два пъти
OK.
Повторете всички тези стъпки за да
настроите и запаметите повече канали.
б
) Наименуване на един канал, с максимум от
пет знака.
За целта:
Подчертавайки опцията Програма, натиснете
PROG + или - докато се появи програмния
номер, който желаете да наименувате.
Когато този номер се появи на екрана
изберете опцията Име, след което натиснете
b. Натиснете v или V за да изберете една
букеа, номер или «-» за празне пространство
и натиснете b за утвърждаване на този знак.
Изберете другите четири знака по същия
начин. След избора на всички знаци
натиснете два пъти OK за запаметяване.
продължава...
Система от менюта на екрана 13

BG Text.fm Page 14 Wednesday, May 12, 2004 12:32 PM
Увод и боравене със системата от менюта
Ниво 1 Ниво 2 Ниво 3 / Функция
в
) Даже когато фината автоматична настройка
Hacтpoйкa нa Kapтинaтa
(Ф. Наст.) е винаги активирана, за по-добро
Peжим: Личeн
Koнтpacт
приемане на образа, в случай че се пови
Яpкнocт
Цвeтнocт
изкривен, тя може да бъде настроена ръчно.
Ocтpoтa
Toнaлнocт
Hyлиpaнe
За целта:
OK
Докато гледате канала (ТВ предаване), на
който желаете да извършите фината
настройка, изберете опцията Ф. Наст. и сиед
Инcтaлиpaнe
Инcтaлиpaнe
Eзик/Дъpжaвa
това натиснете b. Натиснете v или V за да
Eзик/Дъpжaвa
Aвтoм. Зaxвaщaнe
Aвтoм. Зaxвaщaнe
нагласите нивото на честотата на канала
Пoдpeждaнe нa Пpoгpaми
Пoдpeждaнe нa Пpoгpaми
HaДпиcвaнe нa пpoгpaми
HaДпиcвaнe нa пpoгpaми
между -15 и +15. Накрая натиснете два пъти
Зaпaмeтeни AV нacтpoйки
Зaпaмeтeни AV нacтpoйки
Пpoгpaмa Pъчeн Избop
Пpoгpaмa Pъчeн Избop
OK за запаметяване.
Пoдpoбнa нaчaлнa нacтp
Пoдpoбнa нaчaлнa нacтp
OK
OK
г) Пропускане на нежелани номера на
програми, при избор о бутоните PROG +/-.
За целта:
Подчертавайки опцията Програма,
натиснете PROG + или - докато се появи
номера на програмата, която желаете да
пропуснете. Когато този номер се появи на
екрана, изоерете опцията Пропусни и после
натиснете b. Натиснете v или V за да
изберете Да и накрая натиснете два пъти OK
за запаметяване.
Ако по-нататък желаете да премахнете тази
функция, изберете «Не» вместо «Да».
e) Тази опция позволява да видите и запишете
правипно един кодиран канал, при
използване на декодер включен към
Евроконектора 2/ 2 или използвайки
видео свързано към този Евроконектор.
Следващата опция ще се появи в
зависимост от избраната държава в
менюто «Език/Държава».
За целта:
Изберете опцията Декодер и натиснете b. В
последствие натиснете v или V за да
изберете Вкл. Натиспете OK два пъти за
запаметяване.
Ако в бъдеще желаете да премахнете тази
функция, изберете отново «Изки» вместо
«Вкл».
продължава...
14 Система от менюта на екрана

BG Text.fm Page 15 Wednesday, May 12, 2004 12:32 PM
Увод и боравене със системата от менюта
Ниво 1 Ниво 2 Ниво 3 / Функция
ПОТИСКАНЕ НА ШУМА
Hacтpoйкa нa Kapтинaтa
Опцията «Потискане на шума» в менюто
Peжим: Личeн
Koнтpacт
«Подробна начална настр» позволява
Яpкнocт
Цвeтнocт
автоматичното потискане на шума на образа в
Ocтpoтa
Toнaлнocт
случай на слаби TB сигнали.
Hyлиpaнe
OK
За целта:
След като изберете тази опция, натиснете b.
След което натиснете v или V , за да изберете
Инcтaлиpaнe
ПoДpoбнa нaчaлнa нacтp
Auto и накрая натиснете OK, за запаметяване.
Eзик/Дъpжaвa
Пoтиcкaнe нa Шyмa:
Auto
Aвтoм. Зaxвaщaнe
AV2 изxoД:
TV
Пoдpeждaнe нa Пpoгpaми
Teлeв. гoвopитeл:
Bkл
RGB Цeнтъp:
0
HaДпиcвaнe нa пpoгpaми
Bъpтeнe нa Kapт.:
0
Ако по-нататък желаете да премахнете тази
Зaпaмeтeни AV нacтpoйки
Пpoгpaмa Pъчeн Избop
функция, изберете «Изкл.» вместо «Auto».
Пoдpoбнa нaчaлнa нacтp
OK
OK
AV2 ИЗХОД
Опцията «AV2 изход» в менюто «Подробна
Hacтpoйкa нa Kapтинaтa
Peжим: Личeн
начална настр» позволява избор на изхода на
Koнтpacт
Яpкнocт
Евроконетора 2/ 2 и дава възможност за
Цвeтнocт
Ocтpoтa
запис чрез този Евроконетор на който и да е
Toнaлнocт
Hyлиpaнe
сигнал идващ от телевизора или от друг външен
апарат свързан към Евроконектора 1/ 1
OK
BG
или от съединителите 3 или 3 и 3.
S
Ако видеото Ви разполага със Smartlink,
Инcтaлиpaнe
ПoДpoбнa нaчaлнa нacтp
този процес не е необходим.
Eзик/Дъpжaвa
Пoтиcкaнe нa Шyмa:
Auto
Aвтoм. Зaxвaщaнe
AV2 изxoД:
TV
Пoдpeждaнe нa Пpoгpaми
Teлeв. гoвopитeл:
Bkл
RGB Цeнтъp:
0
HaДпиcвaнe нa пpoгpaми
Bъpтeнe нa Kapт.:
0
За целта:
Зaпaмeтeни AV нacтpoйки
Пpoгpaмa Pъчeн Избop
Cлед избора на опцията натиснете b. След това
Пoдpoбнa нaчaлнa нacтp
OK
натиснете v или V за избор на желания изходен
OK
сигнал TV, AV1, AV3, YC3 или AUTO.
При избор на «AUTO» изходния сигнал винаги ще бъде еднакъв с този който е на екрана на
телевизора.
Ако сте свързали декодера към Евроконектора 2/ 2 или към видеото свързано към този
Евроконектор, трябва да изберете «AUTO» или «TV» при «AV3 изход» за правилно
декодиране.
ВИСОКОГОВОРИТЕЛИ
Опцията «Телев.говорител» в менюто
Hacтpoйкa нa Kapтинaтa
Peжим: Личeн
«Подробна начална настр», ви позволява да
Koнтpacт
Яpкнocт
спрете звука през високоговорителите на
Цвeтнocт
Ocтpoтa
телевизора, за да го слушате само през вънщен
Toнaлнocт
Hyлиpaнe
усилвател, включен към аудио-изходите
намиращи се на задния панел на телевизораt.
OK
За целта:
Cлед като изберете тази опция, натиснете b.
Инcтaлиpaнe
ПoДpoбнa нaчaлнa нacтp
Eзик/Дъpжaвa
Пoтиcкaнe нa Шyмa:
Auto
След което натиснете v или V за да изберете
Aвтoм. Зaxвaщaнe
AV2 изxoД:
TV
Изкл и накрая натиснете OK за запаметяване.
Пoдpeждaнe нa Пpoгpaми
Teлeв. гoвopитeл:
Bkл
RGB Цeнтъp:
0
HaДпиcвaнe нa пpoгpaми
Bъpтeнe нa Kapт.:
0
Зaпaмeтeни AV нacтpoйки
Пpoгpaмa Pъчeн Избop
Ако по-нататък желаете да премахнете тази
Пoдpoбнa нaчaлнa нacтp
OK
функция, изберете «Вкл.» вместо «Иакл».
OK
продължава...
Система от менюта на екрана 15

BG Text.fm Page 16 Tuesday, April 27, 2004 4:04 PM
Увод и боравене със системата от менюта
Ниво 1 Ниво 2 Ниво 3 / Функция
RGB ЦЕНТЪР
При включване на източник на сигнали RGB, напр.
Hacтpoйкa нa Kapтинaтa
«PlayStation», може да е необходимо хоризонтално
Peжим: Личeн
Koнтpacт
центриране на образа. Настройването се извършва
Яpкнocт
Цвeтнocт
избирайки опцията «RGB център» в менюто
Ocтpoтa
Toнaлнocт
«Подробна начална настр»
.
Hyлиpaнe
OK
За целта:
Докато гледате входния сигнал на RGB,
изберете опцията «RGB център» и натиснете b.
Инcтaлиpaнe
ПoДpoбнa нaчaлнa нacтp
След което натиснете v или V за да настроите
Eзик/Дъpжaвa
Пoтиcкaнe нa Шyмa:
Auto
Aвтoм. Зaxвaщaнe
AV2 изxoД:
TV
центъра на образа между -10 и +10. Накрая
Пoдpeждaнe нa Пpoгpaми
Teлeв. гoвopитeл:
Bkл
RGB Цeнтъp:
0
HaДпиcвaнe нa пpoгpaми
Bъpтeнe нa Kapт.:
0
натиснете OK за запаметяване.
Зaпaмeтeни AV нacтpoйки
Пpoгpaмa Pъчeн Избop
Пoдpoбнa нaчaлнa нacтp
OK
OK
ВЪРТЕНЕ НА КАРТИНАТА
Възможно е, вследствие на земния магнетизъм,
Hacтpoйкa нa Kapтинaтa
образа да се появи наклонен. В този случай
Peжим: Личeн
Koнтpacт
настройването се извършва избирайки
Яpкнocт
Цвeтнocт
«Въртене на Карт.» в менюто «Подробна
Ocтpoтa
Toнaлнocт
начална настр».
Hyлиpaнe
OK
За целта:
Cлед като изберете тази опция, натиснете b.
След което натиснете v или V за да настроите
Инcтaлиpaнe
ПoДpoбнa нaчaлнa нacтp
Пoтиcкaнe нa Шyмa:
Auto
наклона на образа между -5 Л +5. Накрая
Eзик/Дъpжaвa
Aвтoм. Зaxвaщaнe
AV2 изxoД:
TV
Teлeв. гoвopитeл:
Bkл
натиснете OK за запаметяване.
Пoдpeждaнe нa Пpoгpaми
RGB Цeнтъp:
0
HaДпиcвaнe нa пpoгpaми
Bъpтeнe нa Kapт.:
0
Зaпaмeтeни AV нacтpoйки
Пpoгpaмa Pъчeн Избop
Пoдpoбнa нaчaлнa нacтp
OK
OK
16 Система от менюта на екрана

BG Text.fm Page 17 Tuesday, April 27, 2004 4:04 PM
Телетекст
Телетекстът е информационна емисия, излъчвана от повечето ТВ предавания. В страницата на
съдържанието на телетекста (нормално страница 100) се дава информация за използването на
тази емисия. За боравене с телетекста използвайте бутоните на дистанционното управление,
така както е оказано в тази страница.
Използвайте ТВ предаване със силен сигнал, в противнен случай могат да се появят грешки в
телетекста.
Избиране на Телетекст:
TELETEXT
TELETEXT
TELETEXT
TELETEXT
TELETEXT
TELETEXT
TELETEXT
TELETEXT
След избора на канала (ТВ предаване), излъчващ желаната мисия
Index
Index
Index
Index
Index
Index
Index
Index
на телетекст, натиснете .
Programme
Programme
Programme
Programme
Programme
Programme
Programme
Programme
25
25
25
25
25
25
25
25
News
News
News
News
News
News
News
News
153
153
153
153
153
153
153
153
Sport
Sport
Sport
Sport
Sport
Sport
Sport
Sport
101
101
101
101
101
101
101
101
Избор на страница от Телетекста:
Weather
Weather
Weather
Weather
Weather
Weather
Weather
Weather
98
98
98
98
98
98
98
98
Задайте трите цифри на номера на желаната от Вас страницата
чрез цифровите бутони на дистанционното управление.
• Ако сгрешите, вкарайте които и да три цифри, олед което вкарайте
отново номера на вярната страница.
• Ако броячът на страницата не спре, това е защото желаната страница
не е на разположение. Б този случай изберете друга страница.
Избор на предишна или следваща страница:
Натиснете PROG + ( ) или PROG - ( ).
Наслагване на Телетекст с TB образ:
Докато гледате телетекста, натиснете . Натиснете го отново за да излезете от режима на
BG
телетекст.
Задържане на една страница:
Натиснете / . Натиснете го отново за премахване на задържането.
Изобразяване на скрита информация (напр. отговори на TB загадки):
Натиснете / . Натиснете го отново за скриване на информацията.
Избор на подстраница:
Възможно е една страница от телетекста да бъде съставена от няколко подстраници. Б този случай
номерът на страницата, който се появява горе вляво, ще се промени от бяло в зелено и до него ще се
появят една или повече стрелки. Натиснете няколко пъти бутоните B или b от устройството за
дистанционно управление, за да видите желаната подстраниц.
Излизане от Телетекст:
Натиснете .
Fastext (Фастекст)
Фастекстът позволява достъп до страниците на телетекста, чрез натискането само на един
бутоп.
Когато сте избрали Телетекст, и в случаи на излъуване на сигнали на фастекст, на долната
страна на екрана ще се появи едно меню от цветни кодове, позволяващо Ви директен достъп
до една страница. За целта натиснете съотвтния цветен бутон (червен, зелен, жълт или син) от
дистанционното управление.
Телетекст 17

BG Text.fm Page 18 Wednesday, May 12, 2004 12:33 PM
Свързване на допълнителни апарати
Възможно е свързването на широка гама от допълнителни апарати към телевизора, така както
e показвано по-долу. (кабелите за свързване не се прилагат серийно).
MANUFACTURED UNDER LICENCE
FROM DOLBY LABORATORIES
"DOLBY" AND THE DOUBLE - D
SYMBOL ARE TRADEMARKS OF
DOLBY LABORATORIES
(SMARTLINK)
8mm/Hi8/
DVC
камера
S VHS/Hi8/
DVC
камера
A
3
B
3
F
C
(SMARTLINK)
o3
ED
Видео
Когато включите слушалките,
Hi-Fi
говорителите на телевизора ще
“PlayStation”
*
се изключат автоматично
.
Декодер
DVD
*
“PlayStation” е продукт на Sony
Computer Entertainment, Inc
.
* “PlayStation” регистрирана марка на
Sony Computer Entertainment, Inc
• За да се избягнат изкривявания на образа не включвайте наведнъж апарати към A и B.
• не включвайте никакъв Декодер в Евро-конектора E
Свързване на видео:
За свързване на видео вижте в главата «Свързване на антената и видеото».
Препоръчва се свързването на видеото да се извърши чрез терминала Евроконектор.
Ако не използвате този терминал, е необходимо да настроите ръчно канала за видео сигнала чрез
менюто «Програма Ръчен Избор» (за това се консултирайте с точка а) на стр. 13). Консултирайте се
също така с ръководството за експлоатация на Вашето видео, за да видите как се намира канала за
видео сигнала.
Свързване на видео притежаващо функцията Smartlink:
Smartlink е свръзка между телевизор и видео екип, позволяваща директното преминаване на
определена информация. Ако Ви е нужна повече информация за Smartlink, вижте в инсрукциите
за експлоатация на Вашия видео екип. При използване на видео притежаващо Smartlink
използвайте Евроконекторен кабел и го включете към Евроконекторa 2/ 2 F.
Ако декодера е включен към евроконектора 2/ 2 F или към видео свързано към
този евроконектор:
Изберете опцията «Програма Ръчен Избор», в менюто «Инсталиране», и след като изберете опцията
«Декодер»** изберете «Вкл» (използвайки v или V) за всеки кодиран канал.
** Тази опция е на разположение, в зависимост от държавата която сте избрали в менюто «Език/
Държава».
продължава...
18 Допълнителна информация

BG Text.fm Page 19 Wednesday, May 12, 2004 12:33 PM
Свързване на допълнителни апарати
Свързване на допълнителен аудио екип:
Ако желаете да се насладите на звука от телевизора през говорителите на Вашия музикален екип,
свържете екипа към аудио изхода D и, чрез системата от менюта, изберете «Инсталиране». В
последствие влезте в опцията «Подробна начална настр.» и изберете «Изкл» в «Телев. говорител».
Силата на звука на допълнителните говорители може да се измени чрез бутоните за усилване
от пулта за дистанционно управление на телевизора. Също е възможна промяна на нивото на
ниските и високите честоти чрез менюто «Настройка на звука».
Също можете да се насладите на звуковия ефект «Dolby Virtual» чрез вашия
музикален екип:
Говорители на
За целта поставете говорителите на вашия музикален екип
вашия НI-FI екип
от двате страни на телевизора отдалечавайки ги от него
на около 50 см. След като поставите говорителите, чрез
системата от менюта изберете менюто «Настройка на звука»
и след това изберете «Dolby Virtual» от опцията «Ефект».
50cm 50cm
Оптимална позиция за Вас
BG
Боравене с допълнителни апарати
1
Свържете допълнителния апарат към съотве тния вход на телевизора, така както е показано
по- горе.
2
Включете свързания апарат.
3
За визуализиране на образа на този допълнителен апарат, натиснете няколко пъти бутона ,
докато на екрана се появи съответния входен символ.
Cимвол
Входен сигнал
1
• Аудио/Видео входен сигнал чрез Евроконектора E.
1
• RGB входен сигал чрез Евроконектора E. Този символ ще се появи само ако е
свързан източник на RGB.
2
• Аудио/Видео входен сигнал чрез Евроконектора F.
2
• RGB входен сигал чрез Евроконектора F. Този символ ще се появи само ако е
свързан източник на RGB.
3
• Входен Видео сигнал чрез буксата RCA B, и входен Аудио сигнал чрез C.
S
3
• Вход S video чрез буксата зa S video A и вход аудио чрез C. Този символ ще се
появи само ако е свързан източник на S Video.
4
За връщане на нормалния TB образ натиснете бутона от дистанционното управление.
За моно оборудване
Включете моно апаратурата към L/G/S/I куплунга на предния панел на телевизора и изберете
входен сигнал 3 или 3, като използвате по-горните инструкции. Консултирайте се със
S
секцията «Настройка на звука» в това упътване и изберете «Стерео-ефект» «А» в менюто за звук
а.
Допълнителна информация 19

BG Text.fm Page 20 Wednesday, May 12, 2004 12:37 PM
Характеристики
Система телевизия B зависимост от избора на държава: B/G/H, D/K
Цветна система PAL, SECAM, NTSC 3.58, 4.43 (само видео вход)
Обхват на каналите VHF: E2-E12
UHF: E21-E69
CATV: S1-S20
HYPER: S21-S41
D/K: R1-R12, R21-R69
Кинескои Плосък екран FD Trinitron
29 инча (Приблизителю 73cm Диагонал на изображението)
Задни терминали 1/ 1 Евроконектор с 21 крачета (норма CENELEC) включващ
Аудио/Видео вход, вход RGB, TB аудио / видео изходt
2/ 2 Евроконектор с 21 крачета (норма CENELEC) включващ
(SMARTLINK) вход за аудио/видео, вход за RGB, изход за аудио/видео
по избор и Smartlink
Изходи аудио (ляво/дясно) - букси RCA
Предни клеми 3 Вход S video - DIN 4 крачета
S
3 Видео вход - букса RCA
3 Вход аудио - букси RCA
i Жак за слушалки
ИзхоД за звук 2 x 20W (музикална мощност), 2 x 10W (RMS)
Енергийно
113W
потребление
Енергийно
0.3W
потребление в
режим на временно
изключване
(standby)
Размери
807mm x 603mm x 543mm
(Шир. x Вис. x Дълб.)
Тегло Прибл. 45kg
Серийно приложено
1 устройство за дистанционно управление (RM-947) 2 батерии, норма IEC
оборудване
Други
• Картина на 100 Hz
характеристики
• Телетекст, Фастекст, TOPtext (250 страници памет Телетекст)
• Автоматично изключване
• Смартлинк (директна комуникация между телевизора и видеото. Ако
Ви е необходима повече информация за функцията Смартлинк се
консултирайте в инструкциите за експлоатация на Вашето видео)
• Автоматично детектиране на Системата на телевизия
• Dolby Virtual
• BBE
Дизайньт и характеристиките подлежат на промени без предварително съобщение.
20 Допълнителна информация

BG Text.fm Page 21 Wednesday, May 12, 2004 12:33 PM
Отстраняване на неизправности
По-долу са изброени някои прости разрешения при проблеми свързани с образа и звука.
Проблем Разрешение
Липса на образ (екрана е тъмен) и звук. • Проверете свързването на антената.
• Включете телевизора и натиснете бутона от
лицевата страна на апарата.
• Ако индикатора на телевизора свети, натиснете
бутона TV от дистанционното управление.
Образът е блед или несъществуващ нс
• Чрез системата от менюта влезте в менюто
качеството на звука е добро.
«Настройка на Картината» и изберете «Нулиране»
за възстановяване на фабричната настройка.
Липса на образ или на информационното
• Проверете дали сте включили допълнителния
меню от допълнителния апарат свързан към
апарат и натиснете няколко пъти бутона от
TB чрез Евроконектора.
дистанционното управление, докато желания
входен символ се появи на екрана.
Добро качество на образа, но няма звук. • Натиснете бутона от дистанционното
управление.
• Проверете дали опцията «Телев говорител» от
менюто «Подробна начална настр.» е избрана в
позиция «Вкл».
• Осигурете се, че слушалките са изключени.
Цветните предавания са без цвят. • Чрез системата от менюта влезте в менюто
«Настройка на Картината» и изберете «Нулиране»
BG
за възстановяване на фабричната настройка.
Образът е изкривен при смяна на програмите
• Изключете екипа свързан към телевизора чрез
или при избор на телетекст.
Евроконектора с 21 крачета.
Грешни знаци фигурират когато се гледа
• Когато използате системата Меню, влезте в режим
телетекста.
“Език/Държава” изберете страната в която ще
използвате телевизора. За езици на Кирилица Ви
препоръчваме да изберете Русия в случаите когато
вашата държава не се появява в списъка.
Образът е наклонен. • Чрез системата от менюта изберете опцията
«Въртене на карт.», в менюто «Подробна начална
настр.», и регулирайте наклона.
Образ с шум. • Чрез системата от менюта изберете опцията «Ф
Настр.»‚ в менюто «Програма Ръчен Избор», и
извършете ръчното настройване за по-добро
приемане на образа.
•
Чрез системата на менютата изберете опцията
«Потискане на Шума»‚
в менюто «Подробна начална
настр.», и изберете «Аuto» за
намаляване на шума на
образа
.
Образа не е декодиран правилно въпреки че
• Чрез системата от менюта влезте в менюто
декодера е включен към Евоконектора 2/
«Инсталиране». В последсвие влезте в опцията
2.
«Подробна начална настр.» и изберете AV2 изхоД 2
в «TV».
• Уверете се, че Декодерът не е включен в Евро-
конектора 1/ 1.
Дистанционното управление не работи. • Сменете батериите.
Индикатора за временно изключване (standby)
• Влезта в контакт с най-близката сервизна база на
на телевизора мига.
Sony.
• В случай на повреда, изискайте телевизора да се провери от специализиран персонал.
• Никога не отваряйте апарата.
Допълнителна информация 21

Untitled1.fm Page 1 Thursday, March 25, 2004 9:27 AM

CZ Text.fm Page 3 Tuesday, April 27, 2004 4:20 PM
Úvod
Děkujeme Vám, že jste si vybrali televizor Sony s plochou obrazovkou FD
Trinitron.
Před použitím televizoru si pozorně přečtěte tento návod k obsluze a zachovejte ho pro budoucí
informaci.
• Znaky, které užíváme v tomto návodu k obsluze:
• Důležitá informace.
• Šedá výplň tlačítek dálkového ovladače
• Informace o funkci.
označuje tlačítka, která je nutno/možno
• 1,2... Posloupnost ovládacích kroků.
stisknout v tomto kroku.
• Informace o výsledku pokynů.
Obsah
Úvod ........................................................................................................................................................ 3
Bezpečnostní opatření............................................................................................................................. 4
Všeobecný popis
Všeobecný přehled tlačítek dálkového ovladače .................................................................................... 5
Všeobecný přehled tlačítek televizoru .................................................................................................... 6
Instalace
Vložení baterií do dálkového ovladače .................................................................................................... 6
Připojení antény a videa ......................................................................................................................... 6
První zapojení televizoru
Zapnutí a automatické naladění TV ........................................................................................................ 7
Režim menu na obrazovce
Úvod a použití různých menu...................................................................................................................9
CZ
Průvodce po menu:
Nastavení Obrazu ............................................................................................................................9
Nastavení zvuku...............................................................................................................................10
Časovač Vypnutí..............................................................................................................................11
Jazyk/Země .................................................................................................................................... 11
Automatické Ladění........................................................................................................................ 11
Třídění Programů ............................................................................................................................ 12
Označení programů ........................................................................................................................ 12
AV předvolby .................................................................................................................................. 12
Ruční Ladění................................................................................................................................... 13
Redukce Šumu ............................................................................................................................... 15
Výstup AV3 ..................................................................................................................................... 15
TV reproduktory.............................................................................................................................. 15
RGB centrování .............................................................................................................................. 16
Otočení Obraz................................................................................................................................. 16
Teletext...................................................................................................................................................17
Doplňkové informace
Připojení přídavných zařízení................................................................................................................... 18
Použití přídavných zařízení .......................................................................................................................20
Technické údaje........................................................................................................................................21
Řešení problémů.......................................................................................................................................22
Obsah 3

CZ Text.fm Page 4 Tuesday, April 27, 2004 4:20 PM
Bezpečnostní opatření
Z bezpečnostních důvodů a důvodu
Tento televizor pracuje pouze s
ochrany ivotního prostředí
Nevkládejte žádné předměty do
doporučujeme nenechávat TV v
napětím 220-240V. V případě zapojení
televizoru, rovněž do televizoru nelijte
pohotovostním stavu (standby) kdy ji
jakoukoliv tekutinu. V případě, že se
příliš mnoha spotřebičů do jedné el.
nesledujete. Přesto by některé typy TV
tak stane a již úmyslně či neúmyslně
zásuvky může dojít k úrazu el.
měly být, vzhledem ke správné činnosti
televizor nezapínejte a sdělte tuto
svých funkcí, zapnuty v pohotovostním
proudem či požáru.
skutečnost nejbliž ímu
stavu I kdy TV nesledujete. O
autorizovanému servisu SONY, který
takovýchto případech jste informováni v
návodu k obsluze.
odborně televizor prověří.
Neotevírejte zadní kryt televizoru.
Nedotýkejte se během bouřky
Nevystavujte televizor de ti a vlhku,
jakékoliv části el. přívodního kabelu
předejdete tak případnému úrazu el.
Toto přenechte pouze kvalifikovaným
proudem.
odborníkům z autorizovaných servisů
ani anténního kabelu.
SONY.
Nezakrývejte ventilační otvory
Neumis ujte televizor na horká,
Hořlavé látky, či otevřený oheň
televizoru. Nechte kolem televizoru
mokrá či extrémně pra ná místa.
(svíčka) neumis ujte v těsné blízkosti
alespoň 10 cm prostoru pro ventilaci
Televizor by neměl být vystaven
televizoru.
vzduchu.
mechanickým vibracím.
Čistěte obrazovku a plastový kryt televize
pouze jemnou, lehce navlhčenou látkou.
Při vytahování el. přívodního kabelu
Abyste nepo kodili el. přívodní kabel
Nepoužívejte žádné materiály s
tahejte pouze za zástrčku, netahejte
nepokládejte na něj žádné těžké
povrchovou úpravou určenou k broušení,
za kabel.
předměty. Doporučujeme
nepoužívejte alkalické čističe, čistící a
brusné pasty, rozpouštědla jako je líh,
přebytečnou část el. přívodního
benzín, či ředidlo. Rovněž
kabelu navinout kolem háčků na
nedoporučujeme používat antistatický
zadní straně televizoru.
spray. Z bezpečnostních důvodů, před
mytím odpojte TV od el. proudu.
Postavte TV na bazpečný a stabilní
Před manipulací vypojte televizor z el.
Nezakrývejte ventilační otvory
stolek. Nepřesunujte TV a stolek
sítě. Při manipulaci postupujte
televizoru novinami, časopisy ani
najednou, v dy přesunujte TV a stolek
opatrně abyste televizor nepo kodili.
záclonami a závěsy.
zvláš. TV nikdy nepokládejte na bok
Pokud vám televizor upadl, či byl
či na zadní stranu přístroje. Nedovolte
jiným způsobem po kozen nechte ho
dětem aby na TV lezly, sedaly, či si na
prověřit odborným pracovníkem
ní lehaly.
autorizovaného servisu SONY.
4 Bezpečnostní opatření

CZ Text.fm Page 5 Tuesday, April 27, 2004 4:20 PM
Všeobecný přehled tlačítek dálkového ovladače
1 Dočasné vypnutí televizoru:
1
Stisknutím tlačítka se televize dočasně vypne (indikátor
pohotovostního stavu na televizi se rozsvítí). Opětovným
stisknutím tlačítka televizor opět zapnete. Doporučujeme televizor
2
vypnout úplně, pokud se nepoužívá - šetří se tím energie.
Televizor se automaticky vypne do pohotovostního režimu,
jestliže po dobu 15 minut ne žádné tlačítko, televizor se uvede
3
automaticky do klidového stavu.
qj
4
2 Volba vstupního signálu:
qh
5
Tiskněte jej opakovaně, až se na obrazovce objeví znaménko
zvoleného vstupního signálu.
qg
6
3 Tlačítko pro výběr programů:
qf
7
Stisknutím se zadá požadovaný kanál. video.
Pokud chcete zvolit program s dvoumístným číslem, stiskněte
8
druhou číslici po dobu menší než 2,5 vteřiny.
4 Tlačítko předchozího kanálu:
qd
9
Stisknutím vyvoláte kanál, který jste naposledy sledovali po dobu
delší než 5 sekund.
5 Toto tlačítko lze použít pouze v režimu teletextu.
qs
q;
6 Toto tlačítko lze použít pouze v režimu teletextu.
7 Výběr z teletextu:
qa
Stisknutím se zobrazí teletext.
8 Ovládací destička:
• Je-li MENU zobrazeno, používejte tato tlačítka pro přesun po
různých menu. Obsáhlejší informace najdete v kapitole “Úvod a
použití různých menu” na straně 9.
• Pokud není MENU zobrazeno, stisknutím OK se zobrazí přehled
naladěných kanálů. Stisknutím v nebo V zvolte požadovaný kanál
(televizní stanici), po stisknutí OK jej můžete sledovat.
CZ
9 Výběr formátu zobrazení:
qf Volba TV režimu:
Opakovaným tisknutím změníte formát zobrazení:
Stisknutím se vypne teletext nebo vstup do videa.
4:3 pro obvyklý obraz nebo 16:9 pro imitaci
qg Volba zvukového efektu:
širokoúhlého obrazu.
Opakovaným stisknutím tohoto tlačítka lze změnit
q; Volba kanálů:
zvukový efekt.
Stiskněte pro volbu předchozího nebo
qh Výběr specifického obrazu:
následujícího kanálu.
Opakovaným stisknutím nastavíte specifický
qa Vypnutí zvuku:
obraz.
Pokud chcete zvuk vypnout, stiskněte tlačítko.
qj Zobrazení informace na obrazovce:
Zvuk se zapne opětovným stisknutím.
Stiskněte tlačítko a na obrazovce se objeví
qs Nastavení hlasitosti:
veškeré údaje. Opětovným stisknutím tyto
Stisknutím se nastaví hlasitost televizoru.
informace z obrazovky zmizí.
qd Zapojení režimu menu::
Stiskněte jej a menu se objeví na obrazovce.
Opětovným stisknutím se vypne a objeví se
normální obrazovka.
Kromě těchto funkcí televizoru, všechna barevná tlačítka se používají také pro teletext. Obsáhlejší
informace je popsána v kapitole “Teletext” tohoto návodu k obsluze.
Všeobecný 5

CZ Text.fm Page 6 Wednesday, May 12, 2004 12:53 PM
Všeobecný přehled tlačítek televizoru
Programová tlačítka
pro výběr následujícího
nebo předchozího
kanálu (pro volbu
televizních stanic)
Tlačítka pro ovládání
hlasitosti
Tlačítko pro inicializaci
Tlačítko pro
3
televizoru
Ukazatel režimu
volbu vnějšiho
dočasného vypnutí
vstupu
televizoru
3
Vstup
(pohotovostní) režim
videosignálu
Vstup
Stlačením dvířek na
videosignálu S
boku TV se otevře
Zvukové
panel s konektory
vstupy
o3
Výstup pro
Tlačítko zapnuto/
sluchátka
vypnuto
Vložení baterií do dálkového ovladače
Zkontrolujte, jestli jsou poskytnuté baterie ve správné pozici.
Berte ohled na životní prostředí a použitých baterií se zbavujte způsobem, který životní prostředí
nepoškozuje - odhazujte je do kontejnerů k tomu určených.
O
P
R
O
C
Y
N
O
S
/4
N
R
P
A
J
A
N
IO
T
A
RA
TION JAPAN/4
NY CO
RPO
SO
Připojení antény a videa
Přípojné kabely se nedodávají.
Videorekordér
(SMARTLINK)
MANUFACTURED UNDER LICENCE
nebo
FROM DOLBY LABORATORIES
"DOLBY" AND THE DOUBLE - D
SYMBOL ARE TRADEMARKS OF
DOLBY LABORATORIES
(SMARTLINK)
(SMARTLINK)
Připojení pomocí konektoru typu Euro záleží na Vaší volbě
Obsáhlejší informace o připojení videa najdete v kapitole “Připojení přídavných
zařízení” v tomto návodu k obsluzeě.
6 Všeobecný popis - Instalace

CZ Text.fm Page 7 Tuesday, April 27, 2004 4:20 PM
Zapnutí a automatické naladění TV
Po prvním zapnutí televizoru se na obrazovce objeví sekvence menu, pomocí kterých budete moci: 1)
zvolit jazyk menu; 2) zvolit zemi, ve které si přejete používat televizor; 3) seřídit nakloněný obraz, 4)
hledat a automaticky ukládat všechny kanály (televizní stanice), které jsou k dispozici a 5) změnit
pořadí, ve kterém se kanály (televizní stanice) objeví na obrazovce.
Pokud časem budete chtít změnit jakékoliv z těchto seřízení, proved te příslušnou volbu v (menu
Instalace), nebo stiskněte tlačítko pro inicializaci televizoru.
1
Zapojte televizor do elektrické sítě (220-240 V AC, 50Hz). Při
prvním zapojení televizoru by se měl televizor automaticky
zapnout. Pokud tomu tak není, stiskněte tlačítko zapnuto/vypnuto
na čelní části televizoru, aby se zapnul.
Po prvním zapnutí televizoru se na obrazovce automaticky objeví
menu Language (Jazyk).
2
Stiskněte tlačítko v nebo V dálkového ovladače pro volbu jazyka
Language
a poté stiskněte tlačítko OK pro potvrzení volby. Od této chvíle
i
v
Svenska
veškerá menu se objeví ve zvoleném jazyce.
Norsk
English
Nederlands
Français
Italiano
i
V
Select Language:
OK
3
Na obrazovce se automaticky objeví menu Země. Stiskněte
tlačítko v nebo V pro volbu země, ve které chcete používat
Země
CZ
i
v
televizor a poté stiskněte tlačítko OK pro potvrzení volby.
Sverige
Norge
-
Italia
• Jestliže v seznamu není ta země, ve které budetepoužívat
Deutschland
Österreich
televizor, místo země zvolte “-”.
i
V
Vyberte zemi:
OK
• Pokud se vaše země neobjeví v nabídce pro instalaci,
doporučujeme použít nastavení pro Rusko. Tímto
nastavením předejdete chybnému zobrazování znaků a
písmen charakteristických pro váš jazyk v teletextu.
4
Vzhledem k zemské přitažlivosti se může stát, že se obraz nakloní.
V tomto případě ho můžete seřídit použitím funkce Otočení
Jestliže je obraz nakloněn
obrazu.
upravte pootočení obrazu.
a) Pokud toho není třeba, stiskněte v nebo V pro volbu Není
Není potřeba
Upravit te
potřeba a poté stiskněte OK.
b) Pokud toho je třeba, stiskněte v nebo V pro volbu Upravit ted’
OK
a stiskněte OK. Poté upravte nakloněný obraz seřizováním v
rozmezí od -5 do +5, pomocí tlačítek v nebo V. Nakonec
stiskněte OK pro jeho uložení.
pokračuje...
První zapojení televizoru 7

CZ Text.fm Page 8 Tuesday, April 27, 2004 4:20 PM
Zapnutí a automatické naladění TV
5
Menu Automatické Ladění se objeví na obrazovce. Stiskněte
Přejete si spustit
tlačítko OK pro volbu Ano.
automatické ladění?
Ano
Ne
OK
6
Televizor začne automaticky ladit a ukládat všechny kanály
Automatické ladění
(televizní stanice), které jsou k dispozici.
Program:
01
Systém:
B/G
Tento proces může trvat několik minut. Mějte proto trpělivost
Kanál:
C21
a po dobu trvání procesu ladění nestiskněte žádné tlačítko,
proces by se neuskutečnil.
Vyhledávání...
Jestliže po vykonání automatického ladění televizor nenašel
žádný kanál (televizní stanici), na obrazovce se objeví zpráva,
Program nenalezen
Připojte prosím anténu
která Vás žádá, abyste zapojili anténu. Při zapojení antény
postupujte tak, jak je uvedeno na str.6 tohoto návodu a poté
Potvrte
stiskněte OK. Proces automatického ladění se obnoví.
OK
7
Jakmile televizor ukončil ladění a uložil všechny kanály
Třídění programů
(televizní stanice), na obrazovce se automaticky objeví menu
Program:
01 TVE
Třídění programů, pomocí kterého můžete změnit pořadí,
02 TVE2
03 TV3
ve kterém se kanály objeví na obrazovce.
04 C33
05 C27
06 C58
a) Nechcete-li změnit toto pořadí kanálů, přejděte na bod č. 8.
Zvolte kanál:
Konec:
MENU
OK
b) Chcete-li změnit pořadí kanálů:
1 Stiskněte tlačítko v nebo V pro volbu čísla programu s
Třídění programů
kanálem (televizní stanicí), jehož pozici chcete změnit a
Program:
01 TVE
následovně stiskněte b.
02 TVE2
03 TV3
2 Stiskněte v nebo V pro volbu nového čísla programu, ve
04 C33
05 C27
kterém si přejete uložit zvolený kanál (televizní stanici), a
06 C58 05 C27
následovně stiskněte B.
Zvolte novou pozici:
Konec:
MENU
OK
3 Zopakujte body b)1 a b)2, chcete-li změnit pořadí dalších
televizních kanálů.
8
Stiskněte tlačítko MENU a menu zmizí z obrazovky.
MENU
Televizor je připraven k funkci.
8 První zapojení televizoru

CZ Text.fm Page 9 Tuesday, April 27, 2004 4:20 PM
Úvod a použití různých menu
Tento televizor používá na obrazovce systém menu a tím Vám ukazuje různé operace. Pro přesun po
menu používejte tlačítka dálkového ovladače, která jsou následovně popsána:
1
Stiskněte tlačítko MENU a na obrazovce se objeví první stupeň
MENU
menu.
2
• Pro zvýraznění žádaného menu nebo funkce, stiskněte tlačítko
v nebo V
.
• Pro vstup do zvoleného menu nebo funkce, stiskněte b.
• Pro návrat do předchozího menu nebo funkce, stiskněte B
.
• Pro změnu nastavení zvolené funkce, stiskněte v/V/B nebo b.
• Pro potvrzení a uložení Vaší volby, stiskněte OK.
3
Stiskněte tlačítko MENU a menu zmizí z obrazovky.
MENU
Průvodce po menu
Stupeň 1 Stupeň 2 Stupeň 3 / Funkce
NASTAVENÍ OBRAZU
CZ
Nastavení obrazu
Nastavení obrazu
Menu “Nastavení obrazu” slouží k úpravě nebo
Režim: Osobní
Režim: Osobní
Kontrast
Kontrast
seřízení obrazu.
Jas
Jas
Barevná sytost
Barevná sytost
Ostrost
Ostrost
Odstín
Odstín
K tomu je třeba:
Reset
Reset
Po zvolení funkce, kterou si přejete změnit, stiskněte
OK
OK
tlačítko b. Poté opakovaně stiskněte v/V/B nebo b
pro změnu nastavení a nakonec stiskněte OK pro
jeho uložení.
Toto menu Vám také umožní změnit specifický obraz
podle toho, jaký program sledujete:
v Přímý přenos (používejte pro pořady v přímém
přenosu, DVD a při použití Set Top Boxů).
v Osobní (pro osobní požadavky).
v Film (pro filmy).
• Jas, Barevná Sytost a Ostrost jsou možné změnit pouze v případě, že změníte specifický obraz v režimu
“Osobní”.
• Odstín je dostupný pouze pro systém NTSC (např. videokazety z USA).
• Pro obnovení továrního nastavení obrazu, zvolte Reset a stiskněte tlačítko OK.
pokračuje...
Režim menu na obrazovce 9

CZ Text.fm Page 10 Tuesday, April 27, 2004 4:20 PM
Úvod a použití různých menu
Stupeň 1 Stupeň 2 Stupeň 3 / Funkce
NASTAVENÍ ZVUKU
Nastavení obrazu
Menu “Nastavení zvuku” Vám umožní změnit
Režim: Osobní
Kontrast
nastavení zvuku.
Jas
Barevná sytost
Ostrost
K tomu je třeba:
Odstín
Reset
Po zvolení funkce, kterou si přejete změnit, stiskněte
OK
b. Poté opětovně tiskněte v/V/B nebo b pro změnu
nastavení a nakonec stiskněte OK pro jeho uložen.
Nastaven zvuku
Nastaven zvuku
Efekt: Přirozený
Efekt: Přirozený
Výšky
Výšky
Hloubky
Hloubky
Vyvážení
Vyvážení
Reset
Reset
Dvoukanál.zvuk: Mono
Dvoukanál.zvuk: Mono
Aut. Hlasitost: Zap
Aut. Hlasitost: Zap
OK OK
Efekt bvPřirozený: Odstraňuje šum, zajišuje přítomnost zvuku a provádí jeho ladění
pomocí systému “BBE High Definition Sound system”*.
v Dynamický: “BBE High Definition Sound system”* zintenzívňuje jasnost a
přítomnost zvuku vytvářením srozumitelnějšího hlasu a pronikavější
hudby.
v Dolby**Virtual: Napodobuje zvukový efekt “Dolby Pro Logic”.
v Vyp: Bez speciálních zvukových efektů.
Výšky bBMéně b Více
Hloubky bBMéně b Více
Vyvážení bBLevý b Pravý
Reset Obnoví tovární nastavení zvuku.
K
Dvoukanál. zvuk
b • Pro stereo vysílání:
v Mono.
v Stereo.
• Pro dvojjazyčné vysílání:
v Mono (určen pro kanál mono, je-li k dispozici).
v A (pro 1. kanál).
v B (pro 2. kanál).
Aut. HlasitostbvVyp: Hlasitost se mění v závislosti na vysílacím signálu.
v Zap: Hlasitost se udržuje nezávisle na vysílacím signálu (např. reklamní inzeráty).
• Pokud posloucháte zvuk televizoru přes sluchátka, funkce Efekt automaticky přejde na pozici “Vyp”.
• Pokud nastavíte “Efekt” v pozici “Dolby Virtual”, funkce “Aut. Hlasitost” se automaticky změní na pozici
“Vyp” a naopak.
* “BBE High Definition Sound system” je vyroben firmou Sony Corporation s licencí BBE Sound, Inc.
Je chráněn patentem USA č 4,638,258 a 4,482,866. Slovo “BBE” a symbol “BBE” jsou obchodní
značky BBE Sound, Inc.
**Tento televizor byl naržen tak aby dosáhl zvukového efektu “Dolby Surround” a napodobil tak zvuk
čtyř reproduktorů použitím pouze dvou reproduktoyů tohoto televizora, vždy kdy audio signál
vysílací stanice bude “Dolby Surround”. Kromě toho, můžete také zlepšit zvukový efekt zapojením
jednoho vnějšího zesilovače. Podrobnější informace najdete v kapitole “Připojení vnějšího
zvukového zařízení” na straně 19.
**Vyrobeno s oprávněním Dolby Laboratories. “Dolby”, “Pro Logic” a znak dvojitého D jsou
obchodní značky Dolby Laboratories.
pokračuje...
10 Režim menu na obrazovce

CZ Text.fm Page 11 Tuesday, April 27, 2004 4:20 PM
Úvod a použití různých menu
Stupeň 1 Stupeň 2 Stupeň 3 / Funkce
ČASOVAČ VYPNUTÍ
Nastavení obrazu
Funkce “Časov. vypnutí” v režimu menu “Časovač”,
Režim: Osobní
Vám umožní zvolit interval, po jehož uplynutí
Kontrast
Jas
televizor automaticky přejde do režimu dočasného
Barevná sytost
Ostrost
vypnutí (pohotovostní režim).
Odstín
Reset
OK
K tomu je třeba:
Po zvolení funkce, stiskněte tlačítko b. Poté
stiskněte v nebo V pro volbu časového intervalu
(max. 4 hodiny) a nakonec stiskněte OK pro jeho
Časovač
Časovač
uložení.
Časov. Vypnutí:
Vyp
Časov. Vypnutí:
Vyp
• Chcete-li vidět čas zbývající do vypnutí, zatímco
sledujete televizor, stiskněte tlačítko .
• Minutu před tím, než televizor přejde do režimu
OK
OK
dočasného vypnutí, zbývající čas se objeví na
obrazovce.
JAZYK/ZEMĚ
Nastavení obrazu
Funkce “Jazyk/Země” v režimu menu “Instalace”
Režim: Osobní
slouží k volbě jazyka, ve kterém chcete, aby se na
Kontrast
Jas
obrazovce objevily menu. Také Vám umožní zvolit
Barevná sytost
Ostrost
zemi, ve které si přejete televizor používat.
Odstín
Reset
OK
K tomu je třeba:
Po zvolení funkce, stiskněte tlačítko b. Poté
postupujte tak, jak je popsáno v kapitole “Zapnutí a
automatické naladění TV”, v bodě 2 a 3 na straně 7.
Instalace
Instalace
Jazyk/Země
Jazyk/Země
CZ
Automatické ladění
Automatické ladění
Třídění programů
Třídění programů
Označení programů
Označení programů
AV předvolby
AV předvolby
Ruční ladění
Ruční ladění
Prodrobnější nastavení
Prodrobnější nastavení
OK
OK
AUTOMATICKÉ LADĚNÍ
Funkce “Automatické ladění” v režimu menu
Nastavení obrazu
“Instalace” slouží k tomu, aby televizor hledal a uložil
Režim: Osobní
Kontrast
do paměti veškeré kanály (televizní stanice), které
Jas
Barevná sytost
jsou k dispozici.
Ostrost
Odstín
Reset
K tomu je třeba:
OK
Po zvolení funkce, stiskněte tlačítko b. Poté
postupujte tak, jak je popsáno v kapitole “Zapnutí a
automatické naladění TV”, v bodě 5 a 6 na straně 8.
Instalace
Instalace
Jazyk/Země
Jazyk/Země
Automatické ladění
Automatické ladění
Třídění programů
Třídění programů
Označení programů
Označení programů
AV předvolby
AV předvolby
Ruční ladění
Ruční ladění
Prodrobnější nastavení
Prodrobnější nastavení
OK
OK
pokračuje...
Režim menu na obrazovce 11

CZ Text.fm Page 12 Tuesday, April 27, 2004 4:20 PM
Úvod a použití různých menu
Stupeň 1 Stupeň 2 Stupeň 3 / Funkce
TŘÍDĚNÍ PROGRAMŇ
Nastavení obrazu
Funkce “Třídění programů” v režimu menu
Režim: Osobní
“Instalace” slouží ke změně pořadí, ve kterém se
Kontrast
Jas
kanály (televizní stanice) objeví na obrazovce.
Barevná sytost
Ostrost
Odstín
Reset
K tomu je třeba:
OK
Po zvolení funkce, stiskněte tlačítko b. Poté
postupujte tak, jak je popsáno v kapitole “Zapnutí a
automatické naladění TV”, v bodě 7b) na straně 8.
Instalace
Instalace
Jazyk/Země
Jazyk/Země
Automatické ladění
Automatické ladění
Třídění programů
Třídění programů
Označení programů
Označení programů
AV předvolby
AV předvolby
Ruční ladění
Ruční ladění
Prodrobnější nastavení
Prodrobnější nastavení
OK
OK
OZNAČENÍ PROGRAMŇ
Nastavení obrazu
Funkce “Označení programů“, v režimu menu
Režim: Osobní
“Instalace”, Vám umožní přidělit jméno kanálu,
Kontrast
Jas
maximálně o pěti znacích. K tomu je třeba.
Barevná sytost
Ostrost
Odstín
Reset
K tomu je třeba:
OK
1 Po zvolení funkce, stiskněte tlačítko b a poté
stiskněte v nebo V pro volbu čísla programu,
který chcete pojmenovat.
Instalace
Instalace
2 Stiskněte b. Vyznačením prvního znaku ve
Jazyk/Země
Jazyk/Země
Automatické ladění
sloupci Etiqueta, stiskněte tlačítko v nebo V pro
Automatické ladění
Třídění programů
Třídění programů
volbu jednoho písmene, čísla, nebo “-” pro
Označení programů
Označení programů
AV předvolby
AV předvolby
mezeru a poté stiskněte b pro potvrzení tohoto
Ruční ladění
Ruční ladění
Prodrobnější nastavení
Prodrobnější nastavení
znaku. Zbývající čtyři znaky zvolte stejným
OK
OK
způsobem. Nakonec stiskněte OK pro jejich
uložení.
AV PŘEDVOLBY
Funkce “AV předvolby”, v režimu menu “Instalace”,
Nastavení obrazu
Vám umožní přidělit jméno vnějšímu zařízení
Režim: Osobní
Kontrast
připojenému k tomuto televizoru.
Jas
Barevná sytost
Ostrost
Odstín
K tomu je třeba:
Reset
1 Po zvolení funkce, stiskněte tlačítko b a poté
OK
stiskněte v nebo V pro volbu vnějšího vstupu,
který chcete pojmenovat (AV1, a AV2 pro
přídavná zařízení připojená ke konektorům typu
Instalace
Instalace
Euro na zadní části televizoru a AV3 pro přední
Jazyk/Země
Jazyk/Země
Automatické ladění
Automatické ladění
konektory). Poté stiskněte b.
Třídění programů
Třídění programů
Označení programů
Označení programů
AV předvolby
AV předvolby
Ruční ladění
Ruční ladění
2 Ve sloupci “Název” se automaticky objeví
Prodrobnější nastavení
Prodrobnější nastavení
předurčené jméno:
OK
OK
a) Chcete-li použít jedno z těchto předurčených
jmen (CABLE, GAME, CAM, DVD, VIDEO
nebo SAT), stiskněte tlačítko v nebo V pro
volbu jednoho z nich a nakonec stiskněte OK
pro jeho uložení.
b) Chcete-li přidělit Vámi určené jméno, zvolte
Editar a stiskněte b. Poté, vyznačením prvního
znaku, stiskněte v nebo V pro volbu jednoho
písmene, čísla, nebo “-” pro mezeru a
stiskněte b pro potvrzení tohoto znaku.
Zbývající čtyři znaky zvolte stejným způsobem
a nakonec stiskněte OK pro jejich uložení.
pokračuje...
12 Režim menu na obrazovce

CZ Text.fm Page 13 Tuesday, April 27, 2004 4:20 PM
Úvod a použití různých menu
Stupeň 1 Stupeň 2 Stupeň 3 / Funkce
RUČNÍ LADĚNÍ
Nastavení obrazu
Funkce “Ruční Ladění” v režimu menu “Instalace”
Režim: Osobní
slouží pro:
Kontrast
Jas
Barevná sytost
Ostrost
a) Postupné ladění kanálů (televizních stanic) v
Odstín
Reset
pořadí programu, které si přejete, nebo postupné
OK
ladění video vstupu.
K tomu je třeba:
Instalace
Instalace
1 Po zvolení funkce “Ruční Ladění”, stiskněte
Jazyk/Země
Jazyk/Země
tlačítko b. S vyznačenou položkou Program
Automatické ladění
Automatické ladění
Třídění programů
Třídění programů
stiskněte b, a poté stiskněte v nebo V pro volbu
Označení programů
Označení programů
AV předvolby
AV předvolby
čísla programu (pozice), na kterém si přejete
Ruční ladění
Ruční ladění
Prodrobnější nastavení
Prodrobnější nastavení
naladit televizní stanici nebo kanál videa (pro
OK
OK
kanál videa Vám doporučujeme vybrat číslo
programu 0 ). Stiskněte tlačítko B.
2 Dostupnost následující funkce závisí na
volbě země v režimu menu “Jazyk/Země”.
Po zvolení funkce Systém, stiskněte tlačítko b, a
poté stiskněte v nebo V pro volbu systému
televizní stanice (B/G pro Západní Evropu nebo
D/K pro Východní Evropu) Stiskněte B.
3 Po zvolení funkce Kanál, stiskněte tlačítko b a
poté stiskněte v nebo V pro volbu typu kanálu
(“C” pro pozemní vysílání nebo “S” pro kabelové
vysílání). Stiskněte tlačítko b. Posléze stiskněte
CZ
číselná tlačítka pro zavedení čísla kanálu televizní
stanice nebo znaménka kanálu videa. Neznáte-li
číslo kanálu, hledejte ho stisknutím tlačítka v
nebo V. Až najdete kanál, který chcete uložit,
stiskněte dvakrát tlačítko OK.
Zopakujte všechny tyto body pro naladění a
uložení ostatních kanálů.
b) Přidělit jméno kanálu, maximálně o pěti znacích.
K tomu je třeba:
Vyznačením funkce Program, stiskněte tlačítko
PROG + nebo -, až se objeví číslo programu,
který chcete pojmenovat. Po té, až se objeví na
obrazovce, zvolte funkci Pojmenování a
následovně stiskněte tlačítko b. Stiskněte v nebo
V pro volbu jednoho písmene, čísla nebo “-” pro
mezeru a stiskněte
b pro potvrzení tohoto znaku.
Zbývající čtyři znaky zvolte stejným způsobem.
Po zvolení všech znaků, stiskněte dvakrát tlačítko
OK pro jejich uložení.
pokračuje...
Režim menu na obrazovce 13

CZ Text.fm Page 14 Wednesday, May 12, 2004 12:55 PM
Úvod a použití různých menu
Stupeň 1 Stupeň 2 Stupeň 3 / Funkce
c) Dokonce i v případě, že je normálně zapojeno
Nastavení obrazu
jemné automatické ladění kanálů (AFT), můžeme
Režim: Osobní
Kontrast
obraz ručně doladit (jestliže je nejasný) a
Jas
Barevná sytost
dosáhnout jeho zlepšení.
Ostrost
Odstín
K tomu je třeba:
Reset
Zatímco sledujete kanál (televizní stanici), ve
OK
kterém chcete provést jemné naladění, zvolte
funkci AFT, a poté stiskněte tlačítko b. Stiskněte
v nebo V pro doladění úrovně frekvence kanálu
Instalace
Instalace
v rozmezí od -15 do +15. Nakonec stiskněte
Jazyk/Země
Jazyk/Země
Automatické ladění
Automatické ladění
dvakrát tlačítko OK a tímto se nové doladění
Třídění programů
Třídění programů
Označení programů
Označení programů
uloží do paměti.
AV předvolby
AV předvolby
Ruční ladění
Ruční ladění
Prodrobnější nastavení
Prodrobnější nastavení
d) Vynechat čísla programů, které si nepřejete
OK
OK
sledovat a tím je přeskočit při jejich výběru
pomocí tlačítek PROG +/-.
K tomu je třeba:
Vynechat čísla programů, které si nepřejete
sledovat a tím je přeskočit při jejich výběru
pomocí tlačítek PROG +/-. Vyznačením funkce
Program, stiskněte tlačítko PROG + nebo -, až
se objeví číslo programu, který chcete vynechat.
Po té, až se objeví na obrazovce, zvolte funkci
Přeskočit a následovně stiskněte tlačítko b.
Stiskněte v nebo V pro volbu Ano a nakonec
stiskněte dvakrát tlačítko OK pro jeho uložení.
Jestliže časem chcete opět používat číslo
vynechaného programu, postupujte tak, jak je
výše uvedeno, ale místo “Ano” zvolte “Ne”.
e) Použitím dekodéru připojeného ke konektoru
typu Euro 2/ 2, nebo přes video připojené
ke zmíněnému Eurokonektoru, Vám tato funkce
umožní sledovat a správně nahrát kodifikovaný
kanál.
Dostupnost následující funkce závisí na
volbě země v režimu menu “Jazyk/Země”.
K tomu je třeba:
Po zvolení funkce Dekodér, stiskněte tlačítko b.
Poté stiskněte v nebo V pro volbu Zap. Nakonec
stiskněte dvakrát OK pro její uložení.
Jestliže časem budete chtít tuto funkci zrušit,
postupujte, jak je výše uvedeno, ale zvolte znovu
“Vyp” místo “Zap”.
pokračuje...
14 Režim menu na obrazovce

CZ Text.fm Page 15 Wednesday, May 12, 2004 12:55 PM
Úvod a použití různých menu
Stupeň 1 Stupeň 2 Stupeň 3 / Funkce
REDUKCE ŠUMU
Funkce “Redukce šumu” v režimu menu
Nastavení obrazu
Režim: Osobní
“Prodrobnějši nastaveni” slouží k redukci šumu
Kontrast
Jas
obrazu v případě slabých signálů televizoru.
Barevná sytost
Ostrost
K tomu je třeba:
Odstín
Reset
Po zvolení funkce, stiskněte tlačítko b. Poté
OK
stiskněte v nebo V, zvolte Auto a nakonec stiskněte
OK pro jeho uložení.
Prodrobnější nastavení
Jestliže časem budete chtít tuto funkci zrušit,
Instalace
Redukce šumu:
Auto
Jazyk/Země
postupujte tak, jak je výše uvedeno, ale zvolte “Vyp”
Výstup AV2:
TV
Automatické ladění
TV reproduktory:
Zap
Třídění programů
RGB centrování:
0
místo “Auto”.
Označení programů
Otočení obrazu:
0
AV předvolby
Ruční ladění
Prodrobnější nastavení
OK
OK
VÝSTUP AV2
Funkce “Výstup AV2”, v režimu menu “Prodrobnějši
Nastavení obrazu
Režim: Osobní
nastaveni”, Vám umožní zvolit vnější výstup
Kontrast
Jas
konektoru typu Euro 2/ 2, abyste z tohoto
Barevná sytost
Ostrost
Eurokonektoru mohli nahrát jakýkoliv signál
Odstín
Reset
pocházející z televizoru, nebo z jiného vnějšího
OK
zařízení připojeného k Eurokonektoru 1/ 1
nebo k předním konektorům 3 nebo 3 and
S
3.
Instalace
Prodrobnější nastavení
Jazyk/Země
Redukce šumu:
Auto
Má-li Váš videorekordér k dispozici Smartlink,
Automatické ladění
Výstup AV2:
TV
Třídění programů
TV reproduktory:
Zap
tento postup není třeba.
CZ
RGB centrování:
0
Označení programů
Otočení obrazu:
0
AV předvolby
Ruční ladění
K tomu je třeba:
Prodrobnější nastavení
OK
Po zvolení funkce, stiskněte tlačítko b. Poté
OK
stiskněte v nebo V pro volbu požadovaného
výstupního signálu TV, AV1, AV3, YC3 nebo AUTO.
Pokud zvolíte funkci AUTO, výstupní signál bude vždy stejný jako ten, který se objeví na televizní
obrazovce.
Máte-li připojený dekodér ke konektoru typu Euro 2/ 2, nebo k videu připojenému k tomuto
Eurokonektoru, nezapomeňte znovu zvolit “Výstup AV2” v režimu “AUTO” nebo “TV” pro jeho
správnou dekodifikaci.
TV REPRODUKTORY
Volba funkce “TV reproduktory” v režimu menu
Nastavení obrazu
“Prodrobnějši nastaveni” Vám umožní zrušit zvuk z
Režim: Osobní
Kontrast
reproduktorů televizoru a poslouchat ho pouze přes
Jas
Barevná sytost
vnější zesilovač, který je zapojený k výstupu zvuku
Ostrost
Odstín
na zadní části televizoru.
Reset
OK
K tomu je třeba:
Po zvolení funkce, stiskněte tlačítko b. Poté
stiskněte v nebo V, zvolte Vyp a nakonec stiskněte
Instalace
Prodrobnější nastavení
Jazyk/Země
Redukce šumu:
Auto
OK pro jeho uložení.
Automatické ladění
Výstup AV2:
TV
Třídění programů
TV reproduktory:
Zap
RGB centrování:
0
Označení programů
Otočení obrazu:
0
Jestliže časem budete chtít tuto funkci zrušit,
AV předvolby
Ruční ladění
postupujte tak, jak je výše uvedeno, ale zvolte “Zap”
Prodrobnější nastavení
OK
místo “Vyp”.
OK
pokračuje...
Režim menu na obrazovce 15

CZ Text.fm Page 16 Tuesday, April 27, 2004 4:20 PM
Úvod a použití různých menu
Stupeň 1 Stupeň 2 Stupeň 3 / Funkce
RGB CENTROVÁNÍ
Nastavení obrazu
Při zapojení vnějších signálů RGB, jako
Režim: Osobní
“PlayStation”, je možné, že bude třeba seřídit
Kontrast
Jas
vodorovné centrování obrazu. V tomto případě se
Barevná sytost
Ostrost
seřizuje pomocí funkce “RGB centrování” v režimu
Odstín
Reset
menu “Prodrobnějši nastaveni”.
OK
K tomu je třeba:
Zatímco sledujete vstupní signál RGB, zvolte funkci
Prodrobnější nastavení
“RGB Centróvaní” a stiskněte tlačítko b. Poté
Instalace
Jazyk/Země
Redukce šumu:
Auto
stiskněte v nebo V pro upravení centra obrazu
Automatické ladění
Výstup AV2:
TV
Třídění programů
TV reproduktory:
Zap
RGB centrování:
0
(seřizujte od - 10 do + 10). Nakonec stiskněte
Označení programů
Otočení obrazu:
0
AV předvolby
tlačítko OK pro jeho uložení.
Ruční ladění
Prodrobnější nastavení
OK
OK
OTOČENÍ OBRAZU
Nastavení obrazu
Vzhledem k zemské přitažlivosti se může stát, že se
Režim: Osobní
obraz nakloní. V tomto případě ho můžete upravit
Kontrast
Jas
použitím funkce “Otočení obrazu” v režimu menu
Barevná sytost
Ostrost
“Prodrobnějši nastaveni”..
Odstín
Reset
OK
K tomu je třeba:
Po zvolení funkce, stiskněte tlačítko b. Poté
stiskněte v nebo V pro seřízení otočení obrazu v
Instalace
Prodrobnější nastavení
rozmezí od - 5 do + 5. Nakonec stiskněte tlačítko OK
Jazyk/Země
Redukce šumu:
Auto
Automatické ladění
Výstup AV2:
TV
pro jeho uložení.
Třídění programů
TV reproduktory:
Zap
RGB centrování:
0
Označení programů
Otočení obrazu:
0
AV předvolby
Ruční ladění
Prodrobnější nastavení
OK
OK
16 Režim menu na obrazovce

CZ Text.fm Page 17 Tuesday, April 27, 2004 4:20 PM
Teletext
Teletext je informační služba, kterou užívá většina televizních stanic. Na straně s obsahem služeb
teletextu (všeobecně je to strana 100) je poskytnuta informace o tom, jak se užívá tato služba. Pro práci
v teletextu používejte tlačítka dálkového ovladače tak, jak je uvedeno v této kapitole.
Zvolte televizní stanici se silným signálem, jinak může dojít v teletextu k chybám.
Vstup do teletextu:
Zvolte kanál (televizní stanici), který vysílá teletext, který si přejete
TELETEXT
TELETEXT
TELETEXT
TELETEXT
TELETEXT
TELETEXT
TELETEXT
TELETEXT
sledovat, stisknutím tlačítka .
Index
Index
Index
Index
Index
Index
Index
Index
Programme
Programme
Programme
Programme
Programme
Programme
Programme
Programme
25
25
25
25
25
25
25
25
Zvolení stránky teletextu:
News
News
News
News
News
News
News
News
153
153
153
153
153
153
153
153
Sport
Sport
Sport
Sport
Sport
Sport
Sport
Sport
101
101
101
101
101
101
101
101
Pomocí číselných tlačítek dálkového ovládače zadejte tři čísla
Weather
Weather
Weather
Weather
Weather
Weather
Weather
Weather
98
98
98
98
98
98
98
98
představující příslušné číslo stránky, kterou si přejete vidět.
• V případě, že se při volbě zmýlíte, zadejte jakákoliv tři čísla, a poté znovu
zadejte správné číslo stránky.
• Jestliže se počítadlo stránek nezastaví, je to proto, že požadovaná stránka není k dispozici. V tomto
případě zadejte jiné číslo stránky.
Zvolení následující nebo předchozí stránky:
Stiskněte tlačítka PROG + ( ) nebo PROG - ( ).
Překrytí teletextu televizním obrazem:
Zatímco sledujete teletext, stiskněte tlačítko . Opětovným stisknutím se teletextový režim zruší.
Zmrazení teletextové stránky:
Stiskněte tlačítko / . Opětovným stisknutím se zmrazení podstránky zruší.
Odhalení skrytých informací (např. soutěžních odpovědí):
Stiskněte tlačítko / . Opětovným stisknutím se informace opět ukryje.
CZ
Zvolení podstránky:
Jedna stránka teletextu se může skládat z několika podstran. V takovém případě číslo stránky, které se objeví
v horní levé části obrazovky, změní barvu ze bílé na zelenou a vedle něj se objeví jedna nebo několik šipek.
Opakovaně stiskněte tlačítka B nebo b na dálkovém ovladači a požadovaná podstránka se objeví.
Vystoupení z teletextu:
Stiskněte tlačítko .
Fastext
Služba Fastextu nám umožní přístup do požadované stránky teletextu stisknutím pouze jednoho
tlačítka.
Jste-li v teletextu a v případě, že se vysílají signály Fastextu, na spodní části obrazovky se objeví
nabídka barevných kódů, které umožňují přístup přímo k teletextové stránce. K zobrazení této nabídky
stiskněte tlačítko příslušné barvy (červené, zelené, žluté nebo modré) na dálkovém ovladači.
Teletext 17

CZ Text.fm Page 18 Wednesday, May 12, 2004 12:56 PM
Připojení přídavných zařízení
K televizoru je možné připojit různá další zařízení, jak je uvedeno níže. (Přípojné kabely se nedodávají).
MANUFACTURED UNDER LICENCE
FROM DOLBY LABORATORIES
"DOLBY" AND THE DOUBLE - D
SYMBOL ARE TRADEMARKS OF
DOLBY LABORATORIES
(SMARTLINK)
8mm/Hi8/
DVC
kamkordér
S VHS/Hi8/
DVC
kamkordér
A
3
B
3
F
C
(SMARTLINK)
o3
ED
Videorekordér
Hi-Fi
Při zapojení sluchátek se
reproduktory televizoru
PlayStation
*
automaticky vypnou
.
Dekodér
DVD
* “PlayStation” je výrobek Sony Computer
Entertainment, Inc
.
* “PlayStation” je značka registrovaná
jako Sony Computer Entertainment, Inc
.
• Aby se zabránilo zkreslení obrazu nepřipojujte zařízení ke konektorůn A a B současně.
• Nezapojujte žádný Dekodér k Eurokonektoru E.
Připojení videa:
Pro připojení videa, obsáhlejší informace najdete v kapitole “Připojení anteny a videa”. Doporučujeme Vám,
byste pro připojení videa použili kabel typu Eurokonektor. V případě, že nepoužijete tento kabel, budete muset
naladit kanál video signálu ručně pomocí menu “Ruční Ladění” (viz odst.a) na str.13).
Zkonzultujte také návod k obsluze Vašeho videa, kde se dozvíte, jak získáte kanál video signálu.
Připojení videorekordéru, které má k dispozici Smartlink:
Smartlink je přímé propojení mezi televizorem a videorekordérem, které umožňuje přenos určitých
informací. Podrobnější informace o Smartlinku najdete v návodu k obsluze Vašeho videorekordéru.
Jestliže používáte videorekordér, který je opatřen Smartlinkem, doporučujeme Vám, abyste ho připojili
ke konektoru typu Euro 2/ 2 F použitím kabelu typu Eurokonektor.
Pokud máte připojen dekodér ke konektoru typu Euro 2/ 2 F, nebo k videu, které je
připojeno ke zmíněnému Eurokonektoru:
Zvolte funkci “Ruční Ladění” v režimu menu “Instalace” a po zvolení funkce “Dekodér”**, zvolte “Zap”
(použitím v nebo V pro každý kódovaný kaná.
** Dostupnost této funkce závisí na volbě země v menu “Jazyk/Země”.
pokračuje...
18 Doplňkové informace

CZ Text.fm Page 19 Wednesday, May 12, 2004 12:56 PM
Připojení přídavných zařízení
Připojení vnějšího zvukového zařízení:
Chcete-li poslouchat zvuk televizoru v reproduktorech Vaší Hi-Fi věže, připojte Hi-Fi věž k výstupu audio D
a, pomocí systému menu, zvolte “Instalace”. Poté vstupte do funkce “Podrobnější nastavení” a zvolte “Vyp”
v režimu “TV reproduktory”.
Hlasitost vnějších reproduktorů se může regulovat pomocí tlačítek pro nastavení hlasitosti na dálkovém
ovladači televizoru. Také je možné regulovat stupeň výšky a hloubky zvuku pomocí menu “Nastavení
zvuku”.
Také můžete dosáhnout zvukového efektu “Dolby Virtual” pomocí Vaší Hi-Fi věže:
K tomu je třeba umístit reproduktory Hi-Fi věže po obou stranách t
Reproduktory
elevizoru tak, aby vzdálenost mezi televizorem a každým reproduktorem
Vaší Hi-Fi věže
byla přibližně 50cm.
Po umístění reproduktorů zvolte menu “Nastavení zvuku” pomocí
systému menu, a poté zvolte “Dolby Virtual” ve funkci “Efekt”.
50cm 50cm
Optimální pozice pro uživatele
Použití přídavných zařízení
1
Připojte přídavné zařízení přes příslušný konektor televizoru tak, jak je uvedeno na předchozí straně.
2
Zapněte připojené zařízení.
CZ
3
Aby se objevil obraz připojeného zařízení, opakovaně tiskněte tlačítko , dokud se na obrazovce
neobjeví správný vstupní symbol.
Symbol
Vstupní signály
1
• Vstupní audio/video signál přes konektor typu Euro E.
1
• Vstupní signál RGB přes konektor typu Euro E. Tento symbol se objeví pouze v případě,
že je připojen vstup RGB.
2
• Vstupní audio/video signál přes konektor typu Euro F.
2
• Vstupní signál RGB přes konektor typu Euro F. Tento symbol se objeví pouze v případě,
že je připojen vstup RGB.
3
• Vstupní video signál přes konektor RCA B a vstupní audio signál přes C.
S
3
• Vstupní signál pro S video přes konektor S videa A a vstupní signál pro audio přes C.
Tento symbol se objeví pouze v případě, že je připojen vstup S video.
4
Aby se znovu objevil normální televizní obraz, stiskněte tlačítko na dálkovém ovladači.
Připojení monofonních přístrojů
Zástrčku zvuku zapojte do zdířky L/G/S/I na čelním panelu televizoru a zvolte vstup 3 nebo 3
S
postupem popsaným výše. Poté nastavte kanál “Dvoukanál. zvuk” “A” ve zvukové nabidce dle částl
“Nastavení zvuku” tohoto návodu.
Doplňkové informace 19

CZ Text.fm Page 20 Wednesday, May 12, 2004 12:56 PM
Technické údaje
Systém TV Závisí na Vámi zvolené zemi: B/G/H, D/K
Systém kódování
PAL, SECAM, NTSC 3.58, 4.43 (pouze pro video vstup)
barev
Rozložení kanálů VHF: E2-E12
UHF: E21-E69
CATV: S1-S20
HYPER: S21-S41
D/K: R1-R12, R21-R69
Televizní obrazovka Plochá obrazovka FD Trinitron 29 inches (přibližně 73 cm. v úhlopříčce)
Vstupy na zadní
1/ 1 21-pinový konektor typu EURO (norma CENELEC), včetně
straně
vstupu pro audio/video, vstupu RGB, výstupu audio/video z
TV audio/video
2/ 2 21-pinový konektor typu Euro (norma CELENEC), včetně
(SMARTLINK) vstupu pro audio/video, vstupu pro RGB, volitelného výstupu
audio/video a připojení Smartlinku
Výstupy audio (levé/pravé) - konektory RCA
Konektory vpředu 3 Vstup pro S video - 4-pinový DIN
S
3 video vstup - konektor RCA
3 audio vstup - konektory RCA
i zdířka sluchátek
Výstupy zvuku 2 x 20W (hudební výkon), 2 x 10W (RMS)
Příkon 113W
Příkon v režimu
0.3W
časového vypnutí
(pohotovostní režim)
Rozměry (š x v x h) Přibližně. 807mm x 603mm x 543mm
Hmotnost 45kg
Dodané příslušenství 1 dálkový ovládač typ RM-947, 2 baterie typu IEC
Další funkce • Obraz 100Hz
• Teletext, Fastext, TOPtext (250 stran paměti Teletextu
• Automatické zapojení
• Smartlink (přímé propojení mezi televizorem a kompatibilním
videorekordérem. Podrobnější informace o Smartlinku najdete v návodu k
obsluze Vašeho videorekordéru)
• Automatické nalezení systému TV
• Dolby Virtual
• BBE
Úpravy v designu a technických vlastnostech bez předchozího upozornění.
20 Doplňkové informace

CZ Text.fm Page 21 Wednesday, May 12, 2004 12:56 PM
Řešení problémů
Zde jsou některá řešení problémů, které mohou ovlivnit obraz i zvuk.
Problém Řešení
Není obraz (černá obrazovka) a není zvuk. • Zkontrolujte zapojení antény.
• Zapojte televizor do zásuvky a stiskněte tlačítko
na čelní straně aparátu.
• Pokud na televizoru svítí indikátor , stiskněte
tlačítko TV na dálkového ovladače.
Špatný nebo žádný obraz, ale zvuk je dobr. • Pomocí Režimu menu vstupte do “Nastavení
obrazu” a zvolte “Reset” pro obnovení továrního
nastavení.
Není obraz nebo není informační menu
• Zkontrolujte zapojení přídavného zařízení a několikrát
přídavného zařízení připojeného přes
stiskněte tlačítko na dálkovém ovladači, dokud
Eurokonektor na zadní části televizoru.
se správný vstupní symbol neobjeví na obrazovce.
Dobrý obraz, ale bez zvuku. • Stiskněte tlačítko +/- na dálkovém ovládači.
• Přesvěčte se, zda funkce “TV reprodukotry”, režimu
menu “Podrobnější nastavení”, je zvolena v pozici
“Zap”.
• Zkontrolujte, jsou-li sluchátka odpojeny.
Barevné pořady nejsou barevné. • Pomocí Režimu menu vstupte do “Nastavení
obrazu” a zvolte “Reset” pro obnovení továrního
nastavení.
Obraz je zkreslený při změně programu nebo při
• Na zadní straně televizoru vypněte zařízení připojené
zvolení teletextu.
přes 21-kolíkový Euro-konektor.
Chybné zobrazování písmen a znaků se projeví
• Vstupem do nabídky Menu se dostanete až do
CZ
při sledování teletextu.
úrovně nastavení “Instalace/Jazyk/Země”, zde
zvolíte příslušný jazyk a zemi, kde je televizor
instalován a jejíž vysílání televizor přijíma. Pro země
kde se používají písmena a znaky z Cyrilice a jejich
název se nezobrazí v nabídce doporučujeme použít
nastavení televizoru pro Rusko. Takto se předejdete
chybnému zobrazování Cyrilichých písmen a znaků v
teletextu.
Obraz je nakloněný. •
Pomocí Režimu menu zvolte funkci “Otočení obrazu”
v
režimu menu “Podrobnější nastavení” a upravte
naklonění.
Šum v obrazu. • Pomocí Režimu menu zvolte funkci “AFT” v režimu
menu “Ruční Ladění” a ručně dolade. Tak dosáhnete
lepšího příjmu obrazu.
• Pomocí Režimu menu zvolte funkci “Redukce
Šumu” v režimu menu “Pokročilé Vybavení” a zvolte
“Auto” pro zredukování šumu v obrazu.
Při sledování kanálu kodifikovaného pomocí
• Pomocí systému menu, vstupte do režimu menu
dekodéru, který je připojený k Eurokonektoru
“Instalace”. Poté vstupte do funkce “Prodrobnější
2/ 2, obraz se správně nedekóduje nebo
nastavení” a zvolte “Výstup AV2” v režimu “TV”.
je nestálý.
• Přesvedčte se, že Dekodér není zapojený k
Eurokonektoru 1/ 1.
Dálkový ovládač nefunguje. • Vložte nové baterie.
Indikátor dočasného vypnutí televizoru
• Obrate se na nejbližší autorizovaný servis Sony.
(pohotovostní režim) bliká.
• Pokud se závady nepodařilo odstranit, nechte televizor prověřit oprávněným odborníkem.
• Kryt NIKDY neodnímejte sami.
Doplňkové informace 21

Untitled1.fm Page 1 Thursday, March 25, 2004 9:27 AM

HU text.fm Page 3 Wednesday, April 28, 2004 2:21 PM
Bevezetés
Köszönjük, hogy ezt a Sony FD Trinitron tökéletesen sík képernyős televíziót
választotta.
A televízió használata előtt figyelmesen olvassa el ezt az útmutatót és őrizze meg jövőbeni
referenciákhoz.
• Az útmutatóban használt jelképek:
• Fontos információ.
• A távvezérlő árnyékolt gombjai mutatják a
• Információ a funkcióról.
különböző utasítások végrehajtásához
• 1,2... Követendő utasítás sor.
megnyomandó gombokat.
• Információ az utasítások eredményéről.
Tartalomjegyzék
Bevezetés ................................................................................................................................................ 3
Biztonsági előírások................................................................................................................................. 4
Általános leírás
A távvezérlő gombjainak áttekintése....................................................................................................... 5
A televíziő gombjainak áttekintése ......................................................................................................... 6
Üzembehelyezés
Az elemek behelyezése a távvezérlőbe ................................................................................................... 6
Az antenna és a videomagnó csatlakoztatása ....................................................................................... 6
Első üzembehelyezés
A TV bekapcsolása és automatikus hangolás ........................................................................................ 7
A képernyőn megjelenő menürendszerek
Bevezetés a képernyő menürendszereibe és azok használata ............................................................... 9
Útmutató a menükhöz:
Képbeállítás .................................................................................................................................... 9
Hangszabályozás............................................................................................................................ 10
Kikapcsolás időzítő......................................................................................................................... 11
Nyelv/Ország .................................................................................................................................. 11
HU
Automatikus hangolás .................................................................................................................... 11
Programhelyek átrendezése ........................................................................................................... 12
Programnevek ................................................................................................................................12
AV beállítás ..................................................................................................................................... 12
Kézi hangolás ................................................................................................................................. 13
Zajzár.............................................................................................................................................. 15
AV3 Kimenet ................................................................................................................................... 15
TV hangszóró.................................................................................................................................. 15
RGB pocicionálás ........................................................................................................................... 16
Képelforgatás ................................................................................................................................. 16
Teletext.................................................................................................................................................. 17
Kiegészítő információ
Választható készülékek csatlakoztatása ................................................................................................. 18
Választható készülékek használata ......................................................................................................... 19
Műszaki jellemzők.................................................................................................................................... 20
Problémamegoldás...................................................................................................................................21
Tartalomjegyzék 3

HU text.fm Page 4 Wednesday, April 28, 2004 2:21 PM
Biztonsági előírások
Energiatakarékossági és biztonsági okok
miatt ne hagyja a készüléket készenléti
Kizárólag 220-240 V-os hálózati
üzemmódban, amikor nem használja.
Ne dugjon semmilyen tárgyat a
váltakozó feszültséggel üzemeltesse a
Hosszabb távollét esetén húzza ki a
készülékbe, mert ezzel tüzet és
hálózati csatlakozó vezetéket a fali
áramütést okozhat. Ha a szellőző
készüléket. Ne csatlakoztasson túl sok
konnektorból. Ügyelni kell viszont arra,
nyílásokon keresztül bármilyen szilárd
készüléket ugyanahhoz az aljzathoz,
hogy egyes készülékek bizonyos funkciói
test, vagy folyadék kerül a készülék
mert a túlterhelés tüzet okozhat.
csak a készenléti állapotban mûködnek.
belsejébe, húzza ki a hálózati csatlakozó
A használati útmutató errõl egyértelmûen
vezetéket. Azonnal ellenőriztesse
tájékoztatást nyújt a késõbbi
fejezetekben.
szakemberrel!
Soha ne nyissa ki a készülék hátsó
Viharos időjárás, villámlás idején saját
Az áramütés és a tűz veszélyének
burkolatát. A javítást bízza
biztonsága érdekében ne érintse meg
elkerülése érdekében óvja a TV
szakemberre.
a készüléket, a hálózati csatlakozó
készüléket esőtől és nedvességtől.
vezetéket és az antennakábelt.
A készülék szellőzőnyílásait hagyja
Ne állítsa a készüléket szélsőségesen
A tűz veszélyének elkerülése
szabadon. A megfelelő szellőzés
meleg, párás vagy poros helyre, vagy
érdekében ne tegyen a készülék
érdekében a készülék minden
olyan helyre, ahol mechanikai
közelébe gyúlékony tárgyakat, ne
oldalánál hagyjon legalább 10 cm-es
vibrációnak lehet kitéve.
gyújtson nyílt lángot (ne égessen pl.
szabad területet.
gyertyát).
A tv készüléket puha, enyhén
megnedvesített ruhával tisztítsa. Ne
A hálózati csatlakozó kihúzásánál a
Ne tegyen nehéz tárgyat a hálózati
használjon karcoló eszközt, alkáli
csatlakozó dugót fogja meg, és ne a
vezetékre, mert megsérülhet.
anyagot tartalmazó tisztítószert,
vezetéket.
Javasoljuk, hogy a felesleges
súrolóport vagy oldószereket (hígitót
vezetéket csévélje fel a tv készülék
vagy benzint). Óvja a képernyőt a
hátulján lévő tartóra.
karcolásoktól. Biztonsági okokból
húzza ki a készülék hálózati vezetékét,
mielőtt a tisztítást elkezdi.
A TV készüléket stabil állványra
Mozgatás előtt húzza ki a hálózati
Ne takarja le a készülék
helyezze. Soha se próbálja a
csatlakozót a konnektorból. A
szellőzőnyílásait pl. függönnyel,
készüléket az állvánnyal együtt
készüléket óvatosan szállítsa, kerülje
újsággal, stb.
mozgatni mindig külön mozgassa a
a zötykölődős utcákat, óvja a
tévét és az állványt. Ne engedje, hogy a
készüléket ütéstől, rázkódástól.
gyerek felmásszon a TV-re. Ne
fordítsa a TV készüléket az oldalára,
vagy a képernyővel felfelé.
4 Biztonsági előírások

HU text.fm Page 5 Wednesday, April 28, 2004 2:21 PM
A távvezérlő gombjainak áttekintése
1 A televízió ideiglenes kikapcsolása:
1
Nyomja meg a televízió ideiglenes kikapcsolásához (a készenléti
üzemmód jelző kigyullad). Nyomja meg újra a készenléti
üzemmódból (standby) való bekapcsoláshoz.
2
Az energiamegtakarítás érdekében ajánlatos a televíziót teljesen
kikapcsolni, ha azt nem használja.
Amennyiben 15 perc elteltével nincsen televíziójel és semmilyen
3
gombot nem nyomtak le, a televízió automatikusan készenléti
üzemmódba (standby) kapcsol.
qj
4
qh
5
2 A bemenő forrás kiválasztása:
Nyomja meg egymás után többször, amíg a kívánt bemenő forrás
qg
6
jelképe megjelenik a képernyőn.
qf
7
3 Csatornaválasztás:
Megnyomásukkal adja meg a kívánt programhelyeket. videomagnó.
8
Kétjegyű programszámok esetén 2,5 másodpercen belül nyomja
meg a második számjegyet.
qd
9
4 Előző csatorna gomb:
Nyomja meg az utolsó választott csatornára való visszatéréshez (az
előző csatorna legalább 5 másodpercig kell képernyőn maradjon
előzőleg).
qs
q;
5 Ez a gomb csak teletext üzemmódban működik.
qa
6 Ez a gomb csak teletext üzemmódban működik.
7 A teletext kiválasztása:
Nyomja meg a teletext megjelenítéséhez.
8 Vezérlőtárcsa:
• Amikor a MENU aktivált, használja ezeket a gombokat a
menürendszerben való mozgáshoz. További információt a 9.
oldalon, a “Bevezetés a képernyő menürendszereibe és azok
használata“ c. fejezetben talál.
• Amikor a MENU nem aktivált, nyomja meg OK-t a behangolt
csatornák listájának megjelenítéséhez. v vagy V megnyomásával
válassza ki a csatornát (televízióadót), majd ezt követően nyomja
meg OK-t a kiválasztott csatorna nézéséhez.
9 A képernyő méret kiválasztása:
qf A TV üzemmód kiválasztása:
HU
Nyomja meg többször egymás után a képernyő
Nyomja meg a teletext vagy a videobemenet
méretének változtatásához. 4:3 a megszokott
kikapcsolásához.
képhez vagy 16:9 a széles képernyő utánzásához.
qg A hangeffektus kiválasztása:
q; Csatornaválasztás:
Nyomja meg többször egymás után ezt a gombot
Nyomja meg az előző vagy a következő csatorna
a hangeffektus változtatásához.
kiválasztásához.
qh A kép üzemmód kiválasztása:
qa A hang elnémítása:
Nyomja meg egymás után többször a kép
Nyomja meg a hang elnémításához. A hang
üzemmód kiválasztásához.
visszakapcsolásához nyomja meg újra.
qj Információ megjelenítése a képernyőn:
qs Hangerő szabályozás:
Nyomja meg az összes utasítás képernyőn
Nyomja meg a televízió hangerejének
történő megjelenítéséhez. Nyomja meg újra
szabályozásához.
annak törléséhez.
qd A menürendszer bekapcsolása:
Nyomja meg a menü képernyőn való
megjelenítéséhez. Nyomja meg újra annak
kikapcsolásához, a televízió normál
képernyőjéhez való visszatéréshez.
A televízió funkcióin kívül, minden színes gomb használható a teletexttel történő műveletekhez is.
További információt a használati utasítás “Teletext” c. fejezetében talál.
Általános leírás 5

HU text.fm Page 6 Wednesday, May 12, 2004 2:11 PM
A televízió gombjainak általános leírása
A következő vagy az
előző program
kiválasztására szolgáló
gomb (a
televízió
csatornákat választja ki)
Hangerõ szabályozó
gombok
A televízió újbóli
beindítására
3
A bemenő forrást
szolgáló gomb
kiválasztó gomb
Készenléti
üzemmód
Video
3
(standby) jelző
S Video
bemenet
bemenet
A TV oldalán található
fedelet megnyomva
Audio
tudja azt kinyitni a
bemenet
csatlakozó aljzatok
o3
használatához
Fülhallgató
Bekapcsolás /
bemenet
Kikapcsolás
gomb
Az elemek behelyezése a távvezérlőbe
Győződjön meg arról, hogy az elemeket a polaritásoknak megfelelő helyzetben helyezi be.
Óvja környezetünket! A használt elemeket az erre a célra kijelölt gyüjtőhelyen helyezze el.
O
C
Y
N
O
S
N
I
O
T
R
A
O
P
R
/4
N
P
A
J
A
PAN
/4
TION JA
SONY CORPORA
Az antenna és a videomagnó csatlakoztatása
A csatlakozó vezetékek nincsenek mellékelve.
Videomagnó
(SMARTLINK)
Vagy
MANUFACTURED UNDER LICENCE
FROM DOLBY LABORATORIES
"DOLBY" AND THE DOUBLE - D
SYMBOL ARE TRADEMARKS OF
DOLBY LABORATORIES
(SMARTLINK)
(SMARTLINK)
Az eurocsatlakozóval történő csatlakoztatás választható
A videomagnó csatlakoztatására vonatkozó további részleteket lásd a használati
utasítás “Választható készülékek csatlakoztatása” c. fejezetében
6 Általános leírás Üzembehelyezés

HU text.fm Page 7 Wednesday, April 28, 2004 2:21 PM
A TV bekapcsolása és automatikus hangolás
A televízió első bekapcsolásakor menüsorok jelennek meg a képernyőn, melyekkel 1) kiválaszthatja a
menük nyelvét, 2) kiválaszthatja az országot, ahol a készüléket használni kívánja, 3) a képdőlés
beállítása, 4) automatikusan megkeresheti és tárolhatja az összes rendelkezésre álló csatornát
(televízióadót) és 5) megváltoztathatja a csatornák (televízióadók) képernyőn való megjelenésének
sorrendjét.
Mindazonáltal, ha a jövőben ezen beállítások bármelyikét módosítani kívánja, azt a megfelelő
opciójának kiválasztásával teheti (Beállítás menü) vagy a televízió újraindító gombjának
megnyomásával.
1
Csatlakoztassa a televízió csatlakozóját a hálózati aljzatba (220-
240 V váltakozó feszültség, 50Hz).
A televízió első bekapcsolásakor ez automatikusan kigyullad.
Amennyiben ez nem így van, nyomja meg az előlap
bekapcsolás/ kikapcsolás gombját ahhoz, hogy kigyulladjon.
A televízió első bekapcsolásakor a képernyőn automatikusan
megjelenik a Language (Nyelv) menü.
2
Nyomja meg a távvezérlő v vagy V gombját a nyelv
Language
kiválasztásához, majd ezt követően nyomja meg az OK gombot a
i
v
Svenska
választás megerősítésére. Ettől kezdve minden menü a választott
Norsk
English
nyelven jelenik meg.
Nederlands
Français
Italiano
i
V
Select Language:
OK
3
A képernyőn automatikusan megjelenik az Ország menü. Nyomja
Ország
meg a v vagy V gombot, majd ezt követően nyomja meg az OK
i
v
Sverige
gombot a választás megerősítésére.
Norge
-
Italia
Deutschland
• Amennyiben a listán nem jelenik meg azon ország, ahol a
HU
Österreich
i
V
televíziót használni fogja, válassza “-“ -t az ország helyett.
Ország kivál:
OK
• Annak érdekében, hogy a cirill betük helyesen jelenjenek
meg a képernyőn, az országok listájából válassza
Oroszországot (Russia), ha a lista nem tartalmazza az Ön
hazáját.
4
A földmágnesesség következtében előfordulhat, hogy a kép
ferdén jelenik meg. Szükség esetén a Képelforgatás lehetővé
Ha a kép ferde, kérjük
állítsa be a kellő pozíciót.
teszi a kép beállítását.
a) Ha nem szükséges, nyomja meg v vagy V a nem szükséges
nem szükséges
beállítás
kiválasztásához, majd nyomja meg az OK-t.
b) Ha szükséges, nyomja meg a v vagy V a beállítás
OK
kiválasztásához, majd nyomja meg az OK-t. Ezt követően
nyomja meg v vagy V a képdőlés 5 és +5 közötti
beállításához. Végezetül nyomja meg az OK-t a rögzítéshez.
folytatódik...
Első üzembeheyezés 7

HU text.fm Page 8 Wednesday, April 28, 2004 2:21 PM
A TV bekapcsolása és automatikus hangolás
5
Az Automatikus hangolás menü megjelenik a képernyőn. Nyomja
meg az OK gombot az Igen kiválasztásához.
Szeretné elindítani az
automatikus hangolást?
Igen
Nem
OK
6
A televízió elkezdi automatikusan hangolni és rögzíteni az összes
rendelkezésre álló csatornát (televízióadót).
Automatikus hangolás
Hangolás:
01
Rendszer:
B/G
Ez a művelet eltarthat néhány percig. Legyen türelemmel és
Csatorna:
C21
ne nyomjon meg egyetlen gombot sem a hangolás folyamata
alatt, mivel ellenkező esetben a folyamat nem fejeződik be.
Keresés...
Ha a televízió nem talált egyetlen csatornát (televízióadót)
sem az automatikus hangolás végrehajtása után, a
Csatorna nem található.
képernyőn megjelenik egy üzenet, mely kéri, hogy
Csatlakoztassa az antennát.
csatlakoztassa az antennát. Kérjük csatlakoztassa azt úgy,
Megerősít
ahogyan a kezelési útmutató 6. oldalán le van írva, majd
nyomja meg az OK-t. Az automatikus hangolás újból
OK
megindul.
7
Miután a televízió hangolta és rögzítette az összes csatornát
Programhely-átrendezés
(televízióadót), a képernyőn automatikusan megjelenik a
Hangolás:
Programhely- átrendezés menü, hogy megváltoztathassa a
01 TVE
02 TVE2
csatornák képernyőn történő megjelenésének sorrendjét.
03 TV3
04 C33
05 C27
06 C58
a) Ha nem kívánja a csatornák sorrendjét megváltoztatni, menjen
Csatorna választása:
Kilépés:
MENU
OK
a 8. lépéshez.
b) Ha meg kívánja változtatni a csatornák sorrendjét:
Programhely-átrendezés
1 Nyomja meg a v vagy V gombot a programszám
Hangolás:
01 TVE
kiválasztásához a csatornával(televízióadó), melynek helyét
02 TVE2
03 TV3
meg kívánja változtatni, majd ezt követően nyomja meg a b.
04 C33
05 C27
2 Nyomja meg a v vagy a V az új programszám
06 C58 05 C27
Új programhely vál.:
kiválasztásához, melyen a kiválasztott csatornát
Kilépés:
MENU
OK
(televízióadót) rögzíteni kívánja, majd nyomja meg a B.
3 Ismételje meg a b1) és b2) lépést egyéb televíziócsatornák
újbóli átrendezéséhez.
8
Nyomja meg a MENU gombot a normális televízióképhez való
visszatéréshez.
MENU
A televízió működésre kész.
8 Első üzembeheyezés

HU text.fm Page 9 Wednesday, April 28, 2004 2:21 PM
Bevezetés a képernyő menürendszereibe és azok használata
Ez a televízió egy a képernyőn megjelenő menürendszert alkalmaz a különböző műveletekben való
eligazodáshoz. Használja a távvezérlő következő gombjait a menükben történő mozgáshoz:
1
Nyomja meg a MENU gombot, hogy a menü első szintje
MENU
megjelenjen a képernyőn.
2
• A kívánt menü vagy opció kiemeléséhez nyomja meg v vagy V.
• A választott menübe vagy opcióba történő belépéshez nyomja
meg b.
• A menübe vagy az előző opcióhoz való visszatéréshez nyomja
meg B
.
• A választott opció beállításainak módosításához nyomja meg v/
V/B vagy b.
• Választásának megerősítésére és rögzítésére nyomja meg az
OK.
3
Nyomja meg a MENU gombot a normális televízióképhez való
MENU
visszatéréshez.
Útmutató a menükhöz
1. szint 2. szint 3. szint / funkció
KÉPBEÁLLÍTÁS
Képbeállítás
Képbeállítás
A “Képbeállítás” menü a kép beállításainak
Üzemmód: Egyéni
Üzemmód: Egyéni
módosítását teszi lehetővé.
Kontraszt
Kontraszt
Fényerő
Fényerő
Színtelítetség
Színtelítetség
Képélesség
Képélesség
Ehhez:
Színárnyalat
Színárnyalat
HU
Törlés
Törlés
Az Ön által módosítani kívánt opció kiválasztása
OK
OK
után, nyomja meg a b. Ezt követően többször
egymás után nyomja meg a v/V/B vagy b a beállítás
módosításához, majd végezetül nyomja meg az
OK-t a rögzítéshe.
Ez a menü szintén lehetővé teszi a kép üzemmód
módosítását az Ön által nézett program típusának
megfelelően:
v Egyéni (egyéni ízléshez).
v Élő (élő televíziós közvetítéseknél, DVD és Digital
Set Top Box vevőegységnél).
v Mozi (filmekhez).
• A Fényerő, a Színtelítettség és a Képélesség csak akkor módosítható, ha az Egyéni képernyő
üzemmódot választotta ki.
• A Színárnyalat csak az NTSC színrendszerhez áll rendelkezésre (pl.: USA videokazetták).
• A gyárilag beállított képbeállítások visszaállításához válassza ki a Törlés-t majd nyomja meg az OK-t.
folytatódik...
A képernyőn megjelenő menürendszerek 9

HU text.fm Page 10 Wednesday, April 28, 2004 2:21 PM
Bevezetés a képernyő menürendszereibe és azok használata
1. szint 2. szint 3. szint / funkció
HANGSZABÁLYOZÁS
Képbeállítás
A “Hangszabályozás” menü lehetővé teszi a
Üzemmód: Egyéni
hangbeállítások módosítását.
Kontraszt
Fényerő
Színtelítetség
Képélesség
Ehhez:
Színárnyalat
Törlés
A a módosítani kívánt opció kiválasztása után,
OK
nyomja meg a b gombot. Ezt követően nyomja meg
többször egymás után a v/V/B vagy b a beállítás
módosításához, majd végezetül nyomja meg az OK-t
a rögzítéshe.
Hangszabályozás
Hangszabályozás
Effekt: Természetes
Effekt: Természetes
Magas hangszín
Magas hangszín
Mély hangszín
Mély hangszín
Balansz
Balansz
Törlés
Törlés
Kettős hang: Mono
Kettős hang: Mono
Auto hangerő: Be
Auto hangerő: Be
OK
OK
Effekt bvTermészetes: A “BBE High Definition Sound System” *-en keresztül kiemeli a hang
élességét, részleteit és jelenlétét.
v Dinamikus: A “BBE High Definition Sound System” * felerősíti a hang élességét
és jelenlétét, jobban kivehető hangot és valósabb zenét adva.
v Dolby**Virtual: A “Dolby Pro Logic Surround” hangját utánozza.
v Ki: Speciális hangeffektusok nélkü.
Magas hangszín
bBKevésbé b Több
Mély hangszínbBKevésbé b Több
Balansz bBBal b Jobb
Törlés Visszaállítja a gyárban beállított hangszinteket.
K
Kettős hang b • Sztereo adásokhoz:
v Mono.
v Stereo.
• Kétnyelvű adásokhoz:
v Mono (mono csatornához, ha rendelkezésre áll).
v A (az 1. csatornához).
v B (az 2. csatornához).
Auto hangerőbvKi: A hangerő a sugárzott jel függvényében változik.
v Be:A hangerő a sugárzott jeltől függetlenül ugyanaz marad (pl.: hírdetések).
• Ha fülhallgatón keresztül hallgatja a televíziót, az “Effekt” opció automatikusan Ki pozícióra vált.
• Ha az Dolby Virtual -ban beállítja a “Effekt” -t, az Auto hangerő automatikusan Ki pozícióba kapcsol
és fordítva.
* A BBE High Definition Sound System-et a Sony Corporation gyártja a BBE Sound, Inc. licence
alapján. Az 4,638,258 és No. 4,482,866 sz. USA szabadalommal védve. A “BBE” szó és “BBE”
jelkép a BBE Sound, Inc. kereskedelmi márkái.
**Ezt a televíziót a “Dolby Surround” hangeffektus kiadásához tervezték, mely 4 hangszóró hangját
utánozza a televízió két hangszórójával. Ez csak akkor lehetséges, ha az adó audio jele “Dolby
Surround”. Ezenkívül még javíthatja a hangeffektust egy külső erősítő csatlakoztatásával. További
információt a 19. oldalon, a “Külső” audio készülék csatlakoztatása c. fejezetben talál.
**Gyártva a Dolby Laboratories szabadalmi engedélye alapján. “Dolby” , “Pro Logic” és a dupla D
jelkép, a Dolby Laboratories védjegye.
folytatódik...
10 A képernyőn megjelenő menürendszerek

HU text.fm Page 11 Wednesday, April 28, 2004 2:21 PM
Bevezetés a képernyő menürendszereibe és azok használata
1. szint 2. szint 3. szint / funkció
KIKAPCSOLÁS IDŐZÍTŐ
Képbeállítás
Az “Időzítő ” menün belüli “Kikapcs. Időzítő ” opció
Üzemmód: Egyéni
lehetővé teszi egy olyan időtartam kiválasztását,
Kontraszt
Fényerő
melynek elteltével a televízió automatikusan
Színtelítetség
Képélesség
készenléti üzemmódba (standby) kapcsol.
Színárnyalat
Törlés
OK
Ehhez:
Az opció kiválasztása után nyomja meg b. Ezt
követően nyomja meg v vagy V az időtartam
kiválasztásához (legfeljebb 4 óra).
Időzítő
Időzítő
Kikapcs. időzítő:
Ki
Kikapcs. időzítő:
Ki
• Ha meg kívánja tekinteni a kikapcsolásig
fennmaradó időt miközben a televíziót nézi,
nyomja meg a gombot.
• Egy perccel a televízió készenléti üzemmódba
OK
OK
kapcsolása előtt a fennmaradó idő megjelenik a
képernyőn.
NYELV/ ORSZÁG
A “Beállítás ” menün belüli “Nyelv/ Ország” opció
Képbeállítás
Üzemmód: Egyéni
lehetővé teszi a képernyőn megjelenő menük
Kontraszt
Fényerő
nyelvének kiválasztását. Lehetővé teszi azon ország
Színtelítetség
Képélesség
kiválasztását is, ahol a televíziót használni kívánja.
Színárnyalat
Törlés
Ehhez:
OK
Az opció kiválasztása után nyomja meg b, majd ezt
követően járjon el a A TV bekapcsolása és
automatikus hangolás c. fejezet 2. és 3. (a 7.
Beállítás
Beállítás
oldalon) lépéseiben leírtak szerint.
Nyelv/Ország
Nyelv/Ország
Automatikus hangolás
Automatikus hangolás
Programhely-átrendezés
Programhely-átrendezés
Programnevek
Programnevek
AV beállítás
AV beállítás
Kézi hangolás
Kézi hangolás
Részlet beállítása
Részlet beállítása
OK
OK
HU
AUTOMATIKUS HANGOLÁS
Képbeállítás
A “Beállítás” menün belüli “Automatikus
Üzemmód: Egyéni
hangolás” opció lehetővé teszi, hogy a televízió az
Kontraszt
Fényerő
összes rendelkezésre álló csatornát (televízióadót)
Színtelítetség
Képélesség
megkeresse és elraktározza.
Színárnyalat
Törlés
OK
Ehhez:
Az opció kiválasztása után nyomja meg b, majd ezt
követően járjon el a “A TV bekapcsolása és
automatikus hangolás” c. fejezet 5. és 6. (a 8.
Beállítás
Beállítás
Nyelv/Ország
Nyelv/Ország
oldalon) lépéseiben leírtak szerint.
Automatikus hangolás
Automatikus hangolás
Programhely-átrendezés
Programhely-átrendezés
Programnevek
Programnevek
AV beállítás
AV beállítás
Kézi hangolás
Kézi hangolás
Részlet beállítása
Részlet beállítása
OK
OK
folytatódik...
A képernyőn megjelenő menürendszerek 11

HU text.fm Page 12 Wednesday, April 28, 2004 2:21 PM
Bevezetés a képernyő menürendszereibe és azok használata
1. szint 2. szint 3. szint / funkció
PROGRAMHELYEK ÁTRENDEZÉSE
Képbeállítás
A “Beállítás” menün belüli “Programhely-
Üzemmód: Egyéni
átrendezés” opció lehetővé teszi a csatornák
Kontraszt
Fényerő
(televízióadók) televízión való megjelenési
Színtelítetség
Képélesség
sorrendjének megváltoztatását.
Színárnyalat
Törlés
Ehhez:
OK
Az opció kiválasztása után nyomja meg b, majd ezt
követően járjon el a “A TV bekapcsolása és
automatikus hangolás” c. fejezet 7. b) (a 8. oldalon)
Beállítás
Beállítás
Nyelv/Ország
Nyelv/Ország
lépésében leírtak szerint.
Automatikus hangolás
Automatikus hangolás
Programhely-átrendezés
Programhely-átrendezés
Programnevek
Programnevek
AV beállítás
AV beállítás
Kézi hangolás
Kézi hangolás
Részlet beállítása
Részlet beállítása
OK
OK
PROGRAMNEVEK
A “Beállítás” menün belüli “Programnevek” opció
Képbeállítás
Üzemmód: Egyéni
lehetővé teszi, hogy egy legfeljebb öt karakterből
Kontraszt
Fényerő
álló névvel lásson el egy csatornát.
Színtelítetség
Képélesség
Színárnyalat
Törlés
Ehhez:
OK
1 Az opció kiválasztása után nyomja meg b, majd
ezt követően nyomja meg v vagy V az elnevezni
kívánt csatorna számának kiválasztásához.
Beállítás
Beállítás
2 Nyomja meg b. A Címke oszlop első elemének
Nyelv/Ország
Nyelv/Ország
kiemelésével nyomja meg v vagy V egy bet«,
Automatikus hangolás
Automatikus hangolás
Programhely-átrendezés
Programhely-átrendezés
szám kiválasztásához vagy “ -“ egy üres hely
Programnevek
Programnevek
AV beállítás
AV beállítás
kiválasztásához, majd ezt követően nyomja meg
Kézi hangolás
Kézi hangolás
Részlet beállítása
Részlet beállítása
b a karakter megerősítéséhez. A többi négy
OK
OK
karaktert ugyanígy válassza ki. Végezetül nyomja
meg OK-t a rögzítéshez.
AV BEÁLLÍTÁS
A “Beállítás” menün belüli “AV beállítás” opció
Képbeállítás
lehetővé teszi, hogy elnevezzen egy, a televízióhoz
Üzemmód: Egyéni
csatlakoztatott külső készüléket.
Kontraszt
Fényerő
Színtelítetség
Képélesség
Ehhez:
Színárnyalat
Törlés
1 Az opció kiválasztása után nyomja meg b, majd
OK
ezt követően nyomja meg v vagy V az elnevezni
kívánt bemeneti forrás kiválasztásához (AV1
vagy AV2 a televízió hátsó részén lévő
eurocsatlakozókhoz csatlakoztatott választható
Beállítás
Beállítás
Nyelv/Ország
Nyelv/Ország
készülékekhez és AV3 az elülső aljzatokhoz). Ezt
Automatikus hangolás
Automatikus hangolás
követően nyomja meg b.
Programhely-átrendezés
Programhely-átrendezés
Programnevek
Programnevek
2 A “Címke” oszlopban automatikusan megjelenik
AV beállítás
AV beállítás
Kézi hangolás
Kézi hangolás
egy előre meghatározott címke:
Részlet beállítása
Részlet beállítása
a) Ha az előre meghatározott hat címke (CABLE,
OK
OK
GAME, CAM, DVD, VIDEO vagy SAT)
valamelyikét akarja használni, nyomja meg v
vagy V annak kiválasztásához, majd végezetül
nyomja meg OK-t a rögzítéshez.
b) Ha saját címkét akar készíteni, válassza
Módosít-t és nyomja meg b. Ezt követően, az
első elem kiemelésével, nyomja meg b egy
betű, szám kiválasztásához vagy “-“ egy üres
hely kiválasztásához, majd ezt követően
nyomja meg b a karakter megerősítéséhez. A
többi négy karaktert ugyanígy válassza ki,
majd végezetül nyomja meg OK-t a
rögzítéshez.
folytatódik...
12 A képernyőn megjelenő menürendszerek

HU text.fm Page 13 Wednesday, April 28, 2004 2:21 PM
Bevezetés a képernyő menürendszereibe és azok használata
1. szint 2. szint 3. szint / funkció
KÉZI HANGOLÁS
Képbeállítás
A “Beállítás” menün belüli “Kézi hangolás” opció
Üzemmód: Egyéni
lehetővé teszi:
Kontraszt
Fényerő
Színtelítetség
Képélesség
a) A csatornák (televízióadók) egyenkénti és a
Színárnyalat
Törlés
kívánt sorrendben történ ő beállítását valamint
OK
egy videobemenet beállítását.
Ehhez:
Beállítás
Beállítás
1 A “Kézi hangolás” opció kiválasztása után
Nyelv/Ország
Nyelv/Ország
nyomja meg b. A“Hangolás” opció
Automatikus hangolás
Automatikus hangolás
Programhely-átrendezés
Programhely-átrendezés
kiemelésével nyomja meg b, majd ezt követően
Programnevek
Programnevek
AV beállítás
AV beállítás
nyomja meg v vagy V a programszám (hely)
Kézi hangolás
Kézi hangolás
Részlet beállítása
Részlet beállítása
kiválasztásához, melyen a televízióadót vagy
OK
OK
videocsatornát beállítani kívánja (a
videocsatornához ajánlatos a “0” program
kiválasztása). Nyomja meg B.
2 A következő opció attól függően jelenik
meg, hogy az “Nyelv/Ország” menüben
melyik országot választotta.
A Rendszer opció kiválasztása után nyomja meg
b, majd ezt követően nyomja meg v vagy V a
televízió sugárzási rendszerének kiválasztásához
(B/G Nyugat-Európában vagy D/K Kelet-
Európában). Nyomja meg B.
3 A Csatorna opció kiválasztása után nyomja meg
b, majd ezt követően nyomja meg v vagy V a
csatorna típusának kiválasztásához ( “C”földi
csatornákhoz vagy “S” kábelcsatornákhoz).
Nyomja meg b. Ezt követően nyomja meg a
számgombokat a televízióadó csatorna vagy a
HU
videocsatorna jel számának közvetlen
beviteléhez. Ha nem ismeri a csatornaszámot,
nyomja meg v vagy V annak megkereséséhez.
Amikor a rögzíteni kívánt csatornát megtalálta,
nyomja meg az OK-t kétszer.
Ismételje meg ezeket a lépéseket további
csatornák beállításához és rögzítéséhez.
b) Csatornák elnevezése legfeljebb öt karakterből
álló névvel.
Ehhez:
A Hangolás opció kiemelésével nyomja meg a
PROG +/- az elnevezni kívánt program számának
megjelenéséig. Amikor ez megjelenik a
képernyőn, válassza a Címke opciót, majd ezt
követően nyomja meg b. Nyomja meg v vagy V
egy betű, szám vagy “-“ egy bet«köz
kiválasztásához, majd nyomja meg b a karakter
megerősítéséhez. A további négy karaktert
ugyanilyen módon válassza ki. Az összes
karakter kiválasztása után nyomja meg kétszer az
OK-t a rögzítéshez.
folytatódik...
A képernyőn megjelenő menürendszerek 13

HU text.fm Page 14 Wednesday, May 12, 2004 2:13 PM
Bevezetés a képernyő menürendszereibe és azok használata
1. szint 2. szint 3. szint / funkció
c) Annak ellenére, hogy az automatikus
Képbeállítás
finomhangolás (AFT) mindig be van kapcsolva,
Üzemmód: Egyéni
Kontraszt
azt kézileg is be tudja állítani a jobb képvétel
Fényerő
Színtelítetség
érdekében, amennyiben a kép torzítva jelenik
Képélesség
Színárnyalat
meg.
Törlés
Ehhez:
OK
Azon csatorna (televízióadó) nézése közben,
melyen a finomhangolást el kívánja végezni,
válassza ki az AFT opciót, majd ezt követően
Beállítás
Beállítás
Nyelv/Ország
Nyelv/Ország
nyomja meg b. Nyomja meg v vagy V a
Automatikus hangolás
Automatikus hangolás
csatornafrekvencia szintjének beállításához -15
Programhely-átrendezés
Programhely-átrendezés
Programnevek
Programnevek
és +15 között. Végezetül nyomja meg kétszer az
AV beállítás
AV beállítás
Kézi hangolás
Kézi hangolás
OK-t a rögzítéshez.
Részlet beállítása
Részlet beállítása
OK
OK
d) A nem kívánt programakhelyek kihagyása a
PROG +/- gombokkal történő kiválasztáskor való
átugrással.
Ehhez:
A Hangolás opció kiemelésével nyomja meg a
PROG +/- a kihagyni kívánt program számának
megjelenéséig. Amikor ez megjelenik a
képernyőn, válassza az Ugrás opciót, majd ezt
követően nyomja meg b. Nyomja meg v vagy V
az Igen kiválasztásához, majd végezetül nyomja
meg kétszer az OK-t a rögzítéshez.
Ha a későbbiekben ezt a funkciót törölni kívánja,
válassza újból a “Nem” -et az “Igen” helyett.
e) Nézhet kódolt adást is a hármas 2/ 2
eurocsatlakozóhoz csatlakoztatott dekóderről
vagy az ahhoz csatlakoztatott videomagnóval
felvételt is készíthet.
A következő opció attól függően jelenik
meg, hogy az “Nyelv/Ország” menüben
melyik országot választotta.
Ehhez:
Válassza ki a Dekóder opciót és nyomja meg b.
Ezt követően nyomja meg v vagy V a Be
kiválasztásához. Végezetül nyomja meg kétszer
OK-t annak rögzítéséhez.
Ha a későbbiekban törölni akarja ezt a funkciót,
válassza újból a “Ki” -t “Be” helyett.
folytatódik...
14 A képernyőn megjelenő menürendszerek

HU text.fm Page 15 Wednesday, May 12, 2004 2:13 PM
Bevezetés a képernyő menürendszereibe és azok használata
1. szint 2. szint 3. szint / funkció
ZAJZÁR
A “Részlet beállítása” menün belüli “Zajzár” opció
Képbeállítás
Üzemmód: Egyéni
lehetővé teszi a kép zajszintjének automatikus
Kontraszt
Fényerő
csökkentését gyenge TV jelek esetén.
Színtelítetség
Képélesség
Ehhez:
Színárnyalat
Törlés
Az opció kiválasztása után nyomja meg b. Ezt
OK
követően nyomja meg v vagy V a Auto
kiválasztásához, majd végezetül nyomja meg az
OK-t a rögzítéshez.
Beállítás
Részlet beállítása
Nyelv/Ország
Zajzár:
Auto
Ha a későbbiekben ezt a funkciót törölni kívánja,
Automatikus hangolás
AV2 kimenet:
TV
TV hangszóró:
Be
Programhely-átrendezés
válassza újból a “Ki” -t a Auto” helyett.
RGB pozionálás:
0
Programnevek
Képelforgatás:
0
AV beállítás
Kézi hangolás
Részlet beállítása
OK
OK
AV2 KIMENET
A “Részlet beállítása” menün belüli “AV2
Képbeállítás
Üzemmód: Egyéni
kimenet” opció lehetővé teszi az 2/ 2
Kontraszt
Fényerő
eurocsatlakozó kimeneti forrásának kiválasztását,
Színtelítetség
Képélesség
hogy ily módon rögzíthessen az eurocsatlakozóról
Színárnyalat
Törlés
bármely, a televízióból vagy egyéb, az 1/ 1
S
OK
vagy a 3 vagy 3 és
3 elülső aljzathoz
csatlakoztatott külső berendezésből érkező
bármilyen jelet felveheti.
Beállítás
Részlet beállítása
Nyelv/Ország
Zajzár:
Auto
Ha videomagnója rendelkezik Smartlinkkel, ez
Automatikus hangolás
AV2 kimenet:
TV
TV hangszóró:
Be
Programhely-átrendezés
RGB pozionálás:
0
az eljárás szükségtelen.
Programnevek
Képelforgatás:
0
AV beállítás
Kézi hangolás
Részlet beállítása
Ehhez:
OK
OK
Az opció kiválasztása után, nyomja meg b. Ezt
követően nyomja meg v vagy V a kívánt TV, AV1,
HU
AV3, YC3 vagy AUTO kimeneti jel kiválasztásához.
Ha az AUTO” -t választja, a kimeneti jel mindig megegyezik majd a TV képernyőjén megjelenővel.
Ha az 2/ 2 eurocsatlakozóhoz vagy egy, az eurocsatlakozóhoz csatlakoztatott videomagnóhoz
egy dekódert csatlakoztat, ne feledje az AUTO” -ban vagy a “TV” -ben az “AV2
kimenetet” kiválasztani a megfelelő dekódoláshoz.
TV HANGSZÓRÓI
A “Részlet beállítása” menün belüli “TV
Képbeállítás
Üzemmód: Egyéni
hangszóró” opció lehetővé teszi, a televízió
Kontraszt
hangszórói hangjának törlését, hogy így azt csak a
Fényerő
Színtelítetség
televízió hátlapján lévő audiokimenetekhez
Képélesség
Színárnyalat
csatlakoztatott külső erősítőn keresztül hallja.
Törlés
OK
Ehhez:
Az opció kiválasztása után nyomja meg b. Ezt
követően nyomja meg v vagy V a Ki
Beállítás
Részlet beállítása
Nyelv/Ország
Zajzár:
Auto
AV2 kimenet:
TV
kiválasztásához, majd végezetül nyomja meg az
Automatikus hangolás
TV hangszóró:
Be
Programhely-átrendezés
RGB pozionálás:
0
OK-t a rögzítéshez.
Programnevek
Képelforgatás:
0
AV beállítás
Kézi hangolás
Részlet beállítása
Ha a későbbiekben ezt a funkciót törölni kívánja,
OK
OK
válassza újból a “Be”-t a “Ki” helyett.
folytatódik...
A képernyőn megjelenő menürendszerek 15

HU text.fm Page 16 Wednesday, April 28, 2004 2:21 PM
Bevezetés a képernyő menürendszereibe és azok használata
1. szint 2. szint 3. szint / funkció
RGB POCIONÁLÁS
Képbeállítás
RGB jelforrás csatlakoztatásakor, mint pl. egy
Üzemmód: Egyéni
“Playstation” , előfordulhat, hogy szükséges a
Kontraszt
Fényerő
vízszintes képközép beállítása. Ebben az esetben
Színtelítetség
Képélesség
ezt a Részlet beállítása” menün belüli “RGB
Színárnyalat
Törlés
pozicionálás” opció használatával állíthatja be.
OK
Ehhez:
Az RGB jelforrás nézése közben válassza ki az “RGB
Beállítás
Részlet beállítása
Közép” opciót és nyomja meg
b. Ezt követően
Nyelv/Ország
Zajzár:
Auto
Automatikus hangolás
AV2 kimenet:
TV
nyomja meg
v vagy V a képközepelés -10 és +10
TV hangszóró:
Be
Programhely-átrendezés
RGB pozionálás:
0
Programnevek
közötti beállításához. Végezetül nyomja meg az OK-t
Képelforgatás:
0
AV beállítás
a rögzítéshez.
Kézi hangolás
Részlet beállítása
OK
OK
KÉPELFORGATÁS
A földmágnesesség következtében előfordulhat,
Képbeállítás
hogy a kép ferdén jelenik meg. Ebben az esetben ezt
Üzemmód: Egyéni
Kontraszt
a “Részlet beállítása” menün belüli “Képelforgatás”
Fényerő
Színtelítetség
opció használatával állíthatja be.
Képélesség
Színárnyalat
Törlés
Ehhez:
OK
Az opciót kiválasztását után nyomja meg b. Ezt
követően nyomja meg v vagy V a képdőlés -5 és +5
közötti beállításához. Végezetül nyomja meg az OK-t
Beállítás
Részlet beállítása
Nyelv/Ország
Zajzár:
Auto
a rögzítéshez.
Automatikus hangolás
AV2 kimenet:
TV
TV hangszóró:
Be
Programhely-átrendezés
RGB pozionálás:
0
Programnevek
Képelforgatás:
0
AV beállítás
Kézi hangolás
Részlet beállítása
OK
OK
16 A képernyőn megjelenő menürendszerek

HU text.fm Page 17 Wednesday, April 28, 2004 2:21 PM
Teletext
A teletext a legtöbb televízióadó által sugárzott információs szolgáltatás. A teletext tartalomjegyzék
oldala (általában a 100. oldal) nyújt a szolgáltatás használatára vonatkozó tájékoztatást. A teletexten
belül használja a távvezérlő gombjait az ezen az oldalon leírtak szerint.
Győződjön meg arról, hogy erős jellel rendelkező televízió csatornát használ, ellenkező esetben a
teletextben hibák adódhatnak.
A Teletext szolgáltatásba való belépés:
TELETEXT
TELETEXT
TELETEXT
TELETEXT
TELETEXT
TELETEXT
TELETEXT
TELETEXT
Miután kiválasztotta azt a csatornát (televízióadót), mely az Ön által
Index
Index
Index
Index
Index
Index
Index
Index
nézni kívánt teletext szolgáltatást sugározza, nyomja meg .
Programme
Programme
Programme
Programme
Programme
Programme
Programme
Programme
25
25
25
25
25
25
25
25
News
News
News
News
News
News
News
News
153
153
153
153
153
153
153
153
Sport
Sport
Sport
Sport
Sport
Sport
Sport
Sport
101
101
101
101
101
101
101
101
Teletext oldal kiválasztása:
Weather
Weather
Weather
Weather
Weather
Weather
Weather
Weather
98
98
98
98
98
98
98
98
A távvezérlő gombjainak használatával vigye be az Ön által megtekintenikívánt
oldalszám három számjegyét.
• Ha eltéveszti, üssön be bármilyen három számjegyet, majd ezt követően
üsse be újra a helyes oldalszámot.
• Amennyiben az oldalszámláló nem áll le, ez azt jelenti, hogy a kért oldal nem áll rendelkezésre. Ebben az
esetben üssön be egy másik oldalszámot.
Az előző vagy a következő oldal kiválasztása:
Nyomja meg PROG + ( ) vagy PROG - ().
A teletext tévéképernyő elé történő helyezése:
A teletext nézése közben nyomja meg . Újfent nyomja meg azt a teletext üzemmódból való
visszatéréshez.
Egy oldal kimerevítése:
Nyomja meg / . Újfent nyomja meg azt a kimerevítés törléséhez.
Rejtett információ láthatóvá tétele (pl.: fejtörők megoldásai):
Nyomja meg / . Újfent nyomja meg azt az információ elrejtéséhez.
Egy aloldal kiválasztásához:
Egy teletext oldal több aloldalból állhat. Ebben az esetben a bal felső részben megjelenő oldalszám fehérről
zöldre vált és egy vagy több nyíl jelenik meg az oldalszám mellett. Nyomja meg többször egymás után a
HU
távvezérlő B vagy b gombját a kívánt aloldal nézéséhez.
A Teletext szolgáltatásból való kilépés:
Nyomja meg .
Fastext
A Fastext szolgáltatás lehetővé teszi, hogy egyetlen gomb lenyomásával hozzáférjen a teletext
oldalaihoz.
A teletext szolgáltatáson belül, amennyiben Fastext jeleket sugároznak, a képernyő alsó részén
megjelenik egy színkód menü, mely lehetővé teszi, hogy közvetlenül hozzáférjen egy oldalhoz. Ehhez
nyomja meg a távvezérlő megfelelő szín« gombját (piros, zöld, sárga vagy kék).
Teletext 17

HU text.fm Page 18 Wednesday, May 12, 2004 2:15 PM
Választható készülékek csatlakoztatása
A televízióhoz választható készülékek széles skálája csatlakoztatható, a továbbiakban leírtak szerint. (A
csatlakozó kábelek nincsenek mellékelve.)
MANUFACTURED UNDER LICENCE
FROM DOLBY LABORATORIES
"DOLBY" AND THE DOUBLE - D
SYMBOL ARE TRADEMARKS OF
DOLBY LABORATORIES
(SMARTLINK)
8mm/Hi8/
DVC
kamera
S VHS/Hi8/
DVC
kamera
A
3
B
3
F
C
(SMARTLINK)
o3
ED
Videomagnó
Fülhallgató csatlakoztatásakor a
Hi-Fi
televízió hangszórói automatikusan
“PlayStation”
*
kikapcsolnak
.
Dekóder
DVD
* “PlayStation” a Sony Computer
Entertainment, Inc. terméke
.
* “PlayStation” a Sony Computer
Entertainment, Inc. védett márkaneve
.
• A kép torzulásának elkerülése érdekében egydejűleg ne csatlakoztasson készülékeket a A és B
csatlakozókba.
• Az E eurocsatlakozóhoz ne csatlakoztasson semmiféle dekódert.
Videomagnó csatlakoztatása:
Videomagnó csatlakoztatásához lásd “Az antenna és a videomagnó csatlakoztatása” c. fejezetet. A videot
ajánlatos eurocsatlakozó használatával csatlakoztatni. Amennyiben nem ezt a csatlakozót használja, a
videojel csatornát a “Kézi Hangolás“ menüben be kell állítsa (ehhez lásd a 13. oldal a) bekezdését).
Ezenkívül lásd a video használati utasítását a videojel csatorna beállításához.
Smartlinkkel rendelkező videomagnó csatlakoztatása:
A Smartlink egy olyan, a televízió és egy videokészülék közti kapcsolat, mely lehetővé teszi bizonyos
információk közvetlen átjuttatását. Amennyiben a Smartlinkről bővebb tájékoztatásra van szüksége,
keresse azt videokészüléke kezelési útmutatójában.
Ha egy Smartlinkkel rendelkező videomagnót használ, használjon eurocsatlakozót és csatlakoztassa
azt a
2/ 2 F eurocsatlakozóho.
Ha az 2/ 2 F eurocsatlakozóhoz vagy az említett eurocsatlakozóhoz csatlakoztatott
videomagnóhoz dekódert csatlakoztatott:
A “Beállítás” menüben válassza a “Kézi Hangolás” opciót, majd a “Dekóder”** opció kiválasztása után
válassza a “Be” -t (v vagy V használatával) a kódolt csatornához.
** Ez az opció az “Ország” menüben kiválasztott ország szerint áll rendelkezésre.
folytatódik...
18 Kiegészítő információ

HU text.fm Page 19 Wednesday, May 12, 2004 2:15 PM
Választható készülékek csatlakoztatása
Külső audio készülék csatlakoztatása:
Ha televíziójának hangját zenekészüléke hangszóróin keresztül akarja élvezni, csatlakoztassa a készüléket a
D audio kimenethez, majd a menürendszerben válassza a “Beállítás” -t. Ezt követően lépjen be a “Részlet
beállítása” opcióba és a “TV hangszóró” -ben válassza a Ki” -t.
A külső hangszórók hangereje a televízió távvezérlőjének hangerőszabályzó gombjaival állítható. A
magas és mély szinteket is változtathatja a “Hangszabályozás” menün keresztül.
Zenekészülékén keresztül is élvezheti a “Dolby Virtual” hangeffektust:
Ehhez helyezze el zenekészülékének hangszóróit a televízió mindkét
oldalán kb. 50 cm távolságot hagyva a televízió és a hangszórók között.
Hi-Fi készülék
hangszórói
A hangszórók elhelyezése után, a menürendszerek segítségével,
válassza ki a “Hangszabályozás” menüt és ezt követően az Effekt”
opcióban válassza a “Dolby Virtual”-t.
50cm 50cm
A felhasználó optimális elhelyezkedése
Választható készülékek használata
1
A választható készüléket csatlakoztassa a televízió megfelelő bemenetéhez, ahogyan az előző oldalon
le van írva.
2
Kapcsolja be a csatlakoztatott készüléket.
3
A csatlakoztatott készülék képének megtekintéséhez nyomja meg többször egymás után , amíg a
bemeneti jel helyes jelképe megjelenik a képernyőn.
Jelkép
Bemeneti jelek
HU
1
• Eurocsatlakozón E keresztüli audio/video bemeneti jel.
1
• Eurocsatlakozón E keresztüli RGB bemeneti jel. Ez a jelkép csak abban az esetben
jelenik meg, ha csatlakoztatott RGB bemenetre.
2
• Eurocsatlakozón F keresztüli audio/video bemeneti jel.
2
• Eurocsatlakozón F keresztüli RGB bemeneti jel. Ez a jelkép csak abban az esetben
jelenik meg, ha csatlakoztatott RGB bemenetre.
3
• RCA B csatlakozón keresztüli video bemeneti jel és C-n keresztüli audio bemeneti jel.
S
3
• Az S video A csatlakozón keresztüli S video bemeneti jel és C keresztüli audio
bemeneti jel. Ez a jelkép csak abban az esetben jelenik meg, ha csatlakoztatott S Video
bemenetre.
4
Nyomja meg a távvezérlő gombját a normál tévéképernyőhöz való visszatéréshez.
Mono hangrendszerő készülékek használata
A hangfrecvenciás csatlakozó kábelt csatlakoztassa a TV készülék előlapján található L/G/S/I aljzatra és
válassza ki a 3 vagy 3 bemenet jelét, felhasználva a fenti utasításokat. Végül hivatkozva a jelen
S
használati utasítás “hangbeállítás” részére, válassza ki a hangbeállítás menükép “Kettős hang” “A” pontját.
Kiegészítő információ 19

HU text.fm Page 20 Wednesday, May 12, 2004 2:15 PM
Műszaki jellemzők
MINŐSÉGTANÚSÍTÁS
A 291984. (III.10.) BkM-IpM együttes rendelet értelmében - mint forgalmazá - tanúsitjuk, hogy a SONY
(KV-29CS60K) tipusú szines televizió megfelel az alábbi műszaki értékeknek.
Érintésvédelmi osztály: II
Sugárzási szabvány A kiválasztott országtól függően: B/G/H, D/K
Szín szabvány PAL, SECAM
NTSC 3.58, 4.43 (csak videobemenet)
Fogható csatornák VHF: E2-E12
UHF: E21-E69
CATV: S1-S20
HYPER: S21-S41
D/K: R1-R12, R21-R69
Képcső FD Trinitron tökéletesen sík 29˝ (kb. 73 cm képcsőméret
Hátsó aljzatok 1/ 1 21 pólusú eurocsatlakozó (CENELEC szabvány) beleértve
audio/ video bemenet, RGB bemenet, TV audio/video kimenet
2/ 2 21 pólusú eurocsatlakozó (CENELEC szabvány) beleértve
(SMARTLINK) audio/ video bemenet, RGB bemenet, választható audio/
video bemenet és Smartlink csatlakoztatás
Audio kimenetek (bal/ jobb) RCA aljzatok
Csatlakozók az
S
3 S video bemenet 4 pólusú DIN
előlapon
3
video bemenet - RCA csatlakozó
3
audio bemenet - RCA csatlakozó
i fülhallgató csatlakozó
Hangfrekvenciás
2 x 20W (zenei teljesítmény), 2 x 10W (RMS)
kimenőteljesítmény
Teljesítményfelvétel 113W
Teljesítményfelvétel
0.3W
készenléti
üzemmódban
(standby
Méretek (szél. x mag.
807mm x 603mm x 543mm
x mély.)
Tömeg Kb. 45kg
Mellékelt tartozékok 1 db távvezérlő RM-947 modell, 2 db IEC szabvány szerinti elem
Egyéb jellemzők • 100 Hz-es kép
• Teletext, Fastext, TOPtext (250 oldalas teletext memória)
• Kikapcsolás Időzítő
• Smartlink (a televízió és egy kompatibilis videokészülék közötti közvetlen
kommunikáció. Ha további információra van szüksége a Smartlinkkel
kapcsolatosan, nézze meg videomagnója használati útmutatóját)
• A TV rendszer automatikus felmérése
• Dolby Virtual
• BBE
A design és a műszaki jellemzők előzetes bejelentés nélkül változhatnak.
20 Kiegészítő információ

HU text.fm Page 21 Wednesday, May 12, 2004 2:15 PM
Problémamegoldás
Az alábbiakban ismertetünk néhány egyszerű megoldást arra az esetre, ha valamilyen kép- vagy
hangprobléma fordulna elő.
Probléma Megoldás
Nincs kép (a képernyő sötét) és nincs hang. • Ellenőrizze az antennacsatlakozást.
• Csatlakoztassa a készüléket a fali aljzathoz és
nyomjameg a gombot az előlapon.
• Ha a televízió jelzője világít, nyomja meg a
távvezérlő TV gombját.
Gyenge a kép vagy nincs kép (a képernyő
• A menürendszerben válassza ki a “Képbeállítás“-t és
sötét), de jó a hang.
válassza a “Törlés“-t a gyárilag beállított értékek
visszanyeréséhez.
A televízió hátlapján lévő eurocsatlakozóhoz
• Győzödjön meg arról, hogy a választható készüléket
csatlakoztatott választható készüléknek nincs
bekapcsolta, majd nyomja meg többször a
képe vagy nincs információs menüje.
távvezérlő gombját, amíg a helyes bemeneti
jelkép megjelenik a képernyőn.
Jó képminőség, de nincs hang. • Nyomja meg a távvezérlő +/- gombját.
• Ellenőrizze, hogy a “Részlet beállítása“ menün belüli
“TV hangszóró“ opció az “Be“ pozícióban legyen
kiválasztva.
• Győződjön meg arról, hogy a fülhallgatót
kikapcsolta-e.
A színes műsorok nem láthatók színesben. • A menürendszerben válassza ki a “Képbeállítás“-t és
válassza a “Törlés“-t a gyárilag beállított értékek
visszanyeréséhez.
Programváltáskor vagy a teletext
• Kapcsolja ki a készülék hátlapján lévő 21 pólusú
kiválasztásakor a kép eltorzul.
eurocsatlakozóhoz csatlakoztatott készüléket.
A teletext adások vételekor helytelen karakterek
• Ha a menürendszert használja, lépjen be a “Nyelv/
jelennek meg a képernyőn.
Ország“ menübe, és válassza azt az országot, ahol a
Készüléket m«ködteti. A cirill abc-t használó
HU
nyelveknél válassza Oroszországot, ha a lista nem
tartalmazza azt az országot, ahol Ön a készüléket
használja.
Ferde a kép. • A menürendszerben a “Különleges Jellemzők“
menün belül válassza a “Képelforgatás“ opciót és
állítsa be a képdőlést.
Zajos kép. • A menürendszerben a “Kézi Hangolás “ menün belül
válassza az “AFT“ opciót és állítsa be a hangolást a
jobb képvétel érdekében.
• A menürendszerben a “Különleges Jellemzők“
menün belül válassza az “Zajzár“ opciót és válassza
a “Auto“-t a kép zajának csökkentésére.
2/ 2 eurocsatlakozóhoz csatlakoztatott
• A menürendszeben válassza a “Beállítás“-t. Ezt
dekóderen keresztül nézett kódolt csatorna
követően lépjen be a “Részlet beállítása“ opcióba és
képe nem tökéletesen dekódolt vagy nem
a “TV“-ben válassza a “AV2 kimenet“.
stabil.
• Ellenőrizze, hogy a dekódert nem az 1/ 1
eurocsatlakozóhoz csatlakoztatta
A távvezérlő nem működik. • Cserélje ki az elemeket.
A készenléti üzemmód (standby) jelzője villog. • Forduljon a legközelebbi Sony márkaszervízhez.
• Meghibásodás esetén a televíziót szakemberrel vizsgáltassa meg.
• Soha ne nyissa ki a készüléket.
Kiegészítő információ 21

Untitled1.fm Page 1 Thursday, March 25, 2004 9:27 AM

PL Text.FM Page 3 Wednesday, June 16, 2004 9:12 AM
Wprowadzenie
Dziękujemy za wybór telewizora kolorowego Sony z Płaskim Ekranem FD
Trinitron.
Przed rozpoczęciem użytkowania telewizora, wskazane jest wnikliwe zapoznanie się z niniejszą
instrukcją obsługi i zachowanie jej do wykorzystania w przyszłości.
• Symbole używane w niniejszej instrukcji obsługi:
Ważna informacja.
• Zaznaczone na pilocie przyciski wskazują
• Informacja o działaniu.
przyciski, które należy nacisnąć w celu
wykonania poszczególnych funkcji.
• 1,2... Kolejność realizacji instrukcji.
• Informacja o wyniku operacji.
Spis treści
Wprowadzenie......................................................................................................................................... 3
Informacje dotyczące bezpieczeństwa.................................................................................................... 4
Opis ogólny
Ogólny przegląd przycisków pilota.......................................................................................................... 5
Ogólny przegląd przycisków telewizora ................................................................................................. 6
Podłączenie telewizora
Wkładanie baterii do pilota ...................................................................................................................... 6
Podłączanie anteny i magnetowidu ........................................................................................................ 6
Pierwsze uruchomienie telewizora
Włączanie telewizora i automatyczne programowanie ........................................................................... 7
System menu na ekranie
Wprowadzenie do systemu menu na ekranie.......................................................................................... 9
Krótki przewodnik po systemie menu:
Regulacja obrazu ............................................................................................................................ 9
Regulacja dźwięku.......................................................................................................................... 10
Timer wyłączenia ............................................................................................................................ 11
Język/Kraj ....................................................................................................................................... 11
Autoprogramowanie ....................................................................................................................... 11
Sortowanie programów .................................................................................................................. 12
Nazwy Programów ......................................................................................................................... 12
Ustawienia AV................................................................................................................................. 12
Programowanie ręczne................................................................................................................... 13
PL
Redukcja zakłóceń.......................................................................................................................... 15
Wyjście AV3 .................................................................................................................................... 15
Głośniki TV...................................................................................................................................... 15
Centrowanie RGB........................................................................................................................... 16
Obrót obrazu................................................................................................................................... 16
Telegazeta .............................................................................................................................................17
Informacje dodatkowe
Podłączanie dodatkowych urządzeń....................................................................................................... 18
Zastosowanie dodatkowych urządzeń .................................................................................................... 19
Dane techniczne ...................................................................................................................................... 20
Rozwiązywanie problemów ..................................................................................................................... 21
Spis treści 3

PL Text.FM Page 4 Wednesday, June 16, 2004 9:12 AM
Informacje dotyczące bezpieczeństwa
Ze względu na bezpieczeństwo i ochronę
Telewizor jest przystosowany do zasilania
środowiska naturalnego zaleca się, aby
Nigdy nie wpychać do telewizora żadnych
tylko napięciem przemiennym 220 – 240 V.
telewizor, który nie jest używany, był
przedmiotów. Grozi to pożarem lub
Nie włączać zbyt dużej liczby urządzeń do
odłączony od sieci. Nie należy pozostawiać
porażeniem prądem. Nigdy nie wylewać
jednego gniazdka sieciowego gdyż grozi to
telewizora w trybie czuwania. Niektóre
na telewizor żadnych płynów. Jeśli do
pożarem lub porażeniem prądem.
telewizory mogą jednak mieć funkcje,
wnętrza telewizora dostanie się jakiś płyn
które wymagają pozostawienia telewizora
lub przedmiot, nie używać urządzenia,
w trybie czuwania. W takim przypadku
zanim nie zostanie ono skontrolowane
instrukcja obsługi będzie zawierała
przez odpowiednio wykwalifikowaną
odpowiednią wzmiankę.
osobę.
Nie otwierać obudowy ani nie zdejmować
Dla własnego bezpieczeństwa, w czasie
Aby uniknąć ryzyka pożaru lub
pokrywy z tyłu telewizora. Naprawy
burzy nie dotykać żadnych elementów
porażenia prądem, nie wystawiać
powierzać tylko wykwalifikowanym
telewizora, jego przewodu zasilającego
telewizora na deszcz i chronić go przed
osobom.
ani przewodu antenowego.
wilgocią.
Nie zakrywać otworów wentylacyjnych na
Nigdy nie stawiać telewizora w
Aby uniknąć pożaru, przechowywać
telewizorze. Dla zapewnienia właściwej
miejscach gorących, wilgotnych lub
łatwopalne przedmioty z dala od
wentylacji, pozostawić wokół telewizora
nadmiernie zapylonych. Nie instalować
telewizora i nie zbliżać się do niego z
przynajmniej 10 cm wolnego miejsca.
telewizora w miejscach, w których
otwartym ogniem (na przykład świecą).
będzie on narażony na wibracje
mechaniczne.
Do czyszczenia ekranu i obudowy używać
Przy wyłączaniu przewodu zasilającego
Uważać, aby nie stawiać na przewodzie
miękkiej, wilgotnej ściereczki. Nie używać
z gniazdka sieciowego chwytać za
zasilającym ciężkich przedmiotów,
żadnych ściereczek, gąbek ani proszków
wtyczkę. Nie ciągnąć samego
ponieważ mogą one uszkodzić przewód.
do szorowania, zasadowych środków
przewodu.
Zalecamy nawinięcie nadmiaru
czyszczących, rozpuszczalników
przewodu na zaczepy znajdujące się z
(spirytusu, benzyny itp.) ani
tyłu telewizora.
antystatycznego aerozolu. Dla
bezpieczeństwa, przed czyszczeniem
telewizora wyłączyć go z sieci.
Ustawić telewizor na bezpiecznej,
Przed przenoszeniem telewizora
Nie zakrywać otworów wentylacyjnych
stabilnej podstawie. Nigdy nie przenosić
wyłączyć go z sieci. Unikać nierównych
na telewizorze takimi przedmiotami
telewizora razem ze stolikiem każdy
powierzchni, szybkiego marszu i
jak zasłony czy gazety.
przedmiot trzeba przenosić osobno. Nie
używania nadmiernej siły. Jeśli telewizor
kłaść telewizora na boku ani ekranem do
został upuszczony lub uszkodzony,
góry. Nie pozwalać, aby wspinały się na
natychmiast zlecić jego kontrolę
niego dzieci.
odpowiednio wykwalifikowanej osobie z
serwisu.
4 Informacje dotyczące bezpieczeństwa

PL Text.FM Page 5 Wednesday, June 16, 2004 9:12 AM
Ogólny przegląd przycisków pilota
1 Czasowe wyłączenie telewizora:
1
Naciśnij go by czasowo wyłączyć telewizor (zostanie wyświetlony
wskaźnik trybu czuwania . Naciśnij go ponownie by włączyć
telewizor pozostający w trybie czuwania (standby).
2
Dla oszczędności energii wskazane jest całkowite wyłączenie
telewizora gdy się go nie używa.
Jeśli w ciągu 15 minut nie ma sygnału telewizyjnego ani też nie
3
zostanie naciśnięty żaden przycisk, telewizor automatycznie
4
przełączy się na tryb czuwania (standby).
qj
qh
5
2 Wybór sygnału wejściowego:
Naciskaj go aż symbol żądanego żródła sygnału pojawi się na
qg
6
ekranie.
qf
7
3 Wybór kanału:
Wciśnięcie przycisków powoduje wybranie żądanego numeru kanału.
8
W przypadku dwucyfrowych numerów kanałów, naciskaj przycisk
odpowiadający drugiej cyfrze nie dłużej niż 2,5 sekundy.
qd
9
4 Wybór poprzedniego kanału:
Naciśnij go by powrócić do poprzednio wybranego kanału (uprzednio
wybrany kanał powinien być wcześniej widoczny na ekranie przez
przynajmniej 5 sekund).
qs
q;
5 Przycisk ten działa wyłącznie w trybie telegazety.
qa
6 Przycisk ten działa wyłącznie w trybie telegazety.
7 Wybór telegazety:
Naciśnij go by telegazeta pojawiła siś na ekranie.
8 Przyciski obsługi MENU:
• Gdy
MENU jest wyświetlone na ekranie użyj niniejszych
przycisków by przemieszcza
ć
si
ę
po systemie menu. Szczegółowy
opis znajduje si
ę
w rozdziale “Wprowadzenie do systemu menu na
ekranie” na stronie 9
.
• Gdy MENU nie jest wyświetlone na ekranie naciśnij OK by
zobaczyć ogólną listę zestrojonych kanałów. Wybierz kanał
(stację telewizyjną) naciskaj v lub V a następnie ponownie naciśnij
OK by oglądać wybrany kanał.
9 Wybór formatu ekranu:
qf Wybór Trybu TV:
Naciśnij go by zmienić format ekranu 4:3 dla
Naciśnij go by telegazeta zniknęła z ekranu lub by
obrazu konwencjonalnego lub 16:9 dla
wyłączyć wejście wideo.
odtworzenia obrazu panoramicznego.
qg Wybór efektu dźwięku:
q; Wybór kanałów:
Kilkakrotnie naciśnij ten przycisk by zmienić efekt
Naciśnij go by wybrać poprzedni lub następny
dźwięku.
PL
kanał.
qh Wybór trybu obrazu:
qa Wyłączanie dźwięku:
Kilkakrotnie go naciśnij by zmienić tryb obrazu.
Naciśnij go by wyłączyć dźwięk. Ponownie go
qj Wyświetlanie informacji na ekranie:
naciśnij by włączyć dźwięk.
Naciśnij go by wszystkie wskaźniki pojawiły się na
qs Regulacja głośności:
ekranie. Ponownie go naciśnij by zniknęły.
Naciśnij go by naregulować głośność telewizora.
qd Wyświetlanie menu:
Naciśnij go by na ekranie pojawiło się menu
funkcji. Naciśnij go ponownie by usunąć menu z
ekranu i by pojawił się normalny obraz
telewizyjny.
Wszystkie przyciski kolorowe służą nie tylko do regulacji telewizora, ale też do obsługi telegazety.
Szersza informacja o ich funkcjach znajduje się w rozdziale
“
Telegazeta
“
niniejszej instrukcji obsługi.
Opis ogólny 5

PL Text.FM Page 6 Wednesday, June 16, 2004 9:12 AM
Ogólny przegląd przycisków telewizora
Przyciski wyboru
następnego lub
poprzedniego
programu (wybór
stacji telewizyjnych)
Przyciski regulacji
głośności
Przycisk
Przycisk
włączenia
3
wyboru źródła
telewizora
wejściowego
Wskaźnik trybu
Gniazdo
3
czuwania (standby)
Gniazdo
wejściowe
wejściowe
wideo
Pociągnij drzwiczki z
S Vídeo
boku telewizora, aby je
Gniazdo
otworzyć i odsłonić
wejściowe
gniazda.
o3
audio
Gniazdo do
podłączenia
Wyłącznik
słuchawek
zasilania
włączony /
wyłączony
Wkładanie baterii do pilota
Upewnij się, że baterie umieszczone zostały zgodnie z ich biegunowością.
Szanując środowisko naturalne wyrzucaj zużyte baterie do specjalnie do tego przeznaczonych
pojemników.
O
P
R
O
C
Y
N
O
S
/4
P
I
T
R
A
N
A
A
J
N
O
SONY CORPORATION JAPAN/4
Podłączanie anteny i magnetowidu
Do urządzenia nie są załączone kable do tych podłączeń.
magnetowid
(SMARTLINK)
MANUFACTURED UNDER LICENCE
lub
FROM DOLBY LABORATORIES
"DOLBY" AND THE DOUBLE - D
SYMBOL ARE TRADEMARKS OF
DOLBY LABORATORIES
(SMARTLINK)
(SMARTLINK)
Podłączenie do złącza EURO nie jest obowiązkowe
Szersza informacja o podłączaniu wideo znajduje się w rozdziale
“
Podłączanie
dodatkowych urządzeń
“
niniejszej instrukcji obsługi.
6 Opis ogólny - Podłączenie telewizora

PL Text.FM Page 7 Wednesday, June 16, 2004 9:12 AM
Włączanie telewizora i automatyczne programowanie
Gdy telewizor zostanie włączony po raz pierwszy na ekranie pojawią się menu dzięki któremu można:
1) wybrać język w którym wyświetlane będą wszystkie menu, 2) wybrać kraj w którym używane będzie
urządzenie, 3) regulacja przechylenia obrazu, 4) odnaleźć i automatycznie zapisać wszystkie dostępne
kanały (stacje telewizyjne) i 5) zmienić kolejność w której kanały (stacje telewizyjne) pojawiają się na
ekranie.
Jeśli zaistnieje konieczność zmodyfikowania któregoś z ustawień, można to zrobić wybierając
odpowiednią opcję w (menu Ustawianie) lub naciskając przycisk ponownego włączenia
telewizora.
1
Włącz przewód zasilający telewizora do gniazdka
sieciowego (220-240V AC, 50Hz). Gdy podłącza się telewizor po
raz pierwszy włącza się on automatycznie. Jeśli to nie nastąpi
naciśnij przełącznik włączony/wyłączony z przodu urządzenia,
by włączyć telewizor.
Gdy telewizor zostanie włączony po raz pierwszy na ekranie
pojawi się automatycznie menu Language (Język).
2
Naciśnij przycisk v lub V na pilocie by wybrać język, a następnie
Language
naciśnij przycisk OK by potwierdzić wybór. Od tego momentu
i
v
Svenska
wszystkie menu będą wyświetlane w wybranym języku.
Norsk
English
Nederlands
Français
Italiano
i
V
Select Language:
OK
3
Na ekranie pojawi się automatycznie menu Kraj. Naciśnij przycisk
Kraj
v lub V by wybrać kraj w którym będzie używany telewizor, a
i
v
Sverige
następnie naciśnij przycisk OK by potwierdzić wybór.
Norge
-
Italia
Deutschland
• Jeśli na liście nie ma kraju w którym będzie używany
Österreich
i
V
telewizor, wybierz “-” zamiast nazwy kraju.
Wybór kraju:
OK
4
Z powodu magnetyzmu ziemskiego istnieje możliwość, że obraz
PL
będzie przechylony. Menu Obrót Obrazu pozwala wyregulować
Jeśli obraz jest pochylony,
obrót obrazu.
obraz jeśli zajdzie taka konieczność.
a) Jeśli nie jest to konieczne, naciśnij v lub V by ustawić Bez
Bez regulacji
Regulacja
regulacji, następnie naciśnij OK.
b) Jeśli jest konieczne, naciśnij v lub V by ustawić opcję
OK
Regulacja, następnie naciśnij OK. Następnie wyreguluj
przechylenie obrazu między -5 i +5 naciskając v lub V. Na
zakończenie naciśnij OK by zapisać ustawienie.
cd...
Pierwsze uruchomienie telewizora 7

PL Text.FM Page 8 Wednesday, June 16, 2004 9:12 AM
Włączanie telewizora i automatyczne programowanie
5
Menu Autoprogramowanie pojawi się na ekranie. Naciśnij przycisk
OK by wybrać opcję Tak.
Czy chcesz rozpocz
ąć
automatyczne programowanie?
Tak
Nie
OK
6
Telewizor rozpoczyna programowanie i automatyczne
zapisywanie wszystkich dostępnych kanałów (stacji
Autoprogramowanie
telewizyjnych).
Program:
01
System:
B/G
Kanał:
C21
Proces dostrajania może potrwać kilka minut. Zachowaj
cierpliwość i nie naciskaj żadnych przycisków podczas jego
Wyszukiwanie...
trwania, gdyż w przeciwnym wypadku nie zostałby on
zakończony.
Nie znaleziono Kanalu
Podlącz antenę
Jeśli telewizor nie znalazł żadnego kanału (stacji telewizyjnej)
Potwierdż
po dokonaniu autoprogramowania, na ekranie pojawi się
tekst z prośbą o podłączenie anteny. Należy wówczas ją
podłączyć tak jak jest to opisane na stronie 6 niniejszej
OK
instrukcji obsługi a następnie nacisnąć OK. Ponownie
rozpocznie się wówczas proces autoprogramowania.
7
Gdy telewizor zaprogramuje i zapisze wszystkie kanały
Sortowanie Programów
(stacje telewizyjne), na ekranie pojawi się automatycznie
Program:
menu Sortowanie Programów by można było zmienić
01 TVE
02 TVE2
kolejność pojawiania się kanałów na ekranie.
03 TV3
04 C33
05 C27
06 C58
a) Jeśli nie ma potrzeby zmiany kolejności programów, przejdź
Wybór kanału:
Wyjście:
MENU
OK
do punktu 8.
b) Jeśli chcesz zmienić kolejność programów:
Sortowanie Programów
1 Naciśnij przycisk v lub V by wybrać numer programu kanału
Program:
(stacji telewizyjnej) którego pozycję chcesz zmienić, a
01 TVE
02 TVE2
następnie naciśnij b.
03 TV3
04 C33
05 C27
2 Naciśnij przycisk v lub V by wybrać nowy numer programu
06 C58 05 C27
na którym chcesz zapisać wybrany kanał (stację
Lokalizacja prog.:
Wyjście:
MENU
OK
telewizyjną) a następnie naciśnij B.
3 Powtórz kroki b)1 i b)2 by przyporządkować pozostałe
kanały telewizyjne.
8
Naciśnij przycisk MENU by przywrócić normalny obraz
MENU
telewizyjny.
Telewizor jest gotowy do użytku.
8 Pierwsze uruchomienie telewizora

PL Text.FM Page 9 Wednesday, June 16, 2004 9:12 AM
Wprowadzenie do systemu menu na ekranie
Niniejszy telewizor dysponuje systemem menu wyświetlanym na ekranie by ułatwić ustawianie
poszczególnych funkcji. Używaj następujących przycisków na pilocie by poruszać się po
poszczególnych systemach menu:
1
Naciśnij przycisk MENU by został wyświetlony na ekranie
MENU
pierwszy poziom menu.
2
• By wybrać pożądaną pozycję lub opcję naciśnij przycisk v lub V.
• By wejść do wybranego menu lub jego opcji naciśnij przycisk b.
• By powrócić do poprzedniego menu lub jego opcji naciśnij
przycisk B
.
• By zmienić nastawienia wybranej opcji naciśnij przycisk v/V/B
lub b.
• By potwierdzić i zapisać wybór naciśnij OK.
3
Naciśnij przycisk MENU by przywrócić normalny obraz
MENU
telewizyjny.
Krótki przewodnik po systemie menu
Poziom 1 Poziom 2 Poziom 3 / Funkcja
Regulacja Obrazu
Regulacja Obrazu
REGULACJA OBRAZU
Tryb: Własny
Tryb: Własny
Menu “Regulacja obrazu” pozwala zmienić
Kontrast
Kontrast
Jasność
Jasność
nastawienia obrazu.
Kolor
Kolor
Ostrość
Ostrość
Odcień
Odcień
Zerowanie
Zerowanie
W tym celu:
OK
OK
Po wybraniu opcji którą chcesz zmienić naciśnij
przycisk b. Następnie kilkakrotnie naciśnij przycisk
v/V/B lub b by zmienić ustawienie i na zakończenie
naciśnij OK by zapisać nowe ustawienie.
Menu to pozwala również zmienić tryb obrazu
zgodnie z rodzajem oglądanego programu:
PL
v Własny (dla indywidualnych upodobań).
v Żywy (dla programu na żywo, odtwarzacza DVD i
cyfrowego dekodera telewizji satelitarnej).
v Filmowy (dla filmów).
• Jasność, Kolor i Ostrość mogą zostać zmienione wyłącznie gdy tryb obrazu zostanie nastawiony na
opcję “Własny”.
• Odcień jest dostępny wyłącznie dla systemu koloru NTSC (np. taśmy wideo z USA).
• By przywrócić nastawienia fabryczne wybierz Zerowanie i naciśnij OK.
cd...
System menu na ekranie 9

PL Text.FM Page 10 Wednesday, June 16, 2004 9:12 AM
Wprowadzenie do systemu menu na ekranie
Poziom 1 Poziom 2 Poziom 3 / Funkcja
REGULACJA DŻWIĘKU
Menu “Regulacja dźwięku” pozwala zmieniać
Regulacja Obrazu
Tryb: Własny
ustawienia dźwięku.
Kontrast
Jasność
Kolor
Ostrość
W tym celu:
Odcień
Zerowanie
Po wybraniu opcji która ma zostać zmieniona,
OK
naciśnij b. Następnie kilkakrotnie naciśnij v/V/B lub
b by zmienić ustawienie i na zakończenie naciśnij
OK by zapisać ustawienie.
Regulacja džwięku
Regulacja džwięku
Efekt: Naturalny
Efekt: Naturalny
Tony wysokie
Tony wysokie
Tony niskie
Tony niskie
Balans
Balans
Zerowanie
Zerowanie
Podwój. Dźwięk: Mono
Podwój. Dźwięk: Mono
Aut. głośność: Wł.
Aut. głośność: Wł.
OK OK
Efekt bvNaturalny: Podkreśla jasność, szczegóły i obecność dźwięku dzięki
systemowi “BBE High Definition Sound system”*.
v Dynamiczny: “BBE High Definition Sound system”* zwiększa jasność i obecność
dźwięku zapewniając czytelniejszy głos i muzykę bardziej
rzeczywistą.
v Dolby**Virtual: Symuluje efekt dźwięku “Dolby Pro Logic Surround”.
v Wył.: Bez specjalnych efektów akustycznych.
Tony wysokie bBMniej b Więcej
Tony niskie bBMniej b Więcej
Balans bBLewy b Prawy
Zerowanie Przywraca poziomy dźwięku nastawione fabrycznie.
K
Podwój. dźwiękb • Dla emisji stereo:
v Mono.
v Stereo.
• Dla emisji dwujęzycznych:
v Mono (dla kanału mono, jeśli jest dostępny).
v A (dla kanału 1).
v B (dla kanału 2).
Aut. głośność bvWył: Natężenie dźwięku zmienia się w zależności od sygnału stacji.
vWł: Natężenie dźwięku jest jednakowe niezależnie od sygnału stacji (np. w
przypadku reklam).
• Jeśli słuchasz dźwięk telewizora przez słuchawki, opcji “Efekt” automatycznie ulegnie ona przestawieniu
na “Wył.”.
• Jeśli nastawisz Efekt” w pozycji “Dolby Virtual” opcja “Aut. głośność” automatycznie przełączy się na
pozycję “Wył” i odwrotnie.
* “BBE High Definition Sound system” jest produktem Sony Corporation na licencji BBE Sound, Inc.
Zarejestrowany patentem w USA nr. 4,638,258 i 4,482,866. Słowo “BBE” i symbol “BBE” są
znakami firmowymi BBE Sound, Inc.
**Niniejszy telewizor jest tak zaprojektowany by stwarzać efekt dźwięku “Dolby Surround” który
symuluje dźwięk płynący z 4 głośników bez konieczności podłączania żadnego dodatkowego
głośnika. Symulacja ta jest możliwa zawsze gdy sygnał audio stacji nadawany jest w systemie
“Dolby Pro Logic Surround”. Można również zwiśkszyć efekt dźwięku podłączając zewnętrzny
wzmacniacz. Szczegółowy opis znajduje się w rozdziale “Podłączanie dodatkowego urządzenia
audio” na stronie 19.
**Wyprodukowano na podstawie licencji od Dolby Laboratories.“Dolby”, “Pro Logic” oraz symbol
podwójnej litery D są znakimi towarowymi Dolby Laboratories.
cd...
10 System menu na ekranie

PL Text.FM Page 11 Wednesday, June 16, 2004 9:12 AM
Wprowadzenie do systemu menu na ekranie
Poziom 1 Poziom 2 Poziom 3 / Funkcja
TIMER WYŁŃCZENIA
Regulacja Obrazu
Opcja “Timer wył.” w menu “Timer”, pozwala
Tryb: Własny
wybrać okres czasu po upływie którego telewizor
Kontrast
Jasność
automatycznie przełączy się na tryb czuwania
Kolor
Ostrość
(standby).
Odcień
Zerowanie
OK
W tym celu:
Po wybraniu opcji naciśnij przycisk b. Następnie
naciśnij v lub V by nastawić czas (najwyżej 4
godziny) i na zakończenie naciśnij OK by zapisać
Timer
Timer
ustawienie.
Timer wył.:
Wył.
Timer wył.:
Wył.
• By został wyświetlony czas pozostający do
wyłączenia, oglądając telewizję naciśnij przycisk
.
OK
OK
• Na minutę przed prezełączeniem się telewisora w
tryb czuwania, pozostający do tego momentu
czas zostanie automatycznie wyświetlony na
ekranie.
JĘZYK / KRAJ
Opcja “Język/Kraj” w menu “Ustawianie”, pozwala
Regulacja Obrazu
Tryb: Własny
wybrać język w którym wszystkie menu będą
Kontrast
Jasność
wyświetlane na ekranie. Pozwala również wybrać
Kolor
Ostrość
kraj w którym będzie używany telewizor.
Odcień
Zerowanie
OK
W tym celu:
Po wybraniu opcji naciśnij przycisk b, a następnie
postępuj tak jak jest to opisane w rozdziale
“Włączanie telewizora i automatyczne
Ustawianie
Ustawianie
Język/Kraj
Język/Kraj
programowanie”, w punktach 2 i 3 na stronie 7.
Autoprogramowanie
Autoprogramowanie
Sortowanie Programów
Sortowanie Programów
Nazwy Programów
Nazwy Programów
Ustawienia A/V
Ustawienia A/V
Programowanie Ręczne
Programowanie Ręczne
Ustawienia szczegółów
Ustawienia szczegółów
OK
OK
AUTOPROGRAMOWANIE
Opcja “Autoprogramowanie” w menu “Ustawianie”,
Regulacja Obrazu
PL
Tryb: Własny
pozwala by telewizor odszukał i zapisał wszystkie
Kontrast
Jasność
dostępne kanały (stacje telewizyjne).
Kolor
Ostrość
Odcień
Zerowanie
W tym celu:
OK
Po wybraniu opcji naciśnij przycisk b, a następnie
postępuj tak jak jest to opisane w rozdziale “Włączanie
telewizora i automatyczne programowanie”, w
Ustawianie
Ustawianie
punktach 5 i 6 na stronie 8.
Język/Kraj
Język/Kraj
Autoprogramowanie
Autoprogramowanie
Sortowanie Programów
Sortowanie Programów
Nazwy Programów
Nazwy Programów
Ustawienia A/V
Ustawienia A/V
Programowanie Ręczne
Programowanie Ręczne
Ustawienia szczegółów
Ustawienia szczegółów
OK
OK
cd...
System menu na ekranie 11

PL Text.FM Page 12 Wednesday, June 16, 2004 9:12 AM
Wprowadzenie do systemu menu na ekranie
Poziom 1 Poziom 2 Poziom 3 / Funkcja
SORTOWANIE PROGRAMÓW
Regulacja Obrazu
Opcja “Sortowanie programów” w menu
Tryb: Własny
Kontrast
“Ustawianie”, pozwala zmienić kolejność w jakiej
Jasność
Kolor
kanały (stacje telewizyjne) pojawiają się na ekranie.
Ostrość
Odcień
Zerowanie
W tym celu:
OK
Po wybraniu opcji naciśnij
b, a następnie postępuj
tak jak jest to opisane w rozdziale “Włączanie
telewizora i automatyczne programowanie”, w
Ustawianie
Ustawianie
punkcie 7 b) na stronie 8.
Język/Kraj
Język/Kraj
Autoprogramowanie
Autoprogramowanie
Sortowanie Programów
Sortowanie Programów
Nazwy Programów
Nazwy Programów
Ustawienia A/V
Ustawienia A/V
Programowanie Ręczne
Programowanie Ręczne
Ustawienia szczegółów
Ustawienia szczegółów
OK
OK
NAZWY PROGRAMÓW
Regulacja Obrazu
Opcja “Nazwy programów” w menu “Ustawianie”,
Tryb: Własny
pozwala nadać kanałowi nazwę składającą się
Kontrast
Jasność
maksymalnie z pięciu znaków.
Kolor
Ostrość
Odcień
Zerowanie
W tym celu:
OK
1 Po wybraniu opcji naciśnij b, a następnie naciśnij
v lub V by wybrać numer programu któremu
chcesz nadać nazwę.
Ustawianie
Ustawianie
2 Naciśnij b. Gdy pierwszy element kolumny Nazwa
Język/Kraj
Język/Kraj
Autoprogramowanie
Autoprogramowanie
zostanie wyszczególniony naciśnij v lub V by
Sortowanie Programów
Sortowanie Programów
Nazwy Programów
Nazwy Programów
wybrać literę, numer lub “-“ puste miejsce, a
Ustawienia A/V
Ustawienia A/V
Programowanie Ręczne
Programowanie Ręczne
następnie naciśnij b by potwierdzić wybrany
Ustawienia szczegółów
Ustawienia szczegółów
znak. W ten sam sposób wybierz pozostałe
OK
OK
cztery znaki. Na zakończenie naciśnij OK by
zapisać wybraną nazwę.
USTAWIENIA AV
Regulacja Obrazu
Opcja “Ustawienia AV” w menu “Ustawianie”
Tryb: Własny
pozwala nadać nazwę urządzeniu podłączonemu do
Kontrast
Jasność
telewizora.
Kolor
Ostrość
Odcień
Zerowanie
W tym celu:
OK
1 Po nastawieniu opcji naciśnij b, a następnie
naciśnij v lub V by wybrać źródło wejściowe
któremu chcesz nadać nazwę (AV1 i AV2 dla
Ustawianie
Ustawianie
dodatkowych urządzeń podłączonych do złącz
Język/Kraj
Język/Kraj
Euro z tyłu odbiornika telewizyjnego i AV3 dla
Autoprogramowanie
Autoprogramowanie
Sortowanie Programów
Sortowanie Programów
złącz znajdujących się z przodu telewizora).
Nazwy Programów
Nazwy Programów
Ustawienia A/V
Ustawienia A/V
Następnie naciśnij b.
Programowanie Ręczne
Programowanie Ręczne
Ustawienia szczegółów
Ustawienia szczegółów
OK
OK
2 W kolumnie “Nazwa” automatycznie pojawi się
wstępnie nastawiona nazwa:
a) Jesli chcesz użyć jedną z 6 wstępnie
nastawionych nazw (CABLE, GAME, CAM,
DVD, VIDEO lub SAT), naciśnij v lub V by
wybrać jedną z nich i na zakończenie naciśnij
OK by ją zapisać.
b) Jeśli chcesz stworzyć własną nazwę wybierz
Edycja i naciśnij b. Następnie, gdy pierwszy
element jest wybrany naciśnij v lub V by
wybrać literę, numer lub “-“ puste miejsce i
naciśnij b by potwierdzić wybór znaku. W ten
sam sposób wybierz pozostałe cztery znaki i
na zakończenie naciśnij OK by zapisać nazwę.
cd...
12 System menu na ekranie

PL Text.FM Page 13 Wednesday, June 16, 2004 9:12 AM
Wprowadzenie do systemu menu na ekranie
Poziom 1 Poziom 2 Poziom 3 / Funkcja
PROGRAMOWANIE RĘCZNE
Regulacja Obrazu
Opcja “Programowanie ręczne” w menu
Tryb: Własny
“Ustawianie”, pozwala:
Kontrast
Jasność
Kolor
Ostrość
a) Zaprogramować pojedyńczo i w dowolnym
Odcień
Zerowanie
porządku wybrane kanały (stacje telewizyjne) lub
OK
wejście wideo.
W tym celu:
Ustawianie
Ustawianie
1 Po wybraniu opcji “Programowanie ręczne”
Język/Kraj
Język/Kraj
naciśnij przycisk b. Po wybraniu opcji Program,
Autoprogramowanie
Autoprogramowanie
Sortowanie Programów
Sortowanie Programów
naciśnij przycisk b, a następnie v lub V by
Nazwy Programów
Nazwy Programów
Ustawienia A/V
Ustawienia A/V
wybrać numer programu (pozycję) pod którym
Programowanie Ręczne
Programowanie Ręczne
Ustawienia szczegółów
Ustawienia szczegółów
chcesz zapisać stację telewizyjną lub kanał
OK
OK
wideo (dla kanału wideo radzimy wybrać numer
programu “0” ). Naciśnij B.
2 Niniejsza opcja pojawi się w zależności od
kraju wybranego w menu “Język / kraj”.
Po wybraniu opcji System, naciśnij b, a następnie
v lub V by wybrać system nadawania (B/G dla
Europy Zachodniej, D/K dla Europy Wschodniej).
Naciśnij B.
3 Po wybraniu opcji Kanał naciśnij przycisk b a
następnie v lub V by wybrać rodzaj kanału
(“C” dla kanałów naziemnych lub “S”dla
kanałów telewizji kablowej).
Naciśnij b. Następnie naciskaj przyciski
numeryczne by bezpośrednio wprowadzić numer
kanału stacji telewizyjnej lub sygnału kanału
wideo. Nie znając numeru kanału naciśnij
przycisk v lub V by go odszukać. Po znalezieniu
kanału który chcesz zapisać dwukrotnie naciśnij
OK.
Powtórz poszczególne kroki by znaleźć i zapisać
więcej kanałów.
PL
b) Nadać kanałowi nazwę, składającą się z maks. 5
znaków.
W tym celu:
Po wybraniu opcji Program, naciśnij PROG +
lub - aż pojawi się numer programu któremu
chcesz nadać nazwę. Gdy pojawi się on na
ekranie wybierz opcję Nazwa, a następnie
naciśnij przycisk b. Naciśnij v lub V by wybrać
literę, cyfrę lub “-” by zostawić puste miejsce i
naciśnij przycisk b by potwierdzić wybór znaku.
Pozostałe cztery znaki wybierz w ten sam
sposób. Po wybraniu wszystkich znaków
dwukrotnie naciśnij OK by zapisać ustawienie.
cd...
System menu na ekranie 13

PL Text.FM Page 14 Wednesday, June 16, 2004 9:12 AM
Wprowadzenie do systemu menu na ekranie
Poziom 1 Poziom 2 Poziom 3 / Funkcja
c) Nawet gdy automatyczne precyzyjne
Regulacja Obrazu
programowanie (ARC) jest stale włączone można
Tryb: Własny
Kontrast
ręcznie programować by uzyskać lepszy odbiór
Jasność
Kolor
obrazu gdyby pojawiły się zakłócenia.
Ostrość
Odcień
Zerowanie
W tym celu:
OK
Oglądając kanał (stację telewizyjną) który chcesz
precyzyjnie zaprogramować, wybierz opcję
ARC, a następnie naciśnij b. Naciśnij v lub V by
Ustawianie
Ustawianie
Język/Kraj
Język/Kraj
nastawić poziom częstotliwości kanału między
Autoprogramowanie
Autoprogramowanie
Sortowanie Programów
Sortowanie Programów
-15 i +15. Na zakończenie dwukrotnie naciśnij
Nazwy Programów
Nazwy Programów
OK by zapisać ustawienie.
Ustawienia A/V
Ustawienia A/V
Programowanie Ręczne
Programowanie Ręczne
Ustawienia szczegółów
Ustawienia szczegółów
d) Pomijać pozycje programów przy wybieraniu
OK
OK
kanałów przyciskami PROG +/-.
W tym celu:
Po wybraniu opcji Program, naciśnij PROG +
lub - aż pojawi się numer programu który chcesz
pominąć. Gdy pojawi się on na ekranie wybierz
opcję Pomiń, a następnie naciśnij przycisk b.
Naciśnij v lub V by wybrać Tak i na zakończenie
dwukrotnie naciśnij OK by zapisać ustawienie.
By anulować ustawienie tej funkcji wybierz
opcję “Nie” zamiast “Tak”.
e) Opcja ta pozwala dobrze odbierać i nagrywać
kodowany kanał przy użyciu dekodera
podłączonego do złącza Euro 2/ 2 lub
przez podłączony magnetowid lub poprzez
magnetowid podłączony do wymienionego
złącza Euro.
Niniejsza opcja pojawi się w zależności od
kraju wybranego w menu “Język”/kraj”.
W tym celu:
Wybierz opcję Dekoder i naciśnij b. Następnie
naciśnij v lub V by wybrać Wł. Na zakończenie
dwukrotnie naciśnij OK by zapisać ustawienie.
Jeśli później zechcesz zlikwidować tą funkcję,
wybierz Wył. zamiast Wł.
cd...
14 System menu na ekranie

PL Text.FM Page 15 Wednesday, June 16, 2004 9:12 AM
Wprowadzenie do systemu menu na ekranie
Poziom 1 Poziom 2 Poziom 3 / Funkcja
REDUKCJA ZAKŁÓCEŃ
Regulacja Obrazu
Opcja “Redukcja zaklóceń” w menu “Ustawienia
Tryb: Własny
szczegółów” pozwala automatycznie zmniejszać
Kontrast
Jasność
zakłócenia obrazu gdy sygnał TV jest słaby.
Kolor
Ostrość
Odcień
Zerowanie
W tym celu:
OK
Po wybraniu opcji naciśnij przycisk b. Następnie
naciśnij v lub V by wybrać Auto i na zakończenie
naciśnij OK by zapisać ustawienie.
Ustawianie
Ustawienia szczególów
Język/Kraj
Redukcja zakłóceń:
Auto
By anulować ustawienie tej funkcji wybierz opcję
Autoprogramowanie
Wyjście AV2:
TV
Wł.
Sortowanie Programów
Głoćniki TV:
“Wył” zamiast “Auto”.
Centrowanie RGB:
0
Nazwy Programów
Obrót Obrazu:
0
Ustawienia A/V
Programowanie Ręczne
Ustawienia szczegółów
OK
OK
WYJŚCIE AV2
Regulacja Obrazu
Opcja “Wyjście AV2” w menu “Ustawienia
Tryb: Własny
szczegółów” pozwala wybrać gniazdko wyjściowe
Kontrast
Jasność
Euro 2/ 2 by móc nagrywać ze złącza Euro
Kolor
Ostrość
każdy sygnał pochodzący z telewizora lub z innego
Odcień
Zerowanie
urządzenia dodatkowego podłączonego do złącza
OK
Euro 1/ 1 lub do złącz z przodu telewizora
S
3 lub 3 i 3.
Jeśli podłączony magnetowid dysponuje
Ustawianie
Ustawienia szczególów
Język/Kraj
Redukcja zakłóceń:
Auto
Smartlink, proces ten nie jest konieczny.
Autoprogramowanie
Wyjście AV2:
TV
Sortowanie Programów
Głoćniki TV:
Wł.
Centrowanie RGB:
0
Nazwy Programów
Obrót Obrazu:
0
Ustawienia A/V
W tym celu:
Programowanie Ręczne
Po wybraniu opcji naciśnij b. Następnie naciśnij v
Ustawienia szczegółów
OK
lub V by wybrać żądany sygnał wyjściowy TV, AV1,
OK
AV3, YC3 lub AUTO.
Przy wyborze “AUTO”, sygnał wyjściowy zawsze będzie taki sam jak ten pojawiający się na ekranie
TV.
Jeśli dekoder podłączony jest do złącza Euro 2/ 2 lub do magnetowidu podłączonego do tego
złącza Euro, należy pamiętać o nastawieniu “Wyjścia AV2” w “AUTO” lub “TV” by mógł on poprawnie
PL
dekodować.
GŁOŚNIKI TV
Opcja “Głośniki TV” w menu “Ustawienia
Regulacja Obrazu
Tryb: Własny
szczegółów”, pozwala wyłączyć dźwięk z głośników
Kontrast
Jasność
telewizora by słuchać go wyłącznie przez głośniki
Kolor
Ostrość
zewnętrznego wzmacniacza podłączonego do
Odcień
Zerowanie
złączy wyjściowych audio z tyłu telewizora.
OK
W tym celu:
Po wybraniu opcji naciśnij przycisk b. Następnie
naciśnij v lub V by wybrać Wył. i na zakończenie
Ustawianie
Ustawienia szczególów
Język/Kraj
Redukcja zakłóceń:
Auto
naciśnij OK by zapisać ustawienie.
Autoprogramowanie
Wyjście AV2:
TV
Głoćniki TV:
Wł.
Sortowanie Programów
Centrowanie RGB:
0
Nazwy Programów
Obrót Obrazu:
0
By anulować ustawienie tej funkcji wybierz opcję
Ustawienia A/V
Programowanie Ręczne
“Wł.” zamiast “Wył.”.
Ustawienia szczegółów
OK
OK
cd...
System menu na ekranie 15

PL Text.FM Page 16 Wednesday, June 16, 2004 9:12 AM
Wprowadzenie do systemu menu na ekranie
Poziom 1 Poziom 2 Poziom 3 / Funkcja
CENTROWANIE RGB
Regulacja Obrazu
Gdy podłączone jest źródło sygnałów RGB, jak np.
Tryb: Własny
konsola “PlayStation”, może się okazać niezbędna
Kontrast
Jasność
regulacja poziomego centrowania obrazu. Można jej
Kolor
Ostrość
dokonać przy użyciu opcji “Centrowanie RGB” w
Odcień
Zerowanie
menu “Ustawienia szczegółów”.
OK
W tym celu:
Widząc sygnał wejściowy RGB, wybierz opcję
Ustawienia szczególów
“Centrowanie RGB” i naciśnij przycisk b. Następnie
Ustawianie
Język/Kraj
Redukcja zakłóceń:
Auto
naciśnij v lub V by ustawić centrowanie obrazu
Autoprogramowanie
Wyjście AV2:
TV
Głoćniki TV:
Wł.
Sortowanie Programów
Centrowanie RGB:
0
między -10 i +10. Na zakończenie naciśnij OK by
Nazwy Programów
Obrót Obrazu:
0
Ustawienia A/V
zapisać ustawienie.
Programowanie Ręczne
Ustawienia szczegółów
OK
OK
OBRÓT OBRAZU
Regulacja Obrazu
Z powodu magnetyzmu ziemskiego istnieje
Tryb: Własny
możliwość, że obraz będzie przechylony. Można go
Kontrast
Jasność
wówczas wyregulować przy użyciu opcji “Obrót
Kolor
Ostrość
obrazu” w menu “Ustawienia szczegółów”.
Odcień
Zerowanie
OK
W tym celu:
Po wybraniu opcji naciśnij przycisk b. Następnie
naciśnij v lub V by ustawić przechylenie obrazu
Ustawianie
Ustawienia szczególów
między -5 i +5. Na zakończenie naciśnij OK by
Język/Kraj
Redukcja zakłóceń:
Auto
zapisać ustawienie.
Autoprogramowanie
Wyjście AV2:
TV
Głoćniki TV:
Wł.
Sortowanie Programów
Centrowanie RGB:
0
Nazwy Programów
Obrót Obrazu:
0
Ustawienia A/V
Programowanie Ręczne
Ustawienia szczegółów
OK
OK
16 System menu na ekranie

PL Text.FM Page 17 Wednesday, June 16, 2004 9:12 AM
Telegazeta
Telegazeta jest usługą informacyjną transmitowaną przez większość stacji telewizyjnych. Strona ze
spisem treści telegazety (zwykle strona 100) dostarcza informacji o sposobie korzystania z usługi
telegazety. By poruszać się po telegazecie należy używać przycisków pilota tak jak jest to opisane na
tej stronie.
By móc odpowiednio korzystać z telegazety używaj kanał o silnym
sygnale, w przeciwnym wypadku w tekście telegazety mogą pojawić się
błędy.
TELETEXT
TELETEXT
TELETEXT
TELETEXT
TELETEXT
TELETEXT
TELETEXT
TELETEXT
Index
Index
Index
Index
Index
Index
Index
Index
Włączanie Telegazety:
Programme
Programme
Programme
Programme
Programme
Programme
Programme
Programme
25
25
25
25
25
25
25
25
News
News
News
News
News
News
News
News
153
153
153
153
153
153
153
153
Po wybraniu kanału (stacji telewizyjnej) transmitującej telegazetę z której
Sport
Sport
Sport
Sport
Sport
Sport
Sport
Sport
101
101
101
101
101
101
101
101
chcesz korzystać, naciśnij przycisk .
Weather
Weather
Weather
Weather
Weather
Weather
Weather
Weather
98
98
98
98
98
98
98
98
Wybór strony Telegazety:
Używając przycisków numerycznych wprowadź trzy cyfry numeru strony którąchcesz oglądać.
• Przy mylnym wyborze wprowadź dowolne trzy cyfry a następnie wprowadź poprawny numer strony
telegazety.
• Jeśli licznik stron nie zatrzymuje się oznacza to, że wybrana strona nie jest dostępna. W tym wypadku
zmień numer żądanej strony.
Wybór następnej lub poprzedniej strony:
Naciśnij PROG + ( ) lub PROG - ( .
Nałożenie telegazety na obraz telewizyjny:
Oglądając telegazetę naciśnij przycisk . Naciśnij go ponownie by wyjść z trybu telegazety.
Zatrzymanie strony:
Naciśnij przycisk / . Naciśnij go ponownie by anulować zatrzymanie.
Wyświetlanie ukrytej informacji (np. rozwiązania zagadek):
Naciśnij przycisk / . Naciśnij go ponownie by znów ukryć informację.
By wybrać podstronę:
Może się okazać, że strona telegazety składa się z kilku podstron. W tym przypadku numer strony znajdujący
się w lewym górnym rogu ekranu zmieni kolor z białego na zielony i strzałka lub kilka strzałek pojawi się obok
numeru strony. Naciśnij kilkakrotnie przyciski B lub b pilota by zobaczyć żądaną podstronę telegzety.
Wyłączanie telegazety:
Naciśnij przycisk .
PL
Fastext
Usługa Fastext pozwala dostać się do odpowiedniej strony telegazety poprzez naciśnięcie tylko
jednego przycisku.
Gdy korzystasz z usługi telegazety, gdy emitowane są sygnały Fastext, w dolnej części ekranu pojawia
się menu kolorowych kodów które pozwala dostać się bezpośrednio do odpowiedniej strony. W tym
celu naciśnij odpowiedni kolorowy przycisk (czerwony, zielony, żółty lub niebieski) pilota.
Telegazeta 17

PL Text.FM Page 18 Wednesday, June 16, 2004 9:12 AM
Podłączanie dodatkowych urządzeń
Do telewizora można podłączyć bardzo wiele rodzajów dodatkowych urządzeń tak jak jest to pokazane
poniżej. (Do urządzenia nie załączone są kable do tych podłączeń).
MANUFACTURED UNDER LICENCE
FROM DOLBY LABORATORIES
"DOLBY" AND THE DOUBLE - D
SYMBOL ARE TRADEMARKS OF
DOLBY LABORATORIES
(SMARTLINK)
8mm/Hi8/
DVC
kamera
S VHS/Hi8/
DVC
kamera
A
3
B
3
F
C
(SMARTLINK)
o3
ED
Magnetowid
Gdy podłączone zostaną słuchawki,
Hi-Fi
głośniki telewizora automatycznie
“PlayStation”*
wyłączą się
.
Dekoder
DVD
* “PlayStation” jest produktem Sony
Computer Entertainment, Inc
.
* “PlayStation” jest znakiem
firmowym zarejestrowanym przez
Sony Computer Entertainment, Inc
.
• By uniknąć zakłoceń obrazu nie podłączać jednocześnie dodatkowych urządzeń do gniazd A i B.
• Nie podłączaj żadnego dekodera do złącza EURO E.
Podłączanie magnetowidu:
By podłączyć magnetowid przeczytaj rozdział “Podłączanie anteny i magnetowidu”. Radzimy podłączyć
magnetowid do złącza EURO. Gdy nie używasz kabla do złącza EURO, zaprogramuj ręcznie kanał wejściowy
sygnału wideo przy użyciu menu “Programowanie ręczne”, w tym celu przeczytaj punkt a) na stronie 13).
Przeczytaj również instrukcję obsługi posiadanego magnetowidu by dowiedzieć się jak uzyskać kanał
sygnału wideo.
Podłączenie magnetowidu z funkcją Smartlink:
Smartlink jest połączeniem między telewizorem i magnetowidem pozwalającym na bezpośredni
przekaz pewnych informacji. By uzyskać więcej informacji odnośnie Smartlink, należy przeczytać
instrukcję obsługi magnetowidu.
Jeśli używany jest magnetowid z funkcją Smartlink, należy podłączyć kabel Euro do złącza Euro 2/
2 F.
Jeśli do złącza Euro podłączony jest dekoder 2/ 2 F lub magnetowid:
Wybierz opcję “Programowanie Ręczne” w menu “Ustawianie” i po wybraniu opcji “Dekoder”**, wybierz
“Wł” (używając przycisk v lub V) dla każdego kodowanego kanału.
** Opcja ta jest dostępna w zależności od kraju który został wybrany w menu “Język/Kraj”.
cd...
18 Informacje dodatkowe

PL Text.FM Page 19 Wednesday, June 16, 2004 9:12 AM
Podłączanie dodatkowych urządzeń
Podłączenie dodatkowego urządzenia audio:
By odbierać dźwięk telewizora przez głośniki sprzętu stereo, należy podłączyć sprzęt do gniazdka
wyjściowego audio D i w menu systemu wybrać “Ustawianie”. Następnie wybrać opcję “Ustawienia
szczegółów” i wybrać “Wył.” w “Głośniki TV”.
Natężenie dźwięku w podłączonych głośnikach można zmieniać
przyciskami ustawiania dźwięku na pilocie telewizora. Można
również zmieniać poziom dźwięków wysokich i niskich w menu
“Regulacja dźwięku”.
Można również wykorzystać jakość efektu dźwięku
“Dolby Virtual” odbierając dźwięk przez sprzęt muzyczny:
Głośniki sprzętu
W tym celu ustaw głośniki sprzętu muzycznego po obu stronach
Hi-Fi
telewizora w odległości mniej więcej 50 cm od niego.
Po ustawieniu głośników w systemie menu wybierz menu “Regulacja
dźwięku”, i następnie wybierz “Dolby Virtual” w opcji “Efekt”.
50cm 50cm
Optymalna pozycja dla użytkownika
Zastosowanie dodatkowych urządzeń
1
Podłącz dodatkowe urządzenie do odpowiedniego gniazda telewizora tak jak jest to poprzedniej
stronie.
2
Włącz podłączone urządzenie.
3
By pojawił się obraz z podłączonego urządzenia kilkakrotnie naciśnij przycisk aż na ekranie pojawi
się odpowiedni symbol sygnału wejściowego.
Symbol
Sygnały wejściowe
1
• Sygnał wejściowy audio/wideo ze złącza EURO E.
1
• Sygnał wejściowy RGB ze złącza EURO E. Symbol ten pojawi się wyłącznie wtedy jeśli
podłączone zostało źródło wejściowe sygnału RGB.
PL
2
• Sygnał wejściowy audio/wideo ze złącza EURO F.
2
• Sygnał wejściowy RGB ze złącza EURO F. Symbol ten pojawi się wyłącznie wtedy jeśli
podłączone zostało źródło wejściowe sygnału RGB.
3
• Sygnał wejściowy wideo ze złącza RCA B i sygnał wejściowy audio ze złącza C.
S
3
• Sygnał wejściowy S Video ze złącza S Vídeo A i sygnał wejściowy audio ze złącza C.
Symbol ten pojawi się wyłącznie wtedy jeśli podłączone zostało źródło wejściowe
sygnału S Video.
4
By przywrócić normalny obraz telewizyjny naciśnij przycisk pilota.
Dla sprzętu monofonicznego
Podłącz wtyk audio do gniazda L/G/S/I z przodu telewizora i wybierz 3 lub 3 sygnał wejściowy
S
zgodnie z instrukcją powyżej. W rozdziale “Regulacja dźwięku” wybierz “Podwój. dźwięk” “A” w menu
dźwięku na ekranie.
Informacje dodatkowe 19

PL Text.FM Page 20 Wednesday, June 16, 2004 9:12 AM
Dane techniczne
System TV W zależności od wybranego kraju: B/G/H, D/K
System koloru PAL, SECAM, NTSC 3.58, 4.43 (tylko wejście wideo)
Zakresy kanałów VHF: E2-E12
UHF: E21-E69
CATV: S1-S20
HYPER: S21-S41
D/K: R1-R12, R21-R69
Kineskop Płaski Ekran FD Trinitron 29 cali (W przybliżeniu przekątna 73 cm)
Tylne gniazda 1/ 1 Złącze 21-stykowe EURO (norma CENELEC) w tym wejścia
audio/wideo, wejście RGB, wyjście audio/wideo TV
2/ 2 Złącze 21-stykowe Euro (norma CENELEC) w tym wejście
(SMARTLINK) audio/wideo, wejście RGB, wyjście audio/wideo do wyboru i
złącze Smartlink
Wyjścia audio (l./pr.) złącza RCA
Gniazda przednie 3
S
wejście S Video DIN 4-stykowe
3 wejście wideo - złącze RCA
3 wejście audio - złącza RCA
i gniazdo do podłączenia słuchawek
Moc wyjściowa
2 x 20W (moc muzyczna), 2 x 10W (moc skuteczna)
dźwięku
Pobór mocy 113W
Zużycie energii w
0.3W
trybie czuwania
(standby)
Wymiary
807mm x 603mm x 543mm
(szer. x wys. x głęb.)
Waga 45kg
Akcesoria w
Pilot mod. RM-947 (1 szt.), Baterie (zgodne z normą IEC) ( 2 szt.)
wyposażeniu
Inne dane • Obraz 100Hz
• Telegazeta, Fastext, TOPtext (250 stron w pamięci Telegazety)
• Automatyczne wyłączenie
• Smartlink (bezpośrednie połączenie między telewizorem i kompatybilnym
magnetowidem. Szersza informacja o łączu Smartlink znajduje się w
instrukcji obsługi magnetowidu)
• Automatyczne wykrywanie systemu przekazu sygnałów TV
• Dolby Virtual
• BBE
Wygląd i dane techniczne mogą ulec zmianie bez uprzedzenia.
20 Informacje dodatkowe

PL Text.FM Page 21 Wednesday, June 16, 2004 9:12 AM
Rozwiązywanie problemów
Oto kilka prostych rozwiązań problemów związanych z obrazem i dźwiękiem.
Problem Rozwiązanie
Brak obrazu (ekran jest ciemny) i brak dźwięku. • Sprawdź podłączenie anteny.
• Włącz telewizor do sieci i naciśnij przycisk z
przodu urządzenia.
• Jeśli pojawi się wskaźnik naciśnij przycisk TV
pilota.
Słaba jakość obrazu lub jego brak, lecz dobra
• Przy użyciu systemu menu wybierz menu “Regulacja
jakość dźwięku.
obrazu” i ustaw “Zerowanie” by przywrócić
nastawienia fabryczne.
Brak obrazu lub brak menu informacyjnego z
• Upewnij się, że dodatkowe urządzenie jest włączone
dodatkowego urządzenia podłączonego do
do sieci i kilkakrotnie naciśnij przycisk pilota, aż
złącza EURO z tyłu telewizora.
odpowiedni symbol sygnału wejściowego pojawi się
na ekranie.
Dobry obraz lecz brak dźwięku. • Naciśnij przycisk +/- pilota.
• Sprawdź czy opcja “Głośniki TV” w menu
“Ustawienia szczegółów” ustawiona jest w pozycji
“Wł.”.
• Sprawdź czy słuchawki zostały odłączone.
Brak koloru w programach kolorowych. • Przy użyciu systemu menu wybierz menu “Regulacja
obrazu” i ustaw “Zerowanie” by przywrócić
nastawienia fabryczne.
Obraz ulega zniekształceniu przy zmianie
• Wyłącz urządzenie podłączone do złącza 21 -
programu lub przy czytaniu telegazety.
stykowego EURO z tyłu telewizora.
W telegazecie pojawiają się nieprawidłowe
• Po wprowadzeniu w menu trybu wyświetlania ekranu
litery.
“Język/Kraj” wybierz swój kraj.
Obraz jest przechylony. •
Przy użyciu systemu menu wybierz opcj
ę
“Obrót
obrazu”
w menu “Ustawienia szczegółow” i
wyreguluj przechylenie.
Zakłócenia obrazu. • Przy użyciu systemu menu wybierz opcję “ARC” w
menu “Programowanie Ręczne” i ręcznie
zaprogramuj by uzyskać lepszy odbiór obrazu.
• Przy użyciu systemu menu wybierz opcję “Redukcja
PL
zakłóceń” w menu “Ustawienia szczegółow” i
wybierz opcję “Auto” by zmniejszyć zakłócenia
obrazu.
Obraz nie jest poprawnie dekodowany lub jest
• W systemie menu wybierz do menu “Ustawianie”.
niestały przy odbiorze przez dekoder
Następnie wybierz opcję “Ustawienia szczegółów ” i
podłączony do złącza Euro 2/ 2.
ustaw “Wyjście AV2” w “TV”.
• Sprawdź czy dekoder nie jest podłączony do złącza
EURO 1/ 1.
Nie działa pilot. • Zmień baterie.
Miga wskaźnik trybu czuwania (standby) . • Skontaktuj się z najbliższą stacją serwisową Sony.
• W przypadku awarii oddaj telewizor do naprawy wykwalifikowanemu personelowi technicznemu.
• Nigdy nie otwieraj obudowy.
Informacje dodatkowe 21

Untitled1.fm Page 1 Thursday, March 25, 2004 9:27 AM

RU Text.FM Page 3 Wednesday, April 28, 2004 4:13 PM
Введение
Мы благодарим Вас за то, что Вы выбрали зтот цветной телевизор с
Плоским Экраном FD Trinitron.
Перед первым включением телевизорa внимательно ознакомьтесь c дaнной Инструкцией по
Зксплуатации и сохраните ее для будущих консультаций.
• Условные обозначения, используемые в данной Инструкции:
• Важная информация.
• Затененные кнопки пультв
дистанционного управления указывают
• Информация о работе.
на кнопки, которые надо нажать для
• 1,2... Последовательность инструкций
выполнения различных инструкций.
для выполнения.
• Информация о результатах выполнения
инструкций.
Оглавление
Введение ................................................................................................................................................ 3
Общие правила техники безопасности ............................................................................................... 4
Общее описание
Назначение кнопок на пульте дистанционного управления ............................................................. 5
Общее описание кнопок телевизорa .................................................................................................. 6
Установка
Установка батареек в пульт дистанционного управления................................................................ 6
Подключение антенны и видеомагнитофона .................................................................................... 6
Первое включение телевизорa в работу
Включение и автоматическая настройка телевизора .......................................................................7
Вывод системы меню на зкран
Введение и работа с системой меню................................................................................................... 9
Схема меню:
Настройка изображения .............................................................................................................. 9
Настройка звука ........................................................................................................................... 10
Таймер выключения..................................................................................................................... 11
Язык/Страна ................................................................................................................................. 11
Автонастройка .............................................................................................................................. 11
Сортировка программ .................................................................................................................. 12
Метки программ............................................................................................................................ 12
Предустановка АV........................................................................................................................ 12
Ручная настройка программ........................................................................................................ 13
Шумопонижение ........................................................................................................................... 15
Выход AV3 ..................................................................................................................................... 15
Динамики TB ................................................................................................................................. 15
RGB цеитрирование ..................................................................................................................... 16
Поворот изображения.................................................................................................................. 16
RU
Телетекст ............................................................................................................................................ 17
Дополнительная информация
Подключение дополнительных устройств .......................................................................................... 18
Использование дополнительных устройств........................................................................................ 19
Спецификации ....................................................................................................................................... 20
Выявление неисправностей ................................................................................................................. 21
Оглавление 3

RU Text.FM Page 4 Wednesday, April 28, 2004 4:13 PM
Общие правила техники безопасности
Из соображений безопасности и
Не допускайте попадания каких-либо
энергосбережения не рекомендуется
предметов внутрь телевизора, так как это
Этот телевизор предназначен для
оставлять телевизор в дежурном режиме в
может привести к возгоранию или поражению
работы только от сети переменного
то время, когда он не используется.
электрическим током. Не допускайте
тока напряжением 220-240 В. Не
Отключайте телевизор от сети сетевой
проливания каких-либо жидкостей на
подключайте слишком много
кнопкой. Однако, в некоторых телевизорах
телевизор. Если все же произошло проливание
могут быть функции, для правильной
электроприборов к одной розетке,
жидкости или попадание какого-либо предмета
работы которых выключенный телевизор
так как это может привести к
внутрь телевизора, немедленно выключите
должен оставаться в дежурном режиме.
телевизор и не включайте его до тех пор, пока
возгоранию или поражению
Такие условия специально оговорены в
его не проверит квалифицированный мастер.
электрическим током.
инструкции по эксплуатации
Не вскрывайте корпус и заднюю
В целях Вашей безопасности не
Во избежание опасности
крышку телевизора. Обращайтесь
прикасайтесь к любым частям
возгорания или поражения
только к квалифицированному
телевизора, сетевому шнуру или
электрическим током оберегайте
техническому персоналу.
антенному кабелю во время грозы.
телевизор от дождя и сырости.
Не перекрывайте вентиляционные
Не помещайте телевизор в местах с
Во избежание возгорания не
отверстия в телевизоре. Для
повышенной температурой,
располагайте вблизи телевизора
обеспечения нормальной
влажностью или запыленностью. Не
легковоспламеняющиеся предметы
вентиляции оставляйте вокруг
устанавливайте телевизор в месте,
и источники открытого огня
телевизора пространство не менее
где он может подвергаться
(например, свечи).
воздействию механической
10 см с каждой стороны.
вибрации
Вытирайте экран и корпус телевизора
При отключении вилки питания
Следите за тем, чтобы тяжелые
только мягкой, слегка увлажненной
от розетки тяните за саму вилку, а
предметы не ставились на шнур
материей. Не используйте абразивные
не за провод питания.
питания, так как это может
материалы, щелочные моющие
привести к его повреждению.
средства, чистящие порошки и
Рекомендуется смтывать
растворители, такие как спирт, бензин,
антистатический аэрозоль и т.п. Из
излишнюю длину сетевого шнура
соображений безопасности отключайте
на специальные держатели на
штепсель ТВ от сети на время уборки.
задней крышке телевизора.
Отключайте вилку питания телевизора
Устанавливайте телевизор на прочную,
из розетки перед тем, как переставить
Не накрывайте вентиляционные
телевизор. При переноске телевизора
устойчивую подставку. Никогда не
отверстия телевизора газетами,
будьте осторожны, избегайте неровных
пытайтесь передвигать телевизор
шторами и т.п.
поверхностей и чрезмерных усилий. В
вместе с подставкой (тумбой) – всегда
случае падения или повреждения
переставляйте телевизор и тумбу по
телевизора нужно, чтобы его
отдельности. Не ставьте телевизор
немедленно проверил
набок или экраном вверх. Не
квалифицированный технический
позволяйте детям влезать на телевизор.
персонал
4 Общие правила техники безопасности

RU Text.FM Page 5 Wednesday, April 28, 2004 4:13 PM
Назначение кнопок на пульте дистанционного управления
1 Временное отключение телевизора:
1
Нажмите для временного отключния телевизора (загорится
индикатор режима ожидания ). Нажмите еще раз для
включения телевизора из режима временного
2
отключния (standby).
минут нет
телевизионного
сигнала, и если Вы
не
нажимаете ни на
одну из кнопок,
телевизор
автоматически пер
.
3
Если в течение 15 минут нет
телевизионного
сигнала, и если
4
Вы
не
нажимаете ни на одну из кнопок,
телевизор
qj
автоматически перейдет в
режим временного
qh
5
отключния (standby).
qg
6
2 Выбор входного сигнала:
qf
7
Нажмите несколько раз, пока обозначенйе требуемого входного
сигнала не появится на зкране.
8
3 Выбор каналов:
Нажмите эти кнопки для ввода номера нужного канала.
qd
9
видеомагнитофона.
Для номеров программы
из
двух цйфр, нажмите вторую в
период времени до 2, 5 секунд.
4 Кнопка предыдущего канала:
qs
q;
Нажмите для возвращения к последнему выбранному каналу
(предыдущий канал должен был задержаться на зкране в
qa
течение 5 секунд минимально).
5 Зта кнопка работает только в режиме телетекста.
6 Зта кнопка работает только в режиме телетекста.
7 Выбор телетекста:
Нажмите дпя включения телетекста.
8 Навигационные Клавиши:
•
Вызвав MENU, пользуйтесь зтими кнопками дл
я
перемещения
по системе меню.
Для получения более подробной
нформации, обратитесь к главе «Введение и работа с
системой меню» на странице 9.
• Если MENU не вызвано, нажмите OK дпя того, чтобы увидеть
полный список настроенных каналов. Выберйте канал
(телевизионную станцию), нажав на v или V, после чего снова
нажмйте OK дпя просмотра выбранного канала.
9 Выбор формата экрана:
qf Выбор режима телевизора:
Нажмите несколько раз для изменения
Нажмите для отключения телетекста или
формата экрана: 4:3 для обычного изображения
входа сигнала видео.
или 16:9 для имитaции широкого экрана.
qg Выбор звукового зффектаt:
q; Выбор каналов:
Нажмите на зту кнопку несколько раз для
Нажмите для выбора следующего или
изменения звукового зффекта.
предыдущего канала.
qh Выбор Pежима Изобразения:
qa Отключеоие звука:
Нажмите несколько раз для смены режима
RU
Нажать для отключения звука. Нажать еще
Изобразения.
раз для восстановления звука.
qj Показать информацию на зкране:
qs Регулировка Уровня Громкости:
Нажать для вывода на зкран всех указаний.
Нажать для регулировка уровня громкости
Снова нажать для отмены.
телевизора.
qd Включение системы меню:
Нажмите для вывода меню на зкран. Нажмите
еще раз для его выключения и дия
возвращения к обычному зкрану телевизора.
Помимо функций телевизора, все цветные кнопки также используются для работы с
телетесктом. Для получения более подробной информации, обратитесь к Разделу «Телетекст»
данной Инструкции по Зксплуатации.
Общее описание 5

RU Text.FM Page 6 Wednesday, May 12, 2004 2:59 PM
Общее описание кнопок телевизора
Кнопки выбора
последующей или
предыдущей
программы (выбор
телевизионных
станций)
Кнопки регулировки
громкости
Кнопка выбора
3
Кнопка началъной
источника входа
автонастройки
Индикатор режима
телевизора
временного
3
выключения
Вход для
Вход для
(standby)
видео
видео
сигнала S
Чтобы открыть
сигнала
доступ к гнездам,
потяните за дверцу
Вход для аудио
на боковой стенке
o3
сигнала
телевизора
Гнездо для
наушников
Переключатель
включение /
выключение
Установка батареек в пульт дистанционного управления
Убедитесь в том, что батарейки вставлены в соответствии с обозначенными полюсами.
Бережно относитесь к окружающей среде и выбрасывайте отработанные батарейки в
специально установленные для зтого контейнеры.
O
C
Y
N
O
S
O
P
R
/4
N
P
A
J
A
N
I
O
T
R
A
JAPAN/4
SONY CORPORATION
Подлючение антенны и видеомагнитофона
Провода для подключения не входят в комплект поставки.
видеомагнитофон
(SMARTLINK)
MANUFACTURED UNDER LICENCE
ИЛИ
FROM DOLBY LABORATORIES
"DOLBY" AND THE DOUBLE - D
SYMBOL ARE TRADEMARKS OF
DOLBY LABORATORIES
(SMARTLINK)
(SMARTLINK)
Подключение через Евроразъем (SCART) (поставляется дополнительно)
Для получения более подробной информации о подключении
видеомагнитофона обратитеь к Разделу "Подключение дополнительных
устройств данной Инструкции по Зксплуатации.
6 Общее описание - Установка

RU Text.FM Page 7 Wednesday, April 28, 2004 4:13 PM
Включение и автоматическая настройка телевизора
При первом включении телевизора на зкране появится ряд меню, с помощью которых можно:
1) выбрать язык меню, 2) выбрать страну, где Вы будете пользоваться телевизором, 3)
регулировка наклона изображения, 4) искать и автоматически запоминать все имеющиеся
каналы (телевизионных станции) и 5) изменять порядок появления каналов (телевизионных
станций) на зкране телевизора.
зтих параметров регулировки, Вы можете зто сделать, выбрав соответствующий пункт в
(меню установка), или нажав кнопку автоматической начальной настройки на передней
панели телевизора.
1
Включите штепсель телевизора в розетку сети переменного
тока (220-240 B, 50Гц). При первом включении телевизора,
включение происходит автоматически. Если он не
включится, нажмите на кнопку включение/выключение
на передней части телевизора для его включения.
При включении телевизора в первый раз, наћзкране
автоматически появится меню Language (Язык).
2
Нажмите на кнопку v или V пульта дистанционного
Language
управления для выбора языка, а затем нажмите на кнопку
i
v
Svenska
OK для подтверждения выбора. Начиная с зтого момента все
Norsk
English
меню появятся на зкране на выбранном Вами языке.
Nederlands
Français
Italiano
i
V
Select Language:
OK
3
На зкране автоматически появится меню Страна. Нажмите
Cтpaнa
на кнопку v или V для выбора страны, гдеВы будете
v
Sverige
пользоваться телевизором, а затем нажмите на кнопку OK
Norge
-
для подтверждения выбора.
Italia
Deutschland
Österreich
i
V
• Если в списке нет той страны, где Вы будете
Bыбepитe cтpaнy:
OK
пользоваться телевизором, выберите «-»‚ вместо
страны.
• Чтобы избежать неправильного отображения символов
телетекста при использовании языков с кириллицей, в
случае, если Вашей страны нет в списке стран,
рекомендуется выбрать Россию.
4
Воздействие магнитного поля Земли может привести к
наклону изображения. В зтом случае Вы можете
Ecли изoбpaжeниe иepeкoшeнo
нacтpoйтe
ПOBOPOT ИЗOБPAЖ.
RU
отрегулировать его, используя пункт меню Поворот
изображ.
Heт нeoбxoдимocти
Oтpeгyлиpoвaтъ
a) Если зто не требуется, нажмите v или V для выбора Нет
необходимости и нажмите OK.
OK
б) Если зто требуется, нажмите v или V для выбора
Отрегулировать и нажмите OK. После зтого
отрегулируйте наклон изображения от -5 до +5, нажав v
или V. После зтого нажмите на OK для запоминания.
продолжeниe...
Первое включение телевизора в работу 7

RU Text.FM Page 8 Wednesday, April 28, 2004 4:13 PM
Включение и автоматическая настройка телевизора
5
На зкране появится меню Автонастройка. Нажмите на
кнопку OK для выбора Да.
Bы xoтитe нaчaть
автоматическую нacтpoйкy?
Дa
Heт
OK
6
Телевизор начинает настраивать и автоматически
запоминать все имеющиеся каналы (телевизионные
Aвтoнacтpoйкa
станции).
Пpoгpaммa:
01
Cиcтемa:
B/G
Kaнaл:
C21
Зтот процесс занимает несколько минут. Надо
набраться терпения и не нажимать на кнопки в течение
Пoиcк...
процесса настройки, иначе настройка прервется.
Если телевизор не обнаружил ни одного канала
Heт нaйдeнo ни oднoгo кaнaлa
Heт cигнaлa oт aнтeнны
(телевизионной станции) с помощью автонастройки, на
Пoдтвepждeн иe
зкране появится сообщение о том, что следует
подключить антенну. Подключите, пожалуйста, антенну
в соответствии с инструкциями, приведенными на стр. 6
OK
данного сборника, после чего нажмите OK. Процесс
автонастройки возобновится.
7
После того, как телевизор настроил и запомнил все
Copтиpoвкa пpoгpaмм
каналы (телевизонные станции), на зкране
Пpoгpaммa:
автоматически появится меню Сортировка программ
01 TVE
02 TVE2
для изменения порядка появления каналов на зкране.
03 TV3
04 C33
05 C27
06 C58
a) Если Вы не хотите изменять порядок каналов, обратитесь
Bыбepитe кaнaл:
Bыxoд:
MENU
OK
к пункту 8.
b) Если вы хотите изменить порядок каналов:
Copтиpoвкa пpoгpaмм
1 Нажмите на кнопку v или V для выбора номера
Пpoгpaммa:
01 TVE
программы и канала (телевизионной станции), который
02 TVE2
03 TV3
Вы хотите изменить, после чего нажмите на кнопку b.
04 C33
05 C27
2 Нажмите на v или V для выбора нового номера
06 C58 05 C27
программы, где Вы хотите запомнить выбранный Вами
Bыб. нoвyю пoзиц.:
Bыxoд: MENU
OK
канал (телевизионную станцию), после чего нажмите на
B.
3 Повторите шаги б)1 и б)2, если Вы хотите изменить
порядок появления других телевизионных каналов.
8
Нажмите на кнопку MENU для возвращения к нормальному
MENU
зкрану телевизора.
8 Первое включение телевизора в работу

RU Text.FM Page 9 Wednesday, April 28, 2004 4:13 PM
Введение и работа с системой меню
В данном телевизоре предусмотрена система вывода меню на зкран для объяснения
различных операций. Пользуйтесь следующими кнопками пульта дистанционного управления
для передвижения по меню:
1
Нажмите на кнопку MENU для выхода на первый уровень
MENU
меню на зкране.
2
• Для подчеркивания требуемого меню или пункта меню,
нажмите на v или V
.
• Для входа в меню или в выбранныйпункт меню, нажмите b.
• Для того, чтобы вернуться в предыдущее меню или пункт
меню, нажмите B
.
• Для изменения параметров выбранного пункта меню
нажмите v/V/B или b.
• Для подтверждения и запоминания Вашего выбора,
нажмите OK.
3
Нажмите на кнопку MENU для возвращения к обычному
MENU
зкрану телевизора.
Схема меню
Уровень 1 Уровень 2 Уровень 3 / Функци
Hacтpoйкa изoбpaжeния
Hacтpoйкa изoбpaжeния
НАСТРОЙКА ИЗОБРАЖЕНИЯ
Peжим: Персональный
Peжим: Персональный
Меню «Настройка изображения» дает
Koнтpacт
Koнтpacт
Яpкocть
Яpкocть
возможность изменить параметры регулировки
Цвeтность
Цвeтность
Резкость
Резкость
изображения.
Цвeтoвoй Toн
Цвeтoвoй Toн
Сброс
Сброс
OK
OK
Для зтого :
После выбора пункта, который Вы хотите
изменить, нажмите на b. После зтого нажмите
несколько раз на v/V/B или b для изменения
параметров, а затем нажмите OK для
запоминания.
Зто меню также дает возможность изменить
режим изображения в соответствии с видом
программы, которую Вы смотрите:
v Персональный (по личному предпочтению).
v Репортаж (для прямых трансляций, а также
RU
сигналов с DVD и цифровых декодеров).
v Кино (для фильмов).
• Яркость, Цветность и Резкость можно изменить только в том случае, если Вы выбрали режим
изображения в «персональный».
• Цветовой Тон можно изменять только в системе цвета NTSC (например, видеопленки
производства США).
• Для возвращения к заводским параметрам настройки изображения выберите Сброс и нажмите
на OK.
продолжeниe...
Вывод системы меню на зкран 9

RU Text.FM Page 10 Wednesday, April 28, 2004 4:13 PM
Введение и работа с системой меню
Уровень 1 Уровень 2 Уровень 3 / Функци
НАСТРОЙКА ЗВУКА
Hacтpoйкa изoбpaжeния
Вы можете изменить настройку режима звука в
Peжим: Персональный
меню «Настройка звука».
Koнтpacт
Яpкocть
Цвeтность
Резкость
Для зтого:
Цвeтoвoй Toн
Сброс
Выберите пункт меню, который Вы хотите
OK
изменить, и нажмите b. После зтого нажмите
несколько раз v/V/B или b для изменения
настройки, после чего нажмите OK для
Hacтpoйкa звyкa
Hacтpoйкa звyкa
запоминания.
Зффeкт: Ecтecтвeнный
Зффeкт: Ecтecтвeнный
Te м бp BЧ
Te м бp BЧ
TeмЂp HЧ
TeмЂp HЧ
Яaлaнc
Яaлaнc
Cбpoc
Cбpoc
Двoйнoй звyк: Moнo
Двoйнoй звyк: Moнo
Aвтopeг. гpoм.: Bкл.
Aвтopeг. гpoм.: Bкл.
OK
OK
Зффект bvЕстественный: Подчеркивает четкость, оттенки и само звучание
посредством системы «BBE High Definition Sound System»*.
v Динамичный: «BBE High Definition Sound system»*: усиливает четкость и
само звучание, способствуя большей разборчивости речи и
более естественному звучанию музыки.
v Dolby**Virtual: Симуляция звукового зффекта «Dolby Surround Pro Logic».
v Выкл
.: без специальных акустических зффектов.
Тембр ВЧ bBМеньше b Больше
Тембр HЧ bBМеньше b Больше
Баланс bBЛевый b Правый
Сброс Восстанавливает заводскуюћнастройку уровней звука.
K
Двойной звукb • Для стерео передач:
v Моно
v Стерео
• Для двуязычных передач:
v Моно (для канала моно, если он есть).
v A (для канала 1).
v Б (для канала 2).
Авторег. громbvВыкл
.:Громкость изменяется в зависимости от сигнала канала
радиовещания.
v Вкл.: Громкость поддерживается на одном и том же уровне, вне
зависимости от сигнала канала радиовещания (например, в
рекламе).
• Если Вы слушаете телевизор через наушники, то пункте «Зффект» автоматически перейдет в
положение «Выкл.».
• При включении «Зффект» в положение «Dolby Virtual.», «Авторег. гром.» автоматически
перейдет в положение «Выкл» и наоборот.
* BBE произведен Sony Corporation по лицензии BBE Sound, Inc. Он защищен патентом США
за номером 4,638,258 и 4,482,866. Слово BBE и символ BBE являются торговыми марками
BBE Sound, Inc.
**Данный телевизор был сконструирован для создания звукового зффекта «Dolby Surround»
имитируя зффект четырех громкоговорителей посредством только двух громкоговорителей
телевизора, и только в том случае, если звуковой сигнал станции будет «Dolby Surround».
Помимо зтого, можно улучшить звуковой зффект посредством подключения внешнего
громкоговорителя· Для получения более подробной информации, обратитесь к главе
«Подключение внешнеи звуковоспроизводящей аппаратуры» на странице 19.
**Изготовлено по лицензии фирмы Dolby Laboratories. Долби, «Dolby», «Pro Logic» и символ с
двойным D товарные знаки фирмы Dolby Laboratories.
продолжeниe...
10 Вывод системы меню на зкран

RU Text.FM Page 11 Wednesday, April 28, 2004 4:13 PM
Введение и работа с системой меню
Уровень 1 Уровень 2 Уровень 3 / Функци
ТАЙМЕР ВЫКЛЮЧЕНИЯ
Пункт «Таймер выкл.» в меню «Таймер» дает
Hacтpoйкa изoбpaжeния
Peжим: Персональный
возможность выбрать период времени, по
Koнтpacт
Яpкocть
истечении которого телевизор автоматически
Цвeтность
Резкость
перейдет в режим временного отключеня
Цвeтoвoй Toн
(standby).
Сброс
OK
Для зтого:
После выбора зтого пункта нажмите на b После
зтого нажмите на v или V для выбора интервала
Taймep
Taймep
времени (максимально 4 часа).
Taймep Bыкл.:
Bыкл.
Taймep Bыкл.:
Bыкл.
• Если, во время просмотра, Вы хотите увидеть,
сколько минут осталось до отключения,
нажмите на кнопку .
OK
OK
• За одну минуту до временного отключения
телевизора зто оставшееся время появится на
зкране.
ЯЗЫК/СТРАНА
Hacтpoйкa изoбpaжeния
Пункт «Язык/Страна» в меню «Установка» дает
Peжим: Персональный
Koнтpacт
возможность выбратьћязык, который Вы
Яpкocть
Цвeтность
предпочитаете для появления меню на зкране.
Резкость
Цвeтoвoй Toн
Также Вы можете выбрать страну, где Вы
Сброс
будете пользоваться телевизором.
OK
Для зтого:
После выбора зтого пункта меню, нажмите на b,
Уcтaнoвкa
Уcтaнoвкa
после чего выполняйте все, указанное в Разделе
Язык/Cтpaнa
Язык/Cтpaнa
Aвтoнacтpoйкa
Aвтoнacтpoйкa
«Включение и автоматическая настройка
Copтиpoвкa пpoгpaмм
Copтиpoвкa пpoгpaмм
Meтки пpoгpaмм
Meтки пpoгpaмм
телевизора», пункты 2 и 3 на странице 7.
Пpeдycтaнoвкa AV
Пpeдycтaнoвкa AV
Pyч. Hacтpoйкa Пpoгpамм
Pyч. Hacтpoйкa Пpoгpамм
дeтaльнaя ycтaнoвкa
дeтaльнaя ycтaнoвкa
OK
OK
АВТОНАСТРОЙКА
Hacтpoйкa изoбpaжeния
Пункт меню «Автонастройка» в меню
Peжим: Персональный
«Установка» дает возможность поиска и
Koнтpacт
Яpкocть
запоминания всех доступных каналов
Цвeтность
Резкость
(телевизионных станций).
Цвeтoвoй Toн
Сброс
OK
Для зтого:
После выбора зтого пункта меню, нажмите на b,
а затем выполните указанное в Разделе
RU
Уcтaнoвкa
Уcтaнoвкa
«Включение и автоматическая настройка
Язык/Cтpaнa
Язык/Cтpaнa
Aвтoнacтpoйкa
Aвтoнacтpoйкa
телевизора», пункты 5 и 6 на странице 8.
Copтиpoвкa пpoгpaмм
Copтиpoвкa пpoгpaмм
Meтки пpoгpaмм
Meтки пpoгpaмм
Пpeдycтaнoвкa AV
Пpeдycтaнoвкa AV
Pyч. Hacтpoйкa Пpoгpамм
Pyч. Hacтpoйкa Пpoгpамм
дeтaльнaя ycтaнoвкa
дeтaльнaя ycтaнoвкa
OK
OK
продолжeниe...
Вывод системы меню на зкран 11

RU Text.FM Page 12 Wednesday, April 28, 2004 4:13 PM
Введение и работа с системой меню
Уровень 1 Уровень 2 Уровень 3 / Функци
СОРТИРОВКА ПРОГРАММ
Пункт меню «Сортировка программ» в меню
Hacтpoйкa изoбpaжeния
«Установка» дает возможность изменить
Peжим: Персональный
Koнтpacт
порядок появления на зкране каналов
Яpкocть
Цвeтность
(телевизионных станций).
Резкость
Цвeтoвoй Toн
Сброс
Для зтого:
OK
После выбора зтого пункта меню, нажмите на b,
после чего выполните все указанное в пункте
7б) на странице 8. Раздела «Включение и
Уcтaнoвкa
Уcтaнoвкa
автоматическая настройка телевизора».
Язык/Cтpaнa
Язык/Cтpaнa
Aвтoнacтpoйкa
Aвтoнacтpoйкa
Copтиpoвкa пpoгpaмм
Copтиpoвкa пpoгpaмм
Meтки пpoгpaмм
Meтки пpoгpaмм
Пpeдycтaнoвкa AV
Пpeдycтaнoвкa AV
Pyч. Hacтpoйкa Пpoгpамм
Pyч. Hacтpoйкa Пpoгpамм
дeтaльнaя ycтaнoвкa
дeтaльнaя ycтaнoвкa
OK
OK
МЕТКИ ПРОГРАММ
Пункт «Метки программ» в меню «Установка»
Hacтpoйкa изoбpaжeния
дает возможность присвоить каналу название с
Peжим: Персональный
Koнтpacт
максимальным количеством из пяти знаков.
Яpкocть
Цвeтность
Резкость
Цвeтoвoй Toн
Для зтого:
Сброс
1 После выбора зтого пункта, нажмите b, после
OK
чего нажмите v или V для выбора номера
программы, которой Вы хотите дать название.
2 Нажмите b. Выделив первый злемент
Уcтaнoвкa
Уcтaнoвкa
столбика Метка, нажмите v или V для выбора
Язык/Cтpaнa
Язык/Cтpaнa
буквы, цифры или «-» для пустого пробела,
Aвтoнacтpoйкa
Aвтoнacтpoйкa
Copтиpoвкa пpoгpaмм
Copтиpoвкa пpoгpaмм
после чего нажмите b для подтверждения
Meтки пpoгpaмм
Meтки пpoгpaмм
Пpeдycтaнoвкa AV
Пpeдycтaнoвкa AV
выбранного знака. Точно так же выберите
Pyч. Hacтpoйкa Пpoгpамм
Pyч. Hacтpoйкa Пpoгpамм
дeтaльнaя ycтaнoвкa
дeтaльнaя ycтaнoвкa
остальные четыре знака. После зтого
OK
OK
нажмите OK для запоминания.
ПРЕДУСТАНОВКА AV
Пункт «Предустановка AV» в меню «Установка»
Hacтpoйкa изoбpaжeния
дает возможность присвоить название
Peжим: Персональный
Koнтpacт
дополительному устройству, подключенному к
Яpкocть
Цвeтность
телевизору.
Резкость
Цвeтoвoй Toн
Для зтого:
Сброс
1 После выбора зтого пункта, нажмите b, после
OK
чего нажмите v или V для выбора источника
входного сигнала, которому Вы хотите
присвоить название (AV1 и AV2 для
Уcтaнoвкa
Уcтaнoвкa
дополнительных устройств, подключенных с
Язык/Cтpaнa
Язык/Cтpaнa
помощью Евроразъемов на задней панели
Aвтoнacтpoйкa
Aвтoнacтpoйкa
Copтиpoвкa пpoгpaмм
Copтиpoвкa пpoгpaмм
телевизора, и AV3 для разъемов на передней
Meтки пpoгpaмм
Meтки пpoгpaмм
Пpeдycтaнoвкa AV
Пpeдycтaнoвкa AV
панели). После зтого нажмите b.
Pyч. Hacтpoйкa Пpoгpамм
Pyч. Hacтpoйкa Пpoгpамм
дeтaльнaя ycтaнoвкa
дeтaльнaя ycтaнoвкa
2 Автоматически появится заданное название в
OK
OK
Метка:
a) Если Вы хотите воспользоваться одним из
6 заданных названий (CABLE, GAME,
CAM, DVD, VIDEO или SAT), нажмитеv или
V для выбора одного из них, после чего
нажмите OK для запоминания.
б) Если Вы хотите создать Ваше собственное
название, выберите Изм и нажмите b.
После зтого, выделив первый злемент,
нажмите v или V для выбора буквы, цифры
или «-» для пустого пробела, после чего
нажмите b для подтверждения
выбранного знака. Точно так же выберите
остальные четыре знака, после чего
нажмите OK для запоминания.
продолжeниe...
12 Вывод системы меню на зкран

RU Text.FM Page 13 Wednesday, April 28, 2004 4:13 PM
Введение и работа с системой меню
Уровень 1 Уровень 2 Уровень 3 / Функци
РУЧНАЯ НАСТРОЙКА ПРОГРАММ
Hacтpoйкa изoбpaжeния
Пункт меню «Руч. настройка программ» в меню
Peжим: Персональный
«Установка» дает возможность:
Koнтpacт
Яpкocть
Цвeтность
Резкость
a) Настроить одну за одной и в определенном
Цвeтoвoй Toн
Сброс
порядке интересующие Вас программы,
OK
каналы (телевизионные станции) или вход
видеомагнитофона.
Уcтaнoвкa
Уcтaнoвкa
Для зтого:
Язык/Cтpaнa
Язык/Cтpaнa
1 После выбора пункта меню «Ручная
Aвтoнacтpoйкa
Aвтoнacтpoйкa
Copтиpoвкa пpoгpaмм
Copтиpoвкa пpoгpaмм
настройка Прогр.» нажмите b. Выделив пункт
Meтки пpoгpaмм
Meтки пpoгpaмм
Пpeдycтaнoвкa AV
Пpeдycтaнoвкa AV
меню Программа, нажмите на b, после чего
Pyч. Hacтpoйкa Пpoгpамм
Pyч. Hacтpoйкa Пpoгpамм
дeтaльнaя ycтaнoвкa
дeтaльнaя ycтaнoвкa
нажмите на v или V для выбора номера
OK
OK
программы (позиции), где Вы хотите
настроить телевизионную станцию (для
видеомагнитофона мы рекомендуем Вам
выбрать номер программы «0»). Нажмите B.
2 Следующий пункт появится только в
зависимости от страны, которую Вы
выбрали в меню «Язык/Страна».
После выбора пункта меню Система нажмите
на b, после чего нажмите на v или V для
выбора системы телевизионной станции (B/G
для Западной Евроры, или D/K для Восточной
Европы). Нажмите B.
3 После выбора пункта меню Канал нажмите b,
а затем нажмите v или V для выбора вида
канала («С» для широковещательных
каналов или «S» для кабельных каналов).
Нажмите b. Затем нажмите на цифровые
кнопки для ввода номера канала
телевизионной станции или сигнала канала
видео. Если Вы не знаете номер канала,
нажмите v или V для его поиска. Когда Вы
найдете канал, который Вы хотите
запомнить, нажмите OK два раза.
Повторите все зти шаги для настройки и
запоминания остальных каналов.
б
) Обозначить канал меткой до пяти знаков.
RU
Для зтого:
Выделите пункт меню Программа и нажмите
PROG + или - до появления номера
программы, которой Вы хотите дать
название. Когда он появится на зкране,
выберите пункт меню Метка, после чего
нажмите b. Нажмите v или V для выбора
одной буквы, одной цифры или «-» для
пропуска и нажмите b для подтверждения
зтого знака. Выберите остальные четыре
знака точно так же. После того, как Вы
выбрали все знаки, нажмите OK два раза для
запоминания.
продолжeниe...
Вывод системы меню на зкран 13

RU Text.FM Page 14 Wednesday, May 12, 2004 3:01 PM
Введение и работа с системой меню
Уровень 1 Уровень 2 Уровень 3 / Функци
в
) Обычно включена автоматическая
Hacтpoйкa изoбpaжeния
подстройка каналов (АПЧ), но можно
Peжим: Персональный
Koнтpacт
осуществить подстройку вручную для
Яpкocть
Цвeтность
получения лучшего качества приема
Резкость
Цвeтoвoй Toн
изображения в том случае, если оно искажено.
Сброс
Для зтого:
OK
В то время, когда Вы смотрите канал
(телевизионную станцию), который Вы
хотите подстроить, выберите пункт меню
Уcтaнoвкa
Уcтaнoвкa
АПЧ, после чего нажмите b. Нажмите v или V
Язык/Cтpaнa
Язык/Cтpaнa
для подстройки частоты канала от -15 до
Aвтoнacтpoйкa
Aвтoнacтpoйкa
Copтиpoвкa пpoгpaмм
Copтиpoвкa пpoгpaмм
+15. После чего нажмите OK два раза для
Meтки пpoгpaмм
Meтки пpoгpaмм
Пpeдycтaнoвкa AV
Пpeдycтaнoвкa AV
запоминания.
Pyч. Hacтpoйкa Пpoгpамм
Pyч. Hacтpoйкa Пpoгpамм
дeтaльнaя ycтaнoвкa
дeтaльнaя ycтaнoвкa
OK
OK
г) Пропустить номера программ, которые Вам
не нужны, при выборе их с помощью кнопок
PROG+/-.
Для зтого:
Выделить пункт меню Программа и нажать
PROG + или -, пока не появится номер
программы, который Вы хотите пропустить.
Когда он появится на зкране, выберите пункт
меню Пропуск, после чего нажмите b.
Нажмите v или V для выбора Да, после чего
нажмите OK два раза для запоминания.
Если Вы захотите отменить зту функцию в
дальнейшем, выберите снова «Нет» вместо
«Да».
e) Смотреть и правильно записывать
закодированный канал при помощи
декодера, подключенного к Евроразъему
2/ 2 непосредственно или через
видеомагнитофон.
Следующий пункт появится только в
зависимости от страны, которую Вы
выбрали в меню «Язык/Страна».
Для зтого:
Выберите пункт меню декодер и нажмите b.
После зтого нажмите v или V для выбора
Вкл. После зтого нажмите два раза OK для
запоминания.
Если в дальнейшем Вы захотите отказаться
от зтой возможности, выберите снова
«Выкл.» вместо «Вкл.».
продолжeниe...
14 Вывод системы меню на зкран

RU Text.FM Page 15 Wednesday, May 12, 2004 3:01 PM
Введение и работа с системой меню
Уровень 1 Уровень 2 Уровень 3 / Функци
ШУМОПОНИЖЕНИЕ
Пункт «Шумопонижение» в меню «детальная
Hacтpoйкa изoбpaжeния
Peжим: Персональный
установка» позволяет автоматически уменьшить
Koнтpacт
шум изображения при слабом сигнале.
Яpкocть
Цвeтность
Для зтого:
Резкость
Цвeтoвoй Toн
После выбора зтого пункта меню нажмите b.
Сброс
После зтого нажмите v или V для выбора Auto,
OK
после чего нажмите OK для запоминания.
Если в дальнейшем Вы хотите отменить зту
Уcтaнoвкa
Дeтaльнaя ycтaнoвкa
функцию, выберите «Выкл.» вместо «Auto.».
Шyмoпoнижeниe:
Auto
Язык/Cтpaнa
Bыxoд AV2:
TV
Aвтoнacтpoйкa
Динaмики TB:
Bкл.
Copтиpoвкa пpoгpaмм
RGB Чeнтpиpoвaниe:
0
Meтки пpoгpaмм
Поворот Изoбpaж.:
0
Пpeдycтaнoвкa AV
Pyч. Hacтpoйкa Пpoгpамм
дeтaльнaя ycтaнoвкa
OK
OK
ВЫХОД AV2
Hacтpoйкa изoбpaжeния
Пункт меню «Выход AV2» в меню «Детальная
Peжим: Персональный
установка» дает возможность выбрать
Koнтpacт
Яpкocть
выходной сигнал Евроразъема 2/ 2 для
Цвeтность
Резкость
записи через данный Евроразъем любого
Цвeтoвoй Toн
Сброс
сигнала, поступающего от телевизора или от
OK
любого другого дополнительного устройства,
подключенного к Евроразъемa 1/ 1 или
находящимся на передней панели разъемам
3 или 3 и 3.
Уcтaнoвкa
Дeтaльнaя ycтaнoвкa
Шyмoпoнижeниe:
Auto
Язык/Cтpaнa
Bыxoд AV2:
TV
Aвтoнacтpoйкa
Динaмики TB:
Bкл.
Если у Вашего видеомагнитофона есть
Copтиpoвкa пpoгpaмм
RGB Чeнтpиpoвaниe:
0
Meтки пpoгpaмм
Поворот Изoбpaж.:
0
Пpeдycтaнoвкa AV
Смартлинк, то в зтом нет необходимости.
Pyч. Hacтpoйкa Пpoгpамм
дeтaльнaя ycтaнoвкa
OK
Для зтого:
OK
После выбора данного пункта меню, нажмите b.
После зтого нажмите v или V для выбора
требуемого выходного сигнала TV, AV1, AV3,
YC3 или AUTO.
При выборе «AUTO», выходной сигнал При выбудет всегда тем же, который появился на
зкране телевизора.
Если Вы подключили декодер к Евроразъему 2/ 2 или к видеомагнитофону,
подключенному к данному Евроразъему, не забудьте снова перевести «Выход AV2» в «AUTO»
или «TV» для правильного декодирования сигнала.
ДИНАМИКИ ТВ
RU
Пункт «Динамики ТВ» в меню «Детальная
Hacтpoйкa изoбpaжeния
Peжим: Персональный
установка» дает возможность отключить звук
Koнтpacт
Яpкocть
телевизионных громкоговорителей для
Цвeтность
получения звука только через внешний
Резкость
Цвeтoвoй Toн
усилитель звука, подключенный к гнездам
Сброс
выхода аудио на задней панели телевизора.
OK
Для зтого:
После выбора зтого пункта меню, нажмите b.
Уcтaнoвкa
Дeтaльнaя ycтaнoвкa
После зтого нажмите v или V для выбора Выкл.,
Шyмoпoнижeниe:
Auto
Язык/Cтpaнa
Bыxoд AV2:
TV
Aвтoнacтpoйкa
Динaмики TB:
Bкл.
после чего нажмите OK для запоминания.
Copтиpoвкa пpoгpaмм
RGB Чeнтpиpoвaниe:
0
Meтки пpoгpaмм
Поворот Изoбpaж.:
0
Пpeдycтaнoвкa AV
Pyч. Hacтpoйкa Пpoгpамм
Если в дальнейшем Вы хотите отменить зту
дeтaльнaя ycтaнoвкa
OK
функцию, выберите «Вкл.» вместо «Выкл.».
OK
продолжeниe...
Вывод системы меню на зкран 15

RU Text.FM Page 16 Wednesday, April 28, 2004 4:13 PM
Введение и работа с системой меню
Уровень 1 Уровень 2 Уровень 3 / Функци
RGB ЦЕНТРИРОВАНИЕ
При подключении источника сигналов RGB,
Hacтpoйкa изoбpaжeния
Peжим: Персональный
таких, как «Playstation», возможно, что
Koнтpacт
Яpкocть
потребуется отрегулировать положение
Цвeтность
Резкость
изображения по горизонтали. В зтом случае Вам
Цвeтoвoй Toн
Сброс
надо обратиться к пункту меню «RGB
OK
центрирование» в меню «Детальная установка».
Для зтого:
В то время, как Вы видите входной сигнал RGB,
Уcтaнoвкa
Дeтaльнaя ycтaнoвкa
Шyмoпoнижeниe:
Auto
выберите пункт меню «RGB центрирование» и
Язык/Cтpaнa
Bыxoд AV2:
TV
Aвтoнacтpoйкa
Динaмики TB:
Bкл.
нажмите b. После зтого нажмите v или V для
Copтиpoвкa пpoгpaмм
RGB Чeнтpиpoвaниe:
0
Meтки пpoгpaмм
Поворот Изoбpaж.:
0
регулировки положения изображения от -10 до
Пpeдycтaнoвкa AV
Pyч. Hacтpoйкa Пpoгpамм
+10. После зтого нажмите на OK для
дeтaльнaя ycтaнoвкa
OK
запоминания.
OK
ПОВОРОТ ИЗОБРАЖЕНИЯ
Hacтpoйкa изoбpaжeния
Воздействие магнитного поля Земли может
Peжим: Персональный
привести к наклону изображения. В зтом случае
Koнтpacт
Яpкocть
Вы можете отрегулировать его, используя пункт
Цвeтность
Резкость
меню «Поворот Изображ.» в меню «Детальная
Цвeтoвoй Toн
Сброс
установка».
OK
Для зтого:
После выбора зтого пункта меню нажмите на b.
После зтого нажмите на v или V для регулировки
Уcтaнoвкa
Дeтaльнaя ycтaнoвкa
Шyмoпoнижeниe:
Auto
наклона изображения от -5 до +5. После зтого
Язык/Cтpaнa
Bыxoд AV2:
TV
Aвтoнacтpoйкa
Динaмики TB:
Bкл.
нажмите на OK для запоминания.
Copтиpoвкa пpoгpaмм
RGB Чeнтpиpoвaниe:
0
Meтки пpoгpaмм
Поворот Изoбpaж.:
0
Пpeдycтaнoвкa AV
Pyч. Hacтpoйкa Пpoгpамм
дeтaльнaя ycтaнoвкa
OK
OK
16 Вывод системы меню на зкран

RU Text.FM Page 17 Wednesday, April 28, 2004 4:13 PM
Телетекст
Телетекст - зто информационные услуги, которые предоставляют основные телевизионные
станции. Страница оглавления услуг телетекста (обычно зто страница 100) предоставляет
информацию о том, как надо пользоваться зтой службой. Для работы с телетекстом пользуйтесь
кнопками пульта дистанционного управления в соответствии с приведенными ниже указаниями.
Убедитесь в том, что настроенный Вами канал телевидения имеет хороший сигнал, в противном
случае в телетексте могут появиться ошибки.
Как войти в услуги Телетекста:
TELETEXT
TELETEXT
TELETEXT
TELETEXT
TELETEXT
TELETEXT
TELETEXT
TELETEXT
После выбора канала (телевизионной станции), передающего
Index
Index
Index
Index
Index
Index
Index
Index
интересующий Вас телетекст, нажмите .
Programme
Programme
Programme
Programme
Programme
Programme
Programme
Programme
25
25
25
25
25
25
25
25
News
News
News
News
News
News
News
News
153
153
153
153
153
153
153
153
Sport
Sport
Sport
Sport
Sport
Sport
Sport
Sport
101
101
101
101
101
101
101
101
Выберите страницу Телетекста:
Weather
Weather
Weather
Weather
Weather
Weather
Weather
Weather
98
98
98
98
98
98
98
98
Введите три цифры номера интересующей Вас страницы с помощью
цифровых кнопок дистанционного управления.
• В случае ошибки, введите три любые цифры, а затем снова введите правильный номер страницы.
• Если счетчик страниц не останавливается, зто значит, что такой страницы нет. В зтом случае
введите другой номер страницы.
Выберите следующую или предыдущую страницу:
Нажмите на кнопкуе PROG+ ( ) или PROG- ( ).
Наложить телетекст на телевизионное изображение:
В то время, когда Вы смотрите телетекст, нажмите . Нажмите снова для выхода из режима
телетекста.
Задержка одной страницы:
Нажмите / . Нажмите снова для отмены задержки.
Показать скрытую информацию (например, решение кроссворда):
Нажмите / . Нажмите еще раз для того, чтобы зта информация не была видна.
Для выбора подстраницы:
Возможно, что одна страница телетекста включает несколько подстраниц. В зтом случае, номер
страницы, который появляется в левой верхней части, изменится с белого на зеленый, и рядом с
номером страницы появится одна или несколько стрелок. Нажмите несколько раз на кнопки B или b
дистанционного управления, для того, чтобы увидеть интересующую Вас подстраницу.
Выход из службы телетекста:
Нажмите .
Фастекст
Услуги фастекста дают возможность получить доступ к страницам телетекста, нажимая только
одну кнопку.
RU
Если Вы находитесь в режиме телетекста и в том случае, если есть сигналы фастекста, на
нижней части страницы появится меню цветных кодов, которые дают возможность прямого
доступа к странице. Для зтого нажмите на соответствующую цветную кнопку (красную,
зеленую, желтую или синюю) дистанционного управления.
Телетекст 17

RU Text.FM Page 18 Wednesday, May 12, 2004 3:01 PM
Подключение дополнительных устройств
К телевизору можно подключить широкую гамму дополнительных устройств, как зто показано
ниже. (Провода для подключения не поставляются).
MANUFACTURED UNDER LICENCE
FROM DOLBY LABORATORIES
"DOLBY" AND THE DOUBLE - D
SYMBOL ARE TRADEMARKS OF
DOLBY LABORATORIES
(SMARTLINK)
8mm/Hi8/DVC
видеокамера
S VHS/ Hi8/
DVC
видеокамера
A
3
B
3
F
C
o3
(SMARTLINK)
ED
KBM
Hi-Fi
Когда вы подкючите наушники,
громкоговорители телевизора
“PlayStation”*
автоматически отключатся
.
декодер
DVD
* “PlayStation” зто продукт Sony Computer
Entertainment, Inc
.
* “PlayStation” зто зарегистрированная
марка Sony Computer Entertainment, Inc
.
• Во избежание искажения изображения не подключайте устройства одновременно к разъемам
A и B.
• Запрещается подключать декодер к евроразъему E.
Подключение видеомагнитофона:
Для подключения видеомагнитофона обратитесь к Разделу "Подключение антенны и
видеомагнитофона". Мы рекомендуем подключить видеомагнитофон через шнур с Евроразъемом
(SCART). Если у Вас нет такого шнура, настройте программу с номером "0" на тестовый сигнал
видеомагнитофона с помощью меню "Руч. Настройка программ" (для зтого обратитесь к пункту а) на
странице 13).
Также обратитесь к Инструкции по Зксплуатации Вашего видеомагнитофона для определения
частотного канала выжодного сигнала.
Подключение видеомагнитофона со Smartlink:
Smartlink - зто прямая связь между телевизором и видеомагнитофоном, которая дает
возможность прямой передачи определенной информации. Если Вам требуется более
детальная информация о Smartlink, обратитесь к Инструкции по зксплуатации Вашего
видеомагнитофона.
Если в Вашем видеомагнитофоне предусмотрен Smartlink, пользуйтесь шнуром Евроразъема,
подсоединив его к Еврорзъему 2/ 2 F.
Если Вы подключили декодер непосредственно к Евроразъему 2/ 2 F или через
видеомагнитофон, подключенный к зтому разъему:
Выберите пункт меню "Руч. Настройка программ" в меню "Установка", и после выбора пункта
"Декодер"** выберите "Вкл." (с помощью v или V) для каждого закодированного канала.
** Зтот пункт появится только в зависимости от страны, которую Вы выбрали в меню "Язык/Страна".
продолжeниe...
18 Дополнительная информация

RU Text.FM Page 19 Wednesday, May 12, 2004 3:01 PM
Подключение дополнительных устройств
Подключение внешней звуковоспроизводящей аппаратуры:
Если Вы хотите воспользоваться Вашим музыкальным центром для воспроизведения звука
телевизора, подключите это устройство к выходу аудио D, и Выберите «Установка» в системе меню.
После зтого войдите в пункт меню «Детальная установка» и выберите «Выкл.» в «Динамики ТВ».
Громкость внешних колонок может регулироваться с помощью кнопок регулировки громкости на
пульте дистанционного управления телевизора. Также можно изменить уровень тембра ВЧ и
тембра НЧ в меню «Настройка звука».
Громкоговорители
Вашего музыкального
Вы также можете получить звуковой зффект
центра Hi-Fi
«Dolby Virtual» в Вашем музыкальном центре
Для зтого установите громкоговорители Вашего музыкального
центра с обеих сторон телевизора на расстоянии приблизительно
50 см от телевизора до каждого громкоговорителя. После
установки громкоговорителей, выберите меню «Настройка
звука» ипосле этого, выберите «Dolby Virtual» в пункте «Эффект».
50 см 50 см
Оптимальное положение
для пользователя
Использование дополнительных устойств
1
Подключите дополнительное устройство к соответствующему разъему телевизора, как это
указано на предыдущей странице.
2
Включите подключенное устройство.
3
Если Вы хотите увидеть изображение с подключенного устройства, нажмите несколько раз на
кнопку до появления на зкране правильного символа входа.
Символ
Входные сигналы
1
• Входной сигнал аудио/видео посредством Евроразъема E.
1
• Входной сигнал RGB посредством Евроразъема E. Этот символ появляется
только при подключении входа RGB.
2
• Входной сигнал аудио/видео посредством Евроразъема F.
2
• Входной сигнал RGB посредством Евроразъема F. Этот символ появляется
только при подключении входа RGB.
3
• Входной сигнал видео посредством разъема RCA B и входной сигнал аудио
посредством C.
RU
S
3
• Входной сигнал Ѕ-видео посредством разъема видео Ѕ A и входной сигнал аудио
посредством C. Этот символ появляется только при подключении входа Ѕ-видео.
4
Для возвращения к нормальному экрану телевизора нажмите на кнопку пульта
дистанционного управления.
Для моно оборудования
Подсоедините моно штеккер к гнезду L/G/S/I на передней части телевизора и выберите входной
сигнал 3 или 3, используя вышеприведенные инструкции. Наконеч, обратитесь к разделу
S
«Настройка звука» настоящей инструкции и выберите «Двойной звук» «А» на зкране звукового меню.
Дополнительная информация 19

RU Text.FM Page 20 Wednesday, May 12, 2004 3:01 PM
Спецификации
Система
В зависимости от‚ выбранной страны: B/G/H, D/K
телевещания
Система кодировки
PAL, SECAM, NTSC 3.58, 4.43 (только для входа видео)
цвета
Диапазон
VHF: E2-E12
принимаемых
UHF: E21-E69
каналов
CATV: S1-S20
HYPER: S21-S41
D/K: R1-R12, R21-R69
Кинескоп Плоский зкран FD Trinitron
29 дюймов (приблизительно 73 см по диагонали)
Задние входные и
1/ 1 21-контактный Евроразъем (стандарт CENELEC), включая
выходные разъемы
вход аудио/видео, вход RGB, выход аудио/видео TB
2/ 2 21-контактный Евроразъем (стандарт CENELEC),
(SMARTLINK) включая вход аудио/видео, вход RGB, выход аудио/видео
при возможности выбора и подключение Смартлинк
Bыходы аудио (лев./прав.) -разъемы RCA
Разъемы на передней
S
3 вход видео S-ДИН 4 контактный
панели
3 вход видео - разъем RCA
3 вход видео - разъемы RCA
i вход для наушников
Аудиовыход 2 x 20 Вт (музыкальная мощность), 2 x 10 Вт (RMS)
Потреблеоие
113 Вт
злектрознергии
Потреблеоие
0.3 Вт
злектрознергии в
состоянии ожидания
(standby)
Габариты (ширина х
807mm x 603mm x 543mm
высота х глубина)
Вес приблизительно 45kg
Комплект
1пульт дистанционного управления RM-947, 2 батарейки по стандарту IEC
принадлежностей
Прочие
• Изображение на 100 гц
характеристики
• Телетекст, Фастекст, TOПтекст (250 страниц памяти Телетекста)
• Таймер выключения
• Смартлинк (прямая связь между телевизором и соответствующим
видеомагнитофоном· Если Вам требуется более детальная информация
о Смартлинк, обратитесь к инструкции по зксплуатации Вашего
видеомагнитофона)
• Автоматическое определение системы телевидения
• Dolby Virtual
• BBE
Printed in Spain
Отпечатано в Испания
Внесение изменений в дизайн и
Sony Spain S. A.
Сони Спзйн С.А. завод в
спецификации производится без
Pol. Ind. Can Mitjans s/n
Барселоне
предварительного оповещения.
08232 Viladecavalls
Пол.Кан Митьянс с/н 08232
(Barcelona)
Виладекавальс, Барселона,
Spain
Испания
20 Дополнительная информация

RU Text.FM Page 21 Wednesday, May 12, 2004 3:01 PM
Выявление неисправностей
Ниже приводятся некоторые простые советы по устранению возможных нарушений качества
изображения и звука.
Неисправность Меры по устранению
Нет изображения (темный зкран), нет звука. • Проверьте, подключена ли антенна.
• Включите вилку телевизора в розетку и нажмите
на кнопку на передней панели телевизора.
• Если индикатор телевизора светится, нажмите
на кнопку TV дистанционного управления.
Изображение плохое или отсутствует
• С помощью системы меню войдите в меню
(темный зкран), но хороший звук.
«Настройка изображения» и выберите «Сброс»
для возвращения к параметрам, заданным
изготовителем.
Отсутствует изображение или информационное
• Убедитесь в том, что включено дополнительное
меню дополнительного устройства,
устройство и несколько раз нажмите на кнопку
подключенного к Евроразъему на задней панели
дистанционного управления, до тех пор, пока
телевизора
.
правильный символ входа не появится на зкране.
Хорошее качество изображения, но нет
• Нажмите на кнопку дистанционного
звука.
управления.
• Убедитесь в том, что в пункте меню «Динамики TB»
в меню «Детальная установка» выбрано «Вкл.».
• Проверить, чтобы наушники были отключены.
Нет цвета на цветных передачах. • С помощью системы меню войдите в меню
«Настройка изображения» и выберите «Сброс»
для возвращения к параметрам, заданным
изготовителем.
Изображение искажается при смене
• Выключите устройство, подключенное к 21-
программы или при выборе телетекста.
контактному Евроразъему на задней панели
телевизора.
При просмотре телетекста появляются
• Используя меню, войдите в пункт «Язык/Страна»
некорректные символы.
и выберите страну, в которой Вы пользуетесь
телевизором. При использовании языков с
кириллицей, в случае, если Вашей страны нет в
списке стран, рекомендуется выбрать Россию.
Изображение наклонено. • С помощью системы меню выберите пункт
«Вращение изображения» в меню «детальная
установка» и исправьте наклон.
Изображение с помехами при просмотре TB
• С помощью системы меню выберите пункт «АПЧ»
канала.
в меню «Ручная Настройка Прогр.» и вручную
настройте изображение для улучшения качества
его приема.
• С помощью системы меню выберите пункт
«Понижение шума» в меню «детальная
RU
установка» и выберите «Auto» для снижения
шума изображения.
Нет декодирования или неустойчивое
• С помощью системы меню войдите в меню
изображение при просмотре закодированного
«Установка», после зтого войдите в пункт меню
канала с декодером, подключенным к
«Детальная установа» и установите «Выход AV2»
Евроразъему 2/ 2.
в «TV».
• Убедитесь в том, что декодер не подключен к
евроразъему 1/ 1.
Не работает пульт дистанционного
• Смените батарейки.
управления.
Индикатор временного отключения (Standby)
• Свяжитесь с ближбйшим сервисным центром
моргает.
Сони.
• Если проблемы неустранимы, обратитесь к квалифицированному персоналу для ремонта
Вашего телевизора.
• Никогда не вскрывайте сами корпус телевизора.
Дополнительная информация 21

Untitled1.fm Page 1 Thursday, March 25, 2004 9:27 AM

Cover(K).fm Page 3 Thursday, April 15, 2004 2:09 PM

Cover(K).fm Page 4 Wednesday, May 12, 2004 11:46 AM
204844251
2-048-442-51(3)
KV-29CS60K

