Sony FD Trinitron WEGA KV-32CS71K – page 6
Manual for Sony FD Trinitron WEGA KV-32CS71K
Table of contents

32CS71 K PL.FM Page 21 Wednesday, March 16, 2005 3:56 PM
Dane techniczne
System TV:
Gniazda przednie:
W zależności od wybranego kraju:
S
4
wejście S Video DIN 4-stykowe
B/G/H. D/K
4 wejście wideo - złącze RCA
4 wejście audio - złącza RCA
System koloru:
gniazdo do podłączenia słuchawek
PAL, SECAM
NTSC 3.58, 4.43 (tylko wejście wideo)
Moc wyjściowa dźwięku:
2 x 14 W (moc muzyczna)
Zakresy kanałów:
2 x 7 W (RMS)
VHF: E2-E12
UHF: E21-E69
Pobór mocy:
CATV: S1-S20
102 W
HYPER: S21-S41
D/K R1-R12, R21-R69
Zużycie energii w trybie czuwania (standby):
0.4 W
Kineskop:
Płaski Ekran FD Trinitron WIDE
Wymiary (szer. x wys. x głęb.):
32 cali (W przybliżeniu przekątna 82 cm)
W przybliżeniu. 933 x 562 x 572 mm.
Tylne gniazda:
Waga:
1/ Złącze 21-stykowe EURO (norma
W przybliżeniu. 60 Kg.
CENELEC) w tym wejścia audio/wideo,
wejście RGB, wyjście audio/wideo TV
Akcesoria w wyposażeniu:
Pilot mod. RM-947 (1 szt.)
2/ Złącze 21-stykowe EURO (norma
Baterie (zgodne z normąIEC) ( 2 szt.)
CENELEC) w tym wejścia audio/wideo,
wejście RGB, wyjście audio/wideo ekran
Inne dane :
• Obraz 100 Hz
3/ Złącze 21-stykowe Euro (norma
S
• Telegazeta, Fastext, TOPtext (250 stron w pamięci
(SMARTLINK)CENELEC) w tym wejście audio/wideo,
Telegazety)
wejście wideo S, wyjście audio/wideo do
• Automatyczne wyłączenie
wyboru i złącze Smartlink
• Smartlink (bezpośrednie połączenie między
telewizorem i kompatybilnym magnetowidem.
Wyjścia audio (l./pr.) złącza RCA
Szersza informacja o łączu Smartlink znajduje się
w instrukcji obsługi magnetowidu)
• Automatyczne wykrywanie systemu przekazu
sygnałów TV
• Dolby Virtual
• BBE
• Autoformatowanie
Wygląd i dane techniczne mogą ulec zmianie bez uprzedzenia.
Papier Ekologiczny -100% bez chloru
PL
Pozbycie się Zużytego Sprzętu (Stosowane w krajach Unii Europejskiej i w pozostałych krajach
europejskich mających własne systemy zbiórki)
Taki symbol na produkcie lub jego opakowaniu oznacza, że produkt nie może być traktowany jako
odpad komunalny, lecz powinno się go dostarczyć do odpowiedniego punktu zbiórki sprzętu
elektrycznego i elektronicznego, w celu recyklingu. Poprzez upewnię się, że dyspozycja dotycząca
produktu jest poprawna, zapobiega się potencjalnym negatywnym wpływom na środowisko oraz
zdrowie ludzi, jakie mogłyby wystąpić w przypadku niewłasciwego postępowania. Recykling
materiałów pomoże w ochronie naturalnych żródeł. W celu uzyskania bardziej szczegółowych
informacji na temat recyklingu tego produktu, należy skontaktować się z naszym lokalnym biurem,
ze służbami oczyszczania miasta lub ze sklepem, w którym zakupiony został ten produkt.
Informacje dodatkowe 21

32CS71 K PL.FM Page 22 Wednesday, February 16, 2005 2:16 PM
Rozwiązywanie problemów
Oto kilka prostych rozwiązań problemów związanych z obrazem i dźwiękiem.
Problem Rozwiązanie
Brak obrazu (ekran jest ciemny) i brak dźwięku. • Sprawdź podłączenie anteny.
• Włącz telewizor do sieci i naciśnij przycisk z
przodu urządzenia.
• Jeśli pojawi się wskaźnik naciśnij przycisk TV
pilota.
Słaba jakość obrazu lub jego brak, lecz dobra
• Przy użyciu systemu menu wybierz menu “Regulacja
jakość dźwięku.
obrazu” i ustaw “Zerowanie” by przywrócić
nastawienia fabryczne.
Brak obrazu lub brak menu informacyjnego z
• Upewnij się, że dodatkowe urządzenie jest włączone
dodatkowego urządzenia podłączonego do
do sieci i kilkakrotnie naciśnij przycisk pilota, aż
złącza EURO z tyłu telewizora.
odpowiedni symbol sygnału wejściowego pojawi się
na ekranie.
Dobry obraz lecz brak dźwięku.•Naciśnij przycisk +/- pilota.
• Sprawdź czy opcja “Głośniki TV” w menu
“Ustawienia szczegółów” ustawiona jest w pozycji
“Wł.”.
• Sprawdź czy słuchawki zostały odłączone.
Brak koloru w programach kolorowych.•Przy użyciu systemu menu wybierz menu “Regulacja
obrazu” i ustaw “Zerowanie” by przywrócić
nastawienia fabryczne.
Obraz ulega zniekształceniu przy zmianie
• Wyłącz urządzenie podłączone do złącza 21 -
programu lub przy czytaniu telegazety.
stykowego EURO z tyłu telewizora.
W telegazecie pojawiają się nieprawidłowe
• Po wprowadzeniu w menu trybu wyświetlania ekranu
litery.
“Język/Kraj” wybierz swój kraj.
Obraz jest przechylony.•
Przy użyciu systemu menu wybierz opcj
ę
“Obrót
obrazu”
w menu “Ustawienia szczegółow” i
wyreguluj przechylenie.
Zakłócenia obrazu.•Przy użyciu systemu menu wybierz opcję “ARC” w
menu “Programowanie Ręczne” i ręcznie
zaprogramuj by uzyskać lepszy odbiór obrazu.
• Przy użyciu systemu menu wybierz opcję “Redukcja
zakłóceń” w menu “Ustawienia szczegółow” i
wybierz opcję “Auto” by zmniejszyć zakłócenia
obrazu.
Obraz nie jest poprawnie dekodowany lub jest
• W systemie menu wybierz do menu “Ustawianie”.
niestały przy odbiorze przez dekoder
Następnie wybierz opcję “Ustawienia szczegółów ” i
podłączony do złącza Euro 3/ 3.
S
ustaw “Wyjście AV3” w “TV”.
• Sprawdź czy dekoder nie jest podłączony do złącza
EURO 2/ 2.
Nie działa pilot.•Zmień baterie.
Miga wskaźnik trybu czuwania (standby) .•Skontaktuj się z najbliższą stacją serwisową Sony.
• W przypadku awarii oddaj telewizor do naprawy wykwalifikowanemu personelowi technicznemu.
• Nigdy nie otwieraj obudowy.
22 Informacje dodatkowe

32CS71 K RU.FM Page 3 Wednesday, March 16, 2005 3:57 PM
Введение
Мы благодарим Вас за то, что Вы выбрали зтот цветной телевизор с
Плоским Экраном FD Trinitron.
Перед первым включением телевизорa внимательно ознакомьтесь c дaнной Инструкцией по
Зксплуатации и сохраните ее для будущих консультаций.
• Условные обозначения, используемые в данной Инструкции:
• Важная информация.
• Затененные кнопки пультв
дистанционного управления указывают
• Информация о работе.
на кнопки, которые надо нажать для
• 1,2... Последовательность инструкций
выполнения различных инструкций.
для выполнения.
• Информация о результатах выполнения
инструкций.
Оглавление
Введение ................................................................................................................................................ 3
Общие правила техники безопасности ............................................................................................... 4
Общее описание
Назначение кнопок на пульте дистанционного управления ............................................................. 5
Общее описание кнопок телевизорa .................................................................................................. 6
Установка
Установка батареек в пульт дистанционного управления................................................................ 6
Подключение антенны и видеомагнитофона .................................................................................... 6
Первое включение телевизорa в работу
Включение и автоматическая настройка телевизора .......................................................................7
Вывод системы меню на зкран
Введение и работа с системой меню................................................................................................... 9
Схема меню:
Настройка изображения .............................................................................................................. 9
Настройка звука ........................................................................................................................... 10
Таймер выключения..................................................................................................................... 11
Язык/Страна ................................................................................................................................. 11
Автонастройка .............................................................................................................................. 11
Сортировка программ .................................................................................................................. 12
Метки программ ............................................................................................................................ 12
Предустановка АV........................................................................................................................ 12
Ручная настройка программ........................................................................................................ 13
Автоформат .................................................................................................................................. 15
Шумопонижение ........................................................................................................................... 16
Выход AV3 ..................................................................................................................................... 16
Динамики TB ................................................................................................................................. 16
RGB цеитрирование ..................................................................................................................... 17
Поворот изображения.................................................................................................................. 17
RU
Телетекст ............................................................................................................................................ 18
Дополнительная информация
Подключение дополнительных устройств .......................................................................................... 19
Использование дополнительных устройств........................................................................................ 20
Спецификации ....................................................................................................................................... 21
Утилизация электрического и электронного оборудования ................................................................... 21
Выявление неисправностей ................................................................................................................. 22
Оглавление 3

32CS71 K RU.FM Page 4 Wednesday, February 16, 2005 2:17 PM
Общие правила техники безопасности
Этот телевизор предназначен для
Из соображений безопасности и
Не допускайте попадания каких-либо
энергосбережения не рекомендуется
предметов внутрь телевизора, так как это
работы только от сети переменного
оставлять телевизор в дежурном режиме в то
может привести к возгоранию или поражению
тока напряжением 220-240 В. Не
время, когда он не используется. Отключайте
электрическим током. Не допускайте
подключайте слишком много
телевизор от сети сетевой кнопкой. Однако, в
проливания каких-либо жидкостей на
электроприборов к одной розетке,
некоторых телевизорах могут быть функции,
телевизор. Если все же произошло проливание
так как это может привести к
для правильной работы которых
жидкости или попадание какого-либо предмета
выключенный телевизор должен оставаться в
внутрь телевизора, немедленно выключите
возгоранию или поражению
дежурном режиме. Такие условия специально
телевизор и не включайте его до тех пор, пока
электрическим током.
оговорены в инструкции по эксплуатации
его не проверит квалифицированный мастер.
Не вскрывайте корпус и заднюю
В целях Вашей безопасности не
Во избежание опасности
крышку телевизора. Обращайтесь
прикасайтесь к любым частям
возгорания или поражения
только к квалифицированному
телевизора, сетевому шнуру или
электрическим током оберегайте
техническому персоналу.
антенному кабелю во время грозы.
телевизор от дождя и сырости.
Не перекрывайте вентиляционные
Не помещайте телевизор в местах с
Во избежание возгорания не
отверстия в телевизоре. Для
повышенной температурой,
располагайте вблизи телевизора
обеспечения нормальной
влажностью или запыленностью.
легковоспламеняющиеся предметы
вентиляции оставляйте вокруг
Не устанавливайте телевизор в
и источники открытого огня
телевизора пространство не менее
месте, где он может подвергаться
(например, свечи).
10 см с каждой стороны.
воздействию механической
вибрации
Вытирайте экран и корпус телевизора
При отключении вилки питания от
Следите за тем, чтобы тяжелые
только мягкой, слегка увлажненной
розетки тяните за саму вилку, а не
предметы не ставились на шнур
материей. Не используйте абразивные
за провод питания.
питания, так как это может
материалы, щелочные моющие
привести к его повреждению.
средства, чистящие порошки и
Рекомендуется смтывать
растворители, такие как спирт, бензин,
излишнюю длину сетевого шнура на
антистатический аэрозоль и т.п. Из
специальные держатели на задней
соображений безопасности отключайте
штепсель ТВ от сети на время уборки.
крышке телевизора.
Устанавливайте телевизор на
Отключайте вилку питания телевизора
Не накрывайте вентиляционные
прочную, устойчивую подставку.
из розетки перед тем, как переставить
отверстия телевизора газетами,
Никогда не пытайтесь передвигать
телевизор. При переноске телевизора
шторами и т.п.
будьте осторожны, избегайте неровных
телевизор вместе с подставкой
поверхностей и чрезмерных усилий. В
(тумбой) – всегда переставляйте
случае падения или повреждения
телевизор и тумбу по отдельности. Не
телевизора нужно, чтобы его немедленно
ставьте телевизор набок или экраном
проверил квалифицированный
вверх. Не позволяйте детям влезать на
технический персонал
телевизор.
4 Общие правила техники безопасности

32CS71 K RU.FM Page 5 Wednesday, February 16, 2005 2:17 PM
Назначение кнопок на пульте дистанционного управления
1
Временное отключение телевизора: Нажмите для
временного отключения телевизора (загорится индикатор
1
режима ожидания ). Нажмите еще раз для включения
телевизора из режима временного отключения (standby). В
целях экономии электроэнергии мы рекомендуем полностью
выключать телевизор, если Вы им не пользуетесь.
Если в течение 15 минут нет телевизионного сигнала, и если Вы
2
не нажимаете ни на одну из кнопок, телевизор автоматически
перейдет в режим временного отключения (standby).
2 Выбор входного сигнала: Нажмите несколько раз, пока
3
обозначение требуемого входного сигнала не появится на
экране.
3 Выбор каналов: нaжмите на нee для выбopa кaнaлoв. Для
qj
4
номеров программы из двух цифр, нажмите вторую цифру в
период времени до 2,5 секунд.
qh
5
4 Нажмите для возвращения к последнему выбранному каналу
qg
6
(предыдущий канал должен был задержаться на экране в
течение 5 секунд минимально).
qf
7
5 Эта кнопка работает только в режиме телетекста.
8
6 Эта кнопка работает только в режиме телетекста.
7 Выбор телетекста: Нажмите для включения телетекста.
qd
9
8 Вызвав MENU,пользуйтесь этими кнопками для перемещения
по системе меню. Для получения более подробной
информации, обратитесь к главе «Введение и работа c
cистемой меню » на странице 9.
qs
q;
Если MENU не вызвано,нажмите ОК для того, чтобы увидеть
полный список настроенных каналов. Выберите канал
(телевизионную станцию), нажав на v или V, после чего снова
нажмите ОК для просмотра выбранного канала.
qa
9 Выбор формата экрана: Нажмите на зту кнопку несколько
раз для изменения формат изображения. Для получения более
подробной информации, обратитесь к главе «автоформат» на
странице 15.
q; Выбор каналов: Нажмите для выбора следующего или
предыдущего канала.
qa Отключение звука: Нажать для отключения звука. Нажать
еще раз для восстановления звука.
qs Регулировка Уровня Громкости: Нажмите для регулировки
уровня громкости телевизора.
qd Включение системы меню: Нажмите для вывода меню на
экран. Нажмите еще раз для его выключения и для
RU
возвращения к обычному экрану телевизора.
qf Выбор режима телевизора: Нажмите для отключения
телетекста или входа сигнала видео.
qg Выбор Режима Изображения: Нажмите несколько раз для
смены Режима Изображения.
qh Регулировка режима звука: Нажмите несколько раз для
регулировки режима звука.
qj Показать информацию на экране: Нажать для вывода на
экран всех указаний. Снова нажать для отмены.
Помимо функций телевизора, все цветные кнопки также
используются для работы с телетекстом. Для получения
более подробной информации,обратитесь к Разделу
«Телетекст» данной Инструкции по Эксплуатации.
Общее описание 5

32CS71 K RU.FM Page 6 Wednesday, February 16, 2005 2:17 PM
Общее описание кнопок телевизора
Кнопки выбора
последующей или
предыдущей
программы (выбор
телевизионных
станций)
Кнопки регулировки
громкости
Кнопка выбора
4
Кнопка началъной
источника входа
автонастройки
Индикатор режима
телевизора
временного
выключения
Вход для
4
Вход для
(standby)
видео
видео
сигнала S
Чтобы открыть
сигнала
доступ к гнездам,
потяните за дверцу
Вход для аудио
на боковой стенке
o4
сигнала
телевизора
Гнездо для
наушников
Переключатель
включение /
выключение
Установка батареек в пульт дистанционного управления
Убедитесь в том, что батарейки вставлены в соответствии с обозначенными полюсами.
Бережно относитесь к окружающей среде и выбрасывайте отработанные батарейки в
специально установленные для зтого контейнеры.
SONY CORPORATION JAPAN/4
N JAPAN/4
SONY CORPORATIO
Подлючение антенны и видеомагнитофона
Провода для подключения не входят в комплект поставки.
видеомагнитофон
ИЛИ
MANUFACTURED UNDER LICENCE
FROM DOLBY LABORATORIES
"DOLBY" AND THE DOUBLE - D
SYMBOL ARE TRADEMARKS OF
DOLBY LABORATORIES
Подключение через Евроразъем (SCART) (поставляется дополнительно)
Для получения более подробной информации о подключении
видеомагнитофона обратитеь к Разделу "Подключение дополнительных
устройств данной Инструкции по Зксплуатации.
6 Общее описание - Установка

32CS71 K RU.FM Page 7 Wednesday, February 16, 2005 2:17 PM
Включение и автоматическая настройка телевизора
При первом включении телевизора на зкране появится ряд меню, с помощью которых можно:
1) выбрать язык меню, 2) выбрать страну, где Вы будете пользоваться телевизором, 3)
регулировка наклона изображения, 4) искать и автоматически запоминать все имеющиеся
каналы (телевизионных станции) и 5) изменять порядок появления каналов (телевизионных
станций) на зкране телевизора.
зтих параметров регулировки, Вы можете зто сделать, выбрав соответствующий пункт в
(меню установка), или нажав кнопку автоматической начальной настройки на передней
панели телевизора.
1
Включите штепсель телевизора в розетку сети переменного
тока (220-240 В,50 Гц).Нажмите на переключатель
включение /выключение на передней панели телевизора
для его включения.
При первом нажатии на эту кнопку на экране автоматически
появится меню Language (Язык).
2
Нажмите на кнопку v или V пульта дистанционного
Language
управления для выбора языка, а затем нажмите на кнопку
i
v
Svenska
OK для подтверждения выбора. Начиная с зтого момента все
Norsk
English
меню появятся на зкране на выбранном Вами языке.
Nederlands
Français
Italiano
i
V
Select Language:
OK
3
На зкране автоматически появится меню Страна. Нажмите
Cтpaнa
на кнопку v или V для выбора страны, гдеВы будете
v
Sverige
пользоваться телевизором, а затем нажмите на кнопку OK
Norge
-
для подтверждения выбора.
Italia
Deutschland
Österreich
i
V
• Если в списке нет той страны, где Вы будете
Bыбepитe cтpaнy:
OK
пользоваться телевизором, выберите «-»‚ вместо
страны.
• Чтобы избежать неправильного отображения символов
телетекста при использовании языков с кириллицей, в
случае, если Вашей страны нет в списке стран,
рекомендуется выбрать Россию.
4
Воздействие магнитного поля Земли может привести к
наклону изображения. В зтом случае Вы можете
Ecли изoбpaжeниe иepeкoшeнo
нacтpoйтe
ПOBOPOT ИЗOБPAЖ.
отрегулировать его, используя пункт меню Поворот
RU
изображ.
Heт нeoбxoдимocти
Oтpeгyлиpoвaтъ
a) Если зто не требуется, нажмите v или V для выбора Нет
необходимости и нажмите OK.
OK
б
) Если зто требуется, нажмите v или V для выбора
Отрегулировать и нажмите OK. После зтого
отрегулируйте наклон изображения от -5 до +5, нажав v
или V. После зтого нажмите на OK для запоминания.
продолжeниe...
Первое включение телевизора в работу 7

32CS71 K RU.FM Page 8 Wednesday, February 16, 2005 2:17 PM
Включение и автоматическая настройка телевизора
5
На зкране появится меню Автонастройка. Нажмите на
кнопку OK для выбора Да.
Bы xoтитe нaчaть
автоматическую нacтpoйкy?
Дa
Heт
OK
6
Телевизор начинает настраивать и автоматически
запоминать все имеющиеся каналы (телевизионные
Aвтoнacтpoйкa
станции).
Пpoгpaммa:
01
Cиcтемa:
B/G
Kaнaл:
C21
Зтот процесс занимает несколько минут. Надо
набраться терпения и не нажимать на кнопки в течение
Пoиcк...
процесса настройки, иначе настройка прервется.
Если телевизор не обнаружил ни одного канала
Heт нaйдeнo ни oднoгo кaнaлa
Heт cи
гнaлa oт aнтeнны
(телевизионной станции) с помощью автонастройки, на
Пoдтвepждeн иe
зкране появится сообщение о том, что следует
подключить антенну. Подключите, пожалуйста, антенну
в соответствии с инструкциями, приведенными на стр. 6
OK
данного сборника, после чего нажмите OK. Процесс
автонастройки возобновится.
7
После того, как телевизор настроил и запомнил все
Copтиpoвкa пpoгpaмм
каналы (телевизонные станции), на зкране
Пpoгpaммa:
автоматически появится меню Сортировка программ
01 TVE
02 TVE2
для изменения порядка появления каналов на зкране.
03 TV3
04 C33
05 C27
06 C58
a) Если Вы не хотите изменять порядок каналов, обратитесь
Bыбepитe кaнaл:
Bыxoд:
MENU
OK
к пункту 8.
b) Если вы хотите изменить порядок каналов:
Copтиpoвкa пpoгpaмм
1 Нажмите на кнопку v или V для выбора номера
Пpoгpaммa:
01 TVE
программы и канала (телевизионной станции), который
02 TVE2
03 TV3
Вы хотите изменить, после чего нажмите на кнопку b.
04 C33
05 C27
2 Нажмите на v или V для выбора нового номера
06 C58 05 C27
программы, где Вы хотите запомнить выбранный Вами
Bыб. нoвyю пoзиц.:
Bыxoд:
MENU
OK
канал (телевизионную станцию), после чего нажмите на
B.
3 Повторите шаги б)1 и б)2, если Вы хотите изменить
порядок появления других телевизионных каналов.
8
Нажмите на кнопку MENU для возвращения к нормальному
MENU
зкрану телевизора.
8 Первое включение телевизора в работу

32CS71 K RU.FM Page 9 Wednesday, February 16, 2005 2:17 PM
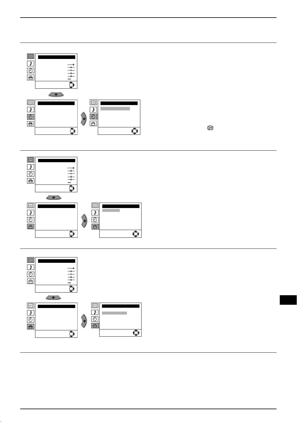
Введение и работа с системой меню
В данном телевизоре предусмотрена система вывода меню на зкран для объяснения
различных операций. Пользуйтесь следующими кнопками пульта дистанционного управления
для передвижения по меню:
1
Нажмите на кнопку MENU для выхода на первый уровень
MENU
меню на зкране.
2
• Для подчеркивания требуемого меню или пункта меню,
нажмите на v или V
.
• Для входа в меню или в выбранныйпункт меню, нажмите b.
• Для того, чтобы вернуться в предыдущее меню или пункт
меню, нажмите B
.
• Для изменения параметров выбранного пункта меню
нажмите v/V/B или b.
• Для подтверждения и запоминания Вашего выбора,
нажмите OK.
3
Нажмите на кнопку MENU для возвращения к обычному
MENU
зкрану телевизора.
Схема меню
Уровень 1 Уровень 2 Уровень 3 / Функци
Hacтpoйкa изoбpaжeния
Hacтpoйкa изoбpaжeния
НАСТРОЙКА ИЗОБРАЖЕНИЯ
Peжим: Персональный
Peжим: Персональный
Меню «Настройка изображения» дает
Koнтpacт
Koнтpacт
Яpкocть
Яpкocть
возможность изменить параметры регулировки
Цвeтность
Цвeтность
Резкость
Резкость
изображения.
Цвeтoвoй Toн
Цвeтoвoй Toн
Сброс
Сброс
OK
OK
Для зтого :
После выбора пункта, который Вы хотите
изменить, нажмите на b. После зтого нажмите
несколько раз на v/V/B или b для изменения
параметров, а затем нажмите OK для
запоминания.
Зто меню также дает возможность изменить
режим изображения в соответствии с видом
программы, которую Вы смотрите:
v Персональный (по личному предпочтению).
v Репортаж (для прямых трансляций, а также
RU
сигналов с DVD и цифровых декодеров).
v Кино (для фильмов).
• Яркость, Цветность и Резкость можно изменить только в том случае, если Вы выбрали режим
изображения в «персональный».
• Цветовой Тон можно изменять только в системе цвета NTSC (например, видеопленки
производства США).
• Для возвращения к заводским параметрам настройки изображения выберите Сброс и нажмите
на OK.
Вывод системы меню на зкран 9

32CS71 K RU.FM Page 10 Wednesday, February 16, 2005 2:17 PM
Введение и работа с системой меню
Уровень 1 Уровень 2 Уровень 3 / Функци
НАСТРОЙКА ЗВУКА
Hacтpoйкa изoбpaжeния
Вы можете изменить настройку режима звука в
Peжим: Персональный
меню «Настройка звука».
Koнтpacт
Яpкocть
Цвeтность
Резкость
Для зтого:
Цвeтoвoй Toн
Сброс
Выберите пункт меню, который Вы хотите
OK
изменить, и нажмите b. После зтого нажмите
несколько раз v/V/B или b для изменения
настройки, после чего нажмите OK для
Hacтpoйкa звyкa
Hacтpoйкa звyкa
запоминания.
Зффeкт: Ecтecтвeнный
Зффeкт: Ecтecтвeнный
Te м бp BЧ
Te м бp BЧ
TeмЂp HЧ
TeмЂp HЧ
Яaлaнc
Яaлaнc
C
бpoc
C
бpoc
Двoйнoй звyк: Moнo
Д
вoйнoй звyк: Moнo
Aвтopeг. гpoм.: Bкл.
Aвтopeг. гpoм.: Bкл.
OK
OK
Зффект bvЕстественный: Подчеркивает четкость, оттенки и само звучание
посредством системы «BBE High Definition Sound System»*.
v Динамичный: «BBE High Definition Sound system»*: усиливает четкость и
само звучание, способствуя большей разборчивости речи и
более естественному звучанию музыки.
v Dolby**Virtual: Симуляция звукового зффекта «Dolby Surround Pro Logic».
v Выкл
.: без специальных акустических зффектов.
Тембр ВЧ bBМеньше b Больше
Тембр HЧ bBМеньше b Больше
Баланс bBЛевый b Правый
Сброс Восстанавливает заводскуюћнастройку уровней звука.
K
Двойной звукb • Для стерео передач:
v Моно
v Стерео
• Для двуязычных передач:
v Моно (для канала моно, если он есть).
v A (для канала 1).
v Б (для канала 2).
Авторег. громbvВыкл
.:Громкость изменяется в зависимости от сигнала канала
радиовещания.
v Вкл.: Громкость поддерживается на одном и том же уровне, вне
зависимости от сигнала канала радиовещания (например, в
рекламе).
• Если Вы слушаете телевизор через наушники, то пункте «Зффект» автоматически перейдет в
положение «Выкл.».
• При включении «Зффект» в положение «Dolby Virtual.», «Авторег. гром.» автоматически
перейдет в положение «Выкл» и наоборот.
* BBE произведен Sony Corporation по лицензии BBE Sound, Inc. Он защищен патентом США
за номером 4,638,258 и 4,482,866. Слово BBE и символ BBE являются торговыми марками
BBE Sound, Inc.
**Данный телевизор был сконструирован для создания звукового зффекта «Dolby Surround»
имитируя зффект четырех громкоговорителей посредством только двух громкоговорителей
телевизора, и только в том случае, если звуковой сигнал станции будет «Dolby Surround».
Помимо зтого, можно улучшить звуковой зффект посредством подключения внешнего
громкоговорителя· Для получения более подробной информации, обратитесь к главе
«Подключение внешнеи звуковоспроизводящей аппаратуры» на странице 20.
**Изготовлено по лицензии фирмы Dolby Laboratories. Долби, «Dolby», «Pro Logic» и символ с
двойным D товарные знаки фирмы Dolby Laboratories.
10 Вывод системы меню на зкран

32CS71 K RU.FM Page 11 Wednesday, February 16, 2005 2:17 PM
Введение и работа с системой меню
Уровень 1 Уровень 2 Уровень 3 / Функци
ТАЙМЕР ВЫКЛЮЧЕНИЯ
Пункт «Таймер выкл.» в меню «Таймер» дает
Hacтpoйкa изoбpaжeния
Peжим: Персональный
возможность выбрать период времени, по
Koнтpacт
Яpкocть
истечении которого телевизор автоматически
Цвeтность
Резкость
перейдет в режим временного отключеня
Цвeтoвoй Toн
(standby).
Сброс
OK
Для зтого:
После выбора зтого пункта нажмите на b После
зтого нажмите на v или V для выбора интервала
Taймep
Taймep
времени (максимально 4 часа).
Taймep Bыкл.:
Bыкл.
Taймep Bыкл.:
Bыкл.
• Если, во время просмотра, Вы хотите увидеть,
сколько минут осталось до отключения,
нажмите на кнопку .
OK
OK
• За одну минуту до временного отключения
телевизора зто оставшееся время появится на
зкране.
ЯЗЫК/СТРАНА
Hacтpoйкa изoбpaжeния
Пункт «Язык/Страна» в меню «Установка» дает
Peжим: Персональный
Koнтpacт
возможность выбратьћязык, который Вы
Яpкocть
Цвeтность
предпочитаете для появления меню на зкране.
Резкость
Цвeтoвoй Toн
Также Вы можете выбрать страну, где Вы
Сброс
будете пользоваться телевизором.
OK
Для зтого:
После выбора зтого пункта меню, нажмите на b,
Уcтaнoвкa
Уcтaнoвкa
после чего выполняйте все, указанное в Разделе
Язык/Cтpaнa
Язык/Cтpaнa
Aвтoнacтpoйкa
Aвтoнacтpoйкa
«Включение и автоматическая настройка
Copтиpoвкa пpoгpaмм
Copтиpoвкa пpoгpaмм
Meтки пpo
гpaмм
Meтки пpo
гpaмм
телевизора», пункты 2 и 3 на странице 7.
Пpeдycтaнoвкa AV
Пpeдycтaнoвкa AV
Pyч. Hacтpoйкa Пpoгpамм
Pyч. Hacтpoйкa Пpoгpамм
дeтaльнa
я ycтaнoвкa
дeтaльнaя ycтaнoвкa
OK
OK
АВТОНАСТРОЙКА
Hacтpoйкa изoбpaжeния
Пункт меню «Автонастройка» в меню
Peжим: Персональный
«Установка» дает возможность поиска и
Koнтpacт
Яpкocть
запоминания всех доступных каналов
Цвeтность
Резкость
(телевизионных станций).
Цвeтoвoй Toн
Сброс
OK
Для зтого:
После выбора зтого пункта меню, нажмите на b,
а затем выполните указанное в Разделе
RU
Уcтaнoвкa
Уcтaнoвкa
«Включение и автоматическая настройка
Язык/Cтpaнa
Язык/Cтpaнa
Aвтoнacтpoйкa
телевизора», пункты 5 и 6 на странице 8.
Aвтoнacтpoйкa
Copтиpoвкa пpoгpaмм
Copтиpoвкa пpoгpaмм
Meтки пpo
гpaмм
Meтки пpo
гpaмм
Пpeдycтaнoвкa AV
Пpeдycтaнoвкa AV
Pyч. Hacтpoйкa Пpoгpамм
Pyч. Hacтpoйкa Пpoгpамм
дeтaльнa
я ycтaнoвкa
дeтaльнa
я ycтaнoвкa
OK
OK
продолжeниe...
Вывод системы меню на зкран 11

32CS71 K RU.FM Page 12 Wednesday, February 16, 2005 2:17 PM
Введение и работа с системой меню
Уровень 1 Уровень 2 Уровень 3 / Функци
СОРТИРОВКА ПРОГРАММ
Пункт меню «Сортировка программ» в меню
Hacтpoйкa изoбpaжeния
«Установка» дает возможность изменить
Peжим: Персональный
Koнтpacт
порядок появления на зкране каналов
Яpкocть
Цвeтность
(телевизионных станций).
Резкость
Цвeтoвoй Toн
Сброс
Для зтого:
OK
После выбора зтого пункта меню, нажмите на b,
после чего выполните все указанное в пункте
7б) на странице 8. Раздела «Включение и
Уcтaнoвкa
Уcтaнoвкa
автоматическая настройка телевизора».
Язык/Cтpaнa
Язык/Cтpaнa
Aвтoнacтpoйкa
Aвтoнacтpoйкa
Copтиpoвкa пpoгpaмм
Copтиpoвкa пpoгpaмм
Meтки пpo
гpaмм
Meтки пpo
гpaмм
Пpeдycтaнoвкa AV
Пpeдycтaнoвкa AV
Pyч. Hacтpoйкa Пpoгpамм
Pyч. Hacтpoйкa Пpoгpамм
дeтaльнa
я ycтaнoвкa
дeтaльнa
я ycтaнoвкa
OK
OK
МЕТКИ ПРОГРАММ
Пункт «Метки программ» в меню «Установка»
Hacтpoйкa изoбpaжeния
дает возможность присвоить каналу название с
Peжим: Персональный
Koнтpacт
максимальным количеством из пяти знаков.
Яpкocть
Цвeтность
Резкость
Цвeтoвoй Toн
Для зтого:
Сброс
1 После выбора зтого пункта, нажмите b, после
OK
чего нажмите v или V для выбора номера
программы, которой Вы хотите дать название.
2 Нажмите b. Выделив первый злемент
Уcтaнoвкa
Уcтaнoвкa
столбика Метка, нажмите v или V для выбора
Язык/Cтpaнa
Язык/Cтpaнa
буквы, цифры или «-» для пустого пробела,
Aвтoнacтpoйкa
Aвтoнacтpoйкa
Copтиpoвкa пpoгpaмм
Copтиpoвкa пpoгpaмм
после чего нажмите b для подтверждения
Meтки пpo
гpaмм
Meтки пpo
гpaмм
Пpeдycтaнoвкa AV
Пpeдycтaнoвкa AV
выбранного знака. Точно так же выберите
Pyч. Hacтpoйкa Пpoгpамм
Pyч. Hacтpoйкa Пpoгpамм
дeтaльнa
я ycтaнoвкa
дeтaльнa
я ycтaнoвкa
остальные четыре знака. После зтого
OK
OK
нажмите OK для запоминания.
ПРЕДУСТАНОВКА AV
Пункт «Предустановка AV» в меню «Установка»
Hacтpoйкa изoбpaжeния
дает возможность присвоить название
Peжим: Персональный
Koнтpacт
дополительному устройству, подключенному к
Яpкocть
Цвeтность
телевизору.
Резкость
Цвeтoвoй Toн
Для зтого:
Сброс
1 После выбора зтого пункта, нажмите b, после
OK
чего нажмите v или V для выбора источника
входного сигнала, которому Вы хотите
присвоить название (AV1, AV2 и AV3 для
Уcтaнoвкa
Уcтaнoвкa
дополнительных устройств, подключенных с
Язык/Cтpaнa
Язык/Cтpaнa
помощью Евроразъемов на задней панели
Aвтoнacтpoйкa
Aвтoнacтpoйкa
Copтиpoвкa пpoгpaмм
Copтиpoвкa пpoгpaмм
телевизора, и AV4 для разъемов на передней
Meтки пpo
гpaмм
Meтки пpo
гpaмм
Пpeдycтaнoвкa AV
Пpeдycтaнoвкa AV
панели). После зтого нажмите b.
Pyч. Hacтpoйкa Пpoгpамм
Pyч. Hacтpoйкa Пpoгpамм
дeтaльнa
я ycтaнoвкa
дeтaльнa
я ycтaнoвкa
2 Автоматически появится заданное название
OK
OK
в Метка:
a) Если Вы хотите воспользоваться одним из
6 заданных названий (CABLE, GAME,
CAM, DVD, VIDEO или SAT), нажмитеv или
V для выбора одного из них, после чего
нажмите OK для запоминания.
б) Если Вы хотите создать Ваше собственное
название, выберите Изм и нажмите b.
После зтого, выделив первый злемент,
нажмите v или V для выбора буквы, цифры
или «-» для пустого пробела, после чего
нажмите b для подтверждения
выбранного знака. Точно так же выберите
остальные четыре знака, после чего
нажмите OK для запоминания.
продолжeниe...
12 Вывод системы меню на зкран

32CS71 K RU.FM Page 13 Wednesday, February 16, 2005 2:17 PM
Введение и работа с системой меню
Уровень 1 Уровень 2 Уровень 3 / Функци
РУЧНАЯ НАСТРОЙКА ПРОГРАММ
Hacтpoйкa изoбpaжeния
Пункт меню «Руч. настройка программ» в меню
Peжим: Персональный
«Установка» дает возможность:
Koнтpacт
Яpкocть
Цвeтность
Резкость
a) Настроить одну за одной и в определенном
Цвeтoвoй Toн
Сброс
порядке интересующие Вас программы,
OK
каналы (телевизионные станции) или вход
видеомагнитофона.
Уcтaнoвкa
Уcтaнoвкa
Для зтого:
Язык/Cтpaнa
Язык/Cтpaнa
1 После выбора пункта меню «Ручная
Aвтoнacтpoйкa
Aвтoнacтpoйкa
Copтиpoвкa пpoгpaмм
Copтиpoвкa пpoгpaмм
настройка Прогр.» нажмите b. Выделив пункт
Meтки пpo
гpaмм
Meтки пpo
гpaмм
Пpeдycтaнoвкa AV
Пpeдycтaнoвкa AV
меню Программа, нажмите на b, после чего
Pyч. Hacтpoйкa Пpoгpамм
Pyч. Hacтpoйкa Пpoгpамм
дeтaльнa
я ycтaнoвкa
дeтaльнa
я ycтaнoвкa
нажмите на v или V для выбора номера
OK
OK
программы (позиции), где Вы хотите
настроить телевизионную станцию (для
видеомагнитофона мы рекомендуем Вам
выбрать номер программы «0»). Нажмите B.
2 Следующий пункт появится только в
зависимости от страны, которую Вы
выбрали в меню «Язык/Страна».
После выбора пункта меню Система нажмите
на b, после чего нажмите на v или V для
выбора системы телевизионной станции (B/G
для Западной Евроры, или D/K для Восточной
Европы). Нажмите B.
3 После выбора пункта меню Канал нажмите b,
а затем нажмите v или V для выбора вида
канала («С» для широковещательных
каналов или «S» для кабельных каналов).
Нажмите b. Затем нажмите на цифровые
кнопки для ввода номера канала
телевизионной станции или сигнала канала
видео. Если Вы не знаете номер канала,
нажмите v или V для его поиска. Когда Вы
найдете канал, который Вы хотите
запомнить, нажмите OK два раза.
Повторите все зти шаги для настройки и
запоминания остальных каналов.
б
) Обозначить канал меткой до пяти знаков.
RU
Для зтого:
Выделите пункт меню Программа и нажмите
PROG + или - до появления номера
программы, которой Вы хотите дать
название. Когда он появится на зкране,
выберите пункт меню Метка, после чего
нажмите b. Нажмите v или V для выбора
одной буквы, одной цифры или «-» для
пропуска и нажмите b для подтверждения
зтого знака. Выберите остальные четыре
знака точно так же. После того, как Вы
выбрали все знаки, нажмите OK два раза для
запоминания.
продолжeниe...
Вывод системы меню на зкран 13

32CS71 K RU.FM Page 14 Wednesday, February 16, 2005 2:17 PM
Введение и работа с системой меню
Уровень 1 Уровень 2 Уровень 3 / Функци
в
) Обычно включена автоматическая
Hacтpoйкa изoбpaжeния
подстройка каналов (АПЧ), но можно
Peжим: Персональный
Koнтpacт
осуществить подстройку вручную для
Яpкocть
Цвeтность
получения лучшего качества приема
Резкость
Цвeтoвoй Toн
изображения в том случае, если оно искажено.
Сброс
Для зтого:
OK
В то время, когда Вы смотрите канал
(телевизионную станцию), который Вы
хотите подстроить, выберите пункт меню
Уcтaнoвкa
Уcтaнoвкa
АПЧ, после чего нажмите b. Нажмите v или V
Язык/Cтpaнa
Язык/Cтpaнa
для подстройки частоты канала от -15 до
Aвтoнacтpoйкa
Aвтoнacтpoйкa
Copтиpoвкa пpoгpaмм
Copтиpoвкa пpoгpaмм
+15. После чего нажмите OK два раза для
Meтки пpo
гpaмм
Meтки пpoгpaмм
Пpeдycтaнoвкa AV
Пpeдycтaнoвкa AV
запоминания.
Pyч. Hacтpoйкa Пpoгpамм
Pyч. Hacтpoйкa Пpoгpамм
дeтaльнa
я ycтaнoвкa
дeтaльнa
я ycтaнoвкa
OK
OK
г) Пропустить номера программ, которые Вам
не нужны, при выборе их с помощью кнопок
PROG+/-.
Для зтого:
Выделить пункт меню Программа и нажать
PROG + или -, пока не появится номер
программы, который Вы хотите пропустить.
Когда он появится на зкране, выберите пункт
меню Пропуск, после чего нажмите b.
Нажмите v или V для выбора Да, после чего
нажмите OK два раза для запоминания.
Если Вы захотите отменить зту функцию в
дальнейшем, выберите снова «Нет» вместо
«Да».
e) Смотреть и правильно записывать
закодированный канал при помощи
декодера, подключенного к Евроразъему
3/ 3 непосредственно или через
S
видеомагнитофон.
Следующий пункт появится только в
зависимости от страны, которую Вы
выбрали в меню «Язык/Страна».
Для зтого:
Выберите пункт меню декодер и нажмите b.
После зтого нажмите v или V для выбора
Вкл. После зтого нажмите два раза OK для
запоминания.
Если в дальнейшем Вы захотите отказаться
от зтой возможности, выберите снова
«Выкл.» вместо «Вкл.».
продолжeниe...
14 Вывод системы меню на зкран

32CS71 K RU.FM Page 15 Wednesday, February 16, 2005 2:17 PM
Введение и работа с системой меню
Уровень 1 Уровень 2 Уровень 3 / Функци
АВТОФОРМАТ
Пункт «Автомат. формат.» в меню «детальная
Hacтpoйкa изoбpaжeния
Peжим: Персональный
установка» дает возможность автоматического
Koнтpacт
Яpкocть
изменения вида формата изображения.
Цвeтность
Резкость
Цвeтoвoй Toн
Сброс
Для зтого:
OK
После выбора зтого пункта, нажмите b. После
зтого, нажмите v или V для выбора вкл. (если
Вы желаете, чтобы телевизор автоматически
изменил формат изображения в соответствии с
Уcтaнoвкa
Дeтaльнaя ycтaнoвкa
Автомат. формат.
Bкл.
сигналом телевизионной станции), или выберите
Язык/Cтpaнa
Шyмoпoнижeниe:
Auto
Aвтoнacтpoйкa
B
ыxoд AV3:
TV
выкл. (если Вы желаете сохранить формат
Copтиpoвкa пpoгpaмм
Динaмики TB:
Bкл.
Meтки пpo
гpaмм
RGB Чeнтpиpoвaниe:
0
изображения в соответствии с Вашим выбором).
Пpeдycтaнoвкa AV
Поворот Изoбpaж.:
0
Pyч. Hacтpoйкa Пpoгpамм
После зтого нажмите на OK для запоминания.
дeтaльнa
я ycтaнoвкa
OK
OK
В том случае, если Вы выбрали «вкл». или
же, если Вы выбрали «выкл», в пункте
«Автомат. формат», у Вас всегда есть
возможность изменить вид формата
изображения посредством нажатия
несколько раз на кнопку пульта
дистанционного управления. Вы можете
выбрать следующие форматы:
Oптималь.
Оптималь
.: Имитация широкозкранного
режима для передач 4:3.
4:3
4:3: Изображение обычного формата
4:3. Изображение показывается
полностью без потерь.
14:9
14:9: Компромисс между форматами 4:3
и 16:9
Увелич.
Увелич.: Широкозкранный режим для
фильмов формата LetterBox (с
черными полосами сверху и снизу)
Щирокоэкр.
Широкозкр.: Для передач. Изображение
показывается полностью без
RU
потерь
В форматах «Оптималь.», «Увелич.» и
«14:9» изображение на зкране неполное,
не видна как верхняя, так и нижняя
часть. Нажмите v или V для регулировки
положения изображения на зкране
(например, для прочтения субтитров).
продолжeниe...
Вывод системы меню на зкран 15

32CS71 K RU.FM Page 16 Wednesday, February 16, 2005 2:17 PM
Введение и работа с системой меню
Уровень 1 Уровень 2 Уровень 3 / Функци
ШУМОПОНИЖЕНИЕ
Пункт «Шумопонижение» в меню «детальная
Hacтpoйкa изoбpaжeния
Peжим: Персональный
установка» позволяет автоматически уменьшить
Koнтpacт
шум изображения при слабом сигнале.
Яpкocть
Цвeтность
Для зтого:
Резкость
Цвeтoвoй Toн
После выбора зтого пункта меню нажмите b.
Сброс
После зтого нажмите v или V для выбора Auto,
OK
после чего нажмите OK для запоминания.
Если в дальнейшем Вы хотите отменить зту
Уcтaнoвкa
Дeтaльнaя ycтaнoвкa
функцию, выберите «Выкл.» вместо «Auto.».
Автомат. формат.
Bкл.
Язык/Cтpaнa
Шyмoпoнижeниe:
Auto
Aвтoнacтpoйкa
Bыxoд AV3:
TV
Copтиpoвкa пpoгpaмм
Динaмики TB:
Bкл.
Meтки пpo
гpaмм
RGB Чeнтpиpoвaниe:
0
Пpeдycтaнoвкa AV
Поворот Изoбpaж.:
0
Pyч. Hacтpoйкa Пpoгpамм
дeтaльнa
я ycтaнoвкa
OK
OK
ВЫХОД AV3
Hacтpoйкa изoбpaжeния
Пункт меню «Выход AV3» в меню «Детальная
Peжим: Персональный
установка» дает возможность выбрать
Koнтpacт
Яpкocть
выходной сигнал Евроразъема 3/ 3 для
S
Цвeтность
Резкость
записи через данный Евроразъем любого
Цвeтoвoй Toн
Сброс
сигнала, поступающего от телевизора или от
OK
любого другого дополнительного устройства,
подключенного к Евроразъему 1/ 1 или
2/ 2 или находящимся на передней панели
разъемам 4 или 4 и 4.
Уcтaнoвкa
Дeтaльнaя ycтaнoвкa
Автомат. формат.
Bкл.
Язык/Cтpaнa
Шyмoпoнижeниe:
Auto
Aвтoнacтpoйкa
B
ыxoд AV3:
TV
Если у Вашего видеомагнитофона есть
Copтиpoвкa пpoгpaмм
Динaмики TB:
Bкл.
Meтки пpo
гpaмм
RGB Чeнтpиpoвaниe:
0
Пpeдycтaнoвкa AV
Смартлинк, то в зтом нет необходимости.
Поворот Изoбpaж.:
0
Pyч. Hacтpoйкa Пpoгpамм
дeтaльнa
я ycтaнoвкa
OK
Для зтого:
OK
После выбора данного пункта меню, нажмите b.
После зтого нажмите v или V для выбора
требуемого выходного сигнала TV, AV1, AV2,
AV4, YC4 или AUTO.
При выборе «AUTO», выходной сигнал При выбудет всегда тем же, который появился на
зкране телевизора.
Если Вы подключили декодер к Евроразъему 3/ 3 или к видеомагнитофону,
S
подключенному к данному Евроразъему, не забудьте снова перевести «Выход AV3» в «AUTO»
или «TV» для правильного декодирования сигнала.
ДИНАМИКИ ТВ
Пункт «Динамики ТВ» в меню «Детальная
Hacтpoйкa изoбpaжeния
Peжим: Персональный
установка» дает возможность отключить звук
Koнтpacт
Яpкocть
телевизионных громкоговорителей для
Цвeтность
получения звука только через внешний
Резкость
Цвeтoвoй Toн
усилитель звука, подключенный к гнездам
Сброс
выхода аудио на задней панели телевизора.
OK
Для зтого:
После выбора зтого пункта меню, нажмите b.
Уcтaнoвкa
Дeтaльнaя ycтaнoвкa
После зтого нажмите v или V для выбора Выкл.,
Автомат. формат.
Bкл.
Язык/Cтpaнa
Шyмoпoнижeниe:
Auto
Aвтoнacтpoйкa
B
ыxoд AV3:
TV
после чего нажмите OK для запоминания.
Copтиpoвкa пpoгpaмм
Динaмики TB:
Bкл.
Meтки пpo
гpaмм
RGB Чeнтpиpoвaниe:
0
Пpeдycтaнoвкa AV
Поворот Изoбpaж.:
0
Pyч. Hacтpoйкa Пpoгpамм
Если в дальнейшем Вы хотите отменить зту
дeтaльнa
я ycтaнoвкa
OK
функцию, выберите «Вкл.» вместо «Выкл.».
OK
продолжeниe...
16 Вывод системы меню на зкран

32CS71 K RU.FM Page 17 Wednesday, February 16, 2005 2:17 PM
Введение и работа с системой меню
Уровень 1 Уровень 2 Уровень 3 / Функци
RGB ЦЕНТРИРОВАНИЕ
При подключении источника сигналов RGB,
Hacтpoйкa изoбpaжeния
Peжим: Персональный
таких, как «Playstation», возможно, что
Koнтpacт
Яpкocть
потребуется отрегулировать положение
Цвeтность
Резкость
изображения по горизонтали. В зтом случае Вам
Цвeтoвoй Toн
Сброс
надо обратиться к пункту меню «RGB
OK
центрирование» в меню «Детальная установка».
Для зтого:
В то время, как Вы видите входной сигнал RGB,
Уcтaнoвкa
Дeтaльнaя ycтaнoвкa
Автомат. формат.
Bкл.
выберите пункт меню «RGB центрирование» и
Язык/Cтpaнa
Шyмoпoнижeниe:
Auto
Aвтoнacтpoйкa
B
ыxoд AV3:
TV
нажмите b. После зтого нажмите v или V для
Copтиpoвкa пpoгpaмм
Динaмики TB:
Bкл.
Meтки пpo
гpaмм
RGB Чeнтpиpoвaниe:
0
регулировки положения изображения от -10 до
Пpeдycтaнoвкa AV
Поворот Изoбpaж.:
0
Pyч. Hacтpoйкa Пpoгpамм
+10. После зтого нажмите на OK для
дeтaльнa
я ycтaнoвкa
OK
запоминания.
OK
ПОВОРОТ ИЗОБРАЖЕНИЯ
Hacтpoйкa изoбpaжeния
Воздействие магнитного поля Земли может
Peжим: Персональный
привести к наклону изображения. В зтом случае
Koнтpacт
Яpкocть
Вы можете отрегулировать его, используя пункт
Цвeтность
Резкость
меню «Поворот Изображ.» в меню «Детальная
Цвeтoвoй Toн
Сброс
установка».
OK
Для зтого:
После выбора зтого пункта меню нажмите на b.
После зтого нажмите на v или V для регулировки
Уcтaнoвкa
Дeтaльнaя ycтaнoвкa
Автомат. формат.
Bкл.
наклона изображения от -5 до +5. После зтого
Язык/Cтpaнa
Шyмoпoнижeниe:
Auto
Aвтoнacтpoйкa
B
ыxoд AV3:
TV
нажмите на OK для запоминания.
Copтиpoвкa пpoгpaмм
Динaмики TB:
Bкл.
Meтки пpo
гpaмм
RGB Чeнтpиpoвaниe:
0
Пpeдycтaнoвкa AV
Поворот Изoбpaж.:
0
Pyч. Hacтpoйкa Пpoгpамм
дeтaльнa
я ycтaнoвкa
OK
OK
RU
Вывод системы меню на зкран 17

32CS71 K RU.FM Page 18 Wednesday, February 16, 2005 2:17 PM
Телетекст
Телетекст - зто информационные услуги, которые предоставляют основные телевизионные
станции. Страница оглавления услуг телетекста (обычно зто страница 100) предоставляет
информацию о том, как надо пользоваться зтой службой. Для работы с телетекстом пользуйтесь
кнопками пульта дистанционного управления в соответствии с приведенными ниже указаниями.
Убедитесь в том, что настроенный Вами канал телевидения имеет хороший сигнал, в противном
случае в телетексте могут появиться ошибки.
Как войти в услуги Телетекста:
TELETEXT
TELETEXT
TELETEXT
TELETEXT
TELETEXT
TELETEXT
TELETEXT
TELETEXT
После выбора канала (телевизионной станции), передающего
Index
Index
Index
Index
Index
Index
Index
Index
интересующий Вас телетекст, нажмите .
Programme
Programme
Programme
Programme
Programme
Programme
Programme
Programme
25
25
25
25
25
25
25
25
News
News
News
News
News
News
News
News
153
153
153
153
153
153
153
153
Sport
Sport
Sport
Sport
Sport
Sport
Sport
Sport
101
101
101
101
101
101
101
101
Выберите страницу Телетекста:
Weather
Weather
Weather
Weather
Weather
Weather
Weather
Weather
98
98
98
98
98
98
98
98
Введите три цифры номера интересующей Вас страницы с помощью
цифровых кнопок дистанционного управления.
• В случае ошибки, введите три любые цифры, а затем снова введите правильный номер страницы.
• Если счетчик страниц не останавливается, зто значит, что такой страницы нет. В зтом случае
введите другой номер страницы.
Выберите следующую или предыдущую страницу:
Нажмите на кнопкуе PROG+ ( ) или PROG- ().
Наложить телетекст на телевизионное изображение:
В то время, когда Вы смотрите телетекст, нажмите . Нажмите снова для выхода из режима
телетекста.
Задержка одной страницы:
Нажмите / . Нажмите снова для отмены задержки.
Показать скрытую информацию (например, решение кроссворда):
Нажмите / . Нажмите еще раз для того, чтобы зта информация не была видна.
Для выбора подстраницы:
Возможно, что одна страница телетекста включает несколько подстраниц. В зтом случае, номер
страницы, который появляется в левой верхней части, изменится с белого на зеленый, и рядом с
номером страницы появится одна или несколько стрелок. Нажмите несколько раз на кнопки B или b
дистанционного управления, для того, чтобы увидеть интересующую Вас подстраницу.
Выход из службы телетекста:
Нажмите .
Фастекст
Услуги фастекста дают возможность получить доступ к страницам телетекста, нажимая только
одну кнопку.
Если Вы находитесь в режиме телетекста и в том случае, если есть сигналы фастекста, на
нижней части страницы появится меню цветных кодов, которые дают возможность прямого
доступа к странице. Для зтого нажмите на соответствующую цветную кнопку (красную,
зеленую, желтую или синюю) дистанционного управления.
18 Телетекст

32CS71 K RU.FM Page 19 Wednesday, February 16, 2005 2:17 PM
Подключение дополнительных устройств
К телевизору можно подключить широкую гамму дополнительных устройств, как зто показано
ниже. (Провода для подключения не поставляются).
MANUFACTURED UNDER LICENCE
FROM DOLBY LABORATORIES
"DOLBY" AND THE DOUBLE - D
SYMBOL ARE TRADEMARKS OF
DOLBY LABORATORIES
8mm/Hi8/DVC
видеокамера
S VHS/ Hi8/
DVC
видеокамера
A
4
B
G
4
C
o4
KBM
DFE
Когда вы подкючите наушники,
Hi-Fi
громкоговорители телевизора
декодер
DVD
автоматически отключатся.
“PlayStation”*
декодер
* “PlayStation” зто продукт Sony Computer
Entertainment, Inc.
* “PlayStation” зто зарегистрированная
марка Sony Computer Entertainment, Inc.
• Во избежание искажения изображения не подключайте устройства одновременно к разъемам
A и B.
• Запрещается подключать декодер к евроразъему F.
Подключение видеомагнитофона:
Для подключения видеомагнитофона обратитесь к Разделу "Подключение антенны и
видеомагнитофона". Мы рекомендуем подключить видеомагнитофон через шнур с Евроразъемом
(SCART). Если у Вас нет такого шнура, настройте программу с номером "0" на тестовый сигнал
видеомагнитофона с помощью меню "Руч. Настройка программ" (для зтого обратитесь к пункту а) на
странице 13).
Также обратитесь к Инструкции по Зксплуатации Вашего видеомагнитофона для определения
частотного канала выжодного сигнала.
RU
Подключение видеомагнитофона со Smartlink:
Smartlink - зто прямая связь между телевизором и видеомагнитофоном, которая дает
возможность прямой передачи определенной информации. Если Вам требуется более
детальная информация о Smartlink, обратитесь к Инструкции по зксплуатации Вашего
видеомагнитофона.
Если в Вашем видеомагнитофоне предусмотрен Smartlink, пользуйтесь шнуром Евроразъема,
подсоединив его к Еврорзъему 3/ 3 G.
S
Если Вы подключили декодер непосредственно к Евроразъему 3/ 3 G или через
S
видеомагнитофон, подключенный к зтому разъему:
Выберите пункт меню "Руч. Настройка программ" в меню "Установка", и после выбора пункта
"Декодер"** выберите "Вкл." (с помощью v или V) для каждого закодированного канала.
** Зтот пункт появится только в зависимости от страны, которую Вы выбрали в меню "Язык/Страна".
продолжeниe...
Дополнительная информация 19

32CS71 K RU.FM Page 20 Wednesday, February 16, 2005 2:17 PM
Подключение дополнительных устройств
Подключение внешней звуковоспроизводящей аппаратуры:
Если Вы хотите воспользоваться Вашим музыкальным центром для воспроизведения звука
телевизора, подключите это устройство к выходу аудио D, и Выберите «Установка» в системе меню.
После зтого войдите в пункт меню «Детальная установка» и выберите «Выкл.» в «Динамики ТВ».
Громкость внешних колонок может регулироваться с помощью кнопок регулировки громкости на
пульте дистанционного управления телевизора. Также можно изменить уровень тембра ВЧ и
тембра НЧ в меню «Настройка звука».
Громкоговорители
Вы также можете получить звуковой зффект «Dolby
Вашего музыкального
Virtual» в Вашем музыкальном центре
центра Hi-Fi
Для зтого установите громкоговорители Вашего музыкального
центра с обеих сторон телевизора на расстоянии приблизительно
50 см от телевизора до каждого громкоговорителя. После
установки громкоговорителей, выберите меню «Настройка
звука» ипосле этого, выберите «Dolby Virtual» в пункте
50 см 50 см
«Эффект».
Оптимальное положение
для пользователя
Использование дополнительных устойств
1
Подключите дополнительное устройство к соответствующему разъему телевизора, как это
указано на предыдущей странице.
2
Включите подключенное устройство.
3
Если Вы хотите увидеть изображение с подключенного устройства, нажмите несколько раз на
кнопку до появления на зкране правильного символа входа.
Символ
Входные сигналы
1
• Входной сигнал аудио/видео посредством Евроразъема E.
1
• Входной сигнал RGB посредством Евроразъема E. Этот символ появляется
только при подключении входа RGB.
2
• Входной сигнал аудио/видео посредством Евроразъема F.
2
• Входной сигнал RGB посредством Евроразъема F. Этот символ появляется
только при подключении входа RGB.
3
• Входной сигнал аудио/видео посредством Евроразъема G.
S
3
• Входной сигнал Ѕ-видео посредством Евроразъема G. Этот символ появляется
только при подключении входа Ѕ-видео.
4
• Входной сигнал видео посредством разъема RCA B и входной сигнал аудио
посредством C.
S
4
• Входной сигнал Ѕ-видео посредством разъема видео Ѕ A и входной сигнал аудио
посредством C. Этот символ появляется только при подключении входа Ѕ-видео.
4
Для возвращения к нормальному экрану телевизора нажмите на кнопку пульта
дистанционного управления.
Для моно оборудования
Подсоедините моно штеккер к гнезду L/G/S/I на передней части телевизора и выберите входной
сигнал 4 или 4, используя вышеприведенные инструкции. Наконеч, обратитесь к разделу
S
«Настройка звука» настоящей инструкции и выберите «Двойной звук» «А» на зкране звукового меню.

