Sony KV-29FQ75K: Table of Contents
Table of Contents: Sony KV-29FQ75K
Table of contents
- Table of Contents
1
Safety Information
All televisions operate on extremely high voltages. To prevent fire or electric shock, please follow the safety guidelines indicated
in the blue sheet supplied.
Do not block or cover the ventilation openings. For ventilation, leave a space of at least 10 cm all around the set.
Safety Information
Table of Contents
Table of Contents
Installation
1. Checking the accessories supplied
2. Inserting batteries into the remote control
3. Connecting the TV
4. Switching on the TV
5. Using the joystick
6. Tuning your TV
7. Finding your video channel
2
2
3
4
4
5
5
Operation
Overview of the TV set buttons
Overview of the remote control buttons
NexTView
Teletext
Using the TV menu system
Adjusting the picture and sound
Using the Features menu
Using Multi PIP
Operating PAP (Picture and Picture)
Re-arranging the TV channels
Manually tuning the TV
Naming a channel
Skipping programme positions
Using the ‘Further Programme Preset’ feature
Selecting the ‘Demo’ feature
Adjusting the picture rotation
Adjusting the picture geometry for an RGB source
Inputting your personal ID
Presetting and naming input signals
6
7
8
10
12
12
14
15
15
16
16
17
17
18
18
19
19
20
20
Additional Equipment
Connecting additional equipment to the TV
Additional information when connecting equipment
Smartlink
Remote control of other Sony equipment
21
22
22
22
Additional Information
Specifications
Channel Display Table
Troubleshooting
23
23
24
2
Follow steps 1-7 to install the TV and view TV programmes. Installation
1. Checking the accessories supplied
2. Inserting batteries into the remote control
Remote control
Batteries
Always observe the correct polarity when inserting batteries.
Always remember to dispose of used batteries in an environmentally friendly way.
3
Installation
3. Connecting the TV
The scart lead is
optional. If it can be
used however, this
additional
connection can
improve picture and
sound quality when
in play mode.
1. Connect your existing aerial lead to your VCR as shown.
2. Connect the VCR aerial lead from the RF OUT socket on the back of the VCR to the aerial
socket on the back of the TV as shown.
3. Connect the VCR set to the mains and switch on.
4. Insert a pre-recorded tape into the VCR and press the ‘PLAY’ button.
1. Connect your existing aerial lead to the socket marked
on the rear of the TV set.
Connecting an aerial to your TV
Connecting an aerial and VCR to your TV
If you are not connecting
your TV to a VCR,
please connect the aerial
lead (as shown left) and
proceed to section
‘4.Switching on the TV’.
If you are connecting
your TV to a VCR please
refer to the section
below.
OUT
IN
AERIAL
ANTENNA
AC IN
scart lead
(not supplied)
existing aerial lead
4
Installation
1. Connect the TV plug to the mains socket (220-240V AC, 50Hz).
2. Push in the on/off button
on the front of the TV.
If the standby mode indicator on the front of the TV is lit, press the TV
button on the
remote control to switch on the TV set. Please be patient as the picture may take a few
moments to appear on the TV screen.
4. Switching on the TV
5. Using the joystick
/
To select an item in a menu, press
the OK button down in the middle.
To move around the menus press
the relevant arrow button.
Moving the joystick
Pressing the joystick
5
Installation
Before you tune your TV, you will be asked to set your language and country.
6. Tuning your TV
:
:
:
:
Language/Country
Language
Country
Select Country:
Confirm: OK
Greece
Great Britain
Germany
France
Finland
Denmark
Czech Rep.
Language/Country
Language
Country
Select Language:
Confirm: OK
Italiano
Français
Español
English
Deutsch
Dansk
Čeština
1. The Language/Country menu appears on the TV screen with the
word ‘English’ highlighted.
2. Press the
v
or
V
buttons on the remote control to select your
chosen language then press the OK button to confirm. The
country menu appears on screen with the word ‘OFF’ highlighted.
Select ‘OFF’ if you do not want your channels stored in a given
channel sequence starting from programme position 1.
3. Press
v
or
V
to select the country in which you wish to operate
the TV then press the OK button to confirm your choice.
4. The ‘autotune’ menu appears on the TV screen in your selected
language. Press the OK button to confirm.
5. Ensure the aerial is connected as instructed, then press the OK
button to confirm. The TV starts to automatically search and store
all available channels for you. This may take a few minutes -
please be patient and do not press any buttons.
6. Once the TV has tuned all available channels the ‘Programme
Sorting’ menu appears on the TV screen enabling you to change
the order of the channels on your TV. If you wish to change the
channel order, press the
v
or
V
buttons to select the channel you
want to move then press
B
. Press the
v
or
V
buttons to select the
new programme number position for your selected channel then
press the OK button to confirm. The selected channel now moves
to its new programme position and the other channels move
accordingly. Repeat this procedure if you wish to sort the order of
other channels on your TV.
7. Press the MENU button to remove the menu from the TV screen.
8. Press the PROGR+/- or the numbered buttons to view the TV
channels.
Note: If you would like to stop the autotune process at any stage,
press the OK button.
If you have connected a VCR to your TV, you now need to find your video channel.
1. Press the PROGR+/- buttons on the TV remote control until your video picture appears on the TV screen.
Note: If you wish to move your video channel to a different programme position, refer to the ‘Re-arranging TV channels’
section of this instruction manual.
7. Finding your video channel
Programme Sorting
Select Prog:
Confirm:
PROG CH
LABEL
Programme Sorting
Select Position:
Move: OK
C03
TV 5
PROG CH
LABEL
1
2
3
4
5
6
7
8
9
10
11
C03
C05
C07
C08
C09
C11
C12
C13
C14
C15
C16
TV 5
PRO 7
EU-SP
SWF
RTL
SAT
MDR
DDI
DSF
RTL 2
KAB 1
C03
C05
C07
C08
C09
C11
C12
C13
C14
C15
C16
TV 5
PRO 7
EU-SP
SWF
RTL
SAT
MDR
DDI
DSF
RTL 2
KAB 1
1
2
3
4
5
6
7
8
9
10
11
1
2
3
4
5
6
7
8
9
0
6
Operation
Overview of the TV set buttons
Volume control buttons.
Press to increase (+)/decrease (-) volume.
Video input button.
Press to select
the input
signals from VCR etc.
Programme Up (+) or
Down (-) buttons.
Press to select TV
channels.
Master Reset button.
Press to return the picture and sound
levels to factory settings. The Sony logo
will appear on the screen followed by the
‘Autotune’ screen. If you do not wish to
retune your TV, then press the
b
button
on your remote control.
Push up on the control panel (as shown)
to access the front input sockets and TV
buttons.
The control panel drops down.
7
Operation
Overview of the remote control buttons
To temporarily switch off TV
Press to temporarily switch off TV. Press again to switch on
from standby mode. To save energy, we recommend
switching off completely when TV is not in use. NOTE:
After 15-30 minutes without a TV signal and without any
button being pressed, the TV switches automatically into
standby mode.
To reveal on screen information
Press to reveal all on-screen indications. Press again to
cancel. In Teletext mode, press to reveal the index page
(normally page 100).
To select input signal or freeze teletext
Press to select inputs from the TV sockets (see Using
Optional Equipment section). In Teletext mode, press to
freeze the displayed page. Press once again to cancel.
Please refer to the ‘Operating PAP’ section of this
instruction manual for details.
To return to previous channel
Press to return to the previous channel you were watching.
Note: This can be done only after watching the present
channel for 5 seconds.
Press to switch Multi PIP mode on and off
.
To change screen format
Press repeatedly to select 4:3 mode or 16:9 mode (imitation
of wide screen format).
Fastext keys
See Teletext section of manual for details.
To select menu items
Use the OK button and arrow keys to select the options
available in the menu system of this TV.
To display the menu
Press if you wish to use the TV menu system. Press again to
remove the menu from the TV screen.
To select channels
Press to select channels.
To mute sound
Press to mute TV sound. Press again to restore the
sound.
To return to TV mode
Press to return to the normal operation from teletext
mode or standby mode.
To select Teletext
Press to switch Teletext on and off.
To select Electronic Programme Guide
(EPG)
Press to switch EPG on and off.
To freeze the picture
Press if you wish to make a note of some
information on the TV screen eg a telephone
number. Press again to return to normal TV mode.
To select channels
Press the numbered buttons to select channels.
For double digit programme numbers, e.g.23, press
-/-- first, then the buttons 2 and 3.
To display picture menu
Press to change the picture settings. Press the OK
button to remove the display.
To display sound menu
Press to change the sound settings. Press the OK
button to remove the display.
To display the Channel Table
Press the OK button. Press
v
or
V
to select the
desired channel then press
B
to confirm.
To adjust TV volume
Press to adjust the volume of the TV.
To reset to factory set levels.
Open the remote control lid and press to return
picture and sound settings to factory-set levels.
After the ‘Installation; menu has appeared on
the TV screen, refer to the ‘Selecting Language
and Country’ section of the instruction manual
to change your choice of language and country
if desired.
To display the time.
Open the remote control lid and press to display the
time on screen. Press again to cancel.
To operate video equipment
Open the remote control lid and press these buttons to
operate your video equipment (please refer to your
VCR manual).
8
Operation
NexTView is an on-screen electronic programme guide, providing you with programme information for different
broadcasters.
NexTView*
Selecting your NexTView provider
Your TV set automatically selects the best NexTView provider for you. This provider is available about 30 minutes after the
channel tuning. You can however change this selection of provider if you wish.
1. Press the MENU button on the remote control to display the menu on the TV screen.
2. Press the
v
or
V
buttons to select the
symbol on the menu screen then press
B
to enter the ‘Set Up’ menu.
3. Press
v
or
V
to highlight ‘Select NexTView’ then press
B
to confirm. A list is displayed containing all available
NexTView providers.
4. Press
v
or
V
to select the desired NexTView provider then press the OK button to store.
5. Press the MENU button to remove the menu from the TV screen.
7
Tue
07 Tue
12:38
8
Wed
10
Fri
11
Sat
12
Sun
13
Mon
9
Thu
12
SWISS
Star Wars
Super RTL
Fantasy film, USA, 1996
Werner - Beinhart
Pro 7
Flui grüsst den Rest der Welt
Kabel 1
Once upon a time in the West
Euronews
International News
RTL Plus
10:35 - 12:45
10:20 - 12:00
10:45 - 10:50
11:00 - 11:20
11:45 - 12:50
TXT
TPS / RINGIER
Tue 07. 04 .98
Displaying NexTView
1. Press the
button repeatedly on the remote control to switch NexTView on and off.
* In some cases, you may also need to press the
b
button to display the Sony electronic programme guide.
2. Press the
v
,
V
,
b
or
B
buttons to move the cursor around the screen.
3. Press the OK button to confirm a selection.
a. If you press the OK button in the date, time or icon (themes) columns, you change the programme list according to the
selection.
b. If you press the OK button in the programme list, you directly display the channel if the broadcast is currently running,
or, you display the ‘Long Info’ menu if the broadcast is running at some future time.
Index
full selection list
personal selection
news broadcasts
movies
sports
entertainment
children
return to last menu
Using the ‘Individual Setting’ menu
You can make a personal list of the types of programmes you wish to view on the
programme guide.
1. Press the
v
or
V
buttons to select the
icon then press
B
to display the
‘Individual Setting’ menu.
2. Press
v
or
V
to select your chosen item on the screen then press the OK button to
confirm your choice.
3. Repeat step 2 for all the items you wish to have in your list.
4. When you have finished the list, press
B
to select
on the menu screen.
5. Press the OK button to return to the previous menu.
6. Press the
v
or
V
buttons to select the
icon then press the OK button again to
activate your ‘Individual Setting’ filter.
Movie
Individual Setting
Comedy
Adult
News
Interview
Entertainment
* depending on availability of service
9
Using the ‘Long Info’ menu
With this ‘Long Info’ menu screen, you can set timers or record selected programmes.
1. Press
v
or
V
to select a future programme in the programme list column.
2. Press the OK button to display the ‘Long Info’ menu on the TV screen.
To set the timer
Press the
b
or
B
buttons to highlight the
icon then press the OK button repeatedly to ‘set the timer’ or ‘cancel the timer’. If
you choose to set the timer, the programme is marked with a clock symbol and a message appears on the screen shortly before
the programme is due to start asking whether you wish to still view this programme.
To view the timer table
Press the
b
or
B
buttons to highlight the
icon then press the OK button repeatedly to switch on/off the timer table. This table
shows the programmes on which you have already set a timer. (You can set a timer on up to 5 programmes).
Operation
NexTView
07 Tue
12:38
Address Mapping
The position of the addresses in the
OSDA is shown in the following diagram.
The position values of the DPW are set
to '0'.
If other values are set, the complete
combination will be scrolled.
Example:
if the DPWC is set to '63', the char-
Speed
Timer Prog
VPS/PDC
SP
VCR1
On
This channel has been set for a timer
First nextTView/EPG-Providers in Europe
SWISS
TXT
TPS / RINGIER
nexTView
Tue 07. 04 .98
To record programmes*
* (only with Smartlink VCRs)
1. Connect your Smartlink VCR.
2. Press
b
or
B
to select
then press the OK button to download the information to your VCR.
3. To set up the VCR:
VPS/PDC
Press
b
to select VPS/PDC then press the OK button repeatedly to select ‘On’ or ‘Off’. With this setting on you have the
guaranteed recording of the whole broadcast should there be a change in the TV programme. This only works if the selected
channel broadcasts a VPS/PDC signal.
Speed
Press
V
to select ‘Speed’ then press the OK button repeatedly to select between ‘SP’ for standard play or ‘LP’ for longplay.
With longplay you can record twice as much on a videotape. The picture quality however may suffer.
VCR Setup
Press
V
to select ‘VCR Setup’ then press the OK button repeatedly to select which VCR you wish to programme, namely
‘VCR1’ or ‘VCR2’.
4. Finally, press
B
to select the
icon then press the OK button to remove the menu from the TV screen.
10
Operation
Most TV channels broadcast information via Teletext. The index page of the teletext service (usually page 100) gives you
information on how to use the service. Please use a TV channel with a strong signal, otherwise there may be Teletext errors.
Teletext
Switching Teletext on and off
1. Select the TV channel which carries the teletext service you want to view.
2. Press the
button once for Picture and Teletext (P&T). The screen is divided in two,
with the TV channel in the right corner and the Teletext display on the left.
In P&T mode press
then press PROGR+/- to change the channel of the TV
screen. Press
b
or
B
to change the size of the TV screen then press
again to
resume normal teletext reception.
3. Press
twice to get Teletext only.
4. Press
three times for Mix mode.
5. Press
a fourth time to switch off Teletext.
Selecting a Teletext page
Input three digits for the page number using the numbered buttons on the remote control. If
you make a mistake, type in any three digits then re-enter the correct page number.
Using Other Teletext Functions
Selecting the next or preceding page
Press the
or
buttons on the remote control to select the previous or next page.
Selecting a sub page
A teletext page may consist of several sub pages. In this case an information line is displayed,
showing the number of subpages. Select the sub page by pressing
v
or
V
.
To freeze a Teletext page
Press the
button to freeze the page. Press again to cancel the freeze.
Revealing the index page
Press the
button to reveal the index page (normally page 100).
Using colour buttons to access pages (Fastext)
(only available if the TV station broadcasts Fastext signals)
When the colour coded menu appears at the bottom of a page, press a coloured button on the
remote control (green, red, yellow or blue) to access the corresponding page.
Using the feature ‘Page Catching’
1. Press the numbered buttons on the remote control to select a teletext page which has
several page numbers on it (eg the index page).
2. Press the OK button.
3. Press
v
or
V
to select the desired page number then press the OK button. The requested
page is displayed after some seconds.
Index
TELETEXT
TELETEXT
Programme
News
Sport
Weather
25
153
101
98
Index
TELETEXT
Programme
News
Sport
Weather
25
153
101
98
Index
TELETEXT
Programme
News
Sport
Weather
25
153
101
98
m
m
216-02
01
03
04
05
06
07
08
02
11
Operation
Teletext
Using the Teletext menu
1. With Teletext switched on, press the MENU button on the remote control to display the
menu on the TV screen.
2. Press
v
or
V
to select your chosen item on the screen then press
B
to display the relevant
sub menu.
3. To remove the Teletext menu from the screen, press the MENU button.
Top/Bottom/Full
The Top/Bottom/Full sub menu allows you to enlarge different sections of the Teletext page.
Press
v
to enlarge the upper half of the screen, Press
V
to enlarge the lower half. Press the OK
button to restore the page to normal size. Press
b
to return to the Teletext menu screen.
Text Clear*
*available on Teletext Only and Mix modes (Refer to ‘Switching Teletext on and off’)
Text Clear is a function that displays a TV channel while a Teletext page is being searched for.
Reveal
Some Teletext pages contain hidden information (eg for a quiz), which can be revealed.
Time Page*
*depending on availability of service,Time Page is available on Teletext Only and Mix modes
Time Page allows a time-coded Teletext page (such as an alarm page), to be displayed at a set
time.
Top:
Bottom:
Full: OK
Teletext
Top / Bottom / Full
Text Clear
Reveal
Time Page
Page Overview
Select:
Enter Menu:
1. Press the
button on the remote control twice to select full screen text.
2. Press the MENU button to display the ‘Teletext’ menu.
3. Press
v
or
V
to highlight ‘Text Clear’ and press
B
to select.
4. The current TV channel is displayed. Once the text page has been found a blue
symbol will appear in the top left hand corner of the screen.
5. Press the
button on the remote control to view the page.
1. In text mode press the MENU button on the remote control to access the ‘Teletext’
menu.
2. Press
v
or
V
to highlight ‘Reveal’ and press
B
to select. The hidden information is
displayed on the screen.
1. In Text mode press the MENU button on the remote control to access the ‘Teletext’ menu.
2. Press
v
or
V
to highlight ‘Time Page’ and press
B
to select. The ‘Time Page’ sub menu is
displayed.
3. Enter the desired page number using the numbered buttons on the remote control.
4. Enter the desired time using the remote control.
5. Press OK to confirm the settings. The TV will exit Teletext mode and the time will be
displayed in the top left hand corner of the screen. At the requested time the desired page
is displayed.
Time Page
PAGE
TIME
Select Page: 0-9
Next:
- - : - -
– – –
Page Overview*
*only available if TOP-Text is transmitted by the TV station.
In this menu the TOP-Text pages are divided into two columns, the first column showing
‘blocks’ of pages and the second showing ‘groups’ of pages.
1. Press
b
or
B
to select the first or second column.
2. Press
v
or
V
to select the relevant ‘group’ or ‘block’ of pages.
3. Press the OK button to display the chosen pages.
12
Operation
The TV consists of a menu system which is based on a series of user friendly on-screen displays and menus. These displays will
help you get the most from your TV, helping you to change picture and sound settings, to alter the size of the TV picture and to
rearrange the TV channels etc.
Adjusting the picture and sound
The picture and sound are preset at the factory. You can however adjust them to suit your own taste.
Using the TV menu system
AI
On
Off
Picture Mode
Live
Personal
Movie
Game
Digital Mode
Normal
DRC 50
DRC 100
Contrast
Picture Adjustment
Select:
Enter:
Picture Mode
Contrast
Brightness
Colour
Sharpness
Reset
AI
Noise Reduction
Digital Mode
Colour Tone
Personal
On
On
DRC 100
Normal
Noise Reduction
High
Mid
Low
Auto
Off
Colour Tone
Normal
Cool
Warm
1. Press the MENU button on the remote control to display the menu on the TV screen.
2. Press the
v
or
V
buttons to select
for picture settings or
for sound settings then
press
B
to enter either the ‘Picture Adjustment’ menu or the ‘Audio Adjustment’ menu.
3. Press the
v
or
V
buttons to select the item on the screen you wish to adjust then press
B
to
confirm. For a description of the menu items and their effects, see the table below.
4. Press the
v
,
V
,
B
or
b
buttons to adjust your selected item.
5. As soon as you have adjusted the item, press the OK button to store the new setting.
6. Repeat steps 3-5 if you wish to adjust any of the other items.
7. Press the MENU button to remove the menu from the TV screen.
Picture Control
Item
Effect/Operation
Picture Mode
V
Live (for live broadcasts)
Personal (for individual settings)
Movie (for movie broadcasts)
v
Game (for computer games)
Contrast
Less
b B
More
Brightness*
Darker
b B
Brighter
Colour*
Less
b B
More
Hue**
Reddish
b B
Greenish
Sharpness*
Softer
b B
Sharper
*Only available if ’Personal’ is selected in ‘Picture Mode’
**Only available for NTSC colour signal (eg. US video tapes)
Reset
Resets picture to the factory preset levels
AI
V
Off: Normal
(Artificial Intelligence)
v
On:
Automatic optimization of contrast level
according to the TV signal.
Noise Reduction
V
High: High noise reduction.
Mid:
Medium noise reduction.
Low: Low noise reduction.
Auto: Optimum noise reduction automatically selected.
v
Off:
No noise reduction.
Digital Mode
V
Normal:
Basic 100Hz picture quality
DRC 50: Improved picture resolution for viewing
scrolling characters
v
DRC 100: Optimum picture resolution creating
flicker-free pictures
Colour Tone
V
Warm:
Gives a warm tint to the picture.
Normal:
Normal.
v
Cool:
Gives a cool tint to the picture.
13
Using the TV menu system:
Equaliser Adjustment
Sel:
Adjust:
Confirm:OK
(Personal)
+
0
–
120
500
1,5K
5 K
10 K
Auto Vol. Control
Off
On
Dual Sound
Mono
Stereo
NICAM
Volume
Dual Sound
PAP
Stereo
NICAM
Balance
0
Loudness
Off
On
Space
Off
On
Audio Adjustment
Equaliser Mode
Equaliser
Adjustment
Balance
Loudness
Space
Auto Vol. Control
Dual Sound
Volume
Dual Sound
Stereo
Off
Off
Stereo
Select Mode :
Off
Confirm: OK
Personal
Vocal
Jazz
Rock
0
NICAM
NICAM
Sound Control
Item
Effect/Operation
Equaliser Mode
V
Personal
Vocal
Jazz
Rock
Pop
v
Flat (fixed setting, cannot be adjusted)
Equaliser adjustment
You can adjust the mode selected in Equaliser mode by
cutting and boosting the 5 selected frequency bands.
Press
b
or
B
to select the frequency band then
V
or
v
to
adjust the frequency. Finally, press the OK button to store
the new adjustment.
If you want to store the new setting, you need to set the Equaliser mode to
‘Personal’. Personal mode permanently stores the setting, all other modes (Vocal,
Jazz, Rock, Pop) store only until the next mode change.
Balance
b
More
left
B
More right
Loudness
V
Off:
Normal
v
On:
For music broadcasts
Space
V
Off: Normal
v
On:
Special acoustic effect
Auto Vol. Control
V
On: Volume level of the channels will stay the same
independent of the broadcast signal (eg in the case of
advertisements)
v
Off: Volume level changes according to the broadcast
signal.
Dual Sound
For a bilingual broadcast:
V
A for channel 1
v
B for channel 2
For a stereo broadcast:
V
Mono
v
Stereo
When NICAM stereo is being broadcast, the indication NICAM appears briefly
on the screen.
Headphones
i
Volume
Less
b
B
More
i
Dual Sound
Only available when PAP feature is selected:
V
Stereo: The sound of one screen comes through both
the TV loadspeakers and the headphones.
v
PAP:
The sound of the left screen comes through
the TV loudspeakers, the sound of the right
screen is selectable via headphones.
For more detail on PAP, refer to the ‘Operating PAP’ section of this manual.
14
Using the TV menu system:
Using the Features menu
1. Press the MENU button on the remote control to display the menu on the TV screen.
2. Press the
v
or
V
buttons to select
for the ‘Features’ menu then press
B
to enter the ‘Features’
menu.
3. Press the
v
or
V
buttons to select the desired menu item then press
B
to confirm. For a description
of the menu items and their effects, see the table below.
4. Press the
v
,
V
,
B
or
b
buttons to select the desired setting.
5. Press the OK button to confirm your choice of setting.
6. Repeat steps 3-5 if you wish to select any of the other items.
7. Press the MENU button to remove the menu from the TV screen.
Item
Effect/Operation
Sleep Timer
You can select a time after which the TV switches itself into
standby mode.
V
Off
v
90 min
Parental Lock
V
Off: Normal
v
On: Press the buttons on the remote control to switch the TV out of
standby mode. The buttons on the TV do not work.
AV2 Output
V
TV audio/video signal from the aerial
AV1 audio/video signal from scart 1
AV2 audio/video signal from scart 2
AV3 audio/video signal from scart 3
v
AV4 audio/video signal from connectors on front of TV
Features
Select:
Enter:
Sleep Timer
Parental Lock
AV 2 Output
Off
Off
TV
10 min
Sleep Timer
Parental Look
Off
On
AV 2 Output
TV
AV 1
AV 2
AV 3
AV 4
15
Using the TV menu system:
Using Multi PIP
Multi PIP (picture in picture) mode displays a succession of 12 still pictures and a 13th that is live. You can manually select
which channel you wish to watch, either full-screen or in the PIP mode.
Operating PAP (Picture and Picture)
This PAP feature divides the screen into two for watching two channels simultaneously (with a video source on one if you
want). The sound of the left screen comes through the TV loudspeakers, the sound of the right screen is selectable via
headphones.
1. Press the
button on the remote control to select Multi PIP mode. 13 programme
positions appear on the screen with the current channel in the centre.
2. Press the PROGR+/- buttons repeatedly to select the next or preceding 12 programme
positions.
3. Press the
v
,
V
,
b
or
B
buttons to move within the 13 displayed channels.
4. Press the OK button to select the framed channel. This channel now moves to the centre.
5. Press the OK button again to display the selected channel or press
to remove Multi PIP
mode from the TV screen.
Switching PAP on and off
Press
once to display the screens and twice to switch PAP off.
Selecting sound for the headphones
With PAP switched on, refer to the ‘Adjusting the picture and sound’ section of this manual and
set ‘
i
Dual Sound’ to ‘PAP’.
Selecting a PAP source
Press
M
. The symbol
M
appears in the right screen. Select the desired source using the numbered
buttons (for a TV channel) or
(for a video source).
Swapping screens
Press
to swap the two screens.
Zooming the screens
Press the
b
or
B
buttons to change the size of the two screens.
03
05
01
06
11
09
08
02
10
07
13
12
04
16
Using the TV menu system:
Re-arranging the TV channels
After tuning the TV, you can use this feature to change the order of the channels on the TV.
1. Press the MENU button on the remote control to display the menu on the TV screen.
2. Press the
V
button to select the
symbol on the menu screen then press
B
to enter the ‘Set Up’
menu.
3. Press the
V
button to select ‘Programme Sorting’ then press
B
to enter the ‘Programme Sorting’
menu.
4. Press the
v
or
V
buttons to select the channel you want to move then press
B
to confirm.
5. Press the
v
or
V
buttons to select the new programme position (eg PROG 4) for your selected
channel then press the OK button to confirm. The selected channel now moves to its new
programme position and the other channels move accordingly.
6. Repeat steps 4 and 5 if you wish to sort the other channels.
7. Press the MENU button to remove the menu from the TV screen.
Programme Sorting
Select Prog:
Confirm:
Set Up
Auto Tuning
Programme Sorting
Select NexTView
AV Preset
Manual Set Up
Select:
Enter :
PROG CH
LABEL
Programme Sorting
Select Position:
Move: OK
C03
TV 5
PROG CH
LABEL
1
2
3
4
5
6
7
8
9
10
11
C03
C05
C07
C08
C09
C11
C12
C13
C14
C15
C16
TV 5
PRO 7
EU-SP
SWF
RTL
SAT
MDR
DDI
DSF
RTL 2
KAB 1
C03
C05
C07
C08
C09
C11
C12
C13
C14
C15
C16
TV 5
PRO 7
EU-SP
SWF
RTL
SAT
MDR
DDI
DSF
RTL 2
KAB 1
1
2
3
4
5
6
7
8
9
10
11
- - - - -
Manually tuning the TV
You have already tuned the TV automatically using the instructions at the start of this manual. You can however carry out
this operation manually, adding channels to the TV, one at a time.
1. Press the MENU button on the remote control to display the menu on the TV screen.
2. Press the
V
button to select the
symbol on the menu screen then press
B
to enter the ‘Set Up’
menu.
3. Press the
V
button to select ‘Manual Set Up’ on the menu screen then press
B
to enter the ‘Manual
Set Up’ menu.
4. Press the
V
button to select ‘Manual Programme Preset’ on the menu screen then press
B
to enter
the ‘Manual Programme Preset’ menu.
5. Press the
v
or
V
buttons to select a programme number for your channel (eg PROGR 1 for BBC1)
then press
B
to highlight the ‘SKIP’ column.
6. Press
v
to select ‘OFF’ then press
B
to highlight the ‘SYS’ column.
7. Press the
v
or
V
buttons to select the TV broadcast system (B/G for western european countries or
D/K for eastern european countries) or ‘EXT’ for a video input source (AV1, AV2, ...) then press
B
to confirm.
8. Press the
v
or
V
buttons to select ‘C’ for terrestrial channels, ‘S’ for cable channels, or ‘F’ for
direct frequency inputs then press
B
to confirm.
9. Select the first number digit of ‘CH’ (channel) then the second number digit of ‘CH’ with the
number buttons on the remote control or
Press the
V
button to search for the next available channel.
10. If you do not wish to store this channel on the programme number you selected, press the
v
or
V
buttons to continue searching for the desired channel.
11. If this is the channel you wish to store, press the OK button.
12. Repeat steps 5-11 if you wish to store more channels then press the MENU button to remove the
menu from the TV screen.
PROG
SYS
Off
SKIP
LABEL
1
I
Manual Set Up
Select:
Enter:
Language/Country
Manual Programme Preset
Further Programme Preset
RGB Set Up
Picture Rotation
Personal ID
Demo
O
- - - - - - -
Set Up
Auto Tuning
Programme Sorting
Select Next View
AV Preset
Manual Set Up
Select:
Enter:
Manual Programme Preset
Select:
Enter:
PROG
CH
SYS
SKIP
LABEL
Off
Off
Off
Off
Off
Off
Off
Off
Off
Off
Off
1
2
3
4
5
6
7
8
9
10
11
PROG
CH
SYS
Off
SKIP
LABEL
1
B/G
L
I
D/K
EXT
CH
C
S
F
PROG
SYS
Off
SKIP
LABEL
1
I
CH
03
SEARCH
PROG
CH
SYS
Off
SKIP
LABEL
0
EXT
AV1
AV2
AV3
AV1
ARD
BBC
C03
C05
C07
C08
C09
C11
C12
C13
C14
B/G
B/G
C09
C10
B/G
B/G
TV 5
PRO 7
EU-SP
SWF
RTL
SAT
MDR
DDI
DSF
B/G
B/G
B/G
B/G
B/G
B/G
B/G
- - - - -
17
Using the TV menu system:
Naming a channel
Names for channels are usually taken automatically from Teletext if available. You can however name a channel or an input
video source using up to five characters (letters or numbers).
Skipping programme positions
This function enables you to skip unused programme positions when selecting them with the PROGR+/- buttons.
However, by using the number buttons you can still select the skipped programme position.
1. Press the MENU button on the remote control to display the menu on the TV screen.
2. Press the
V
button to select the
symbol on the menu screen then press
B
to enter the ‘Set
Up’ menu.
3. Press the
V
button to select ‘Manual Set Up’ then press
B
to enter the ‘Manual Set Up’
menu.
4. Press the
V
button to select ‘Manual Programme Preset’ then press
B
to enter the ‘Manual
Programme Preset’ menu.
5. Press the
v
or
V
buttons to select the channel you wish to name.
6. Press the
B
button repeatedly until the first element of the ‘LABEL’ column is highlighted.
7. Press the
v
or
V
buttons to select a letter or number (select ‘-’ for a blank) then press
B
to
confirm. Select the other four characters in the same way.
8. After selecting all the characters, press the OK button.
9. Repeat steps 5 to 8 if you wish to label other channels.
10. Press the MENU button to remove the menu from the TV screen.
1. Press the MENU button on the remote control to display the menu on the TV screen.
2. Press the
V
button to select the
symbol on the menu screen then press
B
to enter the
‘Set Up’ menu.
3. Press the
V
button to select ‘Manual Set Up’ then press
B
to enter the ‘Manual Set Up’
menu.
4. Press the
V
button to select ‘Manual Programme Preset’ then press
B
to enter the ‘Manual
Programme Preset’ menu.
5. Press the
v
or
V
buttons to select the programme position then press
B
to highlight the
‘SKIP’ column.
6. Press the
v
or
V
buttons to select ‘Off’ or ‘On’ (if you wish to skip this programme
position) then press the OK button to store.
7. Repeat steps 5 and 6 if you wish to skip or unskip further programme positions.
8. Press the MENU button to remove the menu from the TV screen.
Manual Programme Preset
Select:
Enter:
PROG
CH
SYS
SKIP
LABEL
PROG
CH
SYS
SKIP
LABEL
53
I
F189
- - -
Off
On
C09
C10
BBC1
BBC
I
I
Off
Off
Off
Off
Off
Off
Off
Off
Off
Off
Off
51
52
53
54
55
56
57
58
59
60
61
Manual Programme Preset
Select:
Enter:
PROG
CH
SYS
SKIP
LABEL
C09
C10
ARD
BBC
B/G
B/G
Off
Off
Off
Off
Off
Off
Off
Off
Off
Off
Off
1
2
3
4
5
6
7
8
9
10
11
PROG
CH
SYS
Off
SKIP
LABEL
6
I
C07
T E
Manual Set Up
Select:
Enter:
Language/Country
Manual Programme Preset
Further Programme Preset
RGB Set Up
Picture Rotation
Personal ID
Demo
O
- - - - - - -
Manual Set Up
Select:
Enter:
Language/Country
Manual Programme Preset
Further Programme Preset
RGB Set Up
Picture Rotation
Personal ID
Demo
O
- - - - - - -
Manual Set Up
Select:
Enter:
Language/Country
Manual Programme Preset
Further Programme Preset
RGB Set Up
Picture Rotation
Personal ID
Demo
O
- - - - - - -
Manual Set Up
Select:
Enter:
Language/Country
Manual Programme Preset
Further Programme Preset
RGB Set Up
Picture Rotation
Personal ID
Demo
O
- - - - - - -
18
Using the TV menu system:
Using the Further Programme Preset feature
With this feature you can a) adjust the attenuation of each channel, b) individually adjust the volume level of each channel,
c) manually fine-tune the TV to obtain a better picture reception if the picture is distorted or d) preset the AV output for
the programme positions of channels with scrambled signals (eg from a pay TV decoder). In this way a connected VCR
records the unscrambled signal.
Further Programme Preset
Select:
Enter:
PROG
AFT
VOL
DECODER
On
On
On
0
0
0
1
2
3
4
5
6
7
8
9
10
11
PROG
AFT
VOL
ATT
DECODER
1
Off
On
PROG
AFT
VOL
DECODER
1
0
PROG
AFT
VOL
DECODER
1
-5
PROG
AFT
VOL
DECODER
1
-5
On
On
Off
AV1
AV2
ATT
Off
Off
Off
Off
Off
Off
Off
Off
Off
Off
Off
0
0
0
0
0
0
0
0
Off
Off
Off
Off
Off
Off
Off
Off
Off
Off
Off
On
On
On
On
On
On
On
On
1. Press the MENU button on the remote control to display the menu on the TV screen.
2. Press the
V
button to select the
symbol on the menu screen then press
B
to enter the ‘Set
Up’ menu
3. Press the
V
button to select ‘Manual Set Up’ then press
B
to enter the ‘Manual Set Up’ menu.
4. Press the
V
button to select ‘Further Programme Preset’ then press
B
to enter the ‘Further
Programme Preset’ menu.
5. Press the
v
or
V
buttons to select the relevant programme number then press the
B
button
repeatedly to select a) ATT b) VOL c) AFT or d) DECODER. The selected item changes
colour.
6. a)
ATT - RF Attenuator
Press the
v
or
V
buttons to switch attenuator ‘on’ or ‘off’. Press the OK button to confirm the
selection. Repeat steps 5 and 6a if you wish to adjust the attenuation of the other channels.
b)
VOL - Volume Offset
Press the
v
or
V
buttons to adjust the volume level (range -7 to +7) of the channel. Store by
pressing the OK button. Repeat steps 5 and 6b if you wish to adjust the volume level of the
other channels.
c)
AFT - Automatic Fine Tuning
Press the
v
or
V
buttons to fine tune the channel frequency over a range of -15 to +15. Press
the OK button to confirm. Repeat steps 5 and 6c if you wish to fine tune other channels.
d)
DECODER
Press the
v
or
V
buttons to select AV1 or AV2 for the programme position then press the OK
button to confirm. You can now attach a decoder to the AV1 or the AV2 socket on the back of
the TV and the picture from that decoder will appear on this programme number. Repeat steps
5 and 6d to preset the AV output for other programme positions.
7. Press the MENU button to remove the menu from the TV screen.
Selecting the ‘Demo’ feature
This function provides an overview of some of the features available on the TV.
1. Press the MENU button on the remote control to display the menu on the TV screen.
2. Press the
V
button to select the
symbol on the menu screen then press
B
to enter the
‘Set Up’ menu
3. Press the
V
button to select ‘Manual Set Up’ then press
B
to enter the ‘Manual Set Up’
menu.
4. Press the
V
button to select ‘Demo’ then press
B
to start the demonstration (which lasts for
approximately 5 minutes).
5. Press the
button to remove the demonstration from the TV screen.
Manual Set Up
Select:
Enter:
Language/Country
Manual Programme Preset
Further Programme Preset
RGB Set Up
Picture Rotation
Personal ID
Demo
O
- - - - - - -
Start
Set Up
Auto Tuning
Programme Sorting
Select Next View
AV Preset
Manual Set Up
Select:
Enter:
- - - - -
Manual Set Up
Select:
Enter:
Language/Country
Manual Programme Preset
Further Programme Preset
RGB Set Up
Picture Rotation
Personal ID
Demo
O
- - - - - - -
19
Using the TV menu system:
Adjusting the picture geometry for an RGB source
When connecting an RGB source such as a Sony Playstation you may need to readjust the geometry of the picture.
RGB Set Up
Adjust Size:
Confirm: OK
H Centre
O
H Size
O
RGB Set Up
Adjust Position:
Confirm: OK
H Centre
O
H Size
O
1. Press the
button on the remote control to select the connected RGB source
.
2. Press the MENU button to display the menu on the TV screen.
3. Press the
V
button to select the
symbol on the menu screen then press
B
to enter the ‘Set
Up’ menu
4. Press the
V
button to select ‘Manual Set Up’ on the menu screen then press
B
to enter the
‘Manual Set Up’ menu
5. Press the
V
button to select ‘RGB Set Up’ on the menu screen then press
B
to enter the
‘RGB Set Up’ sub menu.
6. Press
B
to select H Centre then press
v
or
V
to adjust the centre of the picture over a range
of -10 to +10. Store the new range by pressing the OK button.
7. Press
B
to select H Size then press
v
or
V
to adjust the horizontal coordinates over a range
of -10 to +10. Store the new range by pressing the OK button.
8. Press the MENU button to remove the menu from the TV screen.
1
Adjusting the picture rotation
Because of the earth’s magnetism the picture might slant. In this case you can readjust the picture.
1. Press the MENU button on the remote control to display the menu on the TV screen.
2. Press the
V
button to select the
symbol on the menu screen then press
B
to enter the
‘Set Up’ menu
3. Press the
V
button to select ‘Manual Set Up’ then press
B
to enter the ‘Manual Set Up’
menu.
4. Press the
V
button to select ‘Picture Rotation’ then press
B
to enter the ‘Picture Rotation’
sub menu.
5. Press the
v
or
V
buttons to rotate the picture over a range of -5 to +5 then press the OK
button to store.
6. Press the MENU button to remove the menu from the TV screen.
Manual Set Up
Rotate:
Confirm: OK
Language/Country
Manual Programme Preset
Further Programme Preset
RGB Set Up
Picture Rotation
Personal ID
Demo
O
Set Up
Auto Tuning
Programme Sorting
Select Next View
AV Preset
Manual Set Up
Select:
Enter:
- - - - -
20
Using the TV menu system:
Inputting your personal ID
With this feature, you can allocate a safety code to your TV which will enable you to be traced if the TV is stolen and
recovered. The safety code however can only be entered once - please make a note of it!
1. Press the MENU button on the remote control to display the menu on the TV screen.
2. Press the
V
button to select the
symbol on the menu screen then press
B
to enter the
‘Set Up’ menu
3. Press the
V
button to select ‘Manual Set Up’ on the menu screen then press
B
to enter the
‘Manual Set Up’ menu.
4. Press the
V
button to select ‘Personal ID’ on the menu screen then press
B
to enter the
‘Personal ID’ sub menu.
5. Press the
v
or
V
buttons to select the first of a total of 11 characters (letter, number + or a
blank) then press
B
to go to the next character.
6. Repeat step 5 to input all the characters for the code.
7. Press the OK button to store. A status box appears on screen requesting you to re-enter
your code.
8. Press the OK button to store the code or press
b
to cancel.
9. Press the MENU button to remove the menu from the TV screen.
Presetting and naming input signals
Using this feature you can label input sources.
1. Press the MENU button on the remote control to display the menu on the TV screen.
2. Press the
V
button to select the
symbol on the menu screen then press
B
to enter the ‘Set
Up’ menu
3. Press the
V
button to select ‘AV Preset’ on the menu screen then press
B
to enter the ‘AV
Preset’ menu.
4. Press the
v
or
V
buttons to select the desired AV input (AV1, 2, 3 or 4).
5. Press the
B
button to select ‘Label’.
6. Press the
v
or
V
buttons to select the first character of the name then press the
B
button to
move to the next character.
7. Repeat step 7 to select the other 4 characters then store by pressing the OK button.
8. Repeat steps 4-8 for the other AV input sources then press the MENU button to remove the
menu from the TV screen.
Manual Set Up
Select A-Z, 0-9:
Store: OK
Language/Country
Manual Programme Preset
Further Programme Preset
RGB Set Up
Picture Rotation
Personal ID
Demo
- - - - - -
AV Preset
Select :
Enter:
Input Label
AV 1
AV 2
AV 3
AV 4
AV 1
AV 2
AV 3
AV 4
AV Preset
Select A-Z, 0-9 :
Confirm: OK
Input Label
AV 1
AV 2
AV 3
AV 4
AV 1
AV 2
AV 3
AV 4
21
Additional Equipment
Using the illustrations below, you can connect a wide range of audio and video equipment to your TV.
Connecting additional equipment to the TV
To view the input signals of connected equipment, please follow the instructions below.
1. Using the illustrations above, connect your equipment to the appropriate TV socket.
2. Press the
button repeatedly on the remote control until the correct input symbol for your equipment appears on the TV
screen (see table below):
* automatic detection of the signal according to the connected equipment
3. Switch on the connected equipment. The picture from this equipment (if any are available) will appear on the TV screen.
4. Press
to return to the normal TV screen.
Note: To avoid picture distortion, do not connect equipment to the
F
and
G
sockets at the same time.
Symbol on
the TV screen
Input signals from connector
•
Audio/video input signal through scart connector
A
or* RGB through scart connector
A
•
Audio/video input signal through scart connector
B
or* S-video through scart connector
B
•
Audio/video input signal through scart connector
C
or* S-video through scart connector
C
•
S-video input signal through the 4-pin DIN connector
F
or* video input signal through phono jack
G
and audio input signal through phono jacks
H
1
2
3
4
Connecting Headphones
Plug in your headphones to the socket
E
on the front of the TV set.
B C
D
A
F
G
H
E
22
Additional Equipment
*
If the picture or sound is distorted, move the VCR away from the TV set.
*
When connecting a monaural VCR, connect only the white jack to both the TV set and the VCR.
*
For information on how to select the output signal of the scart 2
/
, see page 14.
*
When connecting external hi-fi equipment, you can adjust the volume level by adjusting the headphones setting in the
sound menu - please refer to the ‘Adjusting picture and sound’ section of this manual.
Additional information when connecting equipment
2
s
2
Smartlink is a direct link between your TV and VCR.
For Smartlink you need:
*
A VCR which supports Smartlink, NexTView Link, Easy Link or Megalogic.
*
A fully-wired 21-pin scart cable to connect your VCR to scart 2
/
connector.
The features of Smartlink are:
*
Tuning information such as the channel overview are downloaded from the TV set to the VCR.
*
With NexTView you can programme your VCR easily.
*
Direct TV recording: while watching TV you need to press just one button on the VCR to record this programme.
For more information on Smartlink please refer to your VCR instruction manual.
Smartlink
2
s
2
Using the buttons underneath the cover of the remote control you can control other Sony equipment.
1. Open the cover of the remote control.
2. Set the selector VTR 1234 DVD according to the equipment you want to control:
VTR1 Beta VCR
VTR2 8mm VCR
VTR3 VHS VCR
VTR4 Digital Video (DCR-VX 1000/9000E,VHR-1000)
DVD Digital Video Disk
3. Use the buttons on the remote control to operate the equipment.
*
If your equipment has a COMMAND MODE selector, set this selector to the same position as the VTR 1234 DVD
selector on the TV remote control.
*
If the equipment does not have a certain function, the corresponding button on the remote control does not work.
Remote control of other Sony equipment
23
Additional Information
Specifications
TV system
B/G/H, D/K
Colour system
PAL, SECAM
NTSC 3.58, 4.43 (only Video In)
Channel coverage
See the ‘Channel Display Table’ below.
Picture tube
FD Trinitron, Approx. 72cm (29 inches), 104° deflection.
Rear Terminals
/
21-pin Euro connector (CENELEC standard) including audio/
video input, RGB input, TV audio/video output.
/
21-pin Euro connector (CENELEC standard) including audio/
video input, S-video input, Monitor audio/video output.
/
21-pin Euro connector (CENELEC standard) including audio/
video input, S-video input, Monitor audio/video output.
L/G/S/I
RCA connectors, variable output for audio signals
R/D/D/D
RF In
Front Terminals
Video input -phono jacks
Audio inputs - phono jacks
S video input - 4 pin DIN
Headphones jack - minijack stereo
1
2
s
2
3
s
3
4
4
s
4
Sound output
Left/Right:
2x20W (Music Power)
2x10W (RMS)
Sub woofer: 30W (Music Power)
15W (RMS)
Power consumption
158W
Dimensions (wxhxd)
Approx. 765x635x570mm
Weight
Approx. 59kg
Accessories supplied
RM-893 remote control (1)
IEC designated size AA batteries (2)
Other features
Flat display Trinitron tube, noise reduction, DRC 50Hz
picture, DRC 100Hz picture, PAP, PAT, M-PIP, graphic
equaliser, 2000 page TEXT memory, personal ID, sleep timer,
NexTView, Digital Comb Filter, second tuner.
Design and specifications are subject to change
without notice.
Channel Display Table
Receivable Channels
Channel Displays
B/G/H
E2..12, 21..69
C02..C12, C21..69
CABLE TV (1)
S1..S41
S01..S41
CABLE TV (2)
S01..S05
S42..S46
M1..M10
S01..S10
U1..U10
S11..S20
ITALIA
A..H, H1, H2
C13..C20
D/K
R01..R12, R21..R69
C01..C12, C21..C69
S01..S05
S42..S46
1
24
Additional Information
Here are some simple solutions to problems which may affect the picture and sound.
•
If you continue to have these problems, have your TV serviced by qualified personnel.
•
NEVER open the casing yourself.
Troubleshooting
Problem
Suggested remedy
No picture (screen is dark), no sound
•
Plug the TV in.
•
Press the
button on the front of the TV.
•
If the
indicator is on press the
button or a numbered
button on the remote control.
•
Check the aerial connection.
•
Turn the TV off for 3 or 4 seconds and then turn it on again
using the
button on the front of the TV.
Poor or no picture (screen is dark), but
good sound.
•
Using the MENU system, select the Picture
Adjustment display. Adjust the brightness, picture and colour
balance levels.
•
From the Picture Adjustment display select RESET to return
to the factory settings.
Good picture, no sound
•
Press the
button on the remote control.
•
If
is displayed on the screen, press the
button on the
remote control.
No colour on colour programmes
•
Using the MENU system, select the Picture Adjustment
display and adjust the colour setting.
•
From the Picture Adjustment display select RESET to return
to the factory settings.
Distorted picture when changing
programmes or selecting Teletext
•
Turn off any equipment connected to the scart connectors on
the rear of the TV.
Remote control does not function
•
Replace the batteries.
The standby indicator
on the TV
flashes
•
Contact your nearest Sony service centre.
Interferance on picture from external
equipment
•
Reduce sharpness level.
/
PL
Informacje dotyczące bezpieczeństwa
Bezpieczeństwo
Telewizor jest przystosowany do zasilania tylko
napi
ę
ciem przemiennym 220 – 240 V. Nie w
łą
cza
ć
zbyt du
ż
ej liczby urz
ą
dze
ń
do jednego gniazdka
sieciowego grozi to po
ż
arem lub pora
ż
eniem
pr
ą
dem.
Ze wzgl
ę
du na bezpiecze
ń
stwo i ochron
ę
ś
rodowiska naturalnego zaleca si
ę
, aby telewizor,
który nie jest u
ż
ywany, nie pozostawa
ł
w trybie
czuwania, lecz by
ł
wy
łą
czany z sieci.
Nigdy nie wpycha
ć
do telewizora
ż
adnych
przedmiotów. Grozi to po
ż
arem lub pora
ż
eniem
pr
ą
dem. Nigdy nie wylewa
ć
na telewizor
ż
adnych
p
ł
ynów. Je
ś
li do wn
ę
trza telewizora dostanie si
ę
jaki
ś
p
ł
yn lub przedmiot, nie u
ż
ywa
ć
urz
ą
dzenia,
zanim zostanie ono skontrolowane przez
odpowiednio wykwalifikowan
ą
osob
ę
.
Nie otwiera
ć
obudowy ani nie zdejmowa
ć
pokrywy
z ty
ł
u telewizora. Naprawy powierza
ć
tylko
wykwalifikowanym osobom.
Aby unikn
ąć
ryzyka po
ż
aru lub pora
ż
enia pr
ą
dem,
nie wystawia
ć
telewizora na deszcz i chroni
ć
go
przed wilgoci
ą
.
Dla w
ł
asnego bezpiecze
ń
stwa, w czasie burzy nie
dotyka
ć
ż
adnych elementów telewizora, jego
przewodu zasilaj
ą
cego ani przewodu antenowego.
Nie zakrywa
ć
otworów wentylacyjnych na
telewizorze. Dla zapewnienia w
ł
a
ś
ciwej wentylacji,
pozostawi
ć
wokó
ł
telewizora przynajmniej
1
0 cm
wolnego miejsca.
Nigdy nie stawia
ć
telewizora w miejscach
gor
ą
cych, wilgotnych lub nadmiernie zapylonych.
Nie instalowa
ć
telewizora w miejscach, w których
b
ę
dzie on nara
ż
ony na wibracje mechaniczne.
Aby unikn
ąć
po
ż
aru, przechowywa
ć
ł
atwopalne
przedmioty z dala od telewizora i nie zbli
ż
a
ć
si
ę
do
niego z otwartym ogniem (na przyk
ł
ad
ś
wiec
ą
).
Do czyszczenia telewizora u
ż
ywa
ć
mi
ę
kkiej, lekko
zwil
ż
onej
ś
ciereczki. Nie czy
ś
ci
ć
telewizora
benzyn
ą
, rozcie
ń
czalnikiem ani innymi
ś
rodkami
chemicznymi. Nie rysowa
ć
ekranu telewizora. Dla
bezpiecze
ń
stwa, przed czyszczeniem telewizora
wy
łą
czy
ć
go z sieci.
Przy wy
łą
czaniu przewodu zasilaj
ą
cego z gniazdka
sieciowego chwyta
ć
wtyczk
ę
. Nie ci
ą
gn
ąć
samego
przewodu.
Dba
ć
, aby nie stawia
ć
na przewodzie zasilaj
ą
cym
ci
ęż
kich przedmiotów, poniewa
ż
mog
ą
one
uszkodzi
ć
przewód.
Zalecamy nawini
ę
cie nadmiaru przewodu na
zaczepy znajduj
ą
ce si
ę
z ty
ł
u telewizora.
Ustawi
ć
telewizor na bezpiecznej, stabilnej
podstawie. Nie pozwala
ć
, aby wspina
ł
y si
ę
na niego
dzieci. Nie k
ł
a
ść
telewizora na boku ani ekranem
do góry.
Przed przenoszeniem telewizora wy
łą
czy
ć
go z
sieci. Unika
ć
nierównych powierzchni, szybkiego
marszu i u
ż
ywania nadmiernej si
ł
y. Je
ś
li telewizor
zosta
ł
upuszczony lub uszkodzony, natychmiast
zleci
ć
jego kontrol
ę
odpowiednio
wykwalifikowanej osobie z serwisu.
Nie zakrywa
ć
otworów wentylacyjnych na
telewizorze takimi przedmiotami jak zas
ł
ony czy
gazety.
1
Informacje dotyczące bezpieczeństwa
Wszystkie odbiorniki telewizyjne pracują z wykorzystaniem bardzo wysokich napięć. Aby uniknąć pożaru lub
porażenia prądem, należy przestrzegać zasad bezpieczeństwa, podanych na załączonym niebieskim arkuszu.
Nie
blokować ani nie zakrywać otworów wentylacyjnych. Dla zapewnienia wentylacji pozostawić ze wszystkich stron
telewizorach po 10 cm wolnego miejsca.
Informacje dotyczące bezpieczeństwa
Spis Treści
Spis Treści
Instalowanie
1. Sprawdzanie załączonych akcesoriów
2. Wkładanie baterii do pilota
3. Podłączanie telewizora
4. Włączanie telewizora
5. Używanie przycisku sterującego
6. Programowanie telewizora
7. Znajdywanie kanału wideo
2
2
3
4
4
5
5
Obsługa
Przegląd przycisków telewizora
Przegląd przycisków pilota
NexTView
Telegazeta
Posługiwanie się systemem menu telewizora
Regulacja obrazu
Regulacja dźwięku
Używanie menu Funkcje
Posługiwanie się trybem Multi PIP
Działanie trybu PAP (Obraz i obraz)
Zamiana pozycji programów
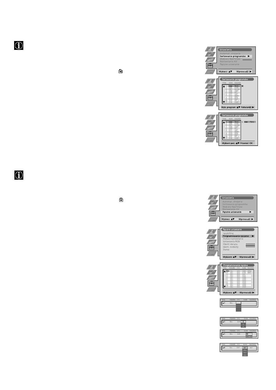
Ręczne programowanie telewizora
Nadawanie nazw programom
Pomijanie pozycji programów
Posługiwanie się menu "Dalsze nastawianie"
Włączanie trybu "Demo"
Regulacja obrotu obrazu
Regulacja geometrii obrazu dla sygnału RGB
Wprowadzanie identyfikatora osobistego
Regulacja i nadawanie nazw sygnałom wej
ś
ciowym
6
7
8
10
12
12
13
14
15
15
16
16
17
17
18
18
19
19
20
20
Dodatkowy osprzęt
Podłączanie urządzeń dodatkowych
Informacje dodatkowe dotyczące podłączania urządzeń
Smartlink
Zdalne sterowanie innym sprzętem Sony
21
22
22
22
Informacje dodatkowe
Dane techniczne
Tabela kanałów
Problemy i ich usuwanie
23
23
24
2
Wykonaj czynności 1-7, aby dokonać instalacji telewizora i zacząć oglądać programy. Instalowanie
1. Sprawdzanie załączonych akcesoriów
2. Wkładanie baterii do pilota
Pilot
Baterie
Przy wkładaniu baterii zawsze zwracaj uwagę na wła ciwe ułożenie biegunów.
Pamiętaj, aby pozbywać się niepotrzebnych baterii w sposób przyjazny dla środowiska.
3
Instalowanie
3. Podłączanie telewizora
1. Podłącz antenę do magnetowidu, tak jak to pokazano.
2. Połącz gniazdo magnetowidu RF OUT, znajdujące się z tyłu magnetowidu, z
gniazdkiem antenowym telewizora, tak jak to pokazano na rysunku.
3. Podłącz magnetowid do gniazdka sieciowego i włącz go.
4. Włóż nagraną kasetę do magnetowidu i przyciśnij 'PLAY'.
1. Podłącz antenę do gniazda oznaczonego
, znajdującego się z tyłu odbiornika.
Podłączanie anteny do telewizora
Podłączanie anteny i magnetowidu do telewizora
Jeżeli nie podłączasz
telewizora do
magnetowidu, wówczas
należy podłączyć antenę,
tak jak to pokazano na
ilustracji, po lewej i
przejść do sekcji
"4. Włączanie
telewizora".
Jeżeli natomiast
podłączasz telewizor do
magnetowidu, wówczas
należy przejść do sekcji
znajdującej się poniżej.
Kabel Euro nie jest
wymagany. Jeżeli
jednak zostanie
użyty, to dodatkowe
połączenie może
polepszyć obraz i
dźwięk podczas
odtwarzania.
OUT
IN
AERIAL
ANTENNA
AC IN
(istniejąca antena)
(łączówka Euro -
nie ma w wyposażeniu)
4
Instalowanie
1. Podłącz wtyczkę kabla telewizora do gniazdka zasilania (220-240V AC, 50Hz).
2. Wciśnij wyłącznik zasilania
znajdujący się z przodu telewizora.
Jeżeli świeci się kontrolka trybu czuwania, znajdująca się z przodu telewizora, należy nacisnąć przycisk TV
znajdujący się na pilocie, aby włączyć odbiornik TV. Należy zachować cierpliwość; obraz może pojawić się na
ekranie dopiero po kilku chwilach.
4. Włączanie telewizora
5. Używanie przycisku sterującego
/
Aby wybrać wariant w menu,
naci nij rodkowš czę ć
przycisku, oznaczonš OK..
Aby poruszać się po menu,
wciśnij odpowiedni przycisk
kierunku.
Przemieszczanie wskaźnika Przyciskanie
przyciskiem sterującym
przycisku sterującego
5
Instalowanie
Przed przystąpieniem do strojenia telewizora należy wybrać język i kraj.
6. Programowanie telewizora
Language country
Select language:
Confirm: OK
Language
Country
Türkçe
Suomi
Svenska
Português
Polski
Norsk
Nederlands
Great Britain
1. Na ekranie pojawia się menu Język/Kraj z podświetlonym
słowem "English".
2.
Przyciskami
v
oraz
V
pilota wybierz język, a następnie
przyciśnij OK, aby zatwierdzić. Pojawia się menu Kraj z
podświetlonym słowem "Wyłączony". Wybierz "Wyłączony",
jeżeli nie chcesz, aby kanały zostały kolejno zaprogramowa-
ne, począwszy od pozycji 1.
3.
Wciśnij
v
lub
V
, aby wybrać kraj, w którym będzie używany
telewizor i przyciśnij OK, aby potwierdzić swój wybór.
4. Pojawia się menu "Automatyczne Strojenie" w wybranym
języku. Przyciśnij OK, aby potwierdzić.
5. Sprawdź, czy antena jest podłączona zgodnie z instrukcjami i
przyciśnij OK, aby zatwierdzić. Telewizor zacznie
automatycznie wyszukiwać i programować dostępne kanały.
Operacja ta może potrwać kilka minut - należy zachować
cierpliwość i nie przyciskać żadnych przycisków.
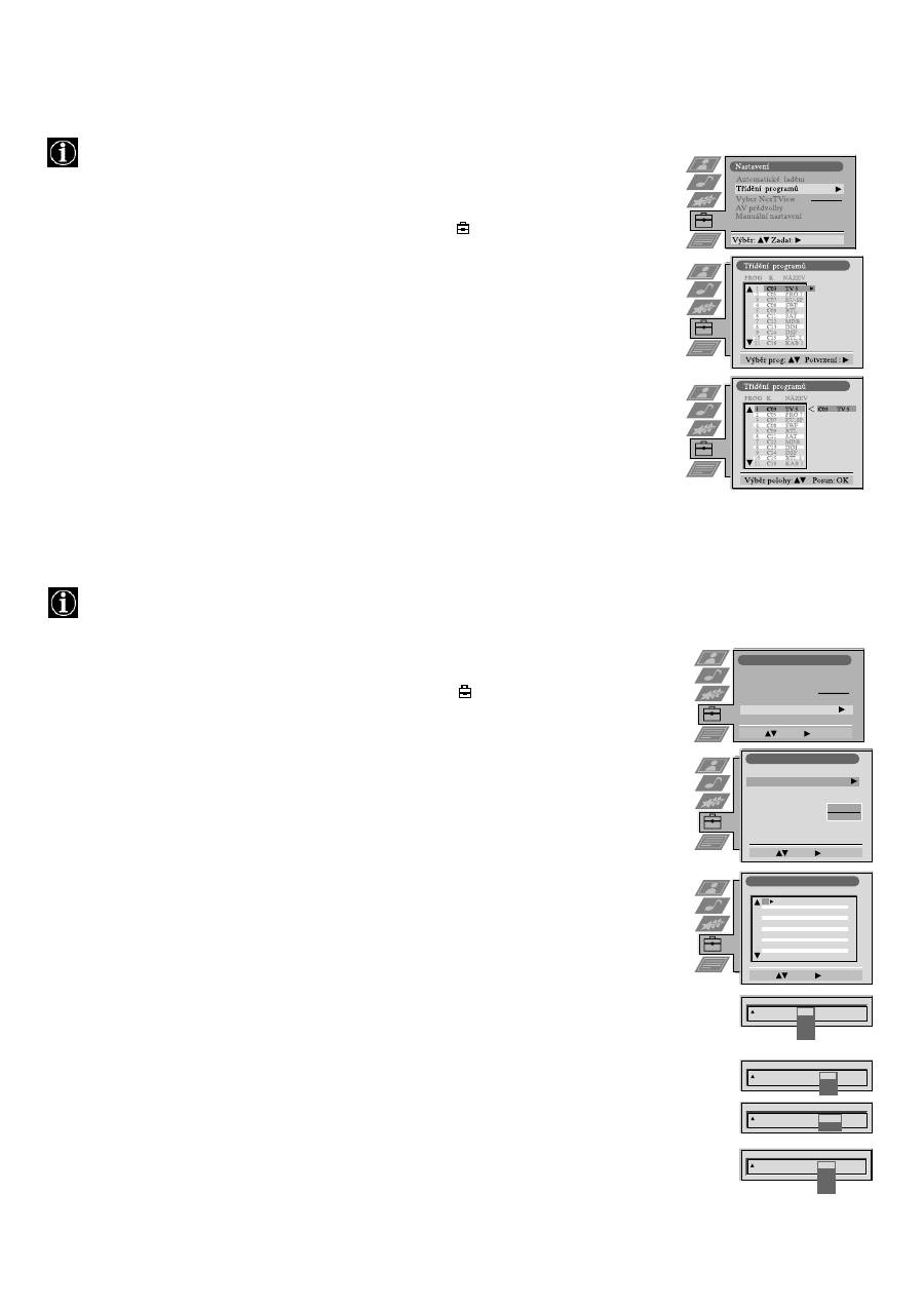
6.
Po zakończeniu strojenia wszystkich dostępnych kanałów, na
ekranie pojawia się menu "Sortowanie programów", które
pozwala zmienić porządek zaprogramowanych kanałów.
Jeżeli chcesz zmienić kolejność programów, przyciśnij
v
lub
V
, aby wybrać kanał, który chcesz przesunąć, następnie
przyciśnij
B
. Przy pomocy przycisków
v
lub
V
wybierz nową
pozycję dla danego programu i przyciśnij OK, aby
potwierdzić. Wybrany program zostanie przeniesiony w
nowe miejsce, a inne programy zostaną odpowiednio
przesunięte. Powtarzaj tę procedurę, jeżeli chcesz zmienić
kolejność pozostałych programów.
7. Naciśnij przycisk MENU, aby usunąć menu z ekranu
telewizora.
8. Naciskaj PROGR+/- lub numerowane przyciski, aby oglądać
programy telewizyjne.
Uwaga: Aby w dowolnym momencie zatrzymać proces
automatycznego strojenia, naciśnij przycisk OK.
Podłączywszy już magnetowid do telewizora, musisz znaleźć kanał wideo.
1. Naciskaj przyciski PROGR+/-, aż kanał wideo pokaże się na ekranie telewizora.
Uwaga: Jeżeli chcesz zmienić pozycję kanału wideo wśród programów, przejdź do sekcji "Zapamiętywanie
kanałów TV".
7. Znajdywanie kanału wideo
1
2
3
4
5
6
7
8
9
0
6
Obsługa
Przegląd przycisków telewizora
Przyciski regulacji głośności.
Przyciśnij, aby zwiększyć (+) /
zmniejszyć (-) głośność.
Przycisk wejścia Video.
Przyciśnij, aby wybrać sygnał
wejściowy z magnetowidu lub
innych urządzeń.
Przyciski zmiany
programu (+) i (-).
Przyciśnij, aby
zmienić program.
Aby
uzyskać
dostęp
do
przednich
gniazd
wej ciowych i przycisków telewizora, popchnij do
góry panel sterowania (jak pokazano na ilustracji).
Panel sterowania opu ci się.
Przycisk przywracania standardowych
ustawień.
Naci nij go w celu przywrócenia
fabrycznych ustawień obrazu i d więku.
Na ekranie pojawi się logotyp Sony, a
następnie
ekran
automatycznego
strojenia. Je li nie chcesz ponownie
dostrajać telewizora, naci nij przycisk
b
na pilocie
7
Obsługa
Przegląd przycisków pilota
Aby chwilowo wyłączyć telewizor
Przyciśnij w celu chwilowego wyłączenia telewizora.
Aby włączyć telewizor, należy ponownie nacisnąć ten
przycisk. Aby oszczędzać energię, znależy wyłączać nie
używany telewizor z sieci. UWAGA: Jeśli przez 15-30
minut nie jest odbierany sygnał TV i nie zostanie
naciśnięty żaden przycisk, telewizor automatycznie
przełączy się w tryb oczekiwania.
Aby pokazać informacje
Naciśnij w celu pokazania wszystkich ekranowych
wskaźników. Naciśnij ponownie, aby je ukryć. Naciśnij w
trybie telegazety, aby przejść do spisu treści (przeważnie
strona 100), naciśnij ponownie, aby skasować.
Aby wybrać sygnał wejściowy lub zatrzymać
telegazetę
Wciśnij w celu wyboru sygnału wejściowego z gniazd
(patrz sekcja "Używanie dodatkowego sprzętu").
Naciśnij w trybie telegazety, aby zatrzymać wyświetlaną
stronę. Naciśnij ponownie, aby skasować.
Wiêcej szczegó³ów znajduje siê w sekcji "Pos³ugiwanie siê
trybem PAP".
Aby powrócić do poprzedniego kanału
Wciśnij w celu przejścia do ostatnio oglądanego
programu. Uwaga: Operacja ta może zostać wykonana
tylko wtedy, gdy obecny kanał był oglądany przez 5
sekund.
Naciśnij, aby włączyć i wyłączyć tryb Multi PIP.
Aby zmienić format obrazu
Wciśnij w celu zmiany wielkości obrazu.
Przyciski Fastext
Aby zapoznać się ze szczegółami: patrz sekcja
Telegazeta.
Aby wybrać podpunkty menu
Użyj przycisku OK oraz przycisków kierunkowych, aby
wybrać opcje dostępne w systemie menu telewizora.
Aby wyświetlić menu
Naciśnij, jeżeli chcesz dokonać ustawień w menu
telewizora. Naciśnij ponownie, aby menu zniknęło z
ekranu.
Aby wybrać kanał
Wcisnąć w celu wybrania kanału.
Aby wyłączyć dźwięk
Wcisnąć w celu wyłączenia dźwięku telewizora.
Wcisnąć ponownie, aby przywrócić dźwięk.
Aby powrócić do normalnego trybu TV
Przyciśnij w celu powrotu do normalnego
działania z telegazety lub z trybu czuwania.
Aby włączyć telegazetę
Wciśnij w celu włączenia i wyłączenia
telegazety.
Aby wybrać Elektroniczny program TV
(EPG)
Wciśnij w celu włączenia i wyłączenia EPG.
Aby zatrzymać obraz
Przyciśnij, jeżeli chcesz zanotować jakąś
informację z ekranu telewizora, np. numer
telefonu. Przyciśnij ponownie, aby powrócić do
normalnego obrazu telewizyjnego.
Aby wybrać program
Przyciśnij jeden z numerowanych przycisków.
Dla programów dwucyfrowych, np. 23, najpierw
należy przycisnąć -/--, a następnie 2 oraz 3.
Aby wyświetlić menu obrazu
Przyciśnij, aby zmienić ustawienia obrazu.
Przyciśnij przycisk OK, aby usunąć menu.
Aby wyświetlić menu dźwięku
Przyciśnij, aby zmienić ustawienia dźwięku.
Przyciśnij przycisk OK, aby usunąć menu.
W celu wyświetlenia tabeli programów
Wciśnij przycisk OK. Wciśnij
v
lub
V
w celu
wyboru żądanego programu, a następnie
B
, aby
potwierdzić.
Aby ustawić głośność
Przycisnąć w celu ustawienia głośności
telewizora.
Aby przywrócić ustawienia fabryczne.
Otwórz pokrywkę pilota i naciśnij, aby
przywrócić fabryczne ustawienia obrazu i
dźwięku. Po pojawieniu się menu
"Instalacja", przejdź do sekcji "Wybieranie
języka i kraju", aby zmienić, jeżeli to
potrzebne, język i kraj.
Aby wyświetlić godzinę.
Otwórz pokrywkę pilota i naciśnij w celu
wyświetlenia na ekranie aktualnej godziny.
Aby obsługiwać wyposażenie wideo
Otwórz pokrywkę pilota i użyj tych przycisków w
celu obsługi sprzętu wideo (proszę zapoznać się ze
szczegółami w instrukcji magnetowidu).
8
Obsługa
NexTView jest elektronicznym przewodnikiem po programach telewizyjnych, który dostarcza informacji o programach
nadawanych przez różne stacje.
NexTView
Wybieranie usługodawcy NexTView
Telewizor automatycznie wybiera najlepszego usługodawcę NexTView. Wybór usługodawcy zostaje dokonany po
mniej więcej 30 minutach od zaprogramowania kanałów. Można jednak samodzielnie wybrać innego usługodawcę.
1. Naciśnij przycisk MENU na pilocie, aby wyświetlić menu na ekranie telewizora.
2. Naciskaj
v
lub
V
, aby wskazać na ekranie menu symbol
, po czym naciśnij
B
, aby wyświetlić menu
Ustawienia .
3. Naciskaj
v
lub
V
, aby wskazać wariant Select NexTView , i potwierdź, naciskając
B
. Pojawi się lista wszystkich
usługodawców NexTView.
4. Naciskaj
v
lub
V
, aby wybrać żądanego usługodawcę NexTView, po czym naciśnij przycisk OK, aby zachować
ustawienie.
5. Naciśnij przycisk MENU, aby usunąć menu z ekranu.
Uruchamianie NexTView
1. Przyciskiem
na pilocie można włączyć lub wyłączyć NexTView.
2.
Naciskaj przyciski
v
,
V
,
b
lub
B
, aby przesuwać kursor po ekranie.
3. Naciśnij OK, aby potwierdzić wybór.
a. Jeżeli przyciśniesz OK w kolumnie daty, godziny lub ikony (tematu), lista programów będzie zmieniać się, w
zależności od wyboru.
b. Jeżeli natomiast naciśniesz OK na liście programów, to dany kanał zostanie włączony, jeżeli program ten jest
aktualnie wyświetlany, lub wyświetlone zostanie menu dalszych informacji "Long Info", jeżeli program
nadawany będzie w przyszłości.
Legenda
pełna lista
osobisty wybór
programy informacyjne
filmy
sport
programy rozrywkowe
programy dla dzieci
powrót do poprzedniego menu
7
Tue
07 Tue
12:38
8
Wed
10
Fri
11
Sat
12
Sun
13
Mon
9
Thu
12
SWISS
Star Wars
Super RTL
Hat der alte Hexenmeister sich doch
einmal fortbegeben, und nun sollen
seine Geister auch nach meinem Willen
leben.
Werner - Beinhart
Pro 7
Flui grüsst den Rest der Welt
Kabel 1
Once upon a time in the West
Euronews
International News
RTL Plus
10:35 - 12:45
10:20 - 12:00
10:45 - 10:50
11:00 - 11:20
11:45 - 12:50
TXT
TPS / RINGIER
Tue 07. 04 .98
9
Używanie menu "Ustawienia indywidualne"
Możesz dokonać osobistego wyboru tematów, wśród których dokonywane będzie wyszukiwanie.
1.
Naciśnij
v
lub
V
, aby wybrać ikonę
, a następnie
B
, aby wyświetlić menu "Ustawienia indywidualne".
2.
Naciśnij
v
lub
V
, aby wybrać punkt na ekranie, a następnie naciśnij OK, aby potwierdzić swój wybór.
3. Powtarzaj czynność z kroku 2 dla wszystkich tematów, które chcesz mieć w swojej liście.
4.
Kiedy skończysz swoją listę, naciśnij
B
, aby wybrać
z menu.
5. Wciśnij przycisk OK, aby powrócić do poprzedniego menu.
6. Naciskaj
v
lub
V
, aby wybrać ikonę
, po czym ponownie naciśnij przycisk OK, aby włączyć filtr Ustawienia
indywidualne
.
Używanie menu "Long Info"
Menu Long Info umożliwia programowanie układów czasowych oraz nagrywanie wybranych programów.
1.
Naciśnij
v
lub
V
, aby wybrać z listy programów pozycję, która będzie nadawana w przyszłości.
2. Naciśnij OK, aby wyświetlić menu "Long Info".
Aby zaprogramować układ czasowy
Naciskaj przycisk
b
lub
B
, aby wskazać ikonę
, po czym naciskaj przycisk OK, aby
zaprogramować lub wyłączyć układ czasowy.
Jeśli zaprogramujesz układ czasowy, program
zostanie oznaczony ikoną zegara. Na krótko
przed rozpoczęciem programu pojawi się
pytanie, czy rzeczywiście chcesz go obejrzeć.
Aby wyświetlić tabelę układów czasowych
Naciskaj przycisk
b
lub
B
, aby wskazać ikonę
, po czym naciskaj przycisk OK, aby
wyświetlać lub ukrywać tabelę układów
czasowych. Tabela ta zawiera programy, dla
których został zaprogramowany układ
czasowy. (Za pomocą układów czasowych
można zaprogramować do 5 programów.)
Aby nagrywać programy
*
(dotyczy tylko magnetowidów z systemem Smartlink)
1
Podłącz magnetowid Smartlink.
2. Naciskaj
b
lub
B
, aby wybrać
. Następnie naciśnij przycisk OK, aby wczytać informacje do magnetowidu.
3. Aby wybrać ustaw
ienia dla magnetowidu
:
VPS/PDC
Naciskaj
b
, aby wybrać VPS/PDC, następnie naciśnij OK, aby wybrać "Wł." lub "Wył.". Jeżeli zostanie wybrana
ta opcja, wówczas wybrany program na pewno zostanie nagrany, nawet wówczas, gdy nastąpi zmiana w programie
telewizyjnym. Funkcja ta działa jednak tylko wtedy, gdy dany kanał jest nadawany z sygnałem VPS/PDC
Szybkość
Wciśńij
V
, aby wybrać "szybkość", a następnie naciśnij OK, aby wybrać "SP" dla normalnej szybkości lub "LP" dla
obniżonej szybkości nagrywania. Przy obniżonej szybkości (LP) można nagrać na kasecie dwa razy więcej.
Wówczas jakość obrazu może być obniżona.
Wybór magnetowidu
Naciskaj
V
, aby wybrać "VCR Setup", następnie naciśnij OK, aby wybrać magnetowid który chcesz
zaprogramować, to znaczy magnetowid 1 (VCR1) lub ' magnetowid 2 (VCR2).
4.
Na koniec naciśnij
B
, aby wybrać ikonę
, a następnie OK, aby usunąć menu z ekranu telewizora.
Obsługa
NexTView
07 Tue
12:38
Address Mapping
The position of the addresses in the
OSDA is shown in the following diagram.
The position values of the DPW are set
to '0'.
If other values are set, the complete
combination will be scrolled.
Example:
if the DPWC is set to '63', the char-
Speed
Timer Prog
VPS/PDC
SP
VCR1
On
This channel has been set for a timer
First nextTView/EPG-Providers in Europe
SWISS
TXT
TPS / RINGIER
nexTView
Tue 07. 04 .98
10
Obsługa
Większość programów telewizyjnych jest nadawana wraz z telegazetą. Strona spisu treści telegazety (zazwyczaj strona
100) podaje informacje dotyczące jej obsługi. Należy jednak korzystać z telegazety nadawanej z programem o silnym
sygnale, w przeciwnym wypadku mogą wystąpić błędy w odbiorze telegazety.
Telegazeta
Włączanie i wyłączanie telegazety
1. Za pomocą numerowanych przycisków pilota wybierz program, razem z którym
nadawana jest telegazeta, którą chcesz obejrzeć.
2. Naciśnij raz
, aby przejść do trybu Obraz i telegazeta (P&T).
Ekran zostanie podzielony na dwie części; program telewizyjny będzie po prawej
stronie, a telegazeta po lewej.
Tryb Obraz i telegazeta (P&T): naciśnij
, a następnie naciskaj przycisk
PROGR +/- , aby zmienić odbierany program telewizyjny. Naciśnij
b
lub
B
, aby
zmienić wielkość obrazu telewizyjnego.
Naciśnij ponownie
, aby powrócic do normalnego odbioru telegazety.
3. Naciśnij dwa razy
, aby odbierać tylko telegazetę.
4. Naciśnij trzykrotnie
, aby przejść do trybu Mix.
Obraz telewizyjny i telegazeta nakładają się na siebie.
5. Naciśnij
cztery razy, aby wyłączyć telegazetę.
Wybieranie strony telegazety
Wprowadź trzy cyfry numeru strony, używając do tego numerowanych przycisków
pilota. Jeżeli popełnisz błąd, wprowadź jakiekolwiek trzy cyfry, a następnie wprowadź
jeszcze raz poprawny numer.
Używanie innych funkcji telegazety
Wybieranie następnej lub poprzedniej strony
Naciśnij przyciski
lub
, znajdujące się na pilocie, w celu wybrania poprzedniej
lub następnej strony.
Wybieranie podstron
Strona Telegazety może zawierać kilka podstron. W takim przypadku zostanie
wyświetlony pasek informacyjny, pokazujący liczbę podstron. Wybierz podstronę
przyciskając
v
lub
V
.
Aby zatrzymać stronę telegazety
Przyciśnij,
w celu zatrzymania strony. Przyciśnij ponownie, aby przerwać
zatrzymanie.
Odkrywanie ukrytych informacji (np. odpowiedzi do quizu).
Naciśnij przycisk
, aby pokazać ukrytą informację. Naciśnij ponownie, aby ją ukryć.
Używanie kolorowych przycisków w celu przejścia na strony (Fastext)
(dostępne tylko dla stacji telewizyjnych nadających sygnał Fastext)
Kiedy zakodowane kolorami menu pojawi się na dole strony, naciśnij kolorowy
przycisk pilota (zielony, czerwony, żółty lub niebieski), aby wyświetlić odpowiednią
stronę.
Używanie funkcji "Łapanie stron"
1. Za pomocą numerowanych przycisków pilota wybierz stronę, która zawiera kilka
stron (np. strona spisu treści).
2. Wciśnij przycisk OK.
3.
Wciśnij
v
lub
V
, aby wybrać numer żądanej strony, a następnie przycisk OK.
Żądana strona zostanie wyświetlona po kilku sekundach.
Index
TELETEXT
TELETEXT
Programme
News
Sport
Weather
25
153
101
98
Index
TELETEXT
Programme
News
Sport
Weather
25
153
101
98
Index
TELETEXT
Programme
News
Sport
Weather
25
153
101
98
m
m
216-02
01
03
04
05
06
07
08
02
11
Obsługa
Telegazeta
Posługiwanie się menu telegazety
1. Kiedy telegazeta jest włączona, naciśnij przycisk MENU na pilocie, aby wyświetlić
menu na ekranie telewizora.
2.
Wciśnij
v
lub
V
w celu wybrania podpunktu, a następnie naciśnij
B
, aby dostać się
do odpowiedniego menu niższego poziomu.
3. Aby usunąć z ekranu menu telegazety, naciśnij przycisk MENU.
Góra/Dół/Cała
Menu Góra/Dół/Cała pozwala powiększyć różne części strony telegazety. Naciśnij
v
, w
celu powiększenia górnej części obrazu,
V
, aby powiększyć dolną część. Naciśnięcie
przycisku OK spowoduje przywrócenie normalnej wielkości strony. Naciśnij
b
, aby
powrócić do menu telegazety.
Usunięcie tekstu*
*funkcja dostępna tylko w trybie telegazety i trybie Mix (patrz Włączanie i wyłączanie
telegazety)
Funkcja usunięcia tekstu służy do wyświetlania obrazu telewizyjnego podczas
wyszukiwania strony telegazety.
1. Dwukrotnie naciśnij przycisk
na pilocic, aby wyświetlić telegazetę na pełnym
ekranie.
2. Naciśnij przycisk MENU, aby wyświetlić menu telegazety.
3. Naciskając
v
lub
V
wskaż wariant Usunięcie tekstu. Potwierdź wybór,
naciskając
B
.
4. Pojawi się obraz odbieranej obecnie stacji telewizyjnej. Po odszukaniu strony
telegazety, w lewym górnym rogu ekranu pojawi się niebieski symbol
.
5. W celu wyświetlenia strony naciśnij przycisk
na pilocie.
Odsłanianie
Niektóre strony telegazety zawierają ukryte informacje (np. odpowiedzi do quizu),
które można odsłonić.
Strona na czas*
* zależnie od dostępno ci usługi. Ze strony na czas można korzystać tylko w trybie
telegazety i w trybie ‘Mix .
Strona na czas umożliwia wy wietlenie o zadanej godzinie strony gazety z kodowaniem
czasowym (np. strony z alarmem).
Przegląd stron*
*funkcji można użyć, gdy stacja telewizyjna nadaje dane TOP-text.
W tym menu strony TOP-text sa podzielone na dwje kolumny, z których pierwsza
zawiera bloki stron, a druga- grupy stron.
1.Naciskając
b
lub
B
, wybierz pierwszą albo drugą kolumnę.
2.Naciskając
v
lub
V
, aby wybierz żądaną grupę albo blok stron.
3.W celu wyswietlenia żądanych stron naciśnij przycisk OK.
1. W trybie telegazety naci nij przycisk MENU na pilocie, aby wy wietlić menu
telegazety.
2.
Przyciskiem
v
lub
V
wskaż wariant Odsłanianie i potwierd wybór przyciskiem
B
.
Na ekranie pojawią się ukryte informacje
.
1. W trybie telegazety naci nij przycisk MENU na pilocie, aby wy wietlić menu
telegazety.
2.
Przyciskiem
v
lub
V
wskaż wariant Strona na czas i potwierd wybór przyciskiem
B
.
Pojawi się menu niższego poziomu ‘Strona na czas ..
3. Przyciskami numerycznymi na pilocie wprowad numer żšdanej strony.
4. Używajšc pilota, wprowad żšdanš godzinę.
5. Potwierd ustawienia przyciskiem OK. Tryb telegazety wyłšczy się, a w lewym
górnym rogu ekranu pojawi się godzina. O zaprogramowanej godzinie zostanie
wy wietlona żšdana strona.
12
Obsługa
Telewizor zawiera przyjazny dla użytkownika system sterowania, który składa się z serii menu ekranowych. System ten
pomoże Ci oglądać z satysfakcją telewizję, a także zmienić ustawienia obrazu i dźwięku, wielkość obrazu, kolejność
programów oraz wiele innych funkcji.
Regulacja obrazu i dźwięku
Obraz i dźwięk zostały wyregulowane fabrycznie. Można jednak zmienić ustawienia w zależności od upodobań.
Posługiwanie się systemem menu telewizora
1. Przyciśnij przycisk MENU na pilocie, aby wyświetlić menu na ekranie telewizora.
2.
Naciskaj przycisk
v
lub
V
, aby wybrać
(regulacja obrazu) lub
(ustawienia
dźwięku), następnie należy nacisnąć
B
w celu wejścia do menu "Ustawienia
dźwięku" lub "Regulacja obrazu".
3.
Przyciskami
v
lub
V
można wybrać parametr, którego wartość ma być zmieniona,
następnie należy przycisnąć
B
, aby zatwierdzić. Opis parametrów w menu i ich
działania - patrz tabela poniżej.
4.
Przyciskami
v
,
V
,
B
oraz
b
dokonuje się regulacji wybranego parametru.
5. Po wprowadzeniu zmian przyciśnij przycisk OK, aby zachować nowe ustawienia.
6. Powtórz czynności 3-5, jeżeli chcesz dokonać regulacji innych parametrów.
7. Przyciśnij przycisk MENU, aby menu zniknęło z ekranu telewizora.
Regulacja obrazu
Parametr
Efekt/Działanie
Tryb Obrazu
V
Na żywo (dla programów nadawanych "na żywo")
Własny
(ustawienia indywidualne)
Film
(dla filmów)
v
Gra
(dla gier komputerowych)
Kontrast
Mniej
b
B
Więcej
Jasność*
Ciemniej
b
B
Jaśniej
Kolor*
Mniej
b
B
Więcej
Odcień**
Czerwonawy
b
B
Zielonkawy
Ostrość*
Mniejsza
b
B
Większa
*
Tylko jeśli dla Tryb obrazu jest wybrane ustawienie Własny
**
Dotyczy tylko sygnału koloru NTSC (np. amerykańskich kaset video)
Zerowanie
Zostaną przywrócone fabryczne ustawienia obrazu
Sztuczna intel.
V
Wyłączona : Normalne działanie
v
Włączone : Automatyczna optymalizacja
kontrastu, w zależności od sygnału
TV.
Redukcja zakłóceń
V
Wysoka: silna redukcja zakłóceń
Średnia:
rednia redukcja zakłóceń
Niska:
słaba redukcja zakłóceń
Auto:
automatycznie dobierany, optymalny
poziom redukcji zakłóceń
v
Wyłączona: brak redukcji zakłóceń
Tryb cyfrowy
V
Normalny: podstawowa jako ć obrazu 100Hz
DRC 50: poprawiona rozdzielczo ć obrazu do
oglądania przesuwających się znaków
v
DRC 100: optymalna rozdzielczo ć obrazu
eliminująca
migotanie
Barwa
V
Ciepła:
nadaje obrazowi ciepły odcień
Normalna:normalne ustawienie
v
Zimna:
nadaje obrazowi zimny odcień
13
Regulacja dźwięku
Parametr
Efekt/Działanie
Tryby korektora
V
Osobisty
Wokal
Jazz
Rock
Pop
v
Płaski (ustawienie stałe, nie może być
regulowane)
Ustawienia korektora
Można dokonywać zmiany ustawienia wybranych trybów
korektora, poprzez zwiększanie lub zmniejszanie
częstotliwości w jednym z 5 zakresów. Przyciśnij
b
lub
B
,
aby wybrać zakres częstotliwości, a następnie
V
lub
v
w
celu dokonania regulacji częstotliwości. Na koniec należy
przycisnąć OK, aby zachować nowe ustawienia.
Jeżeli zamierzasz zachować nowe ustawienia, to musisz wybrać tryb
'Osobisty'. W trybie Osobistym ustawienia zostają zachowane na stałe, we
wszystkich innych trybach (Wokal, Jazz, Rock, Pop) ustawienia zostają
zachowane do następnej zmiany trybu.
Balans
b
Bardziej na lewo
B
Bardziej na prawo
Głośność
V
Nie:
normalne ustawienie
v
Tak: dla programów muzycznych
Przestrzeń
V
Nie: normalne ustawienie
v
Tak: specjalny efekt przestrzenny
Autom. reg. głośn.
V
Włączona : Poziom głośności programów będzie
cały czas taki sam niezależnie od nadawanego
sygnału (np. podczas reklam)
v
Wyłączona: poziom głośności będzie zmieniał się,
w zależności od nadawanego sygnału.
Podw. dźwięk
Dla programów nadawanych w dwóch językach:
V
A kanał 1
v
B kanał 2
Dla programów nadawanych w stereo:
V
Mono
v
Stereo
Kiedy zostanie odebrany
sygnaі
NICAM stereo, symbol NICAM pojawi siê na
chwilê na ekranie.
Słuchawki
i
Głośność
głośniej
b
B
ciszej
i
Podw. dźwięk
Wariant dostępny tylko po włšczeniu funkcji PAP:
V
Stereo:
dźwięk z jednego ekranu słychać zarówno
z gło ników telewizora, jak i w słuchawkach
v
PAP:
dźwięk z lewego ekranu słychać z gło ników
telewizora, a dźwięku dla prawego ekranu
można słuchać w słuchawkach.
Więcej informacji o funkcji PAP podano w czę ci ‘Użycie funkcji PAP
.
Posługiwanie się systemem menu telewizora:
0
NICAM
NICAM
0
14
Posługiwanie się systemem menu telewizora:
Używanie menu Funkcje
1. Przyciśnij przycisk MENU na pilocie, aby wyświetlić menu na ekranie telewizora.
2.
Naciskaj przycisk
v
lub
V
, aby wybrać
(menu "Funkcje"), następnie
B
, aby je wyświetlić.
3.
Naciskaj przycisk
v
lub
V
, aby wybrać żądany parametr z menu, a następnie naciśnij
B
, aby
potwierdzić. Opis parametrów w menu i efektów ich działania znajduje się w tabeli poniżej.
4.
Naciskaj przycisk
v
,
V
,
B
lub
b
, aby dokonać żądanej regulacji.
5. Naciśnij OK, aby potwierdzić swój wybór.
6. Powtarzaj czynności 3-5, jeżeli zamierzasz dokonać dalszych regulacji.
7. Naciśnij przycisk MENU, aby usunąć menu ekranu telewizora.
Parametr
Efekt/Działanie
Sleep Timer
Możesz wybrać czas, po którym telewizor automatycznie przełączy się
w tryb czuwania.
V
Nie
.
v
90 min
Blokada
V
Nie :
Bez zmian
zabezpieczająca
v
Tak :
Naciśnij przyciski pilota, aby wyłączyć telewizor ze
stanu czuwania. Przyciski na telewizorze nie będą działać.
Wyjście AV2
V
TV sygnał audio/video z anteny
AV1 sygnał audio/video z gniazda 1
AV2 sygnał audio/video z gniazda 2
AV3 sygnał audio/video z gniazda 3
v
AV4 sygnał audio/video z gniazd znajdujących się z przodu
telewizora
15
Posługiwanie się systemem menu telewizora:
Posługiwanie się trybem Multi PIP
W trybie Multi PIP (obraz w obrazie) można wyświetlić 12 nieruchomych obrazów i 13, który jest ruchomy.
Możesz ręcznie wybrać program, który chcesz oglądać, w trybie pełnoekranowym lub w trybie PIP.
Działanie trybu PAP (Obraz i obraz)
Funkcja PAP dzieli obraz na dwie części i daje możliwość oglądania dwóch programów jednocześnie (może być
to także obraz z magnetowidu). Dźwięk programu z lewej części ekranu jest nadawany przez głośniki, natomiast
dźwięku z prawej części można słuchać przez słuchawki.
1.
Naciśnij przycisk
znajdujący się na pilocie, aby włączyć tryb Multi PIP. Na
ekranie pojawia się 13 pozycji programów, z bieżącym pośrodku.
2. Przyciskami PROGR+/- można wybrać następne lub poprzednie 12 programów.
3.
Przyciskami
v
,
V
,
b
oraz
B
można poruszać się pomiędzy 13 wyświetlonymi
programami.
4. Naciśnij przycisk OK, aby wybrać zaznaczony program. Program ten będzie teraz
wyświetlany w środkowym oknie.
5. Naciśnij ponownie OK, aby wyświetlić wybrany kanał lub naciśnij
, aby wyłączyć
tryb Multi PIP.
Włączanie i wyłączanie trybu PAP
Naciśnij raz
, aby podzielić ekran na dwie części, drugi raz, aby powrócić do
normalnego obrazu.
Wybieranie dźwięku dla słuchawek
Włączywszy funkcję PAP, przejdź do sekcji Regulacja obrazu i dźwięku i wybierz dla
parametru
Podwójny dźwięk ustawienie PAP .
Wybieranie źródła sygnału dla trybu PAP
Naciśnij
M
. Symbol
M
pojawi się w prawej części ekranu. Teraz można wybrać źródło
sygnału przy pomocy klawiszy oznaczonych numerami (dla programów telewizyjnych)
lub
(dla magnetowidu).
Zamiana pozycji obrazów
Naciśnij
, aby zamienić ekrany miejscami.
Zmienianie wielkości ekranów
Naciskaj przycisk
b
lub
B
,
aby zmienić wielkość obydwu obrazów.
03
05
01
06
11
09
08
02
10
07
13
12
04
16
Posługiwanie się systemem menu telewizora
:
Zamiana pozycji programów
Po dokonaniu strojenia telewizora, dzięki tej funkcji można zmienić kolejność
zapamiętanych kanałów.
1.Przyciśnij przycisk MENU na pilocie, aby wyświetlić menu na ekranie telewizora.
2.
Naciskaj przycisk
V
, aby wybrać z menu symbol
i przyciśnij
B
, aby wejść do menu
"Ustawienia".
3.
Naciśnij
V
,
aby wybrać "Sortowanie programów", następnie
B
, aby wejść do menu
"Sortowanie programów".
4.
Naciskaj przycisk
v
lub
V
, aby wybrać kanał, który chcesz przenieść pod inny numer i
naciśnij
B
, aby potwierdzić.
5.
Naciśnij
v
lub
V
, aby wybrać nową pozycję (np. PROG 4) dla wybranego programu i
naciśnij OK, aby zatwierdzić. Wybrany program zostanie przemieszczony do nowej
pozycji, a pozycje pozostałych programów odpowiednio się zmienią.
6.Powtarzaj czynności 4 oraz 5, jeżeli zamierzasz posortować dalsze kanały.
7.Naciśnij przycisk MENU, aby usunąć menu z ekranu telewizora.
- - - - -
Ręczne programowanie telewizora
Po wykonaniu czynności opisanych na początku instrukcji telewizor jest już automatycznie zaprogramowany.
Można jednak wykonać tę operację ręcznie, aby dodać kanał.
1.Przyciśnij przycisk MENU na pilocie, aby wyświetlić menu na ekranie telewizora.
2.Naciśnij przycisk
V
, aby wybrać z menu symbol
i przyciśnij
B
, aby wejść do menu
"Ustawienia".
3.
Naciśnij
V
, aby wybrać "Ręczne ustawianie", a następnie naciśnij
B
, aby wejść do
menu"Ręczne ustawianie".
4.
Naciśnij
V
,
aby wybrać "Programowanie ręczne", a następnie naciśnij
B
, aby wejść do
menu "Programowanie ręczne".
5.
Naciśnij przyciski
v
lub
V
, aby wybrać numer programu dla kanału (np. PROGR 1 dla
TVP1), a następnie naciśnij
B
, aby podświetlić kolumnę "POMIŃ".
6.
Naciśnij
v
, aby wybrać "Nie", a następnie
B
, aby podświetlić kolumnę "SYS".
7.
Naciśnij
v
lub
V
, aby wybrać system nadawczy (B/G dla Europy Zachodnie, D/K dla
Europy Wschodniej) lub "ZEW" (EXT) dla wejścia wideo (AV1, AV2, ...), a następnie
naciśńij
B
, aby zatwierdzić.
8.
Naciskaj przycisk
v
lub
V
, aby wybrać "C" dla kanałów nadawanych normalnie, "S" dla
kanałów nadawanych w sieci kablowej, lub "F" dla wejść bezpośredniej częstotliwości,
następnie naciśnij
B
, aby potwierdzić.
9.
Wybierz pierwszą cyfrę z numeru kanału ("KAN"), następnie drugą cyfrę numeru kanału,
korzystając z przycisków numerycznych pilota
lub naciśnij
v
lub
V
, aby rozpocząć przeszukiwanie do następnego dostępnego kanału.
10.
Jeżeli nie zamierzasz przypisać tego kanału do pamięci o wybranym numerze, naciśnij
v
lub
V
, aby kontynuować przeszukiwanie, aż do żądanego kanału.
11.Jeżeli znajdziesz kanał, którzy chcesz zapisać, naciśnij przycisk OK.
12.Powtarzaj czynności 5-9, jeżeli chcesz zaprogramować więcej programów, następnie naciśnij
przycisk MENU, aby usunąć menu z ekranu telewizora.
B/G
D/K
IRL
EXT
O
- - - - - - -
17
Posługiwanie się systemem menu telewizora:
Nadawanie nazw programom
Nazwy programów są automatycznie pobierane z telegazety, jeżeli jest ona dostępna. Możesz jednak nadać nazwę
programowi lub urządzeniu wideo złożoną z pięciu znaków (liter i cyfr).
Pomijanie pozycji programów
Można zaprogramować telewizor tak, aby podczas wybierania programów przyciskami PROGR+/-, pomijane
były niechciane numery programów. Jednakże przy pomocy przycisków numerycznych wciąż można wybrać
pominięty program.
1.Przyciśnij przycisk MENU na pilocie, aby wyświetlić menu na ekranie telewizora.
2.
Naciśnij przycisk
V
, aby wybrać z menu symbol
i przyciśnij
B
, aby wejść do menu
"Ustawienia".
3.
Naciśnij
V
, aby wybrać "Ręczne ustawianie", a następnie naciśnij
B
, aby wejść do
menu "Ręczne ustawianie".
4.
Naciśnij
V
,
aby wybrać "Programowanie ręczne", a następnie
B
, aby wejść do menu
"Programowanie ręczne".
5.
Naciśnij przyciski
v
lub
V
, aby wybrać kanał, który chcesz nazwać.
6.
Naciskaj
B
, aż podświetlony zostanie pierwszy element z kolumny "NAZWA".
7.
Naciśnij
v
lub
V
, aby wybrać literę lub cyfrę (wybierz "-" dla pustych miejsc),
następnie naciśnij
B
, aby zatwierdzić. Wybierz pozostałe cztery znaki w ten sam
sposób.
8.Po wybraniu wszystkich znaków naciśnij OK, aby zatwierdzić.
9.Powtórz czynności od 5 do 8, jeżeli zamierzasz nadać nazwy innym programom.
10.Naciśnij przycisk MENU, aby usunąć menu z ekranu telewizora.
1.Przyciśnij przycisk MENU na pilocie, aby wyświetlić menu na ekranie telewizora.
2.
Naciśnij przycisk
V
, aby wybrać z menu symbol
i przyciśnij
B
, aby wejść do menu
"Ustawienia".
3.
Naciśnij
V
, aby wybrać "Ręczne ustawianie", a następnie naciśnij
B
, aby wejść do
menu "Ręczne ustawianie".
4.
Naciśnij
V
, aby wybrać "Programowanie ręczne", a następnie
B
, aby wejść do menu
"Programowanie ręczne".
5.
Naciśnij
v
lub
V
, aby wybrać pozycję programu, a następnie
B
, aby podświetlić
kolumnę "POMIŃ".
6.
Naciśnij
v
lub
V
, aby wybrać "Nie" lub "Tak" (jeżeli chcesz, aby dana pozycja była
pomijana) i naciśnij OK, aby zachować.
7.Powtarzaj czynności 5 oraz 6, jeżeli zamierzasz włączyć lub wyłączyć pomijanie
innych programów.
8.Naciśnij przycisk MENU, aby usunąć menu z ekranu telewizora.
T
Manual Set Up
Select:
Enter:
Language/Country
Manual Programme Preset
Further Programme Preset
RGB Set Up
Picture Rotation
Personal ID
Demo
O
- - - - - - -
O
- - - - - - -
O
- - - - - - -
18
Posługiwanie się systemem menu telewizora:
Posługiwanie się menu "Dalsze nastawianie"
Przy pomocy tej funkcji można: a) wyregulować tłumienie dla każdego kanału, b) wyregulować poziom głośności
dla każdego kanału, c) ręcznie dostroić kanał tak, aby uzyskać lepszy odbiór, jeżeli obraz jest zamazany lub d)
ustawić wyjście AV dla kodowanych kanałów (np. dekodera płatnej telewizji). W ten sposób podłączony
magnetowid nagra nie zamazany obraz.
O
- - - - - - -
1.Przyciśnij przycisk MENU na pilocie, aby wyświetlić menu na ekranie telewizora.
2.
Naciśnij przycisk
V
i wybierz symbol
znajdujący się na ekranie, następnie
naciśnij
B
, aby wejść do menu "Ustawienia".
3.
Naciśnij
V
, aby wybrać "Ręczne ustawianie", następnie naciśnij
B
, aby wejść do menu
"Ręczne ustawianie".
4.
Naciśnij przycisk
V
, aby wybrać "Dalsze ustawianie", następnie
B
, aby wejść do menu
"Dalsze ustawianie".
5.
Naciśnij
v
lub
V
, aby wybrać odpowiedni program, następnie naciśnij
B
, aby wybrać
a) ATT b) GŁOS c) ARC lub d) DEKODER. Wybrany wariant zmieni kolor.
6.
a) ATT - RF tłumienie
Naciskaj
v
lub
V
, aby włączyć ("Tak") lub wyłączyć ("Nie") tłumienie. Naciśnij OK,
aby potwierdzić swój wybór. Powtarzaj czynności 5 oraz 6a, jeżeli zamierzasz dokonać
regulacji dla innych kanałów.
b) GŁOS - poziom głośności
Naciskaj
v
lub
V
, aby wyregulować dla kanału poziom głośności (od -7 do +7). Przycisk
OK spowoduje zapisanie zmian. Powtarzaj czynności 5 oraz 6b, jeżeli zamierzasz
dokonać regulacji dla innych kanałów.
c) ARC - automatyczne dostrajanie
Naciśnij przyciski
v
lub
V
, aby dostroić kanał w zakresie od -15 do +15. Przyciśnij OK,
aby potwierdzić. Powtarzaj czynności 5 oraz 6c, jeżeli zamierzasz dokonać regulacji dla
innych kanałów.
d) DEKODER
Naciśnij przyciski
v
lub
V
, aby wybrać AV1 lub AV2 dla pozycji programu i naciśnij
OK, aby zatwierdzić. Teraz możesz podłączyć dekoder do gniazda AV1 lub AV2
znajdującego się z tyłu odbiornika, a pochodzący z niego obraz będzie się pojawiał na
ekranie po wybraniu tego numeru. Powtarzaj czynności 5 oraz 6d, jeżeli zamierzasz
dokonać regulacji dla innych kanałów.
7.Naciśnij przycisk MENU, aby usunąć menu z ekranu telewizora.
Włączanie trybu "Demo"
Tryb ten jest przewodnikiem po niektórych funkcjach dostępnych w telewizorze.
1.Przyciśnij przycisk MENU na pilocie, aby wyświetlić menu na ekranie telewizora.
2.
Naciśnij przycisk
V
i wybierz symbol
znajdujący się na ekranie, następnie
naciśnij
B
, aby wejść do menu "Ustawienia".
3.
Naciśnij
V
, aby wybrać "Ręczne ustawianie" a następnie naciśnij
B
, aby wejść do
menu "Ręczne ustawianie".
4.
Naciśnij przycisk
V
, aby wybrać "Demo" a następnie
B
, aby rozpocząć pokaz, który
trwa około 5 minut.
5.Naciśnij
, aby przerwać pokaz.
Start
O
- - - - - - -
19
Posługiwanie się systemem menu telewizora:
Regulacja geometrii obrazu dla sygnału RGB
Podczas podłączania źródła obrazu typu RGB, np. Sony Playstation, może okazać się, że konieczna jest regulacja
geometrii obrazu.
1.Naciśnij przycisk
, aby wybrać źródło sygnału RGB
.
2.Przyciśnij przycisk MENU, aby wyświetlić menu na ekranie telewizora.
3.
Naciśnij przycisk
V
i wybierz symbol
znajdujący się na ekranie, następnie
naciśnij
B
, aby wejść do menu "Ustawienia"
4.
Naciśnij
V
, aby wybrać z menu "Ręczne ustawianie", następnie
B
, aby wejść do menu
"Ręczne ustawianie"
5.
Naciśnij przycisk
V
, aby wybrać z menu "Ustawienia RGB", następnie naciśnij
B
, aby
wejść do podmenu "Ustawienia RGB".
6.
Naciśnij
B
,
aby wybrać Centrow. poziomie, następnie
v
lub
V
, aby wyregulować
położenie środka obrazu w zakresie od -10 do +10. Zapisz nowe ustawienia,
przyciskając OK.
7.
Naciśnij
B
,
aby wybrać "Wielkość poziomie", następnie
v
lub
V
, aby wyregulować
wielkość obrazu w poziomie, w zakresie od -10 do +10. Zapisz nowe ustawienia
przyciskając OK.
1
Regulacja obrotu obrazu
Z powodu pola magnetycznego Ziemi obraz może okazać się przechylony. W takim przypadku można na nowo
wyregulować obraz.
1.Przyciśnij przycisk MENU na pilocie, aby wyświetlić menu na ekranie telewizora.
2.
Naciśnij przycisk
V
i wybierz symbol
, znajdujący się na ekranie, następnie
naciśnij
B
, aby wejść do menu "Ustawienia".
3.
Naciśnij
V
, aby wybrać "Ręczne ustawianie", a następnie naciśnij
B
, aby wejść do
menu "Ręczne ustawianie".
4.
Naciśnij
V
, aby wybrać "Obrót obrazu", następnie
B
, aby wejść do menu "Obrót
obrazu".
5.
Naciśnij przyciski
v
lub
V
, aby obrócić obraz w zakresie od -5 do +5 i przyciśnij
przycisk OK, aby zachować.
6.Naciśnij przycisk MENU, aby usunąć menu z ekranu telewizora.
- - - - -
- - - - -
20
Posługiwanie się systemem menu telewizora:
Wprowadzanie identyfikatora osobistego
Dzięki tej funkcji można wprowadzić do telewizora identyfikator osobisty, który pozwoli odszukać właściciela,
jeżeli telewizor zostanie ukradziony i odzyskany. Ten kod bezpieczeństwa można jednak wprowadzić tylko raz -
należy go zanotować!
1.Przyciśnij przycisk MENU na pilocie, aby wyświetlić menu na ekranie telewizora.
2.
Naciśnij przycisk
V
i wybierz symbol
, znajdujący się na ekranie, następnie
naciśnij
B
, aby wejść do menu "Ustawienia".
3.
Naciśnij
V
,
aby wybrać "Ręczne ustawianie", następnie naciśnij
B
, aby wejść do
menu "Ręczne ustawianie".
4.
Naciśnij przycisk
V
, aby wybrać z menu "Ident. osobisty", następnie naciśnij
B
, aby
wejść do podmenu "Ident. osobisty".
5.
Naciskaj przycisk
v
lub
V
, aby wybrać pierwszy z 11 znaków (litera, cyfra albo
odstęp), następnie naciśnij
B
, aby przejść do następnego znaku.
6.Powtarzaj czynności 5 dla wszystkich znaków z kodu.
7.Naciśnij OK, aby zachować.
Na ekranie pojawi się okienko z żądaniem ponownego
wprowadzenia kodu.
8.
Przyciśnij ponownie przycisk OK, aby ostatecznie zachować kod, lub naciśnij
b
, aby
skasować.
9.Naciśnij przycisk MENU, aby usunąć menu z ekranu telewizora.
Regulacja i nadawanie nazw sygnałom wejściowym
Dzięki tej funkcji można automatycznie formatować wejściowe sygnały źródłowe i nadawać im nazwy.
1.Przyciśnij przycisk MENU na pilocie, aby wyświetlić menu na ekranie telewizora.
2.
Naciśnij przycisk
V
i wybierz symbol
znajdujący się na ekranie, następnie
naciśnij
B
, aby wejść do menu "Ustawienia".
3.
Naciśnij przycisk
V
, aby wybrać z menu "Nastawianie AV", następnie
B
, aby wejść do
menu "Nastawianie AV".
4.
Naciskaj przycisk
v
lub
V
, aby wybrać żądane wejście AV (AV1, 2, 3 lub 4).
5.
Przyciskiem
B
wybierz "NAZWA".
6.
Naciskaj
v
lub
V
, aby wybrać pierwszy znak nazwy i naciśnij
B
, aby przejść do
następnego znaku.
7.Powtórz czynność 7, aby wybrać pozostałe 4 znaki, a następnie naciśnij OK, aby
zachować.
8.Powtórz czynności 4-8 dla pozostałych źródeł sygnału AV, następnie naciśnij przycisk
MENU, aby usunąć menu z ekranu telewizora.
-
- - - - - -
AV 1
AV 2
AV 3
AV 4
AV 1
AV 2
AV 3
AV 4
AV 1
AV 2
AV 3
AV 4
AV 1
AV 2
AV 3
AV 4
21
Dodatkowy osprzęt
Wzorując się na poniższych rysunkach, do telewizora można podłączyć różnorodny sprzęt audio i video.
Podłączanie urządzeń dodatkowych
Aby odebrać sygnał wejściowy z podłączonego sprzętu, należy wybrać to gniazdo, do którego podłączone jest dane
urządzenie.
1.Na podstawie powyższych rysunków, podłącz sprzęt do odpowiedniego gniazda telewizora.
2.Naciskaj przycisk
pilota, aż odpowiedni symbol wejścia pokaże się na ekranie telewizora (patrz tabela poniżej):
* automatyczne rozpoznanie sygnału w zależności od podłączonego sprzętu
3.Włącz podłączony sprzęt.
Na ekranie telewizora pojawi się obraz z podłączonego urządzenia (jeśli nadaje ono
sygnał obrazu).
4.Naciśnij
, aby powrócić do normalnego obrazu.
Uwaga: Aby uniknąć zniekształceń obrazu, nie wolno podłączać sprzętu jednocześnie do gniazd
F
oraz
G
.
Podłączanie słuchawek
Włącz słuchawki do gniazda
E
z przodu telewizora.
Symbol na
ekranie
Sygnał wejściowy z gniazda
•
Wejściowy sygnał audio/video z wejścia
A
lub sygnał* RGB z wejścia
A
•
Wejściowy sygnał audio/video z wejścia
B
lub sygnał* S-video z wejścia
B
•
Wejściowy sygnał audio/video z wejścia
C
lub sygnał* S-video z wejścia
C
•
Sygnał wejściowy S-video z 4-szpilkowego gniazda DIN
F
lub sygnał* video z gniazda cinch
G
lub sygnał audio z gniazd cinch
H
1
2
3
4
B C
D
A
F
G
H
E
22
Dodatkowe urz
ądzenia
*
Jeżeli występują zakłócenia obrazu lub dźwięku, wówczas należy odsunąć magnetowid od telewizora.
*
Kiedy podłączasz monofoniczny magnetowid, podłącz przewód tylko do białych gniazd telewizora i
magnetowidu.
*
Więcej informacji o wybieraniu sygnału wejściowego z gniazda Scart 2
/
podano na stronie 14.
*
Jeśli podłączasz zewnętrzny sprzęt hi-fi, regulację głośności możesz wykonać przez zmianę w menu dźwięku
ustawienia dla słuchawek - zapoznaj się z sekcją "Regulacja obrazu i dźwięku".
Dodatkowe informacje dotycz
ące podłączania urządzeń
2
s
2
Smartlink jest to bezpośrednie łącze pomiędzy telewizorem i magnetowidem.
Do użycia systemu Smartlink potrzebny jest:
*
Magnetowid obsługujący Smartlink, NexTView Link, Easy Link lub Megalogic.
*
Pełny, 21-stykowy kabel Euro, umożliwiający podłączenie magnetowidu do gniazda Scart 2
/
.
Zalety Smartlink to:
*
Informacje na temat zaprogramowanych kanałów przekazywane są z telewizora do magnetowidu.
*
Przy pomocy NexTView można łatwo programować magnetowid.
*
Bezpośrednie nagrywanie: podczas oglądania telewizji wystarczy nacisnąć jeden przycisk magnetowidu, aby
nagrać dany program.
Aby uzyskać więcej informacji na temat Smartlink, należy zapoznać się z instrukcją magnetowidu.
Smartlink
2
s
2
Przy pomocy przycisków znajdujących się pod pokrywką pilota, można sterować także innymi urządzeniami firmy
Sony.
1.Otwórz pokrywkę pilota.
2.Przestaw przełącznik VTR 1234 DVD w położenie odpowiadające urządzeniu, którym chcesz sterować:
VTR1 magnetowid Beta
VTR2
magnetowid 8 mm
VTR3
magnetowid VHS
VTR4 Digital Video (DCR-VX 1000/9000E,VHR-1000)
DVD
Digital Video Disk
3.Użyj przycisków pilota do zdalnego sterowania dodatkowymi urządzeniami.
*
Jeżeli sprzęt ten ma przełącznik trybu sterowania (COMMAND MODE), należy go przestawić w to samo
położenie, co przełącznik VTR 1234 DVD pilota.
*
Jeżeli sprzęt ten nie ma danej funkcji, odpowiedni przycisk pilota nie będzie działał.
Zdalne sterowanie innym sprzętem Sony
23
Informacje dodatkowe
Dane techniczne
System TV
B/G/H, D/K
System koloru
PAL, SECAM
NTSC 3.58, 4.43 (tylko Video In)
Zakresy kanałów
Patrz "Tabela kanałów" na tej stronie.
Kineskop
FD Trinitron
Około 72cm (29 cale), kąt odchylania 104˚
Gniazda z tyłu
/
21-stykowa łączówka Euro (norma CENELEC)
zawierająca wejście audio/video, RGB oraz
wyjście telewizyjne audio/video.
/
21-stykowa łączówka Euro (norma CENELEC)
zawierająca wejście audio/ video, S-video oraz
wyjście audio/video monitora.
/
21-stykowa łączówka Euro (norma CENELEC)
zawierająca wejście audio/video, S-video oraz
wyjście audio/video monitora.
L/G/S/I
Gniazda RCA, regulowany poziom wyj ciowy sygnału
R/D/D/D
dźwiękowego
RF In
Gniazda z przodu
Wejście sygnału video - gniazdo cinch
Wejście sygnału audio - gniazdo cinch
Wejście sygnału S-video - gniazdo 4-stykowe DIN
Gniazdo słuchawkowe stereo mini
1
s
1
2
s
2
3
s
3
4
4
s
4
Moc wyjściowa dźwięku
Lewy / prawy: 2 x 20 W (moc muzyczna)
2 x 10 W (moc skuteczna)
Gło nik basowy:30 W (moc muzyczna)
15 W (moc skuteczna)
Pobór mocy
158W
Wymiary (szer. x wys. x gł.)
Około 765x635x570 mm
Ciężar
Około 59kg
Akcesoria w wyposażeniu
Pilot RM-893 (1 szt.)
Baterie do pilota (zgodne z normą IEC) (2 szt.)
Inne funkcje
Płaski kineskop Trinitron, cyfrowa redukcja zakłóceń,
obraz 100 Hz, PAP, PAT, M-PIP,
Pamiêæ 2000 stron
telegazety
, korektor graficzny identyfikator osobisty,
funkcja sleep, NexTView, cyfrowy filtr grzebieniowy,
drugi tuner.
Dane techniczne oraz konstrukcja mogą ulec
zmianie.
Tabela kanałów
Odbierane kanały
Oznaczenia kanałów
B/G/H
E2..12, 21..69
C02..C12, C21..69
CABLE TV (1)
S1..S41
S01..S41
CABLE TV (2)
S01..S05
S42..S46
M1..M10
S01..S10
U1..U10
S11.S20
ITALIA
A, B..H, H1, H2
C13, C14..C20, C11, C12
CABLE TV
S1..S41
S01..S41
S01..S05
S42..S46
24
Informacje dodatkowe
Oto kilka prostych rozwiązań problemów, które mogą niekorzystnie wpływać na obraz i dźwięk.
•
Jeżeli w dalszym ciągu występują problemy, oddaj swój telewizor do naprawy wykwalifikowanemu
personelowi.
•
NIGDY nie zdejmować obudowy.
Problemy i ich usuwanie
Problem
Rozwiązanie
Brak obrazu (ekran jest ciemny),
brak dźwięku
•
Włącz wtyczkę telewizora do sieci.
•
Wciśnij przycisk
znajdujący się z przodu telewizora.
•
Jeżeli świeci się wskaźnik
, wciśnij na pilocie
przycisk
lub przycisk numeru programu.
•
Sprawdź podłączenie anteny.
•
Wyłącz telewizor na 3 lub 4 sekundy, następnie włącz go
ponownie, używając przycisku
, znajdującego się z
przodu telewizora.
Słaba jakość obrazu lub jego brak
(ekran jest ciemny), ale dobra
jakość dźwięku.
•
W systemie menu wybierz "Regulacja
obrazu". Wyreguluj jasność, obraz oraz balans kolorów.
•
Z menu regulacji obrazu wybierz "Zerowanie", aby
przywrócić ustawienia fabryczne.
Słaba jakość obrazu podczas
oglądania sygnału wideo RGB.
•
Wciskaj przycisk
pilota, aż na ekranie zostanie
wyświetlony symbol RGB
.
Dobry obraz, brak dźwięku
•
Naciskaj na pilocie przycisk
.
•
Jeśli na ekranie wyświetlony jest symbol
, wciśnij
przycisk
pilota.
Brak koloru w programach
kolorowych
•
Używając systemu MENU, wybierz menu regulacji
koloru i dokonaj regulacji.
•
Z menu regulacji obrazu wybierz "Zerowanie", by
przywrócić ustawienia fabryczne.
Zniekształcony obraz przy
zmianach programu lub czytaniu
telegazety
•
Wyłącz urządzenia podłączone do gniazd znajdujących
się z tyłu telewizora.
Nie działa pilot
•
Wymień baterie.
Miga wskaźnik stanu czuwania
na telewizorze
•
Skontaktuj się z najbliższym centrum serwisowym Sony.
Zakłócenia w obrazie z
zewnętrznego urządzenia.
Zmniejszyć poziom ostro ci.
/
CZ
Bezpečnostní informace
Bezpečnostní informace
Tento televizor pracuje pouze s napětím 220-
240V. V případě zapojení příli mnoha
spotřebičů do jedné el. zásuvky může dojít k
úrazu el. proudem či požáru.
Z bezpečnostních důvodů a z důvodů
ochrany životního prostředí doporučujeme
neponechávat televizor v pohotovostním
stavu pokud není del í dobu používán. V
tomto případě odpojte televizor z el. sítě.
Nevkládejte žádné předměty do televizoru,
rovněž do televizoru nelijte jakoukoliv
tekutinu. V případě, že se tak stane a již
úmyslně či neúmyslně televizor nezapínejte
a sdělte tuto skutečnost nejbliž ímu
autorizovanému
servisu
SONY,
který
odborně televizor prověří.
Neotevírejte zadní kryt televizoru. Toto
přenechte
pouze
kvalifikovaným
odborníkům z autorizovaných servisů SONY.
Nevystavujte televizor de ti a vlhku,
předejdete tak případnému úrazu el.
proudem.
Nedotýkejte se během bouřky jakékoliv
části el. přívodního kabelu ani anténního
kabelu.
Nezakrývejte ventilační otvory televizoru.
Nechte kolem televizoru alespoň 10 cm
prostoru pro ventilaci vzduchu.
Neumis ujte televizor na horká, mokrá či
extrémně pra ná místa. Televizor by neměl
být vystaven mechanickým vibracím.
Hořlavé látky, či otevřený oheň (svíčka)
neumis ujte v těsné blízkosti televizoru.
Při vytahování el. přívodního kabelu tahejte
pouze za zástrčku, netahejte za kabel.
Abyste nepo kodili el. přívodní kabel
nepokládejte na něj žádné těžké předměty.
Doporučujeme
přebytečnou
část
el.
přívodního kabelu navinout kolem háčků na
zadní straně televizoru.
Televizor postavte vždy na stabilní a bezpečný
stolek. Nedovolte dětem aby na televizor
lezli, sedali si na něj, či si na něm hráli. Při
manipulaci nepokládejte televizor na boční
ani na čelní stranu.
Před manipulací vypojte televizor z el. sítě.
Při manipulaci postupujte opatrně abyste
televizor nepo kodili. Pokud vám televizor
upadl, či byl jiným způsobem po kozen
nechte ho prověřit odborným pracovníkem
autorizovaného servisu SONY.
Nezakrývejte ventilační otvory televizoru
novinami, časopisy ani záclonami a závěsy.
Televizor můžete čistit pouze jemnou, lehce
navlhčenou látkou. Nepoužívejte benzín,
ředidlo
ani
jiné
chemikálie,
rovněž
nepoužívejte čistící prostředky s brusnými
účinky. Ne krábejte povrch obrazovky. Pro va
i bezpečnost doporučujeme televizor před či
těním vždy odpojit od el. sítě.
1
Bezpečnostní informace
Všechny televizory používají ke své funkci mimořádně vysoká napětí. Abyste předešli požáru nebo elektrickému šoku, ři9te se
prosím bezpečnostními pokyny, které jsou uvedeny na dodaném modrém listu.
Nezakrývejte
ventilační otvory. Pro dostatečný přístup vzduchu je kolem přístroje třeba mezera alespoň 10 cm.
Bezpečnostní informace
Obsah
Obsah
Instalace
1. Kontrola dodaného příslušenství
2. Vložení baterií do dálkového ovladače
3. Připojení televizoru
4. Zapnutí televizoru
5. Použití ovládacího knoflíku
6. Vyladění televizoru
7. Vyhledání video kanálu
2
2
3
4
4
5
5
Obsluha
Přehled tlačítek televizoru
Přehled tlačítek dálkového ovladače
NexTView
Teletext
Použití systému nabídek televizoru
Ovládání obrazu
Ovládání zvuku
Použití nabídky Spec. funkce
Použití režimu Multi PIP (vícenásobný obraz v obraze)
Ovládání funkce PAP (obraz a obraz)
Změna uspořádání televizních kanálů
Manuální vyladění televizoru
Pojmenování kanálu
Přeskočení pozic programů
Použití funkce Rozšířené předvolby
Výběr funkce Ukázka
Nastavení natočení obrazu
Nastavení geometrie obrazu pro zdroj signálu RGB
Zadání osobního ID čísla
Předvolení a pojmenování vstupních signálů
6
7
8
10
12
12
13
14
15
15
16
16
17
17
18
18
19
19
20
20
Další zařízení
Připojení dalšího zařízení k televizoru
Další informace týkající se připojování zařízení
Smartlink
Dálkové ovládání dalších zařízení firmy Sony
21
22
22
22
Další informace
Technické údaje
Tabulka zobrazení kanálů
Odstraňování chyb
23
23
24
2
Při instalaci televizoru a zobrazení televizních
programů postupujte podle kroků 1-7.
Instalace
1. Kontrola dodaného příslušenství
2. Vložení baterií do dálkového ovladače
Dálkový ovladač
Baterie
Při vkládáni baterií do dálkového ovladače vždy dodržujte polaritu baterií
Použité baterie vždy likvidujte s ohledem na životní prostředí.
3
Instalace
3. Připojení televizoru
1. Podle vyobrazení připojte stávající anténní svod k videorekordéru.
2. Podle vyobrazení připojte anténní vedení ze zásuvky RF OUT na zadní straně
videorekordéru do anténní zásuvky na zadní straně televizoru.
3. Připojte videorekordér k elektrické síti a zapněte ho.
4. Do videorekordéru vložte předem nahranou pásku a stiskněte tlačítko PLAY
(přehrávat).
1. Připojte stávající anténní svod do zásuvky na zadní straně televizoru označené
.
Připojení antény k televizoru
Připojení antény a videorekordéru k televizoru
Jestliže nebudete
televizor připojovat k
videorekordéru, připojte
prosím anténní svod
(podle vyobrazení vlevo)
a přejděte k oddílu
4.Zapnutí televizoru .
Pokud budete televizor
připojovat k
videorekordéru, přečtěte
si prosím níže uvedený
oddíl.
Kabel typu SCART je
volitelný. Jestliže je
ho však možné použít,
toto doplňkové
propojení může
zlepšit kvalitu obrazu
a zvuku v režimu
přehrávání.
OUT
IN
AERIAL
ANTENNA
AC IN
(stávající anténní svod)
(kabel SCART - není
součástí dodávky)
4
Instalace
1. Zapojte zástrčku televizoru do sít'ové zásuvky (220-240V ~, 50Hz) a zapněte ho.
2. Stiskněte vypínač
na přední straně televizoru.
Jestliže svítí indikátor úsporného režimu umístěný na přední straně
televizoru, zapněte televizor stisknutím tlačítka TV
na dálkovém ovladači. Bu9te prosím trpěliví,
nebot' obraz se může objevit na televizní obrazovce až po chvíli.
4. Zapnutí televizoru
5. Použití ovládacího knoflíku
/
Potvrzení své volby provedete
stisknutím ovládacího knoflíku
uprostřed.
V nabídkách se můžete pohybovat
stisknutím příslušných šipek.
Pohyb ovládacím knoflíkem
Stisknutí ovládacího knoflíku
5
Instalace
Před vyladěním televizoru budete požádáni, abyste nastavili svůj jazyk a zemi.
6. Vyladění televizoru
Language country
Select language:
Confirm:
Language
Country
Italiano
Français
Español
English
Deutsch
Dansk
Čeština
Great Britain
Finsko
Dánsko
Česká rep.
Bulharsko
Belgie
Rakousko
Vyp
Jazyk/Země
Jazyk
Země
Výběr zemi:
Potvrzeni: OK
1. Na obrazovce televizoru se objeví nabídka Language/Country se
zvýrazněným slovem English.
2. Stisknutím tlačítka
v
nebo
V
na dálkovém ovladači zvolte jazyk
dle vlastního výběru a potom pro potvrzení stiskněte tlačítko OK.
Na obrazovce se objeví nabídka zemí se zvýrazněným slovem
OFF (vypnuto). Pokud nechcete, aby byly kanály uloženy v
daném pořadí kanálů, počínaje pozicí programu 1, zvolte 'OFF'.
3. Stisknutím
v
nebo
V
zvolte zemi, v níž chcete televizor
provozovat a svou volbu potvr9te stisknutím tlačítka OK.
4. Na obrazovce televizoru se objeví nabídka automatické ladění
ve vámi zvoleném jazyce. Pro potvrzení stiskněte tlačítko OK.
5. Ujistěte se, že je anténa připojena podle pokynů a pro potvrzení
stiskněte tlačítko OK. Televizor pro vás začne automaticky
vyhledávat a ukládat všechny dostupné kanály. To může trvat
několik minut - bu9te prosím trpěliví a nemačkejte žádná
tlačítka.
6. Když televizor naladí všechny dostupné kanály, na obrazovce se
objeví nabídka Třídění programů, která vám umožňuje změnit
pořadí kanálů v televizoru. Pokud chcete změnit pořadí kanálů,
zvolte stisknutím tlačítka
v
nebo
V
kanál, který chcete přemístit
a potom stiskněte
B
. Stisknutím tlačítka
v
nebo
V
zvolte pozici
nového čísla programu pro vámi zvolený kanál a potom pro
potvrzení stiskněte tlačítko OK. Zvolený kanál se nyní přesune
na svou novou pozici programu a také ostatní kanály se podle
toho přemístí. Pokud chcete setřídit pořadí dalších kanálů
televize, tento postup opakujte.
7. Stisknutím tlačítka MENU odstraňte nabídku z televizní
obrazovky.
8. Stisknutím tlačítek PROGR+/- nebo tlačítek s čísly zobrazíte
požadované televizní kanály.
Poznámka: Jestliže budete chtít automatické vyla9ování v
kterémkoliv okamžiku zastavit, stiskněte tlačítko OK.
Pokud jste připojili k televizoru videorekordér, budete muset nyní vyhledat kanál s videem.
1. Opakovaně tiskněte tlačítka PROGR+/- na dálkovém ovladači, dokud se na obrazovce televizoru neobjeví obraz z videa.
Poznámka: Jestliže chcete přesunout kanál s videem na pozici jiného programu, přečtěte si v této příručce oddíl
Řazení televizních kanálů.
7. Vyhledání video kanálu
1
2
3
4
5
6
7
8
9
0
6
Obsluha
Přehled tlačítek televizoru
Tlačítka pro ovládání hlasitosti.
Jejich stisknutím můžete zvýšit (+)
nebo snížit (-) hlasitost.
Tlačítko pro video vstup.
Jeho stisknutím můžete zvolit vstupní
signál z videorekordéru atd.
Tlačítka pro přepnutí na vyšší
(+) nebo nižší (-) program.
Jejich stisknutím lze navolit
požadovaný televizní kanál.
Pro zpřístupnění čelního ovládacího panelu
se vstupními konektory stiskněte ovládací
panel směrem nahoru (viz obr.)
Ovládací panel se vysune směrem
dolů.
Tlačítko obnovení původního
nastavení.
Po stisknutí tohoto tlačítka se zvuk a
obraz vrátí do hodnot nastavených z
továrny. Na obrazovce se objeví logo
SONY a poté se objeví obrazovka
“
Automatického ladění
”
. Pokud si
nepřejete aby proběhlo automatické
ladění znovu, stiskněte
b
tlačítko na
dálkovém ovládání.
7
Vypnutí zvuku
Jeho stisknutím vypnete zvuk televizoru.
Opětovným stisknutím zvuk obnovíte.
Návrat do režimu televizoru
Jeho stisknutím se vrátíte z teletextového nebo
pohotovostního režimu do normálního provozního
režimu.
Výběr teletextu
Jeho stisknutím zapnete nebo vypnete teletext.
Výběr Elektronického průvodce programy (EPG)
Jeho stisknutím zapnete nebo vypnete EPG.
Zmrazení obrazu
Pokud si chcete poznamenat nějaké informace z
televizní obrazovky, např. telefonní číslo, stiskněte
toto tlačítko. Jeho opětovným stisknutím se vrátíte
do normálního režimu televizoru.
Výbìr kanálù
Stisknutím těchto tlačítek s čísly můžete provádět
výběr kanálů.
U dvoumístných čísel programů, např. 23, stiskněte
nejprve -/-- a potom tlačítka 2 a 3.
Zobrazení nabídky pro nastavení obrazu
Po jeho stisknutí můžete provést změny v
nastavení obrazu. Zobrazení této nabídky zrušíte
stisknutím tlačítka OK.
Zobrazení nabídky pro nastavení zvuku
Po jeho stisknutí můžete provést změny v
nastavení zvuku. Zobrazení této nabídky zrušíte
stisknutím tlačítka OK.
Zobrazení tabulky kanálù
Stiskněte tlačítko OK. Stisknutím
v
nebo
V
zvolte
požadovaný kanál a potom stiskněte
B
pro
potvrzení.
Nastavení hlasitosti televizoru
Jeho stisknutím nastavíte hlasitost televizoru.
Obsluha
Přehled tlačítek dálkového ovladače
Dočasné vypnutí televizoru
Jeho stisknutím televizor dočasně vypnete. Po jeho
opětovném stisknutí televizor opustí úsporný režim a zapne
se. Kvůli úspoře energie doporučujeme, abyste televizor
zcela vypínali, když jej nepoužíváte. POZNÁMKA: Jestliže
televizor nepřijímá po dobu 15 - 30 minut žádný televizní
signál a není stisknuto žádné tlačítko, automaticky se přepne
do úsporného režimu.
Vyvolání informací na obrazovce
Jeho stisknutím vyvoláte všechny údaje na obrazovce. Jeho
opětovným stisknutím jejich zobrazení zrušíte. V režimu
Teletext jeho stisknutím vyvoláte stránku s rejstříkem
(obvykle stránka 100) a jeho opětovným stisknutím její
zobrazení zrušíte.
Výběr vstupního signálu nebo zmrazení teletextu
Jeho stisknutím můžete zvolit vstup z některého z
konektorů televizoru (viz oddíl Použití přídavných zařízení).
V režimu Teletext jeho stisknutím zmrazíte zobrazenou
stránku. Jeho opětovným stisknutím toto zmrazení zrušíte.
Podrobnosti najdete v oddílu Ovládání funkce PAP v této
příručce.
Návrat na předchozí kanál
Jeho stisknutím se vrátíte na předchozí kanál, který jste
sledovali. Poznámka: Toto lze provést pouze po sledování
stávajícího kanálu po dobu 5 sekund.
Jeho stisknutím zapnete nebo vypnete režim Multi PIPf.
Změna formátu obrazovky
Jeho stisknutím změníte velikost obrazovky.
Klávesy pro Fastext
Podrobnosti najdete v příručce v oddílu Teletext.
Výběr položek nabídky
Pomocí tlačítka OK a kláves se šipkami můžete volit
možnosti, které jsou k dispozici v systému nabídek tohoto
televizoru.
Zobrazení nabídky
Toto tlačítko stiskněte, jestliže chcete použít systém nabídek
televizoru. Jeho opětovným stisknutím nabídku z televizní
obrazovky odstraníte.
Výběr kanálů
Jeho stisknutím můžete zvolit požadovaný kanál.
Obnovení hodnot nastavených ve výrobě.
Otevřete víčko dálkového ovladače a
stisknutím tohoto tlačítka obnovte výrobní
nastavení obrazu a zvuku. Když se na
obrazovce televizoru objeví nabídka
Instalace', podívejte se do příručky do oddílu
Výběr jazyka a země, abyste případně mohli
změnit svou volbu jazyka a země.
Zobrazení času.
Po otevření víčka dálkového ovladače můžete
stisknutím tohoto tlačítka zobrazit na obrazovce čas.
Obsluha video přístroje
Po otevření víčka dálkového ovladače můžete
stisknutím těchto tlačítek ovládat svůj video přístroj
(prostudujte si prosím příručku ke svému
videorekordéru).
8
Obsluha
*v závislosti na dostupnosti služby.
NexTView je elektronický průvodce programy, jenž poskytuje informace o programech až na 1 týden*, pro všechny kanály,
které podporují EPG.
*Jestliže objem dat překročí velikost paměti NexTView, obdržíte informace pro méně než 7 dní.
NexTView*
Zobrazení NexTView
Nejprve musíte zvolit kanál, který poskytuje službu NexTView. V tomto případě se zobrazí indikace NexTView,
jakmile budou k dispozici všechna data.
1. Opakovaným stisknutím tlačítka
na dálkovém ovladači můžete NexTView zapnout a vypnout.
2. Stisknutím tlačítka
v
,
V
,
b
nebo
B
můžete přemíst'ovat kurzor na obrazovce.
3. Stisknutím tlačítka OK potvrdíte výběr.
a.
Jestliže stisknete tlačítko OK ve sloupcích s datumem, časem nebo ikonami (témata), změníte tím seznam
programů podle daného výběru.
b.
Jestliže stisknete tlačítko OK v seznamu programů, potom přímo zobrazíte daný kanál, pokud právě probíhá
vysílání, nebo zobrazíte nabídku Long Info, pokud vysílání proběhne až v budoucnu.
Rejstřík
úplný seznam pro výběr
osobní výběr
vysílání zpráv
filmy
sport
zábava
děti
návrat do poslední nabídky
7
Tue
07 Tue
12:38
8
Wed
10
Fri
11
Sat
12
Sun
13
Mon
9
Thu
12
SWISS
Star Wars
Super RTL
Fantasy film, USA, 1996
Werner - Beinhart
Pro 7
Flui grüsst den Rest der Welt
Kabel 1
Once upon a time in the West
Euronews
International News
RTL Plus
10:35 - 12:45
10:20 - 12:00
10:45 - 10:50
11:00 - 11:20
11:45 - 12:50
TXT
TPS / RINGIER
Tue 07. 04 .98
9
Použití nabídky Individual Setting
Když zvolíte ikonu
, můžete provést svůj vlastní individuální výběr témat a omezit tak vyhledávání na označená témata.
1. Stisknutím
v
nebo
V
zvolte ikonu
a potom stisknutím
B
zobrazte nabídku Individual Setting .
2. Stisknutím
v
nebo
V
vyberte zvolenou položku na obrazovce a potom svou volbu potvr9te stisknutím tlačítka OK.
3. Opakujte krok 2 pro všechny položky, které chcete mít ve svém seznamu.
4. Když seznam dokončíte, stisknutím
B
vyberte na obrazovce s nabídkou
.
5. Stiskněte tlačítko OK.
Použití nabídky Long Info
1. Stisknutím
v
nebo
V
zvolte ve sloupci se seznamem programů budoucí program.
2. Stisknutím tlačítka OK zobrazte nabídku Long Info.
3. Jestliže máte videorekordér s funkcí Smartlink a chcete na něm nahrát zvolený program, nejprve stisknutím
b
zvolte
a
potom stisknutím tlačítka OK nahrajte tyto informace do videorekordéru.
4. Nastavení videorekordéru:
VPS/PDC
Opakovaným stisknutím
b
zvolte VPS/PDC a potom stisknutím tlačítka OK zvolte Zap nebo Vyp. Když je toto
nastavení zapnuto, zaručuje vám zaznamenání celého pořadu i kdyby došlo ke změně v televizním programu.
Funguje však pouze v případě, že zvolený kanál vysílá signál VPS/PDC.
Rychlost
Stisknutím
V
zvolte Rychlost a potom stisknutím tlačítka OK zvolte SP pro standardní dobu přehrávání nebo LP pro
dlouhou dobu přehrávání. S nastavenou dlouhou dobou přehrávání můžete nahrát na videokazetu dvojnásobek
standardního záznamu. Může se však zhoršit kvalita obrazu.
VCR Setup
Stisknutím
V
zvolte VCR Setup a potom stisknutím tlačítka OK zvolte, který videorekordér chcete naprogramovat, tj.
VCR1 nebo VCR2 .
5. Nakonec zvolte stisknutím
B
ikonu
a potom odstraňte nabídku z obrazovky televizoru stisknutím tlačítka OK.
07 Tue
12:38
Address Mapping
The position of the addresses in the
OSDA is shown in the following diagram.
The position values of the DPW are set
to '0'.
If other values are set, the complete
combination will be scrolled.
Example:
if the DPWC is set to '63', the char-
Speed
Timer Prog
VPS/PDC
SP
VCR1
On
This channel has been set for a timer
First nextTView/EPG-Providers in Europe
SWISS
TXT
TPS / RINGIER
nexTView
Tue 07. 04 .98
Obsluha
NexTView
10
Obsluha
Většina televizních kanálů vysílá informace prostřednictvím teletextu. Stránka s rejstříkem teletextové služby (obvykle stránka
100) vám poskytuje informace o jejím využití. Použijte prosím televizní kanál se silným signálem, jinak se mohou v teletextu
vyskytnout chyby.
Teletext
Zapnutí a vypnutí teletextu
1. Zvolte televizní kanál, na nemz je vysílána teletextová sluzba, kterou chcete
zobrazit.
2. Jedním stisknutím
zvolte Obraz a teletext (P&T).
Obrazovka se rozdelí na
dve cásti, pricemz televizní kanál je v pravém rohu a zobrazení teletextu je vlevo
.
Rezim P&T: Stisknutím PROGR+/-
prepnete kanál televizní obrazovky.
Stlacením
b
nebo
B
zmeníte velikost televizní obrazovky. Opetovným
stisknutím
obnovíte normální príjem teletextu.
3. Dvojím stisknutím
zobrazíte pouze teletext.
4. Trojím stisknutím
prejdete do rezimu Mix.
5. Stisknutím
nebo ctvrtým stisknutím teletext vypnete.
Vyvolání stránky s rejstríkem.
Tuto stránku (obvykle stránku 100) vyvoláte stisknutím tlacítka *. Jeho opetovným
stisknutím její zobrazení zrušíte.
Použití dalších funkcí teletextu
Výběr následující nebo předchozí stránky
Stisknutím tlačítka
nebo
na dálkovém ovladači zvolíte předchozí nebo následující
stránku.
Výběr podstránky
Teletextová stránka se může skládat z několika podstránek. V takovém případě je zobrazen
informační řádek, který ukazuje počet podstránek. Podstránku zvolíte stisknutím
v
nebo
V
.
Zmrazení teletextové stránky
Stránku zmrazíte stisknutím tlačítka
. Jeho opětovným stisknutím toto zmrazení zrušíte.
Vyvolání skrytých informací (např. odpovědí na kvíz).
Informace vyvoláte stisknutím tlačítka
.
Přístup ke stránkám pomocí barevných tlačítek (Fastext)
(k dispozici pouze v případě, že daná televizní stanice vysílá signály Fastext)
Když se ve spodní části stránky objeví barevně rozlišená nabídka, můžete stisknutím
barevného tlačítka na dálkovém ovladači (zeleného, červeného, žlutého nebo modrého)
přejít na příslušnou stránku.
Použití funkce Zachytávání stránek
1. Stisknutím očíslovaných tlačítek na dálkovém ovladači zvolte teletextovou
stránku, na které je několik čísel stránek (např. stránku s rejstříkem).
2. Stiskněte tlačítko OK.
3. Stisknutím
v
nebo
V
zvolte požadované číslo stránky a potom stiskněte tlačítko
OK. Požadovaná stránka se za několik sekund zobrazí.
Index
TELETEXT
TELETEXT
Programme
News
Sport
Weather
25
153
101
98
Index
TELETEXT
Programme
News
Sport
Weather
25
153
101
98
Index
TELETEXT
Programme
News
Sport
Weather
25
153
101
98
m
m
216-02
01
03
04
05
06
07
08
02
11
Obsluha
Teletext
Použití nabídky Teletext
1. Stisknutím tlačítka MENU na dálkovém ovladači zobrazte nabídku na obrazovce
televizoru.
2. Stisknutím
v
nebo
V
zvolte na obrazovce položku dle vlastního výběru a potom
zobrazte stisknutím
B
příslušnou dílčí nabídku.
3. Nabídku Teletext odstraníte z obrazovky stisknutím tlačítka MENU.
Horní/Dolní/Plný
Dílčí nabídka Horní/Dolní/Plný vám umožňuje zvětšit různé části teletextové stránky.
Stisknutím
v
zvětšíte horní polovinu obrazovky, stisknutím
V
zvětšíte její dolní polovinu.
Stisknutím tlačítka OK obnovíte normální velikost stránky. Stisknutím
b
se vrátíte na
obrazovku s nabídkou Teletext.
Vymazaní textu*
*funkce pristupna pouze v rezimech TELETEXT a Obraz a TELETEXT (viz
Zapnuti a vypnuti teletextu)
Po zvolení této funkce můžete při čekání na požadovanou teletextovou stránku sledovat
příslušný televizní kanál.
1.
Na dalkovem ovladaci stisknete dvakrat tlacitko
a teletext se zobrazi na cele
obrazovce.
2.
Stisknete tlacitko MENU - zobrazite menu rezimu teletext.
3.
Stisknete
v
nebo
V
, zvolte Skryti textu a potvrdte
B
stisknutim.
4.
Zobrazi se prislusny televizni kanal, ktery sledujete. Jakmile bude stranka k dispozici,
modry symbol
se zobrazi v levern hornim rohu obrazovky.
5.
Stisknete tlacitko
zobrazi se pozadovana stranka teletextu.
Odkrýt text
Některé teletextové stránky mohou obsahovat skryté informace (kvíz, hádanky)
Casovací stránka*
*
funkce přístupná pouze v režimech Teletext a režimech kombinovaných s teletextem.
Časovací stránka umožňuje zobrazit požadovanou Teletextovou stránku v předem
nastavené době (obdoba alarmu)
Přehled stránek*
*
funkce přístupná pouze v případě, že sledovaná stanice vysílá v režimu TOP-Text.
V nabídce Přehled stránek jsou stránky bloků a skupin hlavního textu seřazeny do
dvou sloupců, aby si zákazník mohl snadno vybrat svou stránku. Pro každou stránku
bloku v prvním sloupci jsou ve druhém sloupci uvedeny odpovídající stránky skupin.
1.
V režimu teletextu stiskněte na dálkovém ovladači tlačítko MENU a zobrazí se
vám MENU teletextu.
2.
Stiskněte
v
nebo
V
abyste vybrali funkci Odkrýt a poté svou volbu potvrd
’
te
stisknutím tlačítka
B
Skrytá informace se zobrazí.
1.
V režimu Teletextu na dálkovém ovladači stiskněte tlačítko MENU a zobrazí se
Vám MENU teletextu.
2.
Stiskněte
v
nebo
V
, zvolte
“
Skrytí textu
”
a potvrd
’
te stisknutím
B
. Objeví se
nabídka funkcí Časovací stránky.
3.
Zadejte na dálkovém ovladači číslo požadované stránky.
4.
Zadejte na dálkovém ovladači požadovaný čas zobrazení stránky.
5.
Svou volbu potvrd
’
te stisknutím tlačítka OK. Televizor se přepne z režimu
teletextu do režimu normálního obrazua v levém horním rohu obrazovky se
zobrazí časový údaj. Požadovaná stránka se zobrazí přesně v předem nastavené
době.
1.
Na dálkovém ovladači stisknutím
b
nebo
B
zvolte první, nebo druhý sloupec.
2.
Stisknutím
v
nebo
V
zvolte požadovanou
“
skupinu
”
, či
“
blok
”
stránek.
3.
Stisknutím tlačítka OK zobrazíte požadovanou stránku.
12
Obsluha
Tento televizor obsahuje systém nabídek, který tvoří soustava snadno použitelných oken a nabídek na obrazovce. Tato okna
vám pomohou dosáhnout maximálního výkonu tohoto televizoru. Jejich pomocí můžete změnit nastavení obrazu a zvuku,
upravit rozměry televizního obrazu, změnit uspořádání televizních kanálů atd.
Nastavení obrazu a zvuku
Obraz a zvuk jsou předem nastaveny ve výrobě. Jejich nastavení však můžete upravit, aby vyhovovalo vašim vlastním
představám.
Použití systému nabídek televizoru
Kontrast
Jas
Barevná sytost
Ostrost
Reset
Umělá inteligence
Redukce šumu
Digitálni Režim
Barevný Tón
Zap
Zap
DRC 100
Normal
Režim obrazu
Přenos
Osobní
Film
Hry
Umìlá inteligence
Zap
Vyp
Redukce šumu
Digitálni Režim
Normal
DRC 50
DRC 100
Kontrast
Výbér: Zadat:
Barevný Tón
Teplý
Normal
Stud.
1. Stisknutím tlačítka MENU na dálkovém ovladači zobrazte nabídku na obrazovce
televizoru.
2. Stisknutím tlačítka
v
nebo
V
zvolte
pro nastavení obrazu nebo
pro
nastavení zvuku. Potom stisknutím
B
přejděte bu9to do nabídky Nastavení
obrazu nebo Nastavení zvuku .
3. Stisknutím tlačítka
v
nebo
V
zvolte na obrazovce parametr, jehož nastavení
chcete upravit a potom stiskněte
B
pro potvrzení. Popis jednotlivých položek
nabídky a jejich funkcí najdete v níže uvedené tabulce.
4. Stisknutím tlačítka
v
,
V
,
B
nebo
b
nastavte zvolený parametr.
5. Po nastavení parametru uložte nové nastavení stisknutím tlačítka OK.
6. Pokud chcete nastavit některý z dalších parametrů, zopakujte kroky 3 - 5.
7. Stisknutím tlačítka MENU odstraňte nabídku z televizní obrazovky.
Ovládání obrazu
Položka
Účinek/ovládání
Režim obrazu
V
Live
(pro živá vysílání)
Personal (pro individuální nastavení)
Movie (pro vysílání filmů)
v
Game (pro pocítacové hry)
Kontrast
nižší
b
B
vyšší
Jas*
tmavší
b
B
jasnější
Barevná sytost*
nižší
b
B
vyšší
Odstín**
načervenalý
b
B
nazelenalý
Ostrost*
mdlejší
b
B
ostřejší
*
Jen v případě, že je položka Režim obrazu nastavena na Personal
**
Pouze u systému NTSC.
Reset
Obnoví původní nastavení obrazu z výroby
Umělá inteligence
V
Vyp : Normální
v
Zap : Automatická optimalizace úrovně kontrastu
podle televizního signálu.
Redukce šumu
V
Vysoká: Vysoká úroveň redukce šumu.
Střední:
Střední úroveň redukce šumu.
Nízká:
Nízká úroveň redukce šumu.
Auto:
Automaticky zvolená úroveň redukce
šumu.
v
Vyp:
Redukce šumu vypnuta.
Digitální Režim
V
Normal:
Základní 100 Hz kvalita obrazu.
DRC 50: Zdokonalená rozlišovací schopnost.
v
DRC 100: Optimální rozlišovací schopnost bez
blikání obrazu.
Barevný tón
V
Teplý:
Dodá obrazu teplý barevný nádech.
Normal:
Normální
v
Stud.:
Dodá obrazu studený nádech obrazu
13
Ovládání zvuku
Položka
Účinek/ovládání
Režim ekvalizéru
V
Personal
Vocal
Jazz
Rock
Pop
v
Flat (pevné nastavení, které nelze upravovat)
Nastavení ekvalizéru
Zvolený režim v Režimu ekvalizéru můžete upravit
potlačením nebo zesílením 5 zvolených kmitočtových
pásem. Stisknutím
b
nebo
B
zvolte kmitočtové pásmo a
potom stisknutím
V
nebo
v
nastavte daný kmitočet.
Nakonec stisknutím tlačítka OK nové nastavení uložte.
Jestliže chcete uložit nové nastavení, musíte nastavit Režim ekvalizéru na
Personal . V režimu Personal se nastavení uloží trvale, zatímco ve všech
ostatních režimech (Vocal, Jazz, Rock, Pop) se uloží pouze do příští změny
režimu.
Vyr
ážení
b
Doleva
B
Doprava
Fyziologie
V
Vyp: Normální úroveň hlasitosti.
v
Zap: Úroveň hlasitosti pro hudební
představení.
Prostor
V
Vyp: Normální nastavení.
v
Zap: Speciální akustické efekty.
Auto nast. hlas.
V
Zap : úroveň hlasitosti kanálů zůstane stejná,
nezávisle na vysílaném signálu (např. v případě
reklam)
v
Vyp : úroveň hlasitosti se bude měnit v závislosti na
vysílaném signálu.
Dvojí zvuk
Pro dvojjazyčné vysílání:
V
A pro kanál 1
v
B pro kanál 2
Pro stereo vysílání:
V
Mono
v
Stereo
Při vysílání NICAM stereo se na obrazovce krátce objeví indikace NICAM.
Sluchátka
i
Hlasitost
nižší
b
B
vyšší
i
Dvojí zvuk
Funkce přístupná pouze v režimu Obraz a Obraz:
V
Stereo: Zvuk jednoho obrazu vychází z
obou
reproduktorù televizoru I ze sluchátek.
v
Obraz a Obraz: Zvuk z obrazu v levé části
obrazovky vychází z reproduktorů
televizoru, zatímco zvuk z obrazu v pravé
části obrazovky vychází ze sluchátek.
Více informací o režimu Obraz a obraz naleznete v části
„
Obsluha režimu Obraz
a Obraz
”.
Použití systému nabídek televizoru:
Mono
Zap
Vyp
Mono
Vyp
0
NICAM
NICAM
14
Použití systému nabídek televizoru:
Použití nabídky Spec. funkce
1. Stisknutím tlačítka MENU na dálkovém ovladači zobrazte nabídku na obrazovce televizoru.
2. Stisknutím tlačítka
v
nebo
V
zvolte
pro nabídku Spec. funkce a potom do této nabídky
přejděte stisknutím
B
.
3. Stisknutím tlačítka
v
nebo
V
zvolte požadovanou položku nabídky a potom pro potvrzení stiskněte
B
. Popis jednotlivých položek nabídky a jejich funkcí najdete v níže uvedené tabulce.
4. Stisknutím tlačítka
v
,
V
,
B
nebo
b
zvolte požadované nastavení.
5. Stisknutím tlačítka OK svou volbu nastavení potvr9te.
6. Pokud chcete vybrat některou z ostatních položek, opakujte kroky 3 - 5.
7. Stisknutím tlačítka MENU odstraňte nabídku z televizní obrazovky.
Položka
Účinek/ovládání
Čas do vypnutí
Můžete zvolit čas, po jehož uplynutí se televizor přepne do
úsporného
režimu.
V
Vyp
.
v
90 min
Rodičovský zámek
V
Vyp :
Normal
v
Zap :
Stisknutím tlačítek na dálkovém ovladači můžete
televizor přepnout z úsporného režimu. Tlačítka
na televizoru nefungují.
Výstup AV2
V
Televizní zvukový/obrazový signál z antény
Zvukový/obrazový signál AV1 ze SCART 1
Zvukový/obrazový signál AV2 ze SCART 2
Zvukový/obrazový signál AV3 ze SCART 3
v
Zvukový/obrazový signál AV4 z konektorů na přední straně
televizoru
Spec. funkce
Čas do vypnutí
Rodičorský zámek
Výstrup AV2
Výběr:
Zadat:
Vyp
Vyp
TV
Rodičorský zámek
Vyp
Zap
10 Min
Čas do vypnutí
Výstrup AV2
TV
AV1
AV2
AV3
AV4
15
Pou¾ití systému nabídek televizoru:
Použití režimu Multi PIP (vícenásobný obraz v obraze)
Režim Multi PIP (obraz v obraze) zobrazuje posloupnost dvanácti statických obrazů a třináctý obraz, který je živý.
Můžete manuálně zvolit, který kanál chcete sledovat, bu9to na celé obrazovce nebo v režimu PIP.
Ovládání funkce PAP (obraz a obraz)
Tato funkce PAP rozdělí obrazovku na dvě části, abyste mohli současně sledovat dva kanály (pokud budete chtít, v jedné
může být přehráváno video). Zvuk pro levou obrazovku vychází z reproduktorů televizoru a zvuk pro pravou obrazovku
lze navolit do sluchátek.
Zapnutí a vypnutí funkce PAP
Jedním stisknutím
zobrazíte dvě obrazovky a druhým stisknutím funkci PAP vypnete.
Výběr zdroje signálu pro PAP
Stiskněte
M
. Na pravé obrazovce se objeví symbol
M
. Zvolte požadovaný zdroj signálu pomocí
očíslovaných tlačítek (pro televizní kanál) nebo
(pro zdroj video signálu).
Záměna obrazovek
Stisknutím
tyto dvě obrazovky navzájem zaměníte.
Zvětšení obrazovek
Stisknutím tlačítka
b
nebo
B
můžete změnit velikost těchto dvou obrazovek.
03
05
01
06
11
09
08
02
10
07
13
12
04
1. Stisknutím tlačítka
na dálkovém ovladači zvolte režim Multi PIP. Na obrazovce
se objeví 13 programů, přičemž aktuální kanál bude uprostřed.
2. Opakovaným stisknutím tlačítek PROGR+/- můžete zvolit 12 následujících nebo
předchozích programů.
3. Stisknutím tlačítka
v
,
V
,
b
nebo
B
se můžete pohybovat mezi 13 zobrazenými kanály.
4. Stisknutím tlačítka OK můžete zvolit kanál, který je právě v rámečku. Tento kanál
se nyní přemístí doprostřed.
5. Opětovným stisknutím tlačítka OK můžete zobrazit zvolený kanál, nebo můžete
stisknutím
ukončit režim Multi PIP na obrazovce televizoru.
16
Použití systému nabídek televizoru:
Změna uspořádání televizních kanálů
Po vyladění televizoru můžete pomocí této funkce změnit pořadí jeho kanálů.
1. Stisknutím tlačítka MENU na dálkovém ovladači zobrazte nabídku na obrazovce televizoru.
2. Stisknutím tlačítka
V
zvolte na obrazovce s nabídkou symbol
a potom stisknutím
B
přejděte
do nabídky Nastavení.
3. Stisknutím tlačítka
V
zvolte Třídění programů a potom stisknutím
B
přejděte do nabídky
Třídění programů.
4. Stisknutím tlačítka
v
nebo
V
zvolte kanál, který chcete přemístit a potom pro potvrzení
stiskněte
B
.
5. Stisknutím tlačítka
v
nebo
V
zvolte novou pozici programu (např. PROG 4) pro zvolený kanál a
potom pro potvrzení stiskněte tlačítko OK. Zvolený kanál se nyní přesune na svou novou pozici
programu a ostatní kanály se podle toho také přemístí.
6. Pokud chcete setřídit další kanály, opakujte kroky 4 a 5.
7. Stisknutím tlačítka MENU odstraňte nabídku z televizní obrazovky.
- - - - -
Manuální vyladění televizoru
Televizor jste již automaticky vyladili podle pokynů na začátku této příručky. Tuto operaci však můžete provést
manuálně a přidávat kanály do televizoru jednotlivě.
1. Stisknutím tlačítka MENU na dálkovém ovladači zobrazte nabídku na obrazovce televizoru.
2. Stisknutím tlačítka
V
zvolte na obrazovce s nabídkou symbol
a potom stisknutím
B
přejděte
do nabídky Nastavení.
3. Stisknutím tlačítka
V
zvolte na obrazovce s nabídkou Manuální nastavení a potom stisknutím
B
přejděte do nabídky Manuální nastavení.
4. Stisknutím tlačítka
V
zvolte na obrazovce s nabídkou Ruční ladění a potom stisknutím
B
přejděte do nabídky Ruční ladění.
5. Stisknutím tlačítka
v
nebo
V
zvolte pro daný kanál číslo programu (např. PROGR 1 pro BBC1) a
potom stisknutím
B
zvýrazněte sloupec SKOČ.
6. Stisknutím
v
zvolte Vyp a potom stisknutím
B
zvýrazněte sloupec SYS.
7. Stisknutím tlačítka
v
nebo
V
zvolte systém televizního vysílání (B/G pro západoevropské země
nebo D/K pro východoevropské země) nebo EXT pro zdroj vstupního video signálu (AV1,
AV2,...) a potom stiskněte
B
pro potvrzení.
8. Stisknutím tlačítka
v
nebo
V
zvolte C pro pozemní kanály, S pro kabelové kanály nebo F pro
přímé frekvenční vstupy a potom stiskněte
B
pro potvrzení.
9. Pomocí očíslovaných tlačítek na dálkovém ovladači zvolte nejprve první a potom druhou číslici
čísla K. (kanál) nebo Stisknutím tlačítka
v
nebo
V
vyhledejte další dostupný kanál.
10. Pokud nechcete uložit na zvoleném čísle programu tento kanál, pokračujte stisknutím tlačítka
v
nebo
V
ve vyhledávání požadovaného kanálu.
11. Jestliže je to kanál, který chcete uložit, stiskněte tlačítko OK.
12. Pokud chcete uložit další kanály, opakujte kroky 5 - 11 a potom stisknutím tlačítka MENU
odstraňte tuto nabídku z obrazovky televizoru.
PROG
SYS
Vyp
SKOČ
NÁZEV
1
B/G
Manuální nastavení
Výběr:
Zadat:
Jazyk/Země
Ruční ladění
Rozšířené předvolby
RGB Nastavení
Pootočení obrazu
Osobní ID číslo
Ukázka
Nastavení
Automatické ladění
Třidění programů
Vyber Next View
AV předvolby
Manuální nastavení
Výběr:
Zadat:
Ruční ladění
Výběr:
Zadat:
PROG
K.
SYS
SKOČ
NÁZEV
C09
C10
ARD
BBC
B/G
B/G
Vyp
Vyp
Vyp
Vyp
Vyp
Vyp
Vyp
Vyp
Vyp
Vyp
Vyp
1
2
3
4
5
6
7
8
9
10
11
PROG
K.
SYS
Vyp
SKOČ
NÁZEV
1
B/G
D/K
IRL
EXT
K.
C
S
F
PROG
SYS
Vyp
SKOČ
NÁZEV
1
B/G
K.
03
NAJDI
PROG
K.
SYS
Vyp
SKOČ
NÁZEV
0
EXT
AV1
AV2
AV3
AV4
AV1
O
- - - - - - -
- - - - -
17
Použití systému nabídek televizoru:
Pojmenování kanálu
Jména kanálů se obvykle přebírají automaticky z teletextu, pokud jsou k dispozici. Kanál nebo zdroj vstupního
video signálu však můžete pojmenovat s použitím až pěti znaků (písmen nebo čísel).
Přeskočení pozic programů
Tato funkce vám umožňuje přeskočit nevyužité pozice programů při jejich výběru pomocí tlačítek PROGR+/-.
Pomocí tlačítek s čísly však přesto můžete tyto vynechané pozice programů zvolit.
1. Stisknutím tlačítka MENU na dálkovém ovladači zobrazte nabídku na obrazovce
televizoru.
2. Stisknutím tlačítka
V
zvolte na obrazovce s nabídkou symbol
a potom stisknutím
B
přejděte do nabídky Nastavení.
3. Stisknutím tlačítka
V
zvolte Manuální nastavení a potom stisknutím
B
přejděte do
nabídky Manuální nastavení.
4. Stisknutím tlačítka
V
zvolte Ruční ladění a potom stisknutím
B
přejděte do nabídky
Ruční ladění.
5. Stisknutím tlačítka
v
nebo
V
zvolte kanál, který chcete pojmenovat.
6. Opakovaně mačkejte tlačítko
B
dokud nebude zvýrazněn první element sloupce
NÁZEV.
7. Stisknutím tlačítka
v
nebo
V
zvolte písmeno nebo číslici (pro mezeru zvolte - ) a
potom stiskněte
B
pro potvrzení. Další čtyři znaky vyberte stejným způsobem.
8. Po výběru všech znaků stiskněte tlačítko OK.
9. Pokud chcete pojmenovat další kanály, opakujte kroky 5 až 8.
10. Stisknutím tlačítka MENU odstraňte nabídku z televizní obrazovky.
1. Stisknutím tlačítka MENU na dálkovém ovladači zobrazte nabídku na obrazovce
televizoru.
2. Stisknutím tlačítka
V
zvolte na obrazovce s nabídkou symbol
a potom stisknutím
B
přejděte do nabídky Nastavení.
3. Stisknutím tlačítka
V
zvolte Manuální nastavení a potom stisknutím
B
přejděte do
nabídky Manuální nastavení.
4. Stisknutím tlačítka
V
zvolte Ruční ladění a potom stisknutím
B
přejděte do
nabídky Ruční ladění.
5. Stisknutím tlačítka
v
nebo
V
zvolte pozici programu a potom stisknutím
B
zvýrazněte sloupec SKOČ.
6. Stisknutím tlačítka
v
nebo
V
zvolte Vyp nebo Zap (pokud chcete tuto pozici
programu přeskočit) a potom pro uložení stiskněte tlačítko OK.
7. Pokud chcete přeskočit nebo naopak nepřeskočit další pozice programů, opakujte
kroky 5 a 6.
8. Stisknutím tlačítka MENU odstraňte nabídku z televizní obrazovky.
Ruční ladění
Výběr:
Zadat:
PROG
K.
SYS
SKOČ
NÁZEV
PROG
K.
SYS
SKOČ
NÁZEV
53
B/G
F189
- - -
Vyp
Zap
C09
C10
ARD
BBC
B/G
B/G
Vyp
Vyp
Vyp
Vyp
Vyp
Vyp
Vyp
Vyp
Vyp
Vyp
Vyp
51
52
53
54
55
56
57
58
59
60
61
Manuální nastavení
Výběr:
Zadat:
Jazyk/Země
Ruční ladění
Rozšířené předvolby
RGB Nastavení
Pootočení obrazu
Osobní ID číslo
Ukázka
O
- - - - - - -
Ruční ladění
Výběr:
Zadat:
PROG
K.
SYS
SKOČ
NÁZEV
C09
C10
ARD
BBC
B/G
B/G
Vyp
Vyp
Vyp
Vyp
Vyp
Vyp
Vyp
Vyp
Vyp
Vyp
Vyp
1
2
3
4
5
6
7
8
9
10
11
PROG
K.
SYS
Vyp
SKOČ
NÁZE
6
B/G C07
T E
Manuální nastavení
Výběr:
Zadat:
Jazyk/Země
Ruční ladění
Rozšířené předvolby
RGB Nastavení
Pootočení obrazu
Osobní ID číslo
Ukázka
O
- - - - - - -
18
Použití systému nabídek televizoru:
Použití funkce Rozšířené předvolby
Pomocí této funkce muzete a) nastavit zeslabení jednotlivých kanálu, b) individuálne nastavit hlasitost jednotlivých
kanálu, c) manuálne jemne doladit televizor, abyste dosáhli lepšího príjmu obrazu, pokud je obraz pokroucený, nebo d)
predvolit výstup AV pro programové pozice kanálu s pomíchanými signály (napr. z placeného televizního dekodéru).
Pripojený videorekordér takto nahraje nepomíchaný signál.
Manuální nastavení
Výběr:
Zadat:
Jazyk/Země
Ruční ladění
Rozšířené předvolby
RGB Nastavení
Pootočení obrazu
Osobní ID číslo
Ukázka
Rozšířené předvolby
Výběr:
Zadat:
PROG
AFT
HLAS
DEKODÉR
Zap
Zap
Zap
Vyp
Vyp
Vyp
0
0
0
1
2
3
4
5
6
7
8
9
10
11
PROG
AFT
HLAS
ZESL
DEKODÉR
1
Vyp
Zap
PROG
AFT
HLAS
DEKODÉR
1
0
PROG
AFT
HLAS
DEKODÉR
1
-5
PROG
AFT
HLAS
DEKODÉR
1
-5
On
Zap
Vyp
AV1
AV2
ZESL
Vyp
Vyp
Vyp
Vyp
Vyp
Vyp
Vyp
Vyp
Vyp
Vyp
Vyp
Vyp
Vyp
Vyp
Vyp
Vyp
Vyp
Vyp
Vyp
Zap
Zap
Zap
Zap
Zap
Zap
Zap
Zap
0
0
0
0
0
0
0
0
O
- - - - - - -
ZESL
ZESL
Vyp
Vyp
ZESL
Vyp
1. Stisknutím tlačítka MENU na dálkovém ovladači zobrazte nabídku na obrazovce televizoru.
2. Stisknutím tlačítka
V
zvolte na obrazovce s nabídkou symbol
a potom stisknutím
B
přejděte do nabídky Nastavení.
3. Stisknutím tlačítka
V
zvolte Manuální nastavení a potom stisknutím
B
přejděte do nabídky
Manuální nastavení.
4. Stisknutím tlačítka
V
zvolte Rozšířené předvolby a potom stisknutím
B
přejděte do nabídky
Rozšířené předvolby.
5. Stisknutím tlačítka
v
nebo
V
zvolte příslušné číslo programu a potom opakovaným
stisknutím tlačítka
B
zvolte a) ZESL b) HLAS c) AFT nebo d) DEKODÉR. Vybraná
položka změní svou barvu.
6. a)ZESL - VF zeslabovač
Stisknutím tlačítka
v
nebo
V
zeslabovač zapnete nebo vypnete. Volbu potvrSte stisknutím
tlačítka OK. Pokud chcete nastavit zeslabení dalších kanálů, opakujte kroky 5 a 6a.
b)HLAS - Kompenzace hlasitosti
Stisknutím tlačítka
v
nebo
V
nastavte úroveň hlasitosti (rozsah -7 až +7) daného kanálu. Pro
uložení stiskněte tlačítko OK. Pokud chcete nastavit úroveň hlasitosti dalších kanálů,
opakujte kroky 5 a 6b.
c) AFT - Automatické jemné doladění
Stisknutím tlačítka
v
nebo
V
můžete kmitočet daného kanálu jemně doladit v rozsahu -15 až
+15. Pro potvrzení stiskněte tlačítko OK. Pokud chcete jemně doladit další kanály, opakujte
kroky 5 a 6c.
d)DEKODÉR
Stisknutím tlačítka
v
nebo
V
zvolte AV1 nebo AV2 pro danou pozici programu a potom pro
potvrzení stiskněte tlačítko OK. Nyní můžete do zásuvky AV1 nebo AV2 na zadní straně
televizoru připojit dekodér. Obraz z tohoto dekodéru se objeví na tomto čísle programu.
Pokud chcete předvolit výstup AV pro další pozice programů, opakujte kroky 5 a 6d.
Výběr funkce Ukázka
Tato funkce poskytuje přehled některých funkcí, které jsou u tohoto televizoru k dispozici.
1. Stisknutím tlačítka MENU na dálkovém ovladači zobrazte nabídku na obrazovce
televizoru.
2. Stisknutím tlačítka
V
zvolte na obrazovce s nabídkou symbol
a potom stisknutím
B
přejděte do nabídky Nastavení.
3. Stisknutím tlačítka
V
zvolte Manuální nastavení a potom stisknutím
B
přejděte do
nabídky Manuální nastavení.
4. Stisknutím tlačítka
V
zvolte položku Ukázka a potom stisknutím
B
spust'te
předvedení ukázky (které trvá přibližně 5 minut).
5. Stisknutím tlačítka
odstraňte ukázku z obrazovky televizoru.
Manuální nastavení
Výběr:
Zadat: OK
Jazyk/Země
Ruční ladění
Rozšířené předvolby
RGB Nastavení
Pootočení obrazu
Osobní ID číslo
Ukázka
O
- - - - - - -
Start
- - - - -
19
Použití systému nabídek televizoru:
Nastavení geometrie obrazu pro zdroj signálu RGB
Při připojení zdroje signálu RGB, jako je např. Sony playstation, budete možná muset upravit nastavení
geometrie obrazu.
RGB Nastavení
Nast. velikost:
Potvrzeni: OK
H střed
O
H velikost
O
RGB Nastavení
Nast. polohu:
Potvrzeni: OK
H střed
O
H velikost
O
1. Stisknutím tlačítka
na dálkovém ovladači zvolte připojený zdroj signálu RGB
.
2. Stisknutím tlačítka MENU zobrazte nabídku na obrazovce televizoru.
3. Stisknutím tlačítka
V
zvolte na obrazovce s nabídkou symbol
a potom stisknutím
B
přejděte do nabídky Nastavení.
4. Stisknutím tlačítka
V
zvolte na obrazovce s nabídkou Manuální nastavení a potom
stisknutím
B
přejděte do nabídky Manuální nastavení.
5. Stisknutím tlačítka
V
zvolte na obrazovce s nabídkou RGB Nastavení a potom
stisknutím
B
přejděte do dílčí nabídky RGB Nastavení.
6. Stisknutím
B
zvolte H Centre a potom stisknutím
v
nebo
V
nastavte střed obrazu v
rozsahu -10 až +10. Nový rozsah uložte stisknutím tlačítka OK.
7. Stisknutím
B
zvolte H Size a potom stisknutím
v
nebo
V
nastavte horizontální
souřadnice v rozsahu -10 až +10. Nový rozsah uložte stisknutím tlačítka OK.
8. Stisknutím tlačítka MENU odstraňte nabídku z televizní obrazovky.
1
Nastavení natočení obrazu
Zemský magnetismus může způsobovat naklonění obrazu. V takovém případě můžete upravit nastavení obrazu.
1. Stisknutím tlačítka MENU na dálkovém ovladači zobrazte nabídku na obrazovce
televizoru.
2. Stisknutím tlačítka
V
zvolte na obrazovce s nabídkou symbol
a potom stisknutím
B
přejděte do nabídky Nastavení.
3. Stisknutím tlačítka
V
zvolte Manuální nastavení a potom stisknutím
B
přejděte do
nabídky Manuální nastavení.
4. Stisknutím tlačítka
V
zvolte Pootočení obrazu a potom stisknutím
B
přejděte do
dílčí nabídky Pootočení obrazu.
5. Stisknutím tlačítka
v
nebo
V
pootočte obraz v rozmezí -5 až +5 a potom pro uložení
stiskněte tlačítko OK.
6. Stisknutím tlačítka MENU odstraňte nabídku z televizní obrazovky.
Manuální nastavení
Pootočení:
Potvrzení-: OK
Jazyk/Země
Ruční ladění
Rozšířené předvolby
RGB Nastavení
Pootočení obrazu
Osobní ID číslo
Ukázka
O
- - - - -
- - - - -
- - - - -
20
Použití systému nabídek televizoru:
Zadání osobního ID čísla
Pomocí této funkce můžete televizoru přiřadit bezpečnostní kód, který umožní vaše vyhledání, pokud bude televizor
ukraden a získán nazpátek. Tento bezpečnostní kód lze však zadat pouze jednou - poznamenejte si ho prosím
1. Stisknutím tlačítka MENU na dálkovém ovladači zobrazte nabídku na obrazovce
televizoru.
2. Stisknutím tlačítka
V
zvolte na obrazovce s nabídkou symbol
a potom
stisknutím
B
přejděte do nabídky Nastavení.
3. Stisknutím tlačítka
V
zvolte na obrazovce s nabídkou Manuální nastavení a potom
stisknutím
B
přejděte do nabídky Manuální nastavení.
4. Stisknutím tlačítka
V
zvolte na obrazovce s nabídkou Osobní ID číslo a potom
stisknutím
B
přejděte do dílčí nabídky Osobní ID číslo.
5. Stisknutím tlačítka
v
nebo
V
zvolte první z celkem 11 znaků (písmeno, číslo + nebo
mezera) a potom stisknutím
B
přejděte na další znak.
6. Opakováním kroku 5 zadejte všechny znaky kódu.
7. Pro uložení stiskněte tlačítko OK. Na obrazovce se objeví stavové okénko se
žádostí, abyste znovu zadali svůj kód.
8. Dalším stisknutím tlačítka OK kód definitivně uložte, nebo jej zrušte stisknutím
b
.
9. Stisknutím tlačítka MENU odstraňte nabídku z televizní obrazovky.
Předvolení a pojmenování vstupních signálů
Pomocí této funkce můžete automaticky formátovat a označovat zdroje vstupních signálů.
1. Stisknutím tlačítka MENU na dálkovém ovladači zobrazte nabídku na obrazovce
televizoru.
2. Stisknutím tlačítka
V
zvolte na obrazovce s nabídkou symbol
a potom stisknutím
B
přejděte do nabídky Nastavení.
3. Stisknutím tlačítka
V
zvolte na obrazovce s nabídkou AV předvolby a potom
stisknutím
B
přejděte do nabídky AV předvolby.
4. Stisknutím tlačítka
v
nebo
V
zvolte požadovaný vstup AV (AV1, 2, 3 nebo 4).
5. Stisknutím tlačítka
B
zvolte POPIS.
6. Stisknutím tlačítka
v
nebo
V
zvolte první znak názvu a potom se stisknutím tlačítka
B
přesuňte na další znak.
7. Opakováním kroku 7 zvolte další 4 znaky a potom pro uložení stiskněte tlačítko OK.
8. Opakujte kroky 4 - 8 pro ostatní zdroje vstupního signálu AV a potom stisknutím
tlačítka MENU odstraňte tuto nabídku z obrazovky televizoru.
Manuální nastavení
Vyber A-Z, 0-9:
Ulož: OK
Jazyk/Země
Ruční ladění
Rozšířené předvolby
RGB Nastavení
Pootočení obrazu
Osobní ID číslo
Ukázka
-
- - - - - -
AV 1
AV 2
AV 3
AV 4
AV 1
AV 2
AV 3
AV 4
VSTUP
POPIS
VSTUP
POPIS
AV 1
AV 2
AV 3
AV 4
AV 1
AV 2
AV 3
AV 4
AV předvolby
Výběr :
Zadat:
AV předvolby
Výběr A-Z, 0-9 :
Potvrzeni: OK
21
Další zařízení
Podle níže uvedených ilustrací můžete k televizoru připojit širokou řadu zvukových a obrazových zařízení.
Připojení dalšího zařízení k televizoru
Abyste dostali vstupní signál z připojeného zařízení na obrazovku televizoru, musíte zvolit symbol konektoru, k němuž
jste zařízení připojili.
1. Podle výše uvedených ilustrací zapojte zařízení do příslušné zásuvky televizoru.
2. Opakovaně mačkejte tlačítko
na dálkovém ovladači, dokud se na obrazovce televizoru neobjeví správný
symbol vstupu pro vaše zařízení (viz níže uvedená tabulka):
* automatická detekce signálu podle připojeného zařízení
3. Zapněte připojené zařízení.Obraz z tohoto zařízení (pokud vysílá signál) se zobrazí na obrazovce.
4. Stisknutím
se vrátíte na běžnou televizní obrazovku.
Poznámka: Abyste zamezili pokroucení obrazu, nepřipojujte zařízení současně do zásuvky
F
a
G
.
Pøipojení sluchátek
Zapojte sluchátka do zdířky
E
na čelním ovládacím panelu televizoru.
Symbol na
obrazovce
televizoru
Vstupní signály z konektoru
Zvukový/obrazový vstupní signál přes konektor SCART
A
nebo* RGB přes konektor SCART
A
Zvukový/obrazový vstupní signál přes konektor SCART
B
nebo* S-video přes konektor SCART
B
Zvukový/obrazový vstupní signál přes konektor SCART
C
nebo* S-video přes konektor SCART
C
Vstupní signál S-video přes konektor
F
typu DIN se 4 kolíky nebo* obrazový vstupní signál přes
zdířku
G
a zvukový vstupní signál přes zdířky
H
1
2
3
4
B C
D
A
F
G
H
E
22
Doplòková zaøízení
*
Pokud je obraz nebo zvuk zkreslený, přemístěte videorekordér do větší vzdálenosti od televizoru.
*
Při připojování monofonního videorekordéru zapojte do televizoru i videorekordéru pouze bílý kolík.
*
Informace o tom, jak zvolit výstupní signál z konektoru SCART 2
/
, najdete na straně 14.
Další informace týkající se připojování zařízení
2
s
2
Smartlink je přímé propojení mezi televizorem a videorekordérem.
Pro Smartlink potřebujete:
*
Videorekordér, který podporuje Smartlink, NexTView Link, Easy Link nebo Megalogic.
*
Kabel s konektory SCART s 21 kolíky a plným počtem vodičů pro připojení videorekordéru ke konektoru
SCART 2
/
.
Smartlink má následující funkce:
*
Informace o vyladění, např. přehled kanálů, jsou přenášeny z televizoru do videorekordéru.
*
Pomocí NexTView můžete videorekordér snadno programovat.
*
Přímé nahrávání z televizoru : při sledování televizoru můžete daný pořad nahrát stisknutím jediného tlačítka na
videorekordéru.
Více informací o propojení Smartlink najdete v příručce ke svému videorekordéru.
Smartlink
2
s
2
Pomocí tlačítek umístěných pod krytem dálkového ovladače můžete ovládat další zařízení společnosti Sony.
1. Otevřete kryt dálkového ovladače.
2. Volič VTR 1234 DVD nastavte podle zařízení, které chcete ovládat:
VTR1 Videorekordér Beta
VTR2 Videorekordér 8mm
VTR3 Videorekordér VHS
VTR4 Digitální video (DCR-VX 1000/9000E,VHR-1000)
DVD Digitální video disk
3. K ovládání zařízení použijte tlačítka na dálkovém ovladači.
*
Pokud je zařízení vybaveno voličem příkazového režimu (COMMAND MODE), nastavte tento volič do stejné
polohy jako volič VTR 1234 DVD na dálkovém ovladači televizoru.
*
Jestliže zařízení není vybaveno některou funkcí, příslušné tlačítko na dálkovém ovladači nebude fungovat.
Dálkové ovládání dalších zařízení firmy Sony
23
Dal¹í informace
Technické údaje
Televizní systém
B/G/H, D/K
Barevný systém
PAL, SECAM
NTSC 3.58, 4.43 (pouze vstup video signálu)
Pokrytí kanálů
Viz Průvodce kanály na následující straně.
Obrazovka
FD Trinitron
Přibližně 72cm (29 palců), vychýlení 104˚
Konektory na zadní straně
/
Konektor Euro s 21 kolíky (standard CENELEC) včetně
zvukového/obrazového vstupu, vstupu RGB a zvukového/
obrazového televizního výstupu.
/
Konektor Euro s 21 kolíky (standard CENELEC) včetně
zvukového/obrazového vstupu, vstupu S-video a zvukového/
obrazového výstupu pro monitor.
/
Konektor Euro s 21 kolíky (standard CENELEC) včetně
zvukového/obrazového vstupu, vstupu S-video a zvukového/
obrazového výstupu pro monitor.
L/G/S/I
RCA konektory, variabilní výstup pro audio signály
R/D/D/D
Vstup vysokofrekvenčního signálu
Konektory na přední straně
Vstup obrazového signálu - zdířky
Vstupy zvukového signálu - zdířky
Vstup S video - DIN se 4 kolíky
Zdířka pro sluchátka - minizdířka, stereo
1
s
1
2
s
2
3
s
3
4
4
s
4
Výstup zvuku
Pravý/levý:
2x20W (
Hudební výkon
)
2x10W (RMS)
Sub woofer: 30W (
Hudební výkon
)
15W (RMS)
Příkon
158W
Rozměry (šxvxh)
Přibližně 765x635x570 mm
Hmotnost
Přibližně 59kg
Dodávané příslušenství
Dálkový ovladač RM-893 (1)
Baterie velikosti AA podle IEC (2)
Další vlastnosti
Plochá obrazovka Trinitron, redukce šumu, obraz se
snímkovým kmitočtem 100 Hz, PAP, PAT, M-PIP,
pamět
’
teletextu 2000 stran
, grafický ekvalizér, osobní
ID číslo, nastavení času do vypnutí, NexTView, Digital
Comb Filter. Druhý tuner
Konstrukce a technické parametry mohou být
změněny bez předchozího upozornění.
Tabulka zobrazení kanálů
Kanály,kterélze přijímat
Zobrazení kanálů
B/G/H
E2..12, 21..69
C02..C12, C21..69
KABEL. TEL. (1) S1..S41
S01..S41
KABEL. TEL. (2) S01..S05
S42..S46
M1..M10
S01..S10
U1..U10
S11.S20
ITALIA
A, B..H, H1, H2
C13..C20
D/K
R01..R12, R21..R69
C01..C12, C21..C69
S01..S05
S42..S46
24
Další informace
Zde je několik jednoduchých řešení problémů, které mohou postihnout obraz a zvuk.
• Pokud tyto problémy pøetrvávají, nechte si televizor opravit kvalifikovaným opraváøem.
• NIKDY neotvírejte skøíò televizoru sami.
Odstraňování chyb
Problém
Navrhované řešení
Žádný obraz (obrazovka je tmavá),
žádný zvuk.
Zapojte televizor do zásuvky.
Stiskněte tlačítko
na přední straně televizoru.
Jestliže svítí indikátor
, stiskněte tlačítko
nebo
některé z očíslovaných tlačítek na dálkovém ovladači.
Zkontrolujte připojení k anténě.
Pomocí tlačítka
na přední straně televizoru televizor
na 3 až 4 sekundy vypněte a potom znovu zapněte.
Špatný nebo žádný obraz (obra-
zovka je tmavá), ale dobrý zvuk.
V systému nabídek (MENU) zvolte okno Nastavení
obrazu. Nastavte jas, obraz a barevnou vyváženost.
V okně Nastavení obrazu zvolte RESET, abyste obnovili
původní výrobní nastavení.
Dobrý obraz, žádný zvuk.
Stiskněte tlačítko
na dálkovém ovladači.
Pokud je na obrazovce zobrazen symbol
, stiskněte
tlačítko
na dálkovém ovladači.
Žádné barvy v barevných progra-
mech.
V systému nabídek (MENU) zvolte okno Nastavení
obrazu a upravte nastavení barev.
V okně Nastavení obrazu zvolte RESET, abyste obnovili
původní výrobní nastavení.
Pokroucený obraz při přepnutí
programů nebo při výběru tele-
textu.
Vypněte veškerá zařízení připojená ke konektorům
SCART na zadní straně televizoru.
Dálkové ovládání nefunguje.
Vyměňte baterie.
Indikátor úsporného režimu
na
televizoru bliká.
Obrat'te se na nejbližší servisní středisko společnosti
Sony.
Rušení obrazu z externího zařízení.
Snižte úroveň ostrosti obrazu.
/
HU
Biztonsági előírások
Az ön biztonsága érdekében
Kizárólag 220-240 V-os hálózati váltakozó
feszültséggel üzemeltesse a készüléket. Ne
csatlakoztasson
túl
sok
készüléket
ugyanahhoz az aljzathoz, mert a túlterhelés
tüzet okozhat.
Energiatakarékossági és biztonsági okok
miatt ne hagyja a készüléket készenléti
üzemmódban, amikor nem használja.
Hosszabb távollét esetén húzza ki a hálózati
csatlakozó vezetéket a fali konnektorból.
Ne dugjon semmilyen tárgyat a készülékbe,
mert ezzel tüzet és áramütést okozhat. Ha a
szellőző nyílásokon keresztül bármilyen
szilárd test, vagy folyadék kerül a készülék
belsejébe, húzza ki a hálózati csatlakozó
vezetéket.
Azonnal
ellenőriztesse
szakemberrel!
Soha ne nyissa ki a készülék hátsó burkolatát.
A javítást bízza szakemberre.
Az áramütés és a tűz veszélyének elkerülése
érdekében óvja a TV készüléket esőtől és
nedvességtől.
Viharos időjárás, villámlás idején saját
biztonsága érdekében ne érintse meg a
készüléket, a hálózati csatlakozó vezetéket
és az antennakábelt.
A
készülék
szellőzőnyílásait
hagyja
szabadon. A megfelelő szellőzés érdekében a
készülék minden oldalánál hagyjon legalább
10 cm-es szabad területet.
Ne állítsa a készüléket szélsőségesen meleg,
párás vagy poros helyre, vagy olyan helyre,
ahol mechanikai vibrációnak lehet kitéve.
A tűz veszélyének elkerülése érdekében ne
tegyen a készülék közelébe gyúlékony
tárgyakat, ne gyújtson nyílt lángot (ne
égessen pl. gyertyát).
A képernyőt enyhén megnedvesített ruhával
tisztíthatja meg. Ne használjon a tisztításhoz
benzint, higítót, súrolószert. Tisztítás előtt
húzza
ki
a
hálózati
csatlakozót
a
konnektorból.
A hálózati csatlakozó kihúzásánál a
csatlakozó dugót fogja meg, és ne a
vezetéket.
Ne tegyen nehéz tárgyat a hálózati vezetékre,
mert megsérülhet.
Javasoljuk, hogy a felesleges vezetéket
csévélje fel a tv készülék hátulján lévo
tartóra.
A TV készüléket stabil állványra helyezze. Ne
engedje, hogy a gyerek felmásszon a TV-re.
Ne fordítsa a TV készüléket az oldalára, vagy
a képernyővel felfelé.
Mozgatás előtt húzza ki a hálózati
csatlakozót a konnektorból. A készüléket
óvatosan szállítsa, kerülje a zötykölődős
utcákat,
óvja
a
készüléket
ütéstől,
rázkódástól.
Ne takarja le a készülék szellőzőnyílásait pl.
függönnyel, újsággal, stb.
1
Biztonsági tudnivalók
Valamennyi televízió rendkívül magas feszültséggel működik. Tűz vagy áramütés megelőzése érdekében kérjük, tartsa
be a mellékelt kék színű lapon feltüntetett biztonsági rendszabályokat.
Ne
takarja le a szellőzőnyílásokat. A megfelelő szellőzés érdekében hagyjon a TV készülék körül legalább 10cm-es
szabad helyet.
Biztonsági tudnivalók
Tartalomjegyzék
Tartalomjegyzék
Üzembe helyezés
1.A mellékelt tartozékok ellenőrzése
2.Az elemek behelyezése a távvezérlőbe
3.A TV csatlakoztatása
4.A TV bekapcsolása
5.A joystick használata
6.A TV hangolása
7.A videocsatorna megkeresése
2
2
3
4
4
5
5
Használat
A TV beállítógombjainak áttekintése
A távvezérlő gombjainak áttekintése
NexTView
Teletext
A TV menürendszerének használata
A kép szabályozása
A hang szabályozása
A Szolgáltatások menü használata
A Multi PIP (kép a képben) funkció használata
A PAP (kép és kép) funkció használata
A programhelyek átrendezése
A TV manuális hangolása
Az állomások elnevezése
Programhelyek átugrása
A "További programok tárolása" szolgáltatás használata
A "Bemutató" jellemző kiválasztása
A kép elforgatásának beállítása
A kép alakjának beállítása RGB forrás esetén
A személyi azonosító kód bevitele
Bemenő jelek tárolása és elnevezése
6
7
8
10
12
12
13
14
15
15
16
16
17
17
18
18
19
19
20
20
Külső berendezések
Külső berendezések csatlakoztatása a TV-hez
Berendezések csatlakoztatására vonatkozó további információk
Smartlink
Más Sony berendezések távvezérlése
21
22
22
22
További információk
Specifikációk
Csatornákijelzések táblázata
Hibakeresés
23
23
24
2
Kövesse az 1-7. lépéseket a TV-készülék üzembe helyezéséhez és a TV-programok megtekintéséhez. Üzembe helyezés
1. A mellékelt tartozékok ellenőrzése
2. Az elemek behelyezése a távvezérlőbe
Elemek
Az elemek behelyezésénél mindig ügyeljen a megfelelő polaritásra.
Mindig ügyeljen arra, hogy a használt elemek hulladékba helyezéséről környezetbarát módon gondoskodjon.
Távvezérlő
3
Üzembe helyezés
3. A TV csatlakoztatása
1. Csatlakoztassa a meglévő antennakábelt az ábrának megfelelően a videomagnóhoz.
2. Csatlakoztassa a videomagnó antennakábelét a videomagnó hátlapján lévő RF OUT
aljzatba és a TV hátlapján lévő antennaaljzatba az ábrának megfelelően.
3. Csatlakoztassa a videomagnót a hálózathoz, és kapcsolja be.
4. Helyezzen egy felvételt tartalmazó kazettát a videomagnóba, és nyomja meg a "PLAY"
gombot.
1. Csatlakoztassa a meglévő antennakábelt a TV készülék hátlapján lévő
aljzathoz.
Antenna csatlakoztatása a TV-készülékhez
Antenna és videomagnó csatlakoztatása a TV-készülékhez
Ha a TV készüléket nem
csatlakoztatja
videomagnóhoz,
csatlakoztassa az
antennakábelt (a bal
oldali ábrán látható
módon), és folytassa a "4.
A TV bekapcsolása"
címszóval.
Ha a TV-készüléket
videomagnóhoz
csatlakoztatja, az alábbi
szakasz szerint járjon el.
A scart kábel külön
beszerezheto
kiegészíto.
Amennyiben
azonban használja, ez
a további kapcsolat
javíthatja a kép és a
hang minőségét
lejátszás közben.
OUT
IN
AERIAL
ANTENNA
AC IN
(meglévő antennakábel)
(scart kábel - nem
tartozék)
4
Üzembe helyezés
1. Csatlakoztassa a TV hálózati csatlakozóját a hálózati aljzathoz (220-240V AC, 50Hz),
és kapcsolja be a készüléket.
2. Nyomja be a hálózati kapcsolót
a TV-készülék előlapján.
Ha a TV előlapján a készenléti üzemmód jelzőfénye világít, nyomja meg a TV
gombot a
távvezérlőn a TV-készülék bekapcsolásához. Legyen türelemmel, mivel néhány pillanatig
eltarthat, amíg a kép megjelenik a TV képernyőjén.
4. A TV bekapcsolása
5. A joystick használata
/
Egy-egy menü-beállítás
kiválasztásához nyomja meg
középen az OK gombot.
A menükben való mozgáshoz
nyomja meg a megfelelő
nyílgombot.
A joystick mozgatása
A joystick
megnyomása
5
1. A Nyelv/Ország menü jelenik meg a TV képernyőjén az "English" szó
kiemelésével.
2. A távvezérlőn lévő
v
vagy
V
gombbal jelölje ki a választott nyelvet,
majd az OK gombot megnyomva erősítse meg a választást. Az ország
menü jelenik meg a TV képernyőjén a "Ki" szó kiemelésével. Válassza
a "Ki" beállítást, ha nem szeretné, hogy a csatornák egy megadott
csatornasorrend szerint kerüljenek tárolásra az 1. programhelytől
kezdődően.
3. A
v
vagy
V
gombbal válassza ki az országot, ahol a TV-készüléket
használni fogja, majd az OK gombot megnyomva erősítse meg a
választást.
4. Az "automatikus hangolás" menü jelenik meg a TV képernyőjén a
kiválasztott nyelven. Az OK gomb megnyomásával hagyja jóvá az
automatikus hangolást.
5. Győződjön meg arról, hogy az antenna az utasításoknak megfelelően
csatlakoztatva van, majd az OK gomb megnyomásával erősítse ezt meg.
A készülék megkezdi az összes rendelkezésre álló csatorna automatikus
keresését és tárolását. Ez néhány percig is tarthat - legyen türelemmel,
és ne nyomjon meg semmilyen gombot.
6. Amikor a TV elvégezte az összes rendelkezésre álló csatorna
hangolását, a "Programhelyek átrendezése" menü jelenik meg a TV
képernyőjén, ami lehetővé teszi a programok sorrendjének
megváltoztatását a TV-készüléken. Ha meg szeretné változtatni a
programok sorrendjét, a
v
vagy
V
gombbal válassza ki az áthelyezni
kívánt programot, majd nyomja meg a
B
gombot. A
v
vagy
V
gombbal
válassza ki az új programhely számát a kiválasztott csatorna számára,
majd az OK gombot megnyomva erősítse meg az áthelyezést. Ezzel a
kiválasztott csatorna az új programhelyre kerül, és a többi csatorna
ennek megfelelően kap új helyet. Ismételje meg ezt a műveletet, ha
más csatornák sorrendjét is meg kívánja változtatni a TV-készüléken.
7. Nyomja meg a MENU gombot, hogy eltávolítsa a menüt a TV
képernyőjéről.
8. A PROGR+/- vagy a számgombok segítségével tekintheti meg a TV-
programokat.
Megjegyzés:Ha bármelyik szakaszban le szeretné állítani az automatikus
hangolási folyamatot, nyomja meg az OK gombot.
Ha a TV-készüléket videomagnóhoz csatlakoztatja, meg kell keresnie a videocsatornát.
1. Nyomogassa a távvezérlőn lévő PROGR+/- gombokat mindaddig, amíg a videokészülék képe meg nem jelenik a TV
képernyőjén.
Megjegyzés:Ha a videocsatornát egy másik programhelyre szeretné áthelyezni, lapozza fel a jelen kezelési útmutató "A
programhelyek átrendezése" c. szakaszát.
7. A videocsatorna megkeresése
Üzembe helyezés
Mielőtt elvégezné a TV hangolását, felszólítást kap a nyelv és az ország beállítására.
6. A TV hangolása
Language country
Select language:
Confirm:
Language
Country
Suomi
Svenska
Português
Polski
Norsk
Nederlands
Magyar
Great Britain
Lengyelország
Norvégia
Hollandia
Luxemburg
Olaszország
Irország
Magyarország
Seretné elindítani az
automatikus hangolást ?
Igen : OK Nem :
Kérem igazolja, hogy az
antenna catlakoztatva van
Igen : OK Nem :
1
2
3
4
5
6
7
8
9
0
6
Használat
A TV beállítógombjainak áttekintése
Hangerő-szabályozó gombok.
Nyomja meg, ha növelni(+)/
csökkenteni(-) kívánja a hangerőt.
Videobemenet gomb.
Megnyomásával kiválaszthatja a
videomagnóról stb. érkező bemenő jeleket.
Program fel (+) vagy le
(-) gombok.
Megnyomásával
kiválaszthatja a TV-
programokat.
Ha az előlapon lévő bemeneti csatlakozókhoz és tv
kezelőszervekhez kíván hozzáférni, nyomja felfelé
a vezérlőpanelt (lásd az ábrát).
A vezérlőpanel lenyílik.
Visszaállító gomb.
Ezzel
a
gombbal
a
kép-
és
hangjellemzőket visszaállíthatja a gyári
értékre. A képernyőn az "Autotune"
kijelzés után megjelenik a Sony logo.
Ha nem kívánja újra beállítani a tv
készüléket, nyomja meg a
b
gombot a
távvezérlőn.
7
Használat
A távvezérlő gombjainak áttekintése
A TV-készülék ideiglenes kikapcsolása
Megnyomásával ideiglenesen kikapcsolhatja a TV-
készüléket. Nyomja meg ismét ezt a gombot a készenléti
üzemmódból történő bekapcsoláshoz.
Energiatakarékossági okokból javasoljuk, hogy teljesen
kapcsolja ki a TV-készüléket, amikor nincs használatban.
MEGJEGYZÉS: 15-30 perc elteltével, amely alatt sem TV-
jel nem érkezik, sem pedig semmilyen gombot nem
nyomnak meg, a készülék automatikusan készenléti
üzemmódba kapcsol.
A képernyő információk mutatása
Megnyomásával az összes képernyőjelzés láthatóvá válik. A
funkció elvetéséhez nyomja meg ismét a gombot. A teletext
üzemmódban megnyomására megjelenik az indexoldal
(rendszerint a 100. oldal), ismételt megnyomására pedig
eltűnik.
A bemenő jel kiválasztása vagy a teletext rögzítése
Megnyomásával kiválaszthatja a TV csatlakozóira érkező
bemenő jeleket (lásd az Opcionális berendezések használata
c. szakaszt). Teletext üzemmódban nyomja meg ezt a
gombot a kijelzett oldal rögzítéséhez. A funkció elvetéséhez
nyomja meg ismét a gombot.
Részletes ismertetésért lapozza fel a jelen kezelési útmutató
"A PAP funkció használata" c. szakaszát.
Visszatérés az előző csatornához
Megnyomásával visszatérhet az előzőleg nézett csatornához.
Megjegyzés: Csak akkor működik, miután a jelenlegi
csatornát 5 másodpercig nézte.
Megnyomásával be- és kikapcsolhatja a Multi PIP
üzemmódot.
A képernyőformátum megváltoztatása
Megnyomásával módosíthatja a képernyő méretbeállításait.
Gyorsteletext gombok
A részleteket lásd a kézikönyv Teletext c. szakaszában.
Menüpontok kiválasztása
Az OK gombot és a nyílbillentyűket használva
kiválaszthatja a TV menürendszerében rendelkezésre álló
opciókat.
A menü megjelenítése
Nyomja meg ezt a gombot, ha használni kívánja a TV
menürendszerét. Nyomja meg ismét, hogy eltávolítsa a
menüt a TV képernyőjéről.
Csatornák kiválasztása
Megnyomásával kiválaszthatja a csatornákat.
A hang némítása
Megnyomásával elnémíthatja a TV hangját.
Ismételt megnyomásával visszaállíthatja a hangot.
TV üzemmódba való visszatérés
Megnyomásával visszatér normál üzemelésre
teletext vagy készenléti üzemmódból.
A teletext kiválasztása
Megnyomásával be- és kikapcsolhatja a teletextet.
Az
Elektronikus
musorfüzet
(EPG)
kiválasztása
Megnyomásával be- és kikapcsolhatja az EPG-t.
A kép kimerevítése
Nyomja meg, ha fel kíván jegyezni valamilyen, a
TV
képernyőjén
látható
információt
(pl.
telefonszámot).
Ismételt
megnyomásával
visszatérhet a normál TV üzemmódba.
A programhelyek kiválasztása
A számgombokat megnyomva válassza ki a
programhelyeket.
Kétjegyű programhelyek, pl. 23, esetén, először
nyomja meg a -/-- gombot, majd pedig a 2 és a 3
gombot.
A képbeállítás menü megjelenítése
Megnyomásával módosíthatja a képbeállításokat.
Az OK gomb megnyomásával távolíthatja el a
menükijelzést.
Az Audio beállítás menü megjelenítése
Megnyomásával módosíthatja a hangbeállításokat.
Az OK gomb megnyomásával távolíthatja el a
menükijelzést.
A Programtáblázat megjelenítése
Nyomja meg az OK gombot. A
v
vagy
V
gombbal
válassza ki a kívánt programot, majd a
B
gombot
megnyomva erősítse meg a választást.
A TV hangerejének beállítása
Megnyomásával beállíthatja a TV hangerejét.
A gyári beállítások visszaállítása
Nyissa fel a távvezérlő fedelét, és nyomja meg
ezt a gombot, ha a kép- és hangbeállításokat
vissza kívánja állítani a gyárilag beállított
értékekre. Miután az "Üzembe helyezés"
menü megjelent a TV képernyőjén, lapozza fel
a kezelési útmutató "A nyelv és az ország
kiválasztása" c. szakaszát, ha módosítani
kívánja a nyelv- és az országválasztást.
A pontos idő megjelenítése
Nyissa fel a távvezérlő fedelét, és nyomja meg ezt
a gombot, ha meg kívánja jeleníteni a pontos időt
a képen.
Videokészülék használata
Nyissa fel a távvezérlő fedelét, és nyomja meg ezeket
a gombokat, ha a videokészüléket kívánja használni
(lapozza fel a videomagnó kézikönyvét).
8
Használat
*a szolgáltatás rendelkezésre állásától függően.
A NexTView egy elektronikus műsorfüzet, amely az EPG-t támogató összes csatorna tekintetében legfeljebb 1 hét*
műsorinformációit tartalmazza.
*Ha az adatok meghaladják a NexTView memóriáját, 7 napnál kevesebbre vonatkozóan juthat információhoz.
NexTView*
A NexTView megjelenítése
Először ki kell választania egy olyan csatornát, amely NexTView szolgáltatást nyújt. Ilyen esetben megjelenik a
"NexTView" jelzés, amint az összes adat rendelkezésre áll.
1. A távvezérlőn lévő
gombot ismételten megnyomva kapcsolhatja be és ki a NexTView-t.
2. A
v
,
V
,
b
vagy
B
gombokkal mozgassa a kurzort a képen.
3. Az OK gombot megnyomva erősítse meg a választást.
a. Ha az OK gombot a dátum, időpont vagy ikon (témakörök) oszlopokon nyomja meg, megváltoztatja a programlistát a
választással összhangban.
b Ha az OK gombot a programlistán nyomja meg, közvetlenül megjelenik a csatorna, ha a műsor aktuálisan fut,
vagy megjelenik a "Long Info" menü, ha a műsor sugárzására valamely későbbi időpontban kerül sor.
Tárgymutató
teljes lista
egyéni választás
hírműsorok
filmek
sportközvetítések
szórakoztató műsorok
gyermekműsorok
visszatérés a legutóbbi menübe
7
Tue
07 Tue
12:38
8
Wed
10
Fri
11
Sat
12
Sun
13
Mon
9
Thu
12
SWISS
Star Wars
Super RTL
Fantasy film, USA, 1996
Werner - Beinhart
Pro 7
Flui grüsst den Rest der Welt
Kabel 1
Once upon a time in the West
Euronews
International News
RTL Plus
10:35 - 12:45
10:20 - 12:00
10:45 - 10:50
11:00 - 11:20
11:45 - 12:50
TXT
TPS / RINGIER
Tue 07. 04 .98
9
Az "Individual Setting" menü használata
1. A
v
vagy
V
gombbal válassza ki a
ikont, majd a
B
gombot megnyomva hívja be az "Individual Setting" menüt.
2. A
v
vagy
V
gombbal jelölje ki a képen a választani kívánt témát, majd az OK gombot megnyomva erősítse meg a
választást.
3. Ismételje meg a 2. lépést minden olyan tételnél, amelyet fel kíván venni a listára.
4. Amikor befejezte a lista összeállítását, a
B
gombot megnyomva válassza a
ikont a menü képen.
5. Nyomja meg az OK gombot.
A "Long Info" menü használata
1. A
v
vagy
V
gombbal válasszon ki egy későbbi műsort a programlista oszlopában.
2. Az OK gomb megnyomásával hívja be a "Long Info" menüt.
3. Ha Smartlink videomagnóval rendelkezik, és fel szeretné venni a kiválasztott műsort a videomagnóval, a
b
gombot
lenyomva válassza ki az
ikont, majd az OK gombot lenyomva töltse le az információt a videomagnóra.
4. A videomagnó beállítása:
VPS/PDC
A
b
gombot ismételten megnyomva válassza ki a VPS/PDC opciót, majd az OK gombot megnyomva válassza ki a "Be"
vagy "Ki" beállítást. Ezzel a beállítással garantálható, hogy az egész műsor felvételre kerül akkor is, ha változás van a TV-
programban. Ez a funkció csak akkor működik, ha a kiválasztott csatorna sugároz VPS/PDC jelet.
Sebesség
A
V
gombbal válassza ki a "Speed" opciót, majd az OK gombot megnyomva válassza ki a "SP" (normál) vagy a
"LP"(hosszanjátszó) beállítást. Hosszanjátszó üzemmódban kétszer olyan hosszú felvételt tud készíteni a
videokazettára. Azonban a kép minősége romolhat.
A videomagnó beállítása
A
V
gombbal válassza ki a "VCR Setup" opciót, majd az OK gombot megnyomva válassza ki, melyik videomagnót szeretné
beprogramozni, ami lehet a "VCR1" vagy a "VCR2".
5. Végül a
B
gombot megnyomva válassza a
ikont, majd nyomja meg az OK gombot, hogy eltávolítsa a menüt a TV
képernyőjéről.
Használat
NexTView
07 Tue
12:38
Address Mapping
The position of the addresses in the
OSDA is shown in the following diagram.
The position values of the DPW are set
to '0'.
If other values are set, the complete
combination will be scrolled.
Example:
if the DPWC is set to '63', the char-
Speed
Timer Prog
VPS/PDC
SP
VCR1
On
This channel has been set for a timer
First nextTView/EPG-Providers in Europe
SWISS
TXT
TPS / RINGIER
nexTView
Tue 07. 04 .98
10
Használat
A legtöbb TV-állomás a teletexten keresztül sugároz információs szolgáltatást. A teletext indexoldala (rendszerint a
100. oldal) tájékoztatást nyújt a szolgáltatás használatának módjáról. Olyan TV-csatornát vegyen igénybe, amely
megfelelő térerővel fogható, mivel ellenkező esetben a teletext vételében hibák léphetnek fel.
Teletext
A teletext be- és kikapcsolása
1. Válassza ki azt a TV-csatornát, amelyen a nézni kívánt teletext adást sugározzák.
2. A P&T (kép és teletext) üzemmód bekapcsolásához nyomja meg egyszer a
gombot. A
képernyő két részre oszlik, a jobb oldaliban a TV-csatorna, a bal oldaliban pedig a
teletext látható.
P&T üzemmód: A PROGR+/-
gomb megnyomásával válthatja a TV
képernyőjén megjelenő csatornát. A
b
vagy
B
gomb megnyomásával
módosíthatja a TV képernyőjének méretét. A normál teletext vétel
visszaállításához nyomja meg a
gombot ismét.
3. Nyomja meg a
gombot kétszer, hogy csak a teletext jelenjen meg.
4. A Mix üzemmódhoz nyomja meg a
gombot háromszor.
5. A teletext kikapcsolásához nyomja meg a
gombot, vagy nyomja meg a gombot
negyedszer is.
Egy teletext oldal kiválasztása
A távvezérlőn lévő számgombok használatával adja meg az oldalszám három számjegyét. Ha
eltéveszti, gépeljen be három tetszőleges számjegyet, majd adja meg ismét a helyes
oldalszámot.
További teletext funkciók használata
A következő vagy az előző oldal kiválasztása
A távvezérlőn lévő
vagy
gombot megnyomva választhatja ki az előző vagy a következő
oldalt.
Aloldal kiválasztása
Egy teletext oldal több aloldalt is tartalmazhat. Ilyen esetben megjelenik egy információs sor,
amely az aloldalak számát jelzi. A
v
vagy
V
gomb megnyomásával válassza ki az aloldalt.
Egy teletext oldal rögzítése
Nyomja meg a
gombot az oldal rögzítéséhez. A rögzítés elvetéséhez nyomja meg
ismét a gombot.
Az indexoldal felfedése.
Nyomja meg a
gombot az gomb megnyomásával fedje fel az oldalt (rendszerint a 100.
oldal).
Színgombok használata az oldalak eléréséhez (gyorsteletext)
(csak akkor működik, ha a TV-állomás sugároz gyorsteletext jeleket).
Amikor egy oldal alján egy színkódos menü jelenik meg, a megfelelő oldal eléréséhez nyomja
meg a távvezérlőn lévő egyik színgombot (zöld, piros, sárga vagy kék).
Az "Oldalkapcsolás" szolgáltatás használata
1. A távvezérlőn lévő számgombokat megnyomva válasszon ki egy olyan teletext oldalt, amelyen több oldalszám szerepel (pl.
az indexoldal).
2. Nyomja meg az OK gombot.
3. A
v
vagy
V
gombbal válassza ki a kívánt oldalszámot, majd nyomja meg az OK gombot. A kért oldal néhány másodperc
múlva megjelenik.
Index
TELETEXT
TELETEXT
Programme
News
Sport
Weather
25
153
101
98
Index
TELETEXT
Programme
News
Sport
Weather
25
153
101
98
Index
TELETEXT
Programme
News
Sport
Weather
25
153
101
98
m
m
216-02
01
03
04
05
06
07
08
02
11
Használat
Teletext
A Teletext menü használata
1. A távvezérlőn lévő MENU gombot megnyomva jelenítse meg a menüt a TV
képernyőjén.
2. A
v
vagy
V
gombbal jelölje ki a választani kívánt menüpontot, majd a
B
gombot
megnyomva hívja be a hozzá tartozó almenüt.
3. Nyomja meg a MENU gombot, hogy eltávolítsa a Teletext menüt a képernyőről.
Fel./Alul/Teljes
A Fel./Alul/Teljes almenü lehetővé teszi a Teletext oldal különböző részeinek felnagyítását.
A
v
gombot megnyomva a képernyő felső felét, a
V
gombot megnyomva pedig az alsó felét
nagyíthatja fel. Az OK gomb megnyomásával állíthatja vissza az oldalt a normál méretre. A
Teletext menühöz való visszatéréshez nyomja meg a
b
gombot.
Szövegtörlés*
*
csak teletext és rávetítéses üzemmódban használható (lásd "A teletext be- és
kikapcsolása")
A szövegtörléssel a teletext oldal megtalálásáig nézhető a tv állomás műsora.
Felfedés
Egyes teletext oldalak rejtett információkat (pl. rejtvény megfejtését)
tartalmazhatnak, amelyek ezzel a funkcióval megnézhetők.
Időkód oldal*
*
a szolgáltatás elérhetőségétől függően, csak teletext és rávetítéses üzemmódban
használható.
E funkció segítségével egy adott teletext oldal (pl. emlékeztető oldal) a beállított
időpontban megjelenik a képernyőn.
Oldaláttekintés*
*
csak ha a tv állomás TOP-Text adást sugároz.
Ennél a menünél a TOP-Text oldalak két hasábban jelennek meg, az első tartalmazza
az oldal "blokkokat", a második az oldal "csoportokat".
Oldaláttekintés
1.
A távvezérlő
gombjának kétszeri megnyomásával kapcsoljon egész képernyős
szöveg üzemmódba.
2.
A MENU gombbal hívja be a "Teletext" menüt.
3.
A
v
vagy a
V
gombbal jelölje ki a "Szövegtörlés" sort, majd a
B
gombbal válassza
ki azt.
4.
Az aktuális tv csatorna megjelenik. A teletext oldal megtalálásakor a kék
szimbólum megjelenik a képernyő bal felső sarkában.
5.
A teletext oldal behívásához nyomja meg a távvezérlő
gombját.
1.
Teletext üzemmódban a MENU gombbal hívja be a "Teletext" menüt.
2.
A
v
vagy a
V
gombbal jelölje ki a "Szövegtörlés" sort, majd a
B
gombbal válassza
ki azt. A rejtett információ megjelenik.
1.
Teletext üzemmódban a MENU gombbal hívja be a "Teletext" menüt.
2.
A
v
vagy a
V
gombbal jelölje ki az "Időkód" sort, majd a
B
gombbal válassza ki
azt. Az időkód almenü megjelenik.
3.
A távvezérlő számgombjaival írja be a kívánt teletext oldalszámot.
4.
A távvezérlővel állítsa be a kívánt időpontot.
5.
Az időpont tárolásához nyomja meg az OK gombot. A tv kilép a teletext
üzemmódból, és a beállított időpont a képernyő bal felső sarkában megjelenik. A
beállított időpontban a kiválasztott teletext oldal automatikusan bekapcsol.
1.
A
b
vagy
B
gombbal válassza ki az első vagy a második hasábot.
2.
A
v
vagy a
V
gombbal válassza ki a megfelelő "csoportot" vagy "blokkot".
3.
Az OK gombbal hívja be a kiválasztott oldalt.
12
Használat
A TV tartalmaz egy menürendszert, amely egy sor felhasználóbarát képernyőkijelzésen és menün alapul. Ezek a
kijelzések segítenek abban, hogy a legtöbbet hozza ki a TV-készülékből, segítséget nyújtanak a kép- és hangbeállítások
módosításában, a TV-kép méretének megváltoztatásában, a TV-programok átrendezésében stb.
A kép és a hang beállítása
A kép és a hang gyári előbeállítása megtörtént. Azonban módosíthatja ezeket a beállításokat, hogy megfeleljenek saját
ízlésének.
A TV menürendszerének használata
1. A távvezérlőn lévő MENU gombot megnyomva jelenítse meg a menüt a TV
képernyőjén.
2. A
v
vagy
V
gombbal válassza ki a
menüpontot, ha a képbeállításokat, vagy a
menüpontot ha a hangbeállításokat kívánja módosítani, majd a
B
gombot
lenyomva lépjen be a "Képbeállítás", illetve az "Audio beállítás" menübe.
3. A
v
vagy
V
gombbal válassza ki azt a tételt a képen, amelyet beállítani kíván,
majd a
B
gombot megnyomva erősítse meg a választást. A menüpontok és
hatásaik ismertetését az alábbi táblázat tartalmazza.
4. A
v
,
V
,
B
vagy
b
gombokkal állítsa be a kiválasztott tételt.
5. Amikor befejezte egy tétel beállítását, az OK gomb megnyomásával tárolja az új
beállítást.
6. Ismételje meg a 3-5. lépéseket, ha bármely más tételeket is be kíván állítani.
7. Nyomja meg a MENU gombot, hogy eltávolítsa a menüt a TV képernyőjéről.
A kép szabályozása
Tétel
Hatás/Használat
Kép üzemmód
V
Live
(élő adásokhoz)
Personal(egyéni beállításokhoz)
Mozi (filmekhez)
v
Game (sportműsorokhoz)
Kontraszt
Kevesebb
b B
Több
Fényerő*
Sötétebb
b B
Világosabb
Színtelítettség*
Kevesebb
b B
Több
Színárnyalat**
Reddish
b B
Greenish
Képélesség*
Lágyabb
b B
Élesebb
*
Csak akkor jelenik meg, ha a "Kép üzemmód" menüben az "Egyéni" funkciót
választja ki.
**
Csak NTSC videórendszer (pl. USA videókazetták) esetében jelenik meg.
Törlés
Visszaállítja a képjellemzőket a gyárilag beállított
értékekre.
AI (Mesterséges
V
Ki :
Normál
intelligencia)
v
Be : A kontraszt szintjének automatikus
optimalizálása a TV-jelnek megfelelően.
Képzajszűrés
V
Magas:
Erős zajcsökkentés
K
özepes
:
Közepes zajcsökkentés.
Alacsony:
Enyhe zajcsökkentés.
Auto:
Az optimális zajcsökkentés automatikus
kiválasztása.
v
Ki:
Zajcsökkentés kikapcsolva.
Digit
á
lis M
ód
V
Normál: Normál 100 Hz-es képminőség
.
DRC 50:
Megnövelt képminőség görgetett
szövegek nézéséhez.
v
DRC 100:
Optimális képminőség, villogásmentes
kép.
Sz
nárnyalat
V
Meleg:
Meleg tónus előállítása.
Normál: Normál tónus.
v
Hűvös:
Hűvös tónus előállítása.
13
A hang szabályozása
Tétel
Hatás/Használat
Ekvalizer üzemmód
V
Personal
Vocal
Jazz
Rock
Pop
v
Flat (rögzített beállítás, nem módosítható)
Ekvalizer beállítás
Módosíthatja az Ekvalizer üzemmód pontban kiválasztott
üzemmódot az 5 kiválasztott frekvenciasáv elnyomásával
és kiemelésével. A
b
vagy
B
gombot megnyomva válassza
ki a frekvenciasávot, majd a
V
vagy
v
gombot megnyomva
állítsa be a frekvenciát. Végül az OK gomb megnyomásával
tárolja az új beállítást.
Ha tárolni kívánja az új beállítást, az Ekvalizer üzemmódot "Personal"-ra kell
állítania. A Personal üzemmód állandó jelleggel tárolja a beállítást, míg az összes
többi üzemmód (Vocal, Jazz, Rock, Pop) csak a következő üzemmódváltásig
tárolja azt.
Balansz
b
Eltolódás balra
.
B
Eltolódás jobbra.
Loudness
V
Ki:
Normál.
v
Be:
Zenés műsorokhoz.
Térhatás
V
Ki:
Normál.
v
Be:
Speciális akusztikus hatás.
Auto. hangerőszab.
V
Be : a csatornák hangereje ugyanaz marad
függetlenül a sugárzott jeltől (pl.
reklámok esetében)
v
Ki : a hangerő a sugárzott jelnek megfelelően
változik.
Kettős hang
Kétnyelvű adás esetén:
V
A az 1. hangcsatornára
v
B a 2. hangcsatornára
Sztereo adás esetén:
V
Mono
v
Sztereo
NICAM sztereo adás esetén a NiCAM jelzés rövid időre megjelenik a képen.
Fejhallgatók
i
Hangerő
Kevesebb
b B
Több
i
Kettős hang
Csak akkor használható, ha a PAP funkciót kiválasztotta.
V
Sztereó:
Az egyik képernyő hangja hallható mind
a
tv készülék hangszórójából, mind a
fejhallgatóból.
v
PAP:
A bal képernyő hangja hallható a tv
készülék hangszórójából, a jobb
képernyőé a fejhallgatóból.
A PAP funkció részleteit lásd a "PAP funkció használata" című fejezetben.
A TV menürendszerének használata:
0
Mono
On
Off
Mono
Off
0
14
A TV menürendszerének használata:
A Szolgáltatások menü használata
1. A távvezérlőn lévő MENU gombot megnyomva jelenítse meg a menüt a TV képernyőjén.
2. A
v
vagy
V
gombbal válassza ki a
opciót a "Szolgáltatások" menühöz, majd a
B
gombot
megnyomva nyissa meg a "Szolgáltatások" menüt.
3. A
v
vagy
V
gombbal válassza ki a kívánt menüpontot, majd a
B
gombot megnyomva erősítse meg
a választást. A menüpontok és hatásaik ismertetését az alábbi táblázat tartalmazza.
4. A
v
,
V
,
B
vagy
b
gombokkal válassza ki a kívánt beállítást.
5. Az OK gomb megnyomásával erősítse meg a beállítás kiválasztását.
6. Ismételje meg a 3-5. lépéseket, ha bármely más tételt is ki kíván választani.
7. Nyomja meg a MENU gombot, hogy eltávolítsa a menüt a TV képernyőjéről.
Tétel
Hatás/Használat
Kikapcsolásidőzítő
Kiválaszthat egy időtartamot, melynek elteltével a TV
készenléti üzemmódba kapcsol.
V
Ki
.
v
90 perc
Gyermekzár
V
Ki : Normál
v
Be : A távvezérlőn lévő gombokat megnyomva kapcsolja ki a TV-
készüléket készenléti üzemmódból. A készüléken lévő
kezelőgombok nem működnek.
AV2 kimenet
V
TV audio/videojel az antennáról
AV1 audio/videojel a scart 1 aljzatról
AV2 audio/videojel a scart 2 aljzatról
AV3 audio/videojel a scart 3 aljzatról
v
AV4 audio/videojel a TV előlapján lévő csatlakozókról
AV 2 Kimenet
15
A TV menürendszerének használata:
A Multi PIP (kép a képben) funkció használata
A Multi PIP (kép a képben) üzemmód 12 kimerevített képből álló sorozatot jelenít meg, valamint egy 13. képet,
amely élő. Manuálisan választhatja ki, melyik csatornát szeretné nézni akár a teljes képen, akár PIP
üzemmódban.
A PAP (kép és kép) funkció használata
A PAP szolgáltatás két részre osztja a képek két csatorna egyidőben történő nézéséhez (az egyiken - kívánság
szerint - a videojelforrással). A bal oldali kép hangja a TV hangszóróiból hallható, a jobb oldali kép hangja
fejhallgatón keresztül választható.
1. A távvezérlőn lévő
gombbal válassza ki a Multi PIP üzemmódot. 13
programhely jelenik fel a képen, középen az aktuálisan nézett csatornával.
2. A PROGR+/- gomb ismételt megnyomásával válassza ki a következő vagy az előző
12 programhelyet.
3. A
v
,
V
,
b
vagy
B
gombbal mozoghat a 13 megjelenített csatorna között.
4. Az OK gomb megnyomásával válassza ki a bekeretezett csatornát. Ez a csatorna
kerül most középre.
5. Nyomja fel az OK gombot ismét a kiválasztott csatorna megjelenítéséhez, vagy a
gomb megnyomásával távolítsa el a Multi PIP üzemmódot a TV kép jéről.
A PAP funkció be- és kikapcsolása
Nyomja fel a
gombot egyszer a képek megjelenítéséhez, és kétszer pedig a PAP
kikapcsolásához.
A PAP forrás kiválasztása
Nyomja fel a
M
gombot. A
M
szimbólum megjelenik a jobb oldali képen. Válassza ki a
kívánt jelforrást a számgombok (TV-csatornák esetén) vagy a
gomb (videojelforrás
esetén) segítségével.
A képek megcserélése
A
gomb megnyomásával cserélheti fel a két képek.
A képek nagyítása
A
b
vagy
B
gombbal módosíthatja a két kép méretét.
03
05
01
06
11
09
08
02
10
07
13
12
04
16
- - - - -
A TV menürendszerének használata:
A programhelyek átrendezése
A TV behangolása után ezt a jellemzőt használhatja a csatornák sorrendjének megváltoztatására a TV-készüléken.
1. A távvezérlőn lévő MENU gombot megnyomva jelenítse meg a menüt a TV képernyőjén.
2. A
V
gombbal válassza ki a
szimbólumot a menüképernyőn, majd a
B
gombot megnyomva
nyissa meg a "Beállítás" menüt.
3. A
V
gombbal válassza ki a "Programok átrendezése" menüpontot, majd a
B
gombot
megnyomva nyissa meg a "Programok átrendezése" menüt.
4. A
v
vagy
V
gombbal válassza ki az áthelyezni kívánt csatornát, majd a
B
gombot megnyomva
erősítse meg a választást.
5. A
v
vagy
V
gombbal válassza ki az új programhelyet (pl. PROG 4) a kiválasztott csatorna
számára, majd az OK gombot megnyomva erősítse meg az áthelyezést. Ezzel a kiválasztott
csatorna az új programhelyre kerülnek, és a többi csatorna ennek megfelelően kap új helyet.
6. Ismételje meg a 4. és 5. lépést, ha más csatornákat is át kíván helyezni.
7. Nyomja meg a MENU gombot, hogy eltávolítsa a menüt a TV képernyőjéről.
A TV manuális hangolása
Már elvégezte a TV automatikus hangolását a jelen útmutató elején lévő utasítások segítségével. Azonban elvégezheti
ezt a műveletet manuálisan is úgy, hogy egyszerre egy csatornát vesz fel a TV-készüléken beprogramozottak közé.
1. A távvezérlőn lévő MENU gombot megnyomva jelenítse meg a menüt a TV képernyőjén.
2. A
V
gombbal válassza ki a
szimbólumot a menüképernyőn, majd a
B
gombot megnyomva
nyissa meg a "Beállítás" menüt.
3. A
V
gombbal válassza ki a "Kézi beállítás" menüpontot, majd a
B
gombot megnyomva nyissa meg
a "Kezi beallitas" menüt.
4. A
V
gombbal válassza ki a "Kézi hangolás" menüpontot a menüképernyőn, majd a
B
gombot
megnyomva nyissa meg a "Kézi hangolás" menüt.
5. A
v
vagy
V
gombbal válasszon ki egy programhelyet a csatorna számára (pl. PROGR 1 a BBC1
számára), majd a
B
gombot megnyomva jelölje ki az "UGRÁS" oszlopot.
6. A
b
gombot megnyomva válassza ki a "Ki" beállítást, majd a
B
gombot megnyomva jelölje ki a
"NORMA" oszlopot.
7. A
v
vagy
V
gombbal válassza ki a sugárzási rendszert (B/G a nyugat-európai országokban vagy D/
K a kelet-európai országokban vagy az "EXT" beállítást a video műsorforrás számára (AV1, AV2,
...), majd nyomja meg a
B
gombot a beállítások megerősítéséhez.
8. A
v
vagy
V
gombbal válassza ki a "C" beállítást a földi sugárzású csatornák számára, az "S"
beállítást a kábelcsatornák számára vagy az "F" beállítást a közvetlen jelbemenetek számára, majd
a
B
gombot megnyomva erősítse meg a beállítást.
9. Válassza ki a "CS" (csatorna) első számjegyét, majd a "CS" második számjegyét a távvezérlőn lévő
számgombokkal vagy a
v
vagy
V
gombbal keresse meg a következő fogható csatornát.
10. Ha nem szeretné tárolni ezt a csatornát a kiválasztott programhelyen, a
v
vagy
V
gombbal folytassa
a keresést, amíg a kívánt csatorna meg nem jelenik.
11. Ha ez az a csatorna, amelyet tárolni kíván, nyomja meg az OK gombot.
12. Ismételje meg az 5-11. lépést, ha további csatornákat kíván tárolni, majd a MENU gomb
megnyomásával távolítsa el a menüt a TV képernyőjéről.
B/G
D/K
IRL
EXT
AV1
AV2
AV3
AV4
Beállítási útmutató
O
- - - - - - -
17
A TV menürendszerének használata:
Az állomások elnevezése
A csatornák nevét a készülék rendszerint automatikusan átveszi a teletext adásból, ha az rendelkezésre áll. A
csatornához vagy videobemenethez Ön is rendelhet egy, legfeljebb öt karakterből (betű vagy szám) álló nevet.
Programhelyek átugrása
Ezzel a funkcióval kijelölheti a nem használt programhelyeket, hogy azokat a készülék a PROGR+/- gombokkal történő
csatornaválasztás közben átugorja. Az átugrott programhelyeket azonban a számgombokkal továbbra is ki lehet
választani.
1. A távvezérlőn lévő MENU gombot megnyomva jelenítse meg a menüt a TV képernyőjén.
2. A
V
gombbal válassza ki a
szimbólumot a menüképernyőn, majd a
B
gombot
megnyomva nyissa meg a "Beállítás" menüt.
3. A
V
gombbal válassza ki a "Kézi beállítás" menüpontot, majd a
B
gombot megnyomva
nyissa meg a "Kézi beállítás" menüt.
4. A
V
gombbal válassza ki a "Kézi hangolás" menüpontot, majd a
B
gombot megnyomva
nyissa meg a "Kézi hangolás" menüt.
5. A
v
vagy
V
gombbal válassza ki azt a csatornát, amelyhez nevet kíván rendelni.
6. Nyomja meg ismételten a
B
gombot mindaddig, amíg a "NÉV" oszlopban az első
karakterhely kiemelésre nem kerül.
7. A
v
vagy
V
gombbal válasszon ki egy betű vagy számot (a szóközhöz nyomja meg a "-"
gombot), majd a
B
gombot megnyomva erősítse meg a választást. Ugyanígy válassza ki a
további négy karaktert.
8. Az összes karakter kiválasztása után nyomja meg az OK gombot.
9. Ismételje meg a 5-8. lépést, ha más csatornákat is el kíván nevezni.
10. Nyomja meg a MENU gombot, hogy eltávolítsa a menüt a TV képernyőjéről.
1. A távvezérlőn lévő MENU gombot megnyomva jelenítse meg a menüt a TV
képernyőjén.
2. A
V
gombbal válassza ki a
szimbólumot a menüképernyőn, majd a
B
gombot
megnyomva nyissa meg a "Beállítás" menüt.
3. A
V
gombbal válassza ki a "Kézi beállítás" menüpontot, majd a
B
gombot
megnyomva nyissa meg a "Kézi beállítás" menüt.
4. A
V
gombbal válassza ki a "Kézi hangolás" menüpontot, majd a
B
gombot
megnyomva nyissa meg a "Kézi hangolás" menüt.
5. A
v
vagy
V
gombbal válasszon ki egy programhelyet, majd a
B
gombot megnyomva
jelölje ki az "UGRÁS" oszlopot.
6. A
v
vagy
V
gombbal válassza a "Ki" vagy "Be" (ha át kívánja ugrani ezt a
programhelyet) beállítást, majd az OK gombot megnyomva tárolja a beállítást.
7. Ismételje meg az 5. és 6. lépést, ha bármely más programhelyeknél módosítani
kívánja az ugrás beállítását.
8. Nyomja meg a MENU gombot, hogy eltávolítsa a menüt a TV képernyőjéről.
Manual Set Up
Select:
Enter:
Language/Country
Manual Programme Preset
Further Programme Preset
RGB Set Up
Picture Rotation
Personal ID
Demo
O
- - - - - - -
Beállítási útmutató
O
- - - - - - -
Beállítási útmutató
O
- - - - - - -
18
A TV menürendszerének használata:
A "További programok tárolása" jellemző használata
E jellemző révén lehetősége van a) beállítani minden egyes csatorna csillapítását, b) egyedileg beállítani minden egyes
csatorna hangerejét, c) elvégezni a TV finomhangolását jobb képvétel érdekében, ha a kép torz vagy d) beállítani az AV
kimenetet kódolt (pl. fizető TV-dekóderről érkező) jelekkel rendelkező csatornák programhelyei számára. Ezzel a
módszerrel a videomagnó már a dekódolt jelet veszi fel.
Beállítási útmutató
O
- - - - - - -
1. A távvezérlőn lévő MENU gombot megnyomva jelenítse meg a menüt a TV képernyőjén.
2. A
V
gombbal válassza ki a
szimbólumot a menüképernyőn, majd a
B
gombot megnyomva
nyissa meg a "Beállítás" menüt.
3. A
V
gombbal válassza ki a "Kézi beállítás" menüpontot, majd a
B
gombot megnyomva
nyissa meg a "Kézi beállítás" menüt.
4. A
V
gombbal válassza ki a "További programok tárolása" menüpontot, majd a
B
gombot
megnyomva nyissa meg a "További programok tárolása" menüt.
5. A
v
vagy
V
gombbal válassza ki az érintett programhelyet, majd a
B
gombot ismételten
megnyomva válassza ki az a) HANG b) AFT vagy c) DEKÓDER menüpontot. A
kiválasztott menüpont színe megváltozik.
6. a)ATT - RF csillapítás
A
v
vagy
V
gombbal kapcsolja a csillapítást "be" vagy "ki". Az OK gomb megnyomásával
erősítse meg a választást. Ismételje meg az 5. és 6a. lépéseket, ha be kívánja állítani más
csatornák csillapítását is.
b)HANG - Hangerő-kiegyenlítés
A
v
vagy
V
gombokkal állítsa be a csatorna hangerejét (-7 és +7 közötti tartományban). Az
OK gombot megnyomva tárolja a beállítást. Ismételje meg az 5. és 6b. lépéseket, ha be kívánja
állítani más csatornák hangerejét is.
c) AFT - Automatikus finomhangolás
A
v
vagy
V
gombbal végezze el a csatorna frekvenciájának finomhangolását a -15 és +15
közötti tartományban. Az OK gombot megnyomva erősítse meg a beállítást. Ismételje meg
az 5. és 6c. lépéseket, ha más csatornák finomhangolását is el kívánja végezni.
d)DEKÓDER
A
v
vagy
V
gombbal válassza ki az AV1 vagy AV2 beállítást a programhely számára, majd az
OK gombot megnyomva erősítse meg a beállítást. Most már csatlakoztathat dekódert a TV
hátlapján lévő AV1 vagy AV2 aljzathoz, és a dekóderről érkező kép az adott programhelyen
fog megjelenni. Ismételje meg az 5. és 6d. lépést, ha más programhelyekhez is be kíván
állítani AV kimenetet.
7. Nyomja meg a MENU gombot, hogy eltávolítsa a menüt a TV képernyőjéről.
A "Bemutató" jellemző kiválasztása
Ez a funkció áttekintést ad a TV-készüléken rendelkezésre álló egyes jellemzőkről.
1. A távvezérlőn lévő MENU gombot megnyomva jelenítse meg a menüt a TV képernyőjén.
2. A
V
gombbal válassza ki a
szimbólumot a menüképernyőn, majd a
B
gombot
megnyomva nyissa meg a "Beállítás" menüt.
3. A
V
gombbal válassza ki a "Kézi beállítás" menüpontot, majd a
B
gombot megnyomva
nyissa meg a "Kézi beállítás" menüt.
4. A
V
gombbal válassza ki a "Bemutató" menüpontot, majd a
B
gombot megnyomva indítsa
el a bemutatót (ami kb. 5 percig tart).
5. Nyomja meg a
gombot, hogy eltávolítsa a bemutatót a TV képernyőjéről.
Beállítási útmutató
19
A TV menürendszerének használata:
A kép alakjának beállítása RGB forrás esetén
Amikor valamilyen RGB jelforrást, például Sony playstation-t csatlakoztat a készülékhez, lehetséges, hogy újra
be kell állítania a kép alakját.
1. A távvezérlőn lévő
gombot megnyomva válassza ki a csatlakoztatott RGB
jelforrást
.
2. A MENU gombot megnyomva jelenítse meg a menüt a TV képernyőjén.
3. A
V
gombbal válassza ki a
szimbólumot a menüképernyőn, majd a
B
gombot
megnyomva nyissa meg a "Beállítás" menüt.
4. A
V
gombbal válassza ki a "Kézi beállítás" menüpontot a menüképernyőn, majd a
B
gombot megnyomva nyissa meg a "Kézi beállítás" menüt.
5. A
V
gombbal válassza ki az "RGB beállítások" menüpontot a menüképernyőn, majd
a
B
gombot megnyomva nyissa meg az "RGB beállítások" almenüt.
6. A
B
gombot megnyomva válassza a H Centre menüpontot, majd a
v
vagy
V
gombbal
állítsa be a kép középpontját a -10 és +10 közötti tartományban. Az OK gombot
megnyomva tárolja az új tartományt.
7. A
B
gombot megnyomva válassza a H Size menüpontot, majd a
v
vagy
V
gombbal
állítsa be a vízszintes koordinátákat a -10 és +10 közötti tartományban. Az OK
gombot megnyomva tárolja az új tartományt.
8. Nyomja meg a MENU gombot, hogy eltávolítsa a menüt a TV képernyőjéről.
1
A kép elforgatásának beállítása
A Föld mágnesessége miatt lehetséges, hogy a kép ferde. Ebben az esetben újra be kell állítania a képet.
1. A távvezérlőn lévő MENU gombot megnyomva jelenítse meg a menüt a TV
képernyőjén.
2. A
V
gombbal válassza ki a
szimbólumot a menüképernyőn, majd a
B
gombot
megnyomva nyissa meg a "Beállítás" menüt.
3. A
V
gombbal válassza ki a "Kézi beállítás" menüpontot, majd a
B
gombot
megnyomva nyissa meg a "Kézi beállítás" menüt.
4. A
V
gombbal válassza ki a "Képelforgatás" menüpontot, majd a
B
gombot
megnyomva nyissa meg a "Képelforgatás" menüt.
5. A
v
vagy
V
gombbal forgassa el a képet -5 és +5 közé eső tartományban, majd az
OK gombot megnyomva tárolja a beállítást.
6. Nyomja meg a MENU gombot, hogy eltávolítsa a menüt a TV képernyőjéről.
- - - - -
- - - - -
Beállítási útmutató
20
A TV menürendszerének használata:
A személyi azonosító kód bevitele
Ennek a jellemzőnek a segítségével egy biztonsági kódot jelölhet ki a TV számára, amely lehetővé teszi a tulajdonos
felkutatását, ha a készülék az ellopását követően megkerül. A biztonsági kód azonban csak egyszer adható meg - kérjük,
jegyezze fel!
1. A távvezérlőn lévő MENU gombot megnyomva jelenítse meg a menüt a TV
képernyőjén.
2. A
V
gombbal válassza ki a
szimbólumot a menüképernyőn, majd a
B
gombot
megnyomva nyissa meg a "Beállítás" menüt.
3. A
V
gombbal válassza ki a "Kézi beállítás" menüpontot a menüképernyőn, majd a
B
gombot megnyomva nyissa meg a "Kézi beállítás" menüt.
4. A
V
gombbal válassza ki a "Szem. azonos. kód" menüpontot a menüképernyőn, majd a
B
gombot megnyomva nyissa meg a "Szem. azonos. kód" almenüt.
5. A
v
vagy
V
gombbal válassza ki az összesen 11 karakter (betű, szám + vagy szóköz) közül
az elsőt, majd a
B
gombot megnyomva lépjen a következő karakterpozícióra.
6. Ismételje meg a 5. lépést a kód összes többi karakterének beviteléhez.
7. Az OK gombot megnyomva tárolja a kódot. Egy üzenetpanel jelenik meg a képernyőn,
amely a kód újbóli bevitelét kéri.
8. Még egyszer nyomja meg az OK gombot a kód végleges tárolásához, vagy a
b
gombot
megnyomva vesse el.
9. Nyomja meg a MENU gombot, hogy eltávolítsa a menüt a TV képernyőjéről.
Bemenő jelek tárolása és elnevezése
Ennek a jellemzőnek a segítségével automatikusan formázhatja és feliratozhatja a külső jelforrásokat.
1. A távvezérlőn lévő MENU gombot megnyomva jelenítse meg a menüt a TV
képernyőjén.
2. A
V
gombbal válassza ki a
szimbólumot a menüképernyőn, majd a
B
gombot
megnyomva nyissa meg a "Beállítás" menüt.
3. A
V
gombbal válassza ki az "AV beállítások" menüpontot a menüképernyőn, majd a
B
gombot megnyomva nyissa meg az "AV beállítások" menüt.
4. A
v
vagy
V
gombbal válassza ki a kívánt AV bemenetet (AV1, 2, 3 vagy 4).
5. A
B
gombbal válassza ki a "NÉV" oszlopot.
6. A
v
vagy
V
gombbal válassza ki a név első karakterét, majd a
B
gombot megnyomva
lépjen a következő karakterpozícióra.
7. Ismételje meg a 7. lépést a további 4 karakter kiválasztásához, majd az OK gombot
megnyomva tárolja a nevet.
8. Ismételje meg a 4-8. lépést a többi AV bemenetnél, majd a MENU gomb
megnyomásával távolítsa el a menüt a TV képernyőjéről.
Beállítási útmutató
-
- - - - - -
AV 1
AV 2
AV 3
AV 4
AV 1
AV 2
AV 3
AV 4
AV 1
AV 2
AV 3
AV 4
AV 1
AV 2
AV 3
AV 4
BEMENET
NÉV
BEMENET
NÉV
Megerösít : OK
21
Külső berendezések
Az alábbi ábra segítségével audio- és videokészülékek széles választékát csatlakoztathatja a TV-készülékhez.
Külső berendezések csatlakoztatása a TV-hez
Annak érdekében, hogy egy csatlakoztatott berendezés bemenő jele megjelenjen a TV képernyőjén, ki kell választania
annak a csatlakozónak a szimbólumát, amelyhez a készüléket csatlakoztatta.
1. A fenti ábra segítségével csatlakoztassa a berendezést a TV-készülék megfelelő aljzatához.
2. Nyomja meg ismételten a távvezérlőn lévő
gombot mindaddig, amíg a berendezésnek megfelelő
bemenetszimbólum meg nem jelenik a TV képernyőjén (lásd az alábbi táblázatot).
* a jel automatikus érzékelése a csatlakoztatott berendezésnek megfelelően
3. Kapcsolja be a csatlakoztatott berendezést.A csatlakoztatott berendezés (ha van) megjelenik a tv képernyőn.
4. A normál TV-képernyőhöz való visszatéréshez nyomja meg a
gombot.
Megjegyzés: A képtorzulás megelőzése érdekében ne csatlakoztasson berendezéseket egyszerre az
F
és
G
aljzatokhoz.
Fejhallgató csatlakoztatása
Csatlakoztassa a fejhallgatót a készülék előlapján lévő
E
aljzathoz.
A TV
képernyőjén
lévő
szimbólum
Bemenő jelek a csatlakozóról
•
Audio/video bemenő jel a
A
scart csatlakozón keresztül vagy* RGB a
A
scart csatlakozón
keresztül
•
Audio/video bemenő jel az
B
scart csatlakozón keresztül vagy* S-video az
B
scart
csatlakozón keresztül
•
Audio/video bemenő jel az
C
scart csatlakozón keresztül vagy* S-video az
C
scart
csatlakozón keresztül
•
S-video bemenő jel az
F
4 érintkezős DIN csatlakozón keresztül vagy* video bemenő jel a
G
phono jacken keresztül és audio bemenő jel a
H
phono jacken keresztül
1
2
3
4
B C
D
A
F
G
H
E
22
Opcionális berendezések
* Ha a kép vagy a hang torz, vigye távolabb a videomagnót a TV-készüléktől.
* Mono videomagnó csatlakoztatása esetén mind a TV-készülékhez, mind pedig a videomagnóhoz csak a fehér
dugaszt kell csatlakoztatni.
* Ha információra van szüksége arra vonatkozóan, hogyan válassza ki a scart 2
/
kimenő jelét, lapozza fel a 14. oldalt.
Berendezések csatlakoztatására vonatkozó további
információk
2
s
2
A Smartlink egy közvetlen összeköttetés a TV-készülék és a videomagnó között.
A Smartlink használatához szükségesek a következők:
*
Olyan videomagnó, amely támogatja a Smartlink, NexTView Link, Easy Link vagy Megalogic jellemzőket.
* Teljes huzalozású 21 pólusú scart kábel a videomagnónak a scart 2
/
aljzathoz való csatlakoztatásához.
A Smartlink által biztosított jellemzők:
*
A hangolási információk (pl. a csatornák áttekintése) letöltésre kerülnek a TV-készülékről a videomagnóra.
* A NexTView segítségével könnyedén programozhatja a videomagnót.
*
Közvetlen felvétel a TV-ről: TV-nézés közben csak egyetlen gombot kell megnyomnia, hogy a videomagnó felvegye
az adott műsort.
A Smartlink-re vonatkozó bővebb információért lapozza fel a videomagnó kezelési útmutatóját.
Smartlink
2
s
2
A távvezérlő fedele alatt lévő gombok segítségével más Sony berendezéseket is vezérelhet.
1. Nyissa fel a távvezérlő fedelét.
2. Állítsa be a VTR 1234 DVD választókapcsolót a vezérelni kívánt készüléknek megfelelően:
VTR1 Beta videomagnó
VTR2 8mm videomagnó
VTR3 VHS videomagnó
VTR4 Digitális videomagnó (DCR-VX 1000/9000E,VHR-1000)
DVD Digitális videolemez
3. A távvezérlőn lévő gombokkal működtesse a készüléket.
* Ha a készülék rendelkezik COMMAND MODE (parancsmód) választókapcsolóval, állítsa azt ugyanolyan
pozícióba, mint amilyenbe a VTR 1234 DVD választókapcsolót állította a TV távvezérlőjén.
* Ha a készülék nem rendelkezik bizonyos funkciókkal, a távvezérlőn lévő megfelelő gomb nem működik.
Más Sony berendezések távvezérlése
23
További információk
A 2/1984. /III.10./ IpM-BkM sz. eqyüttes rendelet értelmében forgalomba hozó tanúsítja, hogy a SONY KV-29FQ75 K típusú
televízió megfelel az alábbi m
ű
szaki értékeknek:
Specifikációk
Sugárzási rendszer
B/G/H, D/K
Színrendszer
PAL, SECAM
NTSC 3.58, 4.43 (csak videobemenet)
Fogható csatornák
Lásd a "Útmutató a csatornákhoz" c. szakaszt a következő oldalon.
Képcső
FD Trinitron
Kb. 72 cm (29 hüvelyk), 104˚-os eltérítés
Csatlakozók a hátlapon
/
21 pólusú Euro csatlakozó (CENELEC szabvány), amely
tartalmaz audio/video bemenetet, RGB bemenetet, TV audio/
video kimenetet.
/
21 pólusú Euro csatlakozó (CENELEC szabvány), amely
tartalmaz audio/video bemenetet, S-video bemenetet, Monitor
audio/video kimenetet.
/
21 pólusú Euro csatlakozó (CENELEC szabvány), amely
tartalmaz audio/video bemenetet, S-video bemenetet, Monitor
audio/video kimenetet.
L/G/S/I
RCA csatlakozók, szabályozható kimenet az audio jelek
R/D/D/D
számára.
RF bemenet
Csatlakozók az előlapon
Videobemenet - phono jackek
Audiobemenetek - phono jackek
S-video bemenet - 4 pólusú DIN
Fejhallgató csatlakozó - sztereo minijack
1
s
1
2
s
2
3
s
3
4
4
s
4
Hangfrekvenciás kimenőteljesítmény
Bal/Jobb:
2x20W (zenei)
2x10W (tartós)
Mélyhang sugárzó: 30W (zenei)
15W (
tartós
)
Áramfogyasztás
158 W
Méretek (sz x ma x mé)
Kb. 765x635x570 mm
Súly
Kb. 59kg
Mellékelt tartozékok
RM-893 távvezérlő (1 db)
IEC AA méretű elem (2 db)
Egyéb jellemzők
Lapos Trinitron képcső, zajcsökkentés,
Képzajszűrés,
100 Hz kép, grafikus ekvalizer, PAP, PAT, M-PIP, 2000
oldalas
teletext
memória,
személyi
azonosító,
elalváskapcsoló, NexTView, Digital Comb Filter,
Második tuner.
A kialakítás és a specifikációk külön értesítés nélkül
változhatnak.
Csatornakijelzések táblázata
Fogható csatornák
Csatornakijelzések
B/G/H
E2..12, 21..69
C02..C12, C21..69
CABLE TV (1)
S1..S41
S01..S41
CABLE TV (2)
S01..S05
S42..S46
M1..M10
S01..S10
U1..U10
S11.S20
ITALIA
A, B..H, H1, H2
C13..C20
D/K
R01..R12, R21..R69
C01..C12, C21..C69
S01..S05
S42..S46
24
További információk
Az alábbi táblázat tartalmaz néhány egyszerű megoldást arra az esetre, ha valamilyen kép- vagy hangprobléma fordulna elő.
•
Ha a probléma továbbra is fennáll, a készülék javítása érdekében forduljon szakemberhez.
•
SOHA ne bontsa meg a külső burkolatot.
Hibakeresés
Probléma
Javasolt megoldás
Nincs kép (a képernyő sötét), nincs
hang
•
Csatlakoztassa a készüléket a hálózathoz.
•
Nyomja meg a
gombot a TV előlapján.
•
Ha a
jelzőfény világít, nyomja meg a
gombot
vagy egy számgombot a távvezérlőn.
•
Ellenőrizze az antennacsatlakozást.
•
Kapcsolja ki a TV-készüléket 3-4 másodpercre, majd
kapcsolja vissza a TV előlapján lévő
gomb
használatával.
Gyenge a kép vagy nincs kép (a
képernyő sötét), de a hang jó.
•
A menürendszer segítségével válassza ki a
Képbeállítás menüt. Állítsa be a fényerőt, a kép
üzemmódot és a színtelítettséget.
•
A Képbeállítás menüből válassza a Törlés menüpontot,
hogy visszaállítsa a gyári beállításokat.
Jó a kép, nincs hang
•
Nyomja meg a
gombot a távvezérlőn.
•
Ha a
szimbólum látható a képernyőn, nyomja meg a
gombot a távvezérlőn.
Nem látható színesben a színes
program
•
A menürendszer segítségével válassza ki a Képbeállítás
menüt, és módosítsa a színbeállítást.
•
A Képbeállítás menüből válassza a Törlés menüpontot,
hogy visszaállítsa a gyári beállításokat.
Torz a kép programváltáskor
vagy a teletext kiválasztásakor
•
Kapcsoljon ki minden, a TV-készülék hátlapján lévő
scart csatlakozókhoz csatlakoztatott berendezést.
A távvezérlő nem működik
•
Cserélje ki az elemeket.
A
jelzőfény villog a TV-
készüléken
•
Hívja fel a legközelebbi Sony szervizközpontot.
Külső berendezés műsorában
interferencia zaj
•
Csökkentse a képélességet.
/
BG
Инструкции за безопасност
ЗА ВАШАТА БЕЗОПАСНОСТ
Този телевизор може да работи само на
захранващо напрежение 220-240V. Внимавайте
да не включвате твърде много уреди в един
контакт, тъй като това може да причини токов
удар.
По причини за безопастност от въздействие на
природни явления е препоръчително да не
оставяте телевизора в режим “stand by”, а да го
изключвате централно.
Никога не пъхайте каквито и да било предмети
в телевизора, тъй като това може да причини
пожар или токов удар. Никога не разливайте
течности по телевизора. В случай, че течност
или твърд предмет попаднат в телевизора го
изключете.
Свържете
се
незабавно
с
квалифицирани служители на Сони.
Не отваряйте кутията и задния капак на
телевизора.
Обръщайте
се
само
към
квалифициран сервизен персонал.
За да предотвратите риска от токов удар, не
излагайте телевизора на дъжд или влага.
За Ваша собствена безопасност не пипайте
телевизора, кабела или антената му по време
на гръмотевични бури.
Не покривайте вентилационните отвори на
телевизора.
Оставете
най-малко
10
см.
разтояние около телевизора за вентилация.
Никога не поставяйте телевизора на горещи,
влажни или изключително прашни места. Не
инсталирайте телевизора на места където
може да бъде изложен на механични вибрации.
За да избегнете пожар, дръжте настрана от
телевизора възпламеними предмети и открити
източници на светлина /например свещи/.
Почиствайте телевизора с мека, леко влажна
кърпа. Не използвайте бензин, разредител или
други химикали, за да почистите телевизора. Не
драскайте по екрана на телевизора. За по-голяма
безопастност
изключвайте
телевизора
от
контакта, когато го почиствате.
Когато изключвате телевизора, дърпайте
щепсела, а не кабелa.
Не поставяйте тежки предмети върху кабела,
тъй като това може да го повреди.
Препоръчваме
ви
да
навиете
излишния
захранващ кабел около предназначените за
целта приспособления на задната страна на
телевизора.
Поставяйте телевизора на сигурна, стабилна
поставка. Не позволявайте на деца да се катерят
по него. Не го обръщайте на страни или по “гръб”.
Изключвайте кабела на телевизора преди да го
местите.
При
преместването
избягвайте
неравни повърхности и не правете бързи
крачки.
Ако
изпуснете
или
нараните
телевизора, незабавно се консултирайте с
квалифицирани сервизни служители на Сони.
Не покривайте вентилационните отвори на
телевизора с предмети като пердета, вестници и
др.
1
Информация за безопасност
Всички телевизори работят с изключително високо напрежение. За предпазване от пожар или удар от електрически ток,
следвайте указанията за безопасност, посочени в предоставената синя карта.
Вентилационните отвори не трябва да се блокират или покриват. За добра вентилация оставете празно разтояние от най-
малко 10см около телевизора.
Информация за безопасност
Съдържание
Съдържание
Инсталиране
1. Проверка на доставените принадлежности
2. Поставяне на батериите в дистанционното управление
3. Свързване на телевизора
4. Включване на телевизора
5. Използване на джойстика
6. Настройване на вашия телевизор
7.
Намиране на вашия видеоканал
2
2
3
4
4
5
5
Използване
Преглед на бутоните на телевизора
Преглед на бутоните на дистанционното управление
NexTView
Телетекст
Използване на системата от менюта на телевизора
Управление на картината
Управление на звука
Използване на менюто Възможности/Характеристики
Използване на мулти-PIP
Работа с PAP (картина и картина)
Пренареждане на каналите на телевизора
Ръчна настройка на телевизора
Наименуване на канал
Пропускане на програмни позиции
Използване на характеристиката "Допълнителна настройка на
програма"
Избор на характеристиката "Демо"
Настройка на завъртането на картината
Настройка на геометрията на картината за източник на RGB
Въвеждане на вашата лична идентификация
Предварителна настройка и наименуване на входните сигнали
6
7
8
10
12
12
13
14
15
15
16
16
17
17
18
18
19
19
20
20
Допълнителна апаратура
Свързване на допълнителна апаратура към телевизора
Допълнителна информация при свързване на апаратура
Smartlink
Дистанционно управление на друга апаратура на Sony
21
22
22
22
Допълнителна информация
Спецификации
Таблица за показване на каналите
Отстраняване на неизправности
23
23
24
2
За инсталиране на телевизора и гледане на телевизионни програми, следвайте стъпки 1-7. Инсталиране
1. Проверка на доставените принадлежности
2. Поставяне на батериите в дистанционното управление
Дистанционно управление
Винаги спазвайте поляритета при поставяне на батериите.
Никога не забравяйте, че трябва да изхвърлите батериите по начин, опазващ околната среда.
Батерии
3
Инсталиране
3. Свързване на телевизора
1.
Свържете кабела на съществуващата антена към вашия видеокасетофон, както е показано.
2.
Свържете кабела за антена на видеокасетофона от гнездото RF OUT на задната страна на
видеокасетофона към гнездото за антена на задната страна на телевизора, както е показано.
3.
Свържете видеокасетофона към мрежата и го включете.
4.
Поставете касета със запис във видеокасетофона и натиснете бутона "PLAY".
1.
Свържете извода на вашата съществуваща антена към гнездото, отбелязано с
на задната страна на телевизора.
Свързване на антена към телевизора
Свързване на антена и видеокасетофон към телевизора
Ако не свързвате вашия
телевизор към
видеокасетофон,
свържете извода за
антена (показан вляво)
и преминете към раздел
"4. Включване на
телевизора".
Ако свързвате вашия
телевизор към
видеокасетофон, вж.
раздела по-долу.
Изводът тип SCART се
поставя
допълнително. Ако
обаче той може да се
използва, тази
допълнителна връзка
може да подобри
качеството на
картината и звука в
режим на
възпроизвеждане.
OUT
IN
AERIAL
ANTENNA
AC IN
(съществуващ извод за антена)
(извод SCART - не е
предоставен)
4
Инсталиране
1.
Поставете щепсела на телевизора в контакта на мрежата за променлив ток (220-
240V, 50Hz) и го включете.
2.
Натиснете бутона за включване/изключване
отпред на телевизора.
Ако индикаторът за режим на готовност отпред на телевизора свети, натиснете бутона TV
на
дистанционното управление, за да включите телевизора. Моля, запазете търпение, защото до появяване на картината на
телевизионния екран могат да изминат няколко секунди.
4. Включване на телевизора
5. Използване на джойстика
/
За да изберете раздел от менюто,
натиснете бутона OK в средата.
За придвижване по менютата,
натиснете съответния бутон със
стрелка.
Движение с джойстика
Натискане на джойстика
5
Инсталиране
Преди да настроите телевизора, ще получите въпрос за задаване на вашия език и страна.
6. Настройване на вашия телевизор
Language country
Select language:
Confirm:
Language
Country
Русский
Ъьларски
Ελληνικα
Türkçe
Suomi
Svenska
Portuguкs
Great Britain
1.
При появяване на менюто ‘Language/country’ на екрана е осветена
думата "English".
2.
Натиснете бутоните
v
или
V
на дистанционното управление, за да
изберете език, а след това натиснете бутона OK за потвърждаване.
При появяване на менюто за държава на екрана е осветена думата
"ИЗК". Изберете "ИЗК", ако не искате каналите ви да се запомнят
в дадена поредица от канали, започваща от програмна позиция 1.
3.
Натиснете
v
или
V
, за да изберете държавата, в която искате да
използвате телевизора, и натиснете OK, за да потвърдите избора
си.
4.
На екрана на телевизора се появява "авто настройки" на избрания
от вас език. Натиснете бутона OK за потвърждаване.
5.
Уверете се, че антената е свързана в съответствие с указанията, и
натиснете бутона OK за потвърждаване. Телевизорът
автоматично започва да търси и да запомня всички налични канали
вместо вас. Това може да трае няколко минути - моля, бъдете
търпеливи и не натискайте бутоните.
6.
След като телевизорът е настроил всички налични канали, на
екрана на телевизора се появява менюто "Сортиране на
програмите", което ви дава възможност да променяте реда на
каналите на вашия телевизор. Ако желаете да смените реда на
каналите, натиснете бутоните
v
или
V
за избор на канала, който
желаете да преместите, и после натиснете
B
.
Натиснете бутоните
v
или
V
,
за да изберете новото положение на номер на програма за
избрания канал, а след това натиснете бутона OK за
потвърждаване. Сега избраният канал се премества на новата си
програмна позиция, а останалите канали се преместват по
съответен начин. Ако желаете да сортирате реда на други канали
на телевизора, повторете тази процедура.
7.
Натиснете бутона MENU, за да изтриете менюто от екрана на
телевизора.
8.
Натиснете бутона PROGR+/- или цифровите бутони, за да гледате
телевизионните канали.
Забележка: Ако желаете да спрете процеса на автоматична настройка
във всеки момент, натиснете бутона OK.
Ако сте свързали видеокасетофон към телевизора, трябва да намерите вашия видеоканал.
1.
Натискайте бутоните PROGR+/- на дистанционното управление, докато на екрана на телевизора се появи картина от
вашето видео.
Забележка:Ако желаете да преместите вашия видеоканал на друга програмна позиция, вж. раздела "Подреждане на
каналите на телевизора" в това ръководство за експлоатация.
7. Намиране на вашия видеоканал
1
2
3
4
5
6
7
8
9
0
6
Използване
Преглед на бутоните на телевизора
Бутони за управление на силата на звука.
Натиснете за увеличаване (+)/намаляване (-)
на силата на звука.
Бутон за вход от видео.
Натиснете за избиране на
входните сигнали от
видеокасетофон и др.
Бутони Програма нагоре
(+) или надолу (-).
Натиснете за избиране на
телевизионни канали.
Натиснете контролния панел /както е
показано/, за да откриете предните изводи и
бутоните на телевизора.
Контролният панел се отваря.
Бутон за нулиране на досегашни
настройки.
Натиснете, за да върнете фабричните
настройки на картината и звука. Логото
на Sony ще се появи на екрана,
последвано от екран "Autotune". Ако не
желаете
да
пренастойвате
вашия
телевизор , натиснете
b
бутон на
дистанционното.
7
За временно изключване на телевизора
Натиснете за временно изключване на телевизора.
Натиснете отново за включване от режим готовност. За
икономия на електроенергия препоръчваме пълното
изключване на телевизора, когато той не се използва.
ЗАБЕЛЕЖКА: След 15-30 минути без телевизионен сигнал
и без да е натискан бутон, телевизорът автоматично се
изключва в режим готовност.
За разкриване на информация на екрана
Натиснете за разкриване на всички указания на екрана.
Натиснете отново за отказ. В режим Телетекст, натиснете
за показване на страницата Индекс (обикновено страница
100), а след това натиснете отново за отказ.
За избор на входния сигнал или стопиране на
телетекста
Натиснете за избор на входове от телевизионните гнезда
(вж. раздела "Използване на допълнителна апаратура"). В
режим Телетекст, натиснете за стопиране на показваната
страница. Натиснете отново за отказ.
За подробности вж. раздела "Използване на PAP" от
това ръководство за експлоатация.
За връщане към предишния канал
Натиснете за връщане към предишния канал, който сте
гледали. Забележка: Това може да се направи само след
гледане на предварително настроен канал в продължение
на 5 секунди.
Натиснете за включване или изключване на режим мулти-
PIP.
За смяна на формата на екрана
Натиснете за смяна на размера на екрана.
Клавиши на Fastext
За подробности вж. раздела "Телетекст" на ръководството.
За избор на елементи от меню
Използвайте бутона OK и клавишите със стрелки за
избор на функциите, предлагани в системата от менюта
на този телевизор.
За показване на менюто
Натиснете, ако желаете да използвате системата от менюта
на телевизора. Натиснете отново за махане на менюто от
екрана на телевизора.
За избор на канали
Натиснете за избор на канали.
Използване
Преглед на бутоните на дистанционното управление
За заглушаване на звука
Натиснете за заглушаване на звука на телевизора.
Натиснете отново за възстановяване на звука.
За връщане в режим телевизия
Натиснете за връщане към нормална работа от
режим телетекст или режим готовност.
За избор на Телетекст
Натиснете за включване и изключване на
Телетекст.
За избор на Електронен указател на
програмите (EPG)
Натиснете за включване и изключване на EPG.
За стопиране на картината
Натиснете, ако искате да си запишете бележка или
информация от телевизионния екран, например
телефонен номер. Натиснете отново за връщане
към нормален режим на телевизия.
За избор на канали
Натиснете бутоните с цифри за избор на канали.
За двуцифрени номера на програми, напр. 23,
натиснете първо -/--, а след това бутони 2 и 3.
За показване на меню за картината
Натиснете за промяна на настройките на
картината. Натиснете бутона OK за премахване
на показаното меню.
За показване на меню за звука
Натиснете за промяна на настройките на звука.
Натиснете бутона OK за премахване на
показаното меню.
За показване на Таблицата на каналите
Натиснете бутона OK. Натиснете
v
или
V
за
избор на желания канал, а после натиснете
B
за
потвърждаване.
За настройка на силата на звука
Натиснете за настройка на силата на звука на
телевизора.
За връщане на фабрично зададените
стойности.
За връщане на настройките на картината и
звука на фабрично зададените стойности,
отворете капачето на дистанционното
управление и натиснете. След като менюто
"Инсталиране" се е появило на екрана на
телевизора, по желание променете езика и
страната, както е описано в раздела "Избор на
език и държава" на ръководството
.
За показване на часа.
За да покажете часа на екрана, отворете капачето на
дистанционното управление и натиснете.
За използване на видеоапаратура
За да работите с вашата видеоапаратура, отворете
капачето на дистанционното управление и натиснете
тези бутони (моля, вж. ръководството за вашия
видеокасетофон).
8
Използване
*зависи от наличието на услугата.
NexTView е електронен указател на програми с информация за програмите на различни канали.
NexTView*
Показване на NexTView
1. За включване и изключване на NexTView натиснете последователно бутона
на дистанционното управление.
*В някои случаи може да е нужно да натиснете и бутона , за да се изпише електронния програмен указател на
Сони.
2.
За преместване на курсора по екрана натиснете бутоните
v
,
V
,
b
или
B
.
3. За потвърждение на избора натиснете бутона OK.
а. Ако натиснете бутона OK в колонките за дата, час или символ (теми), променяте списъка на програмите в
съответствие с избора.
б. Ако натиснете бутона OK в списъка на програмите, директно показвате канала, ако в момента има предаване,
или показвате менюто "Дълга информация", ако предаването ще започне по-късно.
7
Tue
07 Tue
12:38
8
Wed
10
Fri
11
Sat
12
Sun
13
Mon
9
Thu
12
SWISS
Star Wars
Super RTL
Fantasy film, USA, 1996
Werner - Beinhart
Pro 7
Flui grüsst den Rest der Welt
Kabel 1
Once upon a time in the West
Euronews
International News
RTL Plus
10:35 - 12:45
10:20 - 12:00
10:45 - 10:50
11:00 - 11:20
11:45 - 12:50
TXT
TPS / RINGIER
Tue 07. 04 .98
Индекс
пълен списък за избор
личен избор
нови предавания
филми
спорт
развлечения
деца
връщане към последното меню
Използване на менюто "Индивидуална настройка"
1.
Натиснете
v
или
V
,
за да изберете символа
, а след това натиснете
B
, за да покажете менюто "Индивидуална настройка".
2.
Натиснете
v
или
V
,
за да изберете елемент на екрана, а след това натиснете бутона OK за потвърждаване на вашия избор.
3.
Повторете стъпка 2 за всички елементи, които искате да се съдържат във вашия списък.
4.
Когато завършите списъка, натиснете
B
,
за да изберете
на екрана на менюто.
5.
Натиснете бутона OK, за да се върнете към предишното меню.
6.
Натиснете
v
или
V
,
за да изберете символа
, а след това натиснете бутона OK отново, за да задействате своя филтьр
'Индивидуална настройка'.
Избиране на източника
на NexTView
Вашият телевизор автоматично избира най-подходящият за Вас източник на NexTView. Този източник е на разположение
около 30 мин. след настройката на каналите. Вие можете обаче да променит така направения избор на източник.
1. Натиснете бутона MENU на дистанционното управление, за да се появи менюто на екрана.
2.
Натиснете бутоните
v
или
V
, за да изберете символа
на екрана на менюто и след това натиснете
B
, за да влезете в
менюто за настройване.
3.
Натиснете бутоните
v
или
V
, за да маркирате 'Select NexTView' а след това натиснете B, за да потвърдите. Ще видите
списък на всички налични източници на NexTView.
4.
Натиснете бутоните
v
или
V
, за да изберете желания източник на NexTView, а след това натиснете бутона ОК, за да го
съхраните.
5.
маркирате 'Select NexTView' а след това натиснете , за да потвърдите. Ще видите списък на всички налични източници
на Nexреместване на курсора по екрана натиснете бутоните
v
,
V
,
b
или
B
.
6. Натиснете бутона MENU, за да изтриете менюто от екрана на телевизора.
9
За записване на програми*
* (само при видеокасетофони със Smartlink)
1. Свържете вашия Smartlink видеокасетофон.
2.
Натиснете
b
или
B
, за да изберете
, след това натиснете бутона OK, за да прехвърлите информацията на вашия
видеокасетофон.
3. За да настроите видеокасетофона:
VPS/PDC
Натискайте
b
,
докато изберете VPS/PDC, а след това натиснете бутона OK, за да изберете "Включено" или "Изключено".
Когато е избрано "Включено", имате гарантиран запис на цялото предаване, в случай че има промяна в телевизионната
програма. Това се отнася само за случая, когато избраният канал предава сигнал VPS/PDC.
Скорост
Натиснете
V
,
за да изберете "Скорост", а след това натиснете бутона OK, за да изберете "SP" за стандартно възпроизвеждане
или "LP" за удължено възпроизвеждане. При удължено възпроизвеждане можете да записвате на една видеокасета два пъти
повече. Това обаче може да се отрази на качеството на картината.
Настройка на видеокасетофона
Натиснете
V
,
за да изберете "Настройка видео", а след това натиснете бутона OK, за да изберете видеокасетофона, който
искате да програмирате, а именно "VCR1" или " VCR2".
4.
Накрая, натиснете
B
, за да изберете символа
, е след това натиснете бутона OK, за да изтриете менюто от екрана на
телевизора.
Използване
NexTView
07 Tue
12:38
Address Mapping
The position of the addresses in the
OSDA is shown in the following diagram.
The position values of the DPW are set
to '0'.
If other values are set, the complete
combination will be scrolled.
Example:
if the DPWC is set to '63', the char-
Speed
Timer Prog
VPS/PDC
SP
VCR1
On
This channel has been set for a timer
First nextTView/EPG-Providers in Europe
SWISS
TXT
TPS / RINGIER
nexTView
Tue 07. 04 .98
Използване на менюто "Дълга информация"
1.
Натиснете
v
или
V
, за да изберете бъдеща програма в колонката на списъка на програмите.
2.
Натиснете бутона OK, за да покажете менюто "Дълга информация".
10
Използване
Повечето телевизионни канали излъчват информация чрез Телетекст. Страницата Индекс на услугата Телетекст (обикновено
страница 100) съдържа информация за начина на използване на тази услуга. Моля, използвайте телевизионен канал със силен
сигнал, защото в противен случай може да има грешки в Телетекст.
Телетекст
Включване и изключване на Телетекст
1.
Изберете телевизионния канал, изпълняващ услугата Телетекст, който искате да
гледате.
2.
Натиснете
веднъж за Картина и Телетекст (P&T).·Екранът се разделя на две,
като телевизионният канал е в десния ъгъл, а изображението на телетекст е вляво.
Режим P&T: Натиснете PROGR+/-. Натиснете
, за да смените канала на екрана на
телевизора. Натиснете
b
или
B
за промяна на размера на екрана на телевизора.
Натиснете
отново, за да възобновите нормалното приемане на телетекст.
3.
Натиснете
два пъти, за да получите само Телетекст.
4.
Натиснете
три пъти за Смесен режим
5.
Натиснете
за четвърти път, за да изключите телетекста.
Избор на страница от Телетекст
Въведете с три цифри номера на страницата, като използвате бутоните с цифри на
дистанционното управление. Ако сгрешите, въведете кои да е три цифри, а след това въведете
отново правилния номер на страница.
Използване на други функции на Телетекст
Избор на следващата или предишната страница
За да изберете следващата или предишната страница, натиснете бутоните
или
на
дистанционното управление.
Избор на подстраница
Телетекст страницата може да се състои от няколко подстраници. В този случай се се
изписва информация за броя на подстраниците. Изберете желаната подстраница като
натискате
v
или
V
.
За стопиране на телетекстна страница
За стопиране на страницата натиснете бутона
. За да отмените стопирането, го натиснете
отново.
Разкриване на индексната страница.
Натиснете бутона
за да разкриете страницата (обикновено стр. 100).
Използване на цветни бутони за достъп до страниците (Fastext)
(налична, само ако телевизионната станция предава сигнали на Fastext)
Когато в долната част на страницата се появи меню с цветово кодиране, натиснете цветен бутон
на дистанционното управление (зелен, червен, жълт или син) за достъп до съответната
страница.
Използване на характеристиката "Хващане на страница"
1.
Натиснете бутоните с цифри на дистанционното управление, за да изберете телетекстна
страница, на която има много номера на страници (например страница Индекс).
2.
Натиснете бутона OK.
3.
Натиснете
v
или
V
, за да изберете желания номер на страница, а след това натиснете
бутона OK. Заявената страница се показва след няколко секунди.
Index
TELETEXT
TELETEXT
Programme
News
Sport
Weather
25
153
101
98
Index
TELETEXT
Programme
News
Sport
Weather
25
153
101
98
Index
TELETEXT
Programme
News
Sport
Weather
25
153
101
98
m
m
216-02
01
03
04
05
06
07
08
02
11
Използване
Използване на менюто за Телетекст
Телетекст
1. За показване на менюто на телевизионния екран натиснете бутона MENU на
дистанционното управление.
2.
Натиснете
v
или
V
, за да изберете елемент на екрана, а след това натиснете
B
,
за да
покажете съответното подменю.
3. За махане на менюто на Телетекст от екрана натиснете бутона MENU.
Горен/Долен/Пълен
Подменюто Горен/Долен/Пълен ви дава възможност да увеличавате различни секции от
страницата на Телетекст. Натиснете
v
,
за да разширите горната половина на екрана.
Натиснете
V
,
за да разширите долната половина. Натиснете бутона OK, за да върнете
страницата в нормалния размер. Натиснете
b
,
за да се върнете към екрана на менюто на
Телетекст.
Изчистване на текста*
*Достьпно само при режими Телетекст и Мix ( Вж. Включване и изключване на
Телетекста )
Изчистване на текста е функция, която позволява гледането на телевизионен канал,
докато се тьрси телетекст страница.
Разкриване
Някон Телетекст страници съдържат скрита информация / например при телевизионни
загатки/, която може да бъде разкрита
.
Часова страница*
*
в зависимост от поддръжката на тази услуга, Часовата страница е достъпна на режими
Телетекст и Mix (Вж. Включване на Телетекста).
Часовата страница, позволява на времекодираните телетекст страници, да се показват на
екрана в определено време.
Преглед на страниците*
*
достьпно само ако телевизионният канал предава TOP-Text.
В това меню страниците TOP-Text са разделени на две колони. Първата колона показва
"блокове" страници, а втората "групи" страници.
1.
Í
атиснете два пъти
бутон на дистанционното, за да превключите целия екран на
Текст.
2. Натиснете бутона MENU, за да покажете Телетекст менюто.
3.
Натиснете
v
или
V
, за да осветите "Text Clear" и натиснете
B
, за да го изберете.
4.
Показва се гледаният до този момент телевизинен канал. Веднага след намирането на
текстовата страница, в горния, ляв ыъл на екрана ще се появи син знак
5.
Натиснете
бутона на дистанционното, за да видите.
1. В режим на текст натиснете бутона MENU на дистанционното, за да изберете
менюто на Телетекста.
2.
Натиснете
v
или
V
,
за да осветите 'Reveal' и натиснете
B
, за да го изберете. Скритата
информация ще се появи на екрана.
1. В режим Текст натиснете бутона MENU на дистанционното, за да влезете в
Телетекст Меню.
2.
Натиснете
v
или
V
,
за да осветите 'Time Page' и натиснете
B
,
за да го изберете
Подменюто на 'Time Page' се появява на екрана.
3. Влезте в желания номер страница, използвайки номерираните бчтони на
дистанционното.
4. Настройте желаното време, използвайки дистанционното.
5. Натиснете OK, за да потвърдите настройките. Телевизорът ще излезе от Телетекст
режим и избраното време ще се появи в горният, ляв ыъл на екрана. В зададеното
време, избраната страница ще се появи на екрана.
1.
Натиснете
b
или
B
,
за да изберете първата или втората колона.
2.
Натиснете
v
или
V
,
за да изберете съответната "група" или "блок" от страници.
3. Натиснете бутона OK, за да покажете избраните страници.
12
Използване
Телевизорът е устроен като система от менюта, която се основава на изображения и менюта на екрана, лесни за потребителя. Тези
изображения ще ви помогнат да получите най-доброто от вашия телевизор, като променяте настройките на картината и звука, да
смените размера на телевизионната картина, да пренаредите каналите на телевизора и т. н.
Настройка на картината и звука
Картината и звука са настроени фабрично. Можете обаче да ги настроите по собствен вкус.
Използване на системата от менюта на телевизора
Trinitone
Игра
1.
Натиснете бутона MENU на дистанционното управление, за да покажете менюто на
екрана на телевизора.
2.
Натиснете бутоните
v
или
V
,
за да изберете
за настройки на картината, или
за
настройки на звука, а след това натиснете
B
, за да влезете в менюто "Настройка на
картина" или менюто "Настройка на звука".
3.
Натиснете бутоните
v
или
V
, за да изберете елемента на екрана, който искате да
настроите, и след това натиснете
B
,
за потвърждаване. За описание на елементите на
менюто и действието им вж. таблицата по-долу.
4.
Натиснете бутоните
v
,
V
,
B
или
b
за настройка на избрания елемент.
5. След като сте настроили елемента, натиснете бутона OK за запомняне на новата
настройка.
6. Повторете стъпки 3-5, ако желаете да настройвате други елементи.
7.
Натиснете бутона MENU, за да изтриете менюто от екрана на телевизора.
Управление на картината
Елемент
Действие/използване
Режим картина
V
Живо (за предавания на живо)
Персонален(за индивидуални настройки)
Филм (за предаване на филми)
v
Мач (за компютърни игри)
Контраст
По-слаб
b B
По-силен
Яркост*
По-тъмно
b B
По-светло
Цвят*
По-слаб
b B
По-силен
Нюанс**
Червеникав
b B
Зеленикав
Острота*
По-меко
b B
По-рязко
*
Само ако в менюто Режим картина е избрана опцията Персонален
**
Само ако сигналът е NTSC (напр. при US видео записи)
Нулиране
Възстановява картината до фабрично настроените нива
ИИ (Изкуствен интелект
)
V
Изключено: Нормално
v
Включено: Автоматично оптимизиране на нивото на
контраст в зависимост от телевизионния сигнал.
Шумопотискане.
V
High
:
Усилено подтискане на шума.
Mid
:
Средно подтискане на шума.
Low
:
Слабо подтискане на шума.
Auto
:
Оптимално подтискане на шума /избрано
автоматично/
v
Off
:
Функцията е изключена.
Цифров режим
V
Normal
:
100 Hz качество на картината.
DRC 50
:
Подобрена резолюция на картината
при показване на движещи сe текстове.
v
DRC 100: Оптимална резолюция на картината,
създаваща
образ без трептения.
Тонове на цвета
V
Warm
:
Придава топъл нюанс на картината.
Normal:
Normal
.
v
Cool
:
Придава студен нюанс на картината.
13
Използване на системата от менюта на телевизора:
0
Управление на звука
Елемент
Действие/използване
Режим на еквилайзера
V
Персонален
Вокал
Джаз
Рок
Поп
v
Глухо (фиксирана настройка, не може да се
регулира)
Настройка на еквилайзера
Режима, избран в Режим на еквилайзера, можете
да регулирате чрез отрязване и усилване на 5-те
избрани честотни ленти. Натиснете
b
или
B
, за да
изберете честотната лента, а след това
V
или
v
, за
да регулирате честотата. Накрая, натиснете
бутона OK за запомняне на новата настройка.
Ако искате да запомните новата настройка, трябва да зададете Режим на еквилайзера
на "Персонален". Персоналният режим запомня постоянно настройката, а всички
други режими (Вокал, Джаз, Рок, Поп) запомнят само доследващата промяна на
режима.
Баланс
b
На ляво
B
На дясно
Гръмкост
V
Изключен
:
нормален режим.
v
Включен
:
за музикални предавания
.
Пространство
V
Изключен
:
нормален режим.
v
Включен
:
специален акустичен ефект
.
Автоматична сила звук
V
Включено: силата на звука за каналите ще
остава една и съща, независимо от канала на
излъчване (напр., в случай на реклами)
v
Изключено: силата на звука се променя в
зависимост от сигнала на предаване.
Двоен звук
За двуезично предаване:
V
A за канал 1
v
B за канал 2
За стерео предаване:
V
Моно
v
Стерео
Когато се излъчва NICAM стерео,
на екрана за кратко се появява индикация NICAM.
Слушалки
i
Сила на звука
По-слабо
b
B
По-силно
i
Двоен звук
функцията е налична само когато е избран режим PAP:
V
Стеро
:
Звукът от екрана се излъчва едновременно
от
високоговорителите и от
слушалките.
v
PAP:
Звукът от левия екран се излъчва от
високоговорителите, а звукът от десния
екран се излъчва от слушалките.
За повече информация относно PAP, моля вижте раздел "Работа с PAP"
0
NICAM
NICAM
14
Използване на системата от менюта на телевизора:
Използване на менюто Възможности/Характеристики
1.
Натиснете бутона MENU на дистанционното управление, за да покажете менюто на екрана на
телевизора.
2.
Натиснете бутоните
v
или
V
,
за да изберете
за менюто "Възможности/Характеристики", а след
това натиснете
B
, за да влезете в менюто "Възможности/Характеристики".
3.
Натиснете бутоните
v
или
V
,
за да изберете желания елемент на менюто, и натиснете
B
за
потвърждаване. За описание на елементите на менюто и тяхното действие вж. таблицата по-долу.
4.
Натиснете бутоните
v
,
V
,
B
или
b
, за да изберете желаната настройка.
5.
Натиснете бутона OK за потвърждаване на избраната настройка.
6.
Ако желаете да изберете други елементи, повторете стъпки 3-5.
7.
Натиснете бутона MENU, за да изтриете менюто от екрана на телевизора.
Елемент
Действие/използване
Таймер самоизкл
Можете да избирате време, след което телевизорът се самоизключва
до режим на готовност.
V
Изключено
.
v
90 мин.
Забр. за деца
V
Изключено: Нормално
v
Включено: Натиснете бутоните на дистанционното управление, за да
превключите телевизора от режим на готовност. Бутоните на
телевизора не работят.
AV2 изход
V
Телевизионен аудио/видео сигнал от антената
AV1 аудио/видео сигнал от вход SCART 1
AV2 аудио/видео сигнал от вход SCART 2
AV3 аудио/видео сигнал от вход SCART 3
v
AV4 аудио/видео сигнал от съединителите отпред на телевизора
.
.
AV 4
15
Използване на системата от менюта на телевизора:
Използване на мулти-PIP
Режимът мулти-PIP (картина в картина) показва последователност от 12 стопирани картини, а 13-ата се движи. Можете
ръчно да разберете кой канал искате да гледате - или на цял екран, или в режим PIP.
Използване на PAP (картина и картина)
При характеристиката PAP екранът се разделя на две за гледане едновременно на два канала (като единият по желание може
да е от видео). Звукът на левия екран излиза от високоговорителите на телевизора, а звукът от десния екран може да се
избере през слушалки.
1. Натиснете бутона
на дистанционното управление, за да изберете режим мулти-PIP.
На екрана се появяват 13 програмни позиции, като показваният в момента канал е в
центъра.
2. Натискайте бутоните PROGR+/-, за да изберете следващите или предишните 12
програмни позиции.
3.
Натиснете бутоните
v
,
V
,
b
или
B
, за да се придвижвате между 13-те показвани канала.
4. Натиснете бутона OK, за да изберете оградения в рамка канал. Този канал се
премества в центъра.
5. Натиснете отново бутона OK, за да покажете избрания канал, или
, за да изтриете
режима мулти-PIP от екрана на телевизора.
Включване и изключване на PAP
Натиснете
веднъж, за да покажете екраните, и два пъти, за да изключите PAP.
Избор на източника за PAP
Натиснете
M
.
На десния екран се появява символът
M
.
Изберете желания източник с помощта на
цифровите бутони (за телевизионен канал) или
(за източник видео).
Размяна на екраните
Натиснете
, за да размените двата екрана.
Увеличаване на екраните
Натиснете бутоните
b
или
B
,
за да промените размера на двата екрана.
03
05
01
06
11
09
08
02
10
07
13
12
04
16
Използване на системата от менюта на телевизора:
Пренареждане на каналите на телевизора
След като настроите телевизора, можете с помощта на тази характеристика да промените реда на
каналите на телевизора.
1. Натиснете бутона MENU на дистанционното управление, за да покажете менюто на екрана на
телевизора.
2.
Натиснете бутона
V
,
за да изберете символа
на екрана на менюто, а след това натиснете
B
, за да
влезете в менюто "Настройка".
3.
Натиснете бутона
V
,
за да изберете "Сортиране на програмите", а след това натиснете B, за да
влезете в менюто "Сортиране на програмите".
4.
Натиснете бутоните
v
или
V
,
за да изберете канала, който искате да преместите, а след това
натиснете B за потвърждаване.
5.
Натиснете бутоните
v
или
V
, за да изберете новата програмна позиция (напр. ПРОГ 4) за избрания
от вас канал, а след това натиснете бутона OK за потвърждаване. Избраният канал се премества на
новата си програмна позиция, а другите канали се преместват по съответен начин.
6. Ако желаете да сортирате другите канали, повторете стъпки 4 и 5.
7. Натиснете бутона MENU, за да изтриете менюто от екрана на телевизора.
- - - - -
Ръчна настройка на телевизора
Вече сте настроили телевизора автоматично с помощта на инструкциите в началото на това ръководство.
Можете обаче да извършите тази операция и ръчно, като добавяте канали към телевизора един по един.
1. Натиснете бутона MENU на дистанционното управление, за да покажете менюто на екрана на
телевизора.
2.
Натиснете бутона
V
,
за да изберете символа
на екрана на менюто, а след това натиснете
B
,
за да
влезете в менюто "Настройка".
3.
Натиснете бутона
V
,
за да изберете "Ръчна настройка" на екрана на менюто, а след това натиснете B,
за да влезете в менюто "Ръчна настройка".
4.
Натиснете бутона
V
,
за да изберете "Ръчна настройка на програмите" на екрана на менюто, а след
това натиснете
B
, за да влезете в менюто "Ръчна настройка на програмите".
5.
Натиснете бутоните
v
или
V
,
за да изберете номера на програма за вашия канал (напр. ПРОГ 1 за
КАНАЛ 1), а след това натиснете
B
, за да осветите колонката "ПРОПУСКАНЕ".
Натиснете
v
,
за да изберете "ИЗК", а след това натиснете
B
,
за да осветите колонката "СИСТ".
6.
Натиснете бутоните
v
или
V
,
за да изберете системата на телевизионно предаване (B/G за
западноевропейските страни или D/K за източноевропейските страни) или "EXT" за източник на
сигнал от видео (AV1, AV2, ...), след което натиснете
B
за потвърждаване.
7.
Натиснете бутоните
v
или
V
,
за да изберете "C" за ефирни канали, "S" за кабелни канали или "F" за
входове с директна честота, след което натиснете
B
за потвърждаване.
8.
Изберете първата цифра от "КН" (канал), а след това втората цифра от "КН" с цифровите бутони на
дистанционното управление или натиснете бутоните
v
или
V
,
за да търсите следващия наличен канал.
9.
Ако не желаете да този канал да бъде запомнен на номера на програма, който сте избрали, натиснете
бутоните
v
или
V
,
за да продължите търсенето на желания канал.
10. Ако това е каналът, който искате да бъде запомнен, натиснете бутона OK.
11. Повторете стъпки 5-11, ако искате да бъдат запомнени още канали, а след това натиснете бутона
MENU, за да изтриете менюто от екрана на телевизора.
B/G
D/K
IRL
EXT
Ръчна настройка
O
- - - - - - -
17
Използване на системата от менюта на телевизора:
Наименуване на канал
Имената на каналите обикновено се взимат автоматично от Телетекст, ако има такъв в наличност. Можете обаче да
наименувате канал или входен сигнал от видео, като използвате до пет знака (букви и цифри)
.
Пропускане на програмни позиции
Тази функция ви дава възможност да пропускате неизползвани програмни позиции, когато ги избирате с
бутоните PROGR+/-. Все още обаче можете да избирате пропуснатата програмна позиция, като
използвате цифровите бутони.
1. Натиснете бутона MENU на дистанционното управление, за да покажете менюто на екрана на
телевизора.
2.
Натиснете бутона
V
,
за да изберете символа
на екрана на менюто, а след това натиснете
B
,
за да влезете в менюто "Настройка".
3.
Натиснете бутона
V
, за да изберете "Ръчна настройка", а след това натиснете
B
, за да влезете в
менюто "Ръчна настройка".
4.
Натиснете бутона
V
,
за да изберете "Ръчна настройка на програми", а след това натиснете
B
,
за
да влезете в менюто "Ръчна настройка на програми".
5.
Натиснете бутоните
v
или
V
,
за да изберете канала, който желаете да наименувате.
6.
Натиснете бутона
B
неколкократно, докато се освети първият елемент от колонката "ИМЕ".
7.
Натиснете бутоните
v
или
V
,
за да изберете буква или цифра (за интервал изберете "-"), а след
това натиснете
B
за потвърждаване. По същия начин изберете останалите четири знака.
8. След като сте избрали всичките четири знака, натиснете бутона OK.
9. Ако желаете да поставите име на други канали, повторете стъпки от 5 до 8.
10. Натиснете бутона MENU, за да изтриете менюто от екрана на телевизора.
1. Натиснете бутона MENU на дистанционното управление, за да покажете менюто на екрана
на телевизора.
2.
Натиснете бутона
V
,
за да изберете символа
на екрана на менюто, а след това натиснете
B
, за да влезете в менюто "Настройка".
3.
Натиснете бутона
V
,
за да изберете "Ръчна настройка", а след това натиснете
B
,
за да влезете
в менюто "Ръчна настройка".
4.
Натиснете бутона
V
,
за да изберете "Ръчна настройка на програма", а след това натиснете
B
,
за да влезете в менюто "Ръчна настройка на програма".
5.
Натиснете бутоните
v
или
V
,
за да изберете програмната позиция, а след това
B
,
за да
осветите колонката "ПРОП.".
6.
Натиснете бутоните
v
или
V
,
за да изберете "Изк" или "Вкл" (ако желаете да пропуснете тази
програмна позиция), а след това натиснете бутона OK за запомняне.
7. Повторете стъпки 5 и 6, ако желаете да пропуснете или прекратите пропускането на други
програмни позиции.
8. Натиснете бутона MENU, за да изтриете менюто от екрана на телевизора.
Manual Set Up
Select:
Enter:
Language/Country
Manual Programme Preset
Further Programme Preset
RGB Set Up
Picture Rotation
Personal ID
Demo
O
- - - - - - -
Ръчна настройка
O
- - - - - - -
Ръчна настройка
O
- - - - - - -
18
Използване на системата от менюта на телевизора:
Използване на характеристиката "Допълнителна настройка на програми"
С тази характеристика можете: а) да регулирате отслабването на всеки канал; б) да настройвате индивидуално силата
на звука на всеки канал; в) ръчно да настройвате фино телевизора за получаване на по-добро приемане на картина, ако
картината е изкривена или г) предварително да настроите изхода на AV за програмните позиции на канали с кодирани
сигнали (напр. от телевизионен декодер със заплащане). По този начин свързан видеокасетофон записва декодиран
сигнал.
Ръчна настройка
O
- - - - - - -
1. Натиснете бутона MENU на дистанционното управление, за да покажете менюто на екрана на
телевизора.
2.
Натиснете бутона
V
, за да изберете символа
на екрана на менюто, а след това натиснете B, за
да влезете в менюто "Настройка".
3.
Натиснете бутона
V
,
за да изберете "Ръчна настройка", а след това натиснете B, за да влезете в
менюто "Ръчна настройка".
4.
Натиснете бутона
V
, за да изберете "Допълнителна настройка на програми", а след това
натиснете B, за да влезете в менюто "Допълнителна настройка на програми".
5.
Натиснете бутоните
v
или
V
,
за да изберете съответния номер на програма, а след това натиснете
бутона B неколкократно, за да изберете: а) VOL б) AFT или в) ДЕКОДЕР. Избраният елемент
сменя цвета си.
6.
а)ATT - RF Атенюатор
Натиснете бутоните v или
V
,
за да включите или изключите атенюатора. Натиснете бутона OK
за потвърждаване на избора. Ако желаете да настройвате отслабването на радиочестота с
атенюатор на други канали.
б)VOL - Изместване на силата на звука
Натиснете бутоните
v
или
V
, за да регулирате нивото на звука (диапазон от -7 до +7) на канала. За
запомняне натиснете бутона OK. Ако желаете да настроите нивото на звука за други канали,
повторете стъпки 5 и 6б.
в) AFT - Автоматична фина настройка
Натиснете бутоните
v
или
V
, за да настроите фино честотата на канала в диапазон от -15 до +15.
Натиснете бутона OK за потвърждаване. Ако желаете да настроите фино други канали,
повторете стъпки 5 и 6в.
г)ДЕКОДЕР
Натиснете бутоните
v
или
V
, за да изберете AV1 или AV2 за програмната позиция, а след това
натиснете бутона OK за потвърждаване. Сега можете да свържете декодер към гнездото AV1
или AV2 на задната страна на телевизора и картината от този декодер ще се появи на този номер
програма. За настройване на AV изход за други програмни позиции повторете стъпки 5 и 6г.
7. Натиснете бутона MENU, за да изтриете менюто от екрана на телевизора.
Избор на характеристиката "Демо"
Тази функция предоставя преглед на някои от характеристиките, налични на вашия телевизор.
1. Натиснете бутона MENU на дистанционното управление, за да покажете менюто на екрана
на телевизора.
2.
Натиснете бутона
V
, за да изберете символа
на екрана на менюто, а след това натиснете
B
,
за да влезете в менюто "Настройка".
3.
Натиснете бутона
V
, за да изберете "Ръчна настройка", а след това натиснете
B
, за да влезете
в менюто "Ръчна настройка".
4.
Натиснете бутона
V
, за да изберете "Демо", а след това натиснете
B
, за да стартирате
демонстрацията (която продължава приблизително 5 минути).
5. Натиснете бутона
, за да изтриете демонстрацията от екрана на телевизора.
Ръчна настройка
O
- - - - - - -
19
Използване на системата от менюта на телевизора:
Настройка на геометрията на картината за източник на RGB
При свързване на източник на RGB, например телевизионна игра Sony, може да е необходимо пренастройване на
геометрията на картината.
1. Натиснете бутона
на дистанционното управление, за да изберете свързания източник на
RGB
.
2. Натиснете бутона MENU на дистанционното управление, за да покажете менюто на екрана на
телевизора.
3.
Натиснете бутона
V
, за да изберете символа
на екрана на менюто, а после натиснете
B
,
за да
влезете в менюто "Настройка".
4.
Натиснете бутона
V
, за да изберете "Ръчна настройка" на екрана на менюто, а след това
натиснете B, за да влезете в менюто "Ръчна настройка".
5.
Натиснете бутона
V
, за да изберете "RGB настройка" на екрана на менюто, а след това
натиснете
B
,
за да влезете в подменюто "RGB настройка".
6.
Натиснете
B
, за да изберете H Centre, а след това натиснете
v
или
V
,
за да регулирате центъра
на картината в диапазон от -10 до +10. С натискане на бутона OK новият диапазон се запомня.
7.
Натиснете
B
, за да изберете H Size, а след това натиснете
v
или
V
, за да регулирате
хоризонталните координати в диапазон от -10 до +10. С натискане на бутона OK новият
диапазон се запомня.
8. Натиснете бутона MENU, за да изтриете менюто от екрана на телевизора.
1
Настройка на завъртането на картината
По причина на земния магнетизъм е възможно картината да е наклонена. В такъв случай можете да
пренастроите картината.
1. Натиснете бутона MENU на дистанционното управление, за да покажете менюто на екрана
на телевизора.
2.
Натиснете бутона
V
, за да изберете символа
на екрана на менюто, а след това натиснете
B
,
за да влезете в менюто "Настройка".
3.
Натиснете бутона
V
,
за да изберете "Ръчна настройка", а след това натиснете
B
, за да влезете
в менюто "Ръчна настройка".
4.
Натиснете бутона
V
, за да изберете "Завъртане на картината", а след това натиснете
B
,
за да
влезете в подменюто "Завъртане на картината".
5.
Натиснете бутоните
v
или
V
, за да завъртите картината в диапазона от -5 до +5, а след това
натиснете бутона OK за запомняне.
6. Натиснете бутона MENU, за да изтриете менюто от екрана на телевизора.
- - - - -
- - - - -
Ръчна настройка
20
Използване на системата от менюта на телевизора:
Въвеждане на вашата лична идентификация
С помощта на тази характеристика можете да назначите код на защита на вашия телевизор, който ще
помогне за удостоверяване на телевизора, в случай че бъде откраднат и намерен. Моля да отбележите
обаче, че кодът на защита може да се въвежда само веднъж!
1. Натиснете бутона MENU на дистанционното управление, за да покажете менюто на екрана
на телевизора.
2.
Натиснете бутона
V
, за да изберете символа
на екрана на менюто, а след това натиснете
B
, за да влезете в менюто "Настройка"
3.
Натиснете бутона
V
,
за да изберете "Ръчна настройка" на екрана на менюто, а след това
натиснете
B
, за да влезете в менюто "Ръчна настройка".
4.
Натиснете бутона
V
, за да изберете "Лична идентификация" на екрана на менюто, а след
това натиснете
B
, за да влезете в подменюто "Лична идентификация".
5.
Натиснете бутоните
v
или
V
, за да изберете първия от общо 11 знака (буква, цифра, + или
интервал), а след това натиснете
B
, за да преминете към следващия знак.
6. Повторете стъпка 5, за да въведете всички знаци за кода.
7. Натиснете бутона OK за запомняне. На екрана се появява клетка на състоянието, която ви
подканва да въведете повторно кода си.
8.
Отново натиснете бутона OK за окончателно запомняне на кода или натиснете
b
за отказ.
9. Натиснете бутона MENU, за да изтриете менюто от екрана на телевизора.
Предварителна настройка и наименуване на входните сигнали
С помощта на тази характеристика можете автоматично да форматирате и наименувате входните
източници.
1. Натиснете бутона MENU на дистанционното управление, за да покажете менюто на екрана на
телевизора.
2.
Натиснете бутона
V
,
за да изберете символа
на екрана на менюто, а след това натиснете
B
,
за да влезете в менюто "Настройка".
3.
Натиснете бутона
V
,
за да изберете "AV Настройка" на екрана на менюто, а след това
натиснете
B
, за да влезете в менюто "AV Настройка".
4.
Натиснете бутоните
v
или
V
,
за да изберете желания AV вход (AV1, 2, 3 или 4).
5.
Натиснете бутона
B
, за да изберете "ИМЕ".
6.
Натиснете бутоните
v
или
V
, за да изберете първия знак на името, а след това натиснете
бутона
B
, за да преминете към следващия знак.
7. Повторете стъпка 7, за да изберете останалите 4 знака, които след това се запомнят с
натискане на бутона OK.
8. Повторете стъпки 4-8 за другите входни източници AV, а след това натиснете бутона MENU,
за да изтриете менюто от екрана на телевизора.
Ръчна настройка
-
- - - - - -
AV 1
AV 2
AV 3
AV 4
AV 1
AV 2
AV 3
AV 4
AV 1
AV 2
AV 3
AV 4
AV 1
AV 2
AV 3
AV 4
ВХОД
ЙМЕ
ВХОД
ЙМЕ
21
Допълнителна апаратура
Като използвате илюстрациите по-долу, към вашия телевизор можете да свързвате широка гама от аудио и
видео апаратура.
Свързване на допълнителна апаратура към телевизора
За да получите входния сигнал от свързаната апаратура на екрана на телевизора, трябва да изберете символа
на съединителя, към какъвто сте свързали устройството.
1. Като използвате илюстрациите по-горе, свържете вашата апаратура към съответното гнездо на телевизора.
2.
Натискайте бутона
на дистанционното управление, докато на екрана на телевизора се появи правилния символ на вход за
вашата апаратура (вж. таблицата по-долу):
* автоматично откриване на сигнала в съответствие със свързаната апаратура
3. Включете свързаната апаратура. Образ от тази апаратура /ако е налична/ щесе появи на екрана.
4. Натиснете
, за да се върнете към нормалния екран на телевизора.
Забележка: За да избегнете изкривяване на картината, не свързвайте едновременно апаратура към гнездата
F
и
G
.
Свързване на слушалките.
Включете елушалките във вход
E
на предната част на телевизора.
Символ на
екрана на
телевизора
Входни сигнали от съединителя
•
Аудио/видео входен сигнал през SCART съединител
A
или* RGB през SCART съединител
A
•
Аудио/видео входен сигнал през SCART съединител
B
или* S-видео през SCART съединител
B
•
Аудио/видео входен сигнал през SCART съединител
C
или* S-видео през SCART съединител
C
•
S-видео входен сигнал през 4-изводен DIN съединител
F
или* видео входен сигнал през фоно жак
G
и аудио входен сигнал през фоно жакове
H
1
2
3
4
B C
D
A
F
G
H
E
22
Допълнителна апаратура
Допълнителна информация при свързване с други уреди
.
Апаратура по избор
*
Ако има изкривяване на картината или звука, отдалечете видеокасетофона от телевизора.
*
Когато свързвате моно видеокасетофон, свържете само белия жак към телевизора и към видеокасетофона.
*
За информация как се избира изходния сигнал на SCART 2
/
, вж. стр. 14.
*
Когато свързвате допълнително хаи-фи оборудване, можете да
настроите силата на звука, като промените
настройката на слушалките в менюто за регулиране на звука - моля, консултирайте се с главата за
настройка на картината и звука в този наръчник.
2
s
2
Smartlink е директна връзка между телевизора и видеокасетофона.
За Smartlink ви е необходимо следното:
*
Видеокасетофон, който поддържа Smartlink, NexTView Link, Easy Link или Megalogic.
*
Напълно опроводен SCART кабел с 21 извода за свързване на видеокасетофона към съединителя SCART 2
/
.
Характеристиките на Smartlink са следните:
*
Информацията за настройване,
като ви
да на преглед на каналите, се прехвърля от телевизора към видеокасетофона.
*
С помощта на NexTView можете лесно да програмирате вашия видеокасетофон.
*
Директен запис от телевизора: докато гледате телевизия, е необходимо само да натиснете един бутон на видеокасетофона,
за да запишете тази програма.
Допълнителна информация по Smartlink потърсете в инструкциите за експлоатация на вашия видеокасетофон.
Smartlink
2
s
2
С помощта на бутоните под капачето на дистанционното управление можете да управлявате друга апаратура
на Sony.
1. Отворете капачето на дистанционното управление.
2. Задайте селектора VTR 1234 DVD в съответствие с апаратурата, която искате да управлявате:
VTR1 Beta VCR
VTR2 8mm VCR
VTR3 VHS VCR
VTR4 Digital Video (DCR-VX 1000/9000E,VHR-1000)
DVD Digital Video Disk
3. С помощта на бутоните на дистанционното управление управлявайте апаратурата.
*
Ако вашата апаратура има селектор КОМАНДЕН РЕЖИМ, установете този селектор на същото положение, както
и селектора VTR 1234 DVD на дистанционното управление на телевизора.
*
Ако на апаратурата няма дадена функция, съответният бутон на дистанционното управление не работи.
Дистанционно управление на друга апаратура на Sony
23
Допълнителна информация
Спецификации
Телевизионна система
B/G/H, D/K
Цветова система
PAL, SECAM
NTSC 3.58, 4.43 (само вход от Видео)
Обхват на каналите
Вж. "Таблица за показване на каналите" по-долу
Електроннолъчева тръба
FD Trinitron
Прибл. 72cm (29 инча), отклонение 104°
Задни клеми
/
21-изводен Euro съединител (стандарт CENELEC), включващ
аудио/видео вход, RGB вход, телевизионен аудио/видео
изход.
/
21-изводен Euro съединител (стандарт CENELEC), включващ
аудио/видео вход, S-видео вход, аудио/видео изход за
монитор.
/
21-изводен Euro съединител (стандарт CENELEC), включващ
аудио/видео вход, S-видео вход, аудио/видео изход за
монитор.
L/G/S/I
RCA конектори, изход за аудио сигнали
R/D/D/D
RF In
Клеми на предната страна
Âèäåî âõîä - ôîíî æàêîâå
Àóäèî âõîäîâå - ôîíî æàêîâå
S-âèäåî âõîä - 4-èçâîäåí DIN
Æàê çà ñëóøàëêè - ñòåðåî ìèíèæàê
1
s
1
2
s
2
3
s
3
4
4
s
4
Звуков изход
Ляв/Десен:
2x20W /музикална мощност/
2x10W (RMS)
суббас:
30W /музикална мощност/
15W (RMS)
Мощност на потребление
158W
Размери (шxвxд)
Прибл. 765x635x570 mm
Тегло
Прибл. 59 kg
Предоставяни принадлежности
Дистанционно управление RM-893 (1)
Батерии, определени от IEC, размер AA (2)
Други характеристики
Електроннолъчева тръба Trinitron с плоско
изображение, дигитално намаляване на
нивото на шума, картина 100 Hz, PAP, PAT,
M-PIP,
2000 стр. Памет на телетекста
,
графичен еквилайзер, лична
идентификация, таймер за самоизключване,
NexTView, Дигитален гребеновиден
филтър, Втори тунер.
Конструкцията и спецификациите
подлежат на изменение без
предупреждение.
Таблица за показване на каналите
Приемани канали
Изображения на каналите
B/G/H
E2..12, 21..69
C02..C12, C21..69
КАБЕЛНА ТВ
(1)
S1..S41
S01..S41
КАБЕЛНА ТВ
(2)
S01..S05
S42..S46
M1..M10
S01..S10
U1..U10
S11.S20
ИТАЛИЯ
A, B..H, H1, H2
C13..C20
D/K
R01..R12, R21..R69
C01..C12, C21..C69
S01..S05
S42..S46
24
Допълнителна информация
Ето някои прости решения на проблемите, които могат да засегнат картината и звука.
•
Ако тези проблеми продължат да се появяват, телевизорът трябва да бъде прегледан от квалифициран сервизен
техник.
•
НИКОГА не отваряйте сами кутията.
Отстраняване на неизправности
Проблем
Предложение за отстраняване
Липса на картина (екранът е
тъмен), липса на звук
•
Включете телевизора в мрежата.
•
Натиснете бутона
отпред на телевизора.
•
Ако индикаторът
е включен, натиснете бутона
или
цифров бутон на дистанционното управление.
•
Проверете свързването на антената.
•
Изключете телевизора за 3 или 4 секунди и след това отново го
включете, като използвате бутона
отпред на телевизора.
Лоша или липса на картина
(екранът е тъмен), но добър звук
•
С помощта на системата от МЕНЮТА изберете показване на
Настройка на
картината. Настройте нивата на яркостта, картинния и
цветовия баланс.
•
От изображението на Настройка на картината изберете
НУЛИРАНЕ, за да се върнете към фабричните настройки.
Добра картина, липса на звук
•
Натиснете бутона
на дистанционното управление.
•
Ако на екрана е показано
, натиснете бутона
на
дистанционното управление.
Липса на цвят или цветни програми.
•
С помощта на системата от МЕНЮТА, изберете показване на
Настройка на картината и регулирайте цветовата настройка.
•
От изображението на Настройка на картината изберете
НУЛИРАНЕ, за да се върнете към фабричните настройки.
Изкривяване на картината при
смяна
на програми или избиране на
Телетекст
•
Изключете всяка апаратура, свързана със съединителите
SCART на задната страна на телевизора.
Дистанционното управление не
функционира.
•
Заменете батериите.
Индикаторът за готовност
на
телевизора мига.
•
Обърнете се към най-близкия сервизен център на Sony.
Смущения в картината
предизвикани от външни източници.
•
намалете нивото на остротата
/
RU
Общие правила техники безопасности
Для Вашей безопасности
Не допускайте попадания каких-либо предметов
внутрь телевизора, так как это может привести к
возгоранию
или
поражению
электрическим
током. Не допускайте проливания каких-либо
жидкостей на телевизор. Если все же произошло
проливание жидкости или попадание какого-либо
предмета
внутрь
телевизора,
немедленно
выключите телевизор и не включайте его до тех
пор, пока его не проверит квалифицированный
мастер.
Не вскрывайте корпус и заднюю крышку
телевизора.
Обращайтесь
только
к
квалифицированному техническому персоналу.
Во избежание опасности возгорания или
поражения электрическим током оберегайте
телевизор от дождя и сырости.
В целях Вашей безопасности не прикасайтесь к
любым частям телевизора, сетевому шнуру
или антенному кабелю во время грозы.
Не перекрывайте вентиляционные отверстия в
телевизоре.
Для
обеспечения
нормальной
вентиляции
оставляйте
вокруг
телевизора
пространство не менее 10 см с каждой стороны.
Не
помещайте
телевизор
в
местах
с
повышенной температурой, влажностью или
запыленностью. Не устанавливайте телевизор
в
месте,
где
он
может
подвергаться
воздействию механической вибрации.
Во избежание возгорания не располагайте
вблизи телевизора легковоспламеняющиеся
предметы
и
источники
открытого
огня
(например, свечи)
Вытирайте
телевизор
мягкой,
слегка
увлажненной материей. Не применяйте бензин,
растворители и другие химикаты для протирки
телевизора. Не царапайте экран телевизора. В
целях безопасности вынимайте вилку питания
телевизора из розетки перед уборкой.
При отключении вилки питания от розетки
тяните за саму вилку, а не за провод питания.
Следите за тем, чтобы тяжелые предметы не
ставились на шнур питания, так как это может
привести к его повреждению.
Рекомендуется смтывать излишнюю длину
сетевого шнура на специальные держатели на
задней крышке телевизора.
Устанавливайте
телевизор
на
прочную,
устойчивую подставку. Не позволяйте детям
влезать на телевизор. Не ставьте телевизор
набок или экраном вверх.
Отключайте вилку питания телевизора из
розетки перед тем, как переставить телевизор.
При переноске телевизора будьте осторожны,
избегайте неровных поверхностей и чрезмерных
усилий. В случае падения или повреждения
телевизора нужно, чтобы его немедленно
проверил
квалифицированный
технический
персонал.
Не накрывайте вентиляционные отверстия
телевизора газетами, шторами и т.п.
Этот телевизор предназначен для работы
только от сети переменного тока напряжением
220-240 В. Не подключайте слишком много
электроприборов к одной розетке, так как это
может привести к возгоранию или поражению
электрическим током.
Из
соображений
безопасности
и
энергосбережения не рекомендуется оставлять
телевизо в дежурном режиме в то время, когда
он не используется. Отключайте телевизор от
сети сетевой кнопкой.
1
Информация по безопасности работы
Все телевизоры работают на сверхвысоком напряжении. Для предупреждения пожара или короткого замыкания выполняйте меры
безопасности, указанные на прилагаемом голубом листке.
Не закрывайте вентиляционные отверстия. Для вентиляции оставьте свободным пространство как минимум 10 см вокруг
телевизора.
Информация по безопасности работы
Содержание
Содержание
Установка
1. Проверка комплектующих принадлежностей
2. Установка батареек в пульт дистанционного управления
3. Подключение телевизора
4. Включение телевизора
5. Пользование джойстиком
6. Настройка телевизора
7.
Поиск видеоканала
2
2
3
4
4
5
5
Работа телевизора
Просмотр клавишей настройки телевизора
Просмотр клавишей дистанционного управления
NexTView
Телетекст
Использование системы меню телевизора
Регулировка изображения
Регулировка звука
Пользование меню параметров
Пользование системой мультиизображений PIP
Работа системы PAP (изображение и изображение)
Перераспределение телевизионных каналов
Ручная настройка телевизора
Обозначение каналов
Пропуск программных положений
Использование функции дополнительной настройки
Выделение функции “Демо”
Настройка поворота изображения
Настройка геометрии изображения от источника RGB-сигнала
Введение персональной идентификации
Предварительная настройка и маркировка входных сигналов
6
7
8
10
12
12
13
14
15
15
16
16
17
17
18
18
19
19
20
20
Дополнительное оборудование
Подключение к телевизору дополнительного оборудования
Дополнительная информация для подключения оборудования
Канал Smart
Пульт дистанционного управления другой аппаратуры Sony
21
22
22
22
Дополнительная информация
Технические характеристики
Таблица отображения каналов
Поиск неполадок
23
23
24
2
Выполните операции 1-7 для установки телевизора и просмотра телевизионных программ.
Установка
1. Проверка комплектующих принадлежностей
2. Установка батареек в пульт дистанционного управления
Пульт дистанционного управление
Батарейки
Соблюдайте полярность при установке батареек.
Выбрасывая отработанные батарейки, всегда помните о необходимости защиты окружающей среды.
3
Установка
3. Подключение телевизора
1. Соедините существующий антенный вывод с КВМ, как показано на рисунке.
2. Подключите антенный вывод КВМ от высокачастотного гнезда OUT на задней стороне
магнитофона к антенному гнезду на задней панели телевизора, как показано на рисунке.
3. Подключите КВМ к электрической сети и включите его.
4. Вставьте записанную кассету в КВМ и нажмите клавишу "PLAY".
1. Подключите имеющийся антенный вывод к обозначенному гнезду
на задней панели телевизора.
Подключение антенны к телевизору
Подключение антенны и КВМ к телевизору
Если вы не подключаете
телевизор к КВМ,
соедините его с антенным
выводом (как показано
слева) и переходите к
разделу "4. Включение
телевизора".
Если же вы подключаете
телевизор к КВМ,
смотрите раздел,
приведенный ниже.
Разъем scart является
дополнительным. При
его использовании,
однако, такое
дополнительное
соединение улучшает
качество изображения и
звука в режиме
воспроизведения.
OUT
IN
AERIAL
ANTENNA
AC IN
(существующий антенный вывод)
(разъем scart - не входит в
комплект)
4
Установка
1. Вставьте вилку телевизора в электрическую розетку (220-240 В перем. тока, 50 Гц) и
включите прибор.
2. Нажмите на клавишу on/off
на передней панели телевизора.
Если на передней панели телевизора горит индикатор режима ожидания, нажмите клавишу телевизора
на
панели дистанционного управления, чтобы включить телевизор. Проявите терпение, поскольку изображение может
появиться на экране телевизора через несколько секунд.
4. Включение телевизора
5. Пользование джойстиком
/
Для выбора пункта из меню
нажмите кнопку ОК в центре
джойстика.
Для перемещения по меню
нажмите соответствующую
клавишу-стрелку.
Движение джойстика
Нажатие джойстика
5
Language country
Select language:
Confirm:
Language
Country
Русский
Ъьларски
Ελληνικα
Türkçe
Suomi
Svenska
Portuguкs
Great Britain
1. Меню Язык/Страна появляется на экране телевизора с
выделенным словом "English".
2. Нажмите клавишу
v
или
V
на пульте дистанционного управления,
чтобы выделить выбранный вами язык, затем нажмите клавишу
ОК для подтверждения. Меню страны появляется на экране с
выделенным словом "OFF". Выделите "OFF", если не хотите
внести в ЗУ каналы в данной последовательности, начиная с
программного положения 1.
3. Нажмите клавишу
v
или
V
, чтобы выделить страну, в которой вы
пользуетесь телевизором, и нажмите клавишу ОК для
подтверждения сделанного вами выбора.
4. На экране телевизора появляется меню "самоподнастройки" на
выбранном вами языке. Нажмите клавишу ОК для подтверждения.
5. Проверьте подключение антенны, как указано выше, и нажмите
клавишу ОК для подтверждения. Телевизор начинает
автоматический поиск и внесение в память всех имеющихся
каналов. Это может занять несколько минут, наберитесь терпения и
не нажимайте никакие кнопки.
6. После подстройки телевизором всех имеющихся каналов на экране
появляется меню "Упорядочение программ", давая возможность
изменить порядок каналов в телевизоре. Чтобы изменить порядок
каналов нажмите клавишу
v
или
V
для выделения канала, который
вы хотите передвинуть, затем нажмите
B
. Нажмите клавишу
v
или
V
, чтобы выделить новый номер положения программы для
выделенного канала, и для подтверждения нажмите клавишу ОК.
Выделенный канал перемещается в свое новое программное
положение, и соответствующим образом передвигаются другие
каналы. Повторите эти операции, если хотите упорядочить другие
каналы телевизора.
7.
Нажмите клавишу MENU, чтобы убрать меню с экрана
телевизора.
8. Нажмите клавиши PROGR+/- или цифровые клавиши, чтобы
просмотреть телевизионные каналы.
Примечание :при желании остановить процесс самоподнастройки на
любом этапе нажмите клавишу ОК.
Если вы подключили КВМ к телевизору, вам нужно найти видеоканал.
1. Нажимайте клавиши PROGR+/- на пульте дистанционного управления, пока видеоизображение не появится на экране
телевизора.
Примечание :при желании переместить видеоканал в другое программное положение, смотри раздел "Упорядочение
телевизионных каналов" данного руководства.
7. Поиск видеоканала
Программ
Установка
Перед настройкой телевизора вас попросят ввести нужный вам язык и страну нахождения.
6. Настройка телевизора
Да :
OK
Нет :
Вы хотите начать
автонастройку ?
Удостовсрьтесь, что
антенна подсоединена
Да :
OK
Нет :
1
2
3
4
5
6
7
8
9
0
6
Работа телевизора
Просмотр клавишей настройки телевизора
Регулировочные клавиши
уровня громкости.
Для усиления громкости нажмите
(+) / для понижения громкости (-).
Клавиша входного
видеосигнала.
Нажмите для выделения входных
сигналов от КВМ и проч.
Клавиши программ
вверх (+) или вниз (-).
Нажмите для выбора
телевизонных каналов.
Чтобы открыть контрольную панель и получить
доступ к фронтальным разъемам и кнопкам
управления телевизором, нажмите на нее снизу.
Контрольная панель откроется вниз.
Кнопка возврата к первоначальной
установке.
Нажмите на эту кнопку для возврата к
заводским установкам изображения и
звука. На экране появится логотип
“Sony”, а затем экран “Автонастройка”.
Если Вы не хотите снова настроить Ваш
телевизор, нажмите на кнопку
b
на
пульте ДУ.
7
Работа
Просмотр клавишей дистанционного управления
Для временного выключения телевизора
Нажмите, чтобы временно выключить телевизор.
Нажмите еще раз, чтобы вывести телевизор из режима
ожидания. Для экономии электроэнергии рекомендуем
полностью выключать телевизор, когда вы им не
пользуетесь. ПРИМЕЧАНИЕ: через 15-30 минут без
телевизионного сигнала и без нажатия какой-либо клавиши
телевизор автоматически переключается в режим
ожидания.
Для открытия экранной информации
Нажмите для открытия всех экранных указаний. Нажмите
еще раз, чтобы убрать их. В режиме Телетекста нажмите
клавишу, чтобы увидеть страницу с указателем (обычно
страница 100) и затем нажмите еще раз, чтобы убрать ее.
Для выделения входного сигнала или
фиксации телетекста
Нажмите для выделения входных сигналов от
телевизионных гнезд (смотри раздел об использовании
дополнительного оборудования). В режиме Телетекста
нажмите, чтобы зафиксировать отображенную на экране
страницу. Нажмите еще раз, чтобы убрать ее.
Смотри раздел "Работа системы PAP" данного руководства
для получения более подробной информации.
Для возврата на предыдущий канал
Нажмите, чтобы вернуться на предыдущий канал, который
вы раньше смотрели. Примечание: это можно сделать
только после просмотра имеющегося канала в течение 5
секунд.
Нажмите, чтобы включить и выключить режим
мультиизображений PIP.
Для изменения экранного формата
Нажмите, чтобы изменить размер экрана.
Ключи быстрого текста Fastext
Для более подробной информации смотри раздел
Телетекст руководства.
Для выделения элементов меню
Используйте клавишу ОК и клавиши-стрелки для
выделения дополнительных функций, имеющихся в
системе меню телевизора.
Для выведения меню на экран
Нажмите, если хотите использовать систему меню
телевизора. Нажмите еще раз, чтобы убрать меню с экрана
телевизора.
Для выделения каналов
Нажмите для выделения каналов.
Для отключения звука
Нажмите, чтобы отключить звук телевизора.
Нажмите еще раз, чтобы восстановить
воспроизведение звука.
Для возвращения в режим телевидения
Нажмите, чтобы вернуться к нормальной работе
из режима телетекста или ожидания.
Для выделения Телетекста
Нажмите, чтобы включить и выключить
Телетекст.
Для выделения Электронного
руководства программ (EPG)
Нажмите, чтобы включить и выключить EPG.
Для выполнения стоп-кадра
Нажмите, если хотите записать какую-либо
информацию на экране телевизора, к примеру,
номер телефона. Нажмите еще раз, чтобы
вернуться в нормальный режим телевидения.
Для выделения каналов
Нажмите цифровые клавиши, чтобы выделить
каналы.
Для программ с двухзначными номерами,
например 23, сначала нажмите -/-- и затем клавиши
2 и 3.
Для воспроизведения меню изображения
Нажмите, чтобы изменить настройку
изображения. Нажмите клавишу OK, чтобы
убрать воспроизведение.
Для воспроизведения звукового меню
Нажмите, чтобы изменить звуковые настройки.
Нажмите клавишу OK, чтобы убрать
воспроизведение.
Для воспроизведения Таблицы программ
Нажмите клавишу OK. Нажмите
v
или
V
, чтобы
выделить нужный канал, затем нажмите
B
для
подтверждения.
Для настройки уровня звука телевизора
Нажмите, чтобы отрегулировать уровень звука
телевизора.
Для восстановления заводской настройки.
Откройте крышку пульта дистанционного
управления и нажмите для восстановления
заводской настройки изображения и звука.
После "Установки"; на экране телевизора
появляется меню; по разделу данного
руководства "Выбор языка и страны" измените
сделанный вами выбор языка и страны по
желанию.
Для выведения на экран времени
Откройте крышку пульта дистанционного
управления и нажмите, чтобы вывести время на
экран.
Для работы видеоаппаратуры
Откройте крышку пульта дистанционного
управления и нажмите эти кнопки, чтобы привести в
действие видеоаппаратуру (смотри руководство
КВМ).
8
Работа
*зависит от наличия услуги.
NexTView представляет собой электронное программное руководство с информацией по программам на 1 неделю* для всех
каналов, поддерживаемых EPG.
*Если данные превышают объем памяти NexTView, вы будете получать информацию меньше, чем на 7 дней.
NexTView*
Выведение на экран NexTView
Сначала нужно выделить канал, обеспечивающий услугу NexTView. В таком случае индикация "NexTView" выводится на экран,
как только все данные готовы.
1. Несколько раз нажмите клавишу
на пульте дистанционного управления, чтобы включить и выключить NexTView.
2. Нажмите клавиши
v
,
V
,
b
или
B
, чтобы переместить курсор по экрану.
3. Нажмите клавишу ОК для подтверждения выбора.
a. Если нажать на клавишу ОК в колонках даты, времени или пиктограммы (темы), можно изменить перечень программ
согласно выбору.
b. При нажатии клавиши ОК в перечне программ, на экран сразу выводится канал, если в настоящее время есть телевещание,
или на экран выводится меню "Полная информация", если телевещание будет иметь место в ближайшее время.
Указатель
полный список выбора
индивидуальный выбор
новости телевизионного вещания
кинофильмы
спорт
развлеrательные программы
дети
возврат в последнее меню
7
Tue
07 Tue
12:38
8
Wed
10
Fri
11
Sat
12
Sun
13
Mon
9
Thu
12
SWISS
Star Wars
Super RTL
Fantasy film, USA, 1996
Werner - Beinhart
Pro 7
Flui grüsst den Rest der Welt
Kabel 1
Once upon a time in the West
Euronews
International News
RTL Plus
10:35 - 12:45
10:20 - 12:00
10:45 - 10:50
11:00 - 11:20
11:45 - 12:50
TXT
TPS / RINGIER
Tue 07. 04 .98
9
Пользование меню "Индивидуальная настройка"
При выделении пиктограммы
можно выделить только нужные вам элементы, ограничив их поиск выделенными элементами.
1. Нажмите
v
или
V
, чтобы выделить пиктограмму
, и нажмите
B
, чтобы вывести на экран меню "Индивидуальная
настройка".
2. Нажмите
v
или
V
, чтобы выделить на экране выбранный вами элемент и нажмите клавишу ОК для подтверждения выбора.
3. Повторите операцию 2 для всех элементов, которые вы хотите иметь в вашем списке.
4. По завершении списка нажмите
B
, чтобы выделить
на экране меню.
5. Нажмите клавишу ОК.
Пользование меню "Полная информация"
1. Нажмите
v
или
V
, чтобы выделить будущую программу в колонке со списком программ.
2. Нажмите клавишу ОК, чтобы вывести на экран меню "Полная информация".
3. При наличии КВМ с каналом smart и при желании записать выделенную программу на видеомагнитофон нажмите
b
, чтобы
выделить
, и нажмите клавишу ОК для передачи информации на КВМ.
4. Для настройки КВМ:
VPS/PDC
Несколько раз нажмите
b
, чтобы выделить VPS/PDC, затем нажмите клавишу ОК, чтобы выделить "On" или "Off". При
такой настройке вам обеспечивается гарантированная запись всей телепередачи, даже если в телевизионной программе
произойдет изменение. Эта функция действует, только если выделенный канал передает сигнал VPS/PDC.
Скорость
Нажмите
V
, чтобы выделить элемент "Скорость", затем нажмите клавишу ОК, чтобы выделить "SP" для стандартного
воспроизведения или "LP2" для долгоиграющего. В функции долгоиграющего воспроизведения можно записать в два раза
больше на видеопленку. При этом, однако, может ухудшиться качество изображения.
Настройка КВМ
Нажмите
V
, чтобы выделить элемент "Настройка КВМ", затем нажмите клавишу ОК для выделения того КВМ, который вы
хотите запрограммировать, а именно "VCR1" или " VCR2".
5. Затем нажмите
B
, чтобы выделить пиктограмму
, затем нажмите клавишу ОК, чтобы убрать меню с экрана телевизора.
Работа
NexTView
07 Tue
12:38
Address Mapping
The position of the addresses in the
OSDA is shown in the following diagram.
The position values of the DPW are set
to '0'.
If other values are set, the complete
combination will be scrolled.
Example:
if the DPWC is set to '63', the char-
Speed
Timer Prog
VPS/PDC
SP
VCR1
On
This channel has been set for a timer
First nextTView/EPG-Providers in Europe
SWISS
TXT
TPS / RINGIER
nexTView
Tue 07. 04 .98
10
Работа
Наибольшее число телевизионных каналов передают информацию по Телетексту. Страница с указателем услуг Телетекста
(обычно страница 100) предоставляет информацию о том, как ими пользоваться. Пользуйтесь телевизионным каналом с сильным
сигналом передачи, в противном случае в Телетексте могут быть ошибки.
Телетекст
Включение и выключение Телетекста
1. Выделите телевизионный канал передачи Телетекста, который вам нужно посмотреть.
2. Один раз нажмите
для получения Изображения и Телетекста (P&T). Экран разделен
на две части с указанием телевизионного канала в правом углу и дисплеем телетекста в
левом.
Режим P&T: нажмите клавишу PROGR+/-
, чтобы переключить канал на
телевизионном экране. Нажмите
b
или
B
, чтобы изменить размер экранного
меню. Нажмите *** еще раз, чтобы восстановить нормальный прием телетекста.
3. Нажмите
два раза, чтобы видеть только Телетекст.
4. Нажмите
три раза для смешанного режима.
5. Нажмите
в четвертый раз, чтобы выключить Телетекст.
Выделите страницу Телетекста
Введите три цифры номера страницы цифровыми клавишами на пульте управления. В случае
ошибки наберите любые три цифры и повторно введите номер нужной страницы.
Использование других функций Телетекста
Выделение следующей или предыдущей страницы
Нажмите клавишу
или
на пульте дистанционного управления для выделения
предыдущей или следующей страницы.
Выделение подстраницы
Страница телетекста может сосотоять из нескольких суб-страниц. В этом случае
появляется информационная строка, показывающая число суб-страниц. Выберите суб-
страницу, нажимая
v
или
V
.
Стоп-кадр страницы Телетекста
Нажмите клавишу
, чтобы зафиксировать страницу. Нажмите еще раз, чтобы снять стоп-
кадр.
Открытие страницы с указателем
Нажмите
клавишу, чтобы открыть страницу (обычно страница 100). Нажмите еще
раз, чтобы убрать ее.
Использование цветных клавиш для доступа к страницам (Fastext)
(данная функция имеется только, если телевизионная станция передает сигналы Fastext)
При появлении меню цветной кодировки внизу страницы нажмите цветную клавишу на пульте
дистанционного управления (зеленую, красную, желтую или синюю), чтобы выйти на
соответствующую страницу.
Использование функции "Ловушка страницы"
1. Нажмите цифровые клавиши на пульте дистанционного управления для выделения
страницы телетекста, на которой указаны несколько страничных номеров (напр., страница
указателя).
2. Нажмите клавишу OK.
3. Нажмите
v
или
V
, чтобы выделить номер нужной страницы, затем нажмите клавишу ОК.
Заказанная страница выводится на экран через несколько секунд.
Index
TELETEXT
TELETEXT
Programme
News
Sport
Weather
25
153
101
98
Index
TELETEXT
Programme
News
Sport
Weather
25
153
101
98
Index
TELETEXT
Programme
News
Sport
Weather
25
153
101
98
m
m
216-02
01
03
04
05
06
07
08
02
11
Работа
Телетекст
Обэор станиц
.
.
Использование меню Телетекста
1. Нажмите клавишу MENU на панели дистанционного управления для выведения меню на
экран телевизора.
2. Нажмите клавишу
v
или
V
, чтобы выделить выбранный вами на экране элемент, затем
нажмите клавишу
B
для отображения соответствующего подменю.
3. Чтобы снять с экрана меню Телетекста, нажмите клавишу MENU.
Вверх/Внизy/Полн.
Подменю Вверх/Внизy/Полн. позволяет расширять различные разделы страницы Телетекста.
Нажмите
v
, чтобы увеличить верхнюю половину экрана. Нажмите
V
, чтобы увеличить
нижнюю половину экрана. Нажмите клавишу ОК, чтобы восстановить нормальный размер
страницы. Нажмите
b
, чтобы вернуться на экран меню Телетекста.
Yдaпить текста*
*
возможно в режимах Телетекст или Микс (см. “Включение и выключение телетекста”)
Функция удаления текста позволяет смотреть телевизионный канал во время поиска
страницы телетекста.
Покaзывать
Некоторые страницы телетекста содержат скрытую информацию (например, викторина),
которую можно показать.
Время страницы*
*
в зависимости от предоставляемого сервиса, функция Время страницы возможна в
режимах Телетекст или Микс
Функция Время страницы позволяет вызвать и настроить время у страниц телетекста с
временным кодом (например, страница-предупреждение).
Обзор станиц*
*
возможно только при условии трансляции телетекста TOP-Text.
В этом меню страницы TOP-Text разделяются на две колонки, первая колонка показывает
блоки страниц, а вторая показывает группы страниц.
1.
Нажмите два раза кнопку
на пульте ДУ для выбора полной страницы текста.
2. Нажмите кнопку MENU для вывода меню телетекста.
3.
Нажмите
v
или
V
,
чтобы выбрать “Удалить текст”, и нажмите
B
для ввода.
4.
На экране появится текущий телевизионный канал. Когда завершится поиск
страницы телетекста, синий символ
появится в левом верхнем углу экрана.
5.
Нажмите кнопку
на пульте ДУ для просмотра страницы.
1. В режиме телетекста нажмите кнопку MENU на пульте ДУ для вывода меню
телетекста.
2.
Нажмите
v
или
V
, чтобы выбрать “Показывать”, и нажмите
B
для ввода. На экране
появится скрытая информация.
1. В режиме телетекста нажмите кнопку MENU на пульте ДУ для вывода меню
телетекста.
2.
Нажмите
v
или
V
, чтобы выбрать “Время страницы”, и нажмите
B
для ввода. На
экране появится суб-меню “Время страницы”.
3. Введите нужный номер страницы, пользуясь кнопками с цифрами на пульте ДУ.
4. Введите нужное время, пользуясь пультом ДУ.
5. Нажмите ОК для подтверждения ввода. Телевизор выйдет из режима телетекста, и
время будет отображатся в левом верхнем углу экрана. В заданное время появится
выбранная страница.
1.
Нажмите
b
или
B
для выбора первой или второй колонки.
2.
Нажмите
v
или
V
для выбора соответствующего блока или группы страниц.
3. Нажмите ОК для вывода выбранных страниц.
12
Работа
Телевизор располагает системой меню, основанной на серии удобных для пользователя экранных изображений и меню. Эти
воспроизведения дают вам возможность получить наибольшую отдачу от эксплуатации телевизора, помогая менять настройку
изображения и звука, менять размеры телевизионного изображения, перераспределять телевизионные каналы и т. д.
Настройка изображения и звука
На заводе изготовителе выполнена предварительная настройка изображения и звука. Тем не менее их можно отрегулировать по
собственному усмотрению.
Использование системы меню телевизора
1. Нажмите клавишу MENU на пульте дистанционного управления для выведения меню на
телевизионный экран.
2. Нажмите клавиши
v
или
V
, чтобы выделить
для настройки изображения или
для
звуковой настройки, затем нажмите
B
для введения меню "Настройка изображения"или
меню "Настройка звука".
3. Нажмите клавиши
v
или
V
для выделения на экране элементов, которые вы хотите
настроить, затем нажмите
B
для подтверждения. Описание элементов меню и их эффектов
смотри в приведенной ниже таблице.
4. Нажмите клавиши
v
,
V
,
B
или
b
для настройки выделенных элементов.
5. После регулировки нужных элементов нажмите клавишу ОК для введения в ЗУ новой
настройки.
6. Повторите операции 3-5 при желании настроить любые другие элементы.
7.
Нажмите клавишу MENU, чтобы убрать меню с экрана телевизора.
Регулировка изображения
Элемент
Эффект/Действие
Режим изображения
V
Live (для прямой трансляции)
Персональный (для индивидуальной настройки)
Фильм (для трансляции кинофильмов)
v
Игра (для компьютерных игр)
Контраст
меньше
b
B
больше
Яркость*
темнее
b
B
светлее
Hасыщенность*
бледнее
b
B
ярче
Цветовой тон**
красноватый
b
B
зеленоватый
Четкость*
более размытая
b
B
более отчетливая
*
Только если в позиции “Режим изображения” выбрано “Персональный”
**
Только для цветовoй системы NTSC
Стандарт
Приводит изображение на уровень заводской настройки
AI (Искусст
V
Off :
Нормальный
интеллект)
v
On :
Автоматическая оптимизация уровня
контрастности применительно к телевизионному
сигналу.
Понижение шума
V
Сильное: Сильное понижение шума.
Среднее:
Среднее понижение шума.
Слабое:
Слабое понижение шума.
Авто:
Оптимальное понижение шума
выбирается автоматически
.
v
Выкл.:
Выключение понижения шума.
Цифровой режим
V
Нормальный: Базовое качество изображения 100Гц.
DRC 50:
Улучшенное качество изображения для
просмотра сменяющихся символов.
v
DRC 100: Оптимальное качество изображения без
мерцания и помех.
Цветовой тон
V
Теплый:
Придает теплый оттенок изображению.
Нормальный: Нормальный.
v
Холодный: Придает холодный оттенок изображению.
.
DRC 100
Репортаж
Индивид.
Кино
Игра
Сильное
Среднее
Слабое
Авто
Выкл.
13
Использование системы меню телевизора:
0
Регулировка звука
Элемент
Эффект/Действие
Режим эквалайзера
V
Персональный
Голос
Джаз
Рок
Поп
v
Фоновый экран (фиксированная настройка, не может
быть отрегулирована)
Настройка эквалайзера
Можно отрегулировать способ, выбранный в режиме
эквалайзера путем прямого перехода и подъема 5 выбранных
частотных диапазонов. Нажмите
b
или
B
для выбора полосы
частот и затем
V
или
v
для регулировки частоты. Наконец
нажмите клавишу OK для введения в ЗУ новой настройки.
При желании сохранить в памяти новую настройку необходимо настроить режим
эквалайзера на "Персональный". Персональный режим неизменно хранит настройку в
памяти, все прочие режимы (Голос, Джаз, Рок, Поп) сохраняют информацию в памяти
только до изменения следующего режима.
Баланс
b
Сдвиг влево
B
Сдвиг вправо
Громкость
V
Выкл.: Нормальная
v
Вкл.: Для музыкальных передач
Пространство
V
Выкл.: Нормальный
v
Вкл.: Специальный акустический эффект
Авторег. громкости
V
On : уровень громкости каналов остается неизменным
независимо от сигнала телевещения (напр., в случае
рекламы)
v
Off : уровень громкости меняется по сигналу
трансляции.
Двойной звук
Для двухязычного вещания:
V
A для канала 1
v
B для канала 2
Для стерео телевещания:
V
Моно
v
Стерео
Когда передается стерео NICAM, на экране ненадолго появляется указание NiCAM.
Наушники
i
Громк. телeфниже
b
B
выше
i
Двойной звук
Возможно только в режиме РАР.
V
Стерео
:
Звук с одного экрана идет и через
динамики телевизора, и через наушники.
v
PAP:
Звук с левого экрана идет через динамики
телевизора, звук с правого экрана идет
через наушники.
Для более подробной информации обратитесь к описанию функций в режиме РАР.
0
NICAM
NICAM
14
Использование системы меню телевизора:
Использование меню параметров
1. Нажмите клавишу MENU на пульте дистанционного управления, чтобы вывести меню на экран
телевизора.
2. Нажмите клавиши
v
или
V
, чтобы выделить
для меню "Параметры", затем нажмите
B
для
введения меню "Параметры".
3. Нажмите клавиши
v
или
V
, чтобы выделить нужный элемент меню, затем нажмите
B
для
подтверждения. Описание элементов меню и их эффектов смотри в приведенной ниже таблице.
4. Нажмите клавиши
v
,
V
,
B
или
b
, чтобы выделить нужную настройку.
5. Нажмите клавишу ОК, чтобы подтвердить ваш выбор настройки.
6. Повторите операции 3-5 при желании выделить любой другой элемент.
7.
Нажмите клавишу MENU, чтобы убрать меню с экрана телевизора.
Элемент
Эффект/Действие
Таймер режима ожидания Вы можете выделить время, по истечении которого телевизор сам
переключается в режим ожидания.
V
Off
.
v
90 мин
Oикcация
V
Off : нормальная
v
On : нажмите клавиши на пульте дистанционного управления, чтобы
вывести телевизор из режима ожидания. Клавиши на телевизоре не
действуют.
AV2 Выод
V
аудио/видео телевизионный сигнал от антенны
AV1 аудио/видео сигнал от разъема scart 1
AV2 аудио/видео сигнал от разъема scart 2
AV3 аудио/видео сигнал от разъема scart 3
v
AV4 аудио/видео сигнал от разъемов на передней панели телевизора
AV2 Выод
AV2 Выод
15
Использование системы меню телевизора:
Использование системы мультиизображений PIP
Режим мультиизображения PIP (изображение в изображении) выводит на экран непрерывный ряд из 12 неподвижных
изображений, а 13-е изображение соответствует трансляции. Можно вручную выделить канал, который вы хотите смотреть,
как в режиме полного экрана, так и в режиме PIP.
Работа системы PAP (изображение и изображение)
Данная функция PAP делит экран на две части для одновременного просмотра двух каналов (один из которых, при
желании, от видеоисточника). Звук с левой стороны экрана идет через телевизионные динамики, а звук с правой стороны
экрана может быть получен через наушники.
1. Нажмите клавишу
на пульте дистанционного управления, чтобы выделить режим
мультиизображения PIP. На экране появляются 13 программных положений с каналом,
который вы смотрите, в центре.
2. Несколько раз нажмите клавиши PROGR+/- , чтобы выделить 12 следующих или
предыдущих программных положений.
3. Нажмите клавиши
v
,
V
,
b
или
B
, чтобы перемещаться по 13 выведенным на экран каналам.
4. Нажмите клавишу ОК, чтобы выделить взятую в рамку канал. Этот канал перемещается
теперь в центр.
5. Еще раз нажмите клавишу ОК, чтобы вывести на экран выделенный канал, или нажмите
, чтобы убрать режим мультиизображения PIP с телевизионного экрана.
Включение и выключение режима PAP
Нажмите
один раз, чтобы отобразить экраны, и два раза, чтобы выключить PAP.
Выбор звука для наушников
Включите PAP и согласно пункту “Настройка изображения и звука” установите “Dual
Sound” в режим “PAP”
.
Выбор источника PAP
Нажмите
M
. Символ
M
появляется на правой стороне экрана. Выделите нужный источник при
помощи цифровых клавиш (для телевизионного канала) или
(для видеоисточника).
Смена экранов
Нажмите
, чтобы заменить два экрана.
Масштабирование экранов
Нажмите клавиши
b
или
B
, чтобы изменить размер двух экранов.
03
05
01
06
11
09
08
02
10
07
13
12
04
16
Использование системы меню:
Перераспределение телевизионных каналов
Настроив телевизор, можно использовать эту функцию для изменения порядка каналов в телевизоре.
1. Нажмите клавишу MENU на пульте дистанционного управления, чтобы вывести меню на экран
телевизора.
2. Нажмите клавишу
V
, чтобы выделить символ
на экранном меню, затем нажмите
B
, чтобы
ввести меню "Установки".
3. Нажмите клавишу
V
, чтобы выделить функцию "Сортировка программ", затем нажмите
B
, чтобы
ввести меню "Сортировка программ".
4. Нажмите клавиши
v
или
V
, чтобы выделить канал, который нужно передвинуть, затем нажмите
B
для подтверждения.
5. Нажмите клавиши
v
или
V
, чтобы выделить новое положение программы (напр. ПРОГ 4)
выделенного канала, затем для подтверждения нажмите клавишу ОК. Выделенный канал
перемещается в новое программное положение, и соответственно перемещаются и другие каналы.
6. Повторите операции 4 и 5, если нужно переместить другие каналы.
7. Нажмите клавишу MENU, чтобы убрать меню с экрана телевизора.
Программ
Программ
Ручная
- - - - -
Ручная настройка телевизора
Вы уже выполнили автоматическую настройку телевизора по инструкциям в начале руководства. Можно также выполнить
эту операцию вручную, добавляя по одному телевизионные каналы.
1. Нажмите клавишу MENU на пульте дистанционного управления, чтобы вывести меню на экран
телевизора.
2. Нажмите клавишу
V
, чтобы выделить символ
на экранном меню, затем нажмите
B
, чтобы ввести
меню "Yстановки".
3. Нажмите клавишу
V
, чтобы выделить функцию "Ручная Yстановкa" на экранном меню , затем
нажмите
B
, чтобы ввести меню "Ручная Yстановкa".
4. Нажмите клавишу
V
, чтобы выделить функцию "Ручная настройка программ" на экранном меню ,
затем нажмите
B
, чтобы ввести меню "Ручная настройка программ".
5. Нажмите клавишу
v
или
V
, чтобы выделить номер программы для вашего канала (напр. ПРОГР 1
для BBC1), затем нажмите
B
, чтобы выделить колонку "Пропуск".
6. Нажмите
v
, чтобы выделить "OFF", затем нажмите
B
, чтобы выделить колонку "СИСТ".
7. Нажмите клавишу
v
или
V
, чтобы выделить систему телевещения (B/G для западноевропейских
стран, D/K для восточноевропейских стран) или "EXT" для входного видеосигнала (AV1, AV2, ...) ,
затем нажмите
B
для подтверждения.
8. Нажмите клавишу
v
или
V
, чтобы выбрать "С" для наземных каналов, "S" для кабельных каналов
или "F" для прямых частотных вводов, затем нажмите
B
для подтверждения.
9. Выделите первый номер "KAH" (канал) затем второй номер "KAH" цифровыми клавишами на
пульте дистанционного управления или
Нажмите
V
для поиска следующего имеющегося канала.
10. Если вы не хотите сохранить этот канал на выбранном вами номере программы, нажмите клавишу
v
или
V
для продолжения поиска нужного канала.
11. При желании сохранить этот канал нажмите клавишу ОК.
12. Повторите операции 5-11, если нужно сохранить несколько каналов, затем нажмите клавишу MENU,
чтобы убрать меню с экрана телевизора.
B/G
D/K
IRL
EXT
настройка программ
17
Использование системы меню телевизора:
Обозначение каналов
Названия каналов как правило берутся автоматически из Телетекста, если он имеется. Вы, однако, можете сами
обозначить канал или входной видеосигнал, используя до пяти знаков (букв или цифр).
Пропуск программных положений
Эта функция дает возможность пропустить неиспользуемые программные положения при переключении программ
клавишами PROGR+/-. Тем не менее при помощи цифровых клавиш можно также выделить пропущенные положения
программ.
1. Нажмите клавишу MENU на пульте дистанционного управления, чтобы вывести меню на
экран телевизора.
2. Нажмите клавишу
V
, чтобы выделить символ
на экранном меню, затем нажмите
B
,
чтобы ввести меню "Yстановки".
3. Нажмите клавишу
V
, чтобы выделить функцию "Ручная yстановкa", затем нажмите
B
,
чтобы ввести меню "Ручная yстановкa".
4. Нажмите клавишу
V
, чтобы выделить функцию "Pучная настройка программ", затем
нажмите
B
, чтобы ввести меню "Pучная настройка программ".
5. Нажмите клавишу
v
или
V
, чтобы выделить канал, который вы хотите обозначить.
6. Нажмите клавишу
B
несколько раз, пока не выделится первый элемент колонки
"НАЗВАНИЕЕ".
7. Нажмите клавишу
v
или
V
, чтобы выделить букву или цифру (выделите "-" для
пропуска), затем нажмите
B
для подтверждения. Таким же образом выделите еще четыре
знака.
8. Выделив все знаки, нажмите клавишу ОК.
9. Повторите операции с 5 по 8 при желании обозначить другие каналы.
10. Нажмите клавишу MENU, чтобы убрать меню с экрана телевизора.
1. Нажмите клавишу MENU на панели дистанционного управления, чтобы вывести меню на
экран телевизора.
2. Нажмите клавишу
V
, чтобы выделить символ
на экранном меню, затем нажмите
B
,
чтобы ввести меню "Yстановки".
3. Нажмите клавишу
V
, чтобы выделить функцию "Ручная настройка", затем нажмите
B
,
чтобы ввести меню "Ручная настройка".
4. Нажмите клавишу
V
, чтобы выделить функцию "Pучная настройка программ" затем
нажмите
B
, чтобы ввести меню "Pучная настройка программ".
5. Нажмите клавиши
v
или
V
, чтобы выделить положение программы, затем нажмите
B
,
чтобывыделить колонку "ПРОП".
6. Нажмите клавишу
v
или
V
, чтобы выделить "Off" или "On" (если хотите пропустить данное
положение программы), затем нажмите клавишу ОК для введения информации в память.
7. Повторите операции 5 и 6 при желании пропустить или сохранить следующее программное
положение.
8. Нажмите клавишу MENU, чтобы убрать меню с экрана телевизора.
Ручная настройка программ
настройка программ
настройка программ
Ручная настройка программ
18
Использование системы меню телевизора:
Использование функции дополнительной настройки
Посредством этой функции можно a) отрегулировать затухание каждого канала , b) произвести индивидуальную
настройку уровня громкости каждого канала, c) выполнить ручную поднастройку телевизора для улучшения приема
изображения, если оно искажено или d) заранее настроить аудиовизуальный выходной сигнал для программных
положений каналов с зашифрованными сигналами ( например, с декодера платного телевидения). В таком случае
подключенный КВМ записывает расшифрованный сигнал.
настройка программ
1. Нажмите клавишу MENU на пульте дистанционного управления, чтобы вывести меню на экран
телевизора.
2. Нажмите клавишу
V
, чтобы выделить символ
на экранном меню, затем нажмите
B
, чтобы
ввести меню "Yстановки".
3. Нажмите клавишу
V
, чтобы выделить функцию "Ручная yстановкa", затем нажмите
B
, чтобы
ввести меню "Ручная yстановкa".
4. Нажмите клавишу
V
, чтобы выделить функцию "Hастройка (продолженте)" , затем нажмите
B
, чтобы ввести меню "Hастройка (продолженте)".
5. Нажмите клавишу
v
или
V
, чтобы выбрать соответствующий номер программы , затем
нажмите клавишу
B
несколько раз, чтобы выделить а) ATT b) VOL c) AFT или d) DECODER.
Меняется цвет выделенного элемента.
6. a)Высокочастотный аттенюатор
Нажмите клавишу
v
или
V
, чтобы включить или выключить аттенюатор. Нажмите клавишу ОК
для подтверждения выбора. Повторите операции 5 и 6а при желании отрегулировать затухание
других каналов.
b)VOL - Volume Offset/Коррекция громкости
Нажмите клавишу
v
или
V
для регулировки уровня звука (диапазон от -7 до +7) канала.
Сохраните в памяти нажатием клавиши ОК. Повторите операции 5 и 6b при желании
отрегулировать уровень звука других каналов.
c) AFT - Automatic Fine Tuning/Автоматическая точная настройка
Нажмите клавишу
v
или
V
для точной настройки частоты канала в диапазоне от -15 до +15.
Нажмите клавишу ОК для подтвержджения. Повторите операции 5 и 6с при желании точно
настроить и другие каналы.
d)DECODER/ДЕКОДЕР
Нажмите клавишу
v
или
V
, чтобы выделить AV1 или AV2 для положения программы, затем
нажмите клавишу ОК для подтверждения. Теперь можно подключить декодер к гнезду AV1 или
гнезду AV2 на задней панели телевизора, и изображение от декодера появится на программе под
этим номерем. Повторите операции 5 и 6d, чтобы произвести предварительную настройку
аудиовизуального выходного сигнала для других программных положений.
7. Нажмите клавишу MENU, чтобы убрать меню с экрана телевизора.
Выделение функции "Демо"
Эта функция дает возможность произвести просмотр некоторых имеющихся в телевизоре функций.
1. Нажмите клавишу MENU на пульте дистанционного управления, чтобы вывести меню на
экран телевизора.
2. Нажмите клавишу
V
, чтобы выделить символ
на экранном меню, затем нажмите
B
,
чтобы ввести меню "Yстановки".
3. Нажмите клавишу
V
, чтобы выделить функцию "Ручная yстановка", затем нажмите
B
,
чтобы ввести меню "Ручная yстановка".
4. Нажмите клавишу
V
, чтобы выделить "Демонстрачия", затем нажмите
B
, чтобы начать
показ (который длится примерно 5 минут).
5. Нажмите клавишу
, чтобы убрать показ с экрана телевизора.
настройка программ
O
- - - - - - -
19
Использование системы меню телевизора:
Настройка геометрии изображения от источника RGB-сигнала
При подключении источника RGB-сигнала типа Sony playstation может оказаться необходимым перенастроить геометрию
изображения.
1. Нажмите клавишу
на пульте дистанционного управления, чтобы выделить подключенный
источник RGB
.
2. Нажмите клавишу MENU, чтобы вывести меню на экран телевизора.
3. Нажмите клавишу
V
, чтобы выделить символ
на экранном меню, затем нажмите
B
, чтобы
ввести меню "Yстановки".
4. Нажмите клавишу
V
, чтобы выделить функцию "Ручная yстановка" на экранном меню ,
затем нажмите
B
, чтобы ввести меню "Ручная yстановка".
5. Нажмите клавишу
V
, чтобы выделить функцию "Настройка "RGB-сигнала" на экранном
меню , затем нажмите
B
, чтобы ввести подменю "Настройка "RGB-сигнала".
6. Нажмите
B
, чтобы выделить H Centre, затем нажмите
v
или
V
, чтобы отрегулировать
центрирование изображения в диапазоне от -10 до +10. Сохраните информацию новой
настройки нажатием клавиши ОК.
7. Нажмите
B
, чтобы выделить H Size, затем нажмите
v
или
V
, чтобы отрегулировать
горизонтальные координаты в диапазоне от -10 до +10. Сохраните информацию новой
настройки нажатием клавиши ОК.
8. Нажмите клавишу MENU, чтобы убрать меню с экрана телевизора.
1
Настройка поворота изображения
В силу земного магнетизма изображение может наклоняться. В таком случае изображение можно поднастроить.
1. Нажмите клавишу MENU на панели дистанционного управления, чтобы вывести меню на
экран телевизора.
2. Нажмите клавишу
V
, чтобы выделить символ
на экранном меню , затем нажмите
B
,
чтобы ввести меню "Yстановки".
3. Нажмите клавишу
V
, чтобы выделить функцию "Ручная yстановка", затем нажмите
B
,
чтобы ввести меню "Ручная yстановка".
4. Нажмите клавишу
V
, чтобы выделить функцию "Поворот изображения", затем нажмите
B
,
чтобы ввести подменю "Поворот изображения"nu.
5. Нажмите клавишу
v
или
V
, чтобы повернуть изображение в пределах от -5 до +5, затем
нажмите клавишу ОК, чтобы ввести информацию в память.
6. Нажмите клавишу MENU, чтобы убрать меню с экрана телевизора.
- - - - -
- - - - -
настройка программ
Программ
Ручная
- - - - -
20
Использование системы меню телевизора:
Введение персональной идентификации
При использовании этой функции можно придать вашему телевизору защитный код, который даст возможность найти вас в
случае кражи и затем нахождения телевизора. Защитный код может быть введен только один раз: запишите его для себя!
1. Нажмите клавишу MENU на пульте дистанционного управления, чтобы вывести меню на
экран телевизора.
2. Нажмите клавишу
V
, чтобы выделить символ
на экранном меню , затем нажмите
B
,
чтобы ввести меню "Yстановки".
3. Нажмите клавишу
V
, чтобы выделить функцию "Ручная yстановкa" на экранном меню ,
затем нажмите
B
, чтобы ввести меню "Ручная yстановкa".
4. Нажмите клавишу
V
, чтобы выделить функцию "Персон. пароль" на экранном меню ,
затем нажмите
B
, чтобы ввести подменю "Персон. пароль".
5. Нажмите клавишу
v
или
V
, чтобы выделить первый из 11 знаков (буква, цифра + или
пропуск), затем нажмите
B
, чтобы перейти к следующему знаку.
6. Повторите операцию 5, чтобы ввести все знаки кода.
7. Нажмите клавишу ОК для введения информации в память. На экране появляется блок
состояния, требуя еще раз ввести ваш код.
8. Нажмите клавишу ОК еще раз для окончательного запоминания кода или нажмите
b
,
чтобы стереть его.
9. Нажмите клавишу MENU, чтобы убрать меню с экрана телевизора.
Предварительная настройка и маркировка входных сигналов
При помощи этой функции можно автоматически задать формат и маркировать источник входного сигнала.
1. Нажмите клавишу на пульте дистанционного управления, чтобы вывести меню на экран
телевизора.
2. Нажмите клавишу
V
, чтобы выделить символ
на экранном меню , затем нажмите
B
,
чтобы ввести меню "Yстановки".
3. Нажмите клавишу
V
, чтобы выделить функцию "Yстановкa нч входов" на экранном меню ,
затем нажмите
B
, чтобы ввести меню "Yстановкa нч входов".
4. Нажмите клавишу
v
или
V
, чтобы выделить нужный АВ входной сигнал (AV1, 2, 3 или 4)..
5. Нажмите клавишу
B
, чтобы выделить "LABEL".
6. Нажмите клавишу
v
или
V
, чтобы выделить первый знак названия, затем нажмите клавишу
B
, чтобы перейти к следующему знаку.
7. Повторите операцию 7, чтобы выделить остальные 4 знака, затем сохраните информацию
нажатием клавиши ОК.
8. Повторите операции 4-8 для других источников АВ входного сигнала и нажмите клавишу
MENU, чтобы убрать меню с экрана телевизора.
Сохранить
-
- - - - - -
AV 1
AV 2
AV 3
AV 4
AV 1
AV 2
AV 3
AV 4
AV 1
AV 2
AV 3
AV 4
AV 1
AV 2
AV 3
AV 4
21
Дополнительное оборудование
Опираясь на приведенные ниже иллюстрации, вы можете подключить к телевизору обширную гамму аудио и видеоаппаратуры.
Подключение к телевизору дополнительного оборудования
Для выведения входного сигнала подключенной аппаратуры на экран телевизора вам нужно выделить символ разъема, с которым
соединена аппаратура.
1. Глядя на приведенные выше иллюстрации, подключите аппаратуру к соответствующему гнезду телевизора.
2. Нажмите клавишу
несколько раз на пульте дистанционного управления, пока правильный входной сигнал для вашей
аппаратуры не появится на экране телевизора (смотри таблицу внизу):
* автоматическое обнаружение сигнала согласно подключенной аппаратуре
3. Включите подключенную аппаратуру. Изображение от подключенной аппаратуры (если оно возможно) появится на
экране телевизора.
4. Нажмите
, чтобы вернуться к нормальному экрану телевизора.
Примечание: для предупреждения искажения изображения не подключайте аппаратуру
F
и
G
к гнездам одновременно.
Подсоединение наушников
Подключите наушники к разъему
E
на передней панели телевизора.
Символ на экране
телевизора
Входные сигналы от разъема
•
Входной аудио/видео сигнал через разъем scart
A
или * RGB-сигнал через разъем scart
A
•
Входной аудио/видео сигнал через разъем scart
B
или* S-видео сигнал через разъем scart
B
•
Входной аудио/видео сигнал через разъем scart
C
или* S-видео сигнал через разъем scart
C
•
Входной S-видеосигнал через 4-штырьковый разъем DIN
F
или* входной видеосигнал через гнездо
подключения проигрывателя
G
и входной аудиосигнал через гнездо подключения проигрывателя
H
1
2
3
4
B C
D
A
F
G
H
E
22
Дополнительное оборудование
*
Если изображение или звук искажены, уберите КВМ от телевизора.
*
При подключении КВМ monaural соедините только белое гнездо с телевизором и КВМ.
*
Информацию о том, как выделить выходной сигнал разъема scart 2
/
, смотри на странице 14.
*
При подключении внешнего Hi-Fi оборудования, Вы можете отрегулировать уровень громкости путем
регулировки наушников в звуковом меню - обратитесь к пункту “Настройка изображения и звука”.'e
Дополнительная информация при подключении
оборудования
2
s
2
Канал Smart является прямой связью между телевизором и КВМ.
Для такой связи необходимо:
*
иметь КВМ, который поддерживает связь с развитой логикой Smartlink, NexTView Link, Easy Link или Megalogic.
*
полностью протянутый кабель с 21-штарьковым разъемом scart для подключения КВМ к разъему
/
scart 2.
Характеристики связи Smartlink:
*
Информация о подстройке, типа просмотра канала, передается с телевизора на КВМ.
*
При помощи NexTView вы можете легко программировать КВМ.
*
Прямая запись с телевизора : когда вы смотрите телевизор, достаточно нажать одну кнопку на КВМ, чтобы записать данную
программу.
Для получения больше информации относительно Smartlink смотрите руководство по эксплуатации вашего КВМ.
Канал Smart
2
s
2
При помощи кнопок под крышкой пульта дистанционного управления можно управлять другой аппаратурой марки Sony.
1. Откройте крышку пульта дистанционного управления.
2. Настройте переключатель ВМФ 1234 DVD на аппаратуру, которой вы хотите управлять:
VTR1 Beta КВМ
ВМФ2 8 мм КВМ
ВКФ3 бытовой КВМ
Цифровой видеомагнитофон ВМФ4 (DCR-VX 1000/9000E,VHR-1000)
DVD цифровой видеодиск
3. Пользуйтесь кнопками пульта дистанционного управления для управления аппаратурой.
*
Если ваша аппаратура оснащена переключателем COMMAND MODE, поставьте его в такое же положение, что
переключатель видеомагнитофона VTR 1234 DVD на пульте дистанционного управления.
*
Если аппаратура не обладает постоянной функцией, соответствующая кнопка на пульте дистанционного управления не
действует.
Пульт дистанционного управления другой аппаратуры Sony
23
Дополнительная информация
Технические характеристики
Телевизионная система
B/G/H, D/K
Система цвета
ПАЛ, СЕКАМ
НТСЦ 3.58, 4.43 (только входной видеосигнал)
Канальный охват
Смотри "Руководство по каналам" на следующей странице.
Кинескоп
FD Trinitron
Примерно 72 см (29 дюйма), 104° развертка
Задние клеммы
/
21-штырьковый евроразъем (стандарт CENELEC) включая
аудио/видео ввод, ввод RGB-сигнала, вывод аудио/видео
телевизионных сигналов.
/
21-штырьковый евроразъем (стандарт CENELEC) включая
аудио/видео ввод, S-видео ввод, аудио/видео вывод монитора.
/
21-штырьковый евроразъем (стандарт CENELEC) включая
аудио/видео ввод, S-видео ввод, аудио/видео вывод монитора.
L/G/S/I
Разъемы RCA, выходы для аудио сигналов
R/D/D/D
RF In
Передние клеммы
Входной видеосигнал - гнезда для подключения проигрывателя
Входной аудиосигнал - гнезда для подключения проигрывателя
S входной видеосигнал - 4 штырька DIN
Гнездо наушников - минигнездо стереосигнала
1
s
1
2
s
2
3
s
3
4
4
s
4
Звуковая мощность
Левый/Правый:
2х20 Вт (МРО)
2х10 Вт (RMS)
Сабвуфер:
30 Вт (МРО)
15 Вт (RMS)
Энергопотребление
158 Вт
Размеры (ш х выс х г)
Прим.765X635X570 мм
Вес
Прим. 59 кг
Поставляемые принадлежности
RM-893 пульт дистанционного управления (1)
Установленные МЭК размеры АА батареек (2)
Другие характеристики
Плоский кинескоп Trinitron, цифровое
шумоподавление, изображение 100 Гц,
Понижение
шума,
графический эквалайзер, Память
телетекста на 2000 страниц
,
персональная
идентификация, таймер режима ожидания,
NexTView, цифровой гребенчатый фильтр, второй
переключатель каналов.
Дизайн и технические характеристики могут быть
изменены без предупреждения.
Таблица отображения каналов
Приемные каналы
Отображение на дисплее каналов
B/G/H
E2..12, 21..69
C02..C12, C21..69
ТВ КАБЕЛЬ (1)
S1..S41
S01..S41
ТВ КАБЕЛЬ (2)
S01..S05
S42..S46
M1..M10
S01..S10
U1..U10
S11.S20
ИТАЛИЯ
A, B..H, H1, H2
C13, C14..C20, C11, C12
ТВ КАБЕЛЬ
S1..S41
S01..S41
S01..S05
S42..S46
24
Дополнительная информация
Ниже приводятся несколько простых решений проблем, которые могут возникать с изображением и звуком.
•
Если эти проблемы сохраняются, обратитесь за квалифицированной помощью телевизионной мастерской.
•
НИКОГДА сами не открывайте корпус прибора.
Поиск неполадок
Проблема
Рекомендуемая мера
Нет изображения (экран остается
темным), нет звука
•
Подключите телевизор к сети.
•
Нажмите клавишу
на передней панели телевизора.
•
Если индикатор
горит, нажмите клавишу
или
цифровую клавишу на панели дистанционного управления.
•
Проверьте подключение антенны.
•
Выключите телевизор на 3-4 секунды и затем включите его
опять при помощи клавиши
на передней панели
телевизора.
Нет изображения или оно
некачественное (экран остается
темным), но хороший звук.
•
При помощи системы MENU выделите дисплей настройки
изображения. Отрегулируйте яркость, уровни баланса
изображения и цветобаланс.
•
На дисплее настройки изображения выделите функцию
RESET, чтобы вернуться к заводской настройке.
Хорошее изображение, нет звука
•
Нажмите клавишу
на панели дистанционного управления.
•
Если
появляется на экране, нажмите клавишу
на
пульте дистанционного управления.
Нет цвета в цветных программах
•
При помощи системы MENU выделите дисплей настройки
изображения и отрегулируйте цветовую настройку.
•
На дисплее настройки изображения выделите RESET, чтобы
вернуться к заводской настройке.
Искажение изображения при
переключении программ или при
выделении Телетекста
•
Отключите всю аппаратуру, соединенную с разъемом scart на
задней панели телевизора.
Пульт дистанционного управления не
работает
•
Замените батарейки.
Мигает индикатор режима ожидания
на телевизоре
•
Обратитесь в ближайшую мастерскую сервисного
обслуживания Sony.
Помехи на изображении от
внешнего оборудования.
•
Уменьшите уровень четкости
/



